







본 발명은 차량의 후방에서 물체가 접근하는 경우, 측후방경보유닛이 이를 감지하여 도어의 개방을 방지하도록 한 측후방경보유닛을 이용한 도어개방 방지 장치, 방법 및 시스템에 관한 것이다.BACKGROUND OF THE
차량에는 탑승자의 승하차를 위한 도어가 측면에 설치된다.The vehicle is provided with a door on its side for loading and unloading the passenger.
차량에 탑승자가 상기 차량의 후방으로부터 물체가 접근하는 것을 인지하고 못하고 상기 도어를 개방하는 경우, 상기 차량으로 접근하는 물체와 상기 탑승자 또는 상기 도어와 충돌하는 사고가 발생할 수 있다.When the occupant does not recognize that an object approaches from the rear of the vehicle and opens the door, an accident may occur that the object collides with an object approaching the vehicle and the passenger or the door.
이를 방지하기 위하여, 차량의 도어(3), 특히 리어 도어에는 소위 '차일드락 장치'를 적용하여, 도어의 개방을 제한하고 있다. 상기 차일드락 장치(110)는 차량에 후석에 탑승한 탑승자가 실내에서 리어 도어를 개방하지 못하고, 외부에서만 상기 리어 도어를 개방할 수 있도록 함으로써, 후방으로부터 접근하는 물체와 상기 후석 탑승자 또는 상기 리어 도어와의 충돌을 방지하는 장치이다.In order to prevent this, a so-called 'child lock device' is applied to the door 3 of the vehicle, particularly, the rear door, thereby limiting the opening of the door. The
상기 차일드락 장치(110)를 작동하기 위해서, 수동으로 리어 도어에 설치된 차일드락 잠금레버 등을 작동시키거나, 차량의 실내에 설치된 차일드락 작동 스위치(120)를 작동시킨다.In order to operate the
그러나, 상기 차일드락 장치(110)는 별도의 조작이 있기 전까지는 작동하지 않기 때문에, 후석에 탑승한 탑승자가 후방에서 접근하는 물체를 인지하지 못하고 상기 리어 도어를 개방하는 경우 충돌을 방지할 수 없다.However, since the
한편, 차량의 앞좌석에서 탑승자가 후방에서 접근하는 문체를 인지하지 못하고 프런트 도어를 개방하는 경우에도, 상기 프런트 도어에는 상기 차일드락 장치(110)가 없기 때문에 충돌을 방지할 수 없다.On the other hand, even when the occupant does not recognize the stylus approaching from the rear in the front seat of the vehicle and opens the front door, collision can not be prevented because there is no
한편, 하기의 선행기술문헌에는 '차일드 락 장치'에 관한 기술이 개시되어 있다.On the other hand, the following prior art document discloses a technique relating to a 'child lock apparatus'.
본 발명은 상기와 같은 문제점을 해결하기 위해 발명된 것으로서, 차량의 측후방에서 물체가 접근하는 경우, 이를 감지하여 자동을 차량의 도어가 개방되는 것을 제한하는 측후방경보유닛을 이용한 도어개방 방지 장치, 방법 및 시스템을 제공하는데 목적이 있다.SUMMARY OF THE INVENTION The present invention has been made to solve the above-mentioned problems, and it is an object of the present invention to provide a door opening prevention device using a rear-side and rear-side alarm unit for automatically detecting a door of a vehicle when the object approaches the rear side of the vehicle, A method, and a system.
상기와 같은 목적을 달성하기 위한 본 발명에 따른 측후방경보유닛을 이용한 도어개방 방지 장치는, 차량의 측후방으로부터 물체가 접근하는 것을 인식하고, 이를 운전자가 인지하도록 알리는 측후방경보유닛과, 상기 측후방경보유닛으로부터 차량의 후방으로부터 물체가 접근하는 것으로 감지되면, 상기 차량의 도어가 개방되지 않도록 상기 도어의 개방을 제한하는 도어 개방 제한수단을 포함한다.In order to accomplish the above object, there is provided a door-opening preventing apparatus using a rear-and-rear alarm unit according to the present invention, comprising: a rear-side alarm unit for recognizing an approach of an object from a rear side of the vehicle, And door open restricting means for restricting the opening of the door so that the door of the vehicle is not opened when an object is detected as approaching from the rear side of the vehicle from the rear side warning unit.
상기 도어 개방 제한 수단은, 상기 도어와 차체 사이에 설치되어 절도감을 형성하는 도어 체커의 개방을 제한하는 것을 특징으로 한다.And the door opening limiting means restricts the opening of the door checker provided between the door and the vehicle body to form a thrill.
상기 도어 개방 제한 수단은, 상기 측후방경보유닛으로부터 출력되는 신호에 의해 구동되는 구동모터와, 상기 구동모터가 도어를 폐쇄하도록 구동하면, 체커암을 가압하여 상기 체커암의 슬라이딩을 제한하는 제동레버를 포함하는 것을 특징으로 한다.The door opening limiting means includes a drive motor driven by a signal output from the side rearward warning unit and a braking lever for pressing the checker arm to limit the sliding of the checker arm when the drive motor is driven to close the door And a control unit.
상기 구동모터의 출력축에는 기어가 설치되고, 상기 제동레버는 한 쌍으로 구비되어 중간부분이 서로 힌지연결되고, 상기 제동레버의 일단은 상기 기어와 치합되는 랙기어부가 형성되며, 상기 제동레버의 타단이 상기 체커암의 측면을 가압하는 것을 특징으로 한다.Wherein a gear is provided on an output shaft of the drive motor, a pair of the braking levers are hingedly connected to each other at an intermediate portion thereof, one end of the braking lever is formed with a rack gear portion engaging with the gear, Thereby pressing the side surface of the checker arm.
상기 랙기어부는 상기 제동레버의 일단에서 다른 제동레버의 상단을 향하도록 연장되고, 내측면에 상기 기어와 치합되는 것을 특징으로 한다.And the rack gear portion extends from one end of the braking lever toward the upper end of the other braking lever, and is engaged with the gear on the inner side.
상기 제동레버의 타단에는 상기 체커암과 접촉시 상기 체커암의 표면에 접하는 패드가 구비되는 것을 특징으로 한다.And the other end of the braking lever is provided with a pad in contact with the surface of the checker arm when the checker arm is brought into contact with the checker arm.
한편, 본 발명에 따른 측후방경보유닛을 이용한 도어개방 방지 방법은, 후방으로부터 차량이나 물체가 접근을 감지하는 측후방경보유닛과, 상기 측후방경보유닛으로부터 신호가 출력되면 구동하는 구동모터와, 한 쌍으로 구비되어 중간부분이 서로 힌지연결되고, 상기 제동레버의 일단은 상기 기어와 치합되는 랙기어부가 형성되며, 상기 제동레버의 타단이 도어체커의 체커암의 측면을 가압하는 제동레버를 포함하는 측후방경보유닛을 이용한 도어개방 방지장치를 이용하여 도어개방 방지 방법에 있어서, 차량의 측후방경보유닛을 작동시키는 측후방경보유닛 작동단계와, 상기 측후방경보유닛이 후방으로부터 차량이나 물체가 접근하는지를 감지하는 접근 감지 단계와, 상기 측후방경보유닛이 후방으로부터 차량이나 물체가 접근하는 것으로 감지하는, 상기 구동모터를 작동시켜, 상기 제동레버가 상기 체커암을 가압하여 상기 체커암이 슬라이딩하는 것을 제한함으로써, 도어의 개방을 제한하는 도어 개방 제한단계를 포함하는 것을 특징으로 한다.In the meantime, the door open prevention method using the lateral rearward warning unit according to the present invention includes a rear-side warning unit for detecting approach of a vehicle or an object from behind, a driving motor for driving when a signal is output from the rear- And a braking lever having one end of the braking lever engaged with the gear and a second end of the braking lever pressing the side of the checker arm of the door checker A rear-side alarm unit operation step of operating a rear-side alarm unit of the vehicle; and a step of operating the rear-side alarm unit of the vehicle, An approach detecting step of detecting whether the vehicle is approaching a vehicle or an object, Is, by operating the drive motor, by limiting in that the checker arm sliding by which the brake lever arm pressing the checker characterized in that it comprises a door opening limitation step of limiting the opening of the doors.
한편, 본 발명에 따른 측후방경보유닛을 이용한 도어개방 방지 시스템은, 차량의 측후방으로부터 물체가 접근하는 것을 인식하고, 이를 운전자가 인지하도록 알리는 측후방경보유닛과, 상기 측후방경보유닛으로부터 차량의 후방으로부터 물체가 접근하는 것으로 감지되면, 상기 차량의 도어가 개방되지 않도록 상기 도어의 개방을 제한하는 도어 개방 제한수단과, 상기 측후방경보유닛으로부터 상기 차량의 측후방으로부터 물체가 접근하는 것을 감지하면, 상기 도어 개방 제한수단을 작동시키는 제어부를 포함한다.The door opening prevention system using the side rearward warning unit according to the present invention includes a side rearward warning unit for recognizing that an object approaches from the rear side of the vehicle and informing the driver of the approach, Door limiting means for limiting the opening of the door so that the door of the vehicle is not opened if it is detected that the object approaches from the rear of the vehicle; And a control unit for operating the door opening limiting means.
상기 도어 개방 제한 수단은, 상기 측후방경보유닛으로부터 출력되는 신호에 의해 구동되는 구동모터와, 상기 구동모터가 도어를 폐쇄하도록 구동하면, 체커암을 가압하여 상기 체커암의 슬라이딩을 제한하는 제동레버와, 상기 제동레버의 타단에는 상기 체커암과 접촉시 상기 체커암의 표면에 접하는 패드를 포함하고, 상기 제어부는 상기 측후방경보유닛으로부터 차량의 후방으로부터 물체가 접근하는 것으로 감지되면, 상기 구동모터로 전원을 인가하는 전원공급부를 구동시키는 것을 특징으로 한다.The door opening limiting means includes a drive motor driven by a signal output from the side rearward warning unit and a braking lever for pressing the checker arm to limit the sliding of the checker arm when the drive motor is driven to close the door And a pawl contacted to the surface of the checker arm when the check lever is in contact with the checker arm. When the control unit detects that the object is approaching from the rear of the vehicle from the rearward and rearward alarm unit, And a power supply unit for driving the power supply unit.
상기 도어 개방 제한 수단이 작동하면, 상기 도어 개방 제한 수단으로부터 상기 제어부로 상기 도어 개방 제한 수단의 작동 신호가 출력되는 것을 특징으로 한다.And an operation signal of the door opening limiting means is outputted from the door opening limiting means to the control portion when the door opening limiting means operates.
상기 제어부가 상기 측후방경보유닛이 상기 물체가 접근하는 것을 감지하여 상기 도어 개방 제한 수단이 작동하면, 상기 측후방경보유닛이 상기 물체가 접근하는 것을 감지하고, 상기 도어 개방 제한 수단이 작동하였음을 표시하는 클러스터를 더 포함하는 것을 특징으로 한다.The control unit detects that the object is approaching by the side rearward alarm unit when the door rear limit unit detects that the object is approaching by the side rearward alarm unit and that the door rear limit alarm unit is operating, And a cluster for displaying the cluster.
상기와 같은 구성을 갖는 본 발명에 따른 측후방경보유닛을 이용한 도어개방 방지 장치, 방법 및 시스템에 따르면, 차량의 후방에서 물체가 접근하는 경우, 도어의 개방을 제한함으로써, 차량의 탑승자가 후방으로부터 접근하는 물체를 인지하지 못하고 도어를 개방하여 발생되는 사고를 미연에 방지할 수 있다.According to the door open prevention device, method and system using the side rearward warning unit according to the present invention, when the object approaches from the rear of the vehicle, by limiting the opening of the door, It is possible to prevent an accident caused by opening the door without recognizing the approaching object.
또한 측후방에서 물체가 접근하는 것은 측후방경보유닛을 이용하게 되므로, 차량의 후방으로부터 접근하는 물체를 인지하여 도어의 개방을 제한하도록 한 별도의 센서가 없이도, 후방에서 물체 접근시 도어의 개방을 방지할 수 있다.Further, since the rearward and rearward warning unit is used for approaching the object from the rear side, it is possible to detect the opening of the door when approaching the object from the rear without requiring a separate sensor to recognize the object approaching from the rear of the vehicle, .
아울러, 종래의 차일드락장치는 수동으로 작동/해제시키고, 후석 도어에만 적용되었으나, 본 발명은 별도의 조작없이도 자동으로 작동될 뿐만 아니라, 차량의 모든 도어에 적용이 가능하여, 편리성과 안정성을 향상시킬 수 있다.In addition, although the conventional child lock apparatus is manually operated / released and applied only to a door, the present invention can be applied to all doors of a vehicle as well as being automatically operated without any additional operation, thereby improving convenience and stability .
도 1은 종래기술에 의해 차일드락 스위치로 차일드락 장치를 작동시키도록 구성된 예를 도시한 개략도.
도 2는 본 발명에 따른 측후방경보유닛을 이용한 도어개방 방지 장치를 도시한 사시도.
도 3은 본 발명에 따른 측후방경보유닛을 이용한 도어개방 방지 장치에서 평상시의 상태를 도시한 사시도.
도 4는 도 3에서 기어와 랙기어부의 상태를 도시한 단면도.
도 5는 본 발명에 따른 측후방경보유닛을 이용한 도어개방 방지 장치에서 도어 개방 방지시의 상태를 도시한 사시도.
도 6은 도 5에서 기어와 랙기어부의 상태를 도시한 단면도.
도 7은 본 발명에 따른 측후방경보유닛을 이용한 도어개방 방지 방법을 도시한 순서도.
도 8은 본 발명에 따른 측후방경보유닛을 이용한 도어개방 방지 시스템을 도시한 블록도.BRIEF DESCRIPTION OF THE DRAWINGS FIG. 1 is a schematic diagram showing an example of a conventional system configured to operate a child lock apparatus with a child lock switch; FIG.
 2 is a perspective view illustrating a door opening prevention device using a side rear-facing alarm unit according to the present invention;
 3 is a perspective view showing a state in a normal state in a door opening prevention device using a lateral rearward warning unit according to the present invention.
 Fig. 4 is a sectional view showing the state of the gear and the rack gear portion in Fig. 3; Fig.
 FIG. 5 is a perspective view showing a state of the door opening prevention device using the side rear-facing alarm unit according to the present invention when the door is opened.
 6 is a sectional view showing the state of the gear and the rack gear portion in Fig.
 7 is a flowchart showing a method of preventing a door opening using a side rear-view warning unit according to the present invention.
 FIG. 8 is a block diagram showing a door opening prevention system using the lateral rear-view warning unit according to the present invention. FIG.
이하 첨부된 도면을 참조로 하여 본 발명에 따른 측후방경보유닛을 이용한 도어개방 방지 장치, 방법 및 시스템에 대하여 자세히 설명하기로 한다.DETAILED DESCRIPTION OF THE PREFERRED EMBODIMENTS Hereinafter, an apparatus, a method and a system for preventing a door from being opened using a side rear-facing alarm unit according to the present invention will be described in detail with reference to the accompanying drawings.
본 발명에 따른 측후방경보유닛을 이용한 도어개방 방지 장치는, 차량의 측후방으로부터 물체가 접근하는 것을 인식하고, 이를 운전자가 인지하도록 알리는 측후방경보유닛과, 상기 측후방경보유닛으로부터 차량의 후방으로부터 물체가 접근하는 것으로 감지되면, 상기 차량의 도어가 개방되지 않도록 상기 도어의 개방을 제한하는 도어 개방 제한수단을 포함한다.The door opening prevention device using the side rearward warning unit according to the present invention includes a side rearward warning unit for recognizing an approach of an object approaching from the rear side of the vehicle and informing the driver to recognize it, And door open restricting means for restricting the opening of the door so that the door of the vehicle is not opened, if it is detected that an object approaches from the door.
차량의 측후방경보유닛(31)은 차량의 후방으로부터 물체가 접근하는 것을 감지한다. 상기 측후방경보유닛(31, BSD: Blind Spot Detection)은 아웃사이드 미러로 확인할 수 없는 시야 사각 지대 또는 후방으로 접근하는 차량, 물체 등을 감지하여, 운전자기 인지할 수 있도록 아웃사이드 미러에 표시하거나, 핸들 또는 시트에 진동을 가하도록 한 시스템이다.The vehicle side and
상기 측후방경보유닛(31)은 차량의 측부 또는 후부에 설치된 각종 감지장치를 이용하여, 차량의 측후방에서 접근하는 차량이나 물체를 접근하므로, 이를 이용하여 상기 차량의 측후방에서 차량이나 물체가 접근하는 경우, 도어의 개방을 방지하도록 한다.The side and
도어 개방 제한수단은 상기 측후방경보유닛(31)으로부터 차량의 후방으로부터 차량이나 물체가 접근하는 것으로 감지되면, 상기 도어(1)가 개방되지 않도록 상기 도어의 개방을 제한한다.The door opening limiting means restricts the opening of the door so that the door (1) is not opened when it is detected that a vehicle or an object approaches from the rear side of the vehicle from the rearward and rearward alarm unit (31).
종래에는 차일드락 장치(110)를 이용하여 후석 도어(1)의 개방을 일부 제한하였지만, 본 발명에서는 상기 도어 개방 제한수단을 상기 측후방경보유닛(31)과 연동되도록 한다. 상기 도어 개방 제한수단이 상기 측후방경보유닛(31)과 연동됨으로써, 종래의 차일드락 장치(110)는 수동으로 작동/해제시켰으나, 별도의 조작이 없이도 도어(1) 개방시 충돌사고를 방지할 수 있다. 또한, 상기 차일드락 장치(110)는 후석 도어(1)에만 적용되었으나, 본 발명에서는 차량의 모든 도어(1)에 적용할 수 있다. 예컨대, 차량의 조수석측 도어(1)에도 적용함으로써, 조수석에 탑승한 후방에서 접근하는 차량이나 물체를 인지하지 못하고 상기 도어(1)를 개방하려는 경우에도 상기 도어의 개방을 방지하여 안전성을 향상시킬 수 있다.The opening of the
상기 도어 개방 제한수단의 구체적으로 예로서, 도 2에 도시된 바와 같이, 상기 측후방경보유닛(31)이 도어체커의 작동을 제한함으로써, 상기 도어(1)의 개방을 제한하도록 할 수 있다.As a concrete example of the door opening limiting means, it is possible to limit the opening of the
상기 도어체커는 상기 도어(1)가 차체에 연결되는 부위에 설치되어 상기 도어(1)의 개방시 절도감을 부여하기 위한 장치이다.The door checker is installed at a position where the
상기 도어체커는 차체 또는 도어의 어느 일측에 고정되는 브라켓(11)과, 상기 브라켓(11)의 내부에 상하로 이격되게 배치된 스프링(12)과, 상기 스프링(12)의 단부에 설치되는 캐리어(13)와, 상기 차체 또는 도어의 나머지 한 쪽에 고정되고, 상기 브라켓(11)을 관통하도록 설치되는 체커암(14)을 포함한다. 상기 체커암(14)의 상하방향의 표면에는 절도감을 부여하기 위하여 오목한 부위와 볼록한 부위가 상하 대칭되게 반복하여 형성되고, 상기 스프링(12)에 의해 탄성지지되는 캐리어(13)가 상기 체커암(14)의 오목한 부위에 위치하도록 함으로써, 상기 도어(1)의 개방시 절도감을 부여하고, 중간에서 일정한 위치에 정지할 수 있도록 한다.The door checker includes a
상기 도어 개방 제한수단은 상기 측후방경보유닛(31)으로부터 차량의 후방으로부터 차량이나 물체가 접근하는 것으로 인지되면, 상기 도어체커의 작동을 제한함으로써, 상기 도어(1)가 개방되는 것을 방지한다.The door opening limiting means prevents the
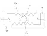
상기 도어체커의 작동을 제한하기 위해서, 상기 도어 개방 제한수단은 구동모터(21)와 제동레버(23)를 포함한다.In order to limit the operation of the door checker, the door opening limiting means includes a drive motor (21) and a braking lever (23).
상기 구동모터(21)는 상기 측후방경보유닛(31)과 연동하여 작동한다. 상기 구동모터(21)는 측후방경보유닛(31)으로부터 차량의 후방으로부터 차량이나 물체가 접근하는 것으로 신호가 출력되면, 구동된다. 상기 구동모터(21)의 출력축에는 제동레버(23)에 회전력을 전달하는 기어(22)가 설치된다.The drive motor (21) operates in conjunction with the side rearward warning unit (31). The
한편, 상기 구동모터(21)는 상기 측후방경보유닛(31)으로부터 출력되는 신호에 따라 바로 작동하도록 구성될 수도 있지만, 바람직하게는 상기 측후방경보유닛(31)의 출력신호가 ICU(32, Integrated Central control Unit)로 입력되고, 상기 ICU(32)가 상기 구동모터(21)의 구동신호를 출력되도록 하는 것이 바람직하다.The
제동레버(23)는 상기 구동모터(21)가 작동하면, 상기 도어체커의 체커암의 측면을 가압하여, 상기 도어체커가 작동되지 않도록 한다. 상기 제동레버(23)는 바람직하게 한 쌍으로 구비되고, 중간부분이 힌지연결되어 가위와 같은 형태로 설치된다. 상기 제동레버(23)의 일단에는 상기 기어(22)와 치합되는 랙기어부(23a)가 형성된다. 상기 제동레버(23)의 상단에는 상기 제동레버(23)로부터 반대편 제동레버(23)를 향하여 연장되게 형성되면서 내측면이 상기 기어(22)에 치합하는 랙기어부(23a)가 형성된다. 이때, 상기 한 상의 제동레버(23)에서 서로 마주보도록 랙기어부(23a)가 형성되되, 서로 겹치지 않게 형성된다.The
상기 랙기어부(23a)가 상기 기어(22)에 치합되어 있기 때문에, 상기 구동모터(21)가 작동하면, 상기 제동레버(23)는 오므려지면서, 상기 체커암(14)을 가압하여 구속할 수 있다.When the
상기 제동레버(23)의 타단, 즉 상기 랙기어부(23a)가 형성된 부위의 반대쪽에는 상기 체커암(14)과 접촉시 상기 체커암(14)의 표면을 가압하는 가압수단이 구비될 수 있다.A pressing means for pressing the surface of the
상기 가압수단으로는 표면의 마찰계수가 높은 패드(24)가 설치되어, 상기 제동레버(23)의 작동시 상기 제동레버(23)의 작동시 상기 체커암(14)을 가압하여, 상기 체커암(14)의 슬라이딩을 제한한다.The pressing means is provided with a
상기 패드(24)가 상기 체커암(14)의 측면을 가압하여 슬라이딩이 제한되면, 상기 체커암(14)이 슬라이딩할 수 없으므로, 상기 도어의 개방도 함께 제한된다.When the
한편, 상기 가압수단으로서, 상기 제동레버(23)와 상기 체커암(14)이 접촉하는 부위에 각각 홈과 돌기가 형성되어, 상기 홈-돌기가 치합됨으로써, 상기 체커암(14)이 슬라이딩하는 것을 제한할 수도 있다.On the other hand, as the pressing means, grooves and projections are respectively formed at the portions where the
상기와 같은 구성을 갖는 본 발명에 따른 측후방경보유닛을 이용한 도어개방 방지 장치의 작용에 대하여 설명하면 다음과 같다.The operation of the door opening prevention device using the rear-side and rear-side alarm unit according to the present invention will now be described.
도 3과 도 4에는 평상시, 즉 차량의 후방으로부터 차량이나 물체가 접근하지 않는 때의 상태가 도시되어 있다.Figs. 3 and 4 show a state when the vehicle or the object is not approaching normally, that is, from the rear of the vehicle.
평상시에는 상기 구동모터(21)가 작동하지 않으므로, 상기 제동레버(23)는 상기 체커암(14)의 이동을 제한하지 않으므로, 상기 도어(1)의 개방시 상기 체커암(14)이 슬라이딩하면서 별도의 제한없이 개방될 수 있다.The
도 5와 도 6에는 차량의 후방에서 차량이나 물체가 접근할 때의 상태가 도시되어 있다.Figs. 5 and 6 show states when a vehicle or an object approaches the rear of the vehicle.
후방에서 차량이나 물체가 접근하면, 상기 측후방경보유닛(31)으로부터 신호가 출력된다. 상기 측후방경보유닛(31)으로부터 출력된 신호는 상기 구동모터(21)로 바로 입력되어 상기 구동모터(21)가 작동하거나, 상기 ICU(32)로 입력된 다음 상기 ICU(32)에서 상기 구동모터(21)로 작동신호가 출력되어 상기 구동모터(21)가 작동한다.When a vehicle or an object approaches from behind, a signal is outputted from the rear-side and rear-
상기 구동모터(21)가 작동하면, 상기 기어(22)가 상기 랙기어부(23a)를 서로 모이도록 하는 방향으로 상기 제동레버(23)가 회전한다.When the
이와 같이, 상기 제동레버(23)가 회전하면 도 5에 도시된 바와 같이, 상기 제동레버(23)의 타단이 상기 체커암(14)을 가압하는 방향으로 회전하면서, 상기 패드(24)가 상기 체커암(14)의 측면을 가압한다.5, when the
상기와 같이, 상기 체커암(14)의 측면이 상기 패드(24)에 의해 가압된 상태에서는, 탑승자가 상기 도어(1)를 개방하려고 하더라도, 상기 체커암(14)이 구속되어 있어 슬라이딩하지 못하게 되므로, 상기 도어(1)는 개방되지 않는다.As described above, even when the passenger tries to open the
따라서, 상기 측후방경보유닛(31)이 차량의 후방으로부터 차량이나 물체가 접근하는 것을 감지하면, 상기 도어(1)의 개방을 제한하므로, 후방으로 차량이나 물체가 접근시 상기 도어(1)의 개방에 의한 사고를 방지할 수 있다.Accordingly, when the rearward and
도 7에는 측후방경보유닛을 이용한 도어개방 방지 방법이 도시되어 있다.Fig. 7 shows a door opening prevention method using a side rearward warning unit.
본 발명에 따른 측후방경보유닛을 이용한 도어개방 방지 방법은 앞서 설명한 측후방경보유닛을 이용한 도어개방 방지 장치를 이용한다.The door opening prevention method using the side rearward warning unit according to the present invention uses a door opening prevention apparatus using the above-described side rearward warning unit.
측후방경보유닛 작동단계(S110)는 차량의 시동되거나, 키온(Key ON)되면, 상기 측후방경보유닛(31)이 작동되도록 한다. 상기 측후방경보유닛(31)은 시동된 다음 작동되도록 할 수도 있으나, 시동전 키온상태에서도 작동되도록 할 수도 있다. 또한, 상기 측후방경보유닛(31)은 시동여부, 키온 여부와 상관없이, 탑승자의 탑승여부를 감지하여 작동되도록 할 수도 있다.The rear-side warning unit operation step S110 causes the rear-side and rear-
접근 감지 단계(S120)는 상기 측후방경보유닛(31)을 이용하여, 차량의 후방으로부터 차량이나 물체가 접근하는 지를 감지한다. 상기 접근 감지 단계(S120)는 차량의 후방으로부터 차량이나 물체가 접근하는지를 감지하지 못하면 계속해서 반복 수행된다.The approach detection step S120 detects whether a vehicle or an object approaches from the rear of the vehicle by using the side rearward warning
도어 개방 제한단계(S130)는 상기 측후방경보유닛(31)이 후방으로부터 차량이나 물체가 접근하는 것으로 감지하면, 상기 구동모터(21)를 작동시켜, 상기 제동레버(23)가 상기 체커암(14)을 가압하여 상기 체커암(14)이 슬라이딩하는 것을 제한함으로써, 도어의 개방을 제한하도록 한다.The door opening limiting step S130 is a step of activating the
상기 측후방경보유닛(31)이 후방으로부터 차량이나 물체가 접근하는 것을 감지하여, 이 신호가 출력되면, 상기 구동모터(21)로 바로 전달되어 상기 구동모터(21)가 작동하거나, ICU(32)로 입력된 후, 상기 ICU(32)로부터 상기 구동모터(21)로 구동신호가 출력되어 상기 구동모터(21)가 작동한다.When the signal is output from the rear and
상기 구동모터(21)가 작동하면, 상기 제동레버(23)의 일단이 모이면서 상기 제동레버(23)의 타단도 서로 모이는 방향으로 회전한다. 상기 제동레버(23)의 타단이 서로 모이는 방향으로 회전하면서, 상기 제동레버(23)의 타단이 상기 도어체커의 체커암(14)을 가압함으로써, 상기 체커암(14)의 슬라이딩을 제한하고, 상기 체커암(14)의 슬라이딩이 제한됨으로써, 상기 도어(1)의 개방이 제한된다.When the driving
따라서, 상기 측후방경보유닛(31)이 차량의 후방으로부터 차량이나 물체가 접근하는 것을 감지하면, 상기 도어(1)의 개방을 제한하여, 후방으로 차량이나 물체가 접근시 상기 도어(1)의 개방에 의한 사고를 방지할 수 있다.Therefore, when the rearward and
한편, 본 발명에 따른 측후방경보유닛을 이용한 도어개방 방지 시스템은 다음과 같다.Meanwhile, the door opening prevention system using the lateral rearward warning unit according to the present invention is as follows.
도 8에 도시된 바와 같이, 본 발명에 따른 측후방경보유닛을 이용한 도어개방 방지 시스템은, 차량의 측후방으로부터 물체가 접근하는 것을 인식하고, 이를 운전자가 인지하도록 알리는 측후방경보유닛(31)과, 상기 측후방경보유닛(31)으로부터 차량의 후방으로부터 물체가 접근하는 것으로 감지되면, 상기 차량의 도어(1)가 개방되지 않도록 상기 도어(1)의 개방을 제한하는 도어 개방 제한수단과, 상기 측후방경보유닛(31)으로부터 상기 차량의 측후방으로부터 물체가 접근하는 것을 감지하면, 상기 도어 개방 제한수단을 작동시키는 제어부를 포함한다.As shown in FIG. 8, the door opening prevention system using the lateral rearward warning unit according to the present invention includes a rearward and
상기 측후방경보유닛(31)과 상기 도어 개방 제한수단은 앞서 설명하였으므로, 상세한 설명은 생략한다.Since the side rearward warning
제어부(32)는 본 발명에 따른 측후방경보유닛을 이용한 도어개방 방지 시스템의 전반적인 작동을 제어한다.The
상기 제어부(32)는 상기 측후방경보유닛(31)으로부터 차량의 측후방으로부터 물체가 접근하고 있다는 경고신호를 입력받는다.The
상기 제어부(32)는 상기 측후방경보유닛(31)으로부터 차량의 측후방으로부터 물체가 접근하고 있다는 경고신호를 입력받으면, 상기 도어 개방 제한수단으로 전원을 공급하는 전원공급부(33)를 제어하여, 상기 전원공급부(33)가 상기 도어 개방 제한수단이 작동할 수 있도록 전원을 공급한다. 이때, 상기 제어부(32)는 차량의 전체 도어의 개폐가 잠기도록 할 수 있으나, 측후방으로부터 물체가 접근하는 쪽의 도어체커만 구속하도록 해당 도어의 도어 개방 제한수단의 구동모터(21)로만 전원이 공급되도록 한다.The
이때, 상기 구동모터(21)가 작동하면, 상기 제동레버(23)와 상기 패드(24)가 상기 체커암(14)를 구속하여 도어의 개폐가 제한된다.At this time, when the
한편, 상기 도어 개방 제한수단이 작동하면, 각 도어 개방 제한수단은 상기 제어부(32)로 상기 도어 개방 제한수단이 작동 여부와 상기 도어체커의 상태를 출력한다.On the other hand, when the door opening limiting means operates, each door opening limiting means outputs to the
상기 제어부(32)는 상기 측후방경보유닛(31)으로부터 물체가 접근하여, 상기 도어 개방 제한수단이 작동하면, 이를 클러스터(34)에 표시되도록 할 수 있다. 상기 클러스터(34)에 경고등 또는 메시지의 형태로 차량의 측후방으로부터 물체가 접급하고 있고, 상기 도어 개방 제한수단이 작동하고 있음을 알릴 수 있다.The
여기서, 상기 제어부(32)는 ICU(Integrated Central control Unit)가 될 수 있다.Here, the
1 : 도어                          11 : 브라켓
12 : 스프링                       13 : 캐리어
14 : 체커암                       21 : 구동모터
22 : 기어                         23 : 제동레버
23a : 랙기어부                    24 : 패드
31 : 측후방경보유닛(BSD)          32 : ICU
33 : 전원공급부                   34 : 클러스터
110 : 차일드락장치                120 : 차일드락스위치
S110 : 측후방경보유닛 작동단계
S120 : 접근감지 단계
S130 : 도어 개방 제한단계1: Door 11: Bracket
 12: spring 13: carrier
 14: Checker arm 21: Driving motor
 22: gear 23: braking lever
 23a: rack gear portion 24: pad
 31: side rearward warning unit (BSD) 32: ICU
 33: power supply unit 34: cluster
 110: Child lock device 120: Child lock position
 S110: Operation step of rear-side alarm unit
 S120: approach detection step
 S130: door opening restriction step
| Application Number | Priority Date | Filing Date | Title | 
|---|---|---|---|
| KR1020160172397AKR101916546B1 (en) | 2016-12-16 | 2016-12-16 | Apparatus and system for prevention door opening using blind spot detection unit in vehicle | 
| Application Number | Priority Date | Filing Date | Title | 
|---|---|---|---|
| KR1020160172397AKR101916546B1 (en) | 2016-12-16 | 2016-12-16 | Apparatus and system for prevention door opening using blind spot detection unit in vehicle | 
| Publication Number | Publication Date | 
|---|---|
| KR20180070107A KR20180070107A (en) | 2018-06-26 | 
| KR101916546B1true KR101916546B1 (en) | 2018-11-07 | 
| Application Number | Title | Priority Date | Filing Date | 
|---|---|---|---|
| KR1020160172397AActiveKR101916546B1 (en) | 2016-12-16 | 2016-12-16 | Apparatus and system for prevention door opening using blind spot detection unit in vehicle | 
| Country | Link | 
|---|---|
| KR (1) | KR101916546B1 (en) | 
| Publication number | Priority date | Publication date | Assignee | Title | 
|---|---|---|---|---|
| KR102425632B1 (en)* | 2020-07-28 | 2022-07-27 | 쌍용자동차 주식회사 | Method for controlling power sliding doors of vehicles | 
| Publication number | Priority date | Publication date | Assignee | Title | 
|---|---|---|---|---|
| JP2008280727A (en)* | 2007-05-10 | 2008-11-20 | Shiroki Corp | Door checking mechanism for vehicle | 
| Publication number | Priority date | Publication date | Assignee | Title | 
|---|---|---|---|---|
| KR100466086B1 (en) | 2002-10-01 | 2005-01-13 | 현대자동차주식회사 | Child lock device | 
| Publication number | Priority date | Publication date | Assignee | Title | 
|---|---|---|---|---|
| JP2008280727A (en)* | 2007-05-10 | 2008-11-20 | Shiroki Corp | Door checking mechanism for vehicle | 
| Publication number | Publication date | 
|---|---|
| KR20180070107A (en) | 2018-06-26 | 
| Publication | Publication Date | Title | 
|---|---|---|
| US7352081B2 (en) | Control method and device for activating and deactivating the child safety lock function of vehicle doors | |
| US11365580B2 (en) | Method and adjusting device for adjusting a vehicle adjusting part with output status information | |
| US8028375B2 (en) | Pinch prevention structure of slide door | |
| CN112572112A (en) | Automobile door control system and method and automobile | |
| JP4506803B2 (en) | Vehicle window glass security system | |
| US20160031342A1 (en) | Back seat occupant detector and alarm | |
| CN108791157A (en) | There is the Auto Electronic Controlled System for the passenger for being not intended to leave in detection and notice vehicle | |
| EP3800102A1 (en) | Automatic driving control system | |
| KR101916546B1 (en) | Apparatus and system for prevention door opening using blind spot detection unit in vehicle | |
| CN114537310B (en) | Door control device | |
| JP4138115B2 (en) | Device for control of electronic equipment in automobiles | |
| CN112208403B (en) | Automobile child seat | |
| KR20070047689A (en) | How to prevent jams using airbag information | |
| US7445282B2 (en) | Vehicle seat slide device | |
| KR102084574B1 (en) | Prevention apparatus for preventing fatal accident of child be sffocated in unattended car | |
| JP2011116145A (en) | Automobile antitheft device | |
| JPH11268531A (en) | Power window control device | |
| JP2002079910A (en) | Warning device and method for seat belt | |
| US20200123809A1 (en) | Method for operating a motorized door adjusting device of a motor vehicle | |
| JP2017193896A (en) | Rear gate opening/closing device for vehicle | |
| KR100449637B1 (en) | Locking inspect device of seat mechanism for vehicle | |
| JP2001191879A (en) | Vehicle side member deformation suppression device | |
| US20230407693A1 (en) | Control apparatus | |
| JP2006327373A (en) | Vehicle seat device | |
| KR20120127787A (en) | The rear monitering device of the car for rear seat and Method thereof | 
| Date | Code | Title | Description | 
|---|---|---|---|
| A201 | Request for examination | ||
| PA0109 | Patent application | Patent event code:PA01091R01D Comment text:Patent Application Patent event date:20161216 | |
| PA0201 | Request for examination | ||
| E902 | Notification of reason for refusal | ||
| PE0902 | Notice of grounds for rejection | Comment text:Notification of reason for refusal Patent event date:20180131 Patent event code:PE09021S01D | |
| E90F | Notification of reason for final refusal | ||
| PE0902 | Notice of grounds for rejection | Comment text:Final Notice of Reason for Refusal Patent event date:20180516 Patent event code:PE09021S02D | |
| PG1501 | Laying open of application | ||
| E701 | Decision to grant or registration of patent right | ||
| PE0701 | Decision of registration | Patent event code:PE07011S01D Comment text:Decision to Grant Registration Patent event date:20180928 | |
| GRNT | Written decision to grant | ||
| PR0701 | Registration of establishment | Comment text:Registration of Establishment Patent event date:20181101 Patent event code:PR07011E01D | |
| PR1002 | Payment of registration fee | Payment date:20181101 End annual number:3 Start annual number:1 | |
| PG1601 | Publication of registration | ||
| PR1001 | Payment of annual fee | Payment date:20211027 Start annual number:4 End annual number:4 | |
| PR1001 | Payment of annual fee | Payment date:20231025 Start annual number:6 End annual number:6 |