











본 발명은 다중 인터페이싱 기반 수술 중 신경모니터링 시스템 및 그를 위한 신경탐침 다중 연결박스와 신경탐침-전기수술기 연결용 전기계전기에 관한 것으로, 좀더 구체적으로는 수술 중 번갈아가며 사용되는 다수 종(種)의 수술기구(금속 수술기구, 내시경 수술기구, 로봇 수술기구, 에너지 디바이스 수술기구 등)에 각각 연결되어 있는 복수의 신경 탐침이 모두 동시접속되는 다중 연결박스가 제공되도록 함으로써 수술 중 수술기구의 교체에 대응하여 일일이 신경 탐침을 직전 사용 수술기구에서 현재 사용 수술기구로 탈부착 이동시키거나, 직전 사용 수술기구에 연결된 신경 탐침을 연결박스에서 제거하고 현재 사용 수술기구에 연결된 신경 탐침을 연결박스에 접속시켜야 하는 번거로움이 없어져 수술 및 신경확인의 신속성과 편의성이 향상되는 한편, 신경 탐침과 전기수술기가 연결된 전기계전기가 내시경 수술기구나 로봇 수술기구에 연결되어 전기계전기의 스위칭 동작에 따라 신경탐침이나 전기수술기가 수술기구에 전기적으로 연결되도록 함으로써 수술기구에 연결되는 신경 탐침이나 전기수술기의 물리적 교체작업 없이도 신경확인 및 전기수술기 사용을 교번할 수 있어 수술 중의 신경탐침/전기수술기 교체에 의한 불편함/번거로움/시간 소요가 최소화되고, 전기수술기 미사용시 지속적으로 신경확인을 할수 있게 되어 신경손상의 위험성이 최소화되며, 신속한 수술이 가능해지는 다중 인터페이싱 기반 수술 중 신경모니터링 시스템 및 그를 위한 신경탐침 다중 연결박스와 신경탐침-전기수술기 연결용 전기계전기에 관한 것이다.The present invention relates to a multi-interfacing based neural monitoring system, a neurostimulation multiple connection box for the same, and an electrical relay for connecting a neurostimulation-electrosurgical instrument, and more particularly, to a multi- A plurality of connection boxes in which a plurality of nerve probes respectively connected to instruments (metal surgical instruments, endoscopic surgical instruments, robot surgical instruments, energy device surgical instruments, etc.) are simultaneously connected are provided, It is necessary to remove the neural probe from the immediately preceding use surgical instrument to the currently used surgical instrument or to remove the neural probe connected to the immediately previous use surgical instrument from the connection box and to connect the neuro probe connected to the currently used surgical instrument to the connection box And the speed and convenience of surgery and neurological confirmation are improved. Meanwhile, the electrical relay connected to the nerve probe and the electrosurgical instrument is connected to the endoscopic surgical instrument or the robotic surgical instrument, so that the neural probe or the electrosurgical instrument is electrically connected to the surgical instrument according to the switching operation of the electrical relay, It is possible to alternate the use of the neuroradiograph and electrosurgical instrument without physical replacement of the electrosurgical instrument, thereby minimizing inconvenience / inconvenience / time-consuming due to replacement of the neuron probe / electrosurgical operator during surgery, and continuous confirmation when the electrosurgical instrument is not used A neurostimulation multi-connection box for the same, and an electrical relay for connecting a neurostimulation-electrosurgical instrument, which is capable of minimizing the risk of nerve injury and enabling rapid operation.
수술 중에 발생하는 신경 손상은 이비인후과 수술, 흉부외과 수술, 정형외과 수술, 뇌 수술, 척추 수술, 감상선 수술, 이하선 수술 등 많은 외과 수술에서 중요한 합병증이므로, 수술 중 신경 확인은 신경 손상에 의한 합병증을 예방하는데 매우 중요하다. 이에 따라 수술 중 신경모니터링 시스템(intraoperative neural monitoring system)을 사용하여 수술 중 신경 손상이 예방될 수 있도록 한다.Neurological damage during surgery is an important complication in many surgical operations including ENT surgery, thoracic surgery, orthopedic surgery, brain surgery, spine surgery, sentinel surgery, and parotid surgery. It is very important to prevent. Therefore, an intraoperative neural monitoring system can be used to prevent nerve injury during surgery.
이와 같은 수술 중 신경모니터링 시스템은 신경 근전도를 이용하는 것으로서, 신경으로 의심되는 신체조직 부위에 전기적 자극을 주어 해당 신체조직 부위의 근육 움직임을 근전도를 이용하여 평가함으로써 신경의 존재 여부를 확인하게 된다. 여기서 수술 중 신경모니터링 시스템은 수술기구와 별개의 전기적 자극을 줄 수 있는 신경 탐침을 필요로 한다.The neuromonitoring system during surgery uses neuro-EMG, which gives electrical stimulation to the suspected nervous tissue and evaluates the muscle movement of the body tissue using EMG. Here, the intraoperative nerve monitoring system requires a nerve probe that can provide electrical stimulation distinct from the surgical instrument.
여기서 신경 탐침은 수술 중 신경모니터링 시스템에 구비되는 인터페이스 연결박스(interface connector box)에 연결되어 신경을 자극할 수 있으며, 현재 사용되고 있는 수술 중 신경모니터링 시스템의 경우 인터페이스 연결박스에 1개의 신경 탐침용 접속단자가 형성되어 1개의 신경 탐침만 사용할 수 있는 단점이 있다.In this case, the nerve probe may be connected to an interface connector box provided in the nerve monitoring system during surgery to stimulate the nerve. In the currently used nerve monitoring system, one nerve probe connection Terminal is formed and only one nerve probe can be used.
한편, 수술 중에는 다양한 수술기구들이 사용될 수 있는데, 수술 중 사용되는 수술기구로는 일반적인 금속으로 만든 기구, 내시경 수술용 기구, 에너지 디바이스 수술기구 등이 있다. 이와 같은 수술기구에 독립적으로 신경 탐침을 탈부착시킬 수 있는데, 현재의 수술 중 신경모니터링 시스템에서는 1개의 신경 탐침만을 사용할 수 있어 다양한 수술기구를 사용하기 위해서는 신경 탐침과 인터페이스 연결박스 간 연결을 반복적으로 변경해야 하는 번거로움이 있다. 예를 들어 금속 기구용 신경 탐침, 내시경용 신경 탐침, 에너지 디바이스 수술기구용 신경 탐침을 사용할 때에는 인터페이스 연결박스의 접속단자에 연결된 신경 탐침 자체를 변경해야 하는 불편함이 있었다.On the other hand, various surgical instruments can be used during surgery. Examples of surgical instruments used during surgery include general metal instruments, endoscopic instruments, and energy devices. It is possible to independently attach and detach the nerve probe to such a surgical instrument. In the present operation, the nerve monitoring system can use only one nerve probe. In order to use various surgical instruments, the connection between the nerve probe and the interface connection box is repeatedly changed There is a hassle to do. For example, when using a neural probe for a metal instrument, a neuro probe for an endoscope, or a neural probe for an energy device surgical instrument, it is inconvenient to change the neural probe itself connected to the connection terminal of the interface connection box.
그리고 수술 중 신체조직의 지혈이나 절단이 필요할 경우, 전기수술기를 수술기구에 연결하여 고전류 전원을 지혈이나 절단이 필요한 신체조직으로 인가하게 된다. 이를 위하여 수술 중 신경확인을 위하여 수술기구에 연결된 신경 탐침이 수술기구로부터 제거된 다음, 전기수술기가 수술기구에 연결된다. 또한 전기수술기에 의한 신체조직의 지혈이나 절단이 완료되면 신경 탐침을 수술기구에 다시 연결시키게 된다. 이와 같은 수술 중의 신경 탐침과 전기수술기 간 교체 작업은 불편함과 번거로움을 야기시키는 한편, 수술 시간도 증대시키는 단점이 있었다.If hemostasis or amputation of the body tissue is required during surgery, the electrosurgical instrument is connected to the surgical instrument and a high current power source is applied to the body tissue requiring hemostasis or amputation. For this purpose, the neuron probe connected to the surgical instrument is removed from the surgical instrument for neural confirmation, and then the electrosurgical instrument is connected to the surgical instrument. In addition, when the hemostasis or amputation of the body tissue by the electrosurgical instrument is completed, the neural probe is reconnected to the surgical instrument. Such a replacement operation between the nerve probe and the electrosurgical instrument during surgery has disadvantages such as inconvenience and inconvenience, and also increases the operation time.
따라서 본 발명은 이와 같은 종래 기술의 문제점을 개선하여, 수술 중 번갈아가며 사용되는 다수 종(種)의 수술기구(금속 수술기구, 내시경 수술기구, 로봇 수술기구, 에너지 디바이스 수술기구 등)에 각각 연결되어 있는 복수의 신경 탐침이 모두 동시접속되는 다중 연결박스가 제공되도록 함으로써 수술 중 수술기구의 교체에 대응하여 일일이 신경 탐침을 직전 사용 수술기구에서 현재 사용 수술기구로 탈부착 이동시키거나, 직전 사용 수술기구에 연결된 신경 탐침을 연결박스에서 제거하고 현재 사용 수술기구에 연결된 신경 탐침을 연결박스에 접속시켜야 하는 번거로움이 없어져 수술 및 신경확인의 신속성과 편의성이 향상되는 새로운 형태의 다중 인터페이싱 기반 수술 중 신경모니터링 시스템 및 그를 위한 신경탐침 다중 연결박스를 제공하는 것을 목적으로 한다.SUMMARY OF THE INVENTION Accordingly, the present invention has been made keeping in mind the above problems occurring in the prior art, and it is an object of the present invention to provide a surgical instrument, The present invention provides a multiple connection box in which a plurality of nerve probes are simultaneously connected to each other, thereby enabling the nerve probe to be detached and moved from the immediately preceding use surgical instrument to the currently used surgical instrument in response to the replacement of the surgical instrument during surgery, A new type of multi-interfacing based neuron monitoring that removes the neuro probe from the connection box and eliminates the hassle of connecting the neuro probe connected to the currently used surgical instrument to the connection box. System and a neuro probe multi-connection box for it .
또한 본 발명은 신경 탐침과 전기수술기가 연결된 전기계전기가 내시경 수술기구나 로봇 수술기구에 연결되어 전기계전기의 스위칭 동작에 따라 신경탐침이나 전기수술기가 수술기구에 전기적으로 연결되도록 함으로써 수술기구에 연결되는 신경 탐침이나 전기수술기의 물리적 교체작업 없이도 신경확인 및 전기수술기 사용을 교번할 수 있어 수술 중의 신경탐침/전기수술기 교체에 의한 불편함/번거로움/시간 소요가 최소화되고, 전기수술기 미사용시 지속적으로 신경확인을 할수 있게 되어 신경손상의 위험성이 최소화되며, 신속한 수술이 가능해지는 새로운 형태의 다중 인터페이싱 기반 수술 중 신경모니터링 시스템 및 그를 위한 신경탐침-전기수술기 연결용 전기계전기를 제공하는 것을 목적으로 한다.In addition, the present invention is also applicable to a nerve probe and an electrosurgical instrument in which an electrical relay to which an electrosurgical instrument is connected is connected to an endoscopic surgical instrument or a robotic surgical instrument so that a neural probe or electrosurgical instrument is electrically connected to a surgical instrument, It is possible to alternate the use of the neuroanatomy and electrosurgical instrument without physical replacement of the probe or electrosurgical instrument, thereby minimizing inconvenience / inconvenience / time inconvenience due to the replacement of the neurostimulator / electrosurgical device during surgery, The present invention aims to provide a new type of multi-interfacing based neural monitoring system and an electric relay for connecting the nerve probe and the electrosurgical apparatus for the same, in which the risk of nerve damage is minimized.
상술한 목적을 달성하기 위한 본 발명의 특징에 의하면, 본 발명은 신체 전기신호가 입력되고, 입력된 신체 전기신호에 대한 근전도 분석이 수행되며, 근전도 분석정보가 출력되는 신경 모니터링용 컴퓨터장치(100)와; 신경확인을 위한 설정크기의 저전류 전원을 공급하게 되는 신경탐침용 전원 공급장치(200a)와; 신경 모니터링용 컴퓨터장치(100) 및 신경탐침용 전원 공급장치(200a)에 연결되고, 복수의 탐침 접속단자(350)와 전극 접속단자(340)가 형성되며, 신경탐침용 전원 공급장치(200a)로부터 전달되는 저전류 전원을 탐침 접속단자(350)로 인가하는 한편 전극 접속단자(340)로부터 입력되는 신체 전기신호를 신경 모니터링용 컴퓨터장치(100)로 전달하는 신경탐침 다중 연결박스(300)와; 수술에 사용되는 다수 종(種)의 수술기구(410)로 구성되는 수술기구 세트(400a)와; 신경탐침 다중 연결박스(300)에 형성된 복수의 탐침 접속단자(350)에 각각 연결되어 저전류 전원을 공급받게 되고, 다수 종의 수술기구(410)에 각각 연결되어 저전류 전원을 인가하게 되는 복수의 신경 탐침(500a)으로 구성되되, 신경 탐침(500a)은 신경탐침 다중 연결박스(300)의 탐침 접속단자(350)에 접속되는 연결케이블(510), 연결케이블(510)의 끝단부에 형성되는 설정크기의 블록체로 이루어지고 수술기구(410)에 연결되며 저전류 전류를 연결케이블(510)로부터 전달받아 수술기구(410)로 인가하는 본체 블록(520)을 포함하는 구성으로 이루어지는 신경 탐침 세트(500)와; 신체부위의 설정지점에 부착되고, 수술 중 신경 탐침(500a)과 수술기구(410)에 의해 수술기구(410)가 접촉하는 신체조직 부위로 인가되는 전류에 의한 근육 움직임으로부터 발생되는 신체 전기신호를 검출하게 되며, 신경탐침 다중 연결박스(300)의 전극 접속단자(340)에 연결되어 신체 전기신호를 입력하게 되는 전극(600)을 포함하는 것을 특징으로 하는 다중 인터페이싱 기반 수술 중 신경모니터링 시스템을 제공한다.According to an aspect of the present invention, there is provided a neural monitoring computer device (100) for inputting a body electrical signal, performing an electromyogram analysis on an input body electrical signal, and outputting electromyographic analysis information )Wow; A
이와 같은 본 발명에 따른 다중 인터페이싱 기반 수술 중 신경모니터링 시스템에서 신경탐침 다중 연결박스(300)는, 설정 형상으로 이루어진 연결박스 본체(310)와; 연결박스 본체(310)의 제1지점에 형성되고, 신경 모니터링용 컴퓨터장치(100)에 연결된 통신케이블(900a)이 접속하게 되는 통신케이블 접속단자(320)와; 연결박스 본체(310)의 제2지점에 형성되고, 신경탐침용 전원 공급장치(200a)에 연결된 전원케이블(900b)이 접속하게 되는 전원케이블 접속단자(330)와; 연결박스 본체(310)의 복수의 제3지점에 형성되고, 신체부위의 설정지점에 부착되어 신체 전기신호를 검출하는 전극(600)에 연결된 전극 연결선(900c)이 접속하게 되는 복수의 전극 접속단자(340)와; 연결박스 본체(310)의 복수의 제4지점에 형성되고, 다수 종의 수술기구(410)에 각각 연결되는 신경 탐침(500a)의 연결케이블(510)이 접속하게 되는 복수의 탐침 접속단자(350)와; 탐침 접속단자(350)를 통한 신경 탐침(500a)으로의 저전류 전원 인가 제어, 인가되는 저전류 전원의 전압값 제어를 수행하는 인가전원 제어스위치(360)를 포함하는 구성으로 이루어질 수 있다.In the multi-interfacing based neural monitoring system according to the present invention, the nerve probe
이와 같은 본 발명에 따른 다중 인터페이싱 기반 수술 중 신경모니터링 시스템은 수술 중 신체조직의 지혈이나 절단을 위하여 사용되고, 수술기구 세트(400a)를 구성하는 다수 종의 수술기구(410) 중에서 선택되는 어느 하나의 수술기구(410)와 연결되어 고전류 전원을 인가하게 되는 전기수술기(400b)와; 전기수술기(400b)로 설정크기의 고전류 전원을 공급하게 되는 전기수술기용 전원 공급장치(200b)와; 전기수술기(400b)가 연결될 수술기구(410)에 형성되는 접속단자에 연결되는 수술기구 연결단자(720), 전기수술기(400b)가 연결되는 전기수술기 연결단자(730), 신경 탐침(500a)이 연결되는 신경탐침 연결단자(740)가 각각 형성되어 있으며, 연결 전환신호에 따라 전기수술기 연결단자(730)와 신경탐침 연결단자(740) 중에서 선택된 어느 하나가 수술기구 연결단자(720)에 전기적으로 연결되도록 하는 신경탐침-전기수술기 연결용 전기계전기(700) 및; 사용자의 조작에 의해 연결 전환신호를 생성시키게 되는 스위칭 기구(800)를 더 포함하는 구성으로 이루어질 수 있다.The multi-interfacing based neurosurgical monitoring system according to the present invention is used for hemostasis or amputation of a body tissue during an operation, and is provided with a surgical instrument set 410 of any one of a plurality of
이와 같은 본 발명에 따른 다중 인터페이싱 기반 수술 중 신경모니터링 시스템에서 스위칭 기구(800)는, 사용자의 발이 놓여져 사용자 발 누름동작시 연결 전환신호를 생성시키는 전기수술기 발판(810), 사용자의 버튼 누름동작시 연결 전환신호를 생성시키는 전기수술기 스위치 버튼(820) 중에서 선택된 어느 하나로 이루어지되, 신경탐침-전기수술기 연결용 전기계전기(700)는 연결 전환신호가 전달되고 있는 시간 동안에만 전기수술기 연결단자(730)와 수술기구 연결단자(720)가 전기적으로 연결되도록 하고, 연결 전환신호가 전달되고 있지 않을 시에는 신경탐침 연결단자(740)와 수술기구 연결단자(720)가 전기적으로 연결되도록 할 수 있다.In the multi-interfacing based neuron monitoring system according to the present invention, the
이와 같은 본 발명에 따른 다중 인터페이싱 기반 수술 중 신경모니터링 시스템에서 신경 탐침 세트(500)를 이루는 신경 탐침(500a)은, 자석체(521)를 포함하고, 한쌍의 클램퍼(5221a)(5221b)로 이루어진 집게(522), 후크 형상의 고리(523), 수술기구 끼움홈(524), 수술기구 끼움홈(524)을 형성시키는 한쌍의 후크형 돌기(525) 군 중에서 선택된 어느 하나가 선단부에 형성되어 전도 전도성 소재로 이루어진 수술기구(410)에 착탈가능하게 부착되는 수술기구 부착형 본체 블록(520a)과; 끼움홈(5281)이 형성된 수술기구 연결단(528)이 선단부에 형성되어 수술기구(410)의 후단부 설정지점에 형성되는 돌출 핀(411)에 착탈가능하게 끼워지는 수술기구 끼움형 본체 블록(520b) 중에서 선택된 어느 하나를 구비할 수 있다.In the multi-interfacing based neural monitoring system according to the present invention, the
상술한 목적을 달성하기 위한 본 발명의 다른 특징에 의하면, 본 발명은 설정 형상으로 이루어진 연결박스 본체(310)와; 연결박스 본체(310)의 제1지점에 형성되고, 신경 모니터링용 컴퓨터장치(100)에 연결된 통신케이블(900a)이 접속하게 되는 통신케이블 접속단자(320)와; 연결박스 본체(310)의 제2지점에 형성되고, 신경탐침용 전원 공급장치(200a)에 연결된 전원케이블(900b)이 접속하게 되는 전원케이블 접속단자(330)와; 연결박스 본체(310)의 복수의 제3지점에 형성되고, 신체부위의 설정지점에 부착되어 신체 전기신호를 검출하는 전극(600)에 연결된 전극 연결선(900c)이 접속하게 되는 복수의 전극 접속단자(340)와; 연결박스 본체(310)의 복수의 제4지점에 형성되고, 다수 종의 수술기구(410)에 각각 연결되는 신경 탐침(500a)의 연결케이블(510)이 접속하게 되는 복수의 탐침 접속단자(350)와; 탐침 접속단자(350)를 통한 신경 탐침(500a)으로의 저전류 전원 인가 제어, 인가되는 저전류 전원의 전압값 제어를 수행하는 인가전원 제어스위치(360)를 포함하는 구성으로 이루어지는 것을 특징으로 하는 다중 인터페이싱 기반 수술 중 신경모니터링 시스템을 위한 신경탐침 다중 연결박스를 제공한다.According to another aspect of the present invention, there is provided a connector assembly comprising: a connection box body having a setting shape; A communication
상술한 목적을 달성하기 위한 본 발명의 또다른 특징에 의하면, 본 발명은 설정 형상으로 이루어진 계전기 본체(710)와; 계전기 본체(710)의 일단부에 형성되어 전기수술기(400b)가 연결될 수술기구(410)의 접속단자에 연결되는 수술기구 연결단자(720)와; 계전기 본체(710)의 타단부 일측에 형성되어 전기수술기(400b)가 연결되는 전기수술기 연결단자(730)와; 계전기 본체(710)의 타단부 타측에 형성되어 신경 탐침(500a)이 연결되는 신경탐침 연결단자(740)와; 계전기 본체(710) 내부에 형성되고, 연결 전환신호가 전달되고 있지 않을 시 신경탐침 연결단자(740)와 수술기구 연결단자(720) 간 전기적 연결을 유지시키고, 연결 전환신호가 전달되고 있을 시 전기수술기 연결단자(730)와 수술기구 연결단자(720)를 전기적으로 연결시키는 연결전환 동작유닛(750)을 포함하는 구성으로 이루어지는 것을 특징으로 하는 다중 인터페이싱 기반 수술 중 신경모니터링 시스템을 위한 신경탐침-전기수술기 연결용 전기계전기를 제공한다.According to another aspect of the present invention, there is provided a relay device including: a relay main body having a set shape; A surgical
본 발명에 의한 다중 인터페이싱 기반 수술 중 신경모니터링 시스템 및 그를 위한 신경탐침 다중 연결박스에 의하면, 수술 중 번갈아가며 사용되는 다수 종(種)의 수술기구(금속 수술기구, 내시경 수술기구, 로봇 수술기구, 에너지 디바이스 수술기구 등)에 각각 연결되어 있는 복수의 신경 탐침이 모두 동시접속되는 다중 연결박스가 제공되도록 하므로, 수술 중 수술기구의 교체에 대응하여 일일이 신경 탐침을 직전 사용 수술기구에서 현재 사용 수술기구로 탈부착 이동시키거나, 직전 사용 수술기구에 연결된 신경 탐침을 연결박스에서 제거하고 현재 사용 수술기구에 연결된 신경 탐침을 연결박스에 접속시켜야 하는 번거로움이 없어져 수술 및 신경확인의 신속성과 편의성이 향상되는 효과가 있다.According to the multi-interfacing based surgical neural monitoring system and neurostimulation multi-connection box for the same according to the present invention, it is possible to provide a surgical instrument (including a metal surgical instrument, an endoscopic surgical instrument, a robot surgical instrument, Energy devices, surgical instruments, etc.), all of which are connected to each other simultaneously. Thus, in response to the replacement of the surgical instrument during surgery, the neurological probe is used immediately before the surgical instrument. Or the neural probe connected to the surgical instrument used immediately before is removed from the connection box and the need for connecting the neuro probe connected to the currently used surgical instrument to the connection box is eliminated and the promptness and convenience of surgery and neural confirmation are improved It is effective.
또한 본 발명에 의한 다중 인터페이싱 기반 수술 중 신경모니터링 시스템 및 그를 위한 신경탐침-전기수술기 연결용 전기계전기에 의하면, 신경 탐침과 전기수술기가 연결된 전기계전기가 내시경 수술기구나 로봇 수술기구에 연결되어 전기계전기의 스위칭 동작에 따라 신경탐침이나 전기수술기가 수술기구에 전기적으로 연결되도록 함으로써 수술기구에 연결되는 신경 탐침이나 전기수술기의 물리적 교체작업 없이도 신경확인 및 전기수술기 사용을 교번할 수 있어 수술 중의 신경탐침/전기수술기 교체에 의한 불편함/번거로움/시간 소요가 최소화되고, 전기수술기 미사용시 지속적으로 신경확인을 할수 있게 되어 신경손상의 위험성이 최소화되며, 신속한 수술이 가능해지는 효과가 있다.In addition, according to the present invention, an electrical relay connected to a nerve probe and an electrosurgical instrument is connected to an endoscopic surgical instrument or a robot surgical instrument, According to the switching operation, the nerve probe or the electrosurgical instrument is electrically connected to the surgical instrument so that it is possible to alternate the use of the neural probe and the electrosurgical instrument without the physical replacement of the nerve probe or the electrosurgical instrument connected to the surgical instrument. The inconvenience / inconvenience / time-consuming due to the replacement of the surgical instrument is minimized, and when the electrosurgical instrument is not used, the neurological examination can be continuously performed, thereby minimizing the risk of nerve injury and enabling quick operation.
도 1은 본 발명의 실시예에 따른 다중 인터페이싱 기반 수술 중 신경모니터링 시스템의 구성 블록도;
도 2는 본 발명의 실시예에 따른 신경탐침 다중 연결박스의 구성 블록도;
도 3은 본 발명의 실시예에 따른 신경탐침 다중 연결박스의 표면 구성 예시도;
도 4는 본 발명의 실시예에 따른 다중 인터페이싱 기반 수술 중 신경모니터링 시스템에서 사용되는 수술기구 예시도;
도 5 내지 도 9는 본 발명의 실시예에 따른 다중 인터페이싱 기반 수술 중 신경모니터링 시스템에서 사용되는 신경 탐침의 상세 구성을 보여주기 위한 도면;
도 10은 신경탐침-전기수술기 연결용 전기계전기를 갖는 본 발명의 실시예에 따른 다중 인터페이싱 기반 수술 중 신경모니터링 시스템의 구성 블록도;
도 11과 도 12는 본 발명의 실시예에 따른 신경탐침-전기수술기 연결용 전기계전기의 상세 구성과 동작 구조를 보여주기 위한 도면이다.1 is a block diagram of a multi-interfacing based neural monitoring system according to an embodiment of the present invention;
 FIG. 2 is a block diagram of a neurostimulation multiple connection box according to an embodiment of the present invention; FIG.
 3 is a view illustrating an exemplary surface configuration of a neurostimulation multiple junction box according to an embodiment of the present invention;
 FIG. 4 illustrates an example of a surgical instrument used in a multiple interfacing based neural monitoring system according to an embodiment of the present invention; FIG.
 FIGS. 5 to 9 are diagrams illustrating a detailed configuration of a neural probe used in a multi-interfacing based neural monitoring system according to an embodiment of the present invention; FIG.
 10 is a configuration block diagram of a multiple interfacing based intraoperative neurological monitoring system according to an embodiment of the present invention having an electrical relay for connecting a neuro probe-electrosurgical instrument;
 11 and 12 are views showing a detailed structure and an operation structure of an electric relay for connecting a neurostimulator-electrosurgical instrument according to an embodiment of the present invention.
이하, 본 발명의 실시예를 첨부된 도면 도 1 내지 도 12에 의거하여 상세히 설명한다. 한편, 도면과 상세한 설명에서 일반적인 수술기구, 외과용 수술기구, 내시경용 수술기구, 로봇용 수술기구, 신경 탐침, 전선, 외과수술용 에너지 디바이스(energy devices surgical instrument), 초음파 절삭기(ultrasonic scalpel), 전파 절삭기(bipolar vessel sealing system), 썬더비트(Thunderbeat), 수술 중 신경 모니터링 시스템, 내시경, 로봇 수술 등으로부터 이 분야의 종사자들이 용이하게 알 수 있는 구성 및 작용에 대한 도시 및 언급은 간략히 하거나 생략하였다. 특히 도면의 도시 및 상세한 설명에 있어서 본 발명의 기술적 특징과 직접적으로 연관되지 않는 요소의 구체적인 기술적 구성 및 작용에 대한 상세한 설명 및 도시는 생략하고, 본 발명과 관련되는 기술적 구성만을 간략하게 도시하거나 설명하였다.Hereinafter, embodiments of the present invention will be described in detail with reference to the accompanying
본 발명의 실시예에 따른 다중 인터페이싱 기반 수술 중 신경모니터링 시스템(1)은 도 1에서와 같이 신경 모니터링용 컴퓨터장치(100), 신경탐침용 전원 공급장치(200a), 신경탐침 다중 연결박스(300), 수술기구 세트(400a), 신경 탐침 세트(500), 전극(600)을 포함하는 구성으로 이루어진다.The multiple interfacing based
신경 모니터링용 컴퓨터장치(100)는 신체 전기신호를 입력받는 한편, 입력된 신체 전기신호에 대한 근전도 분석을 수행하게 된다. 또한 신경 모니터링용 컴퓨터장치(100)는 근전도 분석정보를 출력하게 된다. 이를 위하여 신경 모니터링용 컴퓨터장치(100)는 신경 모니터링 프로그램(110)과 모니터(120)를 구비하게 된다.The neural
신경탐침용 전원 공급장치(200a)는 신경확인을 위한 설정크기의 저전류 전원을 공급하는 것이다. 신경탐침용 전원 공급장치(200a)는 신경탐침 다중 연결박스(300)로 전원을 전달하게 되는데, 신경탐침 다중 연결박스(300)로 전달되는 저전류 전원의 크기는 일정하게 유지되고, 신경탐침 다중 연결박스(300)에 연결된 신경 탐침(500a)으로 인가되는 저전류 전원의 크기는 신경탐침 다중 연결박스(300)에서 조절될 수 있다.The neuro-
신경탐침 다중 연결박스(300)는 신경 모니터링용 컴퓨터장치(100) 및 신경탐침용 전원 공급장치(200a)에 연결되는 것으로, 복수의 탐침 접속단자(350)와 전극 접속단자(340)가 형성되어 신경탐침용 전원 공급장치(200a)로부터 전달되는 저전류 전원을 탐침 접속단자(350)로 인가하는 한편 전극 접속단자(340)로부터 입력되는 신체 전기신호를 신경 모니터링용 컴퓨터장치(100)로 전달하게 된다.The neurostimulation
여기서 본 발명의 실시예에 따른 신경탐침 다중 연결박스(300)는 도 2와 도 3에서와 같이 연결박스 본체(310), 통신케이블 접속단자(320), 전원케이블 접속단자(330), 복수의 전극 접속단자(340), 복수의 탐침 접속단자(350), 인가전원 제어스위치(360)를 포함하는 구성으로 이루어진다.2 and 3, the nerve probe
연결박스 본체(310)는 설정 형상의 케이스로서, 연결박스 본체(310) 표면에 통신케이블 접속단자(320), 전원케이블 접속단자(330), 복수의 전극 접속단자(340), 복수의 탐침 접속단자(350), 인가전원 제어스위치(360)가 형성된다.The
통신케이블 접속단자(320)는 연결박스 본체(310)의 제1지점에 형성되는 것으로, 신경 모니터링용 컴퓨터장치(100)에 연결된 통신케이블(900a)이 접속하게 된다. 전원케이블 접속단자(330)는 연결박스 본체(310)의 제2지점에 형성되는 것으로, 신경탐침용 전원 공급장치(200a)에 연결된 전원케이블(900b)이 접속하게 된다.The communication
복수의 전극 접속단자(340)는 연결박스 본체(310) 표면에 위치되는 복수의 제3지점에 형성되는 것으로, 신체부위의 설정지점에 부착되어 신체 전기신호를 검출하는 전극(600)에 연결된 전극 연결선(900c)이 접속하게 된다. 복수의 탐침 접속단자(350)는 연결박스 본체(310) 표면에 위치되는 복수의 제4지점에 형성되는 것으로, 다수 종(種)의 수술기구(410)에 각각 연결되는 신경 탐침(500a)의 연결케이블(510)이 접속하게 된다.The plurality of
인가전원 제어스위치(360)는 탐침 접속단자(350)를 통한 신경 탐침(500a)으로의 저전류 전원 인가 제어, 인가되는 저전류 전원의 전압값 제어를 수행하는 스위치이다. 즉 인가전원 제어스위치(360)는 신경 탐침(500a)으로의 전원인가를 온오프(on-off)하거나, 신경 탐침(500a)으로 인가되는 전원의 전압값을 조절하게 된다. 이와 같은 인가전원 제어스위치(360)는 신경탐침 다중 연결박스(300)에 형성되는 탐침 접속단자(350)와 동일한 개수로 형성되는데, 인가전원 제어스위치(360)와 탐침 접속단자(350)는 서로 쌍을 이루면서 연동된다. 각각의 탐침 접속단자(350)는 타 탐침 접속단자(350)와 독립되어 인가전원 제어스위치(360)에 의해 개별제어된다.The applied
수술기구 세트(400a)는 수술에 사용되는 다수 종(種)의 수술기구(410)로 구성되는 것으로, 다수 종(種)의 수술기구(410)에는 도 4에서와 같이 금속 수술기구(410a), 내시경 수술기구(410b), 로봇 수술기구(410c), 에너지 디바이스 수술기구(410d) 등이 포함될 수 있다.The surgical instrument set 400a is composed of a plurality of kinds of
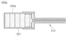
신경 탐침 세트(500)는 복수의 신경 탐침(500a)으로 구성되는데, 복수의 신경 탐침(500a)은 신경탐침 다중 연결박스(300)에 형성된 복수의 탐침 접속단자(350)에 각각 연결되어 저전류 전원을 공급받게 되고, 다수 종의 수술기구(410)에 각각 연결되어 저전류 전원을 인가하게 되는 것이다. 여기서 신경 탐침(500a)은 도 4에서와 같이 연결케이블(510)과 본체 블록(520)을 포함하는 구성으로 이루어진다.The nerve probe set 500 is composed of a plurality of
연결케이블(510)은 신경탐침 다중 연결박스(300)의 탐침 접속단자(350)에 접속되는 것이다. 본체 블록(520)은 연결케이블(510)의 끝단부에 형성되는 설정크기의 블록체로 이루어지는 것으로, 수술기구(410)에 연결되는 한편 저전류 전류를 연결케이블(510)로부터 전달받아 수술기구(410)로 인가하게 된다.The
여기서 신경 탐침(500a)의 본체 블록(520)은 수술기구 부착형 본체 블록(520a)으로 이루어질 수도 있고, 수술기구 끼움형 본체 블록(520b)으로 이루어질 수도 있다.Here, the body block 520 of the
수술기구 부착형 본체 블록(520a)은 자석체(521)를 구비하는 한편, 선단부에 한쌍의 클램퍼(5221a)(5221b)로 이루어진 집게(522), 후크 형상의 고리(523), 수술기구 끼움홈(524), 수술기구 끼움홈(524)을 형성시키는 한쌍의 후크형 돌기(525) 등이 형성되는 구조로 이루어진다. 이와 같은 수술기구 부착형 본체 블록(520a)의 자석체(521)도 선단부에 배치되면서 신경 탐침(500a)이 전도 전도성 소재로 이루어진 수술기구(410)에 착탈가능하게 부착되도록 한다. 수술기구 부착형 본체 블록(520a)을 갖는 신경 탐침(500a)은 본 발명자에 의해 기출원된 특허출원번호 제10-2016-0111923호 "수술기구 탈부착형 신경 탐침"에 기재되어 있는 기술구성으로 이루어진다.The surgical instrument attachment
즉, 수술기구 부착형 본체 블록(520a)은 연결케이블(510)의 끝단부에 형성되는 설정크기의 블록체로 이루어지는 것으로, 전기 전도성 소재로 이루어진 수술기구(410)에 착탈가능하게 부착된다. 이와 같은 수술기구 부착형 본체 블록(520a)은 전기 전도성 소재로 이루어져 전류를 연결케이블(510)로부터 전달받아 수술기구(410)로 인가하게 된다. 여기서 수술기구 부착형 본체 블록(520a)은 자석체(521)를 구비하여 도 5의 (a)에서와 같이 수술기구(410)에 착탈가능하게 부착된다. 이를 위하여 수술기구 부착형 본체 블록(520a)은 전기 전도율이 전선과 비슷하고 자석에 쉽게 붙는 재질인 철 소재로 된 원통체(쇠통)으로 이루어질 수 있다.That is, the surgical instrument attachment
자석체(521)는 수술기구 부착형 본체 블록(520a)의 내부에 배치될 수 있는데, 수술기구 부착형 본체 블록(520a)은 도 6에서와 같이 직렬로 연결된 복수의 자석체(521)가 내부에 배치되어 자력의 크기를 증대시키는 한편, 다방향으로 일정크기 이상의 자력이 균일하게 작용할 수 있도록 한다. 이를 통해 수술기구(410)에의 부착력이 증대될 수 있도록 한다.The
한편 수술기구 부착형 본체 블록(520a)은 도 5의 (b)에서와 같이 한쌍의 클램퍼(5221a)(5221b)로 이루어진 집게(522)를 형성하여 수술기구(410)에 착탈가능하게 부착될 수도 있으며, 도 5의 (c)에서와 같이 후크 형상의 고리(523)를 형성하여 수술기구(410)에 착탈가능하게 부착될 수도 있다. 또한 수술기구 부착형 본체 블록(520a)은 도 5의 (d)에서와 같이 전단부에 수술기구 끼움홈(524)이 요입형성되어 수술기구(410)가 수술기구 부착형 본체 블록(520a)의 수술기구 끼움홈(524)에 끼움고정되면서 수술기구(410)와 신경 탐침(500a) 간 결합이 견고하고 안정되게 유지될 수 있도록 한다. 그리고 수술기구 부착형 본체 블록(520a)은 도 5의 (e)에서와 같이 한쌍의 후크형 돌기(525)가 수술기구 끼움홈(524)을 선단부에 형성시키는 구조로 이루어져 수술기구(410)가 끼움고정되도록 할 수 있다.5B, the surgical instrument attachment
수술기구 부착형 본체 블록(520a)은 도 7에서와 같이 전기 전도성 소재로 이루어지는 메인바디(526)와 보조캡(527)을 포함하는 구성으로 이루어질 수 있다.The surgical instrument attachment
메인바디(526)는 원통체 형상으로 이루어지는 것으로, 수나사 가공면(5261)이 포함된 외주면을 가지며, 연결케이블(510)과 연결된다. 보조캡(527)은 암나사 가공면(5271)을 후단부에 형성하여 메인바디(526)와 결합되는 한편 수술기구(410)에 걸림고정되는 것으로, 수술기구(410)에 걸림고정되기 위하여 보조캡(527)은 도 7의 (a)에서와 같이 수술기구 끼움홈(524)만이 선단부에 형성된 것, 도 7의 (b)에서와 같이 후크 형상의 고리(523)가 수술기구 끼움홈(524)을 형성시키면서 선단부를 이루는 것, 도 7의 (c)에서와 같이 한쌍의 후크형 돌기(525)가 수술기구 끼움홈(524)을 선단부에 형성시키는 것, 도 7의 (d)에서와 같이 한쌍의 클램퍼(5221a)(5221b)로 이루어진 집게(522)가 수술기구 끼움홈(524)을 형성시키면서 선단부를 이루는 것으로 이루어질 수 있으며, 보조캡(527) 전체가 하나의 세트(set)를 이루면서 구비될 수 있다. 이와 같이 하나의 세트를 이루는 다수 종(種)의 보조캡(527)에서 수술기구(410)의 종류와 크기에 맞추어진 최적의 보조캡(527)이 선정되어 사용될 수 있다. 상기와 같이 수술기구 부착형 본체 블록(520a)의 메인바디(526)와 보조캡(527)은 볼트-너트 구조로 착탈가능하게 결합되는 구성이므로, 다수 종의 보조캡(527)이 선택적으로 메인바디(526)에 장착될 수 있게 된다.The
여기서 보조캡(527)에 형성될 수 있는 집게(522)는 서로 핀결합되는 후크형상의 클램퍼(5221a)(5221b)로 이루어지는데, 핀결합 부위에는 토션 스프링(미도시)이 배치되어 토션 스프링에 의해 한쌍의 클램퍼(5221a)(5221b)가 서로 맞물리는 방향으로 탄성이 부여되도록 할 수 있다.The
수술기구 끼움형 본체 블록(520b)은 도 8에서와 같이 끼움홈(5281)이 형성된 수술기구 연결단(528)이 선단부에 형성되어 수술기구(410)의 후단부 설정지점에 형성되는 돌출 핀(411)에 착탈가능하게 끼워지는 것이다. 수술기구 끼움형 본체 블록(520b)을 갖는 신경 탐침(500a)은 도 9에서와 같이 전기 전도성 소재로 이루어지지 않은 표면을 갖는 내시경 수술기구(410b), 로봇 수술기구(410c), 에너지 디바이스 수술기구(410d)에 적용되는 것으로, 내시경 수술기구(410b), 로봇 수술기구(410c), 에너지 디바이스 수술기구(410d)에는 전기수술기(400b)가 연결될 수 있는 전기 전도성 소재의 돌출 핀(411)이 일반적으로 형성되어 있으므로, 내시경 수술기구(410b), 로봇 수술기구(410c), 에너지 디바이스 수술기구(410d)의 돌출 핀(411)에 수술기구 끼움형 본체 블록(520b)이 끼워지게 되는 것이다. 여기서 에너지 디바이스 수술기구(410d)에는 초음파 에너지를 이용하는 초음파 절삭기(ultrasonic scalpel, harmonic scalpel), 양극성 고주파 에너지를 이용하는 전파 절삭기(bipolar vessel sealing system), 초음파 에너지 및 양극성 고주파 에너지를 모두 이용할 수 있는 듀얼 에너지 디바이스인 썬더비트(Thunderbeat) 등이 포함될 수 있다.8, a surgical
수술기구 끼움형 본체 블록(520b)을 갖는 신경 탐침(500a)은 본 발명자에 의해 기출원된 특허출원번호 제10-2016-0111913호 "신경 탐침이 부착된 에너지 디바이스 수술기구"에 기재되어 있는 기술구성으로 이루어진다.The
즉 수술기구 끼움형 본체 블록(520b)은 연결케이블(510)의 끝단부에 형성되는 설정크기의 블록체로 이루어지는 것으로, 수술기구(410)에 착탈가능하게 장착된다. 이와 같은 수술기구 끼움형 본체 블록(520b)에 끼움홈(5281)이 형성된 수술기구 연결단(528)이 형성된다. 한편 수술기구 끼움형 본체 블록(520b)을 갖는 신경 탐침(500a)이 장착되는 수술기구(410)에는 탐침용 전선(412)이 일체로 부착되어 신경 탐침(500a)과 전기적으로 연결된다. 여기서 탐침용 전선(412)은 수술기구(410)의 외부면에 노출형성될 수도 있고, 수술기구(410)의 내부에 삽입 배치될 수도 있는데, 수술기구(410)의 형상과 구조에 맞추어 탐침용 전선(412)의 노출형성이나 내부 삽입 배치가 결정된다.That is, the surgical instrument
이와 같은 탐침용 전선(412)은 신체 조직과 접촉하는 수술기구(410)의 끝단부에 배치되어 신체 조직으로 전류를 인가하게 된다. 여기서 탐침용 전선(412)은 수술기구(410)의 선단부에 형성된 블레이드의 좌우 측면과 전면을 둘러싸면서 부착되는 것이 바람직하다. 이와 달리 탐침용 전선(412)은 수술기구(410)의 선단부에 형성된 블레이드의 상면과 하면 중에서 선택된 어느 한 면 이상에 부착될 수도 있다.The
전극(600)은 신체부위의 설정지점에 부착되는 것으로, 수술 중 신경 탐침(500a)과 수술기구(410)에 의해 수술기구(410)가 접촉하는 신체조직 부위로 인가되는 전류에 의한 근육 움직임으로부터 발생되는 신체 전기신호를 검출하게 된다. 그리고 전극(600)은 신경탐침 다중 연결박스(300)의 전극 접속단자(340)에 연결되어 신체 전기신호를 입력하게 된다.The
한편 본 발명의 실시예에 따른 다중 인터페이싱 기반 수술 중 신경모니터링 시스템(1)은 도 10에서와 같이 전기수술기(400b), 전기수술기용 전원 공급장치(200b), 신경탐침-전기수술기 연결용 전기계전기(700), 스위칭 기구(800)를 추가적으로 구비할 수 있다.10, the multiple interfacing-based intraoperative
전기수술기(400b)는 수술 중 신체조직의 지혈이나 절단을 위하여 사용되는 것으로, 수술기구 세트(400a)를 구성하는 다수 종의 수술기구(410) 중에서 선택되는 어느 하나의 수술기구(410)와 연결되어 고전류 전원을 인가하게 된다.The
전기수술기용 전원 공급장치(200b)는 전기수술기(400b)로 설정크기의 고전류 전원을 공급하게 되는 것이다. 여기서 전기수술기용 전원 공급장치(200b)와 신경탐침용 전원 공급장치(200a)와 동일한 전원 공급장치로 이루어지되, 복수의 출력 포트를 통해 출력되는 전원의 출력 전류값이 달리 설정되는 구조로 이루어질 수 있다.The
신경탐침-전기수술기 연결용 전기계전기(700)는 전기수술기(400b)와 신경 탐침(500a)이 일측에 연결되는 한편, 수술기구(410)가 타측에 연결되는 것으로, 연결 전환신호에 따라 전기수술기 연결단자(730)와 신경탐침 연결단자(740) 중에서 선택된 어느 하나가 수술기구 연결단자(720)에 전기적으로 연결되도록 한다. 여기서 본 발명의 실시예에 따른 신경탐침-전기수술기 연결용 전기계전기(700)는 도 11에서와 같이 계전기 본체(710), 수술기구 연결단자(720), 전기수술기 연결단자(730), 신경탐침 연결단자(740), 연결전환 동작유닛(750)을 포함하는 구성으로 이루어진다.The electro-surgical device 400 is connected to one side of the electro-
계전기 본체(710)는 설정 형상의 케이스로서, 계전기 본체(710) 표면에 수술기구 연결단자(720), 전기수술기 연결단자(730), 신경탐침 연결단자(740)가 형성되고, 계전기 본체(710)에 연결전환 동작유닛(750)이 설치된다.The relay
수술기구 연결단자(720)는 계전기 본체(710)의 일단부에 형성되어 전기수술기(400b)가 연결될 수술기구(410)의 접속단자에 연결되는 단자이고, 전기수술기 연결단자(730)는 계전기 본체(710)의 타단부 일측에 형성되어 전기수술기(400b)가 연결되는 단자이며, 신경탐침 연결단자(740)는 계전기 본체(710)의 타단부 타측에 형성되어 신경 탐침(500a)이 연결되는 단자이다.The surgical
연결전환 동작유닛(750)은 계전기 본체(710) 내부에 형성되는 것으로, 연결 전환신호가 전달되고 있지 않을 시 신경탐침 연결단자(740)와 수술기구 연결단자(720) 간 전기적 연결을 유지시키고, 연결 전환신호가 전달되고 있을 시 전기수술기 연결단자(730)와 수술기구 연결단자(720)를 전기적으로 연결시키게 된다. 이와 같은 연결전환 동작유닛(750)은 계전기의 종류에 따라 물리적 장치 구조{전자(電磁) 계전기와 같은 접점 계전기 등}로 이루어질 수도 있고, 전기전자 회로 구조{반도체 계전기(트랜지스터 릴레이, SCR 릴레이)와 같은 무접점 계전기 등}로 이루어질 수도 있다.The connection
상기와 같은 신경탐침-전기수술기 연결용 전기계전기(700)는 연결 전환신호가 전달되고 있는 시간 동안에만 전기수술기 연결단자(730)와 수술기구 연결단자(720)가 전기적으로 연결되도록 하고, 연결 전환신호가 전달되고 있지 않을 시에는 신경탐침 연결단자(740)와 수술기구 연결단자(720)가 전기적으로 연결되도록 한다.The
스위칭 기구(800)는 사용자의 조작에 의해 연결 전환신호를 생성시키게 되는 것으로, 이와 같은 스위칭 기구(800)로는 도 12에서와 같이 사용자의 발이 놓여져 사용자 발 누름동작시 연결 전환신호를 생성시키는 전기수술기 발판(810), 사용자의 버튼 누름동작시 연결 전환신호를 생성시키는 전기수술기 스위치 버튼(820) 등이 사용될 수 있다.The
상기와 같이 구성된 본 발명의 실시예에 따른 다중 인터페이싱 기반 수술 중 신경모니터링 시스템 및 그를 위한 신경탐침 다중 연결박스는 수술 중 번갈아가며 사용되는 다수 종(種)의 수술기구(금속 수술기구, 내시경 수술기구, 로봇 수술기구, 에너지 디바이스 수술기구 등)에 각각 연결되어 있는 복수의 신경 탐침이 모두 동시접속되는 다중 연결박스가 제공되도록 하므로, 수술 중 수술기구의 교체에 대응하여 일일이 신경 탐침을 직전 사용 수술기구에서 현재 사용 수술기구로 탈부착 이동시키거나, 직전 사용 수술기구에 연결된 신경 탐침을 연결박스에서 제거하고 현재 사용 수술기구에 연결된 신경 탐침을 연결박스에 접속시켜야 하는 번거로움이 없어져 수술 및 신경확인의 신속성과 편의성이 향상된다. 그리고 본 발명의 실시예에 따른 다중 인터페이싱 기반 수술 중 신경모니터링 시스템 및 그를 위한 신경탐침-전기수술기 연결용 전기계전기는 신경 탐침과 전기수술기가 연결된 전기계전기가 내시경 수술기구나 로봇 수술기구에 연결되어 전기계전기의 스위칭 동작에 따라 신경탐침이나 전기수술기가 수술기구에 전기적으로 연결되도록 하므로, 수술기구에 연결되는 신경 탐침이나 전기수술기의 물리적 교체작업 없이도 신경확인 및 전기수술기 사용을 교번할 수 있어 수술 중의 신경탐침/전기수술기 교체에 의한 불편함/번거로움/시간 소요가 최소화되고, 전기수술기 미사용시 지속적으로 신경확인을 할수 있게 되어 신경손상의 위험성이 최소화되며, 신속한 수술이 가능해진다.The multiple interfacing based neural monitoring system and the neurostimulation multiple connection box for the multiple interfacing based on the above-described embodiment of the present invention can be applied to various types of surgical instruments (such as a metal surgical instrument, an endoscopic surgical instrument , A robot surgical instrument, an energy device surgical instrument, etc.) are simultaneously connected to each other. Therefore, in response to the replacement of the surgical instrument during surgery, , The neurite probe connected to the surgical instrument used immediately before is removed from the connection box and the need for connecting the neuro probe connected to the currently used surgical instrument to the connection box is eliminated, And convenience is improved. In addition, according to an embodiment of the present invention, a multi-interfacing based neural monitoring system and a neural probe for the same, and an electrical relay for connecting the electrosurgical instrument include an electrical relay to which the neural probe and the electrosurgical instrument are connected, The nerve probe or the electrosurgical instrument is electrically connected to the surgical instrument according to the switching operation of the nerve probe or the electrosurgical instrument, / Discomfort / hassle / time-consuming due to replacing the electrosurgical instrument is minimized, and when the electrosurgical instrument is not used, the neurological examination can be continuously performed, the risk of nerve injury is minimized, and rapid operation becomes possible.
상술한 바와 같은, 본 발명의 실시예에 따른 다중 인터페이싱 기반 수술 중 신경모니터링 시스템 및 그를 위한 신경탐침 다중 연결박스와 신경탐침-전기수술기 연결용 전기계전기를 상기한 설명 및 도면에 따라 도시하였지만, 이는 예를 들어 설명한 것에 불과하며 본 발명의 기술적 사상을 벗어나지 않는 범위 내에서 다양한 변화 및 변경이 가능하다는 것을 이 분야의 통상적인 기술자들은 잘 이해할 수 있을 것이다.Although the multi-interfacing based neural monitoring system, the neurostimulation multiple connection box and the electrical relay for connecting the neurological probe and the electrosurgical apparatus according to the embodiment of the present invention as described above have been shown and described with reference to the above description and drawings, It will be understood by those skilled in the art that various changes and modifications may be made without departing from the spirit and scope of the invention.
1 : 다중 인터페이싱 기반 수술 중 신경모니터링 시스템
100 : 신경 모니터링용 컴퓨터장치
110 : 신경 모니터링 프로그램
120 : 모니터
200a : 신경탐침용 전원 공급장치
200b : 전기수술기용 전원 공급장치
300 : 신경탐침 다중 연결박스
310 : 연결박스 본체
320 : 통신케이블 접속단자
330 : 전원케이블 접속단자
340 : 전극 접속단자
350 : 탐침 접속단자
360 : 인가전원 제어스위치
400a : 수술기구 세트
400b : 전기수술기
410 : 수술기구
410a : 금속 수술기구
410b : 내시경 수술기구
410c : 로봇 수술기구
410d : 에너지 디바이스 수술기구
411 : 돌출 핀
412 : 탐침용 전선
500 : 신경 탐침 세트
500a : 신경 탐침
510 : 연결케이블
520 : 본체 블록
520a : 수술기구 부착형 본체 블록
520b : 수술기구 끼움형 본체 블록
521 : 자석체
522 : 집게
5221a, 5221b : 클램퍼
523 : 고리
524 : 수술기구 끼움홈
525 : 후크형 돌기
526 : 메인바디
5261 : 수나사 가공면
527 : 보조캡
5271 : 암나사 가공면
528 : 수술기구 연결단
5281 : 끼움홈
600 : 전극
700 : 신경탐침-전기수술기 연결용 전기계전기
710 : 계전기 본체
720 : 수술기구 연결단자
730 : 전기수술기 연결단자
740 : 신경탐침 연결단자
750 : 연결전환 동작유닛
800 : 스위칭 기구
810 : 전기수술기 발판
820 : 전기수술기 스위치 버튼
900a : 통신케이블
900b : 전원케이블
900c : 전극 연결선1: Multiple interfacing based neuro-monitoring system
 100: Computer equipment for neuron monitoring
 110: Neuro-monitoring program
 120: Monitor
 200a: Power supply for neural probe
 200b: Power supply for electrosurgical instrument
 300: Neurostimulation multiple connection box
 310: connection box body
 320: Communication cable connection terminal
 330: Power cable connection terminal
 340: electrode connection terminal
 350: probe connection terminal
 360: Power supply control switch
 400a: Surgical instrument set
 400b: electrosurgical instrument
 410: Surgical instrument
 410a: Metal Surgery Apparatus
 410b: endoscopic surgery instrument
 410c: Robotic Surgery Apparatus
 410d: Energy Device Surgical Instruments
 411: projecting pin
 412: Wire for probe
 500: Neural probe set
 500a: neural probe
 510: Connecting cable
 520: body block
 520a: Surgical instrument attachment type body block
 520b: Surgical instrument fitting type body block
 521: magnet body
 522: tongs
 5221a, 5221b: clamper
 523: Ring
 524: Surgical instrument fitting groove
 525: hook-shaped projection
 526: Main Body
 5261: Male threaded surface
 527: Auxiliary cap
 5271: Female thread surface
 528: Surgical instrument connection
 5281: Fitting groove
 600: electrode
 700: Neuron probe - electrical relay for connection to electrosurgical instrument
 710: Relay body
 720: Surgical instrument connection terminal
 730: Electrodes connection terminal
 740: Neuro probe connector
 750: connection switching operation unit
 800: Switching mechanism
 810: Electrosurgical scaffolding
 820: Reactor switch button
 900a: Communication cable
 900b: Power cable
 900c: electrode connection line
| Application Number | Priority Date | Filing Date | Title | 
|---|---|---|---|
| KR1020170018716AKR101910643B1 (en) | 2017-02-10 | 2017-02-10 | Intraoperative neural monitoring system by multiple inferfacing | 
| Application Number | Priority Date | Filing Date | Title | 
|---|---|---|---|
| KR1020170018716AKR101910643B1 (en) | 2017-02-10 | 2017-02-10 | Intraoperative neural monitoring system by multiple inferfacing | 
| Publication Number | Publication Date | 
|---|---|
| KR20180092675A KR20180092675A (en) | 2018-08-20 | 
| KR101910643B1true KR101910643B1 (en) | 2018-10-23 | 
| Application Number | Title | Priority Date | Filing Date | 
|---|---|---|---|
| KR1020170018716AExpired - Fee RelatedKR101910643B1 (en) | 2017-02-10 | 2017-02-10 | Intraoperative neural monitoring system by multiple inferfacing | 
| Country | Link | 
|---|---|
| KR (1) | KR101910643B1 (en) | 
| Publication number | Priority date | Publication date | Assignee | Title | 
|---|---|---|---|---|
| US11517368B2 (en) | 2020-10-09 | 2022-12-06 | Nerve Safe Llc | Electrocautery systems with automatic shut-off | 
| Publication number | Priority date | Publication date | Assignee | Title | 
|---|---|---|---|---|
| KR102630332B1 (en)* | 2022-11-09 | 2024-01-30 | 한국과학기술원 | Bio-probe module, bio-signal detector having the same and method of manufacturing the bio-probe module | 
| Publication number | Priority date | Publication date | Assignee | Title | 
|---|---|---|---|---|
| WO2004064632A1 (en) | 2003-01-22 | 2004-08-05 | Sdgi Holdings, Inc. | Apparatus and method for intraoperative neural monitoring | 
| US20090209879A1 (en) | 2001-07-11 | 2009-08-20 | Nuvasive, Inc. | System and Methods for Determining Nerve Proximity, Direction, and Pathology During Surgery | 
| Publication number | Priority date | Publication date | Assignee | Title | 
|---|---|---|---|---|
| KR200442363Y1 (en) | 2007-02-07 | 2008-11-05 | 진성상역 주식회사 | Heart-shaped, versatile framed album and its stand | 
| GB2514100B (en) | 2013-05-08 | 2020-04-01 | Creo Medical Ltd | Apparatus for Controlling Power Delivered by Electrosurgical Probe | 
| KR101500653B1 (en) | 2013-12-17 | 2015-03-10 | 한국과학기술연구원 | Neural Probe Array having vertical type probe | 
| Publication number | Priority date | Publication date | Assignee | Title | 
|---|---|---|---|---|
| US20090209879A1 (en) | 2001-07-11 | 2009-08-20 | Nuvasive, Inc. | System and Methods for Determining Nerve Proximity, Direction, and Pathology During Surgery | 
| US20100152604A1 (en) | 2001-07-11 | 2010-06-17 | Nuvasive, Inc. | System and methods for determining nerve proximity, direction, and pathology during surgery | 
| WO2004064632A1 (en) | 2003-01-22 | 2004-08-05 | Sdgi Holdings, Inc. | Apparatus and method for intraoperative neural monitoring | 
| Publication number | Priority date | Publication date | Assignee | Title | 
|---|---|---|---|---|
| US11517368B2 (en) | 2020-10-09 | 2022-12-06 | Nerve Safe Llc | Electrocautery systems with automatic shut-off | 
| Publication number | Publication date | 
|---|---|
| KR20180092675A (en) | 2018-08-20 | 
| Publication | Publication Date | Title | 
|---|---|---|
| CN105208955B (en) | Combined electrosurgical device | |
| CA2735650C (en) | Surgical instrument with non-contact electrical coupling | |
| KR101728727B1 (en) | Interface Module for Use with Nerve Monitoring and Electrosurgery | |
| US3920021A (en) | Coagulating devices | |
| US6712813B2 (en) | RF probe for electrosurgical instrument | |
| US5330470A (en) | Electro-surgical treatment instrument | |
| RU2709679C2 (en) | Bipolar electrosurgical actuator | |
| US20110054462A1 (en) | Electrosurgical instrument with multi-function handpiece | |
| CN105286992A (en) | Combination electrosurgical device | |
| CN104321012B (en) | Stimulation probe for robot and laparoscopic surgery | |
| KR102446776B1 (en) | Simultaneous electrosurgical suture and amputation | |
| KR101910643B1 (en) | Intraoperative neural monitoring system by multiple inferfacing | |
| KR101731004B1 (en) | Energy devices surgical instrument attached with nerve stimulator | |
| JP2017536875A (en) | Bipolar surgical instrument with reusable handle and disposable tool | |
| CN104519820A (en) | Electrosurgical instrument and system | |
| US11717361B2 (en) | Electrosurgical robotic system having tool presence detection | |
| DE102013002832A1 (en) | Robot for HF surgery | |
| KR100879617B1 (en) | Electrosurgical device | |
| CN215914806U (en) | Stripping type nerve probe | |
| US20220409232A1 (en) | Energy based surgical instruments and systems | |
| US11259861B2 (en) | Common connector for monopolar and bipolar instruments | |
| CN211131064U (en) | Hand-held flexible wireless nerve stimulator with stimulation current regulating switch | |
| KR101708047B1 (en) | Detachable nerve probe in surgical instrument | |
| US20240189015A1 (en) | Electrosurgical system, electrosurgical generator, and method of operating an electrosurgical system | |
| US20250064503A1 (en) | Electrosurgical system, electrosurgical generator, and method of operating an electrosurgical system | 
| Date | Code | Title | Description | 
|---|---|---|---|
| A201 | Request for examination | ||
| PA0109 | Patent application | St.27 status event code:A-0-1-A10-A12-nap-PA0109 | |
| PA0201 | Request for examination | St.27 status event code:A-1-2-D10-D11-exm-PA0201 | |
| E902 | Notification of reason for refusal | ||
| PE0902 | Notice of grounds for rejection | St.27 status event code:A-1-2-D10-D21-exm-PE0902 | |
| PG1501 | Laying open of application | St.27 status event code:A-1-1-Q10-Q12-nap-PG1501 | |
| E13-X000 | Pre-grant limitation requested | St.27 status event code:A-2-3-E10-E13-lim-X000 | |
| P11-X000 | Amendment of application requested | St.27 status event code:A-2-2-P10-P11-nap-X000 | |
| P13-X000 | Application amended | St.27 status event code:A-2-2-P10-P13-nap-X000 | |
| E701 | Decision to grant or registration of patent right | ||
| PE0701 | Decision of registration | St.27 status event code:A-1-2-D10-D22-exm-PE0701 | |
| GRNT | Written decision to grant | ||
| PR0701 | Registration of establishment | St.27 status event code:A-2-4-F10-F11-exm-PR0701 | |
| PR1002 | Payment of registration fee | St.27 status event code:A-2-2-U10-U11-oth-PR1002 Fee payment year number:1 | |
| PG1601 | Publication of registration | St.27 status event code:A-4-4-Q10-Q13-nap-PG1601 | |
| P22-X000 | Classification modified | St.27 status event code:A-4-4-P10-P22-nap-X000 | |
| P22-X000 | Classification modified | St.27 status event code:A-4-4-P10-P22-nap-X000 | |
| P22-X000 | Classification modified | St.27 status event code:A-4-4-P10-P22-nap-X000 | |
| P22-X000 | Classification modified | St.27 status event code:A-4-4-P10-P22-nap-X000 | |
| PR1001 | Payment of annual fee | St.27 status event code:A-4-4-U10-U11-oth-PR1001 Fee payment year number:4 | |
| PR1001 | Payment of annual fee | St.27 status event code:A-4-4-U10-U11-oth-PR1001 Fee payment year number:5 | |
| PN2301 | Change of applicant | St.27 status event code:A-5-5-R10-R13-asn-PN2301 St.27 status event code:A-5-5-R10-R11-asn-PN2301 | |
| PC1903 | Unpaid annual fee | St.27 status event code:A-4-4-U10-U13-oth-PC1903 Not in force date:20231017 Payment event data comment text:Termination Category : DEFAULT_OF_REGISTRATION_FEE | |
| R18-X000 | Changes to party contact information recorded | St.27 status event code:A-5-5-R10-R18-oth-X000 | |
| P22-X000 | Classification modified | St.27 status event code:A-4-4-P10-P22-nap-X000 | |
| PC1903 | Unpaid annual fee | St.27 status event code:N-4-6-H10-H13-oth-PC1903 Ip right cessation event data comment text:Termination Category : DEFAULT_OF_REGISTRATION_FEE Not in force date:20231017 | |
| PN2301 | Change of applicant | St.27 status event code:A-5-5-R10-R13-asn-PN2301 St.27 status event code:A-5-5-R10-R11-asn-PN2301 | |
| R18-X000 | Changes to party contact information recorded | St.27 status event code:A-5-5-R10-R18-oth-X000 |