







본 발명은 스마트 카드의 보안 도메인의 권한을 변경하는 것에 관한 것으로서, 보다 상세하게는 보안 도메인의 권한 변경을 관리하는 서버, 보안 도메인의 권한을 변경하는 스마트 카드, 그 스마트 카드를 탑재한 단말, 및 권한 변경 방법에 관한 것이다.More particularly, the present invention relates to a server for managing rights change of a security domain, a smart card for changing a right of a security domain, a terminal equipped with the smart card, And a method for changing the authority.
UICC(Universal Integrated Circuit Card)는 단말기 내에 삽입되어 사용자 인증을 위한 모듈로서 사용될 수 있는 스마트 카드이다. UICC는 사용자의 개인 정보 및 사용자가 가입한 이동 통신 사업자에 대한 사업자 정보를 저장할 수 있다. 예를 들면, UICC는 사용자를 식별하기 위한 IMSI(International Mobile Subscriber Identity)를 포함할 수 있다. UICC는 GSM(Global System for Mobile communications) 방식의 경우 SIM(Subscriber Identity Module) 카드, WCDMA(Wideband Code Division Multiple Access) 방식의 경우 USIM(Universal Subscriber Identity Module) 카드로 불리기도 한다.A UICC (Universal Integrated Circuit Card) is a smart card inserted in a terminal and can be used as a module for user authentication. The UICC can store the user's personal information and the carrier information of the mobile communication carrier to which the user subscribes. For example, the UICC may include an International Mobile Subscriber Identity (IMSI) for identifying a user. The UICC is also called a Subscriber Identity Module (SIM) card for Global System for Mobile communications (GSM) and a Universal Subscriber Identity Module (USIM) card for a Wideband Code Division Multiple Access (WCDMA) scheme.
사용자가 UICC를 사용자의 단말에 장착하면, UICC에 저장된 정보들을 이용하여 자동으로 사용자 인증이 이루어져 사용자가 편리하게 단말을 사용할 수 있다. 또한, 사용자가 단말을 교체할 때, 사용자는 기존의 단말에서 탈거한 UICC를 새로운 단말에 장착하여 용이하게 단말을 교체할 수 있다.When the user attaches the UICC to the user terminal, the user is automatically authenticated using the information stored in the UICC, so that the user can conveniently use the terminal. In addition, when the user changes the terminal, the user can easily replace the terminal by attaching the UICC removed from the existing terminal to the new terminal.
소형화가 요구되는 단말, 예를 들면 기계 대 기계(Machine to Machine, M2M) 통신을 위한 단말은 UICC를 착탈할 수 있는 구조로 제조할 경우 단말의 소형화가 어려워진다. 그리하여, 착탈할 수 없는 UICC인 내장 UICC(Embedded UICC) 구조가 제안되었다. 내장 UICC는 해당 UICC를 사용하는 사용자 정보가 IMSI 형태로 수록되어야 한다.When a terminal requiring miniaturization, for example, a machine to machine (Machine to Machine, M2M) communication, is manufactured with a structure capable of detaching and removing the UICC, miniaturization of the terminal becomes difficult. Thus, a built-in UICC (Embedded UICC) structure, which is a non-removable UICC, has been proposed. The embedded UICC shall record the user information using the corresponding UICC in the form of IMSI.
기존의 UICC는 단말에 착탈이 가능하여, 단말의 종류나 이동 통신 사업자에 구애받지 않고 사용자는 단말을 개통할 수 있다. 그러나, 단말을 제조할 때부터 제조된 단말은 특정 이동 통신 사업자에 대해서만 사용된다는 전제가 성립되어야 내장 UICC 내의 IMSI를 할당할 수 있다. 단말을 발주하는 이동 통신 사업자 및 단말 제조사는 모두 제품 재고에 신경을 쓸 수 밖에 없고 제품 가격이 상승하는 문제가 발생하게 된다. 사용자는 단말에 대해 이동 통신 사업자를 바꿀 수 없는 불편이 있다. 그러므로, 내장 UICC의 경우에도 이동 통신 사업자에 구애받지 않고 사용자가 단말을 개통할 수 있는 방법이 요구된다.The existing UICC can be attached to / detached from the terminal, and the user can open the terminal without being concerned with the type of terminal or the mobile communication provider. However, the IMSI in the built-in UICC can be allocated only when a terminal manufactured from the manufacturing of the terminal is used only for a specific mobile communication provider. Both the mobile communication service provider and the terminal manufacturer ordering the terminal are forced to pay attention to the product inventory and the product price is raised. The user is inconvenient that the mobile communication company can not be changed with respect to the terminal. Therefore, even in the case of the built-in UICC, a method by which the user can open the terminal without being bound to the mobile communication service provider is required.
UICC는 어플리케이션의 보안을 위한 보안 도메인(Security Domain, SD)을 구비하고, 특히 ISD(Issuer Security Domain)는 카드 관리자(card manager)로서, 발급자(Issuer)의 비밀 키를 저장하고, MNO(Mobile Network Operator) 영역의 CCM(Card Content Management)를 위한 인증(Authentication)을 담당할 수 있다. 그러나, ISD는 이동 통신 사업자에 구애받는 개체로서, 이동 통신 사업자를 변경하는데 있어 ISD가 문제가 될 수 있다.The Issuer Security Domain (ISD) is a card manager that stores the secret key of the issuer and is used for the Mobile Network (MNO) (CardMessage Management) of the CCM (Operator) area. However, ISD is an entity subject to the mobile communication service provider, and ISD may be a problem in changing the mobile communication service provider.
본 발명은 내장 UICC를 포함하는 단말이 이동 통신 사업자를 변경할 수 있는 방법 및 장치를 제공하는 것을 목적으로 한다.It is an object of the present invention to provide a method and an apparatus for allowing a terminal including a built-in UICC to change a mobile communication provider.
본 발명의 일 실시예는, 스마트 카드 내에 설정된 제 1 보안 도메인에 접근할 수 있는 서버에서 실행되는 보안 도메인 권한 변경 제어 방법으로서, 상기 스마트 카드가 탑재된 단말로부터 보안 도메인 변경 요청 신호를 수신하는 단계; 상기 제 1 보안 도메인을 통해 복수의 제 2 보안 도메인 중 현재 활성화된 제 2 보안 도메인을 잠금 상태로 변경할 것을 요청하는 신호를 전송하는 단계; 상기 제 1 보안 도메인을 통해 복수의 제 2 보안 도메인 중 활성화시킬 제 2 보안 도메인의 인덱스 정보를 전송하는 단계를 포함하는 서버의 보안 도메인 권한 변경 제어 방법을 제공한다.One embodiment of the present invention is a security domain permission change control method executed in a server accessible to a first security domain set in a smart card, the method comprising: receiving a security domain change request signal from a terminal equipped with the smart card ; Transmitting a signal requesting to change a currently active second security domain among the plurality of second security domains to the locked state through the first security domain; And transmitting index information of a second security domain to be activated among the plurality of second security domains through the first security domain.
본 발명의 다른 실시예는, 스마트 카드를 관리하는 관리 서버와 키를 공유하는 제 1 보안 도메인 및 네트워크 사업자와 키를 공유하는 복수의 제 2 보안 도메인을 포함하는 스마트 카드에서 실행되는 보안 도메인 권한 변경 방법으로서, 상기 관리 서버로부터 상기 제 1 보안 도메인을 통해 복수의 제 2 보안 도메인 중 현재 활성화된 제 2 보안 도메인을 잠금 상태로 변경할 것을 요청하는 신호를 수신하는 단계; 상기 현재 활성화된 제 2 보안 도메인을 잠금 상태로 변경하는 단계; 상기 관리 서버로부터 상기 제 1 보안 도메인을 통해 복수의 제 2 보안 도메인 중 활성화될 제 2 보안 도메인의 인덱스 정보를 수신하는 단계; 상기 활성화시킬 제 2 보안 도메인을 활성화하는 단계를 포함하는 것을 특징으로 하는 스마트 카드의 보안 도메인 권한 변경 방법을 제공한다.Another embodiment of the present invention is a security domain authorization change executed on a smart card including a first security domain sharing a key with a management server managing a smart card and a plurality of second security domains sharing a key with a network carrier The method comprising: receiving a signal from the management server requesting to change a currently active second security domain among the plurality of second security domains through the first security domain to a locked state; Changing the currently activated second security domain to a locked state; Receiving index information of a second security domain to be activated from among a plurality of second security domains through the first security domain from the management server; And activating a second security domain to activate the smart card.
본 발명의 다른 실시예는, 스마트 카드를 관리하는 관리 서버와 키를 공유하는 제 1 보안 도메인 및 네트워크 사업자와 키를 공유하는 복수의 제 2 보안 도메인을 포함하는 스마트 카드가 장착된 단말에서 실행되는 보안 도메인 권한 변경 방법으로서, 상기 관리 서버로부터 상기 제 1 보안 도메인을 통해 복수의 제 2 보안 도메인 중 현재 활성화된 제 2 보안 도메인을 잠금 상태로 변경할 것을 요청하는 신호를 수신하는 단계; 상기 현재 활성화된 제 2 보안 도메인을 잠금 상태로 변경하는 단계; 상기 관리 서버로부터 상기 제 1 보안 도메인을 통해 복수의 제 2 보안 도메인 중 활성화될 제 2 보안 도메인의 인덱스 정보를 수신하는 단계; 상기 활성화시킬 제 2 보안 도메인을 활성화하는 단계를 포함하는 것을 특징으로 하는 단말의 보안 도메인 권한 변경 방법을 제공한다.Another embodiment of the present invention is a method for managing a smart card, which is executed in a terminal equipped with a smart card including a first security domain sharing a key with a management server managing a smart card and a plurality of second security domains sharing a key with a network carrier A method for changing a security domain authority, comprising: receiving a signal from the management server requesting to change a currently active second security domain among a plurality of second security domains through the first security domain to a locked state; Changing the currently activated second security domain to a locked state; Receiving index information of a second security domain to be activated from among a plurality of second security domains through the first security domain from the management server; And activating a second security domain to be activated by the second security domain.
본 발명의 다른 실시예는, 스마트 카드의 제 1 보안 도메인과 공유하는 키를 저장하는 키 저장부; 네트워크 사업자에 대응되는 상기 스마트 카드의 복수의 제 2 보안 도메인의 인덱스를 저장하는 인덱스 저장부; 상기 제 1 보안 도메인으로 상기 제 2 보안 도메인의 상태 변경 요청 신호를 전송하고 전송에 대한 응답 신호를 수신하는 제 1 인터페이스를 포함하는 서버를 제공한다.According to another aspect of the present invention, there is provided a smart card system including a key storage unit for storing a key shared with a first security domain of a smart card; An index storage unit for storing an index of a plurality of second security domains of the smart card corresponding to a network operator; And a first interface for transmitting a status change request signal of the second security domain to the first security domain and receiving a response signal for transmission.
본 발명의 다른 실시예는, 네트워크 사업자에 대응되는 스마트 카드의 보안 도메인의 키 정보를 저장하는 키 저장부; 상기 스마트 카드와 통신하는 외부 서버로부터 상기 보안 도메인의 키 정보 요청 신호를 수신하고, 상기 외부 서버로 상기 보안 도메인의 키 정보를 전송하는 인터페이스를 포함하는 서버를 제공한다.According to another aspect of the present invention, there is provided a smart card system including a key storage unit for storing key information of a security domain of a smart card corresponding to a network operator; And an interface for receiving a key information request signal of the secure domain from an external server communicating with the smart card and transmitting the key information of the secure domain to the external server.
본 발명의 다른 실시예는, 스마트 카드를 관리하는 관리 서버와 키를 공유하는 제 1 보안 도메인; 네트워크 사업자와 키를 공유하는 복수의 제 2 보안 도메인; 및 상기 제 1 보안 도메인을 통해 수신된 제 2 보안 도메인의 상태 변경 요청 신호에 기초하여 해당하는 제 2 보안 도메인의 상태를 활성화 여부를 제어하는 제어부를 포함하는 스마트 카드를 제공한다.Another embodiment of the present invention is a security management system comprising: a first security domain sharing a key with a management server managing a smart card; A plurality of second security domains sharing a key with a network operator; And a controller for controlling activation of a status of a corresponding second security domain based on a status change request signal of a second security domain received through the first security domain.
본 발명의 다른 실시예는, 내부에 장착된 스마트 카드를 포함하고, 상기 스마트 카드는, 스마트 카드를 관리하는 관리 서버와 키를 공유하는 제 1 보안 도메인; 네트워크 사업자와 키를 공유하는 복수의 제 2 보안 도메인; 및 상기 제 1 보안 도메인을 통해 수신된 제 2 보안 도메인의 상태 변경 요청 신호에 기초하여 해당하는 제 2 보안 도메인의 상태를 활성화 여부를 제어하는 제어부를 포함하는 단말을 제공한다.Another embodiment of the present invention includes an internally mounted smart card, the smart card comprising: a first security domain for sharing a key with a management server managing a smart card; A plurality of second security domains sharing a key with a network operator; And a control unit for controlling activation of a state of the corresponding second security domain based on a state change request signal of a second security domain received through the first security domain.
상술한 본 발명에 따르면, 내장 UICC를 포함하는 단말이 이동 통신 사업자를 변경할 수 있다.According to the present invention described above, a terminal including a built-in UICC can change a mobile communication service provider.
도 1은 본 발명의 실시예들이 적용될 수 있는 시스템의 구조를 도시한다.
도 2는 본 발명의 일 실시예에 따른 eUICC에서 소프트웨어 계층 구조이다.
도 3은 본 발명의 일 실시예에 따른 라이프 사이클 구조를 도시한다.
도 4 및 5는 본 발명의 일 실시예에 따른 MNO 변경 방법의 흐름도이다.
도 6은 본 발명의 일 실시예에 따른 SM-SR의 구성을 도시하는 블록도이다.
도 7은 본 발명의 일 실시예에 따른 SM-DP의 구성을 도시하는 블록도이다.
도 8은 본 발명의 일 실시예에 따른 단말의 구성을 도시하는 블록도이다.1 shows a structure of a system to which embodiments of the present invention can be applied.
 2 is a software hierarchical structure in an eUICC according to an embodiment of the present invention.
 FIG. 3 illustrates a life cycle structure according to an embodiment of the present invention.
 4 and 5 are flowcharts of a MNO changing method according to an embodiment of the present invention.
 6 is a block diagram showing a configuration of an SM-SR according to an embodiment of the present invention.
 7 is a block diagram showing a configuration of an SM-DP according to an embodiment of the present invention.
 8 is a block diagram showing the configuration of a terminal according to an embodiment of the present invention.
이하, 본 발명의 일부 실시 예들을 예시적인 도면을 통해 상세하게 설명한다. 각 도면의 구성요소들에 참조부호를 부가함에 있어서, 동일한 구성요소들에 대해서는 비록 다른 도면상에 표시되더라도 가능한 한 동일한 부호를 가지도록 하고 있음에 유의해야 한다. 또한, 본 발명을 설명함에 있어, 관련된 공지 구성 또는 기능에 대한 구체적인 설명이 본 발명의 요지를 흐릴 수 있다고 판단되는 경우에는 그 상세한 설명은 생략한다.Hereinafter, some embodiments of the present invention will be described in detail with reference to exemplary drawings. It should be noted that, in adding reference numerals to the constituent elements of the drawings, the same constituent elements are denoted by the same reference symbols as possible even if they are shown in different drawings. In the following description of the present invention, a detailed description of known functions and configurations incorporated herein will be omitted when it may make the subject matter of the present invention rather unclear.
UICC(Universal Integrated Circuit Card)는 GSM(Global System for Mobile Communications), UMTS(Universal Mobile Telecommunications System) 및 CDMA(Code Division Multiple Access) 네트워크에서 이동 단말에 사용되는 스마트 카드이다. GSM 네트워크에서 UICC는 SIM(Subscriber Identity Module) 어플리케이션을 포함하고 UMTS 네트워크에서 USIM(Universal Subscriber Identity Module) 어플리케이션을 포함하며, CDMA 네트워크에서 CSIM(CDMA Subscriber Identity Module) 어플리케이션을 포함한다. UICC는 CPU, ROM, RAM, EEPROM 및 I/O 회로로 구성된다.UICC (Universal Integrated Circuit Card) is a smart card used in mobile terminals in GSM (Global System for Mobile Communications), UMTS (Universal Mobile Telecommunications System) and CDMA (Code Division Multiple Access) networks. In a GSM network, a UICC includes a Subscriber Identity Module (SIM) application, a Universal Subscriber Identity Module (USIM) application in a UMTS network, and a CDMA Subscriber Identity Module (CSIM) application in a CDMA network. The UICC consists of CPU, ROM, RAM, EEPROM and I / O circuits.
현재 GSMA(GSM Association) 등에서 활발하게 논의되는 M2M(Machine-to-Machine) 단말은 특성상 크기가 작아야 하는데, 기존 UICC를 사용하는 경우에는, M2M 단말에 UICC를 장착하는 모듈을 별도 삽입해야 하므로, UICC를 탈착가능한 구조로 M2M단말을 제조하게 되면, M2M 단말의 소형화가 힘들게 된다.A M2M (Machine-to-Machine) terminal actively discussed in GSMA (GSM Association) is required to be small in size. When using a conventional UICC, a module for mounting a UICC must be separately inserted in the M2M terminal. If the M2M terminal is manufactured in a detachable structure, miniaturization of the M2M terminal becomes difficult.
따라서, UICC 착탈이 불가능한 내장(Embedded) UICC(이하 eUICC라 함)(또는 내장 SIM(eSIM)이라 불리기도 함) 구조가 논의되고 있는데, 이때 M2M 단말에 장착되는 내장 UICC에는 해당 UICC를 사용하는 이동통신 사업자(Mobile Network Operator; 이하 ‘MNO’라 함)정보가 국제 모바일 가입자 식별자(International Mobile Subscriber Identity, IMSI) 형태로 UICC에 저장되어 있어야 한다.Therefore, an embedded UICC (hereinafter also referred to as an eSICC) (or an embedded SIM (eSIM)) structure in which a UICC can not be detached is discussed. In this case, a built- Information of a mobile network operator (MNO) must be stored in the UICC in the form of an International Mobile Subscriber Identity (IMSI).
그러나, M2M 단말을 제조할 때부터 제조된 단말은 특정 MNO에서만 사용한다는 전제가 성립되어야 내장 UICC내의 IMSI를 할당할 수 있으므로, M2M 단말 또는 UICC를 발주하는 MNO나 제조하는 M2M 제조사 모두 제품 재고에 많은 신경을 할당할 수밖에 없고 제품 가격이 상승하게 되는 문제가 있어, M2M 단말 확대에 큰 걸림돌이 되고 있는 상황이다.However, since the IMSI in the built-in UICC can be allocated only when the terminal manufactured from the manufacturing of the M2M terminal is used only in the specific MNO, the MNO or the M2M manufacturer that orders the M2M terminal or the UICC, There is a problem that the price of the product is inevitably increased due to the inevitable assignment of the nerve, which is a big obstacle to the expansion of the M2M terminal.
기존의 착탈식 UICC는 달리 단말에 일체형으로 탑재되는 eUICC는 그 물리적 구조 차이로 인해 개통 권한, 부가 서비스 사업 주도권, 가입자 정보 보안 등에 많은 문제점이 존재한다. 특히, UICC가 단말의 보드에 접합(solder)되어 나오기 때문에 기존의 가입 개통, 권한 부여, 가입 변경 등을 처리하기 위해서 소프트웨어 상의 원격 권한 설정 관리(Remote Provisioning Management)가 필요한 상황이다.Unlike the existing detachable UICC, eUICC, which is integrated in the terminal, has many problems such as opening authority, initiative of supplementary service business, security of subscriber information due to its physical structure difference. In particular, since the UICC is soldered to the terminal board, remote provisioning management is required in order to handle the existing subscription opening, authorization, and subscription change.
이를 위해, GSMA 및 ETSI(European Telecommunications Standards Institute)와 같은 국제 표준화 기관에서는 통신 사업자, 제조사, UICC 벤더 등의 유관 회사들과 최상위 구조를 포함한 필요한 요소에 대해 표준화 활동을 전개하고 있다. 또한, GP(GlobalPlatform)는 스마트 카드의 개발, 배포 및 관리를 위한 인프라스트럭처의 표준화 활동을 전개하고 있다. 표준화 단체들을 통해 eUICC가 논의되면서 이슈의 중심에 있는 것은 Subscriber Manager(이하 ‘SM’이라 함)라고 불리는 개체(또는 그 기능/역할)로서, SM은 사업자 정보(Operator Credential, MNO Credential, Profile, eUICC Profile, Profile Package 등)을 eUICC에 발급하고 subscription 변경에 대한 프로세스를 처리하는 등 eUICC에 대한 전반적인 관리 역할을 한다.To this end, international standardization organizations such as the GSMA and ETSI (European Telecommunications Standards Institute) are conducting standardization activities on related elements such as telecommunication carriers, manufacturers, UICC vendors and other necessary elements including top-level structure. In addition, GP (GlobalPlatform) is developing standardization infrastructure for smart card development, distribution and management. As eUICC is discussed through standardization bodies, the core of the issue is the entity (or its function / role) called the Subscriber Manager (SM). SM is the Operator Credential, MNO Credential, Profile, eUICC Profile, Profile Package, etc.) to the eUICC and processes the subscription change process.
이에 따라 이동 통신 사업자(Mobile Network Operator, MNO)의 부가 서비스들을 그대로 수용하는 구조를 가지고 가기 위한 eUICC 구조 및 SM과의 관계가 필요할 수 있다.Accordingly, the relationship between the eUICC structure and the SM may need to be taken to accommodate additional services of a mobile network operator (MNO) as it is.
도 1은 본 발명의 실시예들이 적용될 수 있는 시스템의 구조를 도시한다.1 shows a structure of a system to which embodiments of the present invention can be applied.
도 1을 참조하면, 본 발명이 적용될 수 있는 시스템은 Subscription Manager(SM)(110), UICC 벤더(UICC Vendor)(120), 장치 벤더(Device Vendor)(130), 서비스 제공자(Service Provider)(140) 및 복수의 통신 사업자(MNO1 내지 MNO3)(150a~150c)를 포함한다.1, a system to which the present invention can be applied includes a Subscription Manager (SM) 110, a UICC
SM(110)은 사업자 정보(Operator Credential, MNO Credential, Profile, eUICC Profile, Profile Package 등)을 eUICC에 발급하고 subscription 변경에 대한 프로세스를 처리하는 등 eUICC에 대한 전반적인 관리 역할을 한다.The
SM(110)의 역할은 사업자 정보를 생성하는 역할을 수행화는 SM-DP(Subscription Manager-Data Preparation) 및 eUICC에 사업자 정보의 직접적 운반을 수행하는 SM-SR(Subscription Manager-Secure Routing)로 분류될 수 있다. SM-DP는 사업자 정보(IMSI, K, OPc, 부가 서비스 어플리케이션, 부가 서비스 데이터 등)를 안전하게 생성하여 크레덴셜 패키지(credential package) 형태로 만드는 역할을 수행할 수 있다. SM-SR은 SM-DP가 생성한 크레덴셜 패키지를 OTA(Over-The-Air) 또는 GP SCP(Secure Communication Protocol)과 같은 UICC 원격 관리 기술을 통해 eUICC에 안전하게 다운로드 하는 역할을 수행할 수 있다.The role of the SM 110 is classified as subscription manager-data preparation (SM-DP) for creating the provider information and Subscription Manager-Secure Routing (SM-SR) for carrying the carrier information directly to the eUICC . The SM-DP can securely generate business information (IMSI, K, OPc, supplementary service application, supplementary service data, etc.) and make it into a credential package. The SM-SR can securely download the SM-DP-generated credential package to the eUICC through UICC remote management technology such as over-the-air (OTA) or GP SCP (Secure Communication Protocol).
보다 상세하게는, SM-DP는 eUICC로 전달될 패키지의 안전한 준비를 담당하고, 실제 전송을 위해 SM-SR과 함께 동작한다. SM-DP의 핵심 기능은 1) eUICC의 기능적 특성 및 인증 레벨(Certification Level)을 관리하는 것과, 2) MNO 크리덴셜(예를 들면, IMSI, K, 부가 서비스 어플리케이션, 부가 서비스 데이터 중 하나 이상, 이들 중 일부는 잠재적으로 MNO에 의해 암호화되어 있을 수 있음)을 관리하는 것과, 3) SM-SR에 의한 다운로드를 위하여 OTA 패키지를 계산하는 것 등이고, 추후 부가적인 기능이 추가될 수 있다.More specifically, the SM-DP is responsible for the secure preparation of the package to be delivered to the eUICC, and works with the SM-SR for actual transmission. The key functions of the SM-DP are: 1) to manage the functional characteristics and certification level of the eUICC, and 2) to manage the MNO credential (for example, IMSI, K, supplementary service application, Some of which may potentially be encrypted by the MNO), and 3) computing the OTA package for downloading by the SM-SR, etc., and additional functionality may be added in the future.
SM-DP는 특정 MNO에 의해 제공되거나 제 3의 TSM(3rd Trusted Service Manager, 이하 3rd TSM이라 함)에 의하여 제공될 수 있다. 3rd TSM에 의하여 제공되는 경우 보안과 신뢰 관계가 중요해진다. SM-DP는 실시간 프로비저닝(Provisioning) 기능 이외에도 상당한 정도의 백그라운드 프로세싱 기능을 보유할 수 있고, 퍼포먼스, 스캐러빌러티(scalability) 및 신뢰도에 대한 요구 사항이 중요할 수 있다.The SM-DP may be provided by a specific MNO or may be provided by a third TSM (3rd Trusted Service Manager, hereinafter referred to as 3rd TSM). When provided by 3rd TSM, security and trust relationships become important. In addition to real-time provisioning, SM-DP can have a significant amount of background processing capability, and requirements for performance, scalability, and reliability can be important.
SM-SR은 크리덴셜 패키지를 해당하는 eUICC로 안전하게 라우팅하고 전달하는 역할을 담당한다. SM-SR의 핵심 기능은 1) 암호화된 VPN(Virtual Private Network)을 통해 eUICC와 OTA 통신을 관리하는 것과, 2) eUICC까지 엔드-투-엔드를 형성하기 위해 다른 SM-SR과의 통신을 관리하는 것과, 3) eUICC 공급자에 의해 제공되는 SM-SR OTA 통신을 위해 사용되는 eUICC 데이터를 관리하는 것과, 4) 허용된 개체만을 필터링함으로써 eUICC와 통신을 보호하는 것(방화벽 기능) 등이다.SM-SR is responsible for securely routing and delivering the credential package to the corresponding eUICC. The core functions of SM-SR are: 1) managing eUICC and OTA communication through an encrypted VPN (Virtual Private Network), and 2) managing communication with other SM-SRs to form an end-to- , 3) managing the eUICC data used for SM-SR OTA communication provided by the eUICC provider, and 4) protecting the communication with the eUICC by filtering only the allowed objects (firewall function).
SM-SR 데이터베이스는 eUICC 벤더(120), 장치 벤더(130), MNO(150a~150c)에 의해 제공될 수 있고, SM-SR 메시 네트워크를 통해 MNO(150a~150c)에 의해 사용될 수 있다.The SM-SR database may be provided by the
한편, GSMA는 신뢰 서클(Circle of Trust)이라는 구조를 제안하여 각 유사 개체들 간의 신뢰 관계의 중첩을 통해 MNO와 eUICC 간의 엔드-투-엔드(End-to-End) 신뢰 관계를 구축한다는 개념을 제안하였다. 예를 들면, MNO는 SM-DP와 신뢰 관계를 형성하고, SM-DP는 UICC SM과 신뢰 관계를 형성하며, UICC SM은 eUICC와 신뢰 관계를 형성하여, 이를 통해 MNO와 eUICC가 신뢰 관계를 형성할 수 있다.Meanwhile, GSMA proposed a structure called "Circle of Trust", and the concept of establishing an end-to-end trust relationship between the MNO and the eUICC through overlapping of trust relationships between each similar entity The For example, MNO establishes a trust relationship with SM-DP, SM-DP establishes a trust relationship with UICC SM, and UICC SM establishes a trust relationship with eUICC, whereby MNO and eUICC form a trust relationship can do.
또한, MNO는 SM-DP와 신뢰 관계를 형성하고, SM-DP는 Device SM과 신뢰 관계를 형성하며, Device SM은 단말과 신뢰 관계를 형성하여, 이를 통해 MNO와 단말이 신뢰 관계를 형성할 수 있다. 이하에서, MNO, eUICC, 단말 사이에서 플로우는 SM-DP, UICC SM, Device SM 사이에서 플로우로 표현될 수 있다.In addition, the MNO establishes a trust relationship with the SM-DP, the SM-DP establishes a trust relationship with the Device SM, and the Device SM establishes a trust relationship with the UE, thereby establishing a trust relationship with the MNO have. Hereinafter, a flow between the MNO, the eUICC, and the terminals can be expressed as a flow between the SM-DP, the UICC SM, and the Device SM.
UICC 벤더(120)는 eUICC 칩을 생산하는 개체이다. UICC 벤더(120)에 의해 생산된 eUICC 칩은 장치 벤더(130)에 의해 단말에 접합된다. eUICC가 내장된 단말은 서비스 제공업자(140)에게 제공될 수 있다.The
프로비전을 위해 UICC 벤더(120)와 SM(110)은 eUICC 식별자 및 암호화를 위한 키 데이터를 교환할 수 있다. 가입을 위해 서비스 제공업자(140)와 SM(110)은 크리덴셜을 교환할 수 있고, SM(110)과 MNO(150a~150c)는 크리덴셜을 교환할 수 있다. 가입이 완료되면, 서비스 제공업자(140)와 MNO(150a~150c)는 텔레콤 서비스를 유지할 수 있다.For provisioning,
도 2는 본 발명의 일 실시예에 따른 eUICC에서 소프트웨어 계층 구조이다.2 is a software hierarchical structure in an eUICC according to an embodiment of the present invention.
글로벌 플랫폼에 의한 카드 아키텍처는 하드웨어와 벤더(Vendor)에 중립적인 인터페이스를 애플리케이션 및 오프카드(off-card) 관리 시스템에게 보장하기 위한 다수의 컴포넌트로 구성된다. 이러한 컴포넌트로는 하나 이상의 카드 발급자의 애플리케이션, 카드 발급자의 사업 파트너(즉, 애플리케이션 제공자)를 위한 하나 이상의 애플리케이션, 다른 애플리케이션으로 글로벌 서비스(예를 들면, CSM 서비스)를 제공하기 위한 하나 이상의 애플리케이션 등이 있다.The global platform-based card architecture consists of a number of components to ensure hardware and vendor-neutral interfaces to application and off-card management systems. These components include one or more applications for one or more card issuers, one or more applications for the card issuer's business partners (i.e., application providers), one or more applications for providing global services (e.g., CSM services) have.
모든 애플리케이션은 애플리케이션 이동성을 지원하는 하드웨어 중립적인 API(Application Programming Interface)를 포함하는 시큐어 런타임 환경(secure runtime environment) 내에 구현된다. 글로벌 플랫폼은 특정한 런타임 환경 기술로 제한하는 것은 아니며, 카드 매니저가 중앙 관리자로서 역할을 수행하는 주요한 카드 컴포넌트이다. 특정한 키 및 보안 도메인(Security Domain, 이하 SD라 함)이라 불리는 시큐리티 관리 애플리케이션이 생성되어, 카드 발급자와 다수의 다른 SD 제공자 사이에서 키들이 완전히 분리되는 것을 보장하게 된다.All applications are implemented in a secure runtime environment that includes a hardware-neutral API (Application Programming Interface) that supports application mobility. The global platform is not limited to a particular runtime environment technology, but is a major card component that acts as a central manager of the card manager. A security management application called a specific key and security domain (hereinafter referred to as SD) is created to ensure that the keys are completely separated between the card issuer and a number of other SD providers.
SD는 오프카드 기관(Authority)의 온카드 대리자 역할을 수행한다. SD는 카드에 의하여 인식되는 오프카드 기관의 3가지 타입을 반영하여 크게 3개의 타입으로 구분될 수 있다.The SD acts as an on-card agent for the off-card authority. SD can be roughly classified into three types, reflecting three types of off-card institutions recognized by the card.
첫째로, ISD는 통상 카드 발급자가 되는 카드 관리자(Administration)를 위한 주요하면서도 필수인 온카드 대리자이다.First, ISD is the primary but essential on-card delegate for the card administrator who is usually the issuer of the card.
둘째로, 보조 SD(Supplementary SD)는 카드 발급자 또는 애플리케이션 제공자 또는 그들의 에이전트를 위한 추가적이고 선택적인 온카드 대리자로서 기능한다.Second, Supplementary SD (SD) serves as an optional and optional on-card agent for card issuers or application providers or their agents.
세째 타입으로서, 제어 기관 SD(Controlling Authority Security Domains)는 보조 SD의 특수한 한 형태로서, 제어 기관은 카드내에 로딩되는 모든 애플리케이션 코드 상에 적용되는 시큐리티 정책(Policy)을 강제하는 역할을 한다. 또한 제어 기관은 이러한 기능을 제공하기 위하여 자신의 온카드 대리자로서 이러한 형태의 SD를 이용할 수 있다. 이러한 제어 기관 SD는 하나 이상 존재할 수 있다.As a third type, the Controlling Authority Security Domains (SD) is a special form of assisted SD, which enforces a security policy that is applied on all application codes loaded into the card. The control authority may also use this form of SD as its on-card agent to provide this functionality. There may be more than one such control organ SD.
일반적으로, 3가지 타입 모두는 단순하게 SD라고 부를 수 있으며, SD는 자신의 제공자(카드 발급자, 애플리케이션 제공자 또는 제어 기관 등)를 위한 키 핸들링, 암호화, 복호화, 전자서명 생성 및 검증과 같은 시큐리티 서비스를 지원한다. 각 SD는 오프카드 엔터티가 서로 완전히 격리되는 키를 사용하고자 요청하는 경우, 카드 발급자, 애플리케이션 제공자 또는 제어기관을 대신해서 설정된다.In general, all three types are simply referred to as SD, and SD is a security service such as key handling, encryption, decryption, digital signature generation and verification for its provider (card issuer, application provider, or control authority) . Each SD is established on behalf of the card issuer, application provider, or control authority when the off-card entity requests to use a key that is completely isolated from each other.
카드 내에는 하나 이상의 글로벌 서비스 애플리케이션이 존재해서, 카드 상의 다른 애플리테이션에 카드홀더 검증 방법(Cardholder Verification Method; CVM)과 같은 서비스를 제공할 수 있다.There may be one or more global service applications in the card, so that other applications on the card can provide services such as a Cardholder Verification Method (CVM).
글로벌 플랫폼은 안전한 다중 애플리케이션 카드 런타임 환경 상에서 동작하기 위한 것으로서, 이러한 런타임 환경은 안전한 저장과 애플리케이션의 실행공간을 물론이고 애플리케이션을 위한 하드웨어 중립적인 API를 제공함으로써, 각 애플리케이션 코드 및 데이터가 다른 애플리케이션으로부터 분리된 상태에서 안정하게 유지되도록 한다. 카드의 런타임 환경은 또한 카드 및 오프카드 개체 사이의 통신 서비스를 제공하기도 한다.The global platform is intended to operate in a secure multi-application card runtime environment, which provides secure storage and application execution space as well as hardware-neutral APIs for applications, so that each application code and data is separated from other applications So that it is stably maintained. The runtime environment of the card also provides communication services between cards and off-card entities.
글로벌 플랫폼 카드는 또한 하나 이상의 신뢰 프레임워크(Trusted Framework)를 포함할 수 있으며, 이러한 신뢰 프레임워크는 애플리케이션 사이에서 애플리케이션 간 통신을 제공한다. 신뢰 프레임워크는 애플리케이션 또는 SD는 아니며, 카드 런타임 환경의 확장 또는 하나의 부분으로서 존재할 수 있다.The global platform card may also include one or more Trusted Frameworks, which provide inter-application communication between applications. The trust framework is not an application or SD, and may exist as an extension or a part of a card runtime environment.
도 2를 참조하면, eUICC에서 소프트웨어 계층 구조는 하드웨어 계층, 하드웨어 계층 상부의 칩 OS 계층, 칩 OS 계층 상부의 자바 카드 플랫폼 계층, 자바 플랫폼 계층 상부의 글로벌 플랫폼(GP) 계층을 포함한다.Referring to FIG. 2, the software layer structure in the eUICC includes a hardware layer, a chip OS layer on a hardware layer, a Java card platform layer on a chip OS layer, and a global platform (GP) layer on a Java platform layer.
GP 계층 위에는 SIM/UICC API(Application Programming Interface) 계층이 존재하고, SIM/UICC API 계층 위에는 USAT(USIM Application Toolkit) 어플리케이션 프레임워크 계층이 존재하면, USAT 어플리케이션 프레임워크 계층 위에는 어플리케이션 계층(App5, App6)이 존재한다.Above the GP layer, a SIM / UICC API (Application Programming Interface) layer exists. If USAT Application Toolkit (USAT) application framework layer exists on the SIM / UICC API layer, application layers (App5, App6) Lt; / RTI >
또한, GP 계층 위에는 슈퍼 ISD(Super Issuer Security Domain) 계층이 존재하고, 슈퍼 ISD 계층 위에는 각 MNO 별로 지정된 ISD(Issuer Security Domain) 계층(ISD1, ISD2)이 존재한다. 각 ISD 계층 위에는 보안 도메인(Security Domain) 계층이 존재하고, 각 보안 도메인 계층 위에는 어플리케이션 계층(App1~App4)이 존재한다.On the GP layer, there is a Super Issuer Security Domain (ISD) layer. On the super ISD layer, ISD (ISD1, ISD2) specified for each MNO exists. A security domain layer exists on each ISD layer, and application layers (App1 ~ App4) exist on each security domain layer.
보안 도메인은 특수 권한을 가지는 애플리케이션(Privilege Application)으로, 보안 채널 프로토콜 동작을 지원하거나 카드 컨텐트 관리 기능을 인증하는데 사용되는 암호키들을 보유한다.A secure domain is a privileged application that holds cryptographic keys used to support secure channel protocol operations or to authenticate card content management functions.
각 보안 도메인은 특권 어플리케이션으로서, 보안 키를 저장하고, 관련된(associated) 어플리케이션에 암호화 서비스를 제공하며, SCP(Secure Channel Protocol)을 제공할 수 있다.Each security domain, as a privileged application, can store a secret key, provide cryptographic services to associated applications, and provide Secure Channel Protocol (SCP).
각 애플리케이션 및 각각의 실행가능한 로드 파일이 보안 도메인과 관련되어 있으며, 애플리케이션은 관련된 보안 도메인의 암호화 서비스를 사용할 수 있다.Each application and each executable load file is associated with a secure domain, and the application can use the encryption service of the associated secure domain.
보안 도메인은 자신의 키 관리에 대한 책임을 지며, 이를 통하여 각 애플리케이션 제공자의 프라이버시 및 통합성을 위반하지 않으면서도 여러 다른 애플리케이션 제공자로부터의 애플리케이션 및 데이터가 동일 카드 내에 같이 존재할 수 있다. 또한, 본 발명의 실시예에서, ISD는 자신의 키 관리에 대한 책임을 지며, 이를 통하여 각 MNO의 프라이버시 및 통합성을 위반하지 않으면서도 여러 다른 MNO로부터의 애플리케이션 및 데이터가 동일 카드 내에 같이 존재할 수 있다.The security domain is responsible for managing its own key so that applications and data from several different application providers may coexist in the same card without violating the privacy and integrity of each application provider. Also, in the embodiment of the present invention, the ISD is responsible for its own key management, so that applications and data from different MNOs can coexist within the same card without violating the privacy and integrity of each MNO have.
모든 보안 도메인에 대한 키와 관련 암호화 작업은 애플리케이션 제공자의 애플리케이션을 개인화하는 동안 안전한 통신 지원을 제공할 수 있고, 자신의 안전한 메시징 키들을 포함하지 않는 애플리케이션의 실행시간 동안 안전한 통신을 가능하게 한다.The keys and associated cryptographic operations for all secure domains can provide secure communications support while personalizing the application provider's application and enable secure communications during run time of applications that do not include their secure messaging keys.
각 ISD는 카드 관리자(card manager)로서, 발급자(Issuer)의 비밀 키를 저장하고, MNO 영역의 CCM(Card Content Management)를 위한 인증(Authentication)을 담당할 수 있다.Each ISD is a card manager, which stores the secret key of the issuer and is responsible for authentication for CCM (Card Content Management) of the MNO area.
슈퍼 ISD는 복수의 카드 관리자(즉, ISD)를 선택 또는 변경할 수 있고, ISD의 비밀 키를 저장하고 그 인덱스를 관리할 수 있으며, SM-DP 영역의 CCM을 위한 인증을 담당할 수 있다.The super ISD can select or change a plurality of card managers (ISD), store the ISD's secret key, manage its index, and perform authorization for CCM in the SM-DP area.
도 2를 참조하면, 슈퍼 ISD는 ‘210’ 영역의 관리를 담당할 수 있고, 각 MNO에 따라 선택되는 ISD1 및 ISD2는 각각 ‘220a’ 및 ‘220b’ 영역의 관리를 담당할 수 있다.Referring to FIG. 2, the super ISD can manage the '210' area, and the ISD1 and ISD2 selected according to each MNO can manage the '220a' and '220b' areas, respectively.
보안 도메인 키의 정보는 키 ID, 키 버전, 암호화 알고리즘, 암호화 알고리즘 길이, 접속 조건 등으로 구성될 수 있다.The information of the secure domain key may be composed of a key ID, a key version, an encryption algorithm, a length of an encryption algorithm, a connection condition, and the like.
예를 들면, GP 카드 표준에 따르면, 보안 도메인은 다음과 같이 키를 관리할 수 있다:For example, according to the GP-card standard, a security domain can manage keys as follows:
-키 ID 및 키 버전 번호는 카드 개체 내의 각 키를 유일하게 지정한다. 다르게 말하자면, 키 ID 및 키 버전 번호의 각 조합은 개체 내의 유일한 키 슬롯을 식별한다.The key ID and key version number uniquely identify each key in the card object. In other words, each combination of key ID and key version number identifies a unique key slot within the entity.
-키를 추가하는 것은 새로운 키의 값, 새로운 키 ID, 또는 새로운 키 버전 번호로 새로운 키 슬롯을 할당하는 것과 같다.Adding a key is equivalent to assigning a new key slot with a new key value, a new key ID, or a new key version number.
-키를 대체하는 것은 새로운 키의 값 및 관련된 키 버전 번호로 키 슬롯을 갱신하는 것과 관계된다. 키 ID는 같게 유지된다. 이전의 키는 더 이상 유효하지 않다.Replacing the key involves updating the key slot with the value of the new key and the associated key version number. The key ID remains the same. The previous key is no longer valid.
본 발명의 일 실시예에서, 슈퍼 ISD 키는 eUICC 플랫폼 접속 크리덴셜로서, eUICC의 플랫폼을 접근할 수 있는 권한을 가질 수 있는 키이다. eUICC 환경에서도 기존 MNO의 부가 서비스(Value Added Service)는 지속되어야 한다. 처음 프로비저닝할 때 또는 MNO를 변경할 때 프로파일을 탑재하는 경우, eUICC 플랫폼 접속 크리덴셜을 이용하여 권한 획득이 가능하여야 하고, 이러한 경우 슈퍼 ISD를 이용할 수 있다. GP는 슈퍼 ISD를 수용할 수 있는 기능을 제공할 수 있다.In one embodiment of the present invention, the super ISD key is an eUICC platform access credential, which is a key that can have access to the platform of the eUICC. In eUICC environment, Value Added Service of existing MNO should continue. If the profile is mounted when initially provisioning or when changing the MNO, the eUICC platform access credential must be used to obtain the privilege, and in this case the super ISD can be used. The GP can provide the capability to accommodate super ISDs.
슈퍼 ISD는 ISD의 키 정보 및 키 속성 구조와 유사한 키 정보 및 키 속성 구조를 가질 수 있다. 다만, 특정 키 ID 및 키 버전 번호는 슈퍼 ISD 키 용도로 전용되어 할당될 수 있다. 슈퍼 ISD 기반에서는 1개 이상의 ISD 영역에서 1개 이상의 카드 라이프 사이클이 존재할 수 있다.The super ISD may have key information and key attribute structures similar to the ISD's key information and key attribute structures. However, the specific key ID and the key version number can be allocated and allocated for super ISD key use. On a super ISD base, there may be more than one card life cycle in more than one ISD region.
도 3은 본 발명의 일 실시예에 따른 라이프 사이클 구조를 도시한다.FIG. 3 illustrates a life cycle structure according to an embodiment of the present invention.
도 3을 참조하면, 슈퍼 ISD와 관련되어 SM-SR에 의해 관리되는 UICC의 슈퍼 카드 라이프 사이클은 OP_READY, INITIALIZED, SECURED, CARD_LOCKED 및 TERMINATED 상태를 가질 수 있다. OP_READY 상태는 실행 환경이 이용 가능하고 슈퍼 ISD가 APDU(Application Protocol Data Unit) 명령어를 수신, 실행 및 반응하도록 준비된 상태이다. INITIALIZED 상태는 카드 생성 상태이다. INITIALIZED 상태는 OP_READY 상태로 복귀할 수 없다. SECURED 상태는 카드 발급이 완료된 상태로서, 카드 보안은 안정된 상태이다. SECURED 상태는 INITIALIZED 상태로 복귀할 수 없다. CARD_LOCKED 상태는 일시적으로 카드가 잠긴 상태이다. 카드의 콘텐츠는 변경될 수 없다. CARD_LOCKED 상태는 SECURED 상태로 복귀할 수 있다. TERMINATED 상태는 카드가 폐기된 상태이다. 카드의 콘텐츠는 변경될 수 없다. TERMINATED 상태는 다른 상태로 복귀될 수 없다.Referring to FIG. 3, the super card lifecycle of the UICC managed by the SM-SR in association with the super ISD may have the OP_READY, INITIALIZED, SECURED, CARD_LOCKED, and TERMINATED states. The OP_READY state is ready for the execution environment and the super ISD is ready to receive, execute, and respond to APDU (Application Protocol Data Unit) commands. The INITIALIZED state is the card creation state. The INITIALIZED state can not return to the OP_READY state. In the SECURED state, the card issuance is completed, and the card security is stable. The SECURED state can not return to the INITIALIZED state. The CARD_LOCKED state is the moment when the card is locked. The contents of the card can not be changed. The CARD_LOCKED state can return to the SECURED state. The TERMINATED state indicates that the card has been discarded. The contents of the card can not be changed. The TERMINATED state can not be returned to any other state.
ISD와 관련되어 SM-DP에 의해 관리되는 카드 라이프 사이클은 INSTALLED, SECURED, TERMINATED, 및 CARD_LOCKED 상태를 가질 수 있다. INSTALLED 상태는 ISD가 GP 레지스트리의 개체가 되고 이러한 개체는 인증된 외부 개체로 접속할 수 있는 상태이다. SECURED 상태는 카드 보안이 안정된 상태이다. TERMINATED 상태는 특정 MNO와 관련된 ISD가 삭제 또는 비활성화된 상태이다. CARD_LOCKED 상태는 일시적인 잠금 상태이다.The card lifecycle managed by SM-DP in conjunction with ISD can have INSTALLED, SECURED, TERMINATED, and CARD_LOCKED states. The INSTALLED state means that the ISD is an object in the GP Registry and these objects can be accessed as authenticated external objects. In the SECURED state, the card security is stable. The TERMINATED state indicates that the ISD associated with a particular MNO has been deleted or disabled. The CARD_LOCKED state is a temporary lock state.
이러한 카드 라이프 사이클은 하나의 슈퍼 카드 라이프 사이클 내에 하나 이상이 존재할 수 있다. 즉, eUICC가 장착된 단말과 관련된 MNO가 변경되는 경우, 이전 MNO에 관련된 카드 라이프 사이클은 종료되지만, 새로운 MNO에 관련된 카드 라이프 사이클이 새롭게 시작될 수 있고, 이러한 카드 라이프 사이클들은 모두 슈퍼 카드 라이프 사이클 내에 존재한다.There can be more than one card lifecycle within a single card life cycle. That is, if the MNO associated with the UE equipped with the eUICC is changed, the card life cycle associated with the previous MNO is terminated, but the card life cycle associated with the new MNO may be newly started and all of these card life cycles may be within the super card life cycle exist.
어플리케이션의 라이프 사이클은 INSTALLED, SELECTABLE, Applet specific, 및 LOCKED 상태를 가질 수 있다. INSTALLED 상태는 어플리케이션 실행 코드가 적절하게 링크되고 필요한 메모리 할당이 이루어진 상태이다. SELECTABLE 상태는 어플리케이션이 외부 개체로부터 명령어를 수신할 수 있는 상태이다. Applet specific 상태는 어플리케이션의 작동이 어플리케이션 자신에 의해 결정되는 상태이다. LOCKED 상태는 일시적인 잠금 상태이다.An application's lifecycle can have INSTALLED, SELECTABLE, Applet specific, and LOCKED states. The INSTALLED state is where the application executable code is properly linked and the required memory allocation is made. The SELECTABLE state is a state in which an application can receive an instruction from an external entity. The Applet specific state is the state in which the operation of the application is determined by the application itself. The LOCKED state is a temporary lock state.
보안 도메인의 라이프 사이클은 INSTALLED, SELECTABLE, PERSONALIZED, 및 LOCKED 상태를 가질 수 있다. INSTALLED 상태는 보안 도메인이 GP 레지스트리의 개체가 되고 이러한 개체가 인증된 외부 개체로 접속할 수 있는 상태이다. SELECTABLE 상태는 보안 도메인이 외부 개체로부터 명령어를 수신할 수 있는 상태이다. PERSONALIZED 상태는 보안 도메인이 실행을 위한 모든 필요한 개인화 데이터 및 키를 갖는 상태이다. LOCKED 상태는 일시적인 잠금 상태이다.The lifecycle of a secure domain can have INSTALLED, SELECTABLE, PERSONALIZED, and LOCKED states. In the INSTALLED state, the security domain becomes an object in the GP registry and these objects can access the authenticated external object. The SELECTABLE state is a state in which the security domain can receive commands from external entities. The PERSONALIZED state is where the security domain has all the necessary personalization data and keys for its execution. The LOCKED state is a temporary lock state.
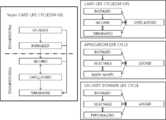
도 4 및 5는 본 발명의 일 실시예에 따른 MNO 변경 방법의 흐름도이다. 그러나, 도 4 및 5에 도시된 방법은 MNO를 변경할 때에만 적용될 수 있는 것이 아니라, 도 4에 도시된 방법은 특정 MNO에 대하여 해지 절차 또는 일시 정지 절차를 진행할 때에도 적용될 수 있고, 도 5에 도시된 방법은 특정 MNO에 대하여 가입 절차 또는 재가입 절차를 진행할 때에도 적용될 수 있다.4 and 5 are flowcharts of a MNO changing method according to an embodiment of the present invention. However, the method shown in Figs. 4 and 5 can not be applied only when the MNO is changed, but the method shown in Fig. 4 can be applied to proceeding with the termination procedure or the pause procedure for a specific MNO, May also be applied to the proceeding of a subscription or re-entry procedure for a particular MNO.
UICC는 슈퍼 키를 관리하기 위한 SKM(Super Key Manager) 개체를 포함한다. SKM은 슈퍼 ISD 영역, 복수의 ISD(1st ISD, 2nd ISD 등) 영역, SKM 어플리케이션 영역을 가질 수 있다. 복수의 ISD(1st ISD, 2nd ISD 등)는 복수의 MNO에 대응된다. 도 4에 도시된 SM-DP는 적어도 1st ISD에 대한 정보를 포함하는 개체이고, 도 5에 도시된 SM-DP는 적어도 2nd ISD에 대한 정보를 포함하는 개체로서, 이들은 서로 같은 개체일 수도 있고 서로 다른 개체일 수도 있다.The UICC includes an SKM (Super Key Manager) entity for managing a super key. The SKM may have a super ISD area, a plurality of ISD (1st ISD, 2nd ISD, etc.) area, and an SKM application area. A plurality of ISDs (1st ISD, 2nd ISD, etc.) correspond to a plurality of MNOs. The SM-DP shown in FIG. 4 is an entity including information on at least the 1st ISD, and the SM-DP shown in FIG. 5 is an entity including information on at least the 2nd ISD, It may be another entity.
UICC를 탑재한 단말은 장치 SM 어플리케이션을 가질 수 있다.A terminal equipped with a UICC can have a device SM application.
초기 상태에서, SM-SR 및 SM-DP는 특정 MNO(MNO1)로 보안 권리의 변경을 완료한 상태이다.In the initial state, the SM-SR and the SM-DP have completed the change of the security right to the specific MNO (MNO1).
UICC 내의 SKM에서 1st ISD는 카드 라이프 사이클에서 사후-배포(Post-Issuance) 상태이고, 2nd ISD는 카드 라이프 사이클에서 사전-배포(Pre-Issuance) 상태로서, 1st ISD는 활성화되고 2nd ISD는 활성화되지 않은 상태이다. 이러한 상태는 단말이 1st ISD에 대응되는 MNO(MNO1)로부터 지금까지 가입하지 않은 MNO(MNO2)로 MNO를 변경하는 경우에 발생할 수 있다.In the SKM in the UICC, the 1st ISD is the post-issuance state in the card life cycle, the 2nd ISD is the pre-release state in the card life cycle, the 1st ISD is activated and the 2nd ISD is activated . This state may occur when the UE changes the MNO from the MNO (MNO1) corresponding to the 1st ISD to the MNO (MNO2) that has not joined so far.
또는, 2nd ISD는 카드 라이프 사이클에서 CARD-LOCKED 상태로서 활성화되지 않은 상태일 수도 있다. 이러한 상태는 이전에 단말이 2nd ISD에 대응되는 MNO(MNO2)로부터 현재 활성화된 1st ISD에 대응되는 MNO(MNO1)으로 MNO를 변경한 후 다시 MNO1으로부터 MNO2로 MNO를 재변경하는 경우에 발생할 수 있다.Alternatively, the 2nd ISD may not be activated as a CARD-LOCKED state in the card life cycle. This state may occur when the UE has previously changed the MNO from the MNO (MNO2) corresponding to the 2nd ISD to the MNO (MNO1) corresponding to the 1st ISD currently activated and then re-changed the MNO from the MNO1 to the MNO2 .
한편, 초기 상태에서, SM-SR 및 SM-DP는 특정 MNO(MNO1)로 보안 권리가 변경된 상태이다.On the other hand, in the initial state, the SM-SR and the SM-DP are in a state in which the security right is changed to a specific MNO (MNO1).
도 4를 참조하면, MNO를 변경할 때, UICC 내의 SKM 어플리케이션은 MNO 사후-배포(Post-Issuance)를 다른 MNO로 변경할 것을 장치에 요청한다(S401). 장치는 SM-SR에 MNO 사후-배포를 다른 MNO로 변경할 것을 SM-SR에 요청한다(S402).Referring to FIG. 4, when the MNO is changed, the SKM application in the UICC requests the device to change the MNO Post-Issuance to another MNO (S401). The device requests the SM-SR to change the MNO post-deployment to another MNO in the SM-SR (S402).
SM-SR은 UICC 내의 슈퍼-ISD를 이용하여 인증 절차를 수행한다(S403). 인증 절차는 SM-SR과 슈퍼-ISD가 공유하는 키를 이용하여 수행될 수 있다.The SM-SR performs the authentication procedure using the super-ISD in the UICC (S403). The authentication procedure can be performed using a key shared by the SM-SR and the super-ISD.
인증 절차가 완료되면, SM-SR은 SM-DP에게 1st ISD를 카드 라이프 사이클에서 CARD-LOCKED 상태로 변경할 것을 요청한다(S403). SM-SR로부터 SM-DP로의 CARD-LOCKED 요청은 해당하는 ISD(1st ISD)의 인덱스 정보를 포함할 수 있다. SM-DP는 슈퍼-ISD에게 1st ISD의 CARD-LOCKED를 요청한다(S404). SM-DP로부터 슈퍼-ISD로의 CARD-LOCKED 요청은 해당하는 ISD(1st ISD)의 인덱스 정보를 포함할 수 있다. 이와 함께, SM-SR은 1st ISD와 인증 절차를 수행한다(S405).When the authentication procedure is completed, the SM-SR requests the SM-DP to change the 1st ISD from the card life cycle to the CARD-LOCKED state (S403). A CARD-LOCKED request from SM-SR to SM-DP may contain index information of the corresponding ISD (1st ISD). The SM-DP requests CARD-LOCKED of the 1st ISD to the super-ISD (S404). A CARD-LOCKED request from the SM-DP to the super-ISD may include index information of the corresponding ISD (1st ISD). At the same time, the SM-SR performs the authentication procedure with the 1st ISD (S405).
SM-DP로부터 1st ISD의 CARD-LOCKED 요청 신호를 수신한 슈퍼-ISD는 SKM 어플리케이션에 1st ISD의 CARD-LOCKED를 요청한다(S406). SKM 어플리케이션에게 ISD(1st ISD, 2nd ISD 등)의 라이프 사이클에서 상태 변경을 요청할 수 있는 권한은 슈퍼-ISD만이 가지고 있다. 슈퍼-ISD로부터 CARD-LOCKED 요청 신호를 수신한 SKM 어플리케이션은 1st ISD의 상태를 CARD-LOCKED로 설정한다(S407). 그리고, 1st ISD는 SM-SR로 ISD의 인덱스 및 CARD-LOCKED 상태에 대한 정보를 포함하는 설정 정보를 보고한다(S408).The super-ISD receiving the CARD-LOCKED request signal of the 1st ISD from the SM-DP requests CARD-LOCKED of the 1st ISD to the SKM application (S406). Only the Super-ISD has the authority to request the status change of the SKM application in the life cycle of ISD (1st ISD, 2nd ISD, etc.). Upon receiving the CARD-LOCKED request signal from the super-ISD, the SKM application sets the state of 1st ISD to CARD-LOCKED (S407). In step S408, the 1st ISD reports setting information including the index and the CARD-LOCKED state of the ISD to the SM-SR.
S408 단계가 완료된 시점에서, 1st ISD는 카드 라이프 사이클에서 CARD-LOCKED 상태이다.When the step S408 is completed, the 1st ISD is in the CARD-LOCKED state in the card life cycle.
한편, 상술한 S401 내지 S408 단계는 MNO1에 대하여 해지 절차 또는 일시 정지 절차를 진행할 때에도 실행될 수 있다. 이러한 경우, S401 및 S402 단계에서 전송되는 메시지는 MNO 변경 요청 메시지 대신에 해지 또는 일시 정지 요청 메시지일 수 있다. 그리고, S408 단계로 모든 절차가 완료될 수 있다.The above-described steps S401 to S408 may also be performed when the MNO1 is in the process of terminating or suspending the MNO1. In this case, the message transmitted in steps S401 and S402 may be a revocation or suspension request message instead of the MNO change request message. Then, all the procedures can be completed in step S408.
도 5는 MNO 변경 방법에서 도 4의 S408 단계 이후의 단계를 도시한다.FIG. 5 shows the steps after step S408 in FIG. 4 in the MNO changing method.
도 5를 참조하면, 1st ISD로부터 설정 상태 정보를 수신한 SM-SR은 MNO의 ISD 인덱스를 MNO1에 대응되는 1st ISD의 인덱스로부터 MNO2에 대응되는 2nd ISD의 인덱스로 변경한다(S409).Referring to FIG. 5, the SM-SR receiving the setting status information from the 1st ISD changes the ISD index of the MNO from the index of the 1st ISD corresponding to the MNO1 to the index of the 2nd ISD corresponding to the MNO2 (S409).
SM-SR은 SM-DP에게 MNO2의 ISD 키 정보(keyset)를 요청한다(S410). ISD 키 정보 요청은 S409 단계에서 변경된 MNO2의 ISD 인덱스가 사용될 수 있다. SM-DP는 MNO2의 ISD 키 정보를 SM-SR로 전송한다(S411).The SM-SR requests the SM-DP for the ISD key information (keyset) of the MNO2 (S410). The ISD key information request can be used in the step S409 to change the ISD index of the MNO2. The SM-DP transmits the ISD key information of the MNO2 to the SM-SR (S411).
SM-SR은 ISD 인덱스 및 ISD 키 정보를 슈퍼 ISD로 전달하여 Put key 요청을 한다(S412). ISD 인덱스 및/또는 ISD 키 정보는 SM-SR과 슈퍼 ISD가 공유하는 키를 이용하여 암호화될 수 있다. 슈퍼 ISD는 ISD 인덱스 및 ISD 키 정보를 주입하기를 SKM 어플리케이션에 요청한다(S413). ISD 인덱스 및/또는 ISD 키 정보가 SM-SR에 의해 암호화된 경우, 슈퍼 ISD는 암호화된 정보를 복호할 수 있다. SKM 어플리케이션은 ISD 인덱스를 기반으로 특정 MNO(MNO2)의 ISD 키 정보를 이용하여 특정 MNO(MNO2)에 해당하는 2nd ISD의 키를 입력한다(S414). 2nd ISD는 생성된 결과를 SM-SR에게 통지하여 Put key 결과를 응답한다(S415). 응답 메시지는 ISD 인덱스를 포함할 수 있다.The SM-SR transmits the ISD index and the ISD key information to the super ISD to request a put key (S412). The ISD index and / or ISD key information may be encrypted using a key shared by the SM-SR and the super ISD. The super ISD requests the SKM application to inject the ISD index and ISD key information (S413). If the ISD index and / or ISD key information is encrypted by the SM-SR, the super ISD can decrypt the encrypted information. The SKM application inputs the key of the second ISD corresponding to the specific MNO (MNO2) using the ISD key information of the specific MNO (MNO2) based on the ISD index (S414). The 2nd ISD notifies the generated result to the SM-SR and responds to the Put key result (S415). The response message may include an ISD index.
한편, 2nd ISD가 사전에 키 정보 또는 키를 저장하고 있는 경우가 있을 수 있다. 예를 들면, 이전에 2nd ISD가 활성화되었고, 이후에 활성화된 보안 도메인이 2nd ISD로부터 1st ISD로 변경되었으며, 그리하여 현재 2nd ISD는 CARD-LOCKED 상태일 수 있다. 이러한 경우, SM-SR이 SM-DP로부터 키 정보를 가져오기 위한 S410 및 S411 단계는 생략될 수 있다. 또한, S412 내지 S414 단계는 ISD 인덱스는 포함하지만 ISD 키 정보는 포함하지 않을 수 있다.On the other hand, there may be a case where the 2nd ISD stores key information or key in advance. For example, the 2nd ISD was previously activated, and the subsequently activated security domain was changed from the 2nd ISD to the 1st ISD, so that the current 2nd ISD may be in the CARD-LOCKED state. In this case, steps S410 and S411 for the SM-SR to fetch the key information from the SM-DP may be omitted. Steps S412 to S414 may include the ISD index but not the ISD key information.
SKM 어플리케이션은 보안 도메인을 MNO1에 대응되는 1st ISD로부터 MNO2에 대응되는 2nd ISD로 변경한다(S416). SKM 어플리케이션은 MNO2의 2nd ISD로 보안 도메인 상태를 변경하는 것을 슈퍼 ISD로 지시한다(S417). 슈퍼 ISD는 변경된 보안 도메인 상태와 함께 Put Key 결과를 응답한다(S418). 응답 메시지는 MNO의 ISD를 포함할 수 있다.The SKM application changes the security domain from 1st ISD corresponding to MNO1 to 2nd ISD corresponding to MNO2 (S416). The SKM application instructs the super ISD to change the security domain state to the 2nd ISD of MNO2 (S417). The super ISD responds with the changed security domain status and the result of the put key (S418). The response message may include the ISD of the MNO.
이러한 과정이 완료되면, MNO2의 ISD가 활성화된다(S419, S420). 그리하여, MNO2(또는 SM-DP)가 자신과 UICC(2nd ISD)가 공유하는 키를 이용하여 UICC(2nd ISD)에 접근할 수 있게 된다.When this process is completed, the ISD of MNO2 is activated (S419, S420). Thus, the MNO2 (or SM-DP) can access the UICC (2nd ISD) using the key shared by itself and the UICC (2nd ISD).
SM-SR은 최종적으로 사후-배포 결과를 장치에 응답하고(S421), 장치는 SKM 어플리케이션에 이를 응답한다(S422).The SM-SR finally responds to the device with the post-deployment result (S421), and the device responds to the SKM application (S422).
완료된 시점에서, SM-SR 및 SM-DP는 MNO2로 보안 권리를 변경하는 것을 완료한 상태이고, MNO2는 UICC에 접근할 수 있게 된다. 2nd ISD는 카드 라이프 사이클에서 사후-배포 상태이고, 즉 SECURED 상태이다.Upon completion, the SM-SR and the SM-DP have completed changing the security right to the MNO2, and the MNO2 can access the UICC. The 2nd ISD is in a post-distribution state, i.e., SECURED, in the card life cycle.
한편, 특정 MNO에 대하여 해지 절차 또는 일시 정지 절차를 진행하는 경우, 도 4의 S401 내지 S408 단계와 도 5의 S421 및 S422 단계가 실행될 수 있다. 절차가 진행되기 이전에는 하나의 MNO에 대하여 카드 라이프 사이클이 사후 배포(Post-Issuance) 상태이고 다른 MNO에 대하여 카드 라이프 사이클이 사전 배포(Pre-Issuance) 또는 CARD-LOCKED 상태이며, 절차가 진행된 이후에는 모든 MNO에 대하여 카드 라이프 사이클이 사전-배포 또는 CARD-LOCKED 상태일 것이다.On the other hand, if a revocation procedure or a suspension procedure is performed for a specific MNO, steps S401 to S408 of FIG. 4 and steps S421 and S422 of FIG. 5 may be executed. The card lifecycle is post-issuance status for one MNO and the card life cycle is pre-release (CARD-LOCKED) for another MNO, The card lifecycle for all MNOs will be pre-deployed or CARD-LOCKED.
또는 해지되거나 일시 정지된 단말에 대하여 개통 또는 재개통 절차를 진행하는 경우, 도 4의 S401 및 S402 단계와 도 5의 S409 단계 내지 S422 단계가 실행될 수 있다. 절차가 진행되기 이전에는 모든 MNO에 대하여 카드 라이프 사이클이 사전 배포 또는 CARD-LOCKED 상태이고, 절차가 진행된 이후에는 하나의 MNO에 대하여 카드 라이프 사이클이 사후 배포 상태이고 다른 MNO에 대하여 사전 배포 또는 CARD-LOCKED 상태일 것이다.Alternatively, in the case of performing the opening or re-opening procedure for the terminated or suspended terminal, steps S401 and S402 of FIG. 4 and steps S409 and S422 of FIG. 5 may be executed. Card life cycle is pre-distributed or CARD-LOCKED for all MNOs before proceeding, and card life cycle is post-distribution state for one MNO after proceeding and pre-distribution or CARD- LOCKED state.
도 6은 본 발명의 일 실시예에 따른 SM-SR의 구성을 도시하는 블록도이다.6 is a block diagram showing a configuration of an SM-SR according to an embodiment of the present invention.
도 6을 참조하면, SM-SR(600)은 슈퍼 ISD 키 저장부(610), ISD 인덱스 저장부(620), SM-DP 인터페이스(630) 및 UICC 인터페이스(640)를 포함한다.Referring to FIG. 6, the SM-
슈퍼 ISD 키 저장부(610)는 UICC의 슈퍼 ISD와 공유하는 키를 저장한다. 슈퍼 ISD와 공유하는 키는 사전에 UICC를 제작한 UICC 벤더로부터 얻을 수 있다.The super ISD
ISD 인덱스 저장부(620)는 각 MNO에 해당하는 ISD의 인덱스를 저장한다.The ISD
SM-DP 인터페이스(630)는 SM-DP와 통신하기 위한 인터페이스이다. SM-DP 인터페이스(630)는 MNO에 해당하는 ISD의 키 정보를 SM-DP로 요청하고 SM-DP로부터 이를 수신할 수 있다.The SM-
UICC 인터페이스(640)는 UICC와 통신하기 위한 인터페이스이다. UICC 인터페이스(640)는 UICC의 슈퍼 ISD와 인증 절차를 수행할 수 있다. UICC 인터페이스(640)는 UICC의 슈퍼 ISD를 통해 각 MNO에 해당하는 ISD의 라이프 사이클 상태를 변경하는 요청 신호를 전송할 수 있다. 예를 들면, UICC 인터페이스(640)는 각 ISD의 라이프 사이클 상태를 사전 배포에서 사후 배포 상태로, 사후 배포 상태에서 CARD-LOCKED 상태로, 또는 CARD-LOCKED 상태에서 사후 배포 상태로 변경하는 요청 신호를 슈퍼 ISD로 전송할 수 있다. MNO1에서 MNO2로 MNO를 변경하는 경우, UICC 인터페이스(640)는 MNO1에 대응되는 1st ISD를 사후 배포 상태에서 CARD-LOCKED 상태로 변경하는 요청 및 MNO2에 대응되는 2nd ISD를 사전 배포 상태 또는 CARD-LOCKED 상태에서 사후 배포로 변경하는 요청을 전송할 수 있다.The
도 7은 본 발명의 일 실시예에 따른 SM-DP의 구성을 도시하는 블록도이다.7 is a block diagram showing a configuration of an SM-DP according to an embodiment of the present invention.
도 7을 참조하면, SM-DP(700)는 ISD 키 저장부(710), SM-SR 인터페이스(720) 및 UICC 인터페이스(730)를 포함한다.Referring to FIG. 7, the SM-
ISD 키 저장부(710)는 MNO에 개통한 단말에 탑재된 eUICC의 ISD와 공유되는 키를 저장한다. 그리하여, MNO가 eUICC를 통해 서비스를 제공할 수 있도록 한다.The ISD
SM-SR 인터페이스(720)는 SM-SR로부터 키 정보 요청 신호를 수신하고 SM-SR로 키 정보를 전송할 수 있다.The SM-
UICC 인터페이스(730)는 eUICC의 ISD와 공유되는 키를 이용하여 eUICC 내의 해당하는 ISD에 서비스를 제공할 수 있다. 일 예로서, UICC 인터페이스(730)는 eUICC 내의 해당하는 ISD와 인증 절차를 수행할 수 있다.The
도 8은 본 발명의 일 실시예에 따른 단말의 구성을 도시하는 블록도이다.8 is a block diagram showing the configuration of a terminal according to an embodiment of the present invention.
도 8을 참조하면, 단말(800)은 내장된 UICC(eUICC)(810)를 포함한다.Referring to FIG. 8, the terminal 800 includes an embedded UICC (eUICC)
eUICC(810)는 슈퍼 ISD(812), 하나 이상의 ISD(ISD1(814), ISD2(816)) 및 제어부(818)를 포함한다.The
슈퍼 ISD(812)는 SM-SR과 키를 공유할 수 있다. 이를 이용하여, 슈퍼 ISD(812)는 SM-SR과 인증 절차를 진행할 수 있다.The
또한, 슈퍼 ISD(812)는 각 ISD(814, 816)의 라이프 사이클 상태 변경 요청 신호를 SM-SR로부터 수신할 수 있다. 예를 들면, 슈퍼 ISD(812)는 각 ISD(814, 816)의 라이프 사이클 상태를 사전 배포(Pre-Issuance) 상태에서 사후 배포(Post-Issuance) 상태로, 사후 배포 상태를 CARD-LOCKED 상태로, 또는 CARD LOCKED 상태를 사후 배포 상태로 변경하도록 요청하는 신호를 SM-SR로부터 수신할 수 있다. 즉, 슈퍼 ISD(812)는 각 ISD(814, 816)가 활성화되지 않은 상태에서 활성화된 상태로, 또는 활성화된 상태를 활성화되지 않은 상태로 요청하는 신호를 SM-SR로부터 수신할 수 있다. 이를 이용하여, MNO를 변경할 때, 활성화된 보안 도메인을 변경하는 신호를 수신할 수 있다.In addition, the
또한, 슈퍼 ISD(812)는 SM-SR로부터 특정 MNO에 대응되어 활성화될 ISD의 인덱스 및 키 정보를 수신할 수 있다.In addition, the
ISD(814, 816)는 특정 MNO에 대응되어 활성화될 수 있다. 활성화된 ISD(814, 816)는 ISD의 키를 이용하여 MNO로부터 서비스를 받을 수 있다. 또한, ISD(814, 816)는 SM-DP와 인증 절차를 진행할 수 있다.
제어부(818)는 슈퍼 ISD(812)를 통해 수신한 ISD 라이프 사이클 상태 변경 요청 신호에 기초하여 각 ISD(814, 816)의 라이프 사이클 상태를 변경할 수 있다. 예를 들면, 제어부(818)는 각 ISD(814, 816)의 라이프 사이클 상태를 사전 배포(Pre-Issuance) 상태에서 사후 배포(Post-Issuance) 상태로, 사후 배포 상태를 CARD-LOCKED 상태로, 또는 CARD LOCKED 상태를 사후 배포 상태로 변경할 수 있다. 즉, 제어부(818)는 각 ISD(814, 816)가 활성화되지 않은 상태에서 활성화된 상태로, 또는 활성화된 상태를 활성화되지 않은 상태로 변경할 수 있다. 이를 이용하여, 제어부(818)는, MNO를 변경할 때, 활성화된 보안 도메인을 변경할 수 있다.The
또한, 제어부(8181)는 슈퍼 ISD(812)를 통해 수신한 ISD의 인덱스 및 키 정보를 이용하여 특정 MNO에 대응되는 ISD(814, 816)에 키 정보를 입력할 수 있다.Also, the controller 8181 can input the key information to the
상술한 방식을 통해 eUICC는 소프트웨어 상으로 가입된 MNO를 변경할 수 있다.In the manner described above, the eUICC may change the MNO subscribed to the software.
상술한 실시예는 M2M 단말에 내장되는 eUICC를 예시하여 설명되었지만, 본 발명은 이에 제한되는 것이 아니라, 다른 IC-카드에도 적용될 수 있다. 또한, 본 발명은 표준 Plug-In SIM(2FF), Mini-SIM(3FF), SMD SIM(4FF) 등 모은 IC-카드에 적용이 가능하다. 다만, 내장된 형태로 USIM이 기본적으로 적용되는 M2M 분야에 특히 활용성이 있어 장점을 갖는다.Although the above embodiment has been described by exemplifying the eUICC embedded in the M2M terminal, the present invention is not limited thereto, but can be applied to other IC-cards. In addition, the present invention is applicable to an integrated IC-card such as a standard Plug-In SIM (2FF), Mini-SIM (3FF), and SMD SIM (4FF). However, it is advantageous because it is especially useful in the M2M field where USIM is basically applied as a built-in form.
이상의 설명은 본 발명의 기술 사상을 예시적으로 설명한 것에 불과한 것으로서, 본 발명이 속하는 기술 분야에서 통상의 지식을 가진 자라면 본 발명의 본질적인 특성에서 벗어나지 않는 범위에서 다양한 수정 및 변형이 가능할 것이다. 따라서, 본 발명에 개시된 실시 예들은 본 발명의 기술 사상을 한정하기 위한 것이 아니라 설명하기 위한 것이고, 이러한 실시 예에 의하여 본 발명의 기술 사상의 범위가 한정되는 것은 아니다. 본 발명의 보호 범위는 아래의 청구범위에 의하여 해석되어야 하며, 그와 동등한 범위 내에 있는 모든 기술 사상은 본 발명의 권리범위에 포함되는 것으로 해석되어야 할 것이다.The foregoing description is merely illustrative of the technical idea of the present invention, and various changes and modifications may be made by those skilled in the art without departing from the essential characteristics of the present invention. Therefore, the embodiments disclosed in the present invention are intended to illustrate rather than limit the scope of the present invention, and the scope of the technical idea of the present invention is not limited by these embodiments. The scope of protection of the present invention should be construed according to the following claims, and all technical ideas within the scope of equivalents should be construed as falling within the scope of the present invention.
| Application Number | Priority Date | Filing Date | Title | 
|---|---|---|---|
| KR1020180031971AKR101896869B1 (en) | 2018-03-20 | 2018-03-20 | Security Domain Authority Change Control Method of Server, Security Domain Authority Change Method of Smart Card, Security Domain Authority Change Method of User Equipment, Server, Smart Card, and User Equipment | 
| Application Number | Priority Date | Filing Date | Title | 
|---|---|---|---|
| KR1020180031971AKR101896869B1 (en) | 2018-03-20 | 2018-03-20 | Security Domain Authority Change Control Method of Server, Security Domain Authority Change Method of Smart Card, Security Domain Authority Change Method of User Equipment, Server, Smart Card, and User Equipment | 
| Application Number | Title | Priority Date | Filing Date | 
|---|---|---|---|
| KR1020110114157ADivisionKR101844943B1 (en) | 2011-11-03 | 2011-11-03 | Security Domain Authority Change Control Method of Server, Security Domain Authority Change Method of Smart Card, Security Domain Authority Change Method of User Equipment, Server, Smart Card, and User Equipment | 
| Application Number | Title | Priority Date | Filing Date | 
|---|---|---|---|
| KR1020180103924ADivisionKR101937622B1 (en) | 2018-08-31 | 2018-08-31 | Security Domain Authority Change Control Method of Server, Security Domain Authority Change Method of Smart Card, Security Domain Authority Change Method of User Equipment, Server, Smart Card, and User Equipment | 
| Publication Number | Publication Date | 
|---|---|
| KR20180033473A KR20180033473A (en) | 2018-04-03 | 
| KR101896869B1true KR101896869B1 (en) | 2018-09-07 | 
| Application Number | Title | Priority Date | Filing Date | 
|---|---|---|---|
| KR1020180031971AActiveKR101896869B1 (en) | 2018-03-20 | 2018-03-20 | Security Domain Authority Change Control Method of Server, Security Domain Authority Change Method of Smart Card, Security Domain Authority Change Method of User Equipment, Server, Smart Card, and User Equipment | 
| Country | Link | 
|---|---|
| KR (1) | KR101896869B1 (en) | 
| Publication number | Priority date | Publication date | Assignee | Title | 
|---|---|---|---|---|
| KR101179487B1 (en)* | 2008-09-05 | 2012-09-07 | 에스케이플래닛 주식회사 | System and method for managing multi smart card web server | 
| KR20100050115A (en)* | 2008-11-05 | 2010-05-13 | 주식회사 케이티 | Smart card which has web server and smart card management system function and usage method thereof | 
| KR101524126B1 (en)* | 2008-12-30 | 2015-05-29 | 에스케이플래닛 주식회사 | System and method for setting of session cipher key based on smart card, and smart card applied to the same | 
| KR101096491B1 (en)* | 2009-05-08 | 2011-12-20 | (주) 케이비씨테크 | Smart Card with Multiple SCCS Supported Method, Method and Mobile Communication Terminal Using the Same | 
| Publication number | Publication date | 
|---|---|
| KR20180033473A (en) | 2018-04-03 | 
| Publication | Publication Date | Title | 
|---|---|---|
| US10334443B2 (en) | Method for configuring profile of subscriber authenticating module embedded and installed in terminal device, and apparatus using same | |
| US20180206123A1 (en) | Delegated profile and policy management | |
| US9817993B2 (en) | UICCs embedded in terminals or removable therefrom | |
| JP7384920B2 (en) | Method of providing subscription profile, subscriber identity module, and subscription server | |
| EP2731381B1 (en) | Method for changing the mobile network operator in an embedded sim on basis of special privilege | |
| KR101844943B1 (en) | Security Domain Authority Change Control Method of Server, Security Domain Authority Change Method of Smart Card, Security Domain Authority Change Method of User Equipment, Server, Smart Card, and User Equipment | |
| CN103493526B (en) | SIM lock | |
| KR101979162B1 (en) | Method for Managing Key of Embedded SIM, Embedded SIM and recording medium for the same | |
| CN103583067B (en) | SIM lock for multi-SIM environment | |
| KR20130006258A (en) | Method for changing mno of embedded sim based on dynamic key generation, embedded sim and recording medium for the same | |
| EP2209080A1 (en) | Method of loading data in an electronic device | |
| KR101937622B1 (en) | Security Domain Authority Change Control Method of Server, Security Domain Authority Change Method of Smart Card, Security Domain Authority Change Method of User Equipment, Server, Smart Card, and User Equipment | |
| KR101896869B1 (en) | Security Domain Authority Change Control Method of Server, Security Domain Authority Change Method of Smart Card, Security Domain Authority Change Method of User Equipment, Server, Smart Card, and User Equipment | |
| KR101937486B1 (en) | Security Domain Authority Handover Control Method of Server, Security Domain Authority Handover Method of Smart Card, Security Domain Authority Handover Method of User Equipment, Server, Smart Card, and User Equipment | 
| Date | Code | Title | Description | 
|---|---|---|---|
| A107 | Divisional application of patent | ||
| A201 | Request for examination | ||
| PA0107 | Divisional application | St.27 status event code:A-0-1-A10-A18-div-PA0107 St.27 status event code:A-0-1-A10-A16-div-PA0107 | |
| PA0201 | Request for examination | St.27 status event code:A-1-2-D10-D11-exm-PA0201 | |
| PG1501 | Laying open of application | St.27 status event code:A-1-1-Q10-Q12-nap-PG1501 | |
| E701 | Decision to grant or registration of patent right | ||
| PE0701 | Decision of registration | St.27 status event code:A-1-2-D10-D22-exm-PE0701 | |
| PA0107 | Divisional application | St.27 status event code:A-0-1-A10-A18-div-PA0107 St.27 status event code:A-0-1-A10-A16-div-PA0107 | |
| GRNT | Written decision to grant | ||
| PR0701 | Registration of establishment | St.27 status event code:A-2-4-F10-F11-exm-PR0701 | |
| PR1002 | Payment of registration fee | St.27 status event code:A-2-2-U10-U11-oth-PR1002 Fee payment year number:1 | |
| PG1601 | Publication of registration | St.27 status event code:A-4-4-Q10-Q13-nap-PG1601 | |
| PN2301 | Change of applicant | St.27 status event code:A-5-5-R10-R11-asn-PN2301 | |
| PN2301 | Change of applicant | St.27 status event code:A-5-5-R10-R14-asn-PN2301 | |
| P22-X000 | Classification modified | St.27 status event code:A-4-4-P10-P22-nap-X000 | |
| PR1001 | Payment of annual fee | St.27 status event code:A-4-4-U10-U11-oth-PR1001 Fee payment year number:4 | |
| R18-X000 | Changes to party contact information recorded | St.27 status event code:A-5-5-R10-R18-oth-X000 | |
| PR1001 | Payment of annual fee | St.27 status event code:A-4-4-U10-U11-oth-PR1001 Fee payment year number:5 | |
| PR1001 | Payment of annual fee | St.27 status event code:A-4-4-U10-U11-oth-PR1001 Fee payment year number:6 | |
| PR1001 | Payment of annual fee | St.27 status event code:A-4-4-U10-U11-oth-PR1001 Fee payment year number:7 | |
| R18-X000 | Changes to party contact information recorded | St.27 status event code:A-5-5-R10-R18-oth-X000 | |
| PR1001 | Payment of annual fee | St.27 status event code:A-4-4-U10-U11-oth-PR1001 Fee payment year number:8 |