








본 발명은 조언 제공 사용자 단말, 시스템 및 방법에 관한 것으로, 보다 상세하게는 정황 요소 및 정황 요소에 대응하는 조언 요소를 설정할 수 있는 인터페이스를 사용자에게 제공하여 조언을 완성할 수 있도록 하고, 완성된 조언을 사용자들 간에 공유할 수 있도록 하는 조언 제공 장치, 사용자 단말 및 방법에 관한 것이다.The present invention relates to a user terminal, a system and a method for providing advice, and more particularly, to provide a user with an interface for setting a consulting element corresponding to a circumstantial element and a circumstantial element so that advice can be completed, A user terminal, and a method for sharing information between users.
전자 통신 기술이 발전함에 따라, 사용자는 휴대 단말로 다양한 기능을 이용할 수 있게 되었다. 휴대 단말은 다양한 어플리케이션을 사용자가 원하는 대로 설치 및 삭제할 수 있고, 무선 인터넷을 이용하여 인터넷 망에 직접 접속할 수 있어서 활용도가 높다. 일 예로, 사용자 휴대 단말에는 사용자의 운동을 기록 및 관리할 수 있는 트랙킹(tracking) 어플리케이션이 설치될 수 있다.With the development of electronic communication technology, a user can use various functions as a portable terminal. The mobile terminal can install and delete various applications as desired by the user, and can directly access the Internet using the wireless Internet, which is highly utilized. For example, the user portable terminal may be provided with a tracking application for recording and managing the movement of the user.
본 발명은, 사용자에게 정황 요소 및 대응하는 조언 요소를 설정할 수 있는 인터페이스를 제공함으로써, 사용자로 하여금 용이하게 조언을 완성하도록 하는 것을 일 목적으로 한다.It is an object of the present invention to provide a user with an interface by which contextual elements and corresponding advisory elements can be set, thereby allowing the user to easily complete the advice.
또한 본 발명은, 유사한 사용자들 간에 정황 요소, 조언 요소 및 완성된 조언을 공유할 수 있도록 함으로써, 사용자들 간의 경쟁을 촉진시키고 사용자의 운동 동기를 유발하는 것을 다른 목적으로 한다.Another object of the present invention is to encourage competition between users and to motivate the user to exercise by sharing contextual elements, advice elements, and completed advice among similar users.
본 발명의 일 실시예에 따르면, 사용자 정보에 기초하여 생성된 하나 이상의 정황 요소를 사용자 단말에 제공하고, 선택된 정황 요소를 사용자 정황 요소로 결정하는 정황 요소 결정부; 상기 사용자 정황 요소에 대응되는 사용자 조언 요소를 결정하는 조언 요소 결정부; 및 상기 사용자 정황 요소를 만족하는 상황이 발생한 경우, 상기 사용자 조언 요소를 상기 사용자 단말에 제공하는 조언 제공부; 를 포함하는 조언 제공 시스템이 제공된다.According to an embodiment of the present invention, there is provided an information processing apparatus comprising: a context element determination unit that provides at least one context element generated based on user information to a user terminal and determines a selected context element as a user context element; A consulting element determining unit for determining a user consulting element corresponding to the user contextual element; And a counselor providing the user advice element to the user terminal when a situation satisfying the user context element occurs; Is provided.
본 발명의 다른 일 실시예에 있어서, 타 사용자 단말로부터 획득된 하나 이상의 타 사용자의 정황 요소를 사용자 단말에 제공하고, 선택된 정황 요소를 사용자 정황 요소로 결정하는 정황 요소 결정부; 상기 사용자 정황 요소에 대응되는 사용자 조언 요소를 결정하는 조언 요소 결정부; 및 상기 사용자 정황 요소를 만족하는 상황이 발생한 경우, 상기 사용자 조언 요소를 상기 사용자 단말에 제공하는 조언 제공부; 를 포함하는 조언 제공 시스템이 제공된다.In another embodiment of the present invention, a context element determination unit provides a context element of one or more other users obtained from another user terminal to a user terminal, and determines the selected context element as a user context element. A consulting element determining unit for determining a user consulting element corresponding to the user contextual element; And a counselor providing the user advice element to the user terminal when a situation satisfying the user context element occurs; Is provided.
본 발명에 있어서, 상기 조언 요소 결정부는, 상기 사용자 단말로부터 입력된 컨텐츠를 사용자 조언 요소로 결정할 수 있다.In the present invention, the advice element determination unit may determine the content input from the user terminal as a user advice element.
본 발명에 있어서, 상기 사용자 정황 요소에 대응되는 하나 이상의 타 사용자의 조언 요소 중 상기 사용자 단말에 의해 선택된 조언 요소를 상기 사용자 조언 요소로 결정할 수 있다.In the present invention, among the advisory elements of one or more other users corresponding to the user context element, the advisory element selected by the user terminal may be determined as the user advisory element.
본 발명에 있어서, 상기 사용자 정황 요소에 대응되는 상기 하나 이상의 타 사용자의 조언 요소는, 상기 사용자 정황 요소와 매칭되는 정황 요소를 등록한 타 사용자가, 매칭된 상기 정황 요소에 대응하여 등록한 하나 이상의 조언 요소일 수 있다.In the present invention, the advice element of the one or more other users corresponding to the user context element may be configured such that the other user who registers the context element that matches the user context element registers with one or more advisory elements registered corresponding to the matched context element Lt; / RTI >
본 발명에 있어서, 상기 타 사용자는 상기 사용자 단말의 사용자가 속한 그룹과 동일한 그룹에 속하는 사용자일 수 있다.In the present invention, the other user may be a user belonging to the same group as the group to which the user of the user terminal belongs.
본 발명에 있어서, 상기 그룹은 상기 사용자 정보에 기초하여 자동적으로 생성된 그룹이거나, 혹은 사용자가 직접 가입한 그룹일 수 있다In the present invention, the group may be a group automatically generated based on the user information, or may be a group directly joined by the user
본 발명에 있어서, 상기 타 사용자는 상기 사용자가 속한 그룹에 속하는 사용자들 중 통계에 기초한 소정의 기준을 만족하는 사용자일 수 있다.In the present invention, the other user may be a user who satisfies a predetermined criterion based on statistics among users belonging to the group to which the user belongs.
본 발명에 있어서, 상기 정황 요소는 시간, 날씨, 장소, 사용자 목표, 사용자 심박수, 사용자 걸음수, 소모 칼로리수, 이동 거리, 이동 속도 중 하나 이상에 관한 것일 수 있다.In the present invention, the context factor may be related to at least one of time, weather, place, user goal, user heart rate, user's step number, consumed calories, travel distance, and travel speed.
본 발명에 있어서, 상기 사용자 조언 요소가 추가적인 명령을 실행할 것인지에 대한 질의를 포함하는 경우, 상기 사용자 단말의 입력에 따라 상기 추가적인 명령을 실행하는 추가 명령 실행부; 를 추가적으로 포함할 수 있다.The present invention may further include an additional instruction execution unit that executes the additional instruction according to an input of the user terminal, when the user advice element includes a query as to whether or not to execute an additional instruction. . ≪ / RTI >
본 발명에 있어서, 상기 사용자 정황 요소 및 상기 대응되는 사용자 조언 요소를 검증 및 승인하는 조언 검증부; 를 추가적으로 포함할 수 있다.In accordance with the present invention, an advice verification unit for verifying and approving the user context element and the corresponding user advice element; . ≪ / RTI >
본 발명에 있어서, 상기 사용자 단말로부터 조언을 입력할 것인지 여부를 획득하는 조언 입력 결정부; 를 추가적으로 포함할 수 있다.In the present invention, a consultation input determining unit for acquiring whether or not to input advice from the user terminal; . ≪ / RTI >
본 발명에 있어서, 상기 하나 이상의 정황 요소는 사용자의 웨어러블 디바이스(wearable device)로부터 생성될 수 있다.In the present invention, the one or more contextual elements may be generated from a wearable device of a user.
본 발명에 있어서, 상기 타 사용자 단말은 웨어러블 디바이스일 수 있다.In the present invention, the other user terminal may be a wearable device.
본 발명의 다른 일 실시예에 있어서, 사용자 정보에 기초하여 생성된 하나 이상의 정황 요소를 사용자 단말에 제공하는 단계, 선택된 정황 요소를 사용자 정황 요소로 결정하는 단계; 상기 사용자 정황 요소에 대응되는 사용자 조언 요소를 결정하는 단계; 및 상기 사용자 정황 요소를 만족하는 상황이 발생한 경우, 상기 사용자 조언 요소를 상기 사용자 단말에 제공하는 단계; 를 포함하는 조언 제공 방법이 제공된다.In another embodiment of the present invention, there is provided a method comprising: providing at least one contextual element generated based on user information to a user terminal; determining a selected contextual element as a user contextual element; Determining a user advice element corresponding to the user context element; And providing the user advisory element to the user terminal when a situation satisfies the user context element; A method of providing advice is provided.
본 발명의 다른 일 실시예에 있어서, 타 사용자 단말로부터 획득된 하나 이상의 타 사용자의 정황 요소를 사용자 단말에 제공하는 단계; 선택된 정황 요소를 사용자 정황 요소로 결정하는 단계; 상기 사용자 정황 요소에 대응되는 사용자 조언 요소를 결정하는 단계; 및 상기 사용자 정황 요소를 만족하는 상황이 발생한 경우, 상기 사용자 조언 요소를 상기 사용자 단말에 제공하는 단계; 를 포함하는 조언 제공 방법이 제공된다.According to another embodiment of the present invention, there is provided a method for providing a user terminal, the method comprising: providing a context element of one or more other users obtained from another user terminal to a user terminal; Determining the selected context element as a user context element; Determining a user advice element corresponding to the user context element; And providing the user advisory element to the user terminal when a situation satisfies the user context element; A method of providing advice is provided.
본 발명의 다른 일 실시예에 있어서, 사용자 정보에 기초하여 생성된 하나 이상의 정황 요소를 표시하고, 선택된 정황 요소를 사용자 정황 요소로 결정하는 정황 요소 결정부; 상기 사용자 정황 요소에 대응되는 사용자 조언 요소를 결정하는 조언 요소 결정부; 및 상기 사용자 정황 요소를 만족하는 상황이 발생한 경우, 상기 사용자 정황 요소에 대응되는 상기 사용자 조언 요소를 표시하는 조언 제공부; 를 포함하는 조언 제공 사용자 단말이 제공된다.According to another embodiment of the present invention, there is provided an information processing apparatus including: a context element determination unit that displays one or more context elements generated based on user information, and determines a selected context element as a user context element; A consulting element determining unit for determining a user consulting element corresponding to the user contextual element; And a counselor for displaying the user advice element corresponding to the user context element when a situation satisfying the user context element occurs; A user terminal is provided.
본 발명에 의하면, 사용자들은 용이하게 정황 요소 및 대응하는 조언 요소를 설정하여 조언을 완성할 수 있고, 완성된 조언의 정황 요소를 만족하는 상황이 발생한 경우 조언 요소를 제공받을 수 있다.According to the present invention, the users can easily complete the advice by setting the context element and the corresponding advice element, and can receive the advice element when a situation satisfies the circumstantial element of the completed advice.
본 발명에 의하면, 사용자들 간에 정황 요소, 조언 요소 및 완성된 조언을 공유하는 것이 가능하다.According to the present invention, it is possible to share contextual elements, advice elements, and completed advice among users.
도 1은 본 발명의 일 실시예에 따른 조언 제공 시스템의 구성을 나타낸 도면이다.
도 2 는 도 1 에 도시된 서비스 서버의 내부 구성의 일 예를 나타낸 블록도이다.
도 3 은 본 발명의 일 실시예에 따른 조언 제공 방법의 시계열적 실행 순서를 나타낸 도면이다.
도 4 는 본 발명의 일 실시예에 따라 사용자 정황 요소를 결정하는 실시예를 나타낸 도면이다.
도 5 는 본 발명의 일 실시예에 따라 사용자가 속한 그룹의 타 사용자의 정황 정보를 획득하는 실시예를 나타낸 도면이다.
도 6 는 본 발명의 일 실시예에 따라 사용자 조언 요소를 결정하는 실시예를 나타낸 도면이다.
도 7 은 본 발명의 일 실시예에 따라 타 사용자의 정황 요소와 조언 요소가 함께 제공되는 실시예를 나타낸 도면이다.
도 8 은 본 발명의 일 실시예에 따라 제공되는 조언의 예시를 나타낸 도면이다.
도 9 는 본 발명의 다른 일 실시예에 따라, 사용자 단말이 웨어러블 디바이스인 예시를 나타낸 도면이다.1 is a diagram illustrating a configuration of a advice providing system according to an embodiment of the present invention.
 2 is a block diagram showing an example of the internal configuration of the service server shown in FIG.
 3 is a diagram illustrating a time-series execution sequence of a method for providing advice according to an embodiment of the present invention.
 4 is a diagram illustrating an embodiment for determining a user contextual element in accordance with an embodiment of the present invention.
 5 is a diagram illustrating an example of obtaining context information of another user of a group to which a user belongs according to an embodiment of the present invention.
 6 is a diagram illustrating an embodiment of determining a user advice element in accordance with an embodiment of the present invention.
 7 is a diagram illustrating an embodiment in which a contextual element and an advisory element of another user are provided together according to an embodiment of the present invention.
 Figure 8 is an illustration of an example of advice provided in accordance with an embodiment of the present invention.
 9 is a diagram illustrating an example in which a user terminal is a wearable device, according to another embodiment of the present invention.
후술하는 본 발명에 대한 상세한 설명은, 본 발명이 실시될 수 있는 특정 실시예를 예시로서 도시하는 첨부 도면을 참조한다. 이러한 실시예는 당업자가 본 발명을 실시할 수 있기에 충분하도록 상세히 설명된다. 본 발명의 다양한 실시예는 서로 다르지만 상호 배타적일 필요는 없음이 이해되어야 한다. 예를 들어, 본 명세서에 기재되어 있는 특정 형상, 구조 및 특성은 본 발명의 정신과 범위를 벗어나지 않으면서 일 실시예로부터 다른 실시예로 변경되어 구현될 수 있다. 또한, 각각의 실시예 내의 개별 구성요소의 위치 또는 배치도 본 발명의 정신과 범위를 벗어나지 않으면서 변경될 수 있음이 이해되어야 한다. 따라서, 후술하는 상세한 설명은 한정적인 의미로서 행하여지는 것이 아니며, 본 발명의 범위는 특허청구범위의 청구항들이 청구하는 범위 및 그와 균등한 모든 범위를 포괄하는 것으로 받아들여져야 한다. 도면에서 유사한 참조부호는 여러 측면에 걸쳐서 동일하거나 유사한 구성요소를 나타낸다.The following detailed description of the invention refers to the accompanying drawings, which illustrate, by way of illustration, specific embodiments in which the invention may be practiced. These embodiments are described in sufficient detail to enable those skilled in the art to practice the invention. It should be understood that the various embodiments of the present invention are different, but need not be mutually exclusive. For example, the specific shapes, structures, and characteristics described herein may be implemented by changing from one embodiment to another without departing from the spirit and scope of the invention. It should also be understood that the location or arrangement of individual components within each embodiment may be varied without departing from the spirit and scope of the present invention. Therefore, the following detailed description is not to be taken in a limiting sense, and the scope of the present invention should be construed as encompassing the scope of the appended claims and all equivalents thereof. In the drawings, like reference numbers designate the same or similar components throughout the several views.
이하에서는, 본 발명이 속하는 기술분야에서 통상의 지식을 가진 자가 본 발명을 용이하게 실시할 수 있도록 하기 위하여, 본 발명의 여러 실시예에 관하여 첨부된 도면을 참조하여 상세히 설명하기로 한다.DETAILED DESCRIPTION OF THE PREFERRED EMBODIMENTS Hereinafter, embodiments of the present invention will be described in detail with reference to the accompanying drawings in order to facilitate a person skilled in the art to which the present invention pertains.
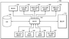
도 1은 본 발명의 일 실시예에 따른 조언 제공 시스템의 구성을 나타낸 도면이다.1 is a diagram illustrating a configuration of a advice providing system according to an embodiment of the present invention.
도 1을 참조하면, 본 발명의 일 실시예에 따른 조언 제공 시스템은 서비스 서버(100), 사용자 단말(200) 및 타 사용자 단말(300)을 포함한다.Referring to FIG. 1, a system for providing advice according to an exemplary embodiment of the present invention includes a
본 발명의 일 실시예에 따른 서비스 서버(100)는 사용자 단말(200)이 조언을 표시하도록 제어할 수 있다. 이때, 제공되는 조언은 사용자가 완성한 조언의 조언 요소이며, 서비스 서버(100)는 사용자가 조언을 완성할 수 있도록 사용자 정보에 기초하여 정황 요소 및 대응하는 조언 요소를 설정하는 인터페이스를 제공할 수 있다. 이하에서, 설명의 편의를 위해 사용자에 의해 완성된 조언은 (정황 요소, 조언 요소)의 형식으로 이루어진 명령으로 가정한다. 이때, 정황 요소는 사용자의 상황을 반영하는 조건으로서, 조언 요소를 사용자 단말(200)에 제공 혹은 표시시키기 위한 충분조건이다. 또한, 조언 요소는 사용자의 특정 행동을 유도하기 위해 사용자 단말(200)에 표시될 수 있는 컨텐츠이다. 즉, 본 발명의 일 실시예에 따른 서비스 서버(100)는 정황 요소를 만족하는 상황이 발생한 경우, 대응하는 조언 요소를 사용자 단말(200)에 제공하고, 사용자 단말(200)은 조언 요소를 표시한다. 달리 말해, 본 발명의 일 실시예에 따르면 사용자는 정황 요소에 대응되는 조언 요소를 정의하는 것, 즉 정황 요소와 조언 요소와의 관계를 정의하는 것으로서 하나의 조언을 완성하고, 완성된 조언을 제공받을 수 있다. 본 발명의 구체적인 실시예에서, 완성된 조언이 (이동 거리≥8km, 8km 를 뛰셨네요! 목표까지 2km 남았습니다.) 라면, 사용자 단말이 운동 시작점으로부터 8km 이동한 것을 감지했을 때, 사용자 단말의 디스플레이에는 "8km 를 뛰셨네요! 목표까지 2km 남았습니다." 라는 조언이 출력될 수 있다.The
참고적으로, 본 발명의 일 실시예에 따른 서비스 서버(100)는 사용자의 운동을 기록하기 위한 트랙킹 어플리케이션(tracking application)을 관리하는 서버일 수 있다. 트랙킹 어플리케이션은 사용자의 운동을 기록할 뿐만 아니라, 주변 환경 및 사용자 상태에 따라 운동에 관한 조언을 제공하기도 한다. 기존의 트랙킹 어플리케이션들은 기설정된 정황에 기설정된 조언만을 제공하여 개인화된 서비스를 제공하지 못하였다. 혹은, 기존의 일부 트랙킹 어플리케이션들은 사용자가 직접 조언을 입력할 수 있도록 하는 인터페이스를 제공하였지만, 사용자로 하여금 조언을 발생시키기 위한 정황들을 직접 입력하도록 할 뿐이어서, 정황이 복잡해지는 경우 사용자가 정황-조언 간의 관계를 정의하기가 어렵다는 문제점이 있었다. 이에 반해, 본 발명의 일 실시예에 따른 서비스 서버(100)는 사용자가 조언을 용이하게 완성할 수 있는 인터페이스를 제공한다. 서비스 서버(100)의 구체적인 동작에 대해서는 후술하기로 한다.For reference, the
사용자 단말(200)은 유무선 통신 환경에서 서비스 서버(100)가 제공하는 어플리케이션을 이용할 수 있는 통신 단말기를 의미한다. 여기서 사용자 단말(200)은 사용자의 휴대용 단말일 수 있다. 이를 더욱 상세히 설명하면, 사용자 단말(200)은 컴퓨터(예를 들면, 데스크톱, 랩톱, 태블릿 등), 미디어 컴퓨팅 플랫폼(예를 들면, 케이블, 위성 셋톱박스, 디지털 비디오 레코더), 핸드헬드 컴퓨팅 디바이스(예를 들면, PDA, 이메일 클라이언트 등), 핸드폰의 임의의 형태, 사용자의 몸에 부착 혹은 장착하여 사용 가능한 웨어러블(wearable) 디바이스의 형태, 또는 다른 종류의 컴퓨팅 또는 커뮤니케이션 플랫폼의 임의의 형태를 포함할 수 있으나, 본 발명이 이에 한정되는 것은 아니다.The
한편, 서버(100)는 사용자 이외의 타 사용자들이 사용하는 타 사용자 단말(300)과도 통신할 수 있다. 타 사용자 단말(300)은 상술한 사용자 단말(200)에 관한 설명이 그대로 적용될 수 있다. 다만, 본 명세서에서는 설명의 편의를 위하여, 본 발명의 조언 제공 방법을 이용하는 사용자 단말(200)의 사용자의 입장에서, 다른 사용자들의 단말을 타 사용자 단말(300)로 구분하여 칭하기로 한다. 따라서, 타 사용자 단말(300)의 사용자 역시 본 명세서에서 설명하는 사용자 단말(200)의 사용자가 될 수 있음은 물론이다.Meanwhile, the
한편, 서비스 서버(100), 사용자 단말(200) 및 타 사용자 단말(300)은 통신망을 통해 통신할 수 있다. 이때, 통신망은 사용자 단말들(200, 300)이 서비스 서버(100)에 접속한 후 데이터를 송수신할 수 있도록 접속 경로를 제공하는 통신망을 의미한다.  통신망은 예컨대 LANs(Local Area Networks), WANs(Wide Area Networks), MANs(Metropolitan Area Networks), ISDNs(Integrated Service Digital Networks) 등의 유선 네트워크나, 무선 LANs, CDMA, 블루투스, 위성 통신 등의 무선 네트워크를 망라할 수 있으나, 본 발명의 범위가 이에 한정되는 것은 아니다.Meanwhile, the
도 2 는 도 1 에 도시된 서비스 서버(100)의 내부 구성의 일 예를 나타낸 블록도이다.2 is a block diagram showing an example of the internal configuration of the
도 2 를 참조하면, 서비스 서버(100)는 통신부(110), 메모리(120), 프로그램 저장부(130), 제어부(140), 데이터베이스(150), 사용자 정보 관리부(161), 조언 입력 결정부(162), 정황 요소 결정부(163), 조언 요소 결정부(164), 조언 제공부(165), 조언 검증부(166) 및 추가 명령 실행부(167)를 포함한다.2, the
통신부(110)는 서비스 서버(100)와 사용자 단말들(200, 300) 간의 송수신 신호를 패킷 데이터 형태로 제공하는 데 필요한 통신 인터페이스를 제공한다. 여기서, 통신부(110)는 다른 네트워크 장치와 유무선 연결을 통해 제어 신호 또는 데이터 신호와 같은 신호를 송수신하기 위해 필요한 하드웨어 및 소프트웨어를 포함하는 장치일 수 있다.The
메모리(120)는 제어부(140)가 처리하는 데이터를 일시적 또는 영구적으로 저장하는 기능을 수행한다. 여기서, 메모리(120)는 자기 저장 매체(magnetic storage media) 또는 플래시 저장 매체(flash storage media)를 포함할 수 있으나, 본 발명의 범위가 이에 한정되는 것은 아니다.The
프로그램 저장부(130)는 본 발명의 일 실시예에 따라 후술할 제어부(140)가 실행하는 모든 과정을 지시하는 명령으로 구성된 프로그램을 저장할 수 있다.The
제어부(140)는 일종의 중앙처리장치로서 사용자 정황 요소 및 조언 요소를 결정하여 조언을 완성하고, 사용자 정황 요소를 만족하는 상황이 발생하는 경우 사용자 조언 요소를 사용자 단말(200)에 제공하는 전체 과정을 제어한다.  즉, 제어부(140)는 프로그램 저장부(130)에 탑재된 제어 소프트웨어를 구동하고, 서비스 서버(100)내의 각 부를 제어하여 사용자 단말(200)에 조언을 제공하는 기능을 수행할 수 있다.The
여기서, 제어부(140)는 프로세서(processor)와 같이 데이터를 처리할 수 있는 모든 종류의 장치를 포함할 수 있다. 여기서, '프로세서(processor)'는, 예를 들어 프로그램 내에 포함된 코드 또는 명령으로 표현된 기능을 수행하기 위해 물리적으로 구조화된 회로를 갖는, 하드웨어에 내장된 데이터 처리 장치를 의미할 수 있다. 이와 같이 하드웨어에 내장된 데이터 처리 장치의 일 예로써, 마이크로프로세서(microprocessor), 중앙처리장치(central processing unit: CPU), 프로세서 코어(processor core), 멀티프로세서(multiprocessor), ASIC(application-specific integrated circuit), FPGA(field programmable gate array) 등의 처리 장치를 망라할 수 있으나, 본 발명의 범위가 이에 한정되는 것은 아니다.Here, the
데이터베이스(150)는 사용자 정보를 저장하는 사용자 데이터베이스와, 각 사용자들이 완성한 조언을 저장하는 조언 데이터페이스를 포함할 수 있다. 조언 데이터 베이스는 각 사용자들의 완성된 조언에 포함된 정황 요소 및 대응하는 조언 요소에 대한 정보가 저장될 수 있다.The
사용자 정보 관리부(161)는 사용자 단말(200)을 사용하는 사용자의 정보를 획득할 수 있다. 이때, 사용자 정보란, 사용자 본인의 특성에 대한 정보, 사용자의 현재 상태에 대한 정보, 사용자의 주변 환경에 대한 정보 등 사용자와 관련된 모든 정보를 포함할 수 있다. 예를 들어, 사용자 정보는 사용자 본인의 특성에 대한 정보로서 거주지, 나이, 성별, 학교, 직장, 키, 몸무게, 체지방량, BMI 수치 등에 대한 정보를 포함할 수 있고, 사용자의 현재 상태에 대한 정보로서 현재 위치, 심박수, 이동 속도 등에 대한 정보를 포함할 수 있고, 사용자의 주변 환경에 대한 정보로서 날씨, 온도, 습도, 주변 시설물 등에 대한 정보를 포함할 수 있다. 사용자 정보 획득부는 사용자 단말(200)을 이용하여, 사용자로부터 직접 입력된 정보, 사용자 단말(200)이 측정한 정보 및 사용자 단말(200)에 기저장된 정보 등을 이용하여 상기 사용자 정보를 획득할 수 있다. 사용자 단말(200)가 획득한 정보는 데이터베이스(150)에 저장될 수 있다.The user
추가적으로, 사용자 정보 관리부(161)는 획득한 사용자 정보에 기초하여 사용자가 속하는 하나 이상의 그룹을 결정할 수 있다. 이때, 사용자가 속하는 그룹은 사용자 정보에 기초하여 사용자 정보 관리부(161)가 자동적으로 생성한 그룹이거나, 혹은 사용자가 직접 가입 신청을 한 그룹일 수 있다. 본 발명의 일 실시예에 따르면, 사용자 정보 관리부(161)는 사용자 정보 중 사용자의 거주지, 나이, 성별, 학교, 직장에 따라 자동적으로 그룹을 생성하고, 해당하는 사용자들을 묶어 그룹을 설정할 수 있다.In addition, the user
조언 입력 결정부(162)는 사용자 단말(200)로부터 조언을 입력할 것인지 여부를 획득하여, 새로운 조언을 생성하기 위한 절차를 시작할지를 결정한다. 상술한 바와 같이, 본 발명의 일 실시예에 따르면 사용자는 서비스 서버(100)가 제공한 인터페이스에 따라 조언을 설정할 수 있으며, 이를 위해 조언 입력 결정부(162)는 먼저 조언을 입력할 것인지 여부를 사용자 단말(200)로부터 획득할 수 있다. 본 발명의 일 실시예에서, 사용자 단말(200)에 표시된 "조언 입력" 버튼을 사용자가 선택하는 경우, 조언 입력 결정부(162)는 새로운 조언을 생성하기 위한 절차를 시작한다.The advice
정황 요소 결정부(163)는 사용자 정보에 기초하여 하나 이상의 정황 요소를 생성하거나, 또는 타 사용자 단말로부터 획득된 하나 이상의 타 사용자의 정황 요소를 사용자 단말(200)에 제공할 수 있다. 여기서, 사용자 정보는 상술한 사용자 정보 획득부가 획득한 사용자에 관한 모든 정보를 포함할 수 있다. 보다 상세히, 정황 요소 결정부(163)는 사용자 정보에 기초하여 정황 요소를 생성하여 제공하거나, 사용자와 동일한 그룹에 속하는 타 사용자 단말로부터 획득된 타 사용자의 정황 요소를 사용자 단말(200)에 제공할 수 있다. 사용자 단말(200)에 제공된 하나 이상의 정황 정보는 사용자에 의해 선택되어, 후술할 완성된 조언을 위해 사용될 수 있다.The context
선택적 실시예에서, 정황 요소 결정부(163)는 먼저 사용자 정보에 기초하여 생성할 정황 요소의 카테고리를 선택할 수 있다. 본 발명의 일 실시예에 따르면, 정황 요소의 카테고리는 사용자의 현재 상황을 나타낼 수 있는 모든 특성들이 정황 요소의 카테고리가 될 수 있다. 예를 들어, 정황 요소의 카테고리는 걸음 수, 현재 시간, 날씨, 목표, 심박수, 장소 등이 될 수 있다. 정황 요소 결정부(163)는 선택된 정황 요소의 카테고리에, 현재 사용자의 상황을 고려하여 정황 요소를 생성한다.In an alternative embodiment, the context
본 발명의 일 실시예에 따르면, 선택된 정황 요소의 카테고리가 '날씨' 이고, 현재 날씨가 '맑음' 이라면, 생성되는 정황 요소는 '날씨: 맑음' 일 수 있다. 또한, 다른 예시에선, 선택된 정황 요소의 카테고리가 '장소' 이고, 근처에 공원이 존재하는 경우, 생성되는 정황 요소는 '장소: 근처에 공원이 존재' 일 수 있다.According to an embodiment of the present invention, if the category of the selected context element is 'weather' and the current weather is 'clear', the generated context element may be 'weather: clear'. Also, in another example, if the category of the selected context element is a 'place' and a park is nearby, the generated context element may be 'Place: near the park'.
선택적 실시예에서, 본 발명의 일 실시예에 따르면 정황 요소 결정부(163)는 타 사용자 단말(300)로부터 타 사용자의 하나 이상의 정황 요소를 획득하여, 획득된 정황 요소를 사용자 단말(200)에 제공할 수 있다. 본 발명의 일 실시예에 따른 서버(100)는 타 사용자 단말(300)로부터 타 사용자들의 정황 요소 및 그에 대응되는 조언 요소를 획득할 수 있다. 따라서, 본 발명의 일 실시예에 따르면 사용자들이 타 사용자들의 정황 요소를 자신의 정황 요소로 사용할 수 있도록, 획득된 정황 요소를 사용자 단말(200)에 제공한다.In an alternative embodiment, the context
이때, 정황 요소 결정부(163)는, 사용자가 속한 그룹과 동일한 그룹에 속하는 타 사용자의 하나 이상의 정황 요소를 획득하여, 획득된 정황 요소를 사용자 단말(200)에 제공할 수 있다. 이때, 정황 요소 결정부(163)는 사용자가 속한 그룹에서 많이 사용된 정황 요소를 제공할 수도 있고, 혹은 사용자가 속한 그룹의 특정 타 사용자의 정황 정보를 제공할 수 도 있다.At this time, the context
이와 같이, 본 발명의 일 실시예에 따르면 타 사용자 정황 요소를 사용자 단말(200)에 제공하여 사용자로 하여금 타인의 정황 정보를 선택할 수 있게 함으로써, 사용자가 직접 처하지 않은 상황의 정황 정보라도, 조언을 완성하기 위해 활용할 수 있도록 한다.As described above, according to the embodiment of the present invention, by providing the
선택적 실시예에서, 정황 요소 결정부(163)는 타 사용자 단말(300)로부터 타 사용자의 하나 이상의 정황 요소를 획득할 때, 획득된 정황 요소에 대응하는 타 사용자의 조언 요소를 함께 획득하여 사용자 단말(200)에 제공할 수 있다. 즉, 정황 요소 결정부(163)는 타 사용자의 정황 요소와 그에 대응하는 조언 요소의 세트를 획득하여 사용자 단말(200)에 제공할 수 있다. 이때, 사용자가 선택한 정황 요소에 대응하는 조언 요소는 후술하는 조언 요소 결정부(164)가 결정하는 사용자 조언 요소가 된다. 이로써, 사용자는 타 사용자의 정황 요소와 대응되는 조언 요소의 세트를 조언을 완성하기 위해 활용할 수 있다.In an alternative embodiment, the context
조언 요소 결정부(164)는 사용자 정황 요소에 대응되는 사용자 조언 요소를 결정한다. 보다 상세히, 조언 요소 결정부(164)는 사용자 단말(200)로부터 입력된 컨텐츠를 사용자 조언 요소로 결정하거나, 혹은 사용자 정황 요소에 대응되는 하나 이상의 타 사용자의 조언 요소 중 사용자 단말(200)에 의해 선택된 조언 요소를 사용자 조언 요소로 결정할 수 있다. 이때, 사용자 정황 요소에 대응되는 하나 이상의 타 사용자의 조언 요소는,  사용자 정황 요소와 매칭되는 정황 요소를 등록한 타 사용자가, 매칭된 정황 요소에 대응하여 등록한 하나 이상의 조언 요소로서, 타 사용자 단말(300)로부터 획득될 수 있다The advice
선택적 실시예에서, 조언 요소 결정부(164)는 사용자 정황 요소에 대응되는 조언 요소를 사용자로부터 직접 입력받아 사용자 조언 요소로 결정할 수 있다. 예를 들어, 사용자는 자신이 선택한 정황 요소에 대응되는 조언 요소를 직접 사용자 단말(200)에 입력하여, 사용자 정황 요소에 대응하는 사용자 조언 요소를 직접 입력할 수 있다.In an alternative embodiment, the advice
선택적 실시예에서, 조언 요소 결정부(164)는 사용자가 속한 그룹의 타 사용자의 하나 이상의 조언 요소를 타 사용자 단말(300)로부터 획득하여 제공할 수 있다. 이때, 타 사용자의 조언 요소는, 사용자 정황 요소와 매칭되는 정황 요소를 등록한 타 사용자가, 매칭된 정황 요소에 대응하여 등록한 하나 이상의 조언 요소일 수 있다. 본 발명의 일 실시예에 따르면 조언 요소 결정부(164)는 타 사용자의 조언 요소를 제공함으로써, 사용자가 조언을 완성하기 위해 타 사용자의 조언 요소를 사용할 수 있도록 한다. 예를 들어, 사용자 정황 요소가 '날씨: 맑음' 인 경우, 조언 요소 결정부(164)는 '날씨: 맑음' 을 정황 요소로 등록한 타 사용자가, '날씨: 맑음'에 대응하여 등록한 조언 요소인 '3km 러닝'을 사용자 단말(200)에 제공할 수 있다.In an alternative embodiment, the advising
선택적 실시예에서, 조언 요소 결정부(164)는, 사용자가 속한 그룹과 동일한 그룹에 속하는 타 사용자의 하나 이상의 조언 요소를 사용자 단말(200)에 제공할 수 있다. 이때, 정황 요소 결정부(163)는 사용자가 속한 그룹에서 많이 사용된 조언 요소를 제공할 수도 있고, 혹은 사용자가 속한 그룹의 특정 타 사용자의 조언 요소를 제공할 수 도 있다.In an alternative embodiment, advisory
선택적 실시예에서, 조언 요소 결정부(164)는, 사용자가 속한 그룹과 동일한 그룹에 속하는 타 사용자들 중, 통계에 기초한 소정의 기준을 만족하는 타 사용자의 하나 이상의 조언 요소를 획득할 수 있다. 예를 들어, 조언 요소 결정부(164)는 그룹 내에 속한 사용자들 중 몸무게가 하위 10% 인 사용자들의 조언 요소만을 획득할 수 있다. 본 예시 외에도, 사용자 정보에 기초하여 다양한 항목의 통계에 대한 소정의 기준이 제한 없이 설정될 수 있다.In an alternative embodiment, the advice
선택적 실시예에서, 조언 요소 결정부(164)는, 정황 요소 결정부(163)가 타 사용자의 정황 요소와 그에 대응하는 조언 요소의 세트를 획득하여 사용자 단말(200)에 제공한 경우, 선택된 정황 요소에 대응하는 조언 요소를 사용자 조언 요소로 결정할 수 있다. 이로써, 사용자는 타 사용자의 정황 요소와 대응되는 조언 요소의 세트를 조언을 완성하기 위해 활용할 수 있다.In an alternative embodiment, when the context
다음으로, 조언 제공부(165)는 조언을 완성하고, 사용자 정황 요소를 만족하는 상황이 발생하는 경우 상기 사용자 정황 요소에 대응하는 상기 사용자 조언 요소를 사용자 단말(200)에 제공한다. 즉, 조언 제공부(165)는 결정된 사용자 정황 요소와 사용자 조언 요소에 기초하여 조언을 완성하고, 완성된 정황에 따라 사용자에게 제공한다. 조언 제공부(165)가 완성하는 조언은 (사용자 정황 요소, 사용자 조언 요소)로 이루어지며, 정황 요소라는 충분 조건을 만족했을 때 조언 요소라는 컨텐츠가 디스플레이 되는 명령의 일종으로 이해될 수 있다. 완성된 조언에 따라, 조언 제공부(165)는 사용자 정황 요소를 만족하는 경우 사용자 조언 요소를 사용자 단말(200)에 제공한다.Next, the
조언 검증부(166)는 조언 제공부(165)에 의해 완성된 조언이 적합한지를 검증 및 승인할 수 있다. 본 발명의 일 실시예에 따른 조언 검증부(166)는, 완성된 조언이 사용자 정보를 고려할 때 사용자의 신체적 능력을 과도하게 초과하거나, 적절하지 않은 조언인 경우 승인을 거부할 수 있다. 또한 본 발명의 다른 실시예에 따른 조언 검증부(166)는, 사용자가 검증된 사용자인 경우, 조언을 검증 없이 승인할 수도 있다.The
추가 명령 실행부(167)는 사용자 조언 요소가 추가적인 명령을 실행할 것인지에 대한 질의를 포함하는 경우, 상기 사용자 단말의 입력에 따라 상기 추가적인 명령을 실행할 수 있다. 본 발명의 일 실시예에 따르면 사용자 조언 요소는 단순히 사용자의 행동을 독려하기 위한 컨텐츠일 수도 있지만, 추가적인 명령을 실행할 것인지에 대한 질의를 포함하는 컨텐츠일 수 있다. 예를 들어, 본 발명의 일 실시예에 따른 사용자 조언 요소가 '현재 속도로 달릴 땐 a 음악을 들어보세요' 인 경우, 사용자가 해당 질의를 승인하는 경우, a 음악을 실행하는 추가적인 명령을 실행할 수 있다. 이로 인해, 본 발명은 사용자 정황 요소에 대응되는 사용자 조언 요소를 제공할 수 있을 뿐 아니라, 관련한 다른 추가적인 명령을 용이하게 실행하도록 할 수 있다.The additional
본 발명의 일 실시예에 따르면, 상술한 서버(100)의 일부 또는 전부의 기능들은 사용자 단말(200)에서도 수행될 수 있다. 즉, 상술한 사용자 정보 관리부(161), 조언 입력 결정부(162), 정황 요소 결정부(163), 조언 요소 결정부(164), 조언 제공부(165), 조언 검증부(166) 및 추가 명령 실행부(167)의 일부 또는 전부의 기능은 사용자 단말(200)에서 수행될 수 있다. 이 경우 상술한 각 기능들은 사용자 단말(200)에서 수행될 때 적합하게 변형될 수 있다.According to one embodiment of the present invention, the functions of part or all of the above-described
도 3 은 본 발명의 일 실시예에 따른 조언 제공 방법의 시계열적 실행 순서를 나타낸 도면이다.3 is a diagram illustrating a time-series execution sequence of a method for providing advice according to an embodiment of the present invention.
도 3 을 참조하면, 본 발명의 일 실시예에 따른 조언 제공 방법은 먼저, 사용자 단말(200)로부터 조언을 입력할 것인지 여부를 획득한다(S01).Referring to FIG. 3, a method of providing advice in accordance with an embodiment of the present invention firstly determines whether to input advice from a user terminal 200 (S01).
다음으로, 사용자 정보에 기초하여 생성 또는 획득된 하나 이상의 정황 요소를 사용자 단말(200)에 제공한다(S02).Next, one or more contextual elements created or obtained based on the user information are provided to the user terminal 200 (S02).
다음으로, 사용자 단말(200)로부터 정황 요소들 중 하나 이상을 선택하는 신호를 수신하여, 선택된 정황 요소를 사용자 정황 요소로 결정한다(S03).Next, a signal for selecting one or more of the context elements from the
다음으로, 사용자 단말(200)로부터 입력된 조언 요소, 혹은 타 사용자 단말(300)로부터 획득된 하나 이상의 조언 요소 중 선택된 조언 요소를 사용자 정황 요소에 대응되는 사용자 조언 요소로 결정한다(S04).Next, the advisory element input from the
다음으로, 사용자 정황 요소를 만족하는 상황이 발생하였는지를 감지한다(S05).Next, it is detected whether a situation satisfying the user context element has occurred (S05).
다음으로, 사용자 정황 요소를 만족하는 상황이 발생한 경우, 사용자 정황 요소에 대응되는 사용자 조언 요소를 사용자 단말(200)에 제공한다(S06).Next, when a situation satisfying the user context element occurs, a user advisory element corresponding to the user context element is provided to the user terminal 200 (S06).
사용자 단말(200)은 사용자 조언 요소를 디스플레이한다(S07).The
도 4 는 본 발명의 일 실시예에 따라 사용자 정황 요소를 결정하는 예를 나타낸 도면이다.4 is a diagram illustrating an example of determining a user contextual element in accordance with an embodiment of the present invention.
본 발명의 일 실시예에 따르면, 하나 이상의 정황 요소는 사용자 정보 기초하여 생성되고, 사용자가 사용자 단말(200)에 표시된 정황 요소들 중 하나 이상을 선택하면, 선택된 정황 요소는 사용자 정황 요소로 결정된다. 도 4 의 실시예에서는 비록 정황 요소들이 모두 텍스트로 표시되었지만, 본 발명의 다른 일 실시예에 따르면, 정황 요소들은 다양한 표현 형식으로 표시될 수 있다. 예를 들어, 정황 요소들 중 날씨에 관한 정황 정보는 맑음, 흐림, 비옴 등의 정보들이 각각 이모티콘으로 표시될 수도 있다.According to one embodiment of the present invention, one or more context elements are generated based on user information, and when a user selects one or more of the context elements displayed in the
도 4 의 (a) 실시예에서는, 사용자 정보에 기초하여 생성된 정황 요소들이 표시된 예를 도시하고 있다. 본 실시예에서, 사용자 단말(200)을 사용하는 사용자 A 는 현재 1000 걸음을 걸었고, 심박수는 보통이고, 현재 운동장에 위치하며, 주변의 날씨는 맑은 경우를 가정하기로 한다. 이러한 사용자 정보에 기초하여 생성된 정황 요소들이 도 4 의 (a) 와 같이 디스플레이될 수 있다.4 (a) shows an example in which context elements generated based on user information are displayed. In this embodiment, it is assumed that the user A who uses the
보다 상세하게, 도 4 의 (a) 예시에서는, 사용자 A 에 대하여 '날씨: 맑음', '걸음수: 1000걸음', '장소: 운동장', '심박수: 보통' 의 정황 요소들이 생성되었으며, 생성된 정황 요소들이 사용자 단말(200)에 제공되어 표시된 것을 알 수 있다. 본 실시예에서는, 사용자는 원하는 정황 요소인 '날씨: 맑음' 및 '장소: 운동장' 를 선택하여, 선택된 정황 요소를 사용자 정황 요소로 결정할 수 있다. 도 4 의 (a) 에 예시된 바와 같이, 사용자 정황 요소는 복수된 정황 요소를 포함할 수 있다. 사용자 정황 요소가 복수의 정황 요소를 포함하는 경우, 복수의 정황 요소를 모두 만족하는 경우에 사용자 단말(200)에 대응하는 조언 요소가 제공될 수 있다.More specifically, in the example of FIG. 4 (a), the circumstantial elements of 'weather: fine weather', 'steps: 1000 steps', 'place: playground', and 'heart rate: normal' It can be seen that the contextual elements provided are displayed on the
도 4 의 (b) 실시예에서는, 사용자 단말(200)을 사용하는 사용자 A 가 속한 'xx 대학교'의 그룹의 타 사용자들의 정황 요소들이 획득되어, 사용자 단말(200)에 제공된 예를 나타내고 있다. 보다 상세하게, 획득된 'xx 대학교'의 타 사용자들은, '날씨: 흐림', '장소: 공원 근처', '시간: PM10:00', '칼로리:100kcal 소모' 의 정황 요소들을 사용하였을 수 있다. 본 실시예에서는, 사용자는 원하는 정황 요소인 '날씨: 흐림' 및 '장소: 공원근처' 을 선택하여, 선택된 타 사용자의 정황 요소를 사용자 정황 요소로 결정할 수 있다.In the embodiment of FIG. 4 (b), the context elements of the users of the group 'xx university' to which the user A using the
도 5 는 본 발명의 일 실시예에 따라 사용자가 속한 그룹의 타 사용자의 정황 정보를 획득하는 실시예를 나타낸 도면이다.5 is a diagram illustrating an example of obtaining context information of another user of a group to which a user belongs according to an embodiment of the present invention.
먼저, 도 5 의 (a) 를 참조하면 사용자 정보에 기초하여 사용자가 속한 그룹을 표시할 수 있다. 이때, 사용자가 속한 그룹은 학교, 지역, 나이, 키, 몸무게 등의 사용자 정보에 의해 그루핑될 수 있다. 도 5 의 (a) 는 사용자의 그룹으로 'XX 대학교', '16세 남자', '00동' 이 존재하고, 사용자는 정황 요소를 얻기 위한 그룹으로 'XX 대학교'를 선택한 실시예를 나타내고 있다.First, referring to FIG. 5 (a), a group to which a user belongs can be displayed based on user information. At this time, the group to which the user belongs can be grouped by user information such as school, region, age, height, and weight. FIG. 5 (a) shows an embodiment in which 'XX University', '16-year-old male', and '00 East 'exist as a group of users and a user selects' XX University' as a group for obtaining context factors .
다음으로, 도 5 의 (b) 는 사용자가 선택한 그룹의 타 사용자들 중에서, 사용자가 원하는 통계를 만족하는 타 사용자의 정황 요소를 얻기 위해, 그룹의 타 사용자를 필터링하기 위한 통계 항목 및 수치 기준을 설정할 수 있는 화면을 예시하고 있다. 예를 들어, 사용자는 자신이 속한 'XX 대학교' 대학교의 그룹 중 BMI 지수가 하위 10% 인 타 사용자들의 정황 정보를 획득하기를 희망할 수 있다. 이 경우, 도 5 의 (b) 에 도시된 바와 같이, 사용자는 통계 항목으로서 'BMI 지수'를 체크하고, 우측의 스크롤바를 하위 10% 에 맞춤으로서 통계 수치 기준을 설정하여, 원하는 타 사용자들을 필터링할 수 있다.5B shows statistical items and numerical criteria for filtering other users of the group in order to obtain context factors of other users satisfying the statistics desired by the user among other users of the group selected by the user And a screen that can be set. For example, a user may wish to obtain context information of other users whose BMI index is in the lower 10% of the group of his or her XX university. In this case, as shown in (b) of FIG. 5, the user sets a statistical numerical standard by checking 'BMI index' as a statistical item and fitting the scroll bar on the right side to the lower 10% can do.
다음으로, 도 5 의 (c) 는 사용자가 선택한 그룹에서, 통계적으로 필터링된 타 사용자들의 정황 요소를 표시한 화면을 예시하고 있다. 보다 상세히, 사용자가 도 5 의 (a) 와 같이 'XX 대학교' 그룹을 선택하고, 그룹의 타 사용자를 도 5 의 (b) 와 같이 필터링한 경우, 'XX 대학교' 그룹의 필터링된 타 사용자들의 정황이 표시될 수 있다. 이중 사용자는 '날씨: 맑음' 및 '장소: 공원근처' 를 선택하여 사용자 정황 요소를 결정할 수 있다.Next, FIG. 5C illustrates a screen showing the context elements of statistically filtered other users in the group selected by the user. More specifically, when the user selects the group 'XX University' as shown in FIG. 5A and the other users of the group are filtered as shown in FIG. 5B, the filtered other users of the 'XX University' The context may be displayed. The dual user can determine the user context factors by selecting "weather: fine" and "location: near the park".
도 6 은 본 발명의 일 실시예에 따라 사용자 조언 요소를 결정하는 실시예를 나타낸 도면이다.6 is a diagram illustrating an embodiment for determining a user advisory element in accordance with an embodiment of the present invention.
도 6 의 실시예에서는, 결정된 사용자 정황 요소가 '날씨: 맑음' 및'장소: 공원 근처' 인 경우, 조언 요소를 결정하는 것을 예시한 도면이다.In the embodiment of FIG. 6, it is illustrated that the advisory element is determined when the determined user context element is 'weather: clear' and 'place: near the park'.
도 6 의 (a) 의 실시예에서는, 사용자 정황 요소에 대응되는 조언 요소를 사용자로부터 직접 입력받는 경우가 예시되어 있다. 도 6 이 (a) 를 참조하면, '날씨: 맑음' 및'장소: 공원 근처'인 사용자 정황 요소에 대해 사용자 정황 요소를 직접 입력받을 수 있다. 사용자는 사용자 단말(200)에 나타난 화면에 조언 요소로서 '날씨가 맑으니 근처 공원에 10km 를 뛰어보세요' 라는 조언 컨텐츠를 입력할 수 있다. 도 6 의 (a) 의 실시예에서는 입력된 조언 컨텐츠가 사용자 정황 요소에 대응되는 사용자 조언 요소가 된다.In the embodiment of FIG. 6 (a), a case is shown in which the advisory element corresponding to the user context element is directly input from the user. Referring to FIG. 6 (a), the user context factor can be directly input to the user context factor 'weather: clear' and 'place: near the park'. The user can input advisory content such as 'Try the 10 km in the nearby park because the weather is clear' on the screen displayed on the
도 6 의 (b) 의 실시예에서는, 사용자 정황 요소와 동일한 정황 요소를 사용하는 타 사용자가, 해당 정황 요소에 대응하여 선택한 하나 이상의 조언 요소가 표시되어 있다. 도 6 의 (b) 를 참조하면, 본 '날씨: 맑음' 및 '장소: 공원 근처'인 사용자 정황 요소에 대응하여, 획득된 조언 요소들이 사용자 단말(200)에 표시되어 있다. 이때, 획득된 조언 요소들은 사용자 정황 요소와 타 사용자의 정황 요소를 매칭하였을 때, 매칭된 정황 요소에 대응하는 타 사용자의 조언 요소들일 수 있다. 예를 들어, 도 6 의 (b) 의 실시예에서는 '날씨: 맑음' 및'장소: 공원 근처' 의 정황 요소에 대응하여, 타 사용자의 조언 요소는 '맑은 날 공원에서 3km 산책하기', '공원 한바퀴를 30 분 내에 뛰기' 인 경우를 예시하였다. 도 6 이 (b) 의 실시예에서, 사용자에 의해 선택된 타 사용자의 조언 요소인 '맑은 날 공원에서 3km 산책하기'가 사용자 조언 요소로 결정될 수 있다.In the embodiment of FIG. 6 (b), one or more advisory elements selected by the other user using the same contextual element as the user contextual element in correspondence with the contextual element are displayed. Referring to FIG. 6 (b), the acquired advice elements are displayed on the
도 6 의 (c) 의 실시예에서는, 사용자가 속한 그룹과 동일한 그룹에 속하는 타 사용자들 중, 통계에 기초한 소정의 기준을 만족하는 타 사용자의 하나 이상의 조언 요소가 표시되어 있다. 보다 상세히, 도 6 의 (c) 에 도시된 실시예는, 도 5 에서 상술한 선택된 그룹의 필터링된 타 사용자들의 정황 요소에 대응되는 조언 요소를 표시한 실시예일 수 있다. 도 6 의 (c) 의 실시예에서는, '날씨: 맑음' 및 '장소: 공원 근처'인 사용자 정황 요소에 대응하는, 사용자의 그룹에 속하는 타 사용자들 중 BMI 지수가 하위 10 % 이상인 타 사용자들의 조언 요소는 '맑은 날 공원에서 5km 산책하기', '공원 한바퀴를 15 분 내에 뛰기' 인 경우를 예시하였다. 도 6 의 (c)의 실시예에서, 사용자에 의해 선택된 타 사용자의 조언 요소인 '맑은 날 공원에서 5km 산책하기'가 사용자 조언 요소로 결정될 수 있다.In the embodiment of FIG. 6 (c), one or more advisory elements of other users satisfying a predetermined criterion based on statistics are displayed among other users belonging to the same group as the group to which the user belongs. More specifically, the embodiment shown in FIG. 6C may be an embodiment showing advisory elements corresponding to the context elements of the selected group of other users in the selected group described in FIG. In the embodiment of FIG. 6 (c), among other users belonging to the user's group, corresponding to the user context factor 'weather: clear' and 'place: near the park' The advisory elements illustrate the case of 'walking for 5km on a clear day' and 'running a park within 15 minutes'. In the embodiment of FIG. 6 (c), the user's advisory element may be determined to be 'walking for 5 km on a clear day's park', which is the advisory element of another user selected by the user.
도 7 은 본 발명의 일 실시예에 따라 타 사용자의 정황 요소와 조언 요소가 함께 제공되는 실시예를 나타낸 도면이다.7 is a diagram illustrating an embodiment in which a contextual element and an advisory element of another user are provided together according to an embodiment of the present invention.
본 발명의 일 실시예에 따르면, 타 사용자의 정황 요소와 그에 대응하는 조언 요소의 세트를 획득하여 사용자 단말(200)에 제공할 수 있다. 즉, 타 사용자의 (정황 요소, 조언 요소)의 관계를 함께 사용자 단말에 제공하여 완성된 조언 자체를 사용자가 선택하도록 할 수 있다. 도 7 의 실시예에 따르면, 본 발명의 일 실시예에 따른 사용자 단말(200)에는, 'xx 학교'의 타 사용자의 완성된 조언으로 (날씨: 맑음 & 장소: 공원 근처, 맑은 날 공원에서 3km 산책하기) 및 (현재 걸음수≥9000 & 날씨: 비옴, 조금만 더 걸으면 1000 걸음입니다. 실내에서 걸으세요) 이 제공될 수 있다. 이때, 사용자 단말(200)에 표시되는 타 사용자의 조언은 '정황 요소 => 조언 요소' 의 형식으로 표시될 수 있다. 사용자는 표시된 완성된 조언을 선택함으로써, 사용자 정황 요소와 사용자 조언 요소를 함께 결정할 수 있다.According to one embodiment of the present invention, a contextual element of another user and a corresponding set of advisory elements may be acquired and provided to the
도 8 은 본 발명의 일 실시예에 따라 제공되는 조언의 예시를 나타낸 도면이다.Figure 8 is an illustration of an example of advice provided in accordance with an embodiment of the present invention.
도 8 의 (a) 는 사용자 정황 요소를 만족하는 상황이 발생한 경우, 사용자 조언 요소를 사용자 단말(200)이 출력한 실시예를 나타낸 도면이다. 도 8 의 (a) 의 실시예에서는 완성된 조언이 (날씨: 맑음 & 장소: 공원 근처, 날씨가 맑습니다! 근처 공원에서 3km 산책해보세요) 이고, '날씨: 맑음 & 장소: 공원 근처'를 만족하는 상황이 발생하여 '날씨가 맑습니다! 근처 공원에서 3km 산책해보세요'가 화면 상에 출력된 경우를 나타내고 있다. 이때, 사용자 조언 요소와 관련한 이모티콘 등이 추가로 표시될 수도 있다.8A is a diagram illustrating an embodiment in which the
도 8 의 (b) 는 사용자 조언 요소가 추가적인 명령을 실행할 것인지에 대한 질의를 포함하는 실시예를 나타낸 도면이다. 도 8 의 (b) 의 실시예에서는 완성된 조언이 (달리는 속도≥9km/h & 장소: 공원 근처, 현재 속도로 달릴 땐 [BoomBoomPow] 음악을 들어보세요.)이고, 사용자 정황 요소를 만족하는 상황이 발생하여 사용자 조언 요소가 출력된 경우를 나타내고 있다. 이때, 사용자 조언 요소에 포함된 질의에 대해 사용자가 '예'를 선택하는 경우, 사용자 단말(200)은 [BoomBoomPow] 음악을 재생할 수 있다.FIG. 8 (b) is a diagram illustrating an embodiment that includes a query as to whether a user advisory element will execute additional instructions. In the embodiment of FIG. 8 (b), the completed advice (listen to the [BoomBoomPow] music when the running speed is? 9 km / h & And a user advisory element is output. At this time, if the user selects 'Yes' for the query included in the user advice element, the
도 8 의 (c) 는 사용자 조언 요소가 추가적인 명령을 실행할 것인지에 대한 질의를 포함하는 다른 실시예를 나타낸 도면이다. 도 8 의 (c) 실시예에서는 완성된 조언이 (달린 거리≥10km & 평균 속도=9km/h, 오늘은 10km 를 평균 9km로 달리셨네요! 운동기록을 포스팅하겠습니까?)이고, 사용자 정황 요소를 만족하는 상황이 발생하여 사용자 조언 요소가 출력된 경우를 나타내고 있다. 이때, 사용자 조언 요소에 포함된 질의에 대해 사용자가 '예'를 선택하는 경우, 사용자 단말(200)은 포스팅을 위한 다른 어플리케이션을 실행할 수 있다.FIG. 8 (c) is a diagram illustrating another embodiment that includes a query as to whether the user advisory element will execute an additional command. In the embodiment of FIG. 8 (c), the completed advice (running distance ≥10 km & average speed = 9 km / h, today is 10 km, average 9 km. And a user advice element is output. At this time, if the user selects 'Yes' for the query included in the user advisory element, the
도 9 는 본 발명의 다른 일 실시예에 따라, 사용자 단말이 웨어러블 디바이스인 예시를 나타낸 도면이다.9 is a diagram illustrating an example in which a user terminal is a wearable device, according to another embodiment of the present invention.
도 9 의 (a) 내지 (c) 는, 상술한 도 4 내지 도 8 에서 설명되었던 실시예들이 웨어러블 디바이스 상에서 구현된 예를 도시하고 있다. 보다 상세히, 도 9 의 (a) 를 살펴보면, 사용자 A 가 선택할 수 있도록, 사용자 정보에 기초하여 생성된 하나 이상의 정황 요소가 웨어러블 디바이스의 디스플레이에 출력될 수 있다. 이때, 도 9 의 (a) 에서 '날씨: 맑음' 의 정황은 해모양 이모티콘으로 표시된 것과 같이, 웨어러블 디바이스의 디스플레이의 크기를 고려하여 출력 내용은 적절히 이미지 혹은 이모티콘으로 변형될 수 있다. 다음으로, 도 9 의 (b) 는 사용자 A 가 속한 'XX 대학교' 그룹의 학생들이 '날씨: 맑음' 의 정황에서 등록한 조언 요소를 표시하고 있다. 또한, 도 9 의 (c) 는 '날씨: 맑음' 을 만족하는 상황이 발생하였을 때, 사용자가 선택한 조언 요소인 '3km 산책하기' 의 조언이 표시되는 화면을 예시하고 있다.Figs. 9A to 9C show examples in which the embodiments described in Figs. 4 to 8 described above are implemented on a wearable device. More specifically, referring to FIG. 9A, one or more context elements generated based on the user information may be output to the display of the wearable device so that the user A can select it. In this case, the content of 'Weather: Sunny' in FIG. 9 (a) may be transformed into an image or an emoticon appropriately in consideration of the size of the display of the wearable device as indicated by a sea-shaped emoticon. Next, FIG. 9 (b) shows advisory elements registered by the students of the group "XX University" to which the user A belongs in the context of "weather: clear". FIG. 9 (c) illustrates a screen in which advice of '3-km walk', which is a advice element selected by the user, is displayed when a situation satisfying 'weather: clear' occurs.
도 9 에서 설명한 예시 외에도, 본 명세서에서 설명한 모든 실시예들은 웨어러블 디바이스에서 구현될 수 있다. 즉, 본 발명의 일 실시예에 따르면 사용자 단말 및 타 사용자 단말이 수행하는 프로세스는 모두 웨어러블 디바이스에서 구현될 수 있다.In addition to the example described in FIG. 9, all of the embodiments described herein may be implemented in a wearable device. That is, according to an embodiment of the present invention, all the processes performed by the user terminal and the other user terminals can be implemented in the wearable device.
상술한 바와 같은 본 발명의 실시예들을 통해, 사용자에게 정황 요소 및 대응하는 조언 요소를 설정할 수 있는 인터페이스를 제공함으로써, 사용자로 하여금 용이하게 조언을 완성하도록 할 수 있다. 또한, 본 발명의 실시예들을 통해, 유사한 사용자들 간에 정황 요소, 조언 요소 및 완성된 조언을 공유할 수 있도록 함으로써, 사용자들 간의 경쟁을 촉진시키고 사용자의 운동 동기를 유발할 수 있다.Through the embodiments of the present invention as described above, it is possible to allow the user to easily complete the advice by providing the user with an interface for setting the context element and the corresponding advice element. In addition, embodiments of the present invention enable sharing of contextual elements, advice elements, and completed advice among similar users, thereby facilitating competition among users and motivating users to exercise.
본 발명에서 설명하는 특정 실행들은 일 실시 예들로서, 어떠한 방법으로도 본 발명의 범위를 한정하는 것은 아니다. 명세서의 간결함을 위하여, 종래 전자적인 구성들, 제어 시스템들, 소프트웨어, 상기 시스템들의 다른 기능적인 측면들의 기재는 생략될 수 있다. 또한, 도면에 도시된 구성 요소들 간의 선들의 연결 또는 연결 부재들은 기능적인 연결 및/또는 물리적 또는 회로적 연결들을 예시적으로 나타낸 것으로서, 실제 장치에서는 대체 가능하거나 추가의 다양한 기능적인 연결, 물리적인 연결, 또는 회로 연결들로서 나타내어질 수 있다. 또한, “필수적인”, “중요하게” 등과 같이 구체적인 언급이 없다면 본 발명의 적용을 위하여 반드시 필요한 구성 요소가 아닐 수 있다.The specific acts described in the present invention are, by way of example, not intended to limit the scope of the invention in any way. For brevity of description, descriptions of conventional electronic configurations, control systems, software, and other functional aspects of such systems may be omitted. Also, the connections or connecting members of the lines between the components shown in the figures are illustrative of functional connections and / or physical or circuit connections, which may be replaced or additionally provided by a variety of functional connections, physical Connection, or circuit connections. Also, unless explicitly mentioned, such as " essential ", " importantly ", etc., it may not be a necessary component for application of the present invention.
본 발명의 명세서(특히 특허청구범위에서)에서 “상기”의 용어 및 이와 유사한 지시 용어의 사용은 단수 및 복수 모두에 해당하는 것일 수 있다. 또한, 본 발명에서 범위(range)를 기재한 경우 상기 범위에 속하는 개별적인 값을 적용한 발명을 포함하는 것으로서(이에 반하는 기재가 없다면), 발명의 상세한 설명에 상기 범위를 구성하는 각 개별적인 값을 기재한 것과 같다. 마지막으로, 본 발명에 따른 방법을 구성하는 단계들에 대하여 명백하게 순서를 기재하거나 반하는 기재가 없다면, 상기 단계들은 적당한 순서로 행해질 수 있다. 반드시 상기 단계들의 기재 순서에 따라 본 발명이 한정되는 것은 아니다. 본 발명에서 모든 예들 또는 예시적인 용어(예들 들어, 등등)의 사용은 단순히 본 발명을 상세히 설명하기 위한 것으로서 특허청구범위에 의해 한정되지 않는 이상 상기 예들 또는 예시적인 용어로 인해 본 발명의 범위가 한정되는 것은 아니다. 또한, 당업자는 다양한 수정, 조합 및 변경이 부가된 특허청구범위 또는 그 균등물의 범주 내에서 설계 조건 및 팩터에 따라 구성될 수 있음을 알 수 있다.The use of the terms " above " and similar indication words in the specification of the present invention (particularly in the claims) may refer to both singular and plural. In addition, in the present invention, when a range is described, it includes the invention to which the individual values belonging to the above range are applied (unless there is contradiction thereto), and each individual value constituting the above range is described in the detailed description of the invention The same. Finally, the steps may be performed in any suitable order, unless explicitly stated or contrary to the description of the steps constituting the method according to the invention. The present invention is not necessarily limited to the order of description of the above steps. The use of all examples or exemplary language (e.g., etc.) in this invention is for the purpose of describing the present invention only in detail and is not to be limited by the scope of the claims, It is not. It will also be appreciated by those skilled in the art that various modifications, combinations, and alterations may be made depending on design criteria and factors within the scope of the appended claims or equivalents thereof.
이상 설명된 본 발명에 따른 실시예는 다양한 컴퓨터 구성요소를 통하여 실행될 수 있는 프로그램 명령어의 형태로 구현되어 컴퓨터 판독 가능한 기록 매체에 기록될 수 있다. 상기 컴퓨터 판독 가능한 기록 매체는 프로그램 명령어, 데이터 파일, 데이터 구조 등을 단독으로 또는 조합하여 포함할 수 있다. 상기 컴퓨터 판독 가능한 기록 매체에 기록되는 프로그램 명령어는 본 발명을 위하여 특별히 설계되고 구성된 것이거나 컴퓨터 소프트웨어 분야의 당업자에게 공지되어 사용 가능한 것일 수 있다. 컴퓨터 판독 가능한 기록 매체의 예에는, 하드 디스크, 플로피 디스크 및 자기 테이프와 같은 자기 매체, CD-ROM 및 DVD와 같은 광기록 매체, 플롭티컬 디스크(floptical disk)와 같은 자기-광 매체(magneto-optical medium), 및 ROM, RAM, 플래시 메모리 등과 같은, 프로그램 명령어를 저장하고 실행하도록 특별히 구성된 하드웨어 장치가 포함된다. 프로그램 명령어의 예에는, 컴파일러에 의하여 만들어지는 것과 같은 기계어 코드뿐만 아니라 인터프리터 등을 사용하여 컴퓨터에 의해서 실행될 수 있는 고급 언어 코드도 포함된다. 하드웨어 장치는 본 발명에 따른 처리를 수행하기 위하여 하나 이상의 소프트웨어 모듈로 변경될 수 있으며, 그 역도 마찬가지이다.The embodiments of the present invention described above can be implemented in the form of program instructions that can be executed through various computer components and recorded in a computer-readable recording medium. The computer-readable recording medium may include program commands, data files, data structures, and the like, alone or in combination. The program instructions recorded on the computer-readable recording medium may be those specifically designed and configured for the present invention or may be those known and used by those skilled in the computer software arts. Examples of computer-readable media include magnetic media such as hard disks, floppy disks and magnetic tape, optical recording media such as CD-ROM and DVD, magneto-optical media such as floptical disks, medium, and hardware devices specifically configured to store and execute program instructions, such as ROM, RAM, flash memory, and the like. Examples of program instructions include machine language code, such as those generated by a compiler, as well as high-level language code that can be executed by a computer using an interpreter or the like. The hardware device may be modified into one or more software modules for performing the processing according to the present invention, and vice versa.
이상에서 본 발명이 구체적인 구성요소 등과 같은 특정 사항과 한정된 실시예 및 도면에 의하여 설명되었으나, 이는 본 발명의 보다 전반적인 이해를 돕기 위하여 제공된 것일 뿐, 본 발명이 상기 실시예에 한정되는 것은 아니며, 본 발명이 속하는 기술분야에서 통상적인 지식을 가진 자라면 이러한 기재로부터 다양한 수정과 변경을 꾀할 수 있다.While the present invention has been particularly shown and described with reference to exemplary embodiments thereof, it is to be understood that the invention is not limited to the disclosed embodiments, but, on the contrary, Those skilled in the art will appreciate that various modifications and changes may be made thereto without departing from the scope of the present invention.
따라서, 본 발명의 사상은 상기 설명된 실시예에 국한되어 정해져서는 아니 되며, 후술하는 특허청구범위뿐만 아니라 이 특허청구범위와 균등한 또는 이로부터 등가적으로 변경된 모든 범위는 본 발명의 사상의 범주에 속한다고 할 것이다.Accordingly, the spirit of the present invention should not be construed as being limited to the above-described embodiments, and all ranges that are equivalent to or equivalent to the claims of the present invention as well as the claims .
100: 서버
200: 사용자 단말
300: 타 사용자 단말100: Server
 200: user terminal
 300: other user terminal
| Application Number | Priority Date | Filing Date | Title | 
|---|---|---|---|
| KR1020160112671AKR101880718B1 (en) | 2016-09-01 | 2016-09-01 | Method, system and user device for providing advice | 
| Application Number | Priority Date | Filing Date | Title | 
|---|---|---|---|
| KR1020160112671AKR101880718B1 (en) | 2016-09-01 | 2016-09-01 | Method, system and user device for providing advice | 
| Publication Number | Publication Date | 
|---|---|
| KR20180025683A KR20180025683A (en) | 2018-03-09 | 
| KR101880718B1true KR101880718B1 (en) | 2018-08-17 | 
| Application Number | Title | Priority Date | Filing Date | 
|---|---|---|---|
| KR1020160112671AActiveKR101880718B1 (en) | 2016-09-01 | 2016-09-01 | Method, system and user device for providing advice | 
| Country | Link | 
|---|---|
| KR (1) | KR101880718B1 (en) | 
| Publication number | Priority date | Publication date | Assignee | Title | 
|---|---|---|---|---|
| JP2005122628A (en)* | 2003-10-20 | 2005-05-12 | Nec Soft Ltd | System for improving athletic capacity | 
| JP2007512588A (en)* | 2003-10-29 | 2007-05-17 | ノボ・ノルデイスク・エー/エス | Medical advice system | 
| Publication number | Priority date | Publication date | Assignee | Title | 
|---|---|---|---|---|
| KR101650945B1 (en)* | 2009-04-16 | 2016-08-25 | 에스케이플래닛 주식회사 | Objective sharing service system and objective sharing service method | 
| US20180268735A1 (en)* | 2014-12-09 | 2018-09-20 | University-Industry Cooperation Group Of Kyung Hee University | Mobile terminal-based life coaching method, mobile terminal, and computer-readable recording medium, onto which method is recorded | 
| Publication number | Priority date | Publication date | Assignee | Title | 
|---|---|---|---|---|
| JP2005122628A (en)* | 2003-10-20 | 2005-05-12 | Nec Soft Ltd | System for improving athletic capacity | 
| JP2007512588A (en)* | 2003-10-29 | 2007-05-17 | ノボ・ノルデイスク・エー/エス | Medical advice system | 
| Publication number | Publication date | 
|---|---|
| KR20180025683A (en) | 2018-03-09 | 
| Publication | Publication Date | Title | 
|---|---|---|
| US11516544B1 (en) | System, method, and program product for interactively prompting user decisions | |
| Wilken | Places nearby: Facebook as a location-based social media platform | |
| KR101512278B1 (en) | Using mobile device data to create a storyline, model user routine and personality, and create customized recommendation agents | |
| JP6076489B2 (en) | Get event rating | |
| US20160171180A1 (en) | Incentivized wellness behavior modification | |
| US20170109447A1 (en) | Computerized systems and methods for offline event facilitation | |
| US20120066067A1 (en) | Fragmented advertisements for co-located social groups | |
| US11551803B1 (en) | System, method, and program product for generating and providing simulated user absorption information | |
| US20210182913A1 (en) | Electronic device and method for controlling same | |
| KR20250023417A (en) | Method for providing location-based information | |
| US20150324941A1 (en) | System and method for ranking real estate property listings | |
| Goncalves et al. | Crowdsourcing queue estimations in situ | |
| KR20180126259A (en) | Method and apparatus for providing information based on proximity | |
| CN113360790A (en) | Information recommendation method and device and electronic equipment | |
| JP2021189973A (en) | Information processing apparatus, information processing method, and information processing program | |
| KR20140138379A (en) | Method, server, and computer-readable recording media for providing service by using relationship matrix | |
| KR101794409B1 (en) | System and method for collecting emotion and activity of user based on instant message | |
| KR20160000446A (en) | System for identifying human relationships around users and coaching based on identified human relationships | |
| US11593826B1 (en) | Messaging and gaming applications rewards | |
| US8255237B2 (en) | Source user based provision of one or more templates | |
| US20140101242A1 (en) | Export permissions in a claims-based social networking system | |
| KR101880718B1 (en) | Method, system and user device for providing advice | |
| KR101853226B1 (en) | Method for recommending friend, server and user terminal for the same | |
| US8311846B2 (en) | Target outcome based provision of one or more templates | |
| WO2014179628A2 (en) | Method for identifying relevant individuals by cross-searching social data streams | 
| Date | Code | Title | Description | 
|---|---|---|---|
| A201 | Request for examination | ||
| PA0109 | Patent application | Patent event code:PA01091R01D Comment text:Patent Application Patent event date:20160901 | |
| PA0201 | Request for examination | ||
| E902 | Notification of reason for refusal | ||
| PE0902 | Notice of grounds for rejection | Comment text:Notification of reason for refusal Patent event date:20171120 Patent event code:PE09021S01D | |
| AMND | Amendment | ||
| PG1501 | Laying open of application | ||
| E601 | Decision to refuse application | ||
| PE0601 | Decision on rejection of patent | Patent event date:20180503 Comment text:Decision to Refuse Application Patent event code:PE06012S01D Patent event date:20171120 Comment text:Notification of reason for refusal Patent event code:PE06011S01I | |
| AMND | Amendment | ||
| PX0901 | Re-examination | Patent event code:PX09011S01I Patent event date:20180503 Comment text:Decision to Refuse Application Patent event code:PX09012R01I Patent event date:20180118 Comment text:Amendment to Specification, etc. | |
| PX0701 | Decision of registration after re-examination | Patent event date:20180701 Comment text:Decision to Grant Registration Patent event code:PX07013S01D Patent event date:20180604 Comment text:Amendment to Specification, etc. Patent event code:PX07012R01I Patent event date:20180503 Comment text:Decision to Refuse Application Patent event code:PX07011S01I Patent event date:20180118 Comment text:Amendment to Specification, etc. Patent event code:PX07012R01I | |
| X701 | Decision to grant (after re-examination) | ||
| GRNT | Written decision to grant | ||
| PR0701 | Registration of establishment | Comment text:Registration of Establishment Patent event date:20180716 Patent event code:PR07011E01D | |
| PR1002 | Payment of registration fee | Payment date:20180717 End annual number:3 Start annual number:1 | |
| PG1601 | Publication of registration | ||
| PR1001 | Payment of annual fee | Payment date:20210701 Start annual number:4 End annual number:4 | |
| PR1001 | Payment of annual fee | Payment date:20220620 Start annual number:5 End annual number:5 | |
| PR1001 | Payment of annual fee | Payment date:20230620 Start annual number:6 End annual number:6 | |
| PR1001 | Payment of annual fee | Payment date:20240624 Start annual number:7 End annual number:7 | |
| PR1001 | Payment of annual fee | Payment date:20250623 Start annual number:8 End annual number:8 |