




본 명세서에 개시된 내용은, 결로방지 시스템 및 방법에 관한 것으로서, 특히 IoT 결합형 열선을 이용하여 결로를 방지하는 시스템 및 방법에 관한 것이다.Disclosed herein are systems and methods for preventing condensation, and more particularly, systems and methods for preventing condensation using IoT coupled heat lines.
결로란 공기의 온도가 노점온도 이하로 내려가 더이상 수증기를 포함할 수 없는 포화상태가 되고 여분의 수증기는 물방울이 되는 일종의 습윤상태를 말한다. 결로의 발생원인으로 실내외 온도차, 실내습기의 과다발생, 환기부족 등이 있다. 이러한 결로현상은 온도와 습도에 의해 결정되는 이슬점온도에서 발생하며, 건강에 있어서 습도는 중요한 역할을 하게 된다.Dew condensation refers to a kind of wet state in which the temperature of the air falls below the dew point temperature to become a saturated state that can no longer contain water vapor, and the extra water vapor becomes water droplets. The causes of condensation include indoor and outdoor temperature differences, excessive humidity in the room, and lack of ventilation. This condensation occurs at the dew point temperature determined by temperature and humidity, and humidity plays an important role in health.
적정실내습도를 유지하는 방법으로는 기계적인 강제환기설비의 구축, 가습기와 제습기 같은 전자제품의 사용, 습기제거제와 같이 주기적인 교체가 필요한 화학 제품의 사용 등이 일반적이다.Methods for maintaining adequate room humidity include the construction of mechanical forced ventilation, the use of electronic products such as humidifiers and dehumidifiers, and the use of chemicals that require periodic replacement, such as moisture removal agents.
한편, 실내습도가 높아지면 주택 구조물의 외벽에 결로(dew condensation)현상이 발생한다. 주택 구조물의 외벽이나 바닥, 지붕 등의 건물부위에 단열이 연속되지 않는 부분이 있을 때 또는 건물외벽의 모서리부분, 구조체의 일부분에 열전도율이 큰 부분이 있을 때 열이 집중적으로 흐르게 되는 곳을 열교현상(Thermal bridge)이라 한다.On the other hand, when indoor humidity is high, dew condensation occurs on the outer wall of the housing structure. When there is a part where the insulation is not continuous on the outer wall of the house structure, floor, roof, etc., or where there is a part where the thermal conductivity is large at the corner part of the outer wall of the building, (Thermal bridge).
열교는 열교환이 높은 열전도율로 인하여 구조체의 전체 단열값을 낮추게 하는 구조체의 일부분을 의미한다. 이러한 구조체의 열적 취약부위로 인하여 열손실이라는 측면에서 냉교(Cold bridge)라고도 한다.Thermal bridging is the part of the structure that causes heat exchange to lower the overall insulation value of the structure due to its high thermal conductivity. It is also referred to as "cold bridge" in terms of heat loss due to the thermally weak parts of these structures.
건축물의 테두리부분, 최상층 슬래브지붕, 발코니의 돌출부분 등은 완벽한 단열을 연속적으로 유지하기 어려운 단열의 취약부위로서 열의 출입에 의한 열교현상에 의해 결로(Condensation)가 발생할 수 있으며 결로는 구성재료와 재료 사이의 경계면에서 주로 발생하는 경향이 높다.The rim of the building, the uppermost slab roof, and the protruding part of the balcony are vulnerable to continuous heat insulation, which is difficult to maintain continuously. Condensation may occur due to heat bridging due to heat entering and leaving. And the like.
이와 같이 건축물 외부에 발생하는 결로 현상의 경우, 강제환기설비나 통상의 가습 및 제습용 전자제품이나 화학제품으로 결로를 방지하기는 매우 곤란하다.Thus, in the case of condensation occurring outside the building, it is very difficult to prevent condensation from forced ventilation equipment, ordinary humidification and dehumidification electronic products and chemical products.
이에 따라, 건축물 등의 외부에 발생하는 결로를 방지하기 위한 새로운 방법이 강구될 필요가 있다.Accordingly, a new method for preventing condensation occurring on the outside of a building or the like needs to be devised.
본 발명은 IoT 결합형 열선을 이용하여 주택, 창고 등의 구조물에 상습적으로 발생하는 결로를 방지하기 위한 시스템 및 방법을 제공하는 것을 목적으로 한다.SUMMARY OF THE INVENTION It is an object of the present invention to provide a system and method for preventing dew condensation generated in a structure such as a house, a warehouse, etc., by using the IoT combined heat ray.
또한, 본 발명은 IoT 결합형 열선을 이용하여 구조물의 결로 현상의 발생을 사용자에게 안내하고 이를 원격으로 컨트롤할 수 있도록 하는 결로방지 시스템 및 방법을 제공하는 것을 목적으로 한다.Another object of the present invention is to provide a dew condensation preventive system and method for guiding the user to the occurrence of condensation phenomenon of a structure using the IoT combined heat line and for remotely controlling the same.
또한, 본 발명은 IoT 결합형 열선을 이용한 구조물의 예열을 통해 초기부하를 저감하고 결로를 예방하며, 센서를 통해 수집된 정보를 데이터베이스로 구성하여 빅데이터를 활용한 결로방지 기능을 제공할 수 있는 결로방지 시스템 및 방법을 제공하는 것을 목적으로 한다.In addition, the present invention can reduce the initial load and prevent condensation by preheating the structure using the IoT-coupled heat line, and can provide the condensation prevention function using the big data by configuring the information collected through the sensor as a database It is an object of the present invention to provide a condensation prevention system and method.
상기 목적을 달성하기 위해, 본 발명의 일 실시예에 따른 IoT 결합형 열선을 이용한 결로방지 시스템은, 열선, 주변온도 감지를 위한 온도감지부, 주변습도 감지를 위한 습도감지부, 상기온도감지부로부터의 온도값과 습도감지부로부터의 습도값으로부터 결로 여부를 판정하는 열선제어부, 상기 열선제어부의 결로 여부 판정시 상기 열선을 발열시키는 열선작동부, 및 상기 각 구성요소의 동작과 관련하여 외부와의 통신을 수행하기 위한 IoT 통신부를 포함하여 구성되는 열선동작장치; 및 상기 IoT 통신부와 인터넷을 통해 통신하기 위한 운용통신부, 및 상기 운용통신부를 통해 적어도 하나의 상기 열선동작장치와 데이터 통신을 수행하며 상기 열선동작장치의 기능을 제어하는 운용제어부(250)를 포함하여 구성되는 열선운용장치를 포함하는 것을 특징으로 한다.In order to achieve the above object, a dew condensation preventing system using an IoT combined heat ray according to an embodiment of the present invention includes a temperature sensor for sensing a heat ray, an ambient temperature, a humidity sensor for sensing ambient humidity, A heating wire control unit for judging whether or not dew is formed from a humidity value from the humidity sensing unit, a heating wire operating unit for heating the heating wire when it is determined that the heating wire control unit is dew condensation, An IoT communication unit for performing communication of the IoT communication unit; And an operation control unit (250) which performs data communication with at least one hot-wire operation device through the operation communication unit and controls functions of the hot-wire operation device, And a hot-wire operating device constituted by the hot-wire operating device.
또한, 상기 열선동작장치는, 소정 온도 이하에서만 상기 열선동작장치를 동작시키기 위한 온도 스위치를 구비한 전원부를 더 포함하는 것을 특징으로 한다.Further, the hot-wire operating device may further include a power supply unit having a temperature switch for operating the hot-wire operating device only at a predetermined temperature or lower.
또한, 상기 열선동작장치는, 상기 열선작동장치의 ID, 상기 온도값, 상기 습도값, 상기 결로 여부 판정 결과, 상기 결로 여부 판정을 위한 이슬점 산출표, 상기 결로 여부 판정을 위한 이슬점 산출 알고리즘 중 적어도 하나를 저장하기 위한 저장부를 더 포함하는 것을 특징으로 한다.Further, the hot-wire operating apparatus may further include at least one of the ID of the hot-wire operating device, the temperature value, the humidity value, the dew point calculation result for determining whether the dew is dew, And a storage unit for storing the image data.
또한, 상기 열선동작장치는, 상기 결로 여부 판정시 또는 상기 온도감지부, 습도감지부, 열선 중 적어도 하나의 동작이 비정상일 때 경고등을 점멸하는 경고부를 더 포함하는 것을 특징으로 한다.The heating device may further include a warning unit for blinking a warning light when the dew condensation is determined or when at least one of the temperature sensing unit, the humidity sensing unit, and the heat source is abnormal.
또한, 상기 열선동작장치는, 상기 열선동작장치의 위치정보를 알려주기 위한 GPS를 더 포함하는 것을 특징으로 한다.Further, the hot-wire operating device may further include a GPS for informing the position information of the hot-wire operating device.
또한, 상기 열선운용장치는, 상기 열선동작장치로부터 수신한 데이터 및 상기 인터넷을 통해 외부로부터 상기 열선동작장치가 위치한 장소에 관련된 기상 정보를 수신하여 저장하기 위한 운용저장부를 더 포함하는 것을 특징으로 한다.The hot-wire operating apparatus may further include an operation storage unit for receiving data received from the hot-wire operation apparatus and receiving weather information related to a location where the hot-wire operation apparatus is located from the outside via the Internet and storing the weather information .
또한, 상기 결로방지 시스템은, 상기 열선운용장치와 상기 인터넷을 통해 연결되어 있으며, 상기 열선운용장치를 통해 상기 열선작동장치와 데이터를 송수신하는 이동단말을 더 포함하는 것을 특징으로 한다.The dew condensation prevention system may further include a mobile terminal connected to the hot wire operating device through the Internet and transmitting and receiving data to and from the hot wire operating device through the hot wire operating device.
또한, 상기 이동단말은 상기 열선운용장치에서 제공하는 웹페이지를 통해 상기 열선작동장치의 상태를 확인하고 동작관련 명령을 지시하는 것을 특징으로 한다.In addition, the mobile terminal confirms the state of the hot-wire operation device through a web page provided by the hot-wire operation device, and directs an operation-related command.
또한, 상기 이동단말은 상기 열선운용장치와 연계하여 동작하는 내장 어플리케이션을 통해 상기 열선작동장치의 상태를 확인하고 동작관련 명령을 지시하는 것을 특징으로 한다.In addition, the mobile terminal confirms the state of the hot-wire operating device through a built-in application operating in conjunction with the hot-wire operating device, and directs an operation-related command.
또한, 상기 이동단말은 적어도 하나의 상기 열선동작장치에 관련된 전력사용량, 전기료, 가동시간, 이상상태, 작동스케쥴, 설치환경정보, 부품교체시기, 기상정보 중 적어도 하나를 제공하는 것을 특징으로 한다.Also, the mobile terminal provides at least one of electric power consumption, electric charge, operation time, abnormal state, operation schedule, installation environment information, part replacement time, and weather information related to at least one hot-water operation device.
또한, 상기 목적을 달성하기 위한 본 발명의 일 실시예에 따른 IoT 결합형 열선을 이용한 결로방지 방법은, 상기 열선제어부에서 상기 온도감지부 및 상기 습도감지부의 출력신호를 판독하여 결로여부를 판정하는 단계; 상기 열선제어부에서 결로로 판정할 경우 상기 열선작동부를 동작시켜 상기 열선을 발열시키는 단계; 상기 열선제어부에서 상기 열선으로부터 피드백을 받는 단계; 및 상기 열선제어부의 동작을 상기 IoT 통신부를 통해 상기 열선운용장치로 전송하는 단계를 포함하는 것을 특징으로 한다.According to another aspect of the present invention, there is provided a method for preventing condensation using an IoT combined heat ray, the method comprising: reading out an output signal from the temperature sensing unit and the humidity sensing unit in the heat ray controller to determine whether condensation has occurred step; Operating the hot-wire operating unit to heat the hot-wire when the hot-wire control unit determines that condensation is present; Receiving feedback from the hot wire in the hot wire control unit; And transmitting the operation of the hot wire control unit to the hot wire operating apparatus through the IoT communication unit.
또한, 상기 열선운용장치는 소정의 주기로 상기 열선제어부로 결로여부의 판정을 요청하는 단계를 더 포함하는 것을 특징으로 한다.In addition, the hot-wire operating apparatus may further include a step of requesting the hot-wire control unit to determine whether or not condensation has occurred at a predetermined period.
또한, 상기 열선운용장치는 상기 열선동작장치로부터 GPS 정보를 수신하고, 해당 위치에 대응하는 기상정보에 근거하여 상기 열선동작장치로 동작제어신호를 전송하는 단계를 더 포함하는 것을 특징으로 한다.The hot-wire operating apparatus further includes receiving GPS information from the hot-wire operation device and transmitting an operation control signal to the hot-wire operation device based on the weather information corresponding to the location.
또한, 상기 열선운용장치는 복수의 상기 열선동작장치로부터 상기 GPS 정보 및 결로 판정 정보를 수신하고, 이를 이용하여 상기 열선동작장치가 위치한 지역의 기상정보를 업데이트하고 업데이트된 정보를 상기 인터넷을 통해 외부로 제공하는 것을 특징으로 한다.Also, the hot wire operating apparatus receives the GPS information and the dew condensation determination information from the plurality of hot-wire operation devices, updates the weather information of the area where the hot-wire operation apparatus is located, and transmits updated information to the outside As shown in FIG.
또한, 상기 열선운용장치에서 상기 업데이트된 정보를 사용자의 이동단말로 전송하는 단계; 및 상기 사용자의 이동단말로부터 상기 열선동작장치의 동작에 관한 지시를 수신하여 상기 열선동작장치로 전송하는 단계를 더 포함하는 것을 특징으로 한다.Transmitting the updated information to the user's mobile terminal in the hot wire operating device; And receiving an instruction regarding the operation of the hot-wire operation device from the user's mobile terminal and transmitting the received instruction to the hot-wire operation device.
본 발명에 따르면, IoT 결합형 열선을 이용하여 주택, 창고 등의 구조물에 상습적으로 발생하는 결로를 방지하기 위한 시스템 및 방법이 제공된다.According to the present invention, there is provided a system and a method for preventing dew condensation generated in a structure such as a house, a warehouse, etc., by using the IoT combined heat line.
또한, 본 발명에 따르면, IoT 결합형 열선을 이용하여 구조물의 결로 현상의 발생을 사용자에게 안내하고 이를 원격으로 컨트롤할 수 있도록 하는 결로방지 시스템 및 방법이 제공된다.Also, according to the present invention, there is provided a dew condensation preventing system and method for guiding the occurrence of condensation phenomenon of a structure using a IoT combined heat ray to a user and remotely controlling the same.
또한, 본 발명에 따르면, IoT 결합형 열선을 이용한 구조물의 예열을 통해 초기부하를 저감하고 결로를 예방하며, 센서를 통해 수집된 정보를 데이터베이스로 구성하여 빅데이터를 활용한 결로방지 기능을 제공할 수 있는 결로방지 시스템 및 방법이 제공된다.In addition, according to the present invention, it is possible to reduce the initial load and prevent condensation by preheating the structure using the IoT combined heat line, and to provide a dew condensation prevention function utilizing the big data by constructing the information collected through the sensor A dew condensation preventing system and method are provided.
도 1은 주택에서의 열교 현상을 보여주는 적외선 사진이다.
도 2는 본 발명의 일 실시예에 따른 IoT 결합형 열선을 이용한 결로방지 시스템의 일 구성요소인 열선(1) 및 열선 작동 장치(100)의 블록도이다.
도 3은 본 발명의 일 실시예에 따른 IoT 결합형 열선을 이용한 결로방지 시스템의 일 구성요소인 열선운용장치(200)의 블록도이다.
도 4는 본 발명의 일 실시예에 따른 IoT 결합형 열선을 이용한 결로방지 시스템의 동작설명도이다.
도 5는 본 발명의 일 실시예에 따른 IoT 결합형 열선을 이용한 결로방지 시스템의 열선작동장치의 동작 흐름도이다.FIG. 1 is an infrared photograph showing a thermal bridge phenomenon in a house.
 FIG. 2 is a block diagram of a hot wire 1 and a hot
 3 is a block diagram of a hot-
 4 is an explanatory view of an operation of a dew condensation prevention system using IoT combined heat rays according to an embodiment of the present invention.
 FIG. 5 is a flowchart illustrating an operation of a hot-wire operation device of a dew condensation preventing system using an IoT-coupled hot line according to an exemplary embodiment of the present invention.
이하 첨부도면을 참조하여 실시예를 설명한다.Hereinafter, embodiments will be described with reference to the accompanying drawings.
아래에서는 첨부한 도면을 참고로 하여 본 발명의 실시 예에 대하여 본 발명이 속하는 기술 분야에서 통상의 지식을 가진 자가 용이하게 실시할 수 있도록 상세히 설명한다. 그러나 본 발명은 여러 가지 상이한 형태로 구현될 수 있으며 여기에서 설명하는 실시 예에 한정되지 않는다. 그리고 도면에서 본 발명을 명확하게 설명하기 위해서 설명과 관계없는 부분은 생략하였으며, 명세서 전체를 통하여 유사한 부분에 대해서는 유사한 도면 부호를 붙였다.Hereinafter, embodiments of the present invention will be described in detail with reference to the accompanying drawings so that those skilled in the art can easily carry out the present invention. The present invention may, however, be embodied in many different forms and should not be construed as limited to the embodiments set forth herein. In order to clearly illustrate the present invention, parts not related to the description are omitted, and similar parts are denoted by like reference characters throughout the specification.
어떤 구성요소가 다른 구성요소에 "접속되어" 있다거나 "연결되어" 있다고 언급된 때에는, 그 다른 구성요소에 직접적으로 접속되어 있거나 연결되어 있을 수도 있지만, 중간에 다른 구성요소가 존재할 수도 있다고 이해되어야 한다. 반면에, 어떤 구성요소가 다른 구성요소에 "직접 접속되어" 있다거나 "직접 연결되어" 있다고 언급된 때에는, 중간에 다른 구성요소가 존재하지 않는 것으로 이해되어야 할 것이다.It is to be understood that when an element is referred to as being "connected" or "connected" to another element, it may be directly connected or connected to the other element, but it should be understood that there may be other elements in between do. On the other hand, when an element is referred to as being "directly connected" or "directly connected" to another element, it should be understood that there are no other elements in between.
도 1은 주택에서의 열교 현상을 보여주는 적외선 사진이다.FIG. 1 is an infrared photograph showing a thermal bridge phenomenon in a house.
건축물의 테두리부분, 최상층 슬래브지붕 하단과 같이 이종 재료가 접하는 경계부분이나 돌출부분과 같이 표면적이 넓어서 연속적으로 단열을 유지하기 어려운 취약부위에 열의 출입에 의한 열교현상을 확인할 수 있다.It is possible to confirm the thermal bridging phenomenon due to the entrance and exit of heat to a vulnerable area which is difficult to continuously maintain the insulation due to the wide surface area such as the boundary portion of the building or the bottom portion of the uppermost slab roof.
열교현상이 확인된 부위는 결로발생 가능성이 높은 부분이므로, 본 발명의 IoT결합형 열선을 부착하여 결로방지를 하는 것이 바람직하다.Since the portion where the heat bridging phenomenon is confirmed is a portion where condensation is likely to occur, it is preferable to prevent the condensation by attaching the IoT combined heat ray of the present invention.
도 2는 본 발명의 일 실시예에 따른 IoT 결합형 열선을 이용한 결로방지 시스템의 일 구성요소인 열선(1) 및 열선 작동 장치(100)의 블록도이다.FIG. 2 is a block diagram of a hot wire 1 and a hot
열선(1)은 정온 전선으로 불리는 가열 케이블(cable)로서, 기존의 가열 케이블과는 달리 금속 열선이 아니라 카본(carbon)이 함유된 플라스틱 반도체(plastic semiconductor)에 의해 발열되는 제품으로 PTC(positive temperature coefficient) 특성을 지니고 있다.The heating wire (1) is a heating cable called a constant temperature wire. Unlike the conventional heating cable, the heating wire is heated by plastic semiconductors containing carbon, coefficient.
PTC 특성이란 일종의 자연현상으로 주위 온도의 변화에 따라 발열량이 자동으로 증감하는 현상을 나타내는 것으로, 정온 전선은 도전성 고분자를 이용하여 연속적 병렬회로 구조를 갖는 특수한 발열체로서 주위 온도 변화에 따라 내부저항을 스스로 제어하여 발열량을 자동으로 증감시키도록 설계된 자율 온도 제어형 가열 케이블(Self-Regulating Heating Cable)이다.The PTC characteristic is a kind of natural phenomenon. It shows a phenomenon in which the calorific value is automatically increased or decreased as the ambient temperature changes. The constant temperature wire is a special heating element having a continuous parallel circuit structure using a conductive polymer. Self-regulating heating cable designed to automatically increase or decrease the amount of heat generated by controlling the temperature.
정온 전선은 PTC원리를 응용하여 개발된 자기 제어형 히터로 날씨가 추우면 많이 발열하고 더우면 적게 발열하므로 전기 소모량을 최소화할 수 있는 장점을 지니고 있다.The constant-temperature electric wire is a self-regulated heater developed by applying the PTC principle. It has the advantage of minimizing the electric consumption because the heat is much colder in cold weather and less heat in colder weather.
열교현상이 발생하는 부위에 열선(1)을 감거나 부착하는 방식으로 배치한 상태에서 열선 작동 장치(100)의 열선작동부(170)에 의해 발열이 이루어지면 해당 부분의 열교현상이 완화되고 결로가 방지된다.If heat is generated by the hot-
주택과 같은 주거공간 외에도 창고, 실내 수영장, 농장, 계사 등의 외부시설이나 해양환경에서 운용되는 선박 등에서도 결로가 많이 발생하는데, 이러한 환경에서도 본 발명의 IoT 결합형 열선을 결로가 발생하는 부위에 적절하게 배치함으로써 결로를 방지할 수 있다.In addition to residential areas such as houses, condensation often occurs in outdoor facilities such as warehouses, indoor swimming pools, farms, cages, etc., and ships operated in marine environments. Even in this environment, the IoT- Condensation can be prevented by arranging it appropriately.
열선 작동 장치(100)는 복수의 열선(1)으로 전원을 공급하여 열선(1)의 동작을 제어하고 각 열선(1)의 동작 상태 정보를 열선 운용 장치(200)로 전달하는 구성요소이다.The hot
다수의 열교현상 발생부위가 존재하는 구조물의 경우, 각 열교현상발생부위에 열선(1)을 배치하고 각 열선(1)의 동작을 제어하기 위해 다수의 열선에 대해 하나의 열선 작동 장치(100)을 할당하게 된다. 대형 구조물이거나 복잡한 구성의 구조물인 경우에는 하나 이상의 열선 작동 장치(100)가 필요하게 되며, 각 열선 작동 장치(100)는 각기 다수의 열선(1)의 동작을 제어하는 한편 원격지의 열선 운용 장치(200)와 연계하여 동작한다.In the case of a structure in which a plurality of heat bridging occurrence sites exist, a hot wire 1 is disposed at each heat bridging occurrence site, and one heat
복수의 열선 작동 장치(100)는 전원부(110), 온도감지부(120), 습도감지부(130), 열선제어부(150), 저장부(160), IoT통신부(180), 경고부(190) 및 열선작동부(170)를 포함하여 구성된다.The plurality of hot
전원부(110)는 공급되는 전원(AC), 즉 교류 전원을 직류 전원으로 변경하는 교류-직류 변환기와 과전류를 차단하는 과전류 차단기(fuse)를 구비하고 있고, 인가되는 전원을 이용하여 열선 작동 장치(100)의 동작에 필요한 적어도 하나의 구동 전압을 생성하여 해당 구성요소로 인가한다. 이로 인해, 열선 작동 장치(100)의 동작이 이루어질 수 있도록 한다. 전원부(110)로 인가되는 전원(AC)은 80V~240V이고 50Hz 또는 60Hz의 주파수를 갖는 상용전원이 바람직하다.The
전원부(110)는 주변 온도에 따라 동작 상태가 달라져 온 또는 오프 상태를 유지하는 바이메탈 스위치(bimetal switch)인 온도 스위치(미도시)를 구비한다. 이러한 온도 스위치는 주변 온도가 설정 온도 이하가 되면 온 상태를 유지하고 주변 온도가 설정 온도를 초과하면 오프 상태를 유지한다. 필요에 따라 설정 온도의 크기는 변경 가능하다.The
온도 스위치가 온(ON) 상태를 유지하면 온도 스위치를 통하여 전원부(110)로 외부전원(AC)이 공급되어 열선 작동 장치(100)의 동작이 개시되고, 온도 스위치가 오프 상태를 유지하면 온도 스위치로 공급되는 외부전원(AC)은 전원부(110)로 인가되지 못하고 온도 스위치에 의해 차단되어 열선 작동 장치(100)의 동작은 중지된다.When the temperature switch is maintained in the ON state, the external power source AC is supplied to the
온도 스위치의 동작에 의해 전원부(110)의 동작 여부가 제어되므로, 주변 온도가 설정 온도를 초과할 경우 전원부(110)의 전력이 자동으로 차단되어 열선 작동 장치(100)의 각 구성요소로의 구동 전압의 인가가 중단되므로, 열선 작동 장치(100)의 각 구성요소에서 소비되는 대기 전력의 낭비가 방지되어 열선 작동 장치(100)에서의 불필요한 전력 소모가 방지된다.The operation of the
이러한 온도 스위치는 필요에 따라 생략 가능하다. 온도 스위치가 생략될 때, 전원부(110)로의 전원(AC) 공급은 상시 행해지며, 열선제어부(150)는 온도감지부(120)에서 출력되는 온도 감지 신호에 따라 열선작동부(170)를 통해 열선(1)의 동작을 제어한다.These temperature switches can be omitted as needed. When the temperature switch is omitted, the power supply AC is supplied to the
온도감지부(120)는 열선작동장치(100)에 내장되어 온도감지신호를 열선제어부(150)로 출력한다. 추가로 외장형 온도감지부(미도시)가 구비되는 경우, 온도감지부가 열선(1)이 설치되는 구조물에 열선(1)을 따라 간헐적으로 배치되어 온도감지신호를 열선제어부(150)로 출력한다. 이러한 온도감지부(120)로는 다양한 종류의 온도 센서를 이용할 수 있으며, 온도 센서로는 예를 들어 열전쌍, 온도측정 저항체, 서미스터(NTC, PTC, CTR), 금속식 온도계, 서미스터 감온 페라이트, NQR, 초음파 센서, 광섬유 센서 등이 있다.The
습도감지부(130)는 열선작동장치(100)에 내장되어 습도감지신호를 열선제어부(1150)로 출력한다. 추가로 외장형 습도감지부(미도시)가 구비되는 경우, 습도감지부가 열선(1)이 설치되는 구조물의 온도감지부(120) 주위에 배치되어 습도감지신호를 열선제어부(150)로 출력한다. 이러한 습도감지부(130)로는 다양한 종류의 습도 센서를 이용할 수 있으며, 습도 센서로는 예를 들어 건습구 습도계, 모발 습도계, 염화 리튬 습도센서, 전해 습도센서, 고분자막 습도 센서, 수정진동식 습도센서, 산화알루미늄 습도센서, 세라믹 습도센서, 서미스터 습도센서, 마이크로파 습도센서, 결로센서, 노점센서 등이 있다.The
GPS(140)는 열선작동장치(100)의 위치정보를 수집한다. 다수의 열선작동장치(100)가 열선운용장치(200)와 연계하여 동작하는 경우, 열선운용장치(200)는 GPS(140)의 위치정보에 근거하여 해당 장소의 날씨와 기온정보를 토대로 각 열선작동장치(100)의 동작을 제어할 수 있다.The
열선제어부(150)는 전원부(110)에 의해 동작에 필요한 구동 전압이 인가되면 동작이 시작되어, 온도감지부(120)로부터 온도감지신호를 수신하고 습도감지부(130)로부터 습도감지신호를 수신한다.The heating
이어서, 열선제어부(150)는 저장부(160)에 저장된 이슬점 산출표를 이용하거나 내장된 이슬점 산출 알고리즘을 이용하여 온도감지신호와 습도감지신호에 포함된 온도값 및 습도값으로부터 결로 여부를 판정한다.Next, the
저장부(160)는 메모리(memory)로서 자신에 속해 있는 열선작동장치(100)에 대한 식별번호(ID), 온도감지부(120)에 의해 감지된 온도값, 습도감지부(130)에 의해 감지된 습도값, 적어도 하나의 설정 온도, 적어도 하나의 설정 습도, 결로 여부 판정을 위한 이슬점 산출표, 이슬점 산출 알고리즘, 열선제어부(150)의 결로 여부 판정 결과 등 열선작동장치(100)의 동작에 필요한 데이터나 동작 중에 생성된 데이터 등이 저장되어 있다. 저장부(160)는 열선제어부(150)와는 독립된 메모리 형태로 구비될 수도 있고, 이와 달리 열선제어부(150)의 내장 메모리 형태로 내장될 수도 있다.The
열선작동부(170)는 트라이악(triac, triode alternating current switch)과 같은 스위칭소자 또는 릴레이로 구성될 수 있다.The hot
열선작동부(170)가 트라이악으로 이루어질 경우, 릴레이로 이루어질 경우에 비해 화재 발생이나 폭발 위험이 방지된다. 릴레이를 이용할 경우, 릴레이의 물리적인 스위칭 접점 동작 시에 불꽃이 발생할 가능성이 있어서 열선 작동부(170)가 설치되는 보일러 등의 장치의 연소 재료가 가스 등과 같이 가연성이 양호한 재료일 경우 적은 양의 불꽃으로도 화재나 폭발 현상이 발생할 수 있다.When the hot
하지만, 열선작동부(170)를 반도체 소자인 트라이악을 이용할 경우, 이러한 불꽃 발생 가능성이 없으므로, 안전사고의 발생 위험이 해소된다. 또한, 트라이악을 이용한 위상 제어를 실시하므로 열선(1)으로의 급격한 전류 흐름이 방지되어 열선(1)의 수명 역시 증가한다.However, when the hot
트라이악을 이용할 경우, 열선작동부(170)의 제어 단자는 열선제어부(150)에 연결되고 출력 단자는 열선(1)에 연결되며 입력 단자는 전원부(110)에서 생성된 구동 전압에 연결된다.The control terminal of the hot
열선작동부(170)의 동작은 다음과 같이 이루어진다.The operation of the hot
먼저, 열선제어부(150)에서 주변 환경을 결로 상태로 판정하면, 열선작동부(170)로 제어 신호를 출력하여 열선(1)으로 전류 흐름이 이루어지도록 하여 열선(1)의 발열 동작이 이루어지도록 한다. 이때, 열선제어부(150)는 온도감지부(120)에 의해 감지된 온도값에 기초하여 열선작동부(170)로 인가되는 전류의 크기, 전압의 크기 또는 턴온 시간을 제어한다.First, when the heat
열선작동부(170)의 동작에 의해 열선(1)으로 전류가 흐르면 열선(1)을 흐르는 전류값이 열선제어부(150)로 피드백된다. 열선제어부(150)는 피드백되는 전류값을 이용하여 열선작동부(170)를 적절하게 제어하는 한편, 열선(1)의 저항값에 근거하여 열선(1)의 단선 여부를 판정하기도 한다.When a current flows into the hot wire 1 by the operation of the hot
이와 달리, 열선작동부(170)에 전류 센서가 구비되는 경우, 전류 센서를 이용하여 열선(1)에 흐르는 전류를 실시간으로 확인하고 전류 사용량을 측정할 수 있으며 열선(1)의 단선 여부도 판정할 수 있다.Alternatively, when a current sensor is provided in the hot-
이러한 열선(1)의 동작 상태에 대한 판정은 열선제어부(150)에서 수행되고, 그 판정 결과는 저장부(160)에 저장된다.The determination of the operating state of the heating wire 1 is performed by the heating
IoT 통신부(180)는 저장부(160)에 저장되어 있는 각종 데이터 및 열선제어부(150)의 동작 상태 정보를 원격지의 열선운용장치(200)로 전송하기 위한 통신 모듈로서, 와이파이(Wi-Fi), 블루투스(bluetooth), 랜(LAN) 또는 초광대역 통신(UWB, ultra wideband) 등과 같은 무선 통신 방식을 이용하여 인터넷에 접속한다.The
경고부(190)는 열선제어부(150)에서 주변 상황을 결로 상태로 판정하거나 또는 온도감지부(120), 습도감지부(130) 및 열선(1)의 동작 상태가 비정상 상태일 때 사용자에게 비정상 상태를 알려주기 위한 것으로서, 발광 다이오드(LED) 램프와 같은 경고등으로 이루어져 있다. 따라서, 경고부(190)는 각 경고 목적에 따라 서로 다른 경고등을 구비하거나 하나 이상의 동작 패턴(주기, 색상 등)으로 동작하는 경고등을 구비하도록 구성된다.The
도 3은 본 발명의 일 실시예에 따른 IoT 결합형 열선을 이용한 결로방지 시스템의 일 구성요소인 열선운용장치(200)의 블록도이다.3 is a block diagram of a hot-
열선운용장치(200)는 인터넷을 통해 열선작동장치(100)와 통신하는 운용통신부(210), 운영통신부(210)와 연결되어 열선작동장치(100)의 동작을 제어하는 운용제어부(250), 운용제어부(250)의 동작에 필요한 각종 데이터와 운영통신부(210)를 통해 열선작동장치(100)로부터 수신한 각종 데이터와 인터넷을 통해 수집한 각종 데이터 등 결로방지 시스템의 동작에 필요한 정보를 저장하는 운용저장부(260)를 포함하여 구성된다.The hot
열선운용장치(200)는 인터넷에 연결된 하나 이상의 컴퓨터 서버로 구성되어 열선작동장치(100) 및 열선(1)이 배치된 지역의 기후, 날씨, 온도, 습도, 이슬점 예보 등을 수집하여 이를 운용저장부(260)에 저장하고, 각 열선작동장치(100)로부터 수신한 ID와 GPS 측위정보를 토대로 결로 현상이 예측되는 장소에 배치된 열선작동장치(100)의 열선제어부(150)를 제어하기 위한 제어신호를 운용통신부(210)를 통해 해당 열선작동장치(100)로 제공할 수 있다.The hot
이동단말(300)은 인터넷을 통해 열선운용장치(200)에 접속하여 운용제어부(250)에서 제공하는 결로방지 시스템 웹페이지를 통해 열선작동장치(100)의 운용에 관한 각종 정보를 수신하고 또 열선작동장치(100)를 제어할 수 있다. 다시 말해, 이동단말(300)은 열선운용장치(200)를 경유하여 열선작동장치(100)와 양방향 통신을 수행할 수 있다.The
사용자는 이동단말(300)을 이용하여 열선작동장치(100)의 동작을 수동으로 제어할 수 있다. 사용자는 열선운용장치(200)에 수집된 각종 정보를 토대로 열선작동장치(100)의 동작상태를 모니터링하는 한편 필요한 동작을 수행하도록 명령을 전송할 수 있다. 열선작동장치(100)의 모니터링과 제어에 필요한 기능을 소프트웨어 어플리케이션으로 구현하여 사용자의 이동단말(300)에 장착하는 것도 가능하며, 이때 사용자는 해당 어플을 통해 열선운용장치(200)와 통신하게 된다.The user can manually control the operation of the hot-
 또한, 사용자는 이동단말(300)을 통해 열선(1) 및 열선작동장치(100)의 월별 전력사용량, 전기료, 가동시간, 이상고온이나 이상저온 등 이상온도 감지, 제품 가동 스케줄 관리, 제품 설치 환경정보, 작동 예약, 사용자 거주지 습도 확인 및 건강정보 안내, 사용자 결로현상 발생 안내 및 방지, 사용자 창고 결로현상 발생 안내 및 방지, 사용자 수화물 결로현상 발생 안내 및 방지가 가능하다. The user can also monitor the abnormal temperature such as the monthly electric power consumption, the electric charge, the operation time, the abnormally high temperature or the abnormal low temperature of the hot wire 1 and the hot
또한, 사용자는 이동단말(300)을 통해 제품의 수리, 부품교체시기, 화재, 에너지 소비량, 에너지 효율 등의 정보를 얻을 수 있으며, 한파, 폭설, 태풍, 장마와 같은 기상정보도 제공받을 수 있다.In addition, the user can obtain information on the repair of the product, the part replacement period, the fire, the energy consumption, the energy efficiency, etc. through the
도 4는 본 발명의 일 실시예에 따른 IoT 결합형 열선을 이용한 결로방지 시스템의 동작설명도이다.FIG. 4 is an explanatory view of an operation of a dew condensation prevention system using IoT combined heat rays according to an embodiment of the present invention.
열선운용장치(200)는 소정의 설정시간으로 정해진 주기마다 운용통신부(210)를 통해 복수의 열선작동장치(100)로 정보를 요청하고(S412), 각 열선작동장치(100)로부터 전송된 결로 판정 결과, 열선(1)의 단선 여부, 열선작동장치(100)의 이상 동작 여부 등의 정보를 해당 식별 번호와 함께 수신하여(S414), 열선작동장치(100)의 동작 상태를 판정하고(S416), 그 결과를 저장하는 한편 이동단말(300)로 전송하여 표시해 준다(S418). 한편, 열선운용장치(200)는 이동단말(300)로부터의 사용자 입력에 따라 열선작동장치(100)의 동작을 제어하기 위한 제어신호를 열선작동장치(100)로 제공하기도 한다.The hot-
도 5는 본 발명의 일 실시예에 따른 IoT 결합형 열선을 이용한 결로방지 시스템의 열선작동장치의 동작 흐름도이다.FIG. 5 is a flowchart illustrating an operation of a hot-wire operation device of a dew condensation preventing system using an IoT-coupled hot line according to an exemplary embodiment of the present invention.
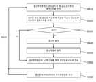
먼저, 열선작동장치(100)의 동작이 시작되면 열선제어부(150)는 온도감지부(120) 및 습도감지부(130)에서 출력되는 온도감지신호와 습도감지신호를 수신하여 열선작동장치(100) 주변의 온도 및 습도를 판독한다(S510). 온도감지부(120)와 습도감지부(130)가 열선(1)을 따라 하나 이상 배치되어 있는 경우에는 열선(1) 각부의 온도와 습도를 판독하게 된다. 이를 위해서는 하나 이상의 온도감지부(120)와 습도감지부(130) 각각에 ID가 할당되어 식별되어야 한다.When the operation of the hot-
이어서, 열선제어부(150)는 저장부(160)에 저장된 이슬점 산출표 또는 내장된 이슬점 산출 알고리즘을 이용하여 측정된 온도값과 습도값으로부터 해당 위치의 결로 여부를 판정한다(S520).Next, the
해당 위치가 결로 상태로 판정되면(S530), 열선제어부(150)는 경고부(190)의 경고등을 동작시키고(S540), 열선작동부(170)를 동작시켜(S550) 열선(1)을 발열시킨다. 이때 열선(1)을 흐르는 전류값 또는 열선(1)의 저항값은 다시 열선제어부(150)로 피드백되고 열선제어부(150)는 피드백 값을 이용하여 열선작동부(170)를 제어한다.The heating
열선제어부(150)는 또한 결로 판정 결과, 경고부(190)의 동작상태, 열선작동부(170)의 동작상태, 열선(1)으로부터 피드백되는 전류값 또는 저항값 등의 데이터를 저장부(160)에 저장하는 한편, IoT 통신부(180)를 통해 열선운용서버(200)로 전송한다(S560). 이때, 저장부(160)에 저장된 GPS(140) 측위정보가 함께 열선운용서버(200)로 전송되기도 한다.The heat
이상에서는 경고부(190)의 동작, 열선작동부(170)의 동작, 데이터의 저장, 데이터의 전송이 순차적인것럼 기재하였지만, 이와 달리 다른 순서로 동작이 이루어지거나 각 동작이 동시에 수행되더라도 무방하다.In the above description, the operation of the
한편, 결로 판정 결과 결로 상태가 아닌 것으로 판정되는 경우(S530), 열선제어부(150)는 해당 판정 결과를 저장부(160)에 저장하는 한편 IoT 통신부(180)를 통해 열선운용서버(200)로 전송한다(S560).On the other hand, when it is determined that the condensation determination result is not the condensation state (S530), the heat
이상 단계 S510 내지 S560의 동작은 IoT 통신부(180)를 통해 열선운용서버(200)로부터 결로 여부 판독요청신호를 수신하는 경우에도 동일하게 수행될 수 있다.The operation of steps S510 through S560 may be performed in the same manner when receiving the dew-reading request signal from the hot-
이상에서 본 발명의 일 실시예를 들어 본 발명의 특징을 설명하였지만, 이상에서 개시된 내용은 예시에 불과하며, 특허청구범위에서 청구하는 청구의 요지를 벗어나지 않고 당해 기술분야에서 통상의 지식을 가진 자에 의하여 다양하게 변경 실시될 수 있으므로, 개시된 내용의 보호범위는 상술한 특정의 실시예에 한정되지 않는다.While the present invention has been described with reference to exemplary embodiments, it is to be understood that the invention is not limited to the disclosed exemplary embodiments, but, on the contrary, The scope of protection of the disclosed contents is not limited to the specific embodiments described above.
1 : 열선
100 : 열선작동장치
110 : 전원부
120 : 온도감지부
130 : 습도감지부
150 : 열선제어부
160 : 저장부
170 : 열선작동부
180 : IoT 통신부
190 : 경고부
200 : 열선운용장치
210 : 운용통신부
250 : 운용제어부
260 : 운용저장부
300 : 이동단말1: heat line
 100: Hot wire operating device
 110:
 120: Temperature sensing unit
 130: Humidity sensor
 150:
 160:
 170:
 180: IoT communication section
 190: Warning section
 200: Heat line operating device
 210: Operation Communication Department
 250: Operation control unit
 260: Operation storage unit
 300:
| Application Number | Priority Date | Filing Date | Title | 
|---|---|---|---|
| KR1020160151679AKR101857663B1 (en) | 2016-11-15 | 2016-11-15 | SYSTEM AND METHOD FOR PREVENTING DEW CONDENSATION USING IoT COMBINED HEATING WIRE | 
| Application Number | Priority Date | Filing Date | Title | 
|---|---|---|---|
| KR1020160151679AKR101857663B1 (en) | 2016-11-15 | 2016-11-15 | SYSTEM AND METHOD FOR PREVENTING DEW CONDENSATION USING IoT COMBINED HEATING WIRE | 
| Publication Number | Publication Date | 
|---|---|
| KR101857663B1true KR101857663B1 (en) | 2018-05-14 | 
| Application Number | Title | Priority Date | Filing Date | 
|---|---|---|---|
| KR1020160151679AActiveKR101857663B1 (en) | 2016-11-15 | 2016-11-15 | SYSTEM AND METHOD FOR PREVENTING DEW CONDENSATION USING IoT COMBINED HEATING WIRE | 
| Country | Link | 
|---|---|
| KR (1) | KR101857663B1 (en) | 
| Publication number | Priority date | Publication date | Assignee | Title | 
|---|---|---|---|---|
| KR20200085013A (en) | 2019-01-04 | 2020-07-14 | (주)플렉시고 | Apparatus for preventing condensation of thermo-hygrostat chamber | 
| WO2021230670A1 (en)* | 2020-05-13 | 2021-11-18 | 에스케이플래닛 주식회사 | Apparatus and system for detecting road surface condition and method for detecting road surface condition by using same | 
| KR102636693B1 (en)* | 2023-09-13 | 2024-02-14 | (주)해솔종합건축사사무소 | inter-layer construction structure for preventing dew condensation and noise between floors in building | 
| KR102636694B1 (en)* | 2023-09-13 | 2024-02-14 | (주)해솔종합건축사사무소 | inter-layer construction method for preventing dew condensation and noise between floors in building | 
| Publication number | Priority date | Publication date | Assignee | Title | 
|---|---|---|---|---|
| KR20200085013A (en) | 2019-01-04 | 2020-07-14 | (주)플렉시고 | Apparatus for preventing condensation of thermo-hygrostat chamber | 
| WO2021230670A1 (en)* | 2020-05-13 | 2021-11-18 | 에스케이플래닛 주식회사 | Apparatus and system for detecting road surface condition and method for detecting road surface condition by using same | 
| US12300101B2 (en) | 2020-05-13 | 2025-05-13 | Sk Planet Co., Ltd. | Apparatus and system for detecting road surface condition and method for detecting road surface condition by using same | 
| KR102636693B1 (en)* | 2023-09-13 | 2024-02-14 | (주)해솔종합건축사사무소 | inter-layer construction structure for preventing dew condensation and noise between floors in building | 
| KR102636694B1 (en)* | 2023-09-13 | 2024-02-14 | (주)해솔종합건축사사무소 | inter-layer construction method for preventing dew condensation and noise between floors in building | 
| Publication | Publication Date | Title | 
|---|---|---|
| KR101857663B1 (en) | SYSTEM AND METHOD FOR PREVENTING DEW CONDENSATION USING IoT COMBINED HEATING WIRE | |
| US10823432B2 (en) | Electric heating systems and method of use thereof | |
| US11629884B2 (en) | Tank-based and tankless water heater systems | |
| US8141791B2 (en) | Energy management improvement for a heating system with reduced setpoint temperature during no occupancy based upon historical sampling of room thermal response with highest power heat applied | |
| JP5471763B2 (en) | AIR CONDITIONER, DEVICE SYSTEM, INFORMATION MANAGEMENT SYSTEM, AND AIR CONDITIONER CONTROL METHOD | |
| US5395042A (en) | Apparatus and method for automatic climate control | |
| JP5621888B2 (en) | Equipment system | |
| KR102345141B1 (en) | Metal heater and freeze prevention system using the same | |
| US20120104108A1 (en) | Fan control device for a heating or cooling system | |
| KR200480988Y1 (en) | Apparatus for monitoring operation state of heat wire | |
| EP3765797B1 (en) | Condensation reduction in water heaters | |
| EP3656186B1 (en) | Temperature control element for anti-icing that matches heat loss characteristics of item being controlled | |
| KR20180041836A (en) | IoT COMBINED HEATING WIRE CONTROL SYSTEM AND METHOD THEREOF | |
| WO2018033983A1 (en) | Electric device, power consumption reduction system, communication adapter, and power consumption reduction method | |
| KR100876374B1 (en) | Heating cable controller for boiler or water heater | |
| CA2803308A1 (en) | Method and device for energy control | |
| JP2019196885A (en) | Control device, air conditioner, air conditioning system, air conditioner control method, and program | |
| KR101516747B1 (en) | Apparatus and method for controlling heat wire | |
| JPH085089A (en) | Floor heating control method | |
| KR200300072Y1 (en) | a heating apparatus | |
| KR200434532Y1 (en) | Heating cable controller for boiler or water heater | |
| JP2000240958A (en) | Heat storage floor heater | |
| KR20010035395A (en) | System for remote controlling Storage Heater and Method thereof | 
| Date | Code | Title | Description | 
|---|---|---|---|
| PA0109 | Patent application | Patent event code:PA01091R01D Comment text:Patent Application Patent event date:20161115 | |
| PA0201 | Request for examination | ||
| PE0902 | Notice of grounds for rejection | Comment text:Notification of reason for refusal Patent event date:20170811 Patent event code:PE09021S01D | |
| E701 | Decision to grant or registration of patent right | ||
| PE0701 | Decision of registration | Patent event code:PE07011S01D Comment text:Decision to Grant Registration Patent event date:20180426 | |
| GRNT | Written decision to grant | ||
| PR0701 | Registration of establishment | Comment text:Registration of Establishment Patent event date:20180508 Patent event code:PR07011E01D | |
| PR1002 | Payment of registration fee | Payment date:20180508 End annual number:3 Start annual number:1 | |
| PG1601 | Publication of registration | ||
| PR1001 | Payment of annual fee | Payment date:20210223 Start annual number:4 End annual number:4 | |
| PR1001 | Payment of annual fee | Payment date:20230209 Start annual number:6 End annual number:6 | |
| PR1001 | Payment of annual fee | Payment date:20240415 Start annual number:7 End annual number:7 | |
| PR1001 | Payment of annual fee | Payment date:20250508 Start annual number:8 End annual number:8 |