








































본 발명은 디스플레이 장치에 관한 것으로서, 보다 상세하게는 복수개의 어플리케이션을 처리하는 디스플레이 장치 및 그 제어 방법에 관한 것이다. 상기 디스플레이 장치는, 예를 들어 네트워크 TV, 스마트 TV, HBBTV(Hybrid Brodacast Broadband Television), 인터넷 TV, 웹 TV, IPTV(Internet Protocol Television) 등에 해당한다.The present invention relates to a display device, and more particularly, to a display device that processes a plurality of applications and a control method thereof. The display device corresponds to, for example, a network TV, a smart TV, a Hybrid Brodacast Broadband Television (HBBTV), an Internet TV, a Web TV, an IPTV (Internet Protocol Television)
디스플레이 장치(display apparatus)는, 예컨대 사용자가 시청할 수 있는 방송 영상을 수신하여 처리하는 기능을 갖춘 디바이스이다. 또한, 최근에 있어서 한국을 포함한 전 세계적으로 아날로그 방송에서 디지털 방송으로 전환되고 있는 추세이다.A display apparatus is, for example, a device having a function of receiving and processing a broadcast image that can be viewed by a user. Also, recently, analog broadcasting is being converted to digital broadcasting all over the world including Korea.
디지털 방송은 디지털 영상 및 음성 신호를 송출하는 방송을 의미한다. 디지털 방송은 아날로그 방송에 비해, 외부 잡음에 강해 데이터 손실이 작으며, 에러 정정에 유리하며, 해상도가 높고, 선명한 화면을 제공한다. 또한, 디지털 방송은 아날로그 방송과 달리 양방향 서비스가 가능하다. 한편, 최근 들어, 영상표시기기의 기능 및 멀티미디어기기의 기능을 결합시킨 스마트 TV(Smart TV)가 논의되고 있다.Digital broadcasting refers to broadcasting in which digital video and audio signals are transmitted. Compared to analog broadcasting, digital broadcasting is strong against external noise and has a small data loss, is advantageous for error correction, has a high resolution, and provides a clear screen. Also, unlike analog broadcasting, digital broadcasting is capable of bidirectional service. Meanwhile, in recent years, a smart TV (Smart TV) combining a function of a video display device and a function of a multimedia device has been discussed.
그러나, 종래 기술에 의하면, 여러가지 종류의 어플리케이션을 관리 및 편집하기 어려운 문제점이 있었다. 특히, 상기 디스플레이 장치의 CPU, 메모리 등의 성능 개선으로 인하여, 향후 더 많은 어플리케이션이 메모리에 저장될 것으로 예상된다. 따라서, 전술한 문제점은 더 심각할 수 밖에 없다.However, according to the related art, it is difficult to manage and edit various kinds of applications. In particular, it is expected that more applications will be stored in the memory in the future due to the performance improvement of the CPU, memory, etc. of the display device. Therefore, the above-described problem is more serious.
본 발명의 일실시예는, 디스플레이 장치의 메모리에 저장된 어플리케이션을 신속하게 관리하고 또한 용이하게 편집할 수 있는 솔루션을 제공하고자 한다.One embodiment of the present invention seeks to provide a solution that can quickly manage and easily edit applications stored in the memory of a display device.
또한, 본 발명의 다른 일실시예는, 어플리케이션의 타입에 따라 달라지는 유저 인터페이스를 제공하고자 한다.In addition, another embodiment of the present invention provides a user interface that varies depending on the type of application.
그리고, 본 발명의 또 다른 일실시예는, 리모트 컨트롤러(remote controller)의 종류에 따른 어플리케이션 편집 가이드 OSD (On Screen Display)를 복수개로 설계하고자 한다.In another embodiment of the present invention, a plurality of application editing guides OSD (On Screen Display) according to the type of a remote controller are designed.
본 발명의 일실시예에 의한 복수개의 어플리케이션을 처리하는 디스플레이 장치의 제어 방법은, 방송국으로부터 방송 프로그램을 수신하는 단계(상기 방송 프로그램은 오디오 데이터 및 비디오 데이터를 포함)와, 상기 수신된 오디오 데이터 및 비디오 데이터를 디멀티플렉싱 하는 단계와, 복수개의 어플리케이션들에 대한 리스트를 요청하는 제1커맨드를 수신하는 단계와, 편집 가능한 제1어플리케이션 그룹과 편집 불가능한 제2어플리케이션 그룹을 저장하고 있는 메모리에 액세스 하는 단계와, 상기 복수개의 어플리케이션들에 대한 리스트를 표시하는 그래픽 데이터를 생성하는 단계(상기 제1어플리케이션 그룹에 속하는 어플리케이션을 표시하는 그래픽 데이터와 상기 제2어플리케이션 그룹에 속하는 어플리케이션을 표시하는 그래픽 데이터가 다름)와, 상기 방송 프로그램의 비디오 데이터 및 상기 생성된 그래픽 데이터를 믹싱하는 단계와, 그리고 상기 비디오 데이터를 제1영역에 디스플레이 하고, 상기 그래픽 데이터를 제2영역에 디스플레이 하는 단계(상기 제1영역은 상기 제2영역을 포함)를 포함한다.A method of controlling a display device for processing a plurality of applications according to an embodiment of the present invention includes: receiving a broadcast program from a broadcast station, the broadcast program including audio data and video data; Demultiplexing video data, receiving a first command requesting a list of a plurality of applications, accessing a memory storing a first editable application group and a second editable application group And generating graphic data for displaying a list of the plurality of applications (graphic data indicating an application belonging to the first application group and graphic data indicating an application belonging to the second application group Mixing video data of the broadcast program and the generated graphic data, displaying the video data in a first area, and displaying the graphic data in a second area, wherein the first area Includes the second area).
그리고, 본 발명의 일실시예에 의한 복수개의 어플리케이션을 처리하는 디스플레이 장치는, 방송국으로부터 방송 프로그램을 수신하는 튜너(상기 방송 프로그램은 오디오 데이터 및 비디오 데이터를 포함)와, 상기 수신된 오디오 데이터 및 비디오 데이터를 디멀티플렉싱 하는 디멀티플렉서와, 편집 가능한 제1어플리케이션 그룹과 편집 불가능한 제2어플리케이션 그룹을 저장하고 있는 메모리와, 상기 메모리에 저장된 복수개의 어플리케이션들에 대한 리스트를 요청하는 커맨드를 수신하는 유저 인터페이스와, 상기 복수개의 어플리케이션들에 대한 리스트를 표시하는 그래픽 데이터를 생성하는 OSD 제너레이터와, 상기 방송 프로그램의 비디오 데이터 및 상기 OSD 제너레이터에 의해 생성된 그래픽 데이터를 믹싱하는 믹서와, 그리고 상기 믹싱된 비디오 데이터 및 그래픽 데이터를, 디스플레이 모듈을 통해 출력되도록 제어하는 컨트롤러를 포함한다.A display device for processing a plurality of applications according to an embodiment of the present invention includes a tuner for receiving a broadcast program from a broadcast station (the broadcast program includes audio data and video data) A memory for storing a first editable application group and a second editable application group; a user interface for receiving a command for requesting a list of a plurality of applications stored in the memory; a demultiplexer for demultiplexing data; An OSD generator for generating graphic data for displaying a list of the plurality of applications, a mixer for mixing the video data of the broadcast program and the graphic data generated by the OSD generator, And a controller for controlling the erroneous data and the graphic data to be outputted through the display module.
본 발명의 일실시예에 의하면, 디스플레이 장치의 메모리에 저장된 어플리케이션을 신속하게 관리하고 또한 용이하게 편집할 수 있는 솔루션을 제공한다. 예를 들어, 시스템 어플리케이션, 프리미엄 어플리케이션, 다운로드된 어플리케이션을 그룹별로 편집할 수가 있다.According to an embodiment of the present invention, there is provided a solution for quickly managing and easily editing an application stored in a memory of a display device. For example, system applications, premium applications, and downloaded applications can be edited in groups.
또한, 본 발명의 다른 일실시예에 의하면, 어플리케이션의 타입에 따라 달라지는 유저 인터페이스를 제공하는 효과가 있다.In addition, according to another embodiment of the present invention, there is an effect of providing a user interface that varies depending on the type of application.
그리고, 본 발명의 또 다른 일실시예에 의하면, 리모트 컨트롤러(remote controller)의 종류에 따른 어플리케이션 편집 가이드 OSD (On Screen Display)를 복수개로 설계한다. 상기 리모트 컨트롤러는, 예를 들어 RF 신호를 처리하는 디바이스, IR 신호를 처리하는 디바이스 또는 RF 신호 및 IR 신호를 모두 처리하는 디바이스에 해당한다.According to another embodiment of the present invention, a plurality of application editing guides OSD (On Screen Display) according to the type of a remote controller are designed. The remote controller corresponds to, for example, a device for processing an RF signal, a device for processing an IR signal, or a device for processing both an RF signal and an IR signal.
보다 구체적인 발명의 효과에 대해서는, 이하 목차에서 상세히 후술하도록 하겠다.The effects of the more specific invention will be described later in detail in the following table.
도 1은 본 발명의 일실시예에 의한 디스플레이 장치를 포함하는 전체 시스템을 도시한 도면이다.
도 2는 도 1에 도시된 컨트롤러를 보다 상세히 도시한 블록도이다.
도 3은 본 발명의 일실시예에 따라, 적어도 하나 이상의 어플리케이션을 그룹별로 저장하고 있는 메모리를 설명하기 위한 도면이다.
도 4는 본 발명의 일실시예에 의한 어플리케이션 브라우져를 실행하기 전 스크린을 도시한 도면이다.
도 5는 본 발명의 일실시예에 의한 어플리케이션 브라우져를 실행한 후 스크린을 도시한 도면이다.
도 6은 본 발명의 일실시예에 의한 디스플레이 장치를 컨트롤 하는 리모트 컨트롤러의 외관을 도시한 도면이다.
도 7는 도 6에 도시된 리모트 컨트롤러의 내부 구성요소들을 도시한 블록도이다.
도 8은 본 발명의 일실시예에 의한 어플리케이션 브라우져의 상태가 변경되는 프로세스의 일예를 도시한 도면이다.
도 9는 본 발명의 일실시예에 의한 어플리케이션 브라우져의 상태가 변경되는 프로세스의 다른 일예를 도시한 도면이다.
도 10a 내지 도 10c는 본 발명의 일실시예에 의한 어플리케이션 브라우져의 제1모드에서, 어플리케이션의 위치를 편집하는 프로세스를 도시한 도면이다.
도 11은 본 발명의 일실시예에 의한 어플리케이션 브라우져의 제2모드를 상세히 도시한 도면이다.
도 12a 내지 도 12c는 본 발명의 일실시예에 의한 어플리케이션 브라우져의 제2모드에서, 어플리케이션의 위치를 편집하는 프로세스를 도시한 도면이다.
도 13a 내지 도 13c는 본 발명의 일실시예에 의한 어플리케이션 브라우져의 제2모드에서, 편집 가능한 어플리케이션을 삭제하는 프로세스를 도시한 도면이다.
도 14a 및 도 14b는 본 발명의 일실시예에 의한 어플리케이션 브라우져의 제2모드에서, 편집 불가능한 어플리케이션 그룹들 중 제1그룹을 설명하기 위한 도면이다.
도 15a 및 도 15b는 본 발명의 일실시예에 의한 어플리케이션 브라우져의 제2모드에서, 편집 불가능한 어플리케이션 그룹들 중 제2그룹을 설명하기 위한 도면이다.
도 16a 내지 도 16d는 본 발명의 일실시예에 의한 어플리케이션 브라우져에서, 삭제된 어플리케이션을 복원하는 프로세스를 도시한 도면이다.
도 17a 및 도 17b는 본 발명의 일실시예에 의한 어플리케이션 브라우져가 제공하는 검색 기능을 설명하기 위한 도면이다.
도 18은 본 발명의 일실시예에 따라, 기저장된 어플리케이션의 메타데이터를 저장하고 있는 메모리를 설명하기 위한 도면이다.
도 19a 및 도 19b는 본 발명의 일실시예에 의한 어플리케이션 브라우져가 제공하는 카테고리별 필터링 기능을 설명하기 위한 도면이다.
도 20a 및 도 20b는 IR 신호를 송출하는 리모트 컨트롤러를 이용하여, 본 발명의 일실시예에 의한 어플리케이션 브라우져를 컨트롤 하는 프로세스를 도시한 도면이다.
도 21a 내지 도 21c는 IR 신호를 송출하는 리모트 컨트롤러를 이용하여, 본 발명의 일실시예에 의한 어플리케이션 브라우져의 어플리케이션을 편집하는 프로세스를 도시한 도면이다.
도 22 내지 도 24는 본 발명의 일실시예에 의한 어플리케이션 브라우져로부터 이전 화면으로 복귀하는 프로세스를 도시한 도면이다.
그리고, 도 25는 본 발명의 일실시예에 의한 디스플레이 장치가 어플리케이션 브라우져를 제어하는 방법을 도시한 플로우 차트이다.1 is a diagram illustrating an entire system including a display device according to an embodiment of the present invention.
 FIG. 2 is a block diagram showing the controller shown in FIG. 1 in more detail.
 FIG. 3 is a diagram illustrating a memory storing at least one or more applications in groups according to an embodiment of the present invention. Referring to FIG.
 4 is a diagram illustrating a screen before executing an application browser according to an embodiment of the present invention.
 5 is a diagram illustrating a screen after executing an application browser according to an exemplary embodiment of the present invention.
 FIG. 6 is a diagram showing an outer appearance of a remote controller for controlling a display device according to an embodiment of the present invention.
 7 is a block diagram illustrating the internal components of the remote controller shown in FIG.
 8 is a diagram illustrating an example of a process of changing the state of an application browser according to an embodiment of the present invention.
 9 is a diagram illustrating another example of a process of changing the state of an application browser according to an embodiment of the present invention.
 10A to 10C are diagrams illustrating a process of editing an application location in a first mode of an application browser according to an embodiment of the present invention.
 11 is a detailed view illustrating a second mode of an application browser according to an embodiment of the present invention.
 12A to 12C are diagrams illustrating a process of editing the position of an application in a second mode of an application browser according to an embodiment of the present invention.
 13A to 13C are diagrams illustrating a process of deleting an editable application in a second mode of an application browser according to an embodiment of the present invention.
 14A and 14B illustrate a first group of uneditable application groups in a second mode of the application browser according to an exemplary embodiment of the present invention.
 15A and 15B illustrate a second group of uneditable application groups in a second mode of the application browser according to an embodiment of the present invention.
 16A to 16D are diagrams illustrating a process of restoring a deleted application in an application browser according to an embodiment of the present invention.
 17A and 17B are views for explaining a search function provided by an application browser according to an embodiment of the present invention.
 18 is a view for explaining a memory storing metadata of a previously stored application according to an embodiment of the present invention.
 FIGS. 19A and 19B are diagrams for explaining a category-specific filtering function provided by an application browser according to an embodiment of the present invention.
 20A and 20B are views showing a process of controlling an application browser according to an embodiment of the present invention by using a remote controller that transmits an IR signal.
 21A to 21C are diagrams illustrating a process of editing an application of an application browser according to an embodiment of the present invention using a remote controller that transmits an IR signal.
 22 to 24 illustrate a process of returning to a previous screen from an application browser according to an embodiment of the present invention.
 25 is a flowchart illustrating a method of controlling an application browser by a display apparatus according to an embodiment of the present invention.
이하에서는 도면을 참조하여 본 발명을 더욱 상세하게 설명한다.Hereinafter, the present invention will be described in more detail with reference to the drawings.
이하의 설명에서 사용되는 구성요소에 대한 접미사 "모듈" 및 "부"는 단순히 본 명세서 작성의 용이함을 고려하여 부여되는 것으로서, 상기 "모듈" 및 "부"는 서로 혼용되어 사용될 수도 있다.The suffix "module" and " part "for components used in the following description are given merely for ease of description, and the" module "and" part "
한편, 본 명세서에서 기술되는 디스플레이 장치는, 예컨대 방송 수신 기능에 컴퓨터 지원 기능을 추가한 지능형 네트워크 TV로서, 방송 수신 기능에 충실하면서도 인터넷 기능 등이 추가되어, 수기 방식의 입력 장치, 터치 스크린 또는 공간 리모콘 등보다 사용에 편리한 인터페이스를 갖출 수 있다. 그리고 유선 또는 무선 인터넷 기능의 지원으로 인터넷 및 컴퓨터에 접속되어, 이메일, 웹브라우징, 뱅킹 또는 게임 등의 기능도 수행가능하다. 이러한 다양한 기능을 위해 표준화된 범용 OS가 사용될 수 있다.Meanwhile, the display device described in this specification is an intelligent network TV that adds a computer support function to a broadcast receiving function, for example, and is equipped with an Internet function while being faithful to a broadcast receiving function, A remote controller and the like can be provided. With the support of wired or wireless internet function, it can be connected to internet and computer and can perform functions such as e-mail, web browsing, banking or game. A standardized general-purpose OS can be used for these various functions.
나아가, 본 발명에서 기술되는 디스플레이 장치는, 예를 들어 범용의 OS 커널 상에, 다양한 애플리케이션이 자유롭게 추가되거나 삭제 가능하므로, 사용자 친화적인 다양한 기능이 수행될 수 있다.Furthermore, since various applications can be freely added or deleted on a general-purpose OS kernel, for example, the display device described in the present invention can perform various user-friendly functions.
더욱이, 이하 첨부 도면들 및 첨부 도면들에 기재된 내용들을 참조하여 본 발명의 실시 예를 상세하게 설명하지만, 본 발명이 실시 예들에 의해 제한되거나 한정되는 것은 아니다.Furthermore, the embodiments of the present invention will be described in detail below with reference to the accompanying drawings and the accompanying drawings, but the present invention is not limited to or limited by the embodiments.
본 명세서에서 사용되는 용어는 본 발명에서의 기능을 고려하면서 가능한 현재 널리 사용되는 일반적인 용어를 선택하였으나, 이는 당 분야에 종사하는 기술자의 의도 또는 관례 또는 새로운 기술의 출현 등에 따라 달라질 수 있다. 또한, 특정한 경우는 출원인이 임의로 선정한 용어도 있으며, 이 경우 해당되는 발명의 설명 부분에서 그 의미를 기재할 것이다. 따라서 본 명세서에서 사용되는 용어는, 단순한 용어의 명칭이 아닌 그 용어가 가지는 실질적인 의미와 본 명세서의 전반에 걸친 내용을 토대로 해석되어야 함을 밝혀두고자 한다.As used herein, terms used in the present invention are selected from general terms that are widely used in the present invention while taking into account the functions of the present invention, but these may vary depending on the intention or custom of a person skilled in the art or the emergence of new technologies. In addition, in certain cases, there may be a term arbitrarily selected by the applicant, in which case the meaning thereof will be described in the description of the corresponding invention. Therefore, it is intended that the terminology used herein should be interpreted based on the meaning of the term rather than on the name of the term, and on the entire contents of the specification.
도 1은 본 발명의 일실시예에 의한 디스플레이 장치를 포함하는 전체 시스템을 도시한 도면이다. 이하, 도 1을 참조하여, 본 발명의 일실시예에 의한 디스플레이 장치를 포함하는 전체 시스템을 설명하면 다음과 같다.1 is a diagram illustrating an entire system including a display device according to an embodiment of the present invention. Hereinafter, an overall system including a display device according to an embodiment of the present invention will be described with reference to FIG.
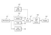
도 1에 도시된 바와 같이, 본 발명의 일실시예에 의한 디스플레이 장치(100)는, 튜너(110), 디모듈레이터(120), 네트워크 인터페이스(130), 외부 디바이스 인터페이스(140), 메모리(150), 컨트롤러(160), 유저 인터페이스(170), 디스플레이 모듈(180), 그리고 스피커(190) 등을 포함한다.  다만, 도 1에 도시된 모듈들은 일실시예이며, 당업자의 필요에 따라 일부 모듈을 추가하거나 삭제하는 것이 가능하다.  따라서, 본 발명의 권리범위는 원칙적으로 특허청구범위에 의해 정해져야 한다.1, a
상기 튜너(110)는, 예를 들어 안테나를 통해 수신되는 RF(Radio Frequency) 방송 신호 중 사용자에 의해 선택된 채널 또는 기저장된 모든 채널에 해당하는 RF 방송 신호를 선택한다.  상기 디모듈레이터(120)는, 상기 튜너(110)에서 변환된 디지털 IF 신호(DIF)를 수신하여 복조 동작을 수행한다.The
상기 디모듈레이터(120)는, 채널 복호화를 수행한 후 TS(Transport Stream) 신호)를 출력한다.  이때, 상기 TS 신호는 영상 신호, 음성 신호 또는 데이터 신호가 다중화된 신호일 수 있다.  일례로, 스트림 신호는 MPEG-2 규격의 영상 신호, 돌비(Dolby) AC-3 규격의 음성 신호 등이 다중화된 MPEG-2 TS(Transport Stream)일수 있다.The
상기 디모듈레이터(120)에서 출력한 TS 신호는 상기 컨트롤러(160)로 입력된다.  상기 컨트롤러(160)는, 역다중화, 영상/음성 신호 처리 등을 수행한 후, 상기 디스플레이 모듈(180)로 비디오 데이터를 출력하고, 스피커(190)로 오디오 데이터를 출력한다.The TS signal output from the
상기 외부 디바이스 인터페이스(140)는, 예를 들어 DVD(Digital Versatile Disk) 플레이어, BD(블루레이 디스크) 플레이어, 게임기기, 카메라, 캠코더, 컴퓨터(노트북) 등과 같은 외부 장치와 유/무선으로 접속한다.  나아가, 인접하는 외부 장치 내의 애플리케이션 또는 애플리케이션 목록을 수신하여, 상기 컨트롤러(160) 또는 상기 메모리(150)로 전달한다.The
상기 네트워크 인터페이스(130)는, 유선 네트워크와의 접속을 위해, 예를 들어 이더넷(Ethernet) 단자 등을 구비할 수 있으며, 무선 네트워크와의 접속을 위해, 예를 들어 WLAN(Wireless LAN)(Wi-Fi), Wibro(Wireless broadband), Wimax(World Interoperability for Microwave Access), HSDPA(High Speed Downlink Packet Access) 통신 규격 등이 이용될 수 있다.  또한, 상기 네트워크 인터페이스(130)는, 네트워크를 통해, 공중에 공개(open)된 애플리케이션들 중 원하는 애플리케이션을 선택하여 수신한다.The
상기 메모리(150)는, 상기 컨트롤러(160) 내의 각 신호 처리 및 제어를 위한 프로그램이 저장될 수도 있고, 신호 처리된 영상, 음성 또는 데이터신호를 저장한다.  나아가, 상기 메모리(150)는, 상기 튜너(110), 상기 네트워크 인터페이스(130), 그리고 상기 외부 디바이스 인터페이스(140)로부터 수신한 채널 정보 또는 어플리케이션을 저장한다.The
상기 유저 인터페이스(170)는, 외부에 위치한 리모트 컨트롤러(195)로부터 제어 신호를 수신하거나, 또는 상기 디스플레이 장치(100)에 부착된 로컬 키 버튼으로 설계할 수도 있다.  상기 리모트 컨트롤러(195)에 대해서는, 도 8 및 도 9를 참조하여 상세히 설명하도록 하겠다.The
상기 컨트롤러(160)는, 상기 튜너(110), 상기 디모듈레이터(120), 상기 네트워크 인터페이스(130) 그리고 상기 외부 디바이스 인터페이스(140)를 통해 수신한 데이터를 역다중화하거나, 역다중화된 신호들을 처리하여, 영상 또는 음성 출력을 위한 신호를 생성 및 출력한다.  상기 컨트롤러(160)의 대해서는, 도 2를 참조하여 보다 상세히 설명하도록 하겠다.The
상기 디스플레이 모듈(180)은, 상기 컨트롤러(160)에서 처리된 영상 신호, 데이터 신호, OSD 신호 등을 각각 R, G, B 신호로 변환하여 구동 신호를 생성한다.  상기 디스플레이 모듈(180)은, 예를 들어 PDP, LCD, OLED, 플렉시블 디스플레이(flexible display), 3차원 디스플레이(3D display) 등으로 구현 가능하다.The
상기 스피커(190)는, 상기 컨트롤러(160)에서 처리된 오디오 신호, 예를 들어, 스테레오 신호, 3.1채널 신호 또는 5.1채널 신호를 입력받아 출력하는 모듈에 해당한다.The
도 2는 도 1에 도시된 컨트롤러를 보다 상세히 도시한 블록도이다. 이하, 도 2를 참조하여, 본 발명의 일실시예에 의한 디스플레이 장치내 컨트롤러를 보다 상세히 설명하면 다음과 같다.FIG. 2 is a block diagram showing the controller shown in FIG. 1 in more detail. Hereinafter, a controller in a display device according to an embodiment of the present invention will be described in detail with reference to FIG.
도 2에 도시된 바와 같이, 본 발명의 일실시예에 의한 디스플레이 장치내 컨트롤러는, 디멀티플렉서(161), 영상 처리부(163), OSD 제너레이터(162), 믹서(167), 프레임 레이트 컨버터(168), 포맷터(169), 그리고 오디오 프로세서(166) 등을 포함한다.  다만, 도 2에 도시된 컨트롤러는 본 발명의 설명을 위한 일실시예이며, 원칙적으로 본 발명의 권리범위는 특허청구범위에 의해 정해져야 한다.2, the controller in the display apparatus according to an exemplary embodiment of the present invention includes a demultiplexer 161, an
디멀티플렉서(161)는, 입력되는 데이터(예를 들어, TS)를 역다중화 하고, 영상 처리부(163)는, 역다중화된 영상 신호의 영상 처리를 수행한다.  따라서, 상기 영상 처리부(163)는, 디코더(164) 및 스케일러(165)를 더 포함하고 있다.The demultiplexer 161 demultiplexes the input data (e.g., TS), and the
전술한 디코더(164)는 역다중화된 영상신호를 복호화하며, 스케일러(165)는 복호화된 영상신호의 해상도를 디스플레이 모듈에서 출력 가능하도록 스케일링(scaling)을 수행한다.  한편, 상기 오디오 프로세서(166)는, 역다중화된 오디오 데이터가 스피커를 통해 출력 가능한 형태로 신호 처리한다.The
상기 OSD 제너레이터(162)는, 사용자 입력에 따라 또는 자체적으로 OSD 신호를 생성한다.  예를 들어, 유저 인터페이스로부터의 제어 신호에 기초하여 또는 자동으로, 디스플레이 모듈의 화면에 각종 정보를 그래픽(Graphic)이나 텍스트(Text)로 표시하기 위한 신호를 생성한다.The
믹서(167)는, 상기 OSD 제너레이터(162)에서 생성된 OSD 신호와 영상처리부(163)에서 복호화된 영상 신호를 믹싱한다.  따라서, 방송 데이터 및 각종 OSD 그래픽이 동시에 오버레이된 타입으로 디스플레이 된다.The
상기 프레임 레이트 컨버터(Frame Rate Conveter; FRC)(168)는, 입력되는 영상의 프레임 레이트를 변환할 수 있다. 예를 들어, 60Hz의 프레임 레이트를 120Hz 또는 240Hz로 변환한다. 60Hz의 프레임 레이트를 120Hz로 변환하는 경우, 제1 프레임과 제2 프레임 사이에, 동일한 제1 프레임을 삽입하거나, 제1 프레임과 제2 프레임으로부터 예측된 제3 프레임을 삽입하는 것이 가능하다. 60Hz의 프레임 레이트를 240Hz로 변환하는 경우, 동일한 프레임을 3개 더 삽입하거나, 예측된 프레임을 3개 삽입하는 것이 가능하다. 한편, 별도의 변환 없이 입력되는 프레임 레이트를 유지하는 것도 가능하다.The frame rate converter (FRC) 168 may convert the frame rate of an input image. For example, a frame rate of 60 Hz is converted to 120 Hz or 240 Hz. When converting the frame rate of 60 Hz to 120 Hz, it is possible to insert the same first frame between the first frame and the second frame, or insert the third frame predicted from the first frame and the second frame. When converting a frame rate of 60 Hz to 240 Hz, it is possible to insert three more identical frames or insert three predicted frames. On the other hand, it is also possible to maintain the input frame rate without performing another conversion.
상기 포맷터(169)는, 프레임 레이트 컨버터(168)의 출력 신호를 입력받아, 디스플레이 모듈에서 출력 가능한 포맷으로 변경한다.  예를 들어, R, G, B 데이터 신호를 출력할 수 있으며, 이러한 R, G, B 데이터 신호는, 낮은 전압 차분 신호(Low voltage differential signaling, LVDS) 또는 mini-LVDS로 출력될 수 있다.The
도 1 및 도 2를 모두 참조하여, 본 발명의 일실시예에 의한 디스플레이 장치가 어플리케이션 브라우져(Application Browser) 기능을 수행하는 과정을 상세히 설명하면 다음과 같다.Referring to FIGS. 1 and 2, a process of performing an application browser function of a display device according to an embodiment of the present invention will be described in detail.
본 발명의 일실시예에 따라, 복수개의 어플리케이션을 처리하는 디스플레이 장치의 튜너(110)는, 방송국으로부터 방송 프로그램을 수신한다.  상기 방송 프로그램은, 예를 들어 오디오 데이터 및 비디오 데이터를 포함하고 있다.According to an embodiment of the present invention, a
디멀티플렉서(161)은, 상기 수신된 오디오 데이터 및 비디오 데이터를 디멀티플렉싱 한다.  전술하여 설명한 메모리(150)는, 편집 가능한 제1어플리케이션 그룹과 편집 불가능한 제2어플리케이션 그룹을 저장하고 있다.  이에 대해서는, 도 3을 참조하여 보다 상세히 설명하도록 하겠다.The demultiplexer 161 demultiplexes the received audio data and video data. The
유저 인터페이스(170)는, 상기 메모리(150)에 저장된 복수개의 어플리케이션들에 대한 리스트를 요청하는 커맨드를 수신한다.  상기 커맨드는, 예를 들어 어플리케이션 브라우져를 요청하는 최초 명령 신호에 해당하며, 상기 유저 인터페이스(170)는 리모트 컨트롤러(195)와 통신이 이루어 지도록 설계한다.The
전술하여 설명한 OSD 제너레이터(162)는, 상기 복수개의 어플리케이션들에 대한 리스트를 표시하는 그래픽 데이터를 생성한다.The
상기 믹서(167)는, 상기 방송 프로그램의 비디오 데이터 및 상기 OSD 제너레이터(162)에 의해 생성된 그래픽 데이터를 믹싱한다.  그리고, 상기 컨트롤러(160)는 상기 믹싱된 비디오 데이터 및 그래픽 데이터를 디스플레이 모듈(180)을 통해 출력되도록 제어한다.  이하, 도 5 또는 도 11 등을 참조하여 상세히 후술하도록 하겠다.The
본 발명의 다른 일실시예에 의하면, 상기 유저 인터페이스(170)는 에디트 모드를 시작하는 커맨드를 수신한다.  이 때, 상기 컨트롤러(160)는, 선택된 특정 어플리케이션이 상기 제1어플리케이션 그룹 또는 상기 제2어플리케이션 그룹에 속하는지 여부를 판단한다.  나아가, 상기 선택된 특정 어플리케이션이 상기 제1어플리케이션 그룹에 속하는 경우, 상기 컨트롤러(160)는, 상기 특정 어플리케이션에 해당하는 아이콘이 이동할 수 있는 제1영역 또는 삭제될 수 있는 제2영역을, 나머지 영역과 다른 그래픽으로 표시하도록 상기 OSD 제너레이터(162)를 제어한다.  이하, 도 11 내지 도 15를 참조하여 보다 상세히 후술하도록 하겠다.According to another embodiment of the present invention, the
나아가, 본 발명의 또 다른 일실시예에 의하면, 상기 특정 어플리케이션에 해당하는 아이콘이 상기 제2영역에 위치한 경우, 상기 컨트롤러(160)는, 상기 특정 어플리케이션을 상기 메모리(150)에서 제거하고, 그리고 상기 특정 어플리케이션을 다운로드할 수 있는 어드레스 정보를 상기 메모리(150)에 저장하도록 설계한다.  이하, 도 16을 참조하여 보다 상세히 후술하도록 하겠다.In addition, according to another embodiment of the present invention, when the icon corresponding to the specific application is located in the second area, the
그리고, 본 발명의 또 다른 일실시예에 의하면, 상기 유저 인터페이스(170)가, 상기 메모리(150)에 저장된 복수개의 어플리케이션을 타입에 따라 분류하는 커맨드를 수신한 경우, 상기 컨트롤러(160)는, 상기 메모리(150)에 액세스 하여, 각 타입별 어플리케이션을 분류한다.  예를 들어, 상기 어플리케이션은, 타입을 식별하는 메타데이터를 가지고 있다.  또한, 상기 OSD 제너레이터(162)는, 각 타입별로 분류된 어플리케이션에 해당하는 아이콘을 포함하는 그래픽 데이터를 생성하도록 설계한다.  이하, 도 18 및 도 19를 참조하여 보다 상세히 후술하도록 하겠다.According to another embodiment of the present invention, when the
도 3은 본 발명의 일실시예에 따라, 적어도 하나 이상의 어플리케이션을 그룹별로 저장하고 있는 메모리를 설명하기 위한 도면이다. 이하, 도 3을 참조하여, 본 발명의 일실시예에 따라, 적어도 하나 이상의 어플리케이션을 그룹별로 저장하고 있는 메모리를 설명하면 다음과 같다.FIG. 3 is a diagram illustrating a memory storing at least one or more applications in groups according to an embodiment of the present invention. Referring to FIG. Hereinafter, referring to FIG. 3, a memory storing at least one or more applications according to an embodiment of the present invention will be described as follows.
본 발명의 일실시예에 의하면, 디스플레이 장치의 메모리에 저장된 수많은 어플리케이션들을 사용자가 용이하게 확인 및 편집할 수 있도록, 2가지 그룹으로 어플리케이션들을 분류하였다.According to an embodiment of the present invention, applications are classified into two groups so that a user can easily check and edit a large number of applications stored in a memory of a display device.
제1그룹은, 편집이 불가능한 어플리케이션들이 속해 있으며, 제2그룹은 편집이 가능한 어플리케이션들이 속해 있도록 설계한다. 도 3에 도시된 다운로드된(downloaded) 어플리케이션들이 전술한 제2그룹에 속한다. 편집이 가능한 어플리케이션은, 예를 들어 리스트에서 어플리케이션의 위치를 이동시키는 동작 및 어플리케이션을 삭제하는 동작이 모두 자유로운 어플리케이션을 정의한다.The first group designates applications that can not be edited, and the second group designates applications that can be edited. The downloaded applications shown in FIG. 3 belong to the second group described above. The editable application defines, for example, an application free to move the position of the application in the list and delete the application.
도 3에 도시된 시스템 어플리케이션들은 전술한 제1그룹에 속한다. 편집이 불가능한 어플리케이션은, 예를 들어 리스트에서 어플리케이션의 위치를 이동시키는 동작 및 어플리케이션을 삭제하는 동작이 모두 불가능한 어플리케이션을 정의한다.The system applications shown in Fig. 3 belong to the above-mentioned first group. An application that can not be edited defines, for example, an application in which an operation of moving the position of an application in a list and an operation of deleting an application are both impossible.
상기 시스템 어플리케이션의 보다 구체적인 예를 들면, 도 3에 도시된 바와 같이 "홈 어플리케이션, "넘버 어플리케이션", "리센트(recent) 어플리케이션", "DVR 어플리케이션", "웹 브라우져 어플리케이션" 등이 존재한다. 전술한 어플리케이션들은, TV의 생산 단계에서 저장되어 있는 데이터 이다. 전술한 어플리케이션을 삭제하는 경우, TV의 기본 기능에 문제를 야기할 수 있으므로, 삭제 및 편집 등이 불가능하도록 셋팅하는 것도 본 발명의 권리범위에 속한다.More specifically, as shown in FIG. 3, there are a home application, a number application, a recent application, a DVR application, a web browser application, and the like. The above-described applications are data stored in the production stage of the TV. When the above-mentioned application is deleted, it may cause a problem with the basic function of the TV, It belongs to the scope.
반면, 다운로드된 어플리케이션들은, TV를 구매한 사용자가 직접 인터넷 웹사이트에 접속하여 저장하는 어플리케이션을 의미한다.On the other hand, downloaded applications refer to an application in which a user who purchases a TV accesses directly to an Internet web site.
한편, 프리미엄 어플리케이션은 전술한 제1그룹 또는 제2그룹에 속하는 것으로 설정할 수도 있고, 또는 별도의 제3그룹에 속하는 것으로 정의할 수도 있다. 즉, 상기 프리미엄 어플리케이션은, 예를 들어 리스트 상에서 위치의 이동은 가능하나 삭제가 불가능한 어플리케이션을 의미한다.On the other hand, the premium application may be defined as belonging to the first group or the second group described above, or may be defined as belonging to a separate third group. That is, the premium application refers to an application which can move the position on the list but can not be deleted, for example.
또한, 전술한 다운로드 어플리케이션, 프리미엄 어플리케이션, 그리고 시스템 어플리케이션을 각각 구별하기 위하여, 해당 아이콘들의 칼라, 톤(tone) 등을 다르게 설정하여 디스플레이 하는 것도 본 발명의 권리범위에 속한다. 이와 같이 설계하는 경우, 사용자는 이동/삭제가 모두 가능한 어플리케이션 그룹과, 이동만 가능한 어플리케이션 그룹과, 그리고 이동/삭제가 모두 불가능한 어플리케이션 그룹을 용이하게 구별할 수 있는 장점이 있다.It is also within the scope of the present invention to separately set the colors, tones, and the like of the icons to distinguish the download application, the premium application, and the system application. In the case of such a design, the user can easily distinguish between an application group capable of both moving and deleting, an application group capable of moving only, and an application group capable of both moving and deleting.
도 4는 본 발명의 일실시예에 의한 어플리케이션 브라우져를 실행하기 전 스크린을 도시한 도면이다. 이하, 도 4를 참조하여, 본 발명의 일실시예에 의한 어플리케이션 브라우져를 실행하기 전 스크린을 설명하면 다음과 같다.4 is a diagram illustrating a screen before executing an application browser according to an embodiment of the present invention. Hereinafter, with reference to FIG. 4, a screen prior to execution of the application browser according to an embodiment of the present invention will be described.
도 4에 도시된 바와 같이, 본 발명의 일실시예에 의한 디스플레이 장치(400)는 일반 방송 화면(410)을 출력하고 있다.  이 때, 리모트 컨트롤러(420)의 움직임에 따라 위치가 변화하는 인디케이터(411)를 이용하여, 어플리케이션 브라우져가 실행되도록 설계할 수도 있다.  물론, 상기 리모트 컨트롤러(420)의 특정 키 버튼(예를 들어, 핫키 또는 확인키)을 누른 경우에도, 도 5에 도시된 어플리케이션 브라우져가 실행된다.  상기 리모트 컨트롤러(420)에 대해서는, 도 6 및 도 7을 참조하여 보다 상세히 후술하도록 하겠다.As shown in FIG. 4, the
도 5는 본 발명의 일실시예에 의한 어플리케이션 브라우져를 실행한 후 스크린을 도시한 도면이다. 이하, 도 5를 참조하여, 본 발명의 일실시예에 의한 어플리케이션 브라우져를 설명하면 다음과 같다.5 is a diagram illustrating a screen after executing an application browser according to an exemplary embodiment of the present invention. Hereinafter, an application browser according to an embodiment of the present invention will be described with reference to FIG.
도 4에서 설명한 실시예 또는 다른 방법을 통해 어플리케이션 브라우져를 실행하는 명령이 수신된 경우, 도 5에 도시된 바와 같이 본 발명의 일실시예에 의한 디스플레이 장치(500)는 2가지 분할된 영역을 디스플레이 한다.  본 발명의 일실시예에 의하면, 어플리케이션 브라우져 기능을 새롭게 정의한다.  상기 어플리케이션 브라우져 기능은, 예를 들어 메모리에 저장된 어플리케이션 각각에 해당하는 그래픽 데이터를 리스팅 하는 옵션이다.  특히, 이하에서 후술할 어플리케이션 브라우져는, 편집 및 액세스 면에서 탁월한 장점이 있다.5, when a command to execute an application browser is received through the embodiment described in FIG. 4 or another method, the
상기 디스플레이 장치(500)는 제1영역(510)에 현재 튜닝중인 채널의 방송 데이터를 유지한다.  반면, 제2영역(520)에서는, 메모리에 저장된 어플리케이션들 각각에 해당하는 그래픽 데이터들 또는 아이콘들(521, 522, 523, 524, 525)이 출력된다.  또한, 상기 제2영역(520)에 리스팅된 5개의 어플리케이션 이외에 더 많은 어플리케이션이 존재함을 암시하기 위한 그래픽 데이터(526)를 추가하는 것도 본 발명의 권리범위에 속한다.The
나아가, 도 3에서 전술하여 설명한 바와 같이, 시스템 어플리케이션(521, 522, 523)과 다운로드된 어플리케이션들(524, 525)을 구별하여 표시한다.  따라서, 사용자는 시스템 어플리케이션을 편집하려는 시도를 하지 않게 되는 장점이 있다.Further, as described above in FIG. 3,
또한, 전술한 제2영역(520)에 리스팅된 어플리케이션을 선택 또는 편집하기 위하여, 리모트 컨트롤러(530)가 사용된다.  상기 리모트 컨트롤러(530)의 움직임에 따라, 대응하는 인디케이터(531)도 움직이도록 설계한다.  이에 대해서는, 도 6 및 도 7을 참조하여 상세히 후술하겠다.In addition, a
도 6은 본 발명의 일실시예에 의한 디스플레이 장치를 컨트롤 하는 리모트 컨트롤러의 외관을 도시한 도면이다. 이하, 도 6을 참조하여, 본 발명의 일실시예에 의한 디스플레이 장치를 컨트롤 하는 리모트 컨트롤러의 모션에 대하여 설명하면 다음과 같다.FIG. 6 is a diagram showing an outer appearance of a remote controller for controlling a display device according to an embodiment of the present invention. Hereinafter, the motion of the remote controller for controlling the display device according to the embodiment of the present invention will be described with reference to FIG.
우선, 도 6의 (a)에 도시된 바와 같이, 디스플레이 장치(600)에 리모트 컨트롤러(610)에 대응하는 포인터(611)가 표시되는 것을 예시한다.  나아가, 상기 디스플레이 장치(600)는, 예를 들어 도 1 및 도 2에 도시된 구성모듈들로 설계되어 있다.First, as shown in FIG. 6A, it is exemplified that a
사용자는 리모트 컨트롤러(610)를 상하, 좌우(도 6의 (b)), 앞뒤(도 6의 (c))로 움직이거나 회전할 수 있다.  디스플레이 장치(600)에 표시된 포인터(611)는 리모트 컨트롤러(610)의 움직임에 대응한다.  이러한 리모트 컨트롤러(610)는, 도면과 같이, 3D 공간상의 움직임에 따라 해당 포인터(611)가 이동되어 표시되므로, 모션 리모콘 또는 공간 리모컨이라 명명할 수 있다.The user can move or rotate the
도 6의 (b)는 리모트 컨트롤러(610)를 왼쪽으로 이동하면, 디스플레이 장치(600)에 표시된 포인터(611)도 이에 대응하여 왼쪽으로 이동하는 것을 예시한다.6B illustrates that when the
리모트 컨트롤러(610)의 센서를 통하여 감지된 리모트 컨트롤러(610)의 움직임에 관한 정보는 디스플레이 장치(600)로 전송된다.  상기 디스플레이 장치(600)는, 리모트 컨트롤러(610)의 움직임에 관한 정보로부터 포인터(611)의 좌표를 산출할 수 있다.  상기 디스플레이 장치(600)는, 산출한 좌표에 대응하도록 포인터(896)를 표시한다.  상기 포인터(611)의 그래픽 데이터는, 예를 들어 화살표 모양으로 설계될 수도 있고, 또는 십자가 모양으로 설계될 수도 있다.Information on the movement of the
도 6의 (c)는, 리모트 컨트롤러(610) 내의 특정 버튼을 누른 상태에서, 사용자가 리모트 컨트롤러(610)를 디스플레이 장치(600)에서 멀어지도록 이동하는 경우를 예시한다.  이에 의해, 포인터(611)에 대응하는 디스플레이 장치(600) 내의 선택 영역이 줌인 되어 확대 표시될 수 있다.  이와 반대로, 사용자가 리모트 컨트롤러(610)를 디스플레이 장치(600)에 가까워지도록 이동하는 경우, 포인터(611)에 대응하는 디스플레이 장치(600)내의 선택 영역이 줌아웃 되어 축소 표시될 수 있다.6C illustrates a case where the user moves the
도 7은 도 6에 도시된 리모트 컨트롤러의 내부 구성요소들을 도시한 블록도이다. 이하, 도 7을 참조하여, 본 발명의 일실시예에 의한 리모트 컨트롤러의 내부 구성요소들을 설명하면 다음과 같다.7 is a block diagram illustrating internal components of the remote controller shown in FIG. Hereinafter, referring to FIG. 7, internal components of a remote controller according to an embodiment of the present invention will be described.
도 7에 도시된 바와 같이, 리모트 컨트롤러(701)는, 예를 들어 무선통신부(725), 사용자 입력부(735), 센서부(740), 출력부(750), 전원공급부(760), 저장부(770), 제어부(780)를 포함한다.7, the
무선통신부(725)는 전술하여 설명한 본 발명의 일실시예에 의한 디스플레이 장치와 신호를 송수신한다.  상기 리모트 컨트롤러(701)는, RF 통신규격에 따라 디스플레이 장치(700)와 신호를 송수신할 수 있는 RF 모듈(721)을 구비할 수 있다.  또한, 리모트 컨트롤러(701)는, IR 통신규격에 따라 디스플레이 장치(700)와 신호를 송수신할 수 있는 IR 모듈(723)을 구비할 수 있다.The
한편, 도 7에서는 RF 신호 및 IR 신호를 모두 처리할 수 있는 리모트 컨트롤러(701)만을 도시하였으나, 본 발명의 일실시예에 의한 디스플레이 장치(700)를 제어하기 위해 RF 신호만 처리할 수 있는 리모트 컨트롤러가 사용될 수도 있다.  또는, IR 신호만 처리할 수 있는 리모트 컨트롤가 사용될 수도 있다.  다만, 설명의 편의상, RF 신호 및 IR 신호를 모두 처리 가능한 리모트 컨트롤러에 대해 이하 설명하도록 하겠다.7, only the
리모트 컨트롤러(701)는, 디스플레이 장치(700)로 리모트 컨트롤러(701)의 움직임 등에 관한 정보가 담긴 신호를 RF 모듈(721)을 통하여 전송한다.  또한, 리모트 컨트롤러(701)는, 디스플레이 장치(700)가 전송한 신호를 RF 모듈(721)을 통하여 수신한다.  그리고, 리모트 컨트롤러(701)는, 필요에 따라 IR 모듈(723)을 통하여 디스플레이 장치(700)로 전원 온/오프, 채널 변경, 볼륨 변경 등에 관한 명령을 전송할 수 있다.The
사용자 입력부(735)는 키패드, 버튼, 터치 패드, 또는 터치 스크린 등으로 구성될 수 있다.  사용자는 사용자 입력부(735)를 조작하여 디스플레이 장치(700)와 관련된 명령을 입력할 수 있다.  센서부(740)는 자이로 센서(741) 또는 가속도 센서(743)를 구비할 수 있다.  나아가, 자이로 센서(741)는 리모트 컨트롤러(701)의 움직임에 관한 정보를 센싱할 수 있다.The
자이로 센서(741)는 리모트 컨트롤러(701)의 동작에 관한 정보를 x, y, z 축을 기준으로 센싱할 수 있다.  가속도 센서(743)는 리모트 컨트롤러(701)의 이동속도 등에 관한 정보를 센싱할 수 있다.  한편, 거리측정센서를 더 구비할 수 있으며, 이에 의해, 디스플레이 장치(700)와의 거리를 센싱할 수 있다.The
출력부(750)는 사용자 입력부(735)의 조작에 대응하거나 디스플레이 장치(700)에서 전송한 신호에 대응하는 영상 또는 음성 신호를 출력할 수 있다.  출력부(750)를 통하여 사용자는 사용자 입력부(735)의 조작 여부 또는 디스플레이 장치(700)의 제어 여부를 인지할 수 있다.  상기 출력부(750)는 사용자 입력부(735)가 조작되거나 무선 통신부(725)를 통하여 디스플레이 장치(700)와 신호가 송수신 되면 점등되는 LED 모듈(751), 진동을 발생하는 진동 모듈(753), 음향을 출력하는 음향 출력 모듈(755), 또는 영상을 출력하는 디스플레이 모듈(757)을 더 구비하도록 설계하는 것도 본 발명의 권리범위에 속한다.The
전원공급부(760)는 리모트 컨트롤러(701)로 전원을 공급한다.  전원공급부(760)는 리모트 컨트롤러(701)가 소정 시간 동안 움직이지 않은 경우 전원 공급을 중단함으로써 전원 낭비를 줄일 수 있다.  전원공급부(760)는 리모트 컨트롤러(701)에 구비된 소정 키가 조작된 경우에 전원 공급을 재개할 수 있다.The
저장부(770)는 리모트 컨트롤러(701)의 제어 또는 동작에 필요한 여러 종류의 프로그램, 애플리케이션 데이터 등이 저장될 수 있다.  제어부(780)는 리모트 컨트롤러(701)의 제어에 관련된 전반적인 기능을 수행한다.The
따라서, 도 6 및 도 7에 도시된 리모트 컨트롤러를 움직여서, 어플리케이션 브라우져 상에 표시된 옵션들을 선택할 수도 있고, 또는 리모트 컨트롤러의 사용자 입력부(예를 들어, 화살표 버튼)을 이용하여 상기 어플리케이션 브라우져에 표시된 옵션들을 선택할 수도 있다.Accordingly, it is possible to move the remote controller shown in Figs. 6 and 7 to select the options displayed on the application browser or to display the options displayed on the application browser using the user input of the remote controller (for example, arrow buttons) You can also choose.
도 8은 본 발명의 일실시예에 의한 어플리케이션 브라우져의 상태가 변경되는 프로세스의 일예를 도시한 도면이다. 이하, 도 8을 참조하여, 본 발명의 일실시예에 의한 어플리케이션 브라우져의 사이즈를 확대하는 프로세스를 설명하면 다음과 같다.8 is a diagram illustrating an example of a process of changing the state of an application browser according to an embodiment of the present invention. Hereinafter, a process of enlarging the size of the application browser according to an embodiment of the present invention will be described with reference to FIG.
어플리케이션 브라우져가 최초 실행된 경우, 도 8의 (a)에 도시된 바와 같이 화면의 하단에 1-layer 로 기저장된 어플리케이션들을 일부 디스플레이 한다. 그러나, 사용자는 더 많은 어플리케이션 리스트를 확인하고 싶어 할 가능성이 있다.When the application browser is initially executed, a part of applications stored in the 1-layer at the bottom of the screen is displayed as shown in FIG. 8A. However, the user may want to see more application lists.
이 때, 리모트 컨트롤러(810)를 움직여서, 인디케이터(811)가 업(up) 방향으로 움직이도록 제어하는 경우, 도 8의 (b)에 도시된 바와 같이, 2-layer의 더 많은 어플리케이션들의 리스트가 디스플레이 된다.At this time, when controlling the
그리고, 상기 인디케이터(811)를 화면의 상단 끝까지 움직인 경우, 도 8의 (c)에 도시된 바와 같이, 3-layer 의 모든 어플리케이션의 리스트가 디스플레이 된다.  물론, 전술하여 설명한 레이어 또는 디스플레이 되는 어플리케이션의 사이즈 및 크기를 변경하는 것도, 본 발명의 권리범위에 속한다.When the
도 9는 본 발명의 일실시예에 의한 어플리케이션 브라우져의 상태가 변경되는 프로세스의 다른 일예를 도시한 도면이다. 이하, 도 9를 참조하여, 본 발명의 일실시예에 의한 어플리케이션 브라우져의 사이즈를 축소하는 프로세스를 설명하면 다음과 같다.9 is a diagram illustrating another example of a process of changing the state of an application browser according to an embodiment of the present invention. Hereinafter, a process of reducing the size of an application browser according to an embodiment of the present invention will be described with reference to FIG.
도 8과 반대로, 인디케이터를 다운(down) 방향으로 움직이는 경우, 도 9의 (a), (b), (c)에 도시된 바와 같이 어플리케이션 브라우져의 사이즈가 축소된다. 즉, 리스팅된 어플리케이션들의 숫자가 작아져서, 방송 화면의 비디오 데이터에 대한 가시성이 높아지는 장점이 있다.In contrast to FIG. 8, when the indicator is moved in the down direction, the size of the application browser is reduced as shown in FIGS. 9A, 9B, and 9C. That is, there is an advantage that the number of listed applications is reduced, and the visibility of the video data of the broadcasting screen is increased.
도 10a 내지 도 10c는 본 발명의 일실시예에 의한 어플리케이션 브라우져의 제1모드에서, 어플리케이션의 위치를 편집하는 프로세스를 도시한 도면이다. 이하, 도 10a 내지 도 10c를 참조하여, 본 발명의 일실시예에 의한 어플리케이션 브라우져의 제1모드에서, 어플리케이션의 위치를 편집하는 프로세스를 설명하면 다음과 같다. 상기 어플리케이션 브라우져의 제1모드는, 예를 들어 도 10a에 도시된 바와 같이 1-layer의 어플리케이션들에 대한 리스트를 보여 주는 모드를 의미한다.10A to 10C are diagrams illustrating a process of editing an application location in a first mode of an application browser according to an embodiment of the present invention. Hereinafter, a process of editing the position of an application in the first mode of the application browser according to an embodiment of the present invention will be described with reference to FIGS. 10A to 10C. The first mode of the application browser is, for example, a mode for displaying a list of 1-layer applications as shown in FIG. 10A.
우선, 도 10a에 도시된 바와 같이, 본 발명의 일실시예에 의한 디스플레이 장치(1000)는, 어플리케이션 브라우져의 제1모드를 출력한다.  이 때, 상기 디스플레이 장치(1000)의 유저가 리스팅된 어플리케이션의 위치를 편집하고자 하는 경우, 리모트 컨트롤러(1010)의 인디케이터(1011)가 편집하고자 하는 어플리케이션에 일정 시간 위치하도록 한다.  물론, 다른 단축키를 통해 편집하고자 하는 어플리케이션을 선택할 수도 있다.First, as shown in FIG. 10A, the
그 다음으로, 도 10b에 도시된 바와 같이, 디스플레이 장치(1000)는 선택된 특정 어플리케이션이 이동할 수 있는 영역들(1012, 1013)을 다른 영역과 달리 하이라이트된 형태로 디스플레이 한다.  도 10b에 도시된 바와 같이, 시스템 어플리케이션들은 위치 이동이 불가능하므로, 시스템 어플리케이션들 사이에는 전술한 영역들(1012, 1013)이 표시되지 않는다.  한편, 선택된 특정 어플리케이션을 이동할 수 있다는 가이드를 제공한다는 취지에서, 리모트 컨트롤러(1010)의 인디케이터(1011)의 그래픽 데이터도 변환한다.  도 10a 및 도 10b를 비교하여 용이하게 이해할 수가 있다.Next, as shown in FIG. 10B, the
마지막으로, 도 10c에 도시된 바와 같이, 리모트 컨트롤러(1010) 및 인디케이터(1011)를 이용하여 특정 어플리케이션(1012)의 위치를 이동할 수가 있다.  따라서, 도 10a와 도 10c를 비교하여 볼 때, 다운로드 어플리케이션들인 하키 어플리케이션과 42 어플리케이션의 위치가 변경되었음을 확인할 수 있다.Finally, as shown in FIG. 10C, the position of the
도 11은 본 발명의 일실시예에 의한 어플리케이션 브라우져의 제2모드를 상세히 도시한 도면이다. 이하, 도 11을 참조하여, 본 발명의 일실시예에 의한 어플리케이션 브라우져의 제2모드를 상세히 설명하면 다음과 같다. 상기 어플리케이션 브라우져의 제2모드는, 예를 들어 도 11에 도시된 바와 같이 3-layer의 어플리케이션들에 대한 리스트를 보여 주는 모드를 의미한다. 사용자가 보다 많은 어플리케이션들에 대한 리스트를 한번에 확인할 수 있는 장점이 있다.11 is a detailed view illustrating a second mode of an application browser according to an embodiment of the present invention. Hereinafter, a second mode of the application browser according to an embodiment of the present invention will be described in detail with reference to FIG. The second mode of the application browser is, for example, a mode for displaying a list of 3-layer applications as shown in FIG. There is an advantage that the user can check the list of more applications at once.
도 11에 도시된 바와 같이, 본 발명의 일실시예에 의한 디스플레이 장치(1100)는 메모리에 저장된 복수개의 그룹에 속하는 어플리케이션들에 대한 리스트(1120)를 출력한다.  물론, 전술하여 설명한 바와 같이, 방송 프로그램에 대한 비디오 데이터(1110)도 함께 디스플레이 된다.11, the
또한, 상기 디스플레이 장치(1100)는, 특정 타이틀의 어플리케이션을 검색할 수 있는 옵션(1130), 리스트에 나열된 어플리케이션들의 위치를 편집할 수 있는 옵션(1140), 이전 방송 화면으로 복귀할 수 있는 옵션(1150), 특정 카테고리에 속하는 어플리케이션들만 분류할 수 있는 옵션들(1160, 1170, 1180), 그리고 총 메모리 용량 대비 현재 사용된 메모리 용량을 표시하는 옵션(1190)을 디스플레이 한다.  각각의 옵션들에 대해서는, 이하에서 상세히 설명하도록 하겠다.In addition, the
도 12a 내지 도 12c는 본 발명의 일실시예에 의한 어플리케이션 브라우져의 제2모드에서, 어플리케이션의 위치를 편집하는 프로세스를 도시한 도면이다. 이하, 도 12a 내지 도 12c를 참조하여, 본 발명의 일실시예에 의한 어플리케이션 브라우져의 제2모드에서, 어플리케이션의 위치를 편집하는 프로세스를 설명하면 다음과 같다.12A to 12C are diagrams illustrating a process of editing the position of an application in a second mode of an application browser according to an embodiment of the present invention. Hereinafter, a process of editing the position of an application in a second mode of the application browser according to an embodiment of the present invention will be described with reference to FIGS. 12A to 12C.
도 11에 도시된 편집 옵션(1140)이 선택된 경우, 도 12a에 도시된 바와 같이 디스플레이 장치(1200)는 변경된 어플리케이션 브라우져 화면을 제공한다.  예를 들어, 리모트 컨트롤러(1210)를 이용하여 특정 어플리케이션(1211)을 선택한 경우, 이동 가능한 위치들을 안내하는 그래픽 데이터(1220)가 디스플레이 된다.  전술하여 설명한 바와 같이, 위치 이동이 불가능한 시스템 어플리케이션들 사이에서는 상기 그래픽 데이터(1220)가 출력되지 않는다.When the
그 다음으로, 도 12b에 도시된 바와 같이, 리모트 컨트롤러(1210) 및 인디케이터(1211)를 이용하여, 2번 어플리케이션을 24번 어플리케이션과 25번 어플리케이션 사이로 이동하였다고 가정한다.Next, it is assumed that the second application is moved between the
마지막으로, 도 12c에 도시된 바와 같이, 디스플레이 장치(1200)는 위치가 변경된 2번 어플리케이션(1220)을 다른 어플리케이션들과 구별하여 표시함으로써, 사용자는 위치를 변경한 어플리케이션을 보다 용이하게 확인할 수가 있다.  또한, 편집이 완료된 경우, 인디케이터(1211)의 모양을 손모양에서 십자가로 변경한다.  이와 같이 설계함으로써, 사용자는 편집 기능이 완료하고, 다른 기능을 사용할 수 있음을 인지할 수가 있다.Finally, as shown in FIG. 12C, the
도 13a 내지 도 13c는 본 발명의 일실시예에 의한 어플리케이션 브라우져의 제2모드에서, 편집 가능한 어플리케이션을 삭제하는 프로세스를 도시한 도면이다. 이하, 도 13a 내지 도 13c를 참조하여, 본 발명의 일실시예에 의한 어플리케이션 브라우져의 제2모드에서, 편집 가능한 어플리케이션을 삭제하는 프로세스를 설명하면 다음과 같다.13A to 13C are diagrams illustrating a process of deleting an editable application in a second mode of an application browser according to an embodiment of the present invention. Hereinafter, a process of deleting an editable application in a second mode of the application browser according to an embodiment of the present invention will be described with reference to FIGS. 13A to 13C.
도 11에 도시된 편집 옵션(1140)이 선택된 경우, 도 13a에 도시된 바와 같이 디스플레이 장치(1300)는 변경된 어플리케이션 브라우져 화면을 제공한다.  예를 들어, 리모트 컨트롤러(1310) 및 인디케이터(1311)를 이용하여 특정 2번 어플리케이션을 선택한 경우, 이동 가능한 위치들을 안내하는 그래픽 데이터(1320)가 디스플레이 된다.  또한, 삭제가 가능한 영역에 해당하는 그래픽 데이터(1330)도 하이라이트된 형태로 표시한다.When the
그 다음으로, 도 13b에 도시된 바와 같이, 리모트 컨트롤러(1310) 및 인디케이터(1311)를 이용하여 전술한 특정 2번 어플리케이션을, 상기 삭제가 가능한 영역으로 이동시킨다.  이 때, 도 13b에 도시된 바와 같이, 휴지통의 그래픽 데이터를 이전(도 13a)과 달리 다소 열린 상태로 변경한다.  이와 같이 설계하는 경우, 사용자는 자신이 선택한 어플리케이션이 삭제될 수도 있음을 다시 한번 워닝 받는 장점이 있다.Next, as shown in Fig. 13B, the above-described specific application No. 2 is moved to the area where deletion is possible by using the
마지막으로, 도 13c에 도시된 바와 같이, 특정 2번 어플리케이션을 삭제가 가능한 영역으로 이동 완료시킨 경우, 다시 해당 그래픽 데이터(1330)를 하이라이트 하여 표시한다.  그리고, 디스플레이 장치(1300)는, 나머지 어플리케이션들의 위치를 조정하여 다시 디스플레이 한다.  예를 들어, 삭제된 2번 어플리케이션의 위치에, 바로 인접하였던 3번 어플리케이션이 위치하도록 설계한다.  다른 어플리케이션들의 위치도 한 블록씩 좌로 이동한다.Lastly, as shown in FIG. 13C, when the
도 14a 및 도 14b는 본 발명의 일실시예에 의한 어플리케이션 브라우져의 제2모드에서, 편집 불가능한 어플리케이션 그룹들 중 제1그룹을 설명하기 위한 도면이다. 이하, 도 14a 및 도 14b를 참조하여, 본 발명의 일실시예에 의한 어플리케이션 브라우져의 제2모드에서, 편집 불가능한 어플리케이션 그룹들 중 제1그룹을 설명하면 다음과 같다.14A and 14B illustrate a first group of uneditable application groups in a second mode of the application browser according to an exemplary embodiment of the present invention. Hereinafter, with reference to FIGs. 14A and 14B, a first group of uneditable application groups in a second mode of the application browser according to an embodiment of the present invention will be described.
도 14에서 설명한 제1그룹은 예를 들어, 도 3에서 전술한 프리미엄 어플리케이션에 해당한다.  도 14a에 도시된 바와 같이, 이동은 가능하나 삭제가 불가능한 특정 어플리케이션을, 쓰레기통을 표시하는 영역(1420)으로 이동시킨다고 가정한다.  이 때, 리모트 컨트롤러(1410) 및 인디케이터(1411)를 이용하여 상기 특정 어플리케이션을 이동시킬 수 있다.The first group described in FIG. 14 corresponds to, for example, the above-described premium application in FIG. As shown in Fig. 14A, it is assumed that a specific application that can be moved but not deleted is moved to the
그러나, 도 13에서의 설명과 달리, 도 14b에 도시된 바와 같이, 디스플레이 장치(1400)는, 선택된 어플리케이션을 삭제할 수 없음을 가이드 하는 메시지(1430)를 디스플레이 한다.  따라서, 사용자는 위치만 이동 시키려고 재시도할 수 있으나, 상기 영역(1420)으로 재이동시키지 않게 되는 장점이 있다.However, unlike the description in FIG. 13, as shown in FIG. 14B, the
도 15a 및 도 15b는 본 발명의 일실시예에 의한 어플리케이션 브라우져의 제2모드에서, 편집 불가능한 어플리케이션 그룹들 중 제2그룹을 설명하기 위한 도면이다. 이하, 도 15a 및 도 15b를 참조하여, 본 발명의 일실시예에 의한 어플리케이션 브라우져의 제2모드에서, 편집 불가능한 어플리케이션 그룹들 중 제2그룹을 설명하면 다음과 같다.15A and 15B illustrate a second group of uneditable application groups in a second mode of the application browser according to an embodiment of the present invention. Hereinafter, a second group of non-editable application groups in a second mode of the application browser according to an embodiment of the present invention will be described with reference to FIGS. 15A and 15B.
도 15에서 설명한 제2그룹은 예를 들어, 도 3에서 전술한 시스템 어플리케이션에 해당한다.  도 15a에 도시된 바와 같이, 디스플레이 장치(1500)는 어플리케이션 브라우져 화면을 출력한다.  이 때, 리모트 컨트롤러(1510) 및 인디케이터(1511)를 이용하여, 시스템 어플리케이션을 이동시키고자 할 때, 아주 작은 범위(1512)내에서만 이동하는 효과를 준다.  따라서, 사용자는 이동 자체가 불가함을 1차적으로 인지할 수 있다.The second group described in FIG. 15 corresponds to, for example, the system application described above with reference to FIG. As shown in FIG. 15A, the
만약, 사용자가 기설정된 범위 이상(예를 들어, 5회 이상) 반복하여 시스템 어플리케이션을 편집하고자 할 때는, 도 15b에 도시된 바와 같이, 이동 및 삭제가 불가능한 어플리케이션임을 안내하는 메시지(1530)가 디스플레이 된다.If the user wishes to edit the system application by repeating a predetermined range or more (for example, five times or more), a
도 16a 내지 도 16d는 본 발명의 일실시예에 의한 어플리케이션 브라우져에서, 삭제된 어플리케이션을 복원하는 프로세스를 도시한 도면이다. 이하, 도 16a 내지 도 16d를 참조하여, 본 발명의 일실시예에 의한 어플리케이션 브라우져에서, 삭제된 어플리케이션을 복원하는 프로세스를 설명하면 다음과 같다.16A to 16D are diagrams illustrating a process of restoring a deleted application in an application browser according to an embodiment of the present invention. Hereinafter, a process of restoring a deleted application in an application browser according to an embodiment of the present invention will be described with reference to FIGS. 16A to 16D.
도 16a에 도시된 바와 같이, 본 발명의 일실시예에 의한 디스플레이 장치(1600)는 어플리케이션 브라우져 화면을 출력한다.  이 때, 유저는 삭제된 어플리케이션들을 확인하고, 복원 여부를 모색할 가능성이 있다.  따라서, 도 16a에 도시된 바와 같이, 리모트 컨트롤러(1610) 및 인디케이터(1611)를 이용하여 삭제된 어플리케이션을 확인할 수 있는 그래픽 데이터(1620)를 선택한다.As shown in FIG. 16A, the
그 다음으로, 도 16b에 도시된 바와 같이, 디스플레이 장치(1600)는 삭제된 어플리케이션들의 리스트를 표시한다.  예를 들어, 시간 순서에 따라 위치가 배열되어 있다.  이 때, 리모트 컨트롤러(1610) 및 인디케이터(1611)를 이용하여, 특정 어플리케이션에 대한 복원 버튼(1620)을 선택한다.Next, as shown in FIG. 16B, the
한편, 삭제된 어플리케이션들을 다시 다운로드할 수 있는 링크 정보, URL 정보 등이 메모리에 기저장되도록 설계하는 것도 본 발명의 권리범위에 속한다. 따라서, 보다 신속한 어플리케이션 복원이 가능하다.On the other hand, it is also within the scope of the present invention to design such that link information, URL information, and the like for re-downloading deleted applications are stored in the memory. Thus, faster application restoration is possible.
그 다음으로, 도 16c에 도시된 바와 같이, 디스플레이 장치(1600)가 선택된 특정 어플리케이션을 복원하는 동안(즉, 해당 링크(URL)에 접속하여 다운로드 중), 이를 안내하는 메시지(1630)를 출력한다.Next, as shown in Fig. 16C, while the
마지막으로, 복원이 완료된 경우, 도 16d에 도시된 바와 같이, 디스플레이 장치(1600)는 어플리케이션 브라우져를 자동으로 편집한다.  즉, 리스트의 마지막 부분에, 복원된 어플리케이션의 아이콘이 위치하도록 설계한다.Finally, when the restoration is completed, as shown in FIG. 16D, the
도 17a 및 도 17b는 본 발명의 일실시예에 의한 어플리케이션 브라우져가 제공하는 검색 기능을 설명하기 위한 도면이다. 이하, 도 17a 및 도 17b를 참조하여, 본 발명의 일실시예에 의한 어플리케이션 브라우져가 제공하는 검색 기능을 설명하면 다음과 같다.17A and 17B are views for explaining a search function provided by an application browser according to an embodiment of the present invention. Hereinafter, a search function provided by an application browser according to an embodiment of the present invention will be described with reference to FIGS. 17A and 17B.
도 11에 도시된 검색 옵션(1130)이 선택된 경우로 가정하겠다.  이 때, 도 17a에 도시된 바와 같이 리모트 컨트롤러(1710) 및 인디케이터(1711)를 이용하여 검색하고자 하는 어플리케이션의 타이틀을 입력한다.  물론, 도 17a에 도시하지는 않았으나, 상기 리모트 컨트롤러(1710)의 쿼티 자판을 포함하는 형태일 수도 있고, 또는 상기 디스플레이 장치(1700)의 스크린 상에서 가상 쿼티 자판이 디스플레이 되도록 설계하는 것도 본 발명의 권리범위에 속한다.  도 17a에서는, "baseball"을 키워드로 입력하였다고 가정하였다.It is assumed that the
이 때, 도 17b에 도시된 바와 같이, 해당 키워드인 "baseball"과 관련된 메타데이터를 가지는 어플리케이션들(1730, 1740)만 하이라이트된 형태로 디스플레이 된다.  물론, 해당 어플리케이션이 관련 메타데이터를 가지고 있는 경우에 적용 가능하다.  이에 대해서는 도 18을 참조하여 후술하겠다.At this time, as shown in FIG. 17B, only the
도 18은 본 발명의 일실시예에 따라, 기저장된 어플리케이션의 메타데이터를 저장하고 있는 메모리를 설명하기 위한 도면이다. 이하, 도 18을 참조하여, 본 발명의 일실시예에 따라, 기저장된 어플리케이션의 메타데이터를 저장하고 있는 메모리를 설명하면 다음과 같다.18 is a view for explaining a memory storing metadata of a previously stored application according to an embodiment of the present invention. Hereinafter, with reference to FIG. 18, a memory storing metadata of a previously stored application will be described according to an embodiment of the present invention.
시스템 어플리케이션, 프리미엄 어플리케이션, 다운로드된 어플리케이션은 여러가지 다양한 메타데이터를 가지고 있다. 예를 들어, 상기 메타데이터는, 타이틀, 타입 등을 식별하는 정보이다. 물론, 도 18에 도시된 메타데이터는 일실시예이며, 당업자의 설계 변경에 따라 더 많은 메타데이터를 포함하는 어플리케이션들에도 본 발명을 적용할 수가 있다.System applications, premium applications, and downloaded applications have various metadata. For example, the metadata is information for identifying a title, a type, and the like. Of course, the metadata shown in FIG. 18 is an embodiment, and the present invention can be applied to applications including more metadata according to a design change of a person skilled in the art.
도 19a 및 도 19b는 본 발명의 일실시예에 의한 어플리케이션 브라우져가 제공하는 카테고리별 필터링 기능을 설명하기 위한 도면이다. 이하, 도 19a 및 도 19b를 참조하여, 본 발명의 일실시예에 의한 어플리케이션 브라우져가 제공하는 카테고리별 필터링 기능을 설명하면 다음과 같다.FIGS. 19A and 19B are diagrams for explaining a category-specific filtering function provided by an application browser according to an embodiment of the present invention. Hereinafter, a filtering function for each category provided by the application browser according to an embodiment of the present invention will be described with reference to FIGS. 19A and 19B.
우선, 도 18에서 예시한 바와 같이, 기저장된 어플리케이션들은 각각 메타데이터를 가지고 있는 것으로 가정한다.  이 때, 도 19a에 도시된 바와 같이, 리모트 컨트롤러(1910) 및 인디케이터(1911)를 이용하여, 특정 타입(예를 들어, 스포츠)(1920)을 선택한 경우, 스포츠에 해당하는 메타데이터를 가지는 2개의 어플리케이션들(1930, 1940)만 하이라이트된 형태로 표시한다.First, as illustrated in FIG. 18, it is assumed that pre-stored applications each have metadata. 19A, when a specific type (for example, sports) 1920 is selected by using the
물론, 도 19a와 달리, 도 19b에 도시된 바와 같이 모든 타입별(예를 들어, 스포츠, 뉴스, 게임)로 어플리케이션들을 분류한 그래픽 데이터를 디스플레이 하는 것도 본 발명의 권리범위에 속한다.Of course, unlike FIG. 19A, it is also within the scope of the present invention to display graphic data classified into all types (for example, sports, news, games) as shown in FIG. 19B.
도 20a 및 도 20b는 IR 신호를 송출하는 리모트 컨트롤러를 이용하여, 본 발명의 일실시예에 의한 어플리케이션 브라우져를 컨트롤 하는 프로세스를 도시한 도면이다. 이하, 도 20a 및 도 20b를 참조하여, IR 신호를 송출하는 리모트 컨트롤러를 이용하여, 본 발명의 일실시예에 의한 어플리케이션 브라우져를 컨트롤 하는 프로세스를 설명하면 다음과 같다.20A and 20B are views showing a process of controlling an application browser according to an embodiment of the present invention by using a remote controller that transmits an IR signal. Hereinafter, a process of controlling an application browser according to an embodiment of the present invention using a remote controller that transmits an IR signal will be described with reference to FIGS. 20A and 20B.
이전 도면들에 대한 설명에서는, 리모트 컨트롤러의 움직임에 따라 RF 신호를 송출하는 경우를 가정하여 설명하였다. 그러나, 본 발명의 다른 일실시예에 의하면, 리모트 컨트롤러의 움직임과 관계없이 IR 신호를 송출하는 경우에도 어플리케이션 브라우져를 컨트롤 할 수 있는 솔루션을 이하 도 20 및 도 21에서 설명하도록 하겠다.In the description of the previous drawings, it has been assumed that the RF signal is transmitted in accordance with the movement of the remote controller. However, according to another embodiment of the present invention, a solution capable of controlling the application browser even when the IR signal is transmitted irrespective of the motion of the remote controller will be described with reference to FIGS. 20 and 21. FIG.
도 20a에 도시된 바와 같이, 디스플레이 장치(2000)는 현재 인디케이터가 위치하는 영역(2020)을 표시한다.  이 때, 리모트 컨트롤러(2010)의 특정 화살표 버튼(우측방향)(2011)이 눌러진 경우, 도 20b와 같이 어플리케이션 브라우져 화면이 변경된다.As shown in Fig. 20A, the
즉, 도 20b에 도시된 바와 같이, 디스플레이 장치(2000)는, 선택 가능한 옵션들 중에서 오른쪽 블록으로 한칸 이동한 영역(2030)을 하이라이트 하여 표시한다.  반대로, 도 20b에 도시된 바와 같이, 리모트 컨트롤러(2010)의 특정 화살표 버튼(좌측 방향)(2012)이 눌러진 경우, 도 20a의 어플리케이션 브라우져 화면으로 복귀하게 된다.  따라서, 사용자는 화살표 버튼만으로 본 발명의 일실시예에 의한 어플리케이션 브라우져 화면을 컨트롤할 수가 있다.That is, as shown in Fig. 20B, the
도 21a 내지 도 21c는 IR 신호를 송출하는 리모트 컨트롤러를 이용하여, 본 발명의 일실시예에 의한 어플리케이션 브라우져의 어플리케이션을 편집하는 프로세스를 도시한 도면이다. 이하, 도 21a 내지 도 21c를 참조하여, IR 신호를 송출하는 리모트 컨트롤러를 이용하여, 본 발명의 일실시예에 의한 어플리케이션 브라우져의 어플리케이션을 편집하는 프로세스를 설명하면 다음과 같다.21A to 21C are diagrams illustrating a process of editing an application of an application browser according to an embodiment of the present invention using a remote controller that transmits an IR signal. 21A to 21C, a process of editing an application of an application browser according to an embodiment of the present invention using a remote controller that transmits an IR signal will be described below.
우선, 도 11에 도시된 에디트 모드(1140)가 선택된 경우로 가정한다.  이 때, 도 21a에 도시된 바와 같이, 본 발명의 일실시예에 의한 디스플레이 장치(2100)는 특정 2번 어플리케이션이 이동할 수 있는 방향(2120)을 디스플레이 한다.  리모트 컨트롤러(2110)의 특정 화살표 버튼(하측 방향)(2111)이 눌러진 경우, 도 21b에 도시된 어플리케이션 브라우져 화면으로 변경된다.First, it is assumed that the
즉, 도 21b에 도시된 바와 같이, 상기 특정 2번 어플리케이션(2130)이 아래 방향으로 한칸 이동되었다.  이 때, 리모트 컨트롤러(2110)의 특정 확인 버튼(2111)이 눌러진 경우, 도 21c에 도시된 어플리케이션 브라우져 화면으로 변경된다.That is, as shown in FIG. 21B, the specific
즉, 도 21c에 도시된 바와 같이, 편집 모드가 완료되었으므로, 더 이상 화살표 인디케이터(2140)가 디스플레이 되지 않는다.  따라서, 사용자는 자신이 원하는 위치에 특정 어플리케이션이 최종 이동되었음을 용이하게 확인할 수가 있다.That is, as shown in Fig. 21C, since the edit mode is completed, the
도 22 내지 도 24는 본 발명의 일실시예에 의한 어플리케이션 브라우져로부터 이전 화면으로 복귀하는 프로세스를 도시한 도면이다. 이하, 도 22 내지 도 24를 참조하여, 본 발명의 일실시예에 의한 어플리케이션 브라우져로부터 이전 화면으로 복귀하는 프로세스를 설명하면 다음과 같다.22 to 24 illustrate a process of returning to a previous screen from an application browser according to an embodiment of the present invention. Hereinafter, the process of returning to the previous screen from the application browser according to an embodiment of the present invention will be described with reference to FIGS. 22 to 24. FIG.
도 22의 (a)에 도시된 바와 같이,디스플레이 장치(2200)는 어플리케이션 브라우져의 간섭을 받지 않는 순수한 방송 비디오 데이터를 제1영역(2220)에 출력한다.  이 때, 리모트 컨트롤러(2210)의 인디케이터(2211)가 상기 제1영역(2220)에 위치하는 경우, 도 22의 (b)에 도시된 바와 같이, 어플리케이션 브라우져의 실행 및 디스플레이를 중지하고, 방송 비디오 데이터를 전체 영역(2230)에 디스플레이 하도록 설계한다.As shown in FIG. 22 (a), the
도 23의 (a)에 도시된 바와 같이,디스플레이 장치(2300)는 어플리케이션 브라우져의 간섭을 받지 않는 순수한 방송 비디오 데이터를 제1영역(2320)에 출력한다.  이 때, 리모트 컨트롤러(2310)의 인디케이터(2311)가 상기 제1영역(2320)에 위치하는 경우, 도 23의 (b)에 도시된 바와 같이, 어플리케이션 브라우져의 실행 및 디스플레이를 중지하고, 방송 비디오 데이터를 전체 영역(2330)에 디스플레이 하도록 설계한다.As shown in FIG. 23A, the
도 24의 (a)에 도시된 바와 같이,디스플레이 장치(2400)는 어플리케이션 브라우져 내에, 엑시트 모드(2420)를 함께 출력한다.  이 때, 리모트 컨트롤러(2410)의 인디케이터(2411)가 상기 엑시트 모드(2420)에 위치하는 경우, 도 24의 (b)에 도시된 바와 같이, 어플리케이션 브라우져의 실행 및 디스플레이를 중지하고, 방송 비디오 데이터를 전체 영역(2430)에 디스플레이 하도록 설계한다.As shown in FIG. 24 (a), the
도 25는 본 발명의 일실시예에 의한 디스플레이 장치가 어플리케이션 브라우져를 제어하는 방법을 도시한 플로우 차트이다. 이하, 도 25를 참조하여, 본 발명의 일실시예에 의한 디스플레이 장치가 어플리케이션 브라우져를 제어하는 방법을 설명하면 다음과 같다. 도 1 내지 도 24에서 설명한 실시예들을 참조하여, 도 25를 해석하는 것도 본 발명의 권리범위에 속한다.25 is a flowchart showing a method of controlling an application browser by a display device according to an embodiment of the present invention. Hereinafter, a method of controlling an application browser by a display apparatus according to an embodiment of the present invention will be described with reference to FIG. It is also within the scope of the present invention to interpret Fig. 25 with reference to the embodiments described in Figs. 1 to 24.
본 발명의 일실시예에 의한 디스플레이 장치는, 방송국으로부터 방송 프로그램을 수신한다(S2501). 상기 방송 프로그램은, 예를 들어 오디오 데이터 및 비디오 데이터를 포함한다.A display device according to an embodiment of the present invention receives a broadcast program from a broadcasting station (S2501). The broadcast program includes, for example, audio data and video data.
상기 디스플레이 장치는, 상기 수신된 오디오 데이터 및 비디오 데이터를 디멀티플렉싱 하고(S2502), 복수개의 어플리케이션들에 대한 리스트를 요청하는 제1커맨드를 수신한다(S2503).The display device demultiplexes the received audio data and video data (S2502), and receives a first command requesting a list of a plurality of applications (S2503).
상기 디스플레이 장치는, 편집 가능한 제1어플리케이션 그룹과 편집 불가능한 제2어플리케이션 그룹을 저장하고 있는 메모리에 액세스 하고(S2504), 상기 복수개의 어플리케이션들에 대한 리스트를 표시하는 그래픽 데이터를 생성한다(S2505). 상기 제1어플리케이션 그룹에 속하는 어플리케이션을 표시하는 그래픽 데이터와 상기 제2어플리케이션 그룹에 속하는 어플리케이션을 표시하는 그래픽 데이터가 다르도록 설계한다. 도 5에 도시된 바와 같이, 시스템 어플리케이션과 다운로드된 어플리케이션의 명암비를 다르게 설정하는 것도 본 발명의 권리범위에 속한다.The display device accesses a memory storing a first editable application group and a second editable application group (S2504), and generates graphic data for displaying a list of the plurality of applications (S2505). The graphic data indicating the application belonging to the first application group is designed to be different from the graphic data showing the application belonging to the second application group. It is also within the scope of the present invention to set different contrast ratios of the system application and the downloaded application as shown in FIG.
상기 디스플레이 장치는, 상기 방송 프로그램의 비디오 데이터 및 상기 생성된 그래픽 데이터를 믹싱하고(S2506), 그리고 상기 비디오 데이터를 제1영역에 디스플레이 하고, 상기 그래픽 데이터를 제2영역에 디스플레이 한다(S2507). 상기 제1영역은 예를 들어, 상기 제2영역을 포함한다. 이전에 설명한 도 5 또는 도 11을 참조하여, 해석할 수도 있다.The display device mixes the video data of the broadcast program and the generated graphic data (S2506), displays the video data in the first area, and displays the graphic data in the second area (S2507). The first area includes, for example, the second area. It may be interpreted with reference to Fig. 5 or Fig. 11 described previously.
본 발명의 다른 일실시예에 의한 디스플레이 장치는, 에디트 모드를 시작하는 제2커맨드를 수신하는 단계와, 선택된 특정 어플리케이션이 상기 제1어플리케이션 그룹 또는 상기 제2어플리케이션 그룹에 속하는지 여부를 판단하는 단계와, 그리고 상기 선택된 특정 어플리케이션이 상기 제1어플리케이션 그룹에 속하는 경우, 상기 특정 어플리케이션에 해당하는 아이콘이 이동할 수 있는 제1영역 또는 삭제될 수 있는 제2영역을, 나머지 영역과 다른 그래픽으로 표시하는 단계를 더 포함한다. 이전 도 12 내지 도 15를 참조하여 해석할 수가 있다.The display device according to another embodiment of the present invention includes a step of receiving a second command to start an edit mode, a step of determining whether the selected specific application belongs to the first application group or the second application group And displaying a first area in which the icon corresponding to the specific application can move or a second area in which the icon corresponding to the specific application can be moved in a graphic different from the remaining area when the selected specific application belongs to the first application group . Can be interpreted with reference to FIGS. 12 to 15. FIG.
한편, 본 발명의 또 다른 일실시예에 의한 디스플레이 장치는, 상기 특정 어플리케이션에 해당하는 아이콘이, 상기 제2영역에 위치한 경우, 상기 특정 어플리케이션을 상기 메모리에서 제거하는 단계와, 그리고 상기 특정 어플리케이션을 다운로드할 수 있는 어드레스 정보를 상기 메모리에 저장하는 단계를 더 포함한다. 이전 도 16을 참조하여 해석할 수가 있다.Meanwhile, the display device according to another embodiment of the present invention may further include a step of, when the icon corresponding to the specific application is located in the second area, removing the specific application from the memory, And storing the downloadable address information in the memory. 16 can be interpreted by referring to FIG.
나아가, 본 발명의 또 다른 일실시예에 의한 디스플레이 장치는, 상기 메모리에 저장된 복수개의 어플리케이션을 타입에 따라 분류하는 제3커맨드를 수신하는 단계와, 상기 메모리에 액세스 하여, 각 타입별 어플리케이션을 분류하는 단계와, 각 타입별로 분류된 어플리케이션에 해당하는 아이콘을 포함하는 그래픽 데이터를 생성하는 단계와, 제1타입에 속하는 적어도 하나 이상의 어플리케이션 각각에 해당하는 아이콘들을 제1서브 영역에 디스플레이 하는 단계와, 그리고 제2타입에 속하는 적어도 하나 이상의 어플리케이션 각각에 해당하는 아이콘들을 제2서브 영역에 디스플레이 하는 단계를 더 포함한다. 상기 어플리케이션은 타입을 식별하는 메타데이터를 가지고 있다. 이전 도 18 및 도 19를 참조하여 해석할 수가 있다.Further, the display device according to another embodiment of the present invention may further include a step of receiving a third command for classifying a plurality of applications stored in the memory according to a type, and accessing the memory, Displaying icons corresponding to each of at least one application belonging to the first type in a first sub-area, displaying icons corresponding to the at least one application belonging to the first type in a first sub-area, And displaying icons corresponding to each of the at least one application belonging to the second type in the second sub-area. The application has metadata identifying the type. Can be interpreted with reference to FIG. 18 and FIG.
나아가, 설명의 편의를 위하여 각 도면을 나누어 설명하였으나, 각 도면에 서술되어 있는 실시예들을 병합하여 새로운 실시예를 구현하도록 설계하는 것도 가능하다. 그리고, 당업자의 필요에 따라, 이전에 설명된 실시예들을 실행하기 위한 프로그램이 기록되어 있는 컴퓨터에서 판독 가능한 기록 매체를 설계하는 것도 본 발명의 권리범위에 속한다.Furthermore, although the drawings are shown for convenience of explanation, it is also possible to design a new embodiment to be implemented by merging the embodiments described in each drawing. It is also within the scope of the present invention to design a computer-readable recording medium in which a program for executing the previously described embodiments is recorded according to the needs of those skilled in the art.
본 발명에 따른 디스플레이 장치 및 그 동작 방법은 상기한 바와 같이 설명된 실시 예들의 구성과 방법이 한정되게 적용될 수 있는 것이 아니라, 상기 실시 예들은 다양한 변형이 이루어질 수 있도록 각 실시 예들의 전부 또는 일부가 선택적으로 조합되어 구성될 수도 있다.The display apparatus and the operation method thereof according to the present invention are not limited to the configuration and method of the embodiments described above but the embodiments can be applied to all or a part of the embodiments so that various modifications can be made. Or may be selectively combined.
한편, 본 발명의 디스플레이 장치의 동작방법은 디스플레이 장치에 구비된 프로세서가 읽을 수 있는 기록매체에 프로세서가 읽을 수 있는 코드로서 구현하는 것이 가능하다. 프로세서가 읽을 수 있는 기록매체는 프로세서에 의해 읽혀질 수 있는 데이터가 저장되는 모든 종류의 기록장치를 포함한다. 프로세서가 읽을 수 있는 기록 매체의 예로는 ROM, RAM, CD-ROM, 자기 테이프, 플로피디스크, 광 데이터 저장장치 등이 있으며, 또한, 인터넷을 통한 전송 등과 같은 캐리어 웨이브의 형태로 구현되는 것도 포함한다. 또한, 프로세서가 읽을 수 있는 기록매체는 네트워크로 연결된 컴퓨터 시스템에 분산되어, 분산방식으로 프로세서가 읽을 수 있는 코드가 저장되고 실행될 수 있다.Meanwhile, the operation method of the display apparatus of the present invention can be implemented as a code that can be read by a processor in a processor-readable recording medium provided in a display apparatus. The processor-readable recording medium includes all kinds of recording apparatuses in which data that can be read by the processor is stored. Examples of the recording medium that can be read by the processor include a ROM, a RAM, a CD-ROM, a magnetic tape, a floppy disk, an optical data storage device, and the like, and may also be implemented in the form of a carrier wave such as transmission over the Internet . In addition, the processor-readable recording medium may be distributed over network-connected computer systems so that code readable by the processor in a distributed fashion can be stored and executed.
또한, 이상에서는 본 발명의 바람직한 실시 예에 대하여 도시하고 설명하였지만, 본 발명은 상술한 특정의 실시 예에 한정되지 아니하며, 청구범위에서 청구하는 본 발명의 요지를 벗어남이 없이 당해 발명이 속하는 기술분야에서 통상의 지식을 가진자에 의해 다양한 변형실시가 가능한 것은 물론이고, 이러한 변형실시들은 본 발명의 기술적 사상이나 전망으로부터 개별적으로 이해돼서는 안 될 것이다.While the present invention has been particularly shown and described with reference to exemplary embodiments thereof, it is to be understood that the invention is not limited to the disclosed exemplary embodiments, but, on the contrary, It will be understood by those skilled in the art that various changes and modifications may be made without departing from the spirit and scope of the present invention.
그리고, 당해 명세서에서는 물건 발명과 방법 발명이 모두 설명되고 있으며, 필요에 따라 양발명의 설명은 보충적으로 적용될 수가 있다.In this specification, both the invention and the invention of the method are explained, and the description of the two inventions can be supplementarily applied as necessary.
100 : 디스플레이 장치
195 : 리모트 컨트롤러100: display device
 195: Remote controller
| Application Number | Priority Date | Filing Date | Title | 
|---|---|---|---|
| KR1020110049995AKR101821200B1 (en) | 2011-05-26 | 2011-05-26 | Display apparatus for processing multiple applications and method for controlling the same | 
| EP11008232.8AEP2528339B1 (en) | 2011-05-26 | 2011-10-12 | Display apparatus for processing multiple applications and method for controlling the same | 
| EP19211575.6AEP3634001A1 (en) | 2011-05-26 | 2011-10-12 | Display apparatus for processing multiple applications and method for controlling the same | 
| US13/288,522US9015758B2 (en) | 2011-05-26 | 2011-11-03 | Display apparatus for processing multiple applications and method for controlling the same | 
| CN201510259264.3ACN104883601B (en) | 2011-05-26 | 2011-12-02 | Handle the display device and its control method of multiple applications | 
| CN201110397441.6ACN102802087B (en) | 2011-05-26 | 2011-12-02 | Display device for processing multiple applications and control method thereof | 
| US14/663,259US9762969B2 (en) | 2011-05-26 | 2015-03-19 | Display apparatus for processing multiple applications and method for controlling the same | 
| US15/692,283US10085065B2 (en) | 2011-05-26 | 2017-08-31 | Display apparatus for processing multiple applications and method for controlling the same | 
| US16/120,811US10484744B2 (en) | 2011-05-26 | 2018-09-04 | Display apparatus for processing multiple applications and method for controlling the same | 
| US16/664,018US11388479B2 (en) | 2011-05-26 | 2019-10-25 | Display apparatus for processing multiple applications and method for controlling the same | 
| US17/752,174US11902627B2 (en) | 2011-05-26 | 2022-05-24 | Display apparatus for processing multiple applications and method for controlling the same | 
| Application Number | Priority Date | Filing Date | Title | 
|---|---|---|---|
| KR1020110049995AKR101821200B1 (en) | 2011-05-26 | 2011-05-26 | Display apparatus for processing multiple applications and method for controlling the same | 
| Publication Number | Publication Date | 
|---|---|
| KR20120131663A KR20120131663A (en) | 2012-12-05 | 
| KR101821200B1true KR101821200B1 (en) | 2018-01-23 | 
| Application Number | Title | Priority Date | Filing Date | 
|---|---|---|---|
| KR1020110049995AActiveKR101821200B1 (en) | 2011-05-26 | 2011-05-26 | Display apparatus for processing multiple applications and method for controlling the same | 
| Country | Link | 
|---|---|
| KR (1) | KR101821200B1 (en) | 
| Publication number | Priority date | Publication date | Assignee | Title | 
|---|---|---|---|---|
| USD741353S1 (en)* | 2013-06-10 | 2015-10-20 | Apple Inc. | Display screen or portion thereof with animated graphical user interface | 
| KR102254889B1 (en)* | 2013-12-24 | 2021-05-24 | 엘지전자 주식회사 | Digital device and method for controlling the same | 
| KR101654724B1 (en)* | 2014-11-18 | 2016-09-22 | 엘지전자 주식회사 | Smart tv and method for controlling data in a device having at least one memory | 
| EP4564835A1 (en)* | 2022-06-28 | 2025-06-04 | Samsung Electronics Co., Ltd. | Display device and operating method thereof | 
| Publication number | Priority date | Publication date | Assignee | Title | 
|---|---|---|---|---|
| JP2000305696A (en) | 1999-03-31 | 2000-11-02 | Internatl Business Mach Corp <Ibm> | Method and system for displaying and organizing icon and recording medium | 
| US20100262931A1 (en)* | 2009-04-10 | 2010-10-14 | Rovi Technologies Corporation | Systems and methods for searching a media guidance application with multiple perspective views | 
| Publication number | Priority date | Publication date | Assignee | Title | 
|---|---|---|---|---|
| JP2000305696A (en) | 1999-03-31 | 2000-11-02 | Internatl Business Mach Corp <Ibm> | Method and system for displaying and organizing icon and recording medium | 
| US20100262931A1 (en)* | 2009-04-10 | 2010-10-14 | Rovi Technologies Corporation | Systems and methods for searching a media guidance application with multiple perspective views | 
| Publication number | Publication date | 
|---|---|
| KR20120131663A (en) | 2012-12-05 | 
| Publication | Publication Date | Title | 
|---|---|---|
| US11902627B2 (en) | Display apparatus for processing multiple applications and method for controlling the same | |
| US8965314B2 (en) | Image display device and method for operating the same performing near field communication with a mobile terminal | |
| EP2811753B1 (en) | Operating method of image display apparatus with multiple remote control devices | |
| US9088814B2 (en) | Image display method and apparatus | |
| KR101545490B1 (en) | Image Display Device and Operating Method for the Same | |
| US9332300B2 (en) | Apparatus and method for controlling display of information on a television | |
| KR101708691B1 (en) | Image Display Device and Method for Operating the Same | |
| KR101992182B1 (en) | Operating Method for Image Display apparatus | |
| CN101646992A (en) | Content reproduction system, content reproduction/control device, and computer program | |
| JP2014120176A (en) | Display apparatus, and method of providing ui thereof | |
| KR101911249B1 (en) | Computing device and method for controlling a user interface the same | |
| KR101556165B1 (en) | Display apparatus for processing video data and method for controlling the same | |
| KR101821200B1 (en) | Display apparatus for processing multiple applications and method for controlling the same | |
| KR101924062B1 (en) | Image display apparatus and method for operating the same | |
| KR20110072970A (en) | Image display device and its operation method | |
| KR101847616B1 (en) | Image display apparatus, server and method for operating the same | |
| KR20120131258A (en) | Apparatus for displaying image and method for operating the same | |
| KR101769558B1 (en) | Image Display Device Operating Method | |
| KR101799315B1 (en) | Method for operating an Image display apparatus | |
| KR101691794B1 (en) | Apparatus for displaying image and method for operating the same | |
| KR20230116661A (en) | Mobile terminal | |
| KR101891614B1 (en) | Method for operating a Mobile terminal and an Image Display Device | |
| KR101877389B1 (en) | Method for operating an apparatus for displaying image | 
| Date | Code | Title | Description | 
|---|---|---|---|
| PA0109 | Patent application | Patent event code:PA01091R01D Comment text:Patent Application Patent event date:20110526 | |
| PG1501 | Laying open of application | ||
| A201 | Request for examination | ||
| PA0201 | Request for examination | Patent event code:PA02012R01D Patent event date:20160426 Comment text:Request for Examination of Application Patent event code:PA02011R01I Patent event date:20110526 Comment text:Patent Application | |
| E902 | Notification of reason for refusal | ||
| PE0902 | Notice of grounds for rejection | Comment text:Notification of reason for refusal Patent event date:20170616 Patent event code:PE09021S01D | |
| E701 | Decision to grant or registration of patent right | ||
| PE0701 | Decision of registration | Patent event code:PE07011S01D Comment text:Decision to Grant Registration Patent event date:20171025 | |
| GRNT | Written decision to grant | ||
| PR0701 | Registration of establishment | Comment text:Registration of Establishment Patent event date:20180117 Patent event code:PR07011E01D | |
| PR1002 | Payment of registration fee | Payment date:20180118 End annual number:3 Start annual number:1 | |
| PG1601 | Publication of registration | ||
| PR1001 | Payment of annual fee | Payment date:20211222 Start annual number:5 End annual number:5 | |
| PR1001 | Payment of annual fee | Payment date:20221222 Start annual number:6 End annual number:6 |