












본 발명은 입체영상 디스플레이 장치 및 입체영상 자막 디스플레이 방법에 관한 것으로, 보다 상세하게는, 적어도 하나의 좌안 시점 영상 및 적어도 하나의 우안 시점 영상을 포함하는 입체영상의 자막을 처리하는 위한 입체영상 디스플레이 장치 및 입체영상 자막 디스플레이 방법에 관한 것이다.The present invention relates to a stereoscopic image display apparatus and a stereoscopic image caption display method, and more particularly, to a stereoscopic image display apparatus and a stereoscopic image display method for processing a caption of a stereoscopic image including at least one left eye view image and at least one right eye view image, And a stereoscopic image caption display method.
현재에는 아날로그 방송에서 디지털 방송으로 방송환경이 급속히 전환되고 있다. 그에 따라 디지털 방송을 위한 컨텐츠의 양이 급속히 증가하고 있다. 또한, 디지털 방송을 위한 컨텐츠로는 2차원(2-dimensions: 2D) 영상 신호를 2차원 이미지로 디스플레이하는 컨텐츠 이외에도 3차원(3 dimensions: 3D) 영상 신호를 3차원 이미지로 디스플레이하는 컨텐츠가 제작 및 기획되고 있다.Currently, the broadcasting environment is rapidly changing from analog broadcasting to digital broadcasting. Accordingly, the amount of contents for digital broadcasting is rapidly increasing. In addition to the content for displaying a 2-dimensional (2D) video signal as a 2-dimensional image, contents for displaying 3-dimensional (3D) It is planned.
3 차원 영상을 디스플레이하는 기술은 양안의 시차로 관찰자가 입체감을 느끼게 되는 양안 시차의 원리를 이용하는 것으로, 안경 방식(shutter glass method), 무안경 방식, 완전 3차원 방식 등으로 구분된다. 안경 방식은 입체영상을 관람하기 위하여 시청자가 특수한 기능의 안경을 착용하는 방식을 말한다. 안경 방식을 크게 구분하여, 좌우가 번갈아 개폐되는 셔터글라스 방식과 좌우안의 안경렌즈 부분에 서로 반대 방향의 원편광판을 장착하는 편광 방식으로 분류할 수 있다.The technique of displaying a three-dimensional image is based on the principle of binocular parallax that the observer perceives a stereoscopic effect in the binocular parallax, and is classified into a shutter glass method, an eyeglass method, and a full three-dimensional method. The glasses system refers to a system in which viewers wear glasses having a special function to view a stereoscopic image. It is possible to classify the spectacles into a polarizing mode in which the shutter glasses are alternately opened and closed alternately and the circular polarizing plates in opposite directions are mounted on the left and right spectacle lens portions.
본 발명이 이루고자 하는 기술적 과제는 시청자가 시각적 피로감 없이 편하게 시청할 수 있도록 입체영상의 자막을 디스플레이하는 입체영상 디스플레이 장치 및 입체영상 자막 디스플레이 방법을 제공하는데 있다.According to an aspect of the present invention, there is provided a stereoscopic image display apparatus and a stereoscopic image caption display method, which display subtitles of a stereoscopic image so that a viewer can easily view the image without visual fatigue.
상기의 기술적 과제를 달성하기 위한, 본 발명에 따른 입체영상 자막 디스플레이 방법은 사전에 설정된 시간 동안에 디코딩된 입체영상 프레임들 중 적어도 하나의 입체영상 프레임의 픽셀 차이값을 산출하며, 여기서 해당 입체영상 프레임과 상기 해당 입체영상 프레임 이전에 디스플레이될 입체영상 프레임을 이용하여 상기 픽셀 차이값을 산출하는 단계, 상기 적어도 하나의 입체영상 프레임의 픽셀 차이값을 기초로 상기 디코딩된 입체영상 프레임들의 자막 위치를 선택하는 단계, 상기 적어도 하나의 입체영상 프레임 각각에 대한 상기 선택된 자막 위치에서의 깊이값을 산출하는 단계, 상기 산출된 적어도 하나의 깊이값을 이용하여 자막 깊이값을 설정하는 단계, 및 상기 선택된 자막 위치에 상기 설정된 자막 깊이값을 갖는 자막 이미지를 디스플레이하는 단계를 포함할 수 있다. 여기서 상기 사전에 설정된 시간은 자막 이미지가 디스플레이될 시간 및 하나의 장면을 구성하는 입체영상 프레임이 디코딩되는 시간 중 하나를 기초로 설정될 수 있다. 또한 상기 적어도 하나의 입체영상 프레임은 I-프레임(Intra-coded frame) 및 P-프레임(Predictive-coded frame) 중 적어도 하나일 수 있다. 또한 상기 자막 위치는 객체가 위치하는 영역 중에서 선택될 수 있고, 상기 객체는 사람, 동물, 기구 및 장치 중 적어도 하나를 포함할 수 있다.According to another aspect of the present invention, there is provided a stereoscopic image subtitle display method for calculating a difference value of at least one stereoscopic image frame among a plurality of stereoscopic image frames decoded for a preset time, Calculating a pixel difference value using a stereoscopic image frame to be displayed before the corresponding stereoscopic image frame, selecting a subtitle position of the decoded stereoscopic image frames based on a pixel difference value of the at least one stereoscopic image frame, Calculating a depth value at the selected subtitle position for each of the at least one stereoscopic image frame, setting a subtitle depth value using the calculated at least one depth value, The subtitle image having the set subtitle depth value is displayed on the display And a step of irradiating. Here, the predetermined time may be set based on one of a time at which the caption image is displayed and a time at which the stereoscopic image frame constituting one scene is decoded. Also, the at least one stereoscopic image frame may be at least one of an I-frame (Intra-coded frame) and a P-frame (Predictive-coded frame). Further, the caption position may be selected from an area where the object is located, and the object may include at least one of a person, an animal, a device, and an apparatus.
상기 픽셀 차이값을 산출하는 단계는, 상기 사전에 설정된 시간 내인지 여부를 확인하는 단계, 상기 사전에 설정된 시간 내인 경우에는, 입체영상 프레임의 좌안 시점 영상 프레임 및 우안 시점 영상 프레임을 디코딩하는 단계, 상기 디코딩된 좌안 시점 영상 프레임 및 우안 시점 영상 프레임을 저장하는 단계, 상기 저장된 좌안 시점 영상 프레임과 상기 저장된 좌안 시점 영상 프레임 이전에 디스플레이될 좌안 시점 영상 프레임간의 픽셀 차이값 및 상기 저장된 우안 시점 영상 프레임과 상기 저장된 우안 시점 영상 프레임 이전에 디스플레이될 우안 시점 영상 프레임간의 픽셀 차이값 중 적어도 하나를 산출하는 단계, 및 상기 산출된 픽셀 차이값을 픽셀별로 누적하는 단계를 포함할 수 있다.Wherein the step of calculating the pixel difference value comprises the steps of: checking whether the pixel difference value is within the predetermined time; decoding the left eye view image frame and the right eye view image frame of the stereoscopic image frame in the preset time; A decoded left eye view image frame and a right eye view image frame, a pixel difference value between the stored left eye view image frame and a stored left eye view image frame to be displayed before the stored left eye view image frame, Calculating at least one of pixel difference values between right eye view image frames to be displayed before the stored right eye view image frame, and accumulating the calculated pixel difference values on a pixel by pixel basis.
상기 선택된 자막 위치에서의 깊이값을 산출하는 단계는, 상기 적어도 하나의 입체영상 프레임 중 하나를 선택하는 단계, 상기 선택된 자막 위치에서 상기 선택된 입체영상 프레임의 좌안 시점 영상 프레임 및 우안 시점 영상 프레임 사이의 차이값을 산출하는 단계, 및 상기 산출된 차이값을 이용하여 상기 깊이값을 산출하는 단계를 포함할 수 있다.Wherein the step of calculating the depth value at the selected caption position comprises the steps of: selecting one of the at least one stereoscopic image frame; selecting a stereoscopic image frame among the left- Calculating a difference value, and calculating the depth value using the calculated difference value.
상기 자막 깊이값을 설정하는 단계는, 상기 산출된 적어도 하나의 깊이값의 평균 깊이값을 산출하는 단계, 및 장르 및 자막 재생 모드 중 적어도 하나를 기초로 상기 산출된 평균 깊이값 및 사전에 설정된 자막 깊이값을 중 하나를 상기 자막 깊이값으로 설정하는 단계를 포함할 수 있다.Wherein the step of setting the subtitle depth value comprises the steps of: calculating an average depth value of the calculated at least one depth value; and calculating an average depth value and a preset subtitle And setting one of the depth values to the subtitle depth value.
상기 입체영상 자막 디스플레이 방법은, 자막 데이터를 이용하여 상기 설정된 자막 깊이값을 갖는 자막 이미지의 좌안 자막 이미지 및 우안 자막 이미지를 생성하는 단계를 더 포함할 수 있다.The stereoscopic image caption display method may further include generating a left caption image and a right caption image of the caption image having the set caption depth value using the caption data.
상기 입체영상 자막 디스플레이 방법은, 상기 생성된 좌안 자막 이미지를 상기 디코딩된 입체영상 프레임들의 좌안 시점 영상 프레임내의 상기 자막 위치에 믹싱하고, 상기 생성된 우안 자막 이미지를 상기 디코딩된 입체영상 프레임들의 우안 시점 영상 프레임내의 상기 자막 위치에 믹싱하는 단계를 더 포함할 수 있다.The stereoscopic image caption display method may further include mixing the generated left eye caption image with the caption position in the left eye view image frame of the decoded stereoscopic image frames and outputting the generated right eye caption image to the right eye view of the decoded stereoscopic image frames The method may further include mixing at a caption position in an image frame.
상기 좌안 자막 이미지 및 상기 우안 자막 이미지는 OSD(On Screen Display) 이미지로 디스플레이될 수 있다.The left-eye subtitle image and the right-eye subtitle image may be displayed as an OSD (On Screen Display) image.
상기의 다른 기술적 과제를 달성하기 위한, 본 발명에 따른 입체영상 디스플레이 장치는, 입체영상 프레임을 디코딩하는 비디오 디코더, 사전에 설정된 시간 동안에 디코딩된 입체영상 프레임들 중 적어도 하나의 입체영상 프레임의 픽셀 차이값을 각각 해당 입체영상 프레임과 해당 입체영상 프레임 이전에 디스플레이될 입체영상 프레임을 이용하여 산출하고, 상기 산출된 픽셀 차이값들을 기초로 상기 디코딩된 입체영상 프레임들의 자막 위치를 선택하며, 상기 적어도 하나의 입체영상 프레임 각각에 대한 상기 선택된 자막 위치에서의 깊이값을 산출하고, 상기 산출된 적어도 하나의 깊이값을 이용하여 자막 깊이값을 설정하는 제어부, 및 상기 선택된 자막 위치에 상기 설정된 자막 깊이값을 갖는 자막 이미지를 디스플레이하는 디스플레이를 포함할 수 있다. 여기서, 상기 사전에 설정된 시간은 자막 이미지가 디스플레이될 시간 및 하나의 장면을 구성하는 입체영상 프레임이 디코딩되는 시간 중 하나를 기초로 설정될 수 있다. 상기 적어도 하나의 입체영상 프레임은 I-프레임(Intra-coded frame) 및 P-프레임(Predictive-coded frame) 중 적어도 하나일 수 있다.According to another aspect of the present invention, there is provided a stereoscopic image display apparatus including a video decoder for decoding a stereoscopic image frame, a display unit for displaying at least one of the stereoscopic image frames, Values using the corresponding stereoscopic image frame and a stereoscopic image frame to be displayed before the stereoscopic image frame, and selects a caption position of the decoded stereoscopic image frames based on the calculated pixel difference values, A controller for calculating a depth value at the selected caption position for each of the stereoscopic image frames of the stereoscopic image frame and setting a caption depth value using the calculated at least one depth value, Contains a display to display caption images can do. Here, the predetermined time may be set based on one of a time at which a caption image is displayed and a time at which a stereoscopic image frame constituting one scene is decoded. The at least one stereoscopic image frame may be at least one of an I-frame (Intra-coded frame) and a P-frame (Predictive-coded frame).
상기 제어부는, 상기 사전에 설정된 시간 내인지 여부를 확인하고, 상기 사전에 설정된 시간 내인 경우에는, 상기 디코딩된 입체영상 프레임의 좌안 시점 영상 프레임 및 우안 시점 영상 프레임이 저장되도록 제어하고, 상기 저장된 좌안 시점 영상 프레임과 상기 저장된 좌안 시점 영상 프레임 이전에 디스플레이될 좌안 시점 영상 프레임간의 픽셀 차이값 및 상기 저장된 우안 시점 영상 프레임과 상기 저장된 우안 시점 영상 프레임 이전에 디스플레이될 우안 시점 영상 프레임간의 픽셀 차이값 중 적어도 하나를 산출하며, 상기 산출된 픽셀 차이값을 픽셀별로 누적하며, 상기 누적된 픽셀 차이값을 기초로 상기 자막 위치를 선택할 수 있다.Wherein the control unit checks whether the left eye view image frame and the right eye view image frame of the decoded stereoscopic image frame are stored when the time is within the preset time, A pixel difference value between a viewpoint image frame and a left eye view image frame to be displayed before the stored left eye view image frame and a pixel difference value between a stored right eye view image frame and a stored right eye view image frame to be displayed before the stored right eye view image frame, The calculated pixel difference value is accumulated for each pixel, and the subtitle position can be selected based on the accumulated pixel difference value.
상기 제어부는, 상기 적어도 하나의 입체영상 프레임 중 하나를 선택하고, 상기 선택된 자막 위치에서 상기 선택된 입체영상 프레임의 좌안 시점 영상 프레임 및 우안 시점 영상 프레임 사이의 차이값을 산출하며, 상기 산출된 차이값을 이용하여 상기 깊이값을 산출할 수 있다.Wherein the control unit selects one of the at least one stereoscopic image frames and calculates a difference value between the left eye view image frame and the right eye view image frame of the selected stereoscopic image frame at the selected caption position, Can be used to calculate the depth value.
상기 제어부는, 상기 산출된 적어도 하나의 깊이값의 평균 깊이값을 산출하고, 장르 및 자막 재생 모드 중 적어도 하나를 기초로 상기 산출된 평균 깊이값 및 사전에 설정된 자막 깊이값을 중 하나를 상기 자막 깊이값으로 설정할 수 있다.The control unit calculates an average depth value of the calculated at least one depth value and determines one of the calculated average depth value and a preset subtitle depth value based on at least one of a genre and a subtitle reproduction mode, Depth value can be set.
상기 입체영상 디스플레이 장치는, 자막 데이터를 이용하여 상기 설정된 자막 깊이값을 갖는 자막 이미지의 좌안 자막 이미지 및 우안 자막 이미지를 생성하는 자막 디코더를 더 포함할 수 있다.The stereoscopic image display apparatus may further include a caption decoder for generating a left-eye caption image and a right-eye caption image of the caption image having the set caption depth value using the caption data.
상기 입체영상 디스플레이 장치는, 상기 생성된 좌안 자막 이미지를 상기 디코딩된 입체영상 프레임들의 좌안 시점 영상 프레임내의 상기 자막 위치에 믹싱하고, 상기 생성된 우안 자막 이미지를 상기 디코딩된 입체영상 프레임들의 우안 시점 영상 프레임내의 상기 자막 위치에 믹싱하는 믹서를 더 포함할 수 있다.Wherein the stereoscopic image display device mixes the generated left eye caption image with the caption position in a left eye view image frame of the decoded stereoscopic image frames and outputs the generated right eye caption image to a right eye view image of the decoded stereoscopic image frames And a mixer for mixing at the caption position within the frame.
상기 입체영상 디스플레이 장치는, 상기 좌안 자막 이미지 및 상기 우안 자막 이미지가 OSD(On Screen Display) 이미지로 디스플레이되도록 제어하는 OSD부를 더 포함할 수 있다.The stereoscopic image display apparatus may further include an OSD unit for controlling the display of the left-eye subtitle image and the right-eye subtitle image as OSD (On Screen Display) images.
상기 제어부는, 상기 자막 위치를 객체가 위치하는 영역 중에서 선택할 수 있다. 여기서, 상기 객체는 사람, 동물, 기구 및 장치 중 적어도 하나를 포함할 수 있다.The control unit may select the caption position from a region where the object is located. Here, the object may include at least one of a person, an animal, a device, and an apparatus.
본 발명에 따른 입체영상 디스플레이 장치 및 입체영상 자막 디스플레이 방법에 의하면, 입체영상의 깊이값에 맞추어 자막 이미지를 디스플레이하고, 입체영상 중에 시선이 집중되는 부분에 자막 이미지를 디스플레이할 수 있으므로, 시청자는 시각적 피로감 없이 편안하게 입체영상을 자막과 함께 시청할 수 있다.According to the stereoscopic image display apparatus and the stereoscopic image caption display method according to the present invention, a caption image can be displayed according to a depth value of a stereoscopic image, and a caption image can be displayed at a portion where a sight line is concentrated in a stereoscopic image. Stereoscopic images can be viewed with subtitles comfortably without fatigue.
도 1은 본 발명에 따른 입체영상 디스플레이 장치에 대한 바람직한 일실시예의 구성을 도시한 블록도,
도 2는 양안시차 방식을 도시한 도면,
도 3은 본 발명에 따른 입체영상의 싱글 비디오 스트림 포맷의 예들을 도시한 도면,
도 4는 본 발명에 따른 입체영상의 멀티 비디오 스트림 포맷의 예들을 도시한 도면,
도 5는 자막 위치를 선택하는 방법을 설명하기 위한 도면,
도 6은 좌안 시점 영상 프레임 및 우안 시점 영상 프레임이 디스플레이된 화면을 도시한 도면.
도 7은 자막 이미지를 입체 이미지로 생성하는 방법을 설명하기 위한 도면,
도 8은 신호 처리부에 대한 바람직한 일실시예의 구성을 도시한 블록도,
도 9는 FRC부에서 입력 영상 데이터의 처리 과정을 설명하기 위한 도면,
도 10은 포맷터에서 영상 프레임을 구성하는 과정을 설명하기 위한 도면,
도 11은 본 발명에 따른 입체영상 자막 재생 방법에 대한 바람직한 일실시예의 수행과정을 도시한 흐름도,
도 12는 신호 처리부에 대한 바람직한 다른 실시예의 구성을 도시한 블록도, 그리고,
도 13은 본 발명에 따른 입체영상 자막 재생 방법에 대한 바람직한 다른 실시예의 수행과정을 도시한 흐름도이다.1 is a block diagram showing a configuration of a preferred embodiment of a stereoscopic image display apparatus according to the present invention.
2 is a diagram illustrating a binocular disparity system,
3 is a diagram illustrating examples of a single video stream format of a stereoscopic image according to the present invention,
FIG. 4 is a diagram illustrating examples of a multi-video stream format of a stereoscopic image according to the present invention,
5 is a diagram for explaining a method of selecting a caption position,
6 is a view showing a screen on which a left eye view image frame and a right eye view image frame are displayed;
7 is a diagram for explaining a method of generating a three-dimensional image of a subtitle image,
8 is a block diagram showing a configuration of a preferred embodiment of the signal processing unit,
9 is a diagram for explaining a process of input image data in the FRC unit,
10 is a diagram for explaining a process of configuring an image frame in the formatter,
FIG. 11 is a flowchart illustrating a method of performing a stereoscopic image caption reproducing method according to an exemplary embodiment of the present invention.
12 is a block diagram showing a configuration of another preferred embodiment of the signal processing unit,
FIG. 13 is a flowchart illustrating a method of performing a stereoscopic image caption reproducing method according to another embodiment of the present invention.
이하 상기의 목적을 구체적으로 실현할 수 있는 본 발명의 바람직한 실시예를 첨부한 도면을 참조하여 설명한다. 이때 도면에 도시되고 또 이것에 의해서 설명되는 본 발명의 구성과 작용은 적어도 하나의 실시예로서 설명되는 것이며, 이것에 의해서 본 발명의 기술적 사상과 그 핵심 구성 및 작용이 제한되지는 않는다.DETAILED DESCRIPTION OF THE PREFERRED EMBODIMENTS Hereinafter, preferred embodiments of the present invention will be described with reference to the accompanying drawings. The structure and operation of the present invention shown in the drawings and described by the drawings are described as at least one embodiment, and the technical ideas and the core structure and operation of the present invention are not limited thereby.
본 발명에서 사용되는 용어는 본 발명에서의 기능을 고려하면서 가능한 현재 널리 사용되는 일반적인 용어를 선택하였으나, 이는 당해 기술분야에 종사하는 기술자의 의도 또는 관례 또는 새로운 기술의 출현 등에 따라 달라질 수 있다. 또한, 특정한 경우는 출원인이 임의로 선정한 용어도 있으며, 이 경우 해당되는 발명의 설명 부분에서 상세히 그 의미를 기재할 것이다. 따라서 본 발명에서 사용되는 용어는 단순한 용어의 명칭이 아닌 그 용어가 가지는 의미와 본 발명의 전반에 걸친 내용을 토대로 정의되어야 함을 밝혀두고자 한다.Although the terms used in the present invention have been selected in consideration of the functions of the present invention, it is possible to use general terms that are currently widely used, but this may vary depending on the intention or custom of a person skilled in the art or the emergence of new technology. Also, in certain cases, there may be a term selected arbitrarily by the applicant, in which case the meaning thereof will be described in detail in the description of the corresponding invention. Therefore, it is to be understood that the term used in the present invention should be defined based on the meaning of the term rather than the name of the term, and on the contents of the present invention throughout.
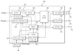
도 1은 본 발명에 따른 입체영상 디스플레이 장치에 대한 바람직한 일실시예의 구성을 도시한 블록도이다.1 is a block diagram showing a configuration of a preferred embodiment of a stereoscopic image display apparatus according to the present invention.
도 1을 참조하면, 본 발명에 따른 입체영상 디스플레이 장치(100)는 수신부(101), 신호 처리부(140), 디스플레이(150), 음성 출력부(160), 입력장치(170), 저장부(180) 및 제어부(190)를 포함할 수 있다. 입체영상 디스플레이 장치(100)는 데스크톱, 랩톱, 태블릿 또는 핸드헬드 컴퓨터 등의 퍼스널 컴퓨터 시스템일 수 있다. 또한 입체영상 디스플레이 장치(100)는 휴대폰, 스마트폰(smart phone), 디지털방송용 단말기, PDA(Personal Digital Assistants), PMP(Portable Multimedia Player), 내비게이션 등과 같은 이동 단말기일 수 있고, 디지털 TV 같은 고정형 가전기기일 수 있다.1, a stereoscopic
수신부(101)는 방송 데이터, 영상 데이터, 음성 데이터, 정보 데이터, 프로그램 코드를 수신할 수 있다. 여기서 영상 데이터는 양안시차 방식의 입체영상 데이터일 수 있다. 입체영상 데이터는 스테레오 시점 영상 또는 다시점 영상일 수 있다. 즉 입체영상 데이터는 적어도 하나의 좌안 시점 영상 데이터와 적어도 하나의 우안 시점 영상 데이터를 포함할 수 있다.The
또한 입체영상 데이터는 하나의 입체 이미지를 디스플레이하는 입체영상 프레임을 포함할 수 있다. 여기기 입체영상 프레임은 싱글 비디오 스트림 포맷 및 멀티 비디오 스트림 포맷을 가질 수 있다.Also, the stereoscopic image data may include a stereoscopic image frame displaying one stereoscopic image. The exciter stereoscopic image frame may have a single video stream format and a multi-video stream format.
도 2는 양안시차 방식을 도시한 도면이다.2 is a diagram showing a binocular disparity system.
도 2를 참조하면, 양안시차 방식은 양안 카메라 등으로 촬상된 좌안 시점 영상(201) 및 우안 시점 영상(202)을 시청자의 양 눈(211, 212)에 각각 보여줌으로써 공간감 또는 입체감을 제공하는 3차원 디스플레이 방식이다. 좌안 시점 영상(201) 및 우안 시점 영상(202)의 양안 시차에 따라 시청자에게 제공되는 공간감 또는 입체감이 달라질 수 있다.Referring to FIG. 2, the binocular parallax system includes a left
좌안 시점 영상(201) 및 우안 시점 영상(202)의 간격이 좁을수록, 좌안(211) 및 우안(212)로부터 먼 거리에서 상이 맺히는 것으로 인식되어, 시청자에게 제공되는 공간감 또는 입체감이 작아질 수 있다. 또한 좌안 시점 영상(201) 및 우안 시점 영상(202)의 간격이 넓을수록, 좌안(211) 및 우안(212)으로부터 가까운 거리에서 상이 맺히는 것으로 인식되어, 시청자에게 제공되는 공간감 또는 입체감이 커질 수 있다.As the interval between the left
도 3은 본 발명에 따른 입체영상의 싱글 비디오 스트림 포맷의 예들을 도시한 도면이다.3 is a diagram illustrating examples of a single video stream format of a stereoscopic image according to the present invention.
도 3을 참조하면, 싱글 비디오 스트림 포맷은 사이드 바이 사이드(side by side) 포맷, 탑 앤 바텀(top and bottom) 포맷, 체커 보드(checker board) 포맷, 프레임 시퀀셜(Frame sequential) 포맷 및 인터레이스드(Interlaced) 포맷을 포함할 수 있다.Referring to FIG. 3, a single video stream format may include a side by side format, a top and bottom format, a checker board format, a frame sequential format, and an interlaced (" Interlaced < / RTI > format.
사이드 바이 사이드(side by side) 포맷(310)은 좌안 시점 영상(201)을 디스플레이하는 좌안 시점 영상 데이터(311)와 우안 시점 영상(202)을 디스플레이하는 우안 시점 영상 데이터(312)가 사람의 좌안과 우안에 각각 서로 직교하도록 나란히 입력되는 포맷이다. 사이드 바이 사이드 포맷의 입체영상 프레임(310)에는 하나의 좌안 시점 영상 프레임(311) 및 하나의 우안 시점 영상 프레임(312)이 나란히 배치된다.The side by
탑 앤 바텀(top and bottom) 포맷(320)은 좌안 시점 영상(201)을 디스플레이하는 좌안 시점 영상 데이터(321)와 우안 시점 영상(202)을 디스플레이하는 우안 시점 영상 데이터(322)가 상하로 입력되는 포맷이다. 탑 앤 바텀 포맷의 입체영상 프레임(320)에는 하나의 좌안 시점 영상 프레임(321) 및 하나의 우안 시점 영상 프레임(322)이 상하로 배치된다. The top and
체커 보드(checker board) 포맷(330)은 좌안 시점 영상(201)을 디스플레이하는 좌안 시점 영상 데이터(331)와 우안 시점 영상(202)을 디스플레이하는 우안 시점 영상 데이터(332)가 체스판 모양으로 시간적으로 번갈아 입력되는 포맷이다. 즉 체커 보드 포맷의 입체영상 프레임(330)에는 좌안 시점 영상(201)의 화소 데이터와 우안 시점 영상(202)의 화소 데이터가 체스판 모양으로 시간적으로 번갈아 배치된다.The
프레임 시퀀셜(Frame sequential) 포맷(340)은 좌안 시점 영상(201)을 디스플레이하는 좌안 시점 영상 데이터(341) 및 우안 시점 영상(202)을 디스플레이하는 우안 시점 영상 데이터(342)가 시간차를 두어 입력되는 방식이다. 프레임 시퀀셜 포맷에서 하나의 좌안 시점 영상 프레임(341) 및 하나의 우안 시점 영상 프레임(342)이 하나의 독립된 영상 프레임으로 수신된다. 여기서 입체영상 프레임은 좌안 시점 영상 프레임(341) 및 우안 시점 영상 프레임(342)을 포함할 수 있다. The frame
인터레이스드(Interlaced) 포맷에는 좌안 시점 영상(201)을 디스플레이하는 좌안 시점 영상 데이터(351)와 우안 시점 영상(202)을 디스플레이하는 우안 시점 영상 데이터(352)를 각각 수평 방향으로 1/2 서브 샘플링하고, 샘플링한 좌안 시점 영상 데이터(351)와 우안 시점 영상 데이터(352)가 라인마다 교대로 위치하는 포맷(350)이 있다. 또한 인터레이스드(Interlaced) 포맷에는 좌안 시점 영상 (201)을 디스플레이하는 좌안 시점 영상 데이터(356)와 우안 시점 영상(202)을 디스플레이하는 우안 시점 영상 데이터(357)를 각각 수직 방향으로 1/2 서브 샘플링하고, 샘플링한 좌안 시점 영상 데이터(356)와 우안 시점 영상 데이터(357)가 라인마다 교대로 위치하는 포맷(355)이 있다. 여기서 입체영상 프레임은 영상 프레임(350) 또는 영상 프레임(355)일 수 있다.In the interlaced format, the left eye
도 4는 본 발명에 따른 입체영상의 멀티 비디오 스트림 포맷의 예들을 도시한 도면이다.4 is a diagram illustrating examples of a multi-video stream format of a stereoscopic image according to the present invention.
도 4를 참조하면, 멀티 비디오 스트림 포맷은 풀 좌/우(Full left/right)(410), 풀 좌/하프 우(Full left/Half right)(420) 및 2D 비디오/깊이(2D video/depth)를 포함할 수 있다.4, the multi-video stream format includes a full left / right 410, a full left / half right 420, and a 2D video / depth ).
풀 좌/우(410)는 좌안 시점 영상(411) 및 우안 시점 영상(415)을 각각 전송하는 멀티 비디오 스트림 포맷이다. 여기서 입체영상 프레임은 좌안 시점 영상 프레임(411) 및 우안 시점 영상 프레임(415)을 포함할 수 있다.The full left / right 410 is a multi-video stream format for transmitting the left
풀 좌/하프 우(420)는 좌안 시점 영상(421)은 그대로 전송하고, 우안 시점 영상은 수직(422) 또는 수평(423) 방향으로 1/2 서브 샘플링하여 전송하는 멀티 비디오 스트림 포맷이다. 여기서 입체영상 프레임은 좌안 시점 영상 프레임(421) 및 우안 시점 영상 프레임(422)을 포함할 수 있고, 좌안 시점 영상 프레임(421) 및 우안 시점 영상 프레임(423)을 포함할 수 있다. The full left /
2D 비디오/깊이 포맷(430)은 하나의 시점 영상(431)과 다른 하나의 시점 영상을 만들어내기 위한 깊이 정보(435)를 함께 전송하는 멀티 비디오 스트림 포맷이다. 여기서 입체영상 프레임은 영상 프레임(431) 및 정보 데이터(435)를 포함할 수 있다.The 2D video /
수신부(101)는 튜너부(110), 복조부(120), 이동통신부(115), 네트워크 인터페이스부(130) 및 외부 신호 수신부(130)를 포함할 수 있다.The receiving
튜너부(110)는 안테나를 통해 수신되는 RF(Radio Frequency) 방송 신호 중 사용자에 의해 선택된 채널에 해당하는 RF 방송 신호를 선택하고, 선택된 RF 방송 신호를 중간 주파수 신호 혹은 베이스 밴드 영상 또는 음성 신호로 변환한다.The
복조부(120)는 튜너부(110)에서 변환된 디지털 IF 신호(DIF)를 수신하여 복조 동작을 수행한다. 일예로, 튜너부(110)에서 출력되는 디지털 IF 신호가 ATSC 방식인 경우에는, 복조부(120)는 8-VSB(8-Vestigial Side Band) 복조를 수행한다. 또 다른 예로, 튜너부(110)에서 출력되는 디지털 IF 신호가 DVB 방식인 경우, 복조부(120)는 COFDMA(Coded Orthogonal Frequency Division Modulation) 복조를 수행한다.The
또한, 복조부(120)는 채널 복호화를 수행할 수도 있다. 이를 위해 복조부(120)는 트렐리스 디코더(Trellis Decoder), 디인터리버(De-interleaver), 및 리드 솔로먼 디코더(Reed Solomon Decoder) 등을 구비하여, 트렐리스 복호화, 디인터리빙, 및 리드 솔로먼 복호화를 수행할 수 있다.Also, the
복조부(120)는 복조 및 채널 복호화를 수행한 후 스트림 신호(TS)를 출력할 수 있다. 이때 스트림 신호는 영상 신호, 음성 신호 또는 데이터 신호가 다중화된 신호일 수 있다. 또한 영상 신호는 입체영상 신호일 수 있고, 데이터 신호는 자막 데이터 신호를 포함할 수 있다. 일예로, 스트림 신호는 MPEG-2 규격의 영상 신호, 돌비(Dolby) AC-3 규격의 음성 신호 등이 다중화된 MPEG-2 TS(Transport Stream)일 수 있다. 구체적으로 MPEG-2 TS는, 4 바이트(byte)의 헤더와 184 바이트의 페이로드(payload)를 포함할 수 있다.The
복조부(120)에서 출력한 스트림 신호는 신호처리부(140)로 입력될 수 있다.The stream signal output from the
이동통신부(115)는 이동 통신망 상에서 기지국, 외부의 단말, 서버 중 적어도 하나와 무선 신호를 송수신한다. 상기 무선 신호는, 음성 호 신호, 화상 통화 호 신호 또는 문자/멀티미디어 메시지 송수신에 따른 다양한 형태의 데이터를 포함할 수 있다.The
외부 신호 수신부(135)는 외부 장치와 입체영상 디스플레이 장치(100)를 연결할 수 있는 인터페이스를 제공할 수 있다. 여기서 외부 장치는 DVD(Digital Versatile Disk), 블루레이(Bluray), 게임기기, 켐코더, 컴퓨터(노트북) 등 다양한 종류의 영상 또는 음성 출력 장치를 의미할 수 있고, USB 메모리 또는 USB 하드 디스크 등의 저장 장치일 수 있다. 입체영상 디스플레이 장치(100)는 외부 신호 수신부(135)로부터 수신된 영상 신호 및 음성 신호를 디스플레이할 수 있고, 데이터 신호를 저장하거나 사용할 수 있다. The external
또한 외부 장치는 촬영 장치(90)일 수 있다. 촬영 장치(90)는 복수의 카메라를 포함할 수 있다. 촬영 장치(90)는 사람을 촬상할 수 있다. 촬영 장치(90)는 사람의 손 영역을 인식하여 손 영역에 초점을 맞추고, 줌인하여 촬상할 수 있다. 여기서 촬상된 손 모양은 공간 제스처로 인식될 수 있다. 즉 제어부(190)는 촬상된 손 모양을 공간 제스처로 인식하고 인식된 공간 제스처와 연관된 동작들을 수행하는 명령어들을 실행할 수 있다. 여기서 공간 제스처는 하나 이상의 특정의 컴퓨팅 동작에 매핑되는, 촬영 장치(90)로부터 수신되는 영상 프레임 또는 영상으로부터 인식되는 제스처로 정의될 수 있다.The external device may also be a photographing
일부 실시예로, 입체영상 디스플레이 장치(100)는 촬영 장치(90)를 포함할 수 있다.In some embodiments, the stereoscopic
신호처리부(140)는 복조부(210)가 출력한 스트림 신호를 역다중화하고 역다중화된 신호에 신호 처리 등을 수행한 후, 디스플레이(150)로 영상(152)을 출력하고, 음성 출력부(160)로 음향(161)을 출력한다. 또한 신호 처리부(140)는 이동통신부(115), 네트워크 인터페이스부(130) 및 외부 신호 수신부(135)로부터 영상 데이터, 음성 데이터 및 정보 데이터를 수신할 수 있다. 여기서 정보 데이터는 자막 데이터 및 방송 데이터를 포함할 수 있다.The
신호 처리부(140)는 수신부(101)로부터 수신된 입체영상 데이터를 기초로 디스플레이(150)로 출력한 영상 프레임을 구성할 수 있다. 일부 실시예로, 신호 처리부(140)는 상기 입체영상 데이터를 기초로 복수의 영상 프레임을 생성할 수 있다. 즉 신호 처리부(140)는 상기 입체영상 데이터에 포함된 하나의 좌안 시점 영상 프레임 또는 하나의 우안 시점 영상 프레임을 이용하여 두개의 영상 프레임을 생성할 수 있다.The
신호 처리부(140)는 블랙 데이터를 이용하여 블랙 영상 프레임을 생성할 수 있다. 여기서 상기 블랙 데이터라 함은 본 발명과 관련하여, 입체영상을 구성하는 실제 영상 데이터와는 다른 데이터를 의미할 수 있다. 본 명세서에서는 이러한 데이터를 예를 들어, 크로스토크 현상을 줄이기 위한 목적을 지닌 데이터로 사용하는 것으로 이를 위해 블랙 데이터를 차용한다. 이러한 블랙 데이터는 입체영상 디스플레이 장치(100)에서 생성되거나 또는 송신기에서 전송되는 3D 이미지 신호에 포함되어 전송될 수도 있다.The
신호 처리부(140)는 생성한 블랙 영상 프레임을 좌안 시점 영상 프레임 및 우안 시점 영상 프레임 사이에 삽입할 수 있다. 또한 신호 처리부(140)는 좌안 시점 영상 프레임, 우안 시점 영상 프레임, 블랙 영상 프레임을 일정한 순서로 배열하고, 배열된 순서에 따라 영상 프레임들을 디스플레이(150)로 출력할 수 있다.The
신호 처리부(140)는 구성한 영상 프레임들을 디스플레이(150)로 출력할 수 있다. 여기서 상기 구성된 영상 프레임들은 좌안 시점 영상 프레임, 우안 시점 영상 프레임 및 블랙 영상 프레임일 수 있고 RGB 데이터 포맷으로 디스플레이(150)에 출력될 수 있다. 또한 신호 처리부(140)는 수직/수평 동기신호(Vsync,Hsync), 데이터 인에이블(Data Enable), 클럭신호(CLK), 타입 신호(Type)등의 타이밍신호를 생성하고, 디스플레이(150)로 출력할 수 있다.The
신호 처리부(140)는 자막 데이터를 이용하여 자막 이미지를 생성할 수 있다. 여기서 자막 이미지는 특정 깊이값을 갖는 입체 이미지로 생성될 수 있다. 상기 특정 깊이값은 정보 데이터에 포함된 것일 수 있고, 제어부(190)가 설정한 것일 수 있다. 상기 생성된 자막 이미지는 OSD(On Screen Display) 이미지로 디스플레이될 수 있고, 신호 처리부(140)에서 입체영상 프레임과 믹싱되어 디스플레이(150)로 출력될 수 있다.The
디스플레이(150)는 영상 데이터(RGB) 및 타이밍 신호를 신호 처리부(140)로부터 수신할 수 있다. 그리고 디스플레이(150)는 타이밍 신호를 기초로 영상 데이터(RGB)를 디스플레이할 수 있다. 여기서 디스플레이(150)는 셔터글라스 방식 또는 편광 방식(Patterned Retarder type)으로 입체영상을 디스플레이할 수 있다.The
또한, 디스플레이(150)는 제어부(190)와 연결되어 동작할 수 있다. 디스플레이(150)는 입체영상 디스플레이 장치의 사용자와 운영 체제 또는 운영 체제 상에서 실행 중인 애플리케이션 간의 사용하기 쉬운 인터페이스를 제공하는 그래픽 사용자 인터페이스(GUI)(153)를 디스플레이할 수 있다. GUI(153)는 프로그램, 파일, 및 동작 옵션들을 그래픽 이미지로 표현한다. 그래픽 이미지는 윈도우, 필드, 대화상자, 메뉴, 아이콘, 버튼, 커서 및 스크롤바 등을 포함할 수 있다. 이러한 이미지는 미리 정의된 레이아웃으로 정렬될 수 있거나, 사용자가 취하고 있는 특정의 조치를 돕기 위해 동적으로 생성될 수 있다. 동작 동안에, 사용자는 여러 가지 그래픽 이미지와 연관된 기능 및 작업을 제기하기 위해 그 이미지를 선택 및 활성화할 수 있다. 예로서, 사용자는 윈도우의 열기, 닫기, 최소화, 또는 최대화를 행하는 버튼, 또는 특정 프로그램을 가동시키는 아이콘을 선택할 수 있다.In addition, the
음성 출력부(160)는 신호 처리부(140) 및 제어부(190)로부터 음성 데이터를 수신하고 수신한 음성 데이터가 재생된 음향(161)을 출력할 수 있다.The
입력장치(170)는 디스플레이(150) 상에 또는 그 전방에 배치되어 있는 터치 스크린 또는 터치패드일 수 있다. 터치 스크린은 디스플레이(150)와 일체로 되어 있거나 별개의 구성요소일 수 있다. 터치 스크린이 디스플레이(150)의 전방에 배치됨에 따라 사용자는 GUI(153)를 직접 조작할 수 있다. 예를 들어, 사용자는 단지 제어될 객체 상에 그의 손가락을 올려 놓을 수 있다. 터치패드에서는, 이것과 같은 일대일 관계가 없다.The
터치패드는 디스플레이(150)로부터 떨어져 일반적으로 다른 평면에 놓여 있다. 예를 들어, 디스플레이(150)는 일반적으로 수직 평면에 위치해 있고, 터치패드는 일반적으로 수평 평면에 위치해 있다. 이것은 그의 사용을 덜 직관적이게 하며, 따라서 터치 스크린과 비교할 때 더 어렵다. 터치 스크린인 것에 부가하여, 입력장치(170)는 다중점 입력장치일 수 있다.The touchpad is generally separate from the
저장부(180)는 일반적으로 입체영상 디스플레이 장치(100)에 의해 사용되는 프로그램 코드 및 데이터를 저장하는 장소를 제공한다. 또한 저장부(180)는 자막 재생 모드 정보를 저장할 수 있다. 여기서 자막 재생 모드 정보는 초기값으로 제공될 수 있고, 인식된 사용자 조치에 따라 설정 및 변경될 수 있다. 자막 재생 모드 정보는 자막 재생 모드를 지시하고, 자막 재생 모드는 고정 모드 및 동적 모드 중 하나일 수 있다. 동적 모드는 자막 이미지의 디스플레이 위치 및 깊이값을 조절하는 모드이고, 정적 모드는 상기 조절을 수행하지 않는 모드이다. 즉 정적 모드에서는 자막 이미지가 전송된 정보에 따라 디스플레이되거나 고정된 위치 및 깊이값으로 디스플레이된다.The
저장부(180)는 판독 전용 메모리(ROM), 랜덤 액세스 메모리(RAM), 하드 디스크 드라이브 등으로 구현될 수 있다. 프로그램 코드 및 데이터는 분리형 저장 매체에 존재할 수 있고, 필요할 때, 입체영상 디스플레이 장치(100) 상으로 로드 또는 설치될 수 있다. 여기서 분리형 저장 매체는 CD-ROM, PC-CARD, 메모리 카드, 플로피 디스크, 자기 테이프, 및 네트워크 컴포넌트를 포함할 수 있다.The
제어부(190)는 명령어를 실행하고 입체영상 디스플레이 장치(100)와 연관된 동작을 수행한다. 예를 들면, 저장부(180)로부터 검색된 명령어를 사용하여, 제어부(190)는 입체영상 디스플레이 장치(100)의 컴포넌트들 간의 입력 및 출력, 데이터의 수신 및 처리를 제어할 수 있다. 제어부(190)는 단일 칩, 다수의 칩, 또는 다수의 전기 부품 상에 구현될 수 있다. 예를 들어, 전용 또는 임베디드 프로세서, 단일 목적 프로세서, 컨트롤러, ASIC, 기타 등등을 비롯하여 여러 가지 아키텍처가 제어부(190)에 대해 사용될 수 있다.The
제어부(190)는 운영 체제와 함께 컴퓨터 코드를 실행하고 데이터를 생성 및 사용하는 동작을 한다. 운영 체제는 일반적으로 공지되어 있으며 이에 대해 보다 상세히 기술하지 않는다. 예로서, 운영 체제는 Window 계열 OS, Unix, Linux, Palm OS, DOS, 안드로이드 및 매킨토시 등일 수 있다. 운영 체제, 다른 컴퓨터 코드 및 데이터는 제어부(190)와 연결되어 동작하는 저장부(180) 내에 존재할 수 있다.The
제어부(190)는 사용자 조치(User Action)를 인식하고 인식한 사용자 조치에 기초하여 입체영상 디스플레이 장치(100)를 제어할 수 있다. 여기서 사용자 조치는 입체영상 디스플레이 장치 또는 리모컨의 물리적인 버튼의 선택, 터치 스크린 디스플레이면상의 소정의 제스처의 실시 또는 소프트 버튼의 선택 및 촬상 장치로 촬영된 영상으로부터 인식되는 소정의 제스처의 실시 및 음성 인식에 의해 인식되는 소정의 발성의 실시를 포함할 수 있다. 외부 신호 수신부(135)는 리모컨의 물리적인 버튼을 선택하는 사용자 조치에 대한 신호를 리모컨을 통해 수신할 수 있다.The
제스처는 터치 제스처와 공간 제스처를 포함할 수 있다. 터치 제스처는 하나 이상의 특정의 컴퓨팅 동작에 매핑되는, 입력장치(170)와의 양식화된 상호작용으로서 정의될 수 있다. 터치 제스처는 여러 가지 손을 통해, 보다 상세하게는 손가락 움직임을 통해 행해질 수 있다. 다른 대안으로서 또는 그에 부가하여, 제스처는 스타일러스로 행해질 수 있다.Gestures can include touch gestures and space gestures. The touch gesture can be defined as a stylized interaction with the
입력장치(170)는 제스처(171)를 수신하고, 제어부(190)는 제스처(171)와 연관된 동작들을 수행하는 명령어들을 실행한다. 게다가, 저장부(180)는 운영 체제 또는 별도의 애플리케이션의 일부일 수 있는 제스처 작동 프로그램(181)을 포함할 수 있다. 제스처 작동 프로그램(181)은 일반적으로 제스처(171)의 발생을 인식하고 그 제스처(171) 및/또는 제스처(171)에 응답하여 무슨 조치(들)이 취해져야 하는지를 하나 이상의 소프트웨어 에이전트에게 알려주는 일련의 명령어를 포함한다.The
사용자가 하나 이상의 제스처를 행할 때, 입력장치(170)는 제스처 정보를 제어부(190)로 전달한다. 저장부(180)로부터의 명령어, 보다 상세하게는 제스처 작동 프로그램(181)을 사용하여, 제어부(190)는 제스처(171)를 해석하고 저장부(180), 디스플레이(150), 음성 출력부(160), 신호 처리부(140), 네트워크 인터페이스부(130) 및 입력장치(170) 등의 입체영상 디스플레이 장치(100)의 서로 다른 컴포넌트를 제어한다. 제스처(171)는 저장부(180)에 저장된 애플리케이션에서의 동작을 수행하고, 디스플레이(150) 상에 나타난 GUI 객체를 수정하며, 저장부(180)에 저장된 데이터를 수정하고, 네트워크 인터페이스부(130), 신호 처리부(140)에서의 동작을 수행하는 명령으로서 식별될 수 있다. 예로서, 이들 명령은 줌잉, 패닝, 스크롤링, 페이지 넘김, 회전, 크기조정, 영상 채널 변경, 컨텐츠 수신, 인터넷 접속 등과 연관되어 있을 수 있다. 추가의 예로서, 명령은 또한 특정의 프로그램을 기동시키는 것, 파일 또는 문서를 여는 것, 메뉴를 보는 것, 선택을 하는 것, 명령어를 실행하는 것, 인터넷 사이트 시스템에 로그온하는 것, 인가된 개인에게 컴퓨터 시스템의 제한된 영역에의 액세스를 허용하는 것, 바탕화면의 사용자 선호 배열과 연관된 사용자 프로파일을 로드하는 것, 및/또는 기타 등등과 연관되어 있을 수 있다.When the user performs one or more gestures, the
일부 실시예들에서, 손가락과 터치 스크린 디스플레이 간의 파라미터(예를 들어, 커패시턴스)의 크기에 따라, 이 파라미터가 미리 정해진 문턱값을 넘을 때, 다운 이벤트가 일어나고, 이 파라미터가 미리 정해진 문턱값을 넘고 있는 동안에 손가락의 대응하는 커서 위치가 위치 A로부터 위치 B로 이동할 때, 드래깅 이벤트가 일어나며, 이 파라미터가 문턱값 레벨 아래로 떨어질 때 업 이벤트가 일어난다.In some embodiments, depending on the magnitude of the parameter (e.g., capacitance) between the finger and the touch screen display, when the parameter exceeds a predetermined threshold, a down event occurs and the parameter exceeds a predetermined threshold A dragging event occurs when the corresponding cursor position of the finger moves from position A to position B and an up event occurs when this parameter falls below the threshold level.
제어부(190)는 자막 재생 모드를 결정 또는 확인할 수 있다. 일부 실시예로, 제어부(190)는 저장된 자막 재생 모드 정보를 기초로 자막 재생 모드를 확인할 수 있다. 일부 실시예로, 제어부(190)는 인식된 사용자 조치를 기초로 자막 재생 모드를 결정할 수 있다. 일부 실시예로, 제어부(190)는 정보 데이터에 포함된 방송 정보를 기초로 자막 재생 모드를 확인할 수 있다. 여기서 방송 정보는 수신된 영상의 장르 정보일 수 있다.The
자막 재생 모드가 동적 모드인 경우에는, 제어부(190)는 자막 위치를 선택하고, 자막 깊이값을 설정할 수 있다. 그리고 제어부(190)는 선택한 자막 위치 및 자막 깊이값에 따라 자막 이미지가 디스플레이되도록 신호 처리부(140) 및 디스플레이(150)를 제어할 수 있다. 여기서 자막 위치는 자막 이미지가 영상 프레임 상의 위치하게 되는 지점을 의미하고, 자막 깊이값은 자막 이미지의 깊이값을 의미한다.When the subtitle reproduction mode is the dynamic mode, the
도 5는 자막 위치를 선택하는 방법을 설명하기 위한 도면이다.5 is a diagram for explaining a method of selecting a caption position.
도 5를 참조하면, 자막 위치는 입체영상 프레임(500)에서 움직임이 많은 부분(510, 520) 중에서 설정될 수 있다. 여기서 자막 위치는 객체가 위치하는 영역(511, 521) 중에서 선택될 수 있다. 상기 객체는 사람, 동물, 기구 및 장치를 포함할 수 있다. 또한 자막 위치는 자막이 디스플레이될 영역의 중심점의 위치(513)일 수 있고, 자막이 디스플레이될 영역(515)일 수 있다.Referring to FIG. 5, the caption position may be set in the
도 6은 좌안 시점 영상 프레임 및 우안 시점 영상 프레임이 디스플레이된 화면을 도시한 도면이다.6 is a view showing a screen in which a left eye view image frame and a right eye view image frame are displayed.
도 6을 참조하면, 자막 위치는 입체영상 프레임을 구성하는 좌안 시점 영상 프레임(610) 및 우안 시점 영상 프레임(620) 중 적어도 하나를 이용하여 설정될 수 있다. 즉 자막 위치는 좌안 시점 영상 프레임(610)에서 움직임이 많은 부분을 추출하여 추출된 부분 중에서 설정될 수 있고, 우안 시점 영상 프레임(620)에서 움직임이 많은 부분을 추출하여 추출된 부분 중에서 설정될 수 있으며, 양 시점 영상 프레임(610, 620)에서 움직임이 많은 부분을 각각 추출하여 공통적으로 추출된 부분에서 설정될 수 있다.Referring to FIG. 6, the caption position may be set using at least one of a left eye
영상 프레임에서 움직임이 많은 부분은 움직임 벡터를 기초로 추출될 수 있고, 연속된 영상 프레임 사이의 픽셀 차이값을 기초로 산출될 수 있다. 또한 움직임이 많은 부분은 사전에 설정되는 시간 동안에 디스플레이되는 영상 프레임들을 이용하여 추출될 수 있다. 즉 움직임이 많은 부분은 상기 영상 프레임들을 기준으로 추출될 수 있다.A motion-rich portion of an image frame can be extracted based on a motion vector, and can be calculated based on a pixel difference value between consecutive image frames. In addition, motion-rich parts can be extracted using image frames displayed during a preset time. That is, a part having a lot of motion can be extracted based on the image frames.
일부 실시예로, 제어부(190)는 사전에 설정된 시간 동안에 디코딩된 입체영상 프레임들 중에서 적어도 하나의 입체영상 프레임을 선택하고, 선택된 입체영상 프레임 각각의 픽셀 차이값을 산출하고, 산출한 픽셀 차이값을 기초로 자막 위치를 선택할 수 있다. 사전에 설정된 시간은 자막 이미지가 디스플레이될 시간 및 하나의 장면(scene)을 구성하는 입체영상 프레임이 디코딩되는 시간 중 하나일 수 있다. 또한 제어부(190)는 픽셀 차이값이 산출될 입체영상 프레임을 사전에 설정된 시간 동안에 디코딩된 입체영상 프레임들 중에서 I-프레임(Intra-coded frame) 및 P-프레임(Predictive-coded frame)으로 선택할 수 있다.In some embodiments, the
픽셀 차이값은 픽셀 차이값이 산출될 영상 프레임(해당 영상 프레임)과 상기 영상 프레임 이전에 디스플레이될 영상 프레임간의 픽셀 차이값으로 산출될 수 있다. 또한 영상 프레임 마다 산출된 픽셀 차이값은 픽셀별로 누적될 수 있다. 그리고 제어부(190)는 누적된 값을 기초로 움직임이 많은 부분을 추출할 수 있고, 추출된 움직임 많은 부분 중에서 자막 위치를 선택할 수 있다. 일예로, 제어부(190)는 누적된 값이 가장 큰 부분을 자막 위치로 선택할 수 있다.The pixel difference value may be calculated as a pixel difference value between an image frame (corresponding image frame) in which a pixel difference value is to be calculated and an image frame to be displayed before the image frame. In addition, the pixel difference value calculated for each image frame can be accumulated for each pixel. Then, the
제어부(190)는 평균 깊이값 및 사전에 설정된 자막 깊이값 중 하나를 자막 깊이값으로 설정할 수 있다. 여기서 사전에 설정된 자막 깊이값은 정보 데이터에 포한된 것일 수 있고, 초기값으로 설정된 것일 수 있다.The
일부 실시예로, 제어부(190)는 장르를 기초로 평균 깊이값 및 사전에 설정된 자막 깊이값 중 하나를 자막 깊이값으로 설정할 수 있다. 디스플레이되는 입체영상의 장르가 뉴스인 경우에는, 제어부(190)는 사전에 설정된 자막 깊이값을 자막 깊이값으로 설정할 수 있고, 디스플레이되는 입체영상의 장르가 스포츠인 경우에는, 제어부(910)는 평균 깊이값을 자막 깊이값으로 설정할 수 있다.In some embodiments, the
제어부(190)는 자막 위치가 산출된 입체영상 프레임을 이용하여 평균 깊이값을 산출할 수 있다. 즉 제어부(190)는 상기 입체영상 프레임들 상의 자막 위치에서의 깊이값을 산출할 수 있다. 그리고 제어부(190)는 산출된 깊이값들을 평균하여 평균 깊이값을 산출할 수 있다. 여기서 자막 위치에서의 깊이값은 좌안 시점 영상 프레임 및 우안 시점 영상 프레임 사이에 차이값을 기초로 산출할 수 있다.The
제어부(190)는 자막 이미지가 설정한 자막 깊이값을 갖는 입체 이미지로 생성되도록 제어할 수 있다. 여기서 제어부(190)가 자막 이미지를 생성할 수 있고, 신호 처리부(140)가 자막 이미지를 생성할 수 있다.The
도 7은 자막 이미지를 입체 이미지로 생성하는 방법을 설명하기 위한 도면이다.7 is a diagram for explaining a method of generating a three-dimensional image of a subtitle image.
도 7을 참조하면, 도 7(a)는 입체영상의 자막 데이터(710)를 도시한 것이고, 도 7(b) 및 도 7(c)는 자막 데이터(710)를 입체 이미지로 구현한 것이다. 도 7(b)의 경우에는 자막 이미지를 구성하는 좌안 자막 이미지 데이터(721)와 우안 자막 이미지 데이터(722)의 간격이 좁은 경우이고, 도 7(c)의 경우에는 자막 이미지를 구성하는 좌안 자막 이미지 데이터(731)와 우안 자막 이미지 데이터(732)의 간격이 넓은 경우이다.Referring to FIG. 7, FIG. 7A illustrates the
따라서, 도 7(b)와 7(c)에서 각 시점 이미지 데이터의 간격에 따라 구현되는 자막 이미지(723, 733)는 전술한 도 2의 양안시차 원리에 근거하면 도 7(b)에서 생성된 자막 이미지(723)는 사람의 눈에서 먼 곳에 상이 맺혀 멀리 보이고, 도 7(c)에서 생성된 자막 이미지(733)는 사람의 눈에서 가까운 곳에 상이 맺혀 가까이 즉, 상대적으로 더 튀어 나와 보인다. 상술한 방법 즉, 자막 이미지를 구성하는 좌안 자막 이미지 데이터와 우안 자막 이미지 데이터의 간격을 조정함으로써 자막 이미지에 적절한 정도의 깊이(depth)를 줄 수 있어 자막 깊이값을 조절할 수 있다.Therefore, the
제어부(190)는 자막 재생 모드를 설정하기 위한 그래픽 사용자 인터페이스(GUI: Graphical User Interface)를 요청하는 사용자 조치(User Action)를 감지할 수 있다. 상기 사용자 조치의 감지에 응답하여, 제어부(190)는 상기 그래픽 사용자 인터페이스(GUI: Graphical User Interface) 및 영상 데이터가 디스플레이되는 영역을 포함하는 화면을 디스플레이하기 위한 신호가 생성되도록 제어할 수 있다. 여기서 상기 영역에는 GUI상에서 입체영상 및 자막 이미지가 디스플레이될 수 있다.The
제어부(190)는 신호 처리부(140) 및 디스플레이(150)로 하여금 상기 GUI를 통해 설정된 자막 재생 모드에 따라 상기 화면에 디스플레이되는 입체영상 및 자막 이미지를 처리 및 디스플레이하도록 제어할 수 있다.The
또한 제어부(190)는, 상기 GUI를 통해 설정된 자막 재생 모드를 지시하는 정보인 자막 재생 모드 정보가 저장부(190)에 저장되도록 제어할 수 있다.In addition, the
도 8은 신호 처리부에 대한 바람직한 일실시예의 구성을 도시한 블록도이다.8 is a block diagram showing a configuration of a preferred embodiment of the signal processing unit.
도 8을 참조하면, 신호 처리부(140)는 역다중화부(810), 오디오 디코더(820), 자막 디코더(825), 비디오 디코더(830), 스케일러(840), 믹서(850), FRC(Frame Rate Converter)(860), 포맷터(870), 영상 인터페이스부(880) 및 OSD부(890)를 포함할 수 있다.8, the
역다중화부(810)는 이동통신부(115), 네트워크 인터페이스부(130) 및 외부 신호 수신부(135)로부터 스트림 신호를 수신할 수 있고, 역다중화부(810)는 수신된 스트림 신호를 영상 데이터, 음성 데이터 및 정보 데이터로 역다중화하여 각각 비디오 디코더(830), 오디오 디코더(820) 및 제어부(190)로 출력할 수 있다.The
오디오 디코더(820)는 역다중화부(810)로부터 음성 데이터를 수신하고, 수신된 음성 데이터를 복원하여 복원된 데이터를 스케일러(840) 또는 음성 출력부(160)로 출력할 수 있다.The
비디오 디코더(830)는 역다중화부(810)로부터 영상 데이터를 수신하고, 수신된 영상 데이터를 복원하고 복원한 영상 데이터를 스케일러(840)에 출력한다. 여기서 영상 데이터는 입체영상 데이터를 포함할 수 있다. 또한 비디오 디코더(830)는 복원한 영상 데이터를 저장부(180)에 저장할 수 있다. 저장부(180)는 복원된 영상 데이터에 대한 버퍼링 기능을 수행할 수 있다. 즉 제어부(190)는 저장부(180)가 사전에 설정된 시간 동안에 디코딩된 입체영상 프레임을 저장하도록 제어하고, FIFO(First In First Out) 방식으로 저장부(180)에 저장된 입체영상 프레임이 스케일러(840)로 출력되도록 제어할 수 있다. 상기 사전에 설정된 시간은 자막 이미지가 디스플레이될 시간 및 하나의 장면을 구성하는 입체영상 프레임이 디코딩되는 시간 중 하나를 기초로 설정될 수 있다.The
자막 디코더(825)는 역다중화부(810) 또는 제어부(190)로부터 자막 데이터를 수신하고, 수신한 자막 데이터를 이용하여 자막 이미지를 생성할 수 있다. 자막 디코더(825)는 자막 이미지를 자막 깊이값을 갖는 입체 이미지로 생성할 수 있다. 일예로, 자막 디코더(825)는 자막 데이터를 이용하여 상기 입체 이미지를 디스플레이하기 위한 좌안 자막 이미지 및 우안 자막 이미지를 생성할 수 있다.The
스케일러(840)는 비디오 디코더(830), 저장부(180), 제어부(190) 및 오디오 디코더(820)에서 처리된 영상 데이터 및 음성 데이터를 디스플레이(150) 또는 스피커(미도시)를 통하여 출력하기 위한 적절한 크기의 신호로 크기 조절(스케일링: scaling)한다. 구체적으로, 스케일러(840)는 입체영상을 수신하여 디스플레이(150)의 해상도 또는 소정 화면비(aspect ratio)에 맞도록 스케일링(scaling)한다. 디스플레이(150)는 제품 사양 별로 소정 해상도, 예를 들어 720x480 포맷, 1024x768 포맷, 1280x720 포맷, 1280x768 포맷, 1280x800 포맷, 1920x540 포맷 및 1920x1080 포맷 등을 갖는 영상 화면을 출력하도록 제작될 수 있다. 그에 따라서, 스케일러(840)는 다양한 값으로 입력될 수 있는 입체영상의 해상도를 해당 디스플레이의 해상도에 맞춰 변환할 수 있다.The
또한, 스케일러(840)는 디스플레이되는 컨텐츠의 종류 또는 사용자 설정 등에 따라서, 입체영상의 화면비(aspect ratio)를 조절하여 출력한다. 화면비 값은 16:9, 4:3, 또는 3:2 등의 값이 될 수 있으며, 스케일러(840)는 가로 방향의 화면 길이 비와 세로 방향의 화면 길이 비가 특정 비율이 되도록 조절할 수도 있다.In addition, the
믹서(850)는 스케일러(840) 및 제어부(190)의 출력을 믹싱하여 출력한다.The
FRC(860)는 스케일러(840) 또는 믹서(850)가 출력한 영상 데이터를 디스플레이(150)의 수직 주파수에 대응되도록 처리한다. 예를 들어, 비디오 디코더(830)가 출력하는 영상 데이터의 수직 주파수가 60Hz이고, 디스플레이(150)의 수직 주파수가 120Hz 또는 240Hz라면, FRC(860)는 상기 영상 데이터(80Hz)를 디스플레이(150)의 수직 주파수인 120Hz 또는 240Hz에 대응되도록 기 정의된 방식으로 처리한다. 여기서, 상기 기 정의된 방식에는 예를 들어, 입력되는 영상 데이터를 템퍼럴 인터폴레이션(temporal interpolation) 하는 방법과 입력되는 영상 데이터에 포함된 영상 프레임을 단순 반복하는 방법이 있다. 전술한 각 방법은 입력되는 입체영상의 포맷에 따라 적절하게 선택되어 FRC(860)에서 수행될 수 있다.The
이하에서는 설명의 편의를 위해 비디오 디코더(830)가 출력하는 영상 데이터의 수직 주파수는 60Hz이고, 디스플레이 수직 주파수를 240Hz로 하여 설명한다. 다만, 본 발명은 상기 주파수들에 한정되는 것은 아니다. 여기서 디스플레이 수직 주파수라 함은 포맷터(870)에서 구성된 영상 프레임을 디스플레이(150)에서 디스플레이 또는 출력하는 수직 주사주파수이다. 포맷터(870)는 디스플레이 수직 주파수를 지시하는 수직 동기신호(Vsync)를 디스플레이(150)로 출력할 수 있다. 또한 포맷터(870)는 상기 디스플레이 수직 주파수와 대응하는 동기신호(3D Sync)를 셔터 안경으로 전송하고, 상기 셔터 안경은 상기 동기신호(3D Sync)에 동기를 맞추어 셔터의 개폐를 조절할 수 있다.Hereinafter, for the convenience of description, the vertical frequency of the video data output from the
상기 템퍼럴 인터폴레이션 방법은, 입력되는 60Hz의 영상 신호를 4등분(0, 0.25, 0.5, 0.75) 함으로써 240Hz의 영상 신호가 되도록 처리하는 방법이다. 그리고 상기 프레임을 단순 반복하는 방법은, 입력되는 60Hz의 영상 신호의 각 프레임을 4번 반복함으로써 각 프레임의 주파수가 240Hz가 되도록 처리한다.The temporal interpolation method is a method of processing a video signal of 60 Hz to be an image signal of 240 Hz by dividing the input video signal into four equal parts (0, 0.25, 0.5, 0.75). In the method of simply repeating the frame, each frame of the input video signal of 60 Hz is repeated four times so that the frequency of each frame becomes 240 Hz.
도 9는 FRC에서 입체영상 데이터의 처리 과정을 설명하기 위한 도면이다.9 is a diagram for explaining a processing procedure of stereoscopic image data in FRC.
도 9를 참조하면, 도 9(a)는 FRC(860)로 입력되는 특정 주파수(예를 들어, 60Hz)의 영상 데이터이고, 도 9(b)는 FRC(860)를 거쳐 디스플레이 수직 주파수(예를 들어, 240Hz)를 근거로 처리된 영상 데이터이다. 여기서 입체영상 데이터는 설명의 편의를 위해 탑/다운 방식의 영상 데이터를 일 예로 하여 설명하나 이에 한정되는 것은 아니며, 전술한 도 3 내지 4에 기술된 방식 모두에 적용 가능함을 미리 밝혀둔다.9 (a) is image data of a specific frequency (for example, 60 Hz) input to the
도 9(a)를 참조하면, FRC(860)로 입력되는 60Hz의 탑/다운 방식의 영상 데이터는, 탑/다운으로 L1/R1, L2/R2, L3/R3, 및 L4/R4 4개의 프레임이 존재한다. 그리고 도 9(b)를 참조하면, 상기 탑/다운 방식의 영상 데이터는 FRC(860)에서 디스플레이 수직 주파수를 근거로 처리됨으로써, 240Hz의 탑/다운 방식의 영상 데이터가 된다. 즉, 도 9(b)에서는 각 L1/R1, L2/R2, L3/R3, 및 L4/R4 프레임이 4개씩 존재한다. 여기서, 상기 도 9(b)는 전술한 변환 방법들 중 어느 하나의 방법을 이용하더라도 동일하다.Referring to FIG. 9A, image data of a 60 Hz top / down system input to the
포맷터(870)는 입체영상을 구현하기 위하여 FRC(860)가 출력한 영상 데이터를 디스플레이(150)로 출력하고, 출력되는 입체영상 신호에 동기 신호(3D Sync)를 생성하여 안경(미도시)으로 전송할 수 있다. 포맷터(870)는 동기 신호의 전송을 위해 적외선 출력부(미도시) 또는 RF 모듈을 포함할 수 있다. 여기서, 동기 신호(3D Sync)는 입체영상 신호에 따른 좌안 시점 영상 또는 우안 시점 영상의 디스플레이 시점과 셔터 안경(미도시)의 좌안 렌즈 또는 우안 렌즈의 개폐 시점을 동기시키기 위한 신호이다.The
포맷터(870)는 FRC(860)를 통해 디스플레이 수직 주파수에 대응되도록 처리된 입체영상 데이터를 이용하여, 디스플레이(150)가 디스플레이할 수 있는 포맷으로 영상 프레임을 구성할 수 있다. 또한, 포맷터(870)는 상기 구성된 영상 프레임 사이에 블랙 데이터(black data)를 포함하는 블랙 영상 프레임을 삽입할 수 있다. 본 명세서에서는 포맷터(870)에서 블랙 데이터를 처리하는 것으로 설명하나 이에 한정되는 것은 아니며 그 밖에 입체영상 디스플레이 장치(100) 내 다른 구성 예를 들어, 전단의 FRC(860) 등에서도 처리될 수 있다.The
일부 실시예로, 포맷터(870)는 블랙 데이터 및 하나의 입체영상 프레임을 형성하는 좌안 시점 영상 데이터 및 우안 시점 영상 데이터를 이용하여, 상기 좌안 시점 영상 데이터를 포함하는 좌안 시점 영상 프레임, 상기 블랙 데이터를 포함하는 제1 블랙 영상 프레임, 상기 우안 시점 영상 데이터를 포함하는 우안 시점 영상 프레임, 상기 블랙 데이터를 포함하는 제2 블랙 영상 프레임을 구성할 수 있다. 그리고 포맷터(870)는 상기 구성된 좌안 시점 영상 프레임, 상기 구성된 제1 블랙 영상 프레임, 상기 구성된 우안 시점 영상 프레임, 상기 구성된 제2 블랙 영상 프레임 순으로 영상 프레임들을 배열할 수 있다. 그리고 포맷터(870)는 배열 순서에 맞추어 상기 영상 프레임들을 영상 인터페이스부(880)로 출력할 수 있다. 여기서 포맷터(870)는 하나의 영상 프레임을 구성하고 구성한 영상 프레임을 배치한 후 다음 영상 프레임을 구성하고 배치할 수 있고, 상기 네 개의 영상 프레임들을 구성한 후에 상기 구성된 영상 프레임들의 배열할 수 있다.In some embodiments, the
도 10은 포맷터에서 영상 프레임을 구성하는 과정을 설명하기 위한 도면이다.10 is a diagram for explaining a process of configuring an image frame in the formatter.
도 10을 참조하면, 포맷터(870)는 도 10에 도시된 탑/다운 방식의 입체영상 데이터를 L1BFR1BFL2BFR2BFL3BFR3BF와 같은 배열을 가지도록 구성할 수 있다. 여기서, BF는 블랙 데이터(Black Data)를 포함하는 블랙 영상 프레임을 표시한 것이다. 즉 포맷터(870)는 좌안 시점 영상 프레임 및 우안 시점 영상 프레임 사이에 블랙 영상 프레임을 삽입할 수 있다. 예를 들어, 포맷터(870)는 상기 도 9(a)에서 각 시점 영상 데이터 사이 즉, 시점 영상 프레임과 시점 영상 프레임 사이에 블랙 영상 프레임을 삽입하여 도 10과 같이 구성할 수 있다. 또한 포맷터(870)는 상기 도 9(b)에서 동일한 시점 영상 데이터가 포함된 연속하는 2개의 시점 영상 프레임 단위(L1L1)에서 어느 하나의 시점 영상 프레임을 블랙 영상 프레임으로 대체하여 도 10과 같이 구성할 수도 있다. 따라서, 도 10에서는 좌안 시점 영상 프레임과 우안 시점 영상 프레임 사이에 블랙 영상 프레임이 위치하여 크로스토크 현상을 방지할 수 있다.Referring to FIG. 10, the
여기서, 상기 도 10의 배열 구성 방식은, L1BFR1BF…와 같이 매 프레임 사이에 블랙 영상 프레임을 위치시킴으로써, 본 발명에 따른 입체영상 디스플레이 장치(100)는 디스플레이(150)에서 입체영상 데이터를 디스플레이하는 주파수(예를 들어, 240Hz)보다 적은 셔터 오픈 주기(예를 들어, 120Hz)를 가진 셔터 안경으로도 입체영상을 시청할 수 있도록 하며, 크로스토크와 휘도 저하 등의 문제도 최소화할 수 있다.Here, the array configuration method of FIG. 10 includes: L1BFR1BF ... The stereoscopic
영상 인터페이스부(880)는 포맷터(870)가 출력한 좌안 시점 영상 프레임, 제1 블랙 영상 프레임, 우안 시점 영상 프레임 및 제2 블랙 영상 프레임을 디스플레이(150)로 출력할 수 있다. 여기서 영상 인터페이스부(880)는 LVDS 출력부(Low Voltage Differential Signaling Tx)일 수 있다.The
FRC(860)와 포맷터(870)를 각각 다른 모듈로 구성되는 것을 예로 하여 설명하였으나, 다른 실시예로 수신 시스템에 따라서는 하나의 모듈로 구성할 수도 있다.Although the
도 11은 본 발명에 따른 입체영상 자막 재생 방법에 대한 바람직한 일실시예의 수행과정을 도시한 흐름도이다.11 is a flowchart illustrating a method of performing a stereoscopic image caption reproducing method according to an exemplary embodiment of the present invention.
도 11을 참조하면, 비디오 디코더(830)는 입체영상 프레임을 디코딩한다(S100). 여기서 비디오 디코더(830)는 입체영상 프레임의 좌안 시점 영상 프레임 및 우안 시점 영상 프레임을 디코딩할 수 있다.Referring to FIG. 11, the
저장부(180)는 디코딩된 입체영상 프레임을 저장한다(S105). 여기서 제어부(190)는 저장부(180)가 버퍼링 기능을 수행하도록 제어한다.The
제어부(190)는 저장된 입체영상 프레임의 픽셀 차이값을 산출한다(S110). 여기서 단계 S110은 선택적으로 수행될 수 있다. 일예로, 단계 S110은 상기 저장된 입체영상 프레임이 I-프레임 또는 P-프레임일 때 수행될 수 있다. 또한 산출된 픽셀 차이값은 좌안 시점 영상 프레임과 상기 좌안 시점 영상 프레임 이전에 디스플레이될 좌안 시점 영상 프레임간의 픽셀 차이값일 수 있고, 우안 시점 영상 프레임과 우안 시점 영상 프레임 이전에 디스플레이될 우안 시점 영상 프레임간의 픽셀 차이값일 수 있으며, 상기 두 픽셀 차이값의 평균값일 수 있다. 일예로 픽셀 평균값은 도 5 및 도 6에서 전술된 방식으로 산출될 수 있다.The
제어부(190)는 산출된 픽셀 차이값을 누적한다(S115). 여기서 제어부(190)는 픽셀별로 픽셀 차이값을 누적할 수 있다.The
제어부(190)는 사전에 설정이 경과되었는지 여부를 확인한다(S120). 여기서 사전에 설정된 시간은 자막 이미지가 디스플레이될 시간 및 하나의 장면을 구성하는 입체영상 프레임이 디코딩되는 시간 중 하나를 기초로 설정된 것일 수 있다.The
상기 사전에 설정된 시간 내인 경우에는, 단계 S100이 수행된다.If it is within the preset time, step S100 is performed.
상기 사전에 설정된 시간이 경과한 경우에는, 제어부(190)는 누적된 픽셀 차이값을 기초로 자막 위치를 선택한다(S125). 일예로 자막 위치는 도 5 및 도 6에서 전술된 방식으로 산출될 수 있다. 또한 단계 S125 진행 중에 단계 S100은 병렬적으로 수행될 수 있다.If the preset time has elapsed, the
제어부(190)는 저장부(190)에 저장된 입체영상 프레임 중 하나를 액세스한다(S130). 여기서 제어부(190)는 단계 S110에서 픽셀 차이값을 산출한 입체영상 프레임을 액세스할 수 있다.The
제어부(190)는 액세스한 입체영상 프레임내의 자막 위치에서의 깊이값을 산출한다(S135). 여기서 상기 자막 위치에서의 깊이값은 액세스한 입체영상 프레임에 포함된 좌안 시점 영상 프레임 및 우안 시점 영상 프레임 사이에 차이값을 기초로 산출할 수 있다.The
제어부(190)는 산출한 깊이값을 누적한다(S140).The
제어부(190)는 깊이값을 산출해야할 영상 프레임이 존재하는지 여부를 확인한다(S145). 여기서 일부 실시예로, 제어부(190)는 상기 사전에 설정된 시간 동안에 디코딩된 입체영상 프레임 중에 깊이값이 산출되지 않은 입체영상 프레임이 있는지 여부를 확인할 수 있다. 일부 실시예로, 제어부(190)는 단계 S110에서 픽셀 차이값이 산출된 입체영상 프레임 중에 깊이값이 산출되지 않은 입체영상 프레임이 있는지 여부를 확인할 수 있다.The
깊이값을 산출해야할 영상 프레임이 존재하는 경우에는, 제어부(190)는 단계 S130을 수행한다. 이때, 제어부(190)는 깊이값이 산출되지 않은 입체영상 프레임 중 하나를 액세스할 수 있다.If there is an image frame to calculate the depth value, the
깊이값을 산출해야할 영상 프레임이 존재하지 않는 경우에는, 제어부(190)는 자막 깊이값을 설정한다(S150). 여기서 제어부(190)는 누적된 깊이값의 평균하여 평균 깊이값을 산출할 수 있다. 그리고 제어부(190)는 장르 및 자막 재생 모드 중 적어도 하나를 기초로 평균 깊이값 및 사전에 설정된 자막 깊이값 중 하나를 자막 깊이값으로 설정한다. 여기서 사전에 설정된 자막 깊이값은 정보 데이터에 포한된 것일 수 있고, 초기값으로 설정된 것일 수 있다.If there is no video frame to calculate the depth value, the
자막 디코더(825)는 자막 데이터를 이용하여 좌안 자막 이미지 및 우안 자막 이미지를 포함하는 자막 이미지를 생성한다(S155). 여기서 생성된 자막 이미지는 자막 깊이값을 갖는 입체 이미지이다. 일예로 자막 디코더(825)는 도 7에서 전술된 방식으로 상기 자막 이미지를 생성할 수 있다.The
OSD부(890)는 자막 디코더(825)가 생성한 자막 이미지를 디스플레이하는 OSD 신호를 생성한다(S160).The
스케일러(840)는 저장부(180)에 저장된 입체영상 프레임을 디스플레이(150)를 통하여 출력하기 위한 적절한 크기로 스케일링한다(S165).The
FRC(860)는 스케일링된 입체영상 프레임을 포함하는 입체영상 데이터가 디스플레이 수직 주파수에 대응되도록 입체영상 데이터의 프레임 레이트를 변환한다(S170). 여기서 FRC(860)는 도 9에 도시된 방식으로 프레임 레이트를 변환할 수 있다.The
포맷터(870)는 변환된 영상 데이터를 이용하여 영상 프레임을 구성한다(S175). 여기서, 포맷터(870)는 도 10에 도시된 영상 프레임들의 순서로 영상 프레임을 구성할 수 있다. 또한 포맷터(870)는 수직/수평 동기신호(Vsync,Hsync), 데이터 인에이블(Data Enable), 클럭신호(CLK), 타입 신호(Type)등의 타이밍신호를 생성할 수 있다. 그리고 포맷터(870)는 구성한 영상 프레임, 생성한 타이밍신호를 영상 인터페이스부(880)를 통해 디스플레이(150)로 출력할 수 있다. 또한 포맷터(870)는 동기신호(3D Sync)를 셔터 안경으로 전송할 수 있다.The
디스플레이(150)는 상기 타이밍신호에 따라 포맷터(870)가 구성한 영상 프레임 및 OSD부(890)가 생성한 OSD 신호를 디스플레이한다(S180). 여기서 좌안 자막 이미지를 포함하는 OSD 신호는 좌안 시점 영상 프레임이 디스플레이되는 시점에 디스플레이될 수 있고, 우안 자막 이미지를 포함하는 OSD 신호는 우안 시점 영상 프레임이 디스플레이되는 시점에 디스플레이될 수 있다.The
도 12는 신호 처리부에 대한 바람직한 다른 실시예의 구성을 도시한 블록도이다.12 is a block diagram showing a configuration of another preferred embodiment of the signal processing unit.
도 12를 참조하면, 신호 처리부(140)는 역다중화부(1210), 오디오 디코더(1220), 자막 디코더(1225), 비디오 디코더(1230), 스케일러(1240), 믹서(1250), FRC(Frame Rate Converter)(1260), 포맷터(1270) 및 영상 인터페이스부(1280)를 포함할 수 있다.12, the
도 12의 역다중화부(1210), 오디오 디코더(1220), 자막 디코더(1225), 비디오 디코더(1230), 스케일러(1240), 믹서(1250), FRC(Frame Rate Converter)(1260), 포맷터(1270) 및 영상 인터페이스부(1280)는 각각 도 8의 역다중화부(810), 오디오 디코더(820), 자막 디코더(825), 비디오 디코더(830), 스케일러(840), 믹서(850), FRC(Frame Rate Converter)(860), 포맷터(870) 및 영상 인터페이스부(880)와 대응하고, 대응되는 내용은 도 8에서 전술된 내용을 준용하며, 이하 차이점에 대해서 설명한다.A
자막 디코더(1225)는 생성한 자막 이미지를 믹서(1250)로 출력한다.The
믹서(1250)는 자막 디코더(1225)가 출력한 자막 이미지와 스케일러(1240)가 스케일링한 입체영상 프레임과 믹싱한다. 여기서 상기 입체영상 프레임은 자막 이미지와 함께 디스플레이될 입체영상 프레임일 수 있다. 또한 자막 이미지는 상기 입체영상 프레임 상의 자막 위치가 지시하는 위치에 믹싱될 수 있다. 즉 믹서(1250)는 상기 자막 이미지의 좌안 자막 이미지를 상기 입체영상 프레임의 좌안 시점 영상 프레임내의 상기 자막 위치에 믹싱하고, 상기 자막 이미지의 우안 자막 이미지를 상기 입체영상 프레임들의 우안 시점 영상 프레임내의 상기 자막 위치에 믹싱할 수 있다.The
믹서(1250)는 자막 이미지가 믹싱된 입체영상 프레임을 FRC(1260)로 출력한다. 그러면, FRC(1260)는 믹서(1250)가 출력한 입체영상 프레임을 디스플레이(150)의 수직 주파수에 대응되도록 처리할 수 있다.The
도 12의 신호 처리부(160)는 도 8의 신호 처리부(160)와 다르게 자막 이미지가 OSD 이미지로 디스플레이되도록 제어하지 않고, 입체영상 프레임과 믹싱된 자막 이미지가 디스플레이되도록 처리한다.The
도 13은 본 발명에 따른 입체영상 자막 재생 방법에 대한 바람직한 다른 실시예의 수행과정을 도시한 흐름도이다.FIG. 13 is a flowchart illustrating a method of performing a stereoscopic image caption reproducing method according to another embodiment of the present invention.
도 13을 참조하면, 비디오 디코더(1230)는 입체영상 프레임을 디코딩한다(S200). 여기서 비디오 디코더(1230)는 입체영상 프레임의 좌안 시점 영상 프레임 및 우안 시점 영상 프레임을 디코딩할 수 있다.Referring to FIG. 13, the
저장부(180)는 디코딩된 입체영상 프레임을 저장한다(S205). 여기서 제어부(190)는 저장부(180)가 버퍼링 기능을 수행하도록 제어한다.The
제어부(190)는 저장된 입체영상 프레임의 픽셀 차이값을 산출한다(S210). 여기서 단계 S210은 선택적으로 수행될 수 있다. 일예로, 단계 S210은 상기 저장된 입체영상 프레임이 I-프레임 또는 P-프레임일 때 수행될 수 있다. 또한 산출된 픽셀 차이값은 좌안 시점 영상 프레임과 상기 좌안 시점 영상 프레임 이전에 디스플레이될 좌안 시점 영상 프레임간의 픽셀 차이값일 수 있고, 우안 시점 영상 프레임과 우안 시점 영상 프레임 이전에 디스플레이될 우안 시점 영상 프레임간의 픽셀 차이값일 수 있으며, 상기 두 픽셀 차이값의 평균값일 수 있다. 일예로 픽셀 평균값은 도 5 및 도 6에서 전술된 방식으로 산출될 수 있다.The
제어부(190)는 산출된 픽셀 차이값을 누적한다(S215). 여기서 제어부(190)는 픽셀별로 픽셀 차이값을 누적할 수 있다.The
제어부(190)는 사전에 설정이 경과되었는지 여부를 확인한다(S220). 여기서 사전에 설정된 시간은 자막 이미지가 디스플레이될 시간 및 하나의 장면을 구성하는 입체영상 프레임이 디코딩되는 시간 중 하나를 기초로 설정된 것일 수 있다.The
상기 사전에 설정된 시간 내인 경우에는, 단계 S200가 수행된다.If it is within the preset time, step S200 is performed.
상기 사전에 설정된 시간이 경과한 경우에는, 제어부(190)는 누적된 픽셀 차이값을 기초로 자막 위치를 선택한다(S225). 일예로 자막 위치는 도 5 및 도 6에서 전술된 방식으로 산출될 수 있다. 또한 단계 S225 진행 중에 단계 S200가 병렬적으로 수행될 수 있다.If the preset time has elapsed, the
제어부(190)는 저장부(190)에 저장된 입체영상 프레임 중 하나를 액세스한다(S230). 여기서 제어부(190)는 단계 S210에서 픽셀 차이값을 산출한 입체영상 프레임을 액세스할 수 있다.The
제어부(190)는 액세스한 입체영상 프레임내의 자막 위치에서의 깊이값을 산출한다(S235). 여기서 자막 위치에서의 깊이값은 액세스한 입체영상 프레임에 포함된 좌안 시점 영상 프레임 및 우안 시점 영상 프레임 사이에 차이값을 기초로 산출할 수 있다.The
제어부(190)는 산출한 깊이값을 누적한다(S240).The
제어부(190)는 깊이값을 산출해야할 영상 프레임이 존재하는지 여부를 확인한다(S245). 여기서 일부 실시예로, 제어부(190)는 상기 사전에 설정된 시간 동안에 디코딩된 입체영상 프레임 중에 깊이값이 산출되지 않은 입체영상 프레임이 있는지 여부를 확인할 수 있다. 일부 실시예로, 제어부(190)는 단계 S210에서 픽셀 차이값이 산출된 입체영상 프레임 중에 깊이값이 산출되지 않은 입체영상 프레임이 있는지 여부를 확인할 수 있다.The
깊이값을 산출해야할 영상 프레임이 존재하는 경우에는, 제어부(190)는 단계 S230을 수행한다. 이때, 제어부(190)는 깊이값이 산출되지 않은 입체영상 프레임 중 하나를 액세스한다.If there is an image frame to calculate the depth value, the
깊이값을 산출해야할 영상 프레임이 존재하지 않는 경우에는, 제어부(190)는 자막 깊이값을 설정한다(S250). 여기서 제어부(190)는 누적된 깊이값의 평균하여 평균 깊이값을 산출할 수 있다. 그리고 제어부(190)는 장르 및 자막 재생 모드 중 적어도 하나를 기초로 평균 깊이값 및 사전에 설정된 자막 깊이값 중 하나를 자막 깊이값으로 설정한다. 여기서 사전에 설정된 자막 깊이값은 정보 데이터에 포한된 것일 수 있고, 초기값으로 설정된 것일 수 있다.If there is no video frame to calculate the depth value, the
자막 디코더(1225)는 자막 데이터를 이용하여 좌안 자막 이미지 및 우안 자막 이미지를 포함하는 자막 이미지를 생성한다(S255). 여기서 생성된 자막 이미지는 자막 깊이값을 갖는 입체 이미지이다. 일예로, 자막 디코더(1225)는 도 7에 전술된 방식으로 상기 자막 이미지를 생성할 수 있다.The
스케일러(1240)는 저장부(180)에 저장된 입체영상 프레임을 디스플레이(150)를 통하여 출력하기 위한 적절한 크기로 스케일링한다(S260).The
믹서(1250)는 자막 디코더(1225)가 생성한 자막 이미지와 스케일러(1240)가 출력한 입체영상 프레임을 믹싱한다(S265). 여기서 상기 입체영상 프레임은 자막 이미지와 함께 디스플레이될 입체영상 프레임일 수 있다. 또한 자막 이미지는 상기 입체영상 프레임 상의 자막 위치가 지시하는 위치에 믹싱될 수 있다. 즉 믹서(1250)는 상기 자막 이미지의 좌안 자막 이미지를 상기 입체영상 프레임의 좌안 시점 영상 프레임내의 상기 자막 위치에 믹싱하고, 상기 자막 이미지의 우안 자막 이미지를 상기 입체영상 프레임들의 우안 시점 영상 프레임내의 상기 자막 위치에 믹싱할 수 있다.The
FRC(1260)는 믹싱된 입체영상 프레임을 포함하는 입체영상 데이터가 디스플레이 수직 주파수에 대응되도록 입체영상 데이터의 프레임 레이트를 변환한다(S270). 여기서 FRC(1260)는 도 9에 도시된 방식으로 프레임 레이트를 변환할 수 있다.The
포맷터(1270)는 변환된 영상 데이터를 이용하여 영상 프레임을 구성한다(S275). 여기서, 포맷터(1270)는 도 10에 도시된 영상 프레임들의 순서로 영상 프레임을 구성할 수 있다. 또한 포맷터(1270)는 수직/수평 동기신호(Vsync,Hsync), 데이터 인에이블(Data Enable), 클럭신호(CLK), 타입 신호(Type)등의 타이밍신호를 생성할 수 있다. 그리고 포맷터(1270)는 구성한 영상 프레임, 생성한 타이밍신호를 영상 인터페이스부(1280)를 통해 디스플레이(150)로 출력할 수 있다. 또한 포맷터(1270)는 동기신호(3D Sync)를 셔터 안경으로 전송할 수 있다.The
디스플레이(150)는 상기 타이밍신호에 따라 포맷터(1270)가 구성한 영상 프레임을 디스플레이한다(S280). 여기서 좌안 자막 이미지를 포함하는 좌안 시점 영상 프레임이 디스플레이될 수 있고, 우안 자막 이미지를 포함하는 우안 시점 영상 프레임이 디스플레이될 수 있다.The
본 발명은 또한 컴퓨터로 읽을 수 있는 기록매체에 컴퓨터가 읽을 수 있는 코드로서 구현하는 것이 가능하다. 컴퓨터가 읽을 수 있는 기록매체는 컴퓨터 장치에 의하여 읽혀질 수 있는 데이터가 저장되는 모든 종류의 기록장치를 포함한다. 컴퓨터가 읽을 수 있는 기록매체의 예로는 ROM, RAM, CD-ROM, 자기 테이프, 플로피디스크, 광데이터 저장장치 등이 있으며, 또한 캐리어 웨이브(예를 들어 인터넷을 통한 전송)의 형태로 구현되는 것도 포함한다. 또한 컴퓨터가 읽을 수 있는 기록매체는 네트워크로 연결된 컴퓨터 장치에 분산되어 분산방식으로 컴퓨터가 읽을 수 있는 코드가 저장되고 실행될 수 있다.The present invention can also be embodied as computer-readable codes on a computer-readable recording medium. A computer-readable recording medium includes all kinds of recording apparatuses in which data that can be read by a computer apparatus is stored. Examples of the computer-readable recording medium include a ROM, a RAM, a CD-ROM, a magnetic tape, a floppy disk, an optical data storage device, and the like, and may be implemented in the form of a carrier wave (for example, transmission via the Internet) . The computer-readable recording medium may also be distributed to networked computer devices so that computer readable code can be stored and executed in a distributed manner.
이상에서 본 발명의 바람직한 실시예에 대해 도시하고 설명하였으나, 본 발명은 상술한 특정의 바람직한 실시예에 한정되지 아니하며, 청구범위에서 청구하는 본 발명의 요지를 벗어남이 없이 당해 발명이 속하는 기술분야에서 통상의 지식을 가진 자라면 누구든지 다양한 변형 실시가 가능한 것은 물론이고, 그와 같은 변경은 청구범위 기재의 범위 내에 있게 된다.While the present invention has been particularly shown and described with reference to exemplary embodiments thereof, it is clearly understood that the same is by way of illustration and example only and is not to be taken by way of limitation in the embodiment in which said invention is directed. It will be understood by those skilled in the art that various changes in form and detail may be made therein without departing from the scope of the appended claims.
| Application Number | Priority Date | Filing Date | Title |
|---|---|---|---|
| KR1020110009117AKR101804912B1 (en) | 2011-01-28 | 2011-01-28 | An apparatus for displaying a 3-dimensional image and a method for displaying subtitles of a 3-dimensional image |
| Application Number | Priority Date | Filing Date | Title |
|---|---|---|---|
| KR1020110009117AKR101804912B1 (en) | 2011-01-28 | 2011-01-28 | An apparatus for displaying a 3-dimensional image and a method for displaying subtitles of a 3-dimensional image |
| Publication Number | Publication Date |
|---|---|
| KR20120087737A KR20120087737A (en) | 2012-08-07 |
| KR101804912B1true KR101804912B1 (en) | 2017-12-05 |
| Application Number | Title | Priority Date | Filing Date |
|---|---|---|---|
| KR1020110009117AExpired - Fee RelatedKR101804912B1 (en) | 2011-01-28 | 2011-01-28 | An apparatus for displaying a 3-dimensional image and a method for displaying subtitles of a 3-dimensional image |
| Country | Link |
|---|---|
| KR (1) | KR101804912B1 (en) |
| Publication number | Priority date | Publication date | Assignee | Title |
|---|---|---|---|---|
| JP3468404B2 (en)* | 1998-03-11 | 2003-11-17 | 日本電信電話株式会社 | Video subtitle insertion method and apparatus, and recording medium recording the video subtitle insertion method |
| WO2010122775A1 (en)* | 2009-04-21 | 2010-10-28 | パナソニック株式会社 | Video processing apparatus and video processing method |
| Publication number | Priority date | Publication date | Assignee | Title |
|---|---|---|---|---|
| JP3468404B2 (en)* | 1998-03-11 | 2003-11-17 | 日本電信電話株式会社 | Video subtitle insertion method and apparatus, and recording medium recording the video subtitle insertion method |
| WO2010122775A1 (en)* | 2009-04-21 | 2010-10-28 | パナソニック株式会社 | Video processing apparatus and video processing method |
| Publication number | Publication date |
|---|---|
| KR20120087737A (en) | 2012-08-07 |
| Publication | Publication Date | Title |
|---|---|---|
| US9392253B2 (en) | Electronic device and method for displaying stereo-view or multiview sequence image | |
| KR101924058B1 (en) | Image display apparatus, and method for operating the same | |
| KR101911250B1 (en) | Apparatus for processing a three-dimensional image and method for adjusting location of sweet spot for viewing multi-view image | |
| EP2381692A2 (en) | Image display apparatus and method for controlling the same | |
| US8988498B2 (en) | Method for controlling operations of image display apparatus and shutter glasses used for the image display apparatus | |
| KR20110052771A (en) | Image display device and its operation method | |
| JP5599063B2 (en) | Display control apparatus, display control method, and program | |
| CN106464862B (en) | Image display device and image display method | |
| KR20120034996A (en) | Image display apparatus, and method for operating the same | |
| JP2012186652A (en) | Electronic apparatus, image processing method and image processing program | |
| KR101783608B1 (en) | Electronic device and method for dynamically controlling depth in stereo-view or multiview sequence image | |
| KR101804912B1 (en) | An apparatus for displaying a 3-dimensional image and a method for displaying subtitles of a 3-dimensional image | |
| EP2549768A2 (en) | 3D display apparatus and content displaying method thereof | |
| KR101781850B1 (en) | Electronic device and method for displying stereo-view or multiview sequence image | |
| KR20120014485A (en) | 3D viewing device, video display device and operation method thereof | |
| KR101878808B1 (en) | Image display apparatus and method for operating the same | |
| KR102014149B1 (en) | Image display apparatus, and method for operating the same | |
| KR20120140425A (en) | Apparatus and method for processing three-dimensional image | |
| KR101880479B1 (en) | Image display apparatus, and method for operating the same | |
| KR20130010612A (en) | Apparatus and method for displaying stereoscopy image | |
| KR101890323B1 (en) | Image display apparatus, settop box and method for operating the same | |
| KR20150012692A (en) | Apparatus and method for processing a three-dimensional image | |
| KR20130011384A (en) | Apparatus for processing 3-dimensional image and method for adjusting setting value of the apparatus | |
| JP2014225736A (en) | Image processor | |
| KR20130068964A (en) | Method for operating an image display apparatus |
| Date | Code | Title | Description |
|---|---|---|---|
| PA0109 | Patent application | St.27 status event code:A-0-1-A10-A12-nap-PA0109 | |
| PG1501 | Laying open of application | St.27 status event code:A-1-1-Q10-Q12-nap-PG1501 | |
| R17-X000 | Change to representative recorded | St.27 status event code:A-3-3-R10-R17-oth-X000 | |
| PN2301 | Change of applicant | St.27 status event code:A-3-3-R10-R13-asn-PN2301 St.27 status event code:A-3-3-R10-R11-asn-PN2301 | |
| A201 | Request for examination | ||
| PA0201 | Request for examination | St.27 status event code:A-1-2-D10-D11-exm-PA0201 | |
| P22-X000 | Classification modified | St.27 status event code:A-2-2-P10-P22-nap-X000 | |
| P22-X000 | Classification modified | St.27 status event code:A-2-2-P10-P22-nap-X000 | |
| D13-X000 | Search requested | St.27 status event code:A-1-2-D10-D13-srh-X000 | |
| D14-X000 | Search report completed | St.27 status event code:A-1-2-D10-D14-srh-X000 | |
| PE0902 | Notice of grounds for rejection | St.27 status event code:A-1-2-D10-D21-exm-PE0902 | |
| E13-X000 | Pre-grant limitation requested | St.27 status event code:A-2-3-E10-E13-lim-X000 | |
| P11-X000 | Amendment of application requested | St.27 status event code:A-2-2-P10-P11-nap-X000 | |
| P13-X000 | Application amended | St.27 status event code:A-2-2-P10-P13-nap-X000 | |
| E701 | Decision to grant or registration of patent right | ||
| PE0701 | Decision of registration | St.27 status event code:A-1-2-D10-D22-exm-PE0701 | |
| PR0701 | Registration of establishment | St.27 status event code:A-2-4-F10-F11-exm-PR0701 | |
| PR1002 | Payment of registration fee | St.27 status event code:A-2-2-U10-U11-oth-PR1002 Fee payment year number:1 | |
| PG1601 | Publication of registration | St.27 status event code:A-4-4-Q10-Q13-nap-PG1601 | |
| P22-X000 | Classification modified | St.27 status event code:A-4-4-P10-P22-nap-X000 | |
| P22-X000 | Classification modified | St.27 status event code:A-4-4-P10-P22-nap-X000 | |
| P22-X000 | Classification modified | St.27 status event code:A-4-4-P10-P22-nap-X000 | |
| PN2301 | Change of applicant | St.27 status event code:A-5-5-R10-R13-asn-PN2301 St.27 status event code:A-5-5-R10-R11-asn-PN2301 | |
| PR1001 | Payment of annual fee | St.27 status event code:A-4-4-U10-U11-oth-PR1001 Fee payment year number:4 | |
| PR1001 | Payment of annual fee | St.27 status event code:A-4-4-U10-U11-oth-PR1001 Fee payment year number:5 | |
| PR1001 | Payment of annual fee | St.27 status event code:A-4-4-U10-U11-oth-PR1001 Fee payment year number:6 | |
| PC1903 | Unpaid annual fee | St.27 status event code:A-4-4-U10-U13-oth-PC1903 Not in force date:20231130 Payment event data comment text:Termination Category : DEFAULT_OF_REGISTRATION_FEE | |
| PC1903 | Unpaid annual fee | St.27 status event code:N-4-6-H10-H13-oth-PC1903 Ip right cessation event data comment text:Termination Category : DEFAULT_OF_REGISTRATION_FEE Not in force date:20231130 |