















본 발명은 혈압 측정을 위한 손목에 착용해서 혈압을 측정하는 손목 혈압계에 관한 것으로서, 더욱 상세하게는 혈압 측정을 위해 손목의 소정 부위 즉 요골동맥이 지나는 부위를 가압하는 데 사용되는 혈압 측정용 손목 압박기 및 이를 갖는 손목 혈압계에 관한 것이다.BACKGROUND OF THE
일반적으로, 혈액이 혈관의 벽에 미치는 압력을 잰 것을 혈압이라고 하며, 심장은 1분에 약 60 내지 80회 수축과 이완을 반복한다. 심장이 수축하여 피를 밀어낼 때 혈관에 미치는 압력을 '수축혈압'이라고 하며 가장 높기 때문에 '최고혈압'이라고 한다. 또한, 심장이 이완되면서 혈액을 받아들일 때 혈관 압력을 '이완혈압'이라고 하며 가장 낮기 때문에 '최저혈압'이라고 한다.Generally, the blood pressure is measured as the blood pressure on the wall of the blood vessel, and the heart repeats shrinkage and relaxation about 60 to 80 times per minute. When the heart contracts and pushes out the blood, the pressure on the blood vessel is called 'contracting blood pressure' and is called 'hypertension' because it is the highest. In addition, when the heart relaxes and receives blood, the pressure of the blood pressure is called 'relaxed blood pressure' and the lowest is called 'the lowest blood pressure'.
보통 정상인의 혈압은 수축혈압이 120mmHg이고, 이완혈압은 80mmHg을 나타낸다. 우리나라 성인의 4명 중 1명 이상이 고혈압에 해당되며 40세 이후부터는 이 비율이 급격히 증가하는 추세를 나타내고 있으며, 저혈압으로 분류된 환자도 있다.The normal blood pressure of a normal person is 120 mmHg in shrinking blood pressure and 80 mmHg in relaxed blood pressure. More than 1 out of 4 adults in Korea are hypertensive, and this ratio is increasing rapidly after age 40, and some patients are classified as hypotension.
상기 고혈압이 문제가 되는 것은 고혈압을 적절히 관리하지 않고 방치할 경우 안질환, 신장질환, 동맥질환, 뇌질환, 심장질환과 같은 생명에 위협을 가할 수 있는 다른 합병증들의 원인이 될 수 있기 때문이다. 따라서, 상기 합병증의 위험이 있거나 합병증을 가진 환자의 경우 지속적인 혈압의 측정과 관리가 이루어져야 한다.The problem of hypertension is that it may cause other complications that may pose a life threatening condition such as eye disease, kidney disease, arterial disease, brain disease, heart disease if left without proper management of hypertension. Therefore, in the case of the above-mentioned complication or the complication, continuous measurement and management of the blood pressure should be performed.
상술한 고혈압 등 성인병 관련 질환과 건강에 대한 관심이 증가함에 따라 다양한 종류의 혈압 측정 장치가 개발되고 있다.BACKGROUND ART [0002] Various kinds of blood pressure measuring devices have been developed as interest in health related diseases and geriatric diseases such as hypertension has increased.
혈압 측정 방식에는 청진(Korotkoff sounds) 방식, 오실로메트릭(oscillometric) 방식, 및 토노메트릭(tonometric) 방식 등이 있다.The blood pressure measurement method includes a Korotkoff sounds method, an oscillometric method, and a tonometric method.
상기 청진 방식은 전형적인 압력 측정 방식으로, 동맥혈이 지나는 신체 부위에 충분한 압력을 가해 혈액의 흐름을 차단한 후 감압하는 과정에서, 처음으로 맥박 소리가 들리는 순간의 압력을 수축기 혈압(systolic pressure)으로 측정하고, 맥박 소리가 사라지는 순간의 압력을 이완기 혈압(diastolic pressure)으로 측정하는 방법이다.The stethoscope method is a typical pressure measurement method. In the process of decompressing the blood flow by applying sufficient pressure to the body part passing through the arterial blood, the pressure at the moment when the pulse sound is heard for the first time is measured by systolic pressure And the pressure at the moment when the pulsation disappears is measured by diastolic pressure.
상기 오실로메트릭 방식과 토노메트릭 방식은 디지털화된 혈압 측정 장치에 적용되는 방식이다.The oscillometric method and the tonometric method are applied to a digitized blood pressure measuring device.
상기 오실로메트릭 방식은 청진 방식과 마찬가지로 동맥의 혈류가 차단되도록 동맥혈이 지나는 신체 부위를 충분히 가압한 후 일정 속도로 감압하는 과정, 또는 상기 신체 부위를 일정 속도로 증압되게 가압하는 과정에서 발생하는 맥파를 감지하여 수축기 혈압과 이완기 혈압을 측정한다.The oscillometric method is a method in which the body part through which the arterial blood passes is decompressed at a constant speed so as to block the arterial blood flow as in the stethoscopic method or a pulse wave generated during the pressure step- And measures systolic blood pressure and diastolic blood pressure.
여기서, 맥파의 진폭이 최대인 순간과 비교하여 일정 수준인 때의 압력을 수축기 혈압 또는 이완기 혈압으로 측정할 수도 있고, 상기 맥파 진폭의 변화율이 급격히 변화되는 때의 압력을 수축기 혈압 또는 이완기 혈압으로 측정할 수도 있다.Here, the pressure at the time when the amplitude of the pulse wave is maximum can be measured by the systolic blood pressure or the diastolic blood pressure, and the pressure when the rate of change of the pulse wave amplitude is rapidly changed is measured by the systolic blood pressure or the diastolic blood pressure You may.
그리고, 가압 후 일정 속도로 감압하는 과정에서는 상기 맥파의 진폭이 최대인 순간보다 앞서서 수축기 혈압이 측정되고, 상기 맥파의 진폭이 최대인 순간보다 나중에 이완기 혈압이 측정된다. 이와 반대로, 일정 속도로 증압하는 과정에서는 상기 맥파의 진폭이 최대인 순간보다 나중에 수축기 혈압이 측정되고, 상기 맥파의 진폭이 최대인 순간보다 앞서서 이완기 혈압이 측정된다.In the process of reducing pressure at a constant rate after pressurization, the systolic blood pressure is measured ahead of the moment when the amplitude of the pulse wave is maximum, and the diastolic blood pressure is measured later than the moment when the amplitude of the pulse wave is maximum. On the contrary, in the process of increasing the blood pressure at a constant speed, the systolic blood pressure is measured later than the moment when the amplitude of the pulse wave is the maximum, and the diastolic blood pressure is measured ahead of the moment when the amplitude of the pulse wave is maximum.
다음으로, 상기 토노메트릭 방식은 동맥의 혈류를 완전히 차단하지 않는 크기의 일정 압력을 신체 부위에 가하고, 이때 발생되는 맥파의 크기 및 형태를 이용하여 연속적으로 혈압을 측정할 수 있는 방식이다.Next, in the tonometric method, a constant pressure of a magnitude not blocking the blood flow of the artery is applied to the body part, and the blood pressure can be continuously measured using the size and shape of the pulse wave generated at this time.
상기와 같이 혈압을 측정하는 혈압계는 건강지수의 기본이 되는 혈압을 측정하기 위한 가장 기본적인 의료장비로서, 일반 병의원에는 거의 필수적으로 구비되어 있을 뿐만 아니라 가정이나 스포츠센터 등에서도 개인의 혈압 측정을 위해 많이 사용하고 있는 실정이다.As described above, the blood pressure monitor for measuring the blood pressure is the most basic medical equipment for measuring the blood pressure which is the basis of the health index. It is almost indispensable not only in general medical clinics but also for home blood pressure measurement It is in use.
그러나, 기존의 혈압계의 경우, 대부분 혈압측정이 필요할 때마다 상박(위팔 또는 상완, 어깨에서 팔꿈치까지의 부분)에 혈압계를 감아서 혈압을 측정하는 팔뚝형으로 제품이 출시되어 있어서 휴대하기가 불편하고 사용에 있어서도 원하는 때에 손쉽게 혈압을 측정하기가 용이하지 않은 실정이다.However, in the case of a conventional blood pressure monitor, when the blood pressure is mostly measured, the blood pressure is measured by winding the blood pressure meter on the upper arm (upper arm or upper arm, part from the shoulder to the elbow) It is not easy to easily measure the blood pressure when desired.
예컨대, 기존의 오실로메트릭스 방식의 혈압계의 경우, 팔뚝형으로만 제품이 출시되어 있는데, 팔뚝에 감아서 압박하기 위한 혈압계본체와, 압박커프, 튜브플러그, 에어호스 등이 필요하므로, 구성이 복잡하고 부피가 크며, 사용시에 올바른 측정을 위해서는 에어호스가 아래를 향하도록 끼워야 한다거나, 커프를 팔꿈치 1~2cm 위로 착용해야 하는 등 측정 준비 과정에 준비 사항도 많아 사용상 번거롭다는 단점이 있다.For example, in the conventional oscillometric blood pressure monitor, a blood pressure monitor body and a pressure cuff, a tube plug, an air hose, and the like are required for wrapping around the forearm. It is bulky and has a disadvantage in that it is cumbersome to use because there is a lot of preparations in the preparation of the measurement, for example, the air hose must be fitted downward for proper measurement at the time of use or the cuff should be worn 1 to 2 cm above the elbow.
특히, 혈압은 피검자의 신체특성에 따라 변화 정도가 상이하므로, 체내에 합병증이 있는 환자들은 주기적으로 및/또는 신체에 이상을 느낄 때마다 즉시 혈압을 측정할 필요성이 있는데, 수은 혈압계와 전자혈압계는 후술하는 문제점으로 인하여 상기 환자들에게 불편함을 제공한다.Particularly, since blood pressure varies depending on the body characteristics of the subject, patients having complications in the body need to immediately measure the blood pressure every time the subject feels abnormality in the body and / or the body. The mercury sphygmomanometer and the electronic blood pressure monitor Thereby providing inconvenience to the patients due to the following problems.
우선, 상기 수은 혈압계와 전자 혈압계는 공기 주입을 필요로 하는 커프를 사용하게 되는데, 상기 커프는 부피가 커서 사용자가 실시간으로 착용하기 번거로운 문제점이 있다.First, the mercury sphygmomanometer and the electronic sphygmomanometer use a cuff requiring air injection. However, the cuff has a bulky size, so that it is troublesome for a user to wear it in real time.
또한, 자주 혈압을 측정해야 하는 환자에게 상기 공압식 커프를 이용한 수은혈압계는 부피 및 무게가 과도하여, 피검자(환자)가 휴대하고 다니기에 불편함과 무리함이 있고, 혈압을 측정할 때마다 매번 상기 혈압계를 탈부착해야 하는 번거로움이 있다.In addition, since the mercury sphygmomanometer using the pneumatic cuff is often excessively bulky and heavy for a patient whose blood pressure is frequently measured, it is inconvenient and inconvenient for the subject (patient) to carry around, and each time the blood pressure is measured, It is troublesome to detach and attach the blood pressure monitor.
그리고, 상술한 종래의 혈압계와 동일한 정밀도를 가지는 공압식 전자혈압계가 있지만, 환자가 계속하여 휴대하면서 주기적으로 혈압을 측정해야 하는 경우에 적용될 경우, 전기식 펌프와 공기 주입식 커프를 사용하기 때문에 무게가 무겁고 부피가 커 환자의 거동이 불편해지는 문제점이 있다.Although there is a pneumatic electronic blood pressure monitor having the same accuracy as the conventional blood pressure monitor described above, when the blood pressure is measured periodically while the patient continues to carry it, since the electric pump and the infusion cuff are used, There is a problem that the behavior of the patient becomes uncomfortable.
그 외에, 손목이나 손끝의 맥박과 다양한 파라메터들을 근거로 혈압을 측정하는 비가압식 전자 혈압계들도 존재하고 있으나, 상기 파라메터들을 정확하게 특정하여 범용적으로 제공하기 어려워 정밀도가 낮아 정확한 혈압을 주기적으로 측정해야 하는 환자들에게 적용하기 어렵다.In addition, there are non-pressure type electronic blood pressure monitors that measure blood pressure based on the pulse of the wrist or the fingertip and various parameters. However, since it is difficult to accurately specify the parameters and provide general purpose, the blood pressure is measured periodically It is difficult to apply to patients with
한편, 최근에는 손목시계처럼 손목에 착용하여 휴대하면서 혈압을 측정할 수 있는 혈압계가 손목 혈압계 또는 손목착용 혈압계 또는 손목시계형 혈압계 등의 이름으로 개발되고 있다.Meanwhile, in recent years, a blood pressure monitor capable of measuring blood pressure while being worn on a wrist, such as a wristwatch, has been developed in the name of a wrist blood pressure monitor, a wrist blood pressure monitor or a wristwatch blood pressure monitor.
그러나, 기존의 손목 혈압계는 단순히 손목에 착용해서 혈압을 측정하기 때문에 손목시계형이라 불리기는 하지만, 실질적으로는 손목에 시계처럼 차고 다닐 정도로 부피가 작지 않은 실정이다. 즉, 기존의 손목 혈압계는 상박 대신에 손목에 적용할 수 있도록 사이즈만 약간 줄어든 형태라고 할 수 있으며, 기타 다른 손목 혈압계 역시 손목 가압을 위해 기계식/전자식 펌핑 장치 즉 에어 펌프가 구비되어 구조적으로 복잡하며 조작 및 작동이 어려우며 고장이 쉽게 발생하고 제조비용이 증가하는 등의 문제가 있다. 또한, 기존의 손목 혈압계는 커프 즉 손목 압박용 공기 주머니를 정확한 혈압측정 위치에 정렬/배치하기 어려워서 혈압 측정의 정확도가 저하된다.However, the conventional wrist blood pressure monitor simply measures the blood pressure by wearing it on the wrist, so it is called a wristwatch type, but it is practically not so small as to be worn on a wrist. In other words, a conventional wrist blood pressure monitor can be said to be slightly reduced in size so that it can be applied to the wrist instead of the upper wrist, and other wrist blood pressure monitors are structurally complicated due to the mechanical / electronic pumping device, Operation and operation are difficult, troubles easily occur, and manufacturing cost is increased. In addition, since the conventional wrist blood pressure meter is difficult to align / position the cuff or the air bag for wrist compression to the accurate blood pressure measurement position, the accuracy of blood pressure measurement is lowered.
본 발명은 상술한 문제점을 해결하기 위해 제안된 것으로서, 휴대하면서 혈압 측정이 필요할 때 단순 동작으로 용이하게 혈압을 측정할 수 있으며, 구조적으로 단순화된 혈압 측정용 손목 압박기 및 이를 갖는 손목 혈압계를 제공하는 데 그 목적이 있다.The present invention has been proposed in order to solve the above-described problems, and it is an object of the present invention to provide a wrist-squeezer for measuring blood pressure and a wrist blood pressure monitor having the same, which can easily measure blood pressure by simple operation when blood pressure measurement is required The purpose is to do.
상술한 목적의 해결하기 위한 본 발명의 일 형태는, 바닥에 에어홈이 형성된 압박 프레임; 그리고 손목 압박을 위해 상기 에어홈에 팽창 가능하게 구비되는 압박막을 포함하여 구성되는 혈압 측정용 손목 압박기로서: 상기 압박 프레임에는, 상기 압박막의 내부에 공기가 공급되도록 상기 에어홈으로 상기 공기를 안내하는 급기구와, 상기 압박막의 내부에서 상기 공기가 배출되도록 상기 에어홈에서 상기 압박 프레임의 외부로 상기 공기를 안내하는 배기구가 더 형성된다.According to an aspect of the present invention, there is provided an image forming apparatus including: a pressing frame having an air groove formed on a bottom thereof; And a pressure film which is provided in the air groove so as to be inflatable for wrist compression, the wrist-pushing device comprising: a wrist-pushing device for measuring blood pressure, the pressure wringing device comprising: And a discharge port for guiding the air to the outside of the compression frame in the air groove so as to discharge the air inside the compression film.
상기 급기구에는 공기의 일방향 유동을 위한 체크밸브가 구비된다. 그리고 상기 압박 프레임은, 경질(Hard Material)로서 외력에 대해 일정 형상으로 유지된다. 상기 압박 프레임은, 경질의 플라스틱이나 경질 고무 또는 금속 재질로 제조될 수 있으나, 상기 압박 프레임의 재질이 상술한 종류에 한정되는 것은 아니다.The air supply mechanism is provided with a check valve for one-way flow of air. The compression frame is a hard material and is maintained in a constant shape with respect to an external force. The compression frame may be made of hard plastic, hard rubber or metal, but the material of the compression frame is not limited to the above-mentioned kind.
상기 압박 프레임은, 상기 에어홈의 천장을 이루는 프레임 몸체와, 상기 프레임 몸체의 하측에 일체로 구비되어 상기 프레임 몸체를 지지하는 지지 프레임을 포함하여 구성되고: 상기 지지 프레임은, 상기 에어홈의 일측벽을 이루는 제1지지벽과, 상기 에어홈의 타측벽을 이루며 상기 제1지지벽에 대향되는 제2지지벽을 포함하여 구성될 수 있다. 상기 제1지지벽의 하단과 제2지지벽의 하단은 동일 높이에 위치할 수도 있고, 어느 하나가 다른 하나보다 더 낮게 구비될 수도 있다. 그리고 상기 급기구와 상기 배기구는 상기 프레임 몸체에 형성된다.Wherein the pressing frame includes a frame body that forms a ceiling of the air groove and a support frame that is integrally provided on a lower side of the frame body and supports the frame body; A first support wall defining a side wall, and a second support wall forming another side wall of the air groove and opposed to the first support wall. The lower end of the first support wall and the lower end of the second support wall may be located at the same height, or one of them may be lower than the other. And the air supply mechanism and the exhaust port are formed in the frame body.
상기 혈압 측정용 손목 압박기는; 상기 압박 프레임이 손목의 소정 부위에 배치되도록, 상기 압박 프레임의 일측에 구비되는 손목정렬 기준부를 더 포함하여 구성될 수도 있다. 상기 손목정렬 기준부는 기설정된 형상으로 절곡되거나, 상기 손목정력 기준부의 인접 부위 예를 들면 상기 압박 프레임에 비해 휨 강성이 약한 연성을 가질 수 있다. 상기 손목정렬 기준부는 탄성 변형이 가능하게 구성될 수도 있다.The wrist pusher for blood pressure measurement comprises: And a wrist alignment reference unit provided on one side of the pressing frame so that the pressing frame is disposed at a predetermined portion of the wrist. The wrist alignment reference portion may be bent in a predetermined shape or may have ductility in which the bending stiffness is weaker than an adjacent portion of the wrist tuck reference portion, for example, the pressing frame. The wrist alignment reference portion may be configured to allow elastic deformation.
그리고, 혈압 측정용 손목 압박기는, 상기 압박 프레임의 가압을 위해 상기 압박 프레임의 상측에 구비되는 압박 커버를 더 포함하여 구성될 수도 있다.The wrist pusher for measuring blood pressure may further comprise a pushing cover provided on the upper side of the pushing frame for pressing the pushing frame.
상기 압박 커버는, 상기 압박 프레임의 상측에 배치되는 커버 본체와, 상기 압박 프레임의 상측 가장자리를 누르도록 상기 커버 본체의 하측에 일체로 구비되는 한쌍의 커버 지지대를 포함하여 구성되며; 상기 커버 지지대는, 상기 압박 프레임의 상측 가장자리 중 일측을 누르도록 상기 커버 본체의 하방으로 돌출되는 제1지지대와, 상기 압박 프레임의 상측 가장자리 중 타측을 누르도록 상기 커버 본체의 하방으로 돌출되며 상기 제1지지대에 대향되는 제2지지대를 포함하여 구성될 수 있다.Wherein the pressing cover comprises a cover body disposed on the upper side of the pressing frame and a pair of cover supporting rods integrally provided on the lower side of the cover body so as to press the upper edge of the pressing frame; The cover support includes a first support protruding downward from the cover body so as to press one side of the upper edge of the press frame, a second support protruding downward from the cover body to press the other side of the upper edge of the press frame, And a second support member opposed to the first support member.
이때 상기 제1지지벽은 상기 제1지지대의 직하방에 구비되고, 상기 제2지지벽은 상기 제2지지대의 직하방에 구비된다.At this time, the first support wall is provided directly below the first support, and the second support wall is provided directly below the second support.
한편, 상기 급기구에는 상기 압박막의 내부로 급기를 위한 에어 펌프가 연결된다.On the other hand, an air pump for supplying air to the pressurizing membrane is connected to the air supply mechanism.
상기 에어 펌프는; 상기 급기구를 통해 상기 압박막의 내부에 공기를 공급하도록 수축 가능하며, 자체 복원력에 의해 팽창하면서 외부 공기를 흡입하는 펌핑 백(Pumping Bag)을 포함하여 구성된다. 상기 급기구는 상기 펌핑 백에서 상기 압박막의 내부로 공기의 일방향 유동을 위한 제1체크밸브에 연결되며, 상기 펌핑 백의 흡입구에는 상기 펌핑 백으로 공기의 일방향 유동을 위한 제2체크밸브가 구비된다.The air pump comprising: And a pumping bag which is contractible to supply air into the compression membrane through the air supply mechanism and sucks the outside air while expanding by self-restoring force. The air supply mechanism is connected to a first check valve for one-way flow of air from the pumping bag to the inside of the compression film, and a suction port of the pumping bag is provided with a second check valve for unidirectional flow of air by the pumping bag.
본 발명의 다른 일 형태는, 혈압 측정용 손목 압박기; 그리고 상기 손목 압박기의 착용을 위한 손목 스트랩을 포함하여 구성되는 손목에 착용 가능한 휴대형 손목 혈압계로서: 상기 손목 압박기는, 상기 손목 스트랩에 탑재되며 바닥에 에어홈이 형성된 압박 프레임과, 손목 압박을 위해 상기 에어홈에 팽창 가능하게 구비되는 압박막을 포함하여 구성되고; 상기 압박 프레임에는, 상기 압박막의 내부에 공기가 공급되도록 상기 에어홈으로 상기 공기를 안내하는 급기구와, 상기 압박막의 내부에서 상기 공기가 배출되도록 상기 에어홈에서 상기 압박 프레임의 외부로 상기 공기를 안내하는 배기구가 더 형성된다.Another aspect of the present invention is a blood pressure monitor comprising: a wrist pusher for measuring blood pressure; And a wrist strap for wearing the wrist pusher, wherein the wrist pusher comprises: a compression frame mounted on the wrist strap and having an air groove formed on the bottom thereof; And a pressing film which is provided in the air groove so as to be inflatable; Wherein the compression frame is provided with a feed mechanism for guiding the air to the air groove so as to supply air into the inside of the compression film and a feed mechanism for feeding the air to the outside of the compression frame in the air groove to discharge the air inside the compression film A further evacuation port for guiding is formed.
상기 손목 압박기는; 상기 압박 프레임이 손목의 소정 부위에 배치되도록, 상기 압박 프레임의 일측에 구비되는 손목정렬 기준부를 더 포함할 수 있다. 그리고, 상기 에어 펌프는 상기 압박 프레임의 타측에 구비될 수 있다.Wherein the wrist pusher comprises: And a wrist alignment reference part provided at one side of the pressing frame so that the pressing frame is disposed at a predetermined part of the wrist. The air pump may be provided on the other side of the compression frame.
상기 압박 프레임은, 상기 에어홈의 천장을 이루는 프레임 몸체와, 상기 프레임 몸체의 하측에 일체로 구비되어 상기 프레임 몸체를 지지하는 지지 프레임을 포함하여 구성되고; 상기 지지 프레임은, 상기 에어홈의 일측벽을 이루는 제1지지벽과, 상기 에어홈의 타측벽을 이루며 상기 제1지지벽에 대향되는 제2지지벽을 포함하여 구성되며; 상기 제1지지벽의 하단과 제2지지벽의 하단은 동일 높이에 위치하거나 어느 하나가 다른 하나보다 더 낮게 구비되고; 상기 제1지지벽의 하단과 제2지지벽의 하단 중 적어도 하나는 상기 손목 스트랩의 내측 표면보다 아래로 돌출된다.Wherein the pressing frame includes a frame body forming a ceiling of the air groove and a support frame integrally provided on a lower side of the frame body to support the frame body; The support frame includes a first support wall constituting one side wall of the air groove and a second support wall constituting another side wall of the air groove and opposed to the first support wall; Wherein a lower end of the first support wall and a lower end of the second support wall are located at the same height or one is lower than the other; At least one of the lower end of the first support wall and the lower end of the second support wall projects below the inner surface of the wrist strap.
상기 손목 혈압계 즉 손목 착용 혈압계의 손목 압박기는, 상기 압박 프레임의 가압을 위해 상기 압박 프레임의 상측에 구비되는 압박 커버를 더 포함하여 구성되고; 상기 압박 커버는, 상기 압박 프레임의 상측에 배치되는 커버 본체와, 상기 압박 프레임의 상측 가장자리를 누르도록 상기 커버 본체의 하측에 일체로 구비되는 한쌍의 커버 지지대를 포함하여 구성되며; 상기 커버 지지대는, 상기 제1지지벽의 직상방에서 상기 압박 프레임의 상측 가장자리 중 일측을 누르도록 상기 커버 본체의 하방으로 돌출되는 제1지지대와, 상기 제2지지벽의 직상방에서 상기 압박 프레임의 상측 가장자리 중 타측을 누르도록 상기 커버 본체의 하방으로 돌출되며 상기 제1지지대에 대향되는 제2지지대를 포함하여 구성될 수 있다.The wrist pusher of the wrist blood pressure gauge, that is, the wrist pushing device of the wrist, further comprises a pushing cover provided on the upper side of the pushing frame for pushing the pushing frame; Wherein the pressing cover comprises a cover body disposed on the upper side of the pressing frame and a pair of cover supporting rods integrally provided on the lower side of the cover body so as to press the upper edge of the pressing frame; The cover support includes a first support protruding downward from the cover main body so as to press one side of the upper edge of the pressing frame in the upper right chamber of the first support wall, And a second support member protruding downward from the cover body to press the other of the upper edges of the cover body and opposed to the first support member.
본 발명의 혈압 측정용 손목 압박기 및 이를 갖는 손목 혈압계에 의한 효과는 다음과 같다.Effects of the wrist-pushing device for blood pressure measurement and the wrist blood pressure monitor having the wrist-pushing device of the present invention are as follows.
먼저, 본 발명에 의하면, 사용자가 휴대하면서 필요할 때마다 편리하게 혈압을 측정할 수 있으며, 정확한 혈압 측정위치에 손목 압박기가 배치될 수 있으므로 혈압 측정의 정확도가 높아지고, 압박막 즉 에어백 충진을 위한 펌핑 백이 자체 복원력 예를 들면 탄성력에 의해 원래의 형상으로 복원되면서 공기를 흡입하므로 에어백 충진을 위한 펌프나 모터 등의 기계/전자 장치가 필요없고 구조적으로 단순화될 수 있는 동시에 제조비용이 절감될 수 있으며, 공기 충진을 위해 별도의 에너지원을 소모하지 않으므로 배터리 용량에 대한 부담을 줄일 수 있다.According to the present invention, a blood pressure can be conveniently measured whenever a user is carrying and a wrist pusher can be disposed at an accurate blood pressure measurement position. Therefore, the accuracy of blood pressure measurement can be enhanced and the pressure film, i.e., Since the bag absorbs air while being restored to its original shape by its own restoring force, for example, elasticity, it does not require a mechanical / electronic device such as a pump or a motor for filling the air bag, can be structurally simplified, Since no separate energy source is used to fill the air, the burden on the battery capacity can be reduced.
그리고, 본 발명에 의하면, 한쪽 팔의 손목에 혈압계를 차고 반대쪽 손으로 혈압계를 눌러서 에어백 내부의 공기압을 쉽게 증가시킬 수 있으며, 혈압 측정이 한 손의 동작만으로 수행될 수 있으므로, 혈압계의 조작이 용이하고 정확한 측정이 가능하고, 혈압계의 구조와 크기가 소형화될 수 있다.According to the present invention, the air pressure inside the airbag can be easily increased by pressing the sphygmomanometer on the wrist of one arm and pressing the sphygmomanometer with the other hand, and the blood pressure measurement can be performed by only one hand operation. Accurate measurement can be performed, and the structure and size of the blood pressure monitor can be miniaturized.
또한, 본 발명에 의하면, 주기적으로 혈압을 측정해야 하는 피검자의 거동에 방해가 되지 않는 간편한 혈압 측정 장치의 제공이 가능하므로, 혈압을 측정하는 피검자에게 사용상의 편리함을 제공하게 된다.Further, according to the present invention, it is possible to provide a simple blood pressure measurement device that does not interfere with the behavior of the subject who has to periodically measure the blood pressure, thereby providing the user with convenience in measuring the blood pressure.
그리고, 항상 변하는 혈압의 추세를 알기 위해서는 매일 같은 시간에 주기적으로 혈압을 측정을 하고 그 수치를 기록하는 것이 중요한데, 본 발명은 상시 휴대가 가능하여 매일 같은 시간에 측정을 하고 기록하는데 매우 유용하며, 알람이 구비될 경우 특히 혈압 측정시기를 놓치지 않고 규칙적으로 혈압을 측정하는데 매우 유리하다.In order to know the trend of the ever-changing blood pressure, it is important to measure the blood pressure periodically at the same time every day and to record the blood pressure value. The present invention is always portable and is very useful for measurement and recording at the same time every day, When an alarm is provided, it is very advantageous to regularly measure the blood pressure without missing the timing of blood pressure measurement.
또한, 본 발명에 의하면, 측정된 혈압 데이터를 무선통신유닛을 통해 주치의 혹은 전문의 등에게 보내어 분석하는데 활용할 수 있으므로, 고혈압, 당뇨병, 간장 장애, 동맥 경화, 혈액순환의 말초신경 장애 등이 있는 환자들에게 있어 특히 효율적인 혈압의 관리가 이루어질 수 있다.In addition, according to the present invention, since the measured blood pressure data can be transmitted to a doctor or a specialist through a wireless communication unit, it can be used for analyzing a patient having hypertension, diabetes, hepatic disorder, arteriosclerosis, Particularly effective management of blood pressure can be achieved.
본 발명의 특징 및 장점들은 후술되는 본 발명의 실시예들에 대한 상세한 설명과 함께 다음에 설명되는 도면들을 참고하여 더 잘 이해될 수 있으며, 상기 도면들 중:
도 1은 본 발명에 따른 혈압 측정용 손목 압박기의 일 실시 예(제1실시 예)를 갖는 손목 혈압계의 일 실시 예를 개략적으로 나타낸 단면도;
도 2는 도 1에 도시된 손목 압박기의 압박 프레임과 압박 커버를 분해하여 나타낸 분해 사시도;
도 3은 도 2에 도시된 압박 프레임과 압박 커버이 결합된 상태를 나타낸 사시도;
도 4는 도 2에 도시된 압박 프레임을 뒤집어서 나타낸 사시도;
도 5는 도 3의 단면도;
도 6은 도 1에 도시된 손목 혈압계가 손목에 착용된 상태를 나타낸 평면도;
도 7의 (a)와 (b)는 손목의 압박과정을 나타낸 단면도들;
도 8과 도 9는 손목 혈압계의 조작을 위한 손동작을 나타낸 사시도들;
도 10은 혈압 측정시 압막박의 내부 공기압의 변화를 나타낸 그래프;
도 11은 본 발명에 따른 혈압 측정용 손목 압박기의 다른 실시 예(제2실시 예)를 개략적으로 나타낸 측면도;
도 12는 도 11에 도시된 손목 압박기를 갖는 손목 혈압계의 다른 실시 예가 손목에 착용된 상태를 개략적으로 나타낸 단면도;
도 13은 본 발명에 따른 혈압 측정용 손목 압박기의 또 다른 실시 예(제3실시 예)를 개략적으로 나타낸 단면도;
도 14는 본 발명에 따른 혈압 측정용 손목 압박기의 추가적인 실시 예(제4실시 예)를 개략적으로 나타낸 단면도;
도 15는 혈압 측정용 손목 압박기의 또 다른 추가적인 실시 예(제5실시 예)를 갖는 손목 혈압계의 또 다른 실시 예를 개략적으로 나타낸 단면도;그리고
도 16은 본 발명에 따른 손목 혈압계의 전체 구성을 예시한 블럭도이다.BRIEF DESCRIPTION OF THE DRAWINGS The features and advantages of the present invention will become better understood with reference to the following description taken in conjunction with the following detailed description of embodiments of the invention,
 1 is a sectional view schematically showing one embodiment of a wrist blood pressure monitor having an embodiment (a first embodiment) of a wrist-pushing device for measuring blood pressure according to the present invention;
 FIG. 2 is an exploded perspective view of the compression frame and the compression cover of the wrist pusher shown in FIG. 1;
 FIG. 3 is a perspective view showing a state in which the compression frame and the compression cover shown in FIG. 2 are combined;
 FIG. 4 is a perspective view of the compression frame shown in FIG. 2 in an inverted state; FIG.
 Fig. 5 is a sectional view of Fig. 3; Fig.
 FIG. 6 is a plan view showing the wrist blood pressure monitor shown in FIG. 1 worn on the wrist; FIG.
 FIGS. 7 (a) and 7 (b) are cross-sectional views showing the pressing process of the wrist;
 FIGS. 8 and 9 are perspective views illustrating hand motions for operation of the wrist blood pressure monitor;
 10 is a graph showing changes in the internal air pressure of the pressure vessel during blood pressure measurement;
 11 is a side view schematically showing another embodiment (second embodiment) of the wrist-pusher for measuring blood pressure according to the present invention;
 FIG. 12 is a sectional view schematically showing a wrist blood pressure monitor having a wrist pusher shown in FIG. 11 in a state in which another embodiment is worn on the wrist; FIG.
 13 is a cross-sectional view schematically showing still another embodiment (third embodiment) of a wrist-pusher for measuring blood pressure according to the present invention;
 FIG. 14 is a sectional view schematically showing a wrist-pusher for measuring blood pressure according to a fourth embodiment of the present invention; FIG.
 15 is a cross-sectional view schematically showing still another embodiment of a wrist blood pressure monitor having still another additional embodiment (fifth embodiment) of a wrist-pushing device for measuring blood pressure; and
 16 is a block diagram illustrating the overall configuration of a wrist blood pressure monitor according to the present invention.
이하, 본 발명의 실시 예들이 첨부 도면들을 참조하여 상세히 설명된다. 본 발명의 실시 예들을 설명함에 있어서 동일 구성에 대해서는 동일 도면 부호가 사용된다.Hereinafter, embodiments of the present invention will be described in detail with reference to the accompanying drawings. In describing embodiments of the present invention, the same reference numerals are used for the same configurations.
먼저, 도 1 내지 도 4를 참조하여 본 발명에 따른 혈압 측정용 손목 압박기 및 이를 갖는 손목 혈압계의 일 실시 예가 설명된다. 본 실시 예를 설명하기 위한 도면들 중, 도 1은 본 발명에 따른 혈압 측정용 손목 압박기의 일 실시 예(제1실시 예)를 갖는 손목 혈압계의 일 실시 예를 개략적으로 나타낸 단면도이고, 도 2는 도 1에 도시된 손목 압박기의 압박 프레임과 압박 커버를 분해하여 나타낸 분해 사시도이며, 도 3은 도 2에 도시된 압박 프레임과 압박 커버이 결합된 상태를 나타낸 사시도이고, 도 4는 도 2에 도시된 압박 프레임을 뒤집어서 나타낸 사시도이며, 도 5는 도 3의 단면도이다.First, an embodiment of a wrist-squeezing device for measuring blood pressure and a wrist blood pressure monitor having the same according to the present invention will be described with reference to FIGS. 1 to 4. FIG. BRIEF DESCRIPTION OF THE DRAWINGS Fig. 1 is a cross-sectional view schematically showing one embodiment of a wrist blood pressure monitor having an embodiment (a first embodiment) of a wrist-pushing device for blood pressure measurement according to the present invention, 2 is an exploded perspective view of the compression frame and the compression cover of the wrist pusher shown in Fig. 1, and Fig. 3 is a perspective view showing a state in which the compression frame and the compression cover shown in Fig. Fig. 5 is a cross-sectional view of Fig. 3. Fig.
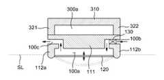
도 1 및 도 5를 참조하면, 본 실시 예에 따른 혈압 측정용 손목 압박기는 손목 가압을 위한 가압용 에어박스(100; Air Box)를 포함하며, 상기 가압용 에어박스(100)는 압박 프레임(110)과 압박막(120)을 포함하여 구성된다.1 and 5, the wrist pusher for blood pressure measurement according to the present embodiment includes an
상기 손목 압박기는 손목 스트랩을 사용하지 않고 혈압 측정시에만 사용자의 수작업에 의해 손목에 배치되고 사용자의 손으로 제위치에 그대로 유지되는 형태로 사용될 수도 있고, 도 1에 도시된 바와 같이 손목 스트랩(10)에 구비되어서 상기 손목 스트랩(10)에 의해 손목에 피착(결속)되는 형태로 사용될 수도 있다.The wrist pusher may be disposed in the wrist by manual operation of the user only at the time of blood pressure measurement without using a wrist strap, and may be used in a state where the wrist strap is held in place by the user's hand. And may be used in the form of being attached (bound) to the wrist by the
보다 구체적으로 설명하면, 상기 압박 프레임(110)은 상기 손목 압박기의 골격을 이루는 구성으로서, 상기 압박 프레임(110)의 저면에는 바닥홈(100a) 즉 손목 압박용 에어홈이 형성되고, 상기 에어홈(100a)에는 손목 압박을 위한 압박막(120)이 구비된다.More specifically, the
그리고 본 실시 예에서 상기 압박 프레임(110)에는 에어(Air)를 공급하기 위한 급기구(100b)와 에어를 배출하기 위한 배기구(100c)가 형성된다. 상기 급기구(100b)는 상기 압박막(120)의 내부 즉 상기 에어홈(100a)의 내부로 공기를 공급하기 위한 급기통로이며, 상기 배기구(100c)는 상기 에어홈에서 상기 압박 프레임(110)의 외부로 공기를 배출하기 위한 배기통로이다.In this embodiment, the
상기 압박막(120) 즉 가압용 에어백은 손목 표면을 가압하도록 상기 에어홈(100a)에 팽창 가능하게 구비되며, 상기 압박 프레임(110)에 의해 커버(Cover)된다. 상기 압박막(120)의 내부에는 손목 가압용 유체 예를 들면 공기의 충진 공간이 형성되며, 본 실시 예에서는 상기 압박막(120)에 의해 상기 압박 프레임의 에어홈(100a)이 밀폐된다. 따라서, 상기 압박막(120)의 내부에 공기가 충진되면, 상기 압박막(120)이 상기 압박 프레임(110)의 하방으로 팽창되어서 손목 표면을 가압한다.The
그리고, 상기 압박 프레임(110)이 외압 즉 상측에서 누르는 힘을 받을 때 상기 에어홈(100a)의 형상을 일정하게 유지될 수 있도록, 본 실시 예에서의 압박 프레임은 경질(Hard Material) 즉 단단한 재질로서 외압에 대해 일정 형상을 유지한다. 보다 구체적으로, 상기 압박 프레임(110)는 경질의 플라스틱이나 경질 고무나 금속재질 또는 이들의 조합으로 형성되는 하드 쉘(Hard Shell)이 되며, 상기 압박막은 팽창 가능한 고무 재질 등 다양한 재질로 만들어 질 수 있다.In order that the shape of the
상기 급기구(100b)는 공기의 일방향 유동을 위한 체크밸브(130, 이하 '제1체크밸브'라 칭함)에 연결된다. 본 실시 예에서 상기 제1체크밸브(130)는 상기 급기구(100b)의 내부에 구비되나, 상기 제1체크밸브(130)의 위치에 이러한 예에 한정되는 것은 아니며 상기 급기구(100b)를 통한 공기 배출을 방지할 수 있는 위치라면 상기 급기구에 직접 또는 다른 구성을 매개로 간접적으로 연결될 수도 있다.The
도 3 내지 도 5를 참조하면, 상기 압박 프레임(110)은 프레임 몸체(111)와 지지 프레임(112)을 포함하여 구성된다. 상기 프레임 몸체(111)는 상기 에어홈(100a)의 천장을 이루는 구성으로서 상기 압박막(120)의 상측을 덮는다. 그리고 상기 지지 프레임(112)은 상기 프레임 몸체(111)의 하측에 일체로 구비되어 상기 프레임 몸체(111)를 지지한다.3 to 5, the
보다 구체적으로 설명하면, 상기 지지 프레임(112)은, 상기 에어홈(100a)의 일측벽을 이루는 제1지지벽(112a)과, 상기 에어홈의 타측벽을 이루는 제2지지벽(112b)을 포함하여 구성된다. 상기 제1지지벽(112a)과 제2지지벽(112b)은 상호 대향되도록 일정 거리 이격된 위치에 형성되며, 상기 프레임 몸체(111)의 저면에서 하향 돌출된다. 본 실시 예에서 상기 제1지지벽(112a)의 하단과 제2지지벽(112b)의 하단은 동일 높이에 위치하는 구조이나, 상기 제1지지벽(112a)의 하단과 제2지지벽(112b)의 하단 중 어느 하나가 다른 하나보다 더 낮게 구비될 수도 있다. 예를 들면, 본 실시 예와 같이 상기 제1지지벽(112a)과 제2지지벽(112b)의 돌출 높이가 같을 수도 있고 다를 수도 있으며, 보다 구체적인 예로 상기 제1지지벽이 제2지지벽보다 더 아래로 돌출될 수 있다. 상기 지지 프레임(112)에 의해 손목 표면에서 상기 손목 압박기의 위치가 안정적으로 유지될 수 있다.More specifically, the
상기 제1지지벽(112a)은 상기 프레임 몸체(111)의 저면 가장자리 중 일측 가장자리(좌측 가장자리)를 따라 구비되고, 상기 제2지지벽(112b)은 상기 제1지지벽(112a)에 대향되도록 상기 프레임 몸체(111)의 저면 가장자리 중 타측 가장자리(우측 가장자리)를 따라 구비된다.The first supporting
본 실시 예에서 상기 에어홈(100a)은 좌우 양측이 상기 제1지지벽(112a)과 제2지지벽(112b)에 의해 막히고 전후방 양측은 개방된 구조로서, 예를 들면 채널 단면(Channel Section) 보다 구체적으로는''형의 단면 형상이 되며, 본 실시 예에서 상기 급기구(100b)와 상기 배기구(100c)는 상기 프레임 몸체(111)에 형성되고, 상기 압박 프레임(110)은 좌우 대칭형상이나 이에 한정되는 것은 아니다.In the present embodiment, the
그리고, 상기 손목 압박기는, 본 실시 예와 같이 상기 압박 프레임(110)을 손목의 소정 부위 즉 요골동맥이 지나는 부위에 정확하게 배치시키기 위해, 상기 압박 프레임(110)의 일측에 구비되는 손목정렬 기준부(200)를 더 포함하여 구성될 수도 있다.The wrist-
상기 손목정렬 기준부(200)는 기설정된 형상으로 절곡되거나, 상기 손목정렬 기준부에 이웃하는 인접 부위 예를 들면 상기 압박 프레임(110)에 비해 휨 강성이 약한 연성 즉 가요성을 가질 수 있다. 그리고 상기 손목정렬 기준부(200)는 탄성 변형이 가능하게 구성될 수도 있다.The wrist
본 실시 예에서, 상기 손목정렬 기준부(200)는 인접 부위, 보다 구체적으로는 상기 압박 프레임(110)에 비해 휨 강성이 작아지는 가요성 구조로서, 이에 따라 손목 압박기에 굽힘력을 가하면 상기 손목정렬 기준부(200)에서 집중적으로 굽힘 변형이 발생한다.In the present embodiment, the wrist
다시 말해서, 상기 손목 압박기가 굽힘력을 받으면 상기 손목정렬 기준부(200)를 기준으로 크게 휘어지며, 사용자는 변형(휨)이 크게 발생하는 부분을 손목정렬 기준부(200)라고 인식할 수 있다.In other words, when the wrist pusher receives the bending force, the wrist pusher is largely bent with respect to the wrist
상기 손목정렬 기준부(200)는 재질 변경 또는 구조 변경을 통해 상기 압박 프레임(110)에 비해 높은 연성을 가질 수 있다. 예를 들면, 상기 손목정렬 기준부(200)는 연질 플라스틱이나 연고무 재질의 시트로 이루어지거나 휨 가능한 얇은 두께의 판상 구조가 될 수도 있다.The wrist
상기 손목정렬 기준부(200)가 손목 표면 중 요골(Radius)의 돌출 부위에 배치되면, 상기 압박막(120)이 손목 표면 중 요골동맥(A)이 지나는 부위에 배치될 수 있다. 다시 말해서, 상기 손목정렬 기준부(200)는 상기 압박막(120) 즉 에어백(커프 백이라 칭할 수도 있음)을 요골동맥이 지나는 부위에 배치하는 기준점으로 작용한다.When the wrist
요골은 손바닥을 앞으로 향한 자세에서 아래팔에 있는 2개의 손목뼈 중 바깥쪽의 뼈로서, 손바닥을 앞으로 향한 자세에서 요골의 빠깥쪽 모서리(P; 도 7 참조)가 외측으로 돌출된 해부학적 구조를 가지며, 사용자는 자신의 손목 표면에서 요골 모서리를 쉽게 식별할 수 있다.The radial artery is an outward bone of the two wrist bones in the lower arm in the posture with the palm facing forward, and an anatomical structure in which the outer edge of the radial (P; see Fig. 7) And the user can easily identify the radial corners on his or her wrist surface.
본 실시 예에서는, 상기 손목정렬 기준부(200)의 내부에 배기 유로(210)가 형성되며, 상기 배기 유로(210)는 상기 압박 프레임의 배기구(100c)와 연결된다. 그리고 상기 배기 유로(210)는 상기 압박막(120)의 내부압을 감지하는 압력 센서(도시되지 않음)와 연결될 수 있으며, 상기 배기 유로(210)에는 상기 압박막(120)의 점진적 감압을 위한 배기 밸브가 구비될 수 있다. 상기 배기 밸브는 상기 압박막(120)의 내부 공기를 서서히 공기를 배출해서 상기 압박막(120)의 점진적 감압을 구현한다. 상기 배기 밸브의 예로는 시간에 따른 공기 배출이 일정하게 이루어지는 리어니 밸브(Linear Valve)가 적용될 수 있다.In the present embodiment, an
물론, 상기 압력 센서는 상기 압박 프레임(110)에 구비될 수도 있다. 예를 들면 상기 에어홈(100a)의 내부 즉 상기 압박막(120)의 내부에 압력 센서가 구비되고, 상기 압박 프레임의 배기구(100c) 또는 상기 손목정렬 기준부(200)의 배기 유로(210)에 상술한 배기 밸브가 구비될 수도 있다.Of course, the pressure sensor may be provided in the
그리고, 상기 압력 센서에서 감지된 압력값 즉 압력 신호는 혈압 산출을 위한 회로기판으로 전달된다. 상기 압력 센서로는 공기압 측정이 가능한 각종의 센서가 적용될 수 있다.The pressure value sensed by the pressure sensor, that is, the pressure signal, is transmitted to the circuit board for blood pressure calculation. As the pressure sensor, various sensors capable of measuring air pressure can be applied.
상기 손목정렬 기준부(200)는 상기 가압용 에어박스(100)에 기계적 및/또는 화학적 결합방식으로 고정될 수도 있다. 예를 들면, 상기 손목정렬 기준부(200)는 접착제에 의해 상기 가압용 에어박스(100)의 측면에 고정될 수도 있고 나사 등의 체결수단에 의해 고정될 수도 있다. 물론, 상기 손목정렬 기준부(200)가 다른 구성을 매개로 상기 에어박스(100)에 간접적으로 고정될 수도 있다.The wrist
그리고, 상기 손목 압박기는, 본 실시 예와 같이 상기 압박 프레임(110)의 가압을 위해 상기 압박 프레임(110)의 상측에 구비되는 압박 커버(300)를 더 포함하여 구성될 수도 있다. 상기 압박 커버(300)는 상부에서 누르는 힘 즉 손목 압박력을 상기 압박 프레임(110)의 양측, 예를 들면 압박 프레임의 좌측과 우측으로 분산시켜서 전달한다.The wrist pusher may further include a
본 실시 예에서 상기 압박 커버(300)는, 상기 압박 프레임(110)의 상측에 이격되게 배치되는 커버 본체(310)와, 상기 커버 본체(310)의 하측에 일체로 구비되는 한쌍의 커버 지지대(320)를 포함하여 구성된다.The
사용자가 상기 압박 커버(300)의 상측면을 가압하면, 상기 커버 지지대(320)는 상기 커버 본체(310)로부터 압박력을 전달받아서 상기 압박 프레임(110)의 상측면 특히 좌우 가장자리를 누른다.When the user presses the upper surface of the
보다 구체적으로 설명하면, 상기 커버 지지대(320)는, 상기 커버 본체(310) 특히 상기 커버 본체(310)의 저면에서 하방으로 돌출되는 제1지지대(321)와 제2지지대(322)를 포함하여 구성된다.More specifically, the
상기 제1지지대(321)는 상기 압박 프레임(110)의 상측 가장자리 중 일측(본 실시 예에서는 좌측 가장자리)을 누르고, 상기 제2지지대(322)는 상기 압박 프레임(110)의 상측 가장자리 중 타측 즉 우측 가장자리를 누른다. 그리고, 상기 제1지지대(321)는 상기 제2지지대(322)에 대향되게 구비된다. 보다 구체적으로, 상기 제1지지대(321)는 상기 커버 본체(310)의 좌측 가장자리에서 하향 돌출되고, 상기 제2지지대(322)는 상기 커버 본체(310)의 우측 가장자리에서 하향 돌출된다.The
본 실시 예에서 상기 압박 커버(300)는 좌우 대칭형상이고, 상기 커버 본체(310)는 사각 형상이며, 상기 압박 커버(300)는 좌우 양측이 상기 제1지지대(321)와 제2지지대(322)에 의해 막히고 전후방 양측과 바닥은 개방된 구조로서, 예를 들면 채널 단면(Channel Section) 보다 구체적으로는''형의 단면 형상이나, 상기 커버 본체(310)의 형상이 이에 한정되는 것은 아니며 원형상이나 사각이 아닌 다른 다각형상도 가능하다.The
상기 제1지지벽(112a)은 상기 제1지지대(321)의 직하방에 구비되고, 상기 제2지지벽(112b)은 상기 제2지지대(322)의 직하방에 구비된다. 바꾸어 말하면, 상기 제1지지대(321)는 상기 제1지지벽(112a)의 직상방에서 상기 압박 프레임(110)의 상측 가장자리 중 일측(좌측 가장자리)을 누르고, 상기 제2지지대(322)는 상기 제2지지벽(112b)의 직상방에서 상기 압박 프레임의 상측 가장자리 중 타측(우측 가장자리)을 누른다.The
본 실시 예에서 상기 압박 커버(300)는 단단한 구조로서 예를 들면 경질 플라스틱이나 금속 등으로 제조될 수 있으며, 상기 가압용 에어박스(100) 특히 상기 압박 프레임(110)에 기계적 및/또는 화학적 결합방식으로 고정될 수 있다. 예를 들면, 상기 압박 커버(300)는 접착제에 의해 상기 압박 프레임(110)의 상측면에 고정될 수도 있고 나사 등의 체결수단에 의해 고정될 수도 있다. 물론, 상기 압박 커버(300)가 다른 구성을 매개로 상기 에어박스(100)에 간접적으로 고정될 수도 있다.In this embodiment, the
한편, 상기 압박 프레임의 급기구(100b)에는 상기 압박막(120)의 내부로 급기를 위한 에어 펌프(400)가 연결된다. 본 실시 예에서는, 상기 압박 프레임(110)의 일측에 상술한 손목정렬 기준부(200)가 구비되고, 상기 에어 펌프(400)는 상기 압박 프레임(110)의 타측에 구비된다.Meanwhile, an
상기 에어 펌프(400)는 상기 압박막의 내부에 공기를 공급하는 펌핑 백(Pumping Bag; 410)을 포함하여 구성된다. 본 실시 예에서 상기 펌핑 백(410)은 상기 급기구(100b)를 통해 상기 압박막(120)의 내부에 공기를 공급하도록 수축 가능하며, 자체 복원력 예를 들면 탄성 복원력에 의해 팽창하면서 외부 공기를 흡입한다. 그리고 상기 펌핑 백의 흡입구(420)에는 공기의 일방향 유동을 위한 체크밸브(430, 이하 '제2체크밸브'라 칭함)가 구비된다.The
보다 구체적으로 설명하면, 상기 압박막(120) 즉 에어백은 펌핑 백(410)에 의해 충진되며, 사용자가 손바닥이나 손가락과 같은 신체의 일부를 사용하거나 가압 도구를 사용해서 상기 펌핑 백(410)을 누르면, 상기 펌핑 백(410)의 내부 공기가 상기 압박막(120)의 내부로 공급되고, 도 5에 도시된 바와 같이 상기 압박막(120)이 팽창된다.More specifically, the
본 실시 예에서, 상기 펌핑 백(410)은 외압(예를 들면 사용자가 누르는 힘)에 의해 수축되면서 상기 압박막(120)의 내부에 공기를 충진하고, 자체 탄성에 의해 팽창해서 외부 공기를 흡입한다. 다시 말해서, 상기 펌핑 백(410)을 누르는 외압이 제거되면, 상기 펌핑 백(410)이 자체 탄성에 의해 원래의 형상으로 부풀어 오르면서 외부 공기를 흡입한다.In this embodiment, the pumping
따라서, 상기 펌핑 백(410)은 원래의 형상으로 자연 복원되면서 외부 공기를 흡입하는 구성 즉 외력의 개입없이 자연적 형상 복원이 가능한 구성이 된다. 이를 위하여, 상기 펌핑 백(410)은 고무 재질 등의 탄성 재질로 이루어질 수 있으며, 외압이 제거되면 탄성에 의해 원래의 형상으로 복원되는 구조나 재질이면 충분하다. 상기 펌핑 백(410)의 내부에 복원용 스프링이 내장될 수도 있다.Accordingly, the pumping
상기 펌핑 백(410)에서 상기 에어홈(100a)으로의 공기 유동은 일방향으로만 이루어진다. 다시 말해서, 상기 제1체크밸브(130)는 펌핑 백(410)에서 유입되는 유체(공기)를 에어홈(100a)으로 통과시키고 반대방향의 유동 즉 공기의 역류는 차단하는 원웨이(One-way) 밸브이다.The air flow from the pumping
그리고, 상기 제2체크밸브(430) 역시 원웨이 밸브로서, 상기 에어 펌프(400)의 외부에서 상기 펌핑 백(410)으로 유입된 공기 즉 외기가 흡입구(420)를 통해 외부로 배출되는 것을 차단한다.The
본 실시 예에서 상기 에어 펌프(400)는 상기 가압용 에어박스(100) 특히 상기 압박 프레임(110)에 기계적 및/또는 화학적 결합방식으로 고정될 수 있다. 예를 들면, 상기 에어 펌프(400)는 접착제에 의해 상기 압박 프레임(110)의 측면에 고정될 수도 있고 나사 등의 체결수단에 의해 고정될 수도 있다. 물론, 상기 에어 펌프(400)가 다른 구성을 매개로 상기 에어박스(100)에 간접적으로 고정될 수도 있다. 본 실시 예에서는, 도 1에 도시된 바와 같이, 상기 압박 프레임(110)의 일측면에 상기 손목정렬 기준부(200)가 고정되고, 상기 압박 프레임(110)의 타측면에 상기 에어 펌프(400)가 고정된다. 즉, 상기 손목정렬 기준부(200)와 상기 에어 펌프(400) 사이에 상기 압박 프레임(110)이 구비된다.In this embodiment, the
한편, 상기 압박 프레임(110)의 정위치/고정이 용이하도록, 상기 제1지지벽(112a)의 하단과 제2지지벽(112b)의 하단 중 적어도 하나는 상기 압박 프레임(110)에 이웃하여 인접하는 다른 구성 예를 들면 상기 손목정렬 기준부(200)나 상기 에어 펌프(400)의 표면(손목 표면을 향하는 안쪽면, 밑면)보다 더 아래로 돌출된다. 따라서, 도 6에 도시된 바와 같이 상기 제1지지벽(112a)의 하단과 제2지지벽(112b)의 하단이 손목의 요골동맥(A)이 지나는 부분의 좌우측에 용이하게 위치될 수 있다.At least one of the lower end of the first supporting
상술한 혈압 측정용 손목 압박기는 손목 스트랩을 사용하지 않고 혈압측정이 필요할 때마다 사용자가 수작업으로 손목에 정위치/고정해서 조작할 수도 있고, 손목 착용방식으로 상시 휴대가 가능하도록 손목 스트랩(10)에 구비될 수 있으며, 상기 손목 압박기가 손목 스트랩(10)에 탑재되면 손목에 착용 가능한 손목 혈압계가 구현될 수 있다.The wrist pusher for blood pressure measurement described above can be manually operated by the user to position / fix the wrist strap manually when the blood pressure measurement is needed without using the wrist strap, or can be operated by the wrist strap, And when the
상기 손목 압박기가 상기 손목 스트랩(10)에 탑재되는 경우, 상기 제1지지벽(112a)의 하단과 제2지지벽(112b)의 하단 중 적어도 하나는 상기 손목 스트랩(10)의 내측 표면(밑면)보다 더 아래로 돌출되며, 이에 따라 상기 압박 프레임(110)의 정위치(혈압측정 위치에 정렬하는 것)가 보다 용이하게 수행될 수 있다. 예를 들면, 또는 손목 스트랩이 없는 경우에 압박 프레임(110)의 측면에 구비되는 다른 구성(손목정렬 기준부, 에어 펌프)의 밑면 또는 손목 스트랩이 있는 경우 상기 손목 스트랩(10)의 밑면은 도 5에서 상기 압박 프레임의 좌우측에 표시된 점선(SL)상에 위치될 수 있다.At least one of the lower end of the
그리고, 본 실시 예에서, 상기 손목 스트랩(10)은 상기 손목 압박기 특히 상기 압박 프레임(110)을 기준으로 좌우 스트랩으로 구획되며 버클이나 벨크로 등의 스트랩 연결부에 의해 연결되는 구조가 되거나, 별도의 연결장치를 사용하지 않는 폐루프 구조가 될 수도 있다. 예를 들면, 상기 손목 스트랩(10)이 탄력적으로 벌어질 수 있는 일체형 밴드구조, 즉 외력에 의해 넓게 확장될 수 있는 탄성 손목 밴드로 구성될 수 있다.In the present embodiment, the
그리고 상기 손목 스트랩(10)에는 사용자(피검자) 즉 착용자의 혈압을 표시(출력)하는 디스플레이 유닛(Display Unit; 도시되지 않음)이 구비될 수 있다. 물론, 상기 디스플레이 유닛은 상기 손목 압박기의 상측 예를 들면 상기 압박 커버(300)의 상측에 구비될 수도 있고, 압박 커버가 없는 경우에는 상기 압박 프레임(110)의 상측에 구비될 수도 있다. 그리고 상기 디스플레이 유닛에는 상술한 압력 센서와 전기적으로 연결되어서 혈압을 산출하고 더 나아가 혈압 표시창에 혈압값을 출력하는 회로기판이 구비될 수 있다.The
상기 디스플레이 유닛은 혈압 표시 기능을 가지며, 더 나아가 시계 기능을 가질 수도 있다. 예를 들어, 상기 혈압 표시창(도시되지 않음)은 시계 모드와 혈압 출력 모드로 전환되거나, 상기 디스플레이 유닛에 혈압 표시부와 함께 시계 예를 들면 전자시계가 별도로 적용될 수도 있다. 또한, 상기 디스플레이 유닛에는 알람(Alarm) 기능 예를 들면 혈압체크 시간을 알려주는 알람 기능 및/또는 혈압체크가 정상적으로 완료되었음을 알려주는 알람 기능이 구비될 수도 있다. 이에 따라, 사용자는 혈압 체크가 필요한 시기에 정확히 혈압을 측정/기록할 수 있다.The display unit has a blood pressure display function and may further have a clock function. For example, the blood pressure display window (not shown) may be switched to a clock mode and a blood pressure output mode, or a clock, for example, an electronic clock may be separately applied to the display unit together with the blood pressure display unit. In addition, the display unit may be provided with an alarm function, for example, an alarm function for notifying the blood pressure check time and / or an alarm function for notifying that the blood pressure check is normally completed. Accordingly, the user can accurately measure / record the blood pressure at a time when the blood pressure check is required.
이하에서는 도 7 내지 도 9를 참조하여 본 발명의 일 실시 예에 의한 혈압 측정방식이 설명된다.Hereinafter, a blood pressure measurement method according to an embodiment of the present invention will be described with reference to FIGS.
도 7 내지 도 9를 참조하면, 손목 압박기 보다 구체적으로는 상기 압박 프레임(110)이 사용자의 어느 한쪽 손목 예를 들면 왼 손목의 요골 동맥(A)상에 위치된 상태(도 7의 (a) 참조)에서 사용자가 반대 쪽 손(오른손)의 손바닥이나 손가락을 이용해서 상술한 펌핑 백(410)을 누르면, 상기 펌핑 백(410)에서 상기 압박막(120)의 내부로 공기가 공급되면서 상기 압박막(120)이 팽창된다. 그리고 상기 압박 커버(300)가 하방으로 가압되면 상기 압박막(120)에 의해 요골 동맥(A)이 지나는 부위의 손목 표면이 압박된다. 상기 손목 압박기의 정위치 정렬을 위해 상술한 손목정렬 기준부(200)가 사용될 수 있으며, 상기 손목정렬 기준부(200)가 요골의 돌출부위(P)에 위치되면 요골동맥(A)이 지나는 부위에 상기 압박 프레임(110)이 배치된다.7 to 9, a state in which the
참고로, 도 8은 손바닥으로 상기 펌핑 백(410)을 누르는 동작이며, 도 9는 압박막(120)의 공기 충진 직후에 연속동작으로 압박 프레임(110) 보다 구체적으로는 상기 압박 커버(300)를 누르는 동작을 나타낸 도면이다.9 is a view showing a state in which the
그리고 상기 손목 압박기에 의한 손목 가압이 소정시간 유지되는 동안 상술한 배기 밸브에 의해 상기 압박막(120)의 점진적 감압이 진행되며, 이러한 과정을 통해 혈압이 측정된다.While the wrist pushing by the wrist pusher is maintained for a predetermined time, the pressure of the
도 10은 본 실시 예에 따른 손목 혈압계의 조작 과정에서 나타나는 에어백의 압력 변화 즉 상기 압박막의 내부압 변화를 나타낸 그래프로서, 도 10의 A구간은 펌핑 백(410)를 눌러서 압박막(120)을 충진하기 시작할 때 에어백의 압력 증가 구간이고, 도 10의 B구간은 압박막(120) 충진되면서 압박막(120)이 손목 표면을 가압할 때의 압력 증가 구간이며, 도 10의 C구간은 압박막(120)의 감압 과정 즉 배기 밸브의 공기 배출에 의해 압박막(120)이 감압되는 구간이다.10 is a graph showing a change in pressure of the airbag, that is, a change in the internal pressure of the compression membrane, which occurs in the operation of the wrist blood pressure monitor according to the present embodiment. In section A of FIG. 10, the pumping
상술한 바와 같이 본 발명의 실시 예는 에어백의 충진과 혈압의 체크가 쉽고, 편안한 자세에서 쉽게 혈압의 측정이 가능하므로, 남녀노소를 불구하고 쉽게 사용할 수 있으며, 펌핑 챔버가 별도의 구동원없이 자동 충진될 수 있으므로 구조적으로 단순화될 수 있고 제조비용 더 나아가 제품의 가격이 절감될 수 있다.As described above, according to the embodiment of the present invention, it is easy to check the filling of the airbag and check the blood pressure, and the blood pressure can be easily measured in a comfortable posture. Therefore, it can be used easily regardless of age and sex, So that it can be structurally simplified and the manufacturing cost can be further reduced and the cost of the product can be reduced.
다음으로 도 11 내지 도 15를 참조하여 본 발명에 따른 혈압 측정용 손목 압박기의 다른 실시 예들 및 이를 갖는 손목 혈압계의 다른 실시 예들이 설명된다.Next, another embodiment of a wrist squeezing device for measuring blood pressure according to the present invention and a wrist blood pressure meter having the same will be described with reference to Figs. 11 to 15. Fig.
먼저, 도 11 및 도 12를 참조하면, 상기 가압용 에어박스 특히 상기 압박 프레임(110)의 일측에는 손목정렬 기준부(200)가 구비되며, 본 실시 예에서의 손목정렬 기준부(200)는 기설정된 형상으로 절곡된 구조이다.11 and 12, a wrist
다시 말해서, 상기 손목정렬 기준부(200)가 그 옆의 인접부위, 예를 들면 압박 프레임 더 나아가 손목 스트랩의 연접부분(손목정렬 기준부의 옆에 이어져서 압박 프레임의 반대측으로 연장되는 부분)과 구별 즉 식별될 수 있도록, 소정 형상으로 절곡 즉 구부러진 형상을 갖는다. 그리고 상기 손목정렬 기준부(200)는 사용자별 손목 구조의 차이에 대응할 수 있도록 탄성 변형이 가능하게 구성될 수도 있다.In other words, when the wrist
상기 손목 압박기가 손목 스트랩(10)에 탑재되면, 상기 손목 혈압계는 상기 손목정렬 기준부(200)에서 크게 휜 형상이 되며, 사용자는 소정 형상으로 휜 부분 즉 상기 손목정렬 기준부(200)를 요골의 돌출부분 위에 배치함으로써 상기 압박막(120)을 요골 동맥이 지나는 부위에 쉽게 그리고 정확하게 위치시킬 수 있다.When the wrist pusher is mounted on the
상술한 바와 같이, 본 실시 예에서는 상기 손목정렬 기준부(200)가 소정 형상으로 절곡됨으로써 시각적 즉 외재적인 위치 식별 인자를 갖는 구조이며, 기타 다른 구성요소에는 전술한 실시 예들에서 설명된 내용이 취사선택되어 동일하게 적용될 수 있다. 따라서 도 13에 도시된 바와 같이 압박 프레임의 옆에는 에어 펌프가 구비될 수 있다. 그리고 좌우 스트랩으로 나누어진 손목 스트랩을 연결하는 스트랩 연결부(11)의 구체적인 일 예로서 벨크로 등의 수단이 적용될 수 있다.As described above, in the present embodiment, the wrist
도시되지는 않았으나, 상기 손목정렬 기준부(200)가 식별 마크(Mark), 예를 들면 식별 무늬의 형태로 구현될 수도 있으며, 이러한 식별 마크 역시 손목정렬 기준부를 구현하는 외재적 위치 식별 인자의 일 예가 될 수 있다.Although not shown, the
상기 손목정렬 기준부(200)로 상술한 예들 중 어느 하나가 단독 적용되거나 복수의 예가 동시 적용될 수 있음은 물론이다.It goes without saying that any of the above-described examples may be applied to the wrist
그리고, 도 14에 도시된 바와 같이, 상기 손목 압박기에는 혈압값을 표시하는 디스플레이 유닛(500)이 구비될 수도 있다. 예를 들면, 상기 손목정렬 기준부(200)의 일측에 상기 디스플레이 유닛(500)이 직접 또는 간접적으로 결합될 수 있다. 도면 부호 140은 압력 센서이고, 도면 부호 12a는 배기 밸브이다.As shown in FIG. 14, the wrist pusher may be provided with a
물론, 상기 디스플레이 유닛(500)은 도 15에 도시된 바와 같이 상기 손목 압박기에서 일정 거리 이격된 위치에 구비될 수도 있다. 보다 구체적으로 설명하면, 상기 디스플레이 유닛(500)은 상기 손목 압박기 예를 들면 상기 손목정렬 기준부나 상기 압박 프레임(110)에서 일정 거리 이격되게 상기 손목 스트랩(10)에 탑재될 수 있으며, 상기 손목 스트랩(10)을 관통해서 상기 압박 프레임의 배기구(100c)와 연통하는 배기 유로(12)가 형성될 수 있으며, 상기 손목 스트랩의 배기 유로(12)에는 압력 센서(140)가 연결된다.Of course, the
그리고 상기 배기 유로(12)에는 압박막의 점진적 감압을 위한 배기 밸브(12a)가 구비되고, 상기 압력 센서는 상기 디스플레이 유닛(500)의 일측에 구비될 수 있다. 도 15에 도시된 손목 혈압계의 실시 예에는 손목정렬 기준부가 적용되어 있지 않으며, 도 15에 도시된 순서(①→②)와 같이 펌핑 백(410)을 먼저 누르고 그 직후에 압박 커버(300)를 누를 수도 있고, 펌핑 백(410)과 압박 커버(300)를 동시에 누를 수도 있으며, 압박 커버(300)를 먼저 누를 수도 있다.The
한편, 도 16을 참조하면, 본 실시예의 손목 혈압계는, 상술한 디스플레이 유닛 이외에 혈압 데이터(사용자의 혈압)를 소정의 단말기 예를 들면 스마트폰 기타의 단말기나 관리 모듈로 전송하기 위한 블루투스 등의 무선통신유닛을 더 구비할 수 있다.16, the wrist blood pressure monitor of the present embodiment includes wireless communication means such as Bluetooth for transmitting blood pressure data (blood pressure of a user) to a terminal or a management module of a predetermined terminal such as a smart phone in addition to the above- And may further comprise a communication unit.
상기 무선통신유닛은 혈압 데이터 이외에, 특정 상황, 예를 들면 응급상황에서 응급 구조신호를 외부 통신기기로 전송하는 역할도 할 수 있도록 구성될 수도 있다. 따라서, 피검자(사용자)의 실시간 혈압 데이터가 스마트폰을 통해 주치의 혹은 전문의 등의 관리자에게 전송될 수 있고 피검자의 안정적인 건강관리에 활용될 수 있다.In addition to the blood pressure data, the wireless communication unit may be configured to transmit the emergency rescue signal to the external communication device in a specific situation, for example, in an emergency. Accordingly, real-time blood pressure data of the subject (user) can be transmitted to a manager such as a primary care physician or a specialist through a smart phone, and utilized for stable health management of the subject.
즉, 고혈압, 당뇨병, 간장 장애, 동맥 경화, 혈액순환의 말초신경 장애 등이 있는 사람들의 경우에는 보다 주의가 요구되는데, 본 실시 예의 혈압계는 데이터 송출 기능이 있으므로 이러한 환자들에게 있어 특히 효율적인 혈압의 관리가 이루어질 수 있다.In other words, more attention needs to be paid to people with hypertension, diabetes, hepatic disorders, arteriosclerosis, peripheral nerve disorders of blood circulation, etc. Since the blood pressure monitor of this embodiment has a data transmission function, Management can be done.
그리고 상기 손목 압박기 더 나아가 상기 손목 혈압계에는, 압력 센서의 신호를 바탕으로 피검자의 혈압을 산출하는 혈압산출유닛과, 혈압 데이터를 저장하는 데이터 저장유닛과, 사용자의 측정 이력을 관리하고 사용자 ID를 관리하는 사용자 등록유닛과, 데이터를 수집 및 분석하여 사용자의 상태가 위급한 경우에는 지정된 응급 구조신호를 전송할 수 있도록 제어하는 제어유닛 등이 구비될 수 있다.The wrist blood pressure gauge further includes a blood pressure calculation unit that calculates a blood pressure of the subject based on a signal from the pressure sensor, a data storage unit that stores blood pressure data, And a control unit for collecting and analyzing data and controlling the transmission of the designated emergency rescue signal when the user's condition is critical.
이상과 같이 본 발명에 따른 실시 예들을 살펴보았으며, 앞서 설명된 실시 예들 이외에도 본 발명이 그 취지나 범주에서 벗어남이 없이 다른 특정 형태로 구체화 될 수 있다는 사실은 해당 기술에 통상의 지식을 가진 이들에게는 자명한 것이다.It will be apparent to those skilled in the art that the present invention may be embodied in other specific forms without departing from the spirit or scope of the invention as defined in the appended claims. .
그러므로, 상술한 실시 예는 제한적인 것이 아니라 예시적인 것으로 여겨져야 하고, 이에 따라 본 발명은 상술한 설명에 한정되지 않고 첨부된 청구항의 범주 및 그 동등 범위 내에서 변경될 수도 있다.Therefore, the above-described embodiments are to be considered as illustrative rather than restrictive, and thus the present invention is not limited to the above description, but may be modified within the scope of the appended claims and equivalents thereof.
10: 손목 스트랩11: 스트랩 연결부
12a: 배기 밸브100: 가압용 에어박스
110: 압박 프레임120: 압박막
200: 손목정렬 기준부300: 압박 커버
310: 커버 몸체320: 커버 지지대
400: 에어 펌프410: 펌핑 백
420: 흡입구430: 제2체크밸브10: wrist strap 11: strap connection
 12a: exhaust valve 100: pressurized air box
 110: compression frame 120: compression film
 200: wrist alignment reference part 300: compression cover
 310: cover body 320: cover support
 400: air pump 410: pumping bag
 420: inlet port 430: second check valve
| Application Number | Priority Date | Filing Date | Title | 
|---|---|---|---|
| KR1020150114499AKR101750063B1 (en) | 2015-08-13 | 2015-08-13 | Wrist pressing unit for monitoring blood pressure and wrist wearable blood pressure monitor having the same | 
| Application Number | Priority Date | Filing Date | Title | 
|---|---|---|---|
| KR1020150114499AKR101750063B1 (en) | 2015-08-13 | 2015-08-13 | Wrist pressing unit for monitoring blood pressure and wrist wearable blood pressure monitor having the same | 
| Publication Number | Publication Date | 
|---|---|
| KR20170019950A KR20170019950A (en) | 2017-02-22 | 
| KR101750063B1true KR101750063B1 (en) | 2017-06-22 | 
| Application Number | Title | Priority Date | Filing Date | 
|---|---|---|---|
| KR1020150114499AActiveKR101750063B1 (en) | 2015-08-13 | 2015-08-13 | Wrist pressing unit for monitoring blood pressure and wrist wearable blood pressure monitor having the same | 
| Country | Link | 
|---|---|
| KR (1) | KR101750063B1 (en) | 
| Publication number | Priority date | Publication date | Assignee | Title | 
|---|---|---|---|---|
| CN112971751B (en)* | 2019-12-12 | 2025-02-21 | 华为技术有限公司 | Electronic devices for measuring blood pressure | 
| KR102386203B1 (en)* | 2020-06-03 | 2022-04-13 | (주)참케어 | Sensor module for blood pressure measurement and portable blood pressure measuring device using the same | 
| KR102577855B1 (en)* | 2021-01-28 | 2023-09-14 | 전남대학교산학협력단 | Apparatus comprising multiple array of pressure sensors and device comprising the same | 
| Publication number | Priority date | Publication date | Assignee | Title | 
|---|---|---|---|---|
| JP2006198280A (en) | 2005-01-24 | 2006-08-03 | Matsushita Electric Works Ltd | Sphygmomanometer | 
| Publication number | Priority date | Publication date | Assignee | Title | 
|---|---|---|---|---|
| JPH0611701A (en) | 1992-06-26 | 1994-01-21 | Nec Corp | Porous polymer film, its production, polymer composite film using that, and production of polymer composite film | 
| KR100430274B1 (en) | 2001-01-15 | 2004-05-04 | 엘지전자 주식회사 | Watchphone to measure blood pressure and method to use said watchphone | 
| KR101366078B1 (en) | 2007-11-05 | 2014-02-21 | 삼성전자주식회사 | Blood pressure measuring apparatus for wrist blood pressure | 
| Publication number | Priority date | Publication date | Assignee | Title | 
|---|---|---|---|---|
| JP2006198280A (en) | 2005-01-24 | 2006-08-03 | Matsushita Electric Works Ltd | Sphygmomanometer | 
| Publication number | Publication date | 
|---|---|
| KR20170019950A (en) | 2017-02-22 | 
| Publication | Publication Date | Title | 
|---|---|---|
| US20220031180A1 (en) | Wrist-worn blood pressure monitor | |
| KR101945960B1 (en) | Wrist wearable blood pressure monitor | |
| CN113520357B (en) | Blood pressure measuring device and method | |
| US9943263B2 (en) | Wrist watch style blood pressure monitor | |
| KR102017067B1 (en) | Wrist wearable blood pressure monitor | |
| CN1257699C (en) | Method and device for monitoring blood pressure | |
| US8597195B2 (en) | Method and apparatus for non-invasively measuring hemodynamic parameters using parametrics | |
| KR20160092250A (en) | Wrist wearable blood pressure monitor | |
| KR101667412B1 (en) | Wrist wearable blood pressure monitor | |
| KR101680197B1 (en) | Wrist wearable blood pressure monitor | |
| KR101854639B1 (en) | Wrist wearable blood pressure monitor | |
| JP2007275483A (en) | Cuff for blood pressure gauge | |
| KR101485700B1 (en) | Wrist-mount blood pressure monitor | |
| KR101750063B1 (en) | Wrist pressing unit for monitoring blood pressure and wrist wearable blood pressure monitor having the same | |
| KR20150092465A (en) | Wrist wearable blood pressure monitor | |
| KR101916309B1 (en) | Cuff for Sphygmomanometer | |
| KR101485717B1 (en) | Wrist-mount blood pressure monitor | |
| WO2017026552A1 (en) | Wrist blood pressure gauge | |
| KR20200054863A (en) | Wrist wearable blood pressure monitor | |
| KR20190073123A (en) | Portable blood pressure and diabetes meter | |
| UA140772U (en) | COMBINED PRESSURE GAUGE SENSOR | |
| JP3005317U (en) | Blood pressure measurement device | |
| HK1056304B (en) | Device for monitoring blood pressure | 
| Date | Code | Title | Description | 
|---|---|---|---|
| A201 | Request for examination | ||
| PA0109 | Patent application | Patent event code:PA01091R01D Comment text:Patent Application Patent event date:20150813 | |
| PA0201 | Request for examination | ||
| E902 | Notification of reason for refusal | ||
| PE0902 | Notice of grounds for rejection | Comment text:Notification of reason for refusal Patent event date:20160512 Patent event code:PE09021S01D | |
| PG1501 | Laying open of application | ||
| E701 | Decision to grant or registration of patent right | ||
| PE0701 | Decision of registration | Patent event code:PE07011S01D Comment text:Decision to Grant Registration Patent event date:20170329 | |
| GRNT | Written decision to grant | ||
| PR0701 | Registration of establishment | Comment text:Registration of Establishment Patent event date:20170616 Patent event code:PR07011E01D | |
| PR1002 | Payment of registration fee | Payment date:20170619 End annual number:3 Start annual number:1 | |
| PG1601 | Publication of registration | ||
| PR1001 | Payment of annual fee | Payment date:20210615 Start annual number:5 End annual number:5 | |
| PR1001 | Payment of annual fee | Payment date:20220613 Start annual number:6 End annual number:6 | |
| PR1001 | Payment of annual fee | Payment date:20230410 Start annual number:7 End annual number:7 | |
| PR1001 | Payment of annual fee | Payment date:20240614 Start annual number:8 End annual number:8 | |
| PR1001 | Payment of annual fee | Payment date:20250529 Start annual number:9 End annual number:9 |