





본 발명은 복수 단말에서 사용자에 의해 자필서명된 전자서명을 이용한 본인 확인 시스템 및 방법에 관한 것이다. 여기서 전자서명은 후술되는 바와 같이 본 명세서에서 자필서명이라 칭해질 수도 있다.
The present invention relates to a system and method for identifying a user using a digital signature that is signed by a user in a plurality of terminals. Here, the digital signature may be referred to herein as a handwritten signature, as described below.
지문 인식은 각 개인마다 다른 지문 정보를 추출하여 정보화시키는 인증 방식이고, 얼굴 인식은 얼굴의 대칭적 구도, 생김새, 머리카락, 눈의 색상, 얼굴 근육의 움직임 등을 분석하여 얼굴의 특징을 알아내는 인식 기술이며, 홍채 인식은 사람마다 고유한 특성을 가진 안구의 홍채 정보를 이용해 사람을 인식하는 기술이고, 정맥 인식은 사람마다 다른 손바닥, 손등, 손목 등의 혈관 패턴을 이용해 신분을 확인하는 인식 기법이다.Fingerprint recognition is an authentication method that extracts different fingerprint information for each person and informs them. Fingerprint recognition is a method of recognizing facial features by analyzing the symmetrical composition of the face, face, hair color, eye color, , And iris recognition is a technique of recognizing a person by using iris information of the eye having a characteristic unique to each person and vein recognition is a recognition technique of identifying the identity by using a blood vessel pattern such as palm, .
이처럼 지문, 얼굴, 홍채, 지문 등 신체 일부의 고유한 특성을 판별하여 본인 여부를 인증하는 기술을 생체 인식(biometrics) 기술이라 하며, 넓게는 목소리, 필체, 체형, 걸음걸이, 특정 행동까지도 생체 인식 기술의 대상에 해당된다.Biometrics is a technology that identifies the identity of a body part, such as fingerprint, face, iris, and fingerprint. This technology is called biometrics technology, and includes voices, handwriting, body shape, gait, It is the object of technology.
생체 인식 기술은 자동차, 통신, 보안, 의료에서부터 기업의 마케팅, 공공 분야에 이르기까지 광범위한 분야에서 활용되고 있으나, 금융 산업에서의 활용도는 상대적으로 낮은 수준이었다.Biometrics is used in a wide range of fields from automotive, telecommunications, security and medical care to corporate marketing and the public sector, but its utilization in the financial industry is relatively low.
최근 국내에서 공인인증서 및 Active-X와 관련된 여러 문제점이 제기되면서, 금융 상업을 중심으로 한 생체 인식 기술의 활용에 대한 관심이 고조되고 있는 상황이다.In recent years, various problems related to the public certificate and Active-X have been raised in the domestic market, and there is a growing interest in utilization of the biometrics technology centering on financial commerce.
하지만, 생체 인식 기술의 경우 복제가 가능하고 시스템 구성이 복잡하고 과다한 비용이 드는 문제점이 있다. 또한, 개인 정보의 유출, 범죄에의 활용 가능성, 인권 침해의 가능성과 같은 문제점들을 가지고 있고, 정보 유출 시에는 재설정이 불가능한 문제점이 있다.
However, the biometrics technology has a problem that duplication is possible, the system configuration is complicated, and an excessive cost is incurred. In addition, there are problems such as leakage of personal information, possibility of application to crime, possibility of human rights violation, and there is a problem that it is impossible to reset the information leakage.
본 발명은 메인 단말에서는 전자서명만을 등록하고 예비 단말에서는 전자서명과 암호를 함께 등록하여 메인 단말이 분실, 고장 등으로 사용하지 못하는 경우에도 예비 단말을 통해 본인 확인이 가능하게 하면서도 보안성을 높인 복수 단말에서 전자서명을 이용한 본인 확인 시스템 및 방법을 제공하기 위한 것이다.In the present invention, even if the main terminal registers only the electronic signature and the standby terminal registers both the electronic signature and the password, even if the main terminal can not be used due to loss or malfunction, it is possible to confirm the identity through the standby terminal, And to provide a system and method for identifying an identity using a digital signature at a terminal.
본 발명은 전자서명을 이용하여 본인 확인을 수행함으로써 용도에 따른 다양한 서명 등록이 가능하여 금융 거래 및 보안에 유리하고, 정보 유출 시 재설정이 불가능한 생체 정보 인식을 대체할 수 있는 복수 단말에서 전자서명을 이용한 본인 확인 시스템 및 방법을 제공하기 위한 것이다.The present invention relates to a method and apparatus for verifying a user's identity by using an electronic signature and various signatures can be registered according to the use of the electronic signature to thereby enable electronic signatures in a plurality of terminals capable of replacing biometric information recognition, which is advantageous for financial transaction and security, And to provide a system and method for identifying a used identity.
본 발명의 다른 목적들은 이하에 서술되는 바람직한 실시예를 통하여 보다 명확해질 것이다.
Other objects of the present invention will become more apparent through the following preferred embodiments.
본 발명의 일 측면에 따르면, 전자서명 인증 서버에서 수행되는 전자서명을 이용한 본인 확인 방법으로서, (a) 상기 전자서명 인증 서버가 사용자 단말로부터 입력 전자서명 및 단말 식별정보를 포함하는 본인확인 요청을 수신하는 단계; (b) 상기 단말 식별정보를 통해 상기 사용자 단말이 메인 단말인지 예비 단말인지 확인하는 단계; 및 (c) 상기 사용자 단말이 메인 단말인 경우 상기 본인확인 요청에 포함된 입력 전자서명과 상기 전자서명 인증 서버에 기 저장된 등록 전자서명을 비교한 결과에 따라 본인 여부를 확인하는 단계를 포함하되, 상기 사용자 단말이 예비 단말인 경우 상기 본인확인 요청에는 입력 암호가 더 포함되며, 상기 단계 (c)는 상기 사용자 단말은 예비 단말인 경우 상기 본인확인 요청에 포함된 입력 전자서명과 상기 전자서명 인증 서버에 기 저장된 등록 전자서명을 비교한 결과 및 상기 입력 암호와 상기 전자서명 인증 서버에 기 저장된 등록 암호를 비교한 결과에 따라 본인 여부를 확인하는 것을 특징으로 하는 전자서명을 이용한 본인 확인 방법이 제공된다.According to an aspect of the present invention, there is provided a method for authenticating a person using an electronic signature performed by an electronic signature authentication server, the method comprising: (a) receiving an identity verification request including an input digital signature and terminal identification information from a user terminal Receiving; (b) checking whether the user terminal is a main terminal or a standby terminal through the terminal identification information; And (c) if the user terminal is the main terminal, checking whether the user is authentic according to a result of comparing an input digital signature included in the identity verification request with a digital signature registered in advance in the digital signature authentication server, Wherein the user authentication request further includes an input password when the user terminal is a standby terminal, and wherein the step (c) includes the step of, when the user terminal is a standby terminal, Authenticating the user based on a result of comparing the registered digital signature stored in the electronic signature database and a result of comparing the input password with the registration password previously stored in the digital signature authentication server, .
상기 단계 (c)는 상기 입력 전자서명과 상기 등록 전자서명에 대해 선의 흐름, 모양, 접촉횟수 및 접속위치, 가속도/속도, 가로크기, 세로크기, 비율, 기울기, 압력, 좌표 중 하나 이상의 서명 속성을 비교 항목으로 하여 독립적으로 병렬 처리 방식으로 비교하여 유사도를 판정할 수 있다.Wherein the step (c) further comprises the step of determining at least one of a signature flow, a shape, a contact count and a connection position, an acceleration / velocity, a horizontal size, a vertical size, a ratio, a slope, As a comparison item, the similarity can be judged by comparing them independently by the parallel processing method.
한편 본 발명의 다른 측면에 따르면, 전자서명 인증 서버에서 수행되는 전자서명을 이용한 본인 확인 방법으로서, (a) 상기 전자서명 인증 서버에서 전자서명 및 단말 식별정보를 포함하는 본인확인 요청을 수신하는 단계; (b) 상기 단말 식별정보를 분석하여 본인확인 요청 단말의 종류를 확인하는 단계; (c) 상기 본인확인 요청 단말이 예비 단말인 경우, 현재 메인 단말의 상태를 확인하는 단계; 및 (d) 상기 메인 단말이 지정된 위치에 있는 경우에는 상기 예비 단말을 단순 이용하는 것으로 판단하고 상기 본인확인 요청에 포함된 상기 전자서명만으로 본인 확인을 수행하는 단계를 포함하는 전자서명을 이용한 본인 확인 방법이 제공된다.According to another aspect of the present invention, there is provided an identity verification method using an electronic signature performed by an electronic signature authentication server, the method comprising: (a) receiving an identity verification request including an electronic signature and terminal identification information in the digital signature authentication server ; (b) analyzing the terminal identification information and confirming the type of the identity verification request terminal; (c) if the identity verification requesting terminal is a provisional terminal, checking the current state of the main terminal; And (d) if the main terminal is at a designated position, determining that the standby terminal is simply used and performing identity verification using only the digital signature included in the identity verification request, / RTI >
상기 단계 (d)에서, (d1) 상기 메인 단말이 지정된 위치에 있지 않은 경우에는 상기 메인 단말에 이상이 발생한 것으로 판단하고 상기 메인 단말에 대해 메인 단말 지위를 폐기하는 단계를 포함할 수 있다.In the step (d), if the main terminal is not at the designated position, it may be determined that an error has occurred in the main terminal and the main terminal may be discarded to the main terminal.
(d2) 상기 본인확인 요청 단말을 메인 단말로 지위를 전환시키는 단계를 더 포함할 수 있다.(d2) switching the status of the identity verification requesting terminal to the main terminal.
상기 (d2)는 상기 본인확인 요청 단말에 대해 암호 입력을 요청하고, 입력된 암호가 상기 전자서명 인증 서버에 미리 저장된 암호와 일치하는 경우에 한해 수행될 수 있다.The step (d2) may be performed only when the password request is requested to the identity verification requesting terminal and the inputted password matches the password previously stored in the digital signature authentication server.
본 발명의 또 다른 측면에 따르면, 사용자로부터 메인 단말 식별정보, 예비 단말 식별정보, 등록 전자서명을 입력받아 등록하는 전자서명 인증 서버; 및 상기 사용자로부터 입력된 전자서명을 상기 전자서명 인증 서버로 전송하면서 본인확인을 요청하는 복수의 단말을 포함하되, 상기 복수의 단말 중 하나는 메인 단말로 지정되고 나머지는 예비 단말로 지정되며, 상기 전자서명 인증 서버는 상기 본인확인 요청에 포함된 전자서명과 상기 등록 전자서명을 비교하여 본인 여부를 인증하는 것을 특징으로 하는 전자서명을 이용한 본인 확인 시스템이 제공된다.According to another aspect of the present invention, there is provided an electronic signature authentication server for receiving and registering main terminal identification information, reserve terminal identification information, and a registered digital signature from a user; And a plurality of terminals requesting identity verification while transmitting the digital signature input from the user to the digital signature authentication server, wherein one of the plurality of terminals is designated as a main terminal and the rest is designated as a standby terminal, The digital signature authentication server compares the digital signature included in the identity verification request with the registered digital signature to authenticate the identity of the user.
상기 전자서명 인증 서버에는 등록 암호가 미리 저장되어 있으며, 상기 예비 단말은 본인확인 요청 시에 전자서명 이외에 암호도 입력받아 상기 전자서명 인증 서버로 전송하고, 상기 전자서명 인증 서버는 상기 전자서명 이외에 상기 본인확인 요청에 포함된 암호와 상기 등록 암호의 비교 결과도 활용하여 본인 여부를 인증할 수 있다.The preliminary terminal receives a password in addition to a digital signature at the time of requesting the identity verification, and transmits the digital signature to the digital signature authentication server. The digital signature authentication server transmits the digital signature to the digital signature authentication server, The result of the comparison between the password included in the identity verification request and the registration password can also be used to authenticate the identity of the user.
상기 전자서명 인증 서버는, 상기 본인확인 요청에 포함된 전자서명과 상기 등록 전자서명에 대해 선의 흐름, 모양, 접촉횟수 및 접속위치, 가속도/속도, 가로크기, 세로크기, 비율, 기울기, 압력, 좌표 중 하나 이상의 서명 속성을 비교 항목으로 하여 독립적으로 병렬 처리 방식으로 비교하여 유사도를 판정하는 인증부를 포함할 수 있다.The digital signature authentication server determines whether or not the digital signature and the registered digital signature included in the identity verification request include at least one of a line flow, a shape, a contact count and a connection position, an acceleration / speed, a horizontal size, a vertical size, And an authentication unit that compares one or more signature attributes among the coordinates as a comparison item and compares them independently in a parallel processing manner to determine similarity.
전술한 것 외의 다른 측면, 특징, 이점이 이하의 도면, 특허청구범위 및 발명의 상세한 설명으로부터 명확해질 것이다.
Other aspects, features, and advantages will become apparent from the following drawings, claims, and detailed description of the invention.
본 발명에 따르면, 메인 단말에서는 전자서명만을 등록하고 예비 단말에서는 전자서명과 암호를 함께 등록하여 메인 단말이 분실, 고장 등으로 사용하지 못하는 경우에도 예비 단말을 통해 본인 확인이 가능하게 하면서도 보안성을 높인 효과가 있다.According to the present invention, even if the main terminal registers only the digital signature and the standby terminal registers the digital signature and the password together, even if the main terminal can not be used due to loss, malfunction, etc., There is an increased effect.
또한, 전자서명을 이용하여 본인 확인을 수행함으로써 용도에 따른 다양한 서명 등록이 가능하여 금융 거래 및 보안에 유리하고, 정보 유출 시 재설정이 불가능한 생체 정보 인식을 대체할 수 있는 효과가 있다.
In addition, by performing the identity verification using the digital signature, it is possible to register various signatures according to the use, which is advantageous for financial transactions and security, and can be substituted for the biometric information recognition which can not be reset at the time of information leakage.
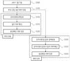
도 1은 본 발명의 일 실시예에 따른 복수 단말에서 전자서명을 이용한 본인 확인 시스템의 구성을 나타낸 도면,
도 2는 전자서명 및 단말을 등록하는 과정을 나타낸 도면,
도 3은 본 발명의 일 실시예에 따른 본인 확인 시스템에서 수행되는 본인 확인 방법의 순서도,
도 4는 본 발명의 다른 실시예에 따른 본인 확인 시스템에서 수행되는 본인 확인 방법의 순서도,
도 5는 전자서명 인증 서버의 인증부에 포함되는 비교 모듈들에 대한 구성을 나타낸 도면,
도 6은 비교 항목의 예시 및 판정 결과를 나타낸 도면.Brief Description of the Drawings Fig. 1 is a diagram illustrating a configuration of a personal identification system using digital signatures in a plurality of terminals according to an embodiment of the present invention; Fig.
2 is a diagram illustrating a process of registering an electronic signature and a terminal,
FIG. 3 is a flow chart of a personal identification method performed in a personal identification system according to an exemplary embodiment of the present invention;
FIG. 4 is a flow chart of a method of identifying an identity performed in the identity verification system according to another embodiment of the present invention; FIG.
5 is a diagram illustrating a configuration of comparison modules included in an authentication unit of an electronic signature authentication server,
6 is a diagram showing an example of a comparison item and a determination result;
본 발명은 다양한 변경을 가할 수 있고 여러 가지 실시예를 가질 수 있는 바, 특정 실시예들을 도면에 예시하고 상세한 설명에 상세하게 설명하고자 한다. 그러나 이는 본 발명을 특정한 실시 형태에 대해 한정하려는 것이 아니며, 본 발명의 사상 및 기술 범위에 포함되는 모든 변경, 균등물 내지 대체물을 포함하는 것으로 이해되어야 한다.While the invention is susceptible to various modifications and alternative forms, specific embodiments thereof are shown by way of example in the drawings and will herein be described in detail. It is to be understood, however, that the invention is not to be limited to the specific embodiments, but includes all modifications, equivalents, and alternatives falling within the spirit and scope of the invention.
어떤 구성요소가 다른 구성요소에 "연결되어" 있다거나 "접속되어" 있다고 언급된 때에는, 그 다른 구성요소에 직접적으로 연결되어 있거나 또는 접속되어 있을 수도 있지만, 중간에 다른 구성요소가 존재할 수도 있다고 이해되어야 할 것이다. 반면에, 어떤 구성요소가 다른 구성요소에 "직접 연결되어" 있다거나 "직접 접속되어" 있다고 언급된 때에는, 중간에 다른 구성요소가 존재하지 않는 것으로 이해되어야 할 것이다.It is to be understood that when an element is referred to as being "connected" or "connected" to another element, it may be directly connected or connected to the other element, . On the other hand, when an element is referred to as being "directly connected" or "directly connected" to another element, it should be understood that there are no other elements in between.
제1, 제2 등의 용어는 다양한 구성요소들을 설명하는데 사용될 수 있지만, 상기 구성요소들은 상기 용어들에 의해 한정되어서는 안 된다. 상기 용어들은 하나의 구성요소를 다른 구성요소로부터 구별하는 목적으로만 사용된다.The terms first, second, etc. may be used to describe various components, but the components should not be limited by the terms. The terms are used only for the purpose of distinguishing one component from another.
본 명세서에서 사용한 용어는 단지 특정한 실시예를 설명하기 위해 사용된 것으로, 본 발명을 한정하려는 의도가 아니다. 단수의 표현은 문맥상 명백하게 다르게 뜻하지 않는 한, 복수의 표현을 포함한다. 본 명세서에서, "포함하다" 또는 "가지다" 등의 용어는 명세서상에 기재된 특징, 숫자, 단계, 동작, 구성요소, 부품 또는 이들을 조합한 것이 존재함을 지정하려는 것이지, 하나 또는 그 이상의 다른 특징들이나 숫자, 단계, 동작, 구성요소, 부품 또는 이들을 조합한 것들의 존재 또는 부가 가능성을 미리 배제하지 않는 것으로 이해되어야 한다.The terminology used herein is for the purpose of describing particular embodiments only and is not intended to be limiting of the invention. The singular expressions include plural expressions unless the context clearly dictates otherwise. In this specification, the terms "comprises" or "having" and the like refer to the presence of stated features, integers, steps, operations, elements, components, or combinations thereof, But do not preclude the presence or addition of one or more other features, integers, steps, operations, elements, components, or combinations thereof.
또한, 각 도면을 참조하여 설명하는 실시예의 구성 요소가 해당 실시예에만 제한적으로 적용되는 것은 아니며, 본 발명의 기술적 사상이 유지되는 범위 내에서 다른 실시예에 포함되도록 구현될 수 있으며, 또한 별도의 설명이 생략될지라도 복수의 실시예가 통합된 하나의 실시예로 다시 구현될 수도 있음은 당연하다.It is to be understood that the components of the embodiments described with reference to the drawings are not limited to the embodiments and may be embodied in other embodiments without departing from the spirit of the invention. It is to be understood that although the description is omitted, multiple embodiments may be implemented again in one integrated embodiment.
또한, 첨부 도면을 참조하여 설명함에 있어, 도면 부호에 관계없이 동일한 구성 요소는 동일하거나 관련된 참조부호를 부여하고 이에 대한 중복되는 설명은 생략하기로 한다. 본 발명을 설명함에 있어서 관련된 공지 기술에 대한 구체적인 설명이 본 발명의 요지를 불필요하게 흐릴 수 있다고 판단되는 경우 그 상세한 설명을 생략한다.
DETAILED DESCRIPTION OF THE PREFERRED EMBODIMENTS Reference will now be made in detail to the preferred embodiments of the present invention, examples of which are illustrated in the accompanying drawings, wherein like reference numerals refer to the like elements throughout. DETAILED DESCRIPTION OF THE PREFERRED EMBODIMENTS Hereinafter, exemplary embodiments of the present invention will be described in detail with reference to the accompanying drawings. In the following description, well-known functions or constructions are not described in detail since they would obscure the invention in unnecessary detail.
도 1은 본 발명의 일 실시예에 따른 복수 단말에서 전자서명을 이용한 본인 확인 시스템의 구성을 나타낸 도면이고, 도 2는 전자서명 및 단말을 등록하는 과정을 나타낸 도면이다.FIG. 1 is a diagram illustrating a configuration of an identity verification system using a digital signature in a plurality of terminals according to an exemplary embodiment of the present invention. FIG. 2 is a diagram illustrating a process of registering an electronic signature and a terminal.
본 발명의 일 실시예에 따른 복수 단말에서 전자서명을 이용한 본인 확인 시스템은 메인 단말에서는 전자서명만을 이용하여 인증이 가능하고 예비 단말에서는 전자서명 이외에 암호를 이용한 이중 인증이 수행되도록 하여, 메인 단말이 분실, 고장 등으로 사용하지 못하는 경우에도 예비 단말을 통해 본인 확인이 가능하게 하면서도 보안성을 높인 것을 특징으로 한다.In the multiple-terminal verification system according to the embodiment of the present invention, the main terminal can perform authentication using only the digital signature and the standby terminal can perform double authentication using the encryption in addition to the digital signature, Even if it can not be used due to loss, malfunction or the like, it is possible to confirm the identity of the user through the reserve terminal, and to enhance the security.
본 실시예에 따른 본인 확인 시스템은 생체 정보를 대체할 수 있는 본인 확인 정보로서 전자서명을 활용하여 본인 여부를 확인하는 시스템으로, 출입, 보안, 접속 인증, 결제 등의 분야에 활용될 수 있다.The identity verification system according to the present embodiment is a system for verifying identity by utilizing an electronic signature as identity verification information that can replace biometric information, and can be utilized in fields of access, security, authentication, payment, and the like.
도 1을 참조하면, 본 실시예에 따른 본인 확인 시스템은 전자서명 인증 서버(100), 메인 단말(200), 예비 단말(300)을 포함한다. 도면에서는 예비 단말(300)이 하나인 것으로 도시되어 있지만, 이는 일 실시예에 불과하며, 예비 단말이 둘 이상이 될 수도 있음은 물론이다.Referring to FIG. 1, the identity verification system according to the present embodiment includes an electronic
전자서명 인증 서버(100)는 사용자로부터 인증을 위한 전자서명을 입력받아 등록하며, 이후 단말(메인 단말(200) 혹은 예비 단말(300))을 통해 전자서명이 입력된 경우 등록된 전자서명과 비교하여 유사성 정도에 따라 인증을 수행한다.The digital
메인 단말(200)은 사용자가 전자서명 입력을 통해 소정의 목적(예컨대, 지정된 장소로의 입장 혹은 퇴장, 웹사이트에의 로그인, 금융거래(결제 포함) 등)을 달성하기 위한 본인 확인이 가능한 단말이다. 사용자가 접근 가능한 여러 단말 중에서 주로 사용하게 될 단말이 메인 단말(200)로 지정될 수 있다.The
예비 단말(300)은 사용자가 메인 단말(200)의 분실 혹은 고장과 같은 위급한 상황에 대비하여 전자서명을 통해 전술한 소정의 목적을 달성하기 위한 본인 확인이 가능하도록 지정한 단말이다.The
본 실시예에서 메인 단말(200)은 본인 소유의 이동통신단말일 수 있고, 예비 단말(300)은 본인 소유의 태블릿 PC 혹은 지인 소유의 이동통신단말일 수 있다.In this embodiment, the
메인 단말(200)은 제1 서비스 앱 구동부(210), 제1 사용자 입력부(220), 제1 인증정보 전송부(230)를 포함한다.The
제1 서비스 앱 구동부(210)는 전자서명을 통해 소정의 목적을 달성하기 위한 전자서명 본인확인 서비스에 관련된 애플리케이션을 구동시킨다.The first
제1 사용자 입력부(220)는 메인 단말(200)에 구비된 터치스크린으로서, 사용자로부터 본인 확인을 위한 전자서명을 입력받는다. 전술한 전자서명이 터치스크린인 제1 사용자 입력부(220) 및/또는 후술될 제2 사용자 입력부(320)를 이용하여 본인 확인을 위해 사용자에 의해 입력된다는 점에서 본 명세서에서 자필서명이라 칭해질 수도 있다.The first
제1 인증정보 전송부(230)는 제1 서비스 앱 구동부(210)가 실행된 이후 제1 사용자 입력부(220)를 통해 입력된 전자서명을 단말 식별정보와 함께 전자서명 인증 서버(100)로 전송하면서 본인확인을 요청한다.The first authentication
예비 단말(300)은 제2 서비스 앱 구동부(310), 제2 사용자 입력부(320), 제2 인증정보 전송부(330)를 포함한다.The
제2 서비스 앱 구동부(310)는 전자서명을 통해 소정의 목적을 달성하기 위한 전자서명 본인확인 서비스에 관련된 애플리케이션을 구동시킨다.The second
제2 사용자 입력부(320)는 예비 단말(300)에 구비된 터치스크린으로서, 사용자로부터 본인 확인을 위한 전자서명을 입력받는다. 또한, 제2 사용자 입력부(320)는 사용자로부터 암호를 추가적으로 입력받을 수도 있다.The second
제2 인증정보 전송부(330)는 제2 서비스 앱 구동부(310)가 실행된 이후 제2 사용자 입력부(320)를 통해 입력된 전자서명(암호를 추가 입력받은 경우, 암호도 포함될 수 있음)을 단말 식별정보와 함께 전자서명 인증 서버(100)로 전송하면서 본인확인을 요청한다.The second authentication
여기서, 암호의 입력은 전자서명과 함께 이루어지거나 본인확인 요청 이후 전자서명 인증 서버(100)로부터의 요청이 있은 후에 이루어질 수 있다.Here, the input of the password may be performed together with the digital signature or after a request from the digital
전자서명 인증 서버(100)는 단말 등록부(110), 전자서명 등록부(120), 암호 등록부(130), 인증부(140)를 포함한다.The digital
전자서명과 사용할 단말을 등록하는 사용자는 기본적으로 전자서명 인증 서버(100)에서 제공하는 전자서명 본인확인 서비스에 가입한 것으로 가정한다(단계 S400).It is assumed that the user who registers the terminal to be used with the digital signature basically subscribes to the digital signature authentication service provided by the digital signature authentication server 100 (step S400).
단말 등록부(110)는 전자서명을 이용하여 본인 확인을 수행함에 있어서 사용자가 사용할 단말에 관한 정보를 등록한다(단계 S410). 사용자는 주로 사용하게 될 메인 단말(200) 및 메인 단말(200)이 분실되거나 고장난 경우와 같이 특수한 경우(비정상적인 상황)에 사용하게 될 예비 단말(300)을 등록한다.The
단말 등록부(110)에는 예를 들어 단말 전화 번호, 단말 ID 중 하나 이상의 단말 식별 정보가 사용자 정보와 함께 연관되어 등록될 수 있다.In the
전자서명 등록부(120)는 사용자가 사용할 전자서명을 등록한다(단계 S405). 전자서명은 단말(메인 단말(200) 혹은 예비 단말(300))의 화면에 마련된 터치스크린을 통해 입력된 사용자의 서명(signature)이다.The electronic
전자서명 등록부(120)에는 전자서명 자체의 형상뿐만 아니라 터치 수단(예컨대, 손 혹은 스타일러스 등)의 움직임에 따른 선의 흐름, 선의 모양, 접촉 횟수 및/또는 접촉 위치, 가속도, 서명의 크기 및 비율, 기울기, 터치 압력, 선의 굵기 등과 같은 서명 속성에 관한 데이터도 함께 등록될 수 있다.The electronic
암호 등록부(130)는 사용자가 사용할 암호를 등록한다(단계 S415). 암호는 문자, 숫자, 기호 중 하나 이상을 조합하여 만들어질 수 있다. 암호는 예비 단말(300)을 사용하고자 하는 경우 전자서명과 함께 본인 확인을 위한 이중 인증 수단으로 활용될 수 있다.The
인증부(140)는 사용자가 소정의 목적(예컨대, 지정된 장소로의 입장 혹은 퇴장, 웹사이트에의 로그인, 금융거래(결제 포함) 등)을 위해 단말을 이용해 전자서명을 입력한 경우, 입력 전자서명이 사전에 등록된 등록 전자서명과 일치하는지 혹은 소정 기준치 이상 유사한지 여부를 판단하여 본인 여부를 확인해 준다. 여기서, 입력 전자서명과 등록 전자서명의 유사도 판정에 대해서는 추후 관련 도면을 참조하여 설명하기로 한다.When the user inputs a digital signature using a terminal for a predetermined purpose (for example, entrance or exit to a specified place, login to a web site, financial transaction (including payment), etc.) It judges whether or not the signature matches the registered digital signature registered in advance or is similar to a predetermined reference value or more and confirms whether or not the signature is registered. Here, the determination of the degree of similarity between the input digital signature and the registered digital signature will be described later with reference to related drawings.
인증부(140)는 전자서명과 함께 전송된 단말 식별정보를 통해 식별된 단말의 종류에 따라 암호를 추가적인 비교 항목으로 포함시키거나 제외시킬 수 있다.The
예를 들어, 메인 단말(200)을 통해 본인 확인이 요청된 경우에는 전자서명의 일치 여부만을 통해 신속히 본인 여부를 확인해 줄 수 있다. 하지만, 예비 단말(300)을 통해 본인 확인이 요청된 경우에는 보안 강화를 위해 전자서명 이외에 별도로 등록한 암호의 일치 여부도 비교함으로써 이중 확인을 통해 본인 여부의 확인 과정을 강화시킬 수 있다.For example, in the case where identity verification is requested through the
또는 예비 단말(300)을 통해 본인 확인이 요청된 경우 메인 단말(200)의 상태에 대해 확인한 후 그 결과에 따라 전자서명만을 비교하거나 전자서명 이외에 암호에 대해서도 비교할 수 있다.
Or the
이하 도면을 참조하여 복수의 단말에서 전자서명을 이용하여 본인 확인을 수행하는 방법에 대해 설명하기로 한다.Hereinafter, a method of performing identity verification using a digital signature at a plurality of terminals will be described with reference to the drawings.
도 3은 본 발명의 일 실시예에 따른 본인 확인 시스템에서 수행되는 본인 확인 방법의 순서도이다.FIG. 3 is a flowchart of a personal identification method performed in the personal identification system according to an exemplary embodiment of the present invention.
사용자는 단말을 통해 서비스 앱(애플리케이션)을 구동시킨다(단계 S500). 여기서, 사용자는 전자서명 본인확인 서비스에 가입한 가입자로서, 전자서명과 함께 이를 사용할 단말을 등록한 것으로 가정한다.The user starts the service application (application) through the terminal (step S500). Here, it is assumed that the user is a subscriber who subscribes to the digital signature identity verification service and registers the terminal to use it together with the digital signature.
서비스 앱이 구동된 이후, 서비스 앱은 현재 단말에 대해 사용자가 지정한 단말 종류를 확인한다(단계 S505). 사용자가 지정한 단말 종류는 사용자가 전자서명을 통한 본인확인을 주로 사용하게 될 메인 단말과, 메인 단말의 분실 혹은 고장과 같은 비상시에 사용하게 될 예비 단말을 포함한다.After the service application is activated, the service application confirms the terminal type designated by the user for the current terminal (step S505). The terminal type designated by the user includes a main terminal which the user mainly uses the identity verification through digital signature and a spare terminal which will be used in an emergency such as loss or failure of the main terminal.
메인 단말인 경우에는 단말에 구비된 제1 사용자 입력부(220)를 통해 전자서명을 입력받는다(단계 S510). 입력된 전자서명은 제1 인증정보 전송부(230)에 의해 단말 식별정보와 함께 전자서명 인증 서버(100)에 제1 인증정보로 본인확인 요청과 함께 전송될 수 있다.In the case of the main terminal, the digital signature is input through the first
전자서명 인증 서버(100)는 단말로부터 전송받은 본인확인 요청에 포함된 입력 전자서명이 미리 저장되어 있는 등록 전자서명과 일치하는지 여부를 확인하고(단계 S515), 소정 기준치 이상의 유사성을 가지면 일치하는 것으로 보아 본인이 전자서명한 것으로 인증 성공 처리한다(단계 S520). 하지만, 입력 전자서명과 등록 전자서명이 유사하지 않은 것으로 판단되면, 본인이 전자서명하지 않은 것으로 보고 인증이 실패한 것으로 처리한다.The digital
예비 단말인 경우에는 단말에 구비된 제2 사용자 입력부(320)를 통해 전자서명을 입력받는다(단계 S530). 예비 단말에 대해 암호도 같이 등록된 경우에는 암호도 같이 입력받을 수 있다. 입력된 전자서명과 암호는 제2 인증정보 전송부(330)에 의해 단말 식별정보와 함께 전자서명 인증 서버(100)에 제2 인증정보로 본인확인 요청과 함께 전송될 수 있다.In the case of the standby terminal, the digital signature is input through the second
전자서명 인증 서버(100)는 제2 인증정보에 포함된 입력 전자서명 및 입력 암호가 전자서명 인증 서버(100)에 미리 저장되어 있는 등록 전자서명 및 등록 암호와 각각 일치하는지 여부를 확인한다(단계 S535). 전자서명이 소정 기준치 이상의 유사성을 가지고 암호가 일치하면 본인이 전자서명한 것으로 인증 성공 처리한다(단계 S540). 하지만, 전자서명이 유사하지 않은 것으로 판단되거나 암호가 일치하지 않을 경우에는 본인이 전자서명하지 않은 것으로 보고 인증이 실패한 것으로 처리한다.The digital
도 4는 본 발명의 다른 실시예에 따른 본인 확인 시스템에서 수행되는 본인 확인 방법의 순서도이다.FIG. 4 is a flow chart of a method of identifying an identity performed in the identity verification system according to another embodiment of the present invention.
본 실시예에서는 예비 단말로부터 전자서명이 입력된 경우 메인 단말의 상태에 따라 예비 단말이 단순 이용된 것으로 볼 것인지 혹은 메인 단말로 단말 종류를 변경하고 기 지정된 메인 단말을 폐기할 것인지를 결정한다.In the present embodiment, when a digital signature is input from the reserve terminal, it is determined whether the reserve terminal is regarded as being simply used according to the state of the main terminal or whether the terminal type is changed to the main terminal and the designated main terminal is to be discarded.
전자서명 인증 서버(100)에서는 본인확인 요청이 수신되면, 본인확인 요청에 포함된 단말 식별정보를 분석하여 본인확인 요청 단말을 확인한다(단계 S600).Upon receipt of the identity verification request, the digital
본인확인 요청 단말이 예비 단말인 경우, 현재 메인 단말의 상태(예컨대, 위치)를 확인한다(단계 S605). 여기서, 메인 단말(200)에는 그 위치를 확인할 수 있는 위치 확인 모듈(예컨대, GPS 모듈 등)이 구비되어 있는 것으로 가정한다.If the identity verification requesting terminal is the provisional terminal, the state (e.g., location) of the current main terminal is confirmed (step S605). Here, it is assumed that the
메인 단말의 위치가 지정된 위치(사용자가 메인 단말을 주로 사용하는 장소로 등록한 곳으로서, 집, 회사, 자주 가는 장소 등)에 있다면, 예비 단말에 대해서 단순 이용하는 것으로 판단한다(단계 S610). 즉, 사용자가 메인 단말을 분실하거나 메인 단말이 고장난 것이 아니라 현재 예비 단말을 사용하는 것이 더 유리하여 예비 단말을 단순 이용하는 것으로 볼 수 있다. 예비 단말을 단순 이용하는 것으로 판단한 경우에는 암호를 추가적으로 확인하지 않고, 전자서명만으로 본인확인이 이루어지도록 할 수 있다.If the location of the main terminal is in a designated location (home, company, frequent place, etc. where the user is registered as a place where the main terminal is mainly used), it is determined that the main terminal is simply used for the standby terminal (step S610). That is, it is more advantageous that the user does not lose the main terminal or the main terminal malfunctions but uses the current standby terminal, so that it can be seen that the standby terminal is simply used. When it is judged that the backup terminal is simply used, it is possible to confirm the identity of the user by only digital signature without additionally checking the password.
하지만, 메인 단말의 위치가 지정된 위치가 아닌 경우에는, 분실과 같이 메인 단말에 이상이 발생한 것으로 보고, 메인 단말에 대해서 메인 단말의 지위를 폐기할 수 있다(단계 S615). 메인 단말은 메인 단말의 지위가 폐기됨에 따라 예비 단말로 격하되어 암호 입력이 추가적으로 요구될 수도 있고, 혹은 전자서명과 관련된 단말로서의 지위가 완전히 폐기되어 예비 단말로서도 기능하지 못하게 될 수도 있다. 이는 메인 단말이 분실된 경우 이를 습득한 제3자에 의해 오용되는 것을 방지하기 위함이다.However, if the location of the main terminal is not the designated location, it is possible to discard the status of the main terminal with respect to the main terminal (step S615). As the status of the main terminal is discarded, the main terminal may be downgraded to the standby terminal and may be additionally required to input a password, or the status as a terminal related to the digital signature may be completely discarded and may not function as a standby terminal. This is to prevent misuse of the main terminal by a third party who has learned the lost terminal.
그리고 현재 본인확인 요청을 보낸 예비 단말을 메인 단말로 그 지위를 전환시킬 수 있다. 이 경우 예비 단말을 통해 암호를 입력하도록 하여 정상적인 암호가 입력된 경우에 한해 메인 단말로의 지위 전환이 이루어지게 할 수 있다.Then, the standby terminal that has sent the current identity confirmation request can be switched to the main terminal. In this case, it is possible to input the password through the reserve terminal, and to change the status to the main terminal only when a normal password is input.
이에 의하면 메인 단말을 분실하거나 메인 단말이 고장난 경우에도 예비적으로 지정한 예비 단말을 통해 본인 확인이 가능하고, 메인 단말로의 전환도 가능하여 사용자 편의성을 높일 수 있다.
According to this, even in the case where the main terminal is lost or the main terminal is broken, the identity can be verified through the reserve terminal preliminarily specified, and switching to the main terminal is also possible, thereby improving user convenience.
도 5는 전자서명 인증 서버의 인증부에 포함되는 비교 모듈들에 대한 구성을 나타낸 도면이고, 도 6은 비교 항목의 예시 및 판정 결과를 나타낸 도면이다.FIG. 5 is a diagram illustrating a configuration of comparison modules included in an authentication unit of an electronic signature authentication server, and FIG. 6 is a diagram showing an example of a comparison item and a determination result.
앞서 설명한 전자서명 인증 서버의 인증부(140)에서는 입력 전자서명과 등록 전자서명을 비교하여 유사도를 판정한다.The
입력 전자서명과 등록 전자서명의 유사도 판정은 서명 속성에 따른 다양한 비교 항목에 대해서 개별적이고 독립적으로 수행될 수 있으며, 이를 위해 인증부(140)는 흐름 비교 모듈(710), 모양 비교 모듈(720), 접촉 비교 모듈(730), 가속도/속도 비교 모듈(740), 가로크기 비교 모듈(750), 세로크기 비교 모듈(760), 비율 비교 모듈(770), 기울기 비교 모듈(780), 압력 비교 모듈(790), 좌표 비교 모듈(800) 중 하나 이상을 포함할 수 있다.The
인증부(140)는 서명 비교의 에러(Error)율을 최소화 하기 위해 하드웨어와 소프트웨어의 발전에 따라 그 비교 항목을 추가할 수 있다.The
흐름 비교 모듈(710)은 서명이 입력될 때 터치 수단의 움직임에 대한 방향성을 서명에 포함된 선의 흐름으로 보고, 등록 전자서명과 입력 전자서명에 대해 흐름의 유사도를 비교한다.The
모양 비교 모듈(720)은 입력된 서명을 획으로 분절하고, 획이 끝나는 지점에서의 획의 이동거리를 선의 모양으로 보고, 등록 전자서명과 입력 전자서명에 대해 모양의 유사도를 비교한다.The
접촉 비교 모듈(730)은 서명이 입력되는 동안 터치 수단이 단말의 터치크스크린에 접촉하는 횟수 및/또는 위치에 대한 정보에 대하여 유사도를 비교할 수 있다. 예를 들면, 서명이 이루어지는 동안 터치 수단이 접촉하는 횟수(혹은 화면으로부터 떨어지는 횟수), 접촉하는 위치(좌표)가 접촉 정보로 포함될 수 있다.The
가속도/속도 비교 모듈(740)은 서명이 입력될 때 미리 지정된 시간 구간 동안 터치 수단의 순간적인 움직임 속도를 속도 정보(가속도 혹은 속도)로 보고, 등록 전자서명과 입력 전자서명에 대해 속도 정보의 유사도를 비교한다.The acceleration /
가로크기 비교 모듈(750)은 등록 전자서명과 입력 전자서명에 대해 각 서명의 전체 이미지 중에서 가로크기의 유사도를 비교한다.The horizontal
세로크기 비교 모듈(760)은 등록 전자서명과 입력 전자서명에 대해 각 서명의 전체 이미지 중에서 세로크기의 유사도를 비교한다.The vertical
비율 비교 모듈(770)은 등록 전자서명과 입력 전자서명에 대해 각 서명의 전체 이미지 중에서 가로와 세로의 비율에 대한 유사도를 비교한다.The
기울기 비교 모듈(780)은 서명을 입력할 때 서명 입력부(110)를 기울이는 정도를 디바이스 기울기로 보고, 등록 전자서명과 입력 전자서명에 대해 기울기를 비교한다.The
압력 비교 모듈(790)은 서명을 입력할 때 서명 입력부(110)에서 서명이 입력되는 중에 측정된 사용자의 터치 압력을, 등록 전자서명과 입력 전자서명에 대해 서로 비교한다. 이 경우 터치 압력은 서명에 대한 선의 굵기로 대체될 수도 있다.The
좌표 비교 모듈(800)은 서명 입력 시 선의 흐름에 따른 좌표의 위치정보의 오차값을 비교한다.The coordinate
각 비교 모듈은 비교 항목에 대해서 미리 설정된 유사도 수준을 넘어서는지 여부에 때라 패스(PASS) 혹은 넌패스(Non-PASS) 판정을 내린다.Each comparison module makes a pass (PASS) or a non-pass (PASS) decision whether or not the comparison item exceeds a preset similarity level.
유사도 수준은 비교 모듈마다 동일하게 설정되거나 개별적으로 상이하게 설정될 수 있다. 예를 들어, 도 3의 (a)에는 각 비교 항목에 대한 유사도 수준이 30%로 동일하게 설정되어 있지만, 이는 일 실시예에 불과하며, 필요에 따라 유사도 수준은 함께 혹은 독립적으로 변경될 수 있다. 예를 들면, 본인 확인의 신뢰도를 높이고자 할 때에는 개별적인 비교 항목들의 유사도 수준이 높게 설정될 수 있을 것이다.The level of similarity may be set the same for each comparison module or may be set differently for each comparison module. For example, the similarity level for each comparison item is set to be equal to 30% in FIG. 3 (a), but this is only one embodiment, and the degree of similarity can be changed together or independently as needed . For example, in order to increase the reliability of identity verification, the level of similarity of individual comparison items may be set high.
비교 모듈들은 서로 독립적으로 동작하며, 어느 하나의 모듈에서의 비교 결과가 타 비교 모듈에 영향을 미치지는 아니한다.The comparison modules operate independently of each other, and the comparison result in any one module does not affect other comparison modules.
인증부(140)는 각 비교 모듈에서 결정된 비교 항목(서명 속성)마다의 유사도 판정 결과에 기초하여 서명의 진위 여부를 판정한다. 판정 결과에 따라 서명을 수행한 사용자의 본인 확인 여부가 결정될 수 있다.The authenticating
서명의 진위 여부를 판정할 때 비교 항목의 유사도 판정 결과가 병렬적으로 활용될 수 있다. 예컨대, 대부분의 비교 모듈에서는 높은 유사도를 가지는 것으로 결과가 나왔지만, 하나의 비교 모듈에서는 기준 이하의 낮은 유사도를 가지는 것으로 결과가 나온 경우, 이를 평균적으로 살펴볼 때에는 유사성을 가진 것으로 볼 수도 있겠지만, 본 실시예에서는 병렬 처리 기법에 근거하여 서로 상이한 서명인 것으로 판정한다.The similarity determination result of the comparison item can be used in parallel when determining whether the signature is true or false. For example, most comparator modules have high similarity. However, when a comparison module has a low similarity lower than that of a comparator module, it may be regarded as having similarity when it is averaged. However, It is determined that they are different from each other based on the parallel processing technique.
예를 들면, 도 3의 (b)에 도시된 것처럼, 모든 비교 항목에 대해서 패스 판정이 내려진 경우 진위 판정부(130)는 입력 전자서명이 등록 전자서명과 동일한 것으로 보고 진정한 사용자에 의한 서명인 것으로 판정할 수 있다. 이 경우 서명을 수행한 사용자가 본인이 맞는 것으로 확인될 것이다.For example, as shown in FIG. 3 (b), when a pass determination is made for all comparison items, the
하지만, 도 3의 (c)에 도시된 것처럼, 일부 비교 항목(도 3의 (c)에서는 '선의 모양' 항목)에 대해서 넌패스 판정이 내려진 경우 인증부(140)는 입력 전자서명이 등록 전자서명과 상이한 것으로 보고 진정한 사용자에 의한 서명이 아닌 것으로 판정할 수 있다. 이 경우에는 서명을 수행한 사용자가 본인이 아닌 것으로 볼 것이다.3 (c), when the non-pass determination is made with respect to some comparison items (the "line shape" item in FIG. 3C), the
서명의 진위 여부를 판정함에 있어서, 복수의 비교 모듈 중에서 일부만을 선택적으로 활성화시켜 적용시킬 수도 있다. 이 경우 선택된 비교 모듈에 상응하는 비교 항목에 대해서는 모두 패스 판정이 내려진 경우에 한하여 서명이 진정한 것으로 판정되며, 하나의 항목이라도 넌패스 판정이 내려진다면 서명이 진정하지 않은 것으로 보아 본인 인증에 실패하게 된다.In determining whether the signature is true or false, only a part of the plurality of comparison modules may be selectively activated and applied. In this case, it is judged that the signature is true only when the pass judgment is made for all the comparison items corresponding to the selected comparison module, and if the non-pass judgment is made even for one item, the signature fails to be authenticated .
본 실시예에 따르면, 타인이 서명을 유사하게 모방하는 과정에서 세분화된 비교 항목들 모두에 대한 유사도를 만족시키기는 불가능하여 높은 신뢰도를 가질 수 있다.According to this embodiment, it is impossible to satisfy the degree of similarity for all of the subdivided comparison items in the process of mimicking the signature by the other person, so that it can have high reliability.
상기에서는 본 발명의 바람직한 실시예를 참조하여 설명하였지만, 해당 기술 분야에서 통상의 지식을 가진 자라면 하기의 특허 청구의 범위에 기재된 본 발명의 사상 및 영역으로부터 벗어나지 않는 범위 내에서 본 발명을 다양하게 수정 및 변경시킬 수 있음을 이해할 수 있을 것이다.
It will be apparent to those skilled in the art that various modifications and variations can be made in the present invention without departing from the spirit or scope of the invention as defined in the appended claims. It will be understood that the invention may be varied and varied without departing from the scope of the invention.
100: 전자서명 인증 서버110: 단말 등록부
120: 전자서명 등록부130: 암호 등록부
140: 인증부200: 메인 단말
210: 제1 서비스 앱 구동부220: 제1 사용자 입력부
230: 제1 인증정보 전송부300: 예비 단말
310: 제2 서비스 앱 구동부320: 제2 사용자 입력부
330; 제2 인증정보 전송부100: Digital signature authentication server 110:
120: digital signature registration unit 130:
140: authentication unit 200: main terminal
210: first service application driver 220: first user input unit
230: first authentication information transmission unit 300:
310: second service application driver 320: second user input unit
330; The second authentication information transmission unit
| Application Number | Priority Date | Filing Date | Title |
|---|---|---|---|
| KR1020150187805AKR101739098B1 (en) | 2015-12-28 | 2015-12-28 | Certification system and method using electronic signature in plural terminals |
| PCT/KR2016/008225WO2017115965A1 (en) | 2015-12-28 | 2016-07-27 | User identification system and method using autograph in plurality of terminals |
| BR112018013234-9ABR112018013234A2 (en) | 2015-12-28 | 2016-07-27 | system and method of user identification using autographic signature in terminals |
| Application Number | Priority Date | Filing Date | Title |
|---|---|---|---|
| KR1020150187805AKR101739098B1 (en) | 2015-12-28 | 2015-12-28 | Certification system and method using electronic signature in plural terminals |
| Publication Number | Publication Date |
|---|---|
| KR101739098B1true KR101739098B1 (en) | 2017-05-24 |
| Application Number | Title | Priority Date | Filing Date |
|---|---|---|---|
| KR1020150187805AExpired - Fee RelatedKR101739098B1 (en) | 2015-12-28 | 2015-12-28 | Certification system and method using electronic signature in plural terminals |
| Country | Link |
|---|---|
| KR (1) | KR101739098B1 (en) |
| BR (1) | BR112018013234A2 (en) |
| WO (1) | WO2017115965A1 (en) |
| Publication number | Priority date | Publication date | Assignee | Title |
|---|---|---|---|---|
| KR102286649B1 (en)* | 2020-06-09 | 2021-08-05 | 한국전자영수증 주식회사 | The Method And System for Managing National Health Insurance by using Identity Verification |
| US11358061B2 (en) | 2019-04-24 | 2022-06-14 | Netmarble Corporation | Computer program for performing drawing-based security authentication |
| Publication number | Priority date | Publication date | Assignee | Title |
|---|---|---|---|---|
| CN117636376B (en)* | 2024-01-23 | 2024-05-28 | 长沙枫树林电子科技有限公司 | Electromagnetic original handwriting signing method and terminal |
| Publication number | Priority date | Publication date | Assignee | Title |
|---|---|---|---|---|
| US7979899B2 (en)* | 2008-06-02 | 2011-07-12 | Microsoft Corporation | Trusted device-specific authentication |
| JP4459282B2 (en)* | 2008-06-30 | 2010-04-28 | 株式会社東芝 | Information processing apparatus and security protection method |
| JP2011138279A (en)* | 2009-12-28 | 2011-07-14 | Dainippon Printing Co Ltd | Thin client system, thin client terminal and thin client program |
| US9443073B2 (en)* | 2013-08-08 | 2016-09-13 | Duo Security, Inc. | System and method for verifying status of an authentication device |
| US9235748B2 (en)* | 2013-11-14 | 2016-01-12 | Wacom Co., Ltd. | Dynamic handwriting verification and handwriting-based user authentication |
| Publication number | Priority date | Publication date | Assignee | Title |
|---|---|---|---|---|
| US11358061B2 (en) | 2019-04-24 | 2022-06-14 | Netmarble Corporation | Computer program for performing drawing-based security authentication |
| US11654366B2 (en) | 2019-04-24 | 2023-05-23 | Netmarble Corporation | Computer program for performing drawing-based security authentication |
| KR102286649B1 (en)* | 2020-06-09 | 2021-08-05 | 한국전자영수증 주식회사 | The Method And System for Managing National Health Insurance by using Identity Verification |
| Publication number | Publication date |
|---|---|
| BR112018013234A2 (en) | 2018-12-04 |
| WO2017115965A1 (en) | 2017-07-06 |
| Publication | Publication Date | Title |
|---|---|---|
| KR102038851B1 (en) | Method and system for verifying identities | |
| US8433921B2 (en) | Object authentication system | |
| KR100847532B1 (en) | User terminal and authentication device used for user authentication using user behavior pattern information | |
| US6819219B1 (en) | Method for biometric-based authentication in wireless communication for access control | |
| WO2018057813A2 (en) | System for user identification and authentication | |
| WO2014172494A1 (en) | Conditional and situational biometric authentication and enrollment | |
| US12212564B2 (en) | Mobile enrollment using a known biometric | |
| MX2015000169A (en) | Biometric validation method and biometric terminal. | |
| EP3451216B1 (en) | Multi-functional identification recognition system capable of recognizing the identity of users | |
| KR101739098B1 (en) | Certification system and method using electronic signature in plural terminals | |
| CN101313314A (en) | A method and system for transaction validation | |
| JP2002259345A (en) | Method/device for authentication for preventing unauthorized use of physical feature data, and program | |
| CN105389497A (en) | Security verification method and system for operation interface of fingerprint recognition | |
| CN106921655A (en) | A kind of business authorization method and device | |
| JP2007265219A (en) | Biometric authentication system | |
| KR101740574B1 (en) | Certification method using autograph of confirmor and fintech system | |
| KR100876628B1 (en) | User terminal and authenticating apparatus for user authentication using user's behavior pattern information and method for authenticating using the same | |
| WO2022100971A1 (en) | Method and system for biometric authentication for large numbers of enrolled persons | |
| CN105262747A (en) | Polymorphic terminal identity verification system and method based on biological characteristic recognition | |
| TWI620088B (en) | Identity authentication system for avoiding identity theft | |
| KR20140076275A (en) | Authentication method for smart system in cloud computing environment | |
| US12141255B2 (en) | Method for authenticating a user on client equipment | |
| Ayeswarya et al. | Comparative Analysis of Biometric Approaches in Continuous Authentication | |
| KR20230164504A (en) | Method for fraudulent behavior data collection and server for the method | |
| JP2006092283A (en) | Personal authentication system and personal authentication method |
| Date | Code | Title | Description |
|---|---|---|---|
| PA0109 | Patent application | St.27 status event code:A-0-1-A10-A12-nap-PA0109 | |
| PA0201 | Request for examination | St.27 status event code:A-1-2-D10-D11-exm-PA0201 | |
| P11-X000 | Amendment of application requested | St.27 status event code:A-2-2-P10-P11-nap-X000 | |
| P13-X000 | Application amended | St.27 status event code:A-2-2-P10-P13-nap-X000 | |
| P11-X000 | Amendment of application requested | St.27 status event code:A-2-2-P10-P11-nap-X000 | |
| P13-X000 | Application amended | St.27 status event code:A-2-2-P10-P13-nap-X000 | |
| PE0902 | Notice of grounds for rejection | St.27 status event code:A-1-2-D10-D21-exm-PE0902 | |
| E13-X000 | Pre-grant limitation requested | St.27 status event code:A-2-3-E10-E13-lim-X000 | |
| P11-X000 | Amendment of application requested | St.27 status event code:A-2-2-P10-P11-nap-X000 | |
| P13-X000 | Application amended | St.27 status event code:A-2-2-P10-P13-nap-X000 | |
| E701 | Decision to grant or registration of patent right | ||
| PE0701 | Decision of registration | St.27 status event code:A-1-2-D10-D22-exm-PE0701 | |
| GRNT | Written decision to grant | ||
| PR0701 | Registration of establishment | St.27 status event code:A-2-4-F10-F11-exm-PR0701 | |
| PR1002 | Payment of registration fee | St.27 status event code:A-2-2-U10-U11-oth-PR1002 Fee payment year number:1 | |
| PG1601 | Publication of registration | St.27 status event code:A-4-4-Q10-Q13-nap-PG1601 | |
| P22-X000 | Classification modified | St.27 status event code:A-4-4-P10-P22-nap-X000 | |
| P22-X000 | Classification modified | St.27 status event code:A-4-4-P10-P22-nap-X000 | |
| P22-X000 | Classification modified | St.27 status event code:A-4-4-P10-P22-nap-X000 | |
| PR1001 | Payment of annual fee | St.27 status event code:A-4-4-U10-U11-oth-PR1001 Fee payment year number:4 | |
| PR1001 | Payment of annual fee | St.27 status event code:A-4-4-U10-U11-oth-PR1001 Fee payment year number:5 | |
| P22-X000 | Classification modified | St.27 status event code:A-4-4-P10-P22-nap-X000 | |
| PR1001 | Payment of annual fee | St.27 status event code:A-4-4-U10-U11-oth-PR1001 Fee payment year number:6 | |
| PC1903 | Unpaid annual fee | St.27 status event code:A-4-4-U10-U13-oth-PC1903 Not in force date:20230518 Payment event data comment text:Termination Category : DEFAULT_OF_REGISTRATION_FEE | |
| PC1903 | Unpaid annual fee | St.27 status event code:N-4-6-H10-H13-oth-PC1903 Ip right cessation event data comment text:Termination Category : DEFAULT_OF_REGISTRATION_FEE Not in force date:20230518 |