















본 발명은 터치 기반 입력 인터페이스(touch-based input interface)를 가지는 터치 디바이스에 관한 것으로, 특히 본 발명은 컨택트 정보(contact information)와 연계된 트레이 아이템을 통해 컨택트 정보가 필요한 각종 어플리케이션 및 기능에 용이하게 접근할 수 있도록 하는 터치 디바이스의 기능 수행 방법 및 장치에 관한 것이다.BACKGROUND OF THE INVENTION 1. Field of the Invention The present invention relates to a touch device having a touch-based input interface. More particularly, the present invention relates to a touch device having a touch-based input interface for facilitating various applications and functions requiring contact information through a tray item associated with contact information And more particularly, to a method and an apparatus for performing a function of a touch device.
최근 정보통신 기술과 반도체 기술 등의 눈부신 발전에 힘입어 각종 휴대단말들의 보급과 이용이 급속도록 증가하고 있다. 특히, 최근의 휴대단말들은 각자의 전통적인 고유 영역에 머무르지 않고 다른 단말들의 영역까지 아우르는 모바일 융/복합(mobile convergence) 단계에 이르고 있다. 대표적으로 이동통신 단말의 경우에는 음성통화나 메시지 송수신과 같은 일반적인 통신 기능 외에도 TV(Television) 시청 기능(예컨대, DMB(Digital Multimedia Broadcasting)나 DVB(Digital Video Broadcasting)와 같은 이동 방송), 음악재생기능(예컨대, MP3(MPEG Audio Layer-3)), 사진촬영 기능, 인터넷 접속 기능, 사전 검색 기능 등 각종 멀티미디어 기능들이 부가되고 있는 실정이다.Recently, with the remarkable development of information communication technology and semiconductor technology, the spread and use of various mobile terminals are rapidly increasing. In particular, recent mobile terminals are reaching a mobile convergence stage which does not stay in the conventional inherent domain but covers other terminals. Typically, in the case of a mobile communication terminal, in addition to general communication functions such as voice communication and message transmission / reception, a TV (Television) viewing function (for example, a mobile broadcasting such as DMB (Digital Multimedia Broadcasting) or DVB (Digital Video Broadcasting) (E.g., MP3 (MPEG Audio Layer-3)), a photographing function, an Internet access function, a dictionary search function, and the like.
한편, 최근에는 휴대단말의 동작 상태를 표시할 수 있는 표시부와 데이터 등을 입력할 수 있는 입력부의 기능을 동시에 수행할 수 있는 터치스크린(touch-screen)을 구비하는 터치 디바이스가 증가하고 있는 추세이다. 이러한 터치 디바이스는 통상적으로 풀 터치스크린(full touch-screen) 타입으로 제공되고 있다. 그리고 터치 디바이스의 경우 기본적으로 터치 기반의 입력 인터페이스를 이용한 터치 입력에 의해 터치 디바이스의 사용 및 제어가 가능하다.Meanwhile, in recent years, a touch device including a touch screen capable of simultaneously performing functions of a display unit capable of displaying an operation state of a mobile terminal and an input unit capable of inputting data or the like has been increasing . Such a touch device is typically provided in a full touch-screen type. In the case of a touch device, the touch device can be used and controlled basically by touch input using a touch-based input interface.
최근에는 터치 디바이스의 디자인과 편리한 사용자 인터페이스(UI, User Interface)에 대한 관심이 증대되고 있다. 일예로 사용자가 쉽고 편리하게 터치 디바이스의 기능을 이용할 수 있는 사용자 편의를 위한 사용자 인터페이스 환경 구현이 이슈가 되고 있다. 이에 사용자의 터치 디바이스 이용에 따른 편의성 향상 및 새로운 부가 기능 요구에 따른 새로운 기능 구현이 다각도로 이루어지고 있는 실정이다.In recent years, there has been an increasing interest in the design of a touch device and a convenient user interface (UI, User Interface). For example, a user interface environment for user convenience that allows a user to easily and conveniently use functions of a touch device has become an issue. Accordingly, there are various aspects of improving convenience for the user using the touch device and implementing new functions according to the demand for the additional function.
본 발명의 목적은 터치 디바이스에서 사용자 편의를 위한 부가 기능을 제공하기 위한 것이다.An object of the present invention is to provide an additional function for user convenience in a touch device.
본 발명의 다른 목적은 컨택트 정보 기반의 트레이 아이템으로 이루어진 컨택트 트레이를 어플리케이션 실행화면 상에 나타낼 수 있는 터치 디바이스 및 그의 제어 방법을 제공하기 위한 것이다.It is another object of the present invention to provide a touch device and a control method thereof that can display a contact tray made of a contact information based tray item on an application execution screen.
본 발명의 또 다른 목적은 컨택트 트레이의 트레이 아이템을 통해 컨택트 정보가 필요한 각종 어플리케이션 및 기능을 용이하게 운용할 수 있는 최적의 인터페이스 환경을 구현함을 목적으로 한다.Another object of the present invention is to provide an optimum interface environment that can easily operate various applications and functions requiring contact information through a tray item of a contact tray.
본 발명의 또 다른 목적은 터치 디바이스에서 컨택트 정보와 연계된 어플리케이션 또는 기능 수행을 위한 최적의 환경을 구현하여 터치 디바이스의 사용성 및 편의성 향상을 목적으로 한다.It is another object of the present invention to improve the usability and convenience of a touch device by implementing an optimal environment for performing an application or function associated with contact information in the touch device.
상기와 같은 목적들을 달성하기 위한 본 발명의 실시 예에 따른 방법은, 터치 디바이스의 어플리케이션 운용 방법에 있어서, 특정 실행화면 상에 컨택트 정보 기반의 다수개의 트레이 아이템들로 이루어진 컨택트 트레이를 표시하는 과정과, 상기 컨택트 트레이의 특정 트레이 아이템을 이용하는 인터랙션을 입력받는 과정과, 상기 트레이 아이템의 컨택트 정보 기반으로 어플리케이션의 실행화면을 구성하는 과정과, 상기 구성된 실행화면을 토대로 상기 어플리케이션을 운용하는 과정을 포함한다.According to another aspect of the present invention, there is provided a method of operating a touch device, the method comprising: displaying a contact tray including a plurality of contact items based on contact information on a specific execution screen; , Receiving an interaction using a specific tray item of the contact tray, configuring an application execution screen based on the contact information of the tray item, and operating the application on the basis of the configured execution screen .
상기와 같은 목적들을 달성하기 위하여 본 발명의 실시 예에서는, 상기 방법을 프로세서에서 실행시키기 위한 프로그램을 기록한 컴퓨터로 읽을 수 있는 기록 매체를 포함한다.In order to accomplish the above objects, an embodiment of the present invention includes a computer-readable recording medium having recorded thereon a program for causing a processor to execute the method.
상기와 같은 목적들을 달성하기 위한 본 발명의 실시 예에 따른 장치는, 터치 디바이스에 있어서, 어플리케이션의 실행화면과 상기 실행화면 상에 컨택트 정보 기반의 트레이 아이템들로 이루어진 컨택트 트레이를 표시하며, 상기 컨택트 트레이의 트레이 아이템을 이용하는 인터랙션을 입력받는 표시부와, 상기 인터랙션을 입력에 대응하여 상기 트레이 아이템의 컨택트 정보 기반으로 어플리케이션의 실행화면을 구성하고 상기 구성된 실행화면을 토대로 어플리케이션 운용을 제어하는 제어부를 포함한다.According to another aspect of the present invention, there is provided an apparatus for displaying a contact tray, the contact tray including contact information based on the execution screen of the application and the execution screen, And a controller configured to configure an execution screen of the application based on the contact information of the tray item corresponding to the input of the interaction and to control application operation based on the configured execution screen .
본 발명의 실시 예에 따르면, 상기 컨택트 트레이는 제1 아이템 영역과 제2 아이템 영역을 포함하며, 상기 제1 아이템 영역은 터치 디바이스의 사용자에 대응하는 컨택트 정보와 연계된 트레이 아이템을 제공하며 스크롤 제어가 지원되지 않는 고정 영역을 나타내고, 상기 제2 아이템 영역은 상기 사용자에 의해 등록된 각각의 컨택트 정보들과 연계된 다수의 트레이 아이템들을 제공하며 스크롤 제어가 지원되는 스크롤 영역을 나타내는 것을 특징으로 한다.According to an embodiment of the present invention, the contact tray includes a first item area and a second item area, the first item area providing a tray item associated with contact information corresponding to a user of the touch device, Wherein the second item area indicates a scroll area in which scroll control is supported and provides a plurality of tray items associated with respective contact information registered by the user.
전술한 바와 같은 내용들은 당해 분야 통상의 지식을 가진 자가 후술되는 본 발명의 구체적인 설명으로부터 보다 잘 이해할 수 있도록 하기 위하여 본 발명의 특징들 및 기술적인 장점들을 다소 넓게 약술한 것이다. 이러한 특징들 및 장점들 이외에도 본 발명의 청구범위의 주제를 형성하는 본 발명의 추가적인 특징들 및 장점들이 후술되는 본 발명의 구체적인 설명으로부터 잘 이해될 것이다.The foregoing is a somewhat broad summary of features and technical advantages of the present invention in order that those skilled in the art will be better able to understand it from the following detailed description of the present invention. Additional features and advantages of the present invention, which form the subject matter of the claims of the invention, in addition to those features and advantages, will be better understood from the following detailed description of the invention.
상술한 바와 같이 본 발명에서 제안하는 터치 기반의 입력 인터페이스를 가지는 터치 디바이스의 기능 수행 방법 및 장치에 따르면, 컨택트 정보와 연계된 트레이 아이템을 통해 컨택트 정보가 필요한 각종 어플리케이션 및 기능에 용이하게 접근할 수 있는 터치 디바이스 및 그의 운용 방법을 제공한다. 이러한 본 발명은 터치 기반의 입력 인터페이스를 가지는 모든 디바이스에서 구현될 수 있다.As described above, according to the method and apparatus for performing a function of a touch device having a touch-based input interface proposed in the present invention, it is possible to easily access various applications and functions requiring contact information through a tray item associated with contact information And a method of operating the touch device. The present invention can be implemented in all devices having a touch-based input interface.
그리고 본 발명에 따르면 터치 디바이스에서 실행되는 모든 실행화면 상에 컨택트 정보 기반의 트레이 아이템으로 이루어진 컨택트 트레이를 지원할 수 있다. 이에 의하여, 컨택트 트레이의 트레이 아이템을 통해 컨택트 정보가 필요한 각종 어플리케이션 및 기능을 보다 용이하고 직관적으로 운용할 수 있는 최적은 사용자 인터페이스 환경을 제공할 수 있다. 이러한 본 발명은 터치 디바이스에서 컨택트 정보와 연계된 어플리케이션 실행 시 그의 직관적인 효과적인 운용이 가능한 환경을 구현함으로써 터치 디바이스의 사용성, 편의성 및 경쟁력을 향상시키는 데 기여할 수 있다.According to the present invention, a contact tray made up of a contact information-based tray item can be supported on all execution screens executed in a touch device. Thus, it is possible to provide an optimal user interface environment that can easily and intuitively operate various applications and functions requiring contact information through the tray items of the contact tray. The present invention can contribute to improving usability, convenience, and competitiveness of a touch device by implementing an intuitive and effective operation environment of the touch device in execution of the application associated with the contact information.
도 1은 본 발명의 실시 예에 따른 터치 디바이스의 구성을 개략적으로 도시한 도면,
도 2 및 도 3은 본 발명의 실시 예에 따른 터치 디바이스에서 컨택트 트레이가 제공되는 화면 예시를 도시한 도면들,
도 4는 본 발명의 실시 예에 따른 터치 디바이스에서 컨택트 트레이가 실행화면 상에 제공되는 동작 예시를 도시한 도면,
도 5는 본 발명의 실시 예에 따른 터치 디바이스에서 컨택트 트레이의 스크롤 제어 동작 예시를 도시한 도면,
도 6은 본 발명의 실시 예에 따른 터치 디바이스에서 컨택트 트레이를 이용한 운용 예시를 도시한 도면,
도 7 내지 도 12는 본 발명의 실시 예에 따른 터치 디바이스에서 트레이 아이템의 컨택트 정보와 연계한 어플리케이션 운용 동작 예시를 도시한 도면들,
도 13은 본 발명의 실시 예에 따른 터치 디바이스에서 이벤트 발생을 알람하고 이를 컨택트 트레이를 통해 추적하여 제공하는 동작 예시를 도시한 도면,
도 14는 본 발명의 실시 예에 따른 터치 디바이스에서 컨택트 정보와 연계된 트레이 아이템을 이용한 어플리케이션 운용 방법을 도시한 흐름도,
도 15 및 도 16은 도 14에 따른 트레이 아이템의 컨택트 정보 기반의 어플리케이션 운용 방법을 도시한 흐름도들.FIG. 1 schematically shows a configuration of a touch device according to an embodiment of the present invention, FIG.
FIG. 2 and FIG. 3 are diagrams illustrating a screen example in which a contact tray is provided in a touch device according to an embodiment of the present invention,
4 is a diagram illustrating an operation example in which a contact tray is provided on an execution screen in a touch device according to an embodiment of the present invention,
5 is a diagram illustrating an example of a scroll control operation of a contact tray in a touch device according to an embodiment of the present invention,
6 is a view illustrating an example of operation using a contact tray in a touch device according to an embodiment of the present invention;
FIGS. 7 to 12 are diagrams illustrating exemplary application operation operations associated with contact information of a tray item in a touch device according to an exemplary embodiment of the present invention,
13 is a diagram illustrating an example of an operation in which a touch device according to an exemplary embodiment of the present invention alerts an occurrence of an event and tracks the event through a contact tray,
14 is a flowchart illustrating a method of operating an application using a tray item associated with contact information in a touch device according to an embodiment of the present invention.
15 and 16 are flowcharts illustrating a method of operating an application based on contact information of a tray item according to FIG.
이하, 첨부된 도면들을 참조하여 본 발명의 바람직한 실시 예들을 상세히 설명한다. 이때, 첨부된 도면들에서 동일한 구성 요소는 가능한 동일한 부호로 나타내고 있음에 유의해야 한다. 또한 본 발명의 요지를 흐리게 할 수 있는 공지 기능 및 구성에 대한 상세한 설명은 생략할 것이다. 즉, 하기의 설명에서는 본 발명의 실시 예에 따른 동작을 이해하는데 필요한 부분만이 설명되며, 그 이외 부분의 설명은 본 발명의 요지를 흩트리지 않도록 생략될 것이라는 것을 유의하여야 한다.Hereinafter, preferred embodiments of the present invention will be described in detail with reference to the accompanying drawings. Note that, in the drawings, the same components are denoted by the same reference symbols as possible. Further, the detailed description of well-known functions and constructions that may obscure the gist of the present invention will be omitted. In other words, it should be noted that only parts necessary for understanding the operation according to the embodiment of the present invention will be described, and descriptions of other parts will be omitted so as not to disturb the gist of the present invention.
제안하는 본 발명은 터치 기반의 입력 인터페이스(touch-based input interface)를 가지는 터치 디바이스에서 컨택트 정보(contact information)와 연계된 어플리케이션을 보다 직관적이고 효과적으로 운용할 수 있는 방법 및 장치에 관한 것이다. 본 발명의 실시 예에 따르면 컨택트 정보 기반으로 생성되는 적어도 하나의 트레이 아이템(tray item)으로 이루어진 컨택트 트레이(contact tray)를 제공한다. 본 발명에서 상기 컨택트 트레이는 터치 디바이스에서 운용되는 모든 실행화면 상에 나타날 수 있다. 이러한 본 발명의 실시 예에 따르면, 컨택트 정보와 연계된 트레이 아이템을 통해 컨택트 정보가 필요한 각종 어플리케이션 및 기능을 용이하게 접근 및 운용할 수 있는 최적인 사용자 인터페이스(UI, User Interface)를 제공한다.The present invention relates to a method and apparatus for more intuitively and effectively operating an application associated with contact information in a touch device having a touch-based input interface. According to an embodiment of the present invention, there is provided a contact tray made up of at least one tray item generated based on contact information. In the present invention, the contact tray may be displayed on all execution screens operated by the touch device. According to the embodiment of the present invention, an optimal user interface (UI) that can easily access and operate various applications and functions requiring contact information through a tray item associated with contact information is provided.
그러면 이하에서 본 발명의 실시 예에 따른 터치 디바이스의 구성 및 그의 동작 제어 방법에 대하여 하기 도면들을 참조하여 살펴보기로 한다. 하지만 본 발명의 실시 예에 따른 터치 디바이스의 구성 및 그의 제어 방법이 하기에서 기술하는 내용에 제한되거나 한정되는 것은 아니므로 하기의 실시 예에 의거하여 다양한 실시 예들에 적용할 수 있음에 유의하여야 한다.Hereinafter, a configuration of a touch device and an operation control method according to an embodiment of the present invention will be described with reference to the following drawings. However, it should be noted that the configuration of the touch device and the control method thereof according to the embodiment of the present invention are not limited to or limited to the following description, and thus can be applied to various embodiments based on the following embodiments.
도 1은 본 발명의 실시 예에 따른 터치 디바이스의 구성을 개략적으로 도시한 도면이다.1 is a view schematically showing a configuration of a touch device according to an embodiment of the present invention.
상기 도 1을 참조하면, 상기 터치 디바이스는 통신모듈(110), 표시부(120), 저장부(130), 그리고 제어부(140)를 포함하여 구성된다. 이 밖에도 상기 터치 디바이스는 마이크(microphone)와 스피커(speaker)를 구비하는 오디오처리부, 디지털 방송(예컨대, DMB(Digital Multimedia Broadcasting)나 DVB(Digital Video Broadcasting)와 같은 이동 방송)의 수신과 재생을 수행하기 위한 디지털 방송 모듈, 사진/동영상 촬영 기능을 위한 카메라 모듈, 블루투스(BLUETOOTH) 통신 기능을 수행하기 위한 블루투스 통신 모듈, 터치 기반의 입력을 위한 터치패드, 및 물리적인 키 입력을 위한 기능키 등의 구성을 더 포함할 수 있으나, 그들에 대한 설명과 도시는 생략한다.Referring to FIG. 1, the touch device includes a
상기 통신모듈(110)은 이동통신 기반의 이동통신 서비스 및 무선 랜(WLAN, Wireless Local Area Network) 기반의 인터넷 서비스(예컨대, Wi-Fi 서비스)와 같은 서비스를 지원하기 위한 모듈을 나타낸다. 즉, 상기 통신모듈(110)은 이동통신 기능을 수행하기 위한 무선주파수(RF, Radio Frequency) 모듈과 무선 랜 기반의 인터넷 통신 기능을 수행하기 위한 무선 랜 모듈 중 상기 터치 디바이스가 지원하는 통신 기능에 대응하는 어느 하나의 통신모듈을 나타낸다. 또한 상기 도 1에서는 하나의 통신모듈(110)을 나타내었으나 상기 터치 디바이스는 이동통신 서비스를 위한 무선주파수 모듈과 인터넷 서비스를 위한 무선 랜 모듈을 모두 포함하여 구성될 수도 있다. 또한 상기 터치 디바이스는 상기 무선주파수 모듈을 통해 네트워크와 교신하여 상기 이동통신 서비스 및 인터넷 서비스를 지원할 수도 있다.The
상기 표시부(120)는 터치 디바이스의 대기화면(home screen)을 비롯하여, 터치 디바이스에서 지원하는 어플리케이션들의 실행화면을 제공한다. 예를 들면, 메시지 기능, 전자메일 기능, 인터넷 기능, 멀티미디어 기능, 검색 기능, 통신 기능, 전자책읽기 기능(예컨대, e-book), 사진/동영상 촬영 기능, 사진/동영상 재생 기능, TV 재생 기능(예컨대, DMB나 DVB와 같은 이동 방송 재생 기능), 음악 재생 기능(예컨대, MP3 재생 기능), 위젯 기능, 메모 기능, 게임 기능 등의 실행화면을 제공한다. 상기 표시부(120)는 액정표시장치(LCD, Liquid Crystal Display)가 사용되는 것이 일반적이나, 유기발광다이오드(OLED, Organic Light Emitting Diode), 능동형 OLED(AMOLED, Active Matrix OLED) 등과 같은 다른 표시장치가 사용될 수도 있다. 상기 표시부(120)는 앞서와 같은 실행화면을 표시할 때 상기 터치 디바이스의 회전 방향(또는 놓인 방향)에 따라 가로모드를 제공하거나 또는 세로모드를 제공할 수 있다.The
본 발명의 실시 예에서 상기 표시부(120)는 터치 기반의 입력을 지원하는 인터페이스를 구비할 수 있다. 예를 들어, 상기 표시부(120)는 터치스크린 구성에 의해 터치 기반의 사용자 인터랙션 입력을 지원하고 상기 사용자 인터랙션 입력에 따른 입력신호를 생성하여 제어부(140)로 전달할 수 있다. 그리고 본 발명의 실시 예에서 상기 표시부(120)는 앞서 설명한 바와 같은 실행화면 상에 컨택트 정보 기반으로 형성된 트레이 아이템을 가지는 컨택트 트레이를 나타낼 수 있다. 그리고 표시부(120)는 상기 컨택트 트레이를 3개의 분할된 영역으로 구분하여 표시할 수 있으며, 컨택트 트레이에서 터치 기반으로 입력되는 사용자 인터랙션에 따라 제어되는 이펙트를 나타낼 수 있다. 본 발명의 상기 표시부(120)에 표시되는 컨택트 트레이 및 컨택트 트레이를 이용한 사용자 인터랙션에 따라 제어되는 화면 구성에 대해 후술하는 동작 예시에서 설명될 것이다.In an embodiment of the present invention, the
상기 저장부(130)는 상기 터치 디바이스에서 실행되고 처리되는 각종 프로그램과 데이터를 저장하며, 하나 이상의 휘발성 메모리 소자와 비휘발성 메모리 소자로 구성될 수 있다. 예를 들어, 상기 저장부(130)는 상기 터치 디바이스의 운영체제, 상기 표시부(120)의 표시 제어 동작과 관련된 프로그램과 데이터, 상기 표시부(120)를 이용한 입력 제어 동작과 관련된 프로그램과 데이터, 컨택트 트레이 운용과 관련된 프로그램과 데이터, 컨택트 트레이의 트레이 아이템에 대응하는 컨택트 정보와 연계한 어플리케이션 및 기능 운용과 관련된 프로그램과 데이터 등을 지속적으로 또는 일시적으로 저장할 수 있다. 특히, 상기 저장부(130)는 폰북 메뉴(phone-book menu)에 의해 등록된 적어도 하나의 컨택트에 대한 컨택트 정보를 저장한다. 또한 상기 저장부(130)는 소셜 네트워크 서비스(SNS, Social Network Service)(예컨대, 트위터, 페이스북 등), 메시지 서비스(예컨대, SMS, MMS 등), 이메일 서비스 및 메신저 서비스 이용에 따라 송수신되는 메시지 및 데이터를 저장할 수 있다.The
상기 제어부(140)는 상기 터치 디바이스의 전반적인 동작을 제어한다. 상기 제어부(140)는 본 발명의 컨택트 트레이 구성, 컨택트 트레이 표시 및 그의 운용에 따른 동작을 제어할 수 있다. 예를 들어, 제어부(140)는 컨택트 정보 기반으로 생성되는 트레이 아이템으로 이루어진 컨택트 트레이를 구성할 수 있다. 그리고 제어부(140)는 터치 디바이스에서 운용된 모든 실행화면에서 컨택트 트레이를 사용자 인터랙션에 따라 나타내거나, 실행화면 상에 오버레이(overlay) 되어 나타난 컨택트 트레이를 사용자 인터랙션에 따라 숨김 처리할 수 있다. 또한 제어부(140)는 컨택트 트레이의 트레이 아이템을 통해 컨택트 정보와 컨택트 정보가 필요한 각종 어플리케이션을 연계하여 그의 운용을 제어할 수 있다. 이러한 제어부(140)의 제어 동작에 대해 후술하는 터치 디바이스의 동작 예시 및 그의 제어 방법에서 설명될 것이다.The
그 밖에도 상기 제어부(140)는 상기 터치 디바이스의 통상적인 기능과 관련된 각종 제어 동작을 수행한다. 예를 들어, 상기 제어부(140)는 어플리케이션 실행 시 그의 운용 및 데이터 표시를 제어할 수 있다. 또한 제어부(140)는 터치 기반의 입력 인터페이스에서 지원하는 다양한 입력 방식에 대응하는 입력신호를 수신하고 그에 따른 기능 운용을 제어할 수 있다. 또한 제어부(140)는 무선 랜 기반 또는 이동통신 기반으로 지원되는 인터넷 서비스(예컨대, SNS 등) 이용에 따른 데이터 송수신(예컨대, 메시지 송수신 등)을 처리하고, 송수신된 데이터를 추적하여 그룹화하고 이를 팝업으로 출력하는 등의 부가 기능 운용을 제어할 수 있다.In addition, the
한편, 상기 도 1에 나타낸 본 발명의 터치 디바이스는 터치 기반의 입력 인터페이스를 포함하는 바 타입, 폴더 타입, 슬라이드 타입, 스윙 타입, 플립 타입 등 모든 타입의 휴대단말에 적용될 수 있다. 그리고 본 발명의 터치 디바이스는 모든 정보통신기기, 멀티미디어기기 및 그에 대한 응용기기를 포함할 수 있다. 예를 들면, 상기 터치 디바이스는 다양한 통신 시스템에 대응되는 각 통신 프로토콜들(communication protocols)에 의거하여 동작하는 이동통신 단말기(mobile communication terminal)를 비롯하여, 태블릿 PC(Personal Computer), PMP(Portable Multimedia Player), 디지털 방송 플레이어, PDA(Personal Digital Assistant), 뮤직 플레이어(예컨대, MP3 플레이어), 휴대게임단말, 넷북 및 스마트 폰(Smart Phone) 등의 디바이스를 포함할 수 있다. 또한 본 발명의 컨택트 리스트 제공 및 그의 운용 방법은 TV(Television), LFD(Large Format Display), DS(Digital Signage), 미디어 폴(media pole) 및 노트북 등의 디바이스에 적용되어 운용될 수도 있다.The touch device of the present invention shown in FIG. 1 can be applied to all types of portable terminals including a bar-type, a folder type, a slide type, a swing type, and a flip type including a touch-based input interface. The touch device of the present invention may include all information communication devices, multimedia devices, and application devices therefor. For example, the touch device may include a mobile communication terminal operating based on communication protocols corresponding to various communication systems, a tablet PC (personal computer), a portable multimedia player (PMP) ), A digital broadcasting player, a PDA (Personal Digital Assistant), a music player (e.g., an MP3 player), a portable game terminal, a netbook, and a smart phone. The contact list providing method and the method of operating the contact list of the present invention may be applied to devices such as a television (Television), a large format display (LFD), a digital signage (DS), a media pole and a notebook.
도 2 및 도 3은 본 발명의 실시 예에 따른 터치 디바이스에서 컨택트 트레이가 제공되는 화면 예시를 도시한 도면들이다.FIG. 2 and FIG. 3 are views showing an example of a screen in which a contact tray is provided in a touch device according to an embodiment of the present invention.
상기 도 2 및 도 3을 참조하면, 본 발명의 실시 예에 따른 표시부(120)는 크게 상태정보 영역(200)과 실행화면 영역(300)으로 구분할 수 있다.2 and 3, the
본 발명의 실시 예에서 상기 상태정보 영역(200)은 터치 디바이스의 상태정보를 제공하는 영역을 나타낸다. 본 발명의 실시 예에서 상기 상태정보는 상기 상태정보 영역(200) 내에 정적 이미지, 동적 이미지, 정적 텍스트, 동적 텍스트 등의 정보 아이템으로 제공되며, 상태정보 영역(200)은 적어도 하나의 정보 아이템을 나타낼 수 있다. 특히, 본 발명의 실시 예에서 상기 상태정보 영역(200)은 디바이스 인디케이터 영역(230)과 트레이 인디케이터 영역(250)으로 구분할 수 있으며, 상기 디바이스 인디케이터 영역(230) 및 트레인 인디케이터 영역(250) 각각은 적어도 하나의 정보 아이템을 나타낼 수 있다.In the embodiment of the present invention, the
예를 들어, 상기 디바이스 인디케이터 영역(230)은 터치 디바이스와 관련된 상태정보를 나타내는 영역으로, 통신과 관련된 신호 세기를 알리는 아이템, 메시지 수신을 알리는 아이템, 진동/소리/무음 정보를 알리는 아이템, 블루투스 활성화/비활성화 설정 상태를 알리는 아이템, 와이파이 활성화/비활성화 설정 상태를 알리는 아이템, 배터리 충전(또는 잔량) 상태를 알리는 아이템, 시간정보를 알리는 아이템 등의 정보 아이템을 나타낼 수 있다. 이러한 정보 아이템은 하나의 실시 예일 뿐이며, 상술한 아이템들 이외에 다양한 아이템들이 제공될 수 있다. 그리고 상기 디바이스 인디케이터 영역(230)에는 앞서와 같은 다수개의 정보 아이템들 중 터치 디바이스의 사용 환경에 따라 하나 또는 다수개의 아이템이 배치되어 나타날 수 있다.For example, the
상기 트레이 인디케이터 영역(250)은 컨택트 트레이(400)의 표시 및 숨김 간의 토글을 위한 영역을 나타낸다. 그리고 상기 트레이 인디케이터 영역(250)은 컨택트 트레이(400)에 포함된 트레이 아이템에 대응하는 특정 컨택트(사용자)에 대해 발생된 이벤트를 알람 하는 정보 아이템을 나타낼 수 있다. 상기 트레이 인디케이터 영역(250)의 정보 아이템은 발생된 이벤트의 기능에 대응하는 이미지와 텍스트의 조합으로 나타날 수 있다. 예를 들어, 발생된 이벤트가 SNS에 의해 특정 컨택트로부터 데이터가 입력될 시 SNS에 대응하는 이미지와 입력된 데이터에 대한 개략정보(예컨대, 텍스트)를 나타낼 수 있다.The
본 발명의 실시 예에서 상기 실행화면 영역(300)은 상기 터치 디바이스에서 실행되는 어플리케이션에 따른 화면을 제공하는 영역을 나타낸다. 예를 들어, 상기 실행화면 영역(300)은 대기화면(home screen), 각종 어플리케이션에 대응하는 실행화면, 각종 어플리케이션에 대응하는 리스트 실행화면 등 터치 디바이스에서 지원하는 모든 실행화면을 표시할 수 있다. 그리고 상기 실행화면 영역(300)은 상기와 같은 실행화면 상에 본 발명에서 정의되는 컨택트 트레이(400)가 나타날 수 있다. 아울러, 상기 실행화면 영역(300)은 상기 컨택트 트레이(400)가 나타난 상태에서 후술하는 바와 같이 선택되는 트레이 아이템에 대응하는 팝업 윈도우(500)를 함께 나타낼 수 있다. 상기 컨택트 트레이(400) 및 팝업 윈도우(500)는 실행화면 영역(300)에 표시된 실행화면을 유지하는 상태에서 해당 실행화면 상에 오버레이 되어 나타날 수 있다. 이하, 본 발명의 실시 예에 따른 컨택트 트레이(400)가 제공되는 화면 구성을 살펴보면 다음과 같다.In the embodiment of the present invention, the
상기 도 2 및 도 3에 도시된 바와 같이, 본 발명의 컨택트 트레이는 다수개의 트레이 아이템들로 이루어질 수 있다. 본 발명에서 트레이 아이템은 앞서 설명한 바와 같은 폰북 메뉴 등에 의해 등록된 적어도 하나의 컨택트에 대한 컨택트 정보와 매핑될 수 있다. 따라서 컨택트 트레이(400)를 구성하는 각 트레이 아이템들은 컨택트 정보를 기반으로 생성될 수 있다. 예를 들어, 각 트레이 아이템들은 대응되는 컨택트 정보에 따른 이미지와 사용자 정보(예컨대, 네임, 닉네임, 아이디 등)의 조합으로 구성되어 나타날 수 있다. 본 발명에서 컨택트 트레이(400)에 포함되는 트레이 아이템은 저장부(130)에 저장된 컨택트 정보들에 대응하여 모든 컨택트 정보들에 대해 트레이 아이템들이 자동 등록될 수 있다. 또는 컨택트 트레이(400)에 포함되는 트레이 아이템은 저장부(130)에 저장된 컨택트 정보들 중 사용자 설정에 대응하는 소정의 컨택트 정보들에 대해 트레이 아이템들이 등록될 수 있다.2 and 3, the contact tray of the present invention may include a plurality of tray items. In the present invention, a tray item may be mapped with contact information for at least one contact registered by a phone book menu or the like as described above. Accordingly, each tray item constituting the
그리고 본 발명의 상기 컨택트 트레이(400)는 제1 아이템 영역(430), 제2 아이템 영역(450) 및 제3 아이템 영역(470)으로 구분되어 제공될 수 있다. 즉, 상기 컨택트 트레이(400)에 컨택트 정보를 기반으로 하는 트레이 아이템을 제공할 시 제1 아이템 영역(430) 및 제2 아이템 영역(450)으로 구분하여 나타낼 수 있으며, 부가적으로 제3 아이템 영역(470)을 더 구분하여 나타낼 수 있다. 본 발명의 실시 예에서 상기 제1 아이템 영역(430), 제2 아이템 영역(450) 및 제3 아이템 영역(470)은 사용자의 직관성을 고려하여 경계를 명확히 나타내기 위한 형태로 제공될 수 있다. 예를 들어, 도 2 및 도 3에서 제1 아이템 영역(430), 제2 아이템 영역(450) 및 제3 아이템 영역(470)의 각 배경(예컨대, 트레이 아이템 외의 여분 공간)을 다른 색으로 표시하거나, 제1 아이템 영역(430)의 트레이 아이템을 다른 트레이 아이템과 식별(예컨대, 하이라이트 표시, 또는 크기를 다른 트레이 아이템과 구별)되게 나타낼 수 있다.The
또한 본 발명의 실시 예에서는 상기 제1 아이템 영역(430)을 통해 터치 디바이스의 사용자에 대응하는 컨택트 정보와 연계된 트레이 아이템이 나타나고, 제2 아이템 영역(450)을 통해 상기 사용자에 의해 등록된 각각의 컨택트 정보들과 연계된 다수의 트레이 아이템들이 나타날 수 있다. 상기 제2 아이템 영역(450)은 트레이 아이템의 스크롤을 위한 스크롤 기능이 지원될 수 있다. 즉, 본 발명의 실시 예에서 상기 제1 아이템 영역(430) 및 제3 아이템 영역(470)은 사용자 인터랙션에 따른 스크롤 제어가 이루어지지 않는 고정 영역이고, 상기 제2 아이템 영역(450)은 사용자 인터랙션에 따른 스크롤 제어가 이루어지는 스크롤 영역일 수 있다. 이러한 스크롤 기능에 대해서는 후술하기로 한다. 그리고 제3 아이템 영역(470)은 컨택트 트레이(400)의 트레이 아이템 편집(예컨대, 추가, 삭제 등)을 위한 아이템이 나타나며, 본 발명에서 제3트레이 영역(470)은 컨택트 트레이(400)에서 생략될 수 있다.Also, in the embodiment of the present invention, a tray item associated with the contact information corresponding to the user of the touch device is displayed through the
이러한 본 발명의 컨택트 트레이(400)는 도 2에 도시된 바와 같이 컨택트 정보 기반의 트레이 아이템으로 제공되거나, 또는 도 3에 도시된 바와 같이 컨택트 정보 기반의 트레이 아이템과 해당 컨택트 정보로부터 최근 발생된 이벤트에 대한 이벤트 정보가 결합되어 제공될 수 있다. 상기 도 3과 같은 제공 방식에서는 특정 컨택트로부터 이벤트 발생이 있을 시 해당 이벤트에 대한 이벤트 정보를 갱신하여 나타낼 수 있다. 이와 같은 컨택트 트레이(400)의 제공 방식은 사용자 설정에 따를 수 있다.The
그러면 이하에서는 앞서 설명한 바와 같은 본 발명의 컨택트 트레이(400)를 운용하는 동작 예시에 대하여 도 4 내지 도 6을 참조하여 살펴보기로 한다.Hereinafter, an operation example of operating the
도 4 내지 도 6은 본 발명의 실시 예에 따른 컨택트 트레이(400)의 운용 동작 설명을 위해 도시한 도면들이다.4 to 6 are diagrams for explaining the operation of the
특히, 상기 도 4는 본 발명의 터치 디바이스에서 컨택트 트레이(400)를 특정 실행화면 상에 나타내는 동작 예시를 도시한 도면이고, 상기 도 5는 상기 도 4에 따라 실행화면 상에 나타난 컨택트 트레이(400)에서 트레이 아이템의 스크롤 제어 동작 예시를 도시한 도면이고, 상기 도 6은 상기 도 4에 따라 나타난 컨택트 트레이(400)에서 선택 트레이 아이템에 대응하는 팝업 윈도우를 제공하는 동작 예시를 도시한 도면이다.4 is a diagram illustrating an operation example of the
상기 도 4를 참조하면, 참조번호 401에 도시된 바와 같이 표시부(120) 상에 터치 디바이스 인디케이터 영역(230)과 트레이 인디케이터 영역(250)으로 이루어진 상태정보 영역(200)과 실행화면 영역(300)으로 구분되고, 상기 실행화면 영역(300)에 대기화면(home screen)이 나타난 상태를 가정한다. 참조번호 401과 같은 상태에서 사용자는 트레이 인디케이터 영역(250)에 터치 기반의 설정된 사용자 인터랙션을 입력할 수 있다. 예를 들어, 사용자는 컨택트 트레이(400) 호출(즉, 실행화면 상에 표시)을 위하여 트레이 인디케이터 영역(250)에 호출 인터랙션을 입력할 수 있다. 본 발명의 실시 예에서 상기 호출 인터랙션은 트레이 인디케이터 영역(250)을 탭(tap) 하는 탭 인터랙션, 트레이 인디케이터 영역(250) 터치 후 아래 방향으로 이동하는 스윕(sweep) 인터랙션 및 플릭(flick) 인터랙션 등을 포함하며, 사용자는 어느 하나의 설정된 인터랙션을 입력할 수 있다.Referring to FIG. 4, a
그러면 제어부(140)는 참조번호 401과 같은 상태에서 트레이 인디케이터 영역(250)에 호출 인터랙션을 감지하면 참조번호 403에 도시된 바와 같이 컨택트 트레이(400)를 상기 실행화면 상의 일 영역에 나타낸다. 본 발명에서는 상기 컨택트 트레이(400)가 표시부(120)의 실행화면 상 우측 공간에 배치되어 제공되는 것을 예시로 나타내었으나, 본 발명이 이에 한정되는 것은 아니다. 따라서 상기 컨택트 트레이(400)는 표시부(120)의 실행화면 상 좌측 공간, 또는 실행화면 상 하측 공간에 배치되어 제공될 수도 있다. 또는 상기 컨택트 트레이(400)는 표시부(120)의 실행화면 상 상태정보 영역(200)과 인접된 하측 공간에 배치되어 나타날 수도 있다. 또한, 상기와 같이 특정 공간에 배치된 컨택트 트레이(400)를 사용자 인터랙션에 따라 임의의 공간으로 이동할 수도 있음은 물론이다. 이러한 컨택트 트레이(400)의 배치는 사용자 설정에 따를 수 있다.When the
그리고 상기 컨택트 트레이(400)는 우측에서 좌측 방향으로 슬라이딩 되어 나타나거나, 또는 상측에서 하측 방향으로 슬라이딩 되어 나타나거나, 또는 하측에서 상측 방향으로 슬라이딩 되어 나타날 수 있다.The
한편, 참조번호 403과 같은 상태에서 사용자는 트레이 인디케이터 영역(250)에 앞서와 같은 탭 인터랙션을 입력할 수 있다. 이러한 경우 제어부(140)는 참조번호 403과 같이 컨택트 트레이(400)가 나타난 상태에서 트레이 인디케이터 영역(250)에 탭 인터랙션을 감지하면 참조번호 401에 도시된 바와 같이 상기 컨택트 트레이(400)를 실행화면 상에서 제거(즉, 숨김 처리)할 수 있다. 이때, 상기 컨택트 트레이(400)의 제거는 앞서 설명한 바와 같은 컨택트 트레이(400)의 표시 동작의 역동작에 의해 이루어질 수 있다.Meanwhile, in the same state as the
또한 상기 도 4에서는 그의 도시 및 설명은 생략하였으나, 컨택트 트레이(400)의 호출을 위한 사용자 인터랙션으로 별도 마련된 하드웨어적인 기능키에 의해 입력되거나, 또는 별도 마련된 터치패드에 의해 입력되거나, 또는 표시부(120) 상에 별도 마련되는 소프트웨어적인 소프트 키(예컨대, 컨택트 트레이(400) 호출 기능을 가지는 특정 아이콘 형태(예컨대, 삼각형 모양)의 지시자)에 의해 입력될 수 있다. 이러한 경우 본 발명의 실시 예에서 상기 트레이 인디케이터 영역(250)은 상기 상태정보 영역(200)에서 생략되고 디바이스 인디케이터 영역(230)으로만 구성될 수도 있다.Although not shown and described with reference to FIG. 4, the user interface may be input by a hardware function key separately provided as a user interaction for calling the
상기 도 5를 참조하면, 상기 도 4의 참조번호 403에 도시된 바와 같이 사용자 인터랙션에 따라 컨택트 트레이(400)가 나타난 상태에서 사용자는 컨택트 트레이(400)에 트레이 아이템의 스크롤 제어를 위한 터치 기반의 설정된 사용자 인터랙션을 입력할 수 있다. 예를 들어, 사용자는 참조번호 501에 도시된 바와 같이 컨택트 트레이(400)의 일 측에서 타 측으로 이동(예컨대, 컨택트 리스트(400)의 하단에서 상단으로 이동 또는 상단에서 하당으로 이동)하는 스윕 인터랙션(또는 플릭 인터랙션)을 입력할 수 있다.Referring to FIG. 5, in a state in which the
그러면 제어부(140)는 참조번호 501과 같이 컨택트 트레이(400)에서 스윕 인터랙션을 감지하면 참조번호 503에 도시된 바와 같이 컨택트 트레이(400)의 트레이 아이템들을 스크롤 제어하고 그에 대응하여 스크롤된 트레이 아이템으로 변경하여 나타낸다. 이때, 제어부(140)는 상기 스윕 인터랙션의 입력 정도(예컨대, 입력 강약, 입력 길이 등)에 대응하여 트레이 아이템의 스크롤을 제어하고 그에 대응하는 화면 표시를 제어할 수 있다.If the
한편, 상기 제어부(140)는 참조번호 501 및 참조번호 503에 도시된 바와 같이 컨택트 트레이(400)의 트레이 아이템 스크롤 제어 시 앞서 설명한 바와 같이 고정 영역에 대응하는 제1 아이템 영역(430)의 트레이 아이템 및 제3 아이템 영역(470)은 위치 고정하여 나타내고, 스크롤 영역에 대응하는 제2 아이템 영역(450)의 트레이 아이템에 대한 스크롤만을 제어할 수 있다. 즉, 사용자 인터랙션에 대응하여 제2 아이템 영역(450)에 나타난 다수개의 트레이 아이템들의 상하 이동이 이루어지며, 상기 제2 아이템 영역(450)의 트레이 아이템들이 스크롤에 따른 이동 중에도 제1 아이템 영역(430)의 트레이 아이템과 제3 아이템 영역(470)의 아이템은 스크롤되지 않고 고정되어 나타난다.The
즉, 본 발명의 실시 예에 따른 상기 컨택트 트레이(400)는 제1 아이템 영역(430)과 제2 아이템 영역(450)을 포함하며, 상기 제1 아이템 영역(430)은 터치 디바이스의 사용자에 대응하는 컨택트 정보와 연계된 트레이 아이템을 제공하며 스크롤 제어가 지원되지 않는 고정 영역을 나타내고, 상기 제2 아이템 영역(450)은 상기 사용자에 의해 등록된 각각의 컨택트 정보들과 연계된 다수의 트레이 아이템들을 제공하며 스크롤 제어가 지원되는 스크롤 영역을 나타낸다.That is, the
상기 도 6을 참조하면, 상기 도 4의 참조번호 403 또는 상기 도 5에 도시된 바와 같이 사용자 인터랙션에 따라 컨택트 트레이(400)가 나타난 상태에서 사용자는 컨택트 트레이(400)의 특정 트레이 아이템을 선택하기 위한 터치 기반의 설정된 사용자 인터랙션을 입력할 수 있다. 예를 들어, 사용자는 참조번호 601 또는 참조번호 603에 도시된 바와 같이 컨택트 트레이(400)를 통해 나타난 다수개의 트레이 아이템들 중 임의의 트레이 아이템을 선택하는 탭 인터랙션을 입력할 수 있다.Referring to FIG. 6, in a state where the
그러면 제어부(140)는 컨택트 트레이(400)에서 임의의 트레이 아이템에 대한 탭 인터랙션을 감지하면 참조번호 601 또는 참조번호 603에 도시된 바와 같이 탭 인터랙션이 입력된 트레이 아이템에 대응하는 컨택트 정보를 팝업 윈도우(500)를 통해 나타낸다. 예를 들어, 제어부(140)는 컨택트 트레이(400)에서 임의의 트레이 아이템에 대한 탭 인터랙션 감지 시 탭 인터랙션이 입력된 트레이 아이템을 식별할 수 있다. 그리고 식별된 트레이 아이템에 대응하는 컨택트 정보를 추적하고, 추적된 컨택트 정보를 팝업 윈도우(500)를 통해 나타낼 수 있다.When the
본 발명의 실시 예에서 상기 팝업 윈도우(500)는 참조번호 601 및 참조번호 603에 도시된 바와 같이 탭 인터랙션이 입력된 해당 트레이 아이템과 인접되게 나타날 수 있다. 또한 상기 팝업 윈도우(500)는 참조번호 601과 같이 컨택트 트레이(400)와 인접하며 화면 상의 최상단을 기준으로 배치되어 나타날 수도 있다. 또는 상기 팝업 윈도우(500)는 탭 인터랙션이 입력된 해당 트레이 아이템의 위치와 관계없이 실행화면 상의 정중앙을 기준으로 배치되어 나타날 수도 있다. 이러한 팝업 윈도우(500)의 팝업 출력 방식은 사용자 설정에 따를 수 있다.In the embodiment of the present invention, the pop-up
한편, 본 발명의 실시 예에서 컨택트 정보는 특정 컨택트에 대해 설정된 사용자 이미지, 사용자 이름, 다양한 사용자 전화번호(예컨대, 모바일 전화번호, 집 전화번호, 회사 전화번호 등), 이메일 어드레스, 인터넷 서비스 이용에 따른 링크 정보(예컨대, 특정 컨택트와 인터넷 서비스 기반으로 연계되어 메신저, 페이스북, 트위터 등의 SNS에 따라 공유한 다른 사용자의 아이디 정보, 홈 어드레스, 메시지 정보, 메모 정보 등) 등을 포함할 수 있다. 그리고 본 명세서에서 상기 컨택트 정보는 대표정보와 부가정보로 구분할 수 있다. 상기 대표정보는 상기 컨택트 정보 중 컨택트를 보다 직관적으로 인지할 수 있도록 설정되는 정보(예컨대, 사용자 이미지, 사용자 이름)를 나타내고, 상기 부가정보는 상기 컨택트 정보 중 상기 대표정보를 제외한 컨택트에 대해 부가적으로 설정되는 정보를 나타낼 수 있다.Meanwhile, in the embodiment of the present invention, the contact information includes a user image, a user name, various user phone numbers (e.g., mobile phone number, home phone number, work phone number, etc.) set for a specific contact, (E.g., ID information of another user, a home address, message information, memo information, etc., which are linked to a specific contact based on the SNS of the messenger, Facebook, Twitter, etc.) . In this specification, the contact information can be divided into representative information and additional information. Wherein the representative information indicates information (e.g., a user image, a user name) that is set so as to more intuitively recognize a contact among the contact information, and the additional information indicates additional information As shown in FIG.
또한 앞서 설명한 바와 같이 제1 아이템 영역(430)은 터치 디바이스 사용자에 대응하는 컨택트 정보와 연계된 트레이 아이템이 위치할 수 있다. 그리고 제2 아이템 영역(450)은 터치 디바이스 사용자에 의해 등록된 각각의 다른 사용자들에 대응하는 컨택트 정보들과 연계된 다수의 트레이 아이템들이 위치할 수 있다.Also, as described above, the
따라서 본 발명의 실시 예에서 상기 팝업 윈도우(500)는 탭 인터랙션이 입력된 트레이 아이템의 타입 또는 아이템 영역의 타입에 따라 다른 종류의 컨택트 정보가 나타날 수 있다. 예를 들어, 사용자가 제1 아이템 영역(430)의 트레이 아이템에 탭 인터랙션을 입력할 시 상기 팝업 윈도우(500)는 참조번호 601에 도시된 바와 같이 상기 컨택트 정보 중 상기 트레이 아이템(상기 사용자)에 대응하는 대표정보와 상기 부가정보 중 링크 정보가 나타날 수 있다. 즉, 터치 디바이스 사용자에 대응하는 트레이 아이템이 선택될 시 대표정보와 함께 상기 사용자가 다른 사용자들과 SNS, 메시지, 메신저 등의 서비스 이용에 따라 주고받은 데이터(예컨대, 메시지)를 추적하여 팝업으로 나타낼 수 있다. 즉, 상기 사용자의 히스토리 정보를 직관적으로 나타낼 수 있다.Therefore, in the embodiment of the present invention, the pop-up
그리고 사용자가 제2 아이템 영역(450)의 트레이 아이템에 탭 인터랙션을 입력할 시 상기 팝업 윈도우(500)는 참조번호 603에 도시된 바와 같이 상기 컨택트 정보 중 상기 트레이 아이템(다른 사용자)에 대응하는 대표정보와 상기 부가정보 전체 또는 부가정보 중 설정된 일부 정보가 나타날 수 있다. 그리고 사용자는 상기 팝업 윈도우(500)를 통해 나타난 부가정보 중 특정 정보 선택에 의하여 해당 기능을 실행할 수도 있다. 예를 들어, 사용자는 팝업 윈도우(500)의 부가정보 중 특정 전화번호에 탭 인터랙션 입력을 통해 해당 전화번호로의 콜 기능을 수행할 수 있다. 또는 사용자는 팝업 윈도우(500)의 부가정보 중 메일 어드레스에 탭 인터랙션 입력을 통해 해당 컨택트를 수신처로 하는 메일 기능을 수행할 수 있다. 또는 사용자는 팝업 윈도우(500)의 부가정보 중 홈 어드레스에 탭 인터랙션 입력을 통해 웹 기능 실행 및 홈 어드레스에 대응하는 홈페이지를 표시할 수 있다.When the user inputs the tab interaction to the tray item of the
한편, 상기 도 6에서는 그의 도시 및 설명은 생략하였으나, 사용자는 제3 아이템 영역(470)의 아이템에 탭 인터랙션을 입력할 수 있다. 이러한 경우, 컨택트 트레이(400)를 구성(수정, 삭제, 추가 등의 편집)할 수 있는 설정 메뉴가 상기 팝업 윈도우(500)를 통해 제공될 수 있다. 또는 상기 제3 아이템 영역(470)의 아이템의 탭 인터랙션 시 컨택트 트레이(400) 구성을 위한 화면(예컨대, 폰북 리스트 실행화면 등)으로 전환되어 나타날 수도 있다.6, the user can input the tab interaction to the item of the
또한, 본 발명의 실시 예에서 상기 컨택트 트레이(400)의 구성은 폰북 리스트 실행화면이 제공된 상태에서 특정 컨택트를 선택하여 컨택트 트레이(400)로 이동하는 인터랙션에 의해 새로운 컨택트의 컨택트 정보에 대응하는 트레이 아이템을 컨택트 트레이(400)에 추가할 수도 있다. 이때, 사용자가 추가 요청되는 컨택트의 컨택트 정보를 가지는 트레이 아이템이 컨택트 트레이(400)에 존재할 시 해당 컨택트가 이미 존재함을 알람 할 수도 있다.In addition, in the embodiment of the present invention, the
도 7은 본 발명의 실시 예에 따른 터치 디바이스에서 트레이 아이템의 컨택트 정보와 연계한 어플리케이션 운용 동작 예시를 도시한 도면이다.7 is a diagram illustrating an example of application operation operation in connection with contact information of a tray item in a touch device according to an embodiment of the present invention.
상기 도 7을 참조하면, 참조번호 701에 도시된 바와 같이 표시부(120)의 실행화면 영역(300)에 임의의 어플리케이션 실행에 대응하는 실행화면(예컨대, 메일 리스트 실행화면)이 나타난 상태를 가정한다. 그리고 상기 메일 리스트는 적어도 2개의 구분된 영역들(예컨대, 컨택트들의 리스트를 나타내는 리스트 뷰 영역(710), 선택된 컨택트에 대응하는 정보를 나타내는 정보 뷰 영역(730) 등)을 통해 제공되거나 또는 특정 영역들의 구분 없이 하나의 영역을 통해 제공될 수도 있다. 그리고 상기 실행화면 일 측에 앞서 설명한 바와 같이 컨택트 트레이(400)가 나타난 상태를 가정한다.Referring to FIG. 7, it is assumed that an execution screen (for example, a mail list execution screen) corresponding to the execution of an arbitrary application is displayed in the
다음으로, 사용자는 참조번호 701과 같은 상태에서 리스트 뷰 영역(710)에 나타난 특정 컨택트(이하, 컨텐츠) 또는 정보 뷰 영역(730)에 나타난 특정 정보(이하, 컨텐츠)를 지정하여 참조번호 703에 도시된 바와 같이 컨택트 트레이(400)의 임의의 트레이 아이템으로 이동하는 사용자 인터랙션을 입력할 수 있다. 예를 들어, 사용자는 참조번호 701과 같은 상태에서 정보 뷰 영역(730)에 나타난 정보들 중 특정 컨텐츠(예컨대, 이미지 아이템(750))를 선택하여 참조번호 703에 도시된 바와 같이 컨택트 트레이(400)의 트레이 아이템들 중 참조번호 750의 트레이 아이템 위치로 이동하는 인터랙션(예컨대, 드래그(drag) 인터랙션 또는 스윕 인터랙션)을 입력할 수 있다.Next, the user designates specific information (hereinafter, referred to as content) or specific information (hereinafter, referred to as content) displayed in the
그러면 제어부(140)는 참조번호 701과 같은 실행화면이 표시된 상태에서 상기 실행화면에서 입력되어 컨택트 트레이(400)로 이동되는 인터랙션을 감지하면 참조번호 703에 도시된 바와 같이 상기 컨텐츠의 이동에 따라 상기 컨택트 트레이(400)에서 상기 컨텐츠와 겹쳐지는 위치의 트레이 아이템을 부각하는 비주얼 이펙트(예컨대, 해당 트레이 아이템을 일정정도 확대)를 부여하여 직관적으로 나타낼 수 있다. 이때, 상기 인터랙션이 컨택트 트레이(400) 내에서 이동에 대응하여 해당 위치의 트레이 아이템에 비주얼 이펙트를 반영하여 나타낼 수 있다. 예를 들어, 참조번호 750의 트레이 아이템 위치에서 상측 방향으로 상기 인터랙션이 이동될 시 그에 대응하여 상기 참조번호 750의 트레이 아이템은 원래의 형태로 복원되고 상기 인터랙션이 이동되는 위치의 해당 트레이 아이템(예컨대, 참조번호 750의 상측 트레이 아이템)이 비주얼 이펙트가 반영되어 나타날 수 있다.Then, the
다음으로, 사용자는 특정 컨텐츠를 컨택트 트레이(400)에서 희망하는 특정 트레이 아이템(예컨대, 참조번호 750)의 위치로 이동한 후 상기 인터랙션을 릴리즈할 수 있다. 예를 들어, 사용자는 실행화면에서 특정 컨텐츠를 선택한 후 컨택트 트레이(400)의 희망하는 트레이 아이템으로 이동(예컨대, 드래그 입력)한 후 그 입력을 해제(드롭 입력)하는 것과 같은 드래그앤드롭(drag&drop) 인터랙션을 입력할 수 있다.Next, the user may release the interaction after moving the specific content to the location of a particular tray item desired (e.g., reference numeral 750) in the
그러면 제어부(140)는 참조번호 703과 같은 상태에서 인터랙션 릴리즈를 감지할 시 컨택트 정보와 연계하여 실행 가능한 어플리케이션들의 리스트를 참조번호 705에 도시된 바와 같이 팝업 윈도우(700)를 통해 나타낼 수 있다. 예를 들어, 참조번호 705에 도시된 바와 같이 <Message>, <Email>, <Facebook>, <Twitter> 등과 같은 어플리케이션들의 리스트가 팝업 윈도우(700)를 통해 팝업으로 나타날 수 있다. 이후, 사용자는 상기 팝업 윈도우(700)에서 희망하는 어플리케이션을 선택할 수 있다. 그리고 제어부(140)는 선택된 해당 어플리케이션을 실행하고 그의 실행화면 표시를 제어할 수 있다. 이때, 제어부(140)는 실행화면 표시 시 이벤트가 발생되는 해당 트레이 아이템의 컨택트 정보를 추출하고, 실행 어플리케이션에 대응하여 추출된 컨택트 정보 기반으로 상기 실행화면을 구성할 수 있다. 그리고 제어부(140)는 상기 트레이 아이템과 연계된 컨텐츠(예컨대, 참조번호 750의 이미지 아이템)를 상기 실행화면에 자동 입력하여 나타낼 수 있다. 이러한 화면 예시에 대해서는 후술하기로 한다.The
한편, 이상에서 도 7을 참조한 설명 부분에서 살펴본 바와 같이 컨택트 정보와 연계된 트레이 아이템을 통해 컨택트 정보가 필요한 어플리케이션 운용 시 상기 도 7과 같이 팝업 윈도우(700)를 통해 실행 가능한 어플리케이션 리스트를 나타낼 수 있다. 예를 들어, 특정 어플리케이션 실행 중에 사용자가 원하는 컨텐츠를 컨택트 트레이(400)의 임의의 트레이 아이템으로 드래그앤드롭 하여, 상기 컨텐츠와 상기 트레이 아이템의 컨택트 정보의 연계에 의해 실행 가능한 어플리케이션 리스트를 나타낼 수 있다. 그리고 어플리케이션 리스트에서 선택된 어플리케이션에 따라 상기 컨텐츠와 상기 컨택트 정보를 이용한 화면 구성을 자동 수행할 수 있다. 이에, 본 발명의 실시 예에서는 실행화면의 컨텐츠와 트레이 아이템의 컨택트 정보의 연계에 의한 실행 가능 어플리케이션을 미리 정의하거나, 또는 현재 실행된 어플리케이션 타입 등에 따라 대응하는 어플리케이션을 바로 실행할 수도 있다. 이러한 예시를 도 8 내지 도 10을 참조하여 살펴보기로 한다.7, when an application requiring contact information is operated through a tray item associated with the contact information, an application list executable through the pop-up
도 8은 본 발명의 실시 예에 따른 터치 디바이스에서 트레이 아이템의 컨택트 정보와 연계한 어플리케이션 운용 동작 예시를 도시한 도면이다.8 is a diagram illustrating an example of an application operation operation in connection with contact information of a tray item in a touch device according to an embodiment of the present invention.
상기 도 8을 참조하면, 참조번호 801에 도시된 바와 같이 표시부(120)의 실행화면 영역(300)에 임의의 어플리케이션 실행에 대응하는 실행화면(예컨대, 컨택트 리스트 실행화면)이 나타난 상태를 가정한다. 그리고 상기 컨택트 리스트는 적어도 2개의 구분된 영역들(예컨대, 컨택트들의 리스트를 나타내는 리스트 뷰 영역(710), 선택된 컨택트에 대응하는 정보를 나타내는 정보 뷰 영역(730) 등)을 통해 제공되거나 또는 특정 영역들의 구분 없이 하나의 영역을 통해 제공될 수도 있다. 그리고 상기 실행화면 일 측에 앞서 설명한 바와 같이 컨택트 트레이(400)가 나타난 상태를 가정한다.Referring to FIG. 8, it is assumed that an execution screen (for example, a contact list execution screen) corresponding to an arbitrary application execution is displayed in the
다음으로, 사용자는 참조번호 801과 같은 상태에서 실행화면의 특정 컨텐츠(예컨대, 'Han Paul' 컨택트(810))를 선택하여 참조번호 803에 도시된 바와 같이 컨택트 트레이(400)의 특정 트레이 아이템(850)으로 이동하여 릴리즈 하는 사용자 인터랙션을 입력할 수 있다. 예를 들어, 사용자는 실행화면의 컨택트 리스트에서 'Han Paul' 컨택트(810)를 선택한 후 참조번호 850의 트레이 아이템으로 드래그하여 드롭하는 드래그앤드롭 인터랙션을 입력할 수 있다. 이때, 참조번호 803에 도시된 바와 같이 컨텐츠(810)의 컨택트 트레이(400)로 이동에 따라 이벤트가 발생하는 해당 위치의 트레이 아이템(850)이 비주얼 이펙트가 반영되어 나타날 수 있다.Next, the user selects a specific content (e.g., 'Han Paul' contact 810) of the execution screen in the same state as the
그러면 제어부(140)는 상기 실행화면에서 입력되어 컨택트 트레이(400)로 이동되는 인터랙션을 감지하면 참조번호 805에 도시된 바와 같이 미리 정의된 어플리케이션(예컨대, 메일 어플리케이션)을 실행하고 그의 실행화면을 나타낼 수 있다. 예를 들어, 미리 정의된 어플리케이션이 메일 어플리케이션인 것을 가정하면, 참조번호 805에 도시된 바와 같이 메일 작성을 위한 다양한 입력 필드들을 가지는 실행화면이 나타날 수 있다. 그리고 제어부(140)는 상기 실행화면 제공 시 이벤트가 발생된 해당 트레이 아이템(850)과 상기 컨텐츠(810)를 기반으로 상기 실행화면을 구성하여 나타낼 수 있다. 예를 들어, 상기 트레이 아이템(850)에 대응하는 컨택트 정보를 추출하여 수신자 정보 필드(860)를 구성하고, 상기 컨텐츠(810)에 대응하는 컨택트 정보를 추출하여 제목 필드(870) 및 내용 필드(880)를 구성할 수 있다.Then, the
이러한 실행화면 구성 동작을 도 8에 나타낸 참조번호 805를 예시로 살펴보면, 제어부(140)는 상기 트레이 아이템(850)에 의한 이벤트 발생을 감지하면 미리 정의된 어플리케이션의 타입을 식별할 수 있다. 그리고 미리 정의된 어플리케이션을 인지할 시 해당 어플리케이션(예컨대, 메일 어플리케이션)에 따라 상기 트레이 아이템(850)에 대응하는 컨택트 정보를 추출할 수 있다. 이러한 컨택트 정보 추출은 트레이 아이템에 대응하는 컨택트에 대해 사용자가 저장부(120)(예컨대, 폰북)에 미리 등록한 컨택트 정보 기반으로 추출할 수 있다. 제어부(140)는 상기 예시에서 메일 어플리케이션에 따라 상기 트레이 아이템(850)에 등록된 컨택트 정보 중 메일 어드레스(예컨대, 'miranda@gmail.com')를 추출할 수 있다. 그리고 제어부(140)는 추출된 메일 어드레스(예컨대, 'miranda@gmail.com')를 수신자 정보 필드(860)에 입력하여 실행화면을 구성할 수 있다. 즉, 상기 트레이 아이템(850)의 컨택트 정보 기반으로 수신인을 자동 지정할 수 있다.8, the
또한 제어부(140)는 선택된 컨텐츠(810)의 타입 및 실행하는 어플리케이션 타입에 따라 상기 컨텐츠(810)로 실행화면을 구성하거나 또는 상기 컨텐츠(810)에 대응하는 정보(예컨대, 컨택트 정보)로 실행화면을 구성할 수 있다. 제어부(140)는 상기 예시에서 선택된 컨텐츠(810)가 컨택트이고 실행된 어플리케이션이 메일 어플리케이션인 것에 따라 상기 컨텐츠(810)에 등록된 컨택트 정보를 추출할 수 있다. 그리고 제어부(140)는 추출된 컨택트 정보를 내용 필드(880)에 입력하여 실행화면을 구성할 수 있다. 아울러, 상기 도 8의 예시가 특정 컨택트에 대한 컨택트 정보를 트레이 아이템에 대응하는 수신인으로 발송하는 예시임에 의거하여 제어부(140)는 제목 필드(870)를 'Contact info of Han Paul'과 같이 생성하여 자동 입력할 수도 있음은 물론이다.The
도 9는 본 발명의 실시 예에 따른 터치 디바이스에서 트레이 아이템의 컨택트 정보와 연계한 어플리케이션 운용 동작 예시를 도시한 도면이다.9 is a diagram illustrating an example of application operation operation in connection with contact information of a tray item in a touch device according to an embodiment of the present invention.
상기 도 9를 참조하면, 참조번호 901에 도시된 바와 같이 표시부(120)의 실행화면 영역(300)에 임의의 어플리케이션 실행에 대응하는 실행화면(예컨대, 사진 리스트 실행화면)이 나타난 상태를 가정한다. 그리고 상기 사진 리스트는 저장된 각 사진 데이터들의 썸네일에 의한 블록 타입으로 제공되거나, 또는 상기 도 9의 예시와 같이 각 사진 데이터들의 이미지와 그에 설정된 텍스트 정보에 의한 나열 타입으로 제공될 수 있다. 그리고 상기 실행화면 일 측에 앞서 설명한 바와 같이 컨택트 트레이(400)가 나타난 상태를 가정한다.9, it is assumed that an execution screen (for example, a photo list execution screen) corresponding to an arbitrary application execution is displayed in the
다음으로, 사용자는 참조번호 901과 같은 상태에서 실행화면의 특정 컨텐츠(예컨대, 특정 사진 데이터(910))를 선택하여 참조번호 903에 도시된 바와 같이 컨택트 트레이(400)의 특정 트레이 아이템(950)으로 이동하여 릴리즈 하는 사용자 인터랙션을 입력할 수 있다. 예를 들어, 사용자는 실행화면의 사진 리스트에서 특정 사진 데이터(910)를 선택한 후 참조번호 950의 트레이 아이템으로 드래그하여 드롭하는 드래그앤드롭 인터랙션을 입력할 수 있다. 이때, 참조번호 903에 도시된 바와 같이 컨텐츠(910)의 컨택트 트레이(400)로 이동에 따라 이벤트가 발생하는 해당 위치의 트레이 아이템(950)이 비주얼 이펙트가 반영되어 나타날 수 있다.Next, the user selects specific content (e.g., specific picture data 910) of the execution screen in the same state as
그러면 제어부(140)는 상기 실행화면에서 입력되어 컨택트 트레이(400)로 이동되는 인터랙션을 감지하면 참조번호 905에 도시된 바와 같이 미리 정의된 어플리케이션(예컨대, MMS 어플리케이션)을 실행하고 그의 실행화면을 나타낼 수 있다. 예를 들어, 미리 정의된 어플리케이션이 MMS 어플리케이션인 것을 가정하면, 참조번호 905에 도시된 바와 같이 MMS 작성을 위한 다양한 입력 필드들을 가지는 실행화면이 나타날 수 있다. 그리고 제어부(140)는 상기 실행화면 제공 시 이벤트가 발생된 해당 트레이 아이템(950)과 상기 컨택트(910)를 기반으로 상기 실행화면을 구성하여 나타낼 수 있다. 예를 들어, 상기 트레이 아이템(950)에 대응하는 컨택트 정보를 추출하여 수신자 정보 필드(960)를 구성하고, 상기 컨텐츠(910)를 내용 필드(또는 첨부 필드)(980)를 구성할 수 있다.Then, the
이러한 실행화면 구성 동작을 도 9에 나타낸 참조번호 905를 예시로 살펴보면, 제어부(140)는 상기 트레이 아이템(950)에 의한 이벤트 발생을 감지하면 미리 정의된 어플리케이션의 타입을 식별할 수 있다. 그리고 미리 정의된 어플리케이션을 인지할 시 해당 어플리케이션(예컨대, MMS 어플리케이션)에 따라 상기 트레이 아이템(950)에 대응하는 컨택트 정보를 추출할 수 있다. 제어부(140)는 상기 예시에서 MMS 어플리케이션에 따라 상기 트레이 아이템(950)에 등록된 컨택트 정보 중 모바일 전화번호(예컨대, '010-1234-5678')를 추출할 수 있다. 그리고 제어부(140)는 추출된 모바일 전화번호(예컨대, '010-1234-5678')를 수신자 정보 필드(960)에 입력하여 실행화면을 구성할 수 있다. 즉, 상기 트레이 아이템(950)의 컨택트 정보 기반으로 수신인을 자동 지정할 수 있다.9, the
또한 제어부(140)는 선택된 컨텐츠(910)의 타입 및 실행하는 어플리케이션 타입에 따라 상기 컨텐츠(910)로 실행화면을 구성하거나 또는 상기 컨텐츠(910)에 대응하는 정보로 실행화면을 구성할 수 있다. 제어부(140)는 상기 예시에서 선택된 컨텐츠(910)가 사진 데이터이고 실행된 어플리케이션이 MMS 어플리케이션인 것에 따라 상기 컨텐츠(910)의 사진 데이터를 내용 필드(980)에 입력하여 실행화면을 구성할 수 있다. 아울러, 상기 도 9의 예시에서 상기 내용 필드(980)에는 상기 사진 데이터와 함께 그에 대응하여 설정된 다른 정보(예컨대, 텍스트 정보)가 추가 입력될 수도 있다.The
도 10은 본 발명의 실시 예에 따른 터치 디바이스에서 트레이 아이템의 컨택트 정보와 연계한 어플리케이션 운용 동작 예시를 도시한 도면이다.10 is a diagram illustrating an example of application operation operation in connection with contact information of a tray item in a touch device according to an embodiment of the present invention.
상기 도 10을 참조하면, 참조번호 1001에 도시된 바와 같이 표시부(120)의 실행화면 영역(300)에 임의의 어플리케이션 실행에 대응하는 실행화면(예컨대, 수신 메일 실행화면)이 나타난 상태를 가정한다. 그리고 상기 실행화면 일 측에 앞서 설명한 바와 같이 컨택트 트레이(400)가 나타난 상태를 가정한다.Referring to FIG. 10, it is assumed that an execution screen (for example, a received mail execution screen) corresponding to the execution of an arbitrary application appears in the
다음으로, 사용자는 참조번호 1001과 같은 상태에서 실행화면의 특정 컨텐츠(예컨대, 텍스트(1010))를 선택할 수 있다. 상기 도 10에서는 컨텐츠의 일부인 텍스트(예컨대, ''010-1234-5678')를 지정 선택하는 경우를 예시로 한다. 예를 들어, 사용자는 수신 메일 실행화면 중 내용 필드(1080)에 있는 컨텐츠에서 희망하는 텍스트(예컨대, '010-1234-5678')를 참조번호 1001에 도시된 바와 같이 드래그 또는 스윕과 같은 인터랙션으로 블록 지정할 수 있다.Next, the user can select specific content (e.g., text 1010) of the execution screen in the same state as
다음으로, 사용자는 참조번호 1001과 같이 실행화면에서 블록 지정된 상기 텍스트(예컨대, '010-1234-5678')를 참조번호 1003에 도시된 바와 같이 선택하여 참조번호 1005에 도시된 바와 같이 컨택트 트레이(400)의 특정 트레이 아이템(1050)으로 이동하여 릴리즈 하는 사용자 인터랙션을 입력할 수 있다. 예를 들어, 사용자는 실행화면의 컨텐츠에서 블록 지정된 텍스트(1010)를 선택한 후 참조번호 1050의 트레이 아이템으로 드래그하여 드롭하는 드래그앤드롭 인터랙션을 입력할 수 있다. 이때, 참조번호 1005에 도시된 바와 같이 컨텐츠(1010)의 컨택트 트레이(400)로 이동에 따라 이벤트가 발생하는 해당 위치의 트레이 아이템(1050)이 비주얼 이펙트가 반영되어 나타날 수 있다.Next, the user selects the text (for example, " 010-1234-5678 ") designated as
그러면 제어부(140)는 상기 실행화면에서 입력되어 컨택트 트레이(400)로 이동되는 인터랙션을 감지하면 앞서 도 7 내지 도 9를 참조하면 설명 부분에서 설명한 바와 같이 미리 정의된 어플리케이션을 실행하거나 또는 실행 가능한 어플리케이션의 리스트를 팝업 윈도우를 통해 나타낼 수 있다.7 to 9, when the
예를 들어, 미리 정의된 어플리케이션이 메일 어플리케이션인 경우 도 8의 참조번호 805를 참조한 설명 부분에서 설명한 바와 같이 메일 어플리케이션을 실행하고 그의 실행화면 구성을 처리할 수 있다. 또는 미리 정의된 어플리케이션이 MMS 어플리케이션인 경우 도 9의 참조번호 905를 참조한 설명 부분에서 설명한 바와 같이 MMS 어플리케이션을 실행하고 그의 실행화면 구성을 처리할 수 있다. 이 외에도 미리 정의된 어플리케이션에 따라 페이스북 어플리케이션, 트위터 어플리케이션 등을 실행하고 그의 실행화면 구성을 처리할 수도 있다. 또한 실행할 어플리케이션이 미리 정의되지 않은 경우 도 7의 참조번호 705를 참조한 설명 부분에서 설명한 바와 같이 실행 가능한 어플리케이션 리스트를 팝업 윈도우를 통해 나타내고, 팝업 윈도우에서 사용자에 의해 선택되는 어플리케이션 실행 및 그의 실행화면 구성을 처리할 수도 있다.For example, if the predefined application is a mail application, the mail application can be executed and its execution screen configuration can be processed as described in the description with reference to reference numeral 805 in Fig. Alternatively, if the predefined application is an MMS application, the MMS application can be executed and its execution screen configuration can be processed as described in the description with reference to reference numeral 905 in FIG. In addition to this, it is possible to execute a Facebook application, a Twitter application, etc. according to a predefined application and process its execution screen configuration. If the application to be executed is not defined in advance, the executable application list is displayed in a pop-up window as described in the description with reference to the
한편, 이상에서 도 7 내지 도 10에서는 실행화면의 컨텐츠를 컨택트 트레이(400)에 나타난 임의의 트레이 아이템으로 이동하는 사용자 인터랙션에 따라 어플리케이션을 운용하는 동작에 대한 예시들에 대하여 살펴보았다. 다음으로, 이하에서는 컨택트 트레이(400)의 트레이 아이템을 실행된 어플리케이션의 실행화면으로 이동하는 사용자 인터랙션에 따라 어플리케이션을 운용하는 동작 예시에 대하여 살펴보기로 한다.7 to 10, examples of the operation of operating the application according to the user interaction for moving the content of the execution screen to an arbitrary tray item displayed in the
도 11은 본 발명의 실시 예에 따른 터치 디바이스에서 트레이 아이템의 컨택트 정보와 연계한 어플리케이션 운용 동작 예시를 도시한 도면이다.11 is a diagram illustrating an example of an application operation operation in connection with contact information of a tray item in a touch device according to an embodiment of the present invention.
상기 도 11을 참조하면, 참조번호 1101에 도시된 바와 같이 표시부(120)의 실행화면 영역(300)에 임의의 어플리케이션 실행에 대응하는 실행화면(예컨대, 메일 작성 실행화면)이 나타난 상태를 가정한다. 이때, 본 명세서에서 메일 작성 실행화면은 참조번호 1101에 도시된 바와 같이 수신자 정보 필드(1110), 참조자 정보 필드(1120), 제목 필드(1130), 첨부 필드(1140) 및 내용 필드(1150)로 이루어진 것을 예시로 한다. 그리고 상기 참조번호 1101에 나타낸 실행화면은 사용자의 메일 어플리케이션 운용에 따라 상기 각 필드들(1110, 1120, 1130, 1140, 1150)이 공백 상태인 초기의 메일 작성 실행화면인 것을 가정한다. 또한 상기 실행화면 일 측에 앞서 설명한 바와 같이 컨택트 트레이(400)가 나타난 상태를 가정한다.Referring to FIG. 11, it is assumed that an execution screen (for example, a mail creation execution screen) corresponding to the execution of an arbitrary application appears in the
다음으로, 사용자는 참조번호 1101과 같은 상태에서 컨택트 트레이(400)의 임의의 트레이 아이템을 이용하여 그에 대응하는 컨택트 정보로 상기 실행화면을 구성할 수 있다. 예를 들면, 사용자는 참조번호 1101과 같은 상태에서 컨택트 트레이(400)의 제1 트레이 아이템(1160)을 선택하여 참조번호 1103에 도시된 바와 같이 상기 실행화면의 수신자 정보 필드(1110)로 이동하여 릴리즈 하는 사용자 인터랙션을 입력할 수 있다. 즉, 사용자는 컨택트 트레이(400)의 제1 트레이 아이템(1160)을 선택한 후 메일 작성 실행화면의 수신자 정보 필드(1110)에 드래그하여 드롭하는 드래그앤드롭 인터랙션을 입력할 수 있다.Next, the user can use the arbitrary tray item of the
그러면 제어부(140)는 컨택트 트레이(400)에서 특정 트레이 아이템이 선택되어 실행화면으로 이동되는 인터랙션을 감지하면 참조번호 1103 및 참조번호 1105에 도시된 바와 같이 상기 트레이 아이템에 대응하는 컨택트 정보를 기반으로 실행화면을 구성하여 나타낼 수 있다.If the
이러한 실행화면 구성 동작을 도 11에 나타낸 참조번호 1103을 예시로 살펴보면, 제어부(140)는 상기 트레이 아이템(1160)에 의한 이벤트 발생을 감지하면 상기 트레이 아이템(1160)에 대응하는 컨택트 정보를 추출할 수 있다. 이때, 제어부(140)는 상기 트레이 아이템(1160)이 상기 실행화면에서 이동되는 영역의 타입(예컨대, 앞서 설명한 바와 같은 실행 어플리케이션에 대응하게 제공되는 입력 필드들의 타입)을 식별하고, 그에 대응하는 컨택트 정보를 추출할 수 있다. 예를 들어, 상기 도 11의 예시에서 상기 트레이 아이템(1160)이 수신자 정보 필드(1110)인 것에 따라 제어부(140)는 상기 트레이 아이템(1160)에 대응하는 컨택트 정보 중 메일 어드레스(예컨대, 'miranda@gmail.com')를 추출할 수 있다. 그리고 제어부(140)는 추출된 메일 어드레스(예컨대, 'miranda@gmail.com')를 수신자 정보 필드(1110)에 입력하여 실행화면을 구성할 수 있다. 즉, 상기 트레이 아이템(1160)의 컨택트 정보 기반으로 수신인을 자동 지정할 수 있다. 또한, 만약 실행 어플리케이션이 MMS 어플리케이션이고 또한 트레이 아이템(1160)이 이동되는 영역의 타입이 수신자 정보 필드인 경우 제어부(140)는 상기 트레이 아이템의 컨택트 정보 중 모바일 전화번호를 추출하여 상기 수신자 정보 필드에 입력하여 나타낼 수 있다.11, the
또한 사용자는 위와 같은 동작에 의하여 작성 메일의 동보 전송을 위한 다수의 수신자 정보를 입력할 수 있다. 예를 들어, 다른 트레이 아이템의 이동에 의하여 수신자 정보 필드(1110)를 추가 구성하거나, 참조자 정보 필드(1120)를 구성할 수 있다.Also, the user can input a plurality of recipient information for the broadcast transmission of the created mail by the above-described operation. For example, the
다음으로, 사용자는 앞서 설명한 바와 같은 동작에 대응하여 참조번호 1105에 도시된 바와 같이 제2 트레이 아이템(1170)과 제3 트레이 아이템(1180)을 이용하여 실행화면을 구성할 수 있다. 예를 들어, 사용자는 제2 트레이 아이템(1170)을 첨부 필드(1140)로 드래그하여 드롭하는 드래그앤드롭 인터랙션에 의하여 제2 트레이 아이템(1170)의 컨택트 정보 중 사용자 이미지를 첨부할 수 있다. 이러한 경우 제어부(140)는 제2 트레이 아이템(1170)이 이동되는 영역의 타입을 식별하고 그에 대응하여 제2 트레이 아이템(1170)의 컨택트 정보 중 사용자 이미지를 추출하고 추출된 사용자 이미지를 첨부 필드(1140)에 첨부할 수 있다. 또한 사용자는 제3 트레이 아이템(1180)을 내용 필드(1150)로 드래그하여 드롭하는 드래그앤드롭 인터랙션에 의하여 제3 트레이 아이템(1180)의 컨택트 정보를 입력할 수 있다. 이러한 경우 제어부(140)는 제3 트레이 아이템(1180)이 이동되는 영역의 타입을 식별하고 그에 대응하여 제3 트레이 아이템(1180)의 컨택트 정보를 추출하고 추출된 모든 컨택트 정보를 내용 필드(1150)에 입력하여 나타낼 수 있다.Next, the user may configure the execution screen using the
한편, 본 발명의 실시 예에 따르면 사용자의 편의 및 트레이 아이템을 이용한 조작의 직관성을 고려하여 상기 도 11과 같은 동작 운용 시 컨택트 정보를 이용할 수 없는 영역으로 트레이 아이템이 이동될 시, 해당 트레이 아이템의 이동이 불가함을 알람 하는 기능을 제공할 수 있다. 이러한 동작 예시에 대하여 도 12를 참조하여 살펴보기로 한다.According to the embodiment of the present invention, considering the convenience of the user and the intuitiveness of the operation using the tray item, when the tray item is moved to an area where the contact information is not available at the time of operation as shown in FIG. 11, It is possible to provide a function of alarming that movement is impossible. This operation example will be described with reference to FIG.
도 12는 본 발명의 실시 예에 따른 터치 디바이스에서 트레이 아이템의 컨택트 정보와 연계한 어플리케이션 운용 동작 예시를 도시한 도면이다.12 is a diagram illustrating an example of an application operation operation in connection with contact information of a tray item in a touch device according to an embodiment of the present invention.
상기 도 12를 참조하면, 앞서 도 11을 참조한 설명 부분에서 설명한 바와 같이 메일 작성 실행화면이 나타난 상태를 가정한다. 이때, 상기 메일 작성 실행화면은 제목 필드(1210)와 내용 필드(1230) 등을 포함하는 것을 예시로 한다. 그리고 본 명세서에서는 상기 제목 필드(1210)의 경우 트레이 아이템의 이동이 불가능한 즉, 컨택트 정보 기반으로 운용되지 않는 영역인 것을 가정한다. 또한 상기 실행화면 일 측에 앞서 설명한 바와 같이 컨택트 트레이(400)가 나타난 상태를 가정한다.Referring to FIG. 12, it is assumed that a mail creation execution screen is displayed as described in the description with reference to FIG. At this time, the mail creation execution screen includes a
다음으로, 사용자는 상기와 같은 실행화면이 나타난 상태에서 컨택트 트레이(400)의 임의의 트레이 아이템(1250)을 실행화면으로 이동하는 사용자 인터랙션을 입력할 수 있다. 예를 들어, 사용자는 컨택트 트레이(400)의 상기 트레이 아이템(1250)을 선택한 후 상기 메일 작성 실행화면으로 드래그 또는 스윕과 같은 인터랙션을 입력할 수 있다.Next, the user may input a user interaction for moving an
그러면 제어부(140)는 컨택트 트레이(400)에서 상기 트레이 아이템(1250)이 선택되어 실행화면으로 이동되는 인터랙션을 감지하면 상기 트레이 아이템(1250)이 실행화면 상에 위치된 영역의 타입(예컨대, 앞서 설명한 바와 같은 실행 어플리케이션에 대응하게 제공되는 입력 필드들의 타입)을 체크할 수 있다. 그리고 해당 영역이 컨택트 정보 기반의 입력이 가능한 영역인지 또는 불가능한 영역인지 판단할 수 있다. 이어서, 제어부(140)는 해당 영역이 컨택트 정보 기반의 입력이 가능한 영역인지 불가능한 영역인지에 대응하여 상기 트레이 아이템(1250)에 대응하는 플로팅(floating) 아이템에 다른 비주얼 이펙트를 적용하여 나타낼 수 있다.If the
예를 들어, 앞서 설명한 바와 같이 상기 메일 작성 실행화면에서 제목 필드(1210)가 컨택트 정보 기반의 입력이 불가능한 영역이고, 내용 필드(1230)가 컨택트 정보 기반의 입력이 가능한 영역인 것을 가정한다. 이러한 경우 상기와 같이 컨택트 트레이(400)의 트레이 아이템(1250)이 사용자 인터랙션에 대응하여 실행화면으로 이동될 시 플로팅 아이템(1260, 1270)에 의하여 사용자 인터랙션에 따른 트레이 아이템의 이동 경로가 비주얼적으로 나타난다.For example, as described above, it is assumed that the
본 발명의 실시 예에 따르면 사용자의 직관성을 고려하여 트레이 아이템 즉, 플로팅 아이템(1260, 1270)이 위치하는 영역의 타입에 따라 참조번호 1260의 플로팅 아이템 또는 참조번호 1270의 플로팅 아이템이 나타날 수 있다. 예를 들어, 사용자 인터랙션에 따라 이동되는 영역이 제목 필드(1210) 상에 위치할 시 트레이 아이템(1250)의 컨택트 정보 기반으로 입력이 불가능함을 지시하는 플로팅 아이템(1260)이 나타날 수 있다. 반면, 사용자 인터랙션에 따라 이동되는 영역이 내용 필드(1230) 상에 위치할 시 트레이 아이템(1250)의 컨택트 정보 기능으로 입력이 가능함을 지시하는 플로팅 아이템(1270)이 나타날 수 있다. 이러한 참조번호 1260 및 참조번호 1270의 플로팅 아이템은 사용자 인터랙션의 이동에 따라 위치되는 영역에 대응하여 적응적으로 전환되어 나타날 수 있다.In accordance with an embodiment of the present invention, a floating item of
그리고 트레이 아이템(1250)의 플로팅 아이템이 참조번호 1260과 같이 나타난 상태에서 사용자가 입력된 인터랙션을 릴리즈 할 시 해당 영역에서는 어떠한 컨택트 정보의 입력도 발생되지 않는다. 반면, 트레이 아이템(1250)의 플로팅 아이템이 참조번호 1270과 같이 나타난 상태에서 사용자가 입력된 인터랙션을 릴리즈 할 시 해당 영역에서는 앞서 설명한 바와 같이 추출된 컨택트 정보가 입력되어 나타날 수 있다.When the floating item of the
도 13은 본 발명의 실시 예에 따른 터치 디바이스에서 이벤트 발생을 알람하고 이를 컨택트 트레이를 통해 추적하여 제공하는 동작 예시를 도시한 도면이다.13 is a diagram illustrating an example of an operation in which a touch device according to an exemplary embodiment of the present invention alerts an occurrence of an event and tracks the event through a contact tray.
상기 도 13을 참조하면, 참조번호 1301은 컨택트 트레이(400)가 활성화되기 전의 상태를 나타낸 것이고, 참조번호 1303은 컨택트 트레이(400)가 활성화된 상태를 나타낸 것이다. 그리고 상기 도 13에서는 참조번호 1301과 같이 컨택트 트레이(400)가 활성화되기 전의 상태에서 컨택트 트레이(400)에 존재하는 트레이 아이템들 중 특정 트레이 아이템에 대응하는 특정 컨택트(사용자)로부터 이벤트(예컨대, 메일 수신, 메시지 수신, SNS에 따른 데이터 등록 등의 통신 이벤트)가 발생되는 경우를 가정한다.Referring to FIG. 13,
다음으로, 상기와 같이 트레이 아이템에 대응하는 특정 컨택트로부터 통신 이벤트가 발생할 시 참조번호 1301에 도시된 바와 같이 트레이 인디케이터 영역(250)을 통해 통신 이벤트 발생을 알리는 알람을 발생할 수 있다. 예를 들어, 트레이 인디케이터 영역(250)을 깜박이거나, 컬러를 변경하거나, 하이라이트로 처리하는 등의 알람을 시각적으로 나타낼 수 있다. 이때, 통신 이벤트 발생 시 진동 및 사운드 중 적어도 하나와 조합하여 알람을 발생할 수도 있다.Next, when a communication event is generated from the specific contact corresponding to the tray item as described above, an alarm may be generated to inform the occurrence of the communication event through the
다음으로, 사용자는 상기 참조번호 1301과 같이 통신 이벤트에 따른 알람을 발생하는 상태에서 상기 트레이 인디케이터 영역(250)에 설정된 사용자 인터랙션을 입력할 수 있다. 예를 들어, 사용자는 컨택트 트레이(400) 호출을 위하여 트레이 인디케이터 영역(250)에 호출 인터랙션을 입력할 수 있다. 본 발명의 실시 예에서 상기 호출 인터랙션은 트레이 인디케이터 영역(250)을 탭 하는 탭 인터랙션, 트레이 인디케이터 영역(250) 터치 후 아래 방향으로 이동하는 스윕 인터랙션 및 플릭 인터랙션 등을 포함하며, 사용자는 어느 하나의 설정된 인터랙션을 입력할 수 있다.Next, the user can input the user interaction set in the
그러면 제어부(140)는 참조번호 1301과 같은 상태에서 트레이 인디케이터 영역(250)에 호출 인터랙션을 감지하면 참조번호 1303에 도시된 바와 같이 컨택트 트레이(400)를 실행화면 상의 일 영역에 나타낸다. 이때, 제어부(140)는 상기 통신 이벤트가 발생에 대응하는 트레이 아이템을 추적할 수 있다. 예를 들어, 제어부(140)는 통신 이벤트에 따른 컨택트 정보를 기반으로 해당 트레이 아이템을 추적할 수 있다.When the
그리고 제어부(140)는 추적된 트레이 아이템을 다른 트레이 아이템과 구별되는 비주얼 이펙트를 부여하여 나타낼 수 있다. 예를 들어, 제어부(140)는 참조번호 1350에 도시된 바와 같이 통신 이벤트에 대응하는 트레이 아이템을 깜박이거나, 컬러를 변경하거나, 하이라이트로 처리 등의 이펙트를 부여하여 나타낼 수 있다.The
한편, 상기 통신 이벤트에 대응하여 추적된 트레이 아이템이 현재 화면 상에 나타난 컨택트 트레이(400) 내에 존재하지 않을 수 있다. 이러한 경우 해당 트레이 아이템을 나타내기 위해서는 스크롤이 필요하다. 이에 본 발명의 실시 예에서는 사용자 편의 및 통신 이벤트에 대응하는 트레이 아이템 추적의 직관성을 고려하여, 통신 이벤트 발생에 따라 추적된 트레이 아이템에 대해 스크롤이 필요한 경우 해당 트레이 아이템의 위치까지 자동 스크롤이 이루어질 수 있다. 그리고 스크롤에 따라 추적된 트레이 아이템이 나타날 시 해당 트레이 아이템에 앞서 설명한 바와 같은 이펙트가 부여되어 컨택트 트레이(400)에 제공될 수 있다.Meanwhile, the tray item tracked in response to the communication event may not exist in the
한편, 이상에서는 그의 도시 및 설명은 생략하였으나, 본 발명에서 제공되는 컨택트 트레이(400)는 모든 실행화면 상에 오버레이 되어 나타날 수 있다. 즉, 최상위 레이어로 나타날 수 있다. 다만, 본 발명에 따르면 상기 컨택트 트레이(400)는 자신보다 우선되는 실행화면이 나타날 시 해당 실행화면 레이어의 하위에 나타날 수 있다. 예를 들어, 제1 실행화면(예컨대, 메일 작성 실행화면)이 나타나고, 상기 제1 실행화면 상위에 컨택트 트레이(400)가 나타난 상태를 가정한다. 이때, 사용자가 메일 작성에 따른 텍스트 입력을 위하여 가상의 키패드를 호출할 시 상기 가상의 키패드에 따른 제2 실행화면(키패드 실행화면)이 컨택트 트레이(400)보다 상위에 나타날 수 있다. 이러한 경우 표시부(120)의 레이어 구성을 보면, 최하단에 제1 실행화면이 배치되고, 중단에 컨택트 트레이(400)가 배치되고 최상단에 제2 실행화면이 배치되는 구조일 수 있다. 이는 사용자의 텍스트 입력의 편의성을 제공하기 위해 고려될 수 있다. 따라서 만약 컨택트 트레이(400)를 항상 최상단으로 나타내는 경우 상기 가상의 키패드와 같은 실행화면은 컨택트 트레이(400)를 침범하지 않는 범위로 제공될 수 있다. 예를 들어, 가상의 키패드 폭의 경계를 컨택트 트레이(400)와 인접된 경계로 하여 나타낼 수 있다.Although not shown and described above, the
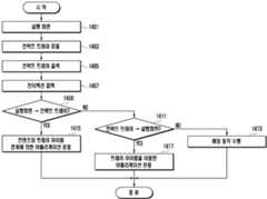
도 14는 본 발명의 실시 예에 따른 터치 디바이스에서 컨택트 정보와 연계된 트레이 아이템을 이용한 어플리케이션 운용 방법을 도시한 흐름도이다.14 is a flowchart illustrating a method of operating an application using a tray item associated with contact information in a touch device according to an embodiment of the present invention.
상기 도 14를 참조하면, 제어부(140)는 특정 모드 수행에 따른 실행화면을 나타낼 수 있다(1401단계). 예를 들어, 제어부(140)는 대기모드 운용에 따른 대기화면, 특정 어플리케이션 운용에 따른 어플리케이션 실행화면 등을 표시부(120)를 통해 나타낼 수 있다.Referring to FIG. 14, the
다음으로, 제어부(140)는 실행화면 제공 중에 컨택트 트레이(400)를 호출하는 호출 인터랙션 입력을 감지할 수 있다(1403단계). 예를 들어, 사용자가 트레이 인디케이터 영역(250)에 탭 인터랙션을 입력하면, 표시부(120)는 상기 탭 인터랙션에 대한 입력신호를 생성하여 제어부(140)로 전달하고, 제어부(140)는 상기 입력신호를 수신에 따라 컨택트 트레이(400) 호출을 인지할 수 있다.Next, the
다음으로, 제어부(140)는 트레이 인디케이터 영역(250)에 호출 인터랙션이 입력되면 앞서 설명한 바와 같이 컨택트 트레이(400)를 상기 실행화면 상의 일 영역에 나타낸다(1405단계). 이때, 제어부(140)는 상기 컨택트 트레이(400) 제공 시 통신 이벤트 발생 여부를 체크하고, 그에 대응하여 앞서 도 13을 참조한 설명 부분에서 설명한 바와 같이 해당 트레이 아이템에 대한 이펙트 부여 또는 해당 트레이 아이템의 위치까지 자동 스크롤 후 이펙트 부여 등과 같은 동작을 제어할 수 있다.Next, when the calling interaction is input to the
다음으로, 제어부(140)는 컨택트 트레이(400) 또는 실행화면 상에서 인터랙션 입력을 감지할 수 있다(1407단계). 예를 들어, 앞서 도 5 내지 도 12를 참조한 설명 부분에서 설명한 바와 같이 컨택트 트레이(400) 내에서 트레이 아이템의 스크롤 제어를 위한 인터랙션, 실행화면에서 시작되어 컨택트 트레이(400)로 이동되는 인터랙션 또는 컨택트 트레이(400)에서 시작되어 실행화면으로 이동되는 인터랙션 등의 입력을 감지할 수 있다.Next, the
다음으로, 제어부(140)는 인터랙션 입력을 감지하면 해당 인터랙션의 종류를 판단할 수 있다(1409단계, 1411단계). 예를 들어, 제어부(140)는 인터랙션 입력이 컨택트 트레이(400)의 트레이 아이템과 실행화면의 컨텐츠와 연계한 어플리케이션 운용을 위한 인터랙션 입력인지 분석할 수 있다. 그리고 어플리케이션 운용을 위한 인터랙션이면 해당 인터랙션이 실행화면에서 시작되어 컨택트 트레이(400)의 특정 트레이 아이템으로 이동하는 인터랙션인지(1409단계) 또는 컨택트 트레이(400)의 특정 트레이 아이템에서 시작되어 실행화면의 특정 영역으로 이동하는 인터랙션인지(1411단계) 판단할 수 있다.Next, when the
다음으로, 제어부(140)는 인터랙션 입력이 어플리케이션 운용을 위한 인터랙션 입력이 아니면(1409단계의 NO, 1411단계의 NO), 해당 동작 수행을 제어할 수 있다(1413단계). 예를 들어, 제어부(140)는 앞서 도 5를 참조한 설명 부분에서 설명한 바와 같이 인터랙션 입력에 대응하여 컨택트 트레이(400)의 제2 아이템 영역(450)에 있는 트레이 아이템들의 스크롤을 제어할 수 있다. 또는 제어부(140)는 앞서 도 6을 참조한 설명 부분에서 설명한 바와 같이 인터랙션 입력에 대응하여 컨택트 트레이(400) 내에서 선택되는 트레이 아이템에 대한 팝업 윈도우(500) 출력을 제어할 수 있다.Next, if the interaction input is not an interaction input for application operation (NO in
다음으로, 제어부(140)는 인터랙션 입력이 어플리케이션 운용을 위한 인터랙션 중 실행화면에서 시작되어 컨택트 트레이(400)의 특정 트레이 아이템으로 이동하는 인터랙션이면(1409단계의 YES), 인터랙션에 대응하여 선택된 실행화면의 컨텐츠와 인터랙션이 이동되어 위치하는 트레이 아이템의 컨택트 정보의 연계에 의해 어플리케이션 운용 및 그에 따른 실행화면 구성을 제어할 수 있다(1415단계). 이의 상세 동작에 대해 후술하는 도 15를 참조하여 설명될 것이다.Next, if the interaction input is an interaction that starts from an execution screen during the interaction for application operation and moves to a specific tray item of the contact tray 400 (YES in step 1409), the
다음으로, 제어부(140)는 인터랙션 입력이 어플리케이션 운용을 위한 인터랙션 중 컨택트 트레이(400)의 특정 트레이 아이템에서 시작되어 실행화면의 특정 영역으로 이동하는 인터랙션이면(1411단계의 YES), 인터랙션에 대응하여 선택된 트레이 아이템의 컨택트 정보를 기반으로 어플리케이션 운용 및 그에 따른 실행화면 구성을 제어할 수 있다(1417단계). 이의 상세 동작에 대해 후술하는 도 16을 참조하여 설명될 것이다.Next, if the interaction input is an interaction that starts from a specific tray item of the
도 15는 상기 도 14에 따른 트레이 아이템의 컨택트 정보 기반의 어플리케이션 운용 방법을 도시한 흐름도이다. 특히, 도 15는 도 14에 따른 1415단계의 상세 동작을 나타낸 것이다.FIG. 15 is a flowchart illustrating a method of operating an application based on contact information of a tray item according to FIG. Particularly, FIG. 15 shows the detailed operation of
상기 도 15를 참조하면, 제어부(140)는 앞서 설명한 바와 같이 실행화면에서 시작되어 컨택트 트레이(400)의 특정 트레이 아이템으로 이동하는 인터랙션이 입력되면(1501단계), 어플리케이션 실행 방식을 체크할 수 있다(1503단계). 예를 들어, 제어부(140)는 1501단계와 같은 인터랙션 입력에 대응하여 실행될 어플리케이션이 설정되어 있는지 여부를 판단할 수 있다(1505단계).Referring to FIG. 15, the
다음으로, 제어부(140)는 설정된 어플리케이션이 있으면(1505단계의 YES), 설정된 어플리케이션을 실행한다(1507단계). 그리고 제어부(140)는 상기 어플리케이션 실행 시 앞서 설명한 바와 같이 트레이 아이템에 대응하는 컨택트 정보와 컨텐츠(또는 컨텐츠에 대응하는 정보)를 추출하고 그들의 조합을 결정할 수 있다(1509단계).Next, if there is an application set (YES in step 1505), the
다음으로, 제어부(140)는 결정된 조합에 따라 실행 어플리케이션에 따른 실행화면을 구성하여 나타낼 수 있다(1511단계). 예를 들어, 제어부(140)는 앞서 도 8 내지 도 10을 참조한 설명 부분에서 설명한 바와 같이 트레이 아이템의 컨택트 정보 기반으로 수신인을 자동 설정하고 컨텐츠(또는 컨텐츠에 대응하는 정보) 기반으로 내용 구성을 자동 설정하여 나타낼 수 있다.Next, the
다음으로, 제어부(140)는 실행 어플리케이션의 실행화면을 구성한 후 요청 동작 수행을 제어할 수 있다(1513단계). 예를 들어, 제어부(140)는 트레이 아이템의 컨택트 정보 기반의 수신인으로 하고 상기 컨텐츠(또는 컨텐츠에 대응하는 정보)를 내용으로 포함하여 상기 어플리케이션에 따른 기능 수행을 제어할 수 있다. 예를 들어, 상기 실행되는 어플리케이션에 따라 메일 발신, 메시지 발신, 페이스북 등록, 트위터 등록 등과 같이 등에 동작을 수행할 수 있다.Next, the
다음으로, 제어부(140)는 설정된 어플리케이션이 없으면(1505단계의 NO), 실행 가능한 어플리케이션이 등록된 팝업 윈도우(700)를 출력할 수 있다(1515단계). 예를 들어, 제어부(140)는 앞서 도 7을 참조한 설명 부분에서 설명한 바와 같이 실행 가능한 다수의 어플리케이션들이 등록된 팝업 윈도우(700)를 팝업으로 나타낼 수 있다.Next, if there is no set application (NO in step 1505), the
다음으로, 제어부(140)는 상기 팝업 윈도우(700)에서 특정 어플리케이션을 선택하는 인터랙션 입력을 감지할 수 있다(1517단계). 그러면 제어부(140)는 선택된 어플리케이션을 실행한다(1519단계). 그리고 제어부(140)는 상기 1509단계로 진행하여 앞서 설명한 바와 같은 상기 1509단계 이하의 동작을 제어할 수 있다.Next, the
도 16은 상기 도 14에 따른 트레이 아이템의 컨택트 정보 기반의 어플리케이션 운용 방법을 도시한 흐름도이다. 특히, 도 16은 도 14에 따른 1417단계의 상세 동작을 나타낸 것이다.FIG. 16 is a flowchart illustrating a method of operating an application based on contact information of a tray item according to FIG. Particularly, FIG. 16 shows the detailed operation of
상기 도 16을 참조하면, 제어부(140)는 앞서 설명한 바와 같이 컨택트 트레이(400)의 특정 트레이 아이템에서 시작되어 실행화면의 특정 영역으로 이동하는 인터랙션이 입력되면(1601단계), 상기 인터랙션이 위치하는 영역이 컨택트 정보 기반의 입력이 가능한 영역인지 판단한다(1603단계).Referring to FIG. 16, when the interaction starting from the specific tray item of the
다음으로, 제어부(140)는 상기 인터랙션이 위치하는 영역이 컨택트 정보 기반의 입력이 불가능한 영역인 경우(1603단계의 NO) 상기 트레이 아이템에 대응하는 플로팅 아이템을 앞서 도 12를 참조한 설명 부분에서 설명한 바와 같이 컨택트 정보 입력 불가를 지시하는 플로팅 아이템으로 나타낸다(1605단계). 그리고 제어부(140)는 해당 동작 수행을 제어할 수 있다(1607단계). 예를 들어, 제어부(140)는 앞서 도 12를 참조한 설명 부분에서 설명한 바와 같이 인터랙션이 컨택트 정보 기반의 입력이 가능한 영역으로의 이동에 대응하여 상기 플로팅 아이템을 컨택트 정보 입력 가능을 지시하는 플로팅 아이템으로 전환하여 나타낼 수 있다. 또한 제어부(140)는 1609단계로 진행하여 1609단계 이하의 동작을 제어할 수 있다.Next, if the area where the interaction is located is an area where input of the contact information is not possible (NO in step 1603), the
다음으로, 제어부(140)는 상기 인터랙션이 위치하는 영역이 컨택트 정보 기반의 입력이 가능한 영역인 경우(1603단계의 YES) 상기 트레이 아이템에 대응하는 컨택트 정보를 추출할 수 있다(1609단계). 그리고 제어부(140)는 상기 인터랙션이 입력된 영역의 타입을 분석할 수 있다(1611단계). 예를 들어, 제어부(140)는 앞서 도 11을 참조한 설명 부분에서 설명한 바와 같이 상기 인터랙션에 따라 상기 트레이 아이템이 이동된 영역의 타입을 분석할 수 있다. 본 발명의 실시 예에서 상기 1609단계 및 상기 1611단계의 선후 관계는 반드시 위의 과정에 의해 이루어지는 것은 아니며, 1611단계가 선행되고 1609단계가 후행될 수 있음은 물론이다.Next, in
다음으로, 제어부(140)는 상기 영역의 타입에 대응하여 상기에서 추출된 컨택트 정보를 입력하여 나타낼 수 있다(1613단계). 예를 들어, 제어부(140)는 앞서 도 11을 참조한 설명 부분에서 설명한 바와 같이 상기 트레이 아이템에 대응하는 컨택트 정보를 기반으로 실행화면의 해당 영역을 구성하여 나타낼 수 있다.Next, the
다음으로, 제어부(140)는 다른 트레이 아이템의 이동이 더 있는지 여부를 판단할 수 있다(1615단계). 그리고 제어부(140)는 다른 트레이 아이템의 추가 이동이 있는 경우(1615단계의 YES) 전술한 1603단계로 진행하여 1603단계 이하의 동작을 제어할 수 있다.Next, the
다음으로, 제어부(140)는 실행 어플리케이션의 실행화면을 구성한 후 요청 동작 수행을 제어할 수 있다(1617단계). 예를 들어, 제어부(140)는 트레이 아이템의 컨택트 정보 기반으로 구성된 실행화면을 토대로 상기 어플리케이션에 따른 기능 수행을 제어할 수 있다. 예를 들어, 상기 실행되는 어플리케이션에 따라 메일 발신, 메시지 발신, 페이스북 등록, 트위터 등록 등과 같이 등에 동작을 수행할 수 있다.Next, the
한편, 상술한 바와 같은 본 발명의 컨택트 정보와 연계된 트레이 아이템을 이용한 터치 디바이스의 기능 수행 방법은 다양한 컴퓨터 수단을 통하여 수행될 수 있는 프로그램 명령 형태로 구현되어 컴퓨터로 판독 가능한 기록 매체에 기록될 수 있다. 이때, 상기 컴퓨터로 판독 가능한 기록 매체는 프로그램 명령, 데이터 파일, 데이터 구조 등을 단독으로 또는 조합하여 포함할 수 있다. 한편, 기록 매체에 기록되는 프로그램 명령은 본 발명을 위하여 특별히 설계되고 구성된 것들이거나 컴퓨터 소프트웨어 당업자에게 공지되어 사용 가능한 것일 수도 있다.Meanwhile, the method for performing the function of the touch device using the tray item associated with the contact information of the present invention as described above may be implemented in the form of a program command that can be executed through various computer means, have. At this time, the computer readable recording medium may include a program command, a data file, a data structure, or the like, alone or in combination. On the other hand, the program instructions recorded on the recording medium may be those specially designed and configured for the present invention or may be available to those skilled in the art of computer software.
상기 컴퓨터로 판독 가능한 기록 매체에는 하드디스크, 플로피디스크 및 자기 테이프와 같은 자기매체(Magnetic Media), CD-ROM(Compact Disc Read Only Memory), DVD(Digital Versatile Disc)와 같은 광기록 매체(Optical Media), 플로티컬 디스크(Floptical Disk)와 같은 자기-광 매체(Magneto-Optical Media), 및 ROM(Read Only Memory), RAM(Random Access Memory), 플래시 메모리 등과 같은 프로그램 명령을 저장하고 수행하도록 특별히 구성된 하드웨어 장치가 포함된다. 또한, 프로그램 명령에는 컴파일러에 의해 만들어지는 것과 같은 기계어 코드뿐만 아니라 인터프리터 등을 사용해서 컴퓨터에 의해서 실행될 수 있는 고급 언어 코드를 포함한다. 상술한 하드웨어 장치는 본 발명의 동작을 수행하기 위해 하나 이상의 소프트웨어 모듈로서 작동하도록 구성될 수 있으며, 그 역도 마찬가지이다.The computer readable recording medium may be an optical recording medium such as a magnetic medium such as a hard disk, a floppy disk and a magnetic tape, a CD-ROM (Compact Disc Read Only Memory), a DVD (Digital Versatile Disc) ), A magneto-optical medium such as a Floptical Disk, and specially configured to store and execute program instructions such as ROM (Read Only Memory), RAM (Random Access Memory), flash memory, Hardware devices. The program instructions also include machine language code, such as those generated by the compiler, as well as high-level language code that can be executed by a computer using an interpreter or the like. The hardware devices described above may be configured to operate as one or more software modules to perform the operations of the present invention, and vice versa.
그리고 본 발명이 속하는 기술분야의 당업자는 상술한 본 발명이 그 기술적 사상이나 필수적 특징을 변경하지 않고서 다른 구체적인 형태로 실시될 수 있다는 것을 이해할 수 있을 것이다. 그러므로 이상에서 기술한 실시 예들은 모든 면에서 예시적인 것이며 한정적인 것이 아닌 것으로 이해해야만 한다. 그리고 본 발명의 범위는 상기 상세한 설명보다는 후술하는 특허청구범위에 의하여 나타내어지며, 특허청구범위의 의미 및 범위 그리고 그 등가 개념으로부터 도출되는 모든 변경 또는 변형된 형태가 본 발명의 범위에 포함되는 것으로 해석되어야 한다.It will be apparent to those skilled in the art that the present invention can be embodied in other specific forms without departing from the spirit or essential characteristics thereof. It is therefore to be understood that the above-described embodiments are illustrative in all aspects and not restrictive. The scope of the invention is defined by the appended claims rather than the foregoing description, and all changes or modifications derived from the meaning and scope of the claims and their equivalents are intended to be included within the scope of the present invention .
한편, 본 명세서와 도면에 개시된 본 발명의 실시 예들은 본 발명의 기술 내용을 쉽게 설명하고 본 발명의 이해를 돕기 위해 특정 예를 제시한 것일 뿐이며, 본 발명의 범위를 한정하고자 하는 것은 아니다. 여기에 개시된 실시 예들 이외에도 본 발명의 기술적 사상에 바탕을 둔 다른 변형 예들이 실시 가능하다는 것은 본 발명이 속하는 기술 분야에서 통상의 지식을 가진 자에게 자명한 것이다.It should be noted that the embodiments of the present invention disclosed in the present specification and drawings are only illustrative of the present invention in order to facilitate the understanding of the present invention and are not intended to limit the scope of the present invention. It is to be understood by those skilled in the art that other modifications based on the technical idea of the present invention are possible in addition to the embodiments disclosed herein.
110: 통신모듈120: 표시부
130: 저장부140: 제어부
200: 상태정보 영역300: 실행화면 영역
230: 디바이스 인디케이터 영역
250: 트레이 인디케이터 영역
400: 컨택트 트레이430: 제1 아이템 영역
450: 제2 아이템 영역470: 제3 아이템 영역
500, 700: 팝업 윈도우
750, 850, 950, 1050, 1160, 1170, 1180, 1250: 트레이 아이템110: Communication module 120: Display
130: storage unit 140:
200: Status information area 300: Execution screen area
230: Device indicator area
250: Tray indicator area
400: contact tray 430: first item area
450: second item area 470: third item area
500, 700: pop-up window
750, 850, 950, 1050, 1160, 1170, 1180, 1250:
| Application Number | Priority Date | Filing Date | Title |
|---|---|---|---|
| CN201080059171.1ACN102667702B (en) | 2009-12-24 | 2010-12-23 | Operation has the method and system of the application based on the touch apparatus touching inputting interface |
| AU2010335129AAU2010335129B2 (en) | 2009-12-24 | 2010-12-23 | Method and system for operating application of a touch device with touch-based input interface |
| JP2012545856AJP5743232B2 (en) | 2009-12-24 | 2010-12-23 | Application operation method and apparatus for touch device having touch-based input interface |
| EP10196892.3AEP2339443B1 (en) | 2009-12-24 | 2010-12-23 | Method and system for operating application of a touch device with touch-based input interface |
| US12/977,270US8510655B2 (en) | 2009-12-24 | 2010-12-23 | Method and system for operating application of a touch device with touch-based input interface |
| PCT/KR2010/009270WO2011078599A2 (en) | 2009-12-24 | 2010-12-23 | Method and system for operating application of a touch device with touch-based input interface |
| US13/963,071US9122365B2 (en) | 2009-12-24 | 2013-08-09 | Method and system for operating application of a touch device with touch-based input interface |
| US14/816,418US9886171B2 (en) | 2009-12-24 | 2015-08-03 | Method and system for operating application of a touch device with touch-based input interface |
| Application Number | Priority Date | Filing Date | Title |
|---|---|---|---|
| US28486509P | 2009-12-24 | 2009-12-24 | |
| US61/284,865 | 2009-12-24 |
| Publication Number | Publication Date |
|---|---|
| KR20110074426A KR20110074426A (en) | 2011-06-30 |
| KR101722616B1true KR101722616B1 (en) | 2017-04-19 |
| Application Number | Title | Priority Date | Filing Date |
|---|---|---|---|
| KR1020100092291AActiveKR101722616B1 (en) | 2009-12-24 | 2010-09-20 | Method and apparatus for operating application of a touch device having touch-based input interface |
| Country | Link |
|---|---|
| US (3) | US8510655B2 (en) |
| EP (1) | EP2339443B1 (en) |
| JP (1) | JP5743232B2 (en) |
| KR (1) | KR101722616B1 (en) |
| CN (1) | CN102667702B (en) |
| AU (1) | AU2010335129B2 (en) |
| WO (1) | WO2011078599A2 (en) |
| Publication number | Priority date | Publication date | Assignee | Title |
|---|---|---|---|---|
| KR20250024626A (en) | 2023-08-10 | 2025-02-19 | 주식회사 카카오 | Method for Displaying Link and Electronic Device Supporting the Same |
| Publication number | Priority date | Publication date | Assignee | Title |
|---|---|---|---|---|
| US8700072B2 (en) | 2008-12-23 | 2014-04-15 | At&T Mobility Ii Llc | Scalable message fidelity |
| WO2011108797A1 (en)* | 2010-03-03 | 2011-09-09 | Lg Electronics Inc. | Mobile terminal and control method thereof |
| US9052926B2 (en) | 2010-04-07 | 2015-06-09 | Apple Inc. | Device, method, and graphical user interface for managing concurrently open software applications |
| US9823831B2 (en) | 2010-04-07 | 2017-11-21 | Apple Inc. | Device, method, and graphical user interface for managing concurrently open software applications |
| EP2385489B1 (en)* | 2010-04-23 | 2017-12-27 | BlackBerry Limited | Method and apparatus for posting data to a plurality of accounts |
| US20120042286A1 (en)* | 2010-08-10 | 2012-02-16 | Rmt, Inc. | Graphical Computer Application Recall System and Method |
| US9104302B2 (en)* | 2010-09-09 | 2015-08-11 | Opentv, Inc. | Methods and systems for drag and drop content sharing in a multi-device environment |
| KR101657122B1 (en)* | 2010-09-15 | 2016-09-30 | 엘지전자 주식회사 | Mobile terminal and method for controlling the same |
| KR101740436B1 (en)* | 2010-12-08 | 2017-05-26 | 엘지전자 주식회사 | Mobile terminal and method for controlling thereof |
| USD700914S1 (en)* | 2011-10-20 | 2014-03-11 | Samsung Electronics Co., Ltd. | Display screen or portion thereof with graphical user interface |
| KR20130046482A (en)* | 2011-10-28 | 2013-05-08 | 삼성전자주식회사 | Controlling method for basic screen and portable device supporting the same |
| JP5930363B2 (en)* | 2011-11-21 | 2016-06-08 | 株式会社ソニー・インタラクティブエンタテインメント | Portable information device and content display method |
| CN103135910B (en)* | 2011-11-25 | 2016-12-21 | 腾讯科技(深圳)有限公司 | The method and device of edit contact information |
| US9639861B2 (en)* | 2011-12-12 | 2017-05-02 | Textsoft, Inc | Messaging with greeting card and gift option |
| US10313279B2 (en) | 2011-12-12 | 2019-06-04 | Rcs Ip, Llc | Live video-chat function within text messaging environment |
| USD718317S1 (en)* | 2012-01-09 | 2014-11-25 | Samsung Electronics Co., Ltd. | Display screen with graphical user interface |
| US9166892B1 (en)* | 2012-01-20 | 2015-10-20 | Google Inc. | Systems and methods for event stream management |
| JP5911321B2 (en)* | 2012-02-02 | 2016-04-27 | キヤノン株式会社 | Display control device and control method of display control device |
| USD709900S1 (en)* | 2012-02-09 | 2014-07-29 | Samsung Electronics Co., Ltd. | Display screen or portion thereof with graphical user interface |
| KR20130091878A (en)* | 2012-02-09 | 2013-08-20 | 엘지전자 주식회사 | Mobile termianl and method for controlling of the same |
| KR102008495B1 (en)* | 2012-02-24 | 2019-08-08 | 삼성전자주식회사 | Method for sharing content and mobile terminal thereof |
| KR101919008B1 (en)* | 2012-02-24 | 2018-11-19 | 삼성전자주식회사 | Method for providing information and mobile terminal thereof |
| KR101894395B1 (en) | 2012-02-24 | 2018-09-04 | 삼성전자주식회사 | Method for providing capture data and mobile terminal thereof |
| KR20130097915A (en)* | 2012-02-27 | 2013-09-04 | 엘지전자 주식회사 | Mobile terminal |
| CN102622180B (en)* | 2012-03-09 | 2015-08-19 | 腾讯科技(深圳)有限公司 | The displaying control method of interactive interface and device |
| US9633125B1 (en)* | 2012-08-10 | 2017-04-25 | Dropbox, Inc. | System, method, and computer program for enabling a user to synchronize, manage, and share folders across a plurality of client devices and a synchronization server |
| KR101957173B1 (en) | 2012-09-24 | 2019-03-12 | 삼성전자 주식회사 | Method and apparatus for providing multi-window at a touch device |
| WO2014061872A1 (en)* | 2012-10-21 | 2014-04-24 | 에스케이플래닛 주식회사 | Recording medium for messenger control method, and apparatus and system therefor |
| KR20140062799A (en)* | 2012-11-15 | 2014-05-26 | 삼성전자주식회사 | Display apparatus and method for delivering message thereof |
| EP2735955B1 (en) | 2012-11-21 | 2018-08-15 | Océ-Technologies B.V. | Method and system for selecting a digital object on a user interface screen |
| US20140173528A1 (en)* | 2012-12-13 | 2014-06-19 | Microsoft Corporation | Contact environments with dynamically created option groups and associated command options |
| CN103914239B (en)* | 2012-12-31 | 2017-07-21 | 华为技术有限公司 | The method and apparatus for obtaining user instruction |
| US9477404B2 (en) | 2013-03-15 | 2016-10-25 | Apple Inc. | Device, method, and graphical user interface for managing concurrently open software applications |
| US20140351717A1 (en)* | 2013-05-24 | 2014-11-27 | Facebook, Inc. | User-Based Interactive Elements For Content Sharing |
| EP3008562B1 (en)* | 2013-06-09 | 2020-02-26 | Apple Inc. | Device, method, and graphical user interface for managing concurrently open software applications |
| WO2014209900A1 (en)* | 2013-06-23 | 2014-12-31 | Intel Corporation | Selective sharing of user information based on contextual relationship information, such as to crowd-source gifts of interest to a recipient |
| EP3017384A4 (en)* | 2013-07-02 | 2017-03-15 | Nokia Technologies Oy | Apparatus and method for providing connections to contacts based on associations with content |
| CN104281375A (en)* | 2013-07-02 | 2015-01-14 | 宏碁股份有限公司 | Electronic device control method and electronic device |
| KR102234400B1 (en)* | 2013-07-08 | 2021-03-31 | 삼성전자주식회사 | Apparatas and method for changing the order or the position of list in an electronic device |
| KR102207443B1 (en)* | 2013-07-26 | 2021-01-26 | 삼성전자주식회사 | Method for providing graphic user interface and apparatus for the same |
| KR102148725B1 (en) | 2013-07-31 | 2020-08-28 | 삼성전자주식회사 | Method and Apparatus for displaying application |
| KR102332675B1 (en) | 2013-09-02 | 2021-11-30 | 삼성전자 주식회사 | Method and apparatus to sharing contents of electronic device |
| KR102190904B1 (en) | 2013-09-25 | 2020-12-14 | 삼성전자 주식회사 | Electronic device and method for control window |
| CN103616992B (en) | 2013-11-13 | 2017-10-17 | 华为技术有限公司 | Application control method and device |
| KR102108069B1 (en)* | 2014-01-22 | 2020-05-08 | 엘지전자 주식회사 | Mobile terminal and method for controlling the same |
| WO2015132622A1 (en)* | 2014-03-02 | 2015-09-11 | Onesnaps Technology Private Limited | Single mode & automatically visual media capture and excuting associate functions(s) |
| US20150268827A1 (en)* | 2014-03-24 | 2015-09-24 | Hideep Inc. | Method for controlling moving direction of display object and a terminal thereof |
| KR102179816B1 (en)* | 2014-03-25 | 2020-11-17 | 엘지전자 주식회사 | The Apparatus and Method for Display Device providing history information |
| KR102124321B1 (en)* | 2014-04-30 | 2020-06-18 | 삼성전자 주식회사 | Electronic device and Method for communication with a contact thereof |
| USD776200S1 (en)* | 2014-05-27 | 2017-01-10 | Amazon Technologies, Inc. | Label with a touch graphic |
| CN104038631A (en)* | 2014-06-11 | 2014-09-10 | 华为技术有限公司 | Communication initiating method and terminal device |
| JP2016024557A (en)* | 2014-07-17 | 2016-02-08 | 本田技研工業株式会社 | Program and method for exchanging messages, and electronic apparatus |
| USD766983S1 (en)* | 2014-08-22 | 2016-09-20 | Htc Corporation | Display screen or portion thereof with icon |
| EP2990923A1 (en)* | 2014-08-28 | 2016-03-02 | Samsung Electronics Co., Ltd | Image display device and method |
| KR20160029525A (en)* | 2014-09-05 | 2016-03-15 | 삼성전자주식회사 | Method of controlling user interface and electronic device supporting the same |
| US20160164809A1 (en)* | 2014-12-05 | 2016-06-09 | Facebook, Inc. | Identifying and selecting contacts to include in a face tray of a messaging application |
| US20160165128A1 (en)* | 2014-12-05 | 2016-06-09 | Facebook, Inc. | Capturing and sending images and videos based on a single user interaction with a user interface element |
| USD784366S1 (en)* | 2015-02-25 | 2017-04-18 | Lg Electronics Inc. | Display panel with animated graphical user interface |
| CN106055190B (en) | 2015-04-16 | 2021-03-09 | 三星电子株式会社 | Apparatus and method for providing information via a portion of a display |
| US11209972B2 (en)* | 2015-09-02 | 2021-12-28 | D&M Holdings, Inc. | Combined tablet screen drag-and-drop interface |
| JP2017004107A (en)* | 2015-06-05 | 2017-01-05 | 京セラ株式会社 | Communication apparatus, control method, and control program |
| USD765700S1 (en)* | 2015-06-07 | 2016-09-06 | Apple Inc. | Display screen or portion thereof with animated graphical user interface |
| KR20160147441A (en)* | 2015-06-15 | 2016-12-23 | 엘지전자 주식회사 | Mobile terminal and operating method thereof |
| ITUB20153039A1 (en)* | 2015-08-10 | 2017-02-10 | Your Voice S P A | MANAGEMENT OF DATA IN AN ELECTRONIC DEVICE |
| CN105376407A (en)* | 2015-11-16 | 2016-03-02 | 北京金山安全软件有限公司 | Communication method and device and electronic equipment |
| US10019133B1 (en) | 2017-04-02 | 2018-07-10 | Charles Russell McNeill | Unified computing device interface for assembly of a plurality of types of digital content for transmission to a plurality of target destinations |
| USD823338S1 (en)* | 2017-06-05 | 2018-07-17 | Apple Inc. | Display screen or portion thereof with animated graphical user interface |
| WO2019014927A1 (en)* | 2017-07-21 | 2019-01-24 | Orange | Method for handling on a mobile terminal a list of contents each associated to a sub-content |
| US10365719B2 (en)* | 2017-07-26 | 2019-07-30 | Google Llc | Haptic feedback of user interface scrolling with synchronized visual animation components |
| EP3675460B1 (en)* | 2017-10-09 | 2022-06-22 | Huawei Technologies Co., Ltd. | File sharing method and terminal |
| USD888826S1 (en) | 2017-10-26 | 2020-06-30 | De Luca Family Food | Label |
| EP3800535B1 (en)* | 2018-06-27 | 2025-01-22 | Huawei Technologies Co., Ltd. | Method and terminal for controlling shortcut button |
| KR101983686B1 (en)* | 2018-07-24 | 2019-06-04 | 전우호 | Method for providing video call service, electronic device and server thereof |
| USD997952S1 (en) | 2018-12-21 | 2023-09-05 | Streamlayer, Inc. | Display screen with transitional graphical user interface |
| US11770579B2 (en) | 2018-12-21 | 2023-09-26 | Streamlayer, Inc. | Method and system for providing interactive content delivery and audience engagement |
| USD947233S1 (en)* | 2018-12-21 | 2022-03-29 | Streamlayer, Inc. | Display screen or portion thereof with transitional graphical user interface |
| US12350587B2 (en) | 2018-12-21 | 2025-07-08 | Streamlayer Inc. | Method and system for providing interactive content delivery and audience engagement |
| USD916102S1 (en)* | 2019-02-18 | 2021-04-13 | Samsung Electronics Co., Ltd. | Display screen or portion thereof with transitional graphical user interface |
| USD951267S1 (en) | 2019-04-09 | 2022-05-10 | Streamlayer, Inc. | Display screen with a transitional graphical user interface for an interactive content overlay |
| USD924257S1 (en)* | 2019-10-11 | 2021-07-06 | Bublup, Inc. | Display screen with a graphical user interface element |
| US11743213B2 (en)* | 2020-06-09 | 2023-08-29 | Apple Inc. | User interfaces for messages |
| USD1028999S1 (en) | 2020-09-17 | 2024-05-28 | Streamlayer, Inc. | Display screen with transitional graphical user interface |
| KR20220159567A (en)* | 2021-05-26 | 2022-12-05 | 삼성에스디에스 주식회사 | Method for providing information sharing interface, method for displaying shared information in the chat window, and apparatus implementing the same method |
| USD1045890S1 (en)* | 2021-09-16 | 2024-10-08 | Samsung Electronics Co., Ltd. | Display screen or portion thereof with transitional graphical user interface |
| Publication number | Priority date | Publication date | Assignee | Title |
|---|---|---|---|---|
| JP2004164599A (en)* | 2002-08-28 | 2004-06-10 | Microsoft Corp | System and method for shared and integrated online social interaction |
| JP2005301647A (en)* | 2004-04-12 | 2005-10-27 | Sony Corp | Information processing apparatus and method, and program |
| Publication number | Priority date | Publication date | Assignee | Title |
|---|---|---|---|---|
| US5533110A (en)* | 1994-11-29 | 1996-07-02 | Mitel Corporation | Human machine interface for telephone feature invocation |
| WO2001099032A2 (en) | 2000-06-22 | 2001-12-27 | Intel Corporation | Communicating objects between users or applications |
| US7127685B2 (en)* | 2002-04-30 | 2006-10-24 | America Online, Inc. | Instant messaging interface having a tear-off element |
| US20040196315A1 (en)* | 2003-04-01 | 2004-10-07 | International Business Machines Corporation | Method and apparatus for management of a primary buddy list in an instant messaging system |
| EP1722295A1 (en) | 2005-05-10 | 2006-11-15 | Siemens Aktiengesellschaft | Method, apparatus and computer program product for providing user information in a graphical user interface |
| KR20060133389A (en)* | 2005-06-20 | 2006-12-26 | 엘지전자 주식회사 | Method and apparatus for processing data of mobile terminal |
| US20070157105A1 (en)* | 2006-01-04 | 2007-07-05 | Stephen Owens | Network user database for a sidebar |
| CN101047656A (en)* | 2006-03-31 | 2007-10-03 | 腾讯科技(深圳)有限公司 | Method for implementing E-mail quickly transmitting and its system |
| KR101371413B1 (en)* | 2007-02-06 | 2014-03-10 | 삼성전자주식회사 | Photographing apparatus of performing communication and method thereof |
| KR101524572B1 (en)* | 2007-02-15 | 2015-06-01 | 삼성전자주식회사 | Method for providing an interface of a portable terminal having a touch screen |
| KR101397080B1 (en)* | 2007-10-05 | 2014-05-21 | 엘지전자 주식회사 | Portable terminal having multi-function executing capability and executing method thereof |
| JP4974236B2 (en)* | 2007-10-30 | 2012-07-11 | アズビル株式会社 | Information linkage window system and program |
| WO2009097555A2 (en) | 2008-01-30 | 2009-08-06 | Google Inc. | Notification of mobile device events |
| TWI360775B (en)* | 2008-04-22 | 2012-03-21 | Htc Corp | Method and apparatus for operating user interface |
| KR101568351B1 (en) | 2008-08-08 | 2015-11-20 | 엘지전자 주식회사 | Mobile terminal with touch screen and data processing method using the same |
| US8756519B2 (en)* | 2008-09-12 | 2014-06-17 | Google Inc. | Techniques for sharing content on a web page |
| US9325823B2 (en)* | 2008-12-19 | 2016-04-26 | Verizon Patent And Licensing Inc. | Visual address book and dialer |
| Publication number | Priority date | Publication date | Assignee | Title |
|---|---|---|---|---|
| JP2004164599A (en)* | 2002-08-28 | 2004-06-10 | Microsoft Corp | System and method for shared and integrated online social interaction |
| JP2005301647A (en)* | 2004-04-12 | 2005-10-27 | Sony Corp | Information processing apparatus and method, and program |
| Publication number | Priority date | Publication date | Assignee | Title |
|---|---|---|---|---|
| KR20250024626A (en) | 2023-08-10 | 2025-02-19 | 주식회사 카카오 | Method for Displaying Link and Electronic Device Supporting the Same |
| Publication number | Publication date |
|---|---|
| KR20110074426A (en) | 2011-06-30 |
| CN102667702A (en) | 2012-09-12 |
| US20130318467A1 (en) | 2013-11-28 |
| WO2011078599A2 (en) | 2011-06-30 |
| CN102667702B (en) | 2016-02-10 |
| US9886171B2 (en) | 2018-02-06 |
| AU2010335129A1 (en) | 2012-07-19 |
| US8510655B2 (en) | 2013-08-13 |
| WO2011078599A3 (en) | 2011-11-10 |
| JP5743232B2 (en) | 2015-07-01 |
| JP2013515996A (en) | 2013-05-09 |
| EP2339443B1 (en) | 2016-04-13 |
| EP2339443A1 (en) | 2011-06-29 |
| US20110225539A1 (en) | 2011-09-15 |
| AU2010335129B2 (en) | 2015-09-10 |
| US9122365B2 (en) | 2015-09-01 |
| US20150339013A1 (en) | 2015-11-26 |
| Publication | Publication Date | Title |
|---|---|---|
| KR101722616B1 (en) | Method and apparatus for operating application of a touch device having touch-based input interface | |
| US11029816B2 (en) | Mobile device and method for executing particular function through touch event on communication related list | |
| EP2424197B1 (en) | System and method for providing a contact list input interface | |
| KR101760693B1 (en) | Method and apparatus for editing home screen in a touch device | |
| EP2706446B1 (en) | Method for displaying unread messages contents and electronic device thereof | |
| JP6002012B2 (en) | Apparatus, method, and program | |
| CN103581431B (en) | Mobile terminal and control method thereof | |
| EP3767463A1 (en) | Systems and methods for displaying notifications received from multiple applications | |
| US20140313171A1 (en) | Method for controlling function using electronic pen and electronic device thereof | |
| KR20150094477A (en) | User terminal device and method for displaying thereof |
| Date | Code | Title | Description |
|---|---|---|---|
| PA0109 | Patent application | Patent event code:PA01091R01D Comment text:Patent Application Patent event date:20100920 | |
| PG1501 | Laying open of application | ||
| A201 | Request for examination | ||
| PA0201 | Request for examination | Patent event code:PA02012R01D Patent event date:20150918 Comment text:Request for Examination of Application Patent event code:PA02011R01I Patent event date:20100920 Comment text:Patent Application | |
| E902 | Notification of reason for refusal | ||
| PE0902 | Notice of grounds for rejection | Comment text:Notification of reason for refusal Patent event date:20160726 Patent event code:PE09021S01D | |
| E701 | Decision to grant or registration of patent right | ||
| PE0701 | Decision of registration | Patent event code:PE07011S01D Comment text:Decision to Grant Registration Patent event date:20170112 | |
| GRNT | Written decision to grant | ||
| PR0701 | Registration of establishment | Comment text:Registration of Establishment Patent event date:20170328 Patent event code:PR07011E01D | |
| PR1002 | Payment of registration fee | Payment date:20170329 End annual number:3 Start annual number:1 | |
| PG1601 | Publication of registration | ||
| FPAY | Annual fee payment | Payment date:20200227 Year of fee payment:4 | |
| PR1001 | Payment of annual fee | Payment date:20200227 Start annual number:4 End annual number:4 | |
| PR1001 | Payment of annual fee | Payment date:20210225 Start annual number:5 End annual number:5 | |
| PR1001 | Payment of annual fee | Payment date:20240228 Start annual number:8 End annual number:8 |