





본 발명은 전기 또는 가스로 인한 주방 화재의 자동 소화 시스템에 관한 것으로, 보다 상세하게는 주방의 가열 기구 주변에서 발생하는 연기, 가스, 불꽃, 온도를 감지하여 화재를 조기에 발견함으로써 화재 예비, 화재 경보, 방호 실행을 단계적으로 자동 수행할 수 있는 전기 또는 가스로 인한 주방 화재의 자동 소화 시스템에 관한 것이다.The present invention relates to an automatic fire extinguishing system for a kitchen fire caused by electricity or gas, and more particularly to an automatic fire extinguishing system for fire extinguishing, fire, and fire by detecting smoke, gas, flame, To an automatic fire extinguishing system for a kitchen fire caused by electricity or gas capable of automatically performing an alarm, a protection execution step by step.
일반적으로 가정용 주방 또는 상업용 주방의 조리대에는 복수의 조리화구를 갖는 가열 기구가 배치되어 있고, 가열 기구 주변에는 열 뿐만 아니라 연기, 냄새, 기름 증기 등의 오염물질이 발생하게 되고, 이러한 오염물질은 열에 의해 실내 공기 내에 부유하여 주방 또는 실내 전체에 확산되게 된다.In general, a cooking apparatus having a plurality of cooking zones is disposed in a cooking table of a domestic kitchen or a commercial kitchen, and contaminants such as smoke, odor, and oil vapor are generated not only in the vicinity of the heating apparatus, The air is floated in the room air and diffused into the kitchen or the entire room.
따라서, 조리대의 상부에는 배기 후드가 설치되고, 그 외측으로 덕트가 연결되어 팬을 구동함으로써 조리에 의하여 발생하는 오염물질을 배출시키게 된다.Therefore, an exhaust hood is provided on the upper portion of the cooking chamber, and a duct is connected to the outside of the cooking hood to drive the fan, thereby discharging contaminants generated by the cooking.
이러한 주방의 전기, 가스레인지는 화재의 위험성이 있고 불을 켜놓은 채 외출을 하거나 잠이 들어 태우거나 화재가 발생하는 사고가 빈번하게 발생하고 있으며, 기존의 배기 후드는 스위치를 켰을 때만 동작하는 구조를 벗어나지 못하고 있다.These kitchen electrical and gas ranges are dangerous to fire, frequent going out, sleeping, burning or fire occurs frequently while the existing exhaust hood is operated only when the switch is turned on .
또한, 주방에 화재경보 장치가 있다고 하더라도 기존의 화재경보 장치들은 연기, 온도 등을 감지하는 각 센서가 단계별로 작동되거나 상호 보완적으로 작동되지 않고, 각각의 센서가 개별적으로 작동됨으로 인해 오류나 오동작을 일으키기 쉬워 신뢰성을 떨어지는 문제점이 있다.In addition, even if there is a fire alarm in the kitchen, the conventional fire alarm devices do not operate each sensor detecting smoke, temperature, etc. step by step or in a complementary manner, and each sensor operates individually, There is a problem in that reliability is liable to be caused.
일반적으로 불이나 가스 등을 이용하는 주방에서는 화재의 위험성에 항상 노출되어 있고, 이를 해결하기 위하여 다양한 화재 및 과열 방재 시스템이 제시되고 있다.Generally, in a kitchen using fire or gas, the fire is always exposed to the risk of fire, and various fire and overheating prevention systems are proposed to solve the problem.
먼저, 종래기술로서 국내등록특허 제10-1460707호의 상업용 주방화재 소화장치는 별도의 전원이 공급되지 않아도 화재 발생시 화재 감지 어셈블리의 이융성 금속이 이탈함과 동시에 레버가 작동되어 신속하게 소화약제를 배출시켜 화재를 진압할 수 있고, 화재 감지 어셈블리의 화재 감지 전이라도 최초로 화재를 발견한 사람이 수동조작핸들을 당겨주는 것만으로 레버가 작동되어 소화약제를 배출시킬 수 있으며, 에어공급장치와 같은 별도의 기동장치를 설치하지 않아도 제작과정에서 소화약제 용기 내부에 충전된 소화약제의 압력을 이용하여 레버를 작동 시킬 수 있게 되어 설치비용 절감, 유지 보수 및 설치구조가 복잡하지 않을 뿐만 아니라 경보 및 차단 어셈블리가 구성된 상업용 주방화재 소화장치를 제시하고 있다.First, as a conventional technique, a domestic kitchen fire extinguishing system of the domestic patent registration No. 10-1460707 has a function of releasing the fire extinguishing agent quickly by releasing the fusible metal of the fire sensing assembly when a fire occurs, The fire extinguisher can be extinguished by operating the lever only by pulling the manual operation handle of the person who first discovered the fire even before the fire detection of the fire detection assembly, It is possible to operate the lever by using the pressure of the extinguishing agent charged inside the extinguishing agent container during the manufacturing process without installing the starting device, so that the installation cost is reduced, the maintenance and installation structure is not complicated, and the alarm and interception assembly A commercial kitchen fire extinguishing system is presented.
그러나 종래기술의 상업용 주방화재 소화장치는 화재가 발생하거나 화재를 목격하는 경우 레버를 자동 또는 수동으로 작동시켜 소화약제를 배출하여 화재를 진압하는 것으로서, 주방에서 흔히 일어날 수 있는 가스 유출, 후드 과열 등의 사고를 미연에 감지하지 못한다는 문제점이 있다.However, in the conventional commercial kitchen fire extinguishing apparatus, when a fire occurs or a fire is witnessed, the lever is automatically or manually operated to discharge the fire extinguishing agent to suppress the fire, and the gas leakage, hood overheating There is a problem in that it can not detect the accident of the user.
또한, 종래기술로서 국내등록특허 제10-1389541호의 주방용 화재 방지시스템은, 센서부와, 댐퍼 차단기, 가스를 차단 및 통과시키도록 구성된 개폐밸브 및 센서에서 측정된 측정값을 기준값과 비교하거나, 가스가 감지되는 경우, 경보기를 울려 차단상태를 인식시키도록 제어하는 마이컴과, 상기 마이컴에 연결되어 측정값과 댐퍼 차단기 및 개폐밸브의 동작 상태를 외부로 표시하는 표시부를 포함하는 제어부와, 상기 경보기가 울리는 경우 상기 측정값과 상기 댐퍼 차단기 및 개폐밸브의 동작상태를 저장하는 메모리부를 포함하고 있다.In addition, as a prior art, a domestic fire prevention system of domestic patent No. 10-1389541 includes a sensor unit, a damper circuit breaker, an open / close valve configured to shut off and pass gas, and a sensor, A controller which is connected to the microcomputer and displays a measurement value, a damper breaker, and an operation state of the on-off valve as an external, And a memory unit for storing the measured values and the operating states of the damper circuit breaker and the on-off valve when the buzzer sounds.
그러나 종래기술의 주방용 화재 방지 시스템은 주방 내에서 연기가 가득차거나 조리에 의하여 일산화탄소가 발생하는 경우 이를 감지하지 못하여 조리 중 일산화탄소 중독 등의 문제가 발생할 수 있으며, 경보음으로만 경보가 발생되어 주변이 시끄러운 상황이거나 사용자가 부재중일 경우에는 경보를 제때 감지할 수 없다는 문제점이 있다.However, the conventional fire prevention system for a kitchen does not detect when the smoke is full or the carbon monoxide is generated by cooking in the kitchen, so there may be a problem such as carbon monoxide poisoning during cooking, and an alarm is generated only by an alarm sound, There is a problem that the alarm can not be detected in a timely manner or when the user is absent.
본 발명은 주방의 가열 기구 주변에서 발생하는 연기, 가스, 불꽃, 온도를 감지하여 화재를 조기에 발견함으로써 화재 예비, 화재 경보, 방호 실행을 단계적으로 자동 수행할 수 있고, 방호 실행시 화재가 발생된 지점에 소화약제가 정확히 방출될 수 있도록 분사 노즐의 분사 각도를 자동으로 조정할 수 있으며, 유선 또는 무선 통신을 통해 홈 네트워크 시스템 또는 사용자 단말과 연계하여 가스나 전기 상태를 실시간 체크하면서 사용자 조작 정보가 반영될 수 있는 전기 또는 가스로 인한 주방 화재의 자동 소화 시스템을 제공한다.The present invention detects smoke, gas, flame, and temperature occurring in the vicinity of a heating device in a kitchen and detects a fire early so that fire preparation, fire alarm, and protection can be automatically performed step by step. The injection angle of the injection nozzle can be automatically adjusted so that the extinguishing agent can be accurately discharged at the point where the gas or electric power is discharged. It provides an automatic fire extinguishing system of kitchen fire due to electricity or gas that can be reflected.
실시예들 중에서, 전기 또는 가스로 인한 주방 화재의 자동 소화 시스템은, 음식 조리용 가열 기구가 사용되는 실내 일측에 설치되고, 상기 가열 기구 주변의 온도, 불꽃, 가스, 연기 중 적어도 하나 이상을 감지하는 센서 장치; 상기 센서 장치로부터 감지된 센서 데이터를 수집하고, 상기 수집된 센서 데이터를 분석하여 화재 레벨을 설정하며, 상기 설정된 화재 레벨에 따라 화재 제어 신호 또는 환풍 제어 신호를 발생하는 제어 장치; 상기 가열 기구의 상부 측에 설치되고, 상기 화재 제어 신호에 따라 소화약재를 분사 노즐을 통해 방출하는 소화 장치; 상기 가열 기구의 상부 측에 설치되고, 상기 환풍 제어 신호에 따라 실내 공기를 실외로 강제 배출시키는 환풍 장치; 및 상기 소화 장치 또는 환풍 장치의 구동시 자동 모드 및 수동 모드에 대한 모드를 결정하며, 상기 가열 기구 또는 화재와 관련한 사용자 조작 정보를 입력하는 키조작 장치를 포함하는 것을 특징으로 한다.In an embodiment, an automatic fire extinguishing system for a kitchen fire due to electricity or gas is installed on one side of a room where a heating device for cooking food is used, and detects at least one of temperature, flame, gas and smoke around the heating device ; A controller for collecting sensor data sensed by the sensor device, analyzing the collected sensor data to set a fire level, and generating a fire control signal or a ventilation control signal according to the set fire level; An extinguishing device installed on the upper side of the heating mechanism and discharging the extinguishing medicament through the injection nozzle according to the fire control signal; A ventilation device installed on the upper side of the heating mechanism for forcibly discharging indoor air to the outside according to the ventilation control signal; And a key operating device for determining a mode for the automatic mode and the manual mode when the fire extinguishing device or the ventilating device is driven and for inputting the user operation information related to the heating device or the fire.
상기 제어 장치는, 상기 센서 데이터 또는 사용자 조작 정보를 수집하는 데이터 수집모듈; 상기 센서 데이터를 분석하여 화재 예비, 화재 경보, 방호 실행에 대한 화재 레벨을 설정하고, 상기 설정된 화재 레벨에 따라 상기 분사 노즐의 분사 각도 또는 실내 공기의 배출량을 산출하는 데이터 처리 모듈; 상기 산출된 분사 노즐의 분사 각도 또는 실내 공기의 배출량에 따라 상기 소화 장치 또는 환풍 장치의 동작 파라미터를 추출하여 화재 제어 신호 또는 환풍 제어 신호를 발생하는 동작 제어 모듈; 및 상기 설정된 화재 레벨에 따른 경보음 또는 경보 메시지를 사용자에게 통보하는 경보 모듈을 포함하는 것을 특징으로 한다.The control device comprises: a data collection module for collecting the sensor data or user operation information; A data processing module for analyzing the sensor data to set a fire level for a fire preliminary, a fire alarm, a protection execution, and calculating an injection angle of the injection nozzle or a discharge amount of indoor air according to the set fire level; An operation control module for extracting operation parameters of the fire extinguisher or the ventilator according to the calculated injection angle of the injection nozzle or the amount of indoor air discharged to generate a fire control signal or a ventilation control signal; And an alarm module for notifying a user of an alarm sound or an alarm message according to the set fire level.
상기 데이터 처리 모듈은 상기 센서 장치에서 가스 또는 연기가 감지된 경우에, 상기 화재 레벨을 화재 예비 단계로 설정하고, 상기 센서 장치에서 불꽃 또는 설정 온도 이상의 온도가 감지된 경우에 화재 경보 단계 및 방호 실행 단계로 설정하는 것을 특징으로 한다.Wherein the data processing module sets the fire level to a fire preliminary stage when gas or smoke is sensed in the sensor device, and when the temperature of the flame or the set temperature is detected in the sensor device, Is set to a step.
상기 센서 장치는 적어도 하나 이상의 온도 감지 센서를 포함하는 경우에, 상기 온도 감지 센서별로 상기 가열 기구의 조리 화구를 기준으로 온도 감지 영역이 설정되고, 상기 데이터 처리 모듈은, 상기 온도 감지 센서로부터 온도 감지 데이터를 수신하고, 상기 온도 감지 데이터를 분석하여 상기 온도 감지 영역 중 최고 온도점을 갖는 위치를 기준점으로 산출하며, 상기 기준점을 중심으로 기설정된 방호 면적을 적용하여 상기 분사 노즐의 분사 각도를 산출하고, 상기 동작 제어 모듈은 상기 산출된 분사 노즐의 분사 각도에 따라 분사 노즐의 위치 이동을 위한 동작 파라미터를 추출하는 것을 특징으로 한다.Wherein the temperature sensing area is set on the basis of the cooking aperture of the heating mechanism for each of the temperature sensing sensors when the sensor device includes at least one temperature sensing sensor, The temperature sensing data is analyzed to calculate a position having a highest temperature point in the temperature sensing area as a reference point, and a spray angle of the spray nozzle is calculated by applying a predetermined protective area around the reference point And the operation control module extracts operation parameters for moving the injection nozzle according to the calculated injection angle of the injection nozzle.
상기 소화 장치는 상기 화재 제어 신호의 동작 파라미터에 따라 상기 분사 노즐의 상하좌우에 대한 위치 이동을 수행하는 구동부를 포함하는 것을 특징으로 한다.And the fire extinguishing device includes a driving unit for performing a positional shift with respect to the upper, lower, left, and right sides of the injection nozzle according to an operation parameter of the fire control signal.
상기 센서 장치는 적어도 하나 이상의 가스 감지 센서와 연기 감지기를 포함하는 경우에, 상기 데이터 처리 모듈은, 상기 가스 감지 센서와 연기 감지기로부터 가스 감지 데이터와 연기 감지 데이터를 수신하고, 상기 가스 감지 데이터의 가스 농도와 연기 감지 데이터의 연기량을 분석하여 상기 환풍 장치의 배출 속도와 배출 강도를 포함한 실내 공기의 배출량을 산출하고, 상기 동작 제어 모듈은 상기 산출된 실내 공기의 배출량에 따라 환풍 장치의 구동 속도 제어값을 위한 동작 파라미터를 추출하는 것을 특징으로 한다.Wherein the data processing module is operable to receive the gas sensing data and the smoke sensing data from the gas sensing sensor and the smoke sensor and to provide the gas sensing data with the gas sensing data and the smoke sensing data when the sensor device includes at least one gas sensing sensor and a smoke sensor. Wherein the operation control module calculates the discharge rate of the indoor air including the discharge speed and the discharge intensity of the ventilator by analyzing the concentration and the smoke amount of the smoke detection data, And extracting an operation parameter for the value.
상기 제어 장치는 댁내에 구비된 홈 네트워크 시스템 또는 사용자 단말과 유선 또는 무선으로 통신을 수행하는 통신 모듈을 더 포함하는 것을 특징으로 한다.The control device may further include a home network system provided in the home or a communication module for performing wired or wireless communication with the user terminal.
상기 제어 장치는 상기 센서 장치, 소화 장치, 환풍 장치 또는 상기 가열 기구의 구동원에 대한 상태를 체크한 후 상태 정보 신호를 상기 경보 모듈 또는 통신 모듈을 통해 사용자에게 통지하는 것을 특징으로 한다.The control device checks the state of the sensor device, the fire extinguishing device, the ventilation device, or the driving source of the heating device, and then notifies the user of the state information signal through the alarm module or the communication module.
상기 가열기구의 구동원이 가스인 경우에 상기 제어 장치의 화재 제어 신호에 따라 가스 공급을 차단하는 가스차단장치; 및 상기 가열기구의 구동원이 상용 전원인 경우에 상기 제어 장치의 화재 제어 신호에 따라 전원 공급을 차단하는 전원차단장치를 더 포함하는 것을 특징으로 한다.A gas shutoff device for shutting off gas supply in accordance with a fire control signal of the control device when the driving source of the heating mechanism is gas; And a power cutoff device for shutting off power supply according to a fire control signal of the control device when the driving source of the heating mechanism is a commercial power supply.
상기 제어 장치는, 상기 화재 제어 신호 또는 환풍 제어 신호에 의한 화재 이벤트 발생 이력을 저장하고, 상기 저장된 화재 이벤트 발생 이력을 근거로 화재 처리 정책 정보를 변경 설정하여 변경 설정된 화재 처리 정책 정보에 따른 화재제어처리를 수행하도록 하고, 상기 화재 처리 정책 정보는 화재제어의 기준이 되는 화재 레벨의 화재 예비 설정기준레벨, 화재경보 설정기준레벨, 방호실행 설정기준레벨의 정보를 포함하는 것을 특징으로 한다.Wherein the control device stores a fire event occurrence history by the fire control signal or the ventilation control signal, changes the fire process policy information based on the stored fire event history, Wherein the fire control policy information includes information of a fire preliminary setting reference level, a fire alarm setting reference level, and a protection execution setting reference level of a fire level as a reference of fire control.
상기 제어장치는 상기 화재 처리 정책 정보를 변경 설정하는 경우에, 사용자 단말로 변경된 화재 처리 정책 정보를 제공하고, 사용자 단말을 통해 화재 처리 정책의 변경확인정보가 수신되는 경우에 상기 변경 설정된 화재 처리 정책 정보를 근거로 화재제어 처리를 수행하며, 상기 사용자 단말을 통해 화재 처리 정책 유지정보가 수신되는 경우에 변경 이전의 화재 처리 정책 정보를 근거로 화재제어처리를 수행하는 것을 특징으로 한다.Wherein the control device provides the changed fire control policy information to the user terminal when changing the fire control policy information, and when the change confirmation information of the fire control policy is received through the user terminal, And performs a fire control process based on the fire process policy information prior to the change when the fire process policy maintenance information is received through the user terminal.
본 발명의 전기 또는 가스로 인한 주방 화재의 자동 소화 시스템은, 주방의 가열 기구 주변에서 발생하는 연기, 가스, 불꽃, 온도를 감지 및 분석함으로써 화재 의심 상황이나 화재 발생 상황을 조기에 발견한 후 화재 예비, 화재 경보, 방호 실행을 단계적으로 수행하여 자동으로 소화 장치가 작동되어 화재를 초기에 소화할 수 있으며, 음식물 가열시 발생하는 연기나 가스와 혼동하여 소화 장치가 오작동되는 것을 방지하면서 침착한 화재 대응을 수행할 있는 효과가 있다.The automatic fire extinguishing system of kitchen fire caused by electricity or gas of the present invention detects fire suspicious condition or fire occurrence condition early by detecting and analyzing smoke, gas, flame and temperature generated in the vicinity of the heating device of kitchen, Prevention, fire alarm and protection execution are performed in a phased manner, so that the fire extinguishing system can be automatically operated to extinguish the fire in the early stage. It is possible to prevent the fire extinguishing device from malfunctioning, There is an effect to perform correspondence.
또한, 본 발명은 온도 감지 데이터를 분석하여 화재 발화 지점에 대한 예측이 가능하고, 이 화재 발화 지점을 기준으로 분사 노즐의 분사 각도를 자동으로 조정하여 유효 방호 면적에 소화약제가 정확히 방출될 수 있도록 하는 효과가 있다.In addition, the present invention can predict the fire ignition point by analyzing the temperature sensing data and automatically adjust the injection angle of the injection nozzle based on the fire ignition point so that the extinguishing agent can be accurately discharged to the effective protection area .
본 발명은 유선 또는 무선 통신을 통해 홈 네트워크 시스템 또는 사용자 단말과 연계하여 가스나 전기 상태를 실시간 체크하여 사용자에게 알려주고, 그로 인해 가스 누설이나 전기 누전시 자동으로 가열 기구의 구동원을 차단시켜 질식 사고나 폭발 사고, 화재 사고를 미연에 방지하여 인명과 재산을 보호할 수 있으며, 사용자 단말을 통해 가열 기구의 구동원이나 화재 관련 제어에 대한 사용자 조작 정보를 반영할 수 있는 효과가 있다.The present invention relates to a home network system or a user terminal connected to a home network system or a user terminal through wired or wireless communication to check the state of a gas or an electric power in real time to notify a user of the gas or electric state, It is possible to protect people and property by preventing an explosion accident and a fire accident in advance, and it is possible to reflect user operation information on the driving source of the heating mechanism and the fire related control through the user terminal.
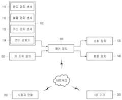
도 1은 본 발명의 일 실시예에 따른 전기 또는 가스로 인한 주방 화재의 자동 소화 시스템의 구성을 설명하는 도면
도 2는 본 발명의 일 실시예에 따른 전기 또는 가스로 인한 주방 화재의 자동 소화 시스템의 설치 상태를 설명하는 도면
도 3은 도 1의 제어 장치의 구성을 설명하는 도면
도 4는 도 1의 소화 장치의 분사 노즐 설치 상태를 설명하는 도면
도 5는 도 4의 분사 노즐의 구성을 설명하는 도면
도 6은 도 1의 키 조작 장치의 구성을 설명하는 도면1 is a view for explaining a configuration of an automatic fire extinguishing system of a kitchen fire caused by electricity or gas according to an embodiment of the present invention;
2 is a view for explaining an installation state of an automatic fire extinguishing system for kitchen fire caused by electricity or gas according to an embodiment of the present invention;
3 is a view for explaining the configuration of the control apparatus of Fig. 1
4 is a view for explaining the state of the injection nozzle installed in the fire extinguishing system of Fig. 1
5 is a view for explaining the configuration of the injection nozzle of Fig. 4
Fig. 6 is a view for explaining the configuration of the key operation device of Fig. 1
본 발명에 관한 설명은 구조적 내지 기능적 설명을 위한 실시예에 불과하므로, 본 발명의 권리범위는 본문에 설명된 실시예에 의하여 제한되는 것으로 해석되어서는 아니 된다. 즉, 실시예는 다양한 변경이 가능하고 여러 가지 형태를 가질 수 있으므로 본 발명의 권리범위는 기술적 사상을 실현할 수 있는 균등물들을 포함하는 것으로 이해되어야 한다. 또한, 본 발명에서 제시된 목적 또는 효과는 특정 실시예가 이를 전부 포함하여야 한다거나 그러한 효과만을 포함하여야 한다는 의미는 아니므로, 본 발명의 권리범위는 이에 의하여 제한되는 것으로 이해되어서는 아니 될 것이다.The description of the present invention is merely an example for structural or functional explanation, and the scope of the present invention should not be construed as being limited by the embodiments described in the text. That is, the embodiments are to be construed as being variously embodied and having various forms, so that the scope of the present invention should be understood to include equivalents capable of realizing technical ideas. Also, the purpose or effect of the present invention should not be construed as limiting the scope of the present invention, since it does not mean that a specific embodiment should include all or only such effect.
한편, 본 발명에서 서술되는 용어의 의미는 다음과 같이 이해되어야 할 것이다.Meanwhile, the meaning of the terms described in the present invention should be understood as follows.
"제1", "제2" 등의 용어는 하나의 구성요소를 다른 구성요소로부터 구별하기 위한 것으로, 이들 용어들에 의해 권리범위가 한정되어서는 아니 된다. 예를 들어, 제1 구성요소는 제2 구성요소로 명명될 수 있고, 유사하게 제2 구성요소도 제1 구성요소로 명명될 수 있다.The terms "first "," second ", and the like are intended to distinguish one element from another, and the scope of the right should not be limited by these terms. For example, the first component may be referred to as a second component, and similarly, the second component may also be referred to as a first component.
어떤 구성요소가 다른 구성요소에 "연결되어"있다고 언급된 때에는, 그 다른 구성요소에 직접적으로 연결될 수도 있지만, 중간에 다른 구성요소가 존재할 수도 있다고 이해되어야 할 것이다. 반면에, 어떤 구성요소가 다른 구성요소에 "직접 연결되어"있다고 언급된 때에는 중간에 다른 구성요소가 존재하지 않는 것으로 이해되어야 할 것이다. 한편, 구성요소들 간의 관계를 설명하는 다른 표현들, 즉 "~사이에"와 "바로 ~사이에" 또는 "~에 이웃하는"과 "~에 직접 이웃하는" 등도 마찬가지로 해석되어야 한다.It is to be understood that when an element is referred to as being "connected" to another element, it may be directly connected to the other element, but there may be other elements in between. On the other hand, when an element is referred to as being "directly connected" to another element, it should be understood that there are no other elements in between. On the other hand, other expressions that describe the relationship between components, such as "between" and "between" or "neighboring to" and "directly adjacent to" should be interpreted as well.
단수의 표현은 문맥상 명백하게 다르게 뜻하지 않는 한 복수의 표현을 포함하는 것으로 이해되어야 하고, "포함하다"또는 "가지다" 등의 용어는 설시된 특징, 숫자, 단계, 동작, 구성요소, 부분품 또는 이들을 조합한 것이 존재함을 지정하려는 것이며, 하나 또는 그 이상의 다른 특징이나 숫자, 단계, 동작, 구성요소, 부분품 또는 이들을 조합한 것들의 존재 또는 부가 가능성을 미리 배제하지 않는 것으로 이해되어야 한다.It should be understood that the singular " include "or" have "are to be construed as including a stated feature, number, step, operation, component, It is to be understood that the combination is intended to specify that it does not preclude the presence or addition of one or more other features, integers, steps, operations, elements, components, or combinations thereof.
여기서 사용되는 모든 용어들은 다르게 정의되지 않는 한, 본 발명이 속하는 분야에서 통상의 지식을 가진 자에 의해 일반적으로 이해되는 것과 동일한 의미를 가진다. 일반적으로 사용되는 사전에 정의되어 있는 용어들은 관련 기술의 문맥상 가지는 의미와 일치하는 것으로 해석되어야 하며, 본 발명에서 명백하게 정의하지 않는 한 이상적이거나 과도하게 형식적인 의미를 지니는 것으로 해석될 수 없다.All terms used herein have the same meaning as commonly understood by one of ordinary skill in the art to which this invention belongs, unless otherwise defined. Commonly used predefined terms should be interpreted to be consistent with the meanings in the context of the related art and can not be interpreted as having ideal or overly formal meaning unless explicitly defined in the present invention.
도 1은 본 발명의 일 실시예에 따른 전기 또는 가스로 인한 주방 화재의 자동 소화 시스템의 구성을 설명하는 도면이고, 도 2는 본 발명의 일 실시예에 따른 전기 또는 가스로 인한 주방 화재의 자동 소화 시스템의 설치 상태를 설명하는 도면이다.FIG. 1 is a view for explaining a configuration of an automatic fire extinguishing system for a kitchen fire caused by electricity or gas according to an embodiment of the present invention, and FIG. 2 is a view for explaining an automatic fire extinguishing system for a kitchen fire caused by electricity or gas according to an embodiment of the present invention. FIG. 7 is a view for explaining an installation state of a fire extinguishing system. FIG.
도 1 및 도 2를 참고하면, 전기 또는 가스로 인한 주방 화재의 자동 소화 시스템은 센서 장치(110), 제어 장치(120), 소화 장치(130), 환풍 장치(140) 및 키조작 장치(150)를 포함한다.1 and 2, an automatic fire extinguishing system for kitchen fire due to electricity or gas includes a
센서 장치(110)는 음식 조리용 가열 기구(10)가 사용되는 주방의 일측에 설치되고, 가열 기구 주변의 온도, 불꽃, 가스, 연기 중 적어도 하나 이상을 감지한다. 이러한 센서 장치(110)는 온도 감지 센서(111), 불꽃 감지 센서(112), 가스 감지 센서(113) 및 연기 감지기(114)를 포함한다.The
온도 감지 센서(111)는 가열 기구(10) 주변의 온도를 감지하여 온도 감지 데이터를 발생하고, 불꽃 감지 센서(112)는 가열 기구(10) 주변의 불꽃이나 발화 여부를 감지하여 불꽃 감지 데이터를 발생한다. 이때, 온도 감지 센서(111)는 화재 예비를 위한 1차 온도 센서, 화재 경보를 위한 2차 온도 센서를 포함한다.The
가스 감지 센서(113)는 실내에서 발생되는 가스의 농도를 감지하여 가스 감지 데이터를 발생하고, 연기 감지기(114)는 연기를 감지하여 연기 감지 데이터를 발생한다.The
가스 감지 센서(113)는 기설정된 가스농도 이상이 감지되면 가스누설 신호를 출력하고, 제어 장치(120)는 가스누설 신호가 수신되면 경보를 울림과 동시에 자동으로 가스밸브를 차단시켜 가스 누설로 인한 사고가 미연에 방지되도록 한다. 또한 가스 감지 센서(113)는 가스 종류에 따라 바닥이나 천장에 설치한다.The
제어 장치(120)는 센서 장치(110)로부터 센서 데이터를 수집하고, 수집된 센서 데이터를 분석하여 화재 레벨을 설정하며, 설정된 화재 레벨에 따라 화재 제어 신호 또는 환풍 제어 신호를 발생한다.The
소화 장치(130)는 가열 기구(10)의 상부 측에 설치되고, 화재 제어 신호에 따라 소화약재를 분사 노즐(131)을 통해 방출한다.The fire extinguishing
환풍 장치(140)는 가열 기구의 상부 측에 설치되고, 환풍 제어 신호에 따라 실내 공기를 실외로 강제 배출시킨다. 환풍 장치(140)는 렌지용 후드로서, 연기를 배기시키는 배기덕트와 가열 기구(10)의 상측에 소정거리 이격된 상태로 설치되어 가열 기구(10)에서 발생된 연기를 흡입하는 흡입관, 환풍 제어 신호에 따라 흡입관을 하강 또는 상승시키기 위한 모터와 유압 실린더를 포함한다.The
키조작 장치(150)는 소화 장치(130) 또는 환풍 장치(140)의 구동에 대한 자동 모드 및 수동 모드에 대한 모드를 결정하며, 가열 기구 또는 화재와 관련한 사용자 조작 정보가 입력된다. 또한, 키조작 장치(150)는 가스밸브의 열림/닫힘, 화재, 가스 누설, 소화기 입력 상태, 주전원과 예비 전원의 상태, 선로 고장 등을 LED 또는 LCD 등을 이용하여 표시할 수 있다. 사용자 조작 정보는 경보 정지/복귀, 예약, 타이머 작동, 수동닫힘고리 등의 사용자 명령이 반영될 수 있다.The
또한, 전기 또는 가스로 인한 주방 화재의 자동 소화 시스템은 가열 기구(10)의 구동원이 가스인 가스 레인지인 경우에 제어 장치(120)의 화재 제어 신호에 따라 가스 공급을 차단하는 가스차단장치(160)와 가열 기구(10)의 구동원이 상용 전원인 전기 레인지인 경우에 제어 장치(120)의 화재 제어 신호에 따라 전원 공급을 차단하는 전원차단장치(도시되지 않음)를 더 포함한다.The automatic fire extinguishing system for a kitchen fire due to electricity or gas may include a
이때, 전기 또는 가스로 인한 주방 화재의 자동 소화 시스템은 IoT 기기(300)인 스마트 콘센트에 전기 레인지의 플러그가 장착된 상태이거나 홈 네트워크 시스템과 연계된 경우에, 누전이나 전기 레인지 주변의 화재 발생시 전원차단장치를 통해 자동으로 전원이 차단되도록 할 수 있다. 여기서 전원 차단 장치는 스마트 콘센트이거나 홈 네트워크 시스템과 연계된 전원 차단 프로그램이 될 수 있다.In this case, the automatic fire extinguishing system of the kitchen fire caused by electricity or gas is a system in which the plug of the electric range is plugged into the smart outlet which is the
사용자 단말(200)은 데스크탑 컴퓨터, 랩탑 컴퓨터, 스마트폰, PDA(Personal Digital Assistant), 태블릿 PC 등의 네트워크 접속이 가능한 통신 기기일 수 있으며, 그 종류나 개수에 제한이 없다.The
도 3은 도 1의 제어 장치의 구성을 설명하는 도면이고, 도 4는 도 1의 소화 장치의 분사 노즐 설치 상태를 설명하는 도면이며, 도 5는 도 4의 분사 노즐의 구성을 설명하는 도면이다.Fig. 3 is a view for explaining the configuration of the control apparatus of Fig. 1, Fig. 4 is a view for explaining a state of installing the injection nozzle of the fire extinguishing system of Fig. 1, and Fig. 5 is a view for explaining the configuration of the injection nozzle of Fig. 4 .
도 3 내지 도 5를 참고하면, 제어 장치(120)는, 통신 모듈(121), 데이터 수집 모듈(122), 데이터 처리 모듈(123), 동작 제어 모듈(124), 경보 모듈(125) 및 저장 모듈(126)을 포함한다.3 to 5, the
통신 모듈(121)은 댁내에 구비된 홈 네트워크 시스템 또는 사용자 단말(200)과 유선 또는 무선으로 통신을 수행한다. 통신 모듈(121)은 전력선 통신 또는 RS-485 통신을 비롯해 적외선통신, RF 무선통신, LAN 통신 등 다양한 통신 방식이 적용될 수 있다.The
이러한 통신 모듈(121)은 스마트 콘센트, 스위치, 플러그, 에너지미터, 가스차단장치(160), 도어락 등 사물인터넷 기반 기기, 즉 IoT 기기(300)를 연결한 홈 사물인터넷(IoT, Internet of Things) 서비스를 지원하고, 사용자는 스마트폰 등의 사용자 단말(200)을 통해 홈 IoT 서비스를 제어할 수 있다.The
데이터 수집 모듈(122)은 센서 데이터 또는 사용자 조작 정보를 수집한다. 이때, 데이터 수집 모듈(122)은 수집된 정보를 저장하는 메모리(도시되지 않음)를 포함한다.The data collection module 122 collects sensor data or user manipulation information. At this time, the data collection module 122 includes a memory (not shown) that stores the collected information.
데이터 처리 모듈(123)은 센서 데이터를 분석하여 화재 예비, 화재 경보, 방호 실행에 대한 화재 레벨을 설정하고, 설정된 화재 레벨에 따라 분사 노즐(131)의 분사 각도(α) 또는 실내 공기의 배출량을 산출한다.The
먼저, 데이터 처리 모듈(123)은 가스 감지 센서(113) 또는 연기 감지기(114)의 가스 감지 데이터 또는 연기 감지 데이터를 분석하여 가스 또는 연기가 기설정된 농도 이상일 경우에 화재 레벨을 화재 예비 단계로 설정한다. 이때, 화재 예비 단계는 가스 또는 연기의 농도에 따라 상/중/하의 등급으로 구분할 수 있고, 등급에 따라 환풍 장치(140)와 연동하여 가스 또는 연기를 실외로 배출될 수 있도록 한다.First, the
화재 예비 단계에서는 음식물 조리시 발생되는 연기나 가스와 혼동되어 소화 장치(130)가 오작동되지 않도록 순차적으로 예비 등급을 상향 조정하면서 환풍 장치(140)를 자동으로 구동시킨다. 또한, 화재 예비 단계가 상등급일 경우에, 데이터 처리 모듈(123)은 소화 장치(130)가 작동하기 이전에 사용자가 현재 가열 기구(10)의 주변을 살펴볼 수 있도록 경보음을 울리거나 사용자 단말(200)로 화재 예비 단계가 상등급으로 상향 조정되었음을 메시지로 알려줄 수도 있다.In the preliminary stage of the fire, the
다음, 데이터 처리 모듈(123)은 불꽃 감지 센서(112) 또는 온도 감지 센서(111)의 불꽃 감지 데이터와 온도 감지 데이터를 분석하여 불꽃이 감지되거나 설정 온도 이상의 온도가 감지된 경우에 화재 경보 단계 및 방호 실행 단계를 설정한다.Next, the
화재 경보 단계 및 방호 실행 단계는 감지된 불꽃이나 온도에 따라 상/중/하 등급으로 구분될 수 있고, 등급에 따라 소화약제의 분사량, 소화약제의 분사 시간, 경보음 레벨이나 출력 시간 등을 설정한다.The fire alarm step and the protection execution step can be classified into the upper, middle, and lower classes according to the detected flame or temperature, and the fire amount of the fire extinguishing agent, the injection time of the fire extinguishing agent, the alarm sound level, do.
데이터 처리 모듈(123)은 화재 예비 단계, 화재 경보 단계 및 방호 실행 단계의 등급을 구분하고, 각 등급에 대응되는 장치의 동작 상태를 설정한 룩업테이블을 이용할 수 있다.The
동작 제어 모듈(124)은 데이터 처리 모듈(123)에서 산출된 분사 노즐의 분사 각도 또는 실내 공기의 배출량에 따라 소화 장치(130) 또는 환풍 장치(140)의 동작 파라미터를 추출하여 화재 제어 신호 또는 환풍 제어 신호를 발생한다.The
경보 모듈(125)은 설정된 화재 레벨에 따른 경보음 또는 경보 메시지를 사용자에게 통보한다.The
제어 장치(120)는 센서 장치(110), 소화 장치(130), 환풍 장치(140) 또는 가열 기구(10)의 구동원(가스 또는 전기)에 대한 상태를 체크한 후 상태 정보 신호를 경보 모듈(125)을 통해 사용자에게 경보하거나 통신 모듈(121)을 통해 사용자 단말(200)에 통지한다.The
일례로, 제어 장치(120)는 가스 누설이 감지된 경우에 경보 모듈(125)을 통해 경보음을 출력할 수 있고, 사용자 단말(200)로 가스 누설이 감지됨을 통지하는 메시지를 전송할 수 있다. 이때, 제어 장치(120)는 저장 모듈(126)에 각종 경보 메시지와 사용자 단말(200)의 전화번호를 저장할 수 있다.For example, the
한편, 데이터 처리 모듈(123)은 설정된 화재 레벨에 따라 분사 노즐(131)의 분사 각도 또는 실내 공기의 배출량을 산출하게 되는데, 화재 레벨이 화재 경보 단계의 하등급인 경우에 분사 노즐(131)은 제1 분사 각도(α1)이고, 중등급인 경우에 제2 분사각도(α2, α2>α1), 상등급인 경우에 제3 분사 각도(α3, α3 >α2)를 갖도록 한다.Meanwhile, the
온도 감지 센서(111)는 가열 기구(10)의 조리 화구마다 적어도 하나 이상이 설치되고, 조리 화구의 중심을 기준으로 일정한 온도 감지 영역을 갖는다. 따라서, 데이터 처리 모듈(123)은 온도 감지 센서(111)로부터 온도 감지 데이터를 수신하여 온도 감지 데이터의 온도 분포 상태를 체크하여 해당 온도 감지 센서(111)의 온도 감지 영역 중 최고 온도점을 갖는 위치를 기준점으로 산출하고, 산출된 기준점을 중심으로 기설정된 방호 면적을 적용하여 분사 노즐의 분사 각도(α)를 산출한다. 여기서, 데이터 처리 모듈(123)은 온도 감지 센서(111)뿐만 아니라 불꽃 감지 센서(112)를 이용하여 발화가 예측되거나 진행중인 기준점을 산출할 수도 있다.At least one
데이터 처리 모듈(123)은 룩업테이블이나 저장 모듈(126)에 레인지 종류에 따라 유효 방호 면적을 저장하고, 화재 경보 단계의 등급 또는 사용자 설정에 따라 유효 방호 면적을 증감할 수 있다.The
동작 제어 모듈(124)은 데이터 처리 모듈(123)에서 산출된 분사 노즐(131)의 분사 각도에 따라 분사 노즐(131)의 위치 이동을 위한 동작 파라미터를 추출하여 화재 제어 신호에 반영한다. 소화 장치(130)는 화재 제어 신호의 동작 파라미터에 따라 분사 노즐의 상하좌우에 대한 위치 이동을 수행하는 구동부(도시되지 않음)를 포함한다.The
이때, 도 4 및 도 5에 도시된 바와 같이, 소화 장치(130)는 조리 화구의 상부측, 즉 환풍 장치(140)인 후드에 설치되고, 온도 감지 센서(111)와 일체형으로 형성될 수 있다. 특히, 분사 노즐(131)은 유효 방호 면적의 중앙인 조리 화구의 수직 상방에 설치되고, 후드의 일측에 분사 노즐과 센서장치의 감지선(115)이 인출되돌 수 있도록 후드홀(141)을 뚫어 설치한다. 분사 노즐(131)은 너트(142)를 이용해 후드에 고정시키고, 방수 및 먼지 방지 기능이 있는 와셔(116)를 이용해 전선을 보호하도록 한다.4 and 5, the
또한, 데이터 처리 모듈(123)은 가스 감지 센서(113)와 연기 감지기(114)로부터 가스 감지 데이터와 연기 감지 데이터를 수신하고, 가스 감지 데이터의 가스 농도와 연기 감지 데이터의 연기량을 분석하여 환풍 장치(140)의 배출 속도와 배출 강도를 포함한 실내 공기의 배출량을 산출한다.The
동작 제어 모듈(124)은 데이터 처리 모듈(123)에서 산출된 실내 공기의 배출량에 따라 환풍 장치(140)의 구동 속도 제어값을 위한 동작 파라미터를 추출하는데, 화재 레벨이 화재 예비 단계의 하등급인 경우에 실내 공기의 배출량을 약 수준으로 하고, 중등급인 경우에 중 수준, 상등급인 경우에 강 수준으로 배출되도록 한다.The
이때, 동작 제어 모듈(124)은 환풍 장치(140)의 모터와 유압 실린더를 구동시켜 배기 덕트의 내측 흡입관을 하강시켜 실내 공기를 실외로 강제 배출시키고, 온도 감지 센서(111)와 연동하여 열이나 위험 수준의 온도가 더이상 감지되지 않는 경우에 내측 흡입관을 상승시켜 실내 공기 배출 동작을 정지한다.At this time, the
한편, 제어 장치(120)는 화재 제어 신호 또는 환풍 제어 신호에 의한 화재 이벤트 발생 이력을 메모리에 저장하고, 저장된 화재 이벤트 발생 이력을 근거로 화재 처리 정책 정보를 변경 설정하여 변경 설정된 화재 처리 정책 정보에 따른 화재제어처리를 수행한다. 이때, 화재 처리 정책 정보는 화재제어의 기준이 되는 화재 레벨의 화재 예비 설정기준레벨, 화재경보 설정기준레벨, 방호실행 설정기준레벨의 정보를 포함한다.On the other hand, the
제어 장치(120)는 화재제어의 기준이 되는 전력 정책과 소방 정책을 포함하는 화재처리 정책정보를 적어도 둘 이상 제공하고, 소화 장치(130) 또는 환풍 장치(140)에 대한 화재처리 정책정보의 변경설정여부를 결정하도록 구성된다.The
이러한 제어장치(120)는 화재 처리 정책 정보를 변경 설정하는 경우에, 사용자 단말(200)로 변경된 화재 처리 정책 정보를 제공하고, 사용자 단말(200)을 통해 화재 처리 정책의 변경확인정보가 수신되는 경우에 변경 설정된 화재 처리 정책 정보를 근거로 화재제어 처리를 수행한다. 그러나, 제어 장치(120)는 사용자 단말(200)을 통해 화재 처리 정책 유지정보가 수신되는 경우에 변경 이전의 화재 처리 정책 정보를 근거로 화재제어처리를 수행한다.The
예를 들어, 가열 기구가 전기 레인지이고, 전기 레인지의 전선이 스마트 콘센트에 꽂혀 있는 경우에, 스마트 콘센트는 대기전력 차단이나 과부하 상태를 판단하고, 이에 대한 전원 이벤트 발생 이력을 확인하여 자신의 전력 제어 기준이 되는 화재처리 정책 정보 중 전력 정책을 변경 설정하도록 제어 장치(120)로 요청할 수 있다. 제어 장치(120)는 스마트 콘센트의 전력 정책의 변경 요청에 대한 변경 설정 여부를 결정한다.For example, when the heating device is an electric range and the electric wire of the electric range is plugged into the smart outlet, the smart outlet determines whether the standby power is cut off or overloaded, The
도 6은 도 1의 키 조작 장치의 구성을 설명하는 도면이다.Fig. 6 is a view for explaining the configuration of the key operation device of Fig. 1;
도 6을 참고하면, 키 조작 장치(150)는 표시부(151), 조작 스위치(152), 수동닫힘고리(153)를 포함한다.6, the
표시부(151)는 전원, 예비 전원, 압력 누설, 가스 누설, 예비 화재, 화재, 작동, 열림/닫힘, 타이머 기능 등을 표시하는 표시등을 포함한다.The
전원 표시등은 주 전원의 정상 상태를 표시하고, 예비 전원 표시등은 주전원 정전시 점등되어 예비 전원 사용 상태를 표시하며, 압력 누설 표시등은 소화 장치(130)의 압력에 이상이 있을 경우에 점등되고 단선시 점멸된다. 가스누설 표시등은 가스 누설 발생시 점등되고 회로가 단선일 경우에 점멸되고, 예비 화재 표시등은 예비 화재 감지시 점등되고 센서 장치(110)의 회로 단선시 점멸된다. 화재 표시등은 화재 발생시 점등되고 회로가 단선일 경우에 점멸되며, 작동 표시등은 화재시 소화 장치(130)가 작동된 경우에 점등되고 회로 단선시 점멸된다. 열림 표시등은 가스 밸브가 열리면 점등되고, 닫힘 표시등은 가스 밸브가 잠기거나 가스 누설시 예비 화재시 점멸된다. 타이머의 표시등은 가스 차단 예약 시간을 설정할 수 있다.The power indicator indicates the steady state of the main power source. The auxiliary power indicator lights up when the main power is off and indicates the standby power usage. The pressure leakage indicator lights up when the pressure of the
조작 스위치(152)는 경보시 부저음(경보음)을 정지시키는 경보 정지 버튼, 회로를 초기 상태로 복귀시키는 복귀 버튼, 열림 상태에서 닫힘 시간을 설정할 때 사용하는 예약 버튼, 가스 밸브를 열림/닫힘하는 기능인 열림/닫힘 버튼을 포함한다.The
수동닫힘고리(153)는 가스 밸브를 수동으로 닫히도록 하는 기능을 수행한다.The
이와 같이, 키 조작 장치(150)는 화재 초기 진압시, 가열 기구(10)의 주변 온도가 정상 온도가 되면 부저음 및 예비 화재의 표시등 등이 자동으로 복귀가 되며, 화재 진압 후 가열 기구(10)를 작동할 경우에 복귀 버튼을 눌러 정상 작동시킬 수 있다. 또한, 키 조작 장치(150)는 원격으로 사용자 단말(200)을 통해 조작 스위치(152)의 조작이 제어될 수 있다.Thus, when the ambient temperature of the
상기에서는 본 발명의 바람직한 실시예를 참조하여 설명하였지만, 해당 기술 분야의 숙련된 당업자는 하기의 특허 청구의 범위에 기재된 본 발명의 사상 및 영역으로부터 벗어나지 않는 범위 내에서 본 발명을 다양하게 수정 및 변경시킬 수 있음을 이해할 수 있을 것이다.It will be apparent to those skilled in the art that various modifications and variations can be made in the present invention without departing from the spirit or scope of the present invention as defined by the following claims It can be understood that
110 : 센서 장치 120 : 제어 장치
130 : 소화 장치 140 : 환풍 장치
150 : 키 조작 장치110: sensor device 120: control device
130: fire extinguishing device 140: ventilation device
150: Key operation device
| Application Number | Priority Date | Filing Date | Title |
|---|---|---|---|
| KR1020160076546AKR101714338B1 (en) | 2016-06-20 | 2016-06-20 | Automatic Extinguishing System for Kitchen Fire cause by Electrics and Gas |
| Application Number | Priority Date | Filing Date | Title |
|---|---|---|---|
| KR1020160076546AKR101714338B1 (en) | 2016-06-20 | 2016-06-20 | Automatic Extinguishing System for Kitchen Fire cause by Electrics and Gas |
| Publication Number | Publication Date |
|---|---|
| KR101714338B1true KR101714338B1 (en) | 2017-03-08 |
| Application Number | Title | Priority Date | Filing Date |
|---|---|---|---|
| KR1020160076546AActiveKR101714338B1 (en) | 2016-06-20 | 2016-06-20 | Automatic Extinguishing System for Kitchen Fire cause by Electrics and Gas |
| Country | Link |
|---|---|
| KR (1) | KR101714338B1 (en) |
| Publication number | Priority date | Publication date | Assignee | Title |
|---|---|---|---|---|
| CN107233687A (en)* | 2017-05-31 | 2017-10-10 | 华东建筑设计研究院有限公司 | A kind of framework of fire fighting device Internet of things system |
| KR101803713B1 (en)* | 2017-04-17 | 2018-01-10 | 윈텍정보(주) | Intelligence fire early waring system |
| CN108744366A (en)* | 2018-05-28 | 2018-11-06 | 苏州若依玫信息技术有限公司 | A kind of fire-fighting monitoring processing system for building interior more burning point regions |
| KR20190106554A (en)* | 2018-03-09 | 2019-09-18 | 피앤씨테크 주식회사 | Detection Device for Kitchen Fire and Method thereof |
| KR20190115878A (en)* | 2018-04-04 | 2019-10-14 | 주식회사 선포탈 | Solar Light System |
| KR102032549B1 (en)* | 2018-06-27 | 2019-11-08 | 가천대학교 산학협력단 | Integrated intelligent safety management system |
| CN110517457A (en)* | 2019-09-06 | 2019-11-29 | 中山大学南方学院 | Kitchen hazard treatment device |
| KR20200076235A (en)* | 2018-12-19 | 2020-06-29 | 유재경 | Artificial intelligent fire extinguishing system for commercial kitchen facilities |
| KR20200098317A (en)* | 2019-02-12 | 2020-08-20 | 광주대학교산학협력단 | Fire extinguish system |
| CN111632331A (en)* | 2020-06-01 | 2020-09-08 | 厦门艾士迪半导体有限公司 | Intelligent kitchen fire extinguishing system and fire extinguishing method |
| KR20210001696A (en)* | 2019-06-28 | 2021-01-07 | 피앤씨테크 주식회사 | Apparatus and method for fire management in the kitchen |
| KR102252479B1 (en)* | 2020-06-01 | 2021-05-14 | 주식회사 창성에이스산업 | Wireless Alarm and Voice System Of Kitchen Fire Extinguishing Device |
| CN113758016A (en)* | 2021-08-31 | 2021-12-07 | 青岛经济技术开发区海尔热水器有限公司 | Control method, device and equipment of water heater |
| CN114583671A (en)* | 2022-03-22 | 2022-06-03 | 广东电网有限责任公司 | Power distribution network protection system and method |
| KR20220080603A (en)* | 2020-12-07 | 2022-06-14 | 글로벌스마트솔루션 주식회사 | Intelligence Kitchen Safety System And the Mananging Method Thereof |
| KR20220114280A (en)* | 2021-02-08 | 2022-08-17 | 창신기술 주식회사 | IOT-based automated fire extinguisher remote management system |
| KR20230132117A (en)* | 2022-03-08 | 2023-09-15 | 피앤씨테크 주식회사 | Fire Prevention Range Hood System and Operating Method using Blower Speed |
| KR102590048B1 (en)* | 2023-08-07 | 2023-10-13 | 이문수 | Control system with fire prediction and fire extinguishing function using field adaptive algorithm |
| WO2023236943A1 (en)* | 2022-06-08 | 2023-12-14 | 钟基林 | Intelligent fire alarm, rescue and disaster-relief system |
| WO2024109939A1 (en)* | 2022-11-26 | 2024-05-30 | 深圳市创客工场科技有限公司 | Fire extinguishing control method, fire extinguishing system and fire extinguishing protection system |
| KR102682548B1 (en)* | 2023-12-18 | 2024-07-10 | 하얀산업(주) | Commercial kitchen automatic fire extinguishing system |
| CN119914965A (en)* | 2025-03-28 | 2025-05-02 | 广州市扬新技术研究有限责任公司 | Subway air valve control method, device, equipment and storage medium |
| EP4408542A4 (en)* | 2021-10-01 | 2025-08-06 | Oy Halton Group Ltd | FIRE DETECTION AND WARNING SYSTEMS, DEVICES AND METHODS FOR KITCHEN VENTILATION |
| Publication number | Priority date | Publication date | Assignee | Title |
|---|---|---|---|---|
| KR100821142B1 (en)* | 2006-11-08 | 2008-04-14 | 현대자동차주식회사 | Automobile engine room fire suppression device |
| KR20130059248A (en)* | 2012-02-02 | 2013-06-05 | 피앤씨테크 주식회사 | Automatic fire extinguishing system |
| KR101389541B1 (en) | 2013-01-10 | 2014-04-25 | (주)한솔하이테크 | Fire pretection system for kitchen |
| KR101390165B1 (en)* | 2013-01-11 | 2014-04-29 | 한밭대학교 산학협력단 | Hood fire-alarm automatic system |
| KR101460707B1 (en) | 2014-07-10 | 2014-11-11 | 히어로화이어엔지니어링(주) | Fire extinguishing apparatus for commercial kitchen fire |
| KR20160004022A (en)* | 2014-07-02 | 2016-01-12 | 김영 | Fire extinguishing system for commercial kitchen |
| Publication number | Priority date | Publication date | Assignee | Title |
|---|---|---|---|---|
| KR100821142B1 (en)* | 2006-11-08 | 2008-04-14 | 현대자동차주식회사 | Automobile engine room fire suppression device |
| KR20130059248A (en)* | 2012-02-02 | 2013-06-05 | 피앤씨테크 주식회사 | Automatic fire extinguishing system |
| KR101389541B1 (en) | 2013-01-10 | 2014-04-25 | (주)한솔하이테크 | Fire pretection system for kitchen |
| KR101390165B1 (en)* | 2013-01-11 | 2014-04-29 | 한밭대학교 산학협력단 | Hood fire-alarm automatic system |
| KR20160004022A (en)* | 2014-07-02 | 2016-01-12 | 김영 | Fire extinguishing system for commercial kitchen |
| KR101460707B1 (en) | 2014-07-10 | 2014-11-11 | 히어로화이어엔지니어링(주) | Fire extinguishing apparatus for commercial kitchen fire |
| Publication number | Priority date | Publication date | Assignee | Title |
|---|---|---|---|---|
| KR101803713B1 (en)* | 2017-04-17 | 2018-01-10 | 윈텍정보(주) | Intelligence fire early waring system |
| WO2018194264A1 (en)* | 2017-04-17 | 2018-10-25 | 윈텍정보(주) | Intelligent early fire alarm system |
| CN107233687A (en)* | 2017-05-31 | 2017-10-10 | 华东建筑设计研究院有限公司 | A kind of framework of fire fighting device Internet of things system |
| KR102523594B1 (en)* | 2018-03-09 | 2023-04-20 | 피앤씨테크 주식회사 | Detection Device for Kitchen Fire and Method thereof |
| KR20190106554A (en)* | 2018-03-09 | 2019-09-18 | 피앤씨테크 주식회사 | Detection Device for Kitchen Fire and Method thereof |
| KR102096880B1 (en)* | 2018-04-04 | 2020-04-09 | 주식회사 선포탈 | Solar Light System |
| KR20190115878A (en)* | 2018-04-04 | 2019-10-14 | 주식회사 선포탈 | Solar Light System |
| CN108744366A (en)* | 2018-05-28 | 2018-11-06 | 苏州若依玫信息技术有限公司 | A kind of fire-fighting monitoring processing system for building interior more burning point regions |
| KR102032549B1 (en)* | 2018-06-27 | 2019-11-08 | 가천대학교 산학협력단 | Integrated intelligent safety management system |
| KR20200076235A (en)* | 2018-12-19 | 2020-06-29 | 유재경 | Artificial intelligent fire extinguishing system for commercial kitchen facilities |
| KR102204055B1 (en)* | 2018-12-19 | 2021-01-15 | 유재경 | Artificial intelligent fire extinguishing system for commercial kitchen facilities |
| KR20200098317A (en)* | 2019-02-12 | 2020-08-20 | 광주대학교산학협력단 | Fire extinguish system |
| KR102168693B1 (en)* | 2019-02-12 | 2020-10-21 | 광주대학교산학협력단 | Fire extinguish system for indoor |
| KR20210001696A (en)* | 2019-06-28 | 2021-01-07 | 피앤씨테크 주식회사 | Apparatus and method for fire management in the kitchen |
| KR102235816B1 (en)* | 2019-06-28 | 2021-04-12 | 피앤씨테크 주식회사 | Apparatus and method for fire management in the kitchen |
| CN110517457A (en)* | 2019-09-06 | 2019-11-29 | 中山大学南方学院 | Kitchen hazard treatment device |
| CN110517457B (en)* | 2019-09-06 | 2024-11-12 | 广州南方学院 | Kitchen hidden danger treatment device |
| KR102252479B1 (en)* | 2020-06-01 | 2021-05-14 | 주식회사 창성에이스산업 | Wireless Alarm and Voice System Of Kitchen Fire Extinguishing Device |
| CN111632331A (en)* | 2020-06-01 | 2020-09-08 | 厦门艾士迪半导体有限公司 | Intelligent kitchen fire extinguishing system and fire extinguishing method |
| KR20220080603A (en)* | 2020-12-07 | 2022-06-14 | 글로벌스마트솔루션 주식회사 | Intelligence Kitchen Safety System And the Mananging Method Thereof |
| KR102521087B1 (en)* | 2020-12-07 | 2023-04-12 | 글로벌스마트솔루션 주식회사 | Intelligence Kitchen Safety System And the Mananging Method Thereof |
| KR20220114280A (en)* | 2021-02-08 | 2022-08-17 | 창신기술 주식회사 | IOT-based automated fire extinguisher remote management system |
| KR102513039B1 (en) | 2021-02-08 | 2023-03-23 | 창신기술 주식회사 | IOT-based automated fire extinguisher remote management system |
| CN113758016A (en)* | 2021-08-31 | 2021-12-07 | 青岛经济技术开发区海尔热水器有限公司 | Control method, device and equipment of water heater |
| EP4408542A4 (en)* | 2021-10-01 | 2025-08-06 | Oy Halton Group Ltd | FIRE DETECTION AND WARNING SYSTEMS, DEVICES AND METHODS FOR KITCHEN VENTILATION |
| KR20230132117A (en)* | 2022-03-08 | 2023-09-15 | 피앤씨테크 주식회사 | Fire Prevention Range Hood System and Operating Method using Blower Speed |
| KR102657236B1 (en)* | 2022-03-08 | 2024-05-20 | 피앤씨테크 주식회사 | Fire Prevention Range Hood System and Operating Method using Blower Speed |
| CN114583671A (en)* | 2022-03-22 | 2022-06-03 | 广东电网有限责任公司 | Power distribution network protection system and method |
| WO2023236943A1 (en)* | 2022-06-08 | 2023-12-14 | 钟基林 | Intelligent fire alarm, rescue and disaster-relief system |
| WO2024109939A1 (en)* | 2022-11-26 | 2024-05-30 | 深圳市创客工场科技有限公司 | Fire extinguishing control method, fire extinguishing system and fire extinguishing protection system |
| KR102590048B1 (en)* | 2023-08-07 | 2023-10-13 | 이문수 | Control system with fire prediction and fire extinguishing function using field adaptive algorithm |
| KR102682548B1 (en)* | 2023-12-18 | 2024-07-10 | 하얀산업(주) | Commercial kitchen automatic fire extinguishing system |
| CN119914965A (en)* | 2025-03-28 | 2025-05-02 | 广州市扬新技术研究有限责任公司 | Subway air valve control method, device, equipment and storage medium |
| Publication | Publication Date | Title |
|---|---|---|
| KR101714338B1 (en) | Automatic Extinguishing System for Kitchen Fire cause by Electrics and Gas | |
| US10490055B2 (en) | Supervision and control system for preventing poor air quality and fire as well as issuing an alarm of a dangerous condition | |
| US7327246B2 (en) | Safety shut-off system | |
| KR101679231B1 (en) | Fire extinguishing system for commercial kitchen | |
| CN105333478B (en) | Range hood and its control method with extinguishing device | |
| KR101638152B1 (en) | smart fire preventing and responding system | |
| FI121608B (en) | stove Safety | |
| KR20130015056A (en) | Automatic fire protection system | |
| KR101911820B1 (en) | Automatic dire extinguishing apparatus for kitchen, and control method therof | |
| KR101464556B1 (en) | Safety control system of automatic shutoff device and range hood and safty control method using the same | |
| CN201787734U (en) | Pre-warning gas water heater | |
| KR101390165B1 (en) | Hood fire-alarm automatic system | |
| KR20130098791A (en) | System and method for ventilation control of automatic fire extinguisher apparatus | |
| WO2010002504A1 (en) | Air quality sensor/interruptor | |
| KR101363837B1 (en) | System and method for hood control of automatic fire extinguisher apparatus | |
| KR102151614B1 (en) | Smart automatic fire extinguishing system that can automatically adjust hood for gas range or electric range | |
| KR20130059248A (en) | Automatic fire extinguishing system | |
| US20150253793A1 (en) | Appliance Shut-Off Device | |
| US20070124953A1 (en) | Clothes Dryer Fire Alarm | |
| CN111021903A (en) | Security door system convenient for rescuing from fire | |
| JP3113206B2 (en) | Failure indication method for automatic fire extinguishing equipment | |
| CN110822720B (en) | Wall-mounted boiler safety fault control method | |
| KR20160084012A (en) | Fire prevent system | |
| JP2002056473A (en) | Gas/fire alarm and alarm system | |
| AU2013100383A4 (en) | Fire Detection System |
| Date | Code | Title | Description |
|---|---|---|---|
| PA0109 | Patent application | Patent event code:PA01091R01D Comment text:Patent Application Patent event date:20160620 | |
| PA0201 | Request for examination | ||
| PA0302 | Request for accelerated examination | Patent event date:20160629 Patent event code:PA03022R01D Comment text:Request for Accelerated Examination Patent event date:20160620 Patent event code:PA03021R01I Comment text:Patent Application | |
| PE0902 | Notice of grounds for rejection | Comment text:Notification of reason for refusal Patent event date:20160907 Patent event code:PE09021S01D | |
| AMND | Amendment | ||
| E601 | Decision to refuse application | ||
| PE0601 | Decision on rejection of patent | Patent event date:20170126 Comment text:Decision to Refuse Application Patent event code:PE06012S01D Patent event date:20160907 Comment text:Notification of reason for refusal Patent event code:PE06011S01I | |
| AMND | Amendment | ||
| PX0901 | Re-examination | Patent event code:PX09011S01I Patent event date:20170126 Comment text:Decision to Refuse Application Patent event code:PX09012R01I Patent event date:20161107 Comment text:Amendment to Specification, etc. | |
| PX0701 | Decision of registration after re-examination | Patent event date:20170221 Comment text:Decision to Grant Registration Patent event code:PX07013S01D Patent event date:20170213 Comment text:Amendment to Specification, etc. Patent event code:PX07012R01I Patent event date:20170126 Comment text:Decision to Refuse Application Patent event code:PX07011S01I Patent event date:20161107 Comment text:Amendment to Specification, etc. Patent event code:PX07012R01I | |
| X701 | Decision to grant (after re-examination) | ||
| GRNT | Written decision to grant | ||
| PR0701 | Registration of establishment | Comment text:Registration of Establishment Patent event date:20170228 Patent event code:PR07011E01D | |
| PR1002 | Payment of registration fee | Payment date:20170228 End annual number:3 Start annual number:1 | |
| PG1601 | Publication of registration | ||
| PR1001 | Payment of annual fee | Payment date:20201214 Start annual number:5 End annual number:5 | |
| PR1001 | Payment of annual fee | Payment date:20220215 Start annual number:6 End annual number:6 | |
| PR1001 | Payment of annual fee | Payment date:20240305 Start annual number:8 End annual number:8 |