






본 발명의 일 실시예는 아티스트에 관련된 컨텐츠를 소비하는 팬의 소비 활동 정보를 기초로 아티스트의 순위를 산출할 수 있는 아티스트 순위 산출 시스템 및 이를 이용한 산출 방법에 관한 것이다.
An embodiment of the present invention relates to an artist ranking calculation system capable of calculating the ranking of artists based on consumption activity information of a fan consuming content related to an artist and a calculation method using the same.
엔터테인먼트 사업의 발전과 호황에 따라, 일반인은 자신이 좋아하는 특정 스타와 직접적인 의사소통을 하고자 하는 욕구는 더욱 증대되고 있다. 이와 같은 욕구를 반영하여, 팬사인회, ARS 음성사서함 서비스 등과 같은 의사소통 수단 및 이를 기반으로 한 수익 사업 모델이 지속적으로 개발되고 있는 실정이다.With the development and boom of the entertainment business, the public is increasingly desiring to communicate directly with their favorite star. Reflecting this desire, communication tools such as fan signing and ARS voicemail service and revenue business model based on it are continuously being developed.
특히, 유무선 인터넷 통신이 널리 보급됨에 따라, 인터넷 공간은 일반인과 일반인 또는 일반인과 스타(배우, 가수, 연예인, 운동선수 등) 간의 활발한 의사소통 공간으로 각광받고 있으며, 이에 따라 유무선 인터넷 통신을 이용한 온라인 채팅 이벤트, 스타와 주고 받는 UFO 서비스 등이 제공되고 있다.Especially, as wired / wireless internet communication has become widespread, the Internet space has attracted attention as an active communication space between the general public, the general public or the general public and stars (actors, singers, entertainers, athletes, etc.) Chat events, and UFO services to and from the stars.
그러나, 종래 커뮤니티 서비스는 이벤트성으로 제공됨에 따라 일반인이 원하는 시기에 일반인이 원하는 스타의 상태, 예를 들면 원하는 스타의 인기도, 인기 차트 등를 실시간으로 제공받기 어렵다는 문제점이 있었다.
However, since the conventional community service is provided as an event, it is difficult for the general public to receive the status of a star desired by a general public, for example, the popularity of a desired star, a popular chart, etc. in real time.
본 발명의 일 실시예는 아티스트에 관련된 컨텐츠를 소비하는 팬의 소비 활동 정보를 기초로 아티스트의 순위를 산출하여 팬에게 제공함으로써, 팬은 선호하는 아티스트에 관한 순위 정보를 실시간으로 알 수 있고, 이를 통하여 아티스트에 관련된 컨텐츠 항목의 소비를 유도할 수 있는 아티스트 순위 산출 시스템 및 이를 이용한 산출 방법을 제공한다.
According to an embodiment of the present invention, the ranking of the artist is calculated based on the consumption activity information of the fan consuming the contents related to the artist and is provided to the fan, so that the fan can know the ranking information about the preferred artist in real time, And an artist ranking calculation system that can induce consumption of a content item related to the artist through the artist ranking system.
본 발명의 일 실시예에 의한 아티스트 순위 산출 시스템은 관계 형성 어플리케이션이 탑재되고, 상기 관계 형성 어플리케이션의 실행에 의하여 커넥션 서버에 접속하여 회원 인증후 아티스트에 관련된 다수의 컨텐츠 항목을 소비하는 사용자 단말; 및 상기 컨텐츠 항목이 미리 설정된 점수표 항목으로 분류되어 저장되고, 상기 사용자 단말을 통하여 수행되는 컨텐츠 항목의 소비 활동 정보를 기초로 하여, 상기 컨텐츠 항목별 표준화 점수를 산출하며, 상기 컨텐츠 항목별 표준화 점수를 이용하여 상기 점수표 항목별 표준화 점수를 산출하고, 상기 점수표 항목별 표준화 점수와 미리 설정된 점수표 항목별 자동 가중치를 이용하여 상기 점수표 항목별 최종 점수를 산출하며, 상기 점수표 항목별로 산출된 최종점수를 합산하여 아티스트 레벨과 상기 아티스트 레벨에 따른 아티스트 순위를 산출하여 상기 사용자 단말에 제공하는 커넥션 서버를 포함할 수 있다.An artist ranking calculation system according to an embodiment of the present invention includes a user terminal that is loaded with a relationship formation application and accesses a connection server by executing the relationship formation application and consumes a plurality of content items related to an artist after member authentication; Wherein the content item is classified and stored as a predetermined score table item, and the standardization score for each content item is calculated based on consumption activity information of the content item performed through the user terminal, Calculating a standardized score for each item of the scoring table using the standardized score for each scoring table item and the automatic weighting for each scoring table item, And a connection server for calculating the artist level and the artist ranking according to the artist level and providing the calculated artist ranking to the user terminal.
또한, 본 발명의 다른 실시예에 따른 아티스트 순위 산출 방법은 아티스트에 관련된 컨텐츠 항목에 대한 사용자의 소비 활동 정보를 통하여 아티스트의 순위를 산출하는 아티스트 순위 산출 방법에 있어서, 사용자가 자신의 사용자 단말을 통하여 커넥터 서버에 접속하여 회원 가입을 위한 사용자 정보를 입력한 후 회원으로 등록하는 제1 단계; 상기 사용자가 선호하는 아티스트와 상기 아티스트에 관련된 컨텐츠 항목을 선택하는 제2 단계; 상기 선택된 컨텐츠 항목에 대한 소비 활동을 수행하는 제3 단계; 상기 수행된 사용자의 소비 활동 정보를 기초로 컨텐츠 항목별 표준화 점수를 산출하는 제4 단계; 상기 산출된 컨텐츠 항목별 표준화 점수를 이용하여 상기 컨텐츠 항목이 그룹으로 분류된 점수표 항목별 표준화 점수를 산출하는 제5 단계; 상기 점수표 항목별 표준화 점수와 미리 설정된 점수표 항목별 자동 가중치를 이용하여 상기 점수표 항목별 최종 점수를 산출하는 제6 단계; 상기 점수표 항목별로 산출된 최종점수를 합산하는 제7 단계; 상기 합산된 최종점수를 이용하여 아티스트 레벨을 산출하는 제8 단계; 및 상기 산출된 아티스트 레벨에 따른 아티스트 순위를 산출하는 제9 단계;를 포함할 수 있다.
According to another aspect of the present invention, there is provided an artist ranking calculating method of calculating an artist ranking through a consumption activity information of a content item related to an artist, the method comprising: A first step of connecting to a connector server to input user information for registration and registering as a member; A second step of selecting a content item related to the artist and the artist preferred by the user; A third step of performing consumption activity on the selected content item; A fourth step of calculating a standardized score for each content item based on the consumed activity information of the user; A fifth step of calculating a standardized score for each of the score table items in which the content items are classified into groups using the calculated standardized score for each content item; A sixth step of calculating a final score for each item of the scoring table by using the standardization score for each scoring table item and the automatic weighting for each scoring table item set in advance; A seventh step of summing up the final scores calculated for each of the scoring table items; An eighth step of calculating an artist level using the summed final score; And a ninth step of calculating an artist ranking according to the calculated artist level.
본 발명의 일 실시예에 따른 아티스트 순위 산출 시스템 및 이를 이용한 산출 방법에 따르면, 아티스트에 관련된 컨텐츠를 소비하는 팬의 소비 활동 정보를 기초로 아티스트의 순위를 산출하여 팬에게 제공함으로써, 팬은 선호하는 아티스트에 관한 순위 정보를 알 수 있고, 이를 통하여 아티스트에 관련된 컨텐츠 항목의 소비를 유도할 수 있다.According to the artist ranking calculating system and the calculating method using the artist ranking calculating system according to an embodiment of the present invention, the ranking of the artist is calculated based on the consumption activity information of the fans consuming the contents related to the artist, It is possible to know the ranking information on the artist, thereby allowing the consumption of the content item related to the artist.
또한, 본 발명의 일 실시예에 따르면, 아티스트 또는 기획사는 팬에게 자신이 선호하는 아티스트의 컨텐츠 항목을 소비하도록 유도함으로써, 일정 팬들로의 타겟 마케팅이 가능하게 할 수 있다.
Also, according to an embodiment of the present invention, an artist or a promoter can induce fans to consume content items of their favorite artists, thereby enabling target marketing to certain fans.
도 1은 본 발명의 일 실시예에 따른 아티스트 순위 산출 시스템을 개략적으로 나타내는 도면이다.
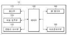
도 2는 도 1의 사용자 단말을 개략적으로 나타내는 블록도이다.
도 3은 도 1의 커넥션 서버를 개략적으로 나타내는 블록도이다.
도 4a 내지 4c는 도 3의 순위 산출 모듈에 의하여 산출된 아티스트 순위, 점수표 항목별 아티스트 순위 및 아티스트 간의 점수표 항목별 분석 내용의 일 예를 나타내는 도면이다.
도 5는 본 발명의 다른 실시예에 따른 아티스트 순위 산출 방법을 나타내는 순서도이다.1 is a diagram schematically illustrating an artist ranking calculation system according to an embodiment of the present invention.
 2 is a block diagram schematically illustrating a user terminal of FIG.
 3 is a block diagram schematically showing the connection server of Fig.
 FIGS. 4A to 4C are diagrams showing an example of analysis contents according to the artist ranking, artist rank according to the score table item, and score table among the artists calculated by the rank calculation module in FIG.
 5 is a flowchart illustrating an artist ranking calculation method according to another embodiment of the present invention.
본 발명의 이점 및 특징, 그리고 그것들을 달성하는 방법은 첨부되는 도면과 함께 상세하게 후술되어 있는 실시예들을 참조하면 명확해질 것이다. 그러나 본 발명은 이하에서 개시되는 실시예들에 한정되는 것이 아니라 서로 다른 다양한 형태로 구현될 것이며, 단지 본 실시예들은 본 발명의 개시가 완전하도록 하며, 본 발명이 속하는 기술분야에서 통상의 지식을 가진 자에게 발명의 범주를 완전하게 알려주기 위해 제공되는 것이며, 본 발명은 청구항의 범주에 의해 정의될 뿐이다. 한편, 본 명세서에서 사용된 용어는 실시예들을 설명하기 위한 것이며 본 발명을 제한하고자 하는 것은 아니다. 본 명세서에서, 단수형은 문구에서 특별히 언급하지 않는 한 복수형도 포함한다. 명세서에서 사용되는 "포함한다(comprises)" 및/또는 "포함하는(comprising)"은 언급된 구성소자, 단계, 동작 및/또는 소자는 하나 이상의 다른 구성소자, 단계, 동작 및/또는 소자의 존재 또는 추가를 배제하지 않는다.BRIEF DESCRIPTION OF THE DRAWINGS The advantages and features of the present invention, and the manner of achieving them, will be apparent from and elucidated with reference to the embodiments described hereinafter in conjunction with the accompanying drawings. The present invention may, however, be embodied in many different forms and should not be construed as being limited to the embodiments set forth herein. Rather, these embodiments are provided so that this disclosure will be thorough and complete, and will fully convey the scope of the invention to those skilled in the art. Is provided to fully convey the scope of the invention to those skilled in the art, and the invention is only defined by the scope of the claims. It is to be understood that the terminology used herein is for the purpose of describing particular embodiments only and is not intended to be limiting of the invention. In the present specification, the singular form includes plural forms unless otherwise specified in the specification. As used herein, the terms " comprises, " and / or "comprising" refer to the presence or absence of one or more other components, steps, operations, and / Or additions.
이제 본 발명의 바람직한 실시예에 대하여 첨부한 도면을 참조하여 상세히 설명하기로 한다. 다만, 본 발명의 요지를 불필요하게 흐릴 수 있다고 판단되는 공지 기능 및 구성에 대한 상세한 기술은 생략하기로 한다.
DETAILED DESCRIPTION OF THE PREFERRED EMBODIMENTS Hereinafter, preferred embodiments of the present invention will be described in detail with reference to the accompanying drawings. Hereinafter, detailed descriptions of known functions and configurations that may be unnecessarily obscured by the gist of the present invention will be omitted.
도 1은 본 발명의 일 실시예에 따른 아티스트 순위 산출 시스템을 개략적으로 나타내는 도면이고, 도 2는 도 1의 사용자 단말을 개략적으로 나타내는 블록도이며, 도 3은 도 1의 커넥션 서버를 개략적으로 나타내는 블록도이고, 도 4a 내지 4c는 도 3의 순위 산출 모듈에 의하여 산출된 아티스트 순위, 점수표 항목별 아티스트 순위 및 아티스트 간의 점수표 항목별 분석 내용의 일 예를 나타내는 도면이다.1 is a block diagram schematically showing an artist ranking calculation system according to an embodiment of the present invention. FIG. 2 is a block diagram schematically showing a user terminal of FIG. 1, and FIG. 3 is a view schematically showing a connection server of FIG. FIGS. 4A to 4C are diagrams showing an example of analysis contents according to the artist rank, the artist rank according to the score table item, and the score table item among the artists calculated by the ranking calculation module in FIG.
도 1을 참조하면, 본 발명의 일 실시예에 따른 아티스트 순위 산출 시스템은 사용자 단말(10) 및 커넥션 서버(20)를 포함한다.Referring to FIG. 1, an artist ranking calculation system according to an embodiment of the present invention includes a
상기 사용자 단말(10)은 커넥션 서버(20)에 접속하여 아티스트에 관련된 컨텐츠 항목을 소비하는 장치로서, 내부에 관계 형성 어플리케이션이 탑재되어 있다. 상기 사용자 단말(10)은 관계 형성 어플리케이션의 실행에 의하여 커넥션 서버(20)에 접속하여 회원 인증후 아티스트에 관련된 컨텐츠 항목의 소비 활동을 수행한다.The
한편, 본 발명에서의 사용자 단말(10)은 스마트폰(smart phone), PDA(Personal Digital Assistant), HPC(Hand Personal Computer), 웹패드, 노트북, WAP(Wireless Application Protocol)폰, 팜PC, e-Book단말기, HHT(Hand Held Terminal), 데스크탑 PC 등 어플리케이션의 실행이 가능한 다양한 종류의 단말 장치들을 포함할 수 있다. 또한, 본 발명에서의 사용자 단말(10)은 이하에서 설명되는 구성 요소 이외에 공지된 다른 구성 요소들을 포함할 수 있으며, 사용자 단말(10)의 모든 구성 요소들은 서로 연동하도록 구성될 수 있다.Meanwhile, the
도 2를 참조하면, 상기 사용자 단말(10)은 통신부(110), 회원 등록부(120), 컨텐츠 소비부(130), 팬 맺기부(140), 디스플레이부(150) 및 제어부(160)를 포함한다. 한편, 상기 회원 등록부(120), 컨텐츠 소비부(130) 및 팬 맺기부(140)는 디스플레이부(150)의 터치 스크린 상에 터치 기능으로 구현될 수 있으나, 본 발명에서는 그 구현 방식에 대하여 한정하는 것은 아니다.2, the
상기 통신부(110)는 커넥션 서버(20)와의 데이터 송수신을 위한 장치로서, 유무선 네트워크로 이루어진다. 상기 유무선 네트워크는 통신망에 정의된 프로토콜 스택(예를 들면, TCP/IP 프로토콜, CDMA 프로토콜)을 기반으로 커넥션 서버(20)와 소정의 통신채널을 연결하고, 커넥션 서버(20)에 구비된 통신 프로그램에 정의된 통신 프로토콜(예를 들면, HTTP(Hyper-Text Transfer Protocol), WAP(Wireless Application Protocol)/ME(Mobile Explorer))을 이용하여 사용자와 아티스트 간 관계 형성을 위한 정보를 송수신하게 된다. 그러나, 본 발명에서는 네트워크의 종류를 한정하는 것은 아니고, 와이파이(wifi) 방식, 지그비(zigbee) 방식, 블루투스(bluetooth) 방식, 3G, 4G, LTE, LTE-A 방식, LAN(local area network), WAN(wide area network) 및 그 등가 방식 등의 다양한 유무선 통신 방식을 적용할 수도 있다. 예를 들어, 상기 통신부(110)는 월드 와이드 웹에 기초하여 아티스트에 관련된 컨텐츠 항목을 소비하고, 아티스트의 순위 정보에 대한 송수신을 수행하도록 할 수 있다. 또한, 상기 통신부(110)는 블로깅, 채팅그룹, 파일공유, 인스턴트 메시징, 비디오, 음성채팅, 스트리밍, 다운로딩 및/또는 다른 사용자 통신 메커니즘 중 하나 이상을 통해 사용자 사이의 통신을 가능하게 하는 것을 포함하여, 사용자가 상호 작용하기 위한 하나 이상의 방법을 가능하게 할 수 있다.The
상기 회원 등록부(120)는 커넥션 서버(20)에 접속하여 사용자 정보를 입력한 후 회원으로 등록한다. 즉, 상기 회원 등록부(120)는 사용자의 조작에 의하여 자신의 아이디, 비밀번호, 성명, 주소, 연락처, 선호 아티스트 정보 등을 포함한 사용자 정보를 입력하여 본 아티스트 순위 산출 서비스의 회원으로 등록할 수 있다. 또한, 상기 회원 등록부(120)는 사용자가 아티스트의 팬으로 등록되는 경우, 추가적으로 자신의 나이, 성별, 사진, 주민 번호, 아이핀, 거주 지역, 선호 컨텐츠 분야 정보 등을 입력할 수 있다.The
상기 컨텐츠 소비부(130)는 사용자가 선호하는 아티스트에 관련된 컨텐츠 항목을 선택하여 소비한다. 이를 위하여, 상기 컨텐츠 소비부(130)는 사용자의 조작에 의하여 커넥션 서버(20)가 제공하는 복수의 아티스트들 중 자신이 선호하는 아티스트를 선택한다. 그런 다음, 상기 컨텐츠 소비부(130)는 사용자 자신이 선택한 해당 아티스트에 관련된 컨텐츠 항목에 대한 소비 활동을 수행한다. 여기서, 상기 컨텐츠 항목은 미리 설정된 점수표 항목으로 분류되어 커넥션 서버(20)에 저장되어 있다. 상기 점수표 항목은 음원, 영상, 사진, 팬, 컨텐츠 평가, 톡 중 적어도 하나를 포함한다. 여기서, 상기 점수표 항목에 포함된 컨텐츠 항목에 대하여 구체적으로 설명하자면, 음원에 대한 컨텐츠 항목은 음원의 스트리밍, 정액제 또는 종량제 다운로드를 포함하고, 영상에 대한 컨텐츠 항목은 뮤직 비디오 스트리밍 또는 뮤직 비디오 이외의 영상에 대한 조회 및 스트리밍을 포함하며, 사진에 대한 컨텐츠 항목은 포토의 조회수를 포함하고, 컨텐츠 평가에 대한 컨텐츠 항목은 음원, 앨범, 포토, 영상, 플레이 리스트, 공연, 톡에 대한 평가를 포함하며, 톡에 대한 컨텐츠 항목은 톡의 조회수, 토픽의 등록수 또는 톡 등록수를 포함한다.The
그러나, 본 발명에서는 점수표 항목과 컨텐츠 항목의 종류를 한정하는 것은 아니고, 본 아티스트 순위 산출 서비스를 제공하는 업체의 관리자 또는 설계자에 의하여 다양하게 추가 또는 변경될 수 있다.However, the present invention does not limit the types of scoring table items and content items, but may be variously added or changed by a manager or a designer of a company providing the artist ranking calculation service.
상기 컨텐츠 소비부(130)를 이용한 사용자의 컨텐츠 항목의 소비 활동을 예를 들어 설명하자면, 사용자가 선호하는 아티스트로 가수 '아이유'를 선택한 경우, 컨텐츠 소비부(130)는 '아이유'에 관련된 노래를 스트리밍하거나 다운로드하는 것과 같은 컨텐츠 항목에 대한 소비 활동을 수행한다.Gritty consumption activities of the user content items with the
상기 팬 맺기부(140)는 사용자가 선호하는 아티스트와 팬 맺기를 수행한다. 즉, 상기 팬 맺기부(140)는 사용자의 조작에 의하여 자신이 선호하는 아티스트의 팬 맺기를 수행하여 커넥션 서버(20)로부터 해당 아티스트에 관련된 소식(예를 들면, 아티스트의 점수표 항목별 또는 컨텐츠 항목별 순위, 아티스트 레벨 순위 등)을 직접 받아볼 수 있도록 한다. 이와 같이 팬 맺기부(140)를 통하여 선호하는 아티스트와 팬 맺기를 수행한 사용자는 커넥션 서버(20)로부터 아티스트에 관련된 모든 컨텐츠 또는 소식을 제공받아 자신이 선호하는 아티스트의 아티스트 레벨이나 항목별 순위를 높이기 위한 소비 활동을 수행할 수 있다.The
상기 디스플레이부(150)는 통신부(110)를 통하여 송수신되는 데이터와, 사용자의 소비 활동 정보를 표시하는 장치로서, 일반적으로 사용자 단말(10)에 구비되는 디스플레이 모듈을 이용하여 구현된다. 이러한 디스플레이부(150)는 사용자의 컨텐츠 항목에 대한 소비 활동 정보를 기초로 커넥션 서버(20)에서 산출된 아티스트에 관련된 컨텐츠 항목별 표준화 점수, 점수표 항목별 표준화 점수, 점수표 항목별 최종 점수, 아티스트 레벨, 아티스트의 순위 정보 등을 다양한 색 또는 모양으로 분류되도록 표시할 수 있다. 예를 들면, 상기 디스플레이부(150)는 도 4a 내지 4c에 도시된 바와 같이, 커넥션 서버(20)로부터 전송된 아티스트 순위, 점수표 항목별 아티스트 순위 및 아티스트 간의 점수표 항목별 분석 내용 등을 표시할 수 있다. 상기 디스플레이부(150)는 액정 디스플레이(liquid crystal display), 박막 트랜지스터 액정 디스플레이(thin film transistor-liquid crystal display), 유기 발광 다이오드(organic light-emitting diode), 플렉시블 디스플레이(flexible display), 3차원 디스플레이(3D display) 등으로 구현될 수 있으나, 본 발명은 디스플레이부(150)의 종류를 한정하는 것은 아니다.The
상기 제어부(160)는 관계 형성 어플리케이션이 탑재되어, 관계 형성 어플리케이션의 실행에 의하여 각 구성요소(즉, 통신부(110), 회원 등록부(120), 컨텐츠 소비부(130), 팬 맺기부(140), 디스플레이부(150))의 동작을 제어한다. 즉, 상기 제어부(160)는 관계 형성 어플리케이션의 실행에 의하여 커넥션 서버(20)에 접속하여 회원 인증후 아티스트에 관련된 컨텐츠 항목에 대한 소비 활동을 수행하고, 커넥션 서버(20)로부터 전송된 아티스트에 관련된 컨텐츠 항목별 표준화 점수, 점수표 항목별 표준화 점수, 점수표 항목별 최종 점수, 아티스트 레벨, 아티스트의 순위 정보 등을 사용자에게 제공할 수 있다.
The
상기 커넥션 서버(20)는 본 아티스트 순위 산출 서비스를 제공, 제어 및 관리하기 위한 웹 페이지를 제공하는 업체의 서버 장치로서, 사용자 단말(10)에 관계 형성 어플리케이션을 제공한다. 이러한 커넥션 서버(20)는 사용자 단말(10)을 통하여 수행되는 컨텐츠 항목에 대한 소비 활동 정보를 기초로 하여, 컨텐츠 항목별 표준화 점수를 산출하며, 컨텐츠 항목별 표준화 점수를 이용하여 적어도 하나의 컨텐츠 항목이 그룹화되어 분류된 점수표 항목별 표준화 점수를 산출하고, 점수표 항목별 표준화 점수와 미리 설정된 점수표 항목별 자동 가중치를 이용하여 점수표 항목별 최종 점수를 산출하며, 점수표 항목별로 산출된 최종점수를 합산하여 아티스트 레벨과 아티스트 레벨에 따른 아티스트 순위를 산출하여 사용자 단말(10)에 제공한다. 이러한 커넥션 서버(20)는 아티스트 순위 산출을 위한 각종 정보들을 나타내는 파일을 저장하고 정보 입력을 수신 및 처리할 수 있는 임의의 컴퓨팅 장치일 수 있다.The
도 3을 참조하면, 상기 커넥션 서버(20)는 통신 모듈(210), 회원 인증 모듈(220), 회원 DB(231), 아티스트 DB(232), 컨텐츠 DB(233), 소비 활동 정보 DB(234), 제1 표준화 점수 산출 모듈(240), 제2 표준화 점수 산출 모듈(250), 최종 점수산출 모듈(260), 아티스트 레벨 산출 모듈(270), 순위 산출 모듈(280), 마케팅 모듈(285) 및 제어 모듈(290)을 포함한다.3, the
상기 통신 모듈(210)은 사용자 단말(10)과의 데이터 송수신을 위한 장치로서, 유무선 네트워크로 이루어진다. 상기 유무선 네트워크는 통신망에 정의된 프로토콜 스택을 기반으로 사용자 단말(10)과 소정의 통신채널을 연결하고, 사용자 단말(10)에 구비된 통신 프로그램에 정의된 통신 프로토콜을 이용하여 본 아티스트 순위 산출 서비스를 제공하기 위한 정보를 송수신하게 된다. 그러나, 본 발명에서는 네트워크의 종류를 한정하는 것은 아니고, 와이파이 방식, 지그비 방식, 블루투스 방식, 3G, 4G, LTE, LTE-A 방식, LAN, WAN 및 그 등가 방식 등의 다양한 유무선 통신 방식을 적용할 수도 있다.The
상기 회원 인증 모듈(220)은 사용자 단말(10)로부터 입력된 사용자 정보를 기초로 회원으로 등록 또는 인증한다. 상기 사용자 정보는 사용자의 아이디, 비밀번호, 성명, 주소, 연락처, 선호 아티스트 정보 등을 포함할 수 있다. 또한, 상기 사용자 정보는 사용자가 아티스트의 팬으로 등록되는 경우, 추가적으로 자신의 나이, 성별, 사진, 주민 번호, 아이핀, 거주 지역, 선호 컨텐츠 분야 정보 등을 포함할 수 있다.The
상기 회원 DB(231)는 회원으로 등록 또는 인증된 사용자 정보를 저장한다. 상기 회원 DB(231)는 팬으로 등록 또는 인증된 사용자 정보를 저장한다.The
상기 아티스트 DB(232)는 다수의 아티스트 관련 정보를 저장한다. 상기 아티스트 DB(232)는 아티스트의 기본 정보, 앨범 정보, 공연 정보, 활동 정보 등을 저장할 수 있다.The
상기 컨텐츠 DB(233)는 사용자 단말(10)의 소비 활동을 위한 적어도 하나의 컨텐츠 항목 정보와, 컨텐츠 항목이 미리 설정된 점수표 항목으로 분류된 점수표 항목 정보(표 1 참조)를 저장한다.The
상기 점수표 항목은 음원, 영상, 사진, 팬, 컨텐츠 평가, 톡 중 적어도 하나를 포함한다. 여기서, 상기 점수표 항목에 포함된 컨텐츠 항목에 대하여 구체적으로 설명하자면, 음원에 대한 컨텐츠 항목은 음원의 스트리밍, 정액제 또는 종량제 다운로드를 포함하고, 영상에 대한 컨텐츠 항목은 뮤직 비디오 스트리밍 또는 뮤직 비디오 이외의 영상에 대한 조회 및 스트리밍을 포함하며, 사진에 대한 컨텐츠 항목은 포토의 조회수를 포함하고, 컨텐츠 평가에 대한 컨텐츠 항목은 음원, 앨범, 포토, 영상, 플레이 리스트, 공연, 톡에 대한 평가를 포함하며, 톡에 대한 컨텐츠 항목은 톡의 조회수, 토픽의 등록수 또는 톡 등록수를 포함한다. 그러나, 본 발명에서는 항목의 종류를 한정하는 것은 아니고, 본 아티스트 순위 산출 서비스를 제공하는 업체의 관리자 또는 설계자에 의하여 다양하게 추가 또는 변경될 수 있다.The score table item includes at least one of a sound source, an image, a photograph, a fan, a content evaluation, and a chat. Here, the content item included in the scoring table item will be described in detail. The content item for the sound source includes a streaming of a sound source, a downloading of a fixed amount or a regular rate, and a content item for the video includes music video streaming A content item for a picture includes an evaluation of a sound source, an album, a photo, an image, a playlist, a performance, a token, and the like. The content item for the talk includes the number of views of the talk, the number of topics registered, or the number of registered contacts. However, the present invention does not limit the types of items, but may be variously added or changed by an administrator or a designer of a company providing the artist ranking calculation service.
상기 소비 활동 정보 DB(234)는 사용자 단말(10)에 의하여 수행된 컨텐츠 항목에 대한 소비 활동 정보를 저장 및 관리한다. 즉, 상기 소비 활동 정보 DB(234)는 아티스트에 관련된 음원의 스트리밍, 정액제 또는 종량제 다운로드, 뮤직 비디오 스트리밍 또는 뮤직 비디오 이외의 영상에 대한 조회 및 스트리밍, 포토의 조회수, 음원, 앨범, 포토, 영상, 플레이 리스트, 공연, 톡에 대한 평가, 톡의 조회수, 토픽의 등록수 또는 톡 등록수 등과 같은 다양한 컨텐츠 항목 각각에 대한 사용자의 소비 활동 정보를 저장하고, 점수표 항목 별로 분류 저장한다. 또한, 상기 다양한 컨텐츠 항목 각각에는 본 아티스트 순위 산출 서비스를 제공하는 업체의 관리자 또는 설계자에 의하여 임의의 가중치값이 부여되어 있다.The consumption
상기 제1 표준화 점수 산출 모듈(240)은 컨텐츠 항목에 대한 사용자의 소비 활동 정보를 기초로 컨텐츠 항목별 표준화 점수를 산출한다. 즉, 상기 제1 표준화 점수 산출 모듈(240)은 각각의 컨텐츠 항목별 표준화 점수를 수학식 1에 의하여 산출한다.The first standardization
[수학식 1][Equation 1]
여기서, xi는 컨텐츠 항목별 변수값이며,는 전체 아티스트의 컨텐츠 항목별 변수값들의 평균값이고, σi는 전체 아티스트의 변수값들의 표준편차이다.Here, xi is a variable value for each content item, Is the average value of the variable values of the entire content item by the content item, and?I is the standard deviation of the variable values of the entire artist.
상기 제2 표준화 점수 산출 모듈(250)은 제1 표준화 점수 산출 모듈(240)에 이하여 산출된 컨텐츠 항목별 표준화 점수를 이용하여 점수표 항목별 표준화 점수를 산출한다. 보다 구체적으로는, 상기 제2 표준화 점수 산출 모듈(250)은 컨텐츠 항목별 표준화 점수에 '1'을 더한 값을 2번의 제곱근을 수행하고, 상기 수행된 값을 점수표 항목별 최고값으로 나눈 값을 점수표 항목별 표준화 점수로 산출한다.The second standardization
상기 최종 점수 산출 모듈(260)은 제2 표준화 점수 산출 모듈(250)에 의하여 산출된 점수표 항목별 표준화 점수와 미리 설정된 점수표 항목별 자동 가중치를 이용하여 점수표 항목별 최종 점수를 산출한다. 예를 들어, 상기 최종 점수 산출 모듈(260)은 음원 항목에 대한 최종 점수를 수학식 2에 의하여 산출할 수 있다.The final
[수학식 2]&Quot; (2) "
상기 항목별 가중치에 대한 정보는 표 1에 예시되어 있으나, 가중치의 수치에 대하여 본 발명에서 한정하는 것은 아니다.Information on the weight for each item is illustrated in Table 1, but the numerical value of the weight is not limited to the present invention.
[표 1][Table 1]
상기 아티스트 레벨 산출 모듈(270)은 최종 점수 산출 모듈(260)에 의하여 점수표 항목별로 산출된 최종점수를 합산하여 아티스트 레벨을 산출한다. 즉, 상기 아티스트 레벨은 음원 최종 점수, 영상 최종 점수, 사진 최종 점수, 팬 최종 점수, 컨텐츠 평가(예를 들면, 좋아요) 최종 점수, 톡 최종 점수를 모두 합산하여 산출된다. 이에 따라, 본 발명에서는 아티스트 레벨을 통하여 사용자가 선호하는 아티스트의 컨텐츠 항목에 대한 사용자의 소비 활동 정보를 객관적인 수치로 알 수 있게 되고, 이러한 수치를 통하여 아티스트 순위를 산출하도록 할 수 있다. 또한, 본 발명에서는 도 4c에 도시된 바와 같이 다양한 컨텐츠 항목을 적용하여 음원뿐 만 아니라 사용자의 모든 소비 활동을 반영한 차트로 활용할 수 있고, 이와 같이 다양한 컨텐츠 항목을 통하여 팬들을 자극하고, 팬들이 좋아하는 아티스트 순위를 높이기 위한 다양한 액션을 하도록 유도할 수 있다The artist
상기 순위 산출 모듈(280)은 아티스트 레벨 산출 모듈(270)에 의하여 산출된 아티스트 레벨을 이용하여 전체 아티스트의 순위 정보를 산출한다. 이때, 상기 순위 산출 모듈(280)은 아티스트 레벨을 이용한 일간, 주간, 월간 아티스트 순위, 컨텐츠 항목 또는 점수표 항목별 아티스트의 순위를 산출할 수 있게 된다.The ranking
한편, 상기 아티스트의 순위 산출을 위한 모집단은 일간, 주간, 월간 별로 나뉠 수 있는 바, 이에 따라 일간 아티스트 순위는 하루 전날의 아티스트 순위를 의미하고, 주간 아티스트 순위는 지난 주 아티스트 순위를 의미하며, 월간 아티스트 순위는 지난 달 아티스트 순위를 의미한다.Meanwhile, the population for calculating the rank of the artist can be divided into day, week, and month. Accordingly, the daily artist ranking means the artist ranking of the day before, the weekly artist ranking means the ranking of the past week's artists, Artist ranking means artist ranking last month.
상기 마케팅 모듈(285)은 순위 산출 모듈에 의하여 산출된 아티스트 순위 정보를 아티스트에 팬으로 등록된 사용자 또는 미리 지정된 사용자에게 아티스트의 순위 정보를 실시간으로 제공한다. 따라서, 상기 마케팅 모듈(285)은 일정 기간 동안의 아티스트 순위를 산출하여 사용자에게 제공함으로써, 팬들 또는 일반 사용자들에게 좋아하는 아티스트 순위를 높이기 위한 컨텐츠 소비 활동 등을 유도할 수 있다.The
상기 제어 모듈(290)은 각 구성요소의 동작을 제어하는 장치로서, 통신 모듈(210), 회원 인증 모듈(220), 회원 DB(231), 아티스트 DB(232), 컨텐츠 DB(233), 소비 활동 정보 DB(234), 제1 표준화 점수 산출 모듈(240), 제2 표준화 점수 산출 모듈(250), 최종 점수산출 모듈(260), 아티스트 레벨 산출 모듈(270), 순위 산출 모듈(280), 마케팅 모듈(285)의 동작을 제어하여 사용자 단말(10)을 통하여 수행되는 컨텐츠 항목에 대한 소비 활동 정보를 기초로 하여, 컨텐츠 항목별 표준화 점수를 산출하며, 컨텐츠 항목별 표준화 점수를 이용하여 적어도 하나의 컨텐츠 항목이 그룹화되어 분류된 점수표 항목별 표준화 점수를 산출하고, 점수표 항목별 표준화 점수와 미리 설정된 점수표 항목별 자동 가중치를 이용하여 점수표 항목별 최종 점수를 산출하며, 점수표 항목별로 산출된 최종점수를 합산하여 아티스트 레벨과 아티스트 레벨에 따른 아티스트 순위를 산출하여 사용자 단말에 제공한다.
The
도 5는 본 발명의 다른 실시예에 따른 아티스트 순위 산출 방법을 나타내는 순서도이다.5 is a flowchart illustrating an artist ranking calculation method according to another embodiment of the present invention.
도 5를 참조하면, 본 발명의 다른 실시예에 따른 아티스트 순위 산출 방법은 아티스트에 관련된 컨텐츠 항목에 대한 사용자의 소비 활동 정보를 통하여 아티스트의 순위를 산출하는 방법이다.Referring to FIG. 5, an artist ranking calculation method according to another embodiment of the present invention is a method of calculating an artist's ranking through consumption activity information of a content item related to an artist.
보다 구체적으로, 본 아티스트 순위 산출 방법은 사용자가 자신의 사용자 단말을 통하여 커넥터 서버에 접속하여 회원 가입을 위한 사용자 정보를 입력한 후 회원으로 등록하는 제1 단계(S10), 사용자가 선호하는 아티스트와 아티스트에 관련된 컨텐츠 항목을 선택하는 제2 단계(S20), 제2 단계(S20)에서 선택된 컨텐츠 항목에 대한 소비 활동을 수행하는 제3 단계(S30), 제3 단계(S30)에서 수행된 사용자의 소비 활동 정보를 기초로 컨텐츠 항목별 표준화 점수를 산출하는 제4 단계(S40), 제4 단계(S40)에서 산출된 컨텐츠 항목별 표준화 점수를 이용하여 컨텐츠 항목이 그룹으로 분류된 점수표 항목별 표준화 점수를 산출하는 제5 단계(S50), 제5 단계(S50)에서 점수표 항목별 표준화 점수와 미리 설정된 점수표 항목별 자동 가중치를 이용하여 점수표 항목별 최종 점수를 산출하는 제6 단계(S60), 제6 단계(S60)에서 점수표 항목별로 산출된 최종점수를 합산하는 제7 단계(S70), 제7 단계(S70)에서 합산된 최종점수를 이용하여 아티스트 레벨을 산출하는 제8 단계(S80), 및 제8 단계(S80)에서 산출된 아티스트 레벨에 따른 아티스트 순위를 산출하는 제9 단계(S90)를 포함한다.More specifically, the present artist ranking calculating method includes a first step (S10) of a user accessing a connector server through his / her user terminal and inputting user information for member registration and registering the member information as a member, A second step S20 of selecting a content item related to the artist, a third step S30 of performing a consuming activity on the content item selected in the second step S20, A fourth step (S40) of calculating a standardized score for each content item based on the consumption activity information, and a standardization score for each of the score items classified into groups using the standardized score for each content item calculated in the fourth step (S40) In the fifth step (S50) and the fifth step (S50) of calculating the score, the final score of each scoring table item is calculated by using the standardized score of each scoring table item and the automatic weighting by the predetermined scoring table item In the seventh step (S70) and the seventh step (S70) of summing up the final scores calculated for the scoring table items in the sixth step (S60) and the sixth step (S60) (Step S80) of calculating an artist level according to the artist level calculated in the eighth step (S80), and a ninth step (S90) of calculating an artist ranking according to the artist level calculated in the eighth step (S80).
이때, 상기 제4 단계(S40)는 수학식 1을 이용하여 컨텐츠 항목별 표준화 점수를 산출할 수 있다.At this time, the fourth step S40 may calculate the standardization score for each content item using Equation (1).
[수학식 1][Equation 1]
여기서, xi는 컨텐츠 항목별 변수값이며,는 전체 아티스트의 컨텐츠 항목별 변수값들의 평균값이고, σi는 전체 아티스트의 변수값들의 표준편차이다.Here, xi is a variable value for each content item, Is the average value of the variable values of the entire content item by the content item, and?I is the standard deviation of the variable values of the entire artist.
또한, 상기 제5 단계(S50)는 컨텐츠 항목별 표준화 점수에 '1'을 더한 값을 2번의 제곱근을 수행하고, 상기 수행된 값을 점수표 항목별 최고값으로 나눈 값을 점수표 항목별 표준화 점수로 산출한다.In the fifth step S50, a square root of a value obtained by adding '1' to the standardized score for each content item is performed, and a value obtained by dividing the value obtained by dividing the value by the highest value of each scoring table item is standardized Score.
또한, 상기 제6 단계(S60)는 점수표 항목별 표준화 점수에 점수표 항목별 가중치를 곱하여 점수표 항목별 최종 점수를 산출할 수 있다.In the sixth step (S60), the final score for each item of the scoring table can be calculated by multiplying the standardized score for each scoring table item by the weight for each scoring item.
또한, 상기 제9 단계(S90)는 아티스트 레벨을 이용한 일간, 주간, 월간 아티스트 순위, 컨텐츠 항목 또는 점수표 항목별 아티스트의 순위를 산출할 수 있다.In the ninth step S90, it is possible to calculate the ranking of artists by day, week, monthly artist ranking, content item or scoring table item using the artist level.
상기와 같이 구성된 본 발명의 일 실시예에 따른 아티스트 순위 산출 시스템 및 이를 이용한 순위 산출 방법에 따르면, 아티스트에 관련된 컨텐츠를 소비하는 팬의 소비 활동 정보를 기초로 아티스트의 순위를 산출하여 팬에게 제공함으로써, 팬은 선호하는 아티스트에 관한 순위 정보를 알 수 있고, 이를 통하여 아티스트에 관련된 컨텐츠 항목의 소비를 유도할 수 있다. 또한, 본 발명의 일 실시예에 따르면, 아티스트 또는 기획사는 팬에게 자신이 선호하는 아티스트의 컨텐츠 항목을 소비하도록 유도함으로써, 일정 팬들로의 타겟 마케팅이 가능하게 할 수 있다.
According to the artist ranking calculating system and the ranking calculating method using the artist ranking calculating system according to an embodiment of the present invention, the artist ranking is calculated based on the consumption activity information of the fans consuming the contents related to the artist, , The fan can know the ranking information about the preferred artist and thereby induce consumption of the content item related to the artist. Also, according to an embodiment of the present invention, an artist or a promoter can induce fans to consume content items of their favorite artists, thereby enabling target marketing to certain fans.
이상에서 설명한 것은 본 발명에 의한 아티스트 순위 산출 시스템 및 이를 이용한 산출 방법을 실시하기 위한 하나의 실시예에 불과한 것으로서, 본 발명은 상기 실시예에 한정되지 않고, 이하의 특허청구범위에서 청구하는 바와 같이 본 발명의 요지를 벗어남이 없이 당해 발명이 속하는 분야에서 통상의 지식을 가진 자라면 누구든지 다양한 변경 실시가 가능한 범위까지 본 발명의 기술적 정신이 있다고 할 것이다.
It is to be understood that the present invention is not limited to the above-described embodiment, and various modifications and changes may be made without departing from the scope of the present invention as defined in the appended claims. It will be understood by those of ordinary skill in the art that various changes in form and details may be made therein without departing from the spirit and scope of the invention.
10: 사용자 단말20: 커넥션 서버
110: 통신부120: 회원 등록부
130: 컨텐츠 소비부140: 팬 맺기부
150: 디스플레이부160: 제어부
210: 통신 모듈220: 회원 인증 모듈
231: 회원 DB232: 아티스트 DB
233: 컨텐츠 DB234: 소비 활동 정보 DB
240: 제1 표준화 점수 산출 모듈250: 제2 표준화 점수 산출 모듈
260: 최종 점수 산출 모듈270: 아티스트 레벨 산출 모듈
280: 순위 산출 모듈285: 마케팅 모듈
290: 제어 모듈10: user terminal 20: connection server
 110: communication unit 120: member registration unit
 130: Content consuming unit 140: Fan connecting unit
 150: display unit 160:
 210: communication module 220: member authentication module
 231: Member DB 232: Artist DB
 233: contents DB 234: consumption activity information DB
 240: first standardization score calculating module 250: second standardization score calculating module
 260: Final score calculation module 270: Artist level calculation module
 280: ranking calculation module 285: marketing module
 290: Control module
| Application Number | Priority Date | Filing Date | Title | 
|---|---|---|---|
| KR1020140152888AKR101652588B1 (en) | 2014-11-05 | 2014-11-05 | System for calculating artist rankings and method for calculating artist rankings using the same | 
| Application Number | Priority Date | Filing Date | Title | 
|---|---|---|---|
| KR1020140152888AKR101652588B1 (en) | 2014-11-05 | 2014-11-05 | System for calculating artist rankings and method for calculating artist rankings using the same | 
| Publication Number | Publication Date | 
|---|---|
| KR20160054121A KR20160054121A (en) | 2016-05-16 | 
| KR101652588B1true KR101652588B1 (en) | 2016-08-30 | 
| Application Number | Title | Priority Date | Filing Date | 
|---|---|---|---|
| KR1020140152888AActiveKR101652588B1 (en) | 2014-11-05 | 2014-11-05 | System for calculating artist rankings and method for calculating artist rankings using the same | 
| Country | Link | 
|---|---|
| KR (1) | KR101652588B1 (en) | 
| Publication number | Priority date | Publication date | Assignee | Title | 
|---|---|---|---|---|
| WO2025110845A1 (en)* | 2023-11-23 | 2025-05-30 | 박수진 | Method and apparatus for providing growth management service of cultural artist by using artificial intelligence | 
| KR20250110390A (en) | 2024-01-11 | 2025-07-21 | 송재복 | Method for determining ranking of video contents provided by different platforms and system thereof | 
| Publication number | Priority date | Publication date | Assignee | Title | 
|---|---|---|---|---|
| KR102290376B1 (en) | 2019-06-13 | 2021-08-20 | 한국철도기술연구원 | Occupant safety and convenience system using Control logic | 
| KR102316767B1 (en) | 2019-11-11 | 2021-10-27 | 한국철도기술연구원 | Automatic Train Stop System | 
| KR102184422B1 (en) | 2020-05-22 | 2020-11-30 | 주식회사 한터글로벌 | Chart data generation system using genuine product authentication | 
| KR102483385B1 (en)* | 2020-09-06 | 2022-12-30 | 주식회사 한터글로벌 | Artist tier analysis system | 
| KR102348756B1 (en)* | 2021-09-16 | 2022-01-07 | (주)라이브베리 | Relay service delivery system for live performance images | 
| KR102646116B1 (en)* | 2023-06-27 | 2024-03-11 | 주식회사 씨엠씨엔터프라이즈 | Artist music ranking and event voting service system | 
| KR102747046B1 (en)* | 2023-10-12 | 2024-12-26 | 주식회사 놀던친구들 | Producer and artist matching system | 
| Publication number | Priority date | Publication date | Assignee | Title | 
|---|---|---|---|---|
| KR100969870B1 (en) | 2010-02-01 | 2010-07-13 | 전자부품연구원 | An audio searching system based on variable weighys and audio input characteristics | 
| Publication number | Priority date | Publication date | Assignee | Title | 
|---|---|---|---|---|
| KR20060097882A (en) | 2005-03-07 | 2006-09-18 | 에스케이 텔레콤주식회사 | Method and system for providing star portal service | 
| KR20070076600A (en)* | 2006-01-19 | 2007-07-25 | 박동명 | Celebrity Stock Listing Management Method and System and Celebrity Stock Listing Management Server, Record Media | 
| KR20090131592A (en) | 2008-06-18 | 2009-12-29 | (주)제이와이피엔터테인먼트 | How to provide communication service between ordinary people and stars using video | 
| KR100964879B1 (en)* | 2008-07-31 | 2010-06-21 | 조귀남 | Celebrity Video Listening Ranking Ad Positioning System | 
| KR20140091929A (en)* | 2013-01-14 | 2014-07-23 | 삼성전자주식회사 | User terminal apparatus and control method thereof | 
| Publication number | Priority date | Publication date | Assignee | Title | 
|---|---|---|---|---|
| KR100969870B1 (en) | 2010-02-01 | 2010-07-13 | 전자부품연구원 | An audio searching system based on variable weighys and audio input characteristics | 
| Publication number | Priority date | Publication date | Assignee | Title | 
|---|---|---|---|---|
| WO2025110845A1 (en)* | 2023-11-23 | 2025-05-30 | 박수진 | Method and apparatus for providing growth management service of cultural artist by using artificial intelligence | 
| KR20250110390A (en) | 2024-01-11 | 2025-07-21 | 송재복 | Method for determining ranking of video contents provided by different platforms and system thereof | 
| Publication number | Publication date | 
|---|---|
| KR20160054121A (en) | 2016-05-16 | 
| Publication | Publication Date | Title | 
|---|---|---|
| KR101652588B1 (en) | System for calculating artist rankings and method for calculating artist rankings using the same | |
| US10909639B2 (en) | Acceleration of social interactions | |
| US8843560B2 (en) | Social networking for mobile devices | |
| US10052554B2 (en) | Suggesting matches for players of an online multiplayer game based on skills and/or social proximity | |
| US7895049B2 (en) | Dynamic representation of group activity through reactive personas | |
| US9630114B2 (en) | Suggesting friends for playing a game | |
| US9817557B2 (en) | Interactive audience communication for events | |
| KR100979864B1 (en) | Context-based mobile local search based on social network vitality information | |
| US8702518B2 (en) | Dynamically providing guest passes for a video game | |
| US10162897B2 (en) | System and method for providing knowledge sharing service based on user relationship information of social network service | |
| US20120209839A1 (en) | Providing applications with personalized and contextually relevant content | |
| US9058563B1 (en) | Suggesting activities | |
| CN108628628A (en) | Method and system for mobile application management | |
| KR101620728B1 (en) | System for generating mutual relation between artist and fan | |
| KR101673267B1 (en) | Providing feedback via a social network from a media distribution platform | |
| JP2008537824A (en) | AVATAR PROVIDING SYSTEM AND METHOD THEREOF VARIABLE EXPOSED SITE | |
| US10967281B2 (en) | Automatic fantasy sports data analysis method and apparatus | |
| US20130080544A1 (en) | Social network stealth and counter messaging | |
| US9391947B1 (en) | Automatic delivery channel determination for notifications | |
| CN108429668A (en) | A kind of message treatment method, device, terminal and system | |
| KR101620729B1 (en) | System for generating mutual relation between artist and fan and method for generating mutual relation thereof using the same | |
| KR20230145849A (en) | System for calculating artist rankings using users' online community cultural contents and method for calculating artist rankings using the same | |
| CN112637640B (en) | Video interaction method and device | |
| HK40041977A (en) | Video interaction method and device | |
| HK40041977B (en) | Video interaction method and device | 
| Date | Code | Title | Description | 
|---|---|---|---|
| PA0109 | Patent application | St.27 status event code:A-0-1-A10-A12-nap-PA0109 | |
| PA0201 | Request for examination | St.27 status event code:A-1-2-D10-D11-exm-PA0201 | |
| D13-X000 | Search requested | St.27 status event code:A-1-2-D10-D13-srh-X000 | |
| D14-X000 | Search report completed | St.27 status event code:A-1-2-D10-D14-srh-X000 | |
| PE0902 | Notice of grounds for rejection | St.27 status event code:A-1-2-D10-D21-exm-PE0902 | |
| E13-X000 | Pre-grant limitation requested | St.27 status event code:A-2-3-E10-E13-lim-X000 | |
| P11-X000 | Amendment of application requested | St.27 status event code:A-2-2-P10-P11-nap-X000 | |
| P13-X000 | Application amended | St.27 status event code:A-2-2-P10-P13-nap-X000 | |
| PG1501 | Laying open of application | St.27 status event code:A-1-1-Q10-Q12-nap-PG1501 | |
| E701 | Decision to grant or registration of patent right | ||
| PE0701 | Decision of registration | St.27 status event code:A-1-2-D10-D22-exm-PE0701 | |
| GRNT | Written decision to grant | ||
| PR0701 | Registration of establishment | St.27 status event code:A-2-4-F10-F11-exm-PR0701 | |
| PR1002 | Payment of registration fee | St.27 status event code:A-2-2-U10-U11-oth-PR1002 Fee payment year number:1 | |
| PG1601 | Publication of registration | St.27 status event code:A-4-4-Q10-Q13-nap-PG1601 | |
| PN2301 | Change of applicant | St.27 status event code:A-5-5-R10-R13-asn-PN2301 St.27 status event code:A-5-5-R10-R11-asn-PN2301 | |
| R18-X000 | Changes to party contact information recorded | St.27 status event code:A-5-5-R10-R18-oth-X000 | |
| PN2301 | Change of applicant | St.27 status event code:A-5-5-R10-R13-asn-PN2301 St.27 status event code:A-5-5-R10-R11-asn-PN2301 | |
| PN2301 | Change of applicant | St.27 status event code:A-5-5-R10-R11-asn-PN2301 | |
| PN2301 | Change of applicant | St.27 status event code:A-5-5-R10-R14-asn-PN2301 | |
| FPAY | Annual fee payment | Payment date:20190329 Year of fee payment:6 | |
| PR1001 | Payment of annual fee | St.27 status event code:A-4-4-U10-U11-oth-PR1001 Fee payment year number:4 | |
| PN2301 | Change of applicant | St.27 status event code:A-5-5-R10-R11-asn-PN2301 | |
| PN2301 | Change of applicant | St.27 status event code:A-5-5-R10-R14-asn-PN2301 | |
| PR1001 | Payment of annual fee | St.27 status event code:A-4-4-U10-U11-oth-PR1001 Fee payment year number:7 | |
| PR1001 | Payment of annual fee | St.27 status event code:A-4-4-U10-U11-oth-PR1001 Fee payment year number:8 | |
| PR1001 | Payment of annual fee | St.27 status event code:A-4-4-U10-U11-oth-PR1001 Fee payment year number:9 | |
| R18-X000 | Changes to party contact information recorded | St.27 status event code:A-5-5-R10-R18-oth-X000 | |
| PR1001 | Payment of annual fee | St.27 status event code:A-4-4-U10-U11-oth-PR1001 Fee payment year number:10 |