



본 발명은 유방암 감별시스템에 관한 것으로, 좀더 상세하게는 정상조직과 암조직 사이의 전위차를 측정함으로써 유방암 발병 여부를 감별할 수 있는 세포간 전위차를 측정하는 방법 및 이를 이용한 유방암 감별시스템에 관한 것이다.The present invention relates to a breast cancer discrimination system, and more particularly, to a method for measuring an intercellular potential difference capable of discriminating the onset of breast cancer by measuring a potential difference between normal tissue and cancer tissue, and a breast cancer discrimination system using the same.
유방암은 발생 초기에는 물혹이나 유선조직의 증대현상 등과 형태상으로 구분이 어렵기 때문에 일반적으로 조직의 크기가 10mm 이상으로 증가했을 시에만 X레이나 초음파, MRI와 같은 기존 진단장비를 이용하여 확진이 가능하다. 특히 아시아 여성의 경우 서구여성에 비해 상대적으로 지방이 적고 유선이 발달한 치밀유방인 경우가 많은데, 이 경우 기존 진단장비에 의해 유방암 발병 여부를 확진하는 데 많은 어려움이 있다.Breast cancer is usually difficult to distinguish from other forms such as scarring or enlargement of the mammary gland at the early stage of development. Therefore, only when the size of the tissue is increased to 10 mm or more, it can be confirmed using conventional diagnostic equipment such as X-ray, ultrasound and MRI Do. Especially in Asian women, there are many cases of dense breast with less fat and more developed wings than Western women. In this case, it is difficult to confirm breast cancer by existing diagnostic equipment.
한편 인체의 정상세포는 휴지기와 분화기를 거치면서 분열과정을 거친다. 이때 분열과정의 세포는 세포막이 열리면서 세포간 조직과의 이온교환이 활발해짐으로써 전위차가 줄어드는 현상이 발생한다. 일반적으로 정상세포는 휴지기에 약 -70mV, 분화기에 -15mV의 전위를 유지한다. 이에 비해 암세포는 휴지기 없이 지속적으로 세포 분화가 일어나기 때문에 휴지기 전위가 거의 나타나지 않고 상시적으로 -15mV 정도의 전위를 유지한다. 이러한 전위차를 감지함으로써 10mm 이하의 크기를 가진 종양 조직을 감별할 수 있다.On the other hand, the normal cells of the human body undergo the process of disruption through the dormant and differentiator. At this time, the cell in the cleavage process opens the cell membrane and ion exchange with the intercellular tissue becomes active, thereby reducing the potential difference. Normally, normal cells maintain a potential of about -70 mV at rest and -15 mV at the differentiation stage. On the other hand, cancer cells maintain cell potential at -15mV at all times without any resting potential because cell differentiation occurs constantly without rest period. By detecting such a potential difference, tumor tissues having a size of 10 mm or less can be distinguished.
국내 등록특허 제10-0794721호(공고일 : 2008. 01.15.)는 인체를 포함한 생물체 내의 생체 전자기장을 받아 정전용량이 변화하는 적어도 단일 또는 다수개의 바이오센서를 구비한 센서 구동부와; 상기 센서 구동부를 통해 측정한 생체 활동 전위 신호를 아날로그 신호로 처리하기 위한 아날로그 회로부와; 상기 아날로그 회로부로부터 출력되는 아날로그 신호를 디지털 신호로 변환하고 이를 처리하기 위한 디지털 변환회로부와; 시스템에 구동전원을 공급하고 배터리에 전원을 충전하기 위한 전원 회로부 및 PC와 통신을 위한 통신회로부, PC와의 무선통신을 위한 통신모듈을 포함하여 구성된 것을 특징으로 하는 피검 대상자로부터 방사되는 전자기장과 그의 변화량 분석에 의한 비침습적방법의 실시간 질병 진단시스템을 제공한다.Korean Patent No. 10-0794721 discloses a biosensor comprising: a sensor driver having at least one or a plurality of biosensors each of which has a capacitance change by receiving a bioelectromagnetic field in an organism including a human body; An analog circuit for processing the bioelectric potential signal measured through the sensor driving unit into an analog signal; A digital conversion circuit unit for converting an analog signal output from the analog circuit unit into a digital signal and processing the digital signal; A communication circuit for communicating with a PC; and a communication module for wireless communication with the PC. The electromagnetic field radiated from the subject and the variation thereof And provides a non-invasive real-time disease diagnosis system by analysis.
상기 인용기술은 바이오센서로 입력되는 인체의 전자기장 변화에 따른 바이오센서의 정전용량변화량을 측정하여 기준치와의 편차를 주파수의 편차로 변환하여 측정함으로써 비정상적인 조직 및 활동을 검진하는 방식으로, 인체의 유전율(permittivity)이나 정전용량에 기반하고 있다.The cited technique measures a change in electrostatic capacitance of a biosensor according to a change in an electromagnetic field of a human body input to the biosensor, converts the deviation of the biosensor from a reference value into a deviation of a frequency and measures the abnormality, (permittivity or capacitance).
그러나 상기 인용기술에 의해 제공되는 바이오센서는 천연물질로부터 가공되어 얻어지는 것으로서 제작 및 가공에 어려움이 있어 비용 상승의 요인으로 작용한다. 또한 자체적으로 고유한 주파수를 갖게 되므로 별도의 정류 과정을 거쳐야 하므로 검진 시스템의 복잡성이 증대된다는 문제점이 있다.However, the biosensor provided by the above cited technology is obtained by processing from a natural substance, which is difficult to manufacture and process, and thus causes a cost increase. In addition, since it has its own unique frequency, it has to be subjected to a separate rectification process, thereby increasing the complexity of the examination system.
상기한 바와 같은 종래의 문제점을 해결하기 위하여, 본 발명은 제작이 용이하고, 피검자의 피부에 안전하게 안착되어 검사를 수행할 수 있으며, 일회용으로 사용되고 폐기될 수 있어 위생적이고 안전한 생체 전위 측정용 센서패드를 제공한다.In order to solve the above-mentioned problems, the present invention provides a sanitary and safe bio-potential measuring sensor pad which can be easily manufactured, safely seated on the skin of a subject, Lt; / RTI >
센서패드는 인체에서 발생하는 미세 전류에 의해 대전되어 고유한 전압을 생성하며, 이를 진단 장치에서 취득하고 분석함으로써 피검 부위에 발생하는 이상 조직에 의한 비정상 전류를 포착함으로써 질병의 발생 여부를 진단할 수 있다.The sensor pad is charged by micro current generated in the human body and generates a unique voltage. By acquiring and analyzing it by the diagnostic device, it is possible to diagnose the occurrence of the disease by capturing the abnormal current caused by the abnormal tissue have.
본 발명의 다른 목적들은 이하의 실시예에 대한 설명을 통해 쉽게 이해될 수 있을 것이다.Other objects of the present invention will become readily apparent from the following description of the embodiments.
상기한 바와 같은 목적을 달성하기 위해, 본 발명의 일 측면에 의하면, 피검자의 피부 표면에 촉지되도록 마련되고, 원형 또는 환형의 도전성 금속판으로 이루어지고, 직경이 1 ~ 8mm 사이로 형성되도록 마련되는 센서전극; 상기 센서전극의 배면에 밀착되고, 상기 센서전극보다 큰 직경을 갖도록 형성됨으로써 가장자리가 피검자의 피부 표면에 점착되도록 이루어지고, 수용성 겔 재질로 마련되는 접착대; 상기 접착대의 배면에 결합되어 상기 센서전극 및 상기 접착대가 고정되도록 마련되는 몸체부; 및 상기 몸체부의 일측으로부터 연장되어 구비되고, 상기 센서전극이 전기적으로 연결되도록 마련되는 커넥터부를 포함하는 생체 전위 측정용 센서패드가 제공된다.In order to achieve the above object, according to one aspect of the present invention, there is provided an ultrasonic diagnostic apparatus comprising: a sensor electrode, which is formed to have a diameter of 1 to 8 mm and is formed of a circular or annular conductive metal plate, ; An adhesive pad which is adhered to the back surface of the sensor electrode and has a diameter larger than that of the sensor electrode so that the edge is adhered to the skin surface of the subject and is made of a water soluble gel material; A body coupled to a back surface of the adhesive band to fix the sensor electrode and the adhesive band; And a connector portion extending from one side of the body portion, the connector portion being electrically connected to the sensor electrode.
상기 몸체부는, 피검자의 좌우측 유방 표면에 각각 부착되는 한 쌍의 필름형 회로판으로 이루어지고, 중심부로부터 분지되는 8개의 분지선에 상기 센서전극이 소정의 간격으로 이격되어 다수로 구비되고, 중앙부에 피검자의 유두가 돌출되어 안착되도록 형성되는 통공; 상기 통공을 중심으로 피검자의 복부측으로 분지되는 제 1 분지선; 상기 통공을 중심으로 피검자의 가슴뼈측으로 분지되는 제 2 분지선; 상기 통공을 중심으로 피검자의 어깨측으로 분지되는 제 3 분지선; 및 상기 통공을 중심으로 피검자의 겨드랑이측으로 분지되는 제 4 분지선을 포함하는 생체 전위 측정용 센서패드가 제공된다.The body portion is composed of a pair of film-like circuit boards attached to the left and right breast surfaces of the examinee, and is provided with a plurality of sensor electrodes spaced apart from each other by eight branch lines branched from the central portion, The nipple being protruded and seated; A first branch line branched toward the abdomen side of the examinee about the through hole; A second branch line branched toward the subject's chest bone centered on the aperture; A third branch line branched toward the shoulder side of the examinee about the through hole; And a fourth branch line branched toward the side of the examinee about the through hole.
상기 제 1 분지선, 제 2 분지선, 제 3 분지선 및 제 4 분지선은, 상기 제 1 분지선의 길이에 대해 하기의 비율에 따른 길이를 갖도록 형성되는 것을 특징으로 하는 생체 전위 측정용 센서패드: 제 2 분지선 : 1 ± (0.05 ~ 0.1); 제 3 분지선 : 1.6 ± (0.05 ~ 0.1); 제 4 분지선 : 2.25 ± (0.05 ~ 0.1).Wherein the first branch line, the second branch line, the third branch line, and the fourth branch line are formed to have a length according to the following ratio with respect to the length of the first branch line: Pad: 2nd branch line: 1 占 (0.05 to 0.1); Third branch line: 1.6 ± (0.05-0.1); Line 4: 2.25 ± (0.05-0.1).
상기 몸체부는, 피검자의 유방 일측에 부착되는 원형 또는 장방형의 필름형 회로판으로 이루어지고, 하나 이상의 상기 센서전극이 소정의 간격으로 이격되어 구비되는 독립측정형 센서패드를 더 포함하는 생체 전위 측정용 센서패드가 제공된다.Wherein the body part further comprises an independent measurement type sensor pad formed of a circular or rectangular film circuit board attached to one side of the subject's breast and having at least one of the sensor electrodes spaced apart at a predetermined interval, A pad is provided.
상기 커넥터부에 전기적으로 연결되어 상기 센서전극에 인가되는 전압을 측정하여 기록 및 분석함으로써 피검 부위의 발병 유무를 검진하도록 마련되는 유방암 검진장치를 더 포함하는 생체 전위 측정용 센서패드가 제공된다.And a breast cancer examination device electrically connected to the connector unit and adapted to measure the voltage applied to the sensor electrode, and record and analyze the voltage to check whether the test subject has an onset.
본 발명에 따른 생체 전위 측정용 센서패드에 의하면, 피검자의 피부 표면에 손쉽게 부착할 수 있고, 겔 재질의 접착대에 의해 센서전극이 안정적으로 피부에 촉지됨으로써 정전기를 차단하고 피검 위치가 안정적으로 고정되도록 할 수 있다.According to the sensor pad for measuring bioelectrical potential according to the present invention, the sensor pad can be easily attached to the skin surface of the subject, and the sensor electrode can be stably touched to the skin by the adhesive pad made of a gel material, .
피검자의 피부에 접촉되는 센서패드 특성 상 센서전극은 경제성이 높은 염화은(AgCl) 재질로 이루어짐으로써 일회용으로 사용되도록 하여 위생적으로 사용될 수 있다.Since the sensor electrode is made of silver chloride (AgCl), which is highly economical, it can be used for disposable use and can be used hygienically.
또한 센서전극의 크기를 최소화하여 초기 발병한 병변에 대한 검진이 가능하므로 유방암과 같이 기존 장비에 의해 진단할 수 없는 크기의 병변에 대한 조기 진단이 가능하여 완치율을 높힐 수 있다.In addition, since the size of the sensor electrode can be minimized, it is possible to perform early diagnosis of the lesion of early onset. Thus, it is possible to early diagnose a lesion which is not diagnosed by conventional equipment such as breast cancer,
피검자의 신체 치수에 따라 다양한 사이즈의 센서패드가 제공되며, 센서전극이 일정한 비율에 따라 배치되도록 함으로써 주요 발병 부위에 대한 정확한 검진이 이루어질 수 있다.Sensor pads of various sizes are provided according to the body size of the subject, and sensor electrodes are arranged at a certain ratio, so that a precise examination for a major onset area can be made.
도 1은 본 발명인 생체 전위 측정용 센서패드의 일 실시예를 도시한 입면도이다.
도 2는 본 발명인 생체 전위 측정용 센서패드의 일 실시예를 도시한 단면도이다.
도 3은 본 발명인 생체 전위 측정용 센서패드의 사용방법을 도시한 구성도이다.
도 4는 본 발명인 생체 전위 측정용 센서패드의 다른 실시예를 도시한 입면도이다.1 is an elevation view showing an embodiment of a sensor pad for measuring bioelectrical potential according to the present invention.
2 is a cross-sectional view showing one embodiment of a sensor pad for measuring bioelectrical potential according to the present invention.
3 is a configuration diagram showing a method of using the sensor pad for measuring bioelectrical potential according to the present invention.
4 is an elevation view showing another embodiment of the sensor pad for measuring bioelectrical potential according to the present invention.
본 발명은 다양한 변경을 가할 수 있고, 여러 가지 실시예를 가질 수 있는 바, 특정 실시예들을 도면에 예시하고, 상세하게 설명하고자 한다. 그러나, 이는 본 발명을 특정한 실시 형태에 대해 한정하려는 것이 아니고, 본 발명의 기술 사상 및 기술 범위에 포함되는 모든 변경, 균등물 내지 대체물을 포함하는 식으로 이해 되어야 하고, 여러 가지 다른 형태로 변형될 수 있으며, 본 발명의 범위가 하기 실시예에 한정되는 것은 아니다.While the invention is susceptible to various modifications and alternative forms, specific embodiments thereof are shown by way of example in the drawings and will herein be described in detail. It is to be understood, however, that the invention is not to be limited to the specific embodiments, but is to be understood to cover all modifications, equivalents, and alternatives falling within the spirit and scope of the invention, And the scope of the present invention is not limited to the following examples.
이하, 첨부된 도면을 참조하여 본 발명에 따른 실시예를 상세히 설명하며, 도면 부호에 관계없이 동일하거나 대응하는 구성요소에 대해서는 동일한 참조 번호를 부여하고, 이에 대해 중복되는 설명을 생략하기로 한다.Hereinafter, embodiments of the present invention will be described in detail with reference to the accompanying drawings, wherein like or corresponding elements are denoted by the same reference numerals, and redundant explanations thereof will be omitted.
도 1은 본 발명인 생체 전위 측정용 센서패드의 일 실시예를 도시한 입면도이고, 도 2는 본 발명인 생체 전위 측정용 센서패드의 일 실시예를 도시한 단면도이다.FIG. 1 is an elevation view showing an embodiment of a sensor pad for measuring bioelectrical potential according to the present invention, and FIG. 2 is a cross-sectional view illustrating an embodiment of a sensor pad for measuring bioelectrical potential according to the present invention.
도 1 내지 도 2를 참조하면, 본 발명의 센서패드(100)는 센서전극(111), 접착대(113) 및 몸체부(114)로 구성될 수 있다.1 and 2, the
본 발명에 따른 센서패드(100)는 여성 피검자의 양측 유방 내지는 일측 유방에 부착되어 피하의 조직에서 발생되는 미세전류를 검측하기 위한 것으로서, 조직에서 발생하는 미세전류에 의해 센서패드(100)에 마련되는 센서전극(111)이 대전되도록 함으로써 전압을 측정하는 방식으로 사용될 수 있다.The
앞서 발명의 배경이되는 기술에서 상술한 바와 같이, 인체를 비롯한 생체 조직 내의 세포는 세포막을 경계로 칼슘 및 포테시움 이온의 교환에 의해 대사물질의 반출이 이루어진다. 이에 따라 세포막의 내외부에는 일정한 수준의 전위가 형성되는데, 일반적으로 휴지기에는 -70mV 수준의 전위가 유지되고, 세포분열이 이루어지는 분열기에는 세포막이 개방되면서 약 -10mV 수준까지 전위가 낮아진다.As described above in the Background of the Invention, as described above, the metabolites are taken out from the cells in the body tissues including the human body by the exchange of calcium and potassium ion to the cell membrane. Thus, a constant level of dislocation is formed in the inner and outer portions of the cell membrane. Generally, a potential of -70 mV is maintained at the resting stage, and the cell membrane is opened to the cell divider, and the dislocation is decreased to about -10 mV level.
정상적인 세포의 경우 휴지기와 분열기가 반복되므로 이러한 휴지기 전위와 분열기 전위가 반복해서 나타나는 양상을 띠는 데 반해, 암세포의 경우에는 휴지기 없이 지속적으로 분열이 이루어지므로 정상적인 세포에 비해 활동 전위가 낮다는 특성이 있다.In normal cells, the repetitive and cleaved repeats are repeated, and the repetitive and disruptive potentials appear repeatedly. On the other hand, in cancer cells, the action potential is lower than normal cells have.
따라서 피부 표면에 도전체를 밀착시킴으로써 조직 내 세포에서 발생하는 전류에 의해 상기 도전체가 정전유도에 의해 대전되도록 할 수 있으며, 정상 세포와 암세포 간의 전위 차이를 이용함으로써 조직 내 암 병변의 발생 여부를 검측할 수 있다.Therefore, the conductor can be electrostatically charged by the electric current generated in the cells in the tissue by adhering the conductor to the surface of the skin. By using the difference in potential between normal cells and cancer cells, can do.
이에 따라 본 발명에 따른 센서전극(111)은 피하조직에서 발생하는 미세전류에 의해 대전될 수 있도록 자체 임피던스가 낮은 도전체로 이루어질 수 있다. 예컨대 이상적인 도전체로서 금(Au)으로 이루어진 센서전극(111)이 사용될 수 있다. 그러나 본 발명에 따른 센서패드(100)는 피검자의 피부에 직접 접촉되는 부재로서 위생적인 사용을 위해 1회용으로 마련되는 것이 바람직하며, 이 경우 금 재질의 센서전극(111)은 경제성이 떨어질 수 있다. 따라서 실제 상용화를 염두에 둘 경우 염화은(AgCl) 재질로 마련되는 센서전극(111)을 적용하는 것이 바람직하다.Accordingly, the
도 2를 참조하면, 센서전극(111)은 원판형으로 이루어지고, 배면에 수용성 겔 재질의 접착대(113)가 밀착되어 몸체부(114) 상에 고정되도록 마련된다. 여기에서 센서전극(111)의 직경(d)은 1 ~ 8mm로 마련된다. 센서전극(111)의 직경(d)은 피하조직 내에 발생하는 병변조직을 검출하는 데 주요한 요인이 된다.Referring to FIG. 2, the
일반적으로 유방암에 대한 진단은 초음파 장비나 X-레이, MRI 등에 의해 이루어지는데, 이들 장비에 의해 진단 및 확증이 가능한 유방암 조직의 최저 크기는 10mm 이상인 것으로 알려져 있다. 이는 암 발생 초기에는 병변 조직이 유방 내의 물혹이나 유선조직과 형태상 구분이 어려우며, 특히 동양 여성의 경우 유선조직이 상대적으로 발달하여 전통적인 진단 장비에 의해서는 초기 진단이 어렵기 때문이다.In general, the diagnosis of breast cancer is made by ultrasound equipment, X-rays, and MRI. The minimum size of breast cancer tissue that can be diagnosed and confirmed by these devices is known to be at least 10 mm. This is because it is difficult to distinguish the lesion tissue from the mammary gland and the mammary gland in the early stage of cancer. Especially in oriental women, the mammary gland tissue is relatively developed and the initial diagnosis is difficult due to the conventional diagnostic equipment.
본 발명에 따른 센서패드는 센서전극(111)의 크기를 8mm 이하로 함으로써 5mm ~ 10mm 이내의 초기 암조직에서 발생하는 이상 전류를 주변의 정상조직과 분리하여 스캔할 수 있도록 하여 유방암에 대한 조기 진단이 가능하다.The sensor pad according to the present invention allows the abnormal current generated in the early cancer tissue within 5 mm to 10 mm to be scanned separately from the surrounding normal tissue by making the size of the
이에 따라 센서전극(111)의 크기는 5mm 이하로 마련되도록 하는 것이 바람직하나, 현실적인 장치의 운용 및 실효성을 고려하여 최대 8mm로 이루어지도록 할 수 있다.Accordingly, it is preferable that the size of the
접착대(113)는 센서전극(111)의 직경보다 큰 수용성 겔(gel) 재질의 원판형 내지 환형 부재로 마련됨으로써 센서전극(111) 둘레에 배치되어 피검자의 피부에 센서전극(111)이 밀착되도록 하고, 피부 표면에서 발생하는 정전기 등으로부터 센서전극(111)을 보호하는 역할을 한다. 일례로 접착대(113)는 염화나트륨(NaCl) 폴리머 또는 콜로이드 겔 재질로 이루어질 수 있다.The
몸체부(114)는 필름형 회로판으로 이루어짐으로서 센서전극(111)이 외부 장치에 전기적으로 연결되도록 하는 도전선을 포함하고, 센서전극(111)과 접착대(113)가 부착되어 지지되도록 하는 역할을 한다.The
도 2를 참조하면 몸체부(114)의 일면에는 센서전극(111) 및 접착대(113)가 부착되어 고정되고, 내측에는 센서전극(111)과 전기적으로 연결되는 도전선(112)이 매립되도록 마련된다. 몸체부(114)의 일측에는 도전선(112)이 집결되어 형성되는 커넥터부(115)가 형성되어 외부 장치에 센서전극(111)이 전기적으로 연결되도록 할 수 있다.2, the
본 발명의 일 측면에 따른 센서패드(100)는 피검자의 유방을 8개의 영역으로 나누어 센서전극(111)이 분포되도록 하는 형상으로 제공될 수 있다. 이에 따라 몸체부(114)의 중앙에 형성되는 통공(116)을 중심으로 피검자의 복부측으로 분지되는 제 1 분지선(R), 가슴뼈측으로 분지되는 제 2 분지선(B), 어깨측으로 분지되는 제 3 분지선(C) 및 겨드랑이측으로 분지되는 제 4 분지선(D)이 형성되고, 각각의 분지선 상에 도전선(112)에 연결되는 센서전극(111)이 일렬로 분포되도록 형성될 수 있다. 상기 분지선들 사이에는 추가적인 사선형 분지선이 연장되어 형성되는데, 상기 분지선들에 의해 나뉘어지는 각 분면의 넓이에 따라 사선형 분지선의 길이가 조정되어 마련된다.The
여기에서 기준이 되는 제 1 분지선부터 제 4 분지선의 길이는 제 1 분지선(R)의 길이를 기준으로 하여 각각 하기된 비율에 따라 조정되도록 한다.
Here, the lengths of the reference first to fourth branch lines are adjusted in accordance with the respective ratios based on the length of the first branch line (R).
제 2 분지선(B) : 1 ± (0.05 ~ 0.1);Second branch line (B): 1 占 (0.05-0.1);
제 3 분지선(C) : 1.6 ± (0.05 ~ 0.1);Third branch line (C): 1.6 占 (0.05-0.1);
제 4 분지선(D) : 2.25 ± (0.05 ~ 0.1).
Line 4 (D): 2.25 ± (0.05-0.1).
즉 제 2 분지선(B)의 경우 제 1 분지선(R)의 길이를 1로 했을 때 약 1.05 ~ 1.1의 비율을 갖는 길이로 형성될 수 있다.In other words, in the case of the second branch line B, the length of the first branch line R may be about 1.05-1.1 with the length of the first branch line R being 1.
상기와 같은 비율에 따라 제 1 분지선부터 제 4 분지선의 길이가 형성되도록 함으로써 피검자의 유두를 중심으로 유방의 일반적인 형상에 따른 각 분면의 센서 배치가 균등하게 이루어질 수 있다. 즉 일반적으로 여성의 유방은 유두를 중심으로 하여 팔 측을 향하는 면이 넓고, 가슴측을 향하는 면이 좁으며, 겨드랑이 피하에 분포하는 임파선을 따라 암 조직이 발생하는 비율이 높다. 이에 따라 본 발명에 의해 제공되는 센서패드 역시 상술한 영역의 센서 수를 늘림으로써 정밀한 측정이 이루어지고, 피검자의 유두를 기준점으로 하여 센서패드(100)가 안착되도록 하여 표준적인 센서패드 안착이 가능하다.By arranging the lengths of the first branch line to the fourth branch line in accordance with the above-mentioned ratio, the sensor arrangement of each side of the breast according to the general shape of the breast around the nipple of the subject can be made uniform. In general, the female breast has a wide face toward the arm side, a narrow face toward the breast side, and a high incidence of cancer tissue along the lymph node, which is distributed under the armpit, under the nipple. Accordingly, the sensor pad provided by the present invention can be precisely measured by increasing the number of sensors in the above-mentioned area, and the
한편 피검자의 개인 특성에 따라 유방의 사이즈가 다양할 수 있으므로 이에 따라 센서패드(100)의 크기 역시 소정의 사이즈별로 분류되어 다수로 구비되는 것이 바람직하다.The sizes of the breasts may vary according to individual characteristics of the subject, and accordingly, it is preferable that the sizes of the
본 발명에 따른 센서패드(100)는 전술한 각 분지선의 비율 및 일반적인 유방 사이즈에 따라 센서패드(100)의 사이즈를 아래와 같이 규격화하여 제공할 수 있다.The
\
유방사이즈Branch line
\
Breast size
R
R
B
B
C
C
D
D
B+D
B + D
상기 [표 1]의 규격에 따라, 제 1 분지선에서 제 4 분지선 및 각 분지선 사이의 사선형 분지선 상에 위치하는 센서전극(111)의 간격 역시 일정한 비율로 넓어지거나 좁아지도록 조정되는 것이 바람직하다.According to the standard of Table 1, the interval of the
한편 본 발명의 일 측면에 따르면 센서패드(100)는 피검자의 양측 유방에 부착되도록 한 쌍의 대칭형 패드로 이루어질 수 있다. 그러나 본 발명에 따른 센서패드의 형상은 이에 한정되지 않고, 유방의 특정 부위를 정밀하게 스캔하기 위한 형상의 센서패드를 포함할 수 있다.According to an aspect of the present invention, the
도 4를 참조하면, 이러한 정밀 스캔을 위한 센서패드(200)는 원형 또는 장방형의 형상을 갖는 몸체부(214) 일 측면에 다수의 센서전극(111) 및 접착대(113)가 부착되도록 마련될 수 있다. 이때 센서전극(111)은 보다 정밀한 스캔을 위해 상대적으로 작은 직경으로 이루어지도록 할 수 있다. 예컨대 본 발명의 일 측면에 따른 센서패드(100)를 구성하는 센서전극(111)은 8mm의 직경을 갖도록 구비될 수 있고, 다른 실시예에 따른 센서패드(200)를 구성하는 센서전극(211)은 5mm 이하의 직경을 갖도록 구비될 수 있다.Referring to FIG. 4, the
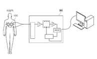
도 3을 참조하면, 이와 같은 구성에 따른 생체 전위 측정용 센서패드(100)는 센서전극(111)에 인가되는 전압을 측정하여 기록하고 분석함으로써 피검 부위의 발병 유무를 검진하도록 마련되는 유방암 검진장치(300)를 더 포함할 수 있다.Referring to FIG. 3, the
유방암 검진장치(300)는 센서패드(100)의 일측에 구비되는 커넥터부(115)에 전기적으로 연결되어 센서전극(111)의 전압을 검측하는 전위측정부와, 전위측정부에서 검측된 각 센서전극(111)의 전압 데이터를 분석하여 병변 발생 여부를 판단하는 연산부로 구성될 수 있다.The breast
상기 전위측정부는 검진장치(300) 본체에서 발생하는 전류 노이즈를 제거하고 센서전극(111)에 인가되는 미세전류를 증폭하여 디지털신호로 전환하는 역할을 한다. 또한 상기 연산부는 상기 전위측정부로부터 변환된 디지털신호를 분석하여 해당 센서전극(111)이 위치한 피검 부위의 발병 여부를 진단할 수 있다.The potential measuring unit removes the current noise generated in the main body of the
이때 좌우 양측 센서패드(100)의 센서전극(111)은 대칭 위치에 분포됨으로써, 양측 센서전극(111)에서 측정되는 전압값을 비교하여 전압 차이가 일정 수준을 넘어설 경우 추가적인 정밀 진단이 이루어지도록 할 수 있다.At this time, the
이와 같은 본 발명에 따른 생체 전위 측정용 센서패드의 작용을 설명하기로 한다.The operation of the sensor pad for measuring bioelectrical potential according to the present invention will now be described.
검사자는 센서패드(100)가 피검자의 유방에 잘 안착될 수 있도록 피검자의 상체가 약 15°의 경사를 이루도록 피검대에 눕힌다. 피검자가 피검대에 누움으로써 피검자의 유방이 납작한 형태를 이루게 되면 센서패드(100)의 중앙부 통공(116)에 피검자의 유두가 노출되도록 센서패드(100)를 안착시키고, 각 센서전극(111)이 피검자의 피부 표면에 안정적으로 밀착되도록 한다.The examinee is laid down on the test bed so that the upper body of the subject is inclined at about 15 degrees so that the
이때 검사자는 피검자의 신체 치수에 따라 다수로 마련되는 센서패드(100) 중 적합한 센서패드(100)를 선택하여 적용할 수 있다.At this time, the inspector can select and apply a
센서패드(100)의 부착이 완료되면 커넥터부(115)를 이용하여 센서패드(100)를 검사장치(300)와 연결시키고 검사장치(300)를 가동한다. 검사장치(300)는 피검자의 생체 전류에 의해 대전된 센서전극(111)으로부터 전압값을 계측하고 분석함으로써 검사결과를 도출할 수 있다.When the attachment of the
검사 결과 특정 부위의 전압값이 정상치를 초과하는 것으로 나타나게 되면, 검사자는 기존의 센서패드(100)를 제거하고 본 발명에 따른 국부 검진용 센서패드(200)를 특정 부위에 부착하고 검사장치(300)에 연결하여 재검사를 실시할 수 있다.If the voltage value of the specific region exceeds the normal value, the inspector removes the existing
검사가 완료되면 부착된 센서패드(100)를 제거한다. 센서패드(100)는 일회용으로 사용되므로 제거된 센서패드(100)는 폐기할 수 있다.When the inspection is completed, the attached
이와 같이 첨부된 도면을 참조하여 본 발명을 설명하였으나, 본 발명의 기술적 사상을 벗어나지 않는 범위 내에서 다양한 수정 및 변형이 이루어질 수 있음은 물론이다. 그러므로, 본 발명의 범위는 설명된 실시예에 국한되어 정해져서는 안되며, 후술하는 특허청구범위뿐만 아니라 이러한 특허청구범위와 균등한 것들에 의해 정해져야 한다.Although the present invention has been described with reference to the accompanying drawings, it is to be understood that various changes and modifications may be made without departing from the spirit of the invention. Therefore, the scope of the present invention should not be limited to the described embodiments, but should be determined by the equivalents of the claims, as well as the following claims.
100 : 센서패드
111 : 센서전극 112 : 도전선
113 : 접착대 114 : 몸체부
115 : 커넥터부 R : 제 1 분지선
B : 제 2 분지선 C : 제 3 분지선
D : 제 4 분지선 200 : 국부 진단용 센서패드
300 : 유방암 진단장치100: Sensor pad
111: sensor electrode 112: conductive wire
113: Adhesive band 114: Body part
115: Connector part R: 1st branch line
B: 2nd branch line C: 3rd branch line
D: 4th branch line 200: Sensor pad for local diagnosis
300: Breast cancer diagnostic device
| Application Number | Priority Date | Filing Date | Title |
|---|---|---|---|
| KR1020150049982AKR101649074B1 (en) | 2015-04-09 | 2015-04-09 | Method for sensing intercellular potential difference and breastcancer diagnosis system thereof |
| Application Number | Priority Date | Filing Date | Title |
|---|---|---|---|
| KR1020150049982AKR101649074B1 (en) | 2015-04-09 | 2015-04-09 | Method for sensing intercellular potential difference and breastcancer diagnosis system thereof |
| Publication Number | Publication Date |
|---|---|
| KR101649074B1true KR101649074B1 (en) | 2016-08-17 |
| Application Number | Title | Priority Date | Filing Date |
|---|---|---|---|
| KR1020150049982AExpired - Fee RelatedKR101649074B1 (en) | 2015-04-09 | 2015-04-09 | Method for sensing intercellular potential difference and breastcancer diagnosis system thereof |
| Country | Link |
|---|---|
| KR (1) | KR101649074B1 (en) |
| Publication number | Priority date | Publication date | Assignee | Title |
|---|---|---|---|---|
| KR101739656B1 (en) | 2015-11-23 | 2017-05-24 | 이경호 | Handy-type Breast Cancer Diagnosis Device |
| KR101789884B1 (en) | 2015-11-28 | 2017-10-25 | 이경호 | Breast Cancer Diagnosis Method Using Handy-type Breast Cancer Diagnosis Device |
| KR20210035961A (en)* | 2019-09-24 | 2021-04-02 | 서울대학교병원 | Tissue Expander For Breast Reconstruction Being Capable of Real-Time Monitoring and Treatment of Capsular Contracture Based on Current or Voltage Sensor and Patients Information System Associated Therewith |
| KR20230136490A (en) | 2022-03-18 | 2023-09-26 | 서울대학교산학협력단 | Branched nanosheet, method for forming branched nanosheet, and nanocomposite comprising branched nanosheet |
| Publication number | Priority date | Publication date | Assignee | Title |
|---|---|---|---|---|
| JPH10508227A (en)* | 1994-10-17 | 1998-08-18 | バイオフィールド コーポレーション | DC biopotential measurement electrode and conductive medium used for the electrode |
| JP2011505966A (en)* | 2007-12-11 | 2011-03-03 | エピ‐サイ,リミテッド・ライアビリティ・カンパニー | Electrical bioimpedance analysis as a biomarker of breast density and / or breast cancer risk |
| KR20140088390A (en)* | 2013-01-02 | 2014-07-10 | (주) 태웅메디칼 | Patch type electrode for body signal measure |
| KR101490811B1 (en)* | 2013-12-04 | 2015-02-06 | 주식회사 케이헬쓰웨어 | Electrical Impedance Tomography Apparatus |
| Publication number | Priority date | Publication date | Assignee | Title |
|---|---|---|---|---|
| JPH10508227A (en)* | 1994-10-17 | 1998-08-18 | バイオフィールド コーポレーション | DC biopotential measurement electrode and conductive medium used for the electrode |
| JP2011505966A (en)* | 2007-12-11 | 2011-03-03 | エピ‐サイ,リミテッド・ライアビリティ・カンパニー | Electrical bioimpedance analysis as a biomarker of breast density and / or breast cancer risk |
| KR20140088390A (en)* | 2013-01-02 | 2014-07-10 | (주) 태웅메디칼 | Patch type electrode for body signal measure |
| KR101490811B1 (en)* | 2013-12-04 | 2015-02-06 | 주식회사 케이헬쓰웨어 | Electrical Impedance Tomography Apparatus |
| Publication number | Priority date | Publication date | Assignee | Title |
|---|---|---|---|---|
| KR101739656B1 (en) | 2015-11-23 | 2017-05-24 | 이경호 | Handy-type Breast Cancer Diagnosis Device |
| KR101789884B1 (en) | 2015-11-28 | 2017-10-25 | 이경호 | Breast Cancer Diagnosis Method Using Handy-type Breast Cancer Diagnosis Device |
| KR20210035961A (en)* | 2019-09-24 | 2021-04-02 | 서울대학교병원 | Tissue Expander For Breast Reconstruction Being Capable of Real-Time Monitoring and Treatment of Capsular Contracture Based on Current or Voltage Sensor and Patients Information System Associated Therewith |
| KR102315044B1 (en)* | 2019-09-24 | 2021-10-22 | 서울대학교병원 | Tissue Expander For Breast Reconstruction Being Capable of Real-Time Monitoring and Treatment of Capsular Contracture Based on Current or Voltage Sensor and Patients Information System Associated Therewith |
| KR20230136490A (en) | 2022-03-18 | 2023-09-26 | 서울대학교산학협력단 | Branched nanosheet, method for forming branched nanosheet, and nanocomposite comprising branched nanosheet |
| KR102620022B1 (en)* | 2022-03-18 | 2024-01-02 | 서울대학교산학협력단 | Branched nanosheet, method for forming branched nanosheet, and nanocomposite comprising branched nanosheet |
| Publication | Publication Date | Title |
|---|---|---|
| EP3571987B1 (en) | Apparatus for determining damaged tissue using sub-epidermal moisture measurements | |
| US8948838B2 (en) | Switch probe for multiple electrode measurement of impedance | |
| CN101365382B (en) | Diagnosis for skin disease using impedance measurements | |
| US20150065845A1 (en) | Measuring apparatus and its method | |
| US20030069506A1 (en) | Acoustic sensor array for non-invasive detection of coronary artery disease | |
| KR101649074B1 (en) | Method for sensing intercellular potential difference and breastcancer diagnosis system thereof | |
| JP2008543453A (en) | Electrode and method for determining biopotential | |
| JP7747615B2 (en) | Systems and methods for measuring tissue parameters using capacitive tactile sensors - Patents.com | |
| CN111407236B (en) | A tactile ultrasonic medical detection probe and medical equipment | |
| US20130317364A1 (en) | E-bra and methods for early detection of breast tumor | |
| EA019377B1 (en) | Method and apparatus for disease diagnosis and screening using extremely low frequency electromagnetic fields | |
| US8983578B2 (en) | System and method for transducer placement in soft-field tomography | |
| CN108703746A (en) | A kind of wearable device for detecting breast disease | |
| EP3801243B1 (en) | Impedance measurement device | |
| US20130261420A1 (en) | System and method for non-invasive diagnostic of mammals | |
| KR101964260B1 (en) | Patch type breast cancer screening device and method using the same | |
| CN220876758U (en) | Bioimpedance measuring device | |
| US20250302438A1 (en) | Flexible device and method for manufacturing the flexible device and monitoring system | |
| CN214342353U (en) | Electrocardio monitoring electrode device and electrocardio monitoring system | |
| Le et al. | Investigation of Using Non-Contact Electrodes for Fetal ECG Monitoring | |
| TW201929781A (en) | Ultrasonic sensing device | |
| CN117481660A (en) | An implantable multi-purpose EEG signal acquisition system | |
| KR20250123146A (en) | Measurement device for bioimpedance spectroscopy of the breast | |
| TW201707645A (en) | Contactless electric cardiogram system | |
| KR101789884B1 (en) | Breast Cancer Diagnosis Method Using Handy-type Breast Cancer Diagnosis Device |
| Date | Code | Title | Description |
|---|---|---|---|
| PA0109 | Patent application | St.27 status event code:A-0-1-A10-A12-nap-PA0109 | |
| PA0201 | Request for examination | St.27 status event code:A-1-2-D10-D11-exm-PA0201 | |
| D13-X000 | Search requested | St.27 status event code:A-1-2-D10-D13-srh-X000 | |
| D14-X000 | Search report completed | St.27 status event code:A-1-2-D10-D14-srh-X000 | |
| PE0902 | Notice of grounds for rejection | St.27 status event code:A-1-2-D10-D21-exm-PE0902 | |
| T11-X000 | Administrative time limit extension requested | St.27 status event code:U-3-3-T10-T11-oth-X000 | |
| E13-X000 | Pre-grant limitation requested | St.27 status event code:A-2-3-E10-E13-lim-X000 | |
| P11-X000 | Amendment of application requested | St.27 status event code:A-2-2-P10-P11-nap-X000 | |
| P13-X000 | Application amended | St.27 status event code:A-2-2-P10-P13-nap-X000 | |
| E701 | Decision to grant or registration of patent right | ||
| PE0701 | Decision of registration | St.27 status event code:A-1-2-D10-D22-exm-PE0701 | |
| GRNT | Written decision to grant | ||
| PR0701 | Registration of establishment | St.27 status event code:A-2-4-F10-F11-exm-PR0701 | |
| PR1002 | Payment of registration fee | St.27 status event code:A-2-2-U10-U11-oth-PR1002 Fee payment year number:1 | |
| PG1601 | Publication of registration | St.27 status event code:A-4-4-Q10-Q13-nap-PG1601 | |
| P22-X000 | Classification modified | St.27 status event code:A-4-4-P10-P22-nap-X000 | |
| PN2301 | Change of applicant | St.27 status event code:A-5-5-R10-R11-asn-PN2301 | |
| PN2301 | Change of applicant | St.27 status event code:A-5-5-R10-R14-asn-PN2301 | |
| PC1903 | Unpaid annual fee | St.27 status event code:A-4-4-U10-U13-oth-PC1903 Not in force date:20190811 Payment event data comment text:Termination Category : DEFAULT_OF_REGISTRATION_FEE | |
| PC1903 | Unpaid annual fee | St.27 status event code:N-4-6-H10-H13-oth-PC1903 Ip right cessation event data comment text:Termination Category : DEFAULT_OF_REGISTRATION_FEE Not in force date:20190811 |