

본 발명은 특수지에 관한 것으로서, 보다 상세하게는 내구성, 외관의 미려함을 갖춰 다용도로 사용이 가능하게 한 특수지에 관한 것이다.[0001] The present invention relates to a special paper, and more particularly, to a special paper having durability and good appearance and being versatile.
일반적으로 종이는 코팅의 유무, 사용 펄프의 종류, 사용 기능에 따라 분류할 수 있으며, 각 분류에 따라 현재 많은 종류의 종이가 시장에 출시되어 있다.In general, paper can be classified according to the presence or absence of coating, the kind of pulp used, and the function to be used, and many types of paper are now on the market according to each classification.
상기한 코팅의 유무에 따른 종이의 분류의 경우에는, 일반적으로 원지에 화학약품, 미세 돌가루 등으로 도공처리를 하였으면 도공지(塗工紙), 도공처리를 하지 않았으면 비도공지(非塗工紙)로 나누어 부른다. 상기한 도공지는 일반적으로 알려진 아트지를 말하며, 비도공지로는 백상지, 신문용지 등을 들 수 있다.In the case of the classification of the paper according to the presence or absence of the above-mentioned coating, the coated paper is generally coated with a chemical agent or a fine stone powder or the like on the base paper. When the coated paper is not coated, ). The coated paper mentioned above refers to generally known art paper, and non-printed paper includes a white paper, a newspaper paper, and the like.
그리고 사용 펄프의 종류에 따른 종이의 분류의 경우, 펄프의 종류와 이를 배합한 정도에 따라 기계펄프로 만들어진 지종(紙種)과 화학펄프, 또는 기타의 재료를 사용하여 만들어진 펄프를 사용한 지종으로 나눌 수 있다.In the case of classification of paper according to the type of pulp used, it is divided into paper types made of mechanical pulp and pulp made of chemical pulp or other materials depending on the type of pulp and the degree of blending thereof .
또한 종이가 사용되는 용도에 따라 상당히 다양하게 분류할 수 있는데, 크게 신문용지류, 인쇄용지류, 정보용지류, 가정/위생용지류, 포장용지류, 산업용지류, 기능지 등으로 나눈다.It can be divided into newspapers, printing paper, information paper, household / sanitary paper, packaging paper, industrial paper, and functional paper.
예컨대, 포장지가 강도가 요구되는 종이의 경우, 여러 장의 종이를 중첩하고 각 종이의 접착면에 접착제를 도포하여 순차적으로 접착한 합지(合紙)를 사용한다.For example, in the case of a paper sheet whose strength is required for a wrapping paper, a plurality of sheets of paper are stacked, and an adhesive is applied to each of the sheets of paper to sequentially bond them together.
그리고 내용물을 보호하고 강도를 높이기 위해 내부면에 예컨대, PE필름을 코팅한 코팅된 포장지를 사용한다.In order to protect the contents and increase the strength, a coated wrapping paper coated with PE film, for example, is used on the inner surface.
또한 포장지나 각종 전단물 등에 각종 이미지나 문자가 인쇄된 인쇄물에 외부 오염물이나 습기로부터 오염과 파손을 방지하기 위한 경우에는, 외부에 코팅제를 도포한 코팅된 인쇄용지를 사용한다.Also, in order to prevent contamination and damage from external contaminants and moisture in printed matter printed with various images or characters on packaging or various shearing materials, a coated printing paper coated with a coating agent on the outside is used.
이러한 인쇄용지는 인쇄물이 인쇄된 종이의 인쇄면을 보호하면서 인쇄용지의 강도를 향상시켜 잘 찢어지지 않고 구겨지지 않게 하여 강도를 향상시키고, 종이에 가장 나쁜 영향을 주는 습기의 흡수를 차단하여 인쇄용지의 수명을 증대시키도록 한다.Such a printing paper improves the strength of the printing paper by protecting the printing surface of the paper on which the printing material is printed, enhances the strength by preventing the paper from tearing and bending, and prevents the absorption of moisture, Increase the life span.
상기한 바와 같이, 종이는 포장용, 봉투용, 인쇄용 등 해당 용도에 맞게 종이가 선택되어 사용하게 된다.As described above, paper is selected and used in accordance with the intended use, such as for packaging, envelope, and printing.
그 이유는, 종이가 특정 용도에 맞게 제조되었기 때문이며, 한 종류의 종이로 여러 용도에 적용하기 위해서는 종이가 내구성 및 외관의 미려함을 모두 만족시켜야 하기 때문이다.The reason for this is that paper is manufactured for a specific use, and paper is required to satisfy both the durability and the beauty of appearance in order to be applied to various uses with one type of paper.
후술하는 본 발명은 한 종류의 종이로도 여러 용도로 사용 가능하게 한 특수지이다.The present invention to be described later is a special paper which can be used for various purposes even with one type of paper.
본 발명은 상기와 같은 문제점을 해결하기 위하여 창출된 것으로서, 여러 용도로 사용할 수 있도록 내구성 및 외관의 미려함을 갖추도록 한 특수지를 제공하는데 그 목적이 있다.SUMMARY OF THE INVENTION The present invention has been made in order to solve the above-mentioned problems, and it is an object of the present invention to provide a special paper having durability and aesthetic appeal so that it can be used for various purposes.
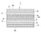
상기와 같은 목적을 달성하기 위한 본 발명의 특수지는, 종이로 된 기저층과; 상기 기저층 위에 접착된 PET 필름과; 상기 PET 필름의 상면에 형성된 알루미늄 증착층과; 상기 알루미늄 증착층이 보이도록 구비되어 상기 알루미늄 증착층 위에 접착된 박엽지;를 포함하되,
상기 박엽지 상면에는 제1민인쇄층이 형성되고,
그리고, 상기 알루미늄 증착층의 상면에는 아크릴수지 또는 폴리우레탄수지 중 적어도 하나로 프라이머 코팅층이 형성되며, 상기 프라이머 코팅층의 상면에는 제2민인쇄층이 형성되며,
또한, 상기 기저층은 도공지, 비도공지, 펄프지 및 고지 중 적어도 하나를 포함하거나, 도공지, 비도공지, 펄프지 및 고지 중 2종류를 조합한 합지로 이루어지며,
그리고, 상기 제1,2민인쇄층은, 그라비어 또는 플렉소 인쇄가 되는 인쇄층이고,
또한, 상기 박엽지는, 펄프 100중량부에 대하여 수분이 4±2중량부이며, 회분이 0.5중량부 이하이고, 평량이 17∼19g/㎡이며, 두께는 27∼33㎛이고, 인쇄적성 향상을 위해 특수처리된 것을 그 특징으로 한다.To achieve these and other advantages and in accordance with the purpose of the present invention, as embodied and broadly described herein, there is provided a special sheet comprising a base layer made of paper; A PET film adhered on the base layer; An aluminum deposition layer formed on an upper surface of the PET film; And a foil paper sheet which is provided on the aluminum deposition layer so as to be visible to the aluminum deposition layer,
 A first minute printing layer is formed on the upper surface of the thin paper,
 A primer coating layer is formed on at least one of an acrylic resin and a polyurethane resin on the upper surface of the aluminum deposition layer, a second partial printing layer is formed on an upper surface of the primer coating layer,
 Also, the base layer may include at least one of a coated paper, a non-coated paper, a pulp paper and a high paper, or a combination of two kinds of coated paper, uncoated paper, pulp paper and high paper,
 The first and second printing layers are gravure or flexographic printing layers,
 The thin paper has a moisture content of 4 ± 2 parts by weight, an ash content of 0.5 part by weight or less, a basis weight of 17 to 19 g / m 2 and a thickness of 27 to 33 μm based on 100 parts by weight of the pulp, Which is specially treated for.
본 발명의 실시예에 따르면, 기저층, PET 필름, 알루미늄 증착층, 프라이머 코팅층, 박엽지 및 복수의 민인쇄층을 접착 및 형성함으로써, 내구성이 증대되고, 복합적인 은은한 메탈 질감을 구현할 수 있어, 종이의 고급스러움 및 미려한 외관이 구현될 수 있다.According to the embodiment of the present invention, by bonding and forming the base layer, the PET film, the aluminum deposition layer, the primer coating layer, the thin paper, and the plurality of the min print layers, durability can be increased and complex complex metal texture can be realized, Can be realized.
따라서 다양한 용도의 종이에 적용할 수 있다.Therefore, it can be applied to paper for various purposes.
도 1은 본 발명에 따른 특수지가 적용된 포장박스의 사시도.
도 2는 도 1의 A부 상세 단면도.1 is a perspective view of a packaging box to which a special paper according to the present invention is applied.
 2 is a detailed cross-sectional view of part A of Fig.
이하, 첨부된 도면을 참조하여 본 발명에 따른 바람직한 실시예를 상세히 설명하기로 한다.Hereinafter, preferred embodiments of the present invention will be described in detail with reference to the accompanying drawings.
도 1에는 본 발명에 따른 특수지가 적용된 포장박스의 사시도가 도시되어 있고, 도 2에는 도 1의 A부 상세도로, 본 발명에 따른 특수지의 단면도가 도시되어 있다.FIG. 1 is a perspective view of a packaging box to which a special paper according to the present invention is applied, and FIG. 2 is a sectional view of a special paper according to the present invention, in detail in part A of FIG.
우선, 도 1에 도시된 바와 같이, 지함(紙函) 또는 포장박스(10)는, 소정의 두께(thickness)로 이루어지고, 물품을 수납할 수 있도록 구비된 내부면(10b)과, 인쇄가 되도록 구비된 외부면(10a)을 포함하여 구성된다.First, as shown in Fig. 1, a paper box or a
상기와 같은 두께, 내부면(10b) 및 외부면(10a)을 갖는 포장박스(10)에 적용된 본 발명에 따른 특수지가 도 2에 도시되어 있다.A special paper according to the present invention applied to the
도 2를 참조하면, 본 발명에 따른 특수지는, 저면이 상기한 내부면(10b)이 되는 종이로 된 기저(base)층(19)과, 이 기저층(19) 위에 접착된 PET 필름(17)과, 이 PET 필름(17)의 상면에 형성된 알루미늄 증착층(16)과, 이 알루미늄 증착층(16)이 특수지의 표면에서 보면 은은함이 느껴지게 보이도록 구비되어 알루미늄 증착층(16) 위에 접착된 박엽지(薄葉紙)(13)를 포함하여 구성된다.2, the special paper according to the present invention comprises a
상기 기저층(19)은 도공지, 비도공지, 펄프지 및 고지(waste paper) 중 적어도 하나를 포함하거나, 도공지, 비도공지, 펄프지 및 고지 중 2종류를 조합한 합지로 이루어진다.The
그리고 상기 알루미늄 증착층(16) 상면에는 아크릴수지 또는 폴리우레탄수지 중 적어도 하나로 된 프라이머 코팅층(15)이 형성된다.On the upper surface of the
또한 상기 박엽지(13)의 상면에는 제1민인쇄(보통 베다인쇄라 함)층(12a)이 형성되고, 상기 프라이머 코팅층(15) 상면에도 제2민인쇄층(12b)이 형성된다.A first
이러한 제1,2민인쇄층(12a,12b)은 그라비어(Gravure) 또는 플렉소 인쇄(flexxographic printing)가 되는 인쇄층이다.The first and
그리고 상기 제1민인쇄층(12a) 상면에는 오프셋 인쇄가 이루어지는 표면인쇄층(11)이 형성된다.A
또한 상기 제2민인쇄층(12b) 상면에는 상부접착제(14)가 도포되고, 상기 기저층(19)과 PET 필름(17) 사이에는 하부접착제(18)가 도포된다.An
그리고 상기 박엽지(13)는, 펄프 100중량부에 대하여 수분이 4±2중량부이며, 회분이 0.5중량부 이하이고, 평량이 17∼19g/㎡이며, 두께는 27∼33㎛이고, 인쇄적성 향상을 위해 특수처리(예컨대, 광택 처리 등)된 박엽지를 포함한다.The
또한 상기 상부접착제(14)는 예컨대, 접착제 85∼90중량%와 경화제 10∼15중량%가 배합된 조성물로 이루어진다.The
그리고 상기 하부접착제(18)는 예컨대, 비닐 아세테이트/에틸렌 폴리머 에멀젼(vinyl acetate/ethylene copolymer emulsion, CAS No.: 108-05-4) 55.98중량%, 포름알데히드(CAS No.: 50-00-0) 0.02중량%, 물(water, CAS No.: 7732-18-5) 45중량%가 배합된 조성물로 이루어진다.The
그러나, 상기한 상부접착제(14) 및 하부접착제(18)는 상기한 조성물로 한정되지 않으며, 건식 또는 습식 라미네이팅 접착제가 이용될 수 있음은 물론이다.However, it should be understood that the
또한 상기 PET 필름(17)은 이축 연신 폴리에스테르 필름(CAS No. 25038-59-9)으로 이루어진다.The PET
상기와 같이 구성된 본 발명에 따른 특수지의 작용을 설명하기로 한다.Hereinafter, the operation of the special paper according to the present invention will be described.
본 발명에 따른 특수지는, 도 1 및 도 2에 도시된 바와 같이, 우선, 기저층(19)으로 일반적으로 널리 사용되는 도공지, 비도공지, 펄프지 및 고지 중 적어도 하나 또는 2종류를 조합한 합지를 사용하므로 경제적이다.As shown in FIGS. 1 and 2, a special paper according to the present invention is formed by laminating at least one or two kinds of coated paper, uncoated paper, pulp paper, and high paper which are generally widely used as the
이와 같은 종류로 기저층(19)을 형성한 이유는, PET 필름(17)과 박엽지(13)만 접착하는 경우 그 두께가 30㎛ 정도밖에 되지 않으므로 포장박스(10)나 지함으로 사용할 수 없기 때문이다.The reason for forming the
따라서 상기 기저층(19)으로 인해 본 발명에 따른 특수지의 강도를 만족시킬 수 있다.  즉, 상기 기저층(19)으로 인해 특수지가 포장박스(10)나 지함으로 사용할 수 있는 두께가 되는 것은 물론이고 충분한 강도를 갖게 된다.Therefore, the strength of the special paper according to the present invention can be satisfied by the
이러한 기저층(19) 표면에 알루미늄 증착층(16)이 용이하게 실시할 수 있는 PET 필름(17)을 이용하여 알루미늄 증착층(16)을 형성한다.  물론, 상기 PET 필름(17)은 기저층(19) 표면에 하부접착제(18)를 도포한 후 부착된다.The
그런 후, 상기 알루미늄 증착층(16)의 상면에 아크릴수지 또는 폴리우레탄수지 중 적어도 하나로 된 프라이머 코팅층(15)을 형성한다.Then, a
이렇게 형성된 프라이머 코팅층(15)의 상면에 상부접착제(14)를 도포한 후, 그 위에 알루미늄 증착층(16)이 은은하게 보이도록(또는 노출되도록)된 박엽지(13)를 접착한다.An
즉, 기존에는 PET 필름(17)으로만 된 경우 UV 오프셋 잉크(자외선 경화잉크)만 사용이 가능하였으나, 본 발명에 따른 특수지에는 박엽지(13)가 접착됨으로써 후술하는 바와 같이, 일반 잉크로도 오프셋 인쇄가 가능하고, 알루미늄 증착층(16)에서 발하는 메탈 질감이 은은하게 노출되게 된다.In other words, only UV offset ink (ultraviolet curable ink) can be used when the
그리고 상기 박엽지(13) 및 프라이머 코팅층(15)의 상면에 각각 그라비아 또는 플렉소 인쇄에 의한 제1,2민인쇄층(12a,12b)을 형성한다.  이러한 제1,2민인쇄층(12a,12b)의 그라비아 또는 플렉소 인쇄를 통해 여러 색 예컨대, 금색, 은색 등 다양한 색의 메탈 질감을 부가시킬 수 있다.The first and
또한 상기 제1민인쇄층(12a)은 포장박스(10)의 외부면이 되므로 오프셋 인쇄에 의한 표면인쇄층(11)을 형성한다.In addition, since the first
상기한 바와 같은 공정에 의해 제조되는 본 발명에 따른 특수지는 인쇄가 용이하고, 특히 알루미늄 증착층(16) 및 제1,2민인쇄층(12a,12b)의 형성에 의해 본 발명에 따른 특수지의 외관이 고급스러워지고, 미려해진다.The special paper according to the present invention manufactured by the above-described process is easy to print, and in particular, by forming the aluminum
따라서 본 발명에 따른 특수지는 내구성, 외관의 미려함 및 복합적인 메탈 질감을 낼 수 있고, 인쇄도 용이하게 실시할 수 있어 예컨대, 포장박스나 지함용 판지는 물론이고, 캘린더(calendar), 포스터, 엽서 등 일반적으로 널리 사용되는 인쇄용지의 특수효과 대체 용지 등 상업용지로 널리 사용할 수 있다.Therefore, the special paper according to the present invention can provide durability, an excellent appearance, and a composite metal texture, and can be printed easily. For example, the special paper can be used not only for a packaging box, It can be widely used as commercial paper such as special effect alternative paper of commonly used printing paper.
상술한 바와 같이 본 발명은 도면에 도시된 일 실시예를 참고로 설명되었으나, 이는 예시적인 것에 불과하며, 당해 기술 분야에서 통상의 지식을 가진 자라면 이로부터 다양한 변형 및 균등한 실시예가 가능하다는 점을 이해할 것이다. 따라서 본 발명의 진정한 보호 범위는 첨부된 특허청구범위에 의해서만 정해져야 할 것이다.While the present invention has been particularly shown and described with reference to exemplary embodiments thereof, it is to be understood that the invention is not limited to the disclosed embodiments, but, on the contrary, is intended to cover various modifications and equivalent arrangements included within the spirit and scope of the appended claims. . Therefore, the true scope of protection of the present invention should be defined only by the appended claims.
11. 표면인쇄층
12a. 제1민인쇄층
12b. 제2민인쇄층
13. 박엽지
14. 상부접착제
15. 알루미늄 증착층
16. 프라이머 코팅층
17. PET 필름
18. 하부접착제
19. 기저층11. Surface printing layer
 12a. The first minor print layer
 12b. The second printing layer
 13. Park
 14. Top Adhesive
 15. Aluminum deposit layer
 16. Primer coating layer
 17. PET film
 18. Bottom Adhesive
 19. Base layer
| Application Number | Priority Date | Filing Date | Title | 
|---|---|---|---|
| KR1020120032222AKR101634601B1 (en) | 2012-03-29 | 2012-03-29 | Speciality paper | 
| Application Number | Priority Date | Filing Date | Title | 
|---|---|---|---|
| KR1020120032222AKR101634601B1 (en) | 2012-03-29 | 2012-03-29 | Speciality paper | 
| Publication Number | Publication Date | 
|---|---|
| KR20130110346A KR20130110346A (en) | 2013-10-10 | 
| KR101634601B1true KR101634601B1 (en) | 2016-06-29 | 
| Application Number | Title | Priority Date | Filing Date | 
|---|---|---|---|
| KR1020120032222AExpired - Fee RelatedKR101634601B1 (en) | 2012-03-29 | 2012-03-29 | Speciality paper | 
| Country | Link | 
|---|---|
| KR (1) | KR101634601B1 (en) | 
| Publication number | Priority date | Publication date | Assignee | Title | 
|---|---|---|---|---|
| KR20190079533A (en)* | 2017-12-26 | 2019-07-05 | 주식회사 신세계푸드 | Heating pad for microwave oven and manufacturing method thereof | 
| KR102373880B1 (en)* | 2020-09-10 | 2022-03-16 | 아세아제지(주) | Raw paper for fresh food | 
| Publication number | Priority date | Publication date | Assignee | Title | 
|---|---|---|---|---|
| JP2008006738A (en)* | 2006-06-30 | 2008-01-17 | Sumitomo Forestry Crest Co Ltd | Decorative paper, decorate plate, and manufacturing method for decorative plate | 
| US20110236664A1 (en) | 2008-12-15 | 2011-09-29 | Silvia Ortolani | Sheet for packaging food | 
| Publication number | Priority date | Publication date | Assignee | Title | 
|---|---|---|---|---|
| SE9403679L (en)* | 1994-10-27 | 1996-04-22 | Tetra Laval Holdings & Finance | Packaging container of laminated material | 
| JPH1185035A (en)* | 1997-09-11 | 1999-03-30 | Dainippon Printing Co Ltd | Vapor deposition label | 
| Publication number | Priority date | Publication date | Assignee | Title | 
|---|---|---|---|---|
| JP2008006738A (en)* | 2006-06-30 | 2008-01-17 | Sumitomo Forestry Crest Co Ltd | Decorative paper, decorate plate, and manufacturing method for decorative plate | 
| US20110236664A1 (en) | 2008-12-15 | 2011-09-29 | Silvia Ortolani | Sheet for packaging food | 
| Publication number | Publication date | 
|---|---|
| KR20130110346A (en) | 2013-10-10 | 
| Publication | Publication Date | Title | 
|---|---|---|
| EP3483337B1 (en) | Recyclable and repulpable translucent or transparent paper - use for packaging applications | |
| AR019987A1 (en) | CARTON CONTAINER UNDERSTANDING A LAMINATED COMPOSITE SHEET FOLDED AND STICKED IN THE FORM OF A BOX AND PRODUCTION METHOD OF A LAMINATED CONTAINER. | |
| CN1501860A (en) | Self-closing resealable packages | |
| US11587471B2 (en) | Recyclable liner for label assembly | |
| EP1588841A4 (en) | Laminate and paper container and package using the same | |
| KR101634601B1 (en) | Speciality paper | |
| KR101414059B1 (en) | Corrugated cardboard for packaging box | |
| US10046395B2 (en) | Laminated film for packaging | |
| JP2010052761A (en) | Paper container | |
| JP2003112719A (en) | Heat-resistant paper container | |
| JP5194676B2 (en) | Packaging material | |
| KR200364153Y1 (en) | Hot melting type adhesive sheet with PET film and paper | |
| WO2015092931A1 (en) | Polymer-film-laminated paper | |
| ES2320656T3 (en) | PACKING SHEET. | |
| JP7002188B2 (en) | Water-repellent laminates for lids, lids and containers | |
| WO2013145882A1 (en) | Packaging sheet, cigarette package using said packaging sheet, and outer blank for said cigarette package | |
| US9573723B2 (en) | Laminated sheet construction with thermal adhesive surface and method for making same | |
| JP4500387B2 (en) | Surface decorative sheet | |
| FR2833022B1 (en) | SHEET HAVING ROUGH TOUCH | |
| JP3144827U (en) | Double-sided printing substrate and double-sided sticker | |
| CN214777933U (en) | Packaging paper and packaging product with colorful patterns | |
| JP4961874B2 (en) | Liquid paper container | |
| KR101142680B1 (en) | Finishing foil with resin impregnated paper | |
| JP7275755B2 (en) | makeup sheet | |
| JP2011073781A (en) | Lid | 
| Date | Code | Title | Description | 
|---|---|---|---|
| A201 | Request for examination | ||
| PA0109 | Patent application | St.27 status event code:A-0-1-A10-A12-nap-PA0109 | |
| PA0201 | Request for examination | St.27 status event code:A-1-2-D10-D11-exm-PA0201 | |
| N231 | Notification of change of applicant | ||
| PN2301 | Change of applicant | St.27 status event code:A-3-3-R10-R13-asn-PN2301 St.27 status event code:A-3-3-R10-R11-asn-PN2301 | |
| R19-X000 | Request for party data change rejected | St.27 status event code:A-3-3-R10-R19-oth-X000 | |
| D13-X000 | Search requested | St.27 status event code:A-1-2-D10-D13-srh-X000 | |
| D14-X000 | Search report completed | St.27 status event code:A-1-2-D10-D14-srh-X000 | |
| E902 | Notification of reason for refusal | ||
| PE0902 | Notice of grounds for rejection | St.27 status event code:A-1-2-D10-D21-exm-PE0902 | |
| AMND | Amendment | ||
| E13-X000 | Pre-grant limitation requested | St.27 status event code:A-2-3-E10-E13-lim-X000 | |
| P11-X000 | Amendment of application requested | St.27 status event code:A-2-2-P10-P11-nap-X000 | |
| P13-X000 | Application amended | St.27 status event code:A-2-2-P10-P13-nap-X000 | |
| PG1501 | Laying open of application | St.27 status event code:A-1-1-Q10-Q12-nap-PG1501 | |
| P11-X000 | Amendment of application requested | St.27 status event code:A-2-2-P10-P11-nap-X000 | |
| P13-X000 | Application amended | St.27 status event code:A-2-2-P10-P13-nap-X000 | |
| R15-X000 | Change to inventor requested | St.27 status event code:A-3-3-R10-R15-oth-X000 | |
| R16-X000 | Change to inventor recorded | St.27 status event code:A-3-3-R10-R16-oth-X000 | |
| E902 | Notification of reason for refusal | ||
| PE0902 | Notice of grounds for rejection | St.27 status event code:A-1-2-D10-D21-exm-PE0902 | |
| T11-X000 | Administrative time limit extension requested | St.27 status event code:U-3-3-T10-T11-oth-X000 | |
| T11-X000 | Administrative time limit extension requested | St.27 status event code:U-3-3-T10-T11-oth-X000 | |
| AMND | Amendment | ||
| E13-X000 | Pre-grant limitation requested | St.27 status event code:A-2-3-E10-E13-lim-X000 | |
| P11-X000 | Amendment of application requested | St.27 status event code:A-2-2-P10-P11-nap-X000 | |
| P13-X000 | Application amended | St.27 status event code:A-2-2-P10-P13-nap-X000 | |
| E601 | Decision to refuse application | ||
| PE0601 | Decision on rejection of patent | St.27 status event code:N-2-6-B10-B15-exm-PE0601 | |
| AMND | Amendment | ||
| E13-X000 | Pre-grant limitation requested | St.27 status event code:A-2-3-E10-E13-lim-X000 | |
| P11-X000 | Amendment of application requested | St.27 status event code:A-2-2-P10-P11-nap-X000 | |
| E801 | Decision on dismissal of amendment | ||
| PE0601 | Decision on rejection of patent | St.27 status event code:N-2-6-B10-B15-exm-PE0601 | |
| PE0801 | Dismissal of amendment | St.27 status event code:A-2-2-P10-P12-nap-PE0801 | |
| J201 | Request for trial against refusal decision | ||
| PJ0201 | Trial against decision of rejection | St.27 status event code:A-3-3-V10-V11-apl-PJ0201 | |
| R18-X000 | Changes to party contact information recorded | St.27 status event code:A-3-3-R10-R18-oth-X000 | |
| J301 | Trial decision | Free format text:TRIAL DECISION FOR APPEAL AGAINST DECISION TO DECLINE REFUSAL REQUESTED 20140929 Effective date:20160225 Free format text:TRIAL NUMBER: 2014101006078; TRIAL DECISION FOR APPEAL AGAINST DECISION TO DECLINE REFUSAL REQUESTED 20140929 Effective date:20160225 | |
| PJ1301 | Trial decision | St.27 status event code:A-3-3-V10-V15-crt-PJ1301 Decision date:20160225 Appeal event data comment text:Appeal Kind Category : Appeal against decision to decline refusal, Appeal Ground Text : 2012 0032222 Appeal request date:20140929 Appellate body name:Patent Examination Board Decision authority category:Office appeal board Decision identifier:2014101006078 | |
| PS0901 | Examination by remand of revocation | St.27 status event code:A-6-3-E10-E12-rex-PS0901 | |
| S901 | Examination by remand of revocation | ||
| E902 | Notification of reason for refusal | ||
| PE0902 | Notice of grounds for rejection | St.27 status event code:A-1-2-D10-D21-exm-PE0902 | |
| P11-X000 | Amendment of application requested | St.27 status event code:A-2-2-P10-P11-nap-X000 | |
| P13-X000 | Application amended | St.27 status event code:A-2-2-P10-P13-nap-X000 | |
| GRNO | Decision to grant (after opposition) | ||
| PS0701 | Decision of registration after remand of revocation | St.27 status event code:A-3-4-F10-F13-rex-PS0701 | |
| GRNT | Written decision to grant | ||
| PR0701 | Registration of establishment | St.27 status event code:A-2-4-F10-F11-exm-PR0701 | |
| PR1002 | Payment of registration fee | St.27 status event code:A-2-2-U10-U11-oth-PR1002 Fee payment year number:1 | |
| PG1601 | Publication of registration | St.27 status event code:A-4-4-Q10-Q13-nap-PG1601 | |
| P22-X000 | Classification modified | St.27 status event code:A-4-4-P10-P22-nap-X000 | |
| PC1903 | Unpaid annual fee | St.27 status event code:A-4-4-U10-U13-oth-PC1903 Not in force date:20190624 Payment event data comment text:Termination Category : DEFAULT_OF_REGISTRATION_FEE | |
| PC1903 | Unpaid annual fee | St.27 status event code:N-4-6-H10-H13-oth-PC1903 Ip right cessation event data comment text:Termination Category : DEFAULT_OF_REGISTRATION_FEE Not in force date:20190624 |