















본 발명은 터치스크린 장치에 관한 것으로, 보다 상세하게는 영전위를 이동시키며 스캐닝을 수행함으로써 멀티터치 감지를 가능하게 하는 터치스크린 장치 및 그의 구동방법에 관한 것이다.BACKGROUND OF THE
터치스크린 기술은 저항막방식, 정전용량 방식, 적외선방식, 초음파방식등이 있다. 그 중에서도 대표적인 기술은 저항막방식과 정전용량방식인데, 과거에는 저항막 방식이 많이 사용되었지만, 최근에는 정전용량방식이 우수한 터치감도, 멀티터치지원, 높은 내구성으로 주류 기술로 자리잡았다. 정전용량방식은 수동 소자중에 하나인 축전기 또는 콘덴서(capacitor)의 충방전 특성을 이용하는 방식이다. 축전기 또는 콘덴서(capacitor)는 내부에 전하를 충전할 수 있고, 직류의 흐름을 차단하고 교류를 통과시키는 특성이 있다. 터치스크린에 사용하는 정전용량 센서(capacitive sensor)는 인체의 접촉으로 생성되는 정전용량을 감지하는 센서이다. 사람의 손가락처럼 정전용량을 가지는 물체가 센서에 닿게 되면 두 전극 사이에 형성된 전계의 변화를 측정한다. 물리적인 접촉이 필요한 저항막 방식과 다르게 일정 거리에서도 정전용량 변화를 검출할 수 있기 때문에 표면을 글라스로 커버할 수 있다. 이때의 정전용량방식은 다시 표면형과 투영형으로 나눌 수 있지만 현재는 대부분 투영형을 사용한다. 투영형 방식에도 자기정전용량(Self-capacitance) 방식과 상호정전용량(Mutual-Capacitance) 방식으로 나눌 수 있으나, 투명 전극을 사용하는 ITO(인듐산화전극) 방식이 주로 사용된다.Touch screen technologies include resistive, capacitive, infrared, and ultrasonic. Among them, resistive film type and capacitive type are the typical technologies. In the past, resistive film type has been widely used. Recently, capacitive type has become mainstream technology with excellent touch sensitivity, multi-touch support and high durability. The electrostatic capacity type is a method of using charge and discharge characteristics of a capacitor or a capacitor which is one of the passive elements. A capacitor or a capacitor is capable of charging an electric charge therein, blocking the flow of the direct current, and passing alternating current therethrough. A capacitive sensor used in a touch screen is a sensor that senses the capacitance generated by human contact. When a capacitance object such as a human finger touches the sensor, the change in the electric field formed between the two electrodes is measured. Unlike the resistive film method in which physical contact is required, the electrostatic capacitance change can be detected even at a certain distance, so that the surface can be covered with a glass. At this time, the capacitance type can be divided into the surface type and the projection type, but most of the time, the projection type is used at present. The projection type can be classified into a self-capacitance type and a mutual-capacitance type, but an ITO (indium oxide electrode) type using a transparent electrode is mainly used.
투영형 방식의 자기정전용량(Self-capacitance) 방식과, 상호정전용량(Mutual-capacitance) 방식은 터치의 유무를 판단하고 터치 위치의 좌표를 판별 시에 사용되는데, 먼저 자기정전용량(Self capacitance) 방식은 터치인식을 위한 기본 화소마다 한 개의 전극을 사용해서 그 전극의 정전용량의 변화를 읽어내는 방식이다. 한 전극의 자기 정전용량을 측정하는 것이므로 전극층이 하나만 있으면 된다. 또한, 전극층을 하나만 사용하고, 동작원리와 구성이 간단하기 때문에 원가가 낮고, 민감도(SNR, Signal to Noise Ratio)가 높고, 측면 베젤의 두께를 줄일 수 있다. 그러나 가로, 세로의 교차점을 찾는 방식 특성상 멀티 터치에서 발생하는 고스트(ghost)현상과 전극 배선이 복잡해진다는 치명적인 단점 때문에 잘 사용되지 않는다.The projection type self-capacitance method and the mutual-capacitance method are used for determining the presence or absence of a touch and determining the coordinate of the touch position. First, the self capacitance, Method uses a single electrode for each basic pixel for touch recognition and reads a change in capacitance of the electrode. Since the self-capacitance of one electrode is measured, only one electrode layer is required. Further, since only one electrode layer is used and its operation principle and structure are simple, the cost is low, the signal-to-noise ratio (SNR) is high, and the thickness of the side bezel can be reduced. However, due to the nature of the method of finding intersection of length and height, it is not used because of the ghost phenomenon that occurs in multi-touch and the fatal disadvantage that electrode wiring is complicated.
상호정전용량(Mutual capacitance) 방식은 두 전극 간의 정전용량을 이용하는 방식으로써, 한 전극은 가로 축에 배열하고 다른 한 전극은 세로축으로 배열하여 격자 구조로 만든 다음 양축 간의 교차점에서 형성되는 정전용량을 순차적으로 측정해 나감으로써 특정 지점의 정전용량 변화를 감지해내는 방식이다. 모든 좌표가 개별적으로 처리되기 때문에, 멀티 터치가 발생해도 각각 구분되어 다중 인식이 가능하여 고스트(ghost)현상이 발생하지 않는다. 또한 전극 배선구조가 간단해 많은 터치 패널업체들이 채택하고 있다.The mutual capacitance method uses a capacitance between two electrodes. One electrode is arranged on the horizontal axis and the other electrode is arranged on the vertical axis to form a lattice structure. Then, the capacitance formed at the intersection between the two axes is sequentially To measure the capacitance change at a specific point. Since all the coordinates are processed individually, even if multi-touch occurs, multiple gestures do not occur due to multiple recognition. In addition, the electrode wiring structure is simple and many touch panel makers have adopted it.
이러한 투영형 정전용량방식은 기판의 종류에 따라 유리, 필름, 일체형 방식으로 나뉜다. 현재는 필름방식의 투영형 정전용량방식이 주류기술이라고 할 수 있는데, 이 투영형 정전용량방식의 최대 장점은 멀티 터치구현이 용이하다는 점이다. 이러한 투영형 정전용량방식의 기술에는 대부분 GFF(필름전극방식), G1F(하이브리드 커버 일체형방식), GF2(인듐산화전극 필름방식) 등의 방식을 사용하고 있다.Such a projection type electrostatic capacitance type is divided into a glass, a film, and an integral type according to the type of the substrate. Currently, film-based projection-type capacitance is the mainstream technology. The greatest advantage of this projection-type capacitance-type is that it is easy to implement multi-touch. Most of such projection type electrostatic capacitance type techniques use a method such as GFF (film electrode method), G1F (hybrid cover integral type method), and GF2 (indium oxide electrode film method).
GFF방식은 커버글라스와 디스플레이 패널 사이에 필름 센서 2장이 삽입되는 외장형 구조이다. GFF방식은 Tx전극(driving line)과 Rx전극(sensing line)을 각각 별도의 필름에 구형하기 때문에 상대적으로 공정 난이도는 낮으나, 다른 필름 방식과 다르게 2장의 필름 센서가 필요하기 때문에 원가가 상승하고 라미네이션 공정도 3번으로 증가한다. 이 필름센서는 일반적으로 PET 필름 위에 ITO 를 형성하는데, 유리 기판과 비교해서 필름기판은 가격이 저렴하고 얇고 가벼운 장점을 가지고 있는 반면에 유리에 비해 광학 특성(투과율)이 떨어지고 온도, 습도 변화에 따른 기판 변형이 일어날 수 있는 단점이 있다. 이때 광학 특성(투과율)이 떨어지면 동일한 휘도를 위해 더 많은 전력 소모가 필요하기 때문에 모바일 기기에서 불리한 측면이 있다.The GFF system is an external structure in which two film sensors are inserted between a cover glass and a display panel. In the GFF method, the processing difficulty is relatively low because the Tx electrode (driving line) and the Rx electrode (sensing line) are separately formed on separate films. However, since two film sensors are required differently from other film methods, The process also increases to No. 3. This film sensor generally forms ITO on a PET film. The film substrate is less expensive, thinner and lighter than glass substrates, but has lower optical characteristics (transmittance) than glass, There is a disadvantage that the substrate may be deformed. At this time, when the optical characteristics (transmittance) are decreased, more power is consumed for the same luminance, which is a disadvantage in mobile devices.
G1F방식과 GF2방식은 커버글라스와 디스플레이 패널 사이에 필름센서 1장이 삽입되는 외장형 구조이다. 현재 가장 널리 사용되고 있는 GFF방식의 단점인 광학특성, 소비 전력, 원가 개선을 위해 필름 센서 2장 대신 1장으로 구현한 방식들이다.The G1F method and the GF2 method are external structures in which one film sensor is inserted between the cover glass and the display panel. In order to improve optical characteristics, power consumption, and cost, which are the most widely used GFF method, they are implemented with one film sensor instead of two film sensors.
G1F방식은 하나의 ITO 전극을 커버글라스에 형성하고 다른 하나의 ITO 전극은 필름에 형성하는 방식이다. 그러나, G1F방식의 단점은 글라스 센서 설비와 필름 센서 설비가 모두 있어야 하기 때문에 투자비에 대한 부담이 상대적으로 큰 단점이 있다. 또한 커버글라스에 직접 전극을 형성하기 때문에 이형 디자인, 밝은 베젤 구현도 어렵다.In the G1F method, one ITO electrode is formed in a cover glass and the other ITO electrode is formed in a film. However, the disadvantage of the G1F method is that there is a relatively large burden on the investment cost since both the glass sensor facility and the film sensor facility are required. In addition, since electrodes are formed directly on the cover glass, it is difficult to realize a mold design and a bright bezel.
GF2방식은 필름 양면에 ITO 전극을 형성하는 방식이다. G1F방식과 비교해서 커버글라스에 직접 전극을 형성하지 않기 때문에 이형 디자인, 밝은 베젤 구현도 가능하며, 글라스 센서 설비가 없어도 되기 때문에 투자비도 상대적으로 낮은 편이다. 그러나 필름 양면에 전극을 형성하는 공정이 어렵고 수율이 낮아 원가 개선에 어려움이 있다.The GF2 method forms an ITO electrode on both sides of the film. Compared with the G1F method, since the electrodes are not formed directly on the cover glass, it is possible to implement a mold release design and a bright bezel, and the investment cost is relatively low because it does not require a glass sensor facility. However, the process of forming electrodes on both sides of the film is difficult and the yield is low, making it difficult to improve the cost.
이처럼 종래의 GFF, G1F, GF2등의 방식들은 다층 구조를 가지므로 여러 공정을 거치며 수율저하와 비용 상승 등의 문제가 있어, 점차 일체형 방식 또는 커버글라스에 직접 구현한 G2(혹은 One Glass Solution)방식이 증가하고 있는 추세이다. G2 방식은 별도의 센서층이 없고 커버글라스에 직접 전극을 형성하는 일체형 구조이다. 별도의 글라스 또는 필름 기판이 없기 때문에 광학특성이 우수하고, 재료비가 적으며 얇고 가벼운 폼펙터를 구현할 수 있다. 이러한 장점 때문에 외장형 방식보다는 G2 방식이 가장 이상적인 구조로 인식되고 있고 대부분의 터치 패널 업체들이 개발하고 있다.Since conventional GFF, G1F, and GF2 methods have a multi-layered structure, there are problems such as yield reduction and cost increase through various processes, and gradually G2 (or One Glass Solution) method implemented directly in a cover glass Is increasing. The G2 system is an integrated structure that has no sensor layer and forms electrodes directly on the cover glass. Since there is no separate glass or film substrate, the optical characteristics are excellent, the material cost is low, and a thin and light form factor can be realized. Because of these advantages, the G2 method is recognized as the ideal structure rather than the external method, and most touch panel makers are developing it.
이러한 단면에 적용 가능한 터치센서와 관련한 종래의 특허는 제10-2005-7007202호의 "전하전송 용량성 위치센서"이다.A conventional patent relating to a touch sensor applicable to this cross section is "charge transfer capacitive position sensor" of the 10-2005-7007202.
간단히 요약하면 단일 평면상에 저항성 물질로 제조된 센싱 스트립이 형성되고 이 센싱 스트립의 두 끝단에는 각각 커패시터들이 연결된다. 그리고 각 커패시터들에는 측정회로가 연결되어 전기전하의 동시적 주입을 측정하고, 계산장치는 각 끝단으로 주입되는 전하의 양으로 상대적 전하들의 비를 계산한다. 이러한 계산의 결과로 출력되는 값은 컨트롤러로 공급되어 터치 유무 및 터치좌표를 도출할 수 있다.Briefly, a sensing strip made of a resistive material is formed on a single plane, and capacitors are connected to the two ends of the sensing strip, respectively. And each capacitor is connected to a measuring circuit to measure the simultaneous injection of electrical charge, and the calculating device calculates the ratio of the relative charges by the amount of charge injected at each end. The output value as a result of such calculation is supplied to the controller, and it is possible to derive the touch presence / absence and touch coordinates.
그러나 이러한 방식은 단일 평면상에 센싱 스트립을 배치하여 일체형방식의 터치 센서를 구현하였으나, 센싱 스트립 상에 둘 이상의 멀티 터치가 있을 경우에는 두 개의 터치 위치의 중간점을 터치 위치로 인식하게 된다. 또한 만약 두 개의 터치 지점 중 한 터치 지점에서 더 큰 정전용량을 갖는 다면, 더 큰 터치 지점의 방향으로 좀 더 치중된 점을 터치 위치로 인식하는 등의 문제점이 터치 오류를 발생시킬 수 있어, 터치스크린의 적용에는 어려움이 있다.However, in this method, an integrated type touch sensor is implemented by disposing sensing strips on a single plane. However, when there are two or more multi-touches on the sensing strip, the midpoint between the two touch positions is recognized as the touch position. In addition, if a touch point of one of the two touch points has a larger capacitance, a problem such as recognizing a more focused point in the direction of a larger touch point as a touch position may cause a touch error, The application of the screen is difficult.
또한, 특허 제10-2008-0069880호에서는 균일한 저항 성분을 갖는 복수개의 막대형 투명전극을 형성하고 접촉에 의한 전하의 충방전 특성을 이용해 접촉의 위치를 계산한다. 그러나 막대형 전극의 동일선상에서는 둘 이상의 터치 위치를 검출해낼 수 없다는 단점이 있다.In addition, in Patent No. 10-2008-0069880, a plurality of rod-shaped transparent electrodes having a uniform resistance component are formed and the position of the contact is calculated using charge / discharge characteristics of the contact. However, there is a disadvantage in that two or more touch positions can not be detected on the same line of the rod electrodes.
미국 특허 제12/427,460호에서는 평행하게 배열된 ITO바의 스캐닝을 통해 스캔신호를 출력한다. 여기서 출력된 스캔신호의 전압파형과 기존 터치가 발생하지 않았을 때 출력된 스캔신호의 전압파형을 비교하여 진폭감소와 지연시간을 파악해서 최종적으로 터치위치를 파악한다. 그러나 이 또한 동일 ITO바 상에 둘 이상의 터치가 발생되었을 경우 터치 위치를 구분하는데 있어서 약간의 지연시간의 차이만 발생할 뿐, 명확히 파악하는데 한계가 있다.U.S. Patent No. 12 / 427,460 outputs a scan signal through the scanning of an ITO bar arranged in parallel. The voltage waveform of the scan signal outputted here is compared with the voltage waveform of the scan signal outputted when the existing touch is not generated, so that the amplitude decrease and the delay time are grasped and finally the touch position is grasped. However, when two or more touches are generated on the same ITO bar, only a slight difference in delay time is discriminated in order to distinguish the touch position.
특허 제10-2013-7014970호에서는 기판 상에 단일 축을 따라 복수개의 도전선이 형성되고, 각각의 도전선의 스캐닝을 통해 스캔신호를 출력한다. 도선전의 단일선상에서 출력된 스캔신호는 터치의 수에 따라 그 전달함수의 특성을 달리하여 계산된다. 그러나 동일선상에서 둘 이상의 멀티터치가 발생되었을 경우, 멀티터치가 발생되었다는 것만 판단할 뿐 그 각각의 위치를 정확하게 추적할 수 없다는 단점이 있다.In Japanese Patent No. 10-2013-7014970, a plurality of conductive lines are formed along a single axis on a substrate, and scan signals are output through scanning of respective conductive lines. The scan signal output on a single line before the lead is calculated by varying the transfer function depending on the number of taps. However, when two or more multi-touches are generated on the same line, only the fact that multi-touches have occurred can be detected, but each position can not be accurately tracked.
특허 제10-2012-0016836호에서는 기판 상에 복수개의 장방형 막대 형상의 신호전극을 일정한 간격으로 구비하고, 신호전극의 양단에 전압을 번갈아 인가하면서 스캐닝을 수행한다. 먼저 터치가 없을 때의 배경신호를 측정한다. 그리고 충방전 특성을 이용하여 각각의 신호전극을 통해 출력되는 스캔신호와 배경신호의 비교를 통해 먼저 터치영역을 결정하고, 그 터치영역의 신호전극에 대해서만 스캐닝을 수행하여 터치좌표를 계산하는데, 정해진 평균횟수에 도달할 때 까지 스캐닝을 수행한다. 여기서 터치영역이란, 터치가 일어난 행에 해당하는 신호전극을 의미한다.In Patent Publication No. 10-2012-0016836, a plurality of rectangular rod-shaped signal electrodes are provided on a substrate at regular intervals, and scanning is performed while alternately applying voltages to both ends of the signal electrode. First, measure the background signal when there is no touch. The touch area is first determined through comparison between the scan signal output through each signal electrode and the background signal using the charge / discharge characteristics, and the touch coordinates are calculated by performing scanning only on the signal electrode of the touch area. Scanning is performed until the average number of times is reached. Here, the touch region means a signal electrode corresponding to a row in which a touch occurs.
그러나 이러한 방식은 각각의 신호전극에서의 한 개의 터치좌표는 검출할 수 있으나, 신호전극의 단일 선상에서 둘 이상의 멀티터치가 이루어지는 경우에 터치좌표를 검출할 수 없다.However, this method can detect one touch coordinate in each signal electrode, but can not detect touch coordinates in the case where two or more multi-touch is performed on a single line of the signal electrode.
특허 제10-2011-0113212호에서는 기판의 일면에 전기적으로 연속되게 이어지는 형태의 전극 패턴을 형성하고, 전극 패턴의 양측 종단에 전압을 인가한 후 전하량을 측정하여 이를 이용해 터치좌표를 검출한다.In Patent Application No. 10-2011-0113212, an electrode pattern is formed on one surface of a substrate in an electrically continuous manner. Voltage is applied to both ends of the electrode pattern, and then the amount of charge is measured and the touch coordinates are detected.
이 경우 역시 전극 패턴상에서 한 개의 터치좌표를 검출하는 것은 가능하나, 둘 이상의 멀티터치의 경우 터치좌표를 검출할 수 없다는 단점이 있다.In this case, it is also possible to detect one touch coordinate on the electrode pattern, but the touch coordinate can not be detected in the case of two or more multi touch.
본 발명의 목적은 단일 센싱전극을 이용한 터치스크린 장치에서 멀티터치 시에 발생되는 터치인식의 오류 또는 터치인식이 불가능한 것을 극복하고 단일 센싱전극 상에서의 멀티터치 감지를 가능하게 하는데 있다.SUMMARY OF THE INVENTION It is an object of the present invention to provide a touch screen device using a single sensing electrode capable of detecting multi-touch on the single sensing electrode by overcoming the inability to recognize touch or multi-touch.
본 발명의 다른 목적은 전극 패턴을 단층 및 단면에 구현할 수 있어서, 예를 들어 커버글라스의 단면에 직접 구현할 수 있는 터치센서를 제공하는데 있다.Another object of the present invention is to provide a touch sensor capable of realizing an electrode pattern in a single layer and a cross section, for example, directly on a cross section of a cover glass.
본 발명의 또 다른 목적은 터치스크린 장치에서의 소비전력을 절감시키는데 있다.Another object of the present invention is to reduce power consumption in a touch screen device.
상기한 기술적 과제를 달성하기 위한 본 발명의 일면은 멀티터치 감지를 위한 터치스크린 장치 및 그의 구동 방법에 관한 것이다. 본 발명 멀티터치 감지를 위한 터치스크린 장치 및 그의 구동 방법은 도전성을 갖으며 연속적으로 형성되는 복수개의 센싱 스트립; 상기 복수개의 센싱 스트립이 설치되어 터치 감지 영역을 형성하는 기판; 상기 센싱 스트립의 일단으로 입력되는 구동신호를 발생하는 제1구동신호 발생원; 상기 센싱 스트립의 타단으로 입력되며, 상기 제1구동신호 발생원에서 발생되는 구동신호와 전압차를 갖는 구동신호를 발생하는 제2구동신호 발생원; 상기 제1 및 제2구동신호 발생원에서 발생된 구동신호를 상기 복수개의 센싱 스트립으로 선택적으로 입력하고, 상기 복수개의 센싱 스트립의 스캔신호를 선택적으로 출력하기 위한 스위칭 회로; 상기 복수개의 센싱 스트립의 스캔신호를 출력하기 위한 센싱회로; 및 상기 스위칭 회로, 제1 및 제2구동신호 발생원의 동작을 제어하여 터치 감지를 위한 스캔 동작을 수행하는 터치 컨트롤러를 포함하고, 전압레벨이 0전위인 점을 스캐닝 포인트로 하여 센싱 스트립 상에서 스캐닝 포인트가 이동되면서 발생되는 스캔신호의 전기적 특성값의 변화에 따라 멀티 터치를 감지하는 것을 특징으로 한다.According to an aspect of the present invention, there is provided a touch screen device for multi-touch sensing and a method of driving the same. The present invention relates to a touch screen device for multi-touch sensing and a method of driving the same, including: a plurality of sensing strips having conductivity and formed continuously; A substrate on which the plurality of sensing strips are formed to form a touch sensing area; A first driving signal generator for generating a driving signal input to one end of the sensing strip; A second driving signal generator which is inputted to the other end of the sensing strip and generates a driving signal having a voltage difference from the driving signal generated by the first driving signal generating source; A switching circuit for selectively inputting the driving signals generated from the first and second driving signal generation sources to the plurality of sensing strips and selectively outputting the scanning signals of the plurality of sensing strips; A sensing circuit for outputting scan signals of the plurality of sensing strips; And a touch controller for controlling the operation of the switching circuit, the first and second driving signal generators to perform a touch operation for sensing a touch, and a touch point having a voltage level of 0 potential as a scanning point, The touch sensor detects the multi-touch according to a change in the electrical characteristic value of the scan signal generated while the touch panel is moved.
그리고 상기 터치컨트롤러는 상기 스캐닝 포인트가 오브젝트에 의해 상기 센싱 스트립의 터치된 터치 포인트와 교차될 때의 스캔신호의 변화량에 따라 터치를 인식하고, 상기 센싱 스트립에서 출력되는 스캔신호의 시간과 거리적 상관관계에 따라 터치좌표를 검출하는 것을 특징으로 한다.The touch controller recognizes a touch according to a change amount of a scan signal when the scanning point intersects the touched touch point of the sensing strip by the object, and calculates a distance correlation with a time of the scan signal output from the sensing strip And the touch coordinates are detected according to the relationship.
그리고 상기 센싱회로는 상기 센싱 스트립의 일단과 타단 모두에서 스캔신호를 출력하거나 상기 센싱 스트립의 일단 또는 타단 중 어느 하나에서 스캔신호를 출력하는 것을 특징으로 한다.The sensing circuit may output a scan signal at one end or both ends of the sensing strip or may output a scan signal at one end or the other end of the sensing strip.
또한 상기 센싱회로는 스캔신호의 전기적 특성값을 측정할 수 있는 센싱저항을 포함한다.The sensing circuit includes a sensing resistor capable of measuring an electrical characteristic value of the scan signal.
그리고 상기 센싱저항은 서로 다른 저항 값을 갖는 하나 이상의 저항을 포함하며, 하나 이상의 저항은 선택적으로 센싱 스트립에 연결됨으로써 센싱저항값을 가변하는 것을 특징으로 한다.The sensing resistor may include one or more resistors having different resistance values, and one or more resistors may be selectively connected to the sensing strip to vary the sensing resistance value.
그리고 상기 제2구동신호 발생원은 상기 제1구동신호 발생원에서 발생되는 구동신호와는 반전된 위상의 구동신호를 발생하는 것을 특징으로 한다.And the second driving signal generator generates a driving signal having a phase opposite to that of the driving signal generated by the first driving signal generator.
그리고 상기 제1 및 제2구동신호 발생원은 교류 또는 직류성분을 포함하거나 교류 및 직류성분 모두를 포함하는 구동신호를 발생하는 것을 특징으로 한다.And the first and second driving signal generating sources generate alternating or direct current components or drive signals including both ac and dc components.
그리고 상기 터치스크린 장치는 상기 센싱 스트립으로 서로 다른 주파수의 구동신호를 인가하기 위한 주파수 제어 회로를 더 포함하는 것을 특징으로 한다.The touch screen device may further include a frequency control circuit for applying driving signals of different frequencies to the sensing strip.
그리고 상기 터치스크린 장치는 제1 또는 제2구동신호 발생원으로부터 발생되는 구동신호의 위상을 제어하는 위상 제어부를 더 포함한다.The touch screen apparatus further includes a phase controller for controlling a phase of a driving signal generated from the first or second driving signal generator.
그리고 복수개의 센싱 스트립 중 어느 하나의 양단으로 전압차를 갖는 구동신호를 동시에 입력하는 단계; 상기 센싱 스트립 선상의 전압레벨이 0전위인 점을 스캐닝 포인트로 하여, 센싱 스트립 상에서 스캐닝 포인트가 이동하며 스캐닝을 수행하는 단계; 상기 센싱 스트립에서 스캔신호를 선택적으로 출력하는 단계; 및 상기 출력된 스캔신호의 전기적 특성값의 변화에 따라 터치 유무의 판별 및 터치좌표를 검출하는 단계를 포함한다.And simultaneously inputting a drive signal having a voltage difference across the one of the plurality of sensing strips; Performing scanning by moving a scanning point on a sensing strip with a point where the voltage level on the sensing strip is 0 potential as a scanning point; Selectively outputting a scan signal in the sensing strip; And a step of detecting presence or absence of a touch and detecting touch coordinates according to a change in an electrical characteristic value of the output scan signal.
그리고 상기 터치 유무의 판별 및 터치좌표를 검출하는 단계는 오브젝트에 의해 상기 센싱 스트립이 터치된 터치 포인트와 상기 스캐닝 포인트가 교차될 때의 스캔신호의 시간과 거리적 상관관계에 따라 터치좌표를 검출하는 단계인 것을 특징으로 한다.The step of detecting presence / absence of touch and detecting touch coordinates may include detecting touch coordinates according to time and distance correlation of a touch point at which the sensing strip is touched by the object and a scan signal at the intersection of the scanning points .
그리고 상기 센싱 스트립에서 스캔신호를 선택적으로 출력하는 단계는 상기 센싱 스트립의 일단 및 타단 모두에서 스캔신호를 출력하거나 상기 센싱 스트립의 일단 또는 타단 중 어느 하나에서 스캔신호를 출력하는 단계인 것을 특징으로 한다.The step of selectively outputting a scan signal in the sensing strip may include outputting a scan signal at one end and at the other end of the sensing strip or outputting a scan signal at one end or the other end of the sensing strip .
그리고 상기 터치 유무의 판별 및 터치좌표를 검출하는 단계는 스캔신호의 전기적 특성값을 측정할 수 있는 센싱저항값을 가변하는 것을 특징으로 한다.The step of detecting presence / absence of touch and detecting touch coordinates may vary a sensing resistance value capable of measuring an electrical characteristic value of the scan signal.
그리고 상기 복수개의 센싱 스트립 중 어느 하나의 양단으로 전압차를 갖는 구동신호를 동시에 입력하는 단계는 복수개의 센싱 스트립 중 어느 하나의 양단으로 서로 반전된 위상을 갖는 구동신호를 동시에 입력하는 단계인 것을 특징으로 한다.The step of simultaneously inputting a driving signal having a voltage difference to either one of the plurality of sensing strips is a step of simultaneously inputting a driving signal having a phase inverted with respect to either one of the plurality of sensing strips .
그리고 상기 복수개의 센싱 스트립 중 어느 하나의 양단으로 전압차를 갖는 구동신호가 동시에 입력하는 단계는 복수개의 센싱 스트립 중 어느 하나의 양단에 교류 또는 직류성분을 포함하거나 교류 및 직류성분 모두를 포함하는 구동신호를 동시에 입력하는 단계인 것을 특징으로 한다.The step of simultaneously inputting a driving signal having a voltage difference to either one of the plurality of sensing strips may include supplying a driving signal including either AC or DC components to either one of the plurality of sensing strips, And simultaneously inputting the signals.
그리고 상기 복수개의 센싱 스트립 중 어느 하나의 양단으로 전압차를 갖는 구동신호가 동시에 입력하는 단계는 센싱 스트립으로 서로 다른 주파수의 구동신호를 인가하는 단계인 것을 특징으로 한다.The step of simultaneously inputting a driving signal having a voltage difference to either end of the plurality of sensing strips is a step of applying driving signals of different frequencies to the sensing strip.
그리고 상기 복수개의 센싱 스트립 중 어느 하나의 양단으로 전압차를 갖는 구동신호가 동시에 입력하는 단계는 구동신호의 위상을 제어하는 단계를 더 포함하는 것을 특징으로 한다.The step of simultaneously inputting a driving signal having a voltage difference to either end of the plurality of sensing strips may further include controlling a phase of the driving signal.
본 발명의 멀티터치 감지를 위한 터치스크린 장치 및 그의 구동 방법은 종래 단일 센싱전극을 이용한 터치스크린 장치에서의 멀티 터치 시에 발생되는 터치감지의 오류를 없애고, 단일 센싱전극 상에서의 2개 이상의 멀티터치 각각의 좌표를 추적할 수 있으며, 터치 민감도 및 정확도를 향상시킬 수 있다.A touch screen device and a method of driving the touch screen device for multi-touch sensing of the present invention eliminate the error of touch sensing occurring in a multi-touch device in a touch screen device using a single sensing electrode, Each coordinate can be tracked, and touch sensitivity and accuracy can be improved.
그리고 전극패턴을 단층 및 단면에 구현할 수 있으며, 예를 들어 커버글라스에 직접 구현할 수도 있어 제조공정을 줄여 수율을 높이고 비용을 절감할 수 있다.In addition, the electrode pattern can be implemented in a single layer or in a cross section, for example, it can be directly implemented in a cover glass, thereby reducing the manufacturing process and increasing the yield and reducing the cost.
또한 구동신호의 위상제어를 통해 터치스크린 장치에서의 소비전력을 절감시킬 수 있으므로 터치스크린 장치가 구비되는 전자기기의 배터리 수명을 늘릴 수 있다.Further, since the power consumption of the touch screen device can be reduced through the phase control of the driving signal, the battery life of the electronic device including the touch screen device can be increased.
도1은 본 발명의 제1실시예에 따른 터치센서의 전반적인 구성을 보여주는 도면이다.
도2는 본 발명의 제1실시예에 따른 터치센서의 보다 상세한 구성을 보여주는 회로도이다.
도3은 본 발명의 제1실시예에 따른 터치센서의 구동순서를 보여주기 위한 순서도이다.
도4는 본 발명의 제1실시예에 따라 센싱 스트립의 양단에 구동신호가 입력되었을 때, 센싱 스트립 상에서의 영전위의 위치변화를 보여주기 위한 도면이다.
도5는 본 발명의 터치센서에 1개의 터치가 발생되었을 때 터치 센서의 회로도이다.
도6은 본 발명의 터치센서에 2개의 터치가 발생되었을 때 터치센서의 회로도이다.
도7은 본 발명의 터치센서에 3개의 터치가 발생되었을 때 터치센서의 회로도이다.
도8은 본 발명의 제2실시예에 따라 센싱 스트립의 양단에 DC성분을 갖는 구동신호가 입력되었을 때, 센싱 스트립 상에서의 전압변화 및 영전위의 위치변화를 보여주기 위한 도면이다.
도9는 본 발명의 제3실시예에 따른 터치센서의 회로도이다.
도10은 본 발명의 제4실시예에 따른 터치센서의 회로도이다.
도11은 본 발명의 제5실시예에 따른 터치센서의 회로도이다.
도12는 본 발명의 제6실시예에 따른 터치센서의 회로도이다.
도13은 본 발명의 제7실시예에 따른 터치센서의 전극구조를 보여주는 도면이다.
도14는 본 발명의 제1실시예에 따른 터치스크린 장치의 전반적인 구성을 보여주는 도면이다.
도15는 본 발명의 제1실시예에 따른 터치스크린 장치의 보다 상세한 구성을 보여주는 회로도이다.
도16은 본 발명의 제2실시예에 따른 터치스크린 장치의 전반적인 구성을 보여주는 도면이다.1 is a view showing an overall configuration of a touch sensor according to a first embodiment of the present invention.
2 is a circuit diagram showing a more detailed configuration of the touch sensor according to the first embodiment of the present invention.
3 is a flowchart illustrating a driving sequence of the touch sensor according to the first embodiment of the present invention.
FIG. 4 is a diagram showing a change in position of the sensing resistor on the sensing strip when a driving signal is inputted to both ends of the sensing strip according to the first embodiment of the present invention. FIG.
5 is a circuit diagram of a touch sensor when one touch is generated in the touch sensor of the present invention.
6 is a circuit diagram of a touch sensor when two touches are generated in the touch sensor of the present invention.
7 is a circuit diagram of a touch sensor when three touches are generated in the touch sensor of the present invention.
FIG. 8 is a diagram for illustrating a change in voltage on a sensing strip and a change in position on a sensing strip when a driving signal having a DC component is input to both ends of the sensing strip according to the second embodiment of the present invention.
9 is a circuit diagram of a touch sensor according to a third embodiment of the present invention.
10 is a circuit diagram of a touch sensor according to a fourth embodiment of the present invention.
11 is a circuit diagram of a touch sensor according to a fifth embodiment of the present invention.
12 is a circuit diagram of a touch sensor according to a sixth embodiment of the present invention.
13 is a view showing an electrode structure of a touch sensor according to a seventh embodiment of the present invention.
FIG. 14 is a diagram illustrating an overall configuration of a touch screen device according to a first embodiment of the present invention.
15 is a circuit diagram showing a more detailed configuration of the touch screen device according to the first embodiment of the present invention.
FIG. 16 is a diagram illustrating an overall configuration of a touch screen device according to a second embodiment of the present invention.
본 발명을 충분히 이해하기 위해서 본 발명의 바람직한 실시예를 첨부 도면을 참조하여 설명한다. 본 발명의 실시예는 여러 가지 형태로 변형될 수 있으며, 본 발명의 범위가 아래에서 상세히 설명하는 실시예로 한정되는 것으로 해석되어서는 안 된다. 본 실시예는 당업계에서 평균적인 지식을 가진 자에게 본 발명을 보다 완전하게 설명하기 위해서 제공 되어지는 것이다. 따라서 도면에서의 요소의 형상 등은 보다 명확한 설명을 강조하기 위해서 과장되어 표현될 수 있다. 각 도면에서 동일한 구성은 동일한 참조부호로 도시한 경우가 있음을 유의하여야 한다. 본 발명의 요지를 불필요하게 흐릴 수 있다고 판단되는 공지 기능 및 구성에 대한 상세한 기술은 생략된다.For a better understanding of the present invention, a preferred embodiment of the present invention will be described with reference to the accompanying drawings. The embodiments of the present invention may be modified into various forms, and the scope of the present invention should not be construed as being limited to the embodiments described in detail below. The present embodiments are provided to enable those skilled in the art to more fully understand the present invention. Therefore, the shapes and the like of the elements in the drawings can be exaggeratedly expressed to emphasize a clearer description. It should be noted that the same components are denoted by the same reference numerals in the drawings. Detailed descriptions of well-known functions and constructions which may be unnecessarily obscured by the gist of the present invention are omitted.
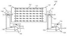
도1은 본 발명의 제1실시예에 따른 터치센서의 전반적인 구성을 보여주는 도면이고, 도2는 본 발명의 제1실시예에 따른 터치센서의 보다 상세한 구성을 보여주는 회로도이다.FIG. 1 is a diagram showing a general configuration of a touch sensor according to a first embodiment of the present invention, and FIG. 2 is a circuit diagram showing a more detailed configuration of a touch sensor according to a first embodiment of the present invention.
도1 및 도2을 참조하여, 본 발명의 제1실시예에 따른 터치스크린 장치(200)의 구동원리 설명의 편의를 위하여 복수개의 센싱 스트립(110) 중 하나의 센싱 스트립(110)을 단일 터치 센서(100)로 하여 그 구동원리를 설명하도록 한다. 따라서 복수개의 터치 센서(100)는 터치스크린 장치(200)에 적용되어 그 동작을 수행한다. 본 발명의 제1실시예에 따른 터치스크린 장치(200)에 적용되는 터치 센서(100)는 센싱 스트립(110), 제1구동신호 발생원(120), 제2구동신호 발생원(130), 제1센싱회로(140), 제2센싱회로(150), 및 제어부(160)를 구비한다.Referring to FIGS. 1 and 2, for convenience of description of the principle of operation of the
센싱 스트립(110)은 도전성 물질로 형성되며, 연속된 형태의 단선 형상을 갖는다. 센싱 스트립(110)의 형상은 단선형상에 국한되는 것은 아니다. 센싱 스트립(110)을 회로적으로 표현하면 복수개의 저항(112)을 포함한다. 복수개의 저항(112)은 모두 동일한 저항성분을 갖거나, 서로 다른 저항성분을 가질 수 있다. 예를 들어 복수개의 저항(112)은 센싱 스트립(110)의 에지로 갈수록 높은 저항성분을 갖거나, 반대로 에지로 갈수록 낮은 저항성분을 가질 수 있다. 센싱 스트립(110)의 양 단에 제1 및 제2구동신호 발생원(120, 130)으로부터 발생된 구동신호가 인가되면 복수개의 저항(112)들에 의해 전압강하가 일어난다.The
제1구동신호 발생원(120)은 센싱 스트립(110)의 일단으로 입력되는 제1구동신호(VL)를 발생한다. 제1구동신호(VL)는 예를 들어 가변적인 AC신호 또는 DC신호이다.The first
제2구동신호 발생원(130)은 센싱 스트립(110)의 타단으로 입력되는 제2구동신호(VR)를 발생한다. 여기서 제2구동신호(VR)는 제1구동신호(VL)와 일정한 전압차를 갖는다. 또한 제2구동신호(VR)는 제1구동신호(VL)와는 반전된 위상을 갖거나, 동일한 위상을 가질 수 있다. 제2구동신호(VR) 또한 예를 들어 가변적인 AC신호 또는 DC신호일 수 있다.The second
제1센싱회로(140)는 센싱 스트립(110)의 일단에 연결되어 스캔신호를 출력한다. 여기서 스캔신호는 전기적 특성값을 포함한다. 제1센싱회로(140)는 제1센싱저항(142), 제1 및 제2저항(143, 145) 및 제1연산 증폭기(148)를 포함하며, 제1센싱저항(142)을 통해 스캔신호의 전기적 특성값을 출력한다. 여기서 전기적 특성값으로는 전류, 전압 및 커패시턴스 등 다양한 측정 파라미터들이 사용될 수 있다.The
예를 들어 제1센싱회로(140)는 제1센싱저항(142)의 양단으로부터 스캔신호의 전압을 측정한다. 여기서 제2저항(145)은 피드백 저항이며, 스캔신호의 전압은 제1저항(143) 대 제2저항(145)의 비율로 증폭되어 출력될 수 있다. 또한 유도방식을 통해 스캔신호를 출력하기 위한 구성을 포함할 수 있다. 제1센싱회로(140)의 구성은 도면 및 설명에 국한되지 않으며 당업자에 의해 다양한 방식으로 구성될 수 있다.For example, the
제2센싱회로(150)는 센싱 스트립(110)의 타단에 연결되어 스캔신호를 출력한다. 제2센싱회로(150)는 제2센싱저항(152), 제3 및 제4저항(153, 155) 및 제2연산 증폭기(158)를 포함하며, 제2센싱저항(152)을 통해 스캔신호의 전기적 특성값을 출력한다. 여기서 전기적 특성값으로는 전류, 전압 및 커패시턴스 등 다양한 측정 파라미터들이 사용될 수 있다.The
제2센싱회로(150)의 구성들은 제1센싱회로(140)의 구성들과 동일한 기능을 수행한다. 또한 제2센싱회로(150)는 유도방식을 통해 스캔신호를 출력하기 위한 구성을 포함할 수 있다. 제2센싱회로(150)의 구성들은 도면 및 설명에 국한되지 않으며 당업자에 의해 다양한 방식으로 구성될 수 있다.The configurations of the
예를 들어 센싱 스트립(110) 일단으로 입력되는 제1구동신호(VL)가 타단으로 입력되는 제2구동신호(VR) 보다 높은 전압 레벨을 갖는다. 따라서 전류는 제1구동신호(VL)가 입력되는 일단에서 제2구동신호(VR)가 입력되는 타단으로 흐르게 된다. 그러므로 제1센싱회로(140)를 통해 출력되는 전압은 센싱 스트립(110)의 양단으로 입력되는 구동신호의 전압차가 변화하지 않고 센싱 스트립(110) 선상의 전류가 변화되지 않으며, 제1센싱저항(142)의 값이 가변되지 않는 이상 일정한 값을 계속적으로 출력하게 된다.For example, the first driving signal VL input to one end of the
그리고 제2센싱회로(150)를 통해 출력되는 전압은 오브젝트(101)의 터치에 의해 발생되는 커패시턴스에 의해 예를 들어 누설되는 전류 또는 유입되는 전류에 의해 가변되는 값을 갖는다. 이와 같은 구동 및 센싱 방법에 대한 보다 상세한 설명은 도5 내지 도7을 참조하여 아래에서 하도록 한다.The voltage output through the
본 발명의 터치센서(100)는 제1 및 제2센싱회로(140, 150)를 모두 포함하거나, 필요에 따라 둘 중 하나의 구성만을 포함할 수도 있다. 그리고 본 발명의 터치센서(100)는 제1 및 제2센싱회로(140, 150)에서 출력된 스캔신호를 모두 입력받아 비교하여 하나의 신호파형을 출력하는 비교기(미도시)를 더 포함할 수 있다.The
제1 및 제2센싱회로(140, 150)을 통해 출력되는 스캔신호는 제어부(160)에 전달된다. 제어부(160)는 오브젝트(101)의 터치에 의해 변화되는 스캔신호의 전기적 특성값에 따라 터치유무를 판별하고, 터치가 판단되면 스캔신호의 시간과 거리적 상관관계에 따라 터치좌표를 검출한다. 또한 제어부(160)는 제1 및 제2구동신호 발생원(120, 130)의 동작을 제어한다.The scan signals output through the first and
이와 같은 구성을 포함하는 본 발명의 터치 센서(100)는 센싱 스트립(110)의 선상에서 전압레벨이 영전위인 점을 스캐닝 포인트로 하여 스캐닝 포인트가 이동되며 스캐닝을 수행한다. 센싱 스트립(110)의 선상에서 터치 포인트와 스캐닝 포인트가 매칭될 때의 스캔신호의 변화에 따라 터치유무를 판별하고, 터치가 판단되면 스캔신호의 시간과 거리적 상관관계에 따라 터치좌표를 검출한다. 이에 대한 보다 상세한 설명은 도3을 참조하여 아래에서 하도록 한다.In the
도3은 본 발명의 제1실시예에 따른 터치센서의 구동순서를 보여주기 위한 순서도이다.3 is a flowchart illustrating a driving sequence of the touch sensor according to the first embodiment of the present invention.
도3을 참조하여, 센싱 스트립(110)의 양단에 구동신호 인가단계(S100)에서는 센싱 스트립(110)의 선상에서 영전위가 이동되도록 일정한 전압차를 갖는 구동신호를 양단에 인가한다. 전기적 특성값 측정단계(S110)에서는 영전위의 단위 이동 구간에 동기하여 센싱 스트립(110)의 종단에서 전기적 특성값을 측정한다. 여기서 단위 이동 구간은 센싱 스트립(110) 선상의 각 저항(112)을 이동하는 구간을 말한다.Referring to FIG. 3, at both ends of the
터치 위치 판별단계(S120)에서는 센싱 스트립(110)의 종단에 측정된 전기적 특성값의 변화량에 기초하여 예를 들어 시간 및 거리적 관계에 의해 터치 위치를 판별한다. 이에 대해 보다 상세한 터치센서의 구동방법은 아래에서 하도록 한다.In the touch position determination step (S120), the touch position is determined based on, for example, a time and distance relationship based on a variation amount of the electrical characteristic value measured at the end of the
도4는 본 발명의 제1실시예에 따라 센싱 스트립의 양단에 구동신호가 입력되었을 때, 센싱 스트립 상에서의 스캐닝 포인트인 영전위의 위치변화를 보여주기 위한 도면이다. 설명의 편의를 위하여 제1, 제2센싱저항(142, 152) 및 센싱 스트립(110)의 저항(112)들을 10개의 저항소자로 표현하였다.FIG. 4 is a diagram showing a change in position of a scanning point, which is a scanning point on a sensing strip, when a driving signal is inputted to both ends of the sensing strip according to the first embodiment of the present invention. The first and
도4를 참조하여, 센싱 스트립(110)은 일정한 저항값을 갖는 8개의 저항(112)들을 포함하며, 양단에는 제1센싱저항(142) 및 제2센싱저항(152)이 연결된다. 예를 들어 제1구동신호 발생원(120)으로부터는 10V~0V의 제1구동신호(VL)가, 제2구동신호 발생원(130)으로부터는 0V~-10V의 제2구동신호(VR)가 10V의 전압차를 갖고 센싱 스트립(110)의 양단으로 동시에 입력된다. 또한 센싱 스트립(110)의 저항(R0~R7)들과 제1 및 제2센싱저항(142, 152)의 저항값은 1Ω이다.Referring to FIG. 4, the
따라서 제1센싱저항(142)에서 제2센싱저항(152)까지 흐르는 전류는 옴의 법칙에 의하여 1A이고, 각 저항을 지날 때 마다 1V씩의 전압강하가 일어난다. 제1센싱저항(142)을 지나면 9V, 저항 R0를 지나면 8V 순으로 제2센싱저항(152)의 끝단에서는 0V의 전압값을 갖는다. 다음으로 제1구동신호 발생원(120)으로부터는 9V의 전압이, 제2구동신호 발생원(130)으로부터는 -1V의 전압이 공급되면 각 저항들을 지나면서 1V의 전압강하가 일어나며 저항 R7과 제2센싱저항(152) 사이에는 0V가 위치하게 된다.Therefore, the current flowing from the
이와 같이 센싱 스트립(110)의 양단에 각각 10V~0V, 0V~-10V의 구동신호가 입력되고, 센싱 스트립의 저항(112)들, 제1 및 제2센싱저항(142, 152)에 의해 전압강하가 일어난다. 따라서 도3의 (a), (b) 및 (c)와 같이 스캐닝 포인트인 영전위의 위치가 오른쪽에서 왼쪽으로 이동하며 스캐닝이 이루어진다.The driving signals of 10V to 0V and 0V to -10V are input to both ends of the
도5는 본 발명의 터치센서에 1개의 터치가 발생되었을 때 터치 센서의 회로도이다.5 is a circuit diagram of a touch sensor when one touch is generated in the touch sensor of the present invention.
도5를 참조하여, 예를 들어 센싱 스트립(110)의 양단으로 각각 10V~0V, 0V~-10V의 제1 및 제2구동신호(VL, VR)가 입력된다. 그리고 센싱 스트립(110) 상에서 오브젝트(101)에 의해 1개의 터치포인트(TP)가 발생되면 일정 커패시턴스를 갖는 커패시터 CT가 형성된다.Referring to FIG. 5, first and second driving signals VL and VR of 10V to 0V and 0V to -10V, respectively, are inputted to both ends of the
터치 포인트(TP)와 스캐닝 포인트가 매칭되면 터치 포인트(TP)도 영전위를 갖고, CT의 종단에도 영전위를 가지므로 순간적으로 동전위를 갖게 되어 CT에는 전류(iCT)의 흐름이 발생하지 않는다. 따라서 터치에 의한 CT의 형성으로 발생하던 전류(iCT)의 흐름이 발생하지 않으므로 이때 측정되던 일정한 값의 변화가 발생된다. 그러므로 일정치를 유지하고 있던 전기적 특성값의 변화의 발생 유무에 의해 터치를 판단하고, 터치가 발생한 시점을 센싱 스트립(110)상의 거리 및 시간적 관계에 의해 터치 포인트(TP)의 좌표로 검출한다.When the touch point (TP) and the scanning point are matched, the touch point (TP) has the electrostatic potential, and since the electrostatic potential is also at the end of the CT, the current (iCT ) flows to the CT momentarily Do not. Therefore, the flow of the current (iCT ) caused by the formation of the CT due to the touch does not occur, so that a constant value change is generated at this time. Therefore, the touch is determined based on the presence or absence of a change in the electrical characteristic value maintaining the constant value, and the point of occurrence of the touch is detected as the coordinates of the touch point TP based on the distance on the
도6은 본 발명의 터치센서에 2개의 터치가 발생되었을 때 터치센서의 회로도이다.6 is a circuit diagram of a touch sensor when two touches are generated in the touch sensor of the present invention.
도6을 참조하여, 예를 들어 센싱 스트립(110) 양단으로 각각 10V~0V, 0V~-10V의 제1 및 제2구동신호(VL, VR)가 입력된다. 그리고 센싱 스트립(110) 상에서 오브젝트(101)에 의해 제1 및 제2터치 포인트(TP1, TP2)가 발생되면 일정 커패시턴스를 갖는 커패시터 CT1 및 CT2가 형성된다.Referring to FIG. 6, first and second driving signals VL and VR of 10V to 0V and 0V to -10V, respectively, are input to both ends of the
제1터치 포인트(TP1)와 스캐닝 포인트가 매칭되면 제1터치 포인트(TP1)도 영전위를 갖고, CT1의 종단도 영전위를 가지므로 순간적으로 동전위를 갖게 되어 CT1에는 전류(iCT1)의 흐름이 발생하지 않는다. 따라서 터치에 의한 CT1의 형성으로 발생하던 전류(iCT1)의 흐름이 발생하지 않으므로 이때 측정되던 일정한 값의 변화가 발생된다. 따라서 일정치를 유지하던 스캔신호는 제1터치 포인트(TP1)가 스캐닝 포인트와 교차되는 시점에서 변화량이 발생되고, 스캐닝 포인트가 제1터치 포인트(TP1)를 지나는 시점부터는 그 상태의 일정값을 유지한다.The first when the touch point (TP1) and the scanning point matching between the first touch point (TP1) also have a zero above, since the end of the CT1 also have a zero up to have the instantaneous potential as in CT1, the current (iCT1) No flow occurs. Therefore, the flow of the current (iCT1 ) generated due to the formation of the CT1 by the touch does not occur, so that a change in the constant value measured at this time occurs. Accordingly, the scan signal which maintains the fixed value generates a change amount at the time when the first touch point TP1 intersects with the scanning point, and when the scanning point passes the first touch point TP1, do.
제2터치 포인트(TP2)와 스캐닝 포인트가 매칭되면 위의 경우와 마찬가지로 제2터치 포인트(TP2)와 CT2의 종단 모두가 영전위를 갖게 되어 동전위를 갖게 되므로 CT2에는 전류(iCT2)의 흐름이 발생하지 않는다. 따라서 스캐닝 포인트가 제2터치 포인트(TP2)와 교차되는 시점에 제1터치 포인트(TP1)를 지나는 시점부터 유지하고 있던 일정한 스캔신호의 변화가 발생되고, 스캐닝 포인트가 제2터치 포인트(TP2)를 지나는 시점부터는 그 상태의 일정값을 유지한다. 여기서 변화량이 발생된 시점에 의해 터치를 판단하고, 터치가 발생한 시점을 센싱 스트립(110)상의 거리 및 시간적 관계에 의해 제1터치 포인트(TP1) 및 제2터치 포인트(TP2)의 좌표로 검출한다. 2개 이상의 멀티터치 시, 터치간의 간격은 최소 3mm인 것으로 한다.When the second touch point TP2 and the scanning point are matched, the second touch point TP2 and the terminal of the second touch point TP2 have the same potential as the second touch point TP2, so that CT2 has the current iCT2 . Therefore, when the scanning point intersects with the second touch point TP2, a constant change in the scan signal that has been maintained from the point of passing the first touch point TP1 occurs, and when the scanning point moves to the second touch point TP2 And maintains a constant value of the state from the point of time when it passes. Here, the touch is determined by the point of time at which the change amount is generated, and the point of time when the touch is generated is detected as the coordinates of the first touch point TP1 and the second touch point TP2 according to the distance and the temporal relationship on the
도7은 본 발명의 터치센서에 3개의 터치가 발생되었을 때 터치센서의 회로도이다.7 is a circuit diagram of a touch sensor when three touches are generated in the touch sensor of the present invention.
도7을 참조하여, 3개의 터치가 발생되었을 경우에도 위에서 설명한 바와 마찬가지로 스캐닝 포인트가 제1, 제2 및 제3터치 포인트(TP1, TP2, TP3)에 매칭될 때 유지하고 있던 일정한 스캔신호의 변화를 측정하여 변화된 시점을 센싱 스트립(110)상의 거리 및 시간적 관계에 의해 제1, 제2 및 제3터치 포인트(TP1, TP2, TP3)로 인식한다.Referring to FIG. 7, when three touches are generated, the same scan signal change as that described above, which is held when the scanning point is matched to the first, second and third touch points TP1, TP2 and TP3, Second and third touch points TP1, TP2 and TP3 according to the distance and the temporal relationship on the
도8은 본 발명의 제2실시예에 따라 센싱 스트립의 양단에 DC성분을 갖는 구동신호가 입력되었을 때, 센싱 스트립 상에서의 전압변화 및 영전위의 위치변화를 보여주기 위한 도면이다.FIG. 8 is a diagram for illustrating a change in voltage on a sensing strip and a change in position on a sensing strip when a driving signal having a DC component is input to both ends of the sensing strip according to the second embodiment of the present invention.
도8을 참조하여, 센싱 스트립(110)의 양단에 DC성분을 갖는 구동신호가 인가되면 각 저항(112)을 지나는 단위 이동 구간별로 전압강하가 계속적으로 발생한다. 구동신호가 변화하며 인가됨에 따라 스캐닝 포인트는 센싱 스트립(110)의 선상에서 이동되며 스캐닝을 수행한다.Referring to FIG. 8, when a drive signal having a DC component is applied to both ends of the
도9는 본 발명의 제3실시예에 따른 터치센서의 회로도이다.9 is a circuit diagram of a touch sensor according to a third embodiment of the present invention.
도9를 참조하여, 센싱 스트립(110)의 양단에는 AC 및 DC성분 모두를 갖는 구동신호가 인가된다. 예를 들어 센싱 스트립(110)의 양단에는 AC성분만을 갖는 구동신호, 또는 DC성분만을 갖는 구동신호가 인가될 수 있다. 또한 센싱 스트립(110)의 양단에 AC성분을 갖는 구동신호와 DC성분을 갖는 구동신호가 교번적으로 인가될 수 있다.Referring to FIG. 9, drive signals having both AC and DC components are applied to both ends of the
도10은 본 발명의 제4실시예에 따른 터치센서의 회로도이다.10 is a circuit diagram of a touch sensor according to a fourth embodiment of the present invention.
도10을 참조하여, 터치센서(100c)는 제1 및 제2주파수 제어 회로(170, 180)를 포함하며 서로 다른 주파수를 갖는 구동신호를 센싱 스트립(110)의 양단에 인가한다. 제1 및 제2주파수 제어 회로(170, 180)는 스위칭 동작을 통해 센싱 스트립(110)의 양단에 서로 다른 주파수 성분을 갖는 구동신호들이 가변적으로 인가한다.Referring to FIG. 10, the
이에 따라 터치 발생 시의 스캔신호의 변화량을 크게 하여 터치 민감도 및 정확도를 향상시킬 수 있다. 제1 및 제2주파수 제어 회로(170, 180)는 제어부(160)로부터 동작신호를 입력받아 스위칭 동작을 수행한다.Accordingly, the amount of change in the scan signal at the time of occurrence of a touch can be increased to improve touch sensitivity and accuracy. The first and second
도11은 본 발명의 제5실시예에 따른 터치센서의 회로도이다.11 is a circuit diagram of a touch sensor according to a fifth embodiment of the present invention.
도11을 참조하여, 터치센서(100d)는 제1 및 제2가변저항 제어 회로(172, 182)를 포함한다. 센싱 스트립(110)의 양단의 제1 및 제2센싱저항(142, 152)은 가변적일 수 있다. 제1 및 제2가변저항 제어 회로(172, 182)는 서로 다른 저항 성분을 갖는 n개의 가변 센싱저항(142d, 144, 146, 152d 154, 156)을 개별적으로 스위칭하여 센싱저항값을 변화시킬 수 있다. 그러므로 센싱 스트립(110) 양단의 제1 및 제2센싱저항(142, 152)과 센싱 스트립(110) 선상의 저항(112)들의 비율을 달리하여 전압의 분배비율을 다르게 할 수 있다. 제1 및 제2가변 저항 제어 회로(172, 182)는 센싱 스트립(110)의 양단 또는 일단에 연결될 수 있다. 제1 및 제2가변저항 제어 회로(172, 182)는 제어부(160)로부터 동작신호를 입력받아 스위칭 동작을 수행한다.Referring to Fig. 11, the
예를 들어 센싱저항을 작게 함으로써 전압의 분배비율을 센싱 스트립(110)에 크게 하여 저항(112)들에 의한 전압강하의 폭을 넓힐 수 있다. 따라서 스캐닝 포인트와 터치 포인트(TP)가 교차될 때에 변동되는 전압의 폭 또한 넓힐 수 있으므로 변화량에 의한 보다 명확한 터치의 유무 판단 및 좌표 검출이 가능하다. 또한 터치 발생 시의 스캔신호의 변화량을 노이즈 신호로 인식하는 등의 오류를 최소화할 수 있다. 여기서 노이즈 신호는 터치 센서가 구비되는 전자기기의 충전 시에 유입되는 외부전원에 의한 노이즈 신호가 포함될 수 있다.For example, by decreasing the sensing resistance, it is possible to increase the voltage drop ratio by the
도12는 본 발명의 제6실시예에 따른 터치센서의 회로도이다.12 is a circuit diagram of a touch sensor according to a sixth embodiment of the present invention.
도12를 참조하여, 터치센서(100e)는 제1 또는 제2구동신호 발생원으로부터 발생되는 제1 및 제2구동신호(VL, VR)의 위상을 제어하는 위상 제어부(162, 164)를 포함한다. 센싱 스트립(110) 및 센싱저항(142, 152)을 포함한 터치 센서(100)의 양단에는 위상 제어부(162, 164)가 연결된다. 그러나 위상 제어부(162, 164)는 터치 센서(100)의 양단 중 어느 한 단에 연결될 수도 있다. 위상 제어부(162, 164)는 센싱 스트립(110)의 양단에 인가되는 제1 및 제2구동신호(VL, VR)의 상관관계에 따라 구동신호의 위상을 제어하여 스캐닝 포인트와 터치 포인트(TP)의 매칭을 보다 정확하게 할 수 있다. 정확하게 스캐닝 포인트와 터치 포인트(TP)가 매칭되었을 경우에 스캔신호의 최대 변화량이 발생할 수 있으므로 보다 명확하게 터치 포인트(TP)를 인식하여 좌표를 검출할 수 있다. 위상 제어부(162, 164)는 제어부(160)로부터 동작신호를 입력받아 센싱 스트립(110)에 인가되는 구동신호의 위상을 제어한다.12, the
위상 제어부(162, 164)는 센싱 스트립(110)의 양단에 인가되는 구동신호의 상관관계에 따라 구동신호의 위상을 제어할 수도 있지만, 센싱 스트립(110)의 양단에 인가되는 구동신호의 개별적인 전압 및 전류 등의 위상을 제어하여 소비전력을 절감시킬 수 있다.The
또한 상기 본 발명의 제2 내지 제6실시예들의 구성은 하나 이상 조합되어 적용될 수 있으며, 모든 실시예에 적용될 수 있다.Further, the configurations of the second to sixth embodiments of the present invention may be applied in combination of one or more, and may be applied to all embodiments.
예를 들어 제1 및 제2주파수 제어 회로(170, 190)와 위상 제어부(162, 164)를 적용할 수 있다. 주파수와 위상을 제어하면 선택된 특성을 잘 분리해낼 수 있는 선택도를 높일 수 있으므로, 터치 포인트(TP)에서의 변화량을 보다 명확하게 확인할 수 있다. 따라서 터치 민감도 및 정확도를 향상시킬 수 있다. 또한 제1 및 제2가변저항 제어회로(172, 182)와 위상 제어부(162, 164)를 적용할 수 있다. 따라서 센싱저항(142)을 가변하여 구동신호의 전압값을 크게 함으로써 발생될 수 있는 소비전력의 증가에 대비하여 구동신호의 개별적인 전압 및 전류의 위상을 제어함으로써 구동신호의 전압값의 증가에 따른 소비전력의 증가를 방지할 수 있다.For example, the first and second
도13은 본 발명의 제7실시예에 따른 터치센서의 구성을 보여주는 도면이다.FIG. 13 is a view illustrating a configuration of a touch sensor according to a seventh embodiment of the present invention.
도13을 참조하여, 본 발명의 제7실시예에 따른 터치센서(100)는 접지라인(114)을 더 포함한다. 접지라인(114)은 센싱 스트립(110)과 병렬로 단선형상으로 배치되지만, 접지라인(114)의 형상은 단선형상에 국한되는 것은 아니다. 접지라인(114)은 센싱 스트립(110)의 선상에서 또는 터치센서(100)에서 발생할 수 있는 노이즈를 집속시킬 수 있고, 터치시의 영전위와 터치 포인트(TP)간의 매칭을 보다 정확하게 시킬 수 있다. 따라서 노이즈에 의해 발생할 수 있는 오류를 방지하는 것을 물론, 터치 민감도 및 정확도를 향상시킬 수 있다.Referring to FIG. 13, the
도14는 본 발명의 제1실시예에 따른 터치스크린 장치의 전반적인 구성을 보여주는 도면이고, 도15는 본 발명의 제1실시예에 따른 터치스크린 장치의 보다 상세한 구성을 보여주는 회로도이다.FIG. 14 is a diagram illustrating a general configuration of a touch screen device according to a first embodiment of the present invention, and FIG. 15 is a circuit diagram illustrating a more detailed configuration of a touch screen device according to the first embodiment of the present invention.
도14 및 도15를 참조하여, 본 발명의 제1실시예에 따른 터치스크린 장치(200)에는 앞서 설명한 바 있는 복수개의 터치센서(100)가 적용된다. 터치스크린 장치(200)는 기판(201), 센싱 스트립(110), 제1구동신호 발생원(120), 제2구동신호 발생원(130), 제1센싱회로(140), 제2센싱회로(150), 제어부(160), 제1스위칭 회로(190) 및 제2스위칭 회로(192)를 구비한다.Referring to FIGS. 14 and 15, a plurality of
기판(201)에는 복수개의 센싱 스트립(110)이 설치되어 터치영역을 형성한다. 복수개의 센싱 스트립(110)의 양단에는 제1 및 제2스위칭 회로(190, 192)가 연결된다. 제1 및 제2스위칭 회로(190, 192)는 제1 및 제2구동신호 발생원(120, 130)으로부터 발생되는 구동신호를 스위칭 동작을 통해 센싱 스트립(110)에 선택적으로 인가한다. 복수개의 센싱 스트립(110) 중 어느 하나의 양단에 제1 및 제2구동신호(VL, VR)가 동시에 인가되면, 센싱 스트립(110) 선상에서 영전위의 이동이 일어나며 스캐닝을 수행한다.A plurality of sensing strips 110 are formed on the
센싱 스트립(110)의 스캐닝을 통해 출력되는 스캔신호는 제1 및 제2스위칭 회로(190, 192)를 통해 선택적으로 출력된다. 제1 및 제2스위칭 회로(190, 192)는 제1 및 제2센싱회로(140, 150)에 연결되어 선택적으로 출력되는 스캔신호의 전기적 특성값을 출력한다. 여기서 전기적 특성값으로는 전류, 전압 및 커패시턴스 등 다양한 측정 파라미터들이 사용될 수 있다.The scan signals output through the scanning of the
제1 및 제2센싱회로(140, 150)을 통해 출력되는 스캔신호의 전기적 특성값은 제어부(160)에 전달된다. 제어부(160)는 앞서 터치센서(100)의 구동원리에서 설명한 바와 같이 오브젝트(101)에 의해 변화되는 스캔신호의 전기적 특성값에 따라 터치유무를 판별하고, 스캔신호의 시간과 거리적 상관관계에 따라 터치좌표를 검출한다. 또한 제어부(160)는 제1 및 제2구동신호 발생원(120, 130)의 동작을 제어한다.The electrical characteristic values of the scan signals output through the first and
도16은 본 발명의 제2실시예에 따른 터치스크린 장치의 전반적인 구성을 보여주는 도면이다.FIG. 16 is a diagram illustrating an overall configuration of a touch screen device according to a second embodiment of the present invention.
도16을 참조하여, 본 발명의 제2실시예에 따른 터치스크린 장치(200a)는 제2스위칭 회로(192)를 제외하고 제1실시예에 따른 터치스크린 장치(200)와 동일한 구성을 갖는다. 제1스위칭 회로(190)는 복수개의 센싱 스트립(110)의 일단에 선택적으로 제1구동신호(VL)를 인가하고, 복수개의 센싱 스트립(110)의 타단에는 제2구동신호(VR)가 일괄적으로 인가된다.Referring to FIG. 16, the
이상에서 설명된 본 발명의 멀티터치 감지를 위한 터치스크린 장치 및 그의 구동방법의 실시예는 예시적인 것에 불과하며, 본 발명이 속한 기술분야의 통상의 지식을 가진 자라면 이로부터 다양한 변형 및 균등한 타 실시예가 가능하다는 점을 잘 알 수 있을 것이다. 그럼으로 본 발명은 상기의 상세한 설명에서 언급되는 형태로만 한정되는 것은 아님을 잘 이해할 수 있을 것이다. 따라서 본 발명의 진정한 기술적 보호 범위는 첨부된 특허청구범위의 기술적 사상에 의해 정해져야 할 것이다. 또한, 본 발명은 첨부된 청구범위에 의해 정의되는 본 발명의 정신과 그 범위 내에 있는 모든 변형물과 균등물 및 대체물을 포함하는 것으로 이해되어야 한다.The embodiments of the touch screen device and the driving method thereof for multi-touch sensing of the present invention described above are merely illustrative, and those skilled in the art will appreciate that various modifications and equivalent It will be appreciated that other embodiments are possible. Accordingly, it is to be understood that the present invention is not limited to the above-described embodiments. Accordingly, the true scope of the present invention should be determined by the technical idea of the appended claims. It is also to be understood that the invention includes all modifications, equivalents, and alternatives falling within the spirit and scope of the invention as defined by the appended claims.
100, 100a, 100b, 100c, 100d, 100e: 터치센서
101: 오브젝트110: 센싱 스트립
112: 저항114: 접지라인
120: 제1구동신호 발생원130: 제2구동신호 발생원
140: 제1센싱회로142, 142d: 제1센싱저항
143: 제1저항144, 146, 154, 156: 가변 센싱저항
145: 제2저항148: 제1연산 증폭기
150: 제2센싱회로152, 152d: 제2센싱저항
153: 제3저항155: 제4저항
158: 제2연산 증폭기160: 제어부
162, 164: 위상 제어부170: 제1주파수 제어 회로
172: 제1가변저항 제어 회로180: 제2주파수 제어 회로
182: 제2가변저항 제어 회로190: 제1스위칭 회로
192: 제2스위칭 회로200, 200a: 터치스크린 장치
201: 기판100, 100a, 100b, 100c, 100d, 100e: touch sensor
101: object 110: sensing strip
112: Resistor 114: Ground line
120: first driving signal generating source 130: second driving signal generating source
140:
143:
145: second resistor 148: first operational amplifier
150:
153: third resistor 155: fourth resistor
158: second operational amplifier 160:
162, 164: phase control unit 170: first frequency control circuit
172: first variable resistance control circuit 180: second frequency control circuit
182: second variable resistance control circuit 190: first switching circuit
192:
201: substrate
| Application Number | Priority Date | Filing Date | Title |
|---|---|---|---|
| KR1020140008033AKR101625103B1 (en) | 2014-01-22 | 2014-01-22 | Touch screen device and driving method for sensing multi touch |
| Application Number | Priority Date | Filing Date | Title |
|---|---|---|---|
| KR1020140008033AKR101625103B1 (en) | 2014-01-22 | 2014-01-22 | Touch screen device and driving method for sensing multi touch |
| Publication Number | Publication Date |
|---|---|
| KR20150087756A KR20150087756A (en) | 2015-07-30 |
| KR101625103B1true KR101625103B1 (en) | 2016-06-07 |
| Application Number | Title | Priority Date | Filing Date |
|---|---|---|---|
| KR1020140008033AExpired - Fee RelatedKR101625103B1 (en) | 2014-01-22 | 2014-01-22 | Touch screen device and driving method for sensing multi touch |
| Country | Link |
|---|---|
| KR (1) | KR101625103B1 (en) |
| Publication number | Priority date | Publication date | Assignee | Title |
|---|---|---|---|---|
| KR102382701B1 (en) | 2015-09-02 | 2022-04-06 | 삼성전자 주식회사 | A User Terminal Device And Method For Recognizing User Location Using Sensor-based Activity Recognition |
| Publication number | Priority date | Publication date | Assignee | Title |
|---|---|---|---|---|
| KR20110087754A (en)* | 2010-01-27 | 2011-08-03 | 세심광전자기술(주) | Single layer capacitive touch screen device with high position accuracy |
| KR101438454B1 (en)* | 2012-02-20 | 2014-09-12 | 세심광전자기술(주) | Single layer capacitive type touch screen apparatus capable of multi touch |
| Publication number | Publication date |
|---|---|
| KR20150087756A (en) | 2015-07-30 |
| Publication | Publication Date | Title |
|---|---|---|
| US8144132B2 (en) | Multipoint sensing method for capacitive touch panel | |
| KR101076236B1 (en) | Capacitance type touch panel | |
| EP3144790B1 (en) | Touch panel and touch detection circuit | |
| EP2960759B1 (en) | Force and location detection for capacitve touch panels | |
| CN105531654B (en) | Injected Touch Noise Analysis | |
| US9778804B2 (en) | Calibrating charge mismatch in a baseline correction circuit | |
| US20120182252A1 (en) | Differential Capacitive Touchscreen or Touch Panel | |
| US9952728B2 (en) | Device and method for measuring capacitance difference | |
| US9471173B2 (en) | Capacitive input sensing in the presence of a uniform conductor | |
| US20140320451A1 (en) | Apparatus and method for detecting adjacent object and method of driving electronic device | |
| WO2017209947A1 (en) | Touch-sensitive display device | |
| US20100328253A1 (en) | Surface capacitance with area gestures | |
| US10055033B2 (en) | Active capacitive pen, and touch detection and feedback driving methods therefor | |
| US20150002440A1 (en) | Method and apparatus for determining touch point coordinates on a touch panel with anisotropic films | |
| KR101625103B1 (en) | Touch screen device and driving method for sensing multi touch | |
| KR20150062714A (en) | Touchscreen apparatus | |
| KR20150087758A (en) | Bezeless touch screen | |
| WO2013023088A1 (en) | Two-finger gesture on a linear sensor or single layer sensor | |
| KR20150087757A (en) | Touch sensor having structure of electrode for sensing multi touch | |
| JP5666711B2 (en) | Touch recognition method, touch key structure, and touch device | |
| KR20150087754A (en) | Touch sensor and driving method for sensing multi touch | |
| EP2404229A1 (en) | Surface capacitance with area gestures | |
| CN104133605B (en) | Input unit, monitoring device and the method for determining position | |
| KR101461929B1 (en) | Touch detecting apparatus and method using sinusoidal voltage | |
| KR101490764B1 (en) | Touch screen device including structure of electrode using electric coupling |
| Date | Code | Title | Description |
|---|---|---|---|
| A201 | Request for examination | ||
| PA0109 | Patent application | St.27 status event code:A-0-1-A10-A12-nap-PA0109 | |
| PA0201 | Request for examination | St.27 status event code:A-1-2-D10-D11-exm-PA0201 | |
| P11-X000 | Amendment of application requested | St.27 status event code:A-2-2-P10-P11-nap-X000 | |
| P13-X000 | Application amended | St.27 status event code:A-2-2-P10-P13-nap-X000 | |
| D13-X000 | Search requested | St.27 status event code:A-1-2-D10-D13-srh-X000 | |
| D14-X000 | Search report completed | St.27 status event code:A-1-2-D10-D14-srh-X000 | |
| R17-X000 | Change to representative recorded | St.27 status event code:A-3-3-R10-R17-oth-X000 | |
| E902 | Notification of reason for refusal | ||
| PE0902 | Notice of grounds for rejection | St.27 status event code:A-1-2-D10-D21-exm-PE0902 | |
| PN2301 | Change of applicant | St.27 status event code:A-3-3-R10-R13-asn-PN2301 St.27 status event code:A-3-3-R10-R11-asn-PN2301 | |
| R17-X000 | Change to representative recorded | St.27 status event code:A-3-3-R10-R17-oth-X000 | |
| T11-X000 | Administrative time limit extension requested | St.27 status event code:U-3-3-T10-T11-oth-X000 | |
| PG1501 | Laying open of application | St.27 status event code:A-1-1-Q10-Q12-nap-PG1501 | |
| AMND | Amendment | ||
| E13-X000 | Pre-grant limitation requested | St.27 status event code:A-2-3-E10-E13-lim-X000 | |
| P11-X000 | Amendment of application requested | St.27 status event code:A-2-2-P10-P11-nap-X000 | |
| P13-X000 | Application amended | St.27 status event code:A-2-2-P10-P13-nap-X000 | |
| E601 | Decision to refuse application | ||
| PE0601 | Decision on rejection of patent | St.27 status event code:N-2-6-B10-B15-exm-PE0601 | |
| X091 | Application refused [patent] | ||
| AMND | Amendment | ||
| E13-X000 | Pre-grant limitation requested | St.27 status event code:A-2-3-E10-E13-lim-X000 | |
| P11-X000 | Amendment of application requested | St.27 status event code:A-2-2-P10-P11-nap-X000 | |
| P13-X000 | Application amended | St.27 status event code:A-2-2-P10-P13-nap-X000 | |
| PX0901 | Re-examination | St.27 status event code:A-2-3-E10-E12-rex-PX0901 | |
| PX0701 | Decision of registration after re-examination | St.27 status event code:A-3-4-F10-F13-rex-PX0701 | |
| X701 | Decision to grant (after re-examination) | ||
| R17-X000 | Change to representative recorded | St.27 status event code:A-3-3-R10-R17-oth-X000 | |
| PN2301 | Change of applicant | St.27 status event code:A-3-3-R10-R13-asn-PN2301 St.27 status event code:A-3-3-R10-R11-asn-PN2301 | |
| R17-X000 | Change to representative recorded | St.27 status event code:A-3-3-R10-R17-oth-X000 | |
| GRNT | Written decision to grant | ||
| PR0701 | Registration of establishment | St.27 status event code:A-2-4-F10-F11-exm-PR0701 | |
| PR1002 | Payment of registration fee | St.27 status event code:A-2-2-U10-U11-oth-PR1002 Fee payment year number:1 | |
| PN2301 | Change of applicant | St.27 status event code:A-5-5-R10-R13-asn-PN2301 St.27 status event code:A-5-5-R10-R11-asn-PN2301 | |
| PG1601 | Publication of registration | St.27 status event code:A-4-4-Q10-Q13-nap-PG1601 | |
| R17-X000 | Change to representative recorded | St.27 status event code:A-5-5-R10-R17-oth-X000 | |
| LAPS | Lapse due to unpaid annual fee | ||
| PC1903 | Unpaid annual fee | St.27 status event code:A-4-4-U10-U13-oth-PC1903 Not in force date:20190524 Payment event data comment text:Termination Category : DEFAULT_OF_REGISTRATION_FEE | |
| PC1903 | Unpaid annual fee | St.27 status event code:N-4-6-H10-H13-oth-PC1903 Ip right cessation event data comment text:Termination Category : DEFAULT_OF_REGISTRATION_FEE Not in force date:20190524 | |
| P22-X000 | Classification modified | St.27 status event code:A-4-4-P10-P22-nap-X000 |