

















본 발명은 보드 대 보드 커넥터의 구조에 관한 것으로서, 보다 상세하게는 금속재 체결부재를 고정할 수 있는 금속재 보강부재와 체결부재 이탈 방지부를 갖는 실드 부재를 구비함으로써, 체결부재에 체결 문제가 발생되는 것을 원천적으로 방지하고, 작동시 발생되는 커넥터의 EMI(electro magnetic interference)를 차단함과 동시에, 보드 대 보드 커넥터의 결합시에, 체결된 암커넥터와 수커넥터가 임의로 분리되지 않도록 하기 위한 체결방식 보드 커넥터에 관한 것이다.
The present invention relates to a structure of a board-to-board connector, and more particularly, to a board-to-board connector having a metal member reinforcement member capable of fixing a metal member fastening member and a shield member having a fastening member departure prevention portion, A board connector (not shown) for preventing electromagnetic interference (EMI) of a connector generated at the time of operation and preventing arbitrary disconnection of the female connector and the male connector when the board-to- .
일반적으로 보드 대 보드(board to board; BtoB) 커넥터는 다양한 회로가 인쇄된 보드와 보드를 연결하는데 사용된다. 이러한 BtoB 커넥터는 도 1에 도시된 바와 같이, 수커넥터(10)와 암커넥터(20)로 구성되며, 수커넥터(10)가 암커넥터(20)에 끼워짐으로써 서로 결합될 수 있도록 이루어진다.In general, the board to board (BtoB) connector is used to connect boards with various circuit printed boards. As shown in FIG. 1, the B-to-B connector includes a
이러한 수커넥터(10)와 암커넥터(20)는 일단 삽입되어 체결된 후에는, 결합 상태를 잘 유지하고 있어야 하는데, 외력에 의해 상호 분리되는 경우가 발생될 수 있다. 이를 방지하기 위해 도면과 같이 각각의 터미널(12, 14)에 상호 마주보며 돌출되는 부분을 구비함으로써, 이 부분이 탄성에 의해 상호 넘어서면서 맞물리도록 하여 결합력이 생성되도록 한다.Once the
그러나 이러한 결합의 경우 터미널(12, 14)은 금속의 탄성 특성을 가지고 있으므로, 상호 결합된 상태에서도 일정 이상의 외력이 작용되는 경우에는 탄성적으로 재차 변형되면서 상호 멀어지는 방향으로 용이하게 분리될 수 있다는 문제점이 있다. 이 경우 약간의 충격이나 낙하시에 암수 커넥터가 쉽게 분리될 수 있다. 또한 결합시에도, 상호 결합이 완전하게 완료되었는지를 진동이나 소음, 즉 소위 클릭감으로 인지하기가 어렵다는 단점이 있다.However, since the
이를 방지하기 위해 맞물리는 돌기의 크기나 형상을 좀 더 급격하게 변형하여 보다 견고한 결합 및 충격, 소음이 발생되는 동작을 유발할 수도 있으나, 이 경우 결합 자체가 매우 힘들어지며, 결합 또는 분리시에 변형, 파손을 유발하는 문제점이 있어, 부품 수리를 위해 암수 커넥터를 분리하고자 할 때 커넥터가 파손되거나 PCB와 같은 보드에 용접되어 있는 부분이 분리될 수도 있게 된다.
In order to prevent this, it is possible to deform the size and shape of the engaged protrusions more sharply so as to induce more rigid coupling, impact, and noise generating operation. In this case, however, the coupling itself becomes very difficult, There is a problem that breakage occurs, so that when the male and female connectors are to be removed for repairing the parts, the connector may be broken or the portion welded to the board such as the PCB may be separated.
본 발명은 상기와 같은 문제점을 해결하기 위해 안출된 것으로서, 본 발명의 목적은 기존의 마찰에 의한 결합이 아닌 체결식 잠금 결합 방식 및 구성을 제공하되, 금속재 체결부재를 별도로 고정할 수 있는 금속재 보강부재를 구비함으로써, 수지 재질로 된 베이스의 마모 형상을 방지하여 체결부재의 체결 문제점이 발생되는 것을 원천적으로 방지할 수 있는 체결형 보드 커넥터를 제공하는 것이다.SUMMARY OF THE INVENTION It is an object of the present invention to provide a fastening type locking mechanism and structure, not a conventional friction coupling method, in which a metallic member fastening member The present invention also provides a fastening type board connector which can prevent a fastening problem of a fastening member from being caused by preventing a wear form of a base made of a resin material.
본 발명의 다른 목적은, 상기 실드부재와 보드와의 간단한 그라운드 구성을 통해 EMI 차폐 기능을 향상하여 고속 신호 전송이 가능함과 동시에 신호단 끼리의 영향을 최소화할 수 있는 체결형 보드 커넥터를 제공하는 것이다.It is another object of the present invention to provide a fastening type board connector capable of improving the EMI shielding function through a simple ground structure between the shield member and the board to enable high speed signal transmission and minimizing the influence of signal terminals .
본 발명의 또 다른 목적은, 터미널 사이의 일점(一點) 방식의 전기적 접촉을 통해 신호 전송 거리를 최소화하여 신호 전송 특성인 삽입 손실을 줄일 수 있는 체결형 보드 커넥터를 제공하는 것이다.Another object of the present invention is to provide a connector board connector capable of minimizing a signal transmission distance through a one-point electrical contact between terminals, thereby reducing insertion loss, which is a signal transmission characteristic.
본 발명의 또 다른 목적은, 쉘 형태의 실드부재 자체의 기계적 강도를 향상할 수 있는 보드 커넥터를 제공하는 것이다.It is still another object of the present invention to provide a board connector capable of improving the mechanical strength of a shell-shaped shield member itself.
본 발명의 또 다른 목적은, 실드부재의 이탈 방지부에 엠보싱부와 압입 돌기를 형성시켜 실드부재의 조립 유지력을 보완 및 향상시킬 수 있는 보드 커넥터를 제공하는 것이다.It is a further object of the present invention to provide a board connector capable of complementing and improving the assembling and holding force of a shield member by forming an embossing portion and a press-fit projection in the deviation preventing portion of the shield member.
본 발명의 또 다른 목적은, 암커넥터의 터미널에 압입 돌기를 형성시켜 베이스의 홈부에 압입 결합시킴으로써, 터미널의 피치 및 웨이트(weight)를 줄이고 높이를 낮게 하여 보드 커넥터의 소형화를 가능하도록 하는 보드 커넥터를 제공하는 것이다.It is still another object of the present invention to provide a board connector which can reduce the pitch and weight of a terminal and reduce the height of the board connector by forming a press-fit projection in the terminal of the female connector to press- .
본 발명의 또 다른 목적은, 체결부재가 커넥터에 쉽게 결합되어 안착될 수 있으며, 암수 커넥터의 결합시에 체결부재를 조작하거나 신경쓰지 않더라도, 결합과 함께 자동적으로 체결 동작이 완성될 수 있는 보드 커넥터를 제공하는 것이다.It is still another object of the present invention to provide a board connector which can be easily engaged and seated with a connector and which can automatically complete a fastening operation even when the fastening member is not operated or careful when engaging the male and female connectors. .
본 발명의 또 다른 목적은, 체결부재가 결합 전 상태에서 결합을 준비하는 위치를 유지할 수 있도록 함으로써, 체결을 위한 동작이 단순해진 보드 커넥터를 제공하는 것이다.
It is still another object of the present invention to provide a board connector in which the operation for fastening is simplified by allowing the fastening member to maintain a position to prepare for engagement in a pre-engagement state.
상기 목적들을 달성하기 위한 본 발명에 따른 체결형 보드 커넥터는, 제 1 보드와 제 2 보드를 연결하기 위한 보드 커넥터에 있어서, 제 1 베이스 및 제 1 터미널을 구비하는 제 1 커넥터; 제 2 베이스, 제 2 터미널, 및 측방 체결홈을 구비하는 제 2 커넥터; 상기 제 1 커넥터가 상기 제 2 커넥터의 측방 체결홈에서 상기 제 2 커넥터에 밀착 체결된 후, 상기 제 1 커넥터가 상측방향으로 이동되며 임의로 이탈되는 것을 방지하는 금속재질의 체결부재; 및 상기 제 2 커넥터의 상기 측방 체결홈에서 상기 금속재질의 체결부재를 고정하도록 하는 금속재질의 보강부재를 포함하여 이루어짐이 바람직하다.According to another aspect of the present invention, there is provided a board connector for connecting a first board and a second board, the board connector comprising: a first connector having a first base and a first terminal; A second connector having a second base, a second terminal, and a side fastening groove; A fastening member made of a metal material to prevent the first connector from moving upward and being freely disengaged after the first connector is tightly fastened to the second connector in the side fastening groove of the second connector; And a metal reinforcing member for fixing the metal coupling member in the lateral coupling groove of the second connector.
또한 상기 제 2 베이스의 대향하는 전후방 베이스에 각각 쉘 형태로 구비되어 EMI 노이즈를 차폐하기 위한 두 개의 실드부재를 더 포함하여 구성됨이 바람직하다.And two shield members for shielding EMI noise, each of which is provided in the form of a shell on each of the front and rear bases opposite to each other of the second base.
또한 상기 실드부재는: 상기 전후방 베이스의 외측면을 감싸는 수직부; 상기 수직부와 일체로 형성되며, 전후방 베이스의 상면을 감싸는 수평부; 상기 수직부의 하단에 형성되는 적어도 하나의 그라운드용 돌기: 및 상기 수평부의 좌우 측방에는 좌우로 돌출되어지되, 내측 하향으로 수직 절곡된 체결부재 이탈 방지부를 포함함이 바람직하다.The shield member may include: a vertical portion surrounding an outer surface of the front and rear bases; A horizontal portion formed integrally with the vertical portion and surrounding the upper surface of the front and rear bases; And at least one protrusion for the ground formed at the lower end of the vertical part; and a fastening member departure prevention part protruding horizontally from left and right sides of the horizontal part, wherein the fastening member departure prevention part is vertically bent downward inward.
또한 상기 체결부재는: 하측에 형성되는 축부; 상기 축부의 양측에 형성되는 측부; 상기 측부의 상측에 형성되는 고정부; 및 상기 축부의 일측으로 꺾인 방향으로 연장되는 누름부;를 포함하여 구성되고, 상기 제 1 커넥터는 걸림부를 더 포함하여 구성되며, 상기 누름부를 상방에서 누르면 상기 축부를 기준으로 상기 측부 및 고정부가 회동될 수 있으며, 상기 고정부가 회동되면 상기 제 1 커넥터의 상기 걸림부의 외측에 위치되어 외측으로의 이탈을 방지하며 지지함이 바람직하다.The fastening member may include: a shaft portion formed on a lower side; Side portions formed on both sides of the shaft portion; A fixing part formed on the side of the side part; And a pushing portion extending in a direction bent toward one side of the shaft portion, wherein the first connector further comprises a latching portion, and when the pushing portion is pressed from above, the side portion and the fixing portion rotate And when the fixing part is rotated, it is positioned outside the engaging part of the first connector so as to prevent and prevent the detachment to the outside.
또한 상기 제 2 커넥터는 상기 제 2 베이스의 좌우 측부에 측방 체결부를 더 구비하고, 상기 측방 체결부에는: 상측으로 개방된 상기 측방 체결홈; 및 상측은 지지부로 막혀있는 안착부;가 더 구비되고, 상기 체결부재는 상기 축부가 상기 안착부에 위치되어 상기 체결부재를 상기 안착부를 중심으로 회동 가능하도록 지지되고, 상기 측방 체결홈을 통해 상기 제 1 커넥터의 일 부분이 내입되며 상기 누름부를 가압하면, 상기 체결부재가 상기 축부를 중심으로 회동되며 상기 고정부가 상기 제 1 커넥터의 상기 걸림부의 외측을 지지하는 위치로 이동됨이 바람직하다.The second connector further comprises lateral fastening portions on left and right sides of the second base, wherein the lateral fastening portions include: the side fastening groove opened upward; Wherein the shaft portion is supported by the seat portion so as to be rotatable about the seat portion, and the shaft portion is supported by the seat portion through the side engagement groove, When the first connector is partially inserted and the pressing portion is pressed, the fastening member is rotated about the shaft portion, and the fastening portion is moved to a position where the fastening portion supports the outer side of the fastening portion of the first connector.
또한 상기 보강부재는: 상기 측방 체결부의 지지부에 "ㄷ" 자 또는 역(逆) "ㄷ" 자 형태로 인서트 몰딩되는 몸체부; 및 상기 "ㄷ" 자 또는 역(逆) "ㄷ" 자 형태의 몸체부의 전후 일측단에서, 상기 지지부의 전후 내측방에 돌출된 지지돌기로부터 외측 방향으로 돌출되는 대향하는 두 개의 고정 돌기를 더 포함하여 이루어짐이 바람직하다.The reinforcing member may further include: a body portion insert-molded in a "C" shape or a reverse "C" shape in a supporting portion of the side fastening portion; And two opposing fixing protrusions protruding outward from the support protrusions projecting inwardly and backwardly of the support portion at one end of the body at the front and rear ends of the body member in the form of the "C" and "C" .
또한 상기 제 1 커넥터와 제 2 커넥터의 결합 전에는, 상기 보강부재의 상기 고정 돌기가 상기 체결부재의 측부의 중앙 내측에 걸림 고정되어지고, 상기 제 1 커넥터와 제 2 커넥터의 결합시에는, 상기 체결부재의 측부의 중앙 내측이 상기 고정 돌기에 접촉되면서 내측으로 가이드되어 상기 고정 돌기의 단부에 당접됨이 바람직하다.The fixing protrusion of the reinforcing member is engaged and fixed to the inside of the center of the side portion of the fastening member before the first connector and the second connector are engaged, and when the first connector and the second connector are engaged, It is preferable that the center inside of the side portion of the member is guided inward while being in contact with the fixing protrusion so as to abut on the end of the fixing protrusion.
또한 상기 보강부재는: 상기 "ㄷ" 자 또는 역(逆) "ㄷ" 자 형태의 몸체부의 좌측면 또는 우측면에서 외측으로 나란히 돌출되는 두 개의 수평 돌출부를 더 구비하여 인서트 몰딩시 상기 지지부의 좌측 또는 우측으로 수평 돌출되어 형성됨이 바람직하다.Further, the reinforcing member may further include two horizontal protrusions which are projected outward from the left or right side of the "C" or " It is preferably formed horizontally protruding to the right.
또한 상기 제 1 커넥터는: 상기 제 1 베이스에 상기 제 2 베이스와 마주보는 방향 측으로 가압부를 더 구비하고, 상기 가압부가 형성된 반대측으로 상기 걸림부가 형성되며, 상기 제 1 커넥터와 상기 제 2 커넥터가 밀착될 때, 상기 제 1 커넥터의 상기 가압부가 상기 측방 체결홈로 내입되며, 상기 체결부재의 상기 누름부를 가압하면 상기 체결부재는 상기 안착부 내의 상기 축부를 중심으로 회동되며, 상기 고정부가 상기 걸림부의 외측을 지지하는 위치로 이동됨이 바람직하다.The first connector may further include a pressing portion on a side of the first base opposite to the second base, wherein the locking portion is formed on the opposite side of the pressing portion, and the first connector and the second connector are in close contact with each other The pressing portion of the first connector is inserted into the lateral coupling groove, and when the pressing portion of the coupling member is pressed, the coupling member is pivoted about the shaft portion in the seating portion, And is moved to a position for supporting the outer side.
또한 상기 체결부의 상기 지지부의 내측 측방으로는 상방 및 측방으로 개방되는 이격부가 더 구비되고, 상기 체결부재는 상기 축부가 상기 이격부의 상방으로부터 하방으로 인입된 후, 상기 이격부의 하단에서 측방으로 이동되며 상기 안착부에 위치됨이 바람직하다.And the fastening member is moved laterally from the lower end of the spacing portion after the shaft portion is pulled downward from above the spacing portion, And is preferably located in the seating part.
또한 상기 실드부재의 수직부에는 상하로 절곡된 절곡부를 더 포함하여 형성됨이 바람직하다.The vertical portion of the shield member may further include a bent portion bent upward and downward.
또한 상기 실드부재의 수직부의 하단에는 좌우 양단에 형성되는 두 개의 제 1 그라운드용 돌기가 더 구비되고, 상기 두 개의 제 1 그라운드용 돌기 사이에 다수개 이격하여 제 2 그라운드용 돌기가 더 구비되며, 하부에 위치하는 상기 제 2 보드에는 상기 두 개의 제 1 그라운드용 돌기에 전기적으로 연결되는 두 개의 제 1 그라운드 단자가 더 구비되고, 상기 두 개의 제 1 그라운드 단자 사이에 상기 다수의 제 2 그라운드용 돌기에 대응하여 다수개 배치되는 제 2 그라운드 단자가 더 구비됨이 바람직하다.The shield member may further include two first ground protrusions formed at the left and right ends of the vertical portion of the shield member. The second ground protrusions may further include a plurality of protrusions spaced apart from the first ground protrusions, The second board located at the lower portion may further include two first ground terminals electrically connected to the two first ground protrusions, and the plurality of second ground protrusions may be provided between the two first ground terminals. And a plurality of second ground terminals may be further provided.
또한 상기 제 2 베이스의 전후방 베이스의 좌우 양단에는 상기 실드부재의 체결부재 이탈 방지부가 압입체결되는 사각 형상의 끼움홈이 더 구비되고, 상기 실드부재의 이탈 방지부의 전측부 또는 후측부에는 엠보싱부가 더 구비되고, 내측 하단부에는 압입 돌기가 더 구비되어, 조립시 상기 이탈 방지부가 사각 형상의 끼움홈내에 상기 엠보싱부와 압입 돌기에 의해 강한 압입력으로 조립 체결됨이 바람직하다.Further, the front and rear bases of the second base are further provided at both ends of the front and rear bases, respectively, with rectangular fitting grooves into which the fastening member release preventive portions of the shield members are press-fitted, and the embossed portions And the inner lower end portion is further provided with a press-in protrusion, and when the protrusion is assembled, the release preventing portion is assembled into the rectangular fitting recess by the embossing portion and the press-in projection with strong pressure input.
또한 상기 제 1 및 제 2 터미널은 각각 "U"자 형태의 접촉부가 더 구비되며, 상기 제 1 터미널의 "U"자 형태의 접촉부의 외면 일측에는 홈 형태의 접점이 더 구비되고, 이에 대응되는 상기 제 2 터미널의 "U"자 형태의 접촉부의 끝단에는 접점 돌기가 더 구비되어 일점(一點) 방식으로 전기적 접촉을 이루는 것이 바람직하다.Further, the first and second terminals are each further provided with a contact portion of a " U "shape, and a groove-shaped contact is further provided on one side of the outer surface of the" U "-shaped contact portion of the first terminal, It is preferable that a contact protrusion is further provided at an end of the contact portion of the "U" shape of the second terminal to make electrical contact in a one-point manner.
또한 상기 접점 돌기에 대향하는 상기 제 2 터미널의 "U"자 형태의 접촉부의 내측면에는 압입 돌기가 더 구비되고, 상기 제 2 베이스의 전후방 베이스에는 홈부가 더 구비되어 상기 압입 돌기가 상기 홈부에 압입 결합됨이 바람직하다.
Further, a press-in projection is further provided on the inner side surface of the contact portion of the "U" shape of the second terminal opposite to the contact projection, and the front and rear bases of the second base further include a groove, It is preferable to be press-fit-coupled.
본 발명은 수지 재질로 된 베이스의 마모 형상을 방지하여 체결부재의 체결 문제점을 원천적으로 차단할 수 있는 효과가 있다.The present invention has the effect of preventing the wear of the base made of a resin material and preventing the fastening problem of the fastening member from occurring.
또한 EMI 차폐 기능을 향상하여 고속 신호 전송이 가능함과 동시에 신호단 끼리의 영향을 최소화할 수 있는 효과도 있다.In addition, the EMI shielding function can be improved to enable high-speed signal transmission and minimize the influence of the signal ends.
또한 신호 전송 거리를 최소화하여 신호 전송 특성인 삽입 손실을 줄일 수 있는 효과도 있다.In addition, the signal transmission distance can be minimized to reduce insertion loss, which is a signal transmission characteristic.
또한 쉘 형태의 실드부재 자체의 기계적 강도를 향상할 수 있는 효과도 있다.And the mechanical strength of the shell-shaped shield member itself can be improved.
또한 실드부재의 조립 유지력을 보완 및 향상시킬 수 있는 효과도 있다.And also has the effect of supplementing and enhancing the assembly holding force of the shield member.
또한 터미널의 피치 및 웨이트(weight)를 줄이고 높이를 낮게 하여 보드 커넥터의 소형화를 가능하도록 하는 효과도 있다.In addition, the pitch and weight of the terminal can be reduced and the height of the board can be reduced, thereby making it possible to miniaturize the board connector.
또한 본 발명은 체결부재가 보드 커넥터에 사전에 안착된 상태에서 암수 커넥터를 상호 끼우기만 하면 족하므로, 구성이 단순하고 결합이 손쉽게 되는 효과를 갖는다.
Further, the present invention satisfies merely that the male and female connectors are fitted to each other in a state where the fastening member is pre-mounted on the board connector, so that the structure is simple and the coupling is facilitated.
도 1은 종래의 보드 커넥터의 단면을 나타내는 도면이다.
도 2a는 본 발명에 따른 체결형 보드 커넥터의 제 1 커넥터를 분해하여 나타내는 도면이다.
도 2b는 본 발명에 따른 체결형 보드 커넥터의 제 2 커넥터와 체결부재를 분해하여 나타내는 도면이다.
도 3은 본 발명에 따른 체결형 보드 커넥터의 결합 사시도이다.
도 4a 및 도 4b는 본 발명에 따른 실드부재와 제 2 커넥터의 결합 전, 후 상태를 나타내는 도면들이다.
도 5a 및 도 5b는 본 발명에 따른 제 1 커넥터와 실드부재가 구비된 2커넥터의 결합 전, 후 상태를 나타내는 도면이다.
도 6a 및 도 6b는 본 발명에 따른 체결부재가 실드부재를 구비한 제 2 커넥터를 지지하며 체결된 상태를 확대하여 나타내는 도면들이다.
도 7a 및 도 7b는 본 발명에 따른 체결부재가 체결된 상태 및 해제된 상태를 단면으로 나타내는 도면이다.
도 8a 내지 도 8c는 본 발명에 따른 실드부재의 EMI 차폐를 위한 그라운드 상태를 나타내는 도면들이다.
도 9a 및 도 9b는 본 발명에 따른 실드부재의 이탈 방지부와 제 2 베이스의 결합 상태를 나타내는 도면들이다.
도 10은 본 발명에 따른 제 1 및 제 2 터미널과 제 2 베이스와의 결합 상태를 나타내는 도면이다.1 is a cross-sectional view of a conventional board connector.
2A is an exploded perspective view of a first connector of a fastening type board connector according to the present invention.
2B is an exploded view of the second connector and the fastening member of the fastening type board connector according to the present invention.
3 is an assembled perspective view of a fastening type board connector according to the present invention.
4A and 4B are views showing the state before and after the connection of the shield member and the second connector according to the present invention.
5A and 5B are views showing the state before and after coupling of the two connectors having the first connector and the shield member according to the present invention.
FIGS. 6A and 6B are enlarged views illustrating a state where the fastening member according to the present invention is fastened while supporting a second connector having a shield member. FIG.
FIGS. 7A and 7B are cross-sectional views showing a fastened state and a released state of the fastening member according to the present invention; FIG.
8A to 8C are views showing ground states for EMI shielding of a shield member according to the present invention.
FIGS. 9A and 9B are views showing a state of engagement of the separation preventing portion of the shield member and the second base according to the present invention. FIG.
10 is a view showing a state of engagement between the first and second terminals and the second base according to the present invention.
본 발명은 그 기술적 사상 또는 주요한 특징으로부터 벗어남이 없이 다른 여러가지 형태로 실시될 수 있다. 따라서, 본 발명의 실시예들은 모든 점에서 단순한 예시에 지나지 않으며 한정적으로 해석되어서는 안된다.The present invention may be embodied in many other forms without departing from its spirit or essential characteristics. Accordingly, the embodiments of the present invention are to be considered in all respects as merely illustrative and not restrictive.
제 1, 제 2 등의 용어는 다양한 구성요소들을 설명하는데 사용될 수 있지만, 상기 구성요소들은 상기 용어들에 의해 한정되어서는 안 된다.The terms first, second, etc. may be used to describe various components, but the components should not be limited by the terms.
상기 용어들은 하나의 구성요소를 다른 구성요소로부터 구별하는 목적으로만 사용된다. 예를 들어, 본 발명의 권리 범위를 벗어나지 않으면서 제 1 구성요소는 제 2 구성요소로 명명될 수 있고, 유사하게 제 2 구성요소도 제 1 구성요소로 명명될 수 있다.The terms are used only for the purpose of distinguishing one component from another. For example, without departing from the scope of the present invention, the first component may be referred to as a second component, and similarly, the second component may also be referred to as a first component.
어떤 구성요소가 다른 구성요소에 "연결되어" 있다거나 "접속되어" 있다고 언급된 때에는, 그 다른 구성요소에 직접적으로 연결되어 있거나 또는 접속되어 있을 수도 있지만, 중간에 다른 구성요소가 존재할 수도 있다고 이해되어야 할 것이다.It is to be understood that when an element is referred to as being "connected" or "connected" to another element, it may be directly connected or connected to the other element, .
반면에, 어떤 구성요소가 다른 구성요소에 "직접 연결되어" 있다거나 "직접 접속되어" 있다고 언급된 때에는, 중간에 다른 구성요소가 존재하지 않는 것으로 이해되어야 할 것이다.On the other hand, when an element is referred to as being "directly connected" or "directly connected" to another element, it should be understood that there are no other elements in between.
본 출원에서 사용한 용어는 단지 특정한 실시예를 설명하기 위해 사용된 것으로, 본 발명을 한정하려는 의도가 아니다. 단수의 표현은 문맥상 명백하게 다르게 뜻하지 않는 한, 복수의 표현을 포함한다.The terminology used in this application is used only to describe a specific embodiment and is not intended to limit the invention. The singular expressions include plural expressions unless the context clearly dictates otherwise.
본 출원에서, "포함하다" 또는 "구비하다", "가지다" 등의 용어는 명세서상에 기재된 특징, 숫자, 단계, 동작, 구성요소, 부품 또는 이들을 조합한 것이 존재함을 지정하려는 것이지, 하나 또는 그 이상의 다른 특징들이나 숫자, 단계, 동작, 구성요소, 부품 또는 이들을 조합한 것들의 존재 또는 부가 가능성을 미리 배제하지 않는 것으로 이해되어야 한다.In the present application, the terms "comprises", "having", "having", and the like are intended to specify the presence of stated features, integers, steps, operations, components, Steps, operations, elements, components, or combinations of elements, numbers, steps, operations, components, parts, or combinations thereof.
다르게 정의되지 않는 한, 기술적이거나 과학적인 용어를 포함해서 여기서 사용되는 모든 용어들은 본 발명이 속하는 기술 분야에서 통상의 지식을 가진 자에 의해 일반적으로 이해되는 것과 동일한 의미를 가지고 있다.Unless defined otherwise, all terms used herein, including technical or scientific terms, have the same meaning as commonly understood by one of ordinary skill in the art to which this invention belongs.
일반적으로 사용되는 사전에 정의되어 있는 것과 같은 용어들은 관련 기술의 문맥상 가지는 의미와 일치하는 의미를 가지는 것으로 해석되어야 하며, 본 출원에서 명백하게 정의하지 않는 한, 이상적이거나 과도하게 형식적인 의미로 해석되지 않는다.Terms such as those defined in commonly used dictionaries are to be interpreted as having a meaning consistent with the contextual meaning of the related art and are to be interpreted as either ideal or overly formal in the sense of the present application Do not.
아래에서는 첨부한 도면을 참고로 하여 본 발명의 실시예에 대하여 본 발명이 속하는 기술 분야에서 통상의 지식을 가진 자가 용이하게 실시할 수 있도록 상세히 설명한다.
Hereinafter, embodiments of the present invention will be described in detail with reference to the accompanying drawings so that those skilled in the art can easily carry out the present invention.
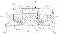
도 2a는 본 발명에 따른 체결형 보드 커넥터의 제 1 커넥터를 분해하여 나타내는 도면이고, 도 2b는 본 발명에 따른 체결형 보드 커넥터의 제 2 커넥터와 체결부재를 분해하여 나타내는 도면이고, 도 3은 본 발명에 따른 체결형 보드 커넥터의 결합 사시도이다.FIG. 2A is an exploded view of a first connector of a fastening type board connector according to the present invention, FIG. 2B is an exploded view of a second connector and a fastening member of a fastening type board connector according to the present invention, 1 is an exploded perspective view of a fastening board connector according to the present invention;
여기서, 본 발명에 기재된 "전후" 방향은 도면들에서와 같이, 대향되게 나란히 배열되는 제 1 및 제 2 터미널(102, 202) 및 두 개의 실드부재(400) 사이의 방향을 의미하며, "좌우"라 함은 상기 "전후"와는 수평으로 직교하는 한 쌍의 체결부재(300) 사이의 방향을 의미하며, "상하"라 함은 제 1 보드(1), 제 1 커넥터(100),제 2 커넥터(200) 및 제 2 보드(2)의 순차적인 수직 결합배치 방향을 나타냄을 이해하여야 할 것이다.
Here, the "back and forth" directions described in the present invention refer to the directions between the first and
도시된 바와 같이, 본 발명에 따른 체결형 보드 커넥터는, 제 1 베이스(110) 및 제 1 터미널(102)을 구비하는 제 1 커넥터(100); 제 2 베이스(210), 제 2 터미널(202), 및 측방 체결홈(222)을 구비하는 제 2 커넥터(200); 상기 제 2 커넥터(200)의 측방 체결홈(222)에서 상기 제 1 커넥터(100)와 상기 제 2 커넥터(200)가 근접되어 상호 밀착 체결된 후, 상기 제 1 커넥터(100)가 상측방향으로 이동되며 임의로 이탈되는 것을 방지하는 금속재질의 체결부재(300); 및 상기 제 2 커넥터(200)의 상기 측방 체결홈(222)에서 상기 체결부재(300)를 고정하도록 하는 금속재질의 보강부재(500)를 포함하여 이루어진다.As shown, the fastening type board connector according to the present invention includes: a
추가적으로 상기 제 2 베이스(210)의 대향하는 전후방 베이스에 각각 쉘(shell) 형태로 구비되어 EMI(electro magnetic interference) 노이즈를 차폐하기 위한 두 개의 실드(shield) 부재(400)를 포함하여 구성된다.
And two
수커넥터(Male connector)에 해당하는 상기 제 1 커넥터(100)는 절연된 합성수지 재질의 제 1 베이스(110)를 구비하고, 제 1 베이스(110)에는 다수의 제 1 터미널(102)이 일렬로 나란히 배치된다.The
이때, 양측방으로는 측면부(112)를 중심으로 제 2 커넥터(200)와 대면하는 위치로는 가압부(111)를 구비하고, 그 반대 위치로는 걸림부(116)를 구비한다. 측면부(112)와 가압부(111)의 사이에는 내측으로 인입된 내입부(114)가 구비될 수 있다.At this time, the
또한, 각각의 제 1 터미널(102)의 대략 "U"자 형태의 접촉부의 외면 일측에는 홈 형태의 접점(102-1)이 형성되어 있다. 상기 홈 형태의 접점(102-1)은 제 1 커넥터(100)와 제 2 커넥터(200)의 밀착결합시 제 2 커넥터의 제 2 터미널(202)의 접점 돌기(202-1)와의 일점(一點) 방식의 전기적 접촉을 위한 것이다.
In addition, a groove-shaped contact 102-1 is formed on one side of the outer surface of the contact portion of the substantially U-shaped shape of each
암커넥터(Female connector)에 해당하는 상기 제 2 커넥터(200)는 절연된 합성수지 재질의 제 2 베이스(210)를 구비한다. 이때, 제 2 커넥터(200)의 상대적으로 길게 형성된 전후방에는 전후방 베이스(211)가 형성되고, 전후방 베이스(211)에는 각각 금속재질로 된 쉘 형태의 실드부재(400)가 설치된다.The
또한, 제 2 베이스(210)에는 다수의 제 2 터미널(202)이 대향하는 전후방 베이스(211)를 따라 좌우방향으로 일렬로 나란히 배치된다.In addition, a plurality of
상기 전후방 베이스(211)는 중앙 베이스(도면 번호 미부여)를 기준으로 전후로 대향되게 배치되어 있고, 다수의 제 2 터미널(202)이 끼워지는 다수의 홈부(도면번호 미부여)를 제외하고는 직사각 박스형태를 이룬다.
The front and
상기한 쉘 형태의 실드부재(400)는 "ㄱ"자(후방 실드부재) 또는 역(逆) "ㄱ"자(전방 실드부재) 형태로서, 전후방 베이스(211)의 외측면을 감싸는 수직부(411)와, 상기 수직부(411)와 일체로 형성되며, 전후방 베이스(211)의 상면을 감싸는 수평부(412)로 이루어진다.The shell-shaped
또한, 상기 실드부재(400)의 수직부(411)의 하단에는 하부의 제 2 보드(2)의 내외곽에 나누어져 위치한 제 1 및 제 2 그라운드 단자(2-2, 2-3)(도 8a 참조)에 연결되어 접지하도록 하는 다수의 제 1 및 제 2 그라운드용 돌기(430, 431)가 형성된다.
The first and second ground terminals 2-2 and 2-3 (also referred to as " first ground terminal " and "
아울러, 상기 수평부(412)의 좌우 측방에는 좌우로 돌출되어지되, 내측 하향으로 수직 절곡된 체결부재 이탈 방지부(420)가 형성되어 후술하는 체결부재(300)의 작동시 체결부재의 이탈 및 유동을 방지할 수 있도록 되어 있다. 즉, 이탈 방지부(420)는 결합시에 후술하는 측방 체결부(220)의 이격부(223) 공간을 최소화하여 체결부재(300)의 이탈 및 유동을 방지하게 된다.In addition, a locking member
또한, 본 발명에 따른 쉘 형태의 실드부재(400)는 거의 직사각 판상으로 된 수직부(411)와 수평부(412)로 이루어져 살보강이 이루어져 외부의 충격이 발생하더라도 강성을 갖고 있어 휘는 현상이 방지될 뿐만 아니라, 수직부(411)에는 상하로 절곡된 절곡부(413)를 형성하여 더욱더 기계적 강도를 제고(提高)할 수 있도록 되어 있다.
In addition, the shell-shaped
한편, 제 2 커넥터(200)의 좌우 양측방으로는 측방 체결부(220)가 형성되고, 측방 체결부(220)에는 체결부재(300)가 마주보며 한 쌍이 삽입되어 안착된다.On the other hand, a
상기 측방 체결부(220)는 중심부에 상방 개방된 측방 체결홈(222)이 형성되고, 측방 체결홈(222)의 양측으로는 지지부(226)가 형성되어 있다. 지지부(226)의 하방에는 측방으로 수평 개방된 안착부(224)가 관통 형성되어 있다. 지지부(226)의 내측으로는 제 2 터미널(202)이 결합되는 전후방 베이스(211) 부분과의 사이에 이격된 개방 공간인 이격부(223)가 형성된다.
The
한편, 상기한 체결부재(300)는 스테인레스 등으로 된 금속 재질로서 "ㅁ" 자 형상과 같이 내부에 걸림홀(320)이 형성되는 사각의 기본 형태를 구비하며, 하측부터 축부(330), 축부(330)의 양단으로부터 상방을 향하는 한 쌍의 측부(310), 측부(310)의 사이를 연결하는 고정부(340)를 구비한다.The
상기 축부(330)에는 제 2 베이스(210)의 중심측을 향하도록 측부(310)와 약 90도 전후의 각도로 절곡된 형태의 누름부(350)가 돌출 형성된다. 누름부(350)는 측방 체결홈(222) 내에 상방으로 노출되도록 위치된다.A pushing
상기 체결부재(300)는 도면과 같이 내측에 걸림홀(320)이 형성되는 사각 프레임 형태인 것이 바람직하나, 경우에 따라서는 고정부(340)를 절곡하거나 판의 형태를 변형하여 형성함으로써 걸림홀 없이도 동일한 기능이 수행되도록 할 수도 있을 것이다.It is preferable that the
상기 체결부재(300)는 이격부(223)의 상방으로부터 축부(330)가 하측에 위치하도록 하방이동되며, 이격부(223)를 통해 인입된 축부(330)는 하단에서 외측으로 밀어 안착부(224) 내에 안착되도록 한다. 이때 축부(330)의 상방은 지지부(226)에 의해 지지됨으로써, 제 위치를 지키며 회동될 수 있게 된다.The
상기 축부(330)의 중심측에 위치된 누름부(350)는 측방 체결홈(222)을 통해 상방에서 보이도록 노출되며, 체결부재(300)가 안착부(224)내에 안착되면 측부(310)가 상측을 향해 벌어지는 방향으로 비스듬하게 위치되면서 누름부(350)는 제 2 베이스(210)의 내측을 향해 비스듬하게 상방으로 위치된다.
The pushing
이때, 이탈 방지부(420)는 측방 체결부(220)의 측방 삽입홈(222) 하측으로 수직 절곡되어 전후방 베이스(211)의 좌우 양단에 압입 체결되어 결합시 이격부(233) 공간을 더욱더 최소화하면서 축부(330)를 안착부(224) 내로 밀어주는 역할을 수행함으로써, 체결부재(300)의 이탈 및 유동을 완전 방지할 수 있게 되는 것이다. At this time, the
즉, 이탈 방지부(420)는 실드부재(400)의 수평부(412)의 좌우 측방에 대해 좌우로 돌출되어지되, 내측 하향으로 수직 절곡되어 전후방 베이스(211)의 좌우 양단의 끼움홈(211-1) 내에 삽입 체결되고, 이탈 방지부(420)의 단부를 끼움홈(211-1)으로부터 외측으로 돌출되어지므로(도 9a 및 도 9b 참조), 결합시 체결부(200)의 이격부(233) 공간을 더욱더 줄어들게 하면서 축부(330)를 안착부(224) 내로 밀어주게 되어 체결부재(300)의 이탈 및 유동을 방지하게 된다.That is, the
한편, 측방 체결부(220)의 지지부(226)의 전후 내측방에 형성된 지지돌기(227)의 외측으로는 금속재 보강부재(500)의 고정 돌기(520)가 돌출 형성되어 측부(310)의 중앙 내측에 걸림 고정되어 체결부재(300)가 체결전에 벌어진 상태에서 내측으로 쉽게 회동되지 않도록 잡아주는 역할을 수행한다.
The fixing
상기한 보강부재(500)는, 콜슨 합금(corson alloy) 등과 같은 금속 재질로 이루어지며, 상기 측방 체결부(220)에 인서트 몰딩(insert molding)되어 형성되는 것으로, 상기 측방 체결부(220)의 지지부(226)에 "ㄷ" 자 또는 역(逆) "ㄷ" 자 형태로 인서트 몰딩되는 몸체부(510); 및 상기 "ㄷ" 자 또는 역(逆) "ㄷ" 자 형태의 몸체부(510)의 전후 일측단에서, 상기 지지부(226)의 전후 내측방에 돌출된 지지돌기(227)로부터 외측 방향으로 돌출되는 대향하는 두 개의 삼각뿔 형상의 고정 돌기(520)를 포함하여 이루어진다.The reinforcing
상기한 보강부재(500)는, 상기 "ㄷ" 자 또는 역(逆) "ㄷ" 자 형태의 몸체부(510)의 좌측면 또는 우측면에서 외측으로 나란히 돌출되는 두 개의 수평 돌출부(530)가 형성되어 인서트 몰딩시 지지부(226)의 좌우측으로 돌출되어 형성된다. 상기 대향하는 두 개의 고정 돌기(520)는 체결부(200)의 안착부(224)의 상부에서 외측으로 돌출되는 삼각뿔 형상이므로, 제 1 커넥터(100)와 제 2 커넥터(200)의 결합 전에는, 체결부재(300)는 외측으로 벌어진 상태에서 고정 돌기(520)가 체결부재(300)의 측부(310)의 중앙 내측에 걸림 고정되어져 체결부재(300)가 내측으로 쉽게 넘어가지 못하도록 잡아주고, 제 1 커넥터(100)와 제 2 커넥터(200)의 결합시에는, 체결부재(300)는 내측으로 모여지는 동작이 이루어지므로, 삼각뿔 형상의 고정 돌기(520)가 체결부재(300)의 측부(310)에 가이드되면서 체결부재(300)가 고정 돌기(520)를 넘어가는 형태가 된다.The reinforcing
이때, 금속재의 체결부재의 측부(310)의 내측면과 금속재의 보강부재(500)의 고정돌기 사이에는 상호 접촉에 의해 미세한 충격이 발생하나, 체결부재(300)와 보강부재(500)가 내구성 있는 금속재로 되어 있어 마모는 발생되지 않게 된다. 이에 대해서는 후술하는 도 6a 및 도 6b의 설명에서 더욱 상술(詳述)하기로 한다.
At this time, a fine impact is generated by mutual contact between the inner surface of the
도 4a 및 도 4b는 본 발명에 따른 실드부재와 제 2 커넥터의 결합 전, 후 상태를 나타내는 도면이다.4A and 4B are views showing the state before and after the connection of the shield member and the second connector according to the present invention.
먼저, 도 4a를 참조하면, 결합 전 상태에는, 체결부재(300)는 외측으로 벌어진 형상을 하고 있음과 아울러, 보강부재(500)의 대향하는 두 개의 고정 돌기(520)는 체결부재(300)의 측부(310)의 중앙 내측에 걸림 고정되어지고(도 6a 참조), 체결부재(400)의 이탈 방지부(420)의 하단이 측방 체결부(220)의 측방 삽입홈(222) 쪽을 향하도록 위치하게 된다.4A, the
이어서, 도 4b를 참조하면, 결합 후 상태에서는, 체결부재(400)의 이탈 방지부(420)는 체결부재(400)의 수평부(412)의 좌우 측방에 대해 좌우로 돌출되어지되, 내측 하향으로 수직 절곡되어 전후방 베이스(211)의 좌우 양단의 끼움홈(211-1) 내에 삽입 체결되어(도 9a 및 도 9b 참조), 전후방 베이스(211)의 좌우 양단 부분을 커버하도록 됨과 동시에, 실드부재(400)의 수직부(411)와 수평부(412)는 제 2 커넥터(200)의 전후방 베이스(211)의 외측면과 상면을 감싸는 형태가 된다(도 5a 참조).4B, in the post-assembled state, the
물론, 실드부재(400)의 수직부(411)의 하단에는 제 2 보드(2)의 제 1 및 제 2 그라운드 단자(2-2, 2-3)에 연결되어 접지하도록 하는 다수의 제 1 및 제 2 그라운드용 돌기(430, 431)가 하방향으로 돌출형성된다(도 8a 참조). 여기서, 체결부재(300)는 결합전과 동일하게 외측으로 벌어진 형상을 그대로 유지하게 된다.
Of course, the first and second ground terminals 2-2 and 2-3 of the
도 5a 및 도 5b는 본 발명에 따른 제 1 커넥터와 실드부재가 구비된 제 2 커넥터의 결합 전, 후 상태를 나타내는 도면이다.5A and 5B are views showing the state before and after the connection of the first connector and the second connector provided with the shield member according to the present invention.
먼저, 도 5a를 참조하면, 결합 전 상태에는, 체결부재(300)는 외측으로 벌어진 형상을 띄고 있으며, 도 5b를 참조하면, 결합 후 상태에서는 체결부재(300)는 내측으로 모이면서 제 1 커넥터(100)를 잡아주는 형상을 띄고 있다.Referring to FIG. 5A, the
제 1 보드(1)에 용접(솔더링)으로 결합된 제 1 커넥터(100)는 제 1 베이스(110)의 양 측방에 제 2 커넥터(200)를 마주보는 방향으로 가압부(111)가 구비되고, 그 반대 방향인 상측으로는 걸림부(116)가 구비된다. 이때 걸림부(116)는 고정부(340)가 부드럽게 끼워지며 지지할 수 있도록 모서리가 곡면 부분을 포함하도록 하는 것이 바람직하다.The
이어서, 도 5b에 도시된 바와 같이, 제 1 커넥터(100)가 제 2 커넥터(200)에 밀착되면 체결부재(300)는 지렛대의 동작과 같이 안쪽으로 모아지면서 안착부(224)를 중심으로 회동되며, 걸림부(116)의 외측을 감싸고 있는 상태가 되고 이를 유지하게 된다(도 7a 참조). 또한, 체결부재(300)의 측부(310)의 중앙 내측이 고정 돌기(520)에 가이드되어 넘어가는 형태가 되어 최종적으로 삼각뿔 형상의 고정 돌기(520) 끝단에 당접되어 맞물리게 되어(도 3 참조), 축부(330)를 안착부(224) 내로 밀어주고 있으므로(도 7a 참조), 다시 외측으로 벌어지기 전에는 제 1 커넥터(100)가 분리되지 않는다.5B, when the
한편, 제 1 커넥터의 상부에 위치하는 제 1 보드(1)의 좌우 폭이 대향하는 두 개의 체결부재(300) 사이의 폭보다 작게, 즉, 제 1 커넥터(100)의 전체 좌우 폭보다 작게 형성됨으로써, 제 1 커넥터보다 긴 제 1 보드를 형성하는 종래기술과 비교하여 체결부재(300)와 제 1 보드(1)사이의 간섭이 전혀 발생되지 않음으로 제 1 커넥터측의 제 1 보드 사이즈를 커넥터 작동성에 용이하게 구상할 수 있음으로 커넥터의 재작업(rework)의 편의성이 대폭 향상될 수 있게 된다.
On the other hand, when the width of the first board 1 located at the upper portion of the first connector is smaller than the width between the two
도 6a 및 도 6b는 본 발명에 따른 체결부재가 실드부재를 구비한 제 2 커넥터를 지지하며 체결된 상태를 확대하여 나타내는 도면들이다.FIGS. 6A and 6B are enlarged views illustrating a state where the fastening member according to the present invention is fastened while supporting a second connector having a shield member. FIG.
도시된 바와 같이, 상기 체결부재(300)는 하단의 축부(330)는 안착부(224) 내에 지지된 상태로 상단은 걸림부(116)의 외측을 감싸며 지지하고 있다. 또한, 실드부재의 이탈 방지부(420)는 축부(330)를 안착부(224)내로 밀어주면서 있다.As shown in the figure, the
아울러, 지지부(226)의 측방에는 돌출된 지지돌기(227)가 형성되어 있고, 지지돌기(227)의 외측으로는 체결부(200)에 인서트 몰딩된 보강부재(500)의 삼각뿔 형상의 고정돌기(520)가 돌출형성되어 있으며, 이 고정돌기(520)는 체결부재(300)의 현재 위치가 쉽게 변하지 않도록 잡아주는 역할을 한다. 이는 체결부재(300)가 체결 전에 벌어져 있는 상태에서 내측으로 회동되지 않도록 잡아주는 역할도 동시에 하게 된다.The supporting
또한, 금속재의 체결부재(300)의 측부(310)가 금속재의 고정돌기(520)를 넘어서면서 미세한 충격 및 소음이 발생되므로, 작업자는 클릭감을 느끼며 체결부재(300)의 동작을 눈으로 보지 않더라도 쉽게 감지할 수 있게 된다.In addition, since the
물론, 체결부재(300)의 체결시, 상기 체결부재(300)의 측부(310)와 금속재의 고정돌기(520) 사이에는 미세한 마찰이 발생되나, 상호 내구성 있는 금속재로 되어 있어 마모는 전혀 발생되지 않게 된다.
Of course, when the
도 7a 및 도 7b는 본 발명에 따른 체결부재가 체결된 상태 및 해제된 상태를 단면으로 나타내는 도면이다.FIGS. 7A and 7B are cross-sectional views showing a fastened state and a released state of the fastening member according to the present invention; FIG.
도 7a를 참조하면, 가압부(111)가 누름부(350)를 누르면 체결부재(300)가 회동되면서 동시에 고정부(340)가 걸림부(116) 외측을 감싸는 위치로 접근함과 동시에 실드부재(400)의 이탈 방지부(420)(도 2b 참조)가 축부(330)의 노출면을 밀착하듯이 밀어줌으로써, 이탈을 방지하도록 지지하고 있다.7A, when the
도 7b를 참조하면, 작업자가 체결부재(300)를 바깥쪽으로 회동시키면서 측부(310)가 보강부재(500)의 고정돌기(520)를 넘어설 수 있는 외력을 제공하면(도 5a 참조), 안착부(224) 내의 축부(330)를 중심으로 회동되는 체결부재(300)는 지렛대의 원리로 누름부(350)가 가압부(111)를 밀어 올리게 되는 동시에 고정부(340)가 걸림부(116)의 외측으로부터 바깥쪽으로 빠지게 된다. 이로써 제 1 커넥터(100)는 상방으로 자유롭게 배출될 수 있게 된다.
7B, when the operator rotates the
도 8a 내지 도 8c는 본 발명에 따른 실드부재의 EMI 차폐를 위한 그라운드 상태를 나타내는 도면들이다.8A to 8C are views showing ground states for EMI shielding of a shield member according to the present invention.
먼저, 도시된 바와 같이, 하부에 형성된 제 2보드(2)에는 제 2 터미널(202)과의 전기적 연결을 위한 전기 단자(2-1)와, 제 1 및 제 2 그라운드 단자(2-2, 2-3)가 2개의 열로 배치되어 있다.As shown in the drawing, the
여기서, 상기 제 1 그라운드 단자(2-2)는 실드부재(400)의 수직부(411)의 양측방 하단에 형성된 제 1 그라운드용 돌기(430)와 연결되며, 상기 제 2 그라운드 단자(2-3)는 실드부재(400)의 수직부(411)의 두 개의 제 1 그라운드용 돌기(430) 사이에 다수개 이격하여 형성된 제 2 그라운드용 돌기(431)와 연결되어 접지 역할을 수행하도록 되어 있다. 여기서, 상기 제 2 그라운드 단자(2-3)는 전기 단자(2-1)와 비교하여 외측으로 더 돌출되어 제 2 그라운드 단자(2-3)에는 제 2 터미널(202)과 제 2 그라운드용 돌기(431)가 동시에 접지될 수 있도록 하여 더욱더 실드를 보강할 수 있도록 되어있다.The first ground terminal 2-2 is connected to the
또한, 신호를 전달하는 적어도 두 개의 전기 단자(2-1) 마다 한 개의 그라운 드 단자(2-2, 2-3)을 설치하여 신호 단자끼리의 영향을 최소화할 수 있게 된다.
In addition, one ground terminal (2-2, 2-3) is provided for each of the at least two electric terminals (2-1) for transmitting signals, so that the influence of the signal terminals can be minimized.
도 9a 및 도 9b는 본 발명에 따른 실드부재의 이탈 방지부와 제 2 베이스의 결합 상태를 나타내는 도면들이다.FIGS. 9A and 9B are views showing a state of engagement of the separation preventing portion of the shield member and the second base according to the present invention. FIG.
즉, 도 9a 및 도 9b에 도시된 바와 같이, 제 2 커넥터(200)의 제 2 베이스(210)의 전후방 베이스(211)의 좌우 양단에는 대략 사각 형상의 끼움홈(211-1)이 형성되고, 실드부재(400)의 이탈 방지부(420)가 대략 사각 형상의 끼움홈(211-1)내로 압입 체결되어지되, 이탈 방지부(420)의 외측 단부가 끼움홈(211-1)으로부터 외측으로 돌출되어져 결합시 체결부(220)의 이격부(223) 공간이 축소되어 지도록 되어 있다.9A and 9B, substantially square fitting grooves 211-1 are formed at the left and right ends of the front and
이때, 실드부재(400)의 이탈 방지부(420)의 전측부 또는 후측부에는 엠보싱부(421)가 형성되고, 내측 하단부에는 압입 돌기(422)가 형성되어, 실드부재(400)의 이탈 방지부(420)의 사각 형상의 끼움홈(211-1)내로의 압입 체결시에 돌출된 엠보싱부(421)와 압입 돌기(422)에 의해 강한 압입력으로 조립 체결될 수 있게 된다.
The embossed
도 10은 본 발명에 따른 제 1 및 제 2 터미널과 제 2 베이스와의 결합 상태를 나타내는 도면이다.10 is a view showing a state of engagement between the first and second terminals and the second base according to the present invention.
또한, 제 1 터미널(102)의 대략 "U"자 형태의 접촉부의 외면 일측에는 홈 형태의 접점(102-1)가 형성되어 있고, 이에 대응되는 제 2 터미널(202)의 대략 "U"자 형태의 접촉부의 끝단에는 접점 돌기(202-1)가 형성되어 일점(一點) 방식으로 전기적 접촉을 이루는 한편, 상기 접점 돌기(202-1)에 대향하는 제 2 터미널(202)의 대략 "U"자 형태의 접촉부의 내측면에는 압입 돌기(202-2)가 형성되어 제 2 베이스(210)의 전후방 베이스(211)의 홈부(도면 번호 미부여)에 압입 결합되어져 터미널의 피치 및 웨이트(weight)를 줄이고 전체 높이를 낮게 하여 보드 커넥터의 소형화를 가능하도록 하고 있다.In addition, a groove-shaped contact 102-1 is formed on one side of the outer surface of the substantially U-shaped contact portion of the
아울러, 제 1 터미널(102)과 제 2 터미널(202)이 접점(102-1)과 접점 돌기(202-1)에 의한 일점(一點) 방식에 의한 신호 전달이 이루어져 신호가 전달되는 단자의 길이가 최소화되어 신호 전송 거리가 역시 최소화될 수 있게 된다.
The
본 발명은 여러 가지 상이한 형태로 구현될 수 있으며 상기 설명된 실시예에 한정되지 않으며, 도면에서 본 발명을 명확하게 설명하기 위해서 설명과 관계없는 부분은 생략되었다. 이상에서 본 발명의 실시예에 대하여 상세하게 설명하였지만 본 발명의 권리범위는 이에 한정되는 것은 아니고 다음의 청구범위에서 정의하고 있는 본 발명의 기본 개념을 이용한 당업자의 여러 변형 및 개량 형태 또한 본 발명의 권리범위에 속하는 것이다.
The present invention may be embodied in many different forms and should not be construed as limited to the embodiments set forth herein. Rather, these embodiments are provided so that this disclosure will be thorough and complete, and will fully convey the scope of the invention to those skilled in the art. While the present invention has been particularly shown and described with reference to exemplary embodiments thereof, it is to be understood that the invention is not limited to the disclosed exemplary embodiments, It belongs to the scope of right.
1,2 : 제 1 및 제 2 보드2-1 : 전기 단자
2-2, 2-3 : 제 1 및 제 2 그라운드용 단자
100 : 제 1 커넥터102 : 제 1 터미널
102-1: 홈 형태의 접점
110 : 제 1 베이스111 : 가압부
112 : 측면부114 : 내입부
116 : 걸림부200 : 제 2 커넥터
202 : 제 2 터미널202-1: 접점 돌기
202-2: 압입 돌기210 : 제 2 베이스
211: 전후방 베이스211-1: 끼움홈
220 : 체결부222 : 측방 체결홈
223 : 이격부224 : 안착부
226 : 지지부
227 : 지지돌기300 : 체결부재
310 : 측부311 : 연장 돌출부
320 : 걸림홀330 : 축부
340 : 고정부350 : 누름부
400 : 쉘(shell) 형태의 실드(shield) 부재
411 : 수직부412 : 수평부
413 : 절곡부420: 체결부재 이탈 방지부
430, 431 : 제 1 및 제 2 그라운드용 돌기
500: "ㄷ" 자 또는 역(逆) "ㄷ" 자 형태의 보강부재
510: "ㄷ" 자 또는 역(逆) "ㄷ" 자 형태의 몸체부
520: 삼각뿔 형상의 보강부재 530: 두 개의 수평 돌출부1,2: first and second board 2-1: electrical terminal
2-2, 2-3: first and second ground terminals
100: first connector 102: first terminal
102-1: Grooved contacts
110: first base 111:
112: side portion 114:
116: latching part 200: second connector
202: second terminal 202-1: contact projection
202-2: indentation protrusion 210: second base
211: front and rear bases 211-1: fitting groove
220: fastening part 222: side fastening groove
223: separation part 224: seat part
226: Support
227: support protrusion 300: fastening member
310: side portion 311:
320: Retaining hole 330: Shaft
340: fixing part 350: pressing part
400: shield member in the form of a shell
411: vertical part 412: horizontal part
413: bent portion 420: fastening member departure prevention portion
430, 431: first and second ground projections
500: "c" or " reverse ""
510: "C" or reverse "C" shaped body portion
520: triangular-pyramidal reinforcement member 530: two horizontal projections
| Application Number | Priority Date | Filing Date | Title |
|---|---|---|---|
| KR1020140097542AKR101602745B1 (en) | 2014-07-30 | 2014-07-30 | Board to board connector |
| Application Number | Priority Date | Filing Date | Title |
|---|---|---|---|
| KR1020140097542AKR101602745B1 (en) | 2014-07-30 | 2014-07-30 | Board to board connector |
| Publication Number | Publication Date |
|---|---|
| KR20160015071A KR20160015071A (en) | 2016-02-12 |
| KR101602745B1true KR101602745B1 (en) | 2016-03-11 |
| Application Number | Title | Priority Date | Filing Date |
|---|---|---|---|
| KR1020140097542AActiveKR101602745B1 (en) | 2014-07-30 | 2014-07-30 | Board to board connector |
| Country | Link |
|---|---|
| KR (1) | KR101602745B1 (en) |
| Publication number | Priority date | Publication date | Assignee | Title |
|---|---|---|---|---|
| JP7364363B2 (en)* | 2019-04-25 | 2023-10-18 | モレックス エルエルシー | connector |
| CN112688118B (en)* | 2020-12-03 | 2022-04-22 | 信维通信(江苏)有限公司 | A kind of interface unit |
| Publication number | Priority date | Publication date | Assignee | Title |
|---|---|---|---|---|
| JP2011119119A (en) | 2009-12-03 | 2011-06-16 | Hirose Electric Co Ltd | Electrical connector |
| Publication number | Priority date | Publication date | Assignee | Title |
|---|---|---|---|---|
| JP2525502B2 (en)* | 1990-05-30 | 1996-08-21 | 矢崎総業株式会社 | Electrical connector |
| KR20020082987A (en)* | 2001-04-24 | 2002-11-01 | 이종은 | Method for constructing a wall |
| KR101349120B1 (en) | 2012-03-02 | 2014-01-14 | 윤태영 | Fan heater for labeling apparatus |
| Publication number | Priority date | Publication date | Assignee | Title |
|---|---|---|---|---|
| JP2011119119A (en) | 2009-12-03 | 2011-06-16 | Hirose Electric Co Ltd | Electrical connector |
| Publication number | Publication date |
|---|---|
| KR20160015071A (en) | 2016-02-12 |
| Publication | Publication Date | Title |
|---|---|---|
| KR101496720B1 (en) | Shield and locking type board to board connector | |
| US7717719B2 (en) | Connector | |
| US8905777B2 (en) | Electrical connector assembly with an improved latch mechanism | |
| US8506331B2 (en) | Electrical connector assembly with external metallic gasket | |
| US7320614B2 (en) | Female connector and male connector | |
| WO2016047251A1 (en) | Cable connector | |
| JP4028525B2 (en) | connector | |
| JP5557236B2 (en) | Electrical connector | |
| US20120220171A1 (en) | Electrical connector | |
| US7462070B2 (en) | Connector having lock mechanism | |
| JP6702713B2 (en) | connector | |
| CA2993325C (en) | Board-to-board connector for signal-transmitting connection of two printed circuit boards | |
| KR20120087817A (en) | Flexible Cable Connector | |
| HK1248403A1 (en) | Board-to-board connector for signal-transmitting connection of two circuit boards | |
| JP5806607B2 (en) | connector | |
| KR20110020290A (en) | High Density Square Interconnect | |
| US20240128669A1 (en) | Electrical connection device | |
| US6139346A (en) | Panel mounted connector assembly | |
| KR101610748B1 (en) | Board to board connector | |
| JP2008108560A (en) | Connector | |
| JP6029248B2 (en) | Electrical connector, assembly thereof, and method of manufacturing electrical connector | |
| KR101602745B1 (en) | Board to board connector | |
| US4678256A (en) | Connector | |
| US8834193B2 (en) | Electrical connector with elastic locking mechanism and electrical connector assembly thereof | |
| CN212033278U (en) | Connector with a locking member |
| Date | Code | Title | Description |
|---|---|---|---|
| A201 | Request for examination | ||
| PA0109 | Patent application | Patent event code:PA01091R01D Comment text:Patent Application Patent event date:20140730 | |
| PA0201 | Request for examination | ||
| E902 | Notification of reason for refusal | ||
| PE0902 | Notice of grounds for rejection | Comment text:Notification of reason for refusal Patent event date:20150827 Patent event code:PE09021S01D | |
| PG1501 | Laying open of application | ||
| E701 | Decision to grant or registration of patent right | ||
| PE0701 | Decision of registration | Patent event code:PE07011S01D Comment text:Decision to Grant Registration Patent event date:20160226 | |
| GRNT | Written decision to grant | ||
| PR0701 | Registration of establishment | Comment text:Registration of Establishment Patent event date:20160307 Patent event code:PR07011E01D | |
| PR1002 | Payment of registration fee | Payment date:20160307 End annual number:3 Start annual number:1 | |
| PG1601 | Publication of registration | ||
| FPAY | Annual fee payment | Payment date:20190306 Year of fee payment:4 | |
| PR1001 | Payment of annual fee | Payment date:20190306 Start annual number:4 End annual number:4 | |
| FPAY | Annual fee payment | Payment date:20200303 Year of fee payment:5 | |
| PR1001 | Payment of annual fee | Payment date:20200303 Start annual number:5 End annual number:5 | |
| PR1001 | Payment of annual fee | Payment date:20210303 Start annual number:6 End annual number:6 | |
| PR1001 | Payment of annual fee | Payment date:20220302 Start annual number:7 End annual number:7 | |
| PR1001 | Payment of annual fee | Payment date:20240304 Start annual number:9 End annual number:9 |