





본 발명은 콘택트 렌즈 케이스에 관한 것으로, 더욱 상세하게는 식염수가 저장된 수용공간 내에 콘택트 렌즈를 수용시켜, 콘택트 렌즈의 건조를 방지하고 병균이나 이물질에 의한 콘택트 렌즈의 오염을 예방하는 콘택트 렌즈 케이스에 관한 것이다.The present invention relates to a contact lens case, and more particularly, to a contact lens case for housing a contact lens in a storage space in which saline solution is stored, preventing the contact lens from drying, and preventing contamination of the contact lens by germs and foreign substances will be.
주지하는 바와 같이 콘택트 렌즈는, 안구의 전면에 밀착되어 근시, 원시, 난시 등의 시력 교정하는 용도로 주로 사용된다.As is well known, contact lenses come in close contact with the entire surface of the eyeball and are mainly used for correcting visual acuity such as nearsightedness, primordiality, and astigmatism.
이러한 콘택트 렌즈는 통상 지름이 12 내지 15 mm이고 중심부의 두께는 0.1 내지 0.4mm 정도의 반구형의 얇은 박막으로 구성되는데, 휴대 및 보관시에 식염수 등의 보관액이 충입된 콘텐트 렌즈 케이스에 수용하여 휴대 및 보관된다.Such a contact lens is usually made of a hemispherical thin film having a diameter of 12 to 15 mm and a thickness of 0.1 to 0.4 mm at its central portion. The contact lens is housed in a content lens case filled with a preservative solution such as saline solution for carrying and storing And stored.
그리고, 최근에는 콘택트 렌즈에 다양한 모양의 패턴을 형성하여 착용시 홍채가 투영된 콘택트 렌즈의 패턴을 통해 다양한 미감을 표현하도록 한 미용용도의 콘택트 렌즈의 개발 및 보급이 활발히 이루어지고 있다.In recent years, various contact lenses for cosmetic use have been actively developed and spread by forming patterns of various shapes on contact lenses and expressing various aesthetics through patterns of contact lenses on which irises are projected when worn.
그런데, 종래에는 이러한 패턴이 형성된 콘택트 렌즈의 착용상태를 간접적으로 확인할 수 있는 전용의 수단이 제공되지 아니한 관계로, 구매자가 미용용의 콘택트 렌즈를 구매한 다음 이를 자신의 눈에 직접 착용하여 자신의 홍채에 투영된 콘택트 렌즈의 착용상태를 확인하고 있다.However, conventionally, since a dedicated means for indirectly checking the wearing state of the contact lens in which such a pattern is formed is not provided, the purchaser purchases the contact lens for beauty and then wears it directly on his / The wearing state of the contact lens projected onto the iris is confirmed.
따라서, 종래 콘택트 렌즈는 착용자가 직접 구매하여 자신의 눈에 착용하기 이전에는 자신의 착용상태를 확인할 수 없는 한계성을 갖는다.Therefore, the conventional contact lens has a limitation that it can not confirm its own wearing state before the wearer directly purchases it and wears it on his / her eyes.
한편, 대한민국 실용신안 등록공고 제 20-0463014호에서는 콘택트 렌즈가 진열된 렌즈 진열판의 상부에 홍채 패턴이 인쇄된 착용 테스터를 배치하여, 진열대에 진열된 콘택트 렌즈에 착용 테스터에 형성된 홍채 패턴이 형성되도록 한 진열대를 제안하고 있다.On the other hand, in Korean Utility Model Registration No. 20-0463014, a wear tester in which an iris pattern is printed on an upper part of a lens display plate on which a contact lens is displayed is disposed, and an iris pattern formed on a contact lens displayed on a display tester is formed We are proposing shelves as possible.
이에 따라, 콘택트 렌즈를 직접 안구에 착용하지 아니하고도 홍채패턴이 투영된 착용상태를 간접적으로 확인할 수 있게 되었다.Accordingly, it is possible to indirectly confirm the wearing state in which the iris pattern is projected without wearing the contact lens directly on the eyeball.
그러나, 상기 진열대는 하기와 같은 문제점들이 지적된 관계로 그 사용이 제한적으로 이루어지고 있다.However, since the following problems are pointed out, the shelf has a limited use.
첫째, 상기 진열대는 넓은 설치공간이 요구되므로 종래 시설된 진열대를 전체를 교환 설치하여야 하고, 또 공간 제약이 발생되는 소규모의 판매점 등지에서는 설치하기 어렵다.First, since the above-mentioned shelves require a large installation space, it is difficult to install them in a small-sized retail store where space restrictions are required.
둘째, 상기 렌즈 진열판과 홍채 패턴이 인쇄된 착용 테스터는 상하 이격되고, 또 홍채 패턴이 렌즈 진열판의 상부에 이격되게 배치된 관계로, 홍채 패턴이 형성된 안구의 표면에 밀착되는 콘택트 렌즈의 투영 상태를 정밀하게 연출하지 못하는 한계성을 갖는다.Second, since the wearer tester on which the lens shelf plate and the iris pattern are printed is vertically spaced apart and the iris pattern is disposed so as to be spaced apart from the upper portion of the lens shelf plate, the projection of the contact lens, which is in close contact with the surface of the eye on which the iris pattern is formed, It has a limitation that the state can not be precisely reproduced.
즉, 콘텍트 렌즈가 진열된 렌즈 진열판의 상부에 홍채 패턴이 형성되고, 또 렌즈 진열판과 홍채 패턴이 상호 이격된 관계로, 콘텍트 렌즈에 홍채가 투영된 상태를 정확하게 연출하지 못하는 한계성을 갖는다.That is, since iris patterns are formed on the upper part of the lens-screen plate on which the contact lenses are displayed and the lens-screen plate and the iris patterns are spaced apart from each other, there is a limit in that the state in which the iris is projected on the contact lens can not be accurately produced.
셋째, 상기 진열대는 그 특성상 휴대성이 없는 관계로 시설되지 아니한 가정 등지에서 착용자가 콘택트 렌즈를 직접 안구에 착용하지 아니한 상태에서는, 콘택트 렌즈의 착용상태를 간접적으로 확인하기 어렵고, 이에 따라 외출시 패턴이 다른 콘택트 렌즈들의 반복적인 교환 착용이 요구되는 문제점이 지적된다.Thirdly, since the display shelf is not portable due to its nature, it is difficult to indirectly confirm the wearing state of the contact lens in a state where the wearer does not wear the contact lens directly in the eye, It is pointed out that it is necessary to repeatedly replace these contact lenses.
상기한 문제점을 해소하기 위해 안출된 본 발명의 목적은, 과도한 시설투자비나 시간 및 공간 상의 제약없이 홍채 패턴이 투영된 콘택트 렌즈의 간접 착용 상태를 확인 가능하도록 한 콘택트 렌즈 케이스를 제공함에 있다.It is an object of the present invention, which is devised to solve the above problems, to provide a contact lens case in which an indirect wearing state of a contact lens on which an iris pattern is projected can be confirmed without excessive facility investment costs and time and space constraints.
상기한 목적은, 본 발명에서 제공되는 하기 구성에 의해 달성된다.The above object is achieved by the following constitutions provided in the present invention.
본 발명에 따른 콘택트 렌즈 케이스는,In the contact lens case according to the present invention,
상부 개방형의 수용공간이 요입되게 형성된 케이스 본체와;A case body formed so as to receive the upper openable receiving space;
상기 케이스 본체의 상부에 고정되어 수용공간을 밀폐하는 커버를 포함하여 구성되고,And a cover fixed to an upper portion of the case body to seal the accommodation space,
상기 수용공간의 바닥면에는 홍채 패턴이 형성된 홍채 패턴층이 형성되고, 상기 커버에는 콘택트 렌즈가 수용된 수용공간을 투영하는 투영부가 형성되어서,An iris pattern layer in which an iris pattern is formed is formed on a bottom surface of the accommodation space, and a projection portion for projecting a housing space in which a contact lens is accommodated is formed in the cover,
상기 커버에 형성된 투영부에, 수용공간의 바닥면에 형성된 홍채 패턴이 투영된 콘택트 렌즈가 투영되도록 구성한 것을 특징으로 한다.And the contact lens on which the iris pattern formed on the bottom surface of the accommodation space is projected is projected onto the projection part formed on the cover.
바람직하게는, 상기 홍채 패턴부가 형성되는 수용공간의 바닥면은 중앙부가 만곡지게 돌출된 반구형으로 이루어져, 반구형으로 제작된 콘택트 렌즈가 안착되어서, 콘택트 렌즈의 저면이 수용공간의 바닥면에 밀착되도록 구성한다.Preferably, the bottom surface of the receiving space in which the iris pattern unit is formed is hemispherical in shape with a central portion protruding curvature so that a semi-spherical contact lens is seated, so that the bottom surface of the contact lens is closely attached to the bottom surface of the accommodation space do.
보다 바람직하게는, 상기 홍채 패턴부는 수용공간의 바닥면 저면에 인쇄를 통해 형성되어, 수용공간에 충입된 보관액에 의해 홍채 패턴부의 손상이 예방되도록 구성한다.More preferably, the iris pattern portion is formed on the bottom surface of the bottom surface of the receiving space by printing so as to prevent the iris pattern portion from being damaged by the storing liquid filled in the receiving space.
그리고, 상기 수용공간의 바닥면은 반구형으로 구성되고, 상기 반구형으로 이루어진 수용공간의 바닥면 가장자리에는 이탈 방지링을 돌출되게 형성되어서, 상기 수용공간에 수용되는 콘텍트 렌즈는, 수용공간의 바닥면 가장자리에 형성된 이탈 방지링에 의해 지지되어 수용공간의 정위치에 위치하도록 구성된다.The bottom surface of the accommodating space is hemispherical, and a separation preventing ring is formed to protrude from a bottom surface of the hemispherical receiving space. The contact lens accommodated in the accommodating space has a bottom edge Preventing ring formed in the receiving space.
또한, 상기 케이스 본체에는 수용공간과 연통하는 수위 조절구와; 상기 수위 조절구를 따라 진퇴하는 수위 조절부재가 설치되어서, 상기 수위 조절부재를 통해 수용공간에 주입된 보관액의 수위를 임의 조절 할 수 있도록 한다.In addition, the case main body may include a water level control port communicating with the accommodation space; A water level adjusting member is provided to move back and forth along the water level adjusting member so that the level of the storage liquid injected into the receiving space can be arbitrarily adjusted through the water level adjusting member.
전술한 바와 같이 본 발명에서는, 휴대 보관성이 확보된 콘택트 렌즈 케이스에 홍채 패턴부와 투영부를 각각 형성하여, 별도의 시설없이도 착용자가 홍채패턴이 투영된 콘택트 렌즈를 확인할 수 있도록 하고 있다.As described above, according to the present invention, the iris pattern portion and the projection portion are formed on the contact lens case, in which the portable storage property is ensured, so that the wearer can confirm the contact lens on which the iris pattern is projected without using a separate facility.
이와 같이 구성하면, 과도한 시설투자비나 시간 및 공간 상의 제약없이 홍채 패턴이 투영된 콘택트 렌즈의 간접 착용 상태를 확인 가능하다.With this configuration, the indirect wearing state of the contact lens on which the iris pattern is projected can be confirmed without excessive facility investment, time, and space limitation.
특히, 본 발명에서는 상기 홍채 패턴부가 형성되는 수용공간 바닥면의 형상을 안구의 곡률과 유사한 반구형으로 구성하여 콘택트 렌즈의 안정적인 밀착을 도모하고 있으며, 또 이탈 방지링을 형성하여서 수용공간 바닥면에 안착되는 콘택트 렌즈가 정위치에 안착되도록 함으로써, 보다 홍채 패턴이 투영된 콘택트 렌즈의 모양을 보다 정확히 확인할 수 있다.Particularly, in the present invention, the shape of the bottom of the receiving space in which the iris pattern is formed is formed in a hemispherical shape similar to the curvature of the eyeball, so that the contact lens is stably brought into close contact with the eye. The shape of the contact lens on which the iris pattern is projected can be confirmed more accurately.
도 1과 도 2는 본 발명에서 바람직한 실시예로 제안하고 있는 콘택트 렌즈 케이스의 전체 구성을 분해 사시도 및 분해 단면도이고,
도 3은 본 발명에서 바람직한 실시예로 제안하고 있는 콘택트 렌즈 케이스의 사용 상태를 보여주는 것이며,
도 4와 도 5는 본 발명에서 또 다른 실시예로 제안하고 있는 콘택트 렌즈 케이스의 전체 구성을 보여주는 것이다.1 and 2 are an exploded perspective view and an exploded cross-sectional view of the entire structure of a contact lens case proposed as a preferred embodiment of the present invention,
FIG. 3 shows the use state of the contact lens case proposed in the preferred embodiment of the present invention,
FIGS. 4 and 5 show the entire construction of a contact lens case proposed as yet another embodiment of the present invention.
이하, 첨부된 도면을 참조하여 본 발명에서 바람직한 실시예로 제안하고 있는 콘택트 렌즈 케이스를 상세히 설명하기로 한다.DETAILED DESCRIPTION OF THE PREFERRED EMBODIMENTS Reference will now be made in detail to the preferred embodiments of the present invention, examples of which are illustrated in the accompanying drawings.
도 1과 도 2는 본 발명에서 바람직한 실시예로 제안하고 있는 콘택트 렌즈 케이스의 전체 구성을 분해 사시도 및 분해 단면도이고, 도 3은 본 발명에서 바람직한 실시예로 제안하고 있는 콘택트 렌즈 케이스의 사용 상태를 보여주는 것이며, 도 4와 도 5는 본 발명에서 또 다른 실시예로 제안하고 있는 콘택트 렌즈 케이스의 전체 구성을 보여주는 것이다.FIGS. 1 and 2 are an exploded perspective view and an exploded cross-sectional view of the entire structure of a contact lens case proposed as a preferred embodiment of the present invention. FIG. 3 is a perspective view showing the use state of the contact lens case proposed in the preferred embodiment of the present invention FIGS. 4 and 5 show the entire construction of the contact lens case proposed in another embodiment of the present invention.
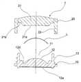
본 발명에서 바람직한 실시예로 제안하고 있는 콘택트 렌즈 케이스(1, 1')는, 도 1 내지 도 4에서 보는 바와 같이 상부 개방형의 수용공간(11)이 요입되게 형성된 케이스 본체(10)와; 상기 케이스 본체(10)의 상부에 고정되어 수용공간(11)을 밀폐하는 커버(20)를 포함한다.As shown in FIGS. 1 to 4, the
그리고, 상기 케이스 본체(10)의 외경면과 커버(20)의 내경면에는 체결부(13, 22)가 대응되게 형성되어, 커버(20)는 케이스 본체(10)의 상부에 체결을 통해 고정되어서 개방된 수용공간(11)을 밀폐하게 된다.The outer surface of the
따라서, 착용자는 케이스 본체(10)에 형성된 수용공간(11)에 적량의 식염수나 세척액 등의 보관액(W)을 충진한 다음 콘택트 렌즈(L)를 수용시켜서, 콘택트 렌즈(L)의 보관 및 휴대하게 된다.Therefore, the wearer can fill the
한편, 본 발명에서는 이러한 콘택트 렌즈 케이스(1, 1')를 구현함에 있어, 상기 수용공간(11)의 바닥면(12)에 홍채 패턴이 형성된 홍채 패턴부(12a, 12a')를 형성하여, 수용공간(11)에 수용된 콘택트 렌즈(L)에 홍채 패턴이 투영된 간접적인 착용상태를 확인할 수 있도록 한다.In the present invention, when the
이를 위해, 본 실시예에서는 상기 수용공간(11)의 바닥면(12)에 홍채 패턴이 형성된 홍채 패턴층(12a)을 형성하고, 상기 커버(20)에는 콘택트 렌즈(L)가 수용된 수용공간(11)을 투영하는 투영부(21)를 형성한다.In this embodiment, the
이때, 상기 커버(20)는 투명의 플라스틱 재질로 제작하여 투명의 투영부(21)가 일체로 형성되도록 구성하는 것이 바람직하며, 물론 커버에 불리 성형된 투영부를 설치하는 것도 가능하다.At this time, it is preferable that the
이러한 구성에 의해, 상기 커버(20)에 형성된 투영부(21)에는 수용공간(11)의 바닥면(12)에 형성된 홍채 패턴부(12a)의 홍채패턴이 투영된 콘택트 렌즈(L)가 투영되고, 결과적으로 착용자는 콘택트 렌즈를 직접 착용하지 아니하고도 투영부에 투영된 콘택트 렌즈의 모양을 통해 콘택트 렌즈의 착용상태를 간접적으로 확인할 수 있다.The contact lens L on which the iris pattern of the
그리고, 바람직한 실시예를 보여주는 도 1 내지 도 3에서는 상기 수용공간(11)의 바닥면(12) 저면에 홍채 패턴을 인쇄하여 케이스 본체(10)의 저면에 홍채 패턴부(12a)를 형성하고 있으며, 이와 같이 구성하면 수용공간(11)에 충입된 보관액(W)에 의한 홍채 패턴부(12a)의 훼손, 또 훼손된 홍채 패턴부에 의한 콘택트 렌즈의 오염이 예방될 수 있다.1 to 3 showing a preferred embodiment, an iris pattern is printed on the
그리고, 또 다른 실시예를 보여주는 도 4에서는 상기 수용공간(11)의 바닥면(12)에는 슬롯홈(12b)을 형성하고 상기 슬롯홈(12b)에 홍채 패턴이 인쇄된 홍채 패턴지(12c)를 삽입시켜서, 수용공간의 바닥면(12)에 홍채 패턴지(12c)로 이루어진 홍채 패턴부(12a')를 형성하고 있다.4 showing another embodiment, a
이와 같이 구성하면, 다양한 홍채패턴이 인쇄된 홍채 패턴지(12c)를 삽입홈(12b)에 삽입시켜서, 다양한 모양의 홍채 패턴부(12a')를 수용공간 바닥면(12)에 형성하는 것이 가능하다.With this configuration, it is possible to form
따라서, 착용자는 도 3에서 보는 바와 같이 자신의 홍채 패턴과 유사한 색상이나 모양의 홍채 패턴이 인쇄된 홍채 패턴지(12c)를 콘택트 렌즈 케이스(10)의 삽입홈(12b)에 삽입하고, 이를 통해 콘택트 렌즈(L)의 간접 착용상태를 보다 정확히 확인할 수 있다.3, the wearer inserts the
한편, 본 발명에 따른 콘택트 렌즈 케이스(1)는 홍채 패턴부(12a)와 콘택트 렌즈(L)의 투영된 상을 확인하도록 구성된 관계로, 수용공간의 바닥면(12)과 콘택트 렌즈(L)의 안정된 밀착이 이루어지도록 하는 것이 바람직하다.The
이를 위해, 본 실시예에서는 상기 홍채 패턴부(12a)가 형성되는 수용공간의 바닥면(12)을 중앙부가 만곡지게 돌출된 반구형으로 구성하여, 반구형으로 이루어진 콘택트 렌즈(L)의 저면이 수용공간의 바닥면(12)에 안정되게 밀착되도록 안착되도록 한다.To this end, in the present embodiment, the
또한, 상기 반구형으로 이루어진 수용공간(11)의 바닥면(12)의 가장자리에는 이탈 방지링(12d)을 돌출되게 형성하여, 이탈 방지링(12d)에 의한 지지에 의해 수용공간(11)의 바닥면(12)에 콘택트 렌즈(L)의 이탈이 방지되도록 한다.A
따라서, 상기 케이스 본체(10)의 수용공간(11)에 수용된 콘택트 렌즈(L)는 도 3b와 같이 수용공간의 바닥면(12) 형상과 이탈 방지링(12d)에 의한 가장자리의 지지에 의해, 수용공간의 바닥면에 안정되게 밀착된 상태로 정위치에 위치하게 된다.3B, the shape of the
그리고, 상기 케이스 본체(10)에 식염수 등의 보관액(W)과 콘택트 렌즈(L)를 충입 또는 수용한 다음 커버(20)를 닫게 되면, 커버(20)의 저면과 보관액(W) 사이에는 공기(A)가 잔류하게 되고, 이러한 공기(A)에 의해 굴절현상이 발생되어 커버에 형성된 투영부(21)를 통해 홍채 패턴이 투영된 콘택트 렌즈(L)의 외관이나 모양을 정밀하게 확인하기 어렵다.When the
이를 고려하여, 본 발명에서는 상기 커버(20)에 형성된 투영부(21)의 저면에는 투영블럭(21a)이 하향 돌출되게 형성되고, 상기 투영블럭(21a)의 가장자리에는 공기 충입홈(21d)이 상향 요입되게 형성하고 있다.In consideration of this, in the present invention, the
이에 따라, 도 3b와 같이 상기 케이스 본체(10)에 식염수 등의 보관액(W)과 콘택트 렌즈(L)를 충입 또는 수용한 다음 커버(20)를 닫게 되면, 상대적으로 위상이 낮은 투영블럭(21a)은 보관액(W)과 안정되게 밀착(함침)되고, 또 보관액(W)과 커버(20) 사이에 잔류된 공기(A)는 보관액과의 비중차에 의해 상대적으로 위상이 높은 공기 충입홈(21b)에 충입되므로, 투영부(21)에 형성된 투영블럭(21a)과 보관액(W)의 안정된 밀착상태가 형성될 수 있다.3B, when the
그리하여, 본 발명은 보관액과 커버에 형성된 투영부 사이에 공기가 잔류하여 굴절현상이 발생되는 것이 예방되므로, 착용자는 커버에 형성된 투영부를 통해 홍채 패턴이 투영된 콘택트 렌즈의 외관을 정확하게 확인할 수 있다.Thus, since the air is prevented from remaining between the storage liquid and the projection part formed on the cover, the wearer can accurately confirm the appearance of the contact lens on which the iris pattern is projected through the projection part formed on the cover .
이와 더불어, 본 발명에서는 도 5에서 보는 바와 같이 상기 케이스 본체에 수위 조절구조를 형성하여, 케이스 본체의 수용공간에 주입된 보관액의 량에 따라 보관액의 수위가 탄력적으로 조절되어서, 케이스 본체와 커버의 체결과정에 보관액이 외부로 누수되는 현상이 예방되도록 한다.In addition, according to the present invention, as shown in FIG. 5, a water level adjusting structure is formed in the case body, and the water level of the storing liquid is elastically adjusted according to the amount of the storing liquid injected into the receiving space of the case body, So that the leakage of the storage liquid to the outside during the fastening of the cover is prevented.
상기 수위 조절구조는, 도 5에서 보는 바와 같이 수위 조절구(14)와, 상기 수위 조절구(14)를 따라 승강하여 수용공간(11)의 체적을 탄력적으로 가변하는 수위 조절부(15)를 포함하며, 상기 수위 조절부(15)는 외벽에 기밀링이 형성된 승강 밀폐부재(15a)와, 상기 승강 밀폐부재(15a)를 탄지하는 스프링(15b), 및 상기 스프링(15b)의 지지력을 조절하는 조절볼트(15c)를 포함한다.As shown in FIG. 5, the water level control structure includes a
따라서, 수용공간(11) 내에 다량의 보관액이 주입되면 승강 밀폐부재(15a)는 하강하여 수용공간(11)의 체적을 상승시켜서, 기준량 보다 많이 주입된 보관액이 외부로 누수되는 것을 억제하고, 결과적으로 케이스 본체와 커버의 체결과정에 보관액이 외부로 누수되는 현상이 예방된다.Therefore, when a large amount of the storage liquid is injected into the
또한, 필요에 따라 상기 조절볼트(15c)를 통해 승강 밀폐부재(15a)를 하강시킨 상태에서, 보관액이 주입된 케이스 본체(10)와 커버(20)의 조립을 완료한 다음 조절볼트(15c)의 체결을 통해 하강된 승강 밀폐부재(15a)를 소정의 높이로 상승시켜서, 수용공간(11)에 주입된 보관액의 수위를 일정하게 조절하는 것도 가능하다.
When the
1. 콘택트 렌즈 케이스
10. 케이스 본체 11. 수용공간
12. 바닥면 12a. 홍채 패턴부
12b. 삽입홈 12c. 홍채 패턴지
12d. 이탈 방지링 13. 체결부
14. 수위 조절구 15. 수위 조절부
15a. 승강 밀폐부재 15b. 탄지 스프링
15c. 조절볼트
20. 커버 21. 투영부
21a. 투영블럭 21b. 공기 충입홈
22. 체결부
L. 콘택트 렌즈 W. 보관액
A. 공기1. Contact Lens Case
10.
12.
12b. The
12d.
14. Water
15a. The lifting and
15c. Adjusting bolt
20.
21a.
22. Coupling part
L. Contact Lens W. Storage
A. Air
| Application Number | Priority Date | Filing Date | Title |
|---|---|---|---|
| KR20130114083AKR101495874B1 (en) | 2013-09-25 | 2013-09-25 | Contact Lens Case |
| Application Number | Priority Date | Filing Date | Title |
|---|---|---|---|
| KR20130114083AKR101495874B1 (en) | 2013-09-25 | 2013-09-25 | Contact Lens Case |
| Publication Number | Publication Date |
|---|---|
| KR101495874B1true KR101495874B1 (en) | 2015-02-25 |
| Application Number | Title | Priority Date | Filing Date |
|---|---|---|---|
| KR20130114083AExpired - Fee RelatedKR101495874B1 (en) | 2013-09-25 | 2013-09-25 | Contact Lens Case |
| Country | Link |
|---|---|
| KR (1) | KR101495874B1 (en) |
| Publication number | Priority date | Publication date | Assignee | Title |
|---|---|---|---|---|
| KR20160003659U (en)* | 2015-04-14 | 2016-10-24 | 주식회사 렌즈미 | Contact lens display device for mounting A plurality of clear lenscase for display and clear lenscase for display used therefor |
| KR20190025441A (en)* | 2017-09-01 | 2019-03-11 | 주식회사 스타비젼 | wet type display case for color contact lens sample |
| US12187522B2 (en) | 2023-01-13 | 2025-01-07 | Johnson & Johnson Vision Care, Inc. | Contact lens packages having an absorbent member |
| USD1061023S1 (en) | 2022-06-21 | 2025-02-11 | Johnson & Johnson Vision Care, Inc. | Contact lens package |
| USD1062223S1 (en) | 2022-06-21 | 2025-02-18 | Johnson & Johnson Vision Care, Inc. | Contact lens package |
| US12414615B2 (en) | 2020-12-13 | 2025-09-16 | Johnson & Johnson Vision Care, Inc. | Contact lens packages and methods of opening |
| Publication number | Priority date | Publication date | Assignee | Title |
|---|---|---|---|---|
| JPH10313928A (en)* | 1997-05-23 | 1998-12-02 | Hoya Corp | Contact lens storage vessel |
| KR200292899Y1 (en)* | 2002-07-15 | 2002-10-25 | 이무석 | a custody case for contact lens |
| JP2010510829A (en)* | 2007-04-02 | 2010-04-08 | ドンウォン カン | Contact lens storage case |
| KR200463014Y1 (en)* | 2012-05-03 | 2012-10-16 | 송민섭 | Lens Display Stand and Showcase |
| Publication number | Priority date | Publication date | Assignee | Title |
|---|---|---|---|---|
| JPH10313928A (en)* | 1997-05-23 | 1998-12-02 | Hoya Corp | Contact lens storage vessel |
| KR200292899Y1 (en)* | 2002-07-15 | 2002-10-25 | 이무석 | a custody case for contact lens |
| JP2010510829A (en)* | 2007-04-02 | 2010-04-08 | ドンウォン カン | Contact lens storage case |
| KR200463014Y1 (en)* | 2012-05-03 | 2012-10-16 | 송민섭 | Lens Display Stand and Showcase |
| Publication number | Priority date | Publication date | Assignee | Title |
|---|---|---|---|---|
| KR20160003659U (en)* | 2015-04-14 | 2016-10-24 | 주식회사 렌즈미 | Contact lens display device for mounting A plurality of clear lenscase for display and clear lenscase for display used therefor |
| KR200483506Y1 (en)* | 2015-04-14 | 2017-05-23 | 주식회사 렌즈미 | Contact lens display device for mounting A plurality of clear lenscase for display and clear lenscase for display used therefor |
| KR20190025441A (en)* | 2017-09-01 | 2019-03-11 | 주식회사 스타비젼 | wet type display case for color contact lens sample |
| KR102066710B1 (en)* | 2017-09-01 | 2020-01-15 | 주식회사 스타비젼 | wet type display case for color contact lens sample |
| US12414615B2 (en) | 2020-12-13 | 2025-09-16 | Johnson & Johnson Vision Care, Inc. | Contact lens packages and methods of opening |
| USD1061023S1 (en) | 2022-06-21 | 2025-02-11 | Johnson & Johnson Vision Care, Inc. | Contact lens package |
| USD1062223S1 (en) | 2022-06-21 | 2025-02-18 | Johnson & Johnson Vision Care, Inc. | Contact lens package |
| US12187522B2 (en) | 2023-01-13 | 2025-01-07 | Johnson & Johnson Vision Care, Inc. | Contact lens packages having an absorbent member |
| Publication | Publication Date | Title |
|---|---|---|
| KR101495874B1 (en) | Contact Lens Case | |
| US20250271688A1 (en) | Fluidic module for accommodating soft contact lens | |
| JP6323726B2 (en) | Cream type cosmetic container with vacuum pump | |
| ES2365119T3 (en) | CASE TO KEEP AND KEEP CONTACT LENSES. | |
| US5099987A (en) | Combination contact lens case and inspection unit | |
| US12197047B2 (en) | Contact lens | |
| CA2542425A1 (en) | Contact lens case | |
| JP4540345B2 (en) | Contact lens package | |
| US20090004244A1 (en) | Iris design as a drug depot for zonal drug delivery by contact lens | |
| CN106389002B (en) | A kind of dropping liquid bottle neck and eyedrops bottle | |
| US8770743B2 (en) | Eyewear | |
| CN206541077U (en) | A kind of VR fixing devices | |
| KR200490803Y1 (en) | Container for storing and displaying contact lenses | |
| KR20140003482U (en) | Contact lens | |
| KR20160062637A (en) | ease-to-use container for eye drops | |
| KR102020362B1 (en) | Case for Storaging Contact Lens | |
| CN209765198U (en) | Glasses with illuminating lamp | |
| KR20180089079A (en) | Smart tumbler having screen | |
| KR20200022420A (en) | liquid vessel | |
| KR20200028838A (en) | Liquid medicine dispenser | |
| KR102417683B1 (en) | Contact lens case | |
| KR200449457Y1 (en) | Brush Cosmetic Container | |
| KR100876419B1 (en) | Contact lens storage case | |
| KR200418795Y1 (en) | Eyeshadow Container | |
| KR101357884B1 (en) | Case for contact lens storage |
| Date | Code | Title | Description |
|---|---|---|---|
| PA0109 | Patent application | St.27 status event code:A-0-1-A10-A12-nap-PA0109 | |
| PA0201 | Request for examination | St.27 status event code:A-1-2-D10-D11-exm-PA0201 | |
| R18-X000 | Changes to party contact information recorded | St.27 status event code:A-3-3-R10-R18-oth-X000 | |
| PE0902 | Notice of grounds for rejection | St.27 status event code:A-1-2-D10-D21-exm-PE0902 | |
| P11-X000 | Amendment of application requested | St.27 status event code:A-2-2-P10-P11-nap-X000 | |
| P13-X000 | Application amended | St.27 status event code:A-2-2-P10-P13-nap-X000 | |
| PE0701 | Decision of registration | St.27 status event code:A-1-2-D10-D22-exm-PE0701 | |
| GRNT | Written decision to grant | ||
| PR0701 | Registration of establishment | St.27 status event code:A-2-4-F10-F11-exm-PR0701 | |
| PR1002 | Payment of registration fee | St.27 status event code:A-2-2-U10-U11-oth-PR1002 Fee payment year number:1 | |
| PG1601 | Publication of registration | St.27 status event code:A-4-4-Q10-Q13-nap-PG1601 | |
| PN2301 | Change of applicant | St.27 status event code:A-5-5-R10-R13-asn-PN2301 St.27 status event code:A-5-5-R10-R11-asn-PN2301 | |
| R18-X000 | Changes to party contact information recorded | St.27 status event code:A-5-5-R10-R18-oth-X000 | |
| P22-X000 | Classification modified | St.27 status event code:A-4-4-P10-P22-nap-X000 | |
| LAPS | Lapse due to unpaid annual fee | ||
| PC1903 | Unpaid annual fee | St.27 status event code:A-4-4-U10-U13-oth-PC1903 Not in force date:20180217 Payment event data comment text:Termination Category : DEFAULT_OF_REGISTRATION_FEE | |
| P22-X000 | Classification modified | St.27 status event code:A-4-4-P10-P22-nap-X000 | |
| PC1903 | Unpaid annual fee | St.27 status event code:N-4-6-H10-H13-oth-PC1903 Ip right cessation event data comment text:Termination Category : DEFAULT_OF_REGISTRATION_FEE Not in force date:20180217 |