





실시 예는 액정표시장치에 관한 것이다.The embodiment relates to a liquid crystal display device.
정보화 사회가 발전함에 따라 화상을 표시하기 위한 표시장치에 대한 요구가 다양한 형태로 증가되고 있다. 종래의 음극선관 표시장치(CRT)에 비해 박형, 경량화된 액정표시장치(LCD), 플라즈마표시장치(PDP) 또는 유기전계발광소자(OLED)를 포함하는 평판표시장치가 활발하게 연구 및 제품화되고 있다. 이 중에서 액정표시장치는 소형화, 경량화, 박형화 및 저전력 구동의 장점이 있어 현재 널리 사용되고 있다.As the information society develops, the demand for display devices for displaying images is increasing in various forms. A flat panel display device including a thin liquid crystal display (LCD), a plasma display (PDP) or an organic electroluminescent device (OLED) which is thinner and lighter than a conventional cathode ray tube display (CRT) has been actively researched and commercialized . Of these, liquid crystal display devices are widely used today because of their advantages of miniaturization, light weight, thinness, and low power driving.
최근의 액정표시장치는 박형화 및 경량화를 위해 액정표시패널과 백라이트 유닛 사이에 가이드 패널을 생략하고, 바텀 커버에 액정표시패널 및 커버 글라스를 부착하는 방법이 개발되고 있다.In recent liquid crystal display devices, a guide panel is omitted between a liquid crystal display panel and a backlight unit for thinning and lightening, and a method of attaching a liquid crystal display panel and a cover glass to a bottom cover has been developed.
상기 액정표시패널 및 커버 글라스를 바텀 커버에 부착하기 위해서 차광 테이프 또는 접착제가 사용되는데, 차광 테이프의 경우 베젤을 축소하기 위해 부착영역이 좁아져 부착 신뢰도가 떨어지는 단점이 있고, 접착제의 경우 외부 토출을 방지하기 위한 측벽이 필요해 베젤 축소를 구현하기 힘든 문제점이 있다.In order to attach the liquid crystal display panel and the cover glass to the bottom cover, a light-shielding tape or an adhesive is used. In the case of the light-shielding tape, there is a disadvantage in that the mounting area is narrowed in order to reduce the bezel, There is a problem that it is difficult to reduce the bezel.
실시 예는 베젤을 줄이고, 커버 글라스의 접착 안정성을 보장하는 액정표시장치를 제공한다.The embodiment provides a liquid crystal display device which reduces a bezel and ensures adhesion stability of a cover glass.
실시 예에 따른 액정표시장치는, 액정표시패널; 상기 액정표시패널의 상부에 위치하는 커버 글라스; 상기 액정표시패널의 하부에 위치하여 상기 액정표시패널로 광을 제공하는 백라이트 유닛; 상기 백라이트 유닛과 상기 액정표시패널을 부착시키는 제1 접착부재; 및 상기 백라이트 유닛을 수납하는 바텀 커버를 포함하고, 상기 커버 글라스의 가장자리는 상기 바텀 커버 방향으로 연장되어 상기 제1 접착부재에 의해 상기 바텀 커버와 부착된다.A liquid crystal display device according to an embodiment includes a liquid crystal display panel; A cover glass disposed on an upper portion of the liquid crystal display panel; A backlight unit positioned below the liquid crystal display panel and providing light to the liquid crystal display panel; A first adhesive member for attaching the backlight unit and the liquid crystal display panel; And a bottom cover for accommodating the backlight unit, wherein an edge of the cover glass extends in the direction of the bottom cover and is attached to the bottom cover by the first adhesive member.
실시 예에 따른 액정표시장치는 커버 글라스를 절곡하여 액정패널과 백라이트 유닛을 접착시키는 부재를 이용하여 바텀 커버에 부착시킴으로써 차광 테이프 또는 접착제 부착공정을 줄일 수 있어 베젤을 축소시키고, 접착 안정성을 보장할 수 있다.The liquid crystal display according to the embodiment can reduce the process of adhering the light-shielding tape or the adhesive by attaching the cover glass to the bottom cover by bending the cover glass and using a member for bonding the liquid crystal panel and the backlight unit to reduce the bezel, .
도 1은 제1 실시 예에 따른 액정표시장치를 나타낸 분해 사시도이다.
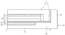
도 2는 제1 실시 예에 따른 액정표시장치를 A-A'를 따라 절단한 단면도이다.
도 3은 제2 실시 예에 따른 액정표시장치를 A-A'를 따라 절단한 단면도이다.
도 4는 제3 실시 예에 따른 액정표시장치를 A-A'를 따라 절단한 단면도이다.
도 5는 제4 실시 예에 따른 액정표시장치를 A-A'를 따라 절단한 단면도이다.
도 6은 제5 실시 예에 따른 액정표시장치를 A-A'를 따라 절단한 단면도이다.1 is an exploded perspective view showing a liquid crystal display device according to a first embodiment.
 2 is a cross-sectional view of the liquid crystal display according to the first embodiment taken along line A-A '.
 3 is a cross-sectional view of the liquid crystal display according to the second embodiment taken along line A-A '.
 4 is a cross-sectional view of the liquid crystal display according to the third embodiment taken along line A-A '.
 5 is a cross-sectional view of the liquid crystal display device according to the fourth embodiment taken along line A-A '.
 6 is a cross-sectional view of the liquid crystal display according to the fifth embodiment taken along line A-A '.
실시 예에 따른 액정표시장치는, 액정표시패널; 상기 액정표시패널의 상부에 위치하는 커버 글라스; 상기 액정표시패널의 하부에 위치하여 상기 액정표시패널로 광을 제공하는 백라이트 유닛; 상기 백라이트 유닛과 상기 액정표시패널을 부착시키는 제1 접착부재; 및 상기 백라이트 유닛을 수납하는 바텀 커버를 포함하고, 상기 커버 글라스의 가장자리는 상기 바텀 커버 방향으로 연장되어 상기 제1 접착부재에 의해 상기 바텀 커버와 부착된다.A liquid crystal display device according to an embodiment includes a liquid crystal display panel; A cover glass disposed on an upper portion of the liquid crystal display panel; A backlight unit positioned below the liquid crystal display panel and providing light to the liquid crystal display panel; A first adhesive member for attaching the backlight unit and the liquid crystal display panel; And a bottom cover for accommodating the backlight unit, wherein an edge of the cover glass extends in the direction of the bottom cover and is attached to the bottom cover by the first adhesive member.
상기 커버 글라스는, 상기 액정표시패널과 평행하는 제1 영역; 및 상기 액정표시패널과 수직하는 제2 영역을 포함하고, 상기 제2 영역의 일 측은 상기 제1 접착부재에 부착될 수 있다.Wherein the cover glass comprises: a first region parallel to the liquid crystal display panel; And a second region perpendicular to the liquid crystal display panel, and one side of the second region may be attached to the first bonding member.
상기 커버 글라스와 상기 액정표시패널을 부착시키는 제2 접착부재를 더 포함할 수 있다.And a second adhesive member for attaching the cover glass and the liquid crystal display panel.
상기 제1 접착부재는 상기 바텀커버의 상면으로 연장될 수 있다.The first adhesive member may extend to an upper surface of the bottom cover.
상기 바텀 커버는, 상기 백라이트 유닛 하부의 제1 지지부; 및 상기 제1 지지부와 단차를 가지는 제2 지지부를 포함하고, 상기 제1 접착부재는 상기 제2 지지부까지 연장될 수 있다.The bottom cover may include: a first supporting portion under the backlight unit; And a second support portion having a step with the first support portion, and the first adhesive member may extend to the second support portion.
상기 바텀 커버는, 상기 제2 지지부로부터 수직방향으로 연장되는 제3 지지부를 더 포함할 수 있다.The bottom cover may further include a third support portion extending in a vertical direction from the second support portion.
상기 제3 지지부는 상기 커버 글라스에 부착될 수 있다.The third support portion may be attached to the cover glass.
상기 커버 글라스는 상기 제2 영역으로부터 절곡되어 상기 액정표시패널 방향으로 연장되는 제3 영역을 더 포함하고, 상기 제3 영역은 상기 제1 접착부재에 접착될 수 있다.The cover glass may further include a third region that is bent from the second region and extends toward the liquid crystal display panel, and the third region may be adhered to the first adhesive member.
상기 커버 글라스는 상기 제2 영역으로부터 절곡되어 상기 액정표시패널의 반대 방향으로 연장되는 제4 영역을 더 포함하고, 상기 제4 영역은 상기 제1 접착부재에 접착될 수 있다.The cover glass may further include a fourth region bent from the second region and extending in a direction opposite to the liquid crystal display panel, and the fourth region may be bonded to the first adhesive member.
상기 백라이트 유닛은 상기 제1 지지부와 제2 지지부의 단차에 의해 고정될 수 있다.The backlight unit may be fixed by a step between the first support part and the second support part.
상기 제1 접착부재 및 제2 접착부재는 투명한 양면 테이프일 수 있다.The first adhesive member and the second adhesive member may be a transparent double-sided tape.
상기 제2 영역은 상기 바텀커버와 제3 접착부재에 의해 접착될 수 있다.The second region may be adhered by the bottom cover and the third adhesive member.
도 1은 제1 실시 예에 따른 액정표시장치를 나타낸 분해 사시도이고, 도 2는 제1 실시 예에 따른 액정표시장치를 A-A'를 따라 절단한 단면도이다.FIG. 1 is an exploded perspective view showing a liquid crystal display device according to a first embodiment, and FIG. 2 is a sectional view taken along line A-A 'of a liquid crystal display device according to a first embodiment.
도 1 및 도 2를 참조하면 제1 실시 예에 따른 액정표시장치는 화상을 표시하는 액정표시패널(10), 상기 액정표시패널(10)의 상부에 배치되어 상기 액정표시패널(10)을 보호하는 커버 글라스(1), 상기 액정표시패널(10)의 하부에 배치되어 광을 제공하는 백라이트 유닛(20) 및 상기 백라이트 유닛(20)을 수납하는 바텀 커버(70)를 포함한다.1 and 2, the liquid crystal display according to the first embodiment includes a liquid
상기 커버 글라스(1)는 상기 액정표시패널(10)의 상면의 전영역을 덮으며 형성될 수 있다. 상기 커버 글라스(1)는 상기 액정표시패널(10)을 보호함과 동시에 외부로부터의 접촉을 감지하는 터치 패널의 역할을 할 수 있다.The
상기 액정표시패널(10)은 박막 트랜지스터 기판(11), 상기 박막 트랜지스터(12)와 대향하는 컬러필터 기판(12) 상기 박막 트랜지스터 기판(11)과 상기 컬러필터 기판(12) 사이에 개재되는 액정층(미도시)을 포함할 수 있다.The liquid
상기 박막 트랜지스터 기판(11)에는 다수의 게이트 라인 및 상기 게이트 라인과 교차하는 다수의 데이터 라인이 형성될 수 있다. 상기 게이트 라인 및 상기 데이터 라인에 의해 화소 영역이 정의될 수 있다. 상기 화소 영역에는 박막 트랜지스터가 형성될 수 있다.The thin
상기 박막 트랜지스터 기판(11)의 가장자리에는 상기 게이트 라인에 게이트 신호를 공급하는 게이트 PCB(13) 및 상기 데이터 라인에 데이터 전압을 공급하는 데이터 PCB(15)가 형성될 수 있다.A
상기 게이트 PCB(13) 및 데이터 PCB(15)와 상기 박막 트랜지스터 기판(11) 사이에는 다수의 연성회로기판(Flexible printed circuit, 17)이 형성될 수 있다.A plurality of flexible printed
상기 게이트 PCB(13)는 상기 연성회로기판(17)을 통해 상기 게이트 라인과 연결될 수 있고, 상기 데이터 PCB(15)는 상기 연성회로기판(17)을 통해 상기 데이터 라인과 연결될 수 있다. 상기 연성회로기판(17)에는 드라이버 IC가 실장될 수 있다. 상기 드라이버 IC는 게이트 드라이버 또는 데이터 드라이버일 수 있다.The gate PCB 13 may be connected to the gate line via the
상기 백라이트 유닛(20)은 광학시트(30), 도광판(40), 광원(50) 및 반사시트(60)를 포함할 수 있다.The backlight unit 20 may include an
상기 광학 시트(30)는 상기 액정표시패널(10)과 상기 도광판(40) 사이에 위치하여 상기 광원(50)으로부터의 광을 확산 및 집광시켜 상기 액정표시패널(10)로 전달한다. 상기 광학 시트(30)는 프리즘 시트, 확산시트 등을 포함할 수 있다.The
상기 광원(50)은 인쇄회로기판(51) 및 상기 인쇄회로기판(51) 상에 실장된 다수의 LED(53)를 포함할 수 있다. 상기 다수의 LED(53)는 상기 인쇄회로기판(51)에 의해 구동전압을 공급받아 발광한다.The
상기 도광판(40)은 상기 광원(50)으로부터 입사된 광을 면광원으로 변환하여 상기 액정표시패널(10)로 광을 제공할 수 있다. 상기 도광판(40)은 PMMA(poly methyl methacrylate) 재질로 형성될 수 있다.The
상기 반사시트(60)는 상기 도광판(40)과 상기 바텀 커버(70) 사이에 위치할 수 있다. 상기 반사시트(60)는 상기 반사시트(60)로 입사되는 광을 반사하여 상기 도광판(40)을 통해 상기 액정표시패널(10)로 전달한다.The
상기 바텀 커버(70)는 제1 지지부(71) 및 제2 지지부(72)를 포함할 수 있다. 상기 제2 지지부(72)는 상기 제1 지지부(71)를 둘러싸는 영역에 형성되고, 상기 제2 지지부(72)는 상기 제1 지지부(71)와 단차를 가지도록 상기 제1 지지부(71)보다 두꺼운 두께로 형성될 수 있다. 상기 제1 지지부(71) 및 제2 지지부(72)는 일체로 형성될 수 있다.The
상기 백라이트 유닛(20)은 상기 제1 지지부(71) 상에 수납되고, 상기 제2 지지부(72)는 상기 제1 지지부(71)와 단차를 통해 상기 백라이트 유닛(20)의 좌우유동을 방지할 수 있다.The backlight unit 20 is accommodated on the
상기 백라이트 유닛(20)과 상기 액정표시패널(10)은 제1 접착부재(80)에 의해 부착될 수 있다. 상기 제1 접착부재(80)는 투명한 양면 테이프일 수 있다. 또는 상기 제1 접착부재(80)는 접착력을 가지는 레진일 수 있다. 상기 제1 접착부재(80)는 상기 백라이트 유닛(20)으로부터 상기 액정표시패널(10)로 조사되는 광을 투과할 수 있다.The backlight unit 20 and the liquid
상기 제1 접착부재(80)는 상기 백라이트 유닛(20)의 상부 전면에 형성될 수 있다. 상기 제1 접착부재(80)는 상기 박막 트랜지스터 기판(11) 및 상기 광학시트(30) 사이에 위치할 수 있다.The first
상기 제1 접착부재(80)는 상기 액정표시패널(10)보다 큰 면적을 가질 수 있다. 상기 제1 접착부재(80)는 상기 제2 지지부(72)의 상면으로 연장될 수 있다. 상기 제1 접착부재(80)의 하면은 상기 광학시트(80)의 상면 및 상기 제2 지지부(72)의 상면과 부착될 수 있다.The first
상기 커버 글라스(1)는 상기 액정표시패널(10)과 평행하는 제1 영역(2)과 상기 액정표시패널(10)과 수직하는 제2 영역(3)을 포함할 수 있다. 상기 제2 영역(3)은 상기 제1 영역(2)에 대해 절곡되어 형성될 수 있다. 상기 제1 영역(2) 및 제2 영역(3)은 일체로 형성될 수 있다. 도시하지 않았지만 상기 커버 글라스(1)의 제1 영역(2)을 감싸는 네 모서리가 모두 절곡되어 제2 영역(3)을 형성할 수 있다.The
상기 커버 글라스(1) 및 상기 액정표시패널(10)은 제2 접착부재(82)에 의해 부착될 수 있다. 상기 제2 접착부재(82)는 투명한 양면 테이프일 수 있다. 또는 상기 제2 접착부재(82)는 접착력을 가지는 레진일 수 있다. 상기 제2 접착부재(82)는 상기 액정표시패널(10)로부터 상기 커버 글라스(1) 방향으로 조사되는 광을 투과할 수 있다.The
상기 제2 접착부재(82)는 상기 액정표시패널(10)의 상부 전면에 형성될 수 있다. 상기 제2 접착부재(82)는 상기 컬러필터 기판(12) 및 상기 커버 글라스(1) 사이에 위치할 수 있다.The
상기 제2 접착부재(82)는 상기 액정표시패널(10)과 대응되는 크기로 형성될 수 있다.The
상기 제2 접착부재(82)는 상기 커버 글라스(1)의 제1 영역(2)의 하면과 상기 컬러필터 기판(12)의 상면을 부착하는 역할을 할 수 있다.The
상기 커버 글라스(1)의 제2 영역(3)은 절곡되어 상기 제1 접착부재(80)의 상면에 도달하도록 연장될 수 있다. 다시 말해, 상기 제2 영역(3)의 일측면은 상기 제1 접착부재(80)의 상면에 부착될 수 있다. 상기 제2 영역(3)은 상기 제1 접착부재(80)의 상면에 부착되어 상기 커버 글라스(1)를 상기 바텀 커버(70)에 고정시킬 수 있다. 상기 제1 접착부재(80)의 상면은 상기 박막 트랜지스터 기판(11) 및 상기 커버 글라스(1)의 제2 영역(3)과 부착될 수 있다.The
상기 커버 글라스(1)를 상기 제1 접착부재(80)를 이용해 상기 바텀 커버(70)에 부착함으로써, 별도의 차광 테이프 또는 접착제를 생략할 수 있고, 접착제의 토출을 방지하기 위한 측벽 또한 생략할 수 있어 베젤을 축소할 수 있는 효과가 있다. 또한, 제1 접착부재(80)로 액정표시패널(10)과 커버 글라스(1)를 동시에 고정할 수 있어 공정 축소를 통해 제조단가 절감의 효과가 있다.By attaching the
도 3은 제2 실시 예에 따른 액정표시장치를 A-A'를 따라 절단한 단면도이다.3 is a cross-sectional view of the liquid crystal display according to the second embodiment taken along line A-A '.
제2 실시 예는 제1 실시 예와 비교하여 바텀 커버의 형상이 상이한 것 이외에는 동일하다. 따라서, 제2 실시 예를 설명함에 있어 제1 실시 예와 동일한 구성에 대해서는 동일한 도면번호를 부여하고 상세한 설명을 생략한다.The second embodiment is the same as the first embodiment except that the shape of the bottom cover is different. Therefore, in describing the second embodiment, the same reference numerals are assigned to the same components as those of the first embodiment, and a detailed description thereof is omitted.
도 3을 참조하면 제2 실시 예에 따른 액정표시장치는 커버 글라스(1), 액정표시패널(10), 광학 시트(30), 도광판(40), 반사 시트(60) 및 바텀 커버(70)를 포함할 수 있다.3, the liquid crystal display according to the second embodiment includes a
상기 커버 글라스(1)는 상기 액정표시패널(10)과 평행하는 제1 영역(2)과 상기 액정표시패널(10)과 수직하는 제2 영역(3)을 포함할 수 있다.The
상기 바텀 커버(70)는 제1 지지부(71), 제2 지지부(72) 및 제3 지지부(73)를 포함할 수 있다. 상기 제1 지지부(71)는 상기 반사시트(60) 하부에 형성되고, 상기 제2 지지부(72)는 상기 제1 지지부(71)를 둘러싸는 영역에 형성되고, 상기 제3 지지부(73)는 상기 제2 지지부(72)의 외곽 영역에 형성될 수 있다.The
상기 제2 지지부(72)는 상기 제1 지지부(71)와 단차를 가지도록 상기 제1 지지부(71)보다 두꺼운 두께로 형성될 수 있다. 상기 제3 지지부(73)는 상기 제2 지지부(72)로부터 절곡되어 형성될 수 있다. 상기 제3 지지부(73)는 상기 제1 지지부(71)와 수직하는 방향으로 연장될 수 있다. 상기 제3 지지부(73)는 상기 커버 글라스(1)의 제2 영역(3)과 평행하는 방향으로 형성될 수 있다.The
상기 제3 지지부(73)는 상기 커버 글라스(1)의 제1 영역(2)의 상면과 동일한 높이를 가지도록 연장될 수 있다. 상기 제3 지지부(73)는 상기 커버 글라스(1)의 상면과 동일한 높이를 가지도록 형성되어 측면에 의한 충격으로부터 상기 커버 글라스(1)를 보호할 수 있다.The
도시하지 않았지만, 상기 제3 지지부(73)와 상기 제2 영역(3) 사이에 접착 부재를 형성하여 상기 커버 글라스(3)과 상기 바텀 커버(70)의 접착력을 보다 강화하여 유동안정성을 보장할 수도 있다.Although not shown, an adhesive member is formed between the
도 4는 제3 실시 예에 따른 액정표시장치를 A-A'를 따라 절단한 단면도이다.4 is a cross-sectional view of the liquid crystal display according to the third embodiment taken along line A-A '.
제3 실시 예는 제1 실시 예와 비교하여 제3 접착부재를 부가한 것 이외에는 동일하다. 따라서, 제3 실시 예를 설명함에 있어 제1 실시 예와 동일한 구성에 대해서는 동일한 도면번호를 부여하고 상세한 설명을 생략한다.The third embodiment is the same as the first embodiment except that the third adhesive member is added. Therefore, in describing the third embodiment, the same reference numerals are assigned to the same components as those of the first embodiment, and a detailed description thereof is omitted.
도 4를 참조하면 제3 실시 예에 따른 액정표시장치는 커버 글라스(1), 액정표시패널(10), 광학 시트(30), 도광판(40), 반사 시트(60) 및 바텀 커버(70)를 포함할 수 있다.4, the liquid crystal display according to the third embodiment includes a
상기 커버 글라스(1)는 상기 액정표시패널(10)과 평행하는 제1 영역(2)과 상기 액정표시패널(10)과 수직하는 제2 영역(3)을 포함할 수 있다.The
상기 바텀 커버(70)는 제1 지지부(71) 및 제2 지지부(72)를 포함할 수 있다.The
상기 액정표시패널(10)은 제1 접착부재(80)에 의해 상기 광학시트(30)와 접착될 수 있다. 상기 액정표시패널(10)은 상기 제2 접착부재(82)를 통해 상기 커버 글라스(1)와 접착될 수 있다.The liquid
상기 커버 글라스(1)와 상기 제2 지지부(72) 사이에 제3 접착부재(81)가 개재될 수 있다. 상기 제3 접착부재(81)는 상기 제1 접착부재(80)보다 강한 접착력을 가지는 불투명한 물질로 형성될 수 있다. 상기 제3 접착부재(81)가 형성되는 제2 지지부(70)는 광을 투과시킬 필요가 없으므로, 상기 제2 지지부(70) 상에 불투명하지만 접착력이 강한 물질로 제3 접착부재(81)를 형성하여 외부로부터 충격을 직접적으로 받는 커버 글라스(1)를 바텀 커버(70)에 강하게 접착시켜 외부 충격에 의한 신뢰도를 향상시킬 수 있다.A third
도 5는 제4 실시 예에 따른 액정표시장치를 A-A'를 따라 절단한 단면도이고, 도 6은 제5 실시 예에 따른 액정표시장치를 A-A'를 따라 절단한 단면도이다.FIG. 5 is a cross-sectional view of the liquid crystal display device according to the fourth embodiment taken along line A-A ', and FIG. 6 is a cross-sectional view taken along line A-A' of the liquid crystal display device according to the fifth embodiment.
제4 및 제5 실시 예에 따른 액정표시장치는 제1 실시 예와 비교하여 커버 글라스의 형상이 상이한 것이 외에는 동일하다. 따라서, 제4 및 제5 실시 예를 설명함에 있어 제1 실시 예와 동일한 구성에 대해서는 동일한 도면번호를 부여하고 상세한 설명을 생략한다.The liquid crystal display devices according to the fourth and fifth embodiments are the same as the first embodiment except that the shapes of the cover glasses are different. Therefore, in describing the fourth and fifth embodiments, the same reference numerals are assigned to the same components as those of the first embodiment, and a detailed description thereof will be omitted.
도 5 및 도 6을 참조하면, 제4 및 제5 실시 예에 따른 액정표시장치는 커버 글라스(1), 액정표시패널(10), 광학 시트(30), 도광판(40), 반사 시트(60) 및 바텀 커버(70)를 포함할 수 있다.5 and 6, the liquid crystal display according to the fourth and fifth embodiments includes a
상기 바텀커버(70)는 제1 지지부(71) 및 제2 지지부(72)를 포함할 수 있다.The
상기 액정표시패널(10)은 제1 접착부재(80)에 의해 상기 광학시트(30)와 접착될 수 있다. 상기 액정표시패널(10)은 상기 제2 접착부재(82)를 통해 상기 커버 글라스(1)와 접착될 수 있다.The liquid
도 5의 제4 실시 예에서 상기 커버 글라스(1)는 상기 액정표시패널(10)과 평행하는 제1 영역(2), 상기 액정표시패널(10)과 수직하는 제2 영역(3) 및 상기 제2 영역(3)의 일측 영역에서 상기 액정표시패널(10) 방향으로 절곡된 제3 영역(4)을 포함할 수 있다. 상기 제1 영역(2)은 상기 제3 영역(4)과 평행하게 형성되고, 상기 제2 영역(3)은 상기 제1 영역(2)과 제3 영역(4)을 연결할 수 있다. 상기 제1 내지 제3 영역(2 내지 4)은 일체로 형성될 수 있다.5, the
상기 제3 영역(4)의 하면은 상기 제1 접착부재(80)의 상면과 접촉할 수 있다. 상기 제3 영역(4)이 상기 제1 접착부재(80)를 통해 상기 바텀 커버(70)에 부착될 수 있다.The lower surface of the third region 4 may contact the upper surface of the first
상기 제3 영역(4)을 상기 제2 지지부(72)와 평행하게 형성하여 상기 제1 접착부재(80)와 상기 커버 글라스(1)가 접촉하는 면적이 넓어져 외부 충격에 의해 이탈을 방지하여 충격에 의한 신뢰도를 향상시킬 수 있다.The third area 4 is formed in parallel with the
도 6의 제5 실시 예에서 상기 커버 글라스(1)는 상기 액정표시패널(10)과 평행하는 제1 영역(2), 상기 액정표시패널(10)과 수직하는 제2 영역(3) 및 상기 제2 영역(3)의 일측 영역에서 상기 액정표시패널(10)의 반대 방향으로 절곡된 제4 영역(5)을 포함할 수 있다.6, the
상기 제4 영역(5)의 하면은 상기 제1 접착부재(80)의 상면과 접촉할 수 있다. 상기 제4 영역(5)이 상기 제1 접착부재(80)를 통해 상기 바텀 커버(70)에 부착될 수 있다.The lower surface of the fourth region 5 may be in contact with the upper surface of the first
상기 제4 영역(5)을 상기 제2 지지부(72)와 평행하게 형성하여 상기 제1 접착부재(80)와 상기 커버 글라스(1)가 접촉하는 면적이 넓어져 외부 충격에 의해 이탈을 방지하여 충격에 의한 신뢰도를 향상시킬 수 있다.The fourth region 5 is formed in parallel with the
도 4의 제3 실시 예에 따른 제3 접착부재(81)는 도 5 및 도 6의 제4 및 제5 실시 예에도 적용될 수 있다. 다시 말해, 도 5의 커버 글라스(1)의 제3 영역(4)과 바텀 커버(70)의 제2 지지부(72) 사이에 제3 접착부재(81)가 형성될 수 있다. 또한, 도 6의 커버 글라스(1)의 제4 영역(5)과 바텀 커버(70)의 제2 지지부(72) 사이에 제3 접착부재(81)가 형성될 수 있다.The third
1: 커버 글라스                      10: 액정표시패널
11: 박막 트랜지스터 기판            12: 컬러필터 기판
13: 게이트 PCB                      15: 데이터 PCB
17: 연성회로기판                    20: 백라이트 유닛
30: 광학시트                        40: 도광판
50: 광원                            60: 반사판
70: 바텀 커버                       80: 제1 접착부재
82: 제2 접착부재1: cover glass 10: liquid crystal display panel
 11: thin film transistor substrate 12: color filter substrate
 13: Gate PCB 15: Data PCB
 17: Flexible circuit board 20: Backlight unit
 30: optical sheet 40: light guide plate
 50: light source 60: reflector
 70: bottom cover 80: first adhesive member
 82: second adhesive member
| Application Number | Priority Date | Filing Date | Title | 
|---|---|---|---|
| KR1020130034263AKR101463683B1 (en) | 2013-03-29 | 2013-03-29 | Liquid Crystal Display Device | 
| Application Number | Priority Date | Filing Date | Title | 
|---|---|---|---|
| KR1020130034263AKR101463683B1 (en) | 2013-03-29 | 2013-03-29 | Liquid Crystal Display Device | 
| Publication Number | Publication Date | 
|---|---|
| KR20140118413A KR20140118413A (en) | 2014-10-08 | 
| KR101463683B1true KR101463683B1 (en) | 2014-11-19 | 
| Application Number | Title | Priority Date | Filing Date | 
|---|---|---|---|
| KR1020130034263AActiveKR101463683B1 (en) | 2013-03-29 | 2013-03-29 | Liquid Crystal Display Device | 
| Country | Link | 
|---|---|
| KR (1) | KR101463683B1 (en) | 
| Publication number | Priority date | Publication date | Assignee | Title | 
|---|---|---|---|---|
| KR102260858B1 (en)* | 2015-01-20 | 2021-06-04 | 엘지디스플레이 주식회사 | Liquid crystal display device and modularization method of LCD | 
| KR102457074B1 (en)* | 2015-12-31 | 2022-10-19 | 엘지디스플레이 주식회사 | Display device | 
| KR102626231B1 (en)* | 2016-12-15 | 2024-01-16 | 엘지디스플레이 주식회사 | Display device | 
| KR102585477B1 (en)* | 2016-12-30 | 2023-10-05 | 엘지디스플레이 주식회사 | Display device | 
| Publication number | Priority date | Publication date | Assignee | Title | 
|---|---|---|---|---|
| KR20060091371A (en)* | 2005-02-14 | 2006-08-21 | 삼성전자주식회사 | Display device | 
| JP2011075605A (en)* | 2009-09-29 | 2011-04-14 | Casio Computer Co Ltd | Protective plate integrated display device | 
| KR101049807B1 (en)* | 2010-02-03 | 2011-07-19 | 삼성모바일디스플레이주식회사 | Display device and method for manufacturing the same | 
| KR20120113958A (en)* | 2011-04-06 | 2012-10-16 | (주) 데이빗원테크 | Cutting method and structure for double coated tape | 
| Publication number | Priority date | Publication date | Assignee | Title | 
|---|---|---|---|---|
| KR20060091371A (en)* | 2005-02-14 | 2006-08-21 | 삼성전자주식회사 | Display device | 
| JP2011075605A (en)* | 2009-09-29 | 2011-04-14 | Casio Computer Co Ltd | Protective plate integrated display device | 
| KR101049807B1 (en)* | 2010-02-03 | 2011-07-19 | 삼성모바일디스플레이주식회사 | Display device and method for manufacturing the same | 
| KR20120113958A (en)* | 2011-04-06 | 2012-10-16 | (주) 데이빗원테크 | Cutting method and structure for double coated tape | 
| Publication number | Publication date | 
|---|---|
| KR20140118413A (en) | 2014-10-08 | 
| Publication | Publication Date | Title | 
|---|---|---|
| JP5582677B2 (en) | Liquid crystal display | |
| JP5222229B2 (en) | Display device | |
| JP5657906B2 (en) | Liquid crystal display device, method for manufacturing the same, and electronic apparatus | |
| JP5432729B2 (en) | Display device | |
| JP2010078898A (en) | Display device | |
| JP2010134139A (en) | Display device | |
| US9489095B2 (en) | Liquid crystal display device | |
| KR102266008B1 (en) | Display device | |
| KR20160114799A (en) | Display apparatus | |
| KR101463683B1 (en) | Liquid Crystal Display Device | |
| CN101583900B (en) | Display device | |
| US8696182B2 (en) | Display device and backlight unit for improving uniformity of brightness | |
| KR20160049105A (en) | Liquid crystal display device module | |
| AU2013237656B2 (en) | Display module and display apparatus having the same | |
| KR20220103082A (en) | Liquid crystal display module and liquid crystal display apparatus using the same | |
| JP2009192769A (en) | Liquid crystal display | |
| US9927569B2 (en) | Display device | |
| US10725232B2 (en) | Backlight device and liquid crystal display device comprising the same | |
| KR101872034B1 (en) | Liquid Crystal Display Device | |
| KR20150033785A (en) | Display device | |
| JP2014085545A (en) | Liquid crystal display device | |
| KR20170079244A (en) | Liquid crystal dispaly device | |
| KR20170015727A (en) | Display Device | |
| KR20150079317A (en) | Display Device | |
| CN111694186A (en) | Display device | 
| Date | Code | Title | Description | 
|---|---|---|---|
| A201 | Request for examination | ||
| PA0109 | Patent application | Patent event code:PA01091R01D Comment text:Patent Application Patent event date:20130329 | |
| PA0201 | Request for examination | ||
| E902 | Notification of reason for refusal | ||
| PE0902 | Notice of grounds for rejection | Comment text:Notification of reason for refusal Patent event date:20140314 Patent event code:PE09021S01D | |
| E701 | Decision to grant or registration of patent right | ||
| PE0701 | Decision of registration | Patent event code:PE07011S01D Comment text:Decision to Grant Registration Patent event date:20140917 | |
| PG1501 | Laying open of application | ||
| GRNT | Written decision to grant | ||
| PR0701 | Registration of establishment | Comment text:Registration of Establishment Patent event date:20141113 Patent event code:PR07011E01D | |
| PR1002 | Payment of registration fee | Payment date:20141113 End annual number:3 Start annual number:1 | |
| PG1601 | Publication of registration | ||
| FPAY | Annual fee payment | Payment date:20171016 Year of fee payment:4 | |
| PR1001 | Payment of annual fee | Payment date:20171016 Start annual number:4 End annual number:4 | |
| FPAY | Annual fee payment | Payment date:20181015 Year of fee payment:5 | |
| PR1001 | Payment of annual fee | Payment date:20181015 Start annual number:5 End annual number:5 | |
| PR1001 | Payment of annual fee | Payment date:20201019 Start annual number:7 End annual number:7 | |
| PR1001 | Payment of annual fee | Payment date:20211101 Start annual number:8 End annual number:8 | |
| PR1001 | Payment of annual fee | Payment date:20221017 Start annual number:9 End annual number:9 | |
| PR1001 | Payment of annual fee | Payment date:20231016 Start annual number:10 End annual number:10 | |
| PR1001 | Payment of annual fee | Payment date:20241015 Start annual number:11 End annual number:11 |