








본 발명은 과냉각 장치에 관한 것이다. 더욱 상세하게는 사용자가 물 보관 용기에 충격을 가하면 용기 내의 물이 상변화를 시작하여 빙결정과 액체가 혼재하여 슬러쉬 상태로 변화되도록 물을 과냉각 상태로 보관하는 과냉각 장치에 관한 것이다. 또한 일반 냉장실의 냉동실에 적용되어 물을 과냉각 상태로 보관할 수 있는 과냉각 장치에 관한 것이다.The present invention relates to a supercooling apparatus. More particularly, the present invention relates to a supercooling apparatus for storing water in a supercooled state such that when a user applies an impact to a water storage container, the water in the container starts to undergo phase change and the ice crystals and the liquid are mixed into a slush state. The present invention also relates to a supercooling apparatus capable of storing water in a supercooled state by being applied to a freezing chamber of a general refrigerating chamber.
과냉각이란, 용융체 또는 고체가 평형상태에서의 상전이 온도 이하까지 냉각되어도 변화를 일으키지 않는 현상을 의미한다. 물질에는 각각 그때의 온도에 따른 안정상태가 있어서, 온도를 서서히 변화시켜 가면 이에 따라 그 물질의 구성원자가 각 온도에서 안정상태를 유지하면서 온도의 변화를 따라갈 수가 있다. 그러나 온도가 갑자기 변하면 구성원자가 각 온도에 따른 안정상태로 변화할 만한 여유가 없기 때문에, 출발점 온도에서의 안정상태를 그대로 지니거나, 또는 일부분이 종점 온도에서의 상태로 변화하다가 마는 현상이 일어난다.The supercooling means a phenomenon in which the molten matter or solid does not change even when it is cooled to the phase transition temperature or lower in the equilibrium state. Each of the materials has a stable state according to the temperature at that time, so that when the temperature is gradually changed, the members of the material can follow the change in temperature while maintaining a stable state at each temperature. However, if the temperature suddenly changes, there is no room for the member to change to a stable state according to each temperature. Therefore, the stable state at the starting point temperature is maintained, or a part of the state changes to the state at the end point temperature.
예를 들어, 물을 서서히 냉각하면, 0℃ 이하의 온도가 되어도 일시적으로 응고하지 않는다. 그러나, 물체가 과냉각상태로 되면 일종의 준안정 상태가 되어, 사 소한 자극에 의해서도 그 불안정한 평형상태가 깨져서 보다 안정된 상태로 옮아가기 쉽다. 즉, 과냉각된 액체에 그 물질의 작은 조각을 투입하거나, 액체를 갑자기 흔들면 즉시 응고하기 시작하여 액체의 온도가 응고점까지 올라가고, 그 온도에서 안정된 평형상태를 유지하게 된다.For example, when water is slowly cooled, it does not solidify temporarily even when the temperature is lower than 0 占 폚. However, when the object becomes supercooled, it becomes a kind of metastable state, and its unstable equilibrium state is broken by the slightest stimulus, and it is easy to move to a more stable state. That is, when a small piece of the substance is put into the supercooled liquid or when the liquid suddenly shakes, solidification starts immediately, the temperature of the liquid goes up to the freezing point, and a stable equilibrium state is maintained at that temperature.
종래에 정전장 분위기를 냉장고 내에 만들고, 이 냉장고 내에서 육류, 어류의 해동을 마이너스 온도에서 하는 것이 행해지고 있다. 또, 육류, 어류에 더하여 과일류의 선도를 유지하는 것이 행해지고 있다.Conventionally, an electrostatic field atmosphere is made in a refrigerator, and thawing of meat and fish is carried out at a negative temperature in this refrigerator. In addition, meat and fish are being kept in the lead of fruits.
이러한 기술은 과냉각(supercooling) 현상을 이용한 것으로, 이 과냉각 현상은 용융체 또는 고체가 평형상태에서의 상전이 온도 이하까지 냉각되어도 변화를 일으키지 않는 현상을 지칭한다.This technique uses a supercooling phenomenon. This supercooling phenomenon refers to a phenomenon in which a melt or solid does not change even when it is cooled to a phase transition temperature or lower in an equilibrium state.
이러한 기술로서는, 국내공개특허공보 특2000-0011081호인 정전장 처리 방법, 정전장 처리장치 및 이들에 사용되는 전극이 있다.Examples of such techniques include electrostatic processing methods, electrostatic discharge processing devices, and electrodes used therefor, which are disclosed in Korean Patent Publication No. 2000-0011081.
도 1은 종래 기술에 의한 해동 및 선도유지장치의 실시의 형태를 나타낸 도면으로서, 보냉고(1)는 단열재(2), 외벽(5)에 의해 구성되고, 고내 온도조절기구(도시하지 않음)가 설치되어 있다. 고내에 설치된 금속선반(7)은 2단 구조이고, 각 단에 야채류, 육류, 어개류의 해동 또는 선도 유지 및 숙성 대상물이 탑재된다. 금속선반(7)은 절연체(9)에 의해 고의 바닥면으로부터 절연되어 있다. 그리고, 고전압 발생장치(3)는 직류 및 교류전압을 0∼5000V까지 발생시킬 수 있어, 단열재(2)의 내측은 염화 비닐 등의 절연판(2a)으로 피복되어 있다. 상기 고전압 발생장치(3)의 전압을 출력하는 고압 케이블(4)은 외벽(5), 단열재(2)를 관통하여 금속선 반(7)에 접속되어 있다.Fig. 1 is a view showing an embodiment of a defrosting and line keeping apparatus according to the prior art. The
보냉고(1)의 앞면에 설치된 도어(6)를 열면, 도시하지 않은 안전스위치(13)(도 2 참조)가 오프되어, 고전압 발생장치(3)의 출력이 차단되도록 되어 있다.The safety switch 13 (see Fig. 2) (not shown) is turned off and the output of the
도 2는 고전압 발생장치(3)의 회로 구성을 나타낸 회로도이다. 전압조정트랜스(15)의 1차측에는 AC 100V가 공급된다. 부호 (11)은 전원램프, 부호 (19)는 작동상태를 나타낸 램프이다. 전술한 도어(6)가 닫혀 있고 안전스위치(13)가 온상태에서는 릴레이(14)가 작동하고 있으며, 이 상태가 릴레이동작램프(12)에 의해 표시되고 있다, 릴레이의 동작에 의해 릴레이 접점(14a,14b,14c)이 닫히고, AC 100V 전원이 전압조정트랜스(15)의 1차측에 인가된다.2 is a circuit diagram showing the circuit configuration of the high-
인가전압은 전압조정트랜스(15)의 2차측의 조정노브(15a)에 의해 조정되고, 조정된 전압치는 전압계에 표시된다. 조정노브(15a)는 전압조정트랜스(15)의 2차측 승압트랜스(17)의 1차측에 접속되고, 이 승압트랜스(17)에서는, 예를 들면 1 : 50의 비율로 승압되어, 예를 들면 60V의 전압이 가해지면 3000V로 승압된다.The applied voltage is adjusted by the adjusting
승압트랜스(17)의 2차측 출력의 일단(O1)은 고압 케이블(4)을 통해 보냉고로부터 절연되어 있는 금속선반(7)에 접속되고, 출력의 타단(O2)는 어스된다. 또, 외벽(5)은 어스되므로, 보냉고(1)의 사용자가 보냉고의 외벽에 접촉해도 감전되는 것이 아니다. 또, 금속선반(7)은 도 1에서는 고내에서 노출되어 있으면,금속선반(7)은 고내에서 절연상태로 유지될 필요가 있으므로, 고내 벽으로부터 이간시킬 필요가 있다(공기가 절연작용을 함). 또, 금속선반(7)으로부터 대상물(8)이 돌출하여  고내 벽에 접하면 전류가 고벽을 통해 그라운드로 흐르므로, 상기 절연판(2a)을 내벽에 붙이면 인가되는 전압의 드롭이 방지된다. 그리고, 상기 금속선반(7)을 고내에서 노출시키지 않고 염화 비닐재 등으로 피복해도 고내 전체가 전장 분위기로 된다.One end of the secondary side output of the step-up transformer (17) (O1) is coupled to the metal, which is insulated from said cold storage through a high-voltage cable (4) a shelf (7), the other end (O2) of the output is ground. Further, since the
이러한 종래 기술의 경우, 냉각 수납되는 수납물에 전기장 또는 자기장을 인가하여, 수납물이 과냉각 상태에 진입하도록 하기 때문에, 수납물의 과냉각 상태에서의 보관을 위해, 전기장 또는 자기장을 생성하기 위한 복잡한 장치가 구비되어야 하며, 이러한 전기장 또는 자기장의 생성을 위한 높은 전력소비가 요구된다. 또한, 이러한, 전기장 또는 자기장을 생성하는 장치는 고전력으로 인하여, 전기장 또는 자기장의 생성시, 차단시에 사용자의 안전을 위한 장치(예를 들면, 전기장 또는 자기장 차폐구조, 차단 장치 등)가 추가적으로 구비되어야 한다.In such a conventional technique, a complicated device for generating an electric field or a magnetic field is required for storage in the supercooled state of the stored object, by applying an electric field or a magnetic field to the object to be cooled and stored, And a high power consumption for generation of such an electric field or a magnetic field is required. The apparatus for generating an electric field or a magnetic field may additionally include an apparatus (for example, an electric field or a magnetic shielding structure, a shielding apparatus, etc.) for user's safety at the time of generation of an electric field or a magnetic field due to high power .
본 발명은 액체를 빙결점 이하의 온도에서도 빙결되지 않게 보관하는 과냉각 장치를 제공하는 것을 목적으로 한다.An object of the present invention is to provide a supercooling device for storing a liquid without freezing even at a temperature below the freezing point.
또한 본 발명은 종래의 냉장고의 구조를 이용하여 식품에 포함된 액체 또는 액체 자체를 과냉각 상태로 보관할 수 있도록 냉장고에 적용가능한 과냉각 장치를 제공하는 것을 목적으로 한다.Another object of the present invention is to provide a supercooling device applicable to a refrigerator for storing a liquid or liquid itself contained in food in a supercooled state by using the structure of a conventional refrigerator.
본 발명은 냉기가 제공되는 냉각실, 액체를 포함하는 식품 또는 액체를 저장하는 용기에 부착되어, 용기 상부의 공기를 가열하여, 액체의 빙결을 방지하는 가열장치를 포함하는 것을 특징으로 하는 과냉각 장치를 제공한다. 이러한 구성을 통해, 빙결정이 생성되기 쉬운 용기 상부의 공기를 가열하여 용기에 저장된 액체의 빙결을 방지하고, 액체를 과냉각 상태로 저장할 수 있다. 특히 김치나 동치미 같은 수분을 과량 포함하는 식품의 경우 더욱 신선하게 장기간 보관할 수 있다.The present invention relates to a supercooling device comprising a cooling chamber provided with cold air, a food containing liquid or a heating device attached to a container for storing a liquid and heating the air above the container to prevent freezing of the liquid. Lt; / RTI > With this configuration, it is possible to heat the air above the container in which ice crystals are prone to be generated to prevent freezing of the liquid stored in the container, and to store the liquid in a supercooled state. In particular, foods containing excessive amounts of moisture such as kimchi or Dongchimi can be kept fresh for a long time.
또한 본 발명의 다른 일 양태로서, 가열장치는 일면이 개방된 원통형의 본체를 구비하는 것을 특징으로 하는 과냉각 장치를 제공한다. 이러한 구성을 통해, 주로 원형인 물 저장 용기의 상부에 쉽게 결합될 수 있다.According to another aspect of the present invention, there is provided a supercooling device, wherein the heating device has a cylindrical body whose one surface is opened. With this arrangement, it can be easily coupled to the upper part of the water storage container, which is mainly circular.
또한 본 발명의 다른 일 양태로서, 가열장치는 원통형의 본체 내에 공기를 가열하는 가열선을 구비하는 것을 특징으로 하는 과냉각 장치를 제공한다. 이러한 구성을 통해, 안전하게 저장 용기 상부의 공기만을 가열할 수 있다.According to another aspect of the present invention, there is provided a supercooling device, characterized in that the heating device has a heating wire for heating air in a cylindrical body. With this configuration, it is possible to safely heat only the air above the storage container.
또한 본 발명의 다른 일 양태로서, 가열장치는 원통형의 본체 상부에 위치하는 인덕터를 더 구비하며, 원통형의 본체는 금속으로 이루어진 것을 특징으로 하는 과냉각 장치를 제공한다.According to another aspect of the present invention, there is provided a supercooling device, wherein the heating device further comprises an inductor located above the cylindrical body, and the cylindrical body is made of metal.
또한 본 발명의 다른 일 양태로서, 가열장치는, 원통형의 본체의 하부에, 용기와 가열장치를 밀봉하는 밀봉 부재를 구비하는 것을 특징으로 하는 과냉각 장치를 제공한다. 이러한 구성을 통해, 온도가 상대적으로 높은 가열장치 내의 공기와 온도가 상대적으로 낮은 냉각실 내의 공기를 차단할 수 있어, 과냉각 장치의 냉각 효율을 높이고, 과냉각을 유지하기 위한 소비 전력을 줄일 수 있다.According to still another aspect of the present invention, there is provided a supercooling apparatus characterized by comprising a sealing member which seals a container and a heating device in a lower portion of a cylindrical main body. With this configuration, it is possible to shut off the air in the cooling chamber, the temperature of which is relatively low, in the heating device having a relatively high temperature, so that the cooling efficiency of the supercooling device can be increased and the power consumption for maintaining the supercooling degree can be reduced.
또한 본 발명의 다른 일 양태로서, 밀봉 부재는 점착 패드인 것을 특징으로 하는 과냉각 장치를 제공한다. 이러한 구성을 통해, 가열장치와 용기를 신뢰성 있게 밀봉하면서, 여러 번 재사용할 수 있다.According to another aspect of the present invention, there is provided a supercooling apparatus characterized in that the sealing member is a pressure-sensitive adhesive pad. With this configuration, the heating device and the container can be reliably sealed and reused many times.
또한 본 발명의 다른 일 양태로서, 냉각실을 개폐하는 도어 및 도어에 위치하며, 도어의 일부에 의해 개폐되며, 냉각실의 일부인 별도실을 포함하는 것을 특징으로 하는 과냉각 장치를 제공한다. 이러한 구성을 통해, 도어를 열지 않고 냉각실 내부의 별도실에 저장된 저장물을 냉각실 외부로 꺼낼 수 있다.According to another aspect of the present invention, there is provided a supercooling device, comprising: a door that opens and closes a cooling chamber; and a separate chamber that is opened and closed by a portion of the door and is a part of the cooling chamber. With this configuration, it is possible to take out the stored product stored in the separate chamber in the cooling chamber to the outside of the cooling chamber without opening the door.
또한 본 발명의 다른 일 양태로서, 가열장치는 별도실에 위치하는 것을 특징으로 하는 과냉각 장치를 제공한다. 이러한 구성을 통해, 가열장치에 의해 냉각실이 받는 영향을 최소화하면서, 과냉각 상태로 저장되는 액체 및 식품을 편리하게 냉각실로부터 꺼낼 수 있다.According to another aspect of the present invention, there is provided a supercooling device characterized in that the heating device is located in a separate chamber. With this configuration, the liquid and food stored in the supercooled state can be conveniently taken out of the cooling chamber while minimizing the influence of the cooling chamber on the heating device.
또한 본 발명의 다른 일 양태로서, 가열 장치의 작동을 제어하는 제어부를 더 포함하는 것을 특징으로 하는 과냉각 장치를 제공한다. 이러한 구성을 통해, 가열 장치의 작동을 해제하여 용기에 저장된 식품을 동결하고, 용기에 저장된 액체를 슬러쉬 상태가 되도록 제어할 수 있다.According to another aspect of the present invention, there is provided a supercooling apparatus, which further comprises a control unit for controlling the operation of the heating apparatus. With this arrangement, it is possible to release the operation of the heating device to freeze the food stored in the container, and to control the liquid stored in the container to be in a slush state.
또한 본 발명의 다른 일 양태로서, 가열 장치의 전원 인가 여부를 입력 받는 입력부를 더 포함하는 것을 특징으로 하는 과냉각 장치를 제공한다. 이러한 구성을 통해, 사용자의 선택에 의해 가열 장치의 전원을 끊고 과냉각 상태로 저장되고 있는 액체를 슬러쉬 상태로 상변환시킬 수 있다.According to another aspect of the present invention, there is provided a supercooling apparatus, further comprising an input unit for receiving whether or not the power of the heating apparatus is applied. With this configuration, the power of the heating device can be turned off by the user's choice, and the liquid stored in the supercooled state can be phase-changed to the slush state.
또한 본 발명의 다른 일 양태로서, 냉각실을 개폐하는 도어 및 도어의 개폐를 감지하는 감지 수단을 더 포함하고, 제어부는 도어의 개방 시에 가열 장치의 작동을 정지하는 것을 특징으로 하는 과냉각 장치를 제공한다. 이러한 구성을 통해 상온의 공기가 유입되는 도어의 개방 시에 가열 장치의 전원을 정지하여 용기에 저장된 액체의 지나친 온도 상승을 막는다. 또한 과냉각 장치의 전력 효율을 높일 수 있다.According to another aspect of the present invention, there is provided a supercooling apparatus comprising: a door for opening and closing a cooling chamber; and a sensing unit for sensing opening and closing of the door, wherein the control unit stops the operation of the heating apparatus when the door is opened to provide. With this configuration, the power of the heating device is stopped when the door to which the air of normal temperature enters is opened to prevent the excessive temperature rise of the liquid stored in the container. Also, the power efficiency of the supercooling apparatus can be increased.
또한 본 발명의 다른 일 양태로서, 냉각실의 용기 주변부의 온도를 감지하는 온도 감지 수단을 더 포함하고, 제어부는 용기 주변부의 온도가 최대 빙결정 생성 온도대보다 상승할 시에 가열 장치의 작동을 정지하는 것을 특징으로 하는 과냉각 장치를 제공한다. 도어의 여닫음, 냉각실 내에 아이스트레이를 구비할 경우, 아이스트레이에 형성된 얼음을 이빙하기 위한 히터의 작동 등으로 냉각실 내의 온도가 상승하는 경우가 있다. 본 발명은 상기한 구성을 통해, 온도 상승 시 가열 장치의 전원을 정지하여, 액체의 온도 상승을 방지하고 전력 효율을 높일 수 있다.In another aspect of the present invention, the apparatus further includes temperature sensing means for sensing a temperature of a peripheral portion of the container of the cooling chamber, wherein the control unit stops operation of the heating device when the temperature of the peripheral portion of the container rises above the maximum ice- And a supercooling device is provided. In a case where the door is closed and the ice streak is provided in the cooling chamber, the temperature in the cooling chamber may rise due to operation of a heater for releasing ice formed in the ice stray. According to the present invention, it is possible to stop the power supply of the heating apparatus when the temperature rises, to prevent the temperature of the liquid from rising, and to increase the power efficiency.
또한 본 발명의 다른 일 양태로서, 용기 내에 저장된 식품 또는 액체의 동결 시에 용기에 열을 가하는 추가 가열장치를 더 포함하는 것을 특징으로 하는 과냉각 장치를 제공한다. 이러한 구성을 통해, 외부의 충격 등에 의해 용기 내에 저장된 식품 또는 액체의 과냉각 상태가 해제되고 동결된 경우, 추가 가열장치를 작동시켜 해동할 수 있다.According to a further aspect of the present invention, there is provided a supercooling apparatus characterized by further comprising an additional heating device for applying heat to the container during freezing of food or liquid stored in the container. With this configuration, when the supercooled state of the food or liquid stored in the container is released and frozen due to an external impact or the like, the additional heating device can be operated to defrost.
또한 본 발명의 다른 일 양태로서, 용기 내에 저장된 식품 또는 액체의 동결 여부를 감지하는 감지 수단 및 감지 수단으로부터 얻은 정보로 추가 가열장치의 작동을 제어하는 제어부를 더 포함하는 것을 특징으로 하는 과냉각 장치를 제공한다. 이러한 구성을 통해, 사용자가 용기 내의 식품 또는 액체의 동결 여부를 직접 확인하지 않고, 제어부에 의해 자동으로 식품 또는 액체의 동결 시에 식품 또는 액체를 해동할 수 있다.In another aspect of the present invention, there is provided a supercooling apparatus comprising: a sensing unit that senses whether food or liquid stored in a container is frozen; and a controller that controls operation of the additional heating unit with information obtained from the sensing unit. to provide. With this arrangement, the user can defrost food or liquid automatically when the food or liquid is frozen by the control unit without directly confirming whether the food or liquid in the container is frozen.
또한 본 발명의 다른 일 양태로서, 냉각실은 냉장실 및 냉동실을 포함하고, 가열장치는, 냉동실에 위치하는 것을 특징으로 하는 과냉각 장치를 제공한다. 이러한 구성을 통해, 별도의 냉기 유로를 부가하지 않고 용기에 저장된 액체를 최대 빙결정 생성대의 온도보다 낮은 온도로 저장할 수 있다.According to another aspect of the present invention, there is provided a supercooling device, wherein the cooling chamber includes a refrigerating chamber and a freezing chamber, and the heating device is located in a freezing chamber. With this configuration, the liquid stored in the vessel can be stored at a temperature lower than the temperature of the maximum ice crystal generating zone without adding a separate cooling air flow path.
또한 본 발명은 영하 이하의 온도로 냉각 상태가 유지되는 냉각실, 냉각실 내에 액체의 비중이 높은 식품 또는 액체가 저장되는 용기 및 용기 내의 상부의 공기를 가열하여 액체의 결빙을 방지하기 위한 가열 장치을 포함하는 것을 특징으로 하는 과냉각 장치를 제공한다.The present invention also provides a cooling apparatus for a refrigerator, comprising: a cooling chamber in which a cooling state is maintained at a sub-zero temperature or lower; a container in which a food or liquid having a high specific gravity of liquid is stored in a cooling chamber; A supercooling device is provided.
또한 본 발명은 영하 이하의 온도로 냉각 상태가 유지되는 냉각실, 냉각실 내에 액체가 포함된 식품 또는 액체가 저장되는 용기, 용기 내의 상부의 공기를 가열하여 액체의 결빙을 방지하기 위한 가열 장치 및 가열 장치의 온도를 영상의 온도로 제어하는 제어장치를 포함하는 것을 특징으로 하는 과냉각 장치를 제공한다.The present invention also provides a cooling device for a refrigerator, comprising: a cooling chamber in which a cooling state is maintained at a sub-subzero temperature; a food containing liquid in the cooling chamber; a container for storing liquid; a heating device for heating the air in the upper portion of the container; And a control device for controlling the temperature of the heating device to the temperature of the image.
또한 본 발명의 다른 일 양태로서, 냉각실을 개폐하는 도어 및 도어에 위치하며, 도어의 일부에 의해 개폐되며, 냉각실의 일부인 별도실을 더 포함하고, 용기 및 가열 장치는 별도실에 위치하는 것을 특징으로 하는 과냉각 장치를 제공한다. 이러한 구성을 통해, 냉각실의 도어를 개방하지 않고, 과냉각 상태로 저장되는 식품 또는 액체를 인출할 수 있다.According to another aspect of the present invention, there is provided a refrigerator comprising: a door for opening and closing a cooling chamber; and a separate chamber which is opened and closed by a part of the door and is a part of the cooling chamber, And a supercooling device. With this configuration, the food or liquid stored in the supercooled state can be taken out without opening the door of the cooling chamber.
또한 본 발명의 다른 일 양태로서, 가열 장치는 용기에 탈부착 가능한 것을 특징으로 하는 과냉각 장치를 제공한다. 이러한 구성을 통해, 가열 장치를 분리하고 용기를 인출할 수 있으며, 사용자가 가열 장치를 용기에 선택적으로 부착할 수 있으며, 용기에 저장된 식품을 용기별로 각각 과냉각 상태로 저장할 지 여부를 선택할 수 있다.According to another aspect of the present invention, there is provided a supercooling device characterized in that the heating device is removably attachable to a container. With this arrangement, the heating device can be separated and the container can be taken out, the user can selectively attach the heating device to the container, and can select whether or not to store the food stored in the container in a supercooled state for each container.
또한 본 발명의 다른 일 양태로서, 가열 장치는 가열 장치의 하부에 용기에 부착될 때 용기와 가열 장치의 틈을 밀봉하는 밀봉 부재를 더 포함하는 것을 특징으로 하는 과냉각 장치를 제공한다. 이러한 구성을 통해 가열된 공기가 영하로 유지되어야 하는 냉각실로 유출되는 것을 방지할 수 있다.According to another aspect of the present invention, there is provided a supercooling device, wherein the heating device further includes a sealing member sealing the gap between the container and the heating device when attached to the container at a lower portion of the heating device. With this configuration, it is possible to prevent the heated air from flowing out to the cooling chamber, which is to be kept at zero.
본 발명이 제공하는 과냉각 장치는, 기존의 냉장고의 구조를 변경하지 않고 쉽게 적용할 수 있다.The supercooling device provided by the present invention can be easily applied without changing the structure of a conventional refrigerator.
또한 본 발명이 제공하는 과냉각 장치는, 물을 상 전이온도 이하에서 빙결되지 않은 과냉각 상태로 저장할 수 있다.Further, the supercooling apparatus provided by the present invention can store water in a supercooled state that is not frozen at a temperature lower than the phase transition temperature.
또한 본 발명이 제공하는 과냉각 장치는, 과냉각 상태로 저장되던 물에 사용자가 약간의 물리적인 자극만을 가하여 물을 슬러쉬 상태로 변화시킬 수 있다.Also, the supercooling apparatus provided by the present invention can change the water to a slush state by applying only a slight physical stimulation to the water that has been stored in the supercooled state.
또한 본 발명이 제공하는 과냉각 장치는, 전력 효율을 높일 수 있다.Further, the supercooling apparatus provided by the present invention can increase power efficiency.
이하 도면을 참조하여 본 발명을 더욱 상세히 설명한다.BEST MODE FOR CARRYING OUT THE INVENTION The present invention will be described in more detail with reference to the drawings.
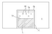
도 3은 냉각 중인 액체에 빙결핵이 생성되는 과정을 나타내는 도면이다. 도 3에 도시된 바와 같이, 냉각 공간(S) 내에 액체(L)를 수용하는 용기(C)가 냉각된다.3 is a diagram showing a process in which ice-cold tuberculosis is generated in a liquid under cooling. As shown in Fig. 3, the container C containing the liquid L in the cooling space S is cooled.
냉각 공간(S)의 냉각 온도가 예를 들면, 상온에서부터 0도(물의 상전이 온도) 또는 액체(L)의 상전이 온도 이하로 냉각된다고 가정한다. 이러한 냉각이 진행될 때, 예를 들면, 물의 경우 -1도 ~-5도정도에서 얼음 결정이 최대로 생성되는 물의 최대 빙결정 생성대의 온도(-1~ -5도) 이하에서 또는 액체(L)의 최대 빙결정 생성대 이하에서의 냉각 온도에서도 물 또는 액체(L)의 과냉각 상태를 유지시키려 한다.It is assumed that the cooling temperature of the cooling space S is cooled, for example, from room temperature to 0 degrees (phase transition temperature of water) or lower than the phase transition temperature of the liquid (L). When this cooling progresses, for example, at a temperature of -1 to -5 degrees below the maximum ice crystal generation zone of water in which ice crystals are maximally generated at a temperature of -1 to -5 degrees Celsius for water, Of the water or the liquid (L) at the maximum cooling temperature of the ice crystal producing zone and below.
이러한 냉각 중에 액체(L)로부터 증발이 이루어져서, 수증기(W1)가 용기(C) 내의 기체(또는 공간)(Lg) 내로 유입된다. 용기(C)가 뚜껑(Ck)에 의해 폐쇄된 경우, 증발된 수증기(W1)로 인하여, 기체(Cg)는 과포화 상태가 될 수 있다. 다만, 본 명세서에서 용기(C)는 뚜껑(Ck)을 선택적으로 포함할 수 있으며, 포함된 경우 냉각 공간의 냉기가 직접적으로 유입되거나, 액체(L)의 표면 또는 표면 상의 기체(Lg)의 온도가 냉기에 의해 냉각되는 것을 어느 정도 방지할 수도 있다.During this cooling, evaporation takes place from the liquid L so that the water vapor W1 flows into the gas (or space) Lg in the vessel C. When the container C is closed by the lid Ck, the gas Cg can be supersaturated due to the evaporated water vapor W1. However, in this specification, the container C may selectively include the lid Ck, and if included, the cold air of the cooling space may directly flow in, or the temperature of the gas Lg on the surface or the surface of the liquid L May be prevented to some extent from being cooled by cold air.
냉각 온도가 액체(L)의 최대 빙결정 생성대의 온도에 도달하거나 통과하면서 기체(Lg) 내의 빙결핵(F1) 또는 용기의 내측벽에 빙결핵(F2)으로 형성된다. 또는, 액체(L)의 표면(Ls)과, 용기(C)의 내측벽(냉각 공간(S)의 냉각 온도에 거의 일치함)이 접하는 부분에서 응축이 일어나고 이러한 응축된 액체(L)가 얼음 결정인 빙결핵(F3)으로 형성될 수 있다.The cooling temperature is formed into the ice tuberculosis F1 in the gas Lg or the ice tuberculosis F2 in the inner wall of the container while reaching or passing the temperature of the maximum ice crystal generating zone of the liquid L. [ Condensation occurs at a portion where the surface Ls of the liquid L touches the inner wall of the container C (substantially coincides with the cooling temperature of the cooling space S), and this condensed liquid L is mixed with ice Lt; RTI ID = 0.0 > F3 < / RTI >
예를 들면, 기체(Lg) 내의 빙결핵(F1)이 하강하여 액체(L)의 표면(Ls)을 통하여 액체(L)에 침투하게 되면, 액체(L)의 과냉각 상태가 해제되어, 액체(L)에 결빙 현상이 야기되어, 액체(L)의 과냉각이 해제된다.For example, when the ice tuberculosis F1 in the base Lg descends and infiltrates the liquid L through the surface Ls of the liquid L, the supercooled state of the liquid L is released, L of the liquid L is released, and the supercooling of the liquid L is released.
또는, 빙결핵(F3)이 액체(L)의 표면(Ls)과 접하게 됨으로써, 액체(L)의 과냉각 상태가 해제되어, 액체(L)에 결빙 현상이 야기된다.Alternatively, the ice tuberculosis F3 comes into contact with the surface Ls of the liquid L, whereby the supercooled state of the liquid L is released, and the liquid L is frozen.
상술된 바와 같이, 빙결핵(F1 내지 F3)이 생성되는 과정을 살펴보면, 액체(L)가 액체(L)의 최대 빙결정 생성대의 온도 이하에서 보관될 때, 액체(L)로부터 증발되어, 액체(L)의 표면(Ls) 상에 있는 수증기의 결빙과, 액체(L)의 표면(Ls) 부근의 용기(C)의 내측벽에서의 결빙으로 인하여, 액체(L)의 과냉각 상태의 해제가 야기된다.As described above, when the liquid L is stored below the temperature of the maximum ice crystal producing zone of the liquid L, it is evaporated from the liquid L, so that the liquid (L) Due to the freezing of water vapor on the surface Ls of the liquid L and the freezing of the inner wall of the container C near the surface Ls of the liquid L, .
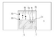
도 4는 본 발명에 따른 과냉각 장치에 적용되는 빙결핵 생성을 방지하는 과정을 나타내는 도면이다.FIG. 4 is a view illustrating a process for preventing ice tuberculosis from being applied to a supercooling apparatus according to the present invention.
도 4는 기체(Lg) 내의 수증기(W1)의 결빙을 방지하여, 즉, 지속적으로 수증 기(W1) 상태가 유지되도록, 기체(Lg) 또는 액체(L)의 표면(Ls) 상의 온도를 액체(L)의 최대 빙결정 생성대의 온도보다 높도록, 더욱 바람직하게는, 액체(L)의 상전이 온도 이상으로 한다. 또한, 액체(L)의 표면(Ls)이 용기(C)의 내측벽에 접촉하더라도 결빙이 되지 않도록, 액체(L)의 표면(Ls)의 온도를 액체(L)의 최대 빙결정 생성대의 온도보다 높도록, 더욱 바람직하게는, 액체(L)의 상전이 온도 이상으로 한다.4 is a graph showing the relationship between the temperature on the surface Ls of the substrate Lg or the surface of the liquid L in order to prevent the freezing of the water vapor W1 in the gas Lg, Is higher than the temperature of the maximum ice crystal generation zone of the liquid (L), more preferably, it is not lower than the phase transition temperature of the liquid (L). The temperature of the surface Ls of the liquid L is set to the temperature of the maximum ice crystal generation zone of the liquid L so that the ice can not be frozen even if the surface Ls of the liquid L comes into contact with the inner wall of the container C. [ , More preferably at least the phase transition temperature of the liquid (L).
이에 따라, 용기(C) 내의 액체(L)가 상전이 온도 이하에서, 또는 액체(L)의 최대 빙결정 생성대 온도 이하에서도 과냉각 상태를 유지하게 된다.Thereby, the liquid L in the container C maintains the supercooled state even at the phase transition temperature or lower, or even under the maximum ice crystal generation bulk temperature of the liquid L.
도 5는 도 4에 따른 물의 과냉각 상태 그래프이다. 도 5의 그래프는 액체(L)가 물인 경우에, 도 4에 따른 원리가 적용된 상태에서 측정된 온도 그래프들이다.5 is a graph of the supercooled state of water according to FIG. The graph of FIG. 5 is the temperature graphs measured with the principle according to FIG. 4 applied when the liquid L is water.
도 5에 도시되 바와 같이, I선은 냉각 공간(S)의 냉각온도 곡선이고, II선은 용기(C) 내의 물 표면 상의 기체(Lg)(공기)의 온도 곡선이고, III선은 용기(C) 외면의 온도로, 용기(C) 외면의 온도는 용기(C) 내부의 물의 온도와 실질적으로 동일하다.As shown in Fig. 5, the I line is the cooling temperature curve of the cooling space S, the II line is the temperature curve of the gas Lg (air) on the water surface in the container C, C) the temperature of the outer surface, the temperature of the outer surface of the container C is substantially equal to the temperature of the water inside the container C.
도시된 바와 같이, 냉각온도가 약 -13~ -14도로 유지되는 경우(I선 참조), 용기(C) 내의 물 표면 상의 기체(Lg)의 온도를 물의 최대 빙결정 생성대의 온도보다 높은 약 4-6도로 유지하면, 용기(C) 내의 물의 온도가 물의 최대 빙결정 생성대의 온도 이하인 약 -11도를 유지하면서도, 액체 상태가 유지되는 과냉각 상태가 장시간 안정적으로 유지된다.As shown in the drawing, when the cooling temperature is maintained at about -13 to -14 degrees (see I line), the temperature of the gas Lg on the water surface in the vessel C is set to about 4 When maintained at -6 degrees, the supercooled state in which the liquid state is maintained is maintained for a long time, while the temperature of the water in the vessel C is kept at about -11 deg., Which is lower than the temperature of the maximum ice crystal generation zone of water.
도 6 및 도 7은 본 발명의 과냉각 장치가 구비하는 가열 장치의 제1 실시예 를 도시한 도면이다. 냉각실 내에 저장된 용기(200)의 상부에 가열장치(100)가 부착되어, 용기(200)에 저장된 액체의 빙결정 생성을 방지한다. 가열장치(100)는 원통형, 종형, 원뿔대형 등 대략 원통형상의 본체(110)와 본체의 내면 또는 외면에 부착되는 가열선(120), 본체(110)와 용기(200)의 부착을 돕고, 본체(110) 내의 더운 공기와 냉각실의 차가운 공기가 섞이는 것을 차단하는 밀봉 부재(130)를 포함한다. 또한, 본체(110)의 상부에는 가열선(120)이 본체(110)에 부착 및 고정되는 것을 돕는 가열선 고정 부재(122)를 더 포함할 수 있다. 본체(110)의 크기는 다양하게 제작될 수 있다. 과냉각 장치는 액체를 저장하는 용기(200)의 크기에 맞추어 내경이 작은 본체(110)를 가지는 가열장치(100)와 액체를 다량 포함하는 김치 등을 보관하는 용기(200)의 크기에 맞추어 내경이 큰 본체(110)를 가지는 가열장치(100)를 복수 개 포함할 수 있다.6 and 7 are views showing a first embodiment of a heating apparatus provided in the supercooling apparatus of the present invention. The
가열장치(100)는 가열장치(100) 내부 공간(140), 즉 용기(200)의 상부의 공간에 존재하는 공기를 가열한다. 따라서, 전술한 원리와 같이 액체의 표면 상에 있는 수증기의 결빙과, 액체의 표면 부근의 용기의 내측벽에서의 결빙을 방지할 수 있다. 따라서 종래의 냉장고의 구조를 크게 변경하지 않고, 냉장고의 냉각실 내에 가열장치(100)를 구비하여 액체를 과냉각 상태로 보관할 수 있다는 장점이 있다.The
한편 내부 공간(140)의 더운 공기와 냉각실의 차가운 공기가 섞이게 될 경우, 용기(200)의 상부의 온도가 충분히 높아지지 않아 빙결정이 생성될 우려가 있다. 또한 냉각실 내부의 온도가 상승하게 되어 냉각 효율이 저하될 우려가 있다. 따라서 가열장치(100)는 본체(110)의 하부, 즉 용기(200)와의 접촉 부분에 밀봉 부 재(130)를 포함한다. 밀봉 부재(130)는 밀착성 및 접착성이 높은 점착 패드를 이용할 수 있다. 도 6 및 도 7에 도시된 본 발명의 제1 실시예는 밀봉 부재(130)로서 점착 패드가 이용된 예를 도시한 것이다.On the other hand, when the hot air in the inner space 140 and the cold air in the cooling chamber are mixed, the temperature of the upper part of the
도 8은 본 발명에 따른 과냉각 장치가 구비하는 가열장치의 제2 실시예를 도시한 도면이다. 제2 실시예의 경우, 액체를 저장하는 용기를 가열하는 가열장치(100)로, 인덕션 히터의 원리를 이용한다. 가열장치(100)는 용기가 저장되는 공간의 상부에 위치하는 인덕터(150), 용기의 상부를 덮는 금속 재질의 본체(110) 및 본체와 용기의 밀착 및 밀봉을 위한 밀봉 부재(130)를 포함한다. 인덕터(150)를 이용하여, 전류의 와류에 의해 본체(110)를 유도 가열한다. 제1 실시예와 같이, 본체(110)가 가열되어, 본체(110) 내부에 결합된 용기의 상부에 존재하는 공기의 온도를 상승시켜 빙결정이 생성되는 것을 방지할 수 있다. 또한 인덕터(150)를 이용하면, 본체(110)에는 전원을 공급할 필요가 없어 본체(110)의 이동이 자유롭다는 장점이 있다. 도 8에 도시된 본 발명의 제2 실시예는 밀봉 부재(130)로서, 고무와 같이 탄성 있는 재질로 된 링 형상 부재를 이용한다. 밀봉 부재(130)는 단열성 및 신축성을 더 높이기 위해 주름진 형상을 가질 수도 있다.FIG. 8 is a view showing a second embodiment of a heating apparatus included in the supercooling apparatus according to the present invention. In the case of the second embodiment, the principle of the induction heater is used in the
도 9는 본 발명에 따른 과냉각 장치의 일 실시예를 도시한 도면이다. 과냉각 장치(1000)는 전체적으로 종래의 냉장고의 구조와 유사하다. 과냉각 장치(1000)는 냉동실(1100) 및 냉장실(1200)를 포함하는 냉각실을 구비하며, 냉동실(1100) 및 냉장실(1200) 각각을 개폐하는 냉동실 도어(1300) 및 냉장실 도어(1400)를 구비한다. 냉동실 도어(1300) 및 냉장실 도어(1400) 각각은 외부에서 냉동실 도어(1300) 및  냉장실 도어(1400)를 열지 않고, 수납물을 인입하고 인출할 수 있는 별도의 도어(1310, 1410)을 구비한다. 별도의 도어(1310, 1410)는 각각 냉동실 도어(1300) 및 냉장실 도어(1400)의 일부를 이룬다. 냉장실 도어(1400)에 구비되는 별도의 도어(1410)에 의해 개폐되는 별도의 공간은 일반적으로 '홈바'라고 지칭되는 부분이다. 냉동실 도어(1300)에 구비되는 별도의 도어(1310)에 의해 개폐되는 별도실(1110)은 과냉각 저장을 위해 이용된다. 별도실(1110) 내부에 가열장치(100)가 위치한다. 가열장치(100)는 전술한 바와 같이 용기(200)의 상부에 부착되어 용기(200) 상부 공기의 온도를 상승시켜서 액체의 빙결정 생성을 방지한다. 이러한 구성을 통해 냉동실 도어(1300)를 열지 않고, 사용자가 외부에서 과냉각 상태의 액체 또는 과냉각 상태의 액체를 포함하는 식품이 저장된 용기(200)를 손쉽게 꺼낼 수 있다.9 is a view showing an embodiment of a supercooling apparatus according to the present invention. The
홈바와 같은 구조가 적용된 과냉각 장치(1000)를 예를 들어 설명하였으나, 냉동실 도어(1310) 측이 아닌, 냉각실 내부에 가열장치(100)가 위치하는 과냉각 장치(1000)도 실시가능한 일 예이다. 또한 과냉각 장치(1000)는 냉각실에 저장되는 식품 또는 액체가 저장되는 용기(200)를 가열하는 가열 장치(100)의 작동을 제어하는 제어부(미도시)를 더 포함한다. 제어부(미도시)는 냉각실 내부의 온도가 상승하여 가열 장치(100)의 작동이 불필요한 경우, 도어(1310)가 개방되어 외기가 유입되므로 가열 장치(100)의 작동이 불필요한 경우 등을 판단하여 가열 장치(100)의 작동을 정지시킨다. 냉각실 내부의 온도가 상승하는 요인으로는, 도어(1310)의 잦은 개방으로 인한 경우, 냉각실 내부에 아이스트레이가 구비될 경우 얼음의 제빙을 위 해 아이스트레이 히터가 작동되는 경우, 냉각실 내부의 제상을 위해 제상 히터가 작동되는 경우 등이 있다. 제어부(미도시)가 더욱 신뢰성 있게 가열 장치(100)의 작동을 제어하기 위해, 냉각실 내부의 온도를 감지하는 감지수단(미도시) 또는 도어(1310)의 개폐를 감지하는 감지수단(미도시)를 구비하는 것이 바람직하다.A
또한 냉각실 내부에 저장되는 식품 또는 액체는 용기(200)에 충격이 가해지거나, 가열 장치(100)가 용기(200)에 가하는 열이 불충분할 경우 동결될 수 있다. 과냉각 장치(1000)는 동결된 식품 또는 액체를 해동하기 위한 추가 가열 장치(미도시)를 구비한다. 추가 가열장치(미도시)는 용기(200)의 주변에 위치하며, 제어부(미도시)에 의해 추가 가열장치(미도시)의 작동이 제어된다. 제어부(미도시)가 추가 가열 장치의 작동을 신뢰성 있게 제어할 수 있도록 냉각실 내에 식품 또는 액체의 동결 여부를 감지하는 감지 수단(미도시)를 구비하는 것이 바람직하다. 감지 수단(미도시)는 온도 센서, 적외선 센서 등의 센서일 수 있으며, 감지 수단(미도시)이 감지한 결과에 따라 제어부(미도시)는 추가 가열장치(미도시)의 작동 여부를 판단한다.Further, the food or liquid stored in the cooling chamber can be frozen when an impact is applied to the
또한 과냉각 장치(1000)는 제어부(미도시)와 연동하여, 가열 장치(100)의 작동 여부를 사용자가 직접 입력할 수 있는 입력부(미도시)를 구비한다. 입력부(미도시)는 냉동실 도어(1310)에 위치하는 것이 바람직하나, 냉장실 도어(1410)에 위치하여도 상관없다. 입력부(미도시)는 과냉각 장치의 다른 기능 들을 제어하는 버튼과 인접한 위치에 제공되는 버튼인 것이 바람직하다. 사용자가 과냉각 상태로 저장되던 액체의 과냉각 상태를 해제하고, 슬러쉬 상태로 섭취하고자 할 때, 입력부(미 도시)인 버튼을 눌러 과냉각 상태를 해제하라는 명령을 입력하면, 제어부(미도시)는 이 명령을 받아들여 가열장치(100)의 작동을 정지시킨다. 이후, 용기(200)에 저장된 액체는 급속하게 동결되기 시작하여, 소정 시간 경과 후에 빙결정과 소량의 액체가 공존하는 슬러쉬 상태로 변하게 된다. 슬러쉬 상태는 액체와 고체의 중간에 해당하는 고유한 식감을 가지므로, 사용자는 과냉각 장치를 이용하여 다양한 식감을 가지는 식품 및 액체를 취할 수 있다.In addition, the
도 1은 종래 기술에 의한 해동 및 선도유지장치의 실시의 형태를 나타낸 도면,BRIEF DESCRIPTION OF DRAWINGS FIG. 1 is a view showing an embodiment of a defrosting and line keeping apparatus according to the prior art,
도 2는 고전압 발생장치(3)의 회로 구성을 나타낸 회로도,2 is a circuit diagram showing a circuit configuration of the
도 3은 냉각 중인 액체에 빙결핵이 생성되는 과정을 나타내는 도면,3 is a diagram showing a process in which ice-cold tuberculosis is generated in a liquid under cooling,
도 4는 본 발명에 따른 과냉각 장치에 적용되는 빙결핵 생성을 방지하는 과정을 나타내는 도면,4 is a diagram illustrating a process for preventing the generation of ice TB applied to the supercooling apparatus according to the present invention,
도 5는 도 4에 따른 물의 과냉각 상태 그래프,FIG. 5 is a graph showing the supercooled state of water according to FIG. 4,
도 6 및 도 7은 본 발명의 과냉각 장치가 구비하는 가열 장치의 제1 실시예를 도시한 도면,6 and 7 are views showing a first embodiment of a heating apparatus included in the supercooling apparatus of the present invention,
도 8은 본 발명에 따른 과냉각 장치가 구비하는 가열장치의 제2 실시예를 도시한 도면,8 is a view showing a second embodiment of a heating apparatus included in the supercooling apparatus according to the present invention,
도 9는 본 발명에 따른 과냉각 장치의 일 실시예를 도시한 도면.9 is a view showing one embodiment of a supercooling device according to the present invention.
| Application Number | Priority Date | Filing Date | Title | 
|---|---|---|---|
| KR1020070093894AKR101439540B1 (en) | 2007-09-14 | 2007-09-14 | Supercooling device | 
| PCT/KR2008/001376WO2009035195A2 (en) | 2007-09-14 | 2008-03-11 | Supercooling apparatus | 
| CN2008801045106ACN101970963B (en) | 2007-09-14 | 2008-03-11 | Supercooling apparatus | 
| EP08723413AEP2188580A4 (en) | 2007-09-14 | 2008-03-11 | Supercooling apparatus | 
| US12/673,960US20100242524A1 (en) | 2007-09-14 | 2008-03-11 | Supercooling apparatus | 
| Application Number | Priority Date | Filing Date | Title | 
|---|---|---|---|
| KR1020070093894AKR101439540B1 (en) | 2007-09-14 | 2007-09-14 | Supercooling device | 
| Publication Number | Publication Date | 
|---|---|
| KR20090028361A KR20090028361A (en) | 2009-03-18 | 
| KR101439540B1true KR101439540B1 (en) | 2014-09-11 | 
| Application Number | Title | Priority Date | Filing Date | 
|---|---|---|---|
| KR1020070093894AExpired - Fee RelatedKR101439540B1 (en) | 2007-09-14 | 2007-09-14 | Supercooling device | 
| Country | Link | 
|---|---|
| US (1) | US20100242524A1 (en) | 
| EP (1) | EP2188580A4 (en) | 
| KR (1) | KR101439540B1 (en) | 
| CN (1) | CN101970963B (en) | 
| WO (1) | WO2009035195A2 (en) | 
| Publication number | Priority date | Publication date | Assignee | Title | 
|---|---|---|---|---|
| KR101508774B1 (en)* | 2007-09-21 | 2015-04-03 | 엘지전자 주식회사 | Supercooling device | 
| Publication number | Priority date | Publication date | Assignee | Title | 
|---|---|---|---|---|
| KR960034941A (en)* | 1995-03-21 | 1996-10-24 | 구자홍 | Super Cooling Water Manufacturing Equipment | 
| KR100714564B1 (en) | 2006-07-01 | 2007-05-07 | 엘지전자 주식회사 | How to Operate Subcooler and Subcooler | 
| KR20070075678A (en)* | 2006-01-14 | 2007-07-24 | 삼성전자주식회사 | Refrigerator and its control method | 
| KR20070075672A (en)* | 2006-01-14 | 2007-07-24 | 삼성전자주식회사 | Refrigerator | 
| Publication number | Priority date | Publication date | Assignee | Title | 
|---|---|---|---|---|
| CN2032598U (en)* | 1987-09-14 | 1989-02-15 | 叶常竹 | Automatic ice-embedding freezer for biological biopsy | 
| US6112537A (en)* | 1999-06-24 | 2000-09-05 | John A. Broadbent | Beverage container with ice compartment | 
| JP3243527B2 (en)* | 1999-12-28 | 2002-01-07 | 東京工業大学長 | Supercooling water coagulation device | 
| US6896159B2 (en)* | 2000-06-08 | 2005-05-24 | Beverage Works, Inc. | Beverage dispensing apparatus having fluid director | 
| US6870135B2 (en)* | 2003-01-14 | 2005-03-22 | Hlc Efficiency Products Llc | Beverage container warmer | 
| CA2540373A1 (en)* | 2003-09-30 | 2005-05-12 | Stefano Milazzo | Comestible preparation apparatus | 
| US7433191B2 (en)* | 2005-09-30 | 2008-10-07 | Apple Inc. | Thermal contact arrangement | 
| KR20070075670A (en)* | 2006-01-14 | 2007-07-24 | 삼성전자주식회사 | Refrigerator and its control method | 
| US8196424B2 (en)* | 2006-02-15 | 2012-06-12 | Lg Electronics Inc. | Apparatus for supercooling and method of making slush through supercooling | 
| AU2006338360B2 (en)* | 2006-02-15 | 2012-01-19 | Lg Electronics, Inc. | Apparatus for supercooling, and method of operating the same | 
| JP2007271154A (en)* | 2006-03-31 | 2007-10-18 | Hitachi Appliances Inc | refrigerator | 
| KR101052782B1 (en)* | 2007-04-06 | 2011-07-29 | 삼성전자주식회사 | Refrigerator and its control method | 
| Publication number | Priority date | Publication date | Assignee | Title | 
|---|---|---|---|---|
| KR960034941A (en)* | 1995-03-21 | 1996-10-24 | 구자홍 | Super Cooling Water Manufacturing Equipment | 
| KR20070075678A (en)* | 2006-01-14 | 2007-07-24 | 삼성전자주식회사 | Refrigerator and its control method | 
| KR20070075672A (en)* | 2006-01-14 | 2007-07-24 | 삼성전자주식회사 | Refrigerator | 
| KR100714564B1 (en) | 2006-07-01 | 2007-05-07 | 엘지전자 주식회사 | How to Operate Subcooler and Subcooler | 
| Publication number | Publication date | 
|---|---|
| US20100242524A1 (en) | 2010-09-30 | 
| CN101970963A (en) | 2011-02-09 | 
| EP2188580A4 (en) | 2013-03-13 | 
| WO2009035195A2 (en) | 2009-03-19 | 
| WO2009035195A3 (en) | 2009-09-11 | 
| KR20090028361A (en) | 2009-03-18 | 
| CN101970963B (en) | 2013-05-08 | 
| EP2188580A2 (en) | 2010-05-26 | 
| Publication | Publication Date | Title | 
|---|---|---|
| KR100827883B1 (en) | Apparatus for supercooling | |
| KR100756712B1 (en) | How to determine the uncooling of the refrigerator and freezer | |
| US8572990B2 (en) | Supercooling apparatus | |
| US9095167B2 (en) | Supercooling system for supercooling a stored liquid | |
| KR101152049B1 (en) | A refrigerating apparatus | |
| US20110277487A1 (en) | Supercooling system | |
| KR101439540B1 (en) | Supercooling device | |
| KR101573929B1 (en) | Supercooling device | |
| KR20100082261A (en) | Supercooling system | |
| KR20100022860A (en) | Supercooling store room, apparatus for supercooling and method for controlling the sames | |
| KR100892453B1 (en) | Supercooling system | |
| KR100911268B1 (en) | Supercooling system | |
| US20110302934A1 (en) | Supercooling system | |
| KR101508774B1 (en) | Supercooling device | |
| KR101040804B1 (en) | Slush maker | |
| KR100901898B1 (en) | Supercooling system | |
| KR100961794B1 (en) | Supercooling system | |
| KR100844622B1 (en) | Controlling method for supercooling | |
| WO2009038427A2 (en) | Apparatus for supercooling | |
| KR20100083080A (en) | Container for making slush | |
| KR101023355B1 (en) | Slush manufacturing equipment | |
| WO2010044498A2 (en) | Apparatus for supercooling | 
| Date | Code | Title | Description | 
|---|---|---|---|
| PA0109 | Patent application | St.27 status event code:A-0-1-A10-A12-nap-PA0109 | |
| PN2301 | Change of applicant | St.27 status event code:A-3-3-R10-R13-asn-PN2301 St.27 status event code:A-3-3-R10-R11-asn-PN2301 | |
| PG1501 | Laying open of application | St.27 status event code:A-1-1-Q10-Q12-nap-PG1501 | |
| R18-X000 | Changes to party contact information recorded | St.27 status event code:A-3-3-R10-R18-oth-X000 | |
| R18-X000 | Changes to party contact information recorded | St.27 status event code:A-3-3-R10-R18-oth-X000 | |
| A201 | Request for examination | ||
| PA0201 | Request for examination | St.27 status event code:A-1-2-D10-D11-exm-PA0201 | |
| D13-X000 | Search requested | St.27 status event code:A-1-2-D10-D13-srh-X000 | |
| D14-X000 | Search report completed | St.27 status event code:A-1-2-D10-D14-srh-X000 | |
| E902 | Notification of reason for refusal | ||
| PE0902 | Notice of grounds for rejection | St.27 status event code:A-1-2-D10-D21-exm-PE0902 | |
| T11-X000 | Administrative time limit extension requested | St.27 status event code:U-3-3-T10-T11-oth-X000 | |
| P11-X000 | Amendment of application requested | St.27 status event code:A-2-2-P10-P11-nap-X000 | |
| P13-X000 | Application amended | St.27 status event code:A-2-2-P10-P13-nap-X000 | |
| E701 | Decision to grant or registration of patent right | ||
| PE0701 | Decision of registration | St.27 status event code:A-1-2-D10-D22-exm-PE0701 | |
| GRNT | Written decision to grant | ||
| PR0701 | Registration of establishment | St.27 status event code:A-2-4-F10-F11-exm-PR0701 | |
| PR1002 | Payment of registration fee | St.27 status event code:A-2-2-U10-U11-oth-PR1002 Fee payment year number:1 | |
| PG1601 | Publication of registration | St.27 status event code:A-4-4-Q10-Q13-nap-PG1601 | |
| PN2301 | Change of applicant | St.27 status event code:A-5-5-R10-R13-asn-PN2301 St.27 status event code:A-5-5-R10-R11-asn-PN2301 | |
| FPAY | Annual fee payment | Payment date:20170814 Year of fee payment:4 | |
| PR1001 | Payment of annual fee | St.27 status event code:A-4-4-U10-U11-oth-PR1001 Fee payment year number:4 | |
| FPAY | Annual fee payment | Payment date:20180814 Year of fee payment:5 | |
| PR1001 | Payment of annual fee | St.27 status event code:A-4-4-U10-U11-oth-PR1001 Fee payment year number:5 | |
| FPAY | Annual fee payment | Payment date:20190814 Year of fee payment:6 | |
| PR1001 | Payment of annual fee | St.27 status event code:A-4-4-U10-U11-oth-PR1001 Fee payment year number:6 | |
| PN2301 | Change of applicant | St.27 status event code:A-5-5-R10-R13-asn-PN2301 St.27 status event code:A-5-5-R10-R11-asn-PN2301 | |
| PR1001 | Payment of annual fee | St.27 status event code:A-4-4-U10-U11-oth-PR1001 Fee payment year number:7 | |
| PR1001 | Payment of annual fee | St.27 status event code:A-4-4-U10-U11-oth-PR1001 Fee payment year number:8 | |
| PR1001 | Payment of annual fee | St.27 status event code:A-4-4-U10-U11-oth-PR1001 Fee payment year number:9 | |
| PR1001 | Payment of annual fee | St.27 status event code:A-4-4-U10-U11-oth-PR1001 Fee payment year number:10 | |
| PC1903 | Unpaid annual fee | St.27 status event code:A-4-4-U10-U13-oth-PC1903 Not in force date:20240903 Payment event data comment text:Termination Category : DEFAULT_OF_REGISTRATION_FEE | |
| PC1903 | Unpaid annual fee | St.27 status event code:N-4-6-H10-H13-oth-PC1903 Ip right cessation event data comment text:Termination Category : DEFAULT_OF_REGISTRATION_FEE Not in force date:20240903 |