

본 발명은 화면 전환 기술에 관련한 것으로, 특히 보조 디스플레이 장치 연동 기능을 구비한 스마트폰의 통화 화면 전환 장치에 관한 것이다.BACKGROUND OF THE INVENTION 1. Field of the Invention The present invention relates to a screen switching technology, and more particularly, to a call screen switching device of a smart phone having an auxiliary display device interlocking function.
본 발명 출원인에 의해 선출원된 국내특허출원 제10-2011-0092113(2011. 09. 09)에서 스마트폰 제어 기능을 구비한 보조 디스플레이 장치를 제안하였다. 이러한 보조 디스플레이 장치에는 서로 다른 제조사에 의해 제조된 다양한 모델의 스마트폰들이 연결될 수 있다.In the Korean Patent Application No. 10-2011-0092113 (Sep. 09, 2011), which is filed by the applicant of the present invention, a secondary display device having a smartphone control function has been proposed. Various models of smartphones manufactured by different manufacturers may be connected to such an auxiliary display device.
보조 디스플레이 장치에 스마트폰이 연결된 상태에서 스마트폰으로 전화가 수신되면, 보조 디스플레이 장치의 화면에 현재 실행중이던 어플리케이션이 백그라운드(Background)로 내려가고 전화 수신 어플리케이션이 포어그라운드(Foreground)로 실행되게 된다.When the smartphone is connected to the secondary display device and the phone is received by the smartphone, the application currently running on the screen of the secondary display device goes down to the background and the phone receiving application is executed in the foreground.
그런데, 보조 디스플레이 장치가 차량용으로 사용되고, 보조 디스플레이 장치를 통해 네비게이션 어플리케이션을 실행하여 안내를 받는 도중 전화가 수신될 경우 등의 특별한 상황에서 보조 디스플레이 장치에 전화 수신 어플리케이션이 포어그라운드로 실행되면 사용자에게 불편함을 초래할 수 있다.However, when the telephone receiving application is executed in the foreground in the secondary display device in a special situation such as when the auxiliary display device is used for a vehicle, when a telephone is received while receiving a guidance by executing a navigation application through the auxiliary display device, .
따라서, 본 발명자는 스마트폰에 전화가 수신된 경우, 이에 연결되는 보조 디스플레이 장치의 화면에 포어그라운드(Foreground)로 실행될 전화 수신 어플리케이션을 백그라운드(Background)로 전환하고, 최근의 어플리케이션을 포어그라운드(Foreground)로 실행하여 사용자 편의성을 향상시킬 수 있는 기술에 대한 연구를 하게 되었다.Accordingly, the present inventors have found that when a telephone is received in a smartphone, a telephone receiving application to be executed in a foreground is switched to a background in a screen of a secondary display device connected to the telephone, and a recent application is switched to a foreground ) To improve the user's convenience.
본 발명은 상기한 취지하에 발명된 것으로, 스마트폰에 전화가 수신된 경우, 이에 연결되는 보조 디스플레이 장치의 화면에 포어그라운드(Foreground)로 실행될 전화 수신 어플리케이션을 백그라운드(Background)로 전환하는 보조 디스플레이 장치 연동 기능을 구비한 스마트폰의 통화 화면 전환 장치를 제공함을 그 목적으로 한다.The present invention has been made in view of the above-mentioned circumstances, and it is an object of the present invention to provide an auxiliary display device for switching a phone reception application to be executed in a foreground on a screen of a secondary display device connected thereto, It is another object of the present invention to provide a call screen switching device of a smart phone having an interlocking function.
상기한 목적을 달성하기 위한 본 발명의 일 양상에 따르면, 보조 디스플레이 장치 연동 기능을 구비한 스마트폰의 통화 화면 전환 장치가 전화 수신이 검출된 경우, 보조 디스플레이 장치의 화면에 포어그라운드(Foreground)로 실행될 전화 수신 어플리케이션을 백그라운드(Background)로 전환하고, 가장 최근 포어그라운드로 실행된 어플리케이션을 포어그라운드로 계속 실행하는 것을 특징으로 한다.According to one aspect of the present invention, a call screen switching apparatus of a smart phone having a secondary display apparatus interlocking function, when a phone call is detected, displays a foreground The telephone receiving application to be executed is switched to the background and the application executed in the latest foreground is continuously executed in the foreground.
본 발명은 스마트폰에 전화가 수신된 경우, 이에 연결되는 보조 디스플레이 장치의 화면에 포어그라운드(Foreground)로 실행될 전화 수신 어플리케이션을 백그라운드(Background)로 전환함으로써 사용자 편의성을 향상시킬 수 있는 효과가 있다.The present invention has an effect of improving user convenience by switching a telephone receiving application to be executed in a foreground on a screen of a secondary display device connected to the phone when the telephone is received in a smart phone, into a background.
도 1 은 본 발명에 따른 보조 디스플레이 장치 연동 기능을 구비한 스마트폰의 통화 화면 전환 장치의 일 실시예의 구성을 도시한 블럭도이다.
도 2 는 본 발명에 따른 보조 디스플레이 장치 연동 기능을 구비한 스마트폰의 통화 화면 전환 장치의 통화 화면 전환 동작의 일 예를 도시한 흐름도이다.FIG. 1 is a block diagram illustrating a configuration of an embodiment of a call screen switching apparatus of a smartphone having an auxiliary display apparatus interlocking function according to the present invention.
 FIG. 2 is a flowchart illustrating an example of a call screen switching operation of a call screen switching apparatus of a smartphone having a function of interlocking an auxiliary display apparatus according to the present invention.
이하, 첨부된 도면을 참조하여 기술되는 바람직한 실시예를 통하여 본 발명을 당업자가 용이하게 이해하고 재현할 수 있도록 상세히 기술하기로 한다.DETAILED DESCRIPTION OF THE PREFERRED EMBODIMENTS Reference will now be made in detail to embodiments of the present invention, examples of which are illustrated in the accompanying drawings, wherein like reference numerals refer to the like elements throughout.
본 발명을 설명함에 있어 관련된 공지 기능 또는 구성에 대한 구체적인 설명이 본 발명 실시예들의 요지를 불필요하게 흐릴 수 있다고 판단되는 경우에는 그 상세한 설명을 생략할 것이다.In the following description of the present invention, a detailed description of known functions and configurations incorporated herein will be omitted when it may make the subject matter of the present invention rather unclear.
본 발명 명세서 전반에 걸쳐 사용되는 용어들은 본 발명 실시예에서의 기능을 고려하여 정의된 용어들로서, 사용자 또는 운용자의 의도, 관례 등에 따라 충분히 변형될 수 있는 사항이므로, 이 용어들의 정의는 본 명세서 전반에 걸친 내용을 토대로 내려져야 할 것이다.The terms used throughout the specification of the present invention have been defined in consideration of the functions of the embodiments of the present invention and can be sufficiently modified according to the intentions and customs of the user or operator. It should be based on the contents of.
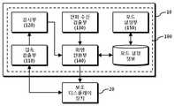
도 1 은 본 발명에 따른 보조 디스플레이 장치 연동 기능을 구비한 스마트폰의 통화 화면 전환 장치의 일 실시예의 구성을 도시한 블럭도이다. 도 1 에 도시한 바와 같이, 본 발명에 따른 보조 디스플레이 장치 연동 기능을 구비한 스마트폰의 통화 화면 전환 장치(100)는 접속 검출부(110)와, 감시부(120)와, 전화 수신 검출부(130)와, 화면 전환부(140)를 포함하여 이루어진다.FIG. 1 is a block diagram illustrating a configuration of an embodiment of a call screen switching apparatus of a smartphone having an auxiliary display apparatus interlocking function according to the present invention. 1, a call
접속 검출부(110)는 보조 디스플레이 장치(20) 접속을 검출한다. 예컨대, 스마트폰(10)이 보조 디스플레이 장치(20)와 유선 인터페이스를 통해 연결된다면, 접속 검출부(110)가 보조 디스플레이 장치(20)가 연결되거나 연결 해제됨에 따라 하이 또는 로우로 변하는 유선 인터페이스 인가 전압의 전압 레벨을 검출함에 의해 보조 디스플레이 장치(20) 접속 또는 접속 해제를 검출하도록 구현할 수 있다.The
감시부(120)는 접속 검출부(110)에 의해 보조 디스플레이 장치(20)가 접속했다 검출된 경우, 스마트폰(10)에서 실행중인 어플리케이션을 감시한다. 스마트폰(10)에 설치되는 운영체제(OS)는 스마트폰(10)에서 실행되는 어플리케이션들을 관리하며, 감시부(120)가 운영체제(OS)에 의해 관리되는 어플리케이션 실행정보를 참조함으로써 스마트폰(10)에서 실행중인 어플리케이션을 감시할 수 있다.The
전화 수신 검출부(130)는 전화 수신을 검출한다. 예컨대, 스마트폰(10)에 설치되는 운영체제(OS) 또는 전화 수신 모듈 등을 통해 링톤이나 채널제어신호를 검출하는 등의 방법으로 전화 수신을 검출하고, 전화 수신 이벤트를 발생시킬 수 있다. 전화 수신 검출부(130)는 운영체제(OS) 또는 전화 수신 모듈 등에 의해 발생되는 전화 수신 이벤트를 감시함에 의해 전화 수신을 검출할 수 있다.The telephone reception detection unit 130 detects telephone reception. For example, the telephone reception can be detected by detecting a ring tone or a channel control signal through an operating system (OS) or a telephone reception module installed in the
화면 전환부(140)는 전화 수신 검출부(130)에 의해 전화 수신이 검출된 경우, 보조 디스플레이 장치(20)의 화면에 포어그라운드(Foreground)로 실행될 전화 수신 어플리케이션을 백그라운드(Background)로 전환하고, 감시부(120)에 의해 가장 최근 포어그라운드로 실행된 어플리케이션을 포어그라운드로 계속 실행한다.The
기존에는 보조 디스플레이 장치에 스마트폰이 연결된 상태에서 스마트폰으로 전화가 수신되면, 보조 디스플레이 장치의 화면에 현재 실행중이던 어플리케이션이 백그라운드로 내려가고 전화 수신 어플리케이션이 포어그라운드로 실행되었다.When a smartphone is connected to a secondary display device and a call is received to the smartphone, the application currently running on the secondary display device is down in the background and the application for receiving the call is running in the foreground.
그런데, 보조 디스플레이 장치가 차량용으로 사용되고, 보조 디스플레이 장치를 통해 네비게이션 어플리케이션을 실행하여 안내를 받는 도중 전화가 수신될 경우 등의 특별한 상황에서 보조 디스플레이 장치에 전화 수신 어플리케이션이 포어그라운드로 실행되면 사용자에게 불편함을 초래할 수 있었다.However, when the telephone receiving application is executed in the foreground in the secondary display device in a special situation such as when the auxiliary display device is used for a vehicle, when a telephone is received while receiving a guidance by executing a navigation application through the auxiliary display device, .
그러나, 본 발명은 스마트폰에 전화가 수신된 경우, 화면 전환부(140)를 통해 보조 디스플레이 장치의 화면에 포어그라운드(Foreground)로 실행될 전화 수신 어플리케이션을 백그라운드(Background)로 전환함으로써 사용자 편의성을 향상시킬 수 있게 된다.However, according to the present invention, when a telephone is received in a smartphone, the telephone receiving application to be executed in the foreground on the screen of the auxiliary display device through the
한편, 발명의 부가적인 양상에 따르면, 상기 보조 디스플레이 장치 연동 기능을 구비한 스마트폰의 통화 화면 전환 장치(100)가 모드 설정부(150)를 더 포함할 수 있다.According to a further aspect of the present invention, the call
모드 설정부(150)는 보조 디스플레이 장치(20)의 화면에 실행될 전화 수신 어플리케이션을 포어그라운드로 실행하는 제1모드 또는 보조 디스플레이 장치(20)의 화면에 실행될 전화 수신 어플리케이션을 백그라운드로 전환하는 제2모드를 설정한다.The mode setting unit 150 sets a mode for setting the first mode for executing the telephone receiving application to be executed in the foreground on the screen of the
이 때, 모드 설정부(150)가 제1모드 또는 제2모드 설정을 위한 사용자 인터페이스를 제공하고, 이를 통해 제1모드 또는 제2모드 설정을 받도록 구현될 수 있다.At this time, the mode setting unit 150 may provide a user interface for setting the first mode or the second mode, and may be configured to receive the first mode or the second mode through the user interface.
예컨대, 모드 설정부(150)가 전화 수신 검출부(130)에 의해 전화 수신이 검출된 경우, 제1모드 또는 제2모드 설정을 위한 사용자 인터페이스를 스마트폰(20)의 화면에 디스플레이하도록 구현될 수 있다.For example, when the mode setting unit 150 detects the telephone reception by the telephone reception detecting unit 130, the mode setting unit 150 may be configured to display a user interface for setting the first mode or the second mode on the screen of the
그러면, 화면 전환부(140)가 모드 설정부(150)에 의해 제2모드로 설정된 경우, 보조 디스플레이 장치의 화면에 포어그라운드로 실행될 전화 수신 어플리케이션을 백그라운드로 전환한다.Then, when the
한편, 모드 설정부(150)에 의해 제1모드로 설정된 경우에는 보조 디스플레이 장치의 화면에 전화 수신 어플리케이션을 포어그라운드로 실행한다. 이에 따라, 모드 설정부(150)를 통해 보조 디스플레이 장치(20)의 화면에 실행될 전화 수신 어플리케이션을 포어그라운드로 실행하는 제1모드 또는 보조 디스플레이 장치(20)의 화면에 실행될 전화 수신 어플리케이션을 백그라운드로 전환하는 제2모드를 간편하게 설정하여 이용할 수 있게 된다.On the other hand, when the mode setting unit 150 is set to the first mode, the phone receiving application is executed in the foreground on the screen of the auxiliary display device. Accordingly, the first mode for executing the telephone receiving application to be executed on the screen of the
이상에서 설명한 바와 같은 본 발명에 따른 보조 디스플레이 장치 연동 기능을 구비한 스마트폰의 통화 화면 전환 장치의 통화 화면 전환 동작을 도 2 를 참조하여 알아본다. 도 2 는 본 발명에 따른 보조 디스플레이 장치 연동 기능을 구비한 스마트폰의 통화 화면 전환 장치의 통화 화면 전환 동작의 일 예를 도시한 흐름도이다.[0040] The call screen switching operation of the call screen switching device of the smart phone having the function of interlocking the auxiliary display device according to the present invention as described above will be described with reference to FIG. FIG. 2 is a flowchart illustrating an example of a call screen switching operation of a call screen switching apparatus of a smartphone having a function of interlocking an auxiliary display apparatus according to the present invention.
먼저, 단계 210에서 보조 디스플레이 장치 연동 기능을 구비한 스마트폰의 통화 화면 전환 장치가 스마트폰에 보조 디스플레이 장치가 접속했는지 검출한다. 보조 디스플레이 장치 접속 검출과 관련해서는 기 설명하였으므로, 중복 설명은 생략한다.First, in
단계 210에 의해 보조 디스플레이 장치가 스마트폰에 접속했다 검출되면, 단계 220에서 보조 디스플레이 장치 연동 기능을 구비한 스마트폰의 통화 화면 전환 장치가 스마트폰에서 실행중인 어플리케이션을 감시한다. 스마트폰에서 실행중인 어플리케이션 감시와 관련해서는 기 설명하였으므로, 중복 설명은 생략한다.If it is detected in
이 상태에서 단계 230에서 보조 디스플레이 장치 연동 기능을 구비한 스마트폰의 통화 화면 전환 장치가 스마트폰의 전화 수신을 검출한다. 전화 수신 검출과 관련해서는 기 설명하였으므로, 중복 설명은 생략한다.In this state, in
만약, 단계 230에 의해 전화 수신이 검출되면, 보조 디스플레이 장치 연동 기능을 구비한 스마트폰의 통화 화면 전환 장치가 단계 240에서 보조 디스플레이 장치의 화면에 포어그라운드(Foreground)로 실행될 전화 수신 어플리케이션을 백그라운드(Background)로 전환하고, 가장 최근 포어그라운드로 실행된 어플리케이션을 포어그라운드로 계속 실행한다.If the phone reception is detected in
이 때, 단계 240에서 보조 디스플레이 장치 연동 기능을 구비한 스마트폰의 통화 화면 전환 장치가 보조 디스플레이 장치의 화면에 실행될 전화 수신 어플리케이션을 포어그라운드로 실행하는 제1모드 또는 보조 디스플레이 장치의 화면에 실행될 전화 수신 어플리케이션을 백그라운드로 전환하는 제2모드를 실시간 설정받아, 제2모드로 설정된 경우 보조 디스플레이 장치의 화면에 포어그라운드(Foreground)로 실행될 전화 수신 어플리케이션을 백그라운드(Background)로 전환하도록 구현할 수도 있다.At this time, in
이와는 달리, 단계 240에서 보조 디스플레이 장치 연동 기능을 구비한 스마트폰의 통화 화면 전환 장치가 현재 설정된 모드가 보조 디스플레이 장치의 화면에 실행될 전화 수신 어플리케이션을 포어그라운드로 실행하는 제1모드 인지 또는 보조 디스플레이 장치의 화면에 실행될 전화 수신 어플리케이션을 백그라운드로 전환하는 제2모드 인지 판단하여 제2모드로 설정된 경우 보조 디스플레이 장치의 화면에 포어그라운드(Foreground)로 실행될 전화 수신 어플리케이션을 백그라운드(Background)로 전환하도록 구현할 수도 있다.Alternatively, in
이렇게 구현함에 의해 본 발명은 스마트폰에 전화가 수신된 경우, 보조 디스플레이 장치의 화면에 포어그라운드(Foreground)로 실행될 전화 수신 어플리케이션을 백그라운드(Background)로 전환함으로써 사용자 편의성을 향상시킬 수 있으므로, 상기에서 제시한 본 발명의 목적을 달성할 수 있게 된다.According to the present invention, when a telephone call is received on a smartphone, the user can improve user convenience by switching the telephone receiving application to be executed in the foreground on the screen of the secondary display device to the background, And the object of the present invention can be achieved.
본 발명은 첨부된 도면에 의해 참조되는 바람직한 실시예를 중심으로 기술되었지만, 이러한 기재로부터 후술하는 특허청구범위에 의해 포괄되는 범위내에서 본 발명의 범주를 벗어남이 없이 다양한 변형이 가능하다는 것은 명백하다.While the present invention has been particularly shown and described with reference to exemplary embodiments thereof, it will be understood by those of ordinary skill in the art that various changes in form and details may be made therein without departing from the spirit and scope of the invention as defined by the appended claims. .
본 발명은 화면 전환 기술분야 및 이의 응용 기술분야에서 산업상으로 이용 가능하다.INDUSTRIAL APPLICABILITY The present invention is industrially applicable in the screen switching technology field and its application field.
10 : 스마트폰                      20 : 보조 디스플레이 장치
100 : 화면 전환 장치               110 : 접속 검출부
120 : 감시부                       130 : 전화 수신 검출부
140 : 화면 전환부                  150 : 모드 설정부10: Smartphone 20: Secondary display device
 100: screen switching device 110: connection detecting unit
 120: monitoring unit 130: telephone reception detector
 140: Screen switching unit 150: Mode setting unit
| Application Number | Priority Date | Filing Date | Title | 
|---|---|---|---|
| KR1020120062745AKR101421278B1 (en) | 2012-06-12 | 2012-06-12 | Screen converting apparatus for a call on a smart phone connected with an auxiliary displaying apparatus | 
| Application Number | Priority Date | Filing Date | Title | 
|---|---|---|---|
| KR1020120062745AKR101421278B1 (en) | 2012-06-12 | 2012-06-12 | Screen converting apparatus for a call on a smart phone connected with an auxiliary displaying apparatus | 
| Publication Number | Publication Date | 
|---|---|
| KR20130139049A KR20130139049A (en) | 2013-12-20 | 
| KR101421278B1true KR101421278B1 (en) | 2014-07-17 | 
| Application Number | Title | Priority Date | Filing Date | 
|---|---|---|---|
| KR1020120062745AExpired - Fee RelatedKR101421278B1 (en) | 2012-06-12 | 2012-06-12 | Screen converting apparatus for a call on a smart phone connected with an auxiliary displaying apparatus | 
| Country | Link | 
|---|---|
| KR (1) | KR101421278B1 (en) | 
| Publication number | Priority date | Publication date | Assignee | Title | 
|---|---|---|---|---|
| KR102274400B1 (en)* | 2014-11-24 | 2021-07-08 | 현대엠엔소프트 주식회사 | Method for transmitting data to external device and apparatus thereof | 
| KR102475167B1 (en)* | 2015-11-11 | 2022-12-07 | 삼성전자주식회사 | Method for presenting application using external electronic device and device thereof | 
| Publication number | Priority date | Publication date | Assignee | Title | 
|---|---|---|---|---|
| KR100881218B1 (en) | 2007-12-28 | 2009-02-05 | (주)케이티에프테크놀로지스 | Mobile communication terminal that drives multiple applications simultaneously | 
| KR20110059047A (en)* | 2009-11-27 | 2011-06-02 | 현대자동차주식회사 | An audio / video terminal system for a vehicle having a user interface interlocked with a mobile device and an interworking method thereof | 
| Publication number | Priority date | Publication date | Assignee | Title | 
|---|---|---|---|---|
| KR100881218B1 (en) | 2007-12-28 | 2009-02-05 | (주)케이티에프테크놀로지스 | Mobile communication terminal that drives multiple applications simultaneously | 
| KR20110059047A (en)* | 2009-11-27 | 2011-06-02 | 현대자동차주식회사 | An audio / video terminal system for a vehicle having a user interface interlocked with a mobile device and an interworking method thereof | 
| Publication number | Publication date | 
|---|---|
| KR20130139049A (en) | 2013-12-20 | 
| Publication | Publication Date | Title | 
|---|---|---|
| ES2971324T3 (en) | Terminal and terminal operating procedure | |
| CN103873689A (en) | Method and device for safety reminding | |
| RU2008148670A (en) | TERMINAL AND METHOD FOR MANAGING THEM | |
| US20160301799A1 (en) | Method for switching off communication screen to avoid false triggering based on mobile terminal and system employing the same | |
| EP2939885A1 (en) | Electronic control device | |
| RU2008144994A (en) | SWITCHING THE OPERATION MODE IN THE MOBILE COMMUNICATION TERMINAL | |
| US9733144B2 (en) | Electronic device, control method, and control program | |
| CN111899545B (en) | A driving reminder method, device, storage medium and mobile terminal | |
| JP2015195553A5 (en) | ||
| CN103257837A (en) | Method and electronic device for displaying data | |
| US20150223064A1 (en) | On-vehicle device, communication method, and storage medium | |
| CN104572071A (en) | Terminal | |
| CN104346119B (en) | The method and electronic equipment of display | |
| KR20140054742A (en) | Multi media device for vehicle having mirroring function of smart phone | |
| KR20130107517A (en) | Mobile terminal and control method thereof | |
| KR20160104800A (en) | Display system for vehicle | |
| WO2009104185A3 (en) | Application display switch | |
| KR101421278B1 (en) | Screen converting apparatus for a call on a smart phone connected with an auxiliary displaying apparatus | |
| CN105959480A (en) | Control method and electronic equipment | |
| KR102776765B1 (en) | Apparatus for detecting phase | |
| US20170318534A1 (en) | Portable terminal, portable terminal operation system, and communication control method | |
| KR20120019003A (en) | Guidance system and method for voice recognition | |
| US9933986B2 (en) | Method for switching display mode and electronic device thereof | |
| US20210112153A1 (en) | Mobile apparatus, terminal apparatus, information processing system, information processing method, program for mobile apparatus, and program for terminal apparatus | |
| JP2016076866A5 (en) | 
| Date | Code | Title | Description | 
|---|---|---|---|
| A201 | Request for examination | ||
| PA0109 | Patent application | St.27 status event code:A-0-1-A10-A12-nap-PA0109 | |
| PA0201 | Request for examination | St.27 status event code:A-1-2-D10-D11-exm-PA0201 | |
| E902 | Notification of reason for refusal | ||
| PE0902 | Notice of grounds for rejection | St.27 status event code:A-1-2-D10-D21-exm-PE0902 | |
| P11-X000 | Amendment of application requested | St.27 status event code:A-2-2-P10-P11-nap-X000 | |
| P13-X000 | Application amended | St.27 status event code:A-2-2-P10-P13-nap-X000 | |
| E701 | Decision to grant or registration of patent right | ||
| PE0701 | Decision of registration | St.27 status event code:A-1-2-D10-D22-exm-PE0701 | |
| PG1501 | Laying open of application | St.27 status event code:A-1-1-Q10-Q12-nap-PG1501 | |
| GRNT | Written decision to grant | ||
| PR0701 | Registration of establishment | St.27 status event code:A-2-4-F10-F11-exm-PR0701 | |
| PR1002 | Payment of registration fee | St.27 status event code:A-2-2-U10-U11-oth-PR1002 Fee payment year number:1 | |
| PG1601 | Publication of registration | St.27 status event code:A-4-4-Q10-Q13-nap-PG1601 | |
| LAPS | Lapse due to unpaid annual fee | ||
| PC1903 | Unpaid annual fee | St.27 status event code:A-4-4-U10-U13-oth-PC1903 Not in force date:20170709 Payment event data comment text:Termination Category : DEFAULT_OF_REGISTRATION_FEE | |
| P22-X000 | Classification modified | St.27 status event code:A-4-4-P10-P22-nap-X000 | |
| PC1903 | Unpaid annual fee | St.27 status event code:N-4-6-H10-H13-oth-PC1903 Ip right cessation event data comment text:Termination Category : DEFAULT_OF_REGISTRATION_FEE Not in force date:20170709 | |
| P22-X000 | Classification modified | St.27 status event code:A-4-4-P10-P22-nap-X000 |