











본 발명은 고압 공기를 이용한 피부 재생 장치에 관한 것으로, 더욱 상세하게는 고압의 공기를 함몰된 피부층에 순간적으로 주입하여 함몰된 피부층을 펴주도록 복원시키는 방식으로 피부 탄력, 주름 또는 흉터 등을 제거하기 위하여 고압 공기를 이용한 피부 재생 장치에 사용되는 장치에 관한 것이다.
The present invention relates to a skin regeneration device using high pressure air, and more particularly, to remove skin elasticity, wrinkles or scars in such a manner as to restore the stretched skin layer by injecting the high pressure air into the recessed skin layer instantaneously. The present invention relates to a device used for a skin regeneration device using high pressure air.
최근 들어 사람들이 피부가 탄력을 잃지 않도록 보호하고, 주름 등을 제거하여 아름다움을 유지하는데 관심이 많아지고 있는 실정이며, 이에 따라 피부에 주름이나 패인 부분을 평편하게 만들거나 완화시켜 주는 피부 재생 방법으로 외과적인 성형 수술과, 피부 내에 약물을 주입하는 방법과, 피부에 고주파 에너지를 전달하는 방식 등이 널리 알려져 있다.Recently, people are becoming more interested in protecting their skin from losing elasticity, removing wrinkles, etc. to maintain beauty, and accordingly, it is a skin regeneration method that flattens or alleviates wrinkles or indentations on the skin. Surgical plastic surgery, a method of injecting a drug into the skin, a method of delivering high frequency energy to the skin and the like are widely known.
먼저, 외과적인 성형 수술 방식은 늘어지거나 함몰된 피부 조직을 절제하여 잡아당겨 봉합하는 방식으로 수술을 하고 있으나 이 경우에는 수술 후에 미세한 흉터가 생기며 수술 비용이 비싼 단점이 있다.First, the surgical plastic surgery method is to operate by cutting and pulling down sutured or recessed skin tissue, but in this case there is a disadvantage that a small scar after surgery and expensive surgery.
다음으로, 피부탄력 및 흉터 및 주름개선 등 피부 재생을 위해 손상된 피부 내에 약물을 주입하여 시술하는 메조테라피 시술 방식은 상기 외과적인 성형 수술 방식에 비하여 보다 간단하고 비용이 저렴한 장점이 있으나 시술 부위의 피부 손상, 특히 피부 주름이 있는 경우에 피부층이 함몰되어 피부층(표피층)과 피하층(진피층) 사이로 약물이 효과적으로 주입되지 않는 문제점이 있으며, 시술 시마다 고가의 약물을 주입한다는 점에서 시술 비용이 저렴하지 않고 약물에 의한 이물감이 느낄 수 있는 단점이 있다.Next, the mesotherapy treatment method of injecting drugs into damaged skin for skin regeneration such as skin elasticity, scar and wrinkle improvement is simpler and cheaper than the surgical plastic surgery method, but the skin of the treatment site In case of damage, especially skin wrinkles, the skin layer is depressed and the drug is not effectively injected between the skin layer (epidermal layer) and the subcutaneous layer (dermis layer). There is a drawback that you can feel the foreign body.
그리고, 손상된 피부의 피부층에 고주파 에너지를 전달하는 시술 방식은 고주파를 피부층에 가하게 되면 피부에 고주파 에너지가 전달되어 피부층에 콜라겐을 성분을 단단히 뭉치게 하고 새로운 콜라겐을 촉진하게 되며 이로 인해 피부가 복원되는 시술 방식으로, 외과적인 성형 수술 방식에 비하여 비용이 저렴하고, 약물을 주입하는 방식에 비하여 이물감이 없는 장점이 있으나, 전극을 이용하거나 니들(NEDLE)을 이용하여 피부층에 높은 에너지를 전달하게 되어 피부 표면에 화상 등이 동반될 수 있는 문제점이 있다.
In addition, when the high frequency energy is applied to the skin layer, the high frequency energy is transmitted to the skin layer to tightly bind collagen components to the skin layer and promote new collagen. As a surgical method, it is inexpensive compared to the surgical plastic surgery method and has the advantage of having no foreign object compared to the method of injecting drugs, but it is used to deliver high energy to the skin layer using an electrode or a needle (NEDLE). There is a problem that may be accompanied by burns on the surface.
따라서, 본 발명은 이와 같은 점을 감안하여 안출한 것으로서, 함몰된 피부층을 복원하는 시술에 있어서 함몰된 피부층 내에 고압의 공기를 순간적으로 주입하여 피부조직을 리프팅하는 새로운 방식의 고압 공기 주입 시스템을 구현함으로써, 정확한 시술은 물론 별도의 약물 주입이 없이도 고압의 공기만을 주입함으로써 안정적이고 효율적인 시술을 할 수 있는 피부 재생 장치를 제공하는데 그 목적이 있다.Accordingly, the present invention has been made in view of the above, and in the procedure of restoring the depressed skin layer, a high-pressure air injection system of a new method of instantaneously injecting high-pressure air into the depressed skin layer to lift skin tissue is implemented. By doing so, it is an object of the present invention to provide a skin regeneration apparatus capable of performing a stable and efficient procedure by injecting only high pressure air without additional injection of a precise procedure.
또한, 본 발명의 다른 목적은 주변에서 무한대로 얻을 수 있는 대기 공기를 사용함으로써 비용이 매우 저렴한 피부 재생 장치를 제공하는데 그 목적이 있다.
Another object of the present invention is to provide a skin regeneration device which is very inexpensive by using atmospheric air which can be obtained indefinitely in the surroundings.
상기 목적을 달성하기 위하여 본 발명에서 제공하는 고압 공기를 이용한 피부 재생 장치는 후방에 튜브와 연결되고 피부 내에 고압의 공기를 주입하는 공기주입용 주사바늘을 가지는 카테터와, 상기 카테터측에 튜브를 통해 고압의 공기를 자동 공급하는 수단으로서, 토출구에 튜브가 연결되는 주사기와, 상기 주사기의 플런저를 작동시켜주는 액추에이터로 구성되는 고압 공기 생성 유니트를 포함하여, 상기 카테터가 가지는 공기주입용 주사바늘을 피부에 꽂아 고압 공기 생성 유니트에서 생성된 고압의 공기를 함몰된 피부층에 주입하여 함몰된 피부를 복원하는 것을 특징으로 한다.Skin regeneration device using a high pressure air provided in the present invention to achieve the above object is a catheter having a needle for the air injection needle connected to the tube and injects high-pressure air into the skin through the tube, the tube through the catheter side Means for automatically supplying high-pressure air, comprising a high-pressure air generating unit consisting of a syringe connected to the tube to the discharge port, and an actuator for operating the plunger of the syringe, the catheter is a skin injection needle Injecting the high pressure air generated in the high pressure air generating unit into the recessed skin layer to restore the recessed skin.
여기서, 상기 고압 공기 생성 유니트의 액추에이터는 실린더와, 이 실린더의 로드에 장착되어 플런저를 밀어주거나 당겨주는 홀더를 포함하여 구성되거나 또는 모터와, 이 모터의 기어전동을 통해 작동하는 스크류축과, 상기 스크류축과의 스크류 전동에 의해 전후로 운동하면서 플런저를 밀어주거나 당겨주는 홀를 포함하여 구성되는 것을 특징으로 한다.Here, the actuator of the high pressure air generating unit comprises a cylinder, a holder mounted to the rod of the cylinder to push or pull the plunger or the motor, a screw shaft operating through the gear transmission of the motor, and It characterized in that it comprises a hole for pushing or pulling the plunger while moving back and forth by the screw transmission with the screw shaft.
한편, 상기 고압 공기 생성 유니트의 주사기에는 토출구와 튜브 사이에 연결되는 3-웨이 밸브가 구비되어, 외부로부터 공기를 흡입하고 압축된 공기를 배출할 수 있도록 된다.On the other hand, the syringe of the high-pressure air generating unit is provided with a three-way valve connected between the discharge port and the tube, it is possible to suck the air from the outside and to discharge the compressed air.
그리고. 상기 고압 공기 생성 유니트는 실린더의 일측에 장착되는 센서를 포함하며, 주사기 내의 공기를 다 소진하고 하면 상기 센서의 신호에 의해 실린더가 동작하여 주사기 내에 자동으로 공기를 채울 수 있도록 된 것이 바람직하다.And. The high pressure air generating unit includes a sensor mounted on one side of the cylinder, and when the air in the syringe runs out, it is preferable that the cylinder operates by the signal of the sensor to automatically fill the air in the syringe.
다른 예로서, 후방에 튜브와 연결되고 피부 내에 고압의 공기를 주입하는 공기주입용 주사바늘을 가지는 카테터 및 상기 카테터측에 튜브를 통해 고압의 공기를 자동 공급하는 수단으로서, 상기 튜브에 연결된 고압 공기 저장통을 포함하며 상기 카테터가 가지는 공기주입용 주사바늘을 피부에 꽂아 고압 공기 생성 유니트에서 생성된 고압의 공기를 함몰된 피부층에 주입하여 함몰된 피부를 복원하는 것을 특징으로 한다.As another example, a catheter having an air injection needle connected to the tube at the rear and injecting high pressure air into the skin, and a means for automatically supplying high pressure air through the tube to the catheter side, the high pressure air connected to the tube. It includes a reservoir and the catheter is inserted into the injection needle for injection into the skin characterized in that the high-pressure air generated in the high-pressure air generating unit is injected into the impregnated skin layer to restore the impregnated skin.
그리고, 상기 피부 내에 가스 및 약물 순차적 주입가능한 시술장치는 주사기와 카테터 사이를 연결하는 튜브의 일측에 배치되는 잔여량 방지용 실린더, 상기 잔여량 방지용 실린더의 로드에 장착되어 튜브를 폐쇄하거나 해제할 수 있는 잔여량 방지용 봉, 튜브를 사이에 두고 잔여량 방지용 봉의 맞은편에 배치되어 튜브의 한쪽을 받쳐주는 잔여량 방지용 브라켓으로 구성되는 잔여량 방지기를 포함하며, 가스나 공기, 또는 약물의 주입 통로가 되는 튜브를 효과적으로 단속하여 약물로 인한 오염이나 고가의 약물이 낭비되는 것을 막을 수 있는 특징이 있다.
In addition, the surgical device capable of sequentially injecting gas and drugs into the skin is a residual amount preventing cylinder disposed on one side of a tube connecting the syringe and the catheter, and is mounted on a rod of the remaining amount preventing cylinder to prevent the remaining amount from being able to close or release the tube. It includes a residual amount protector composed of a residual amount prevention bracket which is disposed opposite the residual amount prevention rod with the rod and the tube interposed therebetween, and effectively controls the tube that becomes the gas, air, or drug injection path. There is a characteristic that can prevent contamination due to or waste of expensive drugs.
본 발명에서 제공하는 고압 공기를 이용한 피부 재생 장치는 함몰된 피부층에 고압의 공기를 순간적으로 주입하는 시술 방법을 채택함으로써, 함몰된 피부층이 펴지는 복원이 효과적으로 이루어질 수 있고, 별도의 약물을 주입하는 방식이 아니기 때문에 안정적인 피부 재생 시술을 할 수 있는 장점이 있다.The skin regeneration device using the high pressure air provided by the present invention adopts a method of injecting high pressure air into the recessed skin layer instantaneously, thereby effectively restoring the spreading of the recessed skin layer and injecting a separate drug. Because it is not a method, there is an advantage that can be a stable skin regeneration procedure.
특히, 본 발명에 따른 피부 재생 장치는 함몰된 피부의 복원을 위해 주입되는 매개체로 대기 중의 공기를 직접 이용하거나 또는 압축된 공기를 이용하는 시술하는 방식이기 때문에 시술을 위한 많은 비용이 필요하지 않으며, 주사기 가압 방식을 이용한 간단한 구조로 공기를 압축하는 구조여서 고가의 장비가 필요하지 않음은 물론 장치의 소형화를 구축할 수 있는 장점이 있다.In particular, the skin regeneration device according to the present invention does not require much cost for the procedure because it is a method of directly using the air in the atmosphere or compressed air to be injected as a medium for the restoration of the depressed skin, and a syringe It is a structure that compresses air with a simple structure using a pressurization method, so that expensive equipment is not required, and there is an advantage in that the device can be miniaturized.
도 1a,1b는 본 발명의 일 실시예에 따른 고압 공기를 이용한 피부 재생 장치를 나타내는 사시도
도 2a,2b,2c는 본 발명의 일 실시예에 따른 고압 공기를 이용한 피부 재생 장치에서 실린더 방식의 액추에이터 작동상태를 나타내는 단면도
도 3a,3b는 본 발명의 다른 실시예에 따른 고압 공기를 이용한 피부 재생 장치를 나타내는 사시도
도 4a,4b,4c는 본 발명의 다른 실시예에 따른 고압 공기를 이용한 피부 재생 장치에서 모터 방식의 액추에이터 작동상태를 나타내는 단면도
도 5은 본 발명의 또 다른 실시예에 따른 고압 공기를 이용한 피부 재생 장치를 나타내는 사시도
도 6은 본 발명에 따른 고압 공기를 이용한 피부 재생 장치를 이용한 시술방법을 나타내는 개략도1A and 1B are perspective views illustrating a skin regeneration device using high pressure air according to an embodiment of the present invention.
 Figure 2a, 2b, 2c is a cross-sectional view showing the operation of the actuator of the cylinder type in the skin regeneration device using high pressure air according to an embodiment of the present invention
 3A and 3B are perspective views illustrating a skin regeneration device using high pressure air according to another embodiment of the present invention.
 Figure 4a, 4b, 4c is a cross-sectional view showing the operating state of the motor actuator in the skin regeneration device using high pressure air according to another embodiment of the present invention
 5 is a perspective view showing a skin regeneration device using high pressure air according to another embodiment of the present invention
 Figure 6 is a schematic diagram showing a treatment method using a skin regeneration device using high pressure air according to the present invention
이하, 첨부한 도면을 참조하여 본 발명을 상세히 설명하면 다음과 같다.Hereinafter, the present invention will be described in detail with reference to the accompanying drawings.
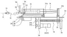
도 1a 및 1b는 본 발명의 일 실시예에 따른 고압 공기를 이용한 피부 재생 장치를 나타내는 사시도이다.1A and 1B are perspective views illustrating a skin regeneration device using high pressure air according to an embodiment of the present invention.
도 1a 및 1b에 도시한 바와 같이, 상기 고압 공기를 이용한 피부 재생 장치는 시술 부위, 예를 들어 주름 등에 의해 함몰된 피부층에서 리프트시켜서 복원하는 방식으로 이루어진다.As shown in Figure 1a and 1b, the skin regeneration device using the high-pressure air is made in a manner to restore by lifting from the skin layer recessed by the treatment site, for example wrinkles.
이를 위하여, 함몰된 피부 내부로 꽂아져 고압의 공기를 주입하기 위한 공기 주입용 주사바늘(11)이 카테터(13)상에 장착된다.To this end, an
그리고, 상기 카테터(13)에 있는 공기주입용 주사바늘(11)의 뒷쪽으로는 튜브(10)가 연결되며, 이에 따라 튜브(10)를 통해 공급되는 고압의 공기가 주사바늘(11)을 통해 피부 내부에 주입될 수 있게 된다.Then, the
이렇게 공기주입용 주사바늘을 갖는 카테터(13)는 시술자가 손으로 잡은 상태에서 피부에 직접 꽂아 시술하는 방식으로 사용될 수 있다.The
또한, 상기 카테터(13)측에 튜브(10)를 통해 고압의 공기를 자동 생성하여 공급하는 수단으로 공기를 채울 수 있는 주사기(15)와 이 주사기(15)의 플런저(16)를 작동시켜 그 속에 채워져 있는 공기를 압축하여 토출시킬 수 있는 고압 공기 생성 유니트(18)를 포함한다.In addition, by operating the
상기 주사기(15)와 액추에이터(17)의 설치를 위하여 일정높이의 테이블(33)이 마련되고, 이 테이블(33)의 윗쪽에는 주사기(15)가, 아래쪽에는 액추에이터(17)가 각각 설치된다.In order to install the
상기 주사기(15)는 테이블(33)에 설치되어 있는 주사기 하우징(26) 내에 수용되는 형태로 설치되며, 선단의 토출구(14)와 후단의 플런저(16)는 각각 하우징 외부의 앞쪽과 뒷쪽으로 돌출 위치된다.The
여기서, 상기 주사기(15)의 토출구(14)에는 튜브(10)가 연결되며, 이에 따라 주사기(15) 속의 압축된 고압의 공기가 튜브(10)를 통해 카테터(13)측으로 보내질 수 있게 된다.Here, the
이때의 주사기 하우징(26)은 주사기(15) 몸체 전부를 감싸는 구조로 내부가 비어 있고 상부가 개방된 사각 케이스 형태로 이루어져 있으며, 이에 따라 주사기 몸체를 위아래 방향으로 수납 및 인출 가능하게 거치할 수 있게 된다.In this case, the
특히, 상기 주사기 하우징(26)의 후단부에는 홈(31a)이 마련되어 있어서 이곳에 주사기 몸체의 후단부에 있는 플랜지 부분을 끼워서 고정시킬 수 있으며, 이에 따라 플런저(16)의 작동시 주사기 몸체가 유동 없이 견고히 고정될 수 있게 된다.In particular, the rear end of the
상기 액추에이터(17)는 공압을 이용한 실린더 방식의 액추에이터로 이루어지며, 실린더 브라켓(37)을 이용하여 테이블(33)의 저면에 설치되는 실린더(20)와, 상기 실린더(20)의 로드에 장착되는 홀더(21)를 포함하는 형태로 구성된다.The
이때의 상기 홀더(21)는 테이블(33)의 윗쪽으로 연장 위치되면서 그 홈(31b)을 통해 플런저(16)의 손잡이 부분과 결합되며, 이에 따라 실린더(20)의 작동시 플런저(16)를 잡고 있는 홀더(21)가 앞뒤로 움직이게 되므로서, 플런저(16)의 가압에 의해 주사기(15) 속에 들어 있는 공기가 압축된 후 토출되면서 튜브(10)를 거쳐 카테터(13)의 공기주입용 주사바늘(11)로 공급될 수 있게 된다.At this time, the
이러한 주사기(15) 및 액추에이터(17)를 포함하는 고압 공기 생성 유니트(18)는 실린더(20)의 작동에 의해 공기가 주사기(15) 내로 자동으로 흡입 및 압축된 후 배출하는 방식이 적용된다.The high pressure
이를 위해 주사기 토출구(14) 측에는 3-웨이 밸브(24)가 마련된다.To this end, a three-
보다 상세하게 3-웨이 밸브(24)는 주사기(15)의 토출구(14)와 튜브(10) 사이에 연결 설치되며, 이 3-웨이 밸브(24)의 선택적인 유로 전환을 통해 외부로부터 공기를 흡입한 후 압축 배출할 수 있게 된다.More specifically, the three-
예를 들면, 실린더(20)의 작동에 따라 주사기(15)의 플런저(16)를 당기면, 3-웨이 밸브(24)의 입구에서만 튜브(10c)를 통해 공기가 주사기(15) 내부로 들어오게 되고, 주사기(15)의 플런저(16)를 밀면, 입구는 닫히고 출구만 열려 이때에는 주사기(15)에서 압축된 공기가 배출하게 된다.For example, pulling the
이때, 주사기(15)를 통해 나가는 압축된 공기의 양은 실린더 제어시 시간으로 제어하여, 미세량 또는 많은 양을 배출시킬 수 있게 된다.At this time, the amount of compressed air going out through the
또한, 상기 압축 공기 생성 유니트(18)는 주사기(15) 내의 공기가 다 소진되고 나면 자동으로 보충되도록 할 수 있는 방식을 포함한다.In addition, the compressed
예를 들면, 실린더(20)의 일측에는 피스톤의 전후 스트로크 한계 위치에 장착되는 센서(25a,25b)가 마련되며, 주사기(15) 내의 공기가 다 소진하거나, 또는 주사기(15) 속에 공기를 다 충전하게 되면, 상기 센서(25a,25b)의 신호에 의해 자동으로 주시기(15) 내부로 공기를 채울 수 있고, 또 정해진 양이 다 채워지면 실린더(20)의 흡입 작동을 멈추게 할 수 있다.For example, one side of the
특히, 본 발명에서는 튜브(10) 속에 남아 있는 공기의 잔여량이 나오지 않게 해주는 수단으로 잔여량 방지기(30)를 제공한다.In particular, the present invention provides a
상기 잔여량 방지기(30)는 압축된 공기의 공급 통로가 되는 튜브를 단속하는 수단으로서, 구동수단인 잔여량 방지용 실린더(27), 실질적으로 튜브(10)를 눌러주거나 해제시켜주는 수단인 잔여량 방지용 봉(28), 튜브(10)를 누를 때 반대쪽에서 받쳐주는 수단인 잔여량 방지용 브라켓(29) 등을 포함한다.The
상기 잔여량 방지용 실린더(27)는 공기의 압축이나 흡입을 위한 실린더(20)의 일측에 위치되면서 테이블(33)의 저면에 설치되고, 상기 잔여량 방지용 봉(28)은 잔여량 방지용 실린더(27)의 로드에 장착되는 동시에 테이블(33)에 있는 장공(32)을 통해 테이블(33)의 윗쪽으로 돌출되며, 상기 잔여량 방지용 브라켓(29)은 튜브(10)를 사이에 두고 잔여량 방지용 봉(28)의 맞은편에 배치되면서 테이블(33)상에 설치된다.The residual
이때, 주사기(15)로부터 연장되어 카테터(13)측으로 향하는 튜브(10)는 잔여량 방지용 봉(28)과 잔여량 방지용 브라켓(29) 사이를 경유하게 된다.At this time, the
이에 따라, 피부 내에 일정한 양의 공기를 주입 후, 잔여량 방지용 실린더(27)가 작동하게 되면, 잔여량 방지용 봉(28)이 전진하여 잔여량 방지용 브라켓(29)과 함께 그 사이의 튜브(10)를 눌러주게 되므로, 튜브(10)에 남아 있던 약물 등이 새어나오는 문제를 배제할 수 있게 된다.Accordingly, after injecting a certain amount of air into the skin, when the residual
물론, 이때의 튜브(10)를 구속하는 작동은 공기를 주입하는 작동과 연계적으로 이루어지게 되므로, 예를 들면 공기주입용 주사바늘(11)이 피부에 꽂히기 전에 튜브(10)가 개방될 수 있으므로, 약물 주입에는 전혀 문제가 없게 된다.Of course, since the operation of restraining the
따라서, 이와 같이 구성되는 본 발명의 일 실시예에 따른고압 공기를 이용한 피부 재생 장치에서 실린더 방식의 액추에이터 작동상태를 살펴보면 다음과 같다.Therefore, the actuator operating state of the cylinder type in the skin regeneration device using high pressure air according to the embodiment of the present invention configured as described above is as follows.
도 2a 내지 2c는 본 발명의 일 실시예에 따른고압 공기를 이용한 피부 재생 장치에서 실린더 방식의 액추에이터 작동상태를 나타내는 단면도이다.2A to 2C are cross-sectional views illustrating an actuator operating state of a cylinder type in a skin regeneration device using high pressure air according to an embodiment of the present invention.
도 2a 내지 2c에 도시한 바와 같이, 시술자가 카테터(13)를 손으로 잡은 상태에서 공기주입용 주사바늘(11)을 함몰된 피부에 직접 꽂아 함몰된 피부층에 고압의 공기가 순간적으로 주입하게 된다.As shown in Figures 2a to 2c, the operator directly inserts the
예를 들면, 잔여량 방지용 실린더(27)의 작동에 의해 튜브(10)가 개방된 상태에서 실린더(20)가 후진 작동하게 되면, 홀더(21)에 의해 주사기(15)의 플런저(16)가 전진하게 되고, 이에 함께 주사기(15) 속의 압축된 공기가 카테터(13)의 공기주입용 주사바늘(11)을 통해 피부 내로 주입된다.For example, when the
피부 내로 공기의 주입하여 주사기(15)의 가스를 다 소진한 후에는 실린더(20)가 전진 작동하여 주사기(15)의 플런저(16)를 재차 당겨주게 되므로, 주사기(15) 속에는 3-웨이 밸브(24)의 튜브(10c)를 통해 유입되는 공기가 자동으로 채워지게 된다.After exhausting the gas in the
도 3a 및 3b는 본 발명의 다른 실시예에 따른 고압 공기를 이용한 피부 재생 장치를 나타내는 사시도이다.3A and 3B are perspective views illustrating a skin regeneration device using high pressure air according to another embodiment of the present invention.
도 3a 및 3b에 도시한 바와 같이, 여기서는 공기를 주입하는 액추에이터 수단으로서 모터 방식의 액추에이터를 보여주고 있으며, 카테터(13)의 구조나 사용방식, 실린더(15)의 형태나 작동방식 등은 위의 일 실시예와 동일하므로 그 구체적인 설명은 생략하기로 한다.As shown in Figures 3a and 3b, here shows a motor-type actuator as the actuator means for injecting air, the structure or use method of the
상기 액추에이터(17)는 모터의 동력을 이용한 모터 방식의 액추에이터로 이루어지며, 테이블(33)의 저면에 설치되어 있는 앞뒤 2개의 지지블럭(36) 중 앞쪽의 지지블럭에 의해 지지되는 모터(22)와, 앞뒤 2개의 지지블럭(36) 사이에 가로걸쳐 설치되는 스크류축(23)과, 상기 스크류축(23)과의 스크류 전동가능한 구조로 결합되어 전후로 운동하면서 플런저(16)를 밀어주거나 당겨주는 홀더(21)를 포함하는 형태로 구성된다.The
그리고, 상기 모터(22)의 축과 스크류축(23)의 한쪽 단부는 서로 맞물려 돌아가는 한쌍의 전동기(34a,34b)에 의해 서로 전동가능한 구조로 연결되며, 상기 스크류축(23)의 양옆에는 이와 나란하게 2개의 가이드바(35)가 마련되어 홀더(21)의 전후 움직임을 정확히 안내할 수 있게 된다.The shaft of the
따라서, 도 4a 내지 4c에 도시한 바와 같이, 시술자가 카테터(13)를 손으로 잡은 상태에서 공기주입용 주사바늘(11)을 피부에 직접 꽂게 되면, 주사기(15) 내부의 압축된 공기의 주입이 이루어지게 된다.Therefore, as illustrated in FIGS. 4A to 4C, when the operator directly inserts the
예를 들면, 잔여량 방지용 실린더(27)의 작동에 의해 튜브(10)가 개방된 상태에서 모터(22)가 정방향 작동하게 되면, 스크류축(23)과의 스크류 전동에 의해 움직이는 홀더(21)에 의해 주사기(15)의 플런저(16)가 전진하게 되고, 이에 함께 주사기(15) 속의 공기가 압축되면서 카테터(13)의 공기주입용 주사바늘(11)을 통해 피부로 주입된다.For example, when the
한편, 피부로 압축된 고압 공기의 주입이 완료되어 주사기(15)의 공기를 다 소진한 후에는 모터(22)의 역방향 작동에 의해 주사기(15)의 플런저(16)를 재차 당겨주게 되므로, 주사기(15) 속에는 3-웨이 밸브(24)의 튜브(10c)를 통해 유입되는 가 공기가 채워지게 된다.On the other hand, after the injection of the high-pressure air compressed into the skin is exhausted and exhausts the air of the
도 5은 본 발명의 또 다른 실시예에 따른 고압 공기를 이용한 피부 재생 장치를 나타내는 사시도이다.5 is a perspective view showing a skin regeneration device using high pressure air according to another embodiment of the present invention.
도 5에 도시한 바와 같이, 여기서는 고압의 공기의 주입을 위한 공급이 실린더 또는 모터에 의한 액추에이터가 아닌 고압 공기 저장통(19)에 의해 이루어지는 예를 보여준다.As shown in FIG. 5, an example is shown in which the supply for the injection of high pressure air is made by a high
이를 위하여, 고압 공기 저장통(19)으로 카테터(13)의 공기주입용 주사바늘(11)의 뒷쪽에 마련된 튜브(10)가 연결된다.To this end, a
이에 따라, 소정의 솔레노이드 밸브(미도시)의 작동에 의해 고압 공기 저장통(19)으로부터 제공되는 고압의 공기가 튜뷰(10)를 거쳐 공기주입용 주사바늘(11)을 통해 피부에 주입될 수 있다.Accordingly, the high pressure air provided from the high
따라서, 이와 같이 구성되는 피부 내에 가스 및 약물 순차적 주입가능한 시술장치를 이용한 피부 내에 가스 및 약물 순차적 주입가능한 시술방법을 살펴보면 다음과 같다.Therefore, a method of sequentially injecting gas and drugs into the skin using a device capable of sequentially injecting gas and drugs into the skin configured as described above is as follows.
도 6은 본 발명에 따른 고압 공기를 이용한 피부 재생 장치를 이용한 시술방법을 나타내는 개략도이다.6 is a schematic view showing a procedure using the skin regeneration device using high pressure air according to the present invention.
도 7에 도시한 바와 같이, 시술자가 카테터(13)를 손으로 잡은 상태에서 함몰된 피부층(110)에 공기주입용 주사바늘(11)을 직접 꽂은 다음, 소정의 스위치나 버튼 등과 같은 조작수단(미도시)을 조작하면, 이로 인해 액추에이터 수단 등이 작동하면서 고압의 공기가 함몰된 피부에 순간적으로 주입되어 함몰된 피부의 복원이 이루어진다.As shown in FIG. 7, the operator directly inserts the
보다 상세하게, 함몰된 피부의 피부층(110)과 피하층(130) 사이에 공기주입용 주사바늘(11)을 꽂아 이를 통해 주입되는 고압의 공기가 들어가게 되면, 이때의 공기의 압력에 의해 함몰된 피부층(110)이 피하층(130)으로부터 멀어지도록 리프트 되면서 주름(120)이 펴질 수 있게 된다.More specifically, when the
이와 같이, 함몰된 피부에 순간적인 고압의 공기를 주입하는 방법을 통해 가함몰된 피부층을 펴줌으로써 탁월한 주름 제거 효과를 기대할 수 있는 것이다.As such, it is possible to expect an excellent wrinkle removal effect by spreading the impregnated skin layer through the method of injecting instantaneous high pressure air into the impregnated skin.
이상으로 본 발명에 따른 특정의 바람직한 실시예에 대해서 도시하고 설명하였다. 그러나, 본 발명이 상술한 실시예로 한정되는 것은 아니며, 본 발명이 속하는 기술분야에서 통상의 지식을 가진 자라면 이하의 특허청구범위에 기재된 본 발명의 기술적 사상의 요지를 벗어남이 없이 얼마든지 다양하게 변경 실시할 수 있을 것이다.
Thus, the present invention has been shown and described with reference to certain preferred embodiments thereof. It will be apparent to those skilled in the art that this invention is not limited to the embodiments described above and that various changes in form and details may be made therein without departing from the spirit of the invention which is set forth in the following claims .
10 : 튜브                         11 : 공기 주입용 주사바늘
                                  13 : 카테터
14 : 토출구                       15 : 주사기
16 : 플런저                       17 : 액추에이터
18 : 고압 공기 생성 유니트        19 : 고압 공기 저장통
20 : 실린더                       21 : 홀더
22 : 모터                         23 : 스크류축
24 : 3-웨이 밸브                  25a,25b : 센서
26 : 주사기 하우징                27 : 잔여량 방지용 실린더
28 : 잔여량 방지용 봉             29 : 잔여량 방지용 브라켓
30 : 잔여량 방지기                31a,31b : 홈
32 : 장공                         33 : 테이블
34a,34b : 전동기어                35 : 가이드바
36 : 지지블럭                     37 : 실린더 브라켓10 tube 11: air injection needle
 13: catheter
 14
 16: plunger 17: actuator
 18: high pressure air generating unit 19: high pressure air reservoir
 20: cylinder 21: holder
 22: motor 23: screw shaft
 24: 3-
 26: syringe housing 27: remaining amount cylinder
 28: residual amount prevention rod 29: residual amount prevention bracket
 30: remaining
 32: Longevity 33: Table
 34a, 34b: Electric Gear 35: Guide Bar
 36: support block 37: cylinder bracket
| Application Number | Priority Date | Filing Date | Title | 
|---|---|---|---|
| KR1020100101310AKR101204066B1 (en) | 2010-10-18 | 2010-10-18 | Apparatus of regenerating skin using high pressure air | 
| CN2011101605065ACN102451500B (en) | 2010-10-18 | 2011-06-15 | Apparatus of regenerating skin using high pressure air | 
| Application Number | Priority Date | Filing Date | Title | 
|---|---|---|---|
| KR1020100101310AKR101204066B1 (en) | 2010-10-18 | 2010-10-18 | Apparatus of regenerating skin using high pressure air | 
| Publication Number | Publication Date | 
|---|---|
| KR20120040280A KR20120040280A (en) | 2012-04-27 | 
| KR101204066B1true KR101204066B1 (en) | 2012-11-22 | 
| Application Number | Title | Priority Date | Filing Date | 
|---|---|---|---|
| KR1020100101310AActiveKR101204066B1 (en) | 2010-10-18 | 2010-10-18 | Apparatus of regenerating skin using high pressure air | 
| Country | Link | 
|---|---|
| KR (1) | KR101204066B1 (en) | 
| CN (1) | CN102451500B (en) | 
| Publication number | Priority date | Publication date | Assignee | Title | 
|---|---|---|---|---|
| CN106237452B (en)* | 2016-07-08 | 2020-08-07 | 大连达美元辰医疗美容门诊部有限公司 | High-pressure air skin-tendering device | 
| CN114906791B (en)* | 2022-06-08 | 2023-06-23 | 成都科建生物医药有限公司 | Injection device for preparing liposome | 
| Publication number | Priority date | Publication date | Assignee | Title | 
|---|---|---|---|---|
| US20020139419A1 (en) | 2001-04-02 | 2002-10-03 | Flinchbaugh David E. | Programmable flexible-tube flow regulator and use methods | 
| KR100578288B1 (en) | 1998-04-10 | 2006-05-11 | 마일스톤 사이언티픽 인코포레이티드 | Computer controlled drug delivery system and similar pressure / force | 
| WO2007072514A1 (en) | 2005-12-21 | 2007-06-28 | Carbossiterapia Italiana S.R.L. | Apparatus and method for subcutaneous gas delivery for therapeutic purpose | 
| Publication number | Priority date | Publication date | Assignee | Title | 
|---|---|---|---|---|
| CN2381340Y (en)* | 1997-12-31 | 2000-06-07 | 中国人民解放军第二五一医院 | Skin expander by puncture implantation | 
| US20050059940A1 (en)* | 1999-01-20 | 2005-03-17 | Pearl Technology Holdings, Llc. | Skin resurfacing and treatment using biocompatible materials | 
| KR100772961B1 (en)* | 2006-08-07 | 2007-11-02 | (주)엠큐어 | Mesotherapy / Carboxytherapy Multifunction Device | 
| KR100814495B1 (en)* | 2007-01-11 | 2008-03-18 | (주)엠큐어 | Carboxytherapy Gun | 
| CN201361052Y (en)* | 2008-12-30 | 2009-12-16 | 上海交通大学医学院附属第九人民医院 | Skin expander | 
| Publication number | Priority date | Publication date | Assignee | Title | 
|---|---|---|---|---|
| KR100578288B1 (en) | 1998-04-10 | 2006-05-11 | 마일스톤 사이언티픽 인코포레이티드 | Computer controlled drug delivery system and similar pressure / force | 
| US20020139419A1 (en) | 2001-04-02 | 2002-10-03 | Flinchbaugh David E. | Programmable flexible-tube flow regulator and use methods | 
| WO2007072514A1 (en) | 2005-12-21 | 2007-06-28 | Carbossiterapia Italiana S.R.L. | Apparatus and method for subcutaneous gas delivery for therapeutic purpose | 
| Publication number | Publication date | 
|---|---|
| CN102451500A (en) | 2012-05-16 | 
| CN102451500B (en) | 2013-06-12 | 
| KR20120040280A (en) | 2012-04-27 | 
| Publication | Publication Date | Title | 
|---|---|---|
| KR101180113B1 (en) | Apparatus able to inject gas and drug into skin sequentially | |
| KR101328443B1 (en) | Apparatus for injecting medicine | |
| KR100819468B1 (en) | Multi-injection treatment device capable of multi-injection | |
| CN104284631B (en) | Operating theater instruments | |
| CN105979987A (en) | Injection device and injection method using same | |
| JP2008284177A (en) | Needleless syringe | |
| WO2021135359A1 (en) | Unilateral-driven patch-type drug infusion device | |
| KR101776258B1 (en) | Automatic injection skin treatment device and treatment method | |
| KR101457271B1 (en) | Meso therapie apparatus | |
| KR101631288B1 (en) | Airjet handpiece | |
| KR101484753B1 (en) | Airjet handpiece | |
| KR101204066B1 (en) | Apparatus of regenerating skin using high pressure air | |
| KR200492531Y1 (en) | Skin treatment device | |
| KR200489634Y1 (en) | Skin care device | |
| CN105708518B (en) | Reusable type looping and binding device | |
| KR20240128787A (en) | Medical liquid injection apparatus and medical liquid injection method using the same | |
| KR101648056B1 (en) | Apparatus for injecting automatic drug | |
| KR100598765B1 (en) | Acne cure | |
| KR20130128788A (en) | Skin surgical operation system and the operating method using the same | |
| KR20140024760A (en) | Syringe for automatically injecting an injection | |
| KR101266008B1 (en) | Devices for rejuvenating skin using high pressure air | |
| CN113117184A (en) | Unilateral driving patch type drug infusion device | |
| CN202161618U (en) | Continuous negative-pressure flusher | |
| CN116440357A (en) | Subcutaneous electronic injector auxiliary device utilizing negative pressure | |
| JP2005261855A (en) | Needle pressureless syringe | 
| Date | Code | Title | Description | 
|---|---|---|---|
| A201 | Request for examination | ||
| PA0109 | Patent application | Patent event code:PA01091R01D Comment text:Patent Application Patent event date:20101018 | |
| PA0201 | Request for examination | ||
| PE0902 | Notice of grounds for rejection | Comment text:Notification of reason for refusal Patent event date:20120119 Patent event code:PE09021S01D | |
| PG1501 | Laying open of application | ||
| E701 | Decision to grant or registration of patent right | ||
| PE0701 | Decision of registration | Patent event code:PE07011S01D Comment text:Decision to Grant Registration Patent event date:20121029 | |
| GRNT | Written decision to grant | ||
| PR0701 | Registration of establishment | Comment text:Registration of Establishment Patent event date:20121116 Patent event code:PR07011E01D | |
| PR1002 | Payment of registration fee | Payment date:20121119 End annual number:3 Start annual number:1 | |
| PG1601 | Publication of registration | ||
| FPAY | Annual fee payment | Payment date:20150923 Year of fee payment:4 | |
| PR1001 | Payment of annual fee | Payment date:20150923 Start annual number:4 End annual number:4 | |
| FPAY | Annual fee payment | Payment date:20160922 Year of fee payment:5 | |
| PR1001 | Payment of annual fee | Payment date:20160922 Start annual number:5 End annual number:5 | |
| FPAY | Annual fee payment | Payment date:20171103 Year of fee payment:6 | |
| PR1001 | Payment of annual fee | Payment date:20171103 Start annual number:6 End annual number:6 | |
| FPAY | Annual fee payment | Payment date:20181001 Year of fee payment:7 | |
| PR1001 | Payment of annual fee | Payment date:20181001 Start annual number:7 End annual number:7 | |
| FPAY | Annual fee payment | Payment date:20191016 Year of fee payment:8 | |
| PR1001 | Payment of annual fee | Payment date:20191016 Start annual number:8 End annual number:8 | |
| PR1001 | Payment of annual fee | Payment date:20201105 Start annual number:9 End annual number:9 | |
| PR1001 | Payment of annual fee | Payment date:20211028 Start annual number:10 End annual number:10 | |
| PR1001 | Payment of annual fee | Payment date:20221101 Start annual number:11 End annual number:11 | |
| PR1001 | Payment of annual fee | Payment date:20230912 Start annual number:12 End annual number:12 | |
| PR1001 | Payment of annual fee | Payment date:20241118 Start annual number:13 End annual number:13 |