


본 발명은 비정질막에 레이저광을 조사해서 미세 결정화시켜 결정질막을 제작하는 결정질막의 제조 방법 및 제조 장치에 관한 것이다.BACKGROUND OF THE INVENTION 1. Field of the Invention The present invention relates to a method and apparatus for producing a crystalline film in which an amorphous film is irradiated with laser light to microcrystallize to produce a crystalline film.
액정 표시 장치 등의 박형 표시기, 플랫 패널 디스플레이에 사용되는 박막 트랜지스터(TFT)의 결정화 실리콘의 제조에는 기판 상층에 설치된 어모퍼스 실리콘막에 펄스 레이저광을 조사해서 상기 어모퍼스 실리콘막을 용융, 재결정화시키는 방법(레이저 어닐법)이나 어모퍼스 실리콘막을 상층에 갖는 상기 기판을 예비 가열로에서 가열해서 상기 실리콘막을 용융하지 않고 고체 그대로 결정 성장시키는 고상 성장법(SPC: Solid Phase Crystallization)의 2개의 방법이 일반적으로 사용되고 있다.To manufacture crystallized silicon of thin film transistors (TFTs) used in flat panel displays, such as liquid crystal display devices, a method of melting and recrystallizing the amorphous silicon film by irradiating pulsed laser light to an amorphous silicon film provided on an upper layer of the substrate (laser Two methods, annealing method and solid phase crystallization (SPC), in which the substrate having an amorphous silicon film on the upper layer is heated in a preheating furnace to crystal-grow as the solid without melting the silicon film, are generally used.
또한, 본 발명자들은 기판 온도를 가열 상태로 유지한 상태에서 비정질막에 펄스 레이저광을 조사함으로써 고상 성장에 의해 미세한 다결정막이 얻어진다는 것을 확인하고, 이것을 제안하고 있다(특허문헌 1 참조).Moreover, the present inventors confirmed that a fine polycrystalline film is obtained by solid-phase growth by irradiating an amorphous film with a pulsed laser beam in the state which kept the substrate temperature in the heating state (refer patent document 1).
최근에서는 대형 TV용 OLED(Organic light-emitting diode) 패널이나 LCD(Liquid Crystal Display) 패널을 제조함에 있어서, 균일하게 대면적의 미세한 다결정 실리콘막을 저렴하게 제조하는 방법이 요구되고 있다.In recent years, in manufacturing organic light-emitting diode (OLED) panels and liquid crystal display (LCD) panels for large-sized TVs, there is a need for a method of inexpensively manufacturing a large-area fine polycrystalline silicon film.
또한, 최근 액정 디스플레이 대신에 차세대 디스플레이로서 유력시되고 있는 유기 EL 디스플레이에서는 유기 EL 자체가 발광함으로써 스크린의 휘도를 높이고 있다. 유기 EL의 발광 재료는 LCD와 같은 전압 구동이 아니라 전류 구동이기 때문에 TFT에의 요구가 다르다. 어모퍼스 실리콘에 의한 TFT에서는 경년 변화의 억제가 어렵고, 역치 전압(Vth)의 대폭적인 드리프트가 발생하여 디바이스의 수명이 제한된다. 한편, 폴리실리콘은 안정한 재료이므로 장수명이다. 그러나, 폴리실리콘에 의한 TFT에서는 TFT의 특성 불균일은 크다. 이 TFT 특성의 불균일은 결정 입경이 불균일하거나, 결정질 실리콘의 결정 입자의 계면(결정 입계)이 TFT의 채널 형성 영역에 존재함으로써 보다 발생하기 쉬워진다. TFT의 특성 불균일은 주로 채널 간에 존재하는 결정 입경과 결정 입계의 수에 좌우되기 쉽다. 또한, 결정 입경이 크면 일반적으로 전자 이동도가 커진다. 유기 EL 디스플레이 용도의 TFT는 전계 전자 이동도가 높은 것은 오히려 TFT의 채널 길이를 길게 하지 않으면 안되고, RGB(적ㆍ녹ㆍ청) 각각의 1화소의 크기가 TFT의 채널 길이에 의존해버려 고해상도가 얻어지지 않는다. 이 때문에, 결정 입경의 불균일이 적은 미세한 결정막에의 요구 정도는 점점 높아지고 있다.In addition, in the organic EL display, which has recently been considered as a next-generation display instead of the liquid crystal display, the organic EL itself emits light, thereby increasing the brightness of the screen. Since the light emitting material of the organic EL is not driven by voltage as in LCD, but driven by current, the demand for TFT is different. In TFTs made of amorphous silicon, it is difficult to suppress secular changes, and a significant drift of the threshold voltage Vth occurs, thereby limiting the life of the device. On the other hand, polysilicon is a long material because it is a stable material. However, in the TFT made of polysilicon, the characteristic unevenness of the TFT is large. Non-uniformity of this TFT characteristic is more likely to occur because the crystal grain size is nonuniform or the interface (crystal grain boundary) of the crystal grains of crystalline silicon is present in the channel formation region of the TFT. The nonuniformity of the TFT is likely to depend mainly on the crystal grain size and the number of grain boundaries existing between the channels. In addition, when the grain size is large, the electron mobility generally increases. TFTs used in organic EL displays have a high field electron mobility, but have to lengthen the channel length of the TFTs, and the size of each pixel of RGB (red, green, blue) is dependent on the channel length of the TFT, resulting in high resolution. I do not lose. For this reason, the degree of request | requirement to the fine crystal film | membrane with few nonuniformity of a crystal grain size is increasing.
그러나, 종래의 결정화 방법으로는 이들의 문제를 해결하는 것은 곤란하다.However, the conventional crystallization method is difficult to solve these problems.
왜냐하면, 그 중 하나인 레이저 어닐법은 어모퍼스 실리콘을 일단 용융시켜 재결정화시키는 프로세스이고, 일반적으로 형성되는 결정 입경이 크다. 이 때문에, 앞서 설명한 바와 같이 전계 전자 이동도가 높고, 복수의 TFT의 채널 영역 내의 결정 입경의 수에 불균일이 발생하는 것이나, 임의적인 형상, 이웃하는 결정의 결정 배향성의 차이가 결과 TFT의 특성 불균일에 크게 영향을 준다. 특히, 레이저 겹침부에 결정성의 차이가 나타나기 쉽고, 이 결정성의 차이가 TFT의 특성 불균형에 크게 영향을 준다. 또한, 표면의 오염(불순물)에 의해 결정에 결함이 생긴다고 하는 문제도 있다.This is because laser annealing, which is one of them, is a process of melting and recrystallizing amorphous silicon once, and generally has a large crystal grain size formed. For this reason, as described above, the field electron mobility is high, and nonuniformity occurs in the number of crystal grain diameters in the channel region of the plurality of TFTs, or an arbitrary shape and a difference in crystal orientation of neighboring crystals result in uneven characteristics of the resulting TFTs. Greatly affects. In particular, a difference in crystallinity tends to appear in the laser overlapping portion, and this difference in crystallinity greatly affects the characteristic imbalance of the TFT. In addition, there is a problem that defects occur in crystals due to surface contamination (impurity).
또한, 고상 성장법(SPC법)에 의해 얻어지는 결정은 입경이 작고, TFT 불균일은 적어서 상기 과제를 해결하는 가장 유효한 결정화 방법이다. 그러나, 결정화 시간이 길어 양산 용도로서는 채용되기 어렵다. 고상 성장법(SPC)을 가능하게 하는 열처리 공정에서는 복수매의 기판을 동시에 처리하는 배치 타입의 열처리 장치가 사용된다. 대량의 기판을 동시에 가열하기 때문에 승온 및 강온에 장시간을 요함과 아울러 기판 내의 온도가 불균일해지기 쉽다. 또한, 고상 성장법은 유리 기판의 왜곡점 온도보다 높은 온도에서 장시간 가열하면, 유리 기판 자체의 수축, 팽창을 야기하여 유리에 손상을 부여한다. SPC의 결정화 온도는 유리 전이점보다 높으므로, 약간의 온도 분포에 의해 유리 기판의 휨이나 수축 분포가 발생한다. 그 결과, 결정화가 가능하여도 노광 공정 등의 프로세스에 지장이 생겨서 디바이스의 제작이 곤란해진다. 처리 온도가 높을수록 온도 균일성이 요구된다. 일반적으로 결정화 속도는 가열 온도에 의존하고, 600℃에서 10~15시간, 650℃에서 2~3시간, 700℃에서 수십분의 처리 시간이 필요하게 된다. 유리 기판에 손상을 부여하지 않고 처리하기 위해서는 장시간의 처리 시간이 필요해져 이 방법은 양산 용도로서 채용하기 어렵다.In addition, the crystal obtained by the solid state growth method (SPC method) has a small particle size and a small TFT nonuniformity, which is the most effective crystallization method for solving the above problems. However, the crystallization time is long, and thus it is difficult to be employed as a mass production application. In the heat treatment step that enables the solid state growth method (SPC), a batch type heat treatment apparatus for simultaneously processing a plurality of substrates is used. Since a large number of substrates are heated at the same time, a long time is required for the temperature rise and the temperature drop, and the temperature in the substrate tends to be uneven. In addition, in the solid phase growth method, heating for a long time at a temperature higher than the strain point temperature of the glass substrate causes shrinkage and expansion of the glass substrate itself and damages the glass. Since the crystallization temperature of SPC is higher than the glass transition point, the warpage and shrinkage distribution of a glass substrate generate | occur | produce by a slight temperature distribution. As a result, even if it is possible to crystallize, it will interfere with processes, such as an exposure process, and manufacturing of a device will become difficult. Higher processing temperatures require temperature uniformity. In general, the rate of crystallization depends on the heating temperature and requires a treatment time of 10 to 15 hours at 600 ° C, 2 to 3 hours at 650 ° C, and several tens of minutes at 700 ° C. In order to process without damaging a glass substrate, a long processing time is needed and this method is difficult to employ | adopt as a mass production use.
본 발명은 상기 사정을 배경으로서 이루어진 것이고, 결정 입경의 불균일이 적은 미세한 결정질막을 기판에 손상을 주지 않고 비정질막으로부터 효율적으로 제작할 수 있는 결정질막의 제조 방법 및 제조 장치를 제공하는 것을 목적으로 한다.It is an object of the present invention to provide a method and apparatus for producing a crystalline film which can be produced efficiently from an amorphous film without damaging the substrate of a fine crystalline film having few variations in crystal grain size.
즉, 본 발명의 결정질막의 제조 방법은 기판의 상층에 있는 어모퍼스 실리콘막인 비정질막에, 상기 기판의 예비가열을 행하지 않고, 510~540nm의 가시 파장 영역의 연속 발진 레이저광을 상대적으로 주사하면서 조사하여 상기 비정질막을 융점을 초과하지 않는 온도로 가열하여 상기 비정질막을 결정화시키는 것을 특징으로 한다.That is, the method for producing a crystalline film of the present invention irradiates an amorphous film which is an amorphous silicon film on an upper layer of a substrate without relatively preliminarily heating the substrate while scanning a continuous oscillation laser light in a visible wavelength region of 510 to 540 nm. By heating the amorphous film to a temperature not exceeding the melting point, characterized in that the amorphous film is crystallized.
본 발명의 결정질막의 제조 장치는 510~540nm의 가시 파장 영역의 연속 발진 레이저광을 출력하는 레이저 발진기, 상기 레이저 발진기로부터 출력되는 레이저광을 정형해서 어모퍼스 실리콘막인 비정질막에 도입하는 광학계, 상기 비정질막을 상기 비정질막의 면 방향을 따라 상기 레이저광에 대하여 상대적으로 이동시키는 주사 장치, 상기 레이저광이 상기 주사 장치에 의해 주사되면서, 예비가열되어 있지 않은 상기 비정질막에 조사될 때에 상기 비정질막이 융점을 초과하지 않는 온도로 가열되어서 결정화되도록 상기 레이저광의 파워 밀도를 조정하는 어테뉴에이터를 구비하는 것을 특징으로 한다.The apparatus for producing a crystalline film of the present invention includes a laser oscillator for outputting continuous oscillation laser light in the visible wavelength range of 510 to 540 nm, an optical system for shaping the laser light output from the laser oscillator and introducing it into an amorphous film which is an amorphous silicon film, the amorphous A scanning device for moving the film relative to the laser light along the plane direction of the amorphous film, wherein the amorphous film exceeds the melting point when the laser light is irradiated to the amorphous film that is not preheated while being scanned by the scanning device. And an attenuator for adjusting the power density of the laser light so as to be crystallized by being heated to a temperature not being used.
본 발명에 의하면, 가시 광선 영역의 연속 발진 레이저광을 비정질막에 조사함으로써 상기 레이저광이 비정질막에 효과적으로 흡수되어서 비정질막이 급속하게 또한 융점을 초과하지 않는 온도로 가열되어 종래의 용융ㆍ재결정화법과 다른 방법으로 입경의 불균일이 작은 균일한 미세 결정, 예를 들면 크기가 50nm 이하인 미세 결정을 얻을 수 있다. 종래 방식의 용융 결정화법이나 예비 가열로에 의한 SPC(고상 성장법)에서는 결정 입자의 불균일은 커진다. 본 발명에서는 상기 비정질막을 연속 발진 레이저광 이외에 예비 가열할 필요가 없고, 비정질막이 형성된 기판의 승온을 억제해서 비정질막을 효율적으로 처리할 수 있다.According to the present invention, by irradiating an amorphous film with a continuous oscillation laser light in the visible light region, the laser light is effectively absorbed by the amorphous film, and the amorphous film is rapidly heated to a temperature not exceeding the melting point. Alternatively, it is possible to obtain uniform fine crystals with a small variation in particle diameter, for example, fine crystals having a size of 50 nm or less. In SPC (solid phase growth method) by the conventional melt crystallization method or preheating furnace, the nonuniformity of a crystal grain becomes large. In the present invention, it is not necessary to preheat the amorphous film other than the continuous oscillation laser light, and the temperature rise of the substrate on which the amorphous film is formed can be suppressed to efficiently process the amorphous film.
또한, 본 발명에 의하면 레이저광의 겹침 개소도 동일한 결정성이 얻어져 균일성이 향상된다. 종래 방식의 레이저 어닐법에서는 비정질막에서의 레이저광의 겹침 개소가 다른 형태의 결정으로 되어 결정의 균일성이 손상된다.Moreover, according to this invention, the same crystallinity is acquired also in the overlapping location of a laser beam, and uniformity improves. In the conventional laser annealing method, the overlapping position of laser light in an amorphous film becomes a different type of crystal, which impairs the uniformity of the crystal.
또한, 비정질막, 특히 어모퍼스 실리콘에서의 연속 발진 레이저광을 단축 폭을 100㎛ 이하로 해서 단축 폭 방향을 따라 주사하여 단시간에 가열함으로써 하지의 기판은 손상을 받는 온도로 되기 어렵다. 특히, 레이저광을 고속으로 상대적으로 주사해서 조사 시간을 짧게 함으로써 기판에의 손상 회피는 확실한 것이 된다.In addition, the substrate of the underlying substrate is less likely to be damaged by scanning a continuous oscillation laser light in an amorphous film, particularly amorphous silicon, with a short axis width of 100 μm or less and scanning along the short axis width direction for short time heating. In particular, the damage avoidance to a board | substrate becomes certain by scanning a laser beam relatively high speed and shortening an irradiation time.
또한, 비정질막, 특히 어모퍼스 실리콘은 흡수가 좋은 레이저광에 의해 직접 가열되기 때문에 비정질막의 상층에 간접적으로 레이저 흡수층을 형성할 필요성이 없다.In addition, since the amorphous film, especially amorphous silicon, is directly heated by a laser beam having good absorption, there is no need to form a laser absorbing layer indirectly on top of the amorphous film.
비정질막으로서는 50~200nm의 두께를 갖는 어모퍼스 실리콘막이 바람직하다. 상기 파장 영역은 어모퍼스 실리콘막에서의 흡수율이 특히 좋고, 미세 결정화를 양호하게 행할 수 있다. 어모퍼스 실리콘막의 두께는 50nm 미만이면 기판에 가열의 영향이 미치기 쉬워지고, 200nm를 초과하면 막 전체의 결정화가 충분하게 되기 어려워지므로, 상기 두께가 바람직하다.As the amorphous film, an amorphous silicon film having a thickness of 50 to 200 nm is preferable. The wavelength region has particularly good absorption in the amorphous silicon film, and can perform fine crystallization satisfactorily. If the thickness of the amorphous silicon film is less than 50 nm, the influence of heating tends to be exerted on the substrate, and if it exceeds 200 nm, it becomes difficult to sufficiently crystallize the entire film, so the thickness is preferable.
그러나, 가시광의 어모퍼스 실리콘에 대한 흡수율은 어모퍼스 실리콘의 막 두께에 의해 변화되기 때문에, 흡수가 좋은 막 두께를 선정하는 것이 좋다.However, since the absorption rate of visible light with respect to amorphous silicon changes with the film thickness of amorphous silicon, it is good to select a film thickness with good absorption.
또한, 상기 파장 영역의 연속 발진 레이저광을 비정질막에 조사할 때에 상기 레이저광의 파워 밀도는 조사면에서 55~290kW/㎠의 범위 내로 하는 것이 바람직하다. 파워 밀도가 낮으면 비정질막을 충분하게 가열할 수 없어 결정화가 곤란해진다. 한편, 파워 밀도가 지나치게 높으면 비정질막이 융점을 초과하는 온도까지 가열되는 등 해서 미세한 결정 입자를 얻기 어려워진다. 이 때문에, 레이저광의 파워 밀도는 상기 범위가 바람직하다.In addition, when irradiating an amorphous film with the continuous oscillation laser light of the said wavelength range, it is preferable to make the power density of the said laser beam into the range of 55-290 kW / cm <2> in an irradiation surface. If the power density is low, the amorphous film cannot be sufficiently heated and crystallization becomes difficult. On the other hand, when the power density is too high, it becomes difficult to obtain fine crystal grains by heating the amorphous film to a temperature exceeding the melting point. For this reason, the said power density of a laser beam is preferable in the said range.
또한, 레이저광의 조사에 있어서는 레이저광의 단축 폭을 100㎛ 이하로 하는 것이 바람직하다. 비정질막의 일부 영역에 조사함으로써 기판에 열의 영향을 주지 않고 비정질막을 부분적으로 급속하게 가열할 수 있다. 상기 단축 폭 방향으로 레이저광을 상대적으로 이동시킴으로써 비정질막의 넓은 영역에서 결정화 처리를 행할 수 있다. 단, 단축 폭이 지나치게 크면 효율적으로 결정화하기 위해서 주사 속도를 크게 하지 않으면 안되어 장치 비용이 증대해 버린다.In addition, in irradiation of a laser beam, it is preferable to make the short axis width of a laser beam into 100 micrometers or less. By irradiating a portion of the amorphous film, the amorphous film can be partially heated rapidly without affecting the heat of the substrate. By relatively moving a laser beam in the said short axis width direction, crystallization process can be performed in the wide area | region of an amorphous film. However, if the shortening width is too large, the scanning speed must be increased for efficient crystallization, and the apparatus cost increases.
상기 레이저광을 비정질막에 대하여 상대적으로 주사함으로써 상기 비정질막을 면 방향을 따라 결정화시키는 것이 가능해진다. 상기 주사는 레이저광측을 이동시켜도 좋고, 비정질막측을 이동시켜도 좋으며, 양쪽을 이동시켜도 좋다. 이 주사 속도는 50~1000mm/초로 하는 것이 바람직하다.By scanning the laser light relative to the amorphous film, the amorphous film can be crystallized along the plane direction. In the scan, the laser light side may be moved, the amorphous film side may be moved, or both sides may be moved. It is preferable that this scanning speed shall be 50-1000 mm / sec.
주사 속도가 작으면, 조사 시간이 증대하여 융점을 초과하는 온도까지 가열되어, 용융 또는 어브레이션하는 경우가 있다. 또한, 주사 속도가 크면, 조사 시간이 감소하여 고상 결정화시키는 온도까지 가열할 수 없는 경우가 있다.If the scanning speed is small, the irradiation time may increase, and may be heated to a temperature exceeding the melting point and melted or abraded. Moreover, when scanning speed is large, irradiation time may reduce and it may not be heated to the temperature which solidifies.
<발명의 효과>EFFECTS OF THE INVENTION [
이상에서 설명한 바와 같이, 본 발명의 결정질막의 제조 방법에 의하면 기판의 상층에 있는 어모퍼스 실리콘막인 비정질막에, 상기 기판의 예비가열을 행하지 않고, 510~540nm의 가시 파장 영역의 연속 발진 레이저광을 상대적으로 주사하면서 조사하여 상기 비정질막을 융점을 초과하지 않는 온도로 가열하여 상기 비정질막을 결정화시킴으로써 기판의 전이점을 초과하지 않거나 또는 전이점을 초과했다고 해도 저온에서 처리할 수 있어 비정질막만을 레이저로 고온으로 가열시켜 결정화시킬 수 있다. 동시에, 단시간에 50nm 이하의 미세 결정을 생성할 수 있다고 하는 효과가 있다. 동시에, 겹침부도 동일한 50nm 이하의 미세 결정을 생성할 수 있다고 하는 효과가 있다(대면적의 결정화에 유효). 동시에, 조사 시간을 짧게 함으로써 기판의 변위(휨ㆍ변형ㆍ내부 응력)를 최소한으로 억제하는 효과가 있다. 동시에, 유리 기판을 다소 가열하므로 어모퍼스 실리콘막 내에 내재하는 불순물이나 표면에 부착되어 있는 오염을 제거하는 효과가 있다. 또한, 본 발명에 의하면 장치의 저비용화 및 유지 비용의 저감화가 가능해서 가동률이 높은 처리가 가능하고, 따라서 생산성을 높일 수 있다.As described above, according to the method for producing a crystalline film of the present invention, a continuous oscillation laser light in the visible wavelength range of 510 to 540 nm is not applied to an amorphous film which is an amorphous silicon film on an upper layer of the substrate without preheating the substrate. By irradiating with scanning, the amorphous film is heated to a temperature not exceeding the melting point to crystallize the amorphous film so that the amorphous film can be processed at low temperature even if the transition point of the substrate is not exceeded or the transition point is exceeded. It can be crystallized by heating. At the same time, there is an effect that fine crystals of 50 nm or less can be produced in a short time. At the same time, there is an effect that the overlapped portion can also produce the same 50 nm or less fine crystal (effective for crystallization of a large area). At the same time, by shortening the irradiation time, there is an effect of minimizing the displacement (bending, deformation, internal stress) of the substrate. At the same time, since the glass substrate is somewhat heated, there is an effect of removing impurities inherent in the amorphous silicon film and contamination adhering to the surface. In addition, according to the present invention, it is possible to reduce the cost of the apparatus and to reduce the maintenance cost, thereby enabling processing with a high operating rate, thereby increasing productivity.
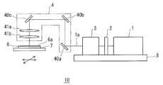
도 1은 본 발명의 일 실시형태 및 일 실시형태의 제조 방법에 사용하는 연속 발진 고체 레이저 어닐링 처리 장치를 나타내는 종단면도이다.
도 2는 마찬가지로 실시예에 있어서의 레이저 조사 후의 박막을 나타내는 SEM 사진이다.
도 3은 마찬가지로 실시예에 있어서의 레이저 조사 후의 박막을 나타내는 SEM 사진이다.BRIEF DESCRIPTION OF THE DRAWINGS It is a longitudinal cross-sectional view which shows the continuous oscillation solid laser annealing apparatus used for one Embodiment of this invention and the manufacturing method of one Embodiment.
 FIG. 2 is a SEM photograph showing the thin film after laser irradiation in the same example.
 3 is a SEM photograph showing the thin film after laser irradiation in the same example.
이하에, 본 발명의 일 실시형태를 도 1에 의거하여 설명한다.EMBODIMENT OF THE INVENTION Below, one Embodiment of this invention is described based on FIG.
이 실시형태의 결정질막의 제조 방법에서는 플랫 패널 디스플레이의 TFT 디바이스에 사용되는 기판(6)을 대상으로 하고, 상기 기판(6) 상에는 비정질막으로서 어모퍼스 실리콘 박막(6a)이 형성되어 있는 것으로 한다. 단, 본 발명으로서는 대상이 되는 기판 및 이것에 형성된 비정질막의 종별이 이것에 한정되는 것은 아니다. 어모퍼스 실리콘 박막(6a)은 상법에 의해 기판(6)의 상층에 형성되어 있다.In the manufacturing method of the crystalline film of this embodiment, the
도 1은 본 발명의 일 실시형태의 결정질막의 제조 방법에 사용되는 연속 발진 고체 레이저 어닐링 처리 장치(10)를 나타내는 것이고, 상기 연속 발진 고체 레이저 어닐링 처리 장치(10)는 본 발명의 결정질막 제조 장치에 상당한다.1 shows a continuous oscillation solid laser
연속 발진 고체 레이저 어닐링 처리 장치(10)에서는 510~540nm 파장의 연속 발진 레이저광을 출력하는 연속 발진 고체 레이저인 가시광 CW 레이저 발진기(1)가 제진대(8)에 설치되어 있다.In the continuous oscillation solid-state laser
가시광 CW 레이저 발진기(1)의 출력측에는 레이저광(1a)의 통과와 차단을 스위칭하는 레이저 셔터(2)가 배치되어 있고, 상기 레이저 셔터(2)의 통과처에 어테뉴에이터(감쇠기)(3)가 배치되어 있다. 또한, 어테뉴에이터(3)는 레이저광을 소정의 감쇠율로 감쇠하는 것이면 좋고, 본 발명으로서는 특정한 것에 한정되지 않는다.On the output side of the visible light CW laser oscillator 1, a
어테뉴에이터(3)의 출력측에는 전반사 미러(40a, 40b, 40c)가 배치되고, 전반사 미러(40c)의 편향처에는 집광 렌즈(41a, 41b)가 배치되어 있어, 이들 전반사 미러(40a~40c), 집광 렌즈(41a, 41b)는 광학계(4)를 구성하고 있고, 상기 광학계(4)에는 그 이외에 도시하지 않은 빔 호모게나이저 등을 구비하여 레이저광(1a)을 장방형 또는 라인 빔 형상 등의 소정의 형상으로 단축 폭이 5~100㎛가 되도록 빔 정형 가능하게 되어 있다.The total reflection mirrors 40a, 40b, and 40c are arranged on the output side of the
광학계(4)의 출사 방향으로는 기판(6)을 적재하는 기판 재치대(7)가 설치되어 있다. 기판 재치대(7)는 상기 재치대의 면 방향(XY 방향)을 따라 이동 가능하게 되어 있고, 상기 기판 재치대(7)를 상기 면 방향을 따라 고속 이동시키는 주사 장치(도시하지 않음)가 구비되어 있다.In the emission direction of the
다음에, 상기 연속 발진 고체 레이저 어닐링 처리 장치(10)를 사용한 어모퍼스 실리콘 박막의 결정화 방법에 관하여 설명한다.Next, the crystallization method of the amorphous silicon thin film using the continuous oscillation solid
우선, 기판 재치대(7) 상에 어모퍼스 실리콘 박막(6a)이 상층에 형성된 기판(6)을 적재한다. 이 실시형태에서는 상기 기판(6)은 히터 등에 의한 가열이 행하여지지 않는다.First, the amorphous silicon
가시광 CW 레이저 발진기(1)로부터 510~540nm 파장의 연속 발진 레이저광이 출력됨과 동시에, 레이저 셔터(2)가 열려서 레이저광(1a)의 통과가 가능해진다.A continuous oscillation laser light having a wavelength of 510 to 540 nm is output from the visible light CW laser oscillator 1, and the
가시광 CW 레이저 발진기(1)로부터 출력된 연속 발진 레이저광(1a)은 레이저 셔터(2)를 통과한 후 어테뉴에이터(3)에 도달하고, 이것을 통과함으로써 소정의 감쇠율로 감쇠된다. 상기 감쇠율은 가공면에서 레이저광이 본 발명 규정 파워 밀도가 되도록 설정된다. 어테뉴에이터(3)는 감쇠율을 가변해서 파워 밀도를 변경 가능하게 해도 좋다. 또한, 본 발명으로서는 어테뉴에이터를 사용하지 않고, 레이저 광원에 있어서 출력 조정이 행해져서 파워 밀도를 조정하는 것이어도 좋다.The continuous
파워 밀도가 조정된 연속 발진 레이저광(1a)은 광학계(4)에 있어서 전반사 미러(40a, 40b, 40c)에 의해 반사되면서 편향되어 집광렌즈(41a, 41b)에 의해 집광된다. 이 때에는 도시하지 않은 빔 호모게나이저 등을 통과한다. 상기 광학계(4)에 있어서, 발진 레이저광(1a)은 단축 폭이 100㎛ 이하인 장방형 또는 라인 빔 형상으로 정형되고, 기판(6)을 향해서 조사면에서 55~290kW/㎠의 파워 밀도로 조사된다.The continuous
상기 기판 재치대(7)는 주사 장치에 의해 어모퍼스 실리콘 박막(6a)면을 따라 레이저광 빔의 단축 폭 방향으로 주사되고, 그 결과 상기 어모퍼스 실리콘 박막(6a)면의 넓은 영역에 상기 연속 발진 레이저광이 상대적으로 주사되면서 조사된다. 또한, 이 때에 연속 발진 레이저광의 주사 속도를 50~1000mm/초로 해서 어모퍼스 실리콘 박막(6a) 상에서 연속 발진 레이저광이 고속으로 이동하면서 조사되도록 한다.The substrate placing table 7 is scanned by a scanning device along the surface of the amorphous silicon
상기 연속 발진 레이저광(1a)의 조사에 의해 기판(6) 상의 어모퍼스 실리콘 박막(6a)만이 가열되어서 단시간에 다결정화된다. 이 때에 어모퍼스 실리콘 박막(6a)의 가열 온도는 그 융점을 초과하지 않는 온도가 된다(예를 들면, 1000~1200℃ 정도). 상기 조사에 의해 얻어진 결정질 박막은 결정 입경이 50nm 이하이고, 종래의 고상 결정 성장법에서 나타난 바와 같은 돌기도 없으며, 균일하고 또한 미세한 양질의 결정성을 갖고 있다.By the irradiation of the continuous
이 결정질 박막은 유기 EL 디스플레이에 바람직하게 사용할 수 있다. 단, 본 발명으로서는 사용 용도가 이것에 한정되는 것은 아니고, 그 이외의 액정 디스플레이나 전자 재료로서 이용하는 것이 가능하다.This crystalline thin film can be preferably used for an organic EL display. However, as this invention, a use use is not limited to this, It can use as another liquid crystal display and an electronic material.
또한, 상기 실시형태에서는 기판 재치대를 이동시킴으로써 연속발진 레이저광을 상대적으로 주사하는 것으로 했지만, 연속발진 레이저광이 유도되는 광학계를 고속으로 이동시킴으로써 연속발진 레이저광을 상대적으로 주사하는 것으로 해도 좋다.In the above embodiment, the continuous oscillation laser light is relatively scanned by moving the substrate mounting table. However, the continuous oscillation laser light may be relatively scanned by moving the optical system in which the continuous oscillation laser light is guided at high speed.
실시예 1Example 1
이어서, 본 발명의 실시예를 설명한다.Next, the Example of this invention is described.
상기 실시형태의 연속 발진 고체 레이저 어닐링 처리 장치(10)를 이용하여 유리제의 기판 표면에 상법에 의해 형성된 50nm 두께의 어모퍼스 실리콘 박막에 연속 발진 레이저광을 조사하는 실험을 행했다.Using the continuous oscillation solid laser
상기 실험에서는 연속 발진 레이저광의 파장을 532nm의 가시광으로 해서 광학계에 의해 단면 장방형상으로 가공면에서 7㎛×2mm 또는 65㎛×2mm가 되도록 빔을 정형했다. 또한, 레이저광은 가공면에서의 파워 밀도가 표 1에 나타내는 값이 되도록 어테뉴에이터(3)에 의해 조정했다.In the said experiment, the beam was shape | molded so that the wavelength of a continuous oscillation laser beam might be 532 nm visible light so that it might be set to 7 micrometer x 2 mm or 65 micrometer x 2 mm in a cross section rectangular shape by the optical system at a processing surface. In addition, the laser beam was adjusted by the
레이저광은 기판 재치대를 표 1에 나타내는 주사 속도(스테이지 스피드)로 이동시킴으로써 연속 발진 레이저광을 상기 어모퍼스 실리콘막에 대하여 상대적으로 주사하면서 상기 어모퍼스 실리콘막에 조사했다.The laser beam was irradiated to the amorphous silicon film while scanning the continuous oscillation laser light relative to the amorphous silicon film by moving the substrate placing table at the scanning speed (stage speed) shown in Table 1.
각 조건에서 레이저광이 조사된 박막(No. a~j)의 SEM 사진을 도 2, 도 3에 나타낸다.SEM photographs of the thin films No. a to j irradiated with laser light under each condition are shown in FIGS. 2 and 3.
박막 중 공시재 No. b, c, d, f, g, h, i는 결정 입경의 불균일이 적고, 면 전체에서 균질하게 다결정화되어 있으며, 또한 양질의 다결정 실리콘 박막을 얻을 수 있었다. 결정 입자는 50nm 이하로 작고 돌기도 생기지 않았다. 또한, 겹침부도 균일한 미세 결정이 생성되어 있었다. 또한, 미리 어모퍼스 실리콘이 완전하게 용해되는 조건이 되는 Secco 용액에 의한 에칭(21초간)에 있어서 변화가 없었던 점에서도 얻어진 각 실리콘막은 결정성을 갖고 있는 것을 확인할 수 있다.Test material No. in thin film b, c, d, f, g, h, and i had little nonuniformity of crystal grain diameter, were homogeneously polycrystallized in the whole surface, and the polysilicon thin film of good quality was obtained. The crystal grains were smaller than 50 nm and no projections occurred. Moreover, the microcrystal | crystallization uniform also in the overlap part was produced | generated. Moreover, even if there was no change in the etching (for 21 second) by Secco solution which is a condition which will melt | dissolve amorphous silicon previously, it can be confirmed that each obtained silicon film has crystallinity.
한편, 공시재 No. a는 파워 밀도가 증대했기 때문에 융점을 초과하는 온도까지 가열되어 용융되었다. 시공재 No. e, j는 파워 밀도가 감소하여 조사 영역 전역에 고상 결정화가 얻어지지 않는 상황이 발생했다.Meanwhile, test material No. a was heated and melted to a temperature exceeding the melting point because the power density increased. Construction material No. In e and j, the power density decreased, so that no solid phase crystallization was obtained throughout the irradiation area.
즉, 본 발명법에 의하면 결정질 실리콘막이 균일하게 얻어져서 TFT 특성의 불균일이 적은 실리콘막을 제공할 수 있는 것이 판명되었다.That is, according to the method of the present invention, it has been found that a crystalline silicon film can be obtained uniformly to provide a silicon film with little variation in TFT characteristics.
이상, 본 발명에 대해서 상기 실시형태 및 실시예에 의거하여 설명을 행했지만, 본 발명은 상기 설명의 범위에 한정되는 것은 아니고, 본 발명의 범위를 일탈하지 않는 한은 당연히 적당한 변경이 가능하다.As mentioned above, although this invention was demonstrated based on the said embodiment and Example, this invention is not limited to the range of the said description, Of course, as long as it does not deviate from the scope of this invention, a suitable change is possible.
1: 레이저 발진기             2: 레이저 셔터
3: 어테뉴에이터              4: 광학계
40a: 전반사 미러             40b: 전반사 미러
40c: 전반사 미러             41a: 집광 렌즈
41b: 집광 렌즈               6: 기판
6a: 어모퍼스 실리콘 박막     7: 기판 재치대
8: 제진대                    10: 연속 발진 고체 레이저 어닐링 처리 장치1: laser oscillator 2: laser shutter
 3: attenuator 4: optical system
 40a:
 40c:
 41b: condenser lens 6: substrate
 6a: amorphous silicon thin film 7: substrate placing table
 8: vibration damper 10: continuous oscillation solid state laser annealing treatment device
| Application Number | Priority Date | Filing Date | Title | 
|---|---|---|---|
| JPJP-P-2009-112082 | 2009-05-01 | ||
| JP2009112082 | 2009-05-01 | ||
| PCT/JP2010/057357WO2010126001A1 (en) | 2009-05-01 | 2010-04-26 | Process and apparatus for producing crystalline film | 
| Publication Number | Publication Date | 
|---|---|
| KR20110008339A KR20110008339A (en) | 2011-01-26 | 
| KR101189647B1true KR101189647B1 (en) | 2012-10-12 | 
| Application Number | Title | Priority Date | Filing Date | 
|---|---|---|---|
| KR1020107028510AActiveKR101189647B1 (en) | 2009-05-01 | 2010-04-26 | Process and apparatus for producing crystalline film | 
| Country | Link | 
|---|---|
| JP (1) | JP5213192B2 (en) | 
| KR (1) | KR101189647B1 (en) | 
| CN (1) | CN102067285A (en) | 
| TW (1) | TWI435390B (en) | 
| WO (1) | WO2010126001A1 (en) | 
| Publication number | Priority date | Publication date | Assignee | Title | 
|---|---|---|---|---|
| KR101810062B1 (en) | 2011-10-14 | 2017-12-19 | 삼성디스플레이 주식회사 | Laser crystallization apparatus and laser crystallizatio method using the same | 
| Publication number | Priority date | Publication date | Assignee | Title | 
|---|---|---|---|---|
| JP2001338873A (en)* | 2000-03-21 | 2001-12-07 | Semiconductor Energy Lab Co Ltd | Method for manufacturing semiconductor device | 
| JP2006332303A (en)* | 2005-05-26 | 2006-12-07 | Hitachi Displays Ltd | Semiconductor device manufacturing method and semiconductor device | 
| JP2008147487A (en)* | 2006-12-12 | 2008-06-26 | Japan Steel Works Ltd:The | Crystalline semiconductor film manufacturing method, semiconductor film heating control method, and semiconductor crystallization apparatus | 
| Publication number | Priority date | Publication date | Assignee | Title | 
|---|---|---|---|---|
| JPH0851218A (en)* | 1995-06-23 | 1996-02-20 | Asahi Glass Co Ltd | Method of forming thin film transistor | 
| US6872607B2 (en)* | 2000-03-21 | 2005-03-29 | Semiconductor Energy Laboratory Co., Ltd. | Method of manufacturing a semiconductor device | 
| JP5003277B2 (en)* | 2007-05-18 | 2012-08-15 | ソニー株式会社 | Thin film crystallization method, thin film semiconductor device manufacturing method, electronic device manufacturing method, and display device manufacturing method | 
| Publication number | Priority date | Publication date | Assignee | Title | 
|---|---|---|---|---|
| JP2001338873A (en)* | 2000-03-21 | 2001-12-07 | Semiconductor Energy Lab Co Ltd | Method for manufacturing semiconductor device | 
| JP2006332303A (en)* | 2005-05-26 | 2006-12-07 | Hitachi Displays Ltd | Semiconductor device manufacturing method and semiconductor device | 
| JP2008147487A (en)* | 2006-12-12 | 2008-06-26 | Japan Steel Works Ltd:The | Crystalline semiconductor film manufacturing method, semiconductor film heating control method, and semiconductor crystallization apparatus | 
| Publication number | Publication date | 
|---|---|
| KR20110008339A (en) | 2011-01-26 | 
| TWI435390B (en) | 2014-04-21 | 
| CN102067285A (en) | 2011-05-18 | 
| JPWO2010126001A1 (en) | 2012-11-01 | 
| WO2010126001A1 (en) | 2010-11-04 | 
| TW201104755A (en) | 2011-02-01 | 
| JP5213192B2 (en) | 2013-06-19 | 
| Publication | Publication Date | Title | 
|---|---|---|
| CN101184871B (en) | Line-scan sequential lateral curing of thin films | |
| CN1388564A (en) | Method for making amorphous silicon crystalize using mask | |
| JP5431935B2 (en) | System and method for optimizing crystallization of amorphous silicon | |
| US8735233B2 (en) | Manufacturing method for thin film semiconductor device, manufacturing method for thin film semiconductor array substrate, method of forming crystalline silicon thin film, and apparatus for forming crystalline silicon thin film | |
| CN1550863A (en) | Semiconductor thin film, thin film transistor, manufacturing method and manufacturing equipment thereof | |
| JP5004160B2 (en) | Crystalline semiconductor film manufacturing method, semiconductor film heating control method, and semiconductor crystallization apparatus | |
| JP2011165717A (en) | Display device and method of manufacturing the same | |
| CN102859652B (en) | Crystalline semiconductor manufacturing method and laser annealing apparatus | |
| US9218968B2 (en) | Method for forming crystalline thin-film and method for manufacturing thin film transistor | |
| WO2021039310A1 (en) | Laser annealing device and laser annealing method | |
| KR101259936B1 (en) | Method of manufacturing crystalline semiconductor film | |
| KR101189647B1 (en) | Process and apparatus for producing crystalline film | |
| KR101323614B1 (en) | Method for fabricating crystalline film and device for fabricating crystalline film | |
| KR20070049310A (en) | Polycrystalline Silicon and its Crystallization Method | |
| KR100667899B1 (en) | Laser annealing apparatus and method for low temperature polycrystalline polysilicon thin film transistor liquid crystal display | |
| KR101411188B1 (en) | Laser anneal method | |
| KR101915692B1 (en) | Crystallization method of amorphous silicone | |
| KR20120119367A (en) | Laser beam project device | |
| KR20070071967A (en) | Manufacturing method of polycrystalline silicon film manufacturing method | |
| KR20040061495A (en) | Method for crystallization of amorphous silicon | |
| WO2012081474A1 (en) | Method for forming crystalline semiconductor film | 
| Date | Code | Title | Description | 
|---|---|---|---|
| A201 | Request for examination | ||
| PA0105 | International application | Patent event date:20101217 Patent event code:PA01051R01D Comment text:International Patent Application | |
| PA0201 | Request for examination | ||
| PG1501 | Laying open of application | ||
| E902 | Notification of reason for refusal | ||
| PE0902 | Notice of grounds for rejection | Comment text:Notification of reason for refusal Patent event date:20111223 Patent event code:PE09021S01D | |
| E701 | Decision to grant or registration of patent right | ||
| PE0701 | Decision of registration | Patent event code:PE07011S01D Comment text:Decision to Grant Registration Patent event date:20120829 | |
| GRNT | Written decision to grant | ||
| PR0701 | Registration of establishment | Comment text:Registration of Establishment Patent event date:20121004 Patent event code:PR07011E01D | |
| PR1002 | Payment of registration fee | Payment date:20121005 End annual number:3 Start annual number:1 | |
| PG1601 | Publication of registration | ||
| FPAY | Annual fee payment | Payment date:20151002 Year of fee payment:4 | |
| PR1001 | Payment of annual fee | Payment date:20151002 Start annual number:4 End annual number:4 | |
| FPAY | Annual fee payment | Payment date:20160913 Year of fee payment:5 | |
| PR1001 | Payment of annual fee | Payment date:20160913 Start annual number:5 End annual number:5 | |
| FPAY | Annual fee payment | Payment date:20170928 Year of fee payment:6 | |
| PR1001 | Payment of annual fee | Payment date:20170928 Start annual number:6 End annual number:6 | |
| FPAY | Annual fee payment | Payment date:20181001 Year of fee payment:7 | |
| PR1001 | Payment of annual fee | Payment date:20181001 Start annual number:7 End annual number:7 | |
| PR1001 | Payment of annual fee | Payment date:20210916 Start annual number:10 End annual number:10 | |
| PR1001 | Payment of annual fee | Payment date:20230919 Start annual number:12 End annual number:12 |