






도 1a는 홀이 형성된 전극 기재를 보인 도면이고 도 1b과 도 1c는 본 발명에 따라 제조된 전극 기재의 단면도이다.Figure 1a is a view showing an electrode substrate with a hole formed, Figures 1b and 1c is a cross-sectional view of the electrode substrate prepared in accordance with the present invention.
도 2는 연료 전지용 스택의 구조를 보여주는 분해 사시도이다.2 is an exploded perspective view showing the structure of a fuel cell stack.
도 3은 연료 전지의 구동원리를 보여주는 모식도이다.3 is a schematic diagram showing the driving principle of a fuel cell.
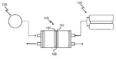
도 4는 본 발명의 전극을 포함하는 연료전지 시스템의 일 예를 나타낸 구성도이다.4 is a configuration diagram showing an example of a fuel cell system including an electrode of the present invention.
도 5는 본 발명에 따른 실시예 1 내지 3 및 비교예 1에 따라 제조된 연료전지의 성능을 보인 도면이다.5 is a view showing the performance of the fuel cell manufactured according to Examples 1 to 3 and Comparative Example 1 according to the present invention.
[산업상 이용 분야][Industrial use]
본 발명은 고분자 전해질막의 수분 함습도를 일정하게 유지하면서도 캐소드 전극에서 형성되는 물을 용이하게 배출되도록 함으로써 물에 의하여 기공이 막히는 현상을 방지하고, 이로써 고율에서의 전류밀도를 향상시킬 수 있는 연료전지용 전극 및 이를 포함하는 막-전극 어셈블리 및 연료전지 시스템에 관한 것이다.The present invention prevents the formation of pores by water by easily discharging the water formed at the cathode electrode while maintaining a constant moisture moisture of the polymer electrolyte membrane, thereby improving the current density at a high rate for a fuel cell An electrode, and a membrane-electrode assembly and a fuel cell system including the same.
[종래 기술]BACKGROUND ART [0002]
연료 전지(Fuel cell)는 메탄올, 에탄올 및 천연기체와 같은 탄화수소 계열의 물질 내에 함유되어 있는 수소와 산소의 화학 반응 에너지를 직접 전기 에너지로 변환시키는 발전 시스템이다.A fuel cell is a power generation system that directly converts the chemical reaction energy of hydrogen and oxygen contained in hydrocarbon-based materials such as methanol, ethanol and natural gas into electrical energy.
연료전지는 사용되는 전해질의 종류에 따라, 인산형 연료 전지, 용융탄산염 형 연료 전지, 고체 산화물형 연료 전지, 고분자 전해질형 또는 알칼리형 연료 전지로 분류된다. 이들 각각의 연료 전지는 근본적으로 같은 원리에 의해 작동되지만 사용되는 연료의 종류, 운전 온도, 촉매 및 전해질 등이 서로 다르다.Fuel cells are classified into phosphoric acid fuel cells, molten carbonate fuel cells, solid oxide fuel cells, polymer electrolyte or alkaline fuel cells, depending on the type of electrolyte used. Each of these fuel cells operates on essentially the same principle, but differs in the type of fuel used, operating temperature, catalyst and electrolyte, and the like.
이들 중 근래에 개발되고 있는 고분자 전해질형 연료 전지(Polymer Electrolyte Membrane Fuel Cell; PEMFC)는 다른 연료 전지에 비하여 출력 특성이 탁월하며 작동 온도가 낮고 아울러 빠른 시동 및 응답 특성을 가지며, 자동차와 같은 이동용 전원은 물론, 주택 및 공공 건물과 같은 분산용 전원 및 전자기기용과 같은 소형 전원 등 그 응용 범위가 넓은 장점을 가진다.Among these, the polymer electrolyte fuel cell (PEMFC), which is being developed recently, has superior output characteristics compared to other fuel cells, has a low operating temperature, fast start-up and response characteristics, and a mobile power source such as an automobile. Of course, it has a wide range of applications, such as distributed power supplies such as homes and public buildings and small power supplies such as for electronic devices.
이러한 연료전지 시스템은 전기를 실질적으로 발생시키는 전기 발생부가 적어도 하나 이상 적층 형성된 연료전지 스택을 구비하고 있다.Such a fuel cell system includes a fuel cell stack in which at least one electricity generating unit substantially generating electricity is formed.
상기 연료전지 스택은 막-전극 어셈블리(Membrane Electrode Assembly; MEA, 12)와 이의 양면에 밀착하는 세퍼레이터(바이폴러 플레이트(Bipolar Plate)라고도 한다)로 이루어진 단위 셀이 복수개 적층되어 전기적으로 직렬 접속된 형태로 이루어진다. 상기 막-전극 어셈블리는 고분자 전해질막을 사이에 두고 애노드 전극(일 명, "연료극" 또는 "산화전극"이라고 한다)과 캐소드 전극(일명, "공기극" 또는 "환원전극"이라고 한다)이 접착된 구조를 가지며, 상기 애노드 전극 및 캐소드 전극은 고분자 전해질막과 접촉 형성된 촉매층과, 상기 촉매층과 접촉 형성된 기체 확산층(Gas diffusion layer; GDL)으로 구성된다. 또한, 상기 세퍼레이터는 연료 전지의 반응에 필요한 연료를 애노드 전극에 공급하고, 산소를 캐소드 전극에 공급하는 기체 유로가 형성된다. 스택의 최외측에 각각 위치하는 세퍼레이터는 엔드 플레이트로 정의할 수 있다.The fuel cell stack has a plurality of unit cells including a membrane electrode assembly (MEA) 12 and a separator (also referred to as a bipolar plate) that adheres to both surfaces thereof and is electrically connected in series. Is made of. The membrane-electrode assembly has a structure in which an anode electrode (also called "fuel electrode" or "oxide electrode") and a cathode electrode (also called "air electrode" or "reduction electrode") are bonded to each other with a polymer electrolyte membrane interposed therebetween. The anode electrode and the cathode electrode are composed of a catalyst layer formed in contact with the polymer electrolyte membrane and a gas diffusion layer (GDL) formed in contact with the catalyst layer. In addition, the separator is provided with a gas flow path for supplying fuel required for the reaction of the fuel cell to the anode electrode, and for supplying oxygen to the cathode electrode. Separators positioned on the outermost side of the stack can be defined as end plates.
상기 막-전극 어셈블리는 전해질막을 사이에 두고 애노드 전극과 캐소드 전극이 결합된 구조를 가지며, 이들 전극들은 산화 반응에 의해 연료를 전자와 수소 이온으로 변환시키는 촉매층과, 전자와 수소 이온의 원활한 이동을 위한 기체 확산층으로 구성된다.The membrane-electrode assembly has a structure in which an anode electrode and a cathode electrode are coupled with an electrolyte membrane interposed therebetween, and these electrodes have a catalyst layer for converting fuel into electrons and hydrogen ions by an oxidation reaction, and smooth movement of electrons and hydrogen ions. It consists of a gas diffusion layer for.
또한, 상기 세퍼레이터는 각각의 막-전극 어셈블리를 분리하고 연료 전지의 반응에 필요한 연료와 산소를 각각 막-전극 어셈블리의 애노드 전극과 캐소드 전극으로 공급하는 통로의 역할과, 각 막-전극 어셈블리의 애노드 전극과 캐소드 전극을 직렬로 연결시켜 주는 전도체의 역할을 동시에 수행한다.In addition, the separator separates each membrane electrode assembly and serves as a passage for supplying fuel and oxygen required for the reaction of the fuel cell to the anode electrode and the cathode electrode of the membrane electrode assembly, and the anode of each membrane electrode assembly. Simultaneously serves as a conductor that connects the electrode and the cathode electrode in series.
세퍼레이터를 통해 애노드 전극에는 수소 기체가 공급되는 반면, 캐소드 전극에는 산소가 공급된다. 이 과정에서 애노드 전극에서는 수소 또는 연료의 산화 반응이 일어나게 되고, 캐소드 전극에서는 산화제의 환원 반응이 일어나게 되며 이때 생성되는 전자의 이동으로 인해 전기를 발생시키고, 열과 수분을 부수적으로 발생시킨다.Hydrogen gas is supplied to the anode electrode through the separator, while oxygen is supplied to the cathode electrode. In this process, an oxidation reaction of hydrogen or fuel occurs at an anode electrode, a reduction reaction of an oxidant occurs at a cathode electrode, and electricity is generated due to the movement of electrons generated, and heat and moisture are incidentally generated.
[반응식 1][Reaction Scheme 1]
애노드 전극: H2 → 2H+ + 2e-혹은 CH3OH + H2O → 6H+ + CO2 + 6e-Theanode: H 2 → 2H + + 2e - orCH 3 OH + H 2 O → 6H + + CO 2 + 6e -
캐소드 전극: 2H+ + 1/2 O2 + 2e-→ H2OCathode: 2H + + 1/2 O 2 + 2e - → H 2 O
상기 반응식에 따르면, 연료 전지 반응 수행 후 캐소드 전극 측에서 물이 발생하며, 이는 막-전극 어셈블리로 산소를 공급하는 세퍼레이터의 입구 영역에서 반응율이 높아 더욱 많은 양으로 발생한다. 상기 생성된 물은 즉각적으로 출구를 통해 제거되어야 하며 그러지 못할 경우, 세퍼레이터를 거쳐 주입되는 산소의 공급압이 점차 상승하게 될 뿐만 아니라, 상기 막-전극 어셈블리 내의 고분자 전해질막의 함수율이 증가한다.According to the above reaction formula, water is generated at the cathode electrode side after the fuel cell reaction is performed, which is generated in a larger amount due to a higher reaction rate in the inlet region of the separator that supplies oxygen to the membrane-electrode assembly. The produced water must be immediately removed through the outlet, otherwise, the supply pressure of oxygen injected through the separator gradually increases, as well as the water content of the polymer electrolyte membrane in the membrane-electrode assembly increases.
통상적으로, 연료전지 시스템의 고분자 전해질막은 함수율이 증가함에 따라 애노드 전극에서 생성된 수소 이온의 전도도가 증가하기 때문에 일정 수준의 수분을 함유하도록 한다. 그러나, 지나친 수분의 함량은 기체 확산층 또는 세퍼레이터의 기체 유로의 폐색을 유도하여, 결과적으로 기체 확산이 저하되어 전지 성능이 극단적으로 열화된다. 따라서, 고성능의 연료전지를 제작하기 위해서는 상기 고분자 전해질막을 적당한 습윤상태를 유지하면서 과량의 수분을 안전하고 신속하게 제거하는 것이 필요하다.In general, the polymer electrolyte membrane of the fuel cell system has a certain level of moisture because the conductivity of the hydrogen ions generated at the anode electrode increases as the water content increases. However, excessive moisture content leads to blockage of the gas flow path of the gas diffusion layer or the separator, and as a result, the gas diffusion is lowered and the battery performance is extremely degraded. Therefore, in order to manufacture a high performance fuel cell, it is necessary to safely and quickly remove excess moisture while maintaining the polymer electrolyte membrane in a suitable wet state.
상기 문제점을 해결하기 위하여, 본 발명의 목적은 고분자 전해질막의 수분 함습도를 일정하게 유지하면서도 캐소드 전극에서 형성되는 물을 용이하게 배출되도록 함으로써 물에 의하여 기공이 막히는 현상을 방지하고 이로써 고율에서의 전류밀도를 향상시킬 수 있는 연료전지용 전극을 제공하는 것이다.In order to solve the above problems, an object of the present invention is to prevent the phenomenon of pores clogged by water by easily draining the water formed in the cathode electrode while maintaining a constant moisture moisture content of the polymer electrolyte membrane and thereby the current at a high rate It is to provide an electrode for a fuel cell that can improve the density.
본 발명의 다른 목적은 상기 연료전지용 전극을 포함하는 연료전지용 막-전극 어셈블리를 제공하는 것이다.Another object of the present invention is to provide a fuel cell membrane-electrode assembly comprising the fuel cell electrode.
본 발명의 또 다른 목적은 상기 연료전지용 전극을 포함하는 연료전지 시스템을 제공하는 것이다.Still another object of the present invention is to provide a fuel cell system including the fuel cell electrode.
상기한 목적을 달성하기 위하여, 본 발명은 (a) 촉매층과 (b) 상기 촉매층을 지지하는 전극 기재를 포함하고, 전극 기재의 내부를 관통하는 홀 및 상기 홀의 내부에 존재하는 흡습성 다공성 물질을 포함하는 연료전지용 전극을 제공한다.In order to achieve the above object, the present invention includes (a) a catalyst layer and (b) an electrode substrate supporting the catalyst layer, and includes a hole penetrating the inside of the electrode substrate and a hygroscopic porous material present in the hole. It provides a fuel cell electrode.
본 발명은 또한 상기 전극을 애노드 전극 또는 캐소드 전극으로 사용하고 상기 애노드 전극과 캐소드 전극 사이에 고분자 전해질 막이 개재된 연료전지용 막-전극 어셈블리를 제공한다.The present invention also provides a membrane-electrode assembly for a fuel cell using the electrode as an anode electrode or a cathode electrode and having a polymer electrolyte membrane interposed between the anode electrode and the cathode electrode.
본 발명은 또한 (a) i) 촉매층과 상기 촉매층을 지지하는 전극 기재를 포함하고, 전극 기재의 내부를 관통하는 홀 및 상기 홀의 내부에 존재하는 흡습성 다공성 물질로 이루어진 전극을 포함하는 막-전극 어셈블리, 및 (ii) 상기 막-전극 어셈블리의 양측면에 위치하는 기체 유로가 구비된 세퍼레이터를 포함하는 전기발생부, (b) 연료공급부 및 (c) 산화제 공급부를 포함하는 연료전지 시스템을 제공한다.The present invention also provides a membrane-electrode assembly comprising (a) i) a catalyst layer and an electrode substrate supporting the catalyst layer, the membrane comprising an electrode made of a hole penetrating the interior of the electrode substrate and a hygroscopic porous material present in the hole. And (ii) an electricity generating unit including a separator having gas flow paths positioned at both sides of the membrane-electrode assembly, (b) a fuel supply unit, and (c) an oxidant supply unit.
이하 본 발명을 더욱 상세하게 설명한다.Hereinafter, the present invention will be described in more detail.
연료전지용 전극은 일반적으로 전기화학적 반응에 참여하는 촉매층과 이를 지지하는 전극 기재로 이루어진다. 상기 전극 기재는 세퍼레이터와 접촉 형성되어, 상기 세퍼레이터의 기체 유로로부터 촉매층 안의 촉매로 균일하게 연료 기체 또는 공기 등의 반응기체를 공급하기 위한 기체 투과 및 확산 기능을 하므로 기체 확산층(gas diffusion layer; GDL)이라고 한다. 상기 전극 기재는 또한 촉매층에서 반응에 의해 생성된 물을 신속하게 기체 유로로 배출하는 기능을 하는 물 투과능과, 반응에 필요하거나 반응 중 생성된 전자를 도전하는 도전 기능을 하는 전자 도전성의 기능도 수행한다. 상기한 기능을 수행하기 위해 전극 기재는 일반적으로 다공성이 있는 도전성 기재가 사용되고 있다. 상기 전극 기재로는 카본 페이퍼(carbon paper), 카본 천(carbon cloth) 및 카본 펠트(carbon felt) 등을 사용할 수 있다.The electrode for a fuel cell generally consists of a catalyst layer participating in an electrochemical reaction and an electrode substrate supporting it. The electrode substrate is formed in contact with the separator, and functions as a gas permeation and diffusion for uniformly supplying a reactor gas such as fuel gas or air from the gas flow path of the separator to the catalyst in the catalyst layer. It is called. The electrode base material also has a function of water permeability, which quickly discharges water generated by the reaction from the catalyst layer into the gas flow path, and an electronic conductivity function, which serves as a conductive function to challenge electrons required or generated during the reaction. To perform. In order to perform the above function, the electrode substrate is generally a porous conductive substrate is used. As the electrode base material, carbon paper, carbon cloth, carbon felt, or the like may be used.
본 발명에서는 고분자 전해질막의 수분 함습도를 일정하게 유지하면서도 캐소드 전극에서 형성되는 물을 용이하게 배출되도록 함으로써 물에 의하여 기공이 막히는 현상(water clogging)을 방지하고 이로써 고율에서의 전류밀도를 향상시킬 수 있는 연료전극을 제공하기 위하여 상기 전극 기재에 물의 함습도가 우수한 고분자가 함유되도록 한다.In the present invention, it is possible to easily discharge the water formed in the cathode electrode while maintaining a constant moisture moisture of the polymer electrolyte membrane to prevent water clogging (water clogging) by this, thereby improving the current density at a high rate In order to provide a fuel electrode which is present, the electrode base material contains a polymer having an excellent water humidity.
상기 전극 기재는 물이 효과적으로 배출될 수 있도록 표면에 발수 코팅 처리된 것이 바람직하다. 발수 코팅은 폴리테트라플루오로에틸렌, 플루오리네이티드 에틸렌 프로필렌(Fluorinated ethylene propylene), 폴리클로로트리플루오로에틸렌(Polychlorotrifluoroethylene) 등으로 처리하는 것이 일반적이다.The electrode substrate is preferably a water-repellent coating on the surface so that water can be effectively discharged. Water repellent coatings are generally treated with polytetrafluoroethylene, fluorinated ethylene propylene, polychlorotrifluoroethylene and the like.
또한 상기 전극 기재(50)는 도 1a에 기재된 바와 같이 전극 기재(50)를 관통하는 홀(52)이 형성되어 있다. 상기 홀(52)의 내부에는 도 1b 및 도 1c에 도시된 바와 같이 흡습성 다공성 물질(54, 56)가 위치한다. 상기 홀(52)의 크기는 10 내지 1000 마이크론인 것이 바람직하며, 50 내지 500 마이크론인 것이 더 바람직하다. 상기 채널의 크기가 10 마이크론 미만이면 캐소드 전극에서 발생한 물의 배출에 문제가 있고 1000 마이크론을 초과하면 채널에 위치한 촉매층에 기체전달이 안되어 셀 출력이 감소하는 문제가 있어 바람직하지 않다. 상기 홀의 모양은 원형이 바람직하나, 이에 한정되지 않고 다양한 형상으로 제조될 수 있다.In addition, as shown in FIG. 1A, the
상기 전극 기재에서 홀이 차지하는 면적의 총합은 전극기재의 전체 면적에 대하여 5 내지 50%인 것이 바람직하고, 10 내지 40%인 것이 더 바람직하다. 상기 홀의 총면적이 5% 미만일 경우에는 물의 배출에 문제가 있고 50%를 초과하는 경우에는 전극 기재의 기계적 강도가 저하되어 바람직하지 않다.It is preferable that the sum total of the area which a hole occupies in the said electrode base material is 5 to 50% with respect to the total area of an electrode base material, and it is more preferable that it is 10 to 40%. If the total area of the hole is less than 5%, there is a problem in the discharge of water, and if it exceeds 50%, the mechanical strength of the electrode substrate is lowered, which is not preferable.
상기 홀의 내부에 존재하는 흡습성 다공성 물질로는 고분자 섬유, 고분자 폼, 무기산화물 등이 사용될 수 있다. 상기 고분자 섬유로는 셀룰로오스, 레이온, 면, 폴리에스테르, 폴리아미드, 폴리비닐알코올, 폴리에틸렌옥사이드, 폴리히드록시에틸메틸아크릴레이트 또는 이들의 복합화된 고분자가 사용될 수 있다. 상기 고분자 폼으로는 폴리우레탄 폼, 폴리카보네이트 폼 등이 사용될 수 있다. 상기 무기 산화물로는 실리카, 티타니아, 알루미나, 제올라이트 등이 사용가능하다.As the hygroscopic porous material existing inside the hole, polymer fiber, polymer foam, inorganic oxide, or the like may be used. As the polymer fiber, cellulose, rayon, cotton, polyester, polyamide, polyvinyl alcohol, polyethylene oxide, polyhydroxyethyl methyl acrylate or a composite polymer thereof may be used. Polyurethane foam, polycarbonate foam, etc. may be used as the polymer foam. As the inorganic oxide, silica, titania, alumina, zeolite, or the like can be used.
본 발명의 전극 기재는 기재에 관통홀(52)을 형성하고 이 관통홀(52)에 다공성 흡습성 물질을 충전하여 제조한다. 관통홀(52) 형성 전에 발수 코팅 처리하거나 관통홀 형성 후에 발수 코팅 처리할 수 있다. 상기 관통홀은 기계적 펀칭(mechanical punching), 레이저를 이용한 절단방법(laser cutting) 등에 의하여 제조될 수 있다.The electrode substrate of the present invention is prepared by forming a through
상기 관통홀에 다공성 흡습성 물질을 충전하는 방법은 다공성 흡습성 물질의 종류에 따라 적용방법이 선택될 수 있다. 예를 들어 고분자 섬유의 경우에는 고분자 섬유, 바인더 및 용매의 혼합 슬러리를 관통홀에 주입한 후 용매를 증발시켜 충전시킬 수 있다. 또한 고분자가 용매에 균일하게 용해된 고분자 용액을 도포한 후, 용매를 급격히 휘발시켜 기공을 형성시키는 방법으로 고분자를 충전시킬 수 있다. 또한 고분자가 용매에 균일하게 용해된 고분자 용액을 상기 고분자에 대한 친화성이 낮은 다른 용매에 담그어 상분리를 유도시켜 고분자를 충전할 수도 있다. 또한, 고분자와 휘발성이 낮은 용매 또는 중량평균분자량 10,000 이하의 유기물 또는 무기물을 혼합하여 관통홀에 충전한 후 휘발성이 낮은 용매 또는 중량평균분자량 10,000 이하의 유기물 또는 무기물 만을 선택적으로 용해시킬 수 있는 용매에 담그어 이를 추출해내는 방법으로 다공성 고분자층을 제조할 수 있다. 고분자 폼의 경우에는 발포제와 고분자가 혼합하여 홀에 넣은 다음 가열 또는 광조사(光照射)를 이용하여 발포를 일으켜 고분자 폼을 형성할 수 있다. 무기 산화물의 경우에는 무기산화물, 바인더 및 용매를 혼합한 슬러리를 만들에 관통홀에 주입한 후 용매를 증발시켜 충전할 수 있다.The method for filling the porous hygroscopic material into the through hole may be selected according to the type of porous hygroscopic material. For example, in the case of polymer fibers, a mixture slurry of polymer fibers, a binder, and a solvent may be injected into a through hole, and then the solvent may be evaporated and filled. In addition, the polymer may be filled with a method of forming a pore by rapidly volatizing a solvent after applying a polymer solution in which the polymer is uniformly dissolved in a solvent. In addition, the polymer solution in which the polymer is uniformly dissolved in a solvent may be immersed in another solvent having low affinity for the polymer to induce phase separation to fill the polymer. In addition, a polymer is mixed with a low volatility solvent or an organic or inorganic substance having a weight average molecular weight of 10,000 or less, and filled in a through hole, and then in a low volatility solvent or a solvent capable of selectively dissolving only an organic or inorganic substance having a weight average molecular weight of 10,000 or less. The porous polymer layer can be prepared by dipping and extracting the same. In the case of the polymer foam, the blowing agent and the polymer may be mixed into the hole, and then foamed by heating or light irradiation to form a polymer foam. In the case of the inorganic oxide, a slurry in which the inorganic oxide, the binder and the solvent are mixed may be injected into the through hole, and then the solvent may be evaporated to fill.
본 발명의 연료전지용 전극은 상기 전극 기재에 형성된 촉매층을 포함한다. 상기 촉매층은 관련 반응(수소의 산화 및 산소의 환원)을 촉매적으로 도와주는 이른바 금속 촉매를 포함한다. 상기 금속 촉매로는 백금, 루테늄, 오스뮴, 백금-루테늄 합금, 백금-오스뮴 합금, 백금-팔라듐 합금 및 백금-M 합금(M=Ga, Ti, V, Cr, Mn, Fe, Co, Ni, Cu 및 Zn로 이루어진 군으로부터 선택되는 1종 이상의 전이금속)으로 이루어진 군으로부터 선택되는 1종 이상의 금속 촉매 또는 담체에 담지된 것을 사용할 수 있다. 상기 담체로는 아세틸렌 블랙, 흑연 등과 같은 탄소를 사용할 수도 있고, 알루미나, 실리카 등의 무기물 미립자를 사용할 수도 있다.The electrode for a fuel cell of the present invention includes a catalyst layer formed on the electrode substrate. The catalyst layer comprises a so-called metal catalyst which catalyzes the relevant reactions (oxidation of hydrogen and reduction of oxygen). The metal catalyst is platinum, ruthenium, osmium, platinum-ruthenium alloy, platinum-osmium alloy, platinum-palladium alloy and platinum-M alloy (M = Ga, Ti, V, Cr, Mn, Fe, Co, Ni, Cu And at least one transition metal selected from the group consisting of Zn) and those supported on at least one metal catalyst or carrier selected from the group consisting of Zn. As the carrier, carbon such as acetylene black, graphite, or the like may be used, or inorganic fine particles such as alumina or silica may be used.
상기 촉매층은 전극 기재에 촉매를 슬러리 코팅하거나 증착하는 방법으로 형성될 수 있다.The catalyst layer may be formed by slurry coating or depositing a catalyst on an electrode substrate.
상기 촉매층과 전극 기재 사이에 기체 확산 효과를 증진시키기 위하여 미세 기공층을 더 둘 수 있다. 상기 미세 기공층은 기체를 균일하게 촉매층에 공급하고 촉매층에 형성된 전자를 다공성 고분자층에 전달하는 역할을 한다.A fine pore layer may be further provided between the catalyst layer and the electrode substrate to enhance the gas diffusion effect. The microporous layer serves to uniformly supply gas to the catalyst layer and transfer electrons formed in the catalyst layer to the porous polymer layer.
일반적으로 입경이 작은 도전성 분말, 예를 들어 탄소 분말, 카본 블랙, 아세틸렌 블랙, 활성 탄소, 플러렌(fullerene), 카본나노튜브, 카본나노파이버, 카본나노와이어 등과 같은 나노카본, 카본나노혼(carbon nano-horn) 또는 카본나노링(carbon nano ring)을 포함할 수 있다. 상기 미세기공층은 도전성 분말, 바인더 수지 및 용매를 포함하는 조성물을 도전성 기재에 코팅하여 제조된다. 상기 바인더 수지로는 폴리테트라플루오로에틸렌(PTFE), 폴리비닐리덴플루오라이드, 폴리비닐리덴플루오라이드-헥사플루오로프로필렌의 코폴리머(PVdF-HFP), 폴리비닐알코올, 셀룰로오스아세테이트 등이 바람직하게 사용될 수 있고, 상기 용매로는, 에탄올, 이소프로필알코올, 에틸알코올, n-프로필알코올, 부틸알코올 등과 같은 알코올, 물, 디메틸아세트아미드(DMAc), 디메틸포름아미드, 디메틸설폭사이드(DMSO), N-메틸피롤리돈, 테트라하이드로퓨란 등이 바람직하게 사용될 수 있다. 코팅공정은 조성물의 점성에 따라 스크린 프린팅법, 스프레이 코팅법 또는 닥터 블레이드를 이용한 코팅법, 그라비어 코팅법, 딥코팅법, 실크 스크린법, 페인팅법 등이 사용될 수 있으며, 이에 한정되는 것은 아니다.In general, conductive particles having a small particle diameter, such as carbon powder, carbon black, acetylene black, activated carbon, fullerene, carbon nanotubes, carbon nanofibers, carbon nanowires, and the like -horn or carbon nano ring (carbon nano ring) may be included. The microporous layer is prepared by coating a composition comprising a conductive powder, a binder resin and a solvent on a conductive substrate. As the binder resin, polytetrafluoroethylene (PTFE), polyvinylidene fluoride, copolymer of polyvinylidene fluoride-hexafluoropropylene (PVdF-HFP), polyvinyl alcohol, cellulose acetate and the like are preferably used. As the solvent, alcohols such as ethanol, isopropyl alcohol, ethyl alcohol, n-propyl alcohol, butyl alcohol, water, dimethylacetamide (DMAc), dimethylformamide, dimethyl sulfoxide (DMSO), N- Methylpyrrolidone, tetrahydrofuran and the like can be preferably used. The coating process may be a screen printing method, a spray coating method or a coating method using a doctor blade, a gravure coating method, a dip coating method, a silk screen method, a painting method, etc., depending on the viscosity of the composition, but is not limited thereto.
연료 전지에서 캐소드 전극 및 애노드 전극은 물질로 구별되는 것이 아니라, 그 역할로 구별되는 것으로서, 연료 전지용 전극은 수소 산화용 애노드 전극 및 산소의 환원용 캐소드 전극으로 구별된다. 따라서, 본 발명의 연료 전지용 전극은 캐소드 전극 및 애노드 전극에 모두 사용가능하며, 바람직하기로 물이 생성되는 캐소드 전극에 적용할 수 있다.In the fuel cell, the cathode electrode and the anode electrode are not distinguished by materials but in their role, and the fuel cell electrode is divided into an anode electrode for hydrogen oxidation and a cathode electrode for reducing oxygen. Therefore, the fuel cell electrode of the present invention can be used for both the cathode electrode and the anode electrode, and preferably can be applied to the cathode electrode where water is generated.
상기 애노드 전극과 캐소드 전극 사이에 양성자 전도성 고분자 막이 위치하게 하여 막-전극어셈블리를 제조한다. 상기 고분자 막은 수소이온전도성을 갖는 고분자라면 어느 것이나 사용할 수 있으며, 바람직하게는 퍼플루오르계 고분자, 벤즈이미다졸계 고분자, 폴리이미드계 고분자, 폴리에테르이미드계 고분자, 폴리페닐렌설파이드계 고분자, 폴리설폰계 고분자, 폴리에테르설폰계 고분자, 폴리에테르케톤계 고분자 폴리에테르-에테르케톤계 고분자, 폴리페닐퀴녹살린계 고분자 등이 사용될 수 있으며, 이들의 구체적인 예로는 폴리(퍼플루오로설폰산), 폴리(퍼플루오로카르복실산), 설폰산기를 포함하는 테트라플루오로에틸렌과 플루오로비닐에테르 공중합체, 탈불소화된 황화 폴리에테르케톤, 아릴 케톤 또는 폴리(2,2'-(m-페닐렌)-5,5'-바이벤즈이미다졸) (poly(2,2'-(m-phenylene)-5,5'-bibenzimidazole)), 폴리(2,5-벤즈이미다졸) 등의 폴리벤즈이미다졸 등을 사용할 수 있으나, 이에 한정되는 것은 아니다. 일반적으로 상기 고분자 전해질막은 10 내지 200㎛의 두께를 갖는다.A proton conductive polymer film is positioned between the anode electrode and the cathode electrode to prepare a membrane-electrode assembly. The polymer membrane may be any polymer as long as it has a hydrogen ion conductivity, and preferably a perfluoro polymer, a benzimidazole polymer, a polyimide polymer, a polyetherimide polymer, a polyphenylene sulfide polymer, or a polysulfide. Phone-based polymer, polyethersulfone-based polymer, polyetherketone-based polymer, polyether-etherketone-based polymer, polyphenylquinoxaline-based polymer, etc. may be used, and specific examples thereof include poly (perfluorosulfonic acid) and poly ( Perfluorocarboxylic acid), tetrafluoroethylene and fluorovinyl ether copolymers containing sulfonic acid groups, defluorinated sulfide polyether ketones, aryl ketones or poly (2,2 '-(m-phenylene)- Polybenzimidazoles such as 5,5'-bibenzimidazole) (poly (2,2 '-(m-phenylene) -5,5'-bibenzimidazole)) and poly (2,5-benzimidazole) You can use It is not limited to this. In general, the polymer electrolyte membrane has a thickness of 10 to 200㎛.
연료전지 시스템은 상기 막-전극 접합체를 기체 유로 채널과 냉각 채널이 형성된 바이폴러 플레이트 사이에 삽입하여 단위 전지를 제조하고, 이를 적층하여 스택을 제조한 후, 이를 두 개의 엔드 플레이트(end plate) 사이에 삽입하여 제조할 수 있다. 연료 전지는 이 분야의 통상의 기술에 의하여 용이하게 제조될 수 있다.In the fuel cell system, the membrane-electrode assembly is inserted between a gas flow channel and a bipolar plate having a cooling channel to manufacture a unit cell, and the stack is manufactured by stacking the membrane electrode. It can be prepared by inserting in. Fuel cells can be readily manufactured by conventional techniques in the art.
본 발명에서는 전극 기재에 수분 함습성을 가지는 다공성 물질을 두어 캐소드 전극에서 생성된 물이 고분자 전해질 막과 캐소드 전극 사이에 일정량 존재하게 한다. 통상적인 연료전지는 일정한 정도의 습도가 유지되는 상태에서 작동하기 때문에 적절한 수준으로 습도를 유지해 주는 것이 필요하다. 본 발명에서는 상기 전극 기재가 캐소드 전극에서 발생하는 물을 흡수하여 연료전지용 고분자 전해질막의 습도를 일정하게 유지하는 역할을 하므로, 별도의 가습장치를 필요로 하지 않는 저온 무가습형 연료전지의 개발을 가능하게 한다.In the present invention, a porous material having water-moisture permeability is placed on the electrode substrate so that a certain amount of water generated at the cathode electrode is present between the polymer electrolyte membrane and the cathode electrode. Since conventional fuel cells operate under a certain level of humidity, it is necessary to maintain humidity at an appropriate level. In the present invention, the electrode substrate absorbs water generated from the cathode electrode, thereby maintaining a constant humidity of the polymer electrolyte membrane for a fuel cell, and thus it is possible to develop a low temperature non-humidifying fuel cell that does not require a separate humidifier. Let's do it.
또한 일정량 이상의 물은 전극기재의 홀을 통하여 배출되므로 물에 의하여 기공이 막히는 문제점을 방지할 수 있다.In addition, since a certain amount of water is discharged through the holes of the electrode base, it is possible to prevent a problem that pores are blocked by water.
본 발명에 따른 연료전지용 전극은 모든 연료전지 시스템에 적용가능하며, 특히 고분자 전해질형 연료 전지(PEMFC)와 직접 메탄올 전지(DMFC)에 바람직하게 적용될 수 있다.The electrode for fuel cells according to the present invention is applicable to all fuel cell systems, and is particularly preferably applied to polymer electrolyte fuel cells (PEMFC) and direct methanol cells (DMFC).
도 2는 연료전지 스택을 나타내는 분해 사시도이다. 도 2를 참조하면, 연료전지 스택(11)은 막-전극 어셈블리(Membrane Electrode Assembly; MEA, 12)와 이의 양면에 밀착하는 세퍼레이터(16)로 이루어진 단위 셀이 복수개 적층되어 전기적으로 직렬 접속된 형태로 이루어진다. 상기 막-전극 어셈블리(12)는 고분자 전해질막을 사이에 두고 애노드 전극(일명, "연료극" 또는 "산화전극"이라고 한다)과 캐소드 전극(일명, "공기극" 또는 "환원전극"이라고 한다)이 접착된 구조를 가지며, 상기 애노드 전극 및 캐소드 전극은 고분자 전해질막과 접촉 형성된 촉매층과, 상기 촉매층과 접촉 형성된 기체 확산층(Gas diffusion layer; GDL)으로 구성된다. 또한, 상기 세퍼레이터(16)는 연료 전지의 반응에 필요한 연료를 애노드 전극에 공급하고, 산소를 캐소드 전극에 공급하는 기체 유로가 형성된다. 스택(11)의 최외측에 각각 위치하는 세퍼레이터(16)는 엔드 플레이트(13)로 정의할 수 있다.2 is an exploded perspective view showing a fuel cell stack. Referring to FIG. 2, the
도 3은 애노드 전극(3), 캐소드 전극(5), 및 고분자 전해질 막(7)을 포함하는 연료전지(1)의 작동상태를 개략적으로 보인 도면이다. 상기 애노드 전극(3) 또는 캐소드 전극(5)로 본 발명의 전극이 사용될 수 있다. 도 3을 참조하면, 세퍼레이터를 통해 애노드 전극(3)에는 수소 또는 연료가 공급되는 반면, 캐소드 전극(5)에는 산화제가 공급된다. 상기 산화제로는 산소 또는 공기가 사용될 수 있다. 애노드 전극(3)에서는 수소 또는 연료의 산화 반응이 일어나게 되고, 캐소드 전극(5)에서는 산화제의 환원 반응이 일어나게 되며 이때 생성되는 전자의 이동으로 인해 전기를 발생시키고, 열과 수분을 부수적으로 발생시킨다.FIG. 3 is a schematic view showing an operating state of a
도 4는 본 발명의 전극을 포함하는 연료전지 시스템의 일 예를 나타낸 구성도이다. 도 4를 참조하면, 본 발명의 연료전지 시스템은 a) i) 전술한 바의 기체 확산층과 촉매층을 구비하는 한쌍의 전극과, 상기 전극 사이에 위치한 고분자 전해질막을 포함하는 막-전극 어셈블리(100); 및 ii) 상기 막-전극 어셈블리(100)의 양측면에 위치하는 세퍼레이터(101, 101')를 포함하는 전기발생부(110); 연료공급부(120); 및 산화제 공급부(130)를 포함한다.4 is a configuration diagram showing an example of a fuel cell system including an electrode of the present invention. Referring to FIG. 4, the fuel cell system of the present invention includes a) i) a membrane-
이하 본 발명의 바람직한 실시예 및 비교예를 기재한다. 그러나 하기한 실시예는 본 발명의 바람직한 일 실시예일 뿐 본 발명이 하기한 실시예에 한정되는 것은 아니다.Hereinafter, preferred examples and comparative examples of the present invention are described. However, the following examples are only one preferred embodiment of the present invention and the present invention is not limited to the following examples.
(실시예 1)(Example 1)
탄소페이퍼(SGL BA3)에 500마이크론의 직경을 가지는 관통홀의 총면적이 탄소페이퍼의 총면적에 대하여 30%가 되도록 형성시켰다. 관통홀이 형성된 탄소페이퍼를 폴리테트라플루오로에틸렌 용액에 담그어 발수코팅 처리하였다. 흡습성 다공성 물질로 10g의 셀룰로오스 섬유, 1g의 셀룰로오스 아세테이트 바인더 및 용매로 100g의 물을 혼합하여 슬러리를 만든 다음 관통홀에 주입한 후 120도에서 2시간 동안 열처리하여 용매를 제거하여 전극 기재를 제조하였다. 상기 전극 기재에 백금이 담지된 카본분말(Pt/C) 20 중량부, 나피온 10 중량부 및 물 70 중량부를 혼합하여 촉매층 형성용 코팅 조성물을 제조한 다음, 나피온 112 양면에 스프레이 코팅하여 촉매층이 양면에 코팅된 막-전극 어셈블리를 제조하였다.The total area of the through holes having a diameter of 500 microns in the carbon paper (SGL BA3) was formed to be 30% of the total area of the carbon paper. The through-hole formed carbon paper was immersed in a polytetrafluoroethylene solution and subjected to a water repellent coating. 10g of cellulose fibers, 1g of cellulose acetate binder and 100g of water were mixed with a hygroscopic porous material to make a slurry, and then injected into a through hole, followed by heat treatment at 120 ° C. for 2 hours to remove the solvent, thereby preparing an electrode substrate. . 20 parts by weight of carbon powder (Pt / C) loaded with platinum on the electrode substrate, 10 parts by weight of Nafion, and 70 parts by weight of water were prepared to prepare a coating composition for forming a catalyst layer, followed by spray coating on both sides of Nafion 112 to form a catalyst layer. The membrane-electrode assembly coated on both sides was prepared.
막 전극 어셈블레의 양면에 상기 제조된 친수성 채널이 형성된 탄소페이퍼를 접촉시켜 셀을 구성하였다. 이 셀을 가스켓(gasket) 사이에 삽입한 후 일정형상의 기체 유로 채널과 냉각 채널이 형성된 2개의 세퍼레이터에 삽입한 후 구리 엔드(end) 플레이트 사이에서 압착하여 단위 전지를 제조하였다.Cells were constructed by contacting both surfaces of the membrane electrode assembly with carbon paper having the hydrophilic channel prepared above. The cell was inserted between gaskets, and then inserted into two separators in which gas flow channels and cooling channels of a certain shape were formed, and then compressed between copper end plates to prepare a unit cell.
(실시예 2)(Example 2)
다공성 흡습성 물질로 폴리아미드 섬유를 사용한 것을 제외하고 상기 실시예1과 동일한 방법으로 전극을 제조한 후 단위전지를 제조하였다.Except for using polyamide fiber as the porous hygroscopic material, the electrode was manufactured in the same manner as in Example 1, and then a unit cell was prepared.
(실시예 3)(Example 3)
탄소페이퍼에 250 마이크론의 직경을 가지는 관통홀을 레이저를 이용하여 절단하여 홀의 면적의 총합이 전체 탄소페이퍼 면적에 대하여 30%가 되도록 형성시켰다. 관통홀이 형성된 탄소페이퍼를 폴리테트라플루오로에틸렌 용액에 담그어 발수코팅 처리하였다. 흡습성 다공성 물질로 실리카 10g과 셀룰로오스 아세테이트 2g, 물 100g으로 구성된 슬러리를 관통홀에 주입한 후 120도에서 2시간 건조시켜 물을 제거하여 관통홀 안에 다공성 실리카가 충전된 전극 기재를 제조하였다.Through-holes having a diameter of 250 microns in carbon paper were cut using a laser to form a total of 30% of the total area of the carbon paper. The through-hole formed carbon paper was immersed in a polytetrafluoroethylene solution and subjected to a water repellent coating. A slurry composed of 10 g of silica, 2 g of cellulose acetate, and 100 g of water as a hygroscopic porous material was injected into the through hole, and dried at 120 ° C. for 2 hours to remove water to prepare an electrode substrate filled with porous silica in the through hole.
상기 전극을 사용하여 실시예 1과 동일한 방법으로 연료전지를 제조하였다.A fuel cell was manufactured in the same manner as in Example 1 using the electrode.
(비교예 1) (Comparative Example 1)
관통홀을 형성시키지 않은 탄소페이퍼를 폴리테트라플루오로에틸렌 용액에 담그어 발수코팅 처리하여 전극 기재로 사용하였으며, 이를 이용하여 실시예 1과 동일한 방법으로 연료전지를 제조하였다.Carbon paper, which did not form through holes, was immersed in a polytetrafluoroethylene solution and subjected to a water repellent coating, and used as an electrode substrate. A fuel cell was manufactured in the same manner as in Example 1.
60도의 온도, 상압에서 수소와 공기를 상기 실시예 및 비교예의 단위 셀에 유입하여 전류밀도와 전압을 측정하였다. 상기 실시예 및 비교예의 연료전지에 대 하여 전압에 따른 전류밀도 특성을 측정하여 도 5에 도시하였다. 도 5에 도시된 바와 같이 고전류밀도 영역에서 친수성 채널이 형성된 실시예 1 내지 3이 비교예 1에 비하여 높은 출력밀도를 나타냄을 알 수 있다. 이는 고전류밀도 영역에서 과량의 물이 캐소드 전극에서 발생하여 친수성 채널에 의해 이 물이 외부로 제거되어 물막힘(flooding) 현상이 일어나지 않아 기체 확산이 원활하기 때문인 것으로 생각된다.Hydrogen and air were introduced into the unit cells of Examples and Comparative Examples at a temperature of 60 ° C. and atmospheric pressure to measure current density and voltage. For the fuel cells of the above Examples and Comparative Examples, the current density characteristics of the fuel cells were measured and shown in FIG. 5. As shown in FIG. 5, it can be seen that Examples 1 to 3 having hydrophilic channels formed in a high current density region exhibit higher output densities than Comparative Example 1. FIG. It is thought that this is because excess water is generated at the cathode electrode in the high current density region and the water is removed to the outside by the hydrophilic channel so that no water clogging occurs and gas diffusion is smooth.
본 발명에서는 전극 기재에 수분 함습성을 가지는 다공성 물질을 두어 캐소드 전극에서 생성된 물이 고분자 전해질 막과 캐소드 전극 사이에 일정량 존재하게 한다. 통상적인 연료전지는 일정한 정도의 습도가 유지되는 상태에서 작동하기 때문에 적절한 수준으로 습도를 유지해 주는 것이 필요하다. 본 발명에서는 상기 전극 기재가 캐소드 전극에서 발생하는 물을 흡수하여 연료전지용 고분자 전해질막의 습도를 일정하게 유지하는 역할을 하므로, 별도의 가습장치를 필요로 하지 않는 저온 무가습형 연료전지의 개발을 가능하게 한다.
In the present invention, by placing a porous material having water-moisture permeability on the electrode base material, a certain amount of water generated at the cathode electrode is present between the polymer electrolyte membrane and the cathode electrode. Since conventional fuel cells operate under a certain level of humidity, it is necessary to maintain humidity at an appropriate level. In the present invention, the electrode substrate absorbs water generated from the cathode electrode, thereby maintaining a constant humidity of the polymer electrolyte membrane for a fuel cell, and thus it is possible to develop a low temperature non-humidified fuel cell that does not require a separate humidifier. Let's do it.
| Application Number | Priority Date | Filing Date | Title |
|---|---|---|---|
| KR1020050007306AKR101181852B1 (en) | 2005-01-26 | 2005-01-26 | Membrane-electrode assembly and fuel cell system comprising the same |
| US11/264,745US7998638B2 (en) | 2004-11-03 | 2005-11-02 | Electrode for fuel cell, and membrane-electrode assembly and fuel cell system comprising the same |
| CN2008101780170ACN101442132B (en) | 2004-11-03 | 2005-11-03 | Electrode for fuel cell, membrane-electrode assembly comprising the same and fuel cell system comprising the same |
| EP05110283AEP1655795A1 (en) | 2004-11-03 | 2005-11-03 | electrode for fuel cell and membrane-electrode assembly and fuel cell system comprising the same |
| JP2005321444AJP5074685B2 (en) | 2004-11-03 | 2005-11-04 | Cathode electrode for fuel cell and manufacturing method thereof, membrane-electrode assembly including cathode electrode for fuel cell, and fuel cell system including this membrane-electrode assembly |
| Application Number | Priority Date | Filing Date | Title |
|---|---|---|---|
| KR1020050007306AKR101181852B1 (en) | 2005-01-26 | 2005-01-26 | Membrane-electrode assembly and fuel cell system comprising the same |
| Publication Number | Publication Date |
|---|---|
| KR20060086531A KR20060086531A (en) | 2006-08-01 |
| KR101181852B1true KR101181852B1 (en) | 2012-09-11 |
| Application Number | Title | Priority Date | Filing Date |
|---|---|---|---|
| KR1020050007306AExpired - Fee RelatedKR101181852B1 (en) | 2004-11-03 | 2005-01-26 | Membrane-electrode assembly and fuel cell system comprising the same |
| Country | Link |
|---|---|
| KR (1) | KR101181852B1 (en) |
| Publication number | Priority date | Publication date | Assignee | Title |
|---|---|---|---|---|
| KR100645832B1 (en)* | 2005-11-07 | 2006-11-14 | 고려대학교 산학협력단 | Membrane electrode assembly for a polymer electrolyte fuel cell, a method of manufacturing the same, and a fuel cell comprising the membrane electrode assembly |
| KR100803671B1 (en)* | 2006-06-08 | 2008-02-19 | 한국과학기술연구원 | Membrane electrode assembly for fuel cell, manufacturing method thereof and fuel cell using the membrane electrode assembly |
| US10289802B2 (en) | 2010-12-27 | 2019-05-14 | The Board Of Trustees Of The Leland Stanford Junior University | Spanning-tree progression analysis of density-normalized events (SPADE) |
| KR20160011487A (en)* | 2014-07-22 | 2016-02-01 | 삼성전자주식회사 | Membrane electrode assembly and fuel cell including the same |
| Publication number | Priority date | Publication date | Assignee | Title |
|---|---|---|---|---|
| JP2778767B2 (en)* | 1989-12-11 | 1998-07-23 | 三菱重工業株式会社 | Porous electrode and method of using the same |
| JP2004030959A (en) | 2002-06-21 | 2004-01-29 | Aisin Seiki Co Ltd | Gas diffusion member, gas diffusion electrode and fuel cell |
| JP2004342489A (en)* | 2003-05-16 | 2004-12-02 | Sanyo Electric Co Ltd | Fuel cell |
| Publication number | Priority date | Publication date | Assignee | Title |
|---|---|---|---|---|
| JP2778767B2 (en)* | 1989-12-11 | 1998-07-23 | 三菱重工業株式会社 | Porous electrode and method of using the same |
| JP2004030959A (en) | 2002-06-21 | 2004-01-29 | Aisin Seiki Co Ltd | Gas diffusion member, gas diffusion electrode and fuel cell |
| JP2004342489A (en)* | 2003-05-16 | 2004-12-02 | Sanyo Electric Co Ltd | Fuel cell |
| Publication number | Publication date |
|---|---|
| KR20060086531A (en) | 2006-08-01 |
| Publication | Publication Date | Title |
|---|---|---|
| JP5074685B2 (en) | Cathode electrode for fuel cell and manufacturing method thereof, membrane-electrode assembly including cathode electrode for fuel cell, and fuel cell system including this membrane-electrode assembly | |
| KR101135479B1 (en) | A polymer electrolyte membrane for fuel cell, a method for preparing the same, and a fuel cell system comprising the same | |
| CN101276915A (en) | Direct Methanol Fuel Cell | |
| KR100599813B1 (en) | Membrane / electrode assembly for fuel cell and fuel cell system including same | |
| KR101233343B1 (en) | Membrane-electrode assembly for fuel cell, method of producing same and fuel cell system comprising same | |
| KR102175009B1 (en) | Membrane-electrode assembly for fuel cell, method for manufacturing of the same, and fuel cell comprising the same | |
| KR101084073B1 (en) | Electrode for fuel cell, membrane-electrode assembly comprising same, and fuel cell | |
| KR20070098136A (en) | Membrane-electrode assembly for fuel cell and fuel cell system comprising same | |
| KR100599805B1 (en) | Membrane / electrode assembly for fuel cell and fuel cell system comprising same | |
| KR100658739B1 (en) | Polymer electrolyte membrane for fuel cell and manufacturing method thereof | |
| KR100696680B1 (en) | Polymer electrolyte membrane for fuel cell and manufacturing method thereof | |
| KR101135477B1 (en) | A porous membrane and method for preparing thereof, polymer electrode membrane for fuel cell using the same, and fuel cell system comprising the same | |
| KR101181852B1 (en) | Membrane-electrode assembly and fuel cell system comprising the same | |
| KR100570769B1 (en) | Fuel cell electrode and fuel cell comprising same | |
| KR101112693B1 (en) | Membrane Electrode Assembly for Fuel Cell and Manufacturing Method Thereof | |
| KR100903612B1 (en) | Membrane-electrode assembly for fuel cell and fuel cell system comprising same | |
| KR101073014B1 (en) | A membrane electrode assembly for fuel cell and a fuel cell comprising the same | |
| KR101233317B1 (en) | Method of manufacturing electrode for fuel cell, and membrane-electrode assembly and fuel cell system comprising the electrode manufactured by the method | |
| KR20080045461A (en) | Polymer electrolyte membrane for fuel cell, fuel cell membrane-electrode assembly comprising same and fuel cell system comprising same | |
| KR100599811B1 (en) | Membrane / electrode assembly for fuel cell and fuel cell system comprising same | |
| KR20080045457A (en) | Membrane-electrode assembly for fuel cell, method for manufacturing same and fuel cell system comprising same | |
| KR100614044B1 (en) | Membrane-electrode assembly and fuel cell system comprising same | |
| KR100709193B1 (en) | Stack for direct oxidation fuel cell and direct oxidation fuel cell system comprising same | |
| KR20090039977A (en) | Polymer electrolyte membrane for fuel cell, and membrane-electrode assembly and fuel cell system for fuel cell comprising same | |
| KR20060093792A (en) | Fuel cell electrode and fuel cell system comprising same |
| Date | Code | Title | Description |
|---|---|---|---|
| PA0109 | Patent application | St.27 status event code:A-0-1-A10-A12-nap-PA0109 | |
| PG1501 | Laying open of application | St.27 status event code:A-1-1-Q10-Q12-nap-PG1501 | |
| R17-X000 | Change to representative recorded | St.27 status event code:A-3-3-R10-R17-oth-X000 | |
| R18-X000 | Changes to party contact information recorded | St.27 status event code:A-3-3-R10-R18-oth-X000 | |
| A201 | Request for examination | ||
| PA0201 | Request for examination | St.27 status event code:A-1-2-D10-D11-exm-PA0201 | |
| R18-X000 | Changes to party contact information recorded | St.27 status event code:A-3-3-R10-R18-oth-X000 | |
| D13-X000 | Search requested | St.27 status event code:A-1-2-D10-D13-srh-X000 | |
| D14-X000 | Search report completed | St.27 status event code:A-1-2-D10-D14-srh-X000 | |
| E902 | Notification of reason for refusal | ||
| PE0902 | Notice of grounds for rejection | St.27 status event code:A-1-2-D10-D21-exm-PE0902 | |
| E13-X000 | Pre-grant limitation requested | St.27 status event code:A-2-3-E10-E13-lim-X000 | |
| P11-X000 | Amendment of application requested | St.27 status event code:A-2-2-P10-P11-nap-X000 | |
| P13-X000 | Application amended | St.27 status event code:A-2-2-P10-P13-nap-X000 | |
| E701 | Decision to grant or registration of patent right | ||
| PE0701 | Decision of registration | St.27 status event code:A-1-2-D10-D22-exm-PE0701 | |
| GRNT | Written decision to grant | ||
| PR0701 | Registration of establishment | St.27 status event code:A-2-4-F10-F11-exm-PR0701 | |
| PR1002 | Payment of registration fee | St.27 status event code:A-2-2-U10-U11-oth-PR1002 Fee payment year number:1 | |
| PG1601 | Publication of registration | St.27 status event code:A-4-4-Q10-Q13-nap-PG1601 | |
| R18-X000 | Changes to party contact information recorded | St.27 status event code:A-5-5-R10-R18-oth-X000 | |
| FPAY | Annual fee payment | Payment date:20150820 Year of fee payment:4 | |
| PR1001 | Payment of annual fee | St.27 status event code:A-4-4-U10-U11-oth-PR1001 Fee payment year number:4 | |
| FPAY | Annual fee payment | Payment date:20160816 Year of fee payment:5 | |
| PR1001 | Payment of annual fee | St.27 status event code:A-4-4-U10-U11-oth-PR1001 Fee payment year number:5 | |
| FPAY | Annual fee payment | Payment date:20170809 Year of fee payment:6 | |
| PR1001 | Payment of annual fee | St.27 status event code:A-4-4-U10-U11-oth-PR1001 Fee payment year number:6 | |
| P22-X000 | Classification modified | St.27 status event code:A-4-4-P10-P22-nap-X000 | |
| LAPS | Lapse due to unpaid annual fee | ||
| PC1903 | Unpaid annual fee | St.27 status event code:A-4-4-U10-U13-oth-PC1903 Not in force date:20180906 Payment event data comment text:Termination Category : DEFAULT_OF_REGISTRATION_FEE | |
| PC1903 | Unpaid annual fee | St.27 status event code:N-4-6-H10-H13-oth-PC1903 Ip right cessation event data comment text:Termination Category : DEFAULT_OF_REGISTRATION_FEE Not in force date:20180906 | |
| R18-X000 | Changes to party contact information recorded | St.27 status event code:A-5-5-R10-R18-oth-X000 |