








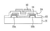
도 1a 내지 도 1d는 종래 기술에 의한 박막트랜지스터의 제조방법을 나타낸 공정단면도.1A to 1D are cross-sectional views illustrating a method of manufacturing a thin film transistor according to the prior art.
도 2a 및 도 2b는 본 발명에 의한 박막트랜지스터의 제조방법을 나타낸 공정단면도.2A and 2B are cross-sectional views illustrating a method of manufacturing a thin film transistor according to the present invention.
도 3a 내지 도 3c는 본 발명에 의한 액정표시소자의 제조방법을 나타낸 공정단면도.3A to 3C are cross-sectional views illustrating a method of manufacturing a liquid crystal display device according to the present invention.
*도면의 주요 부분에 대한 부호설명* Explanation of symbols on the main parts of the drawings
111 : 절연기판 112 : 게이트 전극111: insulating substrate 112: gate electrode
113 : 게이트 절연막 114 : 채널층113: gate insulating film 114: channel layer
115a : 소스전극                115b : 드레인 전극115a:
116 : 보호막 117 : 화소전극116: protective film 117: pixel electrode
124 : 오믹콘택층124: ohmic contact layer
본 발명은 박막트랜지스터의 제조방법 및 액정표시소자의 제조방법에 관한 것으로, 특히 소스 전극 및 드레인 전극과 반도체층 사이의 오믹콘택을 낮추기 위해서 그 사이에 소스 전극 및 드레인 전극을 산화처리하여 형성한 오믹콘택층을 삽입형성하는 박막트랜지스터의 제조방법 및 이를 적용한 액정표시소자의 제조방법에 관한 것이다.BACKGROUND OF THE INVENTION 1. Field of the Invention The present invention relates to a method of manufacturing a thin film transistor and a method of manufacturing a liquid crystal display device. In particular, an ohmic formed by oxidizing a source electrode and a drain electrode therebetween to lower ohmic contact between a source electrode and a drain electrode and a semiconductor layer. A method of manufacturing a thin film transistor inserting a contact layer and a method of manufacturing a liquid crystal display device using the same.
박막트랜지스터는 게이트 전극이 소스 전극 및 드레인 전극 상부에 형성되는 스태거형(staggered type) 박막트랜지스터와 게이트 전극이 소스 전극 및 드레인 전극 하부에 형성되는 역스태거형(inverse-staggered type)로 구분할 수 있다. 구체적으로, 상기 스태거형 박막트랜지스터는 탑-게이트형 박막트랜지스터라고도 하며, 소스 전극 및 드레인 전극, 반도체층, 게이트 절연막, 게이트 전극의 적층막으로 구성되고, 역스태거형 박막트랜지스터는 바텀-게이트형 박막트랜지스터라고도 하며, 게이트 전극, 게이트 절연막, 반도체층, 소스 전극 및 드레인 전극의 적층막으로 구성된다.The thin film transistor may be classified into a staggered type in which a gate electrode is formed on the source electrode and a drain electrode, and a thin film transistor and an inverse-staggered type in which the gate electrode is formed under the source electrode and the drain electrode. . Specifically, the staggered thin film transistor is also referred to as a top-gate thin film transistor, and is composed of a stacked layer of a source electrode and a drain electrode, a semiconductor layer, a gate insulating film, and a gate electrode, and the reverse staggered thin film transistor is a bottom-gate type transistor. Also referred to as a thin film transistor, it is composed of a laminated film of a gate electrode, a gate insulating film, a semiconductor layer, a source electrode and a drain electrode.
이때, 소스 전극 및 드레인 전극과 반도체층 사이의 콘택저항을 낮추기 위해 소스전극 및 드레인 전극과 반도체층 사이에 오믹콘택층(Ohmic contact layer)을 삽입 형성한다.In this case, an ohmic contact layer is inserted between the source electrode and the drain electrode and the semiconductor layer to lower the contact resistance between the source electrode and the drain electrode and the semiconductor layer.
한편, 액정표시소자는, 신호를 화소전극에 선택적으로 인가하기 위한 박막트랜지스터(TFT:Thin Film Transistor)와, 단위 화소영역이 차후에 어드레싱(addressing)될 때까지 충전 상태를 유지하게 하는 스토리지가 구비된 TFT 어레이 기판과, 색상 구현을 위한 컬러필터층이 구비된 컬러필터 기판과, 상기 두 기판 사이에 봉입된 액정층과, 상기 TFT 어레이 기판을 구동하기 위한 구동회로를 구비하여 각종 외부신호에 의해 화상을 표시한다.On the other hand, the liquid crystal display device includes a thin film transistor (TFT) for selectively applying a signal to the pixel electrode, and storage for maintaining a charging state until the unit pixel region is subsequently addressed. A TFT array substrate, a color filter substrate having a color filter layer for realizing color, a liquid crystal layer enclosed between the two substrates, and a driving circuit for driving the TFT array substrate are provided to display an image by various external signals. Display.
따라서, 상기 TFT 어레이 기판의 표시영역에는 각 화소마다 형성되어 상기 각 화소를 구동하는 화소구동용 박막트랜지스터가 형성되고, 비표시영역에는 상기 화소구동용 박막트랜지스터를 작동하여 주사선(gate line)과 신호선(data line)에 신호를 인가하는 구동회로용 박막트랜지스터가 형성된다.Accordingly, a thin film transistor for pixel driving is formed in each display pixel in the display area of the TFT array substrate, and the thin film transistor for driving the pixel is operated in a non-display area to operate a scan line and a signal line. A thin film transistor for a driving circuit that applies a signal to a data line is formed.
이하에서는, 첨부된 도면을 참고로 하여 오믹콘택층이 삽입된 박막트랜지스터의 제조방법을 살펴보면 다음과 같다.Hereinafter, referring to the accompanying drawings, a method of manufacturing a thin film transistor in which an ohmic contact layer is inserted is as follows.
도 1a 내지 도 1d는 종래 기술에 의한 박막트랜지스터의 제조방법을 나타낸 공정단면도이다.1A to 1D are cross-sectional views illustrating a method of manufacturing a thin film transistor according to the prior art.
먼저, 도 1a에 도시된 바와 같이, 투명성 절연기판, 예를 들면, 유리기판(11) 상에 Al 금속막 또는 Mo/Al/Mo의 적층막으로 이루어진 소스 전극 및 드레인 전극용 금속막을 증착하고, 포토식각공정으로 상기 금속막을 패터닝하여 상기 유리 기판 상에 소스 전극(15a) 및 드레인 전극(15b)을 형성한다.First, as shown in FIG. 1A, a metal film for a source electrode and a drain electrode made of an Al metal film or a laminated film of Mo / Al / Mo is deposited on a transparent insulating substrate, for example, a
다음, 소스 전극 및 드레인 전극(15a,15b)이 형성된 유리기판(11) 상에 n형 불순물이 도핑된 비정질실리콘층(n+Si)(24a)을 전면증착한다. 그런 다음, 상기 도핑된 비정질실리콘층 상에 포토레지스트(25a)를 도포한 상태에서, 상기 포토레지스트에 대해서 상기 소스 전극 및 드레인 전극(15a,15b)을 노광 마스크로 사용하는 배면 노광공정을 수행한다.Next, an amorphous silicon layer (n+ Si) 24a doped with n-type impurities is deposited on the
이후, 도 1b에 도시된 바와 같이, 노광된 포토레지스트를 현상하여 포토레지스트 패턴(25)을 형성한다.Thereafter, as shown in FIG. 1B, the exposed photoresist is developed to form a
이어서, 도 1c에 도시된 바와 같이, 상기 포토레지스트 패턴을 마스크로 하는 식각 공정을 통해 노출된 도핑된 비정질실리콘층 부분을 식각함으로써 상기 소스 전극 및 드레인 전극(15a,15b) 상에 상기 도핑된 비정질실리콘층으로 이루어진 오믹콘택층(24)을 형성한다. 이후, 식각마스크로 사용된 상기 포토레지스트 패턴을 제거한다.Subsequently, as illustrated in FIG. 1C, the doped amorphous silicon layer portion is etched through an etching process using the photoresist pattern as a mask, thereby etching the doped amorphous layer on the source and
계속해서, 도 1d에 도시된 바와 같이, 상기 결과물의 전면에 비도핑된 비정질실리콘층(a-Si:H), 절연막. MoW와 같은 게이트 전극용 금속막을 차례로 증착하고, 포토식각공정을 적용하여 반도체층(14)과, 게이트 절연막(13)과, 게이트 전극(12)을 형성한다.Subsequently, as shown in FIG. 1D, an amorphous silicon layer (a-Si: H) and an insulating film undoped on the entire surface of the resultant product. A metal film for a gate electrode such as MoW is sequentially deposited, and a photolithography process is applied to form the
이로써, 유리기판의 소정부에 소스 전극 및 드레인 전극(15a,15b), 오믹콘택층(24), 반도체층(14), 게이트 절연막(13), 게이트 전극(12)의 적층막으로 구성되는 스태거형(staggered type)의 TFT가 완성된다.As a result, a switch formed of a laminated film of the source and
그러나, 상기와 같은 종래기술에 의한 박막트랜지스터의 제조방법 및 이를 적용한 액정표시소자의 제조방법은 다음과 같은 문제점이 있다.However, the manufacturing method of the thin film transistor according to the related art and the manufacturing method of the liquid crystal display device using the same have the following problems.
즉, 소스 전극 및 드레인 전극과 반도체층 사이에 오믹콘택층을 형성하기 위해서는, 도핑된 비정질실리콘층을 증착하고 포토식각공정을 적용하여 패터닝하는 복잡한 공정을 수행하여야 한다. 이때, 포토식각공정은 패턴이 형성될 기판에 자외선으로 감광하는 재료인 포토 레지스트를 코팅하고, 상기 포토 레지스트를 노광하여 현상한 뒤, 현상된 포토 레지스트를 마스크로 하여 원하는 피식각층을 식각한 후 포토 레지스트를 스트립핑하는 일련의 복잡한 과정으로 이루어진다.That is, in order to form an ohmic contact layer between the source electrode and the drain electrode and the semiconductor layer, a complex process of depositing a doped amorphous silicon layer and applying a photoetch process is performed. At this time, the photo-etching process is coated with a photoresist, a material that is photosensitive with ultraviolet rays to the substrate on which the pattern is to be formed, the photoresist is exposed and developed, the desired etching layer is etched using the developed photoresist as a mask and then the photo It consists of a series of complex processes of stripping the resist.
따라서, 오믹콘택층을 형성하는 것에 의해서, 박막트랜지스터를 형성하기 위한 전체적인 공정수가 증가하고 공정이 복잡해진다는 문제점이 있었다.Therefore, there is a problem that by forming the ohmic contact layer, the overall number of steps for forming the thin film transistor increases and the process becomes complicated.
또한, 오믹콘택층을 형성하기 위해 포토식각공정을 추가 수행한다는 점은, 포토식각 공정의 횟수를 최소한으로 줄여 생산성을 높이고 공정 마진을 확보하고자 “저마스크 기술“에 대한 연구가 활발하게 진행되고 있는 최근추세에 역행하는 것이다.In addition, the addition of a photo etching process to form an ohmic contact layer, the research on the "low-mask technology" is actively being conducted to increase the productivity and to secure a process margin by reducing the number of photo etching process to a minimum It is against the recent trend.
본 발명은 상기와 같은 문제점을 해결하기 위해, 소스 전극 및 드레인 전극 표면을 산화시켜 소스 전극 및 드레인 전극과 반도체층 사이의 오믹콘택을 낮출 수 있는 산화금속층(오믹콘택층)을 형성함으로써, 오믹콘택층을 형성하기 위한 별도의 공정을 추가하지 않아도 되는 박막트랜지스터의 제조방법 및 이를 적용한 액정표시소자의 제조방법을 제공하는데 그 목적이 있다.In order to solve the above problems, an ohmic contact is formed by oxidizing a surface of a source electrode and a drain electrode to form a metal oxide layer (omic contact layer) capable of lowering ohmic contact between the source electrode and the drain electrode and the semiconductor layer. It is an object of the present invention to provide a method of manufacturing a thin film transistor and a method of manufacturing a liquid crystal display device using the same, which does not need to add a separate process for forming a layer.
상기와 같은 목적을 달성하기 위한 본 발명의 박막트랜지스터의 제조방법은 기판 상에 소스 전극 및 드레인 전극을 형성하는 단계와, 상기 소스 전극 및 드레인 전극을 산화처리하여 오믹콘택층을 형성하는 단계와, 상기 오믹콘택층 상에 반도체층을 형성하는 단계와, 상기 반도체층을 포함한 전면에 게이트 절연막을 형성하는 단계와, 상기 게이트 절연막 상의 반도체층 상부에 게이트 전극을 형성하는 단계를 포함하여 이루어지는 것을 특징으로 한다.Method of manufacturing a thin film transistor of the present invention for achieving the above object comprises the steps of forming a source electrode and a drain electrode on the substrate, forming an ohmic contact layer by oxidizing the source electrode and drain electrode, Forming a semiconductor layer on the ohmic contact layer, forming a gate insulating film on the entire surface including the semiconductor layer, and forming a gate electrode on the semiconductor layer on the gate insulating film. do.
한편, 본 발명의 다른 목적을 달성하기 위한 본 발명의 액정표시소자의 제조방법은 기판 상에 소스 전극 및 드레인 전극 및 데이터 배선을 형성하는 단계와, 상기 소스 전극 및 드레인 전극을 산화처리하여 오믹콘택층을 형성하는 단계와, 상기 오믹콘택층 상에 반도체층을 형성하는 단계와, 상기 반도체층을 포함한 전면에 게이트 절연막을 형성하는 단계와, 상기 게이트 절연막 상의 반도체층 상부에 게이트 전극을 형성하고 그와 동시에 상기 데이터 배선에 교차하는 게이트 배선을 형성하는 단계와, 상기 게이트 전극을 포함한 전면에 보호막을 형성하는 단계와, 상기 게이트 절연막 및 보호막을 관통하여 상기 드레인 전극에 콘택하는 화소전극을 형성하는 단계를 포함하여 이루어지는 것을 특징으로 한다.On the other hand, the manufacturing method of the liquid crystal display device of the present invention for achieving another object of the present invention comprises the steps of forming a source electrode and a drain electrode and a data wiring on the substrate, and oxidizing the source electrode and drain electrode to ohmic contact Forming a layer, forming a semiconductor layer on the ohmic contact layer, forming a gate insulating film on the entire surface including the semiconductor layer, and forming a gate electrode on top of the semiconductor layer on the gate insulating film. And forming a gate line crossing the data line at the same time, forming a passivation layer on the entire surface including the gate electrode, and forming a pixel electrode contacting the drain electrode through the gate insulating layer and the passivation layer. Characterized in that comprises a.
이때, 소스 전극 및 드레인 전극이 산화되어 형성된 오믹콘택층의 일함수(work function) 값이 소스 전극 및 드레인 전극의 일함수 값과 반도체층의 일함수 값의 중간값이 될 수 있도록 소스 전극 및 드레인 전극용 물질을 선택하여 산화처리한다.At this time, the work function value of the ohmic contact layer formed by oxidizing the source electrode and the drain electrode may be the intermediate value between the work function value of the source electrode and the drain electrode and the work function value of the semiconductor layer. The material for the electrode is selected and oxidized.
그리고, 소스 전극 및 드레인 전극을 산화처리하는 방법에는 소스 전극 및 드레인 전극용 물질 증착시 마지막에 산소가스를 주입하는 방법과, 패터닝된 소스 전극 및 드레인 전극에 산소가스를 이용하여 플라즈마 표면 처리하는 방법과, 패터닝된 소스 전극 및 드레인 전극을 산소분위기 하에서의 열처리하는 방법 등이 있다.In addition, a method of oxidizing the source electrode and the drain electrode includes a method of injecting oxygen gas at the last time of depositing the material for the source electrode and the drain electrode, and a method of treating the surface of the patterned source electrode and the drain electrode using oxygen gas. And a method of heat treating the patterned source electrode and the drain electrode under an oxygen atmosphere.
이하에서, 첨부된 도면을 통해 본 발명에 의한 박막트랜지스터의 제조방법 및 이를 적용한 액정표시소자의 제조방법에 대해 구체적으로 살펴보면 다음과 같다.Hereinafter, a method of manufacturing a thin film transistor and a method of manufacturing a liquid crystal display device using the same according to the present invention will be described in detail with reference to the accompanying drawings.
도 2a 및 도 2b는 본 발명에 의한 박막트랜지스터의 제조방법을 나타낸 공정단면도이고, 도 3a 내지 도 3c는 본 발명에 의한 액정표시소자의 제조방법을 나타 낸 공정단면도이다.2A and 2B are cross-sectional views illustrating a method of manufacturing a thin film transistor according to the present invention, and FIGS. 3A to 3C are cross-sectional views illustrating a method of manufacturing a liquid crystal display device according to the present invention.
먼저, 도 2a에 도시된 바와 같이, 투명성 절연기판(111), 예를 들면, 유리기판 상에 구리(Cu), 알루미늄(Al), 알루미늄 합금(AlNd), 몰리브덴(Mo), 크롬(Cr), 티타늄(Ti), 탄탈륨(Ta), 몰리브덴-우라늄(MoW), 구리(Cu) 등을 스퍼터링(sputtering) 방법으로 증착하고 포토식각공정을 적용하여 패터닝함으로써 채널폭만큼 이격되는 소스 전극 및 드레인 전극(115a,115b)을 형성한다.First, as shown in FIG. 2A, copper (Cu), aluminum (Al), aluminum alloy (AlNd), molybdenum (Mo), and chromium (Cr) on a transparent
다음, 상기 소스 전극 및 드레인 전극에 대해 산화처리하여 소스 전극 및 드레인 전극(115a,115b) 표면에 산화금속층인 오믹콘택층(124)을 형성한다.Next, the
상기 오믹콘택층을 형성하기 위해서, 패터닝된 소스 전극 및 드레인 전극에 산소가스를 이용하여 플라즈마 표면 처리하는 방법을 적용할 수 있는데, 구체적으로, 소스 전극 및 드레인 전극이 패터닝된 기판을 플라즈마 장치에 인입시키고 산소 가스를 플라즈마화시켜 소스 전극 및 드레인 전극의 표면을 산화처리한다. 산소 플라즈마 처리공정은 1500mT의 압력과 60 내지 80℃의 온도 범위 하에서, 800W의 파워를 인가하고, 산소의 양을 500sccm 정도 플로우시키어, 약 20 내지 40분간 실시한다.In order to form the ohmic contact layer, a method of plasma surface treatment using oxygen gas may be applied to the patterned source electrode and the drain electrode. Specifically, the substrate on which the source electrode and the drain electrode is patterned is introduced into the plasma apparatus. And the surface of the source electrode and the drain electrode are oxidized by oxidizing the oxygen gas. The oxygen plasma treatment step is performed at a pressure of 1500 mT and a temperature range of 60 to 80 ° C., applying a power of 800 W, flowing the amount of oxygen about 500 sccm, and performing about 20 to 40 minutes.
이외에, 패터닝된 소스 전극 및 드레인 전극 표면에 대해 산화 열처리하여 오믹콘택층을 형성할 수 있는데, 산소로 채워진 고온의 로(爐) 내부에 소스 전극 및 드레인 전극이 패터닝된 기판을 인입시켜 산화처리하는 것이다.In addition, an ohmic contact layer may be formed by oxidizing and heat-treating the patterned source electrode and drain electrode surfaces, and the substrate on which the source electrode and the drain electrode are patterned is oxidized by being introduced into a high-temperature furnace filled with oxygen. will be.
한편, 상기에서와 같이, 패터닝된 소스 전극 및 드레인 전극에 대해 표면 산화처리하지 않고, 소스 전극 및 드레인 전극용 물질 증착시 마지막에 산소가스를 주입하여 산화처리하는 방법이 있는데, 스퍼터링 등의 방법으로 소스 전극 및 드레인 전극용 금속물질 증착시 마지막에 산소를 동시에 공입하여 금속물질을 증착함과 동시에 금속물질을 산화시키는 것이다. 이로써, 스퍼터링방법으로 증착된 금속물질은 그 표면이 산화금속층이 되고, 이후 표면에 산화금속층이 구비된 금속물질을 포토식각공정으로 패터닝하여 소스 전극 및 드레인 전극을 형성하게 된다. 이로써, 패터닝된 소스 전극 및 드레인 전극 표면에는 산화금속층이 구비되고, 상기 산화금속층이 오믹콘택층이 되는 것이다.On the other hand, as described above, there is a method of injecting oxygen gas at the end of the deposition of the material for the source electrode and the drain electrode, without oxidation of the surface of the patterned source electrode and drain electrode, by the method such as sputtering At the time of depositing the metal material for the source electrode and the drain electrode, oxygen is simultaneously deposited to simultaneously deposit the metal material and oxidize the metal material. As a result, the metal material deposited by the sputtering method becomes a metal oxide layer on the surface thereof, and then the metal material having the metal oxide layer on the surface is patterned by photolithography to form a source electrode and a drain electrode. As a result, a metal oxide layer is provided on the patterned source electrode and drain electrode surfaces, and the metal oxide layer becomes an ohmic contact layer.
즉, 본 발명에 의한 오믹콘택층은, 금속 산화시 일함수값이 변화하여 저항값이 낮아지는 원리에 착안한 것으로, 금속의 산화시 일함수값이 높아지게 된다.That is, the ohmic contact layer according to the present invention focuses on the principle that the work function value changes during metal oxidation and the resistance value decreases, and the work function value during metal oxidation becomes high.
그러나, 상기 오믹콘택층의 일함수값은 후공정에서 형성될 반도체층의 일함수값보다 낮아야 한다. 결국, 소스 전극 및 드레인 전극이 산화되어 형성된 오믹콘택층의 일함수(work function) 값이 소스 전극 및 드레인 전극의 일함수 값과 반도체층의 일함수 값의 중간값이 되어야 한다.However, the work function value of the ohmic contact layer should be lower than the work function value of the semiconductor layer to be formed in a later step. As a result, the work function of the ohmic contact layer formed by oxidizing the source electrode and the drain electrode should be the middle value between the work function of the source electrode and the drain electrode and the work function of the semiconductor layer.
일예로, 후공정에서 ZnO를 사용하여 반도체층을 형성하는 경우, ZnO의 일함수값은 5.0 eV이하이므로, 소스 전극 및 드레인 전극과 오믹콘택층의 일함수값은 그보다 작아야 한다.For example, when the semiconductor layer is formed using ZnO in a later step, the work function value of ZnO is 5.0 eV or less, and thus the work function value of the source electrode, the drain electrode, and the ohmic contact layer should be smaller than that.
먼저, 소스 전극 및 드레인 전극으로 티타늄(Ti)을 증착하여 형성하는 경우, Ti의 일함수값은 4.3 eV이하이고, 상기 소스 전극 및 드레인 전극을 산화시켜 형성한 산화티타늄(TiOx)의 일함수값은 4.6 ~ 4.7 eV이므로, ZnO를 사용하여 반도체층을 형성하는 경우 소스 전극 및 드레인 전극으로 티타늄을 사용하는 것이 적합하다.First, in the case of depositing titanium (Ti) with a source electrode and a drain electrode, a work function value of Ti is 4.3 eV or less, and a work function value of titanium oxide (TiOx) formed by oxidizing the source electrode and the drain electrode. Since 4.6 is 4.7 eV, it is suitable to use titanium as a source electrode and a drain electrode when forming a semiconductor layer using ZnO.
이외에도, 소스 전극 및 드레인 전극용 물질로 몰리브덴(Mo)고 구리(Cu)를 사용할 수 있는데, Mo의 일함수값은 4.2~4.7 eV이고 산화몰리브덴(MoOx)의 일함수값은 4.8eV이하이며, Cu의 일함수값은 4.3 eV이하이고 산화구리(CuOx)의 일함수값은 4.0~4.5 eV이다. 이와같이, 산화몰리브덴과 산화구리의 경우에도, 그 일함수값이 몰리브덴 및 구리의 일함수값과 반도체층 ZnO의 일함수값의 중간값이 되므로 본 발명에 의한 소스 전극 및 드레인 전극용 물질로 적합하다.In addition, molybdenum (Mo) and copper (Cu) may be used as the material for the source electrode and the drain electrode. The work function of Mo is 4.2 to 4.7 eV, and the work function of molybdenum oxide (MoOx) is 4.8 eV or less. The work function value of Cu is 4.3 eV or less, and the work function value of copper oxide (CuOx) is 4.0-4.5 eV. Thus, even in the case of molybdenum oxide and copper oxide, since the work function value is the intermediate value between the work function value of molybdenum and copper and the work function value of the semiconductor layer ZnO, it is suitable for the source electrode and drain electrode material according to the present invention. .
한편, 후공정에서 형성될 반도체층으로 ZnO 이외에, 비정질 실리콘(Amorphous Silicon) 또는 폴리실리콘(Poly Silicon)을 사용할 수 있으며, 이 경우에도 소스 전극 및 드레인 전극용 물질을 선택시, 소스 전극 및 드레인 전극용 물질의 산화물의 일함수값이 소스 전극 및 드레인 전극용 물질의 일함수값과 반도체층용 물질의 일함수값의 사이값이 되는 것으로 선택한다.Meanwhile, in addition to ZnO, amorphous silicon or polysilicon may be used as the semiconductor layer to be formed in a later process. In this case, when a material for the source electrode and the drain electrode is selected, the source electrode and the drain electrode may be used. The work function value of the oxide of the solvent material is selected to be a value between the work function value of the material for the source electrode and the drain electrode and the work function value of the material for the semiconductor layer.
상기에서와 같이, 소스 전극 및 드레인 전극용 물질을 산화처리하여 오믹콘택층을 형성한 이후에는, 도 2b에 도시된 바와 같이, 상기 오믹콘택층(124)을 포함한 전면에 ZnO, 비정질 실리콘 또는 폴리실리콘을 증착하고 포토식각공정으로 패터닝하여 반도체층(114)을 형성한다.As described above, after forming the ohmic contact layer by oxidizing the material for the source electrode and the drain electrode, as shown in FIG. 2B, ZnO, amorphous silicon, or poly is formed on the entire surface including the
다음, 상기 반도체층(114)을 포함한 전면에 실리콘 산화물(SiOx) 또는 실리콘 질화물(SiNx) 등의 무기 절연물질을 플라즈마 강화형 화학 증기 증착 방법으로 증착하여 게이트 절연막(113)을 형성한다.Next, an inorganic insulating material such as silicon oxide (SiOx) or silicon nitride (SiNx) is deposited on the entire surface including the
 그 후, 상기 게이트 절연막(113) 상부에 구리(Cu), 알루미늄(Al), 알루미늄 합금(AlNd), 몰리브덴(Mo), 크롬(Cr), 티타늄(Ti), 탄탈륨(Ta), 몰리브덴-텅스텐(MoW) 등을 증착하고 패터닝하여 게이트 전극(112)을 형성한다. 상기 게이트 전극(112)은 반도체층(114)의 채널층에 상응하는 영역에 형성한다. After that, copper (Cu), aluminum (Al), aluminum alloy (AlNd), molybdenum (Mo), chromium (Cr), titanium (Ti), tantalum (Ta), and molybdenum-tungsten on the
이로써, 절연기판(111)의 소정부에 소스 전극 및 드레인 전극(115a,115b), 오믹콘택층(124), 반도체층(114), 게이트 절연막(113), 게이트 전극(112)의 적층막으로 구성되는 스태거형(staggered type)의 TFT 즉, 탑-게이트 TFT가 완성된다. 이와같이 형성된 TFT는 오믹콘택층을 형성하기 위한 별도의 포토식각공정을 수행하지 않아도 되므로 공정이 간소해진다.As a result, the predetermined thickness of the insulating
한편, 본 발명에 의한 액정표시소자의 제조방법을 살펴보면, 먼저, 도 3a에 도시된 바와 같이, 투명성 절연기판(111), 예를 들면, 유리기판 상에 구리(Cu), 알루미늄(Al), 알루미늄 합금(AlNd), 몰리브덴(Mo), 크롬(Cr), 티타늄(Ti), 탄탈륨(Ta), 몰리브덴-우라늄(MoW), 구리(Cu) 등을 스퍼터링(sputtering) 방법으로 증착하고 포토식각공정을 적용하여 패터닝하여 소스 전극 및 드레인 전극(115a,115b) 및 데이터 배선(도시하지 않음)을 형성한다. 상기 데이터 배선은 상기 소스전극과 일체형으로 형성하고, 상기 드레인 전극은 상기 소스전극과 채널폭만큼 이격되도록 형성한다.Meanwhile, referring to a method of manufacturing a liquid crystal display device according to the present invention, first, as shown in FIG. 3A, on a transparent insulating
다음, 상기 소스 전극 및 드레인 전극에 대해 산화처리하여 소스 전극 및 드레인 전극(115a,115b) 표면에 산화금속층인 오믹콘택층(124)을 형성한다.Next, the
상기 오믹콘택층을 형성하기 위해서, 소스 전극 및 드레인 전극이 패터닝된 기판을 플라즈마 장치에 인입시키고 산소 가스를 플라즈마화시켜 소스 전극 및 드레인 전극의 표면을 산화처리하는 방법과 소스 전극 및 드레인 전극이 패터닝된 기판을 산소로 채워진 고온의 로(爐) 내부에 인입시키고 산소 분위기 하에서 열처리하여 소스 전극 및 드레인 전극 표면을 산화처리하는 방법이 있다.In order to form the ohmic contact layer, a method in which a substrate having a source electrode and a drain electrode patterned is introduced into a plasma apparatus, and an oxygen gas is converted into a plasma to oxidize the surfaces of the source electrode and the drain electrode, and the source electrode and the drain electrode are patterned. The substrate is introduced into a high-temperature furnace filled with oxygen, and heat treated in an oxygen atmosphere to oxidize the source electrode and drain electrode surfaces.
한편, 패터닝된 소스 전극 및 드레인 전극에 대해 표면 산화처리하지 않고, 소스 전극 및 드레인 전극용 물질 증착시 마지막에 산소가스를 주입하여 산화처리하는 방법이 있는데, 스퍼터링 등의 방법으로 소스 전극 및 드레인 전극용 금속물질 증착시 마지막에 산소를 동시에 공급하여 금속물질을 증착함과 동시에 금속물질을 산화시키는 것이다. 이로써, 스퍼터링방법으로 증착된 금속물질은 그 표면이 산화금속층(오믹콘택층)이 되고, 이후 포토식각공정으로 패터닝하여 소스 전극 및 드레인 전극을 형성하게 된다.On the other hand, the surface of the patterned source electrode and the drain electrode is not subjected to surface oxidation, and when the material for the source electrode and drain electrode is deposited, the oxygen gas is injected and oxidized at the end, and the source electrode and the drain electrode by sputtering or the like method. At the time of depositing the metal material, oxygen is simultaneously supplied to deposit the metal material and simultaneously oxidize the metal material. As a result, the metal material deposited by the sputtering method becomes a metal oxide layer (ohmic contact layer), and is then patterned by a photo etching process to form a source electrode and a drain electrode.
이때, 상기 오믹콘택층의 일함수값은 후공정에서 형성될 반도체층의 일함수값과 소스 전극 및 드레인 전극의 일함수 값의 사이값이어야 한다.In this case, the work function value of the ohmic contact layer should be a value between the work function value of the semiconductor layer to be formed in a later process and the work function value of the source electrode and the drain electrode.
일예로, 후공정에서 ZnO를 사용하여 반도체층을 형성하는 경우, ZnO의 일함수값은 5.0 eV이하이므로, 소스 전극 및 드레인 전극과 오믹콘택층의 일함수값은 그보다 작아야 하는데, 티타늄(Ti), 몰리브덴(Mo), 구리(Cu)가 적합하다. 참고로, 티타늄의 일함수값은 4.3 eV이하이고 산화티타늄(TiOx)의 일함수값은 4.6 ~ 4.7 eV이며, 몰리브덴의 일함수값은 4.2~4.7 eV이고 산화몰리브덴(MoOx)의 일함수값은 4.8eV이하이며, 구리의 일함수값은 4.3 eV이하이고 산화구리(CuOx)의 일함수값은 4.0~4.5 eV이다.For example, when the semiconductor layer is formed by using ZnO in a later step, the work function of ZnO is 5.0 eV or less, so the work function of the source electrode, the drain electrode, and the ohmic contact layer should be smaller than that of titanium (Ti). , Molybdenum (Mo) and copper (Cu) are suitable. For reference, the work function value of titanium is 4.3 eV or less, the work function value of titanium oxide (TiOx) is 4.6 to 4.7 eV, the work function value of molybdenum is 4.2 to 4.7 eV, and the work function value of molybdenum oxide (MoOx) is It is 4.8 eV or less, the work function value of copper is 4.3 eV or less, and the work function value of copper oxide (CuOx) is 4.0-4.5 eV.
한편, 후공정에서 형성될 반도체층으로 ZnO 이외에, 비정질 실리콘(Amorphous Silicon) 또는 폴리실리콘(Poly Silicon)을 사용할 수 있으며, 이 경우에도 소스 전극 및 드레인 전극용 물질의 산화물의 일함수값이 소스 전극 및 드레인 전극용 물질의 일함수값과 반도체층용 물질의 일함수값의 사이값이 되도록 소스 전극 및 드레인 전극용 물질로 선택한다.Meanwhile, in addition to ZnO, amorphous silicon or polysilicon may be used as the semiconductor layer to be formed in a later process, and in this case, the work function of the oxide of the material for the source electrode and the drain electrode may be the source electrode. And a material for the source electrode and the drain electrode to be a value between the work function value of the material for the drain electrode and the work function value of the material for the semiconductor layer.
상기에서와 같이, 소스 전극 및 드레인 전극용 물질을 산화처리하여 오믹콘택층을 형성한 이후에는, 도 3b에 도시된 바와 같이, 상기 오믹콘택층(124)을 포함한 전면에 ZnO, 비정질 실리콘 또는 폴리실리콘을 증착하고 포토식각공정으로 패터닝하여 반도체층(114)을 형성한다.As described above, after forming the ohmic contact layer by oxidizing the material for the source electrode and the drain electrode, as shown in FIG. 3B, ZnO, amorphous silicon, or poly is formed on the entire surface including the
다음, 상기 반도체층(114)을 포함한 전면에 실리콘 산화물(SiOx) 또는 실리콘 질화물(SiNx) 등의 무기 절연물질을 플라즈마 강화형 화학 증기 증착 방법으로 증착하여 게이트 절연막(113)을 형성한다.Next, an inorganic insulating material such as silicon oxide (SiOx) or silicon nitride (SiNx) is deposited on the entire surface including the
 그 후, 상기 게이트 절연막(113) 상부에 구리(Cu), 알루미늄(Al), 알루미늄 합금(AlNd), 몰리브덴(Mo), 크롬(Cr), 티타늄(Ti), 탄탈륨(Ta), 몰리브덴-텅스텐(MoW) 등을 증착하고 패터닝하여 게이트 전극(112) 및 게이트 배선(도시하지 않음)을 형성한다. 상기 게이트 전극(112)은 반도체층(114)의 채널층에 상응하는 영역에 형성하고, 상기 게이트 전극과 일체형으로 형성되는 게이트 배선은 상기 데이터 배선과 교차하도록 형성되어 단위 화소영역을 정의한다. After that, copper (Cu), aluminum (Al), aluminum alloy (AlNd), molybdenum (Mo), chromium (Cr), titanium (Ti), tantalum (Ta), and molybdenum-tungsten on the
이로써, 소스 전극 및 드레인 전극(115a,115b), 오믹콘택층(124), 반도체층(114), 게이트 절연막(113), 게이트 전극(112)의 적층막으로 구성되는 스태거형(staggered type)의 TFT가 완성되고, 상기 TFT는 상기 게이트 배선과 데이터 배선의 교차 지점에 형성되어 전압의 턴-온 또는 턴-오프를 제어한다.As a result, a staggered type composed of a stacked film of the source and
이후, 도 3c에 도시된 바와 같이, 상기 게이트 전극(112)을 포함한 전면에 실리콘 질화물 또는 실리콘 산화물 등의 무기절연물질을 증착하거나 또는 BCB(Benzocyclobutene)또는 아크릴계 물질과 같은 유기 절연물질을 도포하여 보호막(1116)을 형성한다.Thereafter, as shown in FIG. 3C, an inorganic insulating material such as silicon nitride or silicon oxide is deposited on the entire surface including the
이어서, 포토식각공정으로 상기 보호막(116) 및 게이트 절연막(113)을 패터닝하여 상기 드레인 전극(115b)이 노출되도록 콘택홀을 형성한 뒤, 상기 콘택홀을 통해 상기 드레인 전극(115b)에 콘택되도록 ITO(Indium Tin Oxide) 또는 IZO(Indium Zinc Oxide) 등을 증착하고, 포토식각기술로 패터닝하여 각 단위 화소영역에 화소전극(117)을 형성한다.Subsequently, the
이와같이, 박막트랜지스터(TFT)가 형성된 어레이 기판은 도시하지는 않았으나, 상기 어레이 기판에 컬러필터층 및 공통전극이 형성된 대향기판을 대향합착한 후, 상기 두 기판 사이에 액정층을 형성하고 액정주입구를 밀봉함으로써 액정표시소자를 완성할 수 있다.As described above, although the array substrate on which the TFT is formed is not shown, an opposite substrate on which the color filter layer and the common electrode are formed is bonded to the array substrate, and then a liquid crystal layer is formed between the two substrates and the liquid crystal inlet is sealed. A liquid crystal display device can be completed.
한편, 이상에서 설명한 본 발명은 상술한 실시예 및 첨부된 도면에 한정되는 것이 아니고, 본 발명의 기술적 사상을 벗어나지 않는 범위내에서 여러 가지 치환, 변형 및 변경이 가능하다는 것이 본 발명이 속하는 기술분야에서 통상의 지식을 가진 자에게 있어 명백할 것이다.On the other hand, the present invention described above is not limited to the above-described embodiment and the accompanying drawings, it is possible that various substitutions, modifications and changes within the scope without departing from the technical spirit of the present invention. It will be apparent to those of ordinary skill in Esau.
상기와 같은 본 발명의 박막트랜지스터의 제조방법 및 이를 적용한 액정표시소자의 제조방법은 다음과 같은 효과가 있다.The method of manufacturing the thin film transistor of the present invention as described above and the method of manufacturing the liquid crystal display device using the same have the following effects.
즉, 소스 전극 및 드레인 전극 표면을 산화시켜 소스 전극 및 드레인 전극과 반도체층 사이의 오믹콘택을 낮출 수 있는 산화금속층(오믹콘택층)을 형성함으로써, 오믹콘택층을 형성하기 위한 별도의 공정을 추가하지 않아도 된다.That is, a separate process for forming an ohmic contact layer is formed by oxidizing the surface of the source electrode and the drain electrode to form a metal oxide layer (omic contact layer) capable of lowering the ohmic contact between the source electrode and the drain electrode and the semiconductor layer. You do not have to do.
이와같이, 본 발명에 의한 박막트랜지터 및 액정표시소자의 제조방법은 종래 의 오믹콘택층을 형성하기 위한 별도의 포토식각공정을 수행하지 않아도 되므로 공정이 간소해지고 제조원가가 절감되며 공정 시간 또한 줄일 수 있어서 대량생산에 효과적이다.As described above, the method of manufacturing the thin film transistor and the liquid crystal display device according to the present invention does not have to perform a separate photo-etching process for forming the conventional ohmic contact layer, which simplifies the process, reduces the manufacturing cost, and reduces the process time. Effective for mass production
| Application Number | Priority Date | Filing Date | Title | 
|---|---|---|---|
| KR1020050085762AKR101174780B1 (en) | 2005-09-14 | 2005-09-14 | Method For Fabricating Thin Film Transistor And Method For Fabricating Liquid Crystal Display Device | 
| Application Number | Priority Date | Filing Date | Title | 
|---|---|---|---|
| KR1020050085762AKR101174780B1 (en) | 2005-09-14 | 2005-09-14 | Method For Fabricating Thin Film Transistor And Method For Fabricating Liquid Crystal Display Device | 
| Publication Number | Publication Date | 
|---|---|
| KR20070031090A KR20070031090A (en) | 2007-03-19 | 
| KR101174780B1true KR101174780B1 (en) | 2012-08-20 | 
| Application Number | Title | Priority Date | Filing Date | 
|---|---|---|---|
| KR1020050085762AExpired - LifetimeKR101174780B1 (en) | 2005-09-14 | 2005-09-14 | Method For Fabricating Thin Film Transistor And Method For Fabricating Liquid Crystal Display Device | 
| Country | Link | 
|---|---|
| KR (1) | KR101174780B1 (en) | 
| Publication number | Priority date | Publication date | Assignee | Title | 
|---|---|---|---|---|
| JP2009004518A (en)* | 2007-06-20 | 2009-01-08 | Kobe Steel Ltd | Thin film transistor substrate and display device | 
| KR100963027B1 (en) | 2008-06-30 | 2010-06-10 | 삼성모바일디스플레이주식회사 | Thin film transistor, its manufacturing method, and flat panel display device comprising thin film transistor | 
| KR100963026B1 (en) | 2008-06-30 | 2010-06-10 | 삼성모바일디스플레이주식회사 | Thin film transistor, its manufacturing method, and flat panel display device comprising thin film transistor | 
| KR100963104B1 (en) | 2008-07-08 | 2010-06-14 | 삼성모바일디스플레이주식회사 | Thin film transistor, its manufacturing method, and flat panel display device comprising thin film transistor | 
| KR20100023151A (en) | 2008-08-21 | 2010-03-04 | 삼성모바일디스플레이주식회사 | Thin film transistor and fabricating method thereof | 
| Publication number | Publication date | 
|---|---|
| KR20070031090A (en) | 2007-03-19 | 
| Publication | Publication Date | Title | 
|---|---|---|
| US8158466B2 (en) | Array substrate for display device and method of fabricating the same | |
| US7923287B2 (en) | Thin film transistor substrate having transparent conductive metal and method of manufacturing the same | |
| US8040452B2 (en) | Manufacturing method for a thin film transistor-liquid crystal display having an insulating layer exposing portions of a gate island | |
| US7176535B2 (en) | Thin film transistor array gate electrode for liquid crystal display device | |
| KR101431136B1 (en) | Method of manufacturing thin film transistor substrate | |
| US8049830B2 (en) | Liquid crystal display device and fabrication method thereof | |
| US7858412B2 (en) | Thin-film transistor substrate and method of fabricating the same | |
| CN100428036C (en) | Liquid crystal display device and manufacturing method thereof | |
| JP2007027710A (en) | Contact hole forming method and thin film transistor substrate manufacturing method using the same | |
| KR20050040334A (en) | Method for fabricating the array substrate of liquid crystal display device | |
| KR101174780B1 (en) | Method For Fabricating Thin Film Transistor And Method For Fabricating Liquid Crystal Display Device | |
| KR20080043969A (en) | TFT array substrate and manufacturing method thereof | |
| KR101174776B1 (en) | Thin Film Transistor Array Substrate And Method For Fabricating The Same | |
| JP2005026690A (en) | Thin film transistor array panel and manufacturing method thereof | |
| KR101146486B1 (en) | metal line fabrication method and the array substrate for LCD by using it | |
| KR100662488B1 (en) | TFT-LCD panel and its manufacturing method | |
| KR101055201B1 (en) | Manufacturing method of COT type liquid crystal display device | |
| CN100378554C (en) | Method for manufacturing liquid crystal display | |
| KR100977229B1 (en) | Organic TFT and manufacturing method thereof, and liquid crystal display device using the same | |
| KR100683142B1 (en) | Method of manufacturing thin film transistor-liquid crystal display device | |
| KR101048698B1 (en) | Liquid crystal display device and manufacturing method thereof | |
| KR20040062193A (en) | Thin Film Transistor and fabrication method of thereof | |
| KR20080043566A (en) | Thin film transistor substrate and manufacturing method thereof | |
| KR20050109178A (en) | Method for fabricating the array substrate of thin film transistor | 
| Date | Code | Title | Description | 
|---|---|---|---|
| PA0109 | Patent application | St.27 status event code:A-0-1-A10-A12-nap-PA0109 | |
| PG1501 | Laying open of application | St.27 status event code:A-1-1-Q10-Q12-nap-PG1501 | |
| PN2301 | Change of applicant | St.27 status event code:A-3-3-R10-R13-asn-PN2301 St.27 status event code:A-3-3-R10-R11-asn-PN2301 | |
| A201 | Request for examination | ||
| PA0201 | Request for examination | St.27 status event code:A-1-2-D10-D11-exm-PA0201 | |
| R18-X000 | Changes to party contact information recorded | St.27 status event code:A-3-3-R10-R18-oth-X000 | |
| R18-X000 | Changes to party contact information recorded | St.27 status event code:A-3-3-R10-R18-oth-X000 | |
| D13-X000 | Search requested | St.27 status event code:A-1-2-D10-D13-srh-X000 | |
| D14-X000 | Search report completed | St.27 status event code:A-1-2-D10-D14-srh-X000 | |
| E902 | Notification of reason for refusal | ||
| PE0902 | Notice of grounds for rejection | St.27 status event code:A-1-2-D10-D21-exm-PE0902 | |
| R18-X000 | Changes to party contact information recorded | St.27 status event code:A-3-3-R10-R18-oth-X000 | |
| E13-X000 | Pre-grant limitation requested | St.27 status event code:A-2-3-E10-E13-lim-X000 | |
| P11-X000 | Amendment of application requested | St.27 status event code:A-2-2-P10-P11-nap-X000 | |
| P13-X000 | Application amended | St.27 status event code:A-2-2-P10-P13-nap-X000 | |
| E701 | Decision to grant or registration of patent right | ||
| PE0701 | Decision of registration | St.27 status event code:A-1-2-D10-D22-exm-PE0701 | |
| GRNT | Written decision to grant | ||
| PR0701 | Registration of establishment | St.27 status event code:A-2-4-F10-F11-exm-PR0701 | |
| PR1002 | Payment of registration fee | St.27 status event code:A-2-2-U10-U11-oth-PR1002 Fee payment year number:1 | |
| PG1601 | Publication of registration | St.27 status event code:A-4-4-Q10-Q13-nap-PG1601 | |
| FPAY | Annual fee payment | Payment date:20150728 Year of fee payment:4 | |
| PR1001 | Payment of annual fee | St.27 status event code:A-4-4-U10-U11-oth-PR1001 Fee payment year number:4 | |
| FPAY | Annual fee payment | Payment date:20160712 Year of fee payment:5 | |
| PR1001 | Payment of annual fee | St.27 status event code:A-4-4-U10-U11-oth-PR1001 Fee payment year number:5 | |
| P22-X000 | Classification modified | St.27 status event code:A-4-4-P10-P22-nap-X000 | |
| FPAY | Annual fee payment | Payment date:20170713 Year of fee payment:6 | |
| PR1001 | Payment of annual fee | St.27 status event code:A-4-4-U10-U11-oth-PR1001 Fee payment year number:6 | |
| PR1001 | Payment of annual fee | St.27 status event code:A-4-4-U10-U11-oth-PR1001 Fee payment year number:7 | |
| PR1001 | Payment of annual fee | St.27 status event code:A-4-4-U10-U11-oth-PR1001 Fee payment year number:8 | |
| PR1001 | Payment of annual fee | St.27 status event code:A-4-4-U10-U11-oth-PR1001 Fee payment year number:9 | |
| PR1001 | Payment of annual fee | St.27 status event code:A-4-4-U10-U11-oth-PR1001 Fee payment year number:10 | |
| PR1001 | Payment of annual fee | St.27 status event code:A-4-4-U10-U11-oth-PR1001 Fee payment year number:11 | |
| PR1001 | Payment of annual fee | St.27 status event code:A-4-4-U10-U11-oth-PR1001 Fee payment year number:12 | |
| PR1001 | Payment of annual fee | St.27 status event code:A-4-4-U10-U11-oth-PR1001 Fee payment year number:13 | |
| P22-X000 | Classification modified | St.27 status event code:A-4-4-P10-P22-nap-X000 | |
| PR1001 | Payment of annual fee | St.27 status event code:A-4-4-U10-U11-oth-PR1001 Fee payment year number:14 |