






본 발명의 실시예는 이미지 센서 및 이를 포함하는 촬영 장치에 관한 것으로서, 특히, 외부의 광학 영상신호를 전기 영상신호로 변환하는 이미지 센서에 관한 기술이다.Embodiments of the present invention relate to an image sensor and a photographing apparatus including the same, and more particularly, to a technology for converting an external optical image signal into an electrical image signal.
일반적으로 이미지 센서는 외부의 광학 영상신호를 전기 영상신호로 변환하는 장치이다.In general, an image sensor is a device that converts an external optical image signal into an electrical image signal.
특히, CMOS 이미지 센서는 CMOS 제조 기술을 이용하여 제작된 이미지 센서이다. CMOS 이미지 센서에서 각 픽셀(Pixel)은 피사체의 대응 부분에서 복사되는 빛 신호를 포토다이오드를 이용하여 전자로 바꾼 후에 저장하고, 축적된 전자의 수에 비례하여 나타나는 전하량을 전압 신호로 바꾸어서 출력하는 방식을 사용한다.In particular, CMOS image sensors are image sensors fabricated using CMOS fabrication techniques. In the CMOS image sensor, each pixel stores the light signal radiated from the corresponding part of the object after converting it into electrons using a photodiode, and converts the amount of charge appearing in proportion to the accumulated number of electrons into a voltage signal and outputs the voltage signal. Use
이미지 센서는 크게 상보형-모스(CMOS) 기술을 사용하는 CMOS 이미지 센서와 전하결합소자(CCD;Charge Coupled Device) 기술을 사용하는 CCD 이미지 센서로 나뉘고 이들은 모두 반도체 기술을 이용하여 제작한다.Image sensors are largely divided into CMOS image sensors using complementary-MOS (CMOS) technology and CCD image sensors using Charge Coupled Device (CCD) technology, all of which are manufactured using semiconductor technology.
이러한 CMOS 이미지 센서는 다양한 전자제품들, 예컨대, 모바일 폰(Mobile Phone), PC(Personal Computer)용 카메라(Camera), 비디오 카메라, 및 디지털 카메라 등에서 광범위하게 사용되고 있는 디바이스(Device) 이다.Such a CMOS image sensor is a device widely used in various electronic products, for example, a mobile phone, a camera for a personal computer (PC), a video camera, a digital camera, and the like.
CMOS 이미지 센서는 기존에 이미지 센서로 사용되던 CCD에 비해 구동방식이 간편하며, 신호 처리 회로(Signal Processing Circuit)를 한 칩에 집적할 수 있어서 SoC(System On Chip)가 가능하므로 모듈의 소형화를 가능하게 한다.The CMOS image sensor is simpler to drive than the CCD used as an image sensor, and it is possible to integrate a signal processing circuit into one chip so that a system on chip (SoC) can be used to make the module smaller. Let's do it.
또한, 기존에 셋-업(Set-up) 된 CMOS 기술을 호환성 있게 사용할 수 있으므로 제조 단가를 낮출 수 있는 등 많은 장점이 있기 때문에 그 수요가 날로 급증하고 있는 상황이다.In addition, since the conventional set-up (CMOS) technology can be used interchangeably, there are many advantages such as lowering the manufacturing cost, so the demand is increasing rapidly.
통상적으로 디지털 카메라, 캠코더 및 카메라 기능이 구현된 휴대용 단말기 등과 같이 이미지 센서를 포함하는 촬영 장치는 렌즈를 통하여 들어오는 영상을 이미지 센서로 촬상하여 영상 신호를 획득한다.In general, a photographing apparatus including an image sensor such as a digital camera, a camcorder, and a portable terminal in which a camera function is implemented, acquires an image signal by capturing an image input through a lens with an image sensor.
그리고, 그 영상 신호를 디지털 영상 데이터로 변환하여 액정 화면에 프리뷰(preview) 화면으로 표시한다. 프리뷰 영상이 표시된 상태에서 사용자가 셔터 키(shutter key)를 누르면 영상 데이터는 영상 압축되어 사진 데이터로 저장된다.The video signal is converted into digital video data and displayed on a liquid crystal screen as a preview screen. When the user presses the shutter key while the preview image is displayed, the image data is compressed and stored as photo data.
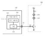
도 1은 종래의 이미지 센서를 포함하는 촬영 장치에 관한 구성도이다.1 is a block diagram of a photographing apparatus including a conventional image sensor.
종래의 촬영 장치는 조도 센서(1)와, 마이크로 컨트롤러 유닛(MCU;Micro Controller Unit;10)과, 발광소자(20) 및 이미지 센서(30)를 포함한다.The conventional photographing apparatus includes an illuminance sensor 1, a micro controller unit (MCU) 10, a
여기서, 마이크로 컨트롤러 유닛(10)은 아날로그 디지털 변환기(ADC;Analog Digital Converter; 11)를 포함한다.Here, the
그리고, 발광소자(20)는 발광 다이오드(LED;Light Emitting Diode) 또는 적외선(IR;Infrared) 발광 다이오드(LED)로 이루어진다.In addition, the
먼저, 조도 센서(1)는 주위의 밝기 정보를 검출하고, 조도 센서(1)에서 검출된 밝기 정보는 마이크로 컨트롤러 유닛(10)에 입력된다.First, the illuminance sensor 1 detects the brightness information of the surroundings, and the brightness information detected by the illuminance sensor 1 is input to the
마이크로 컨트롤러 유닛(10)의 내부에 구비된 아날로그 디지털 변환기(11)는 조도 센서(1)로부터 인가된 밝기 정보에 대한 아날로그 신호를 디지털 신호로 변환한다.The analog-to-
그리고, 마이크로 컨트롤러 유닛(10)은 조도 센서(1)로부터 인가된 밝기 정보를 제어하여 발광소자(20)의 턴 온 또는 턴 오프 동작을 제어하게 된다.The
또한, 마이크로 컨트롤러 유닛(10)은 특정 통신 버스, 예를 들면, I2C(Inter Integrated Circuit)를 통해 이미지 센서(30)와 연결된다. 이미지 센서(30)는 마이크로 컨트롤러 유닛(10)의 제어에 따라 피사체를 촬영하여 아날로그 또는 디지털 비디오 신호를 출력하게 된다.In addition, the
이러한 구성을 갖는 종래의 이미지 센서를 포함하는 촬영 장치의 동작을 도 2를 참조하여 설명하면 다음과 같다.An operation of a photographing apparatus including a conventional image sensor having such a configuration will be described below with reference to FIG. 2.
마이크로 컨트롤러 유닛(10)은 아날로그 디지털 변환기(11)를 통해 인가된 조도 센서(1)의 데이터 레벨이 낮을 경우, 즉, 센싱 된 조도가 어두운 레벨인 경우 발광 제어신호를 온(On)으로 출력하여 IR-LED에 전류가 흐르도록 한다. 이에 따라, 센싱 된 밝기 정보가 어두운 레벨인 경우 IR-LED에 전류가 흐르도록 하여 발광소자(20)가 턴 온으로 동작하게 된다.When the data level of the illumination sensor 1 applied through the analog-to-
반면에, 마이크로 컨트롤러 유닛(10)은 아날로그 디지털 변환기(11)를 통해 인가된 조도 센서(1)의 레벨이 높을 경우, 즉, 센싱 된 조도가 밝은 레벨인 경우 발광 제어신호를 오프(Off)로 출력하여 IR-LED 전류가 흐르지 않도록 한다. 이에 따라, 센싱 된 밝기 정보가 밝은 레벨인 경우 IR-LED에 전류가 흐르지 않도록 하여 발광소자(20)가 동작하지 않게 된다.On the other hand, the
최근에 들어, 단말기 시장에서는 감시용 또는 도어 폰(Door Phone) 등에 사용되고 있는 카메라(Camera)의 저조도 감도의 향상을 위해 LED 또는 IR-LED를 필수 요소로 사용하고 있다.Recently, in the terminal market, LEDs or IR-LEDs are used as essential elements to improve low light sensitivity of cameras used in surveillance or door phones.
즉, 주위 환경의 조도에 따라 발광소자(20)를 제어하기 위해 조도 센서(1)를 사용하게 된다. IR-LED를 사용하게 되는 경우 깜깜한 주변을 밝게 볼 수 있는 장점이 있다.That is, the illumination sensor 1 is used to control the
그런데, 종래의 촬영 장치는 이러한 조도 센서(1)의 센싱 결과를 입력받아 신호 처리를 수행하기 위해 아날로그 디지털 변환기(11)를 내장한 마이크로 컨트롤러(10)를 이미지 센서(30)와는 별도로 구비하게 된다. 또한, 일반적인 조도 센서(1)는 환경에 좋지 않고 친환경 조도 센서는 값이 비싸다.However, the conventional photographing apparatus includes a
이에 따라, 이미지 센서를 포함하는 촬영 시스템의 구현 비용이 증가할 뿐만 아니라, 시스템의 부피가 커지게 되는 문제점이 있다.Accordingly, not only the cost of implementing the photographing system including the image sensor increases, but also the volume of the system becomes large.
또한, 종래의 촬영 장치는 조도센서(1)를 통해 밝고 어두운 환경을 인식하여 어두우면 발광 IR-LED를 켜고 밝으면 IR-LED를 끄는 방식을 사용한다. 이렇게 단순하게 턴 온 또는 턴 오프 방식을 사용하여 IR-LED를 켜고 끌 경우 불필요한 전력을 소모하게 된다.In addition, the conventional photographing apparatus recognizes a bright and dark environment through the illumination sensor 1 and uses a method of turning on the light emitting IR-LED when it is dark and turning off the IR-LED when it is bright. This simple turn-on or turn-off method consumes unnecessary power when the IR-LED is turned on and off.
즉, 전류 제어 방식으로 IR-LED를 동작시키는 경우, 어두운 밝기에서는 IR-LED를 충분히 밝힐 수 있는 정도로 전류를 흘려야 한다. 그러므로, 환경에 따라 필요 이상의 전력을 소모하게 되고, IR-LED에서 많은 열이 발생하게 되는 문제점이 있다.In other words, when operating the IR-LED in the current control method, the current must flow through the dark enough brightness to brighten the IR-LED. Therefore, there is a problem that consumes more power than necessary according to the environment, and generates a lot of heat in the IR-LED.
본 발명의 실시예는 전술한 종래의 문제점을 해결하기 위하여, 다음과 같은 목적을 갖는다.Embodiments of the present invention have the following object in order to solve the above-mentioned conventional problems.
첫째, 본 발명의 실시예는 이미지 센서 내에 LED(Light Emitting Diode; 발광 다이오드) 제어 기능을 내장하여 시스템을 간편화시킬 수 있도록 한다.First, an embodiment of the present invention allows a system to be simplified by embedding a light emitting diode (LED) control function in an image sensor.
둘째, 본 발명의 실시예는 별도의 마이크로 컨트롤러 유닛을 사용하지 않고 이미지 센서만으로 LED 제어 기능을 수행하여 시스템을 소형화시키고 단가를 줄일 수 있도록 한다.Second, the embodiment of the present invention can perform the LED control function only by the image sensor without using a separate microcontroller unit, so that the system can be miniaturized and the cost can be reduced.
셋째, 본 발명의 실시예는 LED의 동작 전류를 필요한 만큼만 흘려 LED를 턴 온 시키도록 함으로써 시스템의 전력 소모를 줄일 수 있도록 한다.Third, the embodiment of the present invention can reduce the power consumption of the system by flowing the operating current of the LED only as necessary to turn on the LED.
상기한 목적을 달성하기 위한 본 발명의 실시예에 따른 이미지 센서는, 이미지 데이터의 밝기 정보를 센싱하는 수광부; 밝기 정보를 판단하여 기 설정된 적정 밝기의 범위를 벗어난 경우 발광소자에 공급되는 전류를 조절하기 위한 제어신호를 출력하는 내부 로직 제어부; 및 내부 로직 제어부를 통해 인가된 제어신호에 따라 밝기 정보의 레벨에 대응하여 발광소자에 흐르는 전류값을 조절하는 발광 제어부를 포함하고, 내부 로직 제어부는 이미지 데이터의 밝기를 계산하여 적정 밝기의 범위를 벗어나는 경우 이미지 센서의 노출시간 및 이득을 조절하고, 발광소자의 전류 조절 변수가 기 설정된 값 이하인 경우 노출시간 및 이득을 조절하는 것을 특징으로 한다.An image sensor according to an embodiment of the present invention for achieving the above object, the light receiving unit for sensing the brightness information of the image data; An internal logic controller configured to determine brightness information and output a control signal for adjusting a current supplied to the light emitting device when the brightness information is out of a range of a predetermined appropriate brightness; And a light emission controller configured to adjust a current value flowing to the light emitting device according to the level of brightness information according to a control signal applied through the internal logic controller, wherein the internal logic controller calculates the brightness of the image data to determine a range of appropriate brightness. If the deviation is to adjust the exposure time and the gain of the image sensor, and if the current control variable of the light emitting device is less than a predetermined value it characterized in that the exposure time and gain.
또한, 본 발명의 다른 실시예에 따른 이미지 센서를 포함하는 촬영 장치는, 이미지 데이터의 밝기 정보를 센싱하고, 밝기 정보를 판단하여 기 설정된 적정 밝기의 범위를 벗어난 경우 밝기 정보의 레벨에 대응하여 발광소자에 공급되는 전류의 값을 조정하는 이미지 센서; 및 이미지 센서로부터 인가되는 전류에 따라 발광소자에 흐르는 전류의 값이 조정되어 발광소자의 밝기가 변화되는 발광부를 포함하고, 이미지 센서는 이미지 데이터의 밝기 정보를 센싱하는 수광부; 밝기 정보를 판단하여 기 설정된 적정 밝기의 범위를 벗어난 경우 제어신호를 출력하는 내부 로직 제어부; 및 제어신호에 따라 밝기 정보의 레벨에 대응하여 발광소자에 흐르는 전류값을 조절하는 발광 제어부를 포함하며, 내부 로직 제어부는 이미지 데이터의 밝기를 계산하여 적정 밝기의 범위를 벗어나는 경우 이미지 센서의 노출시간 및 이득을 조절하고, 발광소자의 전류 조절 변수가 기 설정된 값 이하인 경우 노출시간 및 이득을 조절하는 것을 특징으로 한다.The photographing apparatus including the image sensor according to another embodiment of the present invention senses the brightness information of the image data, determines the brightness information, and emits light in response to the level of the brightness information when the brightness information is out of the preset appropriate brightness range. An image sensor for adjusting a value of a current supplied to the device; And a light emitting part in which the brightness of the light emitting device is changed by adjusting a value of the current flowing through the light emitting device according to the current applied from the image sensor, and the image sensor includes: a light receiving unit sensing brightness information of the image data; An internal logic controller which determines the brightness information and outputs a control signal when the brightness information is out of a range of a predetermined appropriate brightness; And a light emission controller that adjusts a current value flowing to the light emitting device according to the level of brightness information according to the control signal, wherein the internal logic controller calculates the brightness of the image data and falls outside the appropriate brightness range. And adjusting the gain and adjusting the exposure time and the gain when the current adjusting variable of the light emitting device is equal to or less than a preset value.
본 발명의 실시예는 다음과 같은 효과를 갖는다.An embodiment of the present invention has the following effects.
첫째, 본 발명의 실시예는 이미지 센서 내에 LED(Light Emitting Diode; 발광 다이오드) 제어 기능을 내장하여 시스템을 간편화시킬 수 있도록 한다.First, an embodiment of the present invention allows a system to be simplified by embedding a light emitting diode (LED) control function in an image sensor.
둘째, 본 발명의 실시예는 별도의 마이크로 컨트롤러 유닛을 사용하지 않고 이미지 센서만으로 LED 제어 기능을 수행하여 시스템을 소형화시키고 단가를 줄일 수 있도록 한다.Second, the embodiment of the present invention can perform the LED control function only by the image sensor without using a separate microcontroller unit, so that the system can be miniaturized and the cost can be reduced.
셋째, 본 발명의 실시예는 별도의 조도 센서를 사용하지 않으므로 시스템을 간편화시키고 단가를 줄일 수 있도록 한다.Third, since the embodiment of the present invention does not use a separate illuminance sensor, the system can be simplified and the unit cost can be reduced.
넷째, 본 발명의 실시예는 LED의 동작 전류를 필요한 만큼만 흘려 LED를 턴 온 시키도록 함으로써 시스템의 전력 소모를 줄이고 LED의 발열을 줄일 수 있도록 하는 효과를 제공한다.Fourth, the embodiment of the present invention provides the effect of reducing the power consumption of the system by reducing the power consumption of the LED by turning on the LED by flowing the operating current of the LED only as necessary.
아울러 본 발명의 바람직한 실시예는 예시의 목적을 위한 것으로, 당업자라면 첨부된 특허청구범위의 기술적 사상과 범위를 통해 다양한 수정, 변경, 대체 및 부가가 가능할 것이며, 이러한 수정 변경 등은 이하의 특허청구범위에 속하는 것으로 보아야 할 것이다.It will be apparent to those skilled in the art that various modifications, additions, and substitutions are possible, and that various modifications, additions and substitutions are possible, within the spirit and scope of the appended claims. As shown in Fig.
도 1은 종래의 이미지 센서를 포함하는 촬영 장치에 관한 구성도.
도 2는 도 1의 이미지 센서를 포함하는 촬영 장치의 동작을 설명하기 위한 도면.
도 3은 본 발명의 실시예에 따른 이미지 센서를 포함하는 촬영 장치에 관한 구성도.
도 4는 도 3의 동작을 설명하기 위한 흐름도.
도 5는 도 2의 발광 제어부 및 발광부에 관한 상세 구성도 및 회로도.
도 6은 도 5의 발광 제어부의 동작을 설명하기 위한 도면.
도 7은 도 2의 발광 제어부 및 발광부에 관한 다른 실시예.1 is a block diagram of a photographing apparatus including a conventional image sensor.
FIG. 2 is a diagram for describing an operation of a photographing apparatus including the image sensor of FIG. 1. FIG.
3 is a block diagram of a photographing apparatus including an image sensor according to an exemplary embodiment of the present invention.
4 is a flow chart for explaining the operation of FIG.
FIG. 5 is a detailed configuration diagram and a circuit diagram of the light emission controller and the light emission unit of FIG. 2; FIG.
6 is a view for explaining an operation of the light emission controller of FIG.
FIG. 7 is another embodiment of the light emission controller and the light emission unit of FIG. 2; FIG.
이하, 첨부한 도면을 참조하여 본 발명의 실시예에 대해 상세히 설명하고자 한다.Hereinafter, embodiments of the present invention will be described in detail with reference to the accompanying drawings.
도 3은 본 발명의 실시예에 따른 이미지 센서를 포함하는 촬영 장치에 관한 구성도이다.3 is a block diagram of a photographing apparatus including an image sensor according to an exemplary embodiment of the present invention.
본 발명의 실시예는 이미지 센서(100)와 발광부(200)를 포함한다.An embodiment of the present invention includes an
여기서, 이미지 센서(100)는 수광부(110)와, 내부 로직 제어부(120), 발광 제어부(130) 및 렌즈(140)를 포함한다. 그리고, 발광부(200)는 발광 다이오드(LED;Light Emitting Diode) 또는 적외선(IR;Infrared) 발광 다이오드(LED) 등의 발광소자를 포함하는 것이 바람직하다.Here, the
먼저, 수광부(110)는 이미지 센서(100) 주위의 빛 에너지를 전기 에너지로 전환하여 밝기 정보를 센싱한다. 수광부(110)에 입력된 이미지 데이터는 이미지 센서(100) 내에 구비된 내부 로직 제어부(120)에 인가된다.First, the
여기서, 내부 로직 제어부(120)는 수광부(110)로부터 인가된 밝기 정보에 대한 아날로그 신호를 디지털 신호로 변환하는 아날로그 디지털 변환기(ADC;Analog Digital Converter, 121)를 포함하는 것이 바람직하다.Here, the
그리고, 내부 로직 제어부(120)는 아날로그 디지털 변환기(121)로부터 인가된 디지털 신호 또는 내부 제어신호에 따라 렌즈(140)로부터 촬영된 피사체의 영상신호를 제어하여 디지털 신호 OUT로 출력한다.The
그리고, 내부 로직 제어부(120)는 아날로그 디지털 변환기(121)로부터 인가된 디지털 신호를 처리하여 발광 제어부(130)로 제어신호를 출력한다.In addition, the
이때, 내부 로직 제어부(120)는 수광부(110)로부터 인가된 이미지 데이터의 밝기 정보를 계산하여 기 설정된 적정 밝기 범위 내에 있는지의 여부를 판단한다.At this time, the
만약, 이미지 데이터의 밝기 정보가 기 설정된 적정 밝기 범위를 벗어난 경우 이미지 센서(100)의 노출시간 및 이득(Gain)을 조절한다. 그리고, 내부 로직 제어부(120)는 이미지 센서(100)의 노출시간 및 이득을 최대로 조절한 이후에도 이미지 데이터의 밝기가 적정 밝기 범위를 벗어나게 되면, 발광부(200)의 구동 전류를 제어하기 위한 제어신호를 발광 제어부(130)에 출력하게 된다.If the brightness information of the image data is out of a predetermined appropriate brightness range, the exposure time and the gain of the
또한, 발광 제어부(130)는 내부 로직 제어부(120)를 통해 수광부(110)로부터 인가된 밝기 정보에 의해 계산된 제어 값에 따라 발광부(200)에 구비된 발광소자에 흐르는 전류값을 제어하게 된다.In addition, the
즉, 이미지 센서(100)의 수광부(110)를 통해 입력된 이미지 데이터는 이미지 센서(100)의 노출시간 및 이득(Gain)에 따라 밝아지거나 어두워진다. 발광 제어부(130)는 이미지 데이터의 밝기가 이미지 센서(100)의 노출시간 및 이득 조정으로도 충분하지 않을 경우에만 LED의 구동 전류를 필요한 만큼 증가시키도록 한다.That is, the image data input through the
도 4는 도 3의 내부 로직 제어부(120)에서 이미지 데이터의 밝기를 제어하기 위한 제어 알고리즘(Algorithm)을 나타낸 흐름도이다.4 is a flowchart illustrating a control algorithm for controlling the brightness of image data in the
내부 로직 제어부(120)는 수광부(110)를 통해 인가된 이미지 데이터의 밝기를 계산한다.(단계 S1)The
이후에, 내부 로직 제어부(120)는 이미지 데이터의 밝기가 기 설정된 적정 밝기의 범위 내에 있는지의 여부를 판단한다.(단계 S2)Subsequently, the
만약, 이미지 데이터가 적정 밝기인 경우 제 1경우(Case)로 판단하여 동작을 종료한다. 여기서, 이미지 데이터의 적정 밝기 정보는 내부 로직 제어부(120) 내에 기 설정되어 있는 것이 바람직하다.If the image data is appropriate brightness, it is determined as the first case (Case) and the operation is terminated. Here, the appropriate brightness information of the image data is preferably set in the
반면에, 이미지 데이터가 적정 밝기보다 밝을 경우, LED의 구동 전류를 조절하기 위한 변수가 최소 값(기 설정된 값 이하) 인지의 여부를 판단한다.On the other hand, when the image data is brighter than the appropriate brightness, it is determined whether the variable for adjusting the driving current of the LED is a minimum value (less than a predetermined value).
즉, 이미지 데이터의 밝기가 적정 밝기보다 밝고 LED 전류의 조절 변수가 최소 값(기 설정된 값 이하)인 경우, 제 2경우(Case)로 판단하여 이미지 센서(100)의 노출시간 및 이득을 조절하게 된다.(단계 S3) 여기서, 내부 로직 제어부(120)는 노출시간 및 이득을 조절하여 원하는 밝기를 얻을 수 있는 경우에 한하여 노출시간 및 이득을 조절하게 된다. 반대로 LED 전류의 조절 변수가 최소 값(기 설정된 값 이하)이 아닌 경우, 제 3경우(Case)로 판단하여 LED의 구동 전류를 조절하게 된다.That is, when the brightness of the image data is brighter than the appropriate brightness and the adjustment parameter of the LED current is the minimum value (below the preset value), it is determined as the second case (Case) to adjust the exposure time and gain of the
그리고, 이미지 데이터가 적정 밝기보다 어두운 경우, 이미지 센서(100)의 노출시간 및 이득이 최대값(기 설정된 값 이상) 인지의 여부를 판단하게 된다.In addition, when the image data is darker than the appropriate brightness, it is determined whether the exposure time and the gain of the
즉, 이미지 데이터의 밝기가 적정 밝기보다 어둡고 이미지 센서(100)의 노출시간 및 이득이 최대값(기 설정된 값 이상)인 경우, 제 3경우(Case)로 판단하여 LED의 구동 전류를 조절하기 위한 제어신호를 발광 제어부(130)에 출력하게 된다.(단계 S4) 반대로, 노출시간 및 이득이 최대값(기 설정된 값 이상)이 아닌 경우 제 2경우(Case)로 판단하여 노출 시간 및 이득을 조절하게 된다.That is, when the brightness of the image data is darker than the appropriate brightness and the exposure time and the gain of the
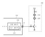
도 5는 도 3의 발광 제어부(130)에서 LED의 구동 전류를 제어하기 위한 방법을 설명하기 위한 구성도이다. 도 5의 실시예에서 발광 제어부(130)가 펄스 제어부(131)를 포함하는 것을 특징으로 한다.FIG. 5 is a diagram illustrating a method for controlling a driving current of an LED in the
발광부(200)는 저항 R1,R2과, 트랜지스터 T1 및 복수의 발광소자(210,220)를 포함한다. 여기서, 저항 R2과 복수의 발광소자(210,220) 및 트랜지스터 T1는 전원전압(VDD) 인가단과 접지전압단 사이에 직렬 연결된다.The
그리고, 트랜지스터 T1는 저항 R1을 통해 이미지 센서(100)의 발광 제어부(130)로부터 인가되는 제어신호에 따라 턴 온 또는 턴 오프 동작이 제어된다. 여기서, 트랜지스터 T1는 바이폴라 정션 트랜지스터(Bipolar Junction Transistor)로 이루어지는 것이 바람직하다.In addition, the transistor T1 is turned on or turned off according to a control signal applied from the
이러한 구성을 갖는 발광부(200)는 이미지 센서(100)의 내부에 구비된 발광 제어부(130)와 출력핀 P1을 통해 연결된다. 여기서, 출력핀 P1은 이미지 센서(100)의 출력 패드 영역에 구비되어 발광 제어부(130)로부터 인가되는 전류 구동 신호를 발광부(200)에 전달한다.The
그러면, 발광부(200)는 발광 제어부(130)로부터 인가되는 전류 구동 신호에 따라 트랜지스터 T1를 선택적으로 턴 온 또는 턴 오프시켜 이미지 데이터의 밝기 레벨에 대응하여 발광소자(210,220)의 동작을 제어하게 된다.Then, the
이때, 발광소자(210,220)로 적외선(IR;Infrared) 발광 다이오드(LED)를 사용하게 될 경우, 적외선 광원을 받아들일 수 있도록 이미지 센서(100) 내에 듀얼 밴드 패스 필터(Dual Band Pass Filter)를 포함하게 된다. 이러한 듀얼 밴드 패스 필터(미도시)는 수광부(110)와 렌즈(140) 사이에 위치하여 렌즈(140)로부터 인가된 적외선 광원에서 필터링 동작을 수행하는 것이 바람직하다.In this case, when an infrared (IR) light emitting diode (LED) is used as the
발광 제어부(130)에 포함된 펄스 제어부(131)는 발광부(200)의 LED를 펄스 듀티(Duty) 제어 방식을 통해 제어하게 된다.The
이러한 펄스 듀티 제어 방식은 발광부(200)의 트랜지스터 T1에 입력되는 펄스의 듀티를 이미지 센서(100)에서 조절하여 발광소자(210,220)에 전달하게 된다.In the pulse duty control scheme, the duty of the pulse input to the transistor T1 of the
즉, 펄스 제어부(131)에서 출력되는 펄스의 듀티에 따라 발광소자(210,220)의 구동 전류가 조절되어 발광소자(210,220)의 밝기가 변하게 된다.That is, the driving currents of the
도 6은 도 5에 도시된 펄스 제어부(131)의 동작을 설명하기 위한 도면이다.FIG. 6 is a diagram for describing an operation of the
펄스 제어부(131)는 내부 로직 제어부(120)로부터 인가되는 이미지 데이터의 밝기에 따라 발광부(200)에 공급되는 전류를 펄스 듀티 제어 방식을 통해 제어하게 된다.The
펄스 제어부(131)는 Tp와 같이 고정 변수를 갖는 펄스를 발광부(200)에 출력한다. 그리고, 펄스 제어부(131)는 수광부(110), 내부 로직 제어부(120)를 통해 인가되는 이미지 데이터의 밝기가 어두운 경우 조절변수 TH를 크게 제어하고 이미지 데이터의 밝기가 밝은 경우 조절변수 TH를 낮게 제어한다.The
즉, 이미지 데이터의 밝기가 어두운 경우 펄스 제어부(131)에서 출력되는 펄스의 하이 펄스 폭을 길게 제어하여 발광부(200)에 공급되는 구동 전류의 양을 늘리게 된다. 반면에, 이미지 데이터의 밝기가 밝은 경우 펄스 제어부(131)에서 출력되는 펄스의 하이 펄스 폭을 짧게 제어하여 발광부(200)에 공급되는 구동 전류의 양을 줄이게 된다.That is, when the brightness of the image data is dark, the high pulse width of the pulse output from the
이처럼 펄스 제어부(131)는 발광부(200)의 트랜지스터 T1에 공급되는 전류의 양을 펄스의 듀티 폭을 제어하여 적정한 값으로 조절할 수 있도록 한다.As such, the
즉, 펄스 제어부(131)에서 공급되는 펄스의 하이 펄스 폭이 큰 경우, 상대적으로 트랜지스터 T1가 턴 온 되는 시간이 길어지게 된다. 이에 따라, 발광소자(210,220)에 공급되는 구동 전류가 증가하게 되어 발광소자(210,220)의 밝기가 밝게 조정된다.That is, when the high pulse width of the pulse supplied from the
반면에, 펄스 제어부(131)에서 공급되는 펄스의 하이 펄스 폭이 작은 경우, 상대적으로 트랜지스터 T1가 턴 온 되는 시간이 짧아지게 된다. 이에 따라, 발광소자(210,220)에 공급되는 구동 전류가 감소하게 되어 발광소자(210,220)의 밝기가 어둡게 조정된다.On the other hand, when the high pulse width of the pulse supplied from the
도 7은 도 3의 발광 제어부(130)에서 LED의 구동 전류를 제어하기 위한 방법을 설명하기 위한 구성도이다. 도 7의 실시예에서 발광 제어부(130)가 밝기 제어부(132), 디지털 아날로그 변환기(DAC; Digital Analog Converter, 133)를 포함하는 것을 특징으로 한다.FIG. 7 is a configuration diagram illustrating a method for controlling a driving current of an LED in the
발광부(200)는 저항 R3,R4과, 트랜지스터 T2 및 복수의 발광소자(230,240)를 포함한다. 여기서, 저항 R4과 복수의 발광소자(230,240) 및 트랜지스터 T2는 전원전압(VDD) 인가단과 접지전압단 사이에 직렬 연결된다.The
그리고, 트랜지스터 T2는 저항 R3을 통해 이미지 센서(100)의 발광 제어부(130)로부터 인가되는 제어신호에 따라 턴 온 또는 턴 오프 동작이 제어된다. 여기서, 트랜지스터 T2는 바이폴라 정션 트랜지스터(Bipolar Junction Transistor)로 이루어지는 것이 바람직하다.In addition, the transistor T2 is turned on or turned off according to a control signal applied from the
이러한 구성을 갖는 발광부(200)는 이미지 센서(100)의 내부에 구비된 발광 제어부(130)와 출력핀 P2을 통해 연결된다. 여기서, 출력핀 P2은 이미지 센서(100)의 출력 패드 영역에 구비되어 발광 제어부(130)로부터 인가되는 전류 구동 신호를 발광부(200)에 전달한다.The
그러면, 발광부(200)는 발광 제어부(130)로부터 인가되는 전류 구동 신호에 따라 트랜지스터 T2를 선택적으로 턴 온 또는 턴 오프시켜 이미지 데이터의 밝기 레벨에 대응하여 발광소자(230,240)의 동작을 제어하게 된다.Then, the
이때, 발광소자(230,240)로 적외선(IR;Infrared) 발광 다이오드(LED)를 사용하게 될 경우, 적외선 광원을 받아들일 수 있도록 이미지 센서(100) 내에 듀얼 밴드 패스 필터(Dual Band Pass Filter)를 포함하게 된다. 이러한 듀얼 밴드 패스 필터(미도시)는 수광부(11)와 렌즈(140) 사이에 위치하여 렌즈(140)로부터 인가된 적외선 광원에서 필터링 동작을 수행하는 것이 바람직하다.In this case, when an infrared (IR) light emitting diode (LED) is used as the
여기서, 발광 제어부(130)에 포함된 밝기 제어부(132)는 발광부(200)의 LED를 전류 직접 제어 방식을 통해 제어하게 된다. 그리고, 디지털 아날로그 변환기(133)는 밝기 제어부(132)로부터 인가되는 디지털 신호를 아날로그 신호로 변환하여 발광부(200)에 출력한다.Here, the
이러한 전류 직접 제어 방식은 발광부(200)의 트랜지스터 T2에 입력되는 전류의 양을 이미지 센서(100)에서 조절하여 발광소자(230,240)에 전달하게 된다.In the current direct control method, the amount of current input to the transistor T2 of the
즉, 밝기 제어부(132)는 수광부(110), 내부 로직 제어부(120)로부터 인가되는 이미지 데이터의 밝기 정도에 따라 디지털 아날로그 변환기(133)의 입력값을 높여 발광소자(230,240)의 구동 전류를 조절함으로써 발광소자(230,240)의 밝기가 변하게 된다.That is, the
이러한 구성을 갖는 발광 제어부(130)의 동작을 더욱 상세하게 설명하면 다음과 같다.The operation of the
밝기 제어부(132)는 내부 로직 제어부(120)로부터 인가되는 이미지 데이터의 밝기에 따라 발광부(200)에 공급되는 전류를 전류 직접 제어 방식을 통해 제어하게 된다.The
밝기 제어부(132)는 내부 로직 제어부(120)로부터 인가되는 이미지 데이터의 밝기가 어두우면 디지털 아날로그 변환기(133)의 입력값을 높여서 출력한다. 반면에, 밝기 제어부(132)는 내부 로직 제어부(120)로부터 인가되는 이미지 데이터의 밝기가 밝은 경우 디지털 아날로그 변환기(133)의 입력값을 낮추어 출력한다.The
즉, 이미지 데이터의 밝기가 어두운 경우 밝기 제어부(132)에서 출력되는 제어신호의 디지털 값이 높은 값을 갖게 된다. 이에 따라, 디지털 아날로그 변환기(133)에서 출력되는 아날로그 값이 높아지게 되어 발광부(200)에 공급되는 구동 전류의 양을 늘리게 된다.That is, when the brightness of the image data is dark, the digital value of the control signal output from the
반면에, 이미지 데이터의 밝기가 밝은 경우 밝기 제어부(132)에서 출력되는 제어신호의 디지털 값이 낮은 값을 갖게 된다. 이에 따라, 디지털 아날로그 변환기(133)에서 출력되는 아날로그 값이 낮아지게 되어 발광부(200)에 공급되는 구동 전류의 양을 줄이게 된다.On the other hand, when the brightness of the image data is bright, the digital value of the control signal output from the
이처럼 밝기 제어부(132)는 발광부(200)의 트랜지스터 T2에 공급되는 전류의 양을 전류 직접 제어 방식을 통해 제어하여 적정한 값으로 조절할 수 있도록 한다.As such, the
즉, 디지털 아날로그 변환기(133)에서 공급되는 아날로그 신호의 값이 큰 경우 상대적으로 트랜지스터 T2에 흐르는 전류가 증가하게 된다. 이에 따라, 발광소자(230,240)에 공급되는 구동 전류가 증가하게 되어 발광소자(230,240)의 밝기가 밝게 조정된다.That is, when the value of the analog signal supplied from the digital-to-
반면에, 디지털 아날로그 변환기(133)에서 공급되는 아날로그 신호의 값이 작은 경우 상대적으로 트랜지스터 T2에 흐르는 전류가 감소하게 된다. 이에 따라, 발광소자(230,240)에 공급되는 구동 전류가 감소하게 되어 발광소자(230,240)의 밝기가 어둡게 조정된다.On the other hand, when the value of the analog signal supplied from the digital-to-
| Application Number | Priority Date | Filing Date | Title |
|---|---|---|---|
| KR1020100114695AKR101162264B1 (en) | 2010-11-17 | 2010-11-17 | Image sensor and photographing apparatus having the same |
| Application Number | Priority Date | Filing Date | Title |
|---|---|---|---|
| KR1020100114695AKR101162264B1 (en) | 2010-11-17 | 2010-11-17 | Image sensor and photographing apparatus having the same |
| Publication Number | Publication Date |
|---|---|
| KR20120053424A KR20120053424A (en) | 2012-05-25 |
| KR101162264B1true KR101162264B1 (en) | 2012-07-04 |
| Application Number | Title | Priority Date | Filing Date |
|---|---|---|---|
| KR1020100114695AExpired - Fee RelatedKR101162264B1 (en) | 2010-11-17 | 2010-11-17 | Image sensor and photographing apparatus having the same |
| Country | Link |
|---|---|
| KR (1) | KR101162264B1 (en) |
| Publication number | Priority date | Publication date | Assignee | Title |
|---|---|---|---|---|
| CN113973163A (en)* | 2020-07-23 | 2022-01-25 | 北京小米移动软件有限公司 | Image acquisition module, electronic device, image acquisition method and storage medium |
| Publication number | Priority date | Publication date | Assignee | Title |
|---|---|---|---|---|
| KR100977516B1 (en) | 2007-08-17 | 2010-08-23 | 한국 고덴시 주식회사 | Camera module for day and night shooting |
| Publication number | Priority date | Publication date | Assignee | Title |
|---|---|---|---|---|
| KR100977516B1 (en) | 2007-08-17 | 2010-08-23 | 한국 고덴시 주식회사 | Camera module for day and night shooting |
| Publication number | Publication date |
|---|---|
| KR20120053424A (en) | 2012-05-25 |
| Publication | Publication Date | Title |
|---|---|---|
| CN107580185B (en) | Image sensor, operating method and imaging device | |
| KR100846192B1 (en) | Image Saturation Prevention Circuit of Infrared Camera | |
| US20170366715A1 (en) | Display device configured as an illumination source | |
| CN101604504B (en) | Display control apparatus and display control method | |
| CN105049731B (en) | Intelligent camera device and its shoot with video-corder mode switching method | |
| CN103404125B (en) | Imageing sensor and include the filming apparatus of this imageing sensor | |
| US20130044225A1 (en) | Network camera and method of controlling lighting thereof | |
| KR20090020864A (en) | Photographing device and method using infrared light in mobile terminal | |
| CN101567966A (en) | Monitoring camera device with light source | |
| JP2005304027A (en) | Digital camera capable of brightness and contrast control | |
| US10356323B2 (en) | Imaging unit and electronic apparatus including the same | |
| CN108040387B (en) | Light detection device and illumination device | |
| JP4952128B2 (en) | Camera module having illuminance sensor function and portable terminal using the same | |
| KR101162264B1 (en) | Image sensor and photographing apparatus having the same | |
| GB2459506A (en) | Surveillance Camera with Automatic Illumination | |
| CN102821206B (en) | An intelligent dimming method and mobile terminal during camera preview | |
| KR100581144B1 (en) | Mobile terminal and camera control method | |
| CN205864557U (en) | Camera with automatic light supplementing function | |
| KR101185573B1 (en) | Image sensor and photographing apparatus having the same | |
| US7542182B2 (en) | Image pickup apparatus with light emission control adapted for light-receiving characteristics | |
| KR101132407B1 (en) | Photographing apparatus having image sensor | |
| KR20100131189A (en) | Image sensor and illuminance measurement method using the same | |
| KR101545218B1 (en) | Image sensor, photographing apparatus having the same, and driving method the same | |
| KR100723060B1 (en) | Portable terminal with flash light intensity control function | |
| KR101090968B1 (en) | Photographing apparatus having image sensor |
| Date | Code | Title | Description |
|---|---|---|---|
| A201 | Request for examination | ||
| PA0109 | Patent application | St.27 status event code:A-0-1-A10-A12-nap-PA0109 | |
| PA0201 | Request for examination | St.27 status event code:A-1-2-D10-D11-exm-PA0201 | |
| D13-X000 | Search requested | St.27 status event code:A-1-2-D10-D13-srh-X000 | |
| D14-X000 | Search report completed | St.27 status event code:A-1-2-D10-D14-srh-X000 | |
| PE0902 | Notice of grounds for rejection | St.27 status event code:A-1-2-D10-D21-exm-PE0902 | |
| E13-X000 | Pre-grant limitation requested | St.27 status event code:A-2-3-E10-E13-lim-X000 | |
| P11-X000 | Amendment of application requested | St.27 status event code:A-2-2-P10-P11-nap-X000 | |
| P13-X000 | Application amended | St.27 status event code:A-2-2-P10-P13-nap-X000 | |
| E701 | Decision to grant or registration of patent right | ||
| PE0701 | Decision of registration | St.27 status event code:A-1-2-D10-D22-exm-PE0701 | |
| PG1501 | Laying open of application | St.27 status event code:A-1-1-Q10-Q12-nap-PG1501 | |
| GRNT | Written decision to grant | ||
| PR0701 | Registration of establishment | St.27 status event code:A-2-4-F10-F11-exm-PR0701 | |
| PR1002 | Payment of registration fee | St.27 status event code:A-2-2-U10-U11-oth-PR1002 Fee payment year number:1 | |
| PG1601 | Publication of registration | St.27 status event code:A-4-4-Q10-Q13-nap-PG1601 | |
| R18-X000 | Changes to party contact information recorded | St.27 status event code:A-5-5-R10-R18-oth-X000 | |
| FPAY | Annual fee payment | Payment date:20150522 Year of fee payment:4 | |
| PR1001 | Payment of annual fee | St.27 status event code:A-4-4-U10-U11-oth-PR1001 Fee payment year number:4 | |
| FPAY | Annual fee payment | Payment date:20160525 Year of fee payment:5 | |
| PR1001 | Payment of annual fee | St.27 status event code:A-4-4-U10-U11-oth-PR1001 Fee payment year number:5 | |
| FPAY | Annual fee payment | Payment date:20170525 Year of fee payment:6 | |
| PR1001 | Payment of annual fee | St.27 status event code:A-4-4-U10-U11-oth-PR1001 Fee payment year number:6 | |
| P22-X000 | Classification modified | St.27 status event code:A-4-4-P10-P22-nap-X000 | |
| FPAY | Annual fee payment | Payment date:20180525 Year of fee payment:7 | |
| PR1001 | Payment of annual fee | St.27 status event code:A-4-4-U10-U11-oth-PR1001 Fee payment year number:7 | |
| PR1001 | Payment of annual fee | St.27 status event code:A-4-4-U10-U11-oth-PR1001 Fee payment year number:8 | |
| PC1903 | Unpaid annual fee | St.27 status event code:A-4-4-U10-U13-oth-PC1903 Not in force date:20200628 Payment event data comment text:Termination Category : DEFAULT_OF_REGISTRATION_FEE | |
| PC1903 | Unpaid annual fee | St.27 status event code:N-4-6-H10-H13-oth-PC1903 Ip right cessation event data comment text:Termination Category : DEFAULT_OF_REGISTRATION_FEE Not in force date:20200628 | |
| P22-X000 | Classification modified | St.27 status event code:A-4-4-P10-P22-nap-X000 | |
| R18-X000 | Changes to party contact information recorded | St.27 status event code:A-5-5-R10-R18-oth-X000 | |
| P22-X000 | Classification modified | St.27 status event code:A-4-4-P10-P22-nap-X000 |