







본 발명은 터치 단말기 또는 포인팅 디바이스에 관한 것으로, 특히, 터치 및 포인팅 신호 처리 장치 및 그를 갖는 단말기에 관한 것이다.The present invention relates to a touch terminal or a pointing device, and more particularly, to a touch and pointing signal processing apparatus and a terminal having the same.
일반적으로 터치 패널이나 포인팅 디바이스들을 사용하는 많은 스타일의 입력 장치들이 존재한다. 이들 장치들은 표시 스크린 상에서 커서를 이동하고, 그리고 정보를 선택하기 위해 사용된다.In general, there are many styles of input devices that use touch panels or pointing devices. These devices are used to move the cursor on the display screen and to select information.
이들 입력장치들은 버튼 또는 키, 마우스, 트랙볼, 터치 패드, 조이 스틱, 터치스크린 등을 포함할 수 있다. 이들중에서도 터치 패드 및 터치스크린(집합적으로 "터치 표면")은 이들의 동작의 용이성 및 다기능성은 물론, 이들의 가격 저하로 인해 점차 대중화되고 있다. 터치 표면들은 사용자가 패드 또는 표시 스크린일 수 있는 표면을 손가락, 스타일러스 등으로 간단히 터치함으로써 선택들을 행하고 커서를 이동할 수 있게 한다.These input devices may include buttons or keys, a mouse, a trackball, a touch pad, a joy stick, a touch screen, and the like. Among them, touch pads and touch screens (collectively "touch surfaces") are becoming increasingly popular due to their ease of operation and versatility, as well as their lower prices. Touch surfaces allow the user to make selections and move the cursor by simply touching the surface, which may be a pad or display screen, with a finger, stylus, or the like.
일반적으로, 터치 표면은 터치 및 터치의 위치를 인식하며, 단말기는 터치신호를 해석한 후, 터치에 기초하여 동작을 수행한다. 또한, 포인팅 디바이스는 손가락의 움직임을 광을 인가하여 인지하고, 인지된 움직임에 따라 스크린 상의 커서를 움직이는 장치이다.In general, the touch surface recognizes the touch and the position of the touch, and the terminal interprets the touch signal and then performs an operation based on the touch. In addition, the pointing device is a device that recognizes the movement of the finger by applying light and moves the cursor on the screen according to the recognized movement.
최근에는 터치스크린과 포인팅 디바이스가 하나의 단말기에 장착되는 추세이며, 이의 예를 도 1에 도시하였다.Recently, a touch screen and a pointing device are installed in one terminal, and an example thereof is illustrated in FIG. 1.
도 1은 일반적인 터치스크린과 포인팅 디바이스가 장착된 단말기의 외관을 보인 도면이다.1 is a view illustrating an appearance of a terminal equipped with a general touch screen and a pointing device.
도 1을 참조하면, 단말기(10)는 터치스크린(11)과 포인팅 디바이스(12)가 외부에 장착되며, 사용자는 필요에 따라 두가지 입력수단을 이용하여 정보를 선택하거나 입력이 가능하다.  그런데 사용자는 두가지 입력장치중 하나만을 이용할 수도 있고 두가지 입력 장치를 동시에 사용할 수도 있다.Referring to FIG. 1, the
한편, 이러한 두가지 입력장치를 가지고 있는 단말기의 신호처리 흐름은 도 2와 같다.On the other hand, the signal processing flow of the terminal having these two input devices is shown in FIG.
도 2는 포인팅 디바이스와 터치스크린을 구비한 단말기의 입력신호 처리 과정을 나타낸 블럭도이다.2 is a block diagram illustrating an input signal processing process of a terminal having a pointing device and a touch screen.
도 2를 참조하면, 포인팅 디바이스(12)의 입력은 포인팅 디바이스용  A/D 변환기(15)에서 디지털 신호로 변환된 후, 디지털 신호 처리기(16)를 거쳐서 단말기의 마이컴(20)으로 입력된다.Referring to FIG. 2, the input of the
한편, 터치스크린(11)의 입력은 터치스크린용 A/D 변환기(13)에서 디지털 신호로 변환된 후, 디지털 신호 처리기(14)를 거쳐서 단말기의 마이컴(20)으로 입력된다.Meanwhile, the input of the
이와 같이 종래의 단말기에서는 포인팅 디바이스의 입력과 터치스크린의 입력을 별개로 처리하여 제조비용이 증가하고, 소자의 부피도 커지는 문제점이 있다.As described above, in the conventional terminal, the input of the pointing device and the input of the touch screen are processed separately, thereby increasing the manufacturing cost and increasing the volume of the device.
또한, 이러한 터치스크린은 단일 터치만 가능하고, 멀티 터치는 불가능하였다.In addition, such a touch screen is possible only a single touch, multi-touch was not possible.
본 발명이 이루고자 하는 기술적 과제는 종래의 단점을 해결하고자 하는 것으로 부품의 크기를 줄이고, 제조비용을 줄이며, 터치스크린의 멀티터치가 가능한 터치 및 포인팅 신호 처리 장치 및 그를 갖는 단말기를 제공하는 것이다.SUMMARY OF THE INVENTION The present invention has been made in an effort to solve the disadvantages of the related art, and to provide a touch and pointing signal processing device capable of reducing the size of a component, reducing manufacturing costs, and enabling multi-touch of a touch screen, and a terminal having the same.
이러한 과제를 해결하기 위한 본 발명의 특징에 따른 터치 및 포인팅 신호 처리장치는,Touch and pointing signal processing apparatus according to a feature of the present invention for solving this problem,
각 픽셀별로 인가된 전압을 감지하는 터치 장치;A touch device for sensing a voltage applied to each pixel;
상기 터치 장치의 터치신호를 연산하여 출력하며, 피사체의 움직임을 감지하여 처리하는 포인팅 디바이스를 포함하고,And a pointing device for calculating and outputting a touch signal of the touch device and detecting and processing a movement of a subject.
상기 포인팅 디바이스는,The pointing device,
피사체의 움직임을 감지하는 센서부;Sensor unit for detecting the movement of the subject;
상기 터치 장치 및 상기 센서부의 출력신호를 디지털 신호로 변환하여 출력하는 아날로그/디지털 변환기;An analog / digital converter configured to convert an output signal of the touch device and the sensor unit into a digital signal and output the digital signal;
상기 아날로그/디지털 변환기의 출력신호를 연산하여 터치신호 및 피사체의 움직임에 대응되는 신호를 출력하는 연산부를 포함한다.And an operation unit configured to calculate an output signal of the analog / digital converter and output a touch signal and a signal corresponding to the movement of the subject.
그리고 터치 및 포인팅 신호 처리장치는,And the touch and pointing signal processing device,
상기 터치 장치 및 센서부의 출력신호를 스위칭하는 스위치부를 더 포함하고,Further comprising a switch unit for switching the output signal of the touch device and the sensor unit,
상기 연산부는 상기 스위치부를 제어하여 상기 터치장치 및 상기 센서부로부터 입력되는 신호를 번갈아서 입력받다가 상기 터치 장치의 터치신호 또는 상기 센서부의 포인팅 신호가 감지된 경우에, 상기 터치신호 또는 포인팅신호가 감지된 해당 터치 장치 또는 센서부의 출력을 지속적으로 입력받아 처리할 수 있다.The operation unit controls the switch unit to alternately receive signals input from the touch device and the sensor unit, and when the touch signal of the touch device or the pointing signal of the sensor unit is detected, the touch signal or the pointing signal is detected. The output of the touch device or sensor unit may be continuously input and processed.
이러한 과제를 해결하기 위한 본 발명의 다른 특징에 따른 터치 및 포인팅 신호 처리장치는,Touch and pointing signal processing apparatus according to another aspect of the present invention for solving this problem,
패널에 인가된 전압을 감지하는 터치 장치;A touch device for sensing a voltage applied to the panel;
피사체의 움직임을 감지하는 포인팅 디바이스;A pointing device for detecting a movement of a subject;
상기 터치 장치의 출력신호를 디지털 신호로 변환하여 출력하는 제1 아날로그/디지털 변환기;A first analog / digital converter for converting an output signal of the touch device into a digital signal and outputting the digital signal;
상기 포인팅 디바이스의 출력신호를 디지털 신호로 변환하여 출력하는 제2 아날로그/디지털 변환기;A second analog / digital converter for converting an output signal of the pointing device into a digital signal and outputting the digital signal;
상기 제1 아날로그/디지털 변환기 및 상기 제2 아날로그/디지털 변환기의 출력을 스위칭하는 스위치부;A switch unit for switching outputs of the first analog / digital converter and the second analog / digital converter;
상기 스위치부를 제어하며, 상기 제1 아날로그/디지털 변환기 및 상기 제2 아날로그/디지털 변환기로부터 입력되는 신호를 처리하는 디지털 신호 처리기를 포함한다.And a digital signal processor controlling the switch unit and processing a signal input from the first analog / digital converter and the second analog / digital converter.
이러한 과제를 해결하기 위한 본 발명의 또 다른 특징에 따른 터치 및 포인팅 신호 처리장치는,Touch and pointing signal processing apparatus according to another aspect of the present invention for solving this problem,
각 픽셀별로 인가된 전압을 감지하는 터치 장치;A touch device for sensing a voltage applied to each pixel;
피사체의 움직임을 감지하는 포인팅 디바이스;A pointing device for detecting a movement of a subject;
상기 터치 장치 및 포인팅 디바이스의 출력신호를 스위칭하는 스위치부;A switch unit for switching output signals of the touch device and the pointing device;
상기 스위치부의 출력신호를 디지털 신호로 변환하여 출력하는 아날로그/디지털 변환기;An analog / digital converter for converting an output signal of the switch unit into a digital signal and outputting the digital signal;
상기 스위치부를 제어하며, 상기 아날로그/디지털 변환기로부터 입력되는 신호를 처리하는 디지털 신호 처리기를 포함한다.And a digital signal processor controlling the switch unit and processing a signal input from the analog / digital converter.
이러한 과제를 해결하기 위한 본 발명의 특징에 따른 단말기는,The terminal according to the characteristics of the present invention for solving this problem,
각 픽셀별로 인가된 전압을 감지하는 터치 장치;A touch device for sensing a voltage applied to each pixel;
피사체의 움직임을 감지하는 포인팅 디바이스;A pointing device for detecting a movement of a subject;
상기 터치 장치 및 포인팅 디바이스의 출력신호를 스위칭하는 스위치부;A switch unit for switching output signals of the touch device and the pointing device;
상기 스위치부의 출력신호를 디지털 신호로 변환하여 출력하는 아날로그/디지털 변환기;An analog / digital converter for converting an output signal of the switch unit into a digital signal and outputting the digital signal;
상기 스위치부를 제어하며, 상기 아날로그/디지털 변환기로부터 입력되는 신호를 처리하는 디지털 신호 처리기;A digital signal processor controlling the switch unit and processing a signal input from the analog / digital converter;
상기 디지털 신호 처리기의 신호에 따라 정보표시를 제어하는 마이컴을 포함한다.And a microcomputer for controlling the information display according to the signal of the digital signal processor.
본 발명의 실시예에서는, 터치 장치와 포인팅 디바이스를 구비하는 단말기 제조시에 부품의 크기를 줄이고 제조비용을 줄일 수 있다. 또한, 터치 장치에 있어서는 멀티 터치가 가능하게 된다.In the embodiment of the present invention, the size of the component and the manufacturing cost can be reduced when manufacturing the terminal having the touch device and the pointing device. In the touch device, multi-touch is possible.
도 1은 일반적인 단말기의 외형도이다.
도 2는 도 1의 단말기의 입력 장치의 신호 처리 블록도이다.
도 3은 본 발명의 제1 실시예에 따른 터치 및 포인팅 신호 처리 장치의 구성도이다.
도 4는 본 발명의 제2 실시예에 따른 터치 및 포인팅 신호 처리 장치의 구성도이다.
도 5는 본 발명의 제3 실시예에 따른 터치 및 포인팅 신호 처리 장치의 구성도이다.
도 6은 본 발명의 제3 실시예에 따른 터치 및 포인팅 신호 처리 장치의 각 부 파형도이다.
도 7은 본 발명의 제4 실시예에 따른 터치 및 포인팅 신호 처리 장치의 구성도이다.
도 8은 본 발명의 제4 실시예에 따른 터치 및 포인팅 신호 처리 장치의 아날로그/디지털 변환기의 등가회로도이다.1 is an external view of a general terminal.
 2 is a signal processing block diagram of an input device of the terminal of FIG. 1.
 3 is a block diagram of a touch and pointing signal processing apparatus according to a first embodiment of the present invention.
 4 is a block diagram of a touch and pointing signal processing apparatus according to a second embodiment of the present invention.
 5 is a block diagram of a touch and pointing signal processing apparatus according to a third embodiment of the present invention.
 FIG. 6 is a sub waveform diagram of a touch and pointing signal processing apparatus according to a third exemplary embodiment of the present invention.
 7 is a block diagram of a touch and pointing signal processing apparatus according to a fourth embodiment of the present invention.
 8 is an equivalent circuit diagram of an analog / digital converter of a touch and pointing signal processing apparatus according to a fourth embodiment of the present invention.
아래에서는 첨부한 도면을 참고로 하여 본 발명의 실시예에 대하여 본 발명이 속하는 기술 분야에서 통상의 지식을 가진 자가 용이하게 실시할 수 있도록 상세히 설명한다. 그러나 본 발명은 여러 가지 상이한 형태로 구현될 수 있으며 여기에서 설명하는 실시예에 한정되지 않는다. 그리고 도면에서 본 발명을 명확하게 설명하기 위해서 설명과 관계없는 부분은 생략하였으며, 명세서 전체를 통하여 유사한 부분에 대해서는 유사한 도면 부호를 붙였다.DETAILED DESCRIPTION Hereinafter, exemplary embodiments of the present invention will be described in detail with reference to the accompanying drawings so that those skilled in the art may easily implement the present invention. The present invention may, however, be embodied in many different forms and should not be construed as limited to the embodiments set forth herein. In the drawings, parts irrelevant to the description are omitted in order to clearly describe the present invention, and like reference numerals designate like parts throughout the specification.
도 3은 본 발명의 제1 실시예에 따른 터치 및 포인팅 신호 처리장치의 구성도이다.3 is a block diagram of a touch and pointing signal processing apparatus according to a first embodiment of the present invention.
도 3을 참조하면, 제1 실시예에 따른 터치 및 포인팅 신호 처리장치는, 각 픽셀별로 인가된 전압을 감지하는 터치 장치(110); 피사체의 움직임을 감지하는 포인팅 디바이스(300)를 구비하고, 상기 포인팅 디바이스(300)는,Referring to FIG. 3, the touch and pointing signal processing device according to the first embodiment may include a
피사체의 움직임을 감지하는 센서부(320); 상기 터치 장치 및 상기 센서부의 출력신호를 디지털 신호로 변환하여 출력하는 아날로그/디지털 변환기(330); 상기 아날로그/디지털 변환기의 출력신호를 연산하여 터치신호의 및 피사체의 움직임에 대응되는 신호를 출력하는 연산부(340)를 포함한다.
이러한 본 발명의 제1 실시예에 따른 터치 및 포인팅 신호 처리장치의 동작은 다음과 같다.The operation of the touch and pointing signal processing apparatus according to the first embodiment of the present invention is as follows.
먼저, 터치 장치(110)는 패널에 인가된 전압을 감지하여 아날로그/디지털 변환기(330)로 출력하고, 센서부(320)는 손가락 등의 피사체의 움직임을 감지하여 감지신호를 아날로그/디지털 변환기(330)로 출력한다.First, the
그러면, 아날로그/디지털 신호 변환기(330)는 센서부(320) 및 터치 장치(110)에서 출력되는 신호를 디지털 신호로 변환하여 출력한다.Then, the analog /
다음, 연산부(340)는 디지털 신호를 처리하여 터치 신호에 대한 좌표 또는 터치된 좌표의 이동변위를 연산하여 외부의 마이컴(160)으로 출력하고, 센서부(320)에서 감지된 피사체의 이동변위에 대응되는 이동변위를 마이컴(160)으로 출력한다.Next, the
이러한 제1 실시예는 포인팅 디바이스(300)에 아날로그/디지털 변환기능과 이동 변위 연상 기능을 추가하여 별도의 아날로그/디지털 변환기 및 디지털 신호 처리기가 단말기 제조시에 불필요하다.  또한, 터치 장치(110)의 출력신호도 포인팅 디바이스(300)에서 동시에 처리 가능하므로 터치 장치의 출력을 처리하는 별도의 아날로그/디지털 변환기 및 디지털 신호 처리기가 단말기 제조시에 불필요하게 된다.  따라서, 단말기 제조시의 부품의 수가 줄고 단말기의 크기를 줄이는데도 도움이 된다.This first embodiment adds an analog / digital conversion function and a moving displacement association function to the
한편, 이러한 제1 실시예에서는 터치 장치 및 센서부의 출력을 동시에 처리해야하므로 아날로그/디지털 변환기 및 연산부의 처리 용량이 커야하는데 이러한 처리 용량을 줄이기 위한 실시예를 제2 실시예로서 설명한다.Meanwhile, in the first embodiment, since the outputs of the touch device and the sensor unit must be processed at the same time, the processing capacities of the analog / digital converter and the calculating unit must be large.
도 4는 본 발명의 제2 실시예에 따른 터치 및 포인팅 신호 처리장치의 구성도이다. 4 is a block diagram of an apparatus for processing touch and pointing signals according to a second embodiment of the present invention.
도 4를 참조하면, 각 픽셀별로 인가된 전압을 감지하는 터치 장치(110); 상기 터치 장치(110)의 출력신호를 처리하고, 피사체의 움직임을 감지하여 처리하는  포인팅 디바이스(400)를 구비하고,Referring to FIG. 4, the
상기 포인팅 디바이스(400)는,The
피사체의 움직임을 감지하는 센서부(410); 상기 터치 장치(110) 및 센서부(410)의 출력신호를 스위칭하는 스위치부(420); 상기 스위치부(420)의 출력신호를 디지털 신호로 변환하여 출력하는 아날로그/디지털 변환기(330); 상기  스위치부를 제어하여 상기 터치장치 및 상기 센서부로부터 입력되는 신호를 번갈아서 입력받다가 상기 터치장치의 터치신호 또는 상기 센서부의 포인팅 신호가 감지된 경우에, 상기 터치신호 또는 포인팅신호가 감지된 해당 터치 장치 또는 센서부의 출력을 지속적으로 입력받아 처리하는 연산부(440)를 포함한다.A
이러한 본 발명의 제2 실시예에 따른 터치 및 포인팅 신호 처리장치의 동작은 다음과 같다.The operation of the touch and pointing signal processing apparatus according to the second embodiment of the present invention is as follows.
먼저, 터치 장치(110)는 패널에 인가된 전압을 감지하여 스위치부(220)로 출력하고, 센서부(410)는 손가락 등의 피사체의 움직임을 감지하여 감지신호를 스위치부(220)로 출력한다.First, the
여기서, 연산부(440)는 스위치부(420)를 제어하여 상기 터치장치(110) 및 상기 센서부(410)로부터 입력되는 신호를 번갈아서 입력받다가 상기 터치장치의 터치신호 또는 상기 센서부의 포인팅 신호가 감지된 경우에, 상기 터치신호 또는 포인팅신호가 감지된 해당 터치 장치 또는 센서부의 출력을 지속적으로 입력받아 처리한다.Herein, the
이러한 제2 실시예는 스위치부(420)가 터치 장치 및 센서부와 연결될 수 있다,  그리고 제2 실시예는 제3 실시예에 비해 스위치부가 추가되지만 아날로그/디지털 변환기 및 연산부의 처리용량을 줄일 수 있는 잇점이 있다.In this second embodiment, the
한편, 포인팅 디바이스를 간단히 구성하고, 별도로 아날로그/디지털 변환기와 디지털 신호 처리기를 구비하는 예를 이하에서 설명하면 다음과 같다.Meanwhile, an example in which the pointing device is simply configured and separately provided with an analog / digital converter and a digital signal processor will be described below.
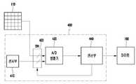
도 5는 본 발명의 제3 실시예에 따른 터치 및 포인팅 신호 처리장치의 구성도이다.5 is a block diagram of a touch and pointing signal processing apparatus according to a third embodiment of the present invention.
도 5를 참조하면, 본 발명의 제3 실시예에 따른 터치 및 포인팅 신호 처리장치는, 패널에 인가된 전압을 감지하는 터치 장치(110); 피사체의 움직임을 감지하는 포인팅 디바이스(120); 상기 터치 장치의 출력신호를 디지털 신호로 변환하여 출력하는 제1 아날로그/디지털 변환기(130); 상기 포인팅 디바이스의 출력신호를 디지털 신호로 변환하여 출력하는 제2 아날로그/디지털 변환기(150); 상기 제1 아날로그/디지털 변환기 및 상기 제2 아날로그/디지털 변환기의 출력을 스위칭하는 스위치부(170); 상기 스위치부(170)를 제어하며, 상기 제1 아날로그/디지털 변환기 및 상기 제2 아날로그/디지털 변환기로부터 입력되는 신호를 처리하는 디지털 신호 처리기(140)를 포함한다.Referring to FIG. 5, the touch and pointing signal processing device according to the third embodiment of the present invention includes a
이러한 본 발명의 제3 실시예에 따른 터치 및 포인팅 신호 처리장치의 동작은 다음과 같다.The operation of the touch and pointing signal processing apparatus according to the third embodiment of the present invention is as follows.
먼저, 터치 장치(110)는 패널에 인가된 전압을 감지하여 출력한다.  이러한 터치 장치의 원리는 종래와 같으므로 상세 설명은 생략한다.First, the
그러면, 제1 아날로그/디지털 변환기(130)가 상기 터치 장치(110)의 출력신호를 디지털 신호로 변환하여 스위치부(170)로 출력한다.Then, the first analog-to-
한편, 포인팅 디바이스(120)는 손가락 등의 피사체의 움직임을 감지하여 출력하고, 제2 아날로그/디지털 변환기(150)는 상기 포인팅 디바이스(120)의 출력신호를 디지털 신호로 변환하여 스위치부(170)로 출력한다.Meanwhile, the
그러면, 스위치부(170)는 디지털 신호 처리기(140)의 제어신호에 따라서 상기 제1 아날로그/디지털 변환기(130) 또는 상기 제2 아날로그/디지털 변환기(150)의 신호가 출력되도록 한다.Then, the
다음, 디지털 신호 처리기(140)는 상기 스위치부(170)를 제어하며 상기 제1 아날로그/디지털 변환기 또는 상기 제2 아날로그/디지털 변환기로부터 입력되는 신호를 디지털 신호 처리하여 마이컴(160)으로 출력한다.Next, the
이후, 마이컴(160)은 터치 장치(110) 또는 포인팅 디바이스(120)의 입력 정보에 따라 커서의 이동  또는 선택된 데이터를 표시하는 등의 동작을 하도록 한다.Thereafter, the
여기서, 디지털 신호 처리기(140)의 스위치부 제어 동작은 다음과 같다.Here, the switch control operation of the
도 6은 본 발명의 제3 실시예에 따른 터치 및 포인팅 신호 처리장치의 각 부 파형도이다.6 is a sub waveform diagram of an apparatus for processing a touch and pointing signal according to a third embodiment of the present invention.
도 6을 참조하면, 디지털 신호 처리기(140)의 제어신호는 제1 아날로그/디지털 변환기(130) 또는 상기 제2 아날로그/디지털 변환기(150)의 신호가 번갈아 출력되도록 한다.Referring to FIG. 6, control signals of the
그러다가 포인팅 디바이스의 입력이 있다고 판단되면, 제2 아날로그/디지털 변환기(150)의 신호가 지속적으로 출력되도록 스위치부(170)를 제어한다.When it is determined that there is an input of the pointing device, the
한편, 터치 장치의 입력이 있는 경우에는 제1 아날로그/디지털 변환기의 신호가 지속적으로 출력되도록 스위치부(170)를 제어한다.On the other hand, when there is an input of the touch device, the
이러한 제3 실시예에서는 디지털 신호 처리기를 하나 줄였으며, 그에 대응되는 부품 코스트가 줄었고 부품의 크기도 작아질 수 있다.In this third embodiment, the digital signal processor is reduced by one, and the corresponding component cost is reduced and the size of the component can be reduced.
이러한 제3 실시예는 다양한 변형이 가능하며, 이러한 변형예중 스위치부를 아날로그/디지털 변환기 앞단으로 이동하고, 터치 장치의 터치 방식을 변형한 예를 제4 실시예로 설명하면 다음과 같다.The third embodiment may be modified in various ways. Among these modifications, an example in which the switch unit is moved to the front end of the analog / digital converter and the touch method of the touch device is modified will be described as follows.
도 7은 본 발명의 제4 실시예에 따른 터치 및 포인팅 신호 처리장치의 구성도이다.7 is a block diagram of an apparatus for processing touch and pointing signals according to a fourth embodiment of the present invention.
도 7을 참조하면, 각 픽셀별로 인가된 전압을 감지하는 터치 장치(110); 피사체의 움직임을 감지하는 포인팅 디바이스(120); 상기 터치 장치 및 포인팅 디바이스의 출력신호를 스위칭하는 스위치부(220); 상기 스위치부의 출력신호를 디지털 신호로 변환하여 출력하는 아날로그/디지털 변환기(230); 상기 스위치부를 제어하며, 상기 아날로그/디지털 변환기로부터 입력되는 신호를 처리하는 디지털 신호 처리기(140)를 포함한다.Referring to FIG. 7, the
이러한 본 발명의 제4 실시예에 따른 터치 및 포인팅 신호 처리장치의 동작은 다음과 같다.The operation of the touch and pointing signal processing apparatus according to the fourth embodiment of the present invention is as follows.
먼저, 터치 장치(110)는 패널에 인가된 전압을 감지하여 스위치부(220)로 출력하고, 포인팅 디바이스(120)는 손가락 등의 피사체의 움직임을 감지하여 감지신호를 스위치부(220)로 출력한다.First, the
여기서 터치 장치(210)의 전압 인지 방식은 제1 실시예와 다르며, 도 6에 도시된 바와 같이, 모든 픽셀에 신호선이 연결되어 스캔라인에서 전압이 인가될때 인가된 전압을 각 픽셀별로 감지한다. 도 8에는 편의상 일부 픽셀에만 신호선을 연결하였고, 하나의 픽셀에 대해 등가 회로를 도시하였다. 이러한 구조로 인해 멀티 터치가 가능하다.Here, the voltage recognition method of the touch device 210 is different from that of the first embodiment, and as shown in FIG. 6, when a signal line is connected to all pixels, the applied voltage is sensed for each pixel. In FIG. 8, a signal line is connected to only some pixels for convenience, and an equivalent circuit is illustrated for one pixel. This structure enables multi-touch.
그리고, 도 8을 참조하면, 터치 장치(210)의 출력신호와 포인팅 디바이스(120)의 출력신호는 스위치부(220)의 스위치(SW211~SW214)의 온/오프에 따라 아날로그/디지털 변환기(230)의 비교기(221)로 입력된다.8, the output signal of the touch device 210 and the output signal of the
예를 들어, 스위치(SW211, SW213)가 온되면, 터치장치의 출력이 기준전압(Vref1)과 비교기(221)에서 비교되어 출력되고,  스위치(SW212, SW214)가 온되면, 포인팅 디바이스(120)의 출력이 기준전압(Vref2)과 비교기(221)에서 비교되어 출력된다.For example, when the switches SW211 and SW213 are turned on, the output of the touch device is compared with the reference voltage Vref1 and output from the
이러한 예는 하나의 픽셀만을 예로 들었지만 모든 픽셀에 대해 이러한 동작이 이루어지며, 실제로는 스위치 개수를 다양하게 구현할 수 있다.This example uses only one pixel, but this operation is performed for all pixels, and in practice, the number of switches can be variously implemented.
그리고, 포인팅 디바이스는 400(20*20)개의 픽셀이고, 터치 장치는 그 이하이므로 도 8의 구조는 포인팅 디바이스의 전체 픽셀이 아닌 일부에만 구현될 수도 있다.In addition, since the pointing device is 400 (20 * 20) pixels and the touch device is less than that, the structure of FIG. 8 may be implemented only in some but not all pixels of the pointing device.
이후, 아날로그/디지털 변환기(230)가 상기 터치 장치(110) 또는 포인팅 디바이스(120)의 출력신호를 디지털 신호로 변환하여 디지털 신호 처리기(140)로 출력한다.Thereafter, the analog / digital converter 230 converts the output signal of the
다음, 디지털 신호 처리기(140)는 상기 스위치부(220)를 제어하며 아날로그/디지털 변환기(230)로부터 입력되는 신호를 디지털 신호 처리하여 마이컴(160)으로 출력한다.Next, the
이후, 마이컴(160)은 터치 장치(110) 또는 포인팅 디바이스(120)의 입력 정보에 따라 커서의 이동  또는 선택된 데이터를 표시하는 등의 동작을 하도록 한다.Thereafter, the
여기서, 디지털 신호 처리기(140)의 스위치부 제어 동작은 제1 실시예와 동일하므로 상세 설명은 생략한다.Here, since the switch unit control operation of the
이러한 제1 실시예 내지 제4 실시예는 다양한 변형이 가능하고 필요에 따라 포인팅 디바이스에 아날로그/디지털 변환 기능 및 연산 기능을 포함시키거나 제외시켜 제품을 생산할 수 있다.The first to fourth embodiments can be modified in various ways and can be manufactured by including or excluding analog / digital conversion functions and arithmetic functions in the pointing device as necessary.
이상에서 본 발명의 실시예에 대하여 상세하게 설명하였지만 본 발명의 권리범위는 이에 한정되는 것은 아니고 다음의 청구범위에서 정의하고 있는 본 발명의 기본 개념을 이용한 당업자의 여러 변형 및 개량 형태 또한 본 발명의 권리범위에 속하는 것이다.
Although the embodiments of the present invention have been described in detail above, the scope of the present invention is not limited thereto, and various modifications and improvements of those skilled in the art using the basic concepts of the present invention defined in the following claims are also provided. It belongs to the scope of rights.
110, 210: 터치 장치             120, 300, 400: 포인팅 디바이스
130, 150, 230, 330, 420: 아날로그/디지털 변환기
170, 220, 420: 스위치부
140: 디지털 신호 처리기         160; 마이컴
340, 440: 연산부110, 210:
 130, 150, 230, 330, 420: analog to digital converters
 170, 220, 420: switch unit
 140:
 340 and 440: calculation unit
| Application Number | Priority Date | Filing Date | Title | 
|---|---|---|---|
| KR1020100038706AKR101129724B1 (en) | 2010-04-26 | 2010-04-26 | Processing device for touch and pointing signal and electronic device having that | 
| Application Number | Priority Date | Filing Date | Title | 
|---|---|---|---|
| KR1020100038706AKR101129724B1 (en) | 2010-04-26 | 2010-04-26 | Processing device for touch and pointing signal and electronic device having that | 
| Publication Number | Publication Date | 
|---|---|
| KR20110119165A KR20110119165A (en) | 2011-11-02 | 
| KR101129724B1true KR101129724B1 (en) | 2012-03-28 | 
| Application Number | Title | Priority Date | Filing Date | 
|---|---|---|---|
| KR1020100038706AActiveKR101129724B1 (en) | 2010-04-26 | 2010-04-26 | Processing device for touch and pointing signal and electronic device having that | 
| Country | Link | 
|---|---|
| KR (1) | KR101129724B1 (en) | 
| Publication number | Priority date | Publication date | Assignee | Title | 
|---|---|---|---|---|
| KR20070010395A (en)* | 2005-07-18 | 2007-01-24 | 주식회사 팬택앤큐리텔 | Key recognition device | 
| JP2009123193A (en)* | 2007-11-09 | 2009-06-04 | Lg Electronics Inc | Portable terminal | 
| Publication number | Priority date | Publication date | Assignee | Title | 
|---|---|---|---|---|
| KR20070010395A (en)* | 2005-07-18 | 2007-01-24 | 주식회사 팬택앤큐리텔 | Key recognition device | 
| JP2009123193A (en)* | 2007-11-09 | 2009-06-04 | Lg Electronics Inc | Portable terminal | 
| Publication number | Publication date | 
|---|---|
| KR20110119165A (en) | 2011-11-02 | 
| Publication | Publication Date | Title | 
|---|---|---|
| US10114485B2 (en) | Keyboard and touchpad areas | |
| JP4609557B2 (en) | Information processing apparatus and information processing method | |
| JP2009098942A5 (en) | ||
| US20130076670A1 (en) | Dual-mode tablet and detecting and switching method for input signals thereof | |
| US8743061B2 (en) | Touch sensing method and electronic device | |
| KR20130099717A (en) | Apparatus and method for providing user interface based on touch screen | |
| KR20120073104A (en) | Information processing device, method of processing information, and computer program storage device | |
| KR20100040318A (en) | Two-dimensional touch panel | |
| CA2772544A1 (en) | Selective rejection of touch contacts in an edge region of a touch surface | |
| TWI420359B (en) | Touch device and driving method of touch panel thereof | |
| US20150015531A1 (en) | Touch screen to recognize remote gesture and controlling method thereof | |
| CN102736770A (en) | Multi-point gesture identification method and multi-point translation gesture identification device | |
| KR20150030072A (en) | Touch sensor to recognize a gesture and controlling method thereof | |
| US20120013556A1 (en) | Gesture detecting method based on proximity-sensing | |
| JP5524937B2 (en) | Input device including touchpad and portable computer | |
| JP2021185474A (en) | Keyboard with navigation control function | |
| CN1801059A (en) | Information input device of portable electronic device and control method thereof | |
| KR20080070786A (en) | Auto Scroll Optical Pen Mouse | |
| CN203241934U (en) | System for identifying hand gestures, user input device and processor | |
| KR101129724B1 (en) | Processing device for touch and pointing signal and electronic device having that | |
| CN103257724B (en) | A kind of non-contact type mouse and method of operating thereof | |
| KR101119835B1 (en) | Remote controller having user interface of touch pad | |
| CN104063046B (en) | Input device and method for switching input mode | |
| KR20130015511A (en) | Mouse pad type input apparatus and method | |
| CN2480904Y (en) | A novel mouse | 
| Date | Code | Title | Description | 
|---|---|---|---|
| A201 | Request for examination | ||
| PA0109 | Patent application | Patent event code:PA01091R01D Comment text:Patent Application Patent event date:20100426 | |
| PA0201 | Request for examination | ||
| E902 | Notification of reason for refusal | ||
| PE0902 | Notice of grounds for rejection | Comment text:Notification of reason for refusal Patent event date:20110629 Patent event code:PE09021S01D | |
| AMND | Amendment | ||
| PG1501 | Laying open of application | ||
| E601 | Decision to refuse application | ||
| PE0601 | Decision on rejection of patent | Patent event date:20111227 Comment text:Decision to Refuse Application Patent event code:PE06012S01D Patent event date:20110629 Comment text:Notification of reason for refusal Patent event code:PE06011S01I | |
| X091 | Application refused [patent] | ||
| AMND | Amendment | ||
| PX0901 | Re-examination | Patent event code:PX09011S01I Patent event date:20111227 Comment text:Decision to Refuse Application Patent event code:PX09012R01I Patent event date:20110826 Comment text:Amendment to Specification, etc. | |
| PX0701 | Decision of registration after re-examination | Patent event date:20120207 Comment text:Decision to Grant Registration Patent event code:PX07013S01D Patent event date:20120119 Comment text:Amendment to Specification, etc. Patent event code:PX07012R01I Patent event date:20111227 Comment text:Decision to Refuse Application Patent event code:PX07011S01I Patent event date:20110826 Comment text:Amendment to Specification, etc. Patent event code:PX07012R01I | |
| X701 | Decision to grant (after re-examination) | ||
| GRNT | Written decision to grant | ||
| PR0701 | Registration of establishment | Comment text:Registration of Establishment Patent event date:20120316 Patent event code:PR07011E01D | |
| PR1002 | Payment of registration fee | Payment date:20120316 End annual number:3 Start annual number:1 | |
| PG1601 | Publication of registration | ||
| FPAY | Annual fee payment | Payment date:20151211 Year of fee payment:5 | |
| PR1001 | Payment of annual fee | Payment date:20151211 Start annual number:5 End annual number:5 | |
| FPAY | Annual fee payment | Payment date:20161214 Year of fee payment:6 | |
| PR1001 | Payment of annual fee | Payment date:20161214 Start annual number:6 End annual number:6 | |
| FPAY | Annual fee payment | Payment date:20171204 Year of fee payment:7 | |
| PR1001 | Payment of annual fee | Payment date:20171204 Start annual number:7 End annual number:7 | |
| FPAY | Annual fee payment | Payment date:20181211 Year of fee payment:8 | |
| PR1001 | Payment of annual fee | Payment date:20181211 Start annual number:8 End annual number:8 | |
| FPAY | Annual fee payment | Payment date:20191210 Year of fee payment:9 | |
| PR1001 | Payment of annual fee | Payment date:20191210 Start annual number:9 End annual number:9 | |
| PR1001 | Payment of annual fee | Payment date:20201209 Start annual number:10 End annual number:10 | |
| PR1001 | Payment of annual fee | Payment date:20221207 Start annual number:12 End annual number:12 |