

















본 발명은 통신 단말기의 사용자에게 사운드 정보를 전달하기 위해 스피커를 포함하는 일반적인 폴더 무선 통신 단말기에 관한 것이다. 특히 본 발명은 통신 단말기에 관한 것인데, 여기서 스피커는 공명 챔버로서 폴더 단말기의 힌지(hinge)에 형성된 공동을 사용한다.The present invention relates to a general folder wireless communication terminal including a speaker for delivering sound information to a user of the communication terminal. In particular, the present invention relates to a communication terminal, wherein the speaker uses a cavity formed in the hinge of the folder terminal as a resonance chamber.
이동 전화 산업은 진보한 통신 단말기를 생산하기 위한 기술뿐만 아니라, 서비스의 품질 및 전송 성능 둘 다를 상당히 발전시켜왔다. 단지 20~30년 안에, 통신 시스템은 아날로그에서 디지털로 바뀌었고, 동시에 통신 단말기의 크기는 서류 가방 크기에서 오늘날의 포켓 크기 전화로 바뀌었다. 현재에도 여전히, 이동 전화는 점점 더 작아지고 있으며, 크기는 최종 소비자를 얻기 위한 중요한 요소로 일반적으로 고려된다. 전자 공학의 발달은 단말기 소자의 소형화를 가능하게 했고, 동시에 더 진보한 기능 및 서비스가 실행가능한 단말기를 만들었다. 아마도 10년 후에 기대되는 제 4세대 문턱의 소위 제 3세대 이동 시스템이라 불리는 새로운 전송 방식의 발전은 실시간 비디오와 같은 더 진보한 데이터를 무선 통신 단말기로 전송하는 가능성을 또한 제공한다.The mobile phone industry has significantly developed both the quality of service and the transmission performance, as well as the technology for producing advanced communication terminals. In just 20-30 years, communication systems have changed from analog to digital, while at the same time the size of the communications terminal has changed from the size of a briefcase to the pocket-sized telephone of today. Still today, mobile phones are getting smaller and smaller, and size is generally considered an important factor for getting the end consumer. Advances in electronics have enabled the miniaturization of terminal devices and, at the same time, making terminals capable of more advanced functions and services. The development of a new transmission scheme, called the third-generation mobile system, of the fourth-generation threshold, perhaps ten years later, also offers the possibility of transmitting more advanced data, such as real-time video, to wireless communication terminals.
전송 시스템의 성능으로부터 이익을 얻기 위해서, 미래 세대의 전화는 멀티 미디어 입력 및 출력을 수행하기 위한 넓은 화면 표시기를 가질 것이고, 픽쳐(picture) 질은 매우 중요할 것이다. 여전히, 키패드 또는 키보드는 하나의 키를 사람들이 누를 수 있을 정도로 충분히 커야 한다. 통신 시스템 및 멀티미디어 기능의 성능 발달과 함께, 단말기에서의 사운드 질에 대한 요구는 또한 증가할 것이다. W-CDMA 기술을 사용하는 단말기의 다음 세대에서, 더 넓은 사운드 주파수 대역을 사용하는 것이 가능할 것이다. 단말기의 스피커는 또한 전통적인 버저(buzzer), 단음 또는 다음(polyphonic)의 벨 신호 대신에 링거(ringer) 및 전화에 내장된 핸드 프리 스피커로서 사용될 수도 있다. 일반적으로, 이런 기능은 전화 후면에 장착된 제 2 스피커에 의해 수행되지만, 두 개 또는 세 개의 모든 이런 기능을 결합한 스피커가 또한 사용될 수도 있을 것이다.In order to benefit from the performance of the transmission system, future generations of phones will have wide screen indicators for performing multimedia input and output, and picture quality will be very important. Still, the keypad or keyboard should be large enough for people to press one key. With the development of the performance of communication systems and multimedia functions, the demand for sound quality at the terminals will also increase. In the next generation of terminals using W-CDMA technology, it will be possible to use a wider sound frequency band. The speaker of the terminal may also be used as a hand free speaker embedded in a ringer and telephone instead of the traditional buzzer, single tone or polyphonic bell signal. In general, this function is performed by a second speaker mounted at the back of the telephone, but a speaker combining two or three all these functions may also be used.
스피커의 수행은 후면 볼륨, 즉, 음향적 공명 공동에 높은 범위로 의존한다. 최상의 수행을 위해서, 후면 볼륨은 밀봉되어야만 한다. 일반적인 경우에서, 모든 전화는 후면 볼륨으로서 사용되지만, 전화를 밀봉하는 것은 거의 불가능하다. 게다가, 일반적인 최종 사용자는 소형화된 단말기를 요구하기 때문에, 적은 공간이 스피커 및 공명 챔버를 위해 사용 가능하다. 통신 단말기 소형화의 이런 문제점에 있어서, 하나의 해결 방안은 WO 00/38475에 제안되는데, 여기서, 스피커의 음향적 공명 챔버가 안테나의 전자 공명 챔버 내에 완전히 또는 부분적으로 배치된다. 두 개로 나뉜 음향적 챔버 대신에 단일 음향적 챔버의 사용은 더 작은 통신 장치를 생산을 가능하게 한다. 제안된 해결 방안에 따라, 스피커는 공명 챔버 외부에 배치되고, 스피커의 후면은 한 개 이상의 음향적 채널에 의해 공명 챔버에 연결되어 있다. 그러나 공명 챔버 옆의 스피커 장치는 몇몇 장애를 갖는다. 우선 음향적 채널은 바람직하게 밀봉되어야만 한다. 게다가, 스피커 및 챔버는 단말기의 두께에 모두 포함될 것이다.The performance of the speaker depends on a high range on the rear volume, ie the acoustic resonance cavity. For best performance, the back side volume should be sealed. In the general case, all phones are used as rear volume, but it is almost impossible to seal the phone. In addition, since typical end users require miniaturized terminals, less space is available for speakers and resonance chambers. In this problem of communication terminal miniaturization, one solution is proposed in WO 00/38475, in which the acoustic resonance chamber of the speaker is arranged completely or partially in the electronic resonance chamber of the antenna. The use of a single acoustic chamber instead of two acoustic chambers makes it possible to produce smaller communication devices. According to the proposed solution, the speaker is arranged outside the resonance chamber and the rear of the speaker is connected to the resonance chamber by one or more acoustic channels. However, the speaker device next to the resonance chamber has some obstacles. First the acoustic channel should preferably be sealed. In addition, both the speaker and the chamber will be included in the thickness of the terminal.
결과적으로 본 발명의 일반적인 목적은 무선 통신 단말기용 소형 스피커 장치를 제공하는 것이다. 이런 목적의 양상은 열거된 단말기 기술에 관한 부족함을 극복하도록 스피커 해결 방안을 제공하는 것이다. 특히, 외부 단말기 크기를 감소하는 것이 가능한 통신 단말기용 스피커 장치를 제공하는데 목적이 있다.As a result, a general object of the present invention is to provide a small speaker device for a wireless communication terminal. An aspect of this object is to provide a speaker solution to overcome the lack of enumerated terminal technologies. In particular, it is an object to provide a speaker device for a communication terminal capable of reducing the size of an external terminal.
본 발명에 따라, 이런 목적은 통신 단말기에 의해 실현되는데, 통신 단말기는 제 1 단말기 부재 및 제 2 단말기 부재, 단말기 부재에 연결하여 단말기가 접히고 펼쳐지게 하는 힌지 장치 및 스피커를 포함한다. 본 발명은 스피커가 음향적으로 연결되는 공동을 한정하는 힌지 장치로 구분된다.According to the invention, this object is achieved by a communication terminal, the communication terminal comprising a first terminal member and a second terminal member, a hinge device and a speaker connected to the terminal member so that the terminal is folded and unfolded. The present invention is divided into a hinge device that defines a cavity to which the speaker is acoustically connected.
하나의 일반적인 실시예에서, 스피커는 공동 내에 배치된다. 공동은 실질적으로 원통형일 수도 있다.In one general embodiment, the speaker is disposed in a cavity. The cavity may be substantially cylindrical.
바람직하게, 공동은 단말기의 남은 부분에서 밀봉된다. 하나의 실시예에서, 제 1 사운드 출력 애퍼추어(aperture)는 힌지의 제 1 단부에 형성된다. 바람직하게, 스피커는 제 1 사운드 애퍼추어에 근접하게 배치된다.Preferably, the cavity is sealed in the remainder of the terminal. In one embodiment, a first sound output aperture is formed at the first end of the hinge. Preferably, the speaker is arranged in proximity to the first sound aperture.
제 2 사운드 출력 애퍼추어는 또한 제 1 단부에 대향하는 힌지의 제 2 단부에 형성된다.The second sound output aperture is also formed at the second end of the hinge opposite the first end.
하나의 실시예에서, 제 2 사운드 스피커는 제 2 사운드 애퍼추어에 근접하게 배치된다.In one embodiment, the second sound speaker is disposed proximate to the second sound aperture.
대안 실시예에서, 사운드 출력 애퍼추어는 힌지의 측면부에 형성된다.In an alternative embodiment, the sound output aperture is formed at the side of the hinge.
바람직하게, 스피커는 직사각형 막을 갖는 가는 봉 형태이다.Preferably, the speaker is in the form of a thin rod with a rectangular membrane.
다른 일반적인 실시예에서, 스피커는 공동에 연결된 사운드 개구에 의해 공동의 외부에 배치된다.In another general embodiment, the speaker is disposed outside of the cavity by a sound aperture connected to the cavity.
바람직하게, 사운드 개구는 단말기의 남은 부분에서 밀봉된다.Preferably, the sound opening is sealed at the remainder of the terminal.
하나의 실시예에서, 제 1 사운드 출력 애퍼추어는 힌지의 제 1 단부에 형성된다. 게다가, 제 2 사운드 출력 애퍼추어는 제 1 단부에 대향하는 힌지의 제 2 단부에 형성될 수도 있다.In one embodiment, the first sound output aperture is formed at the first end of the hinge. In addition, the second sound output aperture may be formed at the second end of the hinge opposite the first end.
대안 실시예에서, 사운드 출력 애퍼추어는 힌지의 측면부에 형성된다.In an alternative embodiment, the sound output aperture is formed at the side of the hinge.
특정 실시예에서, 스피커는 단말기의 후면부를 통해서 공동에 연결된다.In a particular embodiment, the speaker is connected to the cavity through the back portion of the terminal.
대안 실시예에서, 스피커는 단말기의 측면부를 통해서 공동에 연결된다.In an alternative embodiment, the speaker is connected to the cavity through the side of the terminal.
하나의 실시예에서, 스피커는 막, 공동에 연결된 막의 후면 및 제 1 사운드 출력 애퍼추어에 의해 단말기의 외부에 연결된 막의 전면을 포함한다.In one embodiment, the speaker comprises a membrane, a back side of the membrane connected to the cavity and a front side of the membrane connected to the outside of the terminal by the first sound output aperture.
바람직하게, 제 1 사운드 출력 애퍼추어는 힌지 옆에 배열되고 힌지에 평행하게 단말기로부터 측면 밖을 향한다.Preferably, the first sound output aperture is arranged next to the hinge and faces out sideways from the terminal parallel to the hinge.
게다가, 제 2 사운드 출력 애퍼추어는 제 1 사운드 출력 애퍼추어에 근접하게 힌지의 제 1 단부에 형성될 수도 있다.In addition, a second sound output aperture may be formed at the first end of the hinge in proximity to the first sound output aperture.
유리하게, 스피커가 단말기의 남은 부분에서 밀봉되는 연결을 제공하는 사운드 개구를 통해 공동에 연결된다.Advantageously, the speaker is connected to the cavity through a sound opening that provides a connection that is sealed at the remainder of the terminal.
하나의 실시예에서, 공동은 스피커용 전면 볼륨 공명기로서 동작한다.In one embodiment, the cavity operates as a front volume resonator for the speaker.
통신 단말기는 각각의 단말기 부재가 사용자 인터페이스 부분을 갖는 크램셀(clamshell) 유형 디자인으로 구성되는 것이 바람직하다. 대안으로, 제 1 단말기 부재는 사용자 인터페이스를 갖는 단말기 본체이고, 제 2 단말기 부재는 접힐 수 있는 보호 덮개이다.The communication terminal is preferably configured in a clamshell type design with each terminal member having a user interface portion. Alternatively, the first terminal member is a terminal body having a user interface and the second terminal member is a collapsible protective cover.
본 발명의 부가적인 특성 및 장점은 첨부된 도면을 참조하여 바람직한 실시예의 이하 설명으로부터 더 명백해지는데,Additional features and advantages of the present invention will become more apparent from the following description of the preferred embodiments with reference to the accompanying drawings,
도 1은 접힌 상태에서, 본 발명의 제 1 실시예에 따라 고안된 접힐 수 있는 단말기 개략도,1 is a schematic view of a collapsible terminal designed in accordance with the first embodiment of the present invention in a folded state,
도 2는 펼쳐진 상태에서, 도 1의 실시예의 개략도,2 is a schematic view of the embodiment of FIG. 1 in an expanded state;
도 3은 접힌 상태에서, 본 발명의 제 2 실시예에 따라 고안된 접힐 수 있는 단말기 개략도,3 is a schematic view of a collapsible terminal designed in accordance with the second embodiment of the present invention in a folded state,
도 4는 펼쳐진 상태에서, 도 2의 실시예의 개략도,4 is a schematic view of the embodiment of FIG. 2 in an expanded state;
도 5는 접힌 상태에서, 본 발명의 제 3 실시예에 따라 고안된 접힐 수 있는 단말기 개략도,5 is a schematic view of a collapsible terminal designed in accordance with a third embodiment of the present invention in a folded state,
도 6은 펼쳐진 상태에서, 도 5의 실시예의 개략도,6 is a schematic representation of the embodiment of FIG. 5, in an unfolded state;
도 7은 접힌 상태에서, 본 발명의 제 4 실시예에 따라 고안된 접힐 수 있는 단말기 개략도,7 is a schematic view of a collapsible terminal designed in accordance with a fourth embodiment of the present invention in a folded state,
도 8은 펼쳐진 상태에서, 도 7의 실시예의 개략도,8 is a schematic view of the embodiment of FIG. 7 in an expanded state;
도 9는 도 1에 도시된 단말기에 적용할 수 있는, 본 발명의 실시예에 따라 조립되지 않은 힌지 장치 개략도,9 is a schematic diagram of a hinge device not assembled according to an embodiment of the present invention, applicable to the terminal shown in FIG.
도 10은 도 9의 조립된 경우 실시예의 개략도,10 is a schematic representation of an embodiment when assembled in FIG. 9,
도 11은 도 1에 도시된 단말기에 적용할 수 있는, 본 발명의 다른 실시예에 따르는 조립되지 않은 힌지 장치 개략도,11 is a schematic view of an unassembled hinge device according to another embodiment of the present invention, applicable to the terminal shown in FIG.
도 12는 도 11의 조립된 경우 실시예의 개략도,12 is a schematic representation of an embodiment when assembled in FIG. 11,
도 13은 도 7에 도시된 단말기에 적용할 수 있는, 본 발명의 또 다른 실시예에 따라 조립되지 않은 힌지 장치 개략도,13 is a schematic diagram of a hinge device not assembled according to another embodiment of the present invention, applicable to the terminal shown in FIG.
도 14는 도 13의 조립된 경우 실시예의 개략도,14 is a schematic representation of an embodiment when assembled in FIG. 13,
도 15는 접힌 상태에서, 도 1의 변형 실시예에 따라 고안된 접힐 수 있는 단말기 개략도,15 is a schematic view of a collapsible terminal designed in accordance with a variant embodiment of FIG. 1 in a folded state;
도 16은 접힌 상태에서, 도 15의 실시예에 따라 고안된 접힐 수 있는 단말기의 수정된 상태 개략도,16 is a modified state schematic diagram of a collapsible terminal designed according to the embodiment of FIG. 15 in a folded state,
도 17은 펼쳐진 상태에서, 도 15의 실시예의 개략도,17 is a schematic representation of the embodiment of FIG. 15, in an expanded state;
도 18은 펼쳐진 상태에서 도 7의 변형 실시예에 따라 고안된 접힐 수 있는 단말기 개략도이다.18 is a schematic illustration of a collapsible terminal designed in accordance with a variant embodiment of FIG. 7 in an unfolded state;
본 설명은 본 발명에 따라 스피커 구성을 충족시키는 장치로서 접힐 수 있는 통신 단말기에 관한 것이다. 통신 단말기는 무선국을 사용하는 무선 통신용으로 고안된 모든 접힐 수 있는 전화 장치를 포함하는데, 이런 무선국은 또한 전화 단말기 또는 예컨대, 고정 기지국일 수도 있다. 그 결과로, "통신 단말기"는 예컨대 WLAN(무선 근거리 통신망)에서 무선 통신용으로 고안된 휴대할 수 있는 랩톱 컴퓨터뿐만 아니라, 이동 전화, 무선 호출기, 통신기, 전자 편집기, 스마트 폰, PDA(개인 휴대 정보 단말기), 무선 통신 장치가 장착된 매체 또는 이와 같은 것을 포함한다. 그러므로 본 발명에 따르는 스피커 디자인의 구조 및 특성은 여기서 주로 설명되는데, 예로서 이동 전화 내의 구현예에서, 이것은 상기 나열된 단말기와 같은 다른 유형의 단말기에서 디자인의 구현을 제외하고 설명되지 않는다. 게다가, "포함하는" 또는 "포함하다"라는 단어가 포함된 특성, 요소 또는 단계를 나타내도록 본 명세서 및 청구항에서 사용될 때, 단어는 본 발명의 다른 특성, 요소 또는 단계를 제외하고 결코 설명되지 않는다는 것이 강조되어야만 한다.The present description relates to a communication terminal which can be folded as a device for satisfying a speaker configuration according to the present invention. The communication terminal includes all foldable telephone devices designed for wireless communication using a radio station, which may also be a phone terminal or a fixed base station, for example. As a result, a "communication terminal" is not only a portable laptop computer designed for wireless communication, for example in a wireless local area network (WLAN), but also a mobile phone, pager, communicator, electronic editor, smart phone, personal digital assistant (PDA). ), A medium equipped with a wireless communication device, or the like. The structure and characteristics of the speaker design according to the invention are therefore mainly described here, for example in the implementation in a mobile phone, this is not described except in the implementation of the design in other types of terminals such as those listed above. In addition, when used in this specification and claims to refer to a feature, element, or step that includes the word “comprising” or “comprises,” the word is never described except for other features, elements, or steps of the invention. Should be emphasized.
이동 전화 기술의 상태의 통상적인 예는 안테나, 전원, 일반적으로 배터리, 데이터, 오디오 및 이미지, 가능하게는 비디오용 사용자 인터페이스, 상호작용 및 통신을 포함한다. 인터페이스는 기본적으로 작은 단말기가 가능하도록 하는 방법의 제한이 설정되는 키패드 및 화면 표시기를 종종 포함한다. 음성 상호작용을 위한 표준 전화로서 동작할 수 있도록 단말기는 또한 마이크로전화 및 스피커를 포함한다. 무선 전송 및 수신과 같은 전화의 회로는 일반적으로 인쇄 회로 기판(PWB)상에 유지되고, 이것은 차례로 지지가 되고 덮개에 의해 보호된다.Typical examples of the state of the mobile phone technology include antennas, power supplies, generally batteries, user interfaces for data, audio and images, possibly video, interactions and communications. The interface often includes a keypad and screen indicators on which limitations are set on how small terminals are possible. The terminal also includes a microphone and a speaker so that it can operate as a standard telephone for voice interaction. Circuits of the telephone, such as wireless transmission and reception, are generally held on a printed circuit board (PWB), which in turn is supported and protected by a cover.
소위 크램셀 폰(clamshell phone)이라 불리는 특정 유형의 단말기는 다년간 시판되어 왔다. 단말기의 단말기 사용자 인터페이스가 보이도록 펼쳐질 수 있도록 크램셀 디자인은 각각의 짧은 말단에 힌지를 갖는 두 개의 단말기 부재를 포함한 다. 크램셀 단말기는 더 큰 사용자 인터페이스, 예컨대, 화면 표시기가 닫혔을 때 접힐 수 없는 표준 단말기와 비교해서 단말기의 총 길이가 증가하지 않고 큰 화면 표시기를 수용할 수 있다. 이미지 및 비디오와 같은 진보한 데이터 전송 및 프리젠테이션 성능의 발달의 증가와 함께 더 큰 화면 표시기는 바람직한 특성이 될 것이다.Certain types of terminals called so-called clamshell phones have been on the market for many years. The clamshell design includes two terminal members with hinges at each short end so that the terminal user interface of the terminal can be unfolded to be visible. The cramcell terminal can accommodate a larger user interface, such as a larger display without increasing the total length of the terminal compared to a standard terminal that cannot be folded when the display is closed. With the development of advanced data transfer and presentation capabilities such as images and video, larger screen indicators will be desirable characteristics.
이동 전화기가 작아짐에 따라, 음향 변환기를 위한 공간 및 음향 변환기의 크기는 축소된다. 이런 문제를 해결하기 위해서, 많은 스피커 공급자는 공간을 절약하는 요구에 잘 대처하도록 정사각형 또는 타원형 소자를 개발하고 있다. 오늘날의 크램셀 전화에서, 변환기는 종종 크램셀의 상단부에 배치된다. 그 이유는 사용자가 장치를 통해 명확히 들을 수 있고, 또한 하단부의 많은 공간은 배터리에 의해 종종 자리가 채워지기 때문이다.As the mobile telephone becomes smaller, the space for the acoustic transducer and the size of the acoustic transducer are reduced. To address this problem, many speaker suppliers are developing square or elliptical devices to better meet space-saving needs. In today's clamshell phones, the transducer is often placed on top of the clamcell. The reason is that the user can clearly hear through the device, and also the large amount of space at the bottom is often filled by the battery.
이동 전화에서, 변환기 또는 스피커를 조립하는 것은 주위 여건에 따라 많은 것이 필요하다. 저주파수 출력을 얻기 위하여, 스피커는 밀봉된 상태를 필요로 한다. 게다가, 고주파수 즉, 3배의 주파수 구현이 가능하기 위해서는, 스피커 정합된 정면 볼륨 및 개구를 갖는 튜닝된 정면부를 필요로 한다. PWB 및 전화기의 케이스는 사운드 구현 및 질을 떨어뜨리는 누설이 종종 일어난다.In mobile phones, assembling a converter or a speaker requires a lot depending on the surrounding conditions. In order to obtain a low frequency output, the speaker needs to be sealed. In addition, high frequency, ie tripled frequency implementations require a tuned front with speaker-matched front volume and aperture. Cases of PWBs and telephones often have leakage that degrades sound quality and quality.
본 발명은 힌지에 있는 공동과 스피커 결합에 의한 이런 문제에 대한 해결 방안을 제공한다. 이것은 단말기를 위한 음향적 해결방안을 간단하게 하며, 그것이 이전에 사용되지 않는 방법으로 공동의 사용을 가능하게 한다. 게다가, 힌지 공동은 단말기 본체의 남은 부분보다 더 바람직하게 밀봉될 수 있는데, 힌지는 소자, PWB 및 포함된 부품들의 연결을 위한 적합한 많은 부품을 포함한다.The present invention provides a solution to this problem by coupling the cavity and speaker in the hinge. This simplifies the acoustic solution for the terminal and enables joint use in a way that is not previously used. In addition, the hinge cavity may be more desirably sealed than the rest of the terminal body, the hinge comprising many parts suitable for the connection of the device, the PWB and the included parts.
일반적인 제 1 실시예에서, 스피커는 크램셀 폰의 두 개의 절반 중 하나에 배치되어, 스피커가 힌지 공동에 연결된다. 이로써 스피커는 힌지 공동 안으로 공명이 허용된다. 바람직하게 힌지의 하나의 말단, 즉 단말기의 측면에서 단부는 외부 세계로 소리를 방출하기 위해서 사운드 출력 애퍼추어가 장착된다. 스피커 막의 하나의 말단은 사운드 개구를 통해 힌지 공동에 연결된다. 막의 대향 측면은 분리 장치를 통해 단말기의 외부와 연결될 수도 있는데, 대안으로 이런 대향 측면은 간단히 덮여진다.In the first general embodiment, the speaker is arranged in one of two halves of the cram cell phone, so that the speaker is connected to the hinge cavity. This allows the speaker to resonate into the hinge cavity. Preferably one end of the hinge, ie the end at the side of the terminal, is equipped with a sound output aperture for emitting sound to the outside world. One end of the speaker membrane is connected to the hinge cavity through the sound aperture. The opposite side of the membrane may be connected to the outside of the terminal via a separating device, which alternatively is simply covered.
일반적인 제 2 실시예에서, 바람직하게 작은 직사각형의 막 장치는 힌지 공동 내부에 배치되는데, 힌지의 내부가 닫히고 바람직하게 어떤 다른 소자와도 통합하지 않기 때문에, 막 장치는 저음 구현을 최적화하여 밀봉된 상태뿐만 아니라 풍부한 저주파수 출력을 가능하게 한다.In the second general embodiment, preferably a small rectangular membrane device is disposed inside the hinge cavity, since the inside of the hinge is closed and preferably does not integrate with any other element, the membrane device is sealed to optimize bass implementation. It also enables rich low frequency output.
이런 일반적인 실시예와 일치하는 바람직한 실시예의 상세한 설명은 이제 첨부된 도면을 참조하여 제공될 것이다.DETAILED DESCRIPTION A detailed description of preferred embodiments consistent with this general embodiment will now be provided with reference to the accompanying drawings.
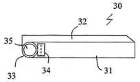
본 발명을 통합하는 크램셀 단말기의 제 1 실시예는 예로서, 도 1에 도시된다. 단말기(10)는 제 1 단말기 부재(11)의 짧은 단부에 배열된 힌지 장치(13)에 의해 서로 연결되어 있는 제 1 및 제 2 단말기 부재를 포함한다. 도 1에서, 단말기(10)는 접혀진 상태로 도시되고 있는데, 여기서 단말기 부재는 서로로부터 가깝게 배열된다. 힌지(13)는 도 1부터 도 8까지 단순하게 개략적으로 도시되지만, 0 장치(13)에 대한 사용 가능한 상세한 해결 방안은 도 9부터 도 14에서 개시된다. 본 발명에 따르면, 힌지 장치(13)는 여기서 공동(15)을 한정하는데, 이런 공동은 단말기 본체(11,12)의 남은 부분에서 밀봉되는 것이 바람직하다. 점선에 의해 나타내지는 막을 갖는 스피커나 변환기(14)는 막의 한쪽 측면에서 공동에 음향적으로 연결되어 있어, 사운드는 공동(15) 내부로 전파되는 스피커(14)에 의해 발생한다. 사운드 출력 애퍼추어는 이런 매우 개략적인 도면에서 도시되지 않을지라도, 예컨대, 도면에서 표면이 위를 향하는 말단과 같은 힌지 장치(13)의 단부에서 더 포함된다. 대안 실시예에서, 공동(15)으로부터 사운드 출력 애퍼추어는 도면에서 아래로 향하는 것과 같이 측면부에서 한정된다. 다원 장치는 또한 물론 가능하다.A first embodiment of a cram cell terminal incorporating the present invention is shown by way of example in FIG. 1. The terminal 10 comprises first and second terminal members connected to each other by a
도 2는 펼쳐진 상태에서 도 1의 실시예를 도시한다. 펼쳐진 경우, 보호되지 않는 사용자 인터페이스가 드러난다. 이와 같은 사용자 인터페이스는 하부 단말기 부재(11)에 키패드(16)를 포함하며, 상부 단말기 부재(12)에 화면 표시기(17)를 포함할 수도 있다.2 shows the embodiment of FIG. 1 in an unfolded state. When unfolded, an unprotected user interface is revealed. Such a user interface may include a
도 3 및 도 4는 도 1의 변형 실시예를 도시한다. 앞에서와 같이, 단말기(30)는 힌지 장치(33)에 의해 서로 연결되는 제 1(31) 및 제 2(32) 단말기 부재를 포함한다. 힌지 장치(33)는 거기에 공동(35)을 한정하는데, 이런 공동(35)은 밀봉되는 것이 바람직하다. 점선에 의해 나타내지는 막을 갖는 스피커(34)는 막의 한쪽 측면에서 공동(35)에 음향적으로 연결되어, 스피커(34)에 의해 발생하는 사운드를 공동(35) 내로 전파한다. 한 개 이상의 사운드 출력은 더 포함된다. 도 3 및 도 4의 특정 실시예는 스피커(34) 방향이 도 1 및 도 2의 실시예와 상이하다. 도 1의 실시예는 제 1 단말기 부재(11)의 주된 평면에서 그것의 막과 함께 배치되는 스피커를 포함하고, 도 3의 실시예에서 스피커(34)의 부재는 단말기 부재(31)의 주된 평면에 수직으로 방향이 지어져, 힌지 공동(35) 쪽으로 직접 향한다. 이와 같은 해결방안에 따라 사운드 개구는 쉽게 밀봉될 수도 있는데 여기서 스피커(34) 및 힌지 공동(35)이 만난다. 도 4는 키패드(36) 및 화면 표시기(37)와 같은 사용자 인터페이스가 드러나도록 펼쳐진 상태에서, 도 3의 실시예를 도시한다.3 and 4 show a variant embodiment of FIG. 1. As before, the terminal 30 comprises a first 31 and a second 32 terminal member connected to each other by a
도 5 및 도 6은 도 1의 다른 변형 실시예를 도시한다. 앞에서와 같이, 단말기(50)는 제 1(51) 및 제 2(52) 단말기 부재를 포함하는데, 힌지 장치(53)에 의해 서로 연결된다. 힌지 장치(53)는 공동(55)을 한정하여, 공동(55)은 바람직하게 밀봉된다. 점선에 의해 나타내지는 막을 갖는 스피커(54)는 막의 한쪽 측면에서 공동(55)에 음향적으로 연결되어 스피커(54)에 의해 발생하는 사운드를 공동(55) 내로 전파된다. 한 개 이상의 사운드 출력은 더 포함된다. 도 5 및 도 6의 특정 실시예는 힌지 장치(53)가 제 1 단말기 부재(51)의 상부에 실질적으로 배치되고, 이로써 제 2 단말기 부재(52)가 힌지 장치(53)로부터 실질적으로 일직선으로 신장하는 것이 도 1 및 도 2의 실시예와 상이하다. 스피커(54)는 제 1 단말기 부재(51)의 주된 평면에서 그것의 막과 함께 배치되고, 동시에, 힌지 공동(55) 쪽으로 직접 향한다. 도 6은 키패드(65) 및 화면 표시기(57)와 같은 사용자 인터페이스가 드러나도록 펼쳐진 상태에서, 도 5의 실시예를 도시한다.5 and 6 show another variant embodiment of FIG. 1. As before, the terminal 50 comprises a first 51 and a second 52 terminal member, which are connected to each other by a
도 15 및 도 17은 도 1의 또 다른 변형 실시예를 도시한다. 앞에서와 같이, 단말기(150)는 힌지 장치(153)에 의해 서로 연결되는 제 1(151) 및 제 2(152) 단말기 부재를 포함한다. 힌지 장치(153)는 공동(155)을 한정하여, 공동(155)은 바람직하게 밀봉된다. 점선에 의해 나타내지는 막을 갖는 스피커(154)는 막의 후면에서 공동(155)에 음향적으로 연결되어, 스피커(154)에 의해 발생하는 사운드를 공동(155) 내로 전파한다. 스피커는 제 1 단말기 부재(151)로부터 측면 바깥쪽을 향하여 그것의 막과 함께 배치된다. 도면에서 격자로 나타낸 사운드 출력 애퍼추어(156)는 막의 전면에 부가적으로 장착되어, 스피커(154)에 의해 발생하는 사운드와 단말기 주변 공기를 연결한다. 공동(155)은 완벽히 밀봉되는 것이 바람직하고, 오직 개구만이 스피커(154)와의 연결 경로가 된다. 이로써, 공동(155)은 스피커(154)에 대해 뒤쪽 볼륨으로서 동작하여, 최적화된 낮은 베이스 구현을 표현한다. 도 17은 키패드(159) 및 화면 표시기(158)와 같은 사용자 인터페이스가 드러나는 펼쳐진 상태에서, 도 15의 실시예의 사시도를 도시한다.15 and 17 show yet another alternative embodiment of FIG. 1. As before, the terminal 150 includes a first 151 and a second 152 terminal member connected to each other by the
도 16은 도 15 및 도 17의 변형 실시예를 도시하는데, 여기서 단말기(160)는 도면에서 격자로 나타내지고, 또한 제 1 단말기 부재(151)로부터 측면 바깥쪽을 향하는 사운드 출력 애퍼추어(161)를 더 포함한다. 이와 같은 디자인을 사용하여, 공동(155)은 스피커(154)에 대한 저음반사형관(bass reflex tube)으로서 대신 동작할 것이다.FIG. 16 shows a variant embodiment of FIGS. 15 and 17, in which the terminal 160 is shown as a grid in the figure and also has a
본 발명에 일치하는 크램셀 단말기의 제 2 실시예는 도 7에서 예로서 도시된다. 단말기(70)는 제 1 단말기 부재(71)의 짧은 단부에 배열된 힌지 장치(73)에 의해 서로 연결되는 제 1(71) 및 제 2(72) 단말기 부재를 포함한다. 도 7에서, 단말기(70)는 접힌 상태로 보여지는데, 여기에서 단말기 부재는 서로 가깝게 배열된다. 힌지 장치(73)는 공동(75)을 한정하여, 공동(75)은 단말기 본체(71,72)의 남은 부분에서 바람직하게 밀봉된다. 소형화된 스피커 또는 변환기(74)는 공동(75) 내부에 배치된다. 바람직하게, 수직 막(도시되지 않음)을 갖는 작은 봉 형태의 스피커(74)가 사용된다. 막은 단말기 부재(71)의 주된 평면에 대해 어떤 미리 선택된 방향에서, 가는 봉 형태의 스피커(74)의 수직방향으로 신장한다. 이런 디자인을 사용하여, 힌지 공동(75)은 스피커(74)에 대한 최적화된 저음 구현을 제공한다. 적어도 한 개의 사운드 출력 애퍼추어(76)는 힌지(73)의 단부에 형성되고, 바람직하게는 단부에 스피커가 장착된다. 다른 사운드 출력 애퍼추어는 대향하는 단부, 즉 도 7에서 마주보는 오른쪽 단부에 형성될 수도 있다.A second embodiment of a cram cell terminal according to the present invention is shown by way of example in FIG. The terminal 70 includes a first 71 and a second 72 terminal member connected to each other by a
도 8은 하부 단말기 부재(71)에 키패드(77)를 포함하고 상부 단말기 부재(72)에 화면 표시기(57)를 포함하는 사용자 인터페이스가 드러나도록 펼쳐진 상태에서, 도 7의 실시예를 도시한다. 사용자 인터페이스(77,78)는 단순하게 도시되어 나타내지고, 대안 방법으로 구성될 수도 있다. 한 예는, 키패드가 종래 기술에서 잘 알려진 바와 같이, 접촉 감응성 화면 표시기에 의해 교체될 수도 있다.FIG. 8 illustrates the embodiment of FIG. 7 with the user interface including a
도 18은 단말기(180)를 도시하는데, 이것은 동일한 요소에 동일한 참조 번호를 사용하는 도 7 및 도 8의 변형 실시예이다. 그러나 도 7 및 도 8에 부가적으로, 단말기(180)는 힌지(73)의 대향하는 말단에 배열된 제 2 스피커(181)를 포함한다. 제 2 사운드 출력 애퍼추어(182)는 힌지(73)의 단부에 형성된다. 바람직하게, 스피커(74, 181)는 스테레오 오디오 장치(도시되지 않음)에 의해 작동되어, 단말기(180)는 스테레오 사운드를 제공할 수 있다.18 shows a terminal 180, which is a variant of FIGS. 7 and 8 using the same reference numerals for the same elements. However, in addition to FIGS. 7 and 8, the terminal 180 includes a
도 9 및 도 10은 본 발명의 실시예에 따라, 힌지 공동(108)에 연결된 스피커 (14)를 사용하는 힌지 장치(100)에 대한 하나의 전형적인 디자인을 도시한다. 스피커(14)가 도 9에 도시된 방법으로, 이런 실시예는 도 1 및 도 2의 단말기에 적용될 수 있다. 그러나 스피커는 도 3 및 도 4, 도 5 및 도 6, 또는 도 15 내지 도 17에 개시된 방법으로 공동(108)에 연결되는 것과 상관없을 수도 있다. 도 9는 조립되지 않은 상태의 분리된 단말기 부재(11,12)를 사용하는 힌지 장치(100)를 도시하고, 이에 반하여 도 10은 조립된 경우 동일한 힌지 장치(100)를 도시한다.9 and 10 show one typical design for the
특히, 다른 실시예, 도 9 및 도 10의 디자인은 단말기 부재(11, 12)를 통과하는 수직 축에 대하여 대칭이다. 힌지 장치는 제 2 단말기 부재(12)의 오목한 부분에 적합하게 고안된 단말기 부재(11)에 견고한 한 쌍의 제 1 이어(ear)(103)를 포함한다. 각각의 오목한 부분(104)은 한 쌍의 이어를 구성하고, 여기서, 관통 보어(bore)가 구성된다. 일치하는 관통 보어는 각 이어(103)에 형성된다. 힌지 장치(100)의 중앙부(101)는 도 9 및 도 10에서 점선으로 나타내지는 밀봉된 공동(108)을 에워싼다. 공동(108)은 원통형이 바람직하고, 공동의 내부는 스피커(14)에 연결된다. 공동(108)의 특정 형태가 중요한 것이 아닐지라도, 공동이 밀봉되는 것이 바람직하다는 것은 중요하다. 여기서 반복되는 슬롯의 형태로 도시되어 보여지는 사운드 애퍼추어(109)는 중앙부의 측면부에 형성된다. 바람직하게, 사운드 출력 애퍼추어는 중앙부(101) 상에 배치되어 단말기의 접힌 상태 및 펼쳐진 상태에서 노출된다. 핀(107)은 보어(105,106)를 통과하여, 바람직하게 중앙부(101) 내의 보어 안으로 연결을 통해 조립되도록 고안된다.In particular, another embodiment, the designs of FIGS. 9 and 10, are symmetric about a vertical axis passing through the
도 10에서, 힌지 장치(100)는 핀(107)의 도입에 의해 조립된다. 핀(107)은  단말기 부재 중 하나(11 또는 12)와 함께 연속되어 맞물림으로써 힌지 장치에 견고해질 수 있다. 대안으로, 핀(107)은 힌지 장치(100)에 붙어 떨어지지 않을 수도 있다. 도 10에서 일점 쇄선으로 나타내지는 핀(107)의 중앙축은 힌지 장치(100)에 대한 회전 축을 또한 한정한다.In FIG. 10, the
도 11 및 도 12는 본 발명의 실시예에 따라, 힌지 공동(117)에 연결된 스피커를 사용하는 힌지 장치(110)에 대한 다른 예시적인 디자인을 도시한다. 또한, 이런 실시예는 특히 도 1 및 도 2의 단말기(10)에 적용할 수 있지만, 스피커는 도 3 및 도 4, 도 5 및 도 6, 또는 도 15 내지 도 17에 개시된 방법으로 공동(108)에 연결되는 것과 상관없을 수도 있다. 도 11은 조립되지 않은 상태에서 힌지 장치(110)를 도시하고, 도 12는 조립된 경우 동일한 힌지 장치(100)를 도시한다.11 and 12 show another exemplary design for
도 11 및 도 12의 디자인은 제 1 단말기 부재(11)로부터 힌지 회전축을 따라 신장하는 돌출부(115)를 사용한다. 일치하는 오목한 부분(116)은 제 2 단말기 부재(12)에 형성된다. 힌지 장치(110)의 조립은 도 11에서 일점 쇄선으로 나타내진 방법으로, 돌출부(115)를 오목한 부분(116) 내로 도입함으로써 도 2에서 나타내지는 조립된 상태로 성취된다. 공동(117)은 힌지 장치(110)에 형성되는데, 이런 공동(117)은 이런 실시예에서 실질적으로 힌지를 통과하는 모든 방향으로, 특히 돌출부(115) 내로 신장한다. 공동(117)은 원통형이 바람직하고, 공동의 내부는 스피커(14)에 연결된다. 여기서 반복되는 슬롯 형태로 보여지는 제 1 사운드 애퍼추어(118)는 공동(117)의 단부에 형성된다. 제 2 사운드 애퍼추어(119)는 도면에 나타난 바와 같이, 힌지 장치(110)의 대향하는 단부에 형성될 수도 있다.The design of FIGS. 11 and 12 uses a
도 12에서, 힌지 장치(110)는 오목한 부분(116) 내로 돌출부(115)의 도입에 의해 조립된다. 단말기 부재(11,12)는 예를 들어, 제 2 단말기 부재(12)의 측면으로부터 오목한 부분(116)의 하부를 통과하여 도입되는 돌출부(115) 및 말단 플러그 부재(도시되지 않음) 사이에 연속되어 맞물림으로써 힌지 장치에서 서로 견고해질 수도 있다. 대안으로, 돌출 부재(115)는 오목한 부분(116)에 맞물려서 떨어지지 않을 수도 있다. 돌출 부재(115)의 중앙 축은 도 12에서 일점 쇄선으로 나타내지는 힌지 장치(110)에 대한 회전축을 한정한다.In FIG. 12, the
도 13 및 도 14는 본 발명의 실시예에 따라, 힌지 공동(117) 내에 장착된 스피커를 사용하는 힌지 장치(110)에 대한 다른 예시적인 디자인을 도시한다. 이런 실시예는 특히 도 7 및 도 8의 단말기(70)에 적용할 수 있다. 그러나 그것은 도 18의 단말기에 동등하게 물론 적용할 수 있다. 도 13은 조립되지 않은 상태에서 힌지 장치(130)를 도시하고, 도 14는 조립된 경우 동일한 힌지 장치(130)를 도시한다.13 and 14 show another exemplary design for the
스피커를 제외하고, 도 13 및 도 14의 디자인은 도 11 및 도 12의 실시예와 같은 동일한 기본 디자인을 사용한다. 돌출부(135)는 제 1 단말기 부재(71)로부터 힌지 회전축을 따라 신장한다. 일치하는 오목한 부분(136)은 제 2 단말기 부재(72)에 형성된다. 힌지 장치(130)의 조립은 도 13에서 일점 쇄선으로 나타내진 방법으로, 돌출부(115)를 오목한 부분(116) 내로 도입함으로써 도 14에서 나타내지는 조립된 상태로 성취된다. 공동(75)은 힌지 장치(130)에 형성되는데, 공동(75)은 이런 실시예에서 실질적으로 힌지를 통과하는 모든 방향으로, 특히 돌출부(135) 내로 신장한다. 공동(75)은 원통형이 바람직하고, 가는 봉 형태의 스피커(74)를 수용한다. 여기서 반복되는 슬롯의 형태로 도시되는 제 1 사운드 애퍼추어는 공동(75)의 단부에 형성된다. 제 2 사운드 애퍼추어는 도면에 나타내진 바와 같이, 힌지 장치(130)의 대향하는 단부에 형성될 수도 있다. 대안 실시예에서, 사운드 애퍼추어는 도 9의 사운드 애퍼추어와 같이 측면부 상에 배치된다.Except for the speakers, the designs of FIGS. 13 and 14 use the same basic design as the embodiment of FIGS. 11 and 12. The
도 14에서, 힌지 장치(130)는 돌출부(135)를 오목한 부분(136)으로 도입함으로써 조립된다. 도 2를 참조하여 논의된 어떤 방법에 의해 단말기 부재(71,72)는 힌지 장치에서 서로 견고하게 될 수도 있다. 돌출 부재(135)의 중앙축은 도 14에서 일점 쇄선으로 나타내지는 힌지 장치(130)에 대한 회전축을 한정한다.In FIG. 14, the
상술은 본 발명의 바람직한 실시예 및 작동 방법의 원리를 설명한다. 그러나 본 발명은 상술된 특정 실시예에 제한된 바와 같이 바로 해석되지 않아야만 한다. 본 발명에 따르는 힌지 장치의 도시된 특정 실시예는 본 발명에 적게 관련된 요소 및 기능을 제외하고는, 자세히 나타낸 것은 주의할 만하다. 이런 요소 및 기능은 예를 들어, 접힌 상태 또는 펼쳐진 상태에서, 단말기 부재를 바이어스 하도록 고안된 용수철 부재를 포함할 수도 있다. 게다가, 단말기 부재 중 하나는 간단한 보호 덮개일 수도 있다. 그러나 두 개의 단말기 부재가 전기적인 요소를 지닌다면, 단말기 부재 사이에 데이터 신호 및 전원을 지연하도록 통신 연결의 몇몇 유형은 힌지 장치에 통합되어야만 한다. 여기서 도시된 이러한 것들 외에 다른 힌지 실시예 및 조립 방법이 사용될 수 있다는 것이 언급된다. 한 예는, 단말기 부재 중 하나가 다른 단말기 부재의 회전축에 대해 조립되는 두 개의 반쪽으로 나누어질 수 있다. 그러므로 상술된 실시예는 한정하는 것이 아니라 오히려 도시된 바로 여겨져야만 하 고, 변형은 첨부된 청구항에서 한정된 바와 같이 본 발명의 범위로부터 벗어나지 않고 당업자에 의해 이러한 실시예에서 행해질 수도 있다는 것을 인식해야만 한다.The foregoing describes the principles of preferred embodiments of the present invention and methods of operation. However, the present invention should not be interpreted immediately as limited to the specific embodiments described above. It is noteworthy that the particular illustrated embodiment of the hinge device according to the invention has been shown in detail, except for elements and functions which are less relevant to the invention. Such elements and functions may include a spring member designed to bias the terminal member, for example in a folded or unfolded state. In addition, one of the terminal members may be a simple protective cover. However, if the two terminal members have electrical elements, some type of communication connection must be integrated in the hinge device to delay the data signal and power between the terminal members. It is mentioned that other hinge embodiments and assembly methods can be used in addition to those shown here. One example may be divided into two halves in which one of the terminal members is assembled about the axis of rotation of the other terminal member. It is therefore to be understood that the foregoing embodiments are not to be considered as limiting, but rather as shown, and that modifications may be made in these embodiments by those skilled in the art without departing from the scope of the invention as defined in the appended claims.
| Application Number | Priority Date | Filing Date | Title | 
|---|---|---|---|
| EP03445091AEP1496676B1 (en) | 2003-07-09 | 2003-07-09 | Speaker arrangement for foldable terminals | 
| EP03445091.6 | 2003-07-09 | ||
| US49151203P | 2003-07-31 | 2003-07-31 | |
| US60/491,512 | 2003-07-31 | ||
| PCT/EP2004/051124WO2005006715A2 (en) | 2003-07-09 | 2004-06-16 | Speaker arrangement for foldable terminals | 
| Publication Number | Publication Date | 
|---|---|
| KR20060032195A KR20060032195A (en) | 2006-04-14 | 
| KR101089473B1true KR101089473B1 (en) | 2011-12-07 | 
| Application Number | Title | Priority Date | Filing Date | 
|---|---|---|---|
| KR1020067000396AExpired - Fee RelatedKR101089473B1 (en) | 2003-07-09 | 2004-06-16 | Speaker arrangement for foldable terminals | 
| Country | Link | 
|---|---|
| JP (1) | JP4571632B2 (en) | 
| KR (1) | KR101089473B1 (en) | 
| BR (1) | BRPI0412135A (en) | 
| WO (1) | WO2005006715A2 (en) | 
| Publication number | Priority date | Publication date | Assignee | Title | 
|---|---|---|---|---|
| US9781257B2 (en) | 2000-01-19 | 2017-10-03 | Sony Mobile Communications Ab | Technique for obtaining caller-originated alert signals in IP-based communication sessions | 
| JP4628896B2 (en)* | 2005-07-28 | 2011-02-09 | 京セラ株式会社 | Mobile terminal device | 
| KR100724116B1 (en)* | 2005-08-24 | 2007-06-04 | 엘지전자 주식회사 | Mobile communication terminal with built-in antenna | 
| US7729721B2 (en)* | 2005-09-16 | 2010-06-01 | Lg Electronics Inc. | Antenna integrated speaker assembly, manufacturing method thereof, and wireless communication device having the same | 
| US7756284B2 (en) | 2006-01-30 | 2010-07-13 | Songbird Hearing, Inc. | Hearing aid circuit with integrated switch and battery | 
| USD554756S1 (en) | 2006-01-30 | 2007-11-06 | Songbird Hearing, Inc. | Hearing aid | 
| US7756285B2 (en) | 2006-01-30 | 2010-07-13 | Songbird Hearing, Inc. | Hearing aid with tuned microphone cavity | 
| US20090156273A1 (en)* | 2007-12-14 | 2009-06-18 | Sony Ericsson Mobile Communications Ab | Loudspeaker for a Clamshell Wireless Communication Device | 
| US9973852B1 (en) | 2016-12-14 | 2018-05-15 | Microsoft Technology Licensing, Llc | Device having updated acoustic response based on hinge angle | 
| CN111770221B (en) | 2020-07-07 | 2021-07-16 | 维沃移动通信有限公司 | Electronic equipment | 
| Publication number | Priority date | Publication date | Assignee | Title | 
|---|---|---|---|---|
| JP2001500689A (en) | 1996-09-10 | 2001-01-16 | エリクソン インコーポレイテッド | Telephone with closed voice passage via flip cover hinge | 
| JP2001211241A (en) | 2000-01-28 | 2001-08-03 | Sanyo Electric Co Ltd | Flip-type mobile phone | 
| JP2003051871A (en) | 2001-08-06 | 2003-02-21 | Sony Corp | Foldable portable communication terminal | 
| JP2003198696A (en) | 2001-12-26 | 2003-07-11 | Foster Electric Co Ltd | Mobile phone | 
| Publication number | Priority date | Publication date | Assignee | Title | 
|---|---|---|---|---|
| DE3926153A1 (en)* | 1989-08-08 | 1991-02-14 | Ottmar Haberkern | PICTURE DEVICE WITH FOLDABLE FLAT SCREEN | 
| FR2703550B1 (en)* | 1993-03-30 | 1995-05-24 | Sagem | Portable radio with amplified listening. | 
| KR100204948B1 (en)* | 1996-07-03 | 1999-06-15 | 김광호 | Note PC with speaker cover structure | 
| JP4396043B2 (en)* | 2001-02-06 | 2010-01-13 | カシオ計算機株式会社 | Electronics | 
| JP2002344602A (en)* | 2001-05-22 | 2002-11-29 | Mitsubishi Electric Corp | Portable equipment | 
| WO2003007651A1 (en)* | 2001-07-11 | 2003-01-23 | Matsushita Electric Industrial Co., Ltd. | Mobile communication terminal and electro-acoustic transducer used for the same | 
| Publication number | Priority date | Publication date | Assignee | Title | 
|---|---|---|---|---|
| JP2001500689A (en) | 1996-09-10 | 2001-01-16 | エリクソン インコーポレイテッド | Telephone with closed voice passage via flip cover hinge | 
| JP2001211241A (en) | 2000-01-28 | 2001-08-03 | Sanyo Electric Co Ltd | Flip-type mobile phone | 
| JP2003051871A (en) | 2001-08-06 | 2003-02-21 | Sony Corp | Foldable portable communication terminal | 
| JP2003198696A (en) | 2001-12-26 | 2003-07-11 | Foster Electric Co Ltd | Mobile phone | 
| Publication number | Publication date | 
|---|---|
| WO2005006715A2 (en) | 2005-01-20 | 
| BRPI0412135A (en) | 2006-08-15 | 
| WO2005006715A3 (en) | 2005-02-10 | 
| JP2007527131A (en) | 2007-09-20 | 
| JP4571632B2 (en) | 2010-10-27 | 
| KR20060032195A (en) | 2006-04-14 | 
| Publication | Publication Date | Title | 
|---|---|---|
| CN1666565B (en) | Loudspeaker arrangement for communication terminals | |
| US7107016B2 (en) | Component for a wireless communication terminal constituting an antenna, loudspeaker and ringer | |
| CN100539612C (en) | Speaker assembly and mobile terminal including the same | |
| EP1970792B1 (en) | Portable terminal with a large display | |
| EP1758348A2 (en) | Mobile terminal with internal antenna structure having a sound resonance chamber | |
| KR100689486B1 (en) | Speaker device of clamshell portable terminal using resonance space | |
| CN100355259C (en) | Structural arrangement for a wireless communication terminal including loudspeaker and earphone | |
| JP2003069441A (en) | Foldable mobile phone | |
| KR101089473B1 (en) | Speaker arrangement for foldable terminals | |
| WO2005099302A1 (en) | A communications unit with arrangement for loud reproduction of sound | |
| JPH1127356A (en) | Communication equipment especially as telephone set | |
| JP2005286874A (en) | Electronic communication device | |
| CN115967900B (en) | Electronic equipment | |
| CN102204274A (en) | Electronic devices including substrate mounted acoustic actuators and related methods and mobile radiotelephones | |
| EP1770964A2 (en) | Speaker device for portable terminal and portable terminal comprising the same | |
| US8599073B2 (en) | Mobile terminal device | |
| KR101202236B1 (en) | Portable phone having speaker | |
| US20070123294A1 (en) | Speaker device for portable terminal using antenna mounting space | |
| KR100510355B1 (en) | Folder-type mobile phone with piezo speaker | |
| EP1496676B1 (en) | Speaker arrangement for foldable terminals | |
| KR100834640B1 (en) | Speaker device of slim portable terminal providing resonance space | |
| JP4705527B2 (en) | Mobile terminal device | |
| KR20040042477A (en) | Cellular Phone With Stereo Sound Function | |
| KR200357154Y1 (en) | a single unit receiver and speaker for mobile phone | |
| KR20070042845A (en) | Mobile terminal with external exposed speaker | 
| Date | Code | Title | Description | 
|---|---|---|---|
| PA0105 | International application | St.27 status event code:A-0-1-A10-A15-nap-PA0105 | |
| PG1501 | Laying open of application | St.27 status event code:A-1-1-Q10-Q12-nap-PG1501 | |
| R18-X000 | Changes to party contact information recorded | St.27 status event code:A-3-3-R10-R18-oth-X000 | |
| R17-X000 | Change to representative recorded | St.27 status event code:A-3-3-R10-R17-oth-X000 | |
| A201 | Request for examination | ||
| P11-X000 | Amendment of application requested | St.27 status event code:A-2-2-P10-P11-nap-X000 | |
| P13-X000 | Application amended | St.27 status event code:A-2-2-P10-P13-nap-X000 | |
| PA0201 | Request for examination | St.27 status event code:A-1-2-D10-D11-exm-PA0201 | |
| E902 | Notification of reason for refusal | ||
| PE0902 | Notice of grounds for rejection | St.27 status event code:A-1-2-D10-D21-exm-PE0902 | |
| T11-X000 | Administrative time limit extension requested | St.27 status event code:U-3-3-T10-T11-oth-X000 | |
| T11-X000 | Administrative time limit extension requested | St.27 status event code:U-3-3-T10-T11-oth-X000 | |
| P11-X000 | Amendment of application requested | St.27 status event code:A-2-2-P10-P11-nap-X000 | |
| P13-X000 | Application amended | St.27 status event code:A-2-2-P10-P13-nap-X000 | |
| E701 | Decision to grant or registration of patent right | ||
| PE0701 | Decision of registration | St.27 status event code:A-1-2-D10-D22-exm-PE0701 | |
| GRNT | Written decision to grant | ||
| PR0701 | Registration of establishment | St.27 status event code:A-2-4-F10-F11-exm-PR0701 | |
| PR1002 | Payment of registration fee | St.27 status event code:A-2-2-U10-U12-oth-PR1002 Fee payment year number:1 | |
| PG1601 | Publication of registration | St.27 status event code:A-4-4-Q10-Q13-nap-PG1601 | |
| PN2301 | Change of applicant | St.27 status event code:A-5-5-R10-R13-asn-PN2301 St.27 status event code:A-5-5-R10-R11-asn-PN2301 | |
| FPAY | Annual fee payment | Payment date:20141023 Year of fee payment:4 | |
| PR1001 | Payment of annual fee | St.27 status event code:A-4-4-U10-U11-oth-PR1001 Fee payment year number:4 | |
| FPAY | Annual fee payment | Payment date:20151023 Year of fee payment:5 | |
| PR1001 | Payment of annual fee | St.27 status event code:A-4-4-U10-U11-oth-PR1001 Fee payment year number:5 | |
| R18-X000 | Changes to party contact information recorded | St.27 status event code:A-5-5-R10-R18-oth-X000 | |
| P22-X000 | Classification modified | St.27 status event code:A-4-4-P10-P22-nap-X000 | |
| FPAY | Annual fee payment | Payment date:20161025 Year of fee payment:6 | |
| PR1001 | Payment of annual fee | St.27 status event code:A-4-4-U10-U11-oth-PR1001 Fee payment year number:6 | |
| FPAY | Annual fee payment | Payment date:20171025 Year of fee payment:7 | |
| PR1001 | Payment of annual fee | St.27 status event code:A-4-4-U10-U11-oth-PR1001 Fee payment year number:7 | |
| P22-X000 | Classification modified | St.27 status event code:A-4-4-P10-P22-nap-X000 | |
| LAPS | Lapse due to unpaid annual fee | ||
| PC1903 | Unpaid annual fee | St.27 status event code:A-4-4-U10-U13-oth-PC1903 Not in force date:20181129 Payment event data comment text:Termination Category : DEFAULT_OF_REGISTRATION_FEE | |
| PC1903 | Unpaid annual fee | St.27 status event code:N-4-6-H10-H13-oth-PC1903 Ip right cessation event data comment text:Termination Category : DEFAULT_OF_REGISTRATION_FEE Not in force date:20181129 |