



도 1은 일반적인 UPnP 네트워크의 구성을 개략적으로 나타낸 것이고,1 schematically shows a configuration of a general UPnP network,
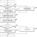
도 2는 본 발명의 제1 실시예에 따라 UPnP AV CDS 서비스를 통해 얻은 미디어 URL로부터 SMIL 문서가 있는 URL을 추출하여 해당 정보를 얻는 방법을 설명하기 위한 동작 흐름도이며,FIG. 2 is a flowchart illustrating a method of extracting a URL having a SMIL document from a media URL obtained through a UPnP AV CDS service and obtaining corresponding information according to the first embodiment of the present invention.
도 3은 본 발명의 제2 실시예에 따라 CDS의 미디어 컨텐츠 데이터에 URL 혹은 Object ID를 새로운 "XML element"나 "Attribute"로 포함시켜 함께 재생하는 방법을 설명하기 위한 도면이고,FIG. 3 is a view for explaining a method of including a URL or an Object ID as a new "XML element" or an "Attribute" in the media content data of the CDS according to the second embodiment of the present invention, and playing them together.
도 4는 본 발명의 제3 실시예에 따라 CDS에 새로운 액션을 추가하여 자막과 관련된 컨텐츠를 동시에 재생하는 방법을 설명하기 위한 도면이다.
4 is a diagram for describing a method of simultaneously playing content associated with a subtitle by adding a new action to a CDS according to a third embodiment of the present invention.
< 도면의 주요 부분에 대한 부호의 설명 ><Description of Symbols for Main Parts of Drawings>
CDS : Content Directory ServiceCDS: Content Directory Service
SMIL : Synchronized Multimedia Intergration LanguageSMIL: Synchronized Multimedia Intergration Language
본 발명은 유피앤피 에이브이를 이용한 멀티미디어 자막 재생 방법에 관한 것으로서, 더욱 상세하게는 유피앤피 에이브이(UPnP A/V) 서버에 있는 서로 다른 멀티미디어 관련 파일과, 피씨(PC:Personal Computer)에 있는 자막 파일을 동기화하여 원격지 재생기(Player)로 함께 전송하여 재생하도록 하는 유피앤피 에이브이를 이용한 멀티미디어 자막 재생 방법에 관한 것이다.
The present invention relates to a method for playing multimedia subtitles using UBP A, and more particularly, to a multimedia related file in a UPnP A / V server and a subtitle file in a PC (Personal Computer). The present invention relates to a method for playing multimedia subtitles by using a UAV AV to synchronize and transmit them to a remote player.
일반적으로, UPnP 네트워크는 도 1에 도시된 바와 같이 미디어 재생 서비스를 제공해 주는 디바이스(Device)들과, 각 디바이스들을 제어하는 컨트롤 포인트(이하, CP)로 이루어져 있다. 사용자는 CP가 제공해주는 인터페이스를 통하여 각종 디바이스들을 찾아내어 제어한다. UPnP AV 디바이스는 미디어 데이터를 제공하는 미디어 서버(Media Server:1a)와, 미디어를 재생하는 미디어 렌더러(Renderer:1b)가 있다. CP(1c)는 미디어 서버(1a)와 미디어 렌더러(1b)의 두 디바이스를 제어한다. 이러한 미디어 스트리밍(Streaming)을 위한 다양한 기술들이 출시되어 있고, UPnP AV에서는 스트리밍을 위해 "Out-Of-Band Transfer Protocol"과 같은 기존의 기술들을 이용하고 있다.In general, the UPnP network includes a device for providing a media playback service as shown in FIG. 1, and a control point (hereinafter, CP) for controlling each device. The user finds and controls various devices through an interface provided by the CP. The UPnP AV device includes a media server (Media Server: 1a) that provides media data and a media renderer (Renderer: 1b) that plays media. The CP 1c controls two devices, the
UPnP AV에서는 CP(1c)가 미디어 서버(1a)의 "Content Directory Service"(이하, CDS)를 이용하여 미디어 서버(1a)가 가지고 있는 미디어 파일에 대한 정보를  열람한다. 미디어 파일에 대한 정보는 미디어 파일의 이름, 포맷, 크기, 관람시간, URL, 종류 등의 정보를 포함한다.In UPnP AV, the CP 1c browses the information on the media file owned by the
그런데, UPnP AV 미디어 서버 디바이스에서는 CDS 서비스를 통해 미디어 서버(1a)가 가지고 있는 미디어 파일에 대한 다양한 정보를 UPnP AV 컨트롤 포인트(CP)에게 제공한다. 그러나 두 개 이상의 미디어 파일의 상호 작용에 대한 정보 또는 자막에 관련된 정보는 지원하지 않고 있는 문제점이 있다.However, the UPnP AV media server device provides the UPnP AV control point CP with various information on the media file owned by the
한편, SMIL(Synchronized Multimedia Integration Language)을 이용하면, 웹사이트 개설자들은 비디오, 사운드 및 정지화상 등 웹상의 표현이나 상호작용을 위한 멀티미디어 요소들을 쉽게 정의하고 동기화할 수 있다. 현재, 웹 기술의 경우, 비록 동영상이나 정지화상 및 사운드 등을 사용자에게 전달할 수 있지만, 각 요소는 다른 것들과 분리되어 있으며, 정교한 프로그래밍이 없이는 다른 요소들과 상호작용하지 못한다. SMIL은 사이트 개설자들이 여러 편의 영화나 정지화상들 그리고 사운드 등을 분리해서 보내더라도, 보여지는 시기를 조절할 수 있도록 해준다. 각 매체별 객체는 고유한 URL에 의해 액세스되는데, 이는 프레젠테이션들이 하나 이상의 장소로부터 도착하는 객체들로 만들어질 수 있다는 것과, 또한 그 객체들은 여러 프레젠테이션들에서 쉽게 재사용될 수 있다는 것을 의미한다. SMIL 문장들은 단순하며, HTML 페이지를 만드는 데 사용되는 것과 비슷한 텍스트 편집기로 입력할 수 있다. 프레젠테이션은 오직 3개의 XML 요소들을 이용하여 표현될 수 있다.Synchronized Multimedia Integration Language (SMIL), on the other hand, allows website creators to easily define and synchronize multimedia elements for expression or interaction on the Web, such as video, sound, and still images. Currently, in the case of web technology, although video, still pictures, and sound can be delivered to the user, each element is separated from the others, and cannot be interacted with other elements without sophisticated programming. SMIL allows site creators to control when they're shown, even if they send multiple movies, stills, and sounds separately. Each media-specific object is accessed by a unique URL, which means that presentations can be made of objects arriving from one or more places, and that objects can also be easily reused in multiple presentations. SMIL statements are simple and can be typed in a text editor similar to the one used to create HTML pages. A presentation can be represented using only three XML elements.
따라서, SMIL을 이용하면 다양한 멀티미디어 데이터의 동기화를 지원하고 동영상에 대한 자막 정보를 제공해 줄 수 있다.
Therefore, SMIL can support the synchronization of various multimedia data and provide subtitle information for a video.
상기 문제점을 해결하기 위해 본 발명은, 유피앤피 에이브이(UPnP A/V) 서버에 있는 서로 다른 멀티미디어 관련 파일과, 피씨(PC)에 있는 자막 파일을 동기화하여 원격지 재생기로 함께 전송하여 재생하도록 하는 유피앤피 에이브이를 이용한 멀티미디어 자막 재생 방법을 제공함에 그 목적이 있다.
In order to solve the above problems, the present invention provides a method for synchronizing different multimedia-related files in a UPnP A / V server and a subtitle file in a PC to be transmitted and played together with a remote player. An object of the present invention is to provide a method for playing multimedia subtitles using PNP AV.
상기 목적을 달성하기 위한 본 발명에 따른 유피앤피 에이브이를 이용한 멀티미디어 자막 재생 방법은, 미디어 서버로부터 컨텐츠 디렉토리 서비스를 통해, 재생하기 원하는 미디어의 유알엘 정보를 얻는 제1 단계; 상기 미디어의 유알엘 정보를 SMIL 정보의 유알엘로 변환하는 제2 단계; 및 상기 미디어를 상기 SMIL 정보에 따라 자막과 함께 재생하는 제3 단계를 포함하는 것을 특징으로 한다.According to an aspect of the present invention, there is provided a method for reproducing multimedia subtitles using a UAV AV. Converting the UEL information of the media into the UEL of SMIL information; And a third step of playing the media along with the subtitles according to the SMIL information.
또한, 본 발명의 제 2 목적에 따른 유피앤피 에이브이를 이용한 멀티미디어 자막 재생 방법은, 컨텐츠 디렉토리 서비스에서 특정 미디어와 관련 있는 다른 미디어의 오브젝트의 참조와, SMIL 정보를 표현하는 오브젝트에 대한 참조를 얻어서 해당 자막 정보를 얻어오는 제1 단계; 및 상기 특정 미디어에 상기 자막 정보를 포함시켜 함께 재생하는 제2 단계를 포함하는 것을 특징으로 한다.In addition, according to the second aspect of the present invention, a method for playing multimedia subtitles using a UAV AV is obtained by obtaining a reference to an object of another media related to a specific media and a reference to an object representing SMIL information in a content directory service. A first step of obtaining subtitle information; And a second step of including the caption information in the specific media and playing the caption information together.
또한, 본 발명의 제 3 목적에 따른 유피앤피 에이브이를 이용한 멀티미디어 자막 재생 방법은, 컨텐츠 디렉토리 서비스에 새로운 액션을 추가하여 특정 미디어  데이터에 대하여 해당 SMIL 정보와 상호 작용하는 다른 미디어 데이터에 대한 자막 정보를 얻어오는 제1 단계; 및 상기 특정 미디어 데이터에 상기 자막 정보를 포함시켜 함께 재생하는 제2 단계를 포함하는 것을 특징으로 한다.
In addition, according to the third aspect of the present invention, a method of playing multimedia subtitles using a UAV AV is provided by adding a new action to a content directory service to provide subtitle information of other media data interacting with the corresponding SMIL information for specific media data. Obtaining a first step; And a second step of including the caption information in the specific media data and playing the caption information together.
이하, 본 발명의 바람직한 실시예를 첨부된 도면들을 참조하여 상세히 설명한다.Hereinafter, exemplary embodiments of the present invention will be described in detail with reference to the accompanying drawings.
우선 각 도면의 구성요소들에 참조부호를 부가함에 있어서, 동일한 구성요소들에 대해서는 비록 다른 도면상에 표시되더라도 가능한 한 동일한 부호를 가지도록 하고 있음에 유의해야 한다.First of all, in adding reference numerals to the components of each drawing, it should be noted that the same reference numerals are used as much as possible even if displayed on different drawings.
또한, 본 발명을 설명함에 있어, 관련된 공지 구성 또는 기능에 대한 구체적인 설명이 본 발명의 요지를 흐릴 수 있다고 판단되는 경우에는 그 상세한 설명은 생략한다.
In addition, in describing the present invention, when it is determined that the detailed description of the related well-known configuration or function may obscure the gist of the present invention, the detailed description thereof will be omitted.
도 2는 본 발명의 실시예에 따라 UPnP AV CDS 서비스를 통해 얻은 미디어 URL로부터 SMIL 문서가 있는 URL을 추출하여 해당 정보를 얻는 방법을 설명하기 위한 동작 흐름도이다.2 is a flowchart illustrating a method of extracting a URL having a SMIL document from a media URL obtained through a UPnP AV CDS service and obtaining corresponding information according to an embodiment of the present invention.
먼저, 미디어 서버(1a)나 미디어 렌더러(1b) 등을 제어하는 컨트롤 포인트(1c)는 URL 변환 방법을 인식하고 있는지를 판단한다(S202).First, the control point 1c controlling the
URL 변환 방법을 알고 있는 경우, 컨트롤 포인트(1c)는 CDS 서비스를 통해 사용자의 선택에 의한 재생하기 원하는 동영상 등의 미디어 URL 정보를 얻는다 (S204).If the URL conversion method is known, the control point 1c obtains media URL information such as a moving picture to be played back by the user's selection through the CDS service (S204).
이때, URL 변환 방법을 알고 있지 못한 경우에, 컨트롤 포인트(1c)는 미디어 서버(1a)로부터 URL 변환 방법을 얻게 된다(S220).At this time, when the URL conversion method is not known, the control point 1c obtains the URL conversion method from the
URL 변환 방법을 얻은 컨트롤 포인트(1c)는 동영상에 대한 미디어 URL 정보를 URL 변환 방법을 통해 SMIL 정보의 URL 정보로 변환하여 자막에 대한 URL 정보를 얻는다(S206).The control point 1c having obtained the URL conversion method converts the media URL information of the video into the URL information of the SMIL information through the URL conversion method to obtain the URL information of the subtitle (S206).
이어, SMIL 정보의 URL 정보를 근거로 자막 데이터와 미디어 데이터를 미디어 렌더러(1b) 등의 재생기로 전송한다(S208).Subsequently, the caption data and the media data are transmitted to the player such as the media renderer 1b based on the URL information of the SMIL information (S208).
SMIL 정보에 따라 자막 데이터와 미디어 데이터의 전송이 성공하면(S210), 미디어 렌더러(1b) 등의 재생기에서 해당 자막 데이터와 함께 미디어 데이터를 재생하게 된다(S212). 여기서, 간단한 변환 방식의 경우, URL 마지막 부분의 파일 확장자만 바꾸게 되는데, 예컨대, 확장자가 ".mpg"인 경우 ".smi"로 바꾸고, 나머지 URL은 그대로 사용하게 되는 것이다.If transmission of the caption data and the media data is successful according to the SMIL information (S210), the media data is reproduced together with the caption data by the player such as the media renderer 1b (S212). Here, in the simple conversion method, only the file extension of the last part of the URL is changed. For example, when the extension is ".mpg", it is changed to ".smi", and the remaining URL is used as it is.
그러나, SMIL 정보에 따라 자막 데이터의 전송이 실패한 경우, 미디어 렌더러(1b) 등의 재생기에서는 미디어 데이터만 재생하게 된다(S222).
However, when the subtitle data transmission fails according to the SMIL information, only the media data is played by the player such as the media renderer 1b (S222).
도 3은 본 발명의 제2 실시예에 따라 CDS의 미디어 컨텐츠 데이터에 URL 혹은 Object ID를 새로운 "XML element"나 "Attribute"로 포함시켜 함께 재생하는 방법을 설명하기 위한 도면이다.FIG. 3 is a view for explaining a method of including a URL or an Object ID as a new "XML element" or an "Attribute" in the media content data of the CDS according to the second embodiment of the present invention to play together.
도 3의 경우, CDS 서비스에서 특정 미디어와 관련 있는 다른 미디어의 오브 젝트(Object)의 참조(Reference)와, SMIL 문서를 표현하는 오브젝트에 대한 참조를 얻어서 해당 자막 정보를 얻어오는 것이다.In the case of FIG. 3, the subtitle information is obtained by obtaining a reference to an object of another media related to a specific media and a reference to an object representing an SMIL document in the CDS service.
이 경우, UPnP AV의 CDS 서비스 내에서 XML로 표현되는 미디어 컨텐츠의 메타 데이터에 자막이나 함께 재생될 수 있는 다른 미디어 컨텐츠를 지시하는 참조(Reference)를 추가하게 된다.In this case, a reference indicating a subtitle or other media content that can be reproduced together is added to the metadata of media content expressed as XML in the CDS service of UPnP AV.
도 3에서, 'E'는 XML Element 태그를 표시하며, 'A'는 Attribute를 나타낸다. 나머지 Tag와 Attribute는 이미 UPnP AV의 CDS 서비스에서 정의된 부분이며, (a)와 (b)가 본 발명에 따라 추가된 부분이다. 도 3에서 (a)는 "SMILInfoURL"이란 이름을 갖는 태그로서, 해당 컨텐츠의 자막이 위치한 URL을 표시한다. (b)는 "MediaReferenceObjectIDList"란 이름을 갖는 태그로서, 이 컨텐츠와 연계된 컨텐츠들을 지시하는 Object ID들의 목록을 갖는 스트링이다. 여기서, Object ID는 CDS에 저장된 컨텐츠 각각에 대해 Unique하게 부여되는 ID이다. 따라서, 이 Object ID들의 리스트에서 지시되는 미디어 켄텐츠들을 동시에 재생할 수 있게 된다. 도 3에서 아래 작은 box 는 (a)에 표시된 <res> 란 태그를 펼친 것이다.In FIG. 3, 'E' represents an XML Element tag, and 'A' represents an Attribute. The remaining tags and attributes are already defined in the CDS service of UPnP AV, and (a) and (b) are added according to the present invention. In FIG. 3, (a) is a tag named "SMILInfoURL" and indicates the URL where the subtitle of the corresponding content is located. (b) is a tag named "MediaReferenceObjectIDList" and is a string having a list of Object IDs indicating contents associated with the contents. Here, the Object ID is an ID uniquely assigned to each of the contents stored in the CDS. Thus, it is possible to simultaneously play back the media contents indicated in the list of Object IDs. In FIG. 3, the small box below shows the <res> tag shown in (a).
도 3에서 (a)와 (b)의 추가 정보는 CDS의 Browse 액션을 통해 컨트롤 포인트(1c)가 얻게 된다.
In FIG. 3, additional information of (a) and (b) is obtained by the control point 1c through the Browse action of the CDS.
도 4는 본 발명의 제3 실시예에 따라 CDS에 새로운 액션을 추가하여 자막과 관련된 컨텐츠를 동시에 재생하는 방법을 설명하기 위한 도면이다.4 is a diagram for describing a method of simultaneously playing content associated with a subtitle by adding a new action to a CDS according to a third embodiment of the present invention.
본 발명의 제3 실시예는 CDS 서비스에 새로운 액션을 추가하여 특정 미디어 데이터에 대하여 해당 SMIL 문서와 상호 작용하는 다른 미디어 데이터에 대한 관련 자막 정보를 얻어오는 방법이다. 따라서, 하나의 실시예이기 때문에 액션 이름이나 인자 개수, 종류 등에는 차이가 있을 수 있다.A third embodiment of the present invention is a method of adding new actions to a CDS service to obtain related subtitle information for other media data interacting with a corresponding SMIL document for a particular media data. Therefore, since there is one embodiment, the action name, the number of arguments, the type, etc. may be different.
도 4에서, "GetMediaSyncInfo"라는 액션은 컨텐츠 아이템 하나를 지시하는 Object ID를 입력 파라미터로 하며, 리턴 파라미터에는 자막 URL을 포함하는 "SMILInfoURL"과 미디어 Object들의 목록을 포함한 "MediaReferenceObjectIDList"가 있다.In FIG. 4, an action called "GetMediaSyncInfo" has an Object ID indicating one content item as an input parameter, and return parameters include "SMILInfoURL" including a caption URL and "MediaReferenceObjectIDList" including a list of media objects.
여기서, 두 출력 파라미터의 역할은 도 3의 추가 태그와 동일하다. 그러나 도 3의 차이점은 도 3에서는 Browse 액션을 통하여 추가 태그에 담긴 정보를 추출하지만, 도 4에서는 추가의 액션을 통하여 자막 정보를 얻어온다는 것이다. 즉, 정보 추출의 메커니즘만 다를 뿐이다.
Here, the role of the two output parameters is the same as the additional tag of FIG. However, the difference of FIG. 3 is that in FIG. 3, the information contained in the additional tag is extracted through the Browse action, but in FIG. 4, subtitle information is obtained through the additional action. In other words, only the mechanism of information extraction is different.
전술한 바와 같이 본 발명에 의하면, 유피앤피 에이브이(UPnP A/V) 서버에 있는 서로 다른 멀티미디어 관련 파일과, 피씨(PC)에 있는 자막 파일을 동기화하여 원격지 재생기로 함께 전송하여 재생하도록 하는 유피앤피 에이브이를 이용한 멀티미디어 자막 재생 방법을 실현할 수 있다.
As described above, according to the present invention, the UMP & P for synchronizing different multimedia-related files in the UPnP A / V server and the subtitle file in the PC to be transmitted together with the remote player for playback. A multimedia subtitle reproduction method using AV can be realized.
이상의 설명은 본 발명의 기술 사상을 예시적으로 설명한 것에 불과한 것으로서, 본 발명이 속하는 기술 분야에서 통상의 지식을 가진 자라면 본 발명의 본질적인 특성에서 벗어나지 않는 범위에서 다양한 수정 및 변형이 가능할 것이다.The foregoing description is merely illustrative of the technical idea of the present invention, and various changes and modifications may be made by those skilled in the art without departing from the essential characteristics of the present invention.
따라서, 본 발명에 개시된 실시예들은 본 발명의 기술 사상을 한정하기 위한 것이 아니라 설명하기 위한 것이고, 이러한 실시예에 의하여 본 발명의 기술 사상의 범위가 한정되는 것은 아니다.Therefore, the embodiments disclosed in the present invention are not intended to limit the technical idea of the present invention but to describe the present invention, and the scope of the technical idea of the present invention is not limited by these embodiments.
본 발명의 보호 범위는 아래의 청구범위에 의하여 해석되어야 하며, 그와 동등한 범위 내에 있는 모든 기술 사상은 본 발명의 권리범위에 포함되는 것으로 해석되어야 할 것이다.
The scope of protection of the present invention should be construed according to the following claims, and all technical ideas falling within the scope of the same shall be construed as falling within the scope of the present invention.
이상에서 설명한 바와 같이 본 발명에 의하면, UPnP AV 기술을 이용하여 멀티미디어 데이터를 재생함에 있어서, 서로 다른 두 개 이상의 미디어 데이터에 대해 SMIL 정보를 이용하여 동기화시켜 재생할 수 있도록 UPnP AV 메커니즘을 확장시켰다. 또한, UPnP AV 서버의 멀티미디어 재생 능력을 향상시킬 뿐만 아니라, UPnP AV를 이용하여 동영상을 재생할 때 자막도 함께 표현할 수 있게 되었다.As described above, according to the present invention, in playing multimedia data using UPnP AV technology, the UPnP AV mechanism is extended to synchronize and reproduce two or more different media data using SMIL information. In addition, the multimedia playback capability of the UPnP AV server can be improved, and subtitles can be expressed together when playing a video using UPnP AV.
| Application Number | Priority Date | Filing Date | Title | 
|---|---|---|---|
| KR1020050000684AKR101063765B1 (en) | 2005-01-05 | 2005-01-05 | How to play multimedia subtitles using UBP AV | 
| Application Number | Priority Date | Filing Date | Title | 
|---|---|---|---|
| KR1020050000684AKR101063765B1 (en) | 2005-01-05 | 2005-01-05 | How to play multimedia subtitles using UBP AV | 
| Publication Number | Publication Date | 
|---|---|
| KR20060080328A KR20060080328A (en) | 2006-07-10 | 
| KR101063765B1true KR101063765B1 (en) | 2011-09-08 | 
| Application Number | Title | Priority Date | Filing Date | 
|---|---|---|---|
| KR1020050000684AExpired - Fee RelatedKR101063765B1 (en) | 2005-01-05 | 2005-01-05 | How to play multimedia subtitles using UBP AV | 
| Country | Link | 
|---|---|
| KR (1) | KR101063765B1 (en) | 
| Publication number | Priority date | Publication date | Assignee | Title | 
|---|---|---|---|---|
| US20100063970A1 (en)* | 2006-05-19 | 2010-03-11 | Chang Hyun Kim | Method for managing and processing information of an object for presentation of multiple sources and apparatus for conducting said method | 
| Publication number | Priority date | Publication date | Assignee | Title | 
|---|---|---|---|---|
| US20040031058A1 (en)* | 2002-05-10 | 2004-02-12 | Richard Reisman | Method and apparatus for browsing using alternative linkbases | 
| KR100498327B1 (en) | 2002-07-19 | 2005-07-01 | 엘지전자 주식회사 | Method for offer synchronized multimedia integration language in mobile communication terminal | 
| Publication number | Priority date | Publication date | Assignee | Title | 
|---|---|---|---|---|
| US20040031058A1 (en)* | 2002-05-10 | 2004-02-12 | Richard Reisman | Method and apparatus for browsing using alternative linkbases | 
| KR100498327B1 (en) | 2002-07-19 | 2005-07-01 | 엘지전자 주식회사 | Method for offer synchronized multimedia integration language in mobile communication terminal | 
| Publication number | Publication date | 
|---|---|
| KR20060080328A (en) | 2006-07-10 | 
| Publication | Publication Date | Title | 
|---|---|---|
| US11468917B2 (en) | Providing enhanced content | |
| KR102190278B1 (en) | Information processing device, information processing method and program | |
| US7890470B2 (en) | Method and apparatus for synchronizing device providing content directory service with device not providing content directory | |
| EP2801212B1 (en) | Apparatus and method for presentation of content directory in a home network | |
| US8065335B2 (en) | Method for managing and processing information of an object for presentation of multiple sources and apparatus for conducting said method | |
| JP2004215126A (en) | Multilanguage adaptive moving picture delivery system | |
| KR20030062315A (en) | Method, system, and program for creating, recording and distributing digital stream contents | |
| JP5498476B2 (en) | Content distribution apparatus and system | |
| US20050132366A1 (en) | Creating virtual device for universal plug and play | |
| JP5588008B2 (en) | Content conversion apparatus, content conversion method, content conversion program, and content distribution system | |
| KR20140071263A (en) | Method and apparatus for reproducing content using screen composition information | |
| KR101063765B1 (en) | How to play multimedia subtitles using UBP AV | |
| US20140082012A1 (en) | Methods and systems for enhanced access to multimedia contentt | |
| KR101859766B1 (en) | System and method for displaying document content using universal plug and play | |
| CN103227950A (en) | Video file playing method, terminal and server | |
| KR100886149B1 (en) | Method of forming a moving picture by inserting an embedded video into the base picture and a recording medium | |
| KR101710452B1 (en) | Method and apparatus for transmitting/receiving service discovery information in a multimedia transmission system | |
| CN106453255B (en) | Method, UPnP device and system for realizing service continuous playing | |
| EP1862919B1 (en) | Method and apparatus for synchronizing device providing content directory service with device not providing content directory service | |
| US20140081921A1 (en) | Methods and systems for providing access to regions of interest within multimedia content | |
| WO2014010069A1 (en) | Video transmission method, caption display device, and video transmission device | |
| KR101733358B1 (en) | System and method for displaying document content using universal plug and play | |
| KR100747296B1 (en) | How to play a text stream on your home network | |
| KR20070091394A (en) | How to provide media content lyrics in home network | |
| KR101614946B1 (en) | Method and apparatus for playing multymedia contents using link between scenes | 
| Date | Code | Title | Description | 
|---|---|---|---|
| PA0109 | Patent application | St.27 status event code:A-0-1-A10-A12-nap-PA0109 | |
| PG1501 | Laying open of application | St.27 status event code:A-1-1-Q10-Q12-nap-PG1501 | |
| PN2301 | Change of applicant | St.27 status event code:A-3-3-R10-R13-asn-PN2301 St.27 status event code:A-3-3-R10-R11-asn-PN2301 | |
| R18-X000 | Changes to party contact information recorded | St.27 status event code:A-3-3-R10-R18-oth-X000 | |
| R18-X000 | Changes to party contact information recorded | St.27 status event code:A-3-3-R10-R18-oth-X000 | |
| A201 | Request for examination | ||
| PA0201 | Request for examination | St.27 status event code:A-1-2-D10-D11-exm-PA0201 | |
| R17-X000 | Change to representative recorded | St.27 status event code:A-3-3-R10-R17-oth-X000 | |
| D13-X000 | Search requested | St.27 status event code:A-1-2-D10-D13-srh-X000 | |
| D14-X000 | Search report completed | St.27 status event code:A-1-2-D10-D14-srh-X000 | |
| E902 | Notification of reason for refusal | ||
| PE0902 | Notice of grounds for rejection | St.27 status event code:A-1-2-D10-D21-exm-PE0902 | |
| E13-X000 | Pre-grant limitation requested | St.27 status event code:A-2-3-E10-E13-lim-X000 | |
| P11-X000 | Amendment of application requested | St.27 status event code:A-2-2-P10-P11-nap-X000 | |
| P13-X000 | Application amended | St.27 status event code:A-2-2-P10-P13-nap-X000 | |
| E701 | Decision to grant or registration of patent right | ||
| PE0701 | Decision of registration | St.27 status event code:A-1-2-D10-D22-exm-PE0701 | |
| GRNT | Written decision to grant | ||
| PR0701 | Registration of establishment | St.27 status event code:A-2-4-F10-F11-exm-PR0701 | |
| PR1002 | Payment of registration fee | St.27 status event code:A-2-2-U10-U11-oth-PR1002 Fee payment year number:1 | |
| PG1601 | Publication of registration | St.27 status event code:A-4-4-Q10-Q13-nap-PG1601 | |
| FPAY | Annual fee payment | Payment date:20140822 Year of fee payment:4 | |
| PR1001 | Payment of annual fee | St.27 status event code:A-4-4-U10-U11-oth-PR1001 Fee payment year number:4 | |
| PN2301 | Change of applicant | St.27 status event code:A-5-5-R10-R13-asn-PN2301 St.27 status event code:A-5-5-R10-R11-asn-PN2301 | |
| FPAY | Annual fee payment | Payment date:20150824 Year of fee payment:5 | |
| PR1001 | Payment of annual fee | St.27 status event code:A-4-4-U10-U11-oth-PR1001 Fee payment year number:5 | |
| FPAY | Annual fee payment | Payment date:20160824 Year of fee payment:6 | |
| PR1001 | Payment of annual fee | St.27 status event code:A-4-4-U10-U11-oth-PR1001 Fee payment year number:6 | |
| FPAY | Annual fee payment | Payment date:20170814 Year of fee payment:7 | |
| PR1001 | Payment of annual fee | St.27 status event code:A-4-4-U10-U11-oth-PR1001 Fee payment year number:7 | |
| P22-X000 | Classification modified | St.27 status event code:A-4-4-P10-P22-nap-X000 | |
| LAPS | Lapse due to unpaid annual fee | ||
| PC1903 | Unpaid annual fee | St.27 status event code:A-4-4-U10-U13-oth-PC1903 Not in force date:20180903 Payment event data comment text:Termination Category : DEFAULT_OF_REGISTRATION_FEE | |
| PC1903 | Unpaid annual fee | St.27 status event code:N-4-6-H10-H13-oth-PC1903 Ip right cessation event data comment text:Termination Category : DEFAULT_OF_REGISTRATION_FEE Not in force date:20180903 | |
| PN2301 | Change of applicant | St.27 status event code:A-5-5-R10-R13-asn-PN2301 St.27 status event code:A-5-5-R10-R11-asn-PN2301 | |
| P22-X000 | Classification modified | St.27 status event code:A-4-4-P10-P22-nap-X000 |