








본 발명은 자외선 경화장치에 관한 것으로, 더욱 상세하게는 합착 대상 기판에 도포된 실링재를 경화함에 있어, 다른 크기의 기판에 대해서도 탄력적으로 사용이 가능하도록 하여 사용의 편의성이 증대되는 자외선 경화장치에 관한 것이다.The present invention relates to an ultraviolet curing device, and more particularly, to curing a sealing material applied to a substrate to be bonded, to an ultraviolet curing device that can be used elastically for other substrates of different sizes, thereby increasing convenience of use. will be.
엘시디(LCD) 평판표시장치는 컬러필터기판과, TFT 기판을 각각 별도로 제작한 후 두 기판을 합착함으로써 완성된다. 컬러필터(Color filter)기판에는 블랙매트릭스 및 컬러필터와 같은 패턴(Pattern)이 형성되어 있다. TFT 기판에는 TFT 회로와 TFT 회로에 의하여 동작하는 액정이 도포되어 있다.An LCD flat panel display is completed by separately manufacturing a color filter substrate and a TFT substrate, and then bonding the two substrates together. Color filter substrates are formed with patterns such as black matrices and color filters. Liquid crystals that operate by the TFT circuit and the TFT circuit are coated on the TFT substrate.
한편, 두 기판의 합착을 위해서는 이들의 사이에 실링재(SEALANT)가 위치하고, 이를 경화시키는 경화공정이 실시되는데, 이때 사용되는 장치를 자외선 경화장치라 한다.Meanwhile, in order to bond the two substrates, a sealing material (SEALANT) is positioned between them, and a curing process for curing them is performed. The device used at this time is called an ultraviolet curing device.
자외선 경화장치는 별도의 장치인 경우가 있으며, 이 경우 두 기판을 합착하는 합착장치 내에서 가 경화를 실시한 후 독립된 장치에서 완전 경화를 실시하게 된다. 경화장치는 기판의 사이즈(size)가 대형화됨에 따라 동반하여 대형화 되는 추세이다. 그러나 종래의 경화장치는 하나의 특정 기판에 대해 자외선 경화가 가능한 형태로 제작되어 있어, 다른 크기의 기판에 대한 공정이 어려운 문제가 있다.The UV curing device may be a separate device, in which case, after the temporary curing in the bonding device for bonding the two substrates, the complete curing in a separate device. As the size of the substrate increases in size, the curing apparatus increases in size. However, the conventional curing apparatus is manufactured in a form capable of ultraviolet curing for one specific substrate, there is a problem that the process for substrates of different sizes is difficult.
본 발명은 다른 크기의 기판에 대해서도 탄력적인 자외선 경화가 가능한 자외선 경화장치를 제공하기 위한 것이다.The present invention is to provide an ultraviolet curing device capable of elastic ultraviolet curing even for substrates of different sizes.
본 발명에 따른 자외선 경화장치는 자외선 경화장치에 있어서, 기판에 도포된 실링재를 경화하기 위해 상기 기판의 상부에 위치하는 적어도 하나 이상의 경화모듈, 상기 경화모듈이 설치되어 상기 경화모듈을 상기 기판에 도포된 상기 실링재의 경화위치까지 제 1 방향으로 이동 가능하도록 신축되는 제 1 방향 이동부, 상기 제 1 방향 이동부가 연결되어 상기 제 1 방향 이동부가 상기 실링재를 경화시키기 위해 제 2 방향으로 이동 가능하도록 신축되는 제 2 방향 이동부를 포함한다.In the ultraviolet curing device according to the present invention, in the ultraviolet curing device, at least one curing module positioned on the substrate to cure the sealing material applied to the substrate, the curing module is installed to apply the curing module to the substrate A first direction moving part which is stretched and movable in a first direction to a hardened position of the sealant, and the first direction moving part is connected and stretched so that the first direction moving part is movable in a second direction to cure the sealing material And a second direction moving part.
상기 제 1 방향 이동부는, 상기 경화모듈이 설치되는 제 1 이동프레임, 상기 제 1 이동프레임이 신축 가능하도록 지지하는 제 1 고정프레임, 상기 경화모듈을 상기 제 1 이동프레임 상에서 이동 가능하게 하는 제 1 구동 액추에이터, 상기 제 1 고정프레임 상에서 상기 제 1 이동프레임을 신축 가능하게 하는 제 1 신축 액추 에이터를 포함하고, 상기 제 2 방향 이동부는 상기 제 1 이동 프레임 또는 상기 제 1 고정프레임 중 어느 하나에 연결되어 수직 상태를 이루며 신축되는 제 2 이동프레임, 상기 제 2 이동프레임이 신축 가능하도록 지지하는 제 2 고정프레임, 상기 제 2 이동프레임을 상기 제 2 고정프레임 상에서 이동 가능하게 하는 제 2 구동 액추에이터, 상기 제 2 고정 프레임에 상에서 상기 제 2 이동프레임을 신축 가능하게 하는 제 2 신축 액추에이터를 포함한다.The first direction moving part may include a first moving frame in which the curing module is installed, a first fixed frame supporting the first moving frame to be stretchable, and a first moving frame on the first moving frame. A driving actuator and a first telescopic actuator configured to extend and contract the first moving frame on the first fixed frame, wherein the second direction moving part is connected to either the first moving frame or the first fixed frame. And a second moving frame which is stretched and formed in a vertical state, a second fixed frame which supports the second moving frame to be stretchable, a second driving actuator which enables the second moving frame to be movable on the second fixed frame, A second telescopic actuator for telescopicing the second moving frame on a second fixed frame It is.
상기 제 1 방향 이동부 또는 상기 제 2 방향 이동부에는 상기 자외선램프의 높이를 조절하기 위한 높이 조절장치를 포함한다.The first direction moving part or the second direction moving part includes a height adjusting device for adjusting the height of the ultraviolet lamp.
상기 제 1 방향 이동부는 상기 기판의 X축 방향을 따라 이동하고, 상기 제 2 방향 이동부는 상기 기판의 Y축 방향을 따라 이동할 수 있으며, 상기 제 1 방향 이동부는 상기 기판의 Y축 방향을 따라 이동하고, 상기 제 2 방향 이동부는 상기 기판의 X축 방향을 따라 이동할 수 있다.The first direction moving part moves along the X axis direction of the substrate, the second direction moving part moves along the Y axis direction of the substrate, and the first direction moving part moves along the Y axis direction of the substrate. The second direction moving part may move along the X axis direction of the substrate.
상기 경화모듈은 자외선이 발생되는 자외선램프, 상기 자외선램프의 하부측에 위치하는 광학 렌즈를 포함하며, 다른 형태로 상기 자외선램프와 상기 광학렌즈의 사이에 위치하는 마스크를 포함할 수 있다.The curing module may include an ultraviolet lamp for generating ultraviolet rays and an optical lens positioned under the ultraviolet lamp, and may include a mask positioned between the ultraviolet lamp and the optical lens in another form.
본 발명에 따른 자외선 경화장치는 다른 크기의 기판에 대해서도 탄력적으로 경화공정을 실시할 수 있어 편의성 및 생산성이 향상되는 효과가 있다.UV curing apparatus according to the present invention can be performed to the curing process elastically even for substrates of different sizes has the effect of improving convenience and productivity.
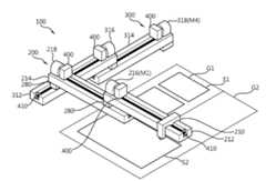
도 1은 본 실시예에 따른 자외선 경화장치를 도시한 사시도이고, 도 2 및 도 3은 본 실시예에 따른 자외선 경화장치의 주요부분 확대 사시도이다.1 is a perspective view showing an ultraviolet curing device according to the present embodiment, Figures 2 and 3 is an enlarged perspective view of the main portion of the ultraviolet curing device according to this embodiment.
도 1내지 도 3에 도시된 바와 같이 본 실시예에 따른 자외선 경화장치(100)는 기판(G)에 도포된 실링재(S, Sealant)를 경화하기 위해 기판(G)의 상부에 위치하는 적어도 하나 이상의 경화모듈(210)을 구비한다.As shown in FIGS. 1 to 3, the
경화모듈(210)은 경화모듈(210)이 설치되어, 기판(G)에 도포된 실링재(S)의 경화위치까지 제 1 방향으로 이동 가능하도록 신축되는 제 1 방향 이동부(200)를 구비하고 있으며, 경화모듈(210)을 기판(G)에 대해 제 2 방향으로 이동 가능하도록 신축되는 제 2 방향 이동부(300)를 구비한다.The
제 2 방향 이동부(300)는 제 1 방향 이동부(200)에 수직상태로 설치된다.The second
제 1 방향 이동부(200)는 기판(G)의 상부에서 경화모듈(210)이 이동 가능하도록 설치되는 제 1 이동프레임(212)과 제 1 이동 프레임(212)이 신축 가능하도록 지지하는 제 1 고정 프레임(214)을 구비한다.The first
제 1 이동프레임(212)에는 경화모듈(210)을 제 1 이동프레임(212) 상에서 이동 가능하게 하는 제 1 구동 액추에이터(216, M1)가 설치된다. 제 1 구동 액추에이터(216)는 모터 등을 사용할 수 있다.The first moving
또한, 제 1 이동프레임(212)에는 제 1 구동 액추에이터(216)의 구동력을 전달하기 위한 감속기(400)가 설치되어 있으며, 감속기(400)에는 경화모듈(210)이 연 결되어 이동할 수 있도록 볼 스크루(Ball screw)와 같은 형태의 구동축(410)이 설치된다.In addition, the first moving
제 1 고정프레임(214)에는 제 1 고정프레임(214) 상에서 제 1 이동프레임(212)을 신축 가능하게 구동시키기 위한 제 1 신축 액추에이터(218, M2)가 설치되며, 제 1 이동프레임(112)이 얹혀지는 무빙블록(280, Moving Block)을 구비한다.The first
제 1 신축 액추에이터(218)는 감속기(400)에 연결되어 동력을 전달하고, 감속기(400)에는 볼 스크루와 같은 형태의 구동축(410)이 연결되며, 구동축(410)에는 제 1 이동프레임(212)이 설치된 무빙블록(280)이 연결되어 제 1 이동프레임(212)은 제 1 고정프레임(214) 상에서 이동 가능하게 된다.The first
그리고 제 2 방향 이동부(300)는 경화모듈(210)을 제 1 방향 이동부(200)와 수직한 방향으로 이동시키기 위한 것으로, 제 1 이동 프레임(212) 또는 제 1 고정프레임(214) 중 어느 하나에 연결되는 제 2 이동프레임(312)을 구비한다. 본 실시예에서는 제 2 이동프레임(312)에 제 1 고정프레임(214)이 연결된 상태로 설명하기로 한다.In addition, the second
제 2 이동프레임(312)에는 제 1 고정 프레임(214)이 제 2 이동프레임(312) 상에서 이동할 수 있도록 제 2 구동 액추에이터(316, M3)가 설치된다. 제 2 이동 프레임(312)에는 상술한 바와 같은 무빙블록(280)이 구비되어 제 1 고정프레임(214)이 설치되며, 감속기(400) 및 구동축(410) 또한 동일한 형태가 구비된다.
제 2 이동프레임(312)은 제 2 고정프레임(314)에 설치되어 제 2 방향으로 신 축되며, 이를 위해 제 2 고정프레임(314)에는 제 2 신축 액추에이터(318, M4)가 설치된다.The second moving
제 1 방향 이동부(200) 및 제 2 방향 이동부(300)는 평면상에서 상호 수직하는 상태로 이동하면 되는 형태이면 어떠한 형태로도 가능하다. 예를 들어, 제 1 방향 이동부(200)가 X방향을 이동하게 설치한다면 제 2 방향 이동부(300)는 Y방향을 이동하도록 설치하면 되고, 제 1 방향 이동부(200)가 Y방향을 따라 이동하게 한다면 제 2 방향 이동부(300)는 X방향을 이동하는 형태로 설치하여 사용하면 되는 것이다.The first
이하에서는 본 실시예에 따른 자외선 경화장치(100)의 작동에 대하여 도 4a 및 도 4b와 도 5a 및 도 5b를 통해 설명한다.Hereinafter, the operation of the
도 4a 및 도 4b의 경우 기판(G1)은 비교적 작은 크기(size)의 기판에 해당된다. 기판(G1)이 경화를 위해 위치하게 되면, 크기에 따라 제 1 방향 이동부(200)와 제 2 방향 이동부(300)가 이동해야 하는 거리에 해당하도록 설정된다. 그 거리는 작은 크기의 기판(G1)의 실링재(S1,S1') 사이의 거리에 해당한다.도 4a와 같은 경우 경화모듈(210)은 제 1 방향 이동부(200)의 제 1 이동 프레임(212) 상에서 이동하면 되고, 제 2 방향 이동부(300)의 제 2 이동 프레임(312) 상에서 이동하며 경화를 실시하면 된다.In the case of FIGS. 4A and 4B, the substrate G1 corresponds to a substrate having a relatively small size. When the substrate G1 is positioned for curing, the substrate G1 is set to correspond to a distance at which the first
도 4a와 같이 기판(G1)이 위치하면, 경화모듈(210)은 기판(G1)의 어느 한쪽 실링재(S1) 부분부터 경화를 시작하게 된다. 이후 제 1 구동 액추에이터(216)의 작 동으로 우측으로(도시된 도면 기준) 이동하며 나머지 실링재(S1')까지 경화하게 된다.When the substrate G1 is positioned as shown in FIG. 4A, the
이렇게 하여 제 1 방향 예를 들어, X방향에 대한 경화가 완료되면, 제 2 방향 이동부(300)의 제 2 이동 프레임(312)에 설치된 제 1 고정 프레임(214)은 제 2 구동 액추에이터(316)의 작동으로 제 1 방향에 수직한 Y 방향의 실링재 부분을 경화하게 된다.In this way, when the hardening in the first direction, for example, the X direction is completed, the first
도 5a 및 도 5b와 같이 크기가 큰 기판(G2)일 경우 경화모듈(210)은 제 1 방향 이동부(200)의 제 1 이동 프레임(212) 및 제 1 고정 프레임(214) 상에서 이동하게 되고, 제 2 방향 이동부(300)의 제 2 이동 프레임(312) 및 제 2 고정 프레임(314) 상에서 이동하게 된다.5A and 5B, when the substrate G2 is large in size, the
도 5a에서와 같이 경화모듈(210)은 기판(G2)의 어느 한쪽 실링재 부분(S2) 상에서 경화를 시작하게 된다. 이후 제 1 구동 액추에이터(216)의 작동으로 제 1 이동 프레임(212) 상에서 이동하며(도시된 도면을 기준으로 우측) 실링재를 경화한다. 제 1 구동 액추에이터(216)가 작동하여 제 1 이동 프레임(212)의 마지막 부분까지 경화모듈(210)이 이동하게 되면, 제 1 신축 액추에이터(218)가 작동하여 제 1 이동 프레임(212)을 이동시키고, 이에 따라 경화모듈(210)은 계속해서 경화를 하여 도 5b와 같이 기판(G2)의 다른 실링재 부분(S2')까지 경화를 하게 된다.As shown in FIG. 5A, the
다른 방법으로 먼저 제 1 신축 액추에이터(218)를 작동시켜 제 1 이동 프레임(212)이 이동할 수 있도록 하여 경화를 시작하고, 제 1 이동 프레임(212)이 제 1  고정 프레임(214)의 마지막 부분까지 이동하게 될 경우 제 1 구동 액추에이터(216)를 작동시켜 경화모듈(210)을 이동시키는 방법이 있을 수 있다.Alternatively, the first
제 2 방향 이동부(300)는 제 1 방향 이동부(200)의 작동 후 또는 제 1 방향 이동부(200) 보다 먼저 작동시킬 수 있다.The second
이 경우 제 1 고정 프레임(214)을 이동시키기 위한 제 2 구동 액추에이터(316)를 작동시켜 제 2 이동 프레임(312) 상에서 제 1 고정 프레임(214)을 제 2 방향으로 이동시키며 경화를 실시하게 된다.In this case, the
제 1 고정 프레임(214)이 제 2 이동 프레임(312)의 마지막 부분에 이를 경우 제 2 신축 액추에이터(318)를 작동시켜 제 2 이동 프레임(312)이 제 2 고정 프레임(314) 상에서 이동하도록 하여 제 1 고정 프레임(214)을 이동시키게 된다.When the first fixed
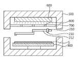
도 6은 본 실시예의 자외선 경화장치(100)에서 경화모듈(210)을 나타낸 것으로, 자외선램프(610)와 광학렌즈(230)를 포함한 형태를 나타낸 것이다. 이 경우 자외선램프(610)는 여러 개를 사용하여 기판에 대응하도록 할 수 있다.6 shows the
도 7은 다른 형태의 경화모듈(210)을 나타낸 것으로, 챔버(500)의 내측 또는 외측에 설치되는 자외선램프(600), 자외선램프(600)의 하부측에 설치되어 자외선의 일정부분이 투과되도록 패턴(800)이 형성된 마스크(700) 및 패턴을 통과한 자외선의 초점을 집중시키기 위한 광학렌즈(230)를 포함한 형태를 나타낸 것이다. 이 경우 자외선램프(600)는 면 발광 형태를 사용하여 기판의 전체 면적에 대응할 수 있 다. 미설명 부호 900은 기판이 안착되는 스테이지이다.7 illustrates another embodiment of the
도 1은 본 실시예에 따른 자외선 경화장치의 사시도이다1 is a perspective view of an ultraviolet curing device according to the present embodiment
도 2 및 도 3은 본 실시예에 따른 자외선 경화장치의 주요부분 확대 사시도이다.2 and 3 are enlarged perspective views of main parts of the ultraviolet curing device according to the present embodiment.
도 4a, 도 4b, 도 5a 및 도 5b는 본 실시예에 따른 자외선 경화장치의 작동상도이다.4A, 4B, 5A, and 5B are operating images of the ultraviolet curing device according to the present embodiment.
도 6 및 도 7은 본 실시예에 따른 자외선 경화장치 중 경화모듈을 나타낸 다른 실시예이다.6 and 7 is another embodiment showing a curing module of the ultraviolet curing device according to this embodiment.
< 도면의 주요 부분에 대한 부호의 설명 ><Description of Symbols for Main Parts of Drawings>
201 : 경화모듈212 : 제 1 이동 프레임201: curing module 212: first moving frame
214 : 제 1 고정 프레임216 : 제 1 구동 액추에이터214: first fixed frame 216: first drive actuator
218 : 제 1 신축 액추에이터312 : 제 2 이동 프레임218: first telescopic actuator 312: second moving frame
314 : 제 2 고정 프레임316 : 제 2 구동 액추에이터314: second fixed frame 316: second drive actuator
318 : 제 2 신축 액추에이터318: second expansion actuator
| Application Number | Priority Date | Filing Date | Title | 
|---|---|---|---|
| KR1020080138417AKR101052886B1 (en) | 2008-12-31 | 2008-12-31 | UV Curing Device | 
| Application Number | Priority Date | Filing Date | Title | 
|---|---|---|---|
| KR1020080138417AKR101052886B1 (en) | 2008-12-31 | 2008-12-31 | UV Curing Device | 
| Publication Number | Publication Date | 
|---|---|
| KR20100079840A KR20100079840A (en) | 2010-07-08 | 
| KR101052886B1true KR101052886B1 (en) | 2011-07-29 | 
| Application Number | Title | Priority Date | Filing Date | 
|---|---|---|---|
| KR1020080138417AExpired - Fee RelatedKR101052886B1 (en) | 2008-12-31 | 2008-12-31 | UV Curing Device | 
| Country | Link | 
|---|---|
| KR (1) | KR101052886B1 (en) | 
| Publication number | Priority date | Publication date | Assignee | Title | 
|---|---|---|---|---|
| US8383202B2 (en) | 2008-06-13 | 2013-02-26 | Kateeva, Inc. | Method and apparatus for load-locked printing | 
| US12064979B2 (en) | 2008-06-13 | 2024-08-20 | Kateeva, Inc. | Low-particle gas enclosure systems and methods | 
| US10434804B2 (en) | 2008-06-13 | 2019-10-08 | Kateeva, Inc. | Low particle gas enclosure systems and methods | 
| KR102307190B1 (en) | 2014-01-21 | 2021-09-30 | 카티바, 인크. | Apparatus and techniques for electronic device encapsulation | 
| KR20160021470A (en) | 2014-08-18 | 2016-02-26 | 강우석 | Ultra violet curing apparatus | 
| CN105824154B (en)* | 2016-05-31 | 2018-12-25 | 京东方科技集团股份有限公司 | A kind of sealant solidification equipment and application method | 
| Publication number | Priority date | Publication date | Assignee | Title | 
|---|---|---|---|---|
| KR100609055B1 (en)* | 2003-07-02 | 2006-08-09 | 삼성전자주식회사 | Exposure apparatus of LCD board | 
| KR100746828B1 (en)* | 2001-05-15 | 2007-08-07 | 엘지전자 주식회사 | Sealing device and method of organic electroluminescent device | 
| Publication number | Priority date | Publication date | Assignee | Title | 
|---|---|---|---|---|
| KR100746828B1 (en)* | 2001-05-15 | 2007-08-07 | 엘지전자 주식회사 | Sealing device and method of organic electroluminescent device | 
| KR100609055B1 (en)* | 2003-07-02 | 2006-08-09 | 삼성전자주식회사 | Exposure apparatus of LCD board | 
| Publication number | Publication date | 
|---|---|
| KR20100079840A (en) | 2010-07-08 | 
| Publication | Publication Date | Title | 
|---|---|---|
| KR101052886B1 (en) | UV Curing Device | |
| US8628637B2 (en) | Display device with front window and manufacturing method thereof | |
| CN1258105C (en) | Manufacturing method and manufacturing device of microlens array substrate | |
| JP6069386B2 (en) | Method for manufacturing a cold sealed fluid filled display device | |
| KR101357933B1 (en) | Imprint apparatus, imprint method, and method of manufacturing a device | |
| KR100720414B1 (en) | Manufacturing Method Of Liquid Crystal Display | |
| JP2012204722A (en) | Imprint method, mold, and article manufacturing method using the same | |
| KR101270699B1 (en) | Apparatus for Manufacturing Liquid Crystal Diplay Panel | |
| KR100898146B1 (en) | Device for making etched area on substrate | |
| KR100916298B1 (en) | Device for making etched area on substrate | |
| KR100578262B1 (en) | Large area mask fixing device using vacuum, exposure device and exposure method using the same | |
| JP4480660B2 (en) | Substrate bonding equipment | |
| KR20060046126A (en) | Method of manufacturing the electro-optical device | |
| KR100957229B1 (en) | Device for making etched area on substrate | |
| KR20080014429A (en) | Imprint method | |
| KR101361850B1 (en) | apparatus for making etching area on substrate | |
| KR100916966B1 (en) | LCD manufacturing device | |
| TW201222109A (en) | Substrate bonding apparatus and substrate bonding method using the same | |
| KR20090050878A (en) | Device for making etched area on substrate | |
| KR100931320B1 (en) | UV curing device for flat panel display liquid crystal manufacturing | |
| KR101201406B1 (en) | Substrate assembling apparatus bonding subtrate using the same | |
| KR20110056619A (en) | Liquid crystal display device manufacturing apparatus and liquid crystal display device manufacturing method | |
| KR20070079504A (en) | Manufacturing method of liquid crystal display and manufacturing apparatus of liquid crystal display | |
| KR100881630B1 (en) | Pattern Forming Device and Pattern Forming Method | |
| KR101213088B1 (en) | Combined Apparatus Unified in Hardening Bonded Substrate Using UV | 
| Date | Code | Title | Description | 
|---|---|---|---|
| A201 | Request for examination | ||
| PA0109 | Patent application | St.27 status event code:A-0-1-A10-A12-nap-PA0109 | |
| PA0201 | Request for examination | St.27 status event code:A-1-2-D10-D11-exm-PA0201 | |
| PN2301 | Change of applicant | St.27 status event code:A-3-3-R10-R13-asn-PN2301 St.27 status event code:A-3-3-R10-R11-asn-PN2301 | |
| D13-X000 | Search requested | St.27 status event code:A-1-2-D10-D13-srh-X000 | |
| PG1501 | Laying open of application | St.27 status event code:A-1-1-Q10-Q12-nap-PG1501 | |
| D14-X000 | Search report completed | St.27 status event code:A-1-2-D10-D14-srh-X000 | |
| E902 | Notification of reason for refusal | ||
| PE0902 | Notice of grounds for rejection | St.27 status event code:A-1-2-D10-D21-exm-PE0902 | |
| E13-X000 | Pre-grant limitation requested | St.27 status event code:A-2-3-E10-E13-lim-X000 | |
| P11-X000 | Amendment of application requested | St.27 status event code:A-2-2-P10-P11-nap-X000 | |
| P13-X000 | Application amended | St.27 status event code:A-2-2-P10-P13-nap-X000 | |
| E701 | Decision to grant or registration of patent right | ||
| PE0701 | Decision of registration | St.27 status event code:A-1-2-D10-D22-exm-PE0701 | |
| GRNT | Written decision to grant | ||
| PR0701 | Registration of establishment | St.27 status event code:A-2-4-F10-F11-exm-PR0701 | |
| PR1002 | Payment of registration fee | St.27 status event code:A-2-2-U10-U11-oth-PR1002 Fee payment year number:1 | |
| PG1601 | Publication of registration | St.27 status event code:A-4-4-Q10-Q13-nap-PG1601 | |
| PN2301 | Change of applicant | St.27 status event code:A-5-5-R10-R13-asn-PN2301 St.27 status event code:A-5-5-R10-R11-asn-PN2301 | |
| FPAY | Annual fee payment | Payment date:20140728 Year of fee payment:4 | |
| PR1001 | Payment of annual fee | St.27 status event code:A-4-4-U10-U11-oth-PR1001 Fee payment year number:4 | |
| PN2301 | Change of applicant | St.27 status event code:A-5-5-R10-R13-asn-PN2301 St.27 status event code:A-5-5-R10-R11-asn-PN2301 | |
| PN2301 | Change of applicant | St.27 status event code:A-5-5-R10-R13-asn-PN2301 St.27 status event code:A-5-5-R10-R11-asn-PN2301 | |
| LAPS | Lapse due to unpaid annual fee | ||
| PC1903 | Unpaid annual fee | St.27 status event code:A-4-4-U10-U13-oth-PC1903 Not in force date:20150726 Payment event data comment text:Termination Category : DEFAULT_OF_REGISTRATION_FEE | |
| PN2301 | Change of applicant | St.27 status event code:A-5-5-R10-R13-asn-PN2301 St.27 status event code:A-5-5-R10-R11-asn-PN2301 | |
| PC1903 | Unpaid annual fee | St.27 status event code:N-4-6-H10-H13-oth-PC1903 Ip right cessation event data comment text:Termination Category : DEFAULT_OF_REGISTRATION_FEE Not in force date:20150726 | |
| P22-X000 | Classification modified | St.27 status event code:A-4-4-P10-P22-nap-X000 | |
| R18-X000 | Changes to party contact information recorded | St.27 status event code:A-5-5-R10-R18-oth-X000 |