


본 발명은 대기전력/상시전원 선택기능을 갖는 콘센트에 관한 것으로서, 더욱 상세하게는 대기전력라인과 상시전원라인이 구분되어 연결되고, 사용자의 조작에 따라 상기 대기전력라인 또는 상시전원라인을 선택하여 대기전력 또는 상시전원을 접속포트로 공급하는 선택스위치를 포함하는 콘센트를 제공하여 전자제품의 대기전력소비에 의한 에너지소비량을 현저히 줄여줄 수 있도록 한 대기전력/상시전원 선택기능을 갖는 콘센트에 관한 것이다.The present invention relates to an outlet having a standby power / continuous power selection function, and more particularly, the standby power line and the continuous power line are divided and connected, and the standby power line or the constant power line is selected according to a user's operation. The present invention relates to an outlet having a standby power / continuous power selection function that provides a power outlet including a selector switch for supplying standby power or constant power to a connection port, thereby significantly reducing energy consumption due to standby power consumption of electronic products. .
일반적으로 각 가정이나 사무실 내에서는 TV, 냉장고, 컴퓨터, 프린터, 복사기 등과 같은 다양한 종류의 전자제품이 사용되고 있다.Generally, various kinds of electronic products such as TVs, refrigerators, computers, printers, and copiers are used in each home or office.
대부분의 사용자들은 각종 전자제품을 콘센트에 접속시켜 사용하고 있는데, 전자제품은 사용하지 않는 대기상태에서도 다량의 전기가 소모되는 이른바 대기전력이 소비되는 문제점이 있으며, 이러한 대기전력을 차단하더라도 연간 수많은 에너지를 절약할 수 있게된다.Most users use various electronic devices connected to the outlets, and there is a problem that the so-called standby power is consumed, which consumes a large amount of electricity even when the electronic products are not in the standby state. Will be able to save.
그러나, 종래에는 대기전력을 사용자가 손쉽게 차단할 수 있는 장치가 제공되지 못하였기 때문에 전자제품의 대기전력 차단을 사용자가 플러그를 뽑는 행위에 의존할 수 밖에 없었고, 이러한 이유로 사용자가 일일이 다수의 전자제품의 플러그를 뽑아야하는 번거로움에 의해 대기전력 차단이 널리 실행되지 못하는 문제점이 발생하고 있었다.However, in the related art, since a device for easily shutting off standby power has not been provided, the standby power cutoff of the electronic product has to be relied on by the user unplugging the battery. Due to the hassle of unplugging, there was a problem that the standby power blocking is not widely executed.
따라서, 상기 문제점을 해결하기 위한 본 발명은 사용자가 대기전력 또는 상시전원을 선택할 수 있는 콘센트를 제공하여 벽면에 매립되게 설치된 콘센트에 접속되는 전자부품의 특징에 따라 콘센트를 대기전력 또는 상시전원으로 절환시켜 사용할 수 있도록 함을 목적으로 한다.Accordingly, the present invention for solving the above problem is to provide an outlet for the user to select the standby power or the constant power, switching the outlet to standby power or the constant power according to the characteristics of the electronic component connected to the outlet installed in the wall The purpose is to make it available.
또한, 콘센트로 공급되는 대기전력을 실내의 벽면 또는 현관의 벽면에 설치되어 있는 기계식 또는 전자식 스위치를 이용하여 용이하게 차단 또는 공급 제어할 수 있도록 하여 대기전력을 편리하게 차단시킬 수 있도록 함을 목적으로 한다.In addition, the standby power supplied to the outlet can be easily cut off or supplied by using a mechanical or electronic switch installed on the wall of the room or the wall of the front door for the purpose of conveniently blocking the standby power. do.
상기 목적달성을 위한 본 발명은,According to an aspect of the present invention,
상용교류전원이 인가되는 제 1 및 제 2 단자로 이루어진 적어도 1개 이상의 접속포트를 구비하고 있으면서 실내 벽면에 매립되게 설치되는 콘센트에 있어서,In the outlet having at least one connection port consisting of the first and second terminals to which a commercial AC power is applied, and is embedded in the interior wall,
상기 콘센트는 대기전력라인과 상시전원라인이 구분되어 연결되고, 상기 대기전력라인 또는 상시전원라인을 선택하여 대기전력 또는 상시전원을 접속포트로 공급하는 선택스위치를 포함하며,The outlet is divided into a standby power line and the regular power line is connected, and includes a selection switch for supplying the standby power or the regular power to the connection port by selecting the standby power line or the regular power line,
상기 대기전력라인에는 사용자의 조작으로 콘센트에 공급되는 대기전력을 차단시킬 수 있는 대기전력 제어수단이 설치되고,The standby power line is provided with standby power control means for blocking the standby power supplied to the outlet by the user's operation,
상기 선택스위치는 대기전력 또는 상시전원이 선택된 것을 표시해주기 위한 표시수단을 포함하며,The selection switch includes a display means for displaying that the standby power or the continuous power is selected,
상기 제어수단은The control means
대기전력의 공급 또는 차단 제어를 위한 대기전력버튼과, 대기전력 소비량을 저장시키기 위한 저장버튼과, 상기 대기전력버튼의 조작에 따라 온/오프 동작하여 콘센트로 공급되는 대기전력을 공급 또는 차단하는 대기전력 스위치와, 상기 대기전력 스위치의 양단을 연결하도록 설치되어 부하측에서 사용되는 대기전력 소비량을 감지하는 대기전력 감지부와, 접속포트에 접속된 전자,전기제품이 모두 오프된 상태에서 저장버튼이 입력되었을때 상기 대기전력 감지부에 의해 감지되는 대기전력 소비량을 기준소비량으로 저장하고, 이후 대기전력 감지부에서 감지되는 대기전력 소비량이 앞서 저장된 기준소비량의 설정 오차범위 이내일때 전자,전기제품이 모두 오프된 상태인것으로 판단하고 대기전력 스위치를 자동오프시키는 제어부를 포함하여 구성된 것을 특징으로 한다.Standby power button for controlling the supply or interruption of standby power, a storage button for storing the standby power consumption, standby for supplying or blocking standby power supplied to the outlet by operating on / off according to the operation of the standby power button The power switch and the standby power switch is installed to connect both ends of the standby power switch to detect the standby power consumption used on the load side, and the storage button is input when the electronic and electrical products connected to the connection port are all off When the standby power consumption detected by the standby power detector is stored as a reference consumption, and then the standby power consumption detected by the standby power detector is off when the electronic and electrical products are all within the set error range of the previously stored reference consumption And a control unit for automatically determining that the standby power switch is turned off. Characterized in that a.
본 발명에 의하면, 세대내 벽면에 매립되게 설치되는 콘센트를 사용자가 대기전력 또는 상시전원이 선택적으로 인가되도록 제어할 수 있게되고, 이를통해 대기전력의 차단이 가능한 전자제품(컴퓨터,TV, 전자렌지, 오디오기기 등)이 접속된 콘센트를 사용자가 필요에 따라 대기전력으로 절환시켜 용이하게 사용할 수 있음은 물론 대기전력의 차단을 실내 벽면에 설치된 네트워크스위치를 조작하여 편리하게 구현할 수 있다.According to the present invention, the user can control the outlet installed to be embedded in the wall in the household so that the standby power or the regular power is selectively applied, through which the electronic products capable of blocking the standby power (computer, TV, microwave oven) , The user can switch the outlet to the standby power as needed, and can also easily block the standby power by operating the network switch installed on the indoor wall.
이하, 첨부된 도면 도 1 내지 도 4 를 참조하여 본 발명의 바람직한 실시예를 설명하면 다음과 같다.Hereinafter, preferred embodiments of the present invention will be described with reference to the accompanying drawings, FIGS. 1 to 4.
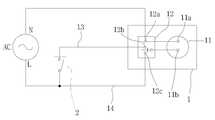
도 1 은 본 발명의 대기전력/상시전원 선택기능을 갖는 콘센트를 도시한 것이다.Figure 1 shows an outlet having a standby power / constant power selection function of the present invention.
본 발명의 콘센트(1)는 상용교류전원이 인가되는 제 1 및 제 2 단자(11a,11b)로 이루어진 적어도 1개 이상의 접속포트(11)를 구비하고 있으면서 실내 벽면에 매립되게 설치되고, 대기전력라인(13)과 상시전원라인(14)이 구분되어 연결되고, 사용자의 조작에 따라 상기 대기전력라인(13) 또는 상시전원라인(14)을 선택하여 대기전력 또는 상시전원을 접속포트(11)로 공급하는 선택스위치(12)를 포함하여 구성한다.The
상기 접속포트(11)는 전자제품의 플러그가 접속되는 것으로서, 2개의 제 1 및 제 2 단자(11a,11b)로 이루어지고, 상기 선택스위치(12)는 뉴트랄(N:neutral) 라인이 접속되는 제 1 접점(12a), 대기전력라인(13)이 접속되는 제 2 접점(12b), 상시전원라인(14)이 접속되는 제 3 접점(12c)으로 구성되고, 사용자의 조작에 따라 제 2 접점(12b) 또는 제 3 접점(12c)으로 절환되어 대기전력 또는 상시전원을 접속포트(11)로 공급하게 된다.The
상기 선택스위치(12)는 콘센트(1)의 표면에 노출되게 설치되어 사용자가 조작할 수 있도록 하는 기계식스위치를 적용하거나 또는 통신포트를 구비하여 외부기 기로 부터 전송되는 원격제어신호에 의해 온/오프 동작하는 전자식 스위치로 적용한다.The
그리고, 상기 선택스위치(12)는 필요에 따라 대기전력선택상태 또는 상시전원 선택상태를 표시할 수 있는 표시수단을 구비할 수 있으며, 그 표시수단은 LED를 이용하여 구현한다.In addition, the
한편, 상기 대기전력라인(13)에는 사용자의 조작으로 콘센트(1)에 공급되는 대기전력을 차단시킬 수 있는 대기전력 제어수단(2)이 설치되는데,On the other hand, the
상기 대기전력 제어수단(2)은 실내 현관에 설치되는 네트워크 스위치로 구현할 수 있다.The standby power control means 2 may be implemented as a network switch installed in the indoor entrance.
또한, 상기 대기전력 제어수단(2)은 기계적으로 온/오프 작동하는 기계식 스위치 또는 홈네트워크(8)와 통신이 가능한 전자식 스위치(예를들면 네트워크 스위치)로 구현할 수 있다.In addition, the standby power control means 2 may be implemented as a mechanical switch that is mechanically on / off operation or an electronic switch (eg, a network switch) capable of communicating with the home network 8.
상기 대기전력라인(13)과 상시전원라인(14)은 대기전력 제어수단(2)을 이용하여 전원을 단속할 수 있는 것을 대기전력라인(13)이라 명명하고, 대기전력 제어수단(2)을 이용하여 전원을 단속할 수 없는 것을 상시전원라인(14)이라 명명한다.The
이와같이 구성되는 본 발명의 콘센트(1)는 선택스위치(12)를 조작하여 사용자가 용이하게 대기전력 또는 상시전원이 공급되도록 절환할 수 있다.The
이러한 기능은 가정 또는 사무실에서 사용되는 전자제품의 대기전력을 차단하는데 매우 용이하게 사용될 수 있다.This function can be very easily used to cut off standby power of electronic products used in home or office.
즉, 특정 콘센트(1)에 냉장고와 같이 대기전력이 차단되면 않되는 전자제품 이 접속되었을때에는 사용자가 선택스위치(12)를 조작하여 해당 콘센트(1)로 상시전원이 공급되도록 하므로서 대기전력 차단에 의해 냉장고가 정지되어 내용물이 부패하는 현상이 발생하지 않도록 한다.That is, when an electronic product which is not to be cut off such as a refrigerator is connected to a
또한, 특정 콘센트(1)에 컴퓨터, TV, 전자렌지, 오디오기기와 같이 대기전력이 차단되어도 무방한 전자제품이 접속되어 있을 때에는 사용자는 선택스위치(12)를 조작하여 해당 콘센트(1)로 대기전력이 공급되도록 하므로서, 사용자가 외출하거나 전자제품을 사용하지 않을때 벽면에 설치되는 대기전력 제어수단(2)을 조작하여 해당 콘센트(1)로 공급되던 대기전력을 차단하여 전자제품에서 대기전력이 소비되지 못하도록 하므로서 에너지소비를 줄여줄 수 있게되는 것이다.In addition, when a certain outlet (1) is connected to any electronic device, such as a computer, TV, microwave oven, audio equipment, even if standby power may be cut off, the user operates the
한편, 도 2 는 복수개의 접속포트(11)가 구비된 콘센트(1)를 예시한 것으로서,On the other hand, Figure 2 illustrates an
도 2 (a)는 콘센트(1)에 3개의 접속포트(11)가 설치되어 있고, 각각의 접속포트(11)로 공급되는 전원을 대기전력 또는 상시전원으로 선택할 수 있는 선택스위치(12)가 콘센트(1)의 표면에 노출되게 설치된 것을 나타내었다.In FIG. 2 (a), three
그리고, 상기 선택스위치(12)에는 현재 대기전력이 선택되었는지 아니면 상시전원이 선택되었는지를 표시해주기 위한 표시수단으로서 파란색, 적색의 램프(12d)를 설치한 것을 예시하였다.In addition, it is illustrated that the
도 2 (b)는 3개의 접속포트(11)가 설치되었을때의 배선상태를 도시한 것으로서, 접속포트(11)를 이루는 제 1 단자(11a)가 선택스위치(12)의 제 1 접점(12a)에 연결되고, 제 2 단자(11b)가 선택스위치(12)의 제 2 및 제 3 접점(12b,12c)에 선 택적으로 연결될 수 있도록 배선되어 있다.FIG. 2 (b) shows the wiring state when three
한편, 도 2 (c)는 콘센트(1)에 구비된 다수의 접속포트(11) 중 일부의 접속포트(11)를 상시전원 측으로 고정시키고, 나머지의 접속포트(11)를 선택스위치(12)에 연결하여 사용자가 필요에 따라 대기전력 또는 상시전원 측으로 절환시켜 사용할 수 있도록 한 것이다.On the other hand, Figure 2 (c) is fixed to some of the
도 3 은 부하측 전기.전자제품이 오프상태일때 소비되는 대기전력 소비량(기준소비량)을 기억하고 있다가 대기전력라인(13)으로 소비되는 대기전력 소비량이 앞서 기억된 대기전력 소비량의 오차범위 이내일때 자동으로 대기전력을 차단시키는 대기전력 제어수단(2)에 대한 것이다.FIG. 3 stores the standby power consumption (reference consumption) consumed when the load-side electrical / electronic product is in an off state, and when the standby power consumption consumed by the
도 3 에는 대기전력 제어수단(2)에 복수개의 콘센트(1)가 연결되어 있다.3, a plurality of
그리고, 상기 대기전력 제어수단(2)은And, the standby power control means 2
실내의 전등을 온,오프 제어하기 위한 전등버튼(21)과, 대기전력의 공급 또는 차단 제어를 위한 대기전력버튼(22)과, 대기전력 소비량을 저장시키기 위한 저장버튼(23)과, 상기 대기전력버튼(22)의 조작에 따라 온/오프 동작하여 콘센트(1)로 공급되는 대기전력을 공급 또는 차단하는 대기전력 스위치(24)와, 상기 대기전력 스위치(24)의 양단을 연결하도록 설치되어 부하측에서 사용되는 대기전력 소비량을 감지하는 대기전력 감지부(25)와, 접속포트(11)에 접속된 전자,전기제품이 모두 오프된 상태에서 저장버튼(23)이 입력되었을때 상기 대기전력 감지부(25)에 의해 감지되는 대기전력 소비량을 기준소비량으로 저장하고, 이후 대기전력 감지부(25)에서 감지되는 대기전력 소비량이 앞서 저장된 기준소비량의 설정 오차범위 이내일때 전자,전기제품이 모두 오프된 상태인것으로 판단하고 대기전력 스위치(24)를 자동오프시키는 제어부(26)를 포함하여 구성된다.A
또한, 상기 제어수단(2)은In addition, the control means (2)
대기전력 차단동작시 대기전력 차단상태를 알려주는 안내메세지를 내장된 스피커(28)를 통해 출력하는 음성메세지 출력부(27)와;A voice
대기전력 차단동작시 대기전력 차단상태를 미리저장되어 있는 사용자의 휴대폰에 문자메세지(SMS)로 송출하는 SMS발신부(29); 를 더 포함하고,
상기 제어부(26)는 대기전력 스위치(24)를 오프시킨 후 상기 음성메세지 출력부(27)와 SMS발신부(29)를 구동시키는 것을 특징으로 한다.The
도 3 에 제시된 제어수단(2)은 자동으로 콘센트(1)로 공급되는 대기전력을 차단시키는 기능을 갖는다.The control means 2 shown in FIG. 3 has a function of automatically shutting off standby power supplied to the
즉, 평상시에는 사용자가 대기전력버튼(22)을 조작하는 것에 의해 대기전력 스위치(24)가 온/오프 동작하여 콘센트(1)로 공급되는 대기전력을 공급 또는 차단하게되나, 사용자가 저장버튼(23)을 눌러서 기준소비량을 저장시킨 이후에는 자동으로 대기전력을 차단하게 되며, 그 동작을 설명하면 다음과 같다.That is, in normal times, the user operates the
콘센트(1)에 접속되어 있는 전기,전자제품을 모두 오프시키고, 대기전력 스위치(24)가 온동작 된 상태에서 사용자가 저장버튼(23)을 일정시간 누르게되면, 제어부(26)가 저장버튼(23)이 입력된 것을 인식한다.When the electrical and electronic products connected to the
이때, 대기전력 감지부(25)는 전기,전자제품이 모두 오프된 상태에서 소비되는 대기전력 소비량(와트-W)을 감지하여 제어부(26)로 공급하고, 제어부(26)는 대기전력 감지부(25)에서 감지된 대기전력 소비량을 기준소비량(와트-W)으로 자체 메모리에 저장시킨다.At this time, the standby
상기 대기전력 감지부(25)는 실시간으로 대기전력 스위치(24)를 통과하는 대기전력 소비량을 감지하여 제어부(26)에 공급한다.The
이후, 사용자가 정상적으로 전기, 전자제품을 사용하다가 콘센트(1)에 접속되어 있는 모든 전기,전자제품을 오프시키게되면, 대기전력 감지부(25)에서 감지되는 대기전력 소비량이 앞서 저장되어 있는 기준소비량과 일치하거나 아니면 설정 오차범위 이내에 존재하게 되며, 이때 제어부(26)는 콘센트(1)에 접속되어 있는 모든 전기,전자제품이 오프된 것으로 간주하고 자동으로 대기전력 스위치(24)를 오프시켜 대기전력이 부하측으로 공급되지 않도록 하여 대기전력이 소비되지 않도록 하는 것이다.Subsequently, when the user normally turns off all the electric and electronic products connected to the
만약, 사용자가 콘센트(1)에 하나 이상의 전기, 전자제품을 사용하고 있거나 아니면 콘센트(1)에 새로운 전기, 전자제품을 추가로 접속시켰다면 모든 전기,전자제품이 오프된 상태에서 소비되는 대기전력 소비량이 기준소비량 보다 많아질 것이고, 이때에는 제어부(26)가 대기전력 스위치(24)를 오프시키지 않는 것이다.If the user is using one or more electrical or electronic products in the outlet (1) or if new electrical and electronic products are additionally connected to the outlet (1), the standby power consumption when all the electrical and electronic products are turned off It will be larger than this reference consumption, and in this case, the
그리고, 상기 제어부(26)는 대기전력 스위치(24)를 오프작동 시킨 후 음성메세지 출력부(27)와 SMS발신부(29)를 작동시키고,Then, the
상기 음성메세지 출력부(27)는 내장되어 있는 스피커(28)를 통해 '대기전원 이 차단되었습니다.'라는 안내메세지를 출력하여 세대 내에 있는 사용자가 대기전원이 차단된 상태를 인지할 수 있도록 하며,The voice
상기 SMS발신부(29)는 무선통신망을 통해 미리 저장되어 있는 사용자의 휴대폰으로 '대기전원이 차단되었습니다.'라는 안내 문자메세지를 송출하여 외출중에 있을 수 있는 사용자가 휴대폰으로 수신된 안내메세지를 통해 대기전원의 차단상태를 인지할 수 있도록 한다.The
상기 설명과 같이 동작하는 도 3 과 같은 본 발명에 의하면, 사용자가 콘센트(1)로 공급되는 대기전력을 일일이 차단시키지 않더라도 자동으로 대기전력이 차단되므로 사용상 편리성을 증대시킬 수 있고, 또한 대기전력의 차단상태를 사용자 인지할 수 있도록 통지하므로 대기전력 차단동작에 대한 신뢰도를 한층 더 향상시킬 수 있게된다.According to the present invention as shown in FIG. 3 operating as described above, even if the user does not block the standby power supplied to the
도 1 은 본 발명의 대기전력/상시전원 선택기능을 갖는 콘센트를 보인 도면.1 is a view showing an outlet having a standby power / standby power selection function of the present invention.
도 2 는 본 발명의 콘센트의 실시예를 보인 도면.2 is a view showing an embodiment of an outlet of the present invention.
도 3 은 본 발명에 적용된 제어수단의 다른 실시예를 보인 도면.Figure 3 shows another embodiment of the control means applied to the present invention.
도면의 주요부분에 대한 부호의 설명Explanation of symbols for main parts of the drawings
1: 콘센트, 2: 대기전력 제어수단,1: outlet, 2: standby power control,
5: 메인네트워크스위치, 6,7: 서브네트워크스위치,5: main network switch, 6, 7: subnetwork switch,
8: 홈네트워크, 11: 접속포트,8: home network, 11: connection port,
11a,11b: 단자, 12: 선택스위치,11a, 11b: terminal, 12: selector switch,
12a,12b,12c: 접점, 13: 대기전력라인,12a, 12b, 12c: contact, 13: standby power line,
14: 상시전원라인,14: constant power line,
| Application Number | Priority Date | Filing Date | Title |
|---|---|---|---|
| KR1020080110206AKR100996834B1 (en) | 2008-11-07 | 2008-11-07 | Outlet with standby power / continuous power selection |
| Application Number | Priority Date | Filing Date | Title |
|---|---|---|---|
| KR1020080110206AKR100996834B1 (en) | 2008-11-07 | 2008-11-07 | Outlet with standby power / continuous power selection |
| Publication Number | Publication Date |
|---|---|
| KR20100051177A KR20100051177A (en) | 2010-05-17 |
| KR100996834B1true KR100996834B1 (en) | 2010-11-26 |
| Application Number | Title | Priority Date | Filing Date |
|---|---|---|---|
| KR1020080110206AExpired - Fee RelatedKR100996834B1 (en) | 2008-11-07 | 2008-11-07 | Outlet with standby power / continuous power selection |
| Country | Link |
|---|---|
| KR (1) | KR100996834B1 (en) |
| Publication number | Priority date | Publication date | Assignee | Title |
|---|---|---|---|---|
| KR20180113412A (en) | 2017-04-06 | 2018-10-16 | 조효식 | Power Connecting Apparatus |
| Publication number | Priority date | Publication date | Assignee | Title |
|---|---|---|---|---|
| US20180364778A1 (en)* | 2016-01-28 | 2018-12-20 | Wellbas Limited | Artificial intelligence type electric outlet having automatic standby power cut-off and restoration function |
| KR102327693B1 (en)* | 2019-12-23 | 2021-11-18 | 주식회사 웰바스 | Socket device and socket system including the same |
| Publication number | Priority date | Publication date | Assignee | Title |
|---|---|---|---|---|
| KR100801042B1 (en) | 2005-09-02 | 2008-02-11 | 김선영 | Auto power off outlet |
| Publication number | Priority date | Publication date | Assignee | Title |
|---|---|---|---|---|
| KR100801042B1 (en) | 2005-09-02 | 2008-02-11 | 김선영 | Auto power off outlet |
| Publication number | Priority date | Publication date | Assignee | Title |
|---|---|---|---|---|
| KR20180113412A (en) | 2017-04-06 | 2018-10-16 | 조효식 | Power Connecting Apparatus |
| KR101947261B1 (en)* | 2017-04-06 | 2019-02-12 | 조효식 | Power Connecting Apparatus |
| Publication number | Publication date |
|---|---|
| KR20100051177A (en) | 2010-05-17 |
| Publication | Publication Date | Title |
|---|---|---|
| RU2419932C1 (en) | Plug device | |
| US20210048910A1 (en) | Modular touch panel smart switches and systems | |
| KR100909598B1 (en) | Standby power control and power consumption display device using outlet with standby / continuous power selection | |
| US7843081B2 (en) | Power-controllable outlet receptacle | |
| KR101006818B1 (en) | Outlet Standby Power Reduction Device | |
| KR100909790B1 (en) | Outlet with standby power / continuous power selection function and standby power control device using this outlet | |
| KR100980626B1 (en) | Adaptive multi-tab and method for cutting off the over-power and standby-power and method for cutting off the standby-power | |
| WO2006025041A3 (en) | A control apparatus | |
| KR101121150B1 (en) | Method and device for cutting off standby power | |
| KR102502019B1 (en) | Apparatus for controlling electronic distribute | |
| KR101077016B1 (en) | Power saving multi-tab and control system thereof | |
| WO2017131371A1 (en) | Artificial intelligence type electric outlet having automatic standby power cut-off and restoration functions | |
| US20230387715A1 (en) | Devices, systems, and methods for reducing standby power consumption | |
| KR100996834B1 (en) | Outlet with standby power / continuous power selection | |
| KR101201787B1 (en) | Auto power saving system having artificial intelligence | |
| KR20160003517A (en) | Smart plug and socket, and smart power consumption control system for using the same | |
| KR101078778B1 (en) | An apparatus of swtching cut off atmospheric power by automatic | |
| KR100440210B1 (en) | Wall socket and switch for monitoring room temperature | |
| KR102327693B1 (en) | Socket device and socket system including the same | |
| KR20120137125A (en) | The system for cutting off of the standby power based on a integrated elb | |
| KR101061676B1 (en) | Standby power interruption and its unblocking system and method | |
| KR101127641B1 (en) | A system and method for controlling standby power of consents installed on the floor | |
| JPWO2009054023A1 (en) | Effective power consumption limiting device | |
| CN212060941U (en) | Automatic control equipment | |
| JP6997634B2 (en) | Circuit control device using NC contact switch |
| Date | Code | Title | Description |
|---|---|---|---|
| A201 | Request for examination | ||
| PA0109 | Patent application | St.27 status event code:A-0-1-A10-A12-nap-PA0109 | |
| PA0201 | Request for examination | St.27 status event code:A-1-2-D10-D11-exm-PA0201 | |
| R17-X000 | Change to representative recorded | St.27 status event code:A-3-3-R10-R17-oth-X000 | |
| R18-X000 | Changes to party contact information recorded | St.27 status event code:A-3-3-R10-R18-oth-X000 | |
| E902 | Notification of reason for refusal | ||
| PE0902 | Notice of grounds for rejection | St.27 status event code:A-1-2-D10-D21-exm-PE0902 | |
| R17-X000 | Change to representative recorded | St.27 status event code:A-3-3-R10-R17-oth-X000 | |
| PG1501 | Laying open of application | St.27 status event code:A-1-1-Q10-Q12-nap-PG1501 | |
| T11-X000 | Administrative time limit extension requested | St.27 status event code:U-3-3-T10-T11-oth-X000 | |
| E13-X000 | Pre-grant limitation requested | St.27 status event code:A-2-3-E10-E13-lim-X000 | |
| P11-X000 | Amendment of application requested | St.27 status event code:A-2-2-P10-P11-nap-X000 | |
| P13-X000 | Application amended | St.27 status event code:A-2-2-P10-P13-nap-X000 | |
| E701 | Decision to grant or registration of patent right | ||
| PE0701 | Decision of registration | St.27 status event code:A-1-2-D10-D22-exm-PE0701 | |
| GRNT | Written decision to grant | ||
| PR0701 | Registration of establishment | St.27 status event code:A-2-4-F10-F11-exm-PR0701 | |
| PR1002 | Payment of registration fee | Fee payment year number:1 St.27 status event code:A-2-2-U10-U11-oth-PR1002 | |
| PG1601 | Publication of registration | St.27 status event code:A-4-4-Q10-Q13-nap-PG1601 | |
| FPAY | Annual fee payment | Payment date:20130925 Year of fee payment:4 | |
| PR1001 | Payment of annual fee | Fee payment year number:4 St.27 status event code:A-4-4-U10-U11-oth-PR1001 | |
| PN2301 | Change of applicant | St.27 status event code:A-5-5-R10-R11-asn-PN2301 St.27 status event code:A-5-5-R10-R13-asn-PN2301 | |
| R18-X000 | Changes to party contact information recorded | St.27 status event code:A-5-5-R10-R18-oth-X000 | |
| R18-X000 | Changes to party contact information recorded | St.27 status event code:A-5-5-R10-R18-oth-X000 | |
| R18-X000 | Changes to party contact information recorded | St.27 status event code:A-5-5-R10-R18-oth-X000 | |
| FPAY | Annual fee payment | Payment date:20140925 Year of fee payment:5 | |
| PR1001 | Payment of annual fee | Fee payment year number:5 St.27 status event code:A-4-4-U10-U11-oth-PR1001 | |
| R18-X000 | Changes to party contact information recorded | St.27 status event code:A-5-5-R10-R18-oth-X000 | |
| PC1903 | Unpaid annual fee | Not in force date:20151123 Payment event data comment text:Termination Category : DEFAULT_OF_REGISTRATION_FEE St.27 status event code:A-4-4-U10-U13-oth-PC1903 | |
| FPAY | Annual fee payment | Payment date:20160712 Year of fee payment:6 | |
| K11-X000 | Ip right revival requested | St.27 status event code:A-6-4-K10-K11-oth-X000 | |
| PC1903 | Unpaid annual fee | Ip right cessation event data comment text:Termination Category : DEFAULT_OF_REGISTRATION_FEE Not in force date:20151123 St.27 status event code:N-4-6-H10-H13-oth-PC1903 | |
| PR0401 | Registration of restoration | St.27 status event code:A-6-4-K10-K13-oth-PR0401 | |
| PR1001 | Payment of annual fee | Fee payment year number:6 St.27 status event code:A-4-4-U10-U11-oth-PR1001 | |
| R401 | Registration of restoration | ||
| FPAY | Annual fee payment | Payment date:20161221 Year of fee payment:7 | |
| PR1001 | Payment of annual fee | Fee payment year number:7 St.27 status event code:A-4-4-U10-U11-oth-PR1001 | |
| P22-X000 | Classification modified | St.27 status event code:A-4-4-P10-P22-nap-X000 | |
| PR1001 | Payment of annual fee | Fee payment year number:8 St.27 status event code:A-4-4-U10-U11-oth-PR1001 | |
| FPAY | Annual fee payment | Payment date:20181121 Year of fee payment:9 | |
| PR1001 | Payment of annual fee | Fee payment year number:9 St.27 status event code:A-4-4-U10-U11-oth-PR1001 | |
| PR1001 | Payment of annual fee | Fee payment year number:10 St.27 status event code:A-4-4-U10-U11-oth-PR1001 | |
| FPAY | Annual fee payment | Payment date:20200103 Year of fee payment:11 | |
| PR1001 | Payment of annual fee | Fee payment year number:11 St.27 status event code:A-4-4-U10-U11-oth-PR1001 | |
| PR1001 | Payment of annual fee | Fee payment year number:12 St.27 status event code:A-4-4-U10-U11-oth-PR1001 | |
| R18-X000 | Changes to party contact information recorded | St.27 status event code:A-5-5-R10-R18-oth-X000 | |
| PR1001 | Payment of annual fee | Fee payment year number:13 St.27 status event code:A-4-4-U10-U11-oth-PR1001 | |
| R18-X000 | Changes to party contact information recorded | St.27 status event code:A-5-5-R10-R18-oth-X000 | |
| PR1001 | Payment of annual fee | Fee payment year number:14 St.27 status event code:A-4-4-U10-U11-oth-PR1001 | |
| PR1001 | Payment of annual fee | Fee payment year number:15 St.27 status event code:A-4-4-U10-U11-oth-PR1001 | |
| PN2301 | Change of applicant | St.27 status event code:A-5-5-R10-R11-asn-PN2301 St.27 status event code:A-5-5-R10-R13-asn-PN2301 | |
| PN2301 | Change of applicant | St.27 status event code:A-5-5-R10-R11-asn-PN2301 St.27 status event code:A-5-5-R10-R13-asn-PN2301 | |
| P14-X000 | Amendment of ip right document requested | St.27 status event code:A-5-5-P10-P14-nap-X000 | |
| P14-X000 | Amendment of ip right document requested | St.27 status event code:A-5-5-P10-P14-nap-X000 |