









본 발명은 박막 트랜지스터, 그의 제조 방법 및 박막 트랜지스터를 구비하는 평판 표시 장치에 관한 것으로, 보다 상세하게는 산화물 반도체를 활성층으로 하는 박막 트랜지스터, 그의 제조 방법 및 박막 트랜지스터를 구비하는 평판 표시 장치에 관한 것이다.BACKGROUND OF THE INVENTION 1. Field of the Invention The present invention relates to a thin film transistor, a method for manufacturing the same, and a flat panel display including a thin film transistor. More particularly, the present invention relates to a thin film transistor including an oxide semiconductor as an active layer, a method for manufacturing the same, and a flat panel display including the thin film transistor. .
일반적으로 박막 트랜지스터(Thin Film Transistor)는 채널 영역, 소스 영역 및 드레인 영역을 제공하는 활성층과, 채널 영역 상부에 형성되며 게이트 절연막에 의해 활성층과 전기적으로 절연되는 게이트 전극으로 이루어진다.In general, a thin film transistor includes an active layer providing a channel region, a source region, and a drain region, and a gate electrode formed on the channel region and electrically insulated from the active layer by a gate insulating layer.
이와 같이 이루어진 박막 트랜지스터의 활성층은 대개 비정질 실리콘(amorphous silicon)이나 폴리 실리콘(poly-silicon)과 같은 반도체 물질로 형성되는데, 활성층이 비정실 실리콘으로 형성되면 이동도(mobility)가 낮아 고속으로 동작되는 구동 회로의 구현이 어려우며, 폴리 실리콘으로 형성되면 이동도는 높지만 문턱전압이 불균일하여 별도의 보상 회로가 부가되어야 하는 문제점이 있다.The active layer of the thin film transistor formed as described above is usually formed of a semiconductor material such as amorphous silicon or poly-silicon. When the active layer is formed of amorphous silicon, it is operated at high speed due to low mobility. It is difficult to implement the driving circuit, and when formed of polysilicon, there is a problem in that the mobility is high but the threshold voltage is uneven so that a separate compensation circuit must be added.
또한, 저온 폴리 실리콘(low temperature poly-silicon; LTPS)을 이용한 종래의 박막 트랜지스터 제조 방법은 레이저 열처리 등과 같은 고가의 공정이 포함되고 특성 제어가 어렵기 때문에 대면적의 기판에 적용이 어려운 문제점이 있다.In addition, the conventional thin film transistor manufacturing method using low temperature poly-silicon (LTPS) has a problem that it is difficult to apply to a large-area substrate because expensive processes such as laser heat treatment and the like is difficult to control characteristics. .
이러한 문제점을 해결하기 위해 최근에는 산화물 반도체를 활성층으로 이용하는 연구가 진행되고 있다.In order to solve this problem, researches using an oxide semiconductor as an active layer have recently been conducted.
일본공개특허 2004-273614호에는 산화아연(Zinc Oxide; ZnO) 또는 산화아연(ZnO)을 주성분으로 하는 산화물 반도체를 활성층으로 이용한 박막 트랜지스터가 개시되어 있다.Japanese Laid-Open Patent Publication No. 2004-273614 discloses a thin film transistor using an oxide semiconductor containing zinc oxide (ZnO) or zinc oxide (ZnO) as a main component.
산화아연(ZnO)을 주성분으로 하는 산화물 반도체는 비정질 형태이면서 안정적인 재로로서 평가되고 있으며, 이러한 산화물 반도체를 활성층으로 이용하면 기존의 저온 폴리 실리콘(LTPS) 공정으로 박막 트랜지스터를 제조할 수 있고, 300℃ 이하의 저온에서도 공정이 가능해진다.Oxide semiconductors containing zinc oxide (ZnO) as the main component are evaluated as amorphous and stable materials. By using such oxide semiconductors as active layers, thin film transistors can be manufactured by conventional low-temperature polysilicon (LTPS) processes, and 300 ° C. The process becomes possible even at the following low temperatures.
그러나 산화물 반도체를 소자에 적용하기 위해서는 전기적 특성을 만족시킬 수 있는 공정 개발 및 특성 개선이 요구되는 실정이다.However, in order to apply the oxide semiconductor to the device, it is required to develop a process and improve the characteristics to satisfy the electrical characteristics.
본 발명의 목적은 산화물 반도체층의 피해를 방지할 수 있는 박막 트랜지스터, 그의 제조 방법 및 박막 트랜지스터를 구비하는 평판 표시 장치를 제공하는 데 있다.SUMMARY OF THE INVENTION An object of the present invention is to provide a thin film transistor capable of preventing damage to an oxide semiconductor layer, a method for manufacturing the same, and a flat panel display device including the thin film transistor.
상기한 목적을 달성하기 위한 본 발명의 일 측면에 따른 박막 트랜지스터는 기판; 상기 기판 상에 형성된 게이트 전극; 게이트 절연막에 의해 상기 게이트 전극과 절연되며 채널 영역, 소스 영역 및 드레인 영역을 포함하는 산화물 반도체층; 및 상기 소스 영역 및 상기 드레인 영역과 접촉되는 소스 전극 및 드레인 전극을 포함하며, 상기 산화물 반도체층이 Ga의 농도가 서로 다른 이층 구조의 GIZO층으로 이루어진다.A thin film transistor according to an aspect of the present invention for achieving the above object is a substrate; A gate electrode formed on the substrate; An oxide semiconductor layer insulated from the gate electrode by a gate insulating layer and including a channel region, a source region and a drain region; And a source electrode and a drain electrode in contact with the source region and the drain region, wherein the oxide semiconductor layer includes a GIZO layer having a two-layer structure having different concentrations of Ga.
상기한 목적을 달성하기 위한 본 발명의 다른 일 측면에 따른 박막 트랜지스터의 제조 방법은 기판 상에 게이트 전극을 형성하는 단계; 상기 게이트 전극을 포함하는 상부에 게이트 절연막을 형성하는 단계; 상기 게이트 절연막 상에 채널 영역, 소스 영역 및 드레인 영역을 제공하는 산화물 반도체층을 형성하는 단계; 및 상기 소스 영역 및 드레인 영역과 접촉되는 소스 전극 및 드레인 전극을 형성하는 단계를 포함하며, 상기 산화물 반도체층 형성 단계는 타켓으로부터 In, Ga 및 Zn을 포함하는 이온이 증착되어 상기 게이트 절연막 상에 하부 GIZO층이 형성되도록 하는 단계; 및 상기 하부 GIZO층 상에 Ga의 농도가 상기 하부 GIZO층보다 높은 상부 GIZO층이 형성되도록 하는 단계를 포함한다.According to another aspect of the present invention, there is provided a method of manufacturing a thin film transistor, the method including: forming a gate electrode on a substrate; Forming a gate insulating layer on the gate including the gate electrode; Forming an oxide semiconductor layer on the gate insulating layer to provide a channel region, a source region, and a drain region; And forming a source electrode and a drain electrode in contact with the source region and the drain region, wherein the oxide semiconductor layer forming step includes depositing ions including In, Ga, and Zn from a target to form a lower portion on the gate insulating layer. Allowing a GIZO layer to be formed; And forming an upper GIZO layer having a higher concentration of Ga than the lower GIZO layer on the lower GIZO layer.
본 발명의 박막 트랜지스터는 갈륨(Ga)의 농도가 서로 다른 이층 구조의 GaInZnO(GIZO)층으로 이루어진 활성층을 구비한다. 하부 GIZO층은 1e+13 내지 1e+18#/㎤ 정도의 케리어 농도를 갖는 반도체 특성을 가지며, 상부 GIZO층은 높은 Ga의 농도에 따른 강건한 구조를 갖는다. 따라서 소자의 전기적 특성을 유지하며, 플라즈마 피해로 인한 전기적 특성 저하를 방지할 수 있다. 본 발명은 기존의 보호막을 그대로 적용할 수 있기 때문에 공정 및 장비의 호환성을 높여 제조 비용을 절감할 수 있다.The thin film transistor of the present invention includes an active layer made of a GaInZnO (GIZO) layer having a bilayer structure having different concentrations of gallium (Ga). The lower GIZO layer has semiconductor characteristics with a carrier concentration of about 1e + 13 to 1e + 18 # / cm 3, and the upper GIZO layer has a robust structure according to high Ga concentration. Therefore, it is possible to maintain the electrical characteristics of the device, and to prevent the electrical characteristics deterioration due to plasma damage. The present invention can apply the existing protective film as it is, it is possible to reduce the manufacturing cost by increasing the compatibility of the process and equipment.
이하, 첨부된 도면을 참조하여 본 발명의 바람직한 실시예를 상세히 설명하기로 한다. 이하의 실시예는 이 기술 분야에서 통상적인 지식을 가진 자에게 본 발명이 충분히 이해되도록 제공되는 것으로서, 여러 가지 형태로 변형될 수 있으며, 본 발명의 범위가 다음에 기술되는 실시예에 한정되는 것은 아니다.Hereinafter, exemplary embodiments of the present invention will be described in detail with reference to the accompanying drawings. The following embodiments are provided to those skilled in the art to fully understand the present invention, and may be modified in various forms, and the scope of the present invention is limited to the embodiments described below. no.
도 1은 본 발명에 따른 박막 트랜지스터를 설명하기 위한 단면도이다.1 is a cross-sectional view illustrating a thin film transistor according to the present invention.
절연물로 이루어진 기판(10) 상에 게이트 전극(11)이 형성된다. 기판(10)과 게이트 전극(11) 사이에는 버퍼층(도시안됨)이 형성될 수 있다.The
게이트 전극(11)을 포함하는 상부에는 게이트 절연막(12)에 의해 게이트 전극(11)과 전기적으로 절연되며, 채널 영역, 소스 영역 및 드레인 영역을 제공하는 산화물 반도체층(13)이 형성된다. 산화물 반도체층(13)은 갈륨(Ga)의 농도가 서로  다른 이층 구조의 GaInZnO(GIZO)층으로 형성되며, 이층 구조의 GIZO층에서 상부층의 Ga의 농도가 하부층보다 높게 조절된다.On the top including the
산화물 반도체층(13) 상에는 소스 영역 및 드레인 영역과 접촉되는 소스 전극 및 드레인 전극(14a 및 14b)이 형성되고, 소스 전극 및 드레인 전극(14a 및 14b)을 포함하는 상부에는 보호막(15)이 형성된다.Source and
도 2a 내지 도 2c는 본 발명에 따른 박막 트랜지스터의 제조 방법을 설명하기 위한 단면도로서, 제조 공정을 통해 본 발명의 박막 트랜지스터를 보다 상세히 설명한다.2A to 2C are cross-sectional views illustrating a method of manufacturing a thin film transistor according to the present invention, and the thin film transistor of the present invention will be described in detail through a manufacturing process.
도 2a를 참조하면, 절연물로 이루어진 기판(10) 상에 게이트 전극(11)을 형성한 후 게이트 전극(11)을 포함하는 상부에 게이트 절연막(12)을 형성한다. 이 때 기판(10) 상에 버퍼층(도시안됨)을 형성한 후 버퍼층 상에 게이트 전극(11)을 형성할 수 있다. 게이트 전극(11)은 Mo, MoW, Al 등의 금속으로 형성하고, 게이트 절연막(12)은 실리콘 산화막(SiO2)이나 실리콘 질화막(SiNx)으로 형성한다.Referring to FIG. 2A, after forming the
도 2b를 참조하면, 게이트 전극(11)과 중첩되도록 게이트 절연막(12) 상에 채널 영역, 소스 영역 및 드레인 영역을 제공하는 산화물 반도체층(13)을 형성한다. 산화물 반도체층(13)은 Ga의 농도가 서로 다른 이층 구조의 GIZO층으로 형성하며, 이층 구조의 GIZO층에서 상부층의 Ga의 농도를 하부층보다 높게 조절한다.Referring to FIG. 2B, an
Ga의 농도가 서로 다른 이층 구조의 GIZO층을 형성하기 위한 실시예로서, 타겟(target)으로부터 In, Ga 및 Zn을 포함하는 이온이 증착되어 게이트 절연막(12)  상에 하부 GIZO층(13a)이 형성되도록 하고, 하부 GIZO층(13a) 상에 Ga의 농도가 하부 GIZO층(13a)보다 높은 상부 GIZO층(13b)이 형성되도록 한다. 상기 타겟으로는 예를 들어, GaInZnO(GIZO) 타겟 및 Ga2O3 타겟을 사용할 수 있으며, 타겟에 인가되는 바이어스 전력이나, 펄스 레이저, 또는 타겟의 몰비 등을 조절하여 Ga의 농도를 조절할 수 있다. 즉, 하부 GIZO층(13a)과 상부 GIZO층(13b)을 한 번의 공정으로 동시에 형성하되, 상부 GIZO층(13b)을 형성하는 과정에서 Ga의 농도를 하부 GIZO층(13a)의 Ga의 농도보다 높게 조절한다.As an embodiment for forming a GIZO layer having a bilayer structure having different Ga concentrations, ions including In, Ga, and Zn are deposited from a target to form a
예를 들어, 코스퍼터링(co-sputtering) 방법의 경우 GIZO 타겟 및 Ga2O3 타겟에 각각 바이어스 전력을 인가하고, Ga2O3 타겟에 인가되는 바이어스 전력의 크기를 조절할 수 있으며, 펄스 레이저 증착(pulse laser deposition) 방법의 경우 GIZO 타겟 및 Ga2O3 타겟에 각각 펄스 레이저를 조사하고, Ga2O3 타겟에 조사되는 펄스 레이저의 세기를 조절하여 Ga의 농도를 증가시킬 수 있다. 또한, GIZO 타겟 및 Ga2O3 타겟의 몰비를 조절하여 Ga의 농도를 증가시킬 수 있다.For example, in the case of the co-sputtering method, the bias power may be applied to the GIZO target and the Ga2 O3 target, and the magnitude of the bias power applied to the Ga2 O3 target may be adjusted, and the pulse laser deposition may be performed. In the case of the pulse laser deposition method, the GIZO target and the Ga2 O3 target may be irradiated with a pulse laser, and the intensity of Ga may be increased by adjusting the intensity of the pulse laser irradiated on the Ga2 O3 target. In addition, the concentration of Ga may be increased by adjusting the molar ratio of the GIZO target and the Ga2 O3 target.
일 예로서, 하부 GIZO층(13a)의 Ga의 농도는 20 내지 40at%가 되도록 하고, 상부 GIZO층(13b)의 Ga의 농도는 30 내지 60at%가 되도록 할 수 있다. 이 경우 하부 GIZO층(13a)의 Ga의 농도가 20at% 이하 또는 40at% 이상이 되면 박막 트랜지스터로서의 반도체 특성을 얻기 어려울 수 있으므로 원하는 전기적 특성을 얻을 수 있도록 적절한 범위 내에서 조절하면 된다.As an example, the concentration of Ga in the
도 2c를 참조하면, 산화물 반도체층(13)을 포함하는 상부에 도전층을 형성한 후 패터닝하여 산화물 반도체층(13)의 소스 영역 및 드레인 영역과 연결되는 소스 전극 및 드레인 전극(14a 및 14b)을 형성하고, 소스 전극 및 드레인 전극(14a 및 14b)을 포함하는 상부에 보호막(15)을 형성한다.Referring to FIG. 2C, source and
상기와 같이 본 발명의 박막 트랜지스터는 산화물 반도체층(13)이 Ga의 농도가 서로 다른 이층 구조의 GIZO층으로 형성된다.As described above, in the thin film transistor of the present invention, the
GIZO와 같은 산화물 반도체에서 Ga의 농도가 증가하면 비저항이 증가하여 절연특성을 나타내는 것으로 보고된 바 있다(논문 Hideo Hosono, 'Ionic amorphous oxide semiconductors : Material design, Carrier transport, and device application', J. of Non-crystalline Solid, 352, 2006, 851p 참조).Increasing the concentration of Ga in oxide semiconductors such as GIZO has been reported to increase the resistivity and exhibit insulating properties. Non-crystalline Solid, 352, 2006, 851p).
도 3은 In2O3 - ZnO - Ga2O3의 3 성분계에서 홀(hall) 효과에 의한 이동도를 맵핑(mapping)한 그래프로서, Ga2O3의 농도 비율이 증가하면 GIZO층의 비저항이 증가하고, GIZO층의 비저항이 증가하면 절연특성을 가지며 구조적으로 강건해진다. 즉, Ga은 In이나 Zn에 비해 산소와의 결합력이 강하기 때문에 Ga이 증가하면 산소 유실에 의한 케리어 생성이 억제될 수 있다. 따라서 상대적으로 비저항이 높게 유지되기 때문에 공정 과정에서 외부 영향에 의해 케리어가 생성되더라도 반도체 특성을 유지할 수 있게 된다. 본 발명의 효과를 높이기 위하여 하부 GIZO층(13a)과 상부 GIZO층(13b)의 두께 비를 1 내지 2 : 1 정도가 되도록 하는 것이 바람직하다.3 is a graph mapping the mobility due to the hall effect in the three-component system of In2 O3 -ZnO-Ga2 O3 , wherein the resistivity of the GIZO layer increases when the Ga2 O3 concentration ratio is increased. This increases and the resistivity of the GIZO layer increases, resulting in insulation and structural strength. That is, since Ga has a stronger bonding force with oxygen than In or Zn, when Ga increases, carrier generation due to oxygen loss can be suppressed. Therefore, since the resistivity is relatively high, semiconductor characteristics can be maintained even when a carrier is generated by external influences in the process. In order to increase the effect of the present invention, it is preferable that the thickness ratio of the
본 발명은 이러한 원리에 기초하여, 산화물 반도체층(13)을 형성하는 과정에 서 하부 GIZO층(13a)의 Ga의 농도는 기존의 GIZO층과 같거나 유사하게 조절하고, 상부 GIZO층(13b)의 Ga의 농도는 하부 GIZO층(13a)보다 높게 조절한다. 상부 GIZO층(13b)의 Ga의 농도를 기존의 GIZO층 보다 증가시킴으로써 구조적으로 강건해진다.Based on this principle, the Ga concentration of the
상기와 같은 구조의 박막 트랜지스터는 제조 과정에서 도전층을 패터닝하여 소스 및 드레인 전극(14a 및 14b)을 형성하거나, 보호막(15)을 증착할 때 산화물 반도체층(13)의 표면부가 노출되기 때문에 플라즈마에 의해 피해를 입게 된다. 만일 산화물 반도체층(13)이 단일층 구조의 GIZO층으로 형성될 경우 플라즈마에 의한 피해로 인해 표면 격자가 파괴되어 산소 결함(deficiency)이 발생되고, 이와 같은 산소 결함에 따른 비저항 감소에 의해 반도체 특성이 저하되거나 상실될 수 있다.In the thin film transistor having the above structure, the conductive layer is patterned to form the source and
도 4는 플라즈마에 의해 피해를 입은 산화물 반도체층의 전기적 특성을 도시한 그래프로서, 게이트 전압에 따른 드레인 전류의 변화로 볼 때 스위칭(transfer on/off) 특성을 상실하고 누설전류 특성을 나타낸다.FIG. 4 is a graph illustrating the electrical characteristics of the oxide semiconductor layer damaged by the plasma. In FIG. 4, the switching current is lost and the leakage current characteristics are lost when the drain current is changed according to the gate voltage.
그러나 본 발명에 따라 산화물 반도체층(13)을 Ga의 농도가 서로 다른 이층 구조의 GIZO층으로 형성하면, 상부 GIZO층(13b)의 강건한 구조에 의해 플라즈마에 노출되더라도 피해가 발생되지 않으며, 높은 비저항에 의해 전류의 흐름 경로가 형성되지 않기 때문에 누설전류가 발생되지 않는다. 즉, 게이트 절연막(12)과의 계면에 위치되는 하부 GIZO층(13a)은 1e+13 내지 1e+17#/㎤ 정도의 케리어 농도를 갖는 반도체 특성을 가지며, 상부 GIZO층(13b)은 높은 Ga의 농도에 따른 강건한 구조를 갖게 됨으로써 소자의 전기적 특성을 유지할 수 있고, 플라즈마 피해로 인한 전기 적 특성 저하를 방지할 수 있다.However, when the
도 5는 본 발명에 따른 박막 트랜지스터를 구비하는 평판 표시 장치의 일 실시예를 설명하기 위한 사시도로서, 화상을 표시하는 표시 패널(100)을 중심으로 개략적으로 설명한다.FIG. 5 is a perspective view illustrating an exemplary embodiment of a flat panel display including a thin film transistor according to an exemplary embodiment of the present invention, and will be schematically described with reference to the
표시 패널(100)은 대향하도록 배치된 두 개의 기판(110 및 120)과, 두 개의 기판(110 및 120) 사이에 개재된 액정층(130)으로 이루어지며, 기판(110)에 매트릭스 형태로 배열된 다수의 게이트 선(111)과 데이터 선(112)에 의해 화소 영역(113)이 정의된다. 그리고 게이트 선(111)과 데이터 선(112)이 교차되는 부분의 기판(110)에는 각 화소로 공급되는 신호를 제어하는 박막 트랜지스터(114) 및 박막 트랜지스터(114)와 연결된 화소 전극(115)이 형성된다.The
박막 트랜지스터(114)는 도 1과 같은 구조를 가지며, 도 2a 내지 도 2c를 참조하여 설명한 본 발명의 제조 방법에 따라 제조될 수 있다.The
또한, 기판(120)에는 컬러필터(121) 및 공통전극(122)이 형성된다. 그리고 기판(110 및 120)의 배면에는 편광판(116 및 123)이 각각 형성되며, 편광판(116)의 하부에는 광원으로서 백 라이트(도시안됨)가 배치된다.In addition, the
한편, 표시 패널(100)의 화소 영역(113) 주변에는 표시 패널(100)을 구동시키기 위한 구동부(LCD Drive IC; 도시안됨)가 실장된다. 구동부는 외부로부터 제공되는 전기적 신호를 주사 신호 및 데이터 신호로 변환하여 게이트 선과 데이터 선으로 공급한다.Meanwhile, a driving unit (not shown) for driving the
도 6a 및 도 6b는 본 발명에 따른 박막 트랜지스터를 구비하는 평판 표시 장 치의 다른 실시예를 설명하기 위한 평면도 및 단면도로서, 화상을 표시하는 표시 패널(200)을 중심으로 개략적으로 설명한다.6A and 6B are a plan view and a cross-sectional view for describing another embodiment of a flat panel display device having a thin film transistor according to the present invention, and will be schematically described with reference to the
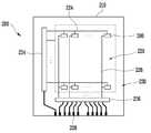
도 6a를 참조하면, 기판(210)은 화소 영역(220)과, 화소 영역(220)을 둘러싸는 비화소 영역(230)으로 정의된다. 화소 영역(220)의 기판(210)에는 주사 라인(224) 및 데이터 라인(226) 사이에 매트릭스 방식으로 연결된 다수의 유기전계발광 소자(300)가 형성되고, 비화소 영역(230)의 기판(210)에는 화소 영역(220)의 주사 라인(224) 및 데이터 라인(226)으로부터 연장된 주사 라인(224) 및 데이터 라인(226), 유기전계발광 소자(300)의 동작을 위한 전원공급 라인(도시안됨) 그리고 패드(228)를 통해 외부로부터 제공된 신호를 처리하여 주사 라인(224) 및 데이터 라인(226)으로 공급하는 주사 구동부(234) 및 데이터 구동부(236)가 형성된다.Referring to FIG. 6A, the
도 7을 참조하면, 유기전계발광 소자(300)는 애노드 전극(317) 및 캐소드 전극(320)과, 애노드 전극(317) 및 캐소드 전극(320) 사이에 형성된 유기 박막층(319)으로 이루어진다. 유기 박막층(319)은 정공 수송층, 유기발광층 및 전자 수송층이 적층된 구조로 형성되며, 정공 주입층과 전자 주입층이 더 포함될 수 있다. 또한, 유기전계발광 소자(300)의 동작을 제어하기 위한 박막 트랜지스터와 신호를 유지시키기 위한 캐패시터가 더 포함될 수 있다.Referring to FIG. 7, the organic
박막 트랜지스터는 도 1과 같은 구조를 가지며, 도 2a 내지 도 2c를 참조하여 설명한 본 발명의 제조 방법에 따라 제조될 수 있다.The thin film transistor has a structure as shown in FIG. 1 and may be manufactured according to the manufacturing method of the present invention described with reference to FIGS. 2A to 2C.
상기와 같이 구성된 박막 트랜지스터를 포함하는 유기전계발광 소자(300)를 도 6a 및 도 7을 통해 보다 상세히 설명하면 다음과 같다.The
기판(210) 상에 게이트 전극(11)이 형성된다. 이 때 화소 영역(220)에는 게이트 전극(11)과 연결되는 주사 라인(224)이 형성되고, 비화소 영역(230)에는 화소 영역(220)의 주사 라인(224)으로부터 연장되는 주사 라인(224) 및 외부로부터 신호를 제공받기 위한 패드(228)가 형성될 수 있다.The
게이트 전극(11)을 포함하는 상부에는 게이트 절연막(12)에 의해 게이트 전극(11)과 전기적으로 절연되며, 채널 영역, 소스 영역 및 드레인 영역을 제공하는 산화물 반도체층(13)이 형성된다. 산화물 반도체층(13)은 Ga의 농도가 서로 다른 이층 구조의 GIZO층으로 형성되며, 이층 구조의 GIZO층에서 상부층의 Ga의 농도가 하부층보다 높게 조절된다.On the top including the
산화물 반도체층(13) 상에는 소스 영역 및 드레인 영역과 접촉되는 소스 및 드레인 전극(14a 및 14b)이 형성된다. 이 때 화소 영역(220)에는 소스 및 드레인 전극(14a 및 14b)과 연결되는 데이터 라인(226)이 형성되고, 비화소 영역(230)에는 화소 영역(220)의 데이터 라인(226)으로부터 연장되는 데이터 라인(226) 및 외부로부터 신호를 제공받기 위한 패드(228)가 형성될 수 있다.On the
소스 및 드레인 전극(14a 및 14b)을 포함하는 상부에는 보호막(15)이 형성되고, 보호막(15)에는 소스 또는 드레인 전극(14a 또는 14b)이 노출되도록 비아홀이 형성된다. 보호막(15)은 절연 및 평탄화를 위해 다층 구조로도 형성될 수 있다.A
비아홀을 통해 소스 또는 드레인 전극(14a 또는 14b)과 연결되는 애노드 전극(317)이 형성되고, 애노드 전극(317)의 일부 영역(발광 영역)이 노출되도록 보호막(15) 상에 화소 정의막(318)이 형성된다. 그리고 노출된 애노드 전극(317) 상에  유기 박막층(319)이 형성되고, 유기 박막층(319)을 포함하는 화소 정의막(318) 상에 캐소드 전극(320)이 형성된다.An
도 6b를 참조하면, 유기전계발광 소자(300)가 형성된 기판(210) 상부에는 화소 영역(220)을 밀봉시키기 위한 봉지 기판(400)이 배치되며, 밀봉재(410)에 의해 봉지 기판(400)이 기판(210)에 합착되어 표시 패널(200)이 완성된다.Referring to FIG. 6B, an
이상에서와 같이 상세한 설명과 도면을 통해 본 발명의 최적 실시예를 개시하였다. 용어들은 단지 본 발명을 설명하기 위한 목적에서 사용된 것이지 의미 한정이나 특허청구범위에 기재된 본 발명의 범위를 제한하기 위하여 사용된 것은 아니다. 그러므로 본 기술 분야의 통상의 지식을 가진 자라면 이로부터 다양한 변형 및 균등한 타 실시예가 가능하다는 점을 이해할 것이다. 따라서 본 발명의 진정한 기술적 보호 범위는 첨부된 특허청구범위의 기술적 사상에 의해 정해져야 할 것이다.As described above, the preferred embodiment of the present invention has been disclosed through the detailed description and the drawings. The terms are used only for the purpose of describing the present invention and are not used to limit the scope of the present invention as defined in the meaning or claims. Therefore, those skilled in the art will understand that various modifications and equivalent other embodiments are possible from this. Therefore, the true technical protection scope of the present invention will be defined by the technical spirit of the appended claims.
도 1은 본 발명에 따른 박막 트랜지스터를 설명하기 위한 단면도.1 is a cross-sectional view illustrating a thin film transistor according to the present invention.
도 2a 내지 도 2c는 본 발명에 따른 박막 트랜지스터의 제조 방법을 설명하기 위한 단면도.2A to 2C are cross-sectional views illustrating a method of manufacturing a thin film transistor according to the present invention.
도 3은 In2O3 - ZnO - Ga2O3의 3 성분계에서 홀(hall) 효과에 의한 이동도를 맵핑한 그래프.3 is a graph mapping the mobility due to the hall effect in the three component system of In2 O3 -ZnO-Ga2 O3 .
도 4는 플라즈마에 의해 피해를 입은 산화물 반도체층의 전기적 특성을 도시한 그래프.4 is a graph showing the electrical characteristics of the oxide semiconductor layer damaged by the plasma.
도 5는 본 발명에 따른 박막 트랜지스터를 구비하는 평판 표시 장치의 일 실시예를 설명하기 위한 사시도.5 is a perspective view for explaining an exemplary embodiment of a flat panel display including a thin film transistor according to the present invention.
도 6a 및 도 6b는 본 발명에 따른 박막 트랜지스터를 구비하는 평판 표시 장치의 다른 실시예를 설명하기 위한 평면도 및 단면도.6A and 6B are a plan view and a sectional view for explaining another embodiment of a flat panel display device having a thin film transistor according to the present invention.
도 7은 도 6a의 유기전계발광 소자를 설명하기 위한 단면도.FIG. 7 is a cross-sectional view for describing the organic light emitting display device of FIG. 6A. FIG.
<도면의 주요 부분에 대한 부호의 설명><Explanation of symbols for the main parts of the drawings>
10, 110, 120, 210: 기판11: 게이트 전극10, 110, 120, 210: substrate 11: gate electrode
12: 게이트 절연막13: 산화물 반도체층12: gate insulating film 13: oxide semiconductor layer
13a, 13b: GIZO층14a: 소스 전극13a, 13b:
14b: 드레인 전극15: 보호막14b: drain electrode 15: protective film
100, 200: 표시 패널111: 게이트 선100, 200: display panel 111: gate line
112: 데이터 선113: 화소 영역112: data line 113: pixel area
114: 박막 트랜지스터115: 화소 전극114: thin film transistor 115: pixel electrode
116, 123: 편광판121: 컬러필터116, 123: polarizer 121: color filter
122: 공통전극130: 액정층122: common electrode 130: liquid crystal layer
220: 화소 영역224: 주사 라인220: pixel region 224: scan line
226: 데이터 라인228: 패드226: data line 228: pad
230: 비화소 영역234: 주사 구동부230: non-pixel region 234: scan driver
236: 데이터 구동부300: 유기전계발광 소자236: data driver 300: organic light emitting device
317: 애노드 전극318: 화소 정의막317: anode electrode 318: pixel defining film
319: 유기 박막층320: 캐소드 전극319: organic thin film layer 320: cathode electrode
400: 봉지 기판410: 밀봉재400: sealing substrate 410: sealing material
| Application Number | Priority Date | Filing Date | Title | 
|---|---|---|---|
| KR1020080031541AKR100941855B1 (en) | 2008-04-04 | 2008-04-04 | Thin film transistor, its manufacturing method, and flat panel display device comprising thin film transistor | 
| Application Number | Priority Date | Filing Date | Title | 
|---|---|---|---|
| KR1020080031541AKR100941855B1 (en) | 2008-04-04 | 2008-04-04 | Thin film transistor, its manufacturing method, and flat panel display device comprising thin film transistor | 
| Publication Number | Publication Date | 
|---|---|
| KR20090106051A KR20090106051A (en) | 2009-10-08 | 
| KR100941855B1true KR100941855B1 (en) | 2010-02-12 | 
| Application Number | Title | Priority Date | Filing Date | 
|---|---|---|---|
| KR1020080031541AActiveKR100941855B1 (en) | 2008-04-04 | 2008-04-04 | Thin film transistor, its manufacturing method, and flat panel display device comprising thin film transistor | 
| Country | Link | 
|---|---|
| KR (1) | KR100941855B1 (en) | 
| Publication number | Priority date | Publication date | Assignee | Title | 
|---|---|---|---|---|
| EP2348531B1 (en) | 2010-01-26 | 2021-05-26 | Samsung Electronics Co., Ltd. | Thin film transistor and method of manufacturing the same | 
| KR102420689B1 (en) | 2010-02-26 | 2022-07-15 | 가부시키가이샤 한도오따이 에네루기 켄큐쇼 | Semiconductor device | 
| KR101700882B1 (en) | 2010-05-20 | 2017-02-01 | 삼성디스플레이 주식회사 | Oxide semiconductor thin film transistor | 
| Publication number | Priority date | Publication date | Assignee | Title | 
|---|---|---|---|---|
| KR20070035373A (en)* | 2005-09-27 | 2007-03-30 | 삼성에스디아이 주식회사 | Transparent thin film transistor and manufacturing method thereof | 
| KR20070102939A (en)* | 2006-04-17 | 2007-10-22 | 삼성전자주식회사 | Amorphous NPN-based TFT | 
| Publication number | Priority date | Publication date | Assignee | Title | 
|---|---|---|---|---|
| KR20070035373A (en)* | 2005-09-27 | 2007-03-30 | 삼성에스디아이 주식회사 | Transparent thin film transistor and manufacturing method thereof | 
| KR20070102939A (en)* | 2006-04-17 | 2007-10-22 | 삼성전자주식회사 | Amorphous NPN-based TFT | 
| Publication number | Publication date | 
|---|---|
| KR20090106051A (en) | 2009-10-08 | 
| Publication | Publication Date | Title | 
|---|---|---|
| KR100941850B1 (en) | Thin film transistor, its manufacturing method, and flat panel display device comprising thin film transistor | |
| KR100975204B1 (en) | Thin film transistor, its manufacturing method, and flat panel display device comprising thin film transistor | |
| KR100963003B1 (en) | Thin film transistor, its manufacturing method, and flat panel display device comprising thin film transistor | |
| KR100963104B1 (en) | Thin film transistor, its manufacturing method, and flat panel display device comprising thin film transistor | |
| KR101064402B1 (en) | A flat panel display comprising a thin film transistor, a method of manufacturing the same, and a thin film transistor | |
| KR20090124527A (en) | Thin film transistor, its manufacturing method, and flat panel display device comprising thin film transistor | |
| KR100963026B1 (en) | Thin film transistor, its manufacturing method, and flat panel display device comprising thin film transistor | |
| KR100963027B1 (en) | Thin film transistor, its manufacturing method, and flat panel display device comprising thin film transistor | |
| KR100873081B1 (en) | Thin film transistor, its manufacturing method, and flat panel display device comprising thin film transistor | |
| KR101048965B1 (en) | Organic electroluminescent display | |
| KR101048996B1 (en) | Thin film transistor and flat panel display having same | |
| KR20110037220A (en) | An organic light emitting display device comprising a thin film transistor, a method of manufacturing the same, and a thin film transistor | |
| KR101056229B1 (en) | An organic light emitting display device comprising a thin film transistor, a method of manufacturing the same, and a thin film transistor | |
| KR20100082940A (en) | Organic light emitting display device and method of manufacturing the same | |
| KR20110006812A (en) | Organic electroluminescent display and manufacturing method | |
| KR20090105561A (en) | Semiconductor device and flat panel display device having same | |
| KR101022141B1 (en) | An organic light emitting display device comprising a thin film transistor, a method of manufacturing the same, and a thin film transistor | |
| KR100941855B1 (en) | Thin film transistor, its manufacturing method, and flat panel display device comprising thin film transistor | |
| KR20090076581A (en) | Thin film transistor, its manufacturing method, and flat panel display device comprising thin film transistor | 
| Date | Code | Title | Description | 
|---|---|---|---|
| A201 | Request for examination | ||
| PA0109 | Patent application | Patent event code:PA01091R01D Comment text:Patent Application Patent event date:20080404 | |
| PA0201 | Request for examination | ||
| N231 | Notification of change of applicant | ||
| PN2301 | Change of applicant | Patent event date:20081121 Comment text:Notification of Change of Applicant Patent event code:PN23011R01D | |
| E902 | Notification of reason for refusal | ||
| PE0902 | Notice of grounds for rejection | Comment text:Notification of reason for refusal Patent event date:20090730 Patent event code:PE09021S01D | |
| PG1501 | Laying open of application | ||
| E701 | Decision to grant or registration of patent right | ||
| PE0701 | Decision of registration | Patent event code:PE07011S01D Comment text:Decision to Grant Registration Patent event date:20100121 | |
| GRNT | Written decision to grant | ||
| PR0701 | Registration of establishment | Comment text:Registration of Establishment Patent event date:20100203 Patent event code:PR07011E01D | |
| PR1002 | Payment of registration fee | Payment date:20100203 End annual number:3 Start annual number:1 | |
| PG1601 | Publication of registration | ||
| FPAY | Annual fee payment | Payment date:20130204 Year of fee payment:4 | |
| PR1001 | Payment of annual fee | Payment date:20130204 Start annual number:4 End annual number:4 | |
| FPAY | Annual fee payment | Payment date:20140129 Year of fee payment:5 | |
| PR1001 | Payment of annual fee | Payment date:20140129 Start annual number:5 End annual number:5 | |
| FPAY | Annual fee payment | Payment date:20150130 Year of fee payment:6 | |
| PR1001 | Payment of annual fee | Payment date:20150130 Start annual number:6 End annual number:6 | |
| FPAY | Annual fee payment | Payment date:20180201 Year of fee payment:9 | |
| PR1001 | Payment of annual fee | Payment date:20180201 Start annual number:9 End annual number:9 | |
| FPAY | Annual fee payment | Payment date:20190129 Year of fee payment:10 | |
| PR1001 | Payment of annual fee | Payment date:20190129 Start annual number:10 End annual number:10 | |
| FPAY | Annual fee payment | Payment date:20200203 Year of fee payment:11 | |
| PR1001 | Payment of annual fee | Payment date:20200203 Start annual number:11 End annual number:11 | |
| PR1001 | Payment of annual fee | Payment date:20210201 Start annual number:12 End annual number:12 | |
| PR1001 | Payment of annual fee | Payment date:20220127 Start annual number:13 End annual number:13 | |
| PR1001 | Payment of annual fee | Payment date:20230125 Start annual number:14 End annual number:14 | |
| PR1001 | Payment of annual fee | Payment date:20240125 Start annual number:15 End annual number:15 |