



























































































도 1은 일반적인 횡전계 방식 액정표시장치의 일부를 개략적으로 도시한 단면도이고,1 is a cross-sectional view schematically showing a part of a general transverse electric field type liquid crystal display device,
도 2는 종래에 따른 횡전계 방식 액정표시장치용 어레이기판의 한 화소를 도시한 확대 평면도이고,2 is an enlarged plan view showing one pixel of a conventional array substrate for a transverse electric field type liquid crystal display device;
도 3a 내지 도 3h와 도 4a 내지 도 4h와 도 5a 내지 도 5h와 도 6a 내지 도 6h는 도 2의 Ⅱ-Ⅱ,Ⅲ-Ⅲ,Ⅳ-Ⅳ,Ⅴ-Ⅴ를 따라 절단하여, 종래의 공정순서에 따라 도시한 공정 단면도이고,3A to 3H, 4A to 4H, 5A to 5H, and 6A to 6H are cut along II-II, III-III, IV-IV, and V-V of FIG. It is the process cross section shown in order
도 7은 본 발명에 따른 횡전계 방식 액정표시장치용 어레이 기판의 한 화소를 확대한 평면도이고,7 is an enlarged plan view of one pixel of an array substrate for a transverse electric field type liquid crystal display device according to the present invention;
도 8a 와 도 8b와 도 8c와 도 8d는 도 7의 Ⅶ-Ⅶ,Ⅷ-Ⅷ,Ⅸ-Ⅸ,Ⅹ-Ⅹ을 따라 절단하여, 본 발명의 제 1 실시예에 따른 구성으로 도시한 단면도이고,8A, 8B, 8C, and 8D are cross-sectional views taken along the lines VIII-VIII, VIII-VIII, VIII-VIII, VIII-VIII, and according to the first embodiment of the present invention. ,
도 9a 내지 도 9i와 도 10a 내지 도 10i와 도 11a 내지 도 11i와 도 12a 내지 도 12i는 도 7의 Ⅶ-Ⅶ,Ⅷ-Ⅷ,Ⅸ-Ⅸ,Ⅹ-Ⅹ을 따라 절단하여, 본 발명의 제 1 실시예에 따른 공정순서에 따라 도시한 공정단면도이고,9A to 9I, 10A to 10I, 11A to 11I, and 12A to 12I are cut along the line VIII-VII, VIII-VIII, VIII-VIII, VIII-VIII of FIG. Process cross-sectional view shown in accordance with the process sequence according to the first embodiment,
도 13a 와 도 13b와 도 13c 도 13d는 각각 도 7의 Ⅶ-Ⅶ,Ⅷ-Ⅷ,Ⅸ-Ⅸ,Ⅹ-Ⅹ을 따라 절단한 단면도이고,13A and 13B and 13C and FIG. 13D are cross-sectional views taken along the line VIII-VIII, VIII-VIII, VIII-VIII, VIII-VIII of FIG. 7, respectively.
도 14a 내지 도 14c와 도 15a 내지 15c와 도 16a 내지 도 16c와 도 17a 내지도 17c는 본 발명의 제 3 실시예에 따른 공정순서에 따라 도시한 공정 단면도이다.14A to 14C, 15A to 15C, 16A to 16C, and 17A to 17C are cross-sectional views illustrating a process sequence according to a third embodiment of the present invention.
도 18은 본 발명에 따른 어레이 기판의 다른 예를 도시한 단면도이다.18 is a cross-sectional view showing another example of the array substrate according to the present invention.
<도면의 주요부분에 대한 간단한 설명> <Brief description of the main parts of the drawing>
100 : 기판                  102 : 게이트 전극100
104 : 게이트 배선 106 : 게이트 패드 전극104: gate wiring 106: gate pad electrode
108 : 공통 전극 연결부 124 : 액티브층108: common electrode connection portion 124: active layer
128 : 버퍼 금속층 138 : 소스 전극128: buffer metal layer 138: source electrode
140 : 드레인 전극 142 : 데이터 배선140: drain electrode 142: data wiring
148 : 화소 전극 150 : 공통 전극148: pixel electrode 150: common electrode
152 : 게이트 패드 전극      148a : 화소 전극 연결부152:
109 : 공통 배선109: common wiring
본 발명은 액정표시장치(Liquid Crystal Display Device)에 관한 것으로 특 히, 생산성 및 화질특성을 개선할 수 있는 액정표시장치용 어레이기판과 그 제조방법에 관한 것이다.BACKGROUND OF THE
일반적으로, 액정표시장치의 구동원리는 액정의 광학적 이방성과 분극성질을 이용한다. 상기 액정은 구조가 가늘고 길기 때문에 분자의 배열에 방향성을 가지고 있으며, 인위적으로 액정에 전기장을 인가하여 분자배열의 방향을 제어할 수 있다.In general, the driving principle of the liquid crystal display device uses the optical anisotropy and polarization of the liquid crystal. Since the liquid crystal is thin and long in structure, the liquid crystal has directivity in the arrangement of molecules, and the direction of the molecular arrangement can be controlled by artificially applying an electric field to the liquid crystal.
따라서, 상기 액정의 분자배열 방향을 임의로 조절하면, 액정의 분자배열이 변하게 되고, 광학적 이방성에 의해 상기 액정의 분자배열 방향으로 빛이 굴절하여 화상정보를 표현할 수 있다.Accordingly, if the molecular arrangement direction of the liquid crystal is arbitrarily adjusted, the molecular arrangement of the liquid crystal is changed, and light is refracted in the molecular arrangement direction of the liquid crystal due to optical anisotropy to express image information.
현재에는 박막트랜지스터와 상기 박막트랜지스터에 연결된 화소 전극이 행렬방식으로 배열된 능동행렬 액정표시장치(AM-LCD : Active Matrix LCD 이하, 액정표시장치로 약칭함)가 해상도 및 동영상 구현능력이 우수하여 가장 주목받고 있다.Currently, an active matrix liquid crystal display device (AM-LCD: below Active Matrix LCD, abbreviated as liquid crystal display device) in which a thin film transistor and pixel electrodes connected to the thin film transistor are arranged in a matrix manner has the best resolution and video performance. It is attracting attention.
상기 액정표시장치는 공통 전극이 형성된 상부의 컬러필터 기판과 화소 전극이 형성된 하부의 어레이 기판과, 두 기판 사이에 충진된 액정으로 이루어지는데, 이러한 액정표시장치에서는 공통 전극과 화소 전극이 상-하로 걸리는 전기장에 의해 액정을 구동하는 방식으로, 투과율과 개구율 등의 특성이 우수하다.The LCD includes an upper color filter substrate on which a common electrode is formed, an array substrate on a bottom on which a pixel electrode is formed, and a liquid crystal filled between the two substrates. In such a liquid crystal display, the common electrode and the pixel electrode are disposed up-down. It is excellent in the characteristics, such as transmittance | permeability and aperture ratio, by the method of driving a liquid crystal by an applied electric field.
그러나, 상-하로 걸리는 전기장에 의한 액정구동은 시야각 특성이 우수하지 못한 단점을 가지고 있다. 따라서, 상기의 단점을 극복하기 위해 새로운 기술이 제안되고 있다. 하기 기술될 액정표시장치는 횡전계에 의한 액정 구동방법으로 시야각 특성이 우수한 장점을 갖고 있다.However, the liquid crystal drive by the electric field applied up-down has a disadvantage that the viewing angle characteristics are not excellent. Therefore, new techniques have been proposed to overcome the above disadvantages. The liquid crystal display device to be described below has an advantage of excellent viewing angle characteristics by a liquid crystal driving method using a transverse electric field.
이하, 도 1을 참조하여 일반적인 횡전계 방식 액정표시장치에 관해 설명한 다.Hereinafter, a general transverse electric field type liquid crystal display device will be described with reference to FIG. 1.
도 1은 일반적인 횡전계 방식 액정표시장치의 단면을 도시한 확대 단면도이다.1 is an enlarged cross-sectional view illustrating a cross section of a general transverse electric field type liquid crystal display device.
도시한 바와 같이, 투명한 하부 기판(10)에 정의된 다수의 화소(P)마다 박막트랜지스터(T)와 공통 전극(30)과 화소 전극(32)이 구성된다.As illustrated, the thin film transistor T, the
상기 박막트랜지스터(T)는 게이트 전극(14)과, 게이트 전극(14) 상부에 절연막(16)을 사이에 두고 구성된 반도체층(18)과, 반도체층(18)의 상부에 서로 이격하여 구성된 소스 및 드레인 전극(20,22)을 포함한다.The thin film transistor T may include a
전술한 구성에서, 상기 공통 전극(30)과 화소 전극(32)은 모두 하부 기판(10)상에 서로 평행하게 이격하여 구성된다.In the above-described configuration, the
도시하지는 않았지만, 상기 화소(P)의 일 측을 따라 연장된 게이트 배선(미도시)과, 이와는 수직한 방향으로 연장된 데이터 배선(미도시)이 구성되고, 상기 공통 전극(30)에 전압을 인가하는 공통 배선(미도시)이 구성된다.Although not shown, a gate line (not shown) extending along one side of the pixel P and a data line (not shown) extending in a direction perpendicular thereto are formed, and a voltage is applied to the
하부 기판(10)과 이격되어 투명한 상부 기판(40)이 위치하고, 상부 기판(40)의 안쪽면에는 상기 게이트 배선(미도시)과 데이터 배선(미도시)과 박막트랜지스터(T)에 대응하는 부분에 블랙매트릭스(42)가 구성되고, 상기 화소(P)에 대응하여 컬러필터(34a,34b)가 구성된다.A transparent
상기 액정층(LC)은 상기 공통 전극(30)과 화소 전극(32)의 수평전계(45)에 의해 동작된다.The liquid crystal layer LC is operated by the horizontal
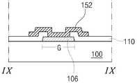
이하, 도 2를 참조하여, 종래에 따른 횡전계 방식 액정표시장치용 어레이기 판의 구성을 설명한다.Hereinafter, with reference to FIG. 2, the structure of the conventional array board for a transverse electric field type liquid crystal display device is demonstrated.
도 2는 종래의 4 마스크 공정으로 제작된 횡전계 방식 액정표시장치용 어레이 기판의 구성을 개략적으로 도시한 평면도이다.2 is a plan view schematically illustrating a configuration of an array substrate for a transverse electric field type liquid crystal display device manufactured by a conventional four mask process.
도시한 바와 같이, 절연기판(50)상에 일 방향으로 연장된 게이트 배선(54)과, 이와는 교차하여 화소 영역(P)을 정의하는 데이터 배선(92)이 구성된다.As shown in the drawing, the
상기 게이트 배선(54)의 일 끝단에 게이트 패드(56)가 구성되고, 상기 데이터 배선(92)의 일 끝단에는 데이터 패드(94)가 구성된다.A
상기 게이트 배선(54)과 평행하게 이격된 화소 영역(P)의 일 측에는 공통 배선(58)이 구성된다.The
상기 게이트 패드(56)와 데이터 패드(94)의 상부에는 각각 이들과 접촉하는 투명한 게이트 패드 전극(GP)과, 데이터 패드 전극(DP)이 구성된다.The
상기 게이트 배선(54)과 데이터 배선(92)의 교차지점에는 상기 게이트 배선(54)과 접촉하는 게이트 전극(52)과, 게이트 전극(52)의 상부에 위치한 액티브층(비정질 실리콘층, 84)과 오믹 콘택층(미도시)과, 상기 오믹 콘택층(미도시)의 상부에 이격되어 위치하고 상기 데이터 배선(92)과 연결된 소스 전극(88)과, 이와는 이격된 드레인 전극(90)을 포함하는 박막트랜지스터(T)가 구성된다.At the intersection of the
상기 화소 영역(P)에는 상기 드레인 전극(90)과 접촉하는 화소 전극(PXL)이 구성되고, 상기 공통 배선(58)과 연결되고 상기 화소 전극(PXL)과 이격하여 구성된 공통전극(Vcom)이 구성된다.The pixel electrode PXL is formed in the pixel region P in contact with the
또한, 순수 비정질 실리콘패턴(72)이 데이터 배선(92) 하부에 위치한다.In addition, a pure
이때, 종래에 따른 횡전계 방식 액정표시장치용 어레이기판은, 상기 소스 및 드레인 전극(88,90)과 데이터 배선(92)과 액티브층(84)을 동일한 마스크 공정으로 형성하기 때문에, 필연적으로 상기 액티브층(84)과 상기 소스 및 드레인 전극(88,90) 그리고 순수 비정질 실리콘패턴(72)과 데이터 배선(92)이 적층된 형태가 되고 이때, 상기 전극 및 배선 외부로 액티브층(84)과 순수 비정질 실리콘패턴(72)이 연장된 형태로 구성된다.In this case, the conventional array substrate for a transverse electric field type liquid crystal display device forms the source and
이러한 구성은, 상기 액티브층(84)이 빛에 노출되어 광전류(photo-current)가 발생할 수 있으며, 이러한 광전류는 상기 박막트랜지스터(T)에서 누설전류(off current)로 작용하여 박막트랜지스터(T)의 동작 불량을 유발하게 된다.In this configuration, the
또한, 상기 데이터 배선(92)의 하부에 위치한 순수 비정질 실리콘패턴(72)에 의해 누설전류가 발생하게 되면, 상기 데이터 배선(92)에 근접한 전극과 커플링(coupling)이 발생하게 되어 액정(미도시)의 움직임을 왜곡하게 된다.In addition, when a leakage current is generated by the pure
이로 인해, 액정패널의 화면에는 물결무늬의 가는 선이 나타나는 웨이비 노이즈(wavy noise)가 발생하게 된다.As a result, wavy noise in which thin wavy lines appear on the screen of the liquid crystal panel is generated.
전술한 바와 같이 박막트랜지스터의 오프 커런트(누설전류, off current) 및 화면의 웨이비 노이즈(wavy noise)는 앞서 언급한 바와 같이, 소스 및 드레인 전극과 액티브층을 동시에 패턴하는 범용적인 방식을 사용하기 때문이다.As described above, the off current (leak current) of the thin film transistor and the wavy noise of the screen, as described above, use a general method of simultaneously patterning the source and drain electrodes and the active layer. Because.
이하, 도면을 참조하여 종래에 따른 횡전계 방식 액정표시장치용 어레이 기판의 제조공정을 설명한다.Hereinafter, a manufacturing process of a conventional array substrate for a transverse electric field type liquid crystal display device will be described with reference to the drawings.
도 3a 내지 도 3h와 도 4a 내지 도 4h와 도 5a 내지 도 5h와 도 6a 내지 도 6h는 도 2의 Ⅱ-Ⅱ,Ⅲ-Ⅲ,Ⅳ-Ⅳ,Ⅴ-Ⅴ를 따라 절단하여, 종래의 공정 순서에 따라 도시한 공정 단면도이다.3A to 3H, 4A to 4H, 5A to 5H, and 6A to 6H are cut along II-II, III-III, IV-IV, and V-V of FIG. It is process sectional drawing shown in order.
도 3a와 도 4a와 도 5a와 도 6a는 제 1 마스크 공정을 나타낸 도면이다.3A, 4A, 5A, and 6A illustrate a first mask process.
도 3a와 도 4a와 도 5a와 도 6a에 도시한 바와 같이, 기판(50)상에 스위칭 영역(S)과 화소 영역(P)과 게이트 영역(G)과 데이터 영역(D)과 공통신호영역(CS)을 정의한다.3A, 4A, 5A, and 6A, the switching region S, the pixel region P, the gate region G, the data region D, and the common signal region on the
상기 다수의 영역(S,P,G,D,CS)이 정의된 기판(50)상에 상기 게이트 영역(G)에 대응하여 일 방향으로 연장되고, 일 끝단에 게이트 패드(56)를 포함하는 게이트 배선(도 2의 54)과, 상기 게이트 배선(54)과 연결되고 상기 스위칭 영역(S)에 위치하는 게이트 전극(52)을 형성한다.The plurality of regions S, P, G, D, and CS extend in one direction corresponding to the gate region G on the defined
동시에, 상기 게이트 배선(54)과 평행하게 이격된 상기 공통신호영역(CS)에는 공통 배선(58)을 형성한다.At the same time, a
이때, 상기 게이트 패드 및 게이트 배선(56,54)과 게이트 전극(52)과 공통 배선(58)은 알루미늄(Al), 알루미늄 합금(AlNd), 텅스텐(W), 크롬(Cr), 몰리브덴(Mo)등의 단일 금속이나 알루미늄(Al)/크롬(Cr)(또는 몰리브덴(Mo))등을 포함하는 도전성 금속 그룹 중 선택된 하나 또는 그 이상의 물질을 증착하여 형성한다.In this case, the gate pad and gate wirings 56 and 54, the
다음으로, 도 3b 내지 도 3f와 도 4b 내지 도 4f와 도 5b 내지 도 5f와 도 6b 내지 도 6f는 제 2 마스크 공정을 나타낸 도면이다.Next, FIGS. 3B to 3F, 4B to 4F, 5B to 5F, and 6B to 6F illustrate a second mask process.
도 3b와 도 4b와 도 5b와 도 6b에 도시한 바와 같이, 상기 게이트 전극(52)과 게이트 패드(56)를 포함하는 게이트 배선(54)과, 공통배선(58)이 형성된 기 판(50)의 전면에 게이트 절연막(60)과, 순수 비정질 실리콘층(a-Si:H, 62)과 불순물이 포함된 비정질 실리콘층(n+ 또는 p+ a-Si:H, 64)과 도전성 금속층(66)을 형성한다.3B, 4B, 5B, and 6B, the
상기 게이트 절연막(60)은 질화 실리콘(SiNx)과 산화 실리콘(SiO2)등이 포함된 무기절연물질 그룹 중 선택된 하나 또는 하나 이상의 물질을 증착하여 형성하고, 상기 도전성 금속층(66)은 앞서 언급한 도전성 금속그룹 중 선택된 하나 또는 그 이상의 물질을 증착하여 형성한다.The
다음으로, 상기 도전성 금속층(66)이 형성된 기판(50)의 전면에 포토레지스트(photo resist)를 도포하여 감광층(68)을 형성한다.Next, a photoresist is applied on the entire surface of the
다음으로, 상기 감광층(68)의 이격된 상부에 투과부(B1)와 차단부(B2)와 반투과부(B3)로 구성된 마스크(M)를 위치시킨다.Next, a mask M including the transmissive part B1, the blocking part B2, and the transflective part B3 is positioned on the spaced upper portion of the
이때, 상기 반투과부(B3)는 마스크(M)에 슬릿(slit)형상 또는 반투명막을 형성하여, 빛의 강도를 낮추거나 빛의 투과량을 낮추어 상기 감광층을 불완전 노광할 수 있도록 하는 기능을 한다.In this case, the transflective portion B3 forms a slit shape or a translucent film on the mask M, thereby lowering the intensity of light or lowering the amount of light transmitted, thereby incompletely exposing the photosensitive layer.
또한, 상기 차단부(B2)는 빛을 완전히 차단하는 기능을 하고, 상기 투과부(B1)는 빛을 투과시켜 빛에 의해 감광층(68)이 완전한 화학적 변화 즉, 완전 노광되도록 하는 기능을 한다.In addition, the blocking unit B2 functions to completely block light, and the transmitting unit B1 transmits light so that the
한편, 상기 스위칭 영역(S)에는 반투과부(B3)와, 반투과부(B3)의 양측에 차단부(B2)가 위치하도록 하고, 상기 게이트 영역(G)과 교차하는 방향인 상기 데이터 영역(D)에는 차단부(B2)가 위치하도록 한다.Meanwhile, the transflective portion B3 and the blocking portion B2 are positioned at both sides of the transflective portion B3 in the switching region S, and the data region D is a direction intersecting with the gate region G. ) To the blocking portion (B2).
다음으로, 상기 마스크(M)의 상부로 빛을 조사하여, 하부의 감광층(68)을 노광하고 현상하는 공정을 진행한다.Next, light is irradiated to the upper portion of the mask M to expose and develop a lower
도 3c와 도 4c와 도 5c와 도 6c에 도시한 바와 같이, 상기 스위칭 영역(S)과 데이터 영역(D)에 제 1 및 제 2 감광패턴(70a,70b)을 형성한다.As shown in FIGS. 3C, 4C, 5C, and 6C, first and second
이때, 상기 제 1 감광패턴(70a)은 상기 게이트 전극(52)에 대응하는 제 1 부분과 제 1 부분보다 두꺼운 제 2 부분을 포함한다.In this case, the first
다음으로, 상기 제 1 및 제 2 감광패턴(70a,70b)의 주변으로 노출된 상기 도전성 금속층(66)과 그 하부의 불순물 비정질 실리콘층(64)과, 순수 비정질 실리콘층(62)을 제거하는 공정을 진행한다.Next, the
 이때, 상기 도전성 금속층(66)의 종류에 따라 상기 도전성 금속층(66)과 그 하부층(64,62)이 동시에 제거될 수도 있고, 상기 금속층을 먼저 식각한 후 건식식각 공정을 통해 하부의 순수 비정질 실리콘층(62)과 불순물이 포함된 비정질 실리콘층(64)을 제거하는 공정을 진행할 수도 있다. In this case, depending on the type of the
도 3d와 도 4d와 도 5d와 도 6d에 도시한 바와 같이, 전술한 제거공정을 완료하게 되면, 상기 제 1 감광패턴(70a)의 하부에는 순수 비정질 실리콘패턴(72)과 불순물 비정질 실리콘패턴(74)이 적층된 제 1 반도체 패턴(76)이 형성되고, 상기 제 1 반도체 패턴(76)의 상부에 제 1 금속패턴(78)이 구성된다.As shown in FIGS. 3D, 4D, 5D, and 6D, when the above-described removal process is completed, the pure
상기 데이터 영역(D)에 대응하는 제 2 감광패턴(70b)의 하부에는 상기 제 1 반도체 패턴(76)에서 연장된 제 2 반도체 패턴(80)과, 상기 제 2 반도체 패턴(80) 의 상부에 상기 제 1 금속패턴(78)에서 연장된 제 2 금속패턴(82)이 형성된다.Under the second
상기 제 1 감광패턴(70a) 중, 상기 게이트 전극(52)의 중심에 대응하는 제 1 부분을 제거하여 하부의 제 1 금속패턴(78)을 노출하기 위한 애싱 공정(ashing process)을 진행한다.An ashing process for exposing the lower
이와 같이 하면, 도 3e와 도 4e와 도 5e와 도 6e에 도시한 바와 같이, 상기 게이트 전극(52)의 중심에 대응하는 제 1 금속패턴(78)의 일부가 노출되며 이때, 상기 제 1 및 제 2 감광패턴(70a,70b)의 주변으로 제 1 및 제 2 금속패턴(78,82)의 일부가 동시에 노출된다.In this case, as illustrated in FIGS. 3E, 4E, 5E, and 6E, a portion of the
상기 애싱 공정을 진행한 후, 상기 제 1 금속패턴(78)의 노출된 부분과 그 하부의 불순물 비정질 실리콘층(74)을 제거하는 공정을 진행한다.After the ashing process, a process of removing the exposed portion of the
도 3f와 도 4f와 도 5f와 도 6f에 도시한 바와 같이, 상기 제거공정을 완료하면, 상기 게이트 전극(52)의 상부에 위치한 제 1 반도체 패턴(76)중 하부의 순수 비정질 실리콘패턴(도 3E의 72)은 액티브층(84)으로서 기능하게 되고, 상기 액티브층(84)의 상부에서 일부가 제거되어 이격된 상부의 불순물 비정질 실리콘패턴(도 3E의 74)은 오믹 콘택층(86)의 기능을 하게 된다.As shown in FIGS. 3F, 4F, 5F, and 6F, when the removal process is completed, the pure amorphous silicon pattern (the lower portion of the
이때, 상기 액티브층(84)과 상부의 오믹 콘택층(86)을 제거하면서, 하부의 액티브층(84)을 과식각하여 액티브층(84)의 표면(액티브채널,active channel)에 불순물이 남아 있지 않도록 한다.At this time, the
한편, 상기 오믹 콘택층(86)의 상부에 위치하여 나누어진 금속패턴은 각각 소스 전극(88)과 드레인 전극(90)이라 칭한다.Meanwhile, the divided metal patterns positioned on the
이때, 상기 소스 전극(88)과 접촉하는 제 2 금속패턴(도 4E의 82)은 데이터 배선(92)이라 하고, 상기 데이터 배선(92)의 일 끝단은 데이터 패드(94)라 칭한다.In this case, the second metal pattern (82 of FIG. 4E) in contact with the
다음으로, 상기 잔류한 감광패턴(70a,70b)을 제거하는 공정을 진행함으로써, 제 2 마스크 공정을 완료할 수 있다.Next, the second mask process may be completed by performing a process of removing the remaining
도 3g와 도 4g 도 5g와 도 6g는 제 3 마스크 공정을 나타낸 도면으로, 상기 소스 및 드레인 전극(88,90)과 데이터 패드(94)를 포함하는 데이터 배선(92)이 구성된 기판(50)의 전면에 질화 실리콘(SiNX) 또는 산화 실리콘(SiO2)을 포함하는 무기절연물질 그룹 중 선택된 하나를 증착하거나 경우에 따라서, 벤조사이클로부텐(BCB)과 아크릴(acryl)계 수지(resin)를 포함하는 유기절연물질 그룹 중 선택된 하나를 도포하여 보호막(96)을 형성한다.3G and 4G and 5G and 6G illustrate a third mask process, and includes a
연속하여, 상기 보호막(96)을 패턴하여 상기 드레인 전극(90)의 일부를 노출하는 드레인 콘택홀(98a)과, 상기 공통 배선(58)의 일부를 노출하는 공통배선 콘택홀(98b)과 상기 게이트 패드(56)를 노출하는 게이트 패드 콘택홀(98c)과 상기 데이터 패드(94)를 노출하는 데이터 패드 콘택홀(98d)을 형성한다.Successively, the
도 3h와 도 4h와 도 5h와 도 6h는 제 4 마스크 공정을 나타낸 도면으로, 상기 보호막(96)이 형성된 기판(50)의 전면에 인듐-틴-옥사이드(ITO)와 인듐-징크-옥사이드(IZO)를 포함하는 투명한 도전성 금속그룹 중 선택된 하나를 증착하고 패턴하여, 상기 화소 영역(P)에 화소 전극(PXL)과 공통 전극(Vcom)을 형성한다.3H, 4H, 5H, and 6H illustrate a fourth mask process, wherein indium tin oxide (ITO) and indium zinc oxide (ITO) are formed on the entire surface of the
이때, 상기 화소 전극(PXL)은 상기 드레인 전극(90)과 접촉하면서 상기 데이 터 배선(92)과 평행한 다수의 수직부로 구성된다. 상기 공통 전극(Vcom)은 상기 공통배선(58)과 접촉하면서 상기 데이터 배선(92)과 평행한 다수의 수직부로 연장되고 상기 화소 전극(PXL)과 이격되도록 구성한다.In this case, the pixel electrode PXL is formed of a plurality of vertical portions in contact with the
동시에, 상기 게이트 패드(56)와 접촉하는 게이트 패드전극(GP)과, 상기 데이터 패드(94)와 접촉하는 데이터 패드전극(DP)을 형성한다.At the same time, a gate pad electrode GP in contact with the
이상으로 종래에 따른 4마스크 공정으로 횡전계 방식 액정표시장치용 어레이기판을 제작할 수 있다.As described above, the array substrate for the transverse electric field type liquid crystal display device can be manufactured by the conventional four mask process.
전술한 공정은, 제 2 마스크 공정에서 순수 비정질 실리콘의 상기 액티브층(84) 및 불순물 비정질 실리콘의 오믹 콘택층(86)과 상부의 소스 및 드레인 전극(88,90)과 데이터 배선(92)을 동시에 형성하는 공정에서, 상기 데이터 배선(92)의 하부에 제 2 반도체 패턴(80)이 남게 되고 특히, 제 2 반도체 패턴(80)의 하부 순수 비정질 실리콘패턴(72)이 상기 데이터 배선(92)의 양측으로 연장된 형태로 패턴 된다.In the above-described process, in the second mask process, the
앞서 언급한 바와 같이, 상기 데이터 배선(92)의 양측에 하부 순수 비정질 실리콘패턴(72)이 확장된 형태이기 때문에, 이로 인해 화면에 웨이비 노이즈(wavy noise)가 발생하는 문제가 있다.As mentioned above, since the lower pure
또한, 게이트 전극(52)의 상부에 위치한 액티브층(84) 또한, 게이트 전극(52)의 외부로 연장된 형태로 구성되기 때문에, 빛에 의해 노출되어 광전류 즉, 누설전류가 발생하게 되며, 이로 인해 박막트랜지스터의 동작불량을 유발할 수 있는 문제가 있다.In addition, since the
본 발명은 전술한 문제를 해결하기 위해 제안된 것으로, 비정질 실리콘층이 배선의 바깥쪽으로 노출되지 않도록 하여 광전류에 의한 박막트랜지스터의 누설전류(off current)특성을 최소화 하는 동시에, 웨이비 노이즈(wavy noise)를 방지하여 고화질을 구현하는 것을 제 1 목적으로 한다.The present invention has been proposed to solve the above-described problem, and minimizes the off current characteristics of the thin film transistor due to the photocurrent by preventing the amorphous silicon layer from being exposed to the outside of the wiring, and at the same time, wavy noise. ) To achieve high picture quality.
또한, 3 마스크 공정으로 제작함으로써 공정을 단순화 하여, 공정비용 및 공정시간을 단축하여 생산성을 개선하는 것을 제 2 목적으로 한다.In addition, the second object is to simplify the process by manufacturing in a three-mask process, to improve the productivity by reducing the process cost and process time.
상기한 목적을 달성하기 위한 본 발명의 액정표시장치용 어레이 기판은, 기판과; 상기 기판 위로 일방향으로 연장하는 게이트 배선과 상기 게이트 배선과 인격하며 나란하게 형성된 공통배선 및 공통전극 연결부와 상기 게이터 배선에 연결된 게이트 전극과; 상기 게이트 배선 및 게이트 전극 위로 전면에 형성된 게이트 절연막과; 상기 게이트 절연막 상부로 상기 게이트 전극과 완전 중첩하며 섬모양으로 형성된 액티브층 및 상기 액티브층 상부에 서로 이격하며 형성된 오믹 콘택층과; 상기 서로 이격하는 오믹 콘택층과 각각 일대일 대응하여 완전 중첩하며 서로 이격하며 형성된 제 1 버퍼금속패턴과; 상기 서로 이격하는 제 1 버퍼금속패턴 위로 서로 이격하며 형성된 소스 및 드레인 전극과; 상기 절연막 위로 상기 게이트 배선과 교차하며 형성된 데이터 배선과; 상기 게이트 절연막 위로 상기 소스 전극에서 연장하여 상기 데이터 배선의 상면 및 양측면까지 완전히 덮으며 형성된 데이터 보조배선과; 상기 게이트 절연막 위로 상기 드레인 전극에서 연장하여 서로 이격하며 형성된 다수의 화소전극과; 상기 게이트 절연막 위로 상기 공통배선과 연결되며 상기 다수의 화소전극과 교대하여 이격하며 형성된 다수의 공통전극과; 상기 게이트 절연막 위로 상기 다수의 화소전극 및 공통전극 사이와 상기 소스 전극 및 드레인 전극 사이에 형성된 보호막을 포함한다.An array substrate for a liquid crystal display device of the present invention for achieving the above object is a substrate; A gate wiring extending in one direction over the substrate, a common wiring and a common electrode connecting portion formed in parallel with the gate wiring, and a gate electrode connected to the gator wiring; A gate insulating film formed on an entire surface of the gate wiring and the gate electrode; An active layer completely overlapping with the gate electrode and formed in an island shape on the gate insulating layer, and an ohmic contact layer formed on the active layer and spaced apart from each other; A first buffer metal pattern formed to completely overlap each other with the ohmic contact layers spaced apart from each other, and to be spaced apart from each other; Source and drain electrodes spaced apart from each other on the first buffer metal pattern spaced apart from each other; A data line formed to intersect the gate line over the insulating film; A data auxiliary line extending from the source electrode over the gate insulating layer and completely covering the top and both sides of the data line; A plurality of pixel electrodes formed on the gate insulating layer and spaced apart from each other by extending from the drain electrode; A plurality of common electrodes connected to the common wirings over the gate insulating layer and formed to be alternately spaced apart from the plurality of pixel electrodes; And a passivation layer formed on the gate insulating layer between the plurality of pixel electrodes and the common electrode and between the source electrode and the drain electrode.
삭제delete
상기 데이터 배선 하부에, 상기 오믹 콘택층을 이루는 동일한 물질로 이루어진 제 1 층과 상기 액티브층을 이루는 동일한 물질로 이루어진 제 2 층으로 구성된 반도체 패턴을 포함한다.The semiconductor pattern includes a first layer formed of the same material forming the ohmic contact layer and a second layer formed of the same material forming the active layer under the data line.
삭제delete
상기 소스 및 드레인 전극과 상기 다수의 공통 전극 및 다수의 상기 화소 전극은 투명한 것을 특징으로 한다.The source and drain electrodes, the plurality of common electrodes, and the plurality of pixel electrodes may be transparent.
삭제delete
삭제delete
삭제delete
상기 제 1 버퍼금속패턴은 3층의 다중층 구조를 가지며, 상기 적어도 3층의 중간층은 구리를 포함한다.The first buffer metal pattern has a multilayer structure of three layers, and the at least three intermediate layers include copper.
상기 드레인 전극에서 연장되고 상기 다수의 화소전극의 일끝단을 연결시키는 화소 전극 연결부를 포함한다.And a pixel electrode connection part extending from the drain electrode and connecting one end of the plurality of pixel electrodes.
본 발명의 액정표시장치용 어레이 기판의 제조 방법은, 스위칭 영역과 화소 영역과 게이트 영역과 데이터 영역과 공통 신호 영역을 갖는 기판 상의 상기 스위칭 영역과 상기 게이트 영역과 상기 공통 신호 영역에 게이트 전극과 게이트 배선 및 공통 배선을 각각 형성하는 단계와; 상기 게이트 전극 위로 전면에 게이트 절연막을 형성하는 단계와; 상기 게이트 절연막 상기 게이트 배선과 교차하는 데이터 배선을 형성하고, 동시에 상기 스위칭 영역에 상기 게이트 절연막 위로 순차적으로 상기 게이트 전극과 완전 중첩하는 액티브층과 서로 이격하는 오믹콘택층과 상기 오믹 콘택층과 일대일 대응하여 완전 중첩하는 제 1 버퍼금속패턴을 형성하는 단계와; 상기 서로 이격하는 제 1 버퍼금속패턴과 각각 대응하여 서로 이격하는 소스 및 드레인 전극과, 상기 소스 전극에서 연장하여 상기 데이터 배선을 덮는 데이터 보조배선을 형성하며, 동시에 상기 드레인 전극과 전기적으로 연결되는 다수의 화소 전극 및 상기 다수의 각 화소 전극과 교대하며 이격되어 있는 다수의 공통 전극을 형성하는 단계와; 상기 다수의 각 화소 전극과 공통 전극 사이의 상기 게이트 절연막 상부 및 상기 소스 및 드레인 전극 사이의 상기 액티브층 상부에 보호막을 형성하는 단계를 포함한다.A method of manufacturing an array substrate for a liquid crystal display device according to the present invention includes a gate electrode and a gate in the switching region, the gate region, and the common signal region on a substrate having a switching region, a pixel region, a gate region, a data region, and a common signal region. Forming wiring and common wiring, respectively; Forming a gate insulating film over the gate electrode; A data line intersecting the gate insulating film and the gate wiring is formed, and at the same time, an ohmic contact layer and an ohmic contact layer spaced apart from each other with an active layer completely overlapping with the gate electrode sequentially over the gate insulating film in the switching region. Forming a completely overlapping first buffer metal pattern; A plurality of source and drain electrodes spaced apart from each other to correspond to the first buffer metal pattern spaced apart from each other, and a data auxiliary line extending from the source electrode to cover the data line, and electrically connected to the drain electrode at the same time. Forming a plurality of common electrodes spaced apart from and alternate with the plurality of pixel electrodes of the plurality of pixel electrodes; Forming a passivation layer on the gate insulating layer between the plurality of pixel electrodes and the common electrode and on the active layer between the source and drain electrodes.
삭제delete
상기 데이터 배선 상부에 보조 데이터 배선을 형성하는 단계를 더 포함하며,상기 소스 전극과, 상기 드레인 전극과, 상기 다수의 공통 전극과, 상기 다수의 화소 전극 및 상기 보조 데이터 배선은 동일 마스크 공정에서 형성된다.And forming an auxiliary data line on the data line, wherein the source electrode, the drain electrode, the plurality of common electrodes, the plurality of pixel electrodes, and the auxiliary data line are formed in the same mask process. do.
상기 보호막은 리프트오프 공정에 의해 형성된다.The protective film is formed by a lift-off process.
삭제delete
본 발명의 다른 액정표시장치용 어레이 기판 제조 방법은, 기판 상에 일방향으로 연장하는 게이트 배선과 이와 연결되는 게이트 전극을 형성하는 제 1 마스크 공정 단계와; 상기 게이트 전극과 상기 게이트 배선을 포함하는 상기 기판 상의 전면에 게이트 절연막을 형성하고, 상기 게이트 절연막 위로 상기 게이트 전극과 완전 중첩하는 형태의 액티브층 및 오믹 콘택층을 형성하고, 데이터 배선을 순차적으로 형성하는 제 2 마스크 공정 단계와; 상기 기판 상에 소스 전극과 드레인 전극, 다수의 교대하는 공통 전극 및 화소 전극을 형성하는 제 3 마스크 공정 단계와; 상기 소스 전극과 상기 드레인 전극 사이의 상기 액티브층 상부 및 상기 공통 전극과 상기 화소 전극 사이에 보호막을 형성하는 단계를 포함한다.According to another aspect of the present invention, there is provided a method of manufacturing an array substrate for a liquid crystal display device, comprising: a first mask process step of forming a gate wiring extending in one direction and a gate electrode connected to the substrate; A gate insulating film is formed on the entire surface of the substrate including the gate electrode and the gate wiring, and an active layer and an ohmic contact layer are formed on the gate insulating film so as to completely overlap the gate electrode, and data lines are sequentially formed. A second mask process step; A third mask process step of forming a source electrode and a drain electrode, a plurality of alternating common electrodes and a pixel electrode on the substrate; Forming a passivation layer on the active layer between the source electrode and the drain electrode and between the common electrode and the pixel electrode.
상기 제 1 마스크 공정 단계는 상기 게이트 배선의 일끝에 게이트 패드를 형성하는 단계를 포함하고, 상기 제 2 마스크 공정 단계는 상기 데이터 배선의 일끝에 데이터 패드를 형성하는 단계를 포함하며, 상기 제 3 마스크 공정 단계는 상기 데이터 배선 상부의 보조 데이터 배선과, 상기 게이트 패드 상부의 게이트 패드 전극 및 상기 데이터 패드 상부의 데이터 패드 전극을 형성하는 단계를 포함한다.The first mask process step includes forming a gate pad at one end of the gate wiring, and the second mask process step includes forming a data pad at one end of the data wiring, and the third mask. The process step includes forming an auxiliary data line over the data line, a gate pad electrode over the gate pad, and a data pad electrode over the data pad.
상기 제 2 마스크 공정 단계는, 상기 게이트 전극과 상기 게이트 배선 및 상기 게이트 패드를 포함하는 상기 기판 상에 상기 게이트 절연막과, 순수 비정질 실리콘층과 불순물 비정질 실리콘층 및 금속층을 순차적으로 형성하는 단계와; 상기 금속층 상부에, 상기 게이트 패드에 대응하는 상기 금속층을 노출하고, 상기 액티브층과 상기 데이터 배선 및 상기 데이터 패드에 대응해서는 제 1 부분을 이루며, 상기 게이트 패드와 액티브층과 데이터 배선 및 데이터 패드 이외의 상기 기판 상의 모든 영역에 대해서는 상기 제 1 부분보다 얇은 제 2 부분으로 이루어지는 감광패턴을 형성하는 단계와; 상기 제 1 및 제 2 부분의 감광패턴 외부로 노출된 금속층과 그 하부에 위치한 상기 불순물 비정질 실리콘층, 상기 순수 비정질 실리콘층 및 상기 게이트 절연막을 제거하여 상기 게이트 패드를 노출하는 단계와; 상기 감광패턴의 제 2 부분을 제거하는 단계와; 상기 감광패턴의 제 1 부분을 식각 마스크로 이용하여, 상기 금속층과, 상기 불순물 비정질 실리콘층 및 상기 순수 비정질 실리콘층을 제거하는 단계와; 상기 감광패턴의 제 1 부분을 제거하는 단계를 포함한다.The second mask process may include sequentially forming the gate insulating layer, the pure amorphous silicon layer, the impurity amorphous silicon layer, and the metal layer on the substrate including the gate electrode, the gate wiring, and the gate pad; The metal layer corresponding to the gate pad is exposed on the metal layer, and forms a first portion corresponding to the active layer, the data line, and the data pad, and other than the gate pad, the active layer, the data line, and the data pad. Forming a photosensitive pattern comprising a second portion thinner than the first portion for all regions on the substrate of the substrate; Exposing the gate pad by removing the metal layer exposed to the outside of the photosensitive patterns of the first and second portions, and the impurity amorphous silicon layer, the pure amorphous silicon layer, and the gate insulating layer disposed below the metal layer; Removing a second portion of the photosensitive pattern; Removing the metal layer, the impurity amorphous silicon layer, and the pure amorphous silicon layer by using the first portion of the photosensitive pattern as an etching mask; Removing the first portion of the photosensitive pattern.
상기 감광패턴을 형성하는 단계는 투과부와 차단부 및 반투과부를 포함하는 마스크를 이용하며, 상기 투과부는 상기 게이트 패드에 대응하고, 상기 차단부는 상기 액티브층과 상기 데이터 배선 및 상기 데이터 패드에 대응하며, 상기 반투과부는 상기 액티브층과 상기 데이터 배선, 상기 데이터 패드 및 상기 게이트 패드 이외의 기판상의 모든영역에 대응하는 것을 특징으로 한다.The forming of the photosensitive pattern may include a mask including a transmissive part, a blocking part, and a transflective part, the transmitting part corresponding to the gate pad, and the blocking part corresponding to the active layer, the data line, and the data pad. The transflective portion may correspond to all regions on the substrate other than the active layer, the data line, the data pad, and the gate pad.
상기 제 2 마스크 공정 단계는 상기 보조 데이터 배선 및 상기 데이터 패드 전극 하부에 연장부를 형성하는 단계를 포함하며, 상기 연장부는 순수 비정질 실리콘 패턴과 불순물 비정질 실리콘 패턴을 포함하는 것을 특징으로 한다.The second mask process may include forming an extension under the auxiliary data line and the data pad electrode, wherein the extension includes a pure amorphous silicon pattern and an impurity amorphous silicon pattern.
상기 제 1 마스크 공정 단계는 상기 게이트 배선과 평행한 공통 배선을 형성하는 단계를 포함하며, 상기 공통 배선은 상기 공통 전극과 전기적으로 연결되는 것을 특징으로 한다. 상기 제 2 마스크 공정 단계는 상기 노출된 금속층과 상기 불순물 비정질 실리콘층, 상기 순수 비정질 실리콘층 및 상기 게이트 절연막을 제거하여 상기 공통 배선을 노출하는 단계를 포함한다.The first mask process may include forming a common line parallel to the gate line, wherein the common line is electrically connected to the common electrode. The second mask process step may include exposing the common wiring by removing the exposed metal layer, the impurity amorphous silicon layer, the pure amorphous silicon layer, and the gate insulating layer.
상기 제 3 마스크 공정 단계는 상기 데이터 배선 및 상기 데이터 패드를 포함하는 상기 기판 상에 도전성층을 형성하는 단계와, 상기 도전성층 상부에, 상기 소스 및 드레인 전극에 대응하는 제 1 감광패턴과, 상기 보조 데이터 배선 및 상기 데이터 패드 전극에 대응하는 제 2 감광패턴과, 상기 화소 전극 및 상기 공통 전극에 대응하는 제 3 감광패턴, 그리고 상기 게이트 패드 전극에 대응하는 제 4 감광패턴을 형성하는 단계와, 상기 제 1 내지 제 4 감광패턴을 식각 마스크로 상기 도 전성층을 패터닝하여, 상기 소스 및 드레인 전극과, 상기 보조 데이터 배선, 상기 데이터 패드 전극, 상기 화소 전극, 상기 공통 전극, 그리고 상기 게이트 패드 전극을 형성하는 단계와, 상기 소스 및 드레인 전극 사이의 상기 오믹 콘택층을 제거하여 상기 소스 및 드레인 전극 사이의 상기 액티브층을 노출하는 단계와, 상기 제 1 내지 제 4 감광패턴을 제거하는 단계를 포함한다.The third mask process may include forming a conductive layer on the substrate including the data line and the data pad, a first photosensitive pattern corresponding to the source and drain electrodes on the conductive layer, Forming an auxiliary data line and a second photosensitive pattern corresponding to the data pad electrode, a third photosensitive pattern corresponding to the pixel electrode and the common electrode, and a fourth photosensitive pattern corresponding to the gate pad electrode; The conductive layer is patterned using the first to fourth photosensitive patterns as an etch mask to form the source and drain electrodes, the auxiliary data line, the data pad electrode, the pixel electrode, the common electrode, and the gate pad electrode. Forming an oxide layer and removing the ohmic contact layer between the source and drain electrodes; And exposing the active layer in between, and a step of removing said first to fourth photosensitive pattern.
상기 보호막을 형성하는 단계는 상기 제 1 내지 제 4 감광패턴을 포함하는 상기 기판 상에 절연막을 형성하는 단계와, 상기 제 1 내지 제 4 감광패턴과 함께 상기 절연막을 선택적으로 제거하는 단계를 포함한다. 상기 도전성층을 패터닝하는 단계는 습식식각을 이용하여 상기 도전성층을 과식각함으로써, 상기 제 1 내지 제 4 감광패턴의 가장자리 하부면을 2,000 내지 5,000 Å 노출하는 단계를 포함한다.The forming of the passivation layer may include forming an insulating film on the substrate including the first to fourth photosensitive patterns, and selectively removing the insulating film together with the first to fourth photosensitive patterns. . The patterning of the conductive layer may include exposing the conductive layer by wet etching to expose 2,000 to 5,000 microseconds of the edge lower surface of the first to fourth photosensitive patterns.
상기 보호막을 형성하는 단계는 상기 게이트 패드 전극 및 상기 데이터 패드 전극 덮는 섀도우 마스크를 배치하는 단계와, 상기 섀도우 마스크를 통해 상기 게이트 패드 전극 및 상기 데이터 패드 전극을 제외한 상기 기판 상에 절연 물질을 증착하는 단계를 포함한다.The forming of the passivation layer may include disposing a shadow mask covering the gate pad electrode and the data pad electrode, and depositing an insulating material on the substrate except for the gate pad electrode and the data pad electrode through the shadow mask. Steps.
상기 제 2 마스크 공정 단계는 상기 오믹 콘택층 상부에 버퍼 금속층을 형성하는 단계를 포함하며, 상기 버퍼 금속층을 형성하는 단계는 몰리브덴-티타늄 합금과, 구리 그리고 몰리브덴-티타늄 합금을 순차적으로 증착하고 패터닝하는 단계를 포함한다.The second mask process step includes forming a buffer metal layer over the ohmic contact layer, and the forming the buffer metal layer includes sequentially depositing and patterning molybdenum-titanium alloy, copper and molybdenum-titanium alloy. Steps.
이하, 첨부한 도면을 참조하여 본 발명의 바람직한 실시예를 설명한다.Hereinafter, preferred embodiments of the present invention will be described with reference to the accompanying drawings.
-- 제 1 실시예 --First Embodiment
본 발명의 제 1 실시예는 액티브층의 가장자리가 데이터 배선 및 게이트 전극의 외부로 확장되지 않은 형태의 횡전계형 어레이 기판을 3마스크 공정으로 제작하는 것을 특징으로 한다.The first embodiment of the present invention is characterized by fabricating a transverse field array substrate in which the edge of the active layer does not extend to the outside of the data line and the gate electrode in a three mask process.
이하, 평면도와 단면도를 참조하여, 본 발명에 따른 횡전계형 어레이 기판의 구성을 자세히 설명한다.Hereinafter, the configuration of the transverse field array substrate according to the present invention will be described in detail with reference to a plan view and a cross-sectional view.
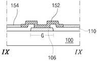
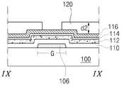
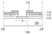
도 7은 본 발명의 제 1 실시예에 따른 횡전계 방식 액정표시장치용 어레이기판의 일부를 확대한 평면도이고, 도 8a 내지 도 8d는 각각 도 7의 Ⅶ-Ⅶ,Ⅷ-Ⅷ,Ⅸ-Ⅸ,Ⅹ-Ⅹ을 따라 절단한 단면도이다.7 is an enlarged plan view of a part of an array substrate for a transverse electric field type liquid crystal display device according to a first exemplary embodiment of the present invention, and FIGS. 8A to 8D are FIGS. 8A to 8D, respectively, of FIGS. It is sectional drawing cut along Ⅹ-Ⅹ.
도시한 바와 같이, 절연 기판(100)상에 일 방향으로 연장되고 일 끝단에 게이트 패드(106)가 구성된 게이트 배선(104)과, 게이트 배선(104)과 교차하여 화소 영역(P)을 정의하고 일 끝단에 데이터 패드(144)를 포함하는 데이터 배선(143)을 구성한다. 데이터 배선(143) 상부에는 보조 데이터 배선(142)이 형성되어 있으며, 데이터 패드(144) 상부에는 데이터 패드 전극(146)이 형성되어 있다. 또한, 상기 게이트 배선(104)과 이격된 공통 배선(109)과 공통전극 연결부(108)를 구성한다. 게이트 패드(106) 상부에는 게이트 패드(106)와 연결되는 게이트 패드 전극(152)이 형성되어 있다.As shown in the drawing, the
상기 게이트 배선(104)과 데이터 배선(142)의 교차지점에는 게이트 전극(102)과, 오믹 콘택층(126)과 액티브층(124)과 버퍼 금속층(128)과, 상기 버퍼 금속층(128)과 접촉하는 소스 전극(138)과 드레인 전극(140)을 포함하는 박막트랜지스터(T)를 구성한다. 게이트 배선(104)과 게이트 전극(102) 및 게이트 패드(106)  상부에는 게이트 절연막(110)이 형성되어, 이들을 덮고 있다.The
상기 버퍼 금속층(128)과 액티브층(124)과 오믹 콘택층(126)과 데이터 배선(143) 및 데이터 패드(144)를 동일한 마스크로 패턴하는 동시에, 오믹 콘택층(126) 및 액티브층(124)과 동일층에 위치하고 동일물질로 구성된 층들을 포함하는 연장부(B)를 상기 데이터 배선(143) 및 데이터 패드(144)의 하부에 구성한 구조인 것을 특징으로 한다.The
이때, 상기 버퍼 금속층(128)과 데이터 배선(143) 및 데이터 패드(144)는 구리(Cu)층을 사이에 두고 몰리티타늄 합금(MoTi)층을 상.하로 구성한 최소한 3층의 적층구조인 것을 특징으로 하고, 상기 소스 및 드레인 전극(138,140)은  몰리티타늄 합금(MoTi)층이나 ITO 또는 IZO와 같은 투명한 금속층으로 구성한 것을 특징으로 한다.In this case, the
이때, 상기 구리(Cu)층은 저항이 매우 낮기 때문에, 배선의 저항에 의한 신호 지연을 방지할 수 있는 장점이 있다.At this time, since the copper (Cu) layer is very low resistance, there is an advantage that can prevent the signal delay caused by the resistance of the wiring.
상기 화소 영역(P)에는 상기 드레인 전극(140)과 전기적으로 접촉하는 화소 전극(148)과, 화소 전극(148)과 평행하게 이격되고 상기 공통 배선(109)과 전기적으로 연결되는 공통 전극(150)을 구성한다.  화소 전극(148)은 드레인 전극(140)과 연결되는 화소 전극 연결부(148a)에서 연장된다.  공통 전극(150)은 공통 전극 연결부(108)와 접촉하며, 도시하지 않았지만, 공통 전극 연결부(108)는 공통 배선(109)과 연결되어, 공통 배선(109)으로부터의 신호를 공통 전극(150)에 인가한다.  따라서, 공통 전극(150)은 인접한 화소 영역의 공통전극(미도시)과 전기적으 로 연결된다.  한편, 공통 전극(150)은 공통 배선(109)에 직접 연결될 수도 있다.  화소 전극 연결부(148a)는 공통 배선(109)과 중첩하여 스토리지 커패시터(Cst)를 형성한다.The pixel region P has a
이때, 상기 화소 전극(148)과 공통 전극(150)은 상기 소스 및 드레인 전극(138,140)과 동일 공정에서 제작하는 것을 특징으로 하며 이 또한, 몰리티타늄 합금(MoTi)층이나 ITO 또는 IZO와 같은 투명한 금속층으로 구성할 수 있다.In this case, the
상기 박막트랜지스터(T)의 노출된 액티브층(124) 상부와, 상기 공통 전극(150)과 화소 전극(148)의 사이의 게이트 절연막(110) 위에는 보호막(154)을 구성하며, 상기 보호막(154)은 별도의 마스크 공정을 사용하지 않고, 증착공정과 리프트 오프(lift-off)공정을 통해 상기 게이트 패드 전극(152)과 데이터 패드 전극(146)의 일부를 노출하면서 형성할 수 있는 것을 특징으로 한다.The
또한, 전술한 구성에서 상기 액티브층(124)이 도시하지 않은 하부의 배광장치에 노출되는 구조가 아니기 때문에, 종래와 달리 누설전류에 의한 웨이비 노이즈 (wavy noise)또는 박막트랜지스터(TFT)의 동작 불량이 유발되지 않는 구성인 것을 특징으로 한다.In addition, since the
이하, 공정 단면도를 참조하여, 본 발명의 제 1 실시예에 따른 횡전계 방식 액정표시장치용 어레이 기판의 제조공정을 설명한다.Hereinafter, a manufacturing process of an array substrate for a transverse electric field type liquid crystal display device according to a first embodiment of the present invention will be described with reference to the process cross section.
도 9a 내지 도 9i와 도 10a 내지 도 10i와 도 11a 내지 도 11i와 도 12a 내지 도 12i는 도 7의 Ⅶ-Ⅶ,Ⅷ-Ⅷ,Ⅸ-Ⅸ,Ⅹ-Ⅹ을 따라 절단하여, 본 발명의 제 1 실시예에 따른 공정순서에 따라 도시한 공정 단면도이다.9A to 9I, 10A to 10I, 11A to 11I, and 12A to 12I are cut along the line VIII-VII, VIII-VIII, VIII-VIII, VIII-VIII of FIG. It is a process cross section shown in the process sequence which concerns on 1st Example.
도 9a와 도 10a와 도 11a와 도 12a는 제 1 마스크 공정을 나타낸 공정 단면도이다.9A, 10A, 11A, and 12A are cross-sectional views illustrating a first mask process.
도시한 바와 같이, 기판(100)상에 스위칭 영역(S)과 화소 영역(P)과 게이트 영역(G)과 데이터 영역(D)과 공통신호영역(CS)을 정의한다.As illustrated, the switching region S, the pixel region P, the gate region G, the data region D, and the common signal region CS are defined on the
상기 다수의 영역(S,P,G,D,CS)을 정의한 기판(100)상에 알루미늄(Al)과 알루미늄합금(AlNd), 크롬(Cr), 몰리브덴(Mo), 텅스텐(W), 티타늄(Ti), 구리(Cu), 탄탈륨(Ta)등을 포함하는 도전성 금속그룹 중 선택된 하나 또는 하나 이상의 금속을 증착하여 제 1 도전성 금속층(미도시)을 형성하고 이를 제 1 마스크 공정으로 패턴하여, 상기 스위칭 영역(S)에 게이트 전극(102)을 형성하고, 상기 게이트 영역(G)에 대응하여 일 끝단에 게이트 패드(106)를 포함하는 게이트 배선(도 7의 104)을 형성한다.Aluminum (Al), aluminum alloy (AlNd), chromium (Cr), molybdenum (Mo), tungsten (W), and titanium on the
동시에, 상기 게이트 배선(도 7의 104)과 평행하게 이격된 위치의 화소영역(P)의 양측, 즉, 공통신호영역(CS)에 공통배선(도 7의 109)과 공통 전극 연결부(108)를 각각 형성한다.At the same time, the common wiring (109 of FIG. 7) and the common
이하, 도 9b 내지 도 9f와 도 10b 내지 도 10f와 도 11b 내지 도 11f와 도 12a 내지 도 12f는 제 2 마스크 공정을 공정순서에 따라 도시한 공정 단면도이다.9B to 9F, 10B to 10F, 11B to 11F, and 12A to 12F are cross-sectional views illustrating a second mask process in a process sequence.
도 9b와 도 10b와 도 11b와 도 12b에 도시한 바와 같이, 상기 게이트 전극(102)과 게이트 패드 및 게이트 배선(106, 도 7의 104)과 공통 배선(도 7의 109), 그리고 공통 전극 연결부(108)가 형성된 기판(100)의 전면에 게이트 절연막(110)과, 순수 비정질 실리콘층(a-Si:H,112)과 불순물 비정질 실리콘층(n+ a- Si:H,114)과, 상기 불순물 비정질 실리콘층(114)의 상부에 제 2 도전성 금속층(116)과, 상기 제 2 도전성 금속층(116)의 상부에 포토레지스트(photo-resist)를 도포하여 감광층(118)을 형성한다.9B, 10B, 11B, and 12B, the
상기 게이트 절연막(110)은 질화 실리콘(SiNX)과 산화 실리콘(SiO2)을 포함하는 무기절연물질 그룹 중 선택된 하나 또는 하나 이상의 물질을 증착하여 형성 한다.The
이때, 상기 제 2 도전성 금속층(116)은 다층으로 구성되는 것을 특징으로 하며, 제 1 층으로 몰리티타늄합금(MoTi)층과 제 2 층으로 구리(Cu)층과 제 3 층으로 몰리티타늄합금(MoTi)층을 적층하여 형성하는 것을 특징으로 한다.In this case, the second
이때, 상기 구리(Cu)층은 비저항이 매우 낮기 때문에 신호 지연을 최소화 하기 위해 사용하는 것이다. 다만, 구리(Cu)는 실리콘(Si) 또는 산소와 반응하여 비저항이 높은 물질이 될 수 있으므로 전술한 바와 같이, 구리의 상부와 하부에 몰리브덴(Mo)과 티타늄(Ti)의 합금을 더욱 구성한다.In this case, the copper (Cu) layer is used to minimize the signal delay because the specific resistance is very low. However, since copper (Cu) may be a material having high specific resistance by reacting with silicon (Si) or oxygen, as described above, an alloy of molybdenum (Mo) and titanium (Ti) is further formed on the upper and lower portions of copper. .
한편, 상기 감광층(118)을 형성한 후, 상기 감광층(118)이 형성된 기판(100)의 이격된 상부에 투과부(B1)와 차단부(B2)와 반투과부(B3)로 구성된 마스크(M)를 위치시킨다.Meanwhile, after the
이때, 상기 스위칭 영역(S)과 데이터 영역(D)에 대응하여 차단부(B2)와, 상기 공통신호영역(CS)과 상기 게이트 패드(106)에 대응하여 투과부(B1)가 위치하도록 하고, 그 외의 영역에는 반투과부(B3)가 위치하도록 한다.In this case, the blocking unit B2 corresponds to the switching region S and the data region D, and the transmission unit B1 is positioned to correspond to the common signal region CS and the
이때, 상기 스위칭 영역(S)에 대응하는 차단부(B2)의 면적은 상기 게이트 전극(102)의 면적을 넘지 않는 범위내로 한정된다.At this time, the area of the blocking portion B2 corresponding to the switching region S is limited within a range not exceeding the area of the
다음으로, 상기 마스크(M)의 상부로 빛을 조사하여 하부의 감광층(116)을 노광하는 공정과, 연속한 현상공정을 진행한다.Next, a step of exposing light to the upper portion of the mask M to expose the lower
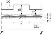
이와 같이 하면, 도 9c와 도 10c와 도 11c와 12c에 도시한 바와 같이, 감광패턴(120)이 형성된다. 감광패턴(120)은 공통신호영역(CS)과 상기 게이트 패드(106)를 위한 게이트 영역(G)의 일부에 대응하여 완전히 제거되어 하부의 제 2 도전성 금속층(116)을 노출하고, 상기 스위칭 영역(S)과 데이터 영역(D)에 원래의 높이에 대응하는 제 1 두께(d1)의 제 1 부분 및 공통신호영역(CS)와 게이트 패드(106)를 위한 게이트영역(G), 스위칭 영역(S) 그리고 데이터 영역(D)을 제외한 나머지 영역에 제 1 두께(d1)보다 낮은 제 2 두께(d2)의 제 2 부분을 포함한다.In this way, as illustrated in FIGS. 9C, 10C, 11C, and 12C, the
다음으로, 도 9d와 도 10d와 도 11d와 도 12d에 도시한 바와 같이, 상기 공통신호 영역(CS)과 게이트 패드(106)에 대응하여 노출된 제 2 도전성 금속층(116)과 그 하부의 불순물 비정질 실리콘층(114)과 순수 비정질 실리콘층(112)과 게이트 절연막(110)을 제거하여, 하부의 공통 전극 연결부(108)와 게이트 패드(106)의 일부를 노출하는 공정을 진행한다.Next, as shown in FIGS. 9D, 10D, 11D, and 12D, the second
다음으로, 상기 스위칭 영역(S)및 데이터 영역(D)을 제외한 감광패턴(120)의 제 2 부분을 애싱공정을 이용하여 제거한다.Next, the second portion of the
이와 같이 하면, 도 9e와 도 10e와 도 11e와 도 12e에 도시한 바와 같이, 기판(100)의 상기 스위칭 영역(S)과 데이터 영역(D)을 제외한 기판(100)의 전면에 대 한 제 2 도전성 금속층(116)이 노출된 상태이고 동시에, 상기 게이트 패드(106)와 공통 전극 연결부(108)의 일부가 노출된 상태로 형성된다.In this way, as illustrated in FIGS. 9E, 10E, 11E, and 12E, the front surface of the
한편, 상기 스위칭 영역(S)과 데이터 영역(D)에 대응하여 높이가 낮아진 감광패턴(122)이 남겨진 상태가 된다.Meanwhile, the
다음으로, 상기 감광패턴(122)의 외부로 노출된 제 2 도전성 금속층(116)과 그 하부의 비정질 실리콘층(114)과 그 하부의 순수 비정질 실리콘층(112)을 제거하는 공정을 진행한다.Next, a process of removing the second
다음으로, 남겨진 감광패턴(122)을 제거하는 공정을 진행한다.Next, a process of removing the remaining
이와 같이 하면, 도 9f와 도 10f와 도 11f와 도 12f에 도시한 바와 같이, 상기 스위칭 영역(S)에 대응하는 상기 게이트 전극(102)의 상부에 액티브층(124)과 오믹 콘택층(126)과 버퍼 금속층(128)이 형성된다.In this case, as shown in FIGS. 9F, 10F, 11F, and 12F, the
이때, 데이터 배선(143)과 데이터 패드(144) 및 연장부(B)가 상기 데이터 영역(D)에 형성된다. 연장부(B)는 데이터 배선(143) 및 데이터 패드(144) 하부에 위치하고, 오믹 콘택층(126) 및 버퍼 금속층(128)과 동일층에 위치하고 동일물질로 이루어진 층들을 포함한다.In this case, a
도 9g 내지 9i와 도 10g 내지 10i와 도 11g 내지 11i와 도 12g 내지 12i는 제 3 마스크 공정을 나타낸 도면이다. 도 9g와 도 10g와 도 11g와 도 12g에 도시한 바와 같이, 상기 버퍼 금속층(128)과, 액티브층(124)과 오믹 콘택층(126), 데이터 배선(143) 및 데이터 패드(144)가 형성된 기판(100)의 전면에 제 3 도전성 금속층(미도시)과 감광층을 적층하고, 상기 감광층을 제 3 마스크 공정으로 노광하고 현 상하여, 상기 스위칭 영역(S)에 대응하여 이격된 제 1 감광패턴(130)과, 상기 데이터 영역(D)에 대응하여 제 2 감광패턴(132)과, 상기 화소 영역(P)에 대응하여 다수의 수직부 형상의 제 3 감광패턴(134)을 형성한다.9G to 9I, 10G to 10I, 11G to 11I, and 12G to 12I illustrate a third mask process. As shown in FIGS. 9G, 10G, 11G, and 12G, the
동시에, 상기 게이트 패드(106)의 일부를 덮는 제 4 감광패턴(136)을 형성한다.At the same time, a fourth
이때, 상기 제 3 도전성 금속층(미도시)은 바람직하게는 몰리티타늄합금(MoTi)층인 것을 특징으로 한다.In this case, the third conductive metal layer (not shown) is preferably characterized in that the molybdenum alloy (MoTi) layer.
다음으로, 상기 제 1 내지 제 4 감광패턴(130,132,134,136)의 주변으로 노출된 상기 제 3 도전성 금속층(미도시)을 제거하여, 상기 이격된 제 1 감광패턴(130)의 하부에 이격된 소스 전극(138)과 드레인 전극(140)과, 상기 제 2 감광패턴(132)의 하부에 데이터 배선(143)과 데이터 패드(144) 및 연장부(B)를 덮는 동시에 일 끝단에 데이터 패드 전극(146)을 포함하는 보조 데이터 배선(142)과, 상기 제 3 감광패턴(134)의 하부에는, 상기 드레인 전극(140)과 접촉하는 화소 전극 연결부(도 7의 148a) 및 이로부터 상기 화소 영역(P)으로 수직하게 연장된 다수의 수직바 형태로 구성된 화소전극(148)과, 상기 공통 전극 연결부(108)와 접촉하면서 상기 화소 전극(148)의 사이에 위치한 다수의 수직바 형태의 공통 전극(150)을 형성한다.Next, by removing the third conductive metal layer (not shown) exposed to the periphery of the first to fourth
동시에, 상기 제 4 감광패턴(136)의 하부에는 상기 게이트 패드(106)와 접촉하는 게이트 패드 전극(152)을 형성한다.At the same time, a
다음으로, 상기 이격된 제 1 감광패턴(130)사이로 노출된 버퍼 금속층(128)과 오믹 콘택층(126)을 제거하여 하부의 액티브층(124)을 노출하는 공정을 진행한 다.Next, a process of exposing the lower
전술한 구성에서, 상기 액티브층(124)과 오믹 콘택층(126)은, 게이트 전극(102)의 상부에 위치하여 제외하고는 상기 게이트 전극(102)에 의해 가려지는 형태이고, 상기 연장부(B)도 상부의 데이터 배선(142)에 감싸진 형태로 구성되기 때문에 빛으로부터 차단될 수 있다.In the above-described configuration, the
따라서, 상기 액티브층(124)에서는 빛에 의한 광누설전류가 발생하지 않는 장점을 가지며 이로 인해 박막트랜지스터는 동작불량이 발생하지 않고, 패널의 전체로 보면 광누설전류에 의한 웨이비 노이즈(wavy noise)가 발생하지 않는 장점이 있다.Therefore, the
 9h와 도 10h와 도 11h와 도 12h에 도시한 바와 같이, 상기 제 1 내지 제 4 감광패턴(130,132,134,136)을 남겨둔 상태에서, 상기 기판(100)의 전면에 질화 실리콘(SiNX)과 산화 실리콘(SiO2)을 포함하는 무기 절연막을 증착하여 보호막(154)을 형성한다.9H, 10H, 11H, and 12H, with the first to fourth
이때, 상기 보호막(154)은 상기 제 1 내지 제 4 감광패턴(130,132,134,136)의 상부와, 상기 노출된 액티브층(124)의 상부와, 상기 공통전극(150)과 화소 전극(148)의 사이를 메우는 형태로 형성된다.In this case, the
다음으로, 상기 제 1 내지 제 4 감광패턴(130,132,134,136)을 제거하는 리프트 오프 공정(lift-off)을 진행한다.Next, a lift-off process of removing the first to fourth
이와 같이 하면, 도 9i와 도 10i와 도 11i와 도 12i에 도시한 바와 같이, 상 기 보호막(154)은 상기 액티브층(124)의 표면을 덮는 동시에, 상기 공통 전극(150)과 화소 전극(148)의 사이를 메우는 형태로 형성되며 이때, 상기 게이트 패드 전극(152)과 데이터 패드 전극(146)은 노출된 상태로 제작될 수 있다.In this case, as shown in FIGS. 9I, 10I, 11I, and 12I, the
한편, 도 9g와 도 10g와 도 11g와 도 12g에서, 제 3 도전성 금속층을 제거할 때, 등방성을 갖는 습식 식각을 이용하여 제 1 내지 제 4 감광패턴(130, 132, 134, 136) 하부의 제 3 도전성 금속층이 과식각되도록 한다.  따라서, 제 1 내지 제 4 감광패턴(130, 132, 134, 136)의 가장자리 하부면이 부분적으로 노출되도록 한다. 이러한 제 1 내지 제 4 감광패턴(130, 132, 134, 136)의 노출된 하부면은, 보호막(154)를 증착 후 제 1 내지 제 4 감광패턴(130, 132, 134, 136)의 제거하는 리프트 오프 공정에서, 스트리퍼(stripper)가 제 1 내지 제 4 감광패턴(130, 132, 134, 136)의 하부로 원활하게 침투하여 제 1 내지 제 4 감광패턴(130, 132, 134, 136)을 용이하게 제거하도록 하기 위한 것이다.  이때, 이러한 스트리퍼의 침투를 원활하게 하기 위해, 제 1 내지 제 4 감광패턴(130, 132, 134, 136)의 노출된 하부면은 2,000 내지 5,000Å의 폭을 가지는 것이 바람직하다.Meanwhile, in FIGS. 9G, 10G, 11G, and 12G, when the third conductive metal layer is removed, the first to fourth
이상으로, 리프트 오프(lift-off) 공정을 포함한 3마스크 공정으로 본 발명에 따른 횡전계 방식 액정표시장치용 어레이기판을 제작할 수 있다.As described above, the array substrate for the transverse electric field type liquid crystal display device according to the present invention can be manufactured by a three mask process including a lift-off process.
전술한 제 1 실시예의 구성은, 상기 공통 전극(150)과 화소 전극(148)을 불투명한 금속으로 형성한 예를 설명하였으나, 상기 공통 전극과 화소 전극은 ITO와 IZO와 같은 투명한 도전성 금속층으로 형성할 수도 있다.Although the configuration of the first embodiment described above has described an example in which the
-- 제 2 실시예 --Second Embodiment
본 발명의 제 2 실시예에 따른 횡전계 방식 액정표시장치용 어레이기판은, 상기 공통 전극과 화소 전극과 소스 및 드레인 전극을 투명한 재질로 형성하는 것을 특징으로 한다.The array substrate for a transverse electric field type liquid crystal display device according to the second embodiment of the present invention is characterized in that the common electrode, the pixel electrode, the source and the drain electrode are formed of a transparent material.
이에 대해 이하, 도 13a 내지 도 13d를 참조하여 설명한다.This will be described below with reference to FIGS. 13A to 13D.
도 13a 내지 도 13d는 각각 도 7의 Ⅶ-Ⅶ,Ⅷ-Ⅷ,Ⅸ-Ⅸ,Ⅹ-Ⅹ을 따라 절단한 단면도이다.13A to 13D are cross-sectional views taken along the lines VIII-VIII, VIII-VIII, VIII-VIII, and VIII-VIII of FIG. 7, respectively.
도시한 바와 같이, 본 발명의 제 2 실시예는, 스위칭 영역(S)으로 정의한 기판(100)의 일면에 게이트 전극(102)과 액티브층(124)과 오믹 콘택층(126)과 버퍼금속층(128)과, 상기 버퍼금속층(128)과 접촉하는 투명한 소스 전극(138')과 드레인 전극(140')으로 구성된 박막트랜지스터(T)를 구성한다.As shown in FIG. 2, the
또한, 화소 영역(P)으로 정의한 기판(100)의 일면에는 서로 이격하여 구성된 막대형상의 투명한 화소 전극(148')과 투명한 공통 전극(150')을 구성하고, 상기 화소 영역(P)의 일 측에 정의한 데이터 영역(D)에는 액티브층(124) 및 오믹 콘택층(126)과 동일층 및 동일물질의 연장부(B)를 구성하고, 연장부(B) 상부에는 버퍼 금속층(128)과 동일층 및 동일물질의 데이터 배선(143) 및 데이터 배선(143) 일끝단의 데이터 패드(144)를 형성한다.  데이터 배선(143) 및 데이터 패드(144) 상부에는 상기 데이터 배선(143)과 데이터 패드(144) 및 연장부(B)를 감싸며 일 끝단에 데이터 패드 전극(146')을 포함하는 투명한 보조 데이터 배선(142')을 형성한다.In addition, a rod-shaped transparent pixel electrode 148 'and a transparent common electrode 150' configured to be spaced apart from each other are formed on one surface of the
또한, 상기 화소 영역(P)의 타 측 게이트 영역(G)에는 일 끝단에 게이트 패 드(106)를 포함하는 게이트 배선(도 7의 104)을 구성하고, 상기 게이트 패드(106)의 상부에는 이와 접촉하는 투명한 게이트 패드 전극(152')을 형성한다. 공통신호 영역(CS)에는 화소전극 연결부(108)를 형성한다.In addition, a gate wiring (104 in FIG. 7) including a
이때, 상기 버퍼 금속층(128)을 형성할 때 앞서 언급한 바와 같이, 저항이 낮은 구리(Cu)층을 사이에 두고 상.하로 몰리티타늄합금(MoTi)층을 적층하여 형성하는 것을 특징으로 한다.In this case, as described above, when the
따라서, 상기 소스 및 드레인 전극(138',140')을 저항이 큰 투명한 도전성 금속층으로 형성하더라도 신호지연이 발생하지 않는 장점이 있다.Therefore, even when the source and drain electrodes 138 'and 140' are formed of a transparent conductive metal layer having a large resistance, signal delay does not occur.
더욱이, 상기 공통전극(150')과 화소 전극(148')을 투명한 재질로 형성함으로써, 휘도를 더욱 개선할 수 있는 장점이 있고 특히, 드레인 전극(140')이 투명하기 때문에 하부 백라이트로부터 출사한 빛이 드레인 전극(140')을 통과하여 지나가기 때문에, 상기 드레인 전극(140')에 의해 반사되는 빛이 액티브층(124)에 조사되는 현상이 발생하지 않는 장점이 있다.Furthermore, by forming the common electrode 150 'and the pixel electrode 148' with a transparent material, there is an advantage of further improving luminance, and in particular, since the drain electrode 140 'is transparent, the common electrode 150' and the pixel electrode 148 'are emitted from the lower backlight. Since light passes through the
전술한 바와 같은 본 발명의 제 2 실시예에 따른 횡전계 방식 액정표시장치용 어레이기판의 제조방법은, 앞서 설명한 제 1 실시예와 비교하여, 제 3 도전성 금속층을 ITO 또는 IZO 로 형성하는 차이만 있을 뿐 그 외의 공정은 동일하므로 이를 생략한다.As described above, the manufacturing method of the array substrate for a transverse electric field type liquid crystal display device according to the second embodiment of the present invention is different from that of forming the third conductive metal layer with ITO or IZO, as compared with the first embodiment described above. Only the other processes are the same, so they are omitted.
여기서, 버퍼 금속층(128)은 생략될 수도 있는데, 제 2 실시예에서와 같이 제 3 도전성 금속층을 ITO 또는 IZO로 형성할 경우에는, 신호지연의 발생을 방지하기 위해 버퍼 금속층(128)을 형성하는 것이 바람직하다.Here, the
이상으로, 리프트 오프(lift-off) 공정을 포함한 3마스크 공정으로, 본 발명의 제 1 및 제 2 실시예에 따른 횡전계 방식 액정표시장치를 제작할 수 있다.As described above, the transverse electric field type liquid crystal display device according to the first and second embodiments of the present invention can be manufactured in a three mask process including a lift-off process.
이때, 제 1 및 제 2 실시예는 절연막을 형성하는 공정에서 리프트 오프(lift-off) 공정을 사용하여, 마스크 공정을 생략하는 것을 특징으로 하였지만, 이하 제 3 실시예를 통해 다른 변형예를 설명한다.In this case, the first and second embodiments are characterized in that the mask process is omitted by using a lift-off process in the process of forming the insulating film, but another modification will be described below through the third embodiment. do.
-- 제 3 실시예 --Third Embodiment
본 발명의 제 3 실시예의 특징은, 섀도우 마스크를 사용하여, 상기 게이트 패드와 데이터 패드를 제외한 모든 영역에 보호막을 형성하는 것을 특징으로 한다.The third embodiment of the present invention is characterized in that a protective film is formed on all regions except for the gate pad and the data pad by using a shadow mask.
이하, 공정 단면도를 참조하여 본 발명의 제 3 실시예에 따른 횡전계 방식 액정표시장치용 어레이기판의 제조공정을 설명한다.Hereinafter, a manufacturing process of an array substrate for a transverse electric field type liquid crystal display device according to a third embodiment of the present invention will be described with reference to the process cross section.
이때, 제 2 마스크 공정까지는 제 1 실시에서 설명한 단계와 동일하므로, 이를 생략하고 제 3 마스크 공정부터 설명하기로 한다.In this case, since the second mask process is the same as the steps described in the first embodiment, the description thereof will be omitted from the third mask process.
도 14a 내지 도 14c와 도 15a 내지 도 15c와 도 16a 내지 도 16c와 도 17a 내지 도 17c는 각각 도 7의 Ⅶ-Ⅶ,Ⅷ-Ⅷ,Ⅸ-Ⅸ,Ⅹ-Ⅹ을 따라 절단하여 본 발명의 제 3 실시예에 따른 공정순서에 따라 도시한 공정 단면도이다.14A to 14C, 15A to 15C, 16A to 16C, and 17A to 17C are cut along the lines VIII-VIII, VIII-VIII, VIII-VIII, VIII-VIII of FIG. The process cross section shown in the process sequence which concerns on 3rd Example.
도 14a와 도 15a와 도 16a와 도 17a에 도시한 바와 같이, 기판(100) 상에  화소 영역(P)과 스위칭 영역(S)과 공통 신호 영역(CS)과 데이터 영역(D)과 게이트 영역(G)을 정의한다.As shown in FIGS. 14A, 15A, 16A, and 17A, the pixel region P, the switching region S, the common signal region CS, the data region D, and the gate region are formed on the
제 1 마스크 공정으로, 상기 스위칭 영역(S)에 게이트 전극(102)을 형성하 고, 상기 게이트 전극(102)과 접촉하면서 상기 게이트 영역(G)으로 연장되고 일 끝단에 게이트 패드(106)를 포함하는 게이트 배선(도 7의 104)을 형성한다.In the first mask process, a
동시에, 상기 게이트 배선(도 7의 104)과 평행한 위치에 공통배선(도 7의 109)과 공통 전극 연결부(108)를 형성한다.At the same time, the common wiring (109 of FIG. 7) and the common
다음으로, 상기 게이트 전극(102)과 게이트 배선(도 7의 104)과 게이트 패드(106)가 형성된 기판(100)의 전면에 게이트 절연막(110)을 형성한다.Next, a
제 2 마스크 공정으로, 상기 게이트 패드(106)와 상기 공통 전극 연결부(108)의 일부를 노출하는 공정을 진행하고, 상기 스위칭 영역(S)에 대응하는 상기 게이트 절연막(110)의 상부에 액티브층(124)과 오믹 콘택층(126)과, 버퍼 금속층(128)을 형성한다. 데이터 영역(D)에는 연장부(B)와 데이터 배선(143) 및 데이터 패드(144)를 형성한다. 데이터 배선(143) 및 데이터 패드(144)는 버퍼 금속층(128)과 동일층 및 동일 물질로 형성되고, 연장부(B)는 액티브층(124) 및 오믹 콘택층(126)과 동일층 및 동일물질로 이루어진 층들을 포함한다.In the second mask process, a process of exposing the
다음으로, 상기 액티브층(124)과 오믹 콘택층(126)과 버퍼 금속층(128)과 데이터 배선(143) 및 데이터 패드(144)가 형성된 기판(100)의 전면에 제 3 도전성 금속층(ML)과 감광층(미도시)을 적층하고, 상기 감광층을 제 3 마스크 공정으로 노광하고 현상하여, 상기 스위칭 영역(S)에 대응하여 이격된 제 1 감광패턴(130)과, 상기 데이터 영역(D)에 대응하여 제 2 감광패턴(132)과, 상기 화소 영역(P)에 대응하여 다수의 수직부 형상의 제 3 감광패턴(134)을 형성한다.Next, a third conductive metal layer ML is formed on the entire surface of the
동시에, 상기 게이트 패드(106)의 일부를 덮는 제 4 감광패턴(136)을 형성한 다.At the same time, a fourth
다음으로, 상기 제 1 내지 제 4 감광패턴(130,132,134,136)의 주변으로 노출된 상기 제 3 도전성 금속층(ML)을 제거하고 상부의 제 1 내지 제 4 감광패턴(130,132,134,136)을 제거하는 공정을 진행한다.Next, a process of removing the third conductive metal layer ML exposed to the periphery of the first to fourth
이때, 상기 제 3 도전성 금속층(ML)은 앞서 언급한 제 1 및 제 2 실시예의 예처럼, 몰리티타늄(MoTi)층으로 형성할 수도 있고 ITO 및 IZO와 같은 투명한 도전성 금속층으로 형성할 수 도 있다.In this case, the third conductive metal layer ML may be formed of a molybdenum (MoTi) layer or may be formed of a transparent conductive metal layer such as ITO and IZO, as in the examples of the first and second embodiments described above.
도 14b와 도 15b와 도 16b와 도 17b에 도시한 바와 같이, 상기 스위칭 영역(S)에는 이격된 소스 전극(138)과 드레인 전극(140)과, 상기 데이터 영역(D)에는 상기 연장부(B)와 데이터 배선(143) 및 데이터 패드(144)를 덮는 동시에 일 끝단에 데이터 패드 전극(146)을 포함하는 보조 데이터 배선(142)이 형성된다.As shown in FIGS. 14B, 15B, 16B, and 17B, the
동시에, 상기 화소 영역(P)에는 상기 드레인 전극(140)과 전기적으로 연결되고 상기 화소 영역(P)으로 수직하게 연장된 다수의 수직바 형태로 구성된 화소전극(148)과, 상기 공통 전극 연결부(108)와 접촉하면서 상기 화소 전극(148)의 사이에 위치한 다수의 수직바 형태의 공통 전극(150)을 형성한다.At the same time, the pixel region P includes a
동시에, 상기 게이트 패드(106)와 접촉하는 게이트 패드 전극(152)을 형성한다.At the same time, a
다음으로, 소스 및 드레인 전극(138, 140) 사이로 노출된 버퍼 금속층(128)과 오믹 콘택층(126)을 제거하여 하부의 액티브층(124)을 노출하는 공정을 진행한다.Next, a process of exposing the lower
다음으로, 도 14c와 도 15c와 도 16c와 도 17c에 도시한 바와 같이, 상기 게이트 패드 전극(152)과 데이터 패드 전극(146)의 상부에 섀도우 마스크(shadow mask : SM)를 위치시킨 후, 상기 기판(100)의 전면에 질화실리콘(SiNx)과 산화 실리콘(SiO2)을 포함하는 무기절연물질그룹 중 선택된 하나를 증착하여 보호막(154)을 형성한다.Next, as shown in FIGS. 14C, 15C, 16C, and 17C, a shadow mask (SM) is positioned on the
따라서, 추가적인 마스크공정 없이 단순히 섀도우 마스크로 상기 게이트 패드  전극 및 데이터 패드를 차단하는 공정만으로, 상기 게이트 패드 전극(152)과 데이터 패드 전극(146)을 제외한 모든 영역에 보호막(154)을 형성할 수 있다.Accordingly, the
전술한 공정을 통해, 본 발명의 제 1 내지 제 3 실시예에 따른 3공정으로 횡전계 방식 액정표시장치용 어레이기판을 제작할 수 있다.Through the above-described process, the array substrate for the transverse electric field type liquid crystal display device can be manufactured in three steps according to the first to third embodiments of the present invention.
본 발명의 제 1 내지 제 3 실시예에서, 데이터 배선(143)은 버퍼 금속층(128)과 분리되고 연장부(B)의 각 층은 액티브층(124) 및 오믹 콘택층(126)과 분리되어 있으나, 서로 연결되도록 형성할 수도 있다.In the first to third embodiments of the present invention, the
이러한 본 발명의 다른 예를 도 18에 도시한다.  도 18은 본 발명에 따른 어레이 기판의 다른 예를 도시한 단면도이다.  도 18의 구조는 데이터 배선(143)이 버퍼 금속층(128)과 연결되고, 연장부(B)의 각 패턴이 액티브층(124) 및 오믹 콘택층(126)과 연결되어 있는 점을 제외하면 앞서 언급한 제 1 내지 제 3 실시예의 구조와 동일하므로, 동일 부분에 대하여 동일 부호를 부여하고, 이에 대한 설명은 생략한다.Another example of this invention is shown in FIG. 18 is a cross-sectional view showing another example of the array substrate according to the present invention. The structure of FIG. 18 has been described above except that the
도시한 바와 같이, 액티브층(124) 및 오믹 콘택층(126)과 연결되고, 이들과 동일 적층구조를 가지는 층들로 이루어진 연장부(B)가 데이터 영역(D)에 위치한다. 연장부(B) 상부에는 데이터 배선(143)이 형성되어 있고, 데이터 배선(143)은 버퍼 금속층(128)과 연결되어 있다. 보조 데이터 배선(142)이 데이터 배선(143) 및 연장부(B)를 덮고 있으며, 소스 전극(138)이 보조 데이터 배선(142)에서 연장되어 있다.As shown in the drawing, an extension B formed of layers connected to the
도 18의 어레이 기판은 제 1 내지 제 3 실시예에 제시된 것과 동일한 공정을 통해 제조된다.The array substrate of FIG. 18 is manufactured through the same process as that shown in the first to third embodiments.
이하, 본 발명에 따른 공정을 간략히 설명하면 아래와 같다.Hereinafter, a brief description of the process according to the present invention.
제 1 마스크 공정 : 게이트 전극과 게이트 배선 및 게이트 패드와 공통배선을 형성한다.First Mask Process: A common wiring is formed with the gate electrode, the gate wiring, and the gate pad.
제 2 마스크 공정 : 제 1 절연막의 하부로 상기 게이트 패드와 공통 배선을 노출하고, 게이트 전극의 상부에 액티브층과 오믹 콘택층과 버퍼 금속층, 데이터 배선 및 데이터 패드를 형성한다.Second mask process: The gate pad and the common wiring are exposed under the first insulating film, and the active layer, the ohmic contact layer, the buffer metal layer, the data wiring and the data pad are formed on the gate electrode.
제 3 마스크 공정 : 이격된 버퍼 금속층과 접촉하는 소스 전극과 드레인 전극과, 상기 화소 영역에 화소 전극과 공통 전극과, 상기 게이트 패드와 접촉하는 게이트 패드 전극과 상기 데이터 영역에 일 끝단에 데이터 패드 전극을 포함하는 보조 데이터 배선을 형성한다.Third mask process: a source electrode and a drain electrode in contact with the spaced buffer metal layer, a pixel electrode and a common electrode in the pixel area, a gate pad electrode in contact with the gate pad and a data pad electrode at one end in the data area To form an auxiliary data line including;
다음으로, 앞서 제 1 및 제 2 실시예에서 설명한 리프트 오프 공정을 이용하여, 상기 게이트 패드 전극과 데이터 패드 전극을 노출하는 보호막을 형성할 수 있 다.Next, a passivation layer exposing the gate pad electrode and the data pad electrode may be formed using the lift-off process described in the first and second embodiments.
다른 예로, 앞서 제 3 실시예에서 설명한 바와 같이, 섀도우 마스크를 이용하여 상기 게이트 패드전극과 데이터 패드전극을 노출하는 보호막을 형성할 수 있다.As another example, as described above in the third embodiment, a passivation layer exposing the gate pad electrode and the data pad electrode may be formed using a shadow mask.
따라서, 본 발명에 따른 횡전계 방식 액정표시장치용 어레이 기판은Therefore, the array substrate for a transverse electric field type liquid crystal display device according to the present invention
첫째, 액티브층이 백라이트 빛에 의해 노출되는 구조가 아니므로 광전류 발생을 억제할 수 있기 때문에, 박막트랜지스터의 동작 불량을 방지할 수 있는 동시에 패널에 웨이비 노이즈(wavy noise)가 발생하지 않아 고화질을 구현할 수 있는 효과가 있다.First, since the active layer is not exposed to backlight light, the generation of photocurrent can be suppressed, thereby preventing the malfunction of the thin film transistor and preventing high noise from occurring on the panel. There is an effect that can be implemented.
둘째, 3마스크 공정으로 제작되기 때문에 생산비용을 낮추고, 생산시간을 단축할 수 있으므로 공정수율을 개선할 수 있는 동시에, 제품의 경쟁력을 개선할 수 있는 효과가 있다.Second, because it is manufactured in a three-mask process can reduce the production cost, shorten the production time can improve the process yield, and also improve the competitiveness of the product.
셋째, 저항이 낮은 구리층을 배선으로 사용하였기 때문에 신호지연을 방지할 수 있어, 액정패널의 동작특성을 개선할 수 있는 효과가 있다.Third, since a low-resistance copper layer is used as the wiring, signal delay can be prevented, thereby improving the operating characteristics of the liquid crystal panel.
| Application Number | Priority Date | Filing Date | Title | 
|---|---|---|---|
| US11/806,214US8031312B2 (en) | 2006-11-28 | 2007-05-30 | Array substrate for liquid crystal display device and method of manufacturing the same | 
| GB0712299AGB2444347A (en) | 2006-11-28 | 2007-06-25 | Gate in panel (GIP) liquid crystal display device. | 
| TW096123123ATWI367379B (en) | 2006-11-28 | 2007-06-26 | Array substrate for liquid crystal display device and method of manufacturing the same | 
| JP2007173016AJP4885805B2 (en) | 2006-11-28 | 2007-06-29 | Array substrate for liquid crystal display device and manufacturing method thereof | 
| FR0704697AFR2909194B1 (en) | 2006-11-28 | 2007-06-29 | NETWORK FORMING SUBSTRATE FOR A LIQUID CRYSTAL DISPLAY DEVICE AND MANUFACTURING METHOD THEREFOR. | 
| CN2007101269072ACN101191967B (en) | 2006-11-28 | 2007-06-29 | Liquid crystal display device array substrate and its manufacture method | 
| GB0723021AGB2444379B (en) | 2006-11-28 | 2007-11-23 | Array substrate for liquid crystal display device and method of manufacturing the same | 
| US13/193,384US8456601B2 (en) | 2006-11-28 | 2011-07-28 | Array substrate for liquid crystal display device and method of manufacturing the same | 
| Application Number | Priority Date | Filing Date | Title | 
|---|---|---|---|
| KR20060118593 | 2006-11-28 | ||
| KR1020060118593 | 2006-11-28 | 
| Publication Number | Publication Date | 
|---|---|
| KR20080048379A KR20080048379A (en) | 2008-06-02 | 
| KR100920482B1true KR100920482B1 (en) | 2009-10-08 | 
| Application Number | Title | Priority Date | Filing Date | 
|---|---|---|---|
| KR1020070039312AExpired - Fee RelatedKR100920482B1 (en) | 2006-11-28 | 2007-04-23 | An array substrate for LCD and method of fabricating the same | 
| Country | Link | 
|---|---|
| KR (1) | KR100920482B1 (en) | 
| CN (1) | CN101191967B (en) | 
| TW (1) | TWI367379B (en) | 
| Publication number | Priority date | Publication date | Assignee | Title | 
|---|---|---|---|---|
| US8031312B2 (en) | 2006-11-28 | 2011-10-04 | Lg Display Co., Ltd. | Array substrate for liquid crystal display device and method of manufacturing the same | 
| CN102160184B (en)* | 2008-09-19 | 2014-07-09 | 株式会社半导体能源研究所 | Display device | 
| CN102023422B (en)* | 2009-09-15 | 2013-07-10 | 北京京东方光电科技有限公司 | Thin film transistor liquid crystal display (TFT-LCD) combination substrate, liquid crystal display (LCD) and manufacturing methods of TFT-LCD and LCD | 
| KR102838177B1 (en) | 2010-02-26 | 2025-07-23 | 가부시키가이샤 한도오따이 에네루기 켄큐쇼 | Liquid crystal display device | 
| CN102637634B (en)* | 2011-08-12 | 2014-02-26 | 北京京东方光电科技有限公司 | Array substrate, manufacturing method thereof, and display device | 
| WO2013181166A1 (en)* | 2012-05-26 | 2013-12-05 | Cbrite Inc. | Mask level reduction for mofet | 
| KR101493128B1 (en)* | 2012-09-27 | 2015-02-23 | 엘지디스플레이 주식회사 | Liquid Crystal Display Panel and Method fo Manufacturing the same | 
| KR102364631B1 (en)* | 2015-09-18 | 2022-02-17 | 엘지디스플레이 주식회사 | Liquid crystal display device | 
| JP2019101382A (en)* | 2017-12-08 | 2019-06-24 | シャープ株式会社 | Liquid crystal display device | 
| CN108269764B (en)* | 2018-02-01 | 2022-04-26 | 京东方科技集团股份有限公司 | Display panel manufacturing method, display panel and display device | 
| Publication number | Priority date | Publication date | Assignee | Title | 
|---|---|---|---|---|
| KR19990052411A (en)* | 1997-12-22 | 1999-07-05 | 김영환 | Manufacturing method of liquid crystal display device | 
| KR20000014701A (en)* | 1998-08-24 | 2000-03-15 | 김영환 | Liquid crystal display having high opening rate and transmitting rate and fabricating method of the same | 
| KR20040021169A (en)* | 2002-09-03 | 2004-03-10 | 엘지.필립스 엘시디 주식회사 | Liquid Crystal Display and mathod for fabricating of the same | 
| KR20040108276A (en)* | 2003-06-17 | 2004-12-23 | 엘지.필립스 엘시디 주식회사 | Structure of thin film transistor and fabricating method thereof | 
| Publication number | Priority date | Publication date | Assignee | Title | 
|---|---|---|---|---|
| JPH1073823A (en)* | 1996-09-02 | 1998-03-17 | Hitachi Ltd | Active matrix type liquid crystal display | 
| KR100372577B1 (en)* | 2000-08-07 | 2003-02-17 | 엘지.필립스 엘시디 주식회사 | liquid crystal display with wide viewing angle | 
| JP2003295207A (en)* | 2002-03-29 | 2003-10-15 | Nec Lcd Technologies Ltd | In-plane switching type active matrix liquid crystal display | 
| KR100975734B1 (en)* | 2003-09-08 | 2010-08-12 | 엘지디스플레이 주식회사 | Array board for transverse electric field type liquid crystal display device and manufacturing method thereof | 
| KR100560402B1 (en)* | 2003-11-04 | 2006-03-14 | 엘지.필립스 엘시디 주식회사 | Horizontal field applied thin film transistor substrate and manufacturing method thereof | 
| Publication number | Priority date | Publication date | Assignee | Title | 
|---|---|---|---|---|
| KR19990052411A (en)* | 1997-12-22 | 1999-07-05 | 김영환 | Manufacturing method of liquid crystal display device | 
| KR20000014701A (en)* | 1998-08-24 | 2000-03-15 | 김영환 | Liquid crystal display having high opening rate and transmitting rate and fabricating method of the same | 
| KR20040021169A (en)* | 2002-09-03 | 2004-03-10 | 엘지.필립스 엘시디 주식회사 | Liquid Crystal Display and mathod for fabricating of the same | 
| KR20040108276A (en)* | 2003-06-17 | 2004-12-23 | 엘지.필립스 엘시디 주식회사 | Structure of thin film transistor and fabricating method thereof | 
| Publication number | Publication date | 
|---|---|
| KR20080048379A (en) | 2008-06-02 | 
| TW200823582A (en) | 2008-06-01 | 
| CN101191967B (en) | 2012-06-06 | 
| CN101191967A (en) | 2008-06-04 | 
| TWI367379B (en) | 2012-07-01 | 
| Publication | Publication Date | Title | 
|---|---|---|
| JP4885805B2 (en) | Array substrate for liquid crystal display device and manufacturing method thereof | |
| KR100920482B1 (en) | An array substrate for LCD and method of fabricating the same | |
| KR101264789B1 (en) | An array substrate for in plan switching LCD and method of fabricating of the same | |
| KR101257811B1 (en) | An array substrate for LCD and method for fabricating thereof | |
| KR101235106B1 (en) | An array substrate for LCD and method for fabricating thereof | |
| KR100978369B1 (en) | Array board for transverse electric field type liquid crystal display device and manufacturing method thereof | |
| KR101085136B1 (en) | Horizontal field thin film transistor substrate and its manufacturing method | |
| KR101282893B1 (en) | An array substrate for LCD and method for fabricating thereof | |
| KR101248003B1 (en) | The substrate for LCD and method for fabricating of the same | |
| KR20080001181A (en) | Array substrate for liquid crystal display device and manufacturing method thereof | |
| JP2004199049A (en) | Array substrate for liquid crystal display device and method of manufacturing the same | |
| KR101284697B1 (en) | An array substrate for LCD and method for fabricating thereof | |
| KR101297358B1 (en) | An array substrate for LCD and method for fabricating thereof | |
| KR101242032B1 (en) | An array substrate for LCD and method for fabricating thereof | |
| KR101127218B1 (en) | The substrate for LCD and method for fabricating of the same | |
| KR101302965B1 (en) | Array substrate for in plan switching LCD and method of fabricating of the same | |
| KR101127217B1 (en) | An array substrate for fringe field switching mode LCD and method of fabricating of the same | |
| KR101369189B1 (en) | An array substrate of Reflective Liquid Crystal Display Device and the method for fabricating thereof | |
| KR101102425B1 (en) | Array board for fs type liquid crystal display device and manufacturing method | |
| KR102574600B1 (en) | Display device | |
| KR101124398B1 (en) | The substrate for LCD and method for fabricating of the same | |
| KR20080001180A (en) | Array substrate for liquid crystal display device and manufacturing method thereof | |
| KR20060133746A (en) | Array substrate for liquid crystal display device and manufacturing method thereof | |
| KR20090029572A (en) | Array substrate for liquid crystal display device and manufacturing method thereof | |
| KR20060133745A (en) | Array substrate for liquid crystal display device and manufacturing method thereof | 
| Date | Code | Title | Description | 
|---|---|---|---|
| PA0109 | Patent application | St.27 status event code:A-0-1-A10-A12-nap-PA0109 | |
| A201 | Request for examination | ||
| PA0201 | Request for examination | St.27 status event code:A-1-2-D10-D11-exm-PA0201 | |
| PN2301 | Change of applicant | St.27 status event code:A-3-3-R10-R13-asn-PN2301 St.27 status event code:A-3-3-R10-R11-asn-PN2301 | |
| PG1501 | Laying open of application | St.27 status event code:A-1-1-Q10-Q12-nap-PG1501 | |
| D13-X000 | Search requested | St.27 status event code:A-1-2-D10-D13-srh-X000 | |
| D14-X000 | Search report completed | St.27 status event code:A-1-2-D10-D14-srh-X000 | |
| E902 | Notification of reason for refusal | ||
| PE0902 | Notice of grounds for rejection | St.27 status event code:A-1-2-D10-D21-exm-PE0902 | |
| E13-X000 | Pre-grant limitation requested | St.27 status event code:A-2-3-E10-E13-lim-X000 | |
| P11-X000 | Amendment of application requested | St.27 status event code:A-2-2-P10-P11-nap-X000 | |
| P13-X000 | Application amended | St.27 status event code:A-2-2-P10-P13-nap-X000 | |
| E701 | Decision to grant or registration of patent right | ||
| PE0701 | Decision of registration | St.27 status event code:A-1-2-D10-D22-exm-PE0701 | |
| GRNT | Written decision to grant | ||
| PR0701 | Registration of establishment | St.27 status event code:A-2-4-F10-F11-exm-PR0701 | |
| PR1002 | Payment of registration fee | St.27 status event code:A-2-2-U10-U11-oth-PR1002 Fee payment year number:1 | |
| PG1601 | Publication of registration | St.27 status event code:A-4-4-Q10-Q13-nap-PG1601 | |
| R18-X000 | Changes to party contact information recorded | St.27 status event code:A-5-5-R10-R18-oth-X000 | |
| R18-X000 | Changes to party contact information recorded | St.27 status event code:A-5-5-R10-R18-oth-X000 | |
| R18-X000 | Changes to party contact information recorded | St.27 status event code:A-5-5-R10-R18-oth-X000 | |
| PR1001 | Payment of annual fee | St.27 status event code:A-4-4-U10-U11-oth-PR1001 Fee payment year number:4 | |
| FPAY | Annual fee payment | Payment date:20130619 Year of fee payment:5 | |
| PR1001 | Payment of annual fee | St.27 status event code:A-4-4-U10-U11-oth-PR1001 Fee payment year number:5 | |
| FPAY | Annual fee payment | Payment date:20140630 Year of fee payment:6 | |
| PR1001 | Payment of annual fee | St.27 status event code:A-4-4-U10-U11-oth-PR1001 Fee payment year number:6 | |
| FPAY | Annual fee payment | Payment date:20150818 Year of fee payment:7 | |
| PR1001 | Payment of annual fee | St.27 status event code:A-4-4-U10-U11-oth-PR1001 Fee payment year number:7 | |
| FPAY | Annual fee payment | Payment date:20160816 Year of fee payment:8 | |
| PR1001 | Payment of annual fee | St.27 status event code:A-4-4-U10-U11-oth-PR1001 Fee payment year number:8 | |
| P22-X000 | Classification modified | St.27 status event code:A-4-4-P10-P22-nap-X000 | |
| FPAY | Annual fee payment | Payment date:20170816 Year of fee payment:9 | |
| PR1001 | Payment of annual fee | St.27 status event code:A-4-4-U10-U11-oth-PR1001 Fee payment year number:9 | |
| FPAY | Annual fee payment | Payment date:20180816 Year of fee payment:10 | |
| PR1001 | Payment of annual fee | St.27 status event code:A-4-4-U10-U11-oth-PR1001 Fee payment year number:10 | |
| PC1903 | Unpaid annual fee | St.27 status event code:A-4-4-U10-U13-oth-PC1903 Not in force date:20190930 Payment event data comment text:Termination Category : DEFAULT_OF_REGISTRATION_FEE | |
| PC1903 | Unpaid annual fee | St.27 status event code:N-4-6-H10-H13-oth-PC1903 Ip right cessation event data comment text:Termination Category : DEFAULT_OF_REGISTRATION_FEE Not in force date:20190930 |