




도 1은 종래의 단말기를 이용하여 사용자 위치를 파악하는 것을 도시한 모식도이다.1 is a schematic diagram showing a user location using a conventional terminal.
도 2는 종래의 사용자 위치를 파악하는 기능을 도시한 플로차트이다.2 is a flowchart illustrating a function of identifying a conventional user position.
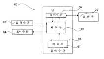
도 3은 본 발명에 의한 이동통신 단말기의 제어구성도이다.3 is a control block diagram of a mobile communication terminal according to the present invention.
도 4는 본 발명의 이동통신 단말기의 위치 정보 제공 방법의 바람직한 실시예의 구성을 보여주는 모식도이다.Figure 4 is a schematic diagram showing the configuration of a preferred embodiment of a method for providing location information of a mobile communication terminal of the present invention.
도 5는 본 발명에 의한 이동통신 단말기의 위치 정보 제공 방법의 바람직한 실시예의 플로차트이다.5 is a flowchart of a preferred embodiment of a method for providing location information of a mobile communication terminal according to the present invention.
*도면의 주요부분에 대한 부호의 설명** Description of the symbols for the main parts of the drawings *
60........이동통신 단말기          62.........입력수단60 ........
64........표시수단 66.........송수신부64 ............ Display means 66 .........
67........메모리                   68.........제어부67 ........
70........교환국70 ........
본 발명은 이동통신 단말기에 대한 것으로, 더욱 상세하게는 지역별로 특정 가입자 단말기의 위치를 검색할 수 있는 이동통신 단말기와 이것의 위치 정보 제공 방법에 대한 것이다.The present invention relates to a mobile communication terminal, and more particularly, to a mobile communication terminal capable of searching for a location of a specific subscriber terminal for each region and a method for providing location information thereof.
일반적으로 위성 항법 시스템(Global Positionsing System: 이하 'GPS' 라고 한다)은 인공위성을 이용하여 GPS 기능 사용자의 위치를 정확히 알 수 있게 하는 시스템이다. 최근에는 이러한 GPS 기능과 함께 각종 통신 네트워크의 연결을 통해 네비게이션 기능을 수행할 수 있도록 하고 있다.In general, the global positioning system (GPS) is a system that can accurately determine the position of a GPS function user using satellites. Recently, the navigation function can be performed through the connection of various communication networks with the GPS function.
그 일례로 차량에 탑재하여 자기 위치 정보를 제공하는 시스템으로 차량항법시스템(Car Navigation System)을 들 수 있다. 이러한 GPS 기능은 차량뿐만 아니라 셀룰러 폰이나 PCS(Personal Communication Phone), PDA(Personal Digital Assistant) 단말기등의 개인휴대통신 단말기 등에 탑재되어, 사용자의 위치정보를 제공하는 것이 가능하다. For example, a car navigation system is a system that is mounted on a vehicle and provides magnetic location information. The GPS function is mounted on a personal mobile communication terminal such as a cellular phone, a personal communication phone (PCS), a personal digital assistant (PDA) terminal, as well as a vehicle, and can provide user location information.
최근에는 이러한 GPS 기능이 탑재된 단말기 또는 PDA를 이용해서 친구나 애인, 어린아이 등의 위치를 찾아주는 서비스등 다양한 서비스가 제공되고 있는데, 이하에서는 이러한 GPS 기능을 이용하는 이동통신 단말기를 통하여 사용자의 위치를 검색하는 방법에 대해 살펴본다.Recently, various services such as a service for finding a location of a friend, a lover, a child, etc. using a terminal equipped with a GPS function or a PDA are provided. Hereinafter, a user's location is provided through a mobile communication terminal using the GPS function. Let's look at how to search.
도 1은 종래의 특정 단말기의 위치검색 방법을 보여주는 예시적인 모식도이고, 도 2는 종래의 위치검색 과정을 보여주는 예시 플로차트이다.1 is an exemplary schematic diagram illustrating a conventional method for searching a location of a specific terminal, and FIG. 2 is an exemplary flowchart illustrating a conventional location search process.
도시된 바에 따르면, GPS 기능을 탑재한 단말기(10) 사용자가 특정 단말기(20)의 사용자의 위치 정보를 요청하는 신호를 보내게 되면, 기지국(30)은 상기 신호를 받아 교환국(40)으로 보내게 된다(제 50 단계).As illustrated, when the user of the
교환국(40)은 각 기지국(30)에서부터 수신되는 신호를 토대로 하여 단말기(10) 사용자가 찾고자 하는 그 특정 단말기(20)가 교환국에 등록되었는지를 판단한다(제 52 단계).The
특정 단말기(20)가 등록되었으며 그 특정 단말기(20)에 대한 등록 정보를  토대로 교환국(40)은 그 특정 단말기(20)가 있는 위치를 찾게 된다(제 54 단계).  또한, 교환국(40)은 그 특정 단말기(20)에 대한 위치 검색에 대한 결과를 특정 단말기(20)의 위치를 정보를 요청하는 사용자의 단말기(10)에 송신하게 된다(제 56 단계).The
교환국(40)으로부터 특정 단말기(20)의 위치 정보를 수신한 단말기(10)에는 특정 단말기(20)의 위치 정보가 디스플레이 된다(제 58 단계).On the
이와 같은 과정에 의해 사용자가 찾기를 원하는 특정 단말기(20)의 현재 위치를 검색하는 것이 가능하게 된다.Through this process, it is possible to search the current location of the
그러나, 상술한 바와 같은 종래의 위치 검색 방법에는 다음과 같은 문제점이 있어왔다.However, the above conventional location retrieval method has the following problems.
종래의 GPS 기능이 탑재된 단말기(10)나 PDA로 특정 단말기(20)의 위치를 찾는 서비스를 이용하는 경우에는, 이 서비스의 이용을 위하여 원하는 사람끼리 서비스 등록을 해야하고, 그 특정 단말기(20)의 위치만을 파악할 수 있게 된다.When using a service for locating a
따라서, 종래의 위치검색 방법에 의한 경우에는 사용자의 현재 위치를 기준으로 그 주변에 있는 사람들에 대한 지역별 위치 정보는 얻을 수 없었다.Therefore, in the case of the conventional location search method, location information for each region about people around the user may not be obtained based on the current location of the user.
상기 문제를 해결하기 위한 본 발명의 목적은, 이동통신 단말기의 현재 위치를 기준으로 특정 지역에 위치한 특정 가입자 단말기의 위치 정보를 제공할 수 있는 이동통신 단말기 및 이것의 위치 정보 제공 방법을 제공하는 것이다.An object of the present invention for solving the above problems is to provide a mobile communication terminal and a method for providing location information thereof that can provide location information of a specific subscriber station located in a specific region based on the current location of the mobile communication terminal. .
삭제delete
상기 목적을 달성하기 위한 본 발명에 의한 이동통신 단말기는, 위치 검색 대상으로서 특정 가입자 단말기를 선택하는 선택 수단; 이동통신 단말기의 현재 위치를 기준으로 특정 지역이 선택되는 경우, 상기 선택된 특정 지역 및 특정 가입자 단말기의 정보를 교환국으로 송신하고, 상기 송신 결과 상기 교환국으로부터 상기 특정 가입자 단말기가 상기 특정 지역에 위치하는지에 대한 정보를 수신하는 검색 수단; 및 상기 수신된 정보를 이용하여 상기 특정 지역에 위치한 상기 특정 가입자 단말기의 위치 정보를 디스플레이하는 표시수단을 포함한다.
또한, 상기 목적을 달성하기 위한 본 발명에 의한 이동통신 단말기의 위치 정보 제공 방법은, 이동통신 단말기의 현재 위치를 기준으로 특정 지역으로 선택하는 단계; 위치 검색 대상으로서 특정 가입자 단말기를 선택하는 단계; 상기 선택된 특정 지역 및 특정 가입자 단말기의 정보를 교환국으로 송신하는 단계; 상기 교환국으로부터 상기 특정 가입자 단말기가 상기 특정 지역에 위치하는지에 대한 정보를 수신하는 단계; 및 상기 수신된 정보를 이용하여, 상기 특정 지역에 위치한 상기 특정 가입자 단말기의 위치 정보를 디스플레이하는 단계를 포함한다.According to an aspect of the present invention, there is provided a mobile communication terminal comprising: selecting means for selecting a specific subscriber station as a location search target; When a specific region is selected based on the current location of the mobile communication terminal, information on the selected specific region and specific subscriber terminal is transmitted to the switching center, and as a result of the transmission, whether the specific subscriber terminal is located in the specific region from the switching station. Retrieving means for receiving information about the device; And display means for displaying location information of the specific subscriber station located in the specific area by using the received information.
 In addition, the method for providing location information of a mobile communication terminal according to the present invention for achieving the above object, selecting a specific area based on the current location of the mobile communication terminal; Selecting a specific subscriber station as a location search target; Transmitting information of the selected specific region and specific subscriber station to an exchange station; Receiving information from the switching center on whether the particular subscriber station is located in the specific area; And displaying location information of the specific subscriber station located in the specific area by using the received information.
삭제delete
삭제delete
삭제delete
삭제delete
삭제delete
삭제delete
상술한 바와 같은 구성을 가지는 본 발명에 의할 때, 이동통신 단말기의 현재 위치를 기준으로 선택된 특정 지역에 있는 속한 특정 가입자 단말기의 위치를 파악하는 것이 가능하여 사용자의 편의에 기여하게 된다.According to the present invention having the above-described configuration, it is possible to determine the location of the specific subscriber terminal belonging to the specific area selected based on the current location of the mobile communication terminal to contribute to the user's convenience.
이하 상술한 바와 같은 구성을 가지는 본 발명에 의한 이동통신 단말기와 이동통신 단말기의 GPS 기능을 이용한 위치 정보 제공 방법의 바람직한 실시예의 구성을 첨부된 도면을 참조하여 상세하게 설명한다.Hereinafter, a configuration of a preferred embodiment of a mobile communication terminal and a method for providing location information using a GPS function of a mobile communication terminal according to the present invention having the above-described configuration will be described in detail with reference to the accompanying drawings.
도 3은 본 발명에 의한 이동통신 단말기의 예시 제어구성도이다. 도 4는 본 발명에 의한 이동통신 단말기의 위치 정보 제공 방법을 예시한 모식도이고, 도 5는 그 위치 정보 제공 방법을 예시한 플로차트이다.3 is an exemplary control configuration of a mobile communication terminal according to the present invention. 4 is a schematic diagram illustrating a method for providing location information of a mobile communication terminal according to the present invention, and FIG. 5 is a flowchart illustrating a method for providing location information.
도 3에 도시된 제어구성을 가지는 본 실시예의 이동통신 단말기(60)에는 GPS기능이 탑재되어 있어서, 교환국(70)과 교신을 주고 받으며 특정 지역을 기준으로 특정 가입자 단말기(80)들이 그 특정 지역에 있는지 여부를 검색하는 것이 가능하게 된다.The
본 실시예의 단말기(60)는 사용자에 의해 서비스 선택이나 정보입력이 이루어지는 입력수단(62)과, 단말기(60)에 입력되는 신호에 대응하여 단말기(60)의 상태를 보여가 원주거나 사용자하는 정보를 디스플레이하는 표시수단(64)과, 외부와의 교신을 통하여 정보검색등을 수행하는 검색수단(65)을 포함한다.The
본 실시예의 검색수단(65)은 교환국(70)과 교신을 수행하는 송수신부(66)와, 메모리(67)에 저장된 프로그램에 따라 상기 입력수단(62)으로부터 입력신호를 토대로 교환국(70)으로 전달할 정보를 선택하고 교환국(70)으로부터 수신되는 검색결과 에서 사용자가 원하는 정보를 선택하여 표시수단(64)으로 전달하는 제어부(68)를 포함한다.The retrieval means 65 of the present embodiment is a transmission /
사용자가 입력수단(62)을 통하여 지역별 검색기능을 선택하면, 제어부(68)는 단말기 메모리(67) 등에 저장된 지역별 위치검색 프로그램에 따라 검색하고자 하는 대상에 대한 정보를 송수신부(66)를 통하여 교환국(70)으로 송신하게 된다.When the user selects a regional search function through the input means 62, the
교환국(70)은, 단말기(60)로부터 지역별 검색요청에 따라, 단말기(60)에서 선택된 특정 가입자 단말기(80)가 있는 위치를 검색하고, 단말기(60)에서 선택된 특정 지역에 있는 특정 가입자 단말기(80)의 위치 정보를 단말기(60)로 송신하게 된다.The
송수신부(66)에서는 교환국(70)으로부터 수신되는 신호를 제어부(68)로 전달하고, 제어부(68)는 상기 특정지역에 상기 특정 가입자 단말기(80)가 있는 경우에는 그것의 위치 정보를 표시수단(64)에 전달하게 된다.The
표시수단(64)은 제어부(68)에서 전달되는 신호를 영상정보로 바꾸어 디스플레이하게 된다.The display means 64 converts the signal transmitted from the
다음은 상기한 바와 같은 제어 구성을 가지는 이동통신 단말기의 위치 정보 제공 방법을 설명한다.The following describes a method for providing location information of a mobile communication terminal having the control configuration as described above.
도 5에서 도시된 바와 같이, 지역별 검색을 원하는 사용자는 특정지역에 있는 다른 가입자 단말기를 찾기 위하여 입력수단(62)을 통하여 지역별 검색기능을 선택한다(제 100 단계).  이때, 지역별 검색기능은 GPS 기능의 서브메뉴에서 커서를 움직여 선택하는 것도 가능하고, 디스플레이된 화면 상에서 전자펜으로 선택하는 것도 가능하다.As shown in FIG. 5, a user who wants to search by region selects a region searching function through the
다음으로, 지역별 검색기능에서 사용자는 검색하고자 하는 특정 지역을 입력하게 된다(제 102 단계). 특정 지역의 선택은 키보드를 통하여 문자입력하는 것도 가능하고, 2차원 영상화면에서 사용자가 의해 특정 지역을 선택하거나 전자펜이나 필기인식 기술을 이용하여 입력하는 것도 가능하다.Next, in the regional search function, the user inputs a specific region to search for (step 102). The selection of a specific region may be performed by text input through a keyboard, or the user may select a specific region on a two-dimensional image screen or input using an electronic pen or handwriting recognition technology.
또한, 실시예에 따라서 사용자가 특정 지역을 직접 입력하는 것이 아니라, 사용자가 지역별 검색 기능을 선택하는 것만으로, 사용자 단말기(60)의 현재 위치가 속한 지역이 자동으로 선택되도록 하는 것도 가능하다.In addition, according to the exemplary embodiment, instead of directly inputting a specific region, the user may automatically select a region to which the current location of the
검색할 특정 지역이 선택되면, 상기 선택된 특정 지역 정보 및 검색대상인 특정 가입자 단말기(80) 정보를 교환국으로 전송하여 지역별 검색을 요청하게 된다(제 104 단계).  이 경우 검색하고자 하는 대상 그룹은 지역별 검색 메뉴에서 사용자에 의해 임의로 지정될 수도 있고, 사용자의 주소록에 등록된 가입자들 중 지정될 수도 있다.When the specific region to be searched is selected, the selected specific region information and the
교환국(70)은 등록 중인 단말기들에 대해 서비스지역, 단말기 상태, 단말기 번호 등의 정보를 항상 데이터베이스에 저장해 두기 때문에, 상기 특정 가입자 단말기(80)의 위치를 찾는 것이 가능하게 된다.Since the
따라서, 교환국(70)은 지역별 검색요청이 있게 되면, 특정 가입자 단말기(80)들이 교환국(70)에 등록되어 있는지 여부 및 그 위치 정보를 검색하고, 상기 선택된 특정 지역에 특정 가입자 단말기(80)들이 위치하는지에 대한 위치 정보를 위치 검색을 요청한 단말기(60)로 전송한다(제 106 단계).  이 경우, 특정 가입자 단말기(80)들의 위치정보는 특정지역의 지도상에 특정 가입자 단말기(80) 위치를 표시한 2 차원 영상 정보로 제공되는 것도 가능하며, 문자정보로 제공되는 것도 가능하다.Therefore, when the
단말기(60)는 교환국(70)으로부터의 검색된 결과를 수신하고, 상기 수신 결과를 이용하여 특정지역에 사용자가 찾는 특정 가입자 단말기(80)가 있는지를 판단한다(제 108 단계).The terminal 60 receives the searched result from the switching
사용자가 찾는 특정 가입자 단말기(80)가 있는 경우에는 해당 가입자의 위치정보를 표시수단(62)에 디스플레이 한다(제 110 단계).  이 경우, 표시수단(64)에는 특정 지역에 있는 가입자의 연락처가 문자로 디스플레이되는 것도 가능하고, 지도상에 해당 가입자가 있는 위치를 표시하는 2차원 영상으로 디스플레이되는 것도 가능하다.If there is a
사용자가 찾는 특정 가입자 단말기(80)가 없는 경우에는 해당정보가 없다는 표시를 하거나, 2차원 영상의 지도상에 해당 가입자를 표시하지 않은 상태로 특정 지역의 지도를 표시하는 것도 가능하다(제 112 단계).If there is no
본 발명에서는, 특정 가입자 단말기(80)의 위치를 검색하는 기능과 교환국(70)의 특정 가입자 단말기(80)에 대한 정보 데이타베이스를 이용하여, 특정 지역을 기준으로 사용자가 지정한 특정 가입자 단말기(80)들의 위치를 검색한다.  그리고, 검색결과 그 지역에 찾고자 하는 특정 가입자 단말기(80)가 있는 경우에는 특정 가입자 단말기(80)의 위치정보를 디스플레이하게 되는데, 상술한 바와 같은 과정을 통하여 본 발명은 지역별 위치 검색을 가능하게 한다.In the present invention, a
본 발명의 권리범위는 상기 실시예에 한정되는 것이 아니라 특허청구범위에 의해 정해지며, 특허청구범위에 기재된 사항과 동일성 범위에서 당업자가 행한 다양한 변형과 개작을 포함함은 자명하다.The scope of the present invention is not limited to the above embodiments, but is defined by the claims, and it is obvious that the present invention includes various modifications and adaptations made by those skilled in the art within the scope of the same as those described in the claims.
상기와 같은 구성의 본 발명은, 이동통신 단말기의 현재 위치를 기준으로 특정 지역에 특정 가입자 단말기가 위치하는지 검색하는 것이 가능하다. 따라서, 긴급한 상황 등에 특정 지역에 있는 사람들과 연락을 취할 수 있어서, 신속한 대처가 가능하게 된다.According to the present invention having the above configuration, it is possible to search whether a specific subscriber station is located in a specific area based on the current location of the mobile communication terminal. Therefore, it is possible to be in contact with people in a specific area in an urgent situation and the like, so that a quick response is possible.
또한 본 발명에 의하는 경우는, 특정 지역에 특정 가입자 단말기가 위치하는 경우 그 특정 지역의 위치정보와 함께 그 단말기의 지도상 위치를 제공하는 것이 가능하기 때문에 사용자의 다양한 용무에 대해 큰 편의를 제공할 수 있게 된다.In addition, according to the present invention, when a particular subscriber station is located in a specific area, it is possible to provide a location on the map of the terminal together with the location information of the specific area, thereby providing a great convenience for a variety of users. You can do it.
| Application Number | Priority Date | Filing Date | Title | 
|---|---|---|---|
| KR20030014434AKR100917192B1 (en) | 2003-03-07 | 2003-03-07 | Mobile communication terminal and location information providing method thereof | 
| Application Number | Priority Date | Filing Date | Title | 
|---|---|---|---|
| KR20030014434AKR100917192B1 (en) | 2003-03-07 | 2003-03-07 | Mobile communication terminal and location information providing method thereof | 
| Publication Number | Publication Date | 
|---|---|
| KR20040079534A KR20040079534A (en) | 2004-09-16 | 
| KR100917192B1true KR100917192B1 (en) | 2009-09-15 | 
| Application Number | Title | Priority Date | Filing Date | 
|---|---|---|---|
| KR20030014434AExpired - Fee RelatedKR100917192B1 (en) | 2003-03-07 | 2003-03-07 | Mobile communication terminal and location information providing method thereof | 
| Country | Link | 
|---|---|
| KR (1) | KR100917192B1 (en) | 
| Publication number | Priority date | Publication date | Assignee | Title | 
|---|---|---|---|---|
| KR101385376B1 (en)* | 2007-06-29 | 2014-04-14 | 주식회사 엘지유플러스 | System and method for appointment area object location information service | 
| KR101631105B1 (en)* | 2009-11-09 | 2016-06-16 | 삼성전자주식회사 | Method and System for providing user information based on location using a map | 
| Publication number | Priority date | Publication date | Assignee | Title | 
|---|---|---|---|---|
| KR20020034270A (en)* | 2000-10-31 | 2002-05-09 | 구자홍 | Method for providing a service of object position in mobile communication network | 
| KR20020048244A (en)* | 2000-12-18 | 2002-06-22 | 조정남 | Method of searching for information by using cell broadcast technique | 
| KR20030095141A (en)* | 2002-06-11 | 2003-12-18 | 에스케이 텔레콤주식회사 | Method and Apparatus for notifying Location of MS in wireless inernet | 
| Publication number | Priority date | Publication date | Assignee | Title | 
|---|---|---|---|---|
| KR20020034270A (en)* | 2000-10-31 | 2002-05-09 | 구자홍 | Method for providing a service of object position in mobile communication network | 
| KR20020048244A (en)* | 2000-12-18 | 2002-06-22 | 조정남 | Method of searching for information by using cell broadcast technique | 
| KR20030095141A (en)* | 2002-06-11 | 2003-12-18 | 에스케이 텔레콤주식회사 | Method and Apparatus for notifying Location of MS in wireless inernet | 
| Publication number | Publication date | 
|---|---|
| KR20040079534A (en) | 2004-09-16 | 
| Publication | Publication Date | Title | 
|---|---|---|
| US7248884B2 (en) | Position data notification system and method using email communications | |
| US7620404B2 (en) | Methods and apparatus for organizing and presenting contact information in a mobile communication system | |
| US6430411B1 (en) | Method and device for selecting a destination telephone number using a mobile station | |
| US7570959B2 (en) | Apparatus, method and computer program product providing location-enhanced contact list | |
| US6987976B2 (en) | Method of providing position information of mobile terminals | |
| JP3791249B2 (en) | Mobile device | |
| US8417225B2 (en) | Method for coordinating the sharing of contact information between a directory terminal and a portable communication device, as well as providing enhanced user interface context features | |
| US20020102988A1 (en) | Wireless communication system and method for sorting location related information | |
| US20070213043A1 (en) | Method of finding person using mobile messenger service and systems thereof | |
| JP2002505782A (en) | Map download system with GPS and transceiver | |
| US20040030756A1 (en) | Server apparatus for processing information according to information about position of terminal | |
| WO2004060003A1 (en) | Method for presenting location information on a mobile terminal | |
| JPH08212497A (en) | Mobile communication device | |
| US8175618B2 (en) | Mobile device product locator | |
| CN101686429A (en) | Mobile position service system of mobile terminal and position query method thereof | |
| KR100752352B1 (en) | Location Notification Service Method with Location Aliasing | |
| KR100917192B1 (en) | Mobile communication terminal and location information providing method thereof | |
| KR20000006760A (en) | Method to provide portable terminal users with location information using the portable terminals | |
| US20030228873A1 (en) | Portable terminal and position information conversion system | |
| EP1534024B1 (en) | Retrieval of positional data for a location by a mobile station from an information service | |
| KR100802118B1 (en) | Method of providing location information retrieval service and apparatus therefor | |
| KR20040026469A (en) | Destination setting method using celluar phone number in navigation system | |
| KR100683929B1 (en) | Call service method of mobile communication terminal using location based service | |
| KR20020084510A (en) | Method for calculating a taxi fee and for calling a taxi | |
| KR100755941B1 (en) | Mobile communication device with internal image data, a phone book and wireless communication, and application method thereof | 
| Date | Code | Title | Description | 
|---|---|---|---|
| PA0109 | Patent application | St.27 status event code:A-0-1-A10-A12-nap-PA0109 | |
| R18-X000 | Changes to party contact information recorded | St.27 status event code:A-3-3-R10-R18-oth-X000 | |
| PG1501 | Laying open of application | St.27 status event code:A-1-1-Q10-Q12-nap-PG1501 | |
| R17-X000 | Change to representative recorded | St.27 status event code:A-3-3-R10-R17-oth-X000 | |
| A201 | Request for examination | ||
| PA0201 | Request for examination | St.27 status event code:A-1-2-D10-D11-exm-PA0201 | |
| PN2301 | Change of applicant | St.27 status event code:A-3-3-R10-R13-asn-PN2301 St.27 status event code:A-3-3-R10-R11-asn-PN2301 | |
| D13-X000 | Search requested | St.27 status event code:A-1-2-D10-D13-srh-X000 | |
| P22-X000 | Classification modified | St.27 status event code:A-2-2-P10-P22-nap-X000 | |
| D14-X000 | Search report completed | St.27 status event code:A-1-2-D10-D14-srh-X000 | |
| E902 | Notification of reason for refusal | ||
| PE0902 | Notice of grounds for rejection | St.27 status event code:A-1-2-D10-D21-exm-PE0902 | |
| E13-X000 | Pre-grant limitation requested | St.27 status event code:A-2-3-E10-E13-lim-X000 | |
| P11-X000 | Amendment of application requested | St.27 status event code:A-2-2-P10-P11-nap-X000 | |
| P13-X000 | Application amended | St.27 status event code:A-2-2-P10-P13-nap-X000 | |
| R18-X000 | Changes to party contact information recorded | St.27 status event code:A-3-3-R10-R18-oth-X000 | |
| E701 | Decision to grant or registration of patent right | ||
| PE0701 | Decision of registration | St.27 status event code:A-1-2-D10-D22-exm-PE0701 | |
| GRNT | Written decision to grant | ||
| PR0701 | Registration of establishment | St.27 status event code:A-2-4-F10-F11-exm-PR0701 | |
| PR1002 | Payment of registration fee | St.27 status event code:A-2-2-U10-U11-oth-PR1002 Fee payment year number:1 | |
| PG1601 | Publication of registration | St.27 status event code:A-4-4-Q10-Q13-nap-PG1601 | |
| R18-X000 | Changes to party contact information recorded | St.27 status event code:A-5-5-R10-R18-oth-X000 | |
| FPAY | Annual fee payment | Payment date:20120827 Year of fee payment:4 | |
| PR1001 | Payment of annual fee | St.27 status event code:A-4-4-U10-U11-oth-PR1001 Fee payment year number:4 | |
| FPAY | Annual fee payment | Payment date:20130823 Year of fee payment:5 | |
| PR1001 | Payment of annual fee | St.27 status event code:A-4-4-U10-U11-oth-PR1001 Fee payment year number:5 | |
| FPAY | Annual fee payment | Payment date:20140822 Year of fee payment:6 | |
| PR1001 | Payment of annual fee | St.27 status event code:A-4-4-U10-U11-oth-PR1001 Fee payment year number:6 | |
| PN2301 | Change of applicant | St.27 status event code:A-5-5-R10-R13-asn-PN2301 St.27 status event code:A-5-5-R10-R11-asn-PN2301 | |
| FPAY | Annual fee payment | Payment date:20150824 Year of fee payment:7 | |
| PR1001 | Payment of annual fee | St.27 status event code:A-4-4-U10-U11-oth-PR1001 Fee payment year number:7 | |
| FPAY | Annual fee payment | Payment date:20160824 Year of fee payment:8 | |
| PR1001 | Payment of annual fee | St.27 status event code:A-4-4-U10-U11-oth-PR1001 Fee payment year number:8 | |
| P22-X000 | Classification modified | St.27 status event code:A-4-4-P10-P22-nap-X000 | |
| FPAY | Annual fee payment | Payment date:20170824 Year of fee payment:9 | |
| PR1001 | Payment of annual fee | St.27 status event code:A-4-4-U10-U11-oth-PR1001 Fee payment year number:9 | |
| LAPS | Lapse due to unpaid annual fee | ||
| PC1903 | Unpaid annual fee | St.27 status event code:A-4-4-U10-U13-oth-PC1903 Not in force date:20180908 Payment event data comment text:Termination Category : DEFAULT_OF_REGISTRATION_FEE | |
| PC1903 | Unpaid annual fee | St.27 status event code:N-4-6-H10-H13-oth-PC1903 Ip right cessation event data comment text:Termination Category : DEFAULT_OF_REGISTRATION_FEE Not in force date:20180908 | |
| P22-X000 | Classification modified | St.27 status event code:A-4-4-P10-P22-nap-X000 | |
| PN2301 | Change of applicant | St.27 status event code:A-5-5-R10-R13-asn-PN2301 St.27 status event code:A-5-5-R10-R11-asn-PN2301 | |
| P22-X000 | Classification modified | St.27 status event code:A-4-4-P10-P22-nap-X000 |