

도 1은 본 발명의 바람직한 실시예에 따른 와이브로가 적용된 PVR의 구조를 도시한 도면,1 is a diagram illustrating a structure of a PVR to which a WiBro is applied according to a preferred embodiment of the present invention;
도 2는 본 발명의 바람직한 실시예에 따른 와이브로가 적용된 PVR의 동작 절차를 도시한 흐름도.2 is a flowchart illustrating an operation procedure of a PVR to which a WiBro is applied according to an exemplary embodiment of the present invention.
본 발명은 개인 영상 녹화기에서의 디스플레이 및 저장 기술에 관한 것으로서, 특히 와이브로 기술을 개인 영상 녹화기에 포함하여 구현하는데 적합한 와이브로가 적용된 개인용 영상 녹화기 및 그 이용 방법에 관한 것이다.BACKGROUND OF THE INVENTION 1. Field of the Invention The present invention relates to a display and storage technology in a personal video recorder, and more particularly, to a personal video recorder to which a WiBro is applied, which is suitable for implementing WiBro technology in a personal video recorder, and a method of using the same.
방송 디지털화 추세는 지상파, 위성, 케이블 TV방송 등 기존 매체를 통하여 빠른 속도로 진행되고 있으며, 디지털화와 통신과의 융합이라는 새로운 흐름을 대변하여 통신방식에 새롭게 등장하는 매체가 와이브로이다.The trend of broadcasting digitalization is progressing rapidly through existing media such as terrestrial, satellite, and cable TV broadcasting, and WiBro is a new media in communication method to represent the new flow of digitalization and convergence with communication.
상기 와이브로는 휴대용 인터넷 단말을 이용하여 언제 어디서나 정지 이동 중에 고속으로 무선 인터넷 접속이 가능한 서비스로서, 2.3Mhz 대역에서 사용된다. 이는 하나의 인터넷 프로토콜(IP)이 할당된 개념이므로 IP를 통하여 여러가지 데이터나 정보를 검색하거나 받아올 수 있다.The WiBro is a service that enables wireless Internet access at high speed during stop motion anytime and anywhere using a portable Internet terminal, and is used in the 2.3Mhz band. This is a concept in which an Internet Protocol (IP) is assigned, so that various data or information can be retrieved or received through IP.
또한 방송 디지털화에 등장하는 매체로는 개인용 영상 녹화기(Personal Video Recorder, 이하 PVR이라 한다.)가 있다. 상기 PVR은 기존 VCR()의 불편한 녹화방식과, 시간이 지나면 화질이 저하되는 VCR 테잎의 단점을 개선시킨 것으로 위성방송이나 지상방송의 아날로그 신호를 디지털 신호로 전환시키고, 디지털 TV의 표준규격인 MPEG2 포맷으로 변환하여 SD급 혹은 HD급의 화질로 하드디스크(HDD)에 녹화를 수행한다. 또한 사용자가 시청을 원할 경우 TV로도 송출하게 된다. 그러므로 사용자가 TV를 보다가 일시정지를 하여도 비디오를 보는 것처럼 TV화면을 멈추는 것이 가능하며, 다시 플레이를 시키면 하드디스크에 저장되어 있던 정보가 계속해서 TV상에 송출된다.In addition, media that appear in broadcast digitization include a personal video recorder (hereinafter referred to as a PVR). The PVR improves the disadvantages of the uncomfortable recording method of the existing VCR () and the VCR tape that the image quality deteriorates over time. The PVR converts the analog signal of satellite broadcasting or terrestrial broadcasting into a digital signal, and the MPEG2 standard of digital TV. Convert to a format and record on a hard disk (HDD) in SD or HD quality. In addition, if the user wants to watch the TV is also sent. Therefore, even if the user pauses while watching the TV, it is possible to stop the TV screen as if watching a video. When the user plays again, the information stored in the hard disk is continuously transmitted on the TV.
상기와 같이 와이브로나 PVR은 각각 휴대 인터넷 통신방식과, 디지털 방송을 수신하거나 재생하는 역할을 수행하는 것으로서, 서로 간에 융합시킬 수 있는 방안이 없었다.As described above, the WiBro and the PVR serve as a portable Internet communication method and a digital broadcast receiving or playing function, respectively, and there is no way to fuse them with each other.
본 발명은 상술한 종래 기술의 한계를 극복하기 위한 것으로, PVR 튜너로 위성방송을 수신하거나 저장하며, PVR의 와이브로를 통해서는 지역(local) 지상파 방 송이나 여러가지 게임 및 데이터를 전송받을 수 있는 와이브로가 적용된 개인용 영상 녹화기 및 그 이용 방법을 제공하는데 그 목적이 있다.The present invention is to overcome the limitations of the prior art described above, and to receive or store satellite broadcasts with a PVR tuner, and a WiBro capable of receiving local terrestrial broadcasting or various games and data through the WiBro of the PVR. The purpose of the present invention is to provide a personal video recorder and a method of using the same.
본 발명의 다른 목적은, PVR은 DVB-S(Digital Video Broadcasting-Satellite) 방식으로 QPSK 복조를 수행하면서, 와이브로기능을 이용하여 지상파형태의 방송을 수신함으로써, 동시화면기능(PIP) 모드로 디스플레이를 수행할 수 있는 와이브로가 적용된 개인용 영상 녹화기 및 그 이용 방법을 제공하는데 있다.Another object of the present invention, the PVR performs the QPSK demodulation in the DVB-S (Digital Video Broadcasting-Satellite) method, while receiving a terrestrial wave-type broadcast by using the WiBro function, to display the display in the PIP mode The present invention provides a personal video recorder to which WiBro can be performed and a method of using the same.
본 발명의 일 관점에서는, 와이브로가 적용된 개인용 영상 녹화기로서, DVB-S(Digital Video Broadcasting-Satellite)방식의 QPSK(Quadrature Phase Shift Keying)로 변조된 스트림의 수신을 요청받아 전송 스트림(TS)을 수신하고, 상기 수신된 전송 스트림에 대한 QPSK 복조를 수행하는 튜너와, 상기 복조된 스트림을 프로그램 스트림(PS)으로 변환시키는 TS→PS 전환부와, 상기 QPSK 방식 스트림의 수신을 요청하지 않은 경우는 와이브로를 실행하도록 제어하는 제어부와, 상기 와이브로로부터 프로그램 스트림을 수신하여 저장하는 와이브로 송수신부와, 디스플레이를 수행하는 경우, 상기 프로그램 스트림에 스크램블이 존재하는지 판단하고, 상기 스크램블이 존재하는 경우에는 디스크램블링을 수행하는 디스크램블러와, 상기 TS→PS 전환부 또는 상기 디스크램블러로부터 전달된 프로그램 스트림을 디코딩하는 디코더와, 상기 디코딩된 방송 신호를 저장하는 메모리부와, 상기 디코딩된 프로그램 스트림을 디스플레이하는 디스플레이부를 포함한다.In one aspect of the present invention, as a personal video recorder to which WiBro is applied, a transport stream (TS) is received by receiving a request for receiving a stream modulated by Quadrature Phase Shift Keying (QPSK) of Digital Video Broadcasting-Satellite (DVB-S) method. And a tuner for performing QPSK demodulation on the received transport stream, a TS-to-PS switching unit for converting the demodulated stream into a program stream (PS), and a WiBro if the reception of the QPSK scheme stream is not requested. A control unit for controlling the execution; a WiBro transceiver unit for receiving and storing a program stream from the WiBro; and performing display, determining whether scramble exists in the program stream, and descrambling if the scramble exists. A descrambler to be executed and transmitted from the TS to PS switching unit or the descrambler A decoder for decoding a program stream, a memory unit for storing the decoded broadcast signal, and a display unit for displaying the decoded program stream.
본 발명의 다른 관점에서는, 와이브로가 적용된 개인용 영상 녹화기의 이용 방법으로서, DVB-S(Digital Video Broadcasting-Satellite)방식의 QPSK(Quadrature Phase Shift Keying)로 변조된 스트림의 수신을 요청받은 경우 전송 스트림을 수신하는 과정과, 상기 수신된 전송 스트림에 대한 QPSK 복조를 수행하는 과정과, 상기 복조된 스트림을 프로그램 스트림으로 변환시켜 저장하는 과정과, 상기 저장된 프로그램 스트림을 디스플레이 하는 과정과, 상기 QPSK 방식 스트림의 수신을 요청하지 않은 경우는 와이브로를 실행하는 과정과, 상기 와이브로로부터 프로그램 스트림을 수신하여 저장하는 과정과, 상기 와이브로로부터 수신한 프로그램 스트림을 디스플레이 하는 과정과, 상기 디스플레이 하는 경우, 상기 프로그램 스트림에 스크램블이 존재하는지 여부를 판단하는 과정과, 상기 스크램블이 존재한다면, 디스크램블링을 수행하는 과정과, 상기 디스크램블링된 프로그램 스트림을 디스플레이 하는 과정을 포함한다.In another aspect of the present invention, as a method of using a personal video recorder to which WiBro is applied, a transport stream is requested when receiving a stream modulated by Quadrature Phase Shift Keying (QPSK) of Digital Video Broadcasting-Satellite (DVB-S) method. Receiving, performing QPSK demodulation on the received transport stream, converting and storing the demodulated stream into a program stream, displaying the stored program stream, and performing the QPSK method stream. If the reception is not requested, the process of executing the WiBro, receiving and storing the program stream from the WiBro, displaying the program stream received from the WiBro, and, if so, scrambled in the program stream The process of determining whether it exists Includes the step of the process of, if the scramble is present, performing descrambling and displaying the descrambled program stream.
이하 첨부된 도면을 참조하여 본 발명의 동작 원리를 상세히 설명한다. 하기에서 본 발명을 설명함에 있어서 공지 기능 또는 구성에 대한 구체적인 설명이 본 발명의 요지를 불필요하게 흐릴 수 있다고 판단되는 경우에는 그 상세한 설명을 생략할 것이다. 그리고 후술되는 용어들은 본 발명에서의 기능을 고려하여 정의된 용어들로서 이는 사용자, 운용자의 의도 또는 관례 등에 따라 달라질 수 있다. 그러므로 그 정의는 본 명세서 전반에 걸친 내용을 토대로 내려져야 할 것이다.Hereinafter, the operating principle of the present invention will be described in detail with reference to the accompanying drawings. In the following description of the present invention, when it is determined that a detailed description of a known function or configuration may unnecessarily obscure the subject matter of the present invention, the detailed description thereof will be omitted. Terms to be described later are terms defined in consideration of functions in the present invention, and may be changed according to intentions or customs of users or operators. Therefore, the definition should be made based on the contents throughout the specification.
본 발명은 서로 방식이 다른 스트림을, 즉 하나는 위성방송 또 하나는 지상파 방송을 하나의 디지털기기를 통하여 시청하기 위한 것이다.The present invention is for viewing streams different from each other, that is, one satellite broadcast and one terrestrial broadcast through one digital device.
즉, 메인으로는 PVR의 튜너를 이용하여 DVB-S(Digital Video Broadcasting- Satellite)방식의 QPSK(Quadrature Phase Shift Keying) 복조를 수행하여 방송을 시청하는 것이고, 서브로는 동일한 기기로 와이브로를 통하여 PS 스트림을 받아서 PVR 디코더에서 디코딩을 수행하여 방송을 시청하는 것이다.That is, the main is to perform broadcasting by performing Quadrature Phase Shift Keying (QPSK) demodulation of DVB-S (Digital Video Broadcasting-Satellite) using the tuner of the PVR, and the PS is the same device as the PS through WiBro. It receives a stream and decodes it in a PVR decoder to watch a broadcast.
이때, 와이브로로부터 수신한 PS 스트림은 방송뿐만이 아니라 게임이나 기타 정보도 가능하며, 지상파형태로 PC 에서 직접 방송을 보는 형태의 경우에 해당하는 것이다. 또한, 인터넷 특성상 무료 송수신되는 단점을 보완하고, 복사방지를 위해 PS 스트림을 스크램블링하여 전송하고, PVR 자체에서 디스크램블링을 수행하는 것이다. 이와 같은 경우, 와이브로로 수신된 PS 스트림이라 할지라도 특정 셋(방송 시청이 허가된)이 아닌 이상 방송을 시청할 수가 없고 반드시 디스크램블링 과정을 거쳐야 방송을 볼 수 있도록 구현할 수 있다.At this time, the PS stream received from WiBro is not only broadcast but also game or other information, and corresponds to the case of watching the broadcast directly from the PC in the terrestrial wave form. In addition, to compensate for the shortcomings of free transmission and reception due to the characteristics of the Internet, and to scramble the PS stream for copy protection, and to perform descrambling in the PVR itself. In this case, even if the PS stream received through WiBro can not watch the broadcast unless a specific set (broadcast viewing is allowed), it can be implemented to be able to view the broadcast only through the descrambling process.
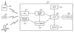
도 1은 본 발명의 바람직한 실시예에 따른 와이브로가 적용된 PVR의 구조를 도시한 도면이다.1 is a diagram illustrating a structure of a PVR to which a WiBro is applied according to a preferred embodiment of the present invention.
도 1을 참조하면, 와이브로가 적용된 PVR(110)을 이용하여, 위성방송 스트림을 디스플레이하고 서브로는 와이브로를 통한 스트림을 디스플레이 할 수 있도록 하여, 서로 다른 방식에서 나오는 스트림을 동시화면기능(PIP:Picture in Picture) 모드로 디스플레이 하기 위한 것으로, 상기 와이브로가 적용된 PVR(110)은 튜너(112), 와이브로 송수신부(114), TS→PS 전환부(116), 디스크램블러(118), 디코더(120), 제어부(122), 메모리부(124), 디스플레이부(126)를 포함한다.Referring to FIG. 1, by using a
튜너(112)는 방송국이나, 위성으로부터 전송된 DVB-S방식의 전송스트림(TS:Transport Stream)을 수신하여 QPSK 방식으로 복조를 수행한다. 이어 복조된  TS는 TS→PS 전환부(116)에서 TS를 프로그램 스트림(PS:Program Stream)으로 전환한 후, 디스크램블러(118)로 전달한다. 이때, TS→PS 전환부(116)에 대해 구체적으로 설명하면, 방송국에서 보내는 스트림은 TS이며, 이는 변조를 거친 후에 셋에 다다르게 되며 셋에서 역다중화(demux)를 통해 비디오와 오디오 및 데이터로 분리하게 되며, 다시 이 값들을 PS 다중화(mux)를 통해 PS로 전환하는 것이다. 물론 PS를 TS로 전환하는 것도 가능하다. 전환된 PS는 디코더(120)로 전달되고, 상기 디코더(120)에서는 전달받은 PS를 제어부(122)의 제어하에 디코딩하여 메모리부(124)에 저장하거나, 디스플레이부(126)에 전달한다.The
와이브로 통신을 이용하여 전달된 방송 데이터는 와이브로 송수신부(144)에 PS로 수신되므로, 이를 디스크램블러(118)로 전달한다. 상기 디스크램블러(118)에서는 전달받은 PS가 스크램블링으로 되어 있는 경우 디스크램블링을 수행하여 방송을 볼 수 있도록 하는 것으로서, 와이브로 PS에 대한 디스크램블링 과정을 수행하기 위해서는 디스크램블 소스를 셋에 내장하거나 셋을 인증해야 하는 과정이 필요하다. 디스크램블 소스를 셋에 내장하기위한 방법은 무선 자동등록(OTA:Over-The-Air activation)를 통해 받거나 혹은 와이브로를 통해 받을 수가 있으며, 이것에 대한 인증은 셋에 이미 내장되어 있는 셋 아이디를 사용하거나 혹은 사용자가 직접 방송업체로 인증을 받고 방송업체가 주는 인증 키(혹은 ID)를 가지고 와이브로를 통해서 인증을 받는 경우도 있다. PVR 튜너로부터 수신된 PS도 유료방송의 스트림을 전송할 때는, 스크램블을 걸어서 전송할 수 있으므로, 이경우는 TS→PS 전환부(116)에서 디스크램블러(118)로 전달하여 디스크램블링을 수행한다.Since the broadcast data transmitted using the WiBro communication is received by the WiBro transceiver 144 as a PS, the broadcast data is transmitted to the
상기 디스크램블링된 와이브로 PS는 디코더(120)에서 디코딩을 수행하고, 메모리부(124)에 저장하거나, 디스플레이부(126)로 전달하여 디스플레이 되도록 한다. 제어부(122)는 상기 디스플레이부(126)에 이미 PVR PS가 디스플레이 중이라면, PIP모드를 이용하여 와이브로 PS가 서브로서 디스플레이되도록 제어한다. 또한, 하나의 방송을 시청하면서, 다른 하나의 방송은 메모리부(124)에 저장하도록 할 수 있다.The descrambled WiBro PS performs decoding in the
이때, 메모리부(124)에 데이터가 가득찬 경우는 와이브로 송수신부(144)를 이용하여 웹상의 특정 사이트에 방송 데이터를 저장되도록 구현하는 것도 가능하다.In this case, when the
도 2는 본 발명의 바람직한 실시예에 따른 와이브로가 적용된 PVR의 동작 절차를 도시한 흐름도이다.2 is a flowchart illustrating an operation procedure of a PVR to which a WiBro is applied according to an exemplary embodiment of the present invention.
도 2를 참조하면, 202단계에서 DVB-S방식의 QPSK로 변조된 스트림의 수신을 요청하였다면, 204단계에서 전송 스트림을 수신하고, 206단계에서 튜너는 수신된 전송 스트림에 대한 QPSK 복조를 수행한다. 208단계에서 복조된 방송 스트림을 저장하지 않을 것이면, 214단계로 진행하고, 저장할 것이라면 210단계로 진행하여, 복조된 전송 스트림을 프로그램 스트림으로 변환하여 저장한다. 이후 212단계에서 저장된 프로그램 스트림을 디스플레이 할 것이라면, 214단계로 진행하여, 상기 프로그램 스트림에 스크램블링이 되어 있는지 확인한다. 스크램블링이 되어 있다면, 216단계로 진행하여 디스크램블링을 수행하고, 218단계로 진행하여 디스플레이한다. 이때, 기존에 와이브로를 통해 방송 수신중이라면, PIP 모드로 디스플레이를  수행한다.Referring to FIG. 2, if a request for reception of a stream modulated with a DVB-S type QPSK is requested in
상기 202단계에서 QPSK 방식의 스트림 수신을 요청하지 않았다면, 220단계에서 와이브로를 실행하고, 222단계에서 수신된 프로그램 스트림을 저장한다. 224단계에서 저장한 프로그램 스트림을 디스플레이 할 경우에는, 226단계로 진행하여 프로그램 스트림이 스크램블링이 되어 있는지 확인하고, 스크램블링 되어 있다면, 228단계로 진행하여 디스크램블링을 수행한 후, 230단계로 진행하여, 와이브로를 통해 방송을 디스플레이 한다.If the request for stream reception in the QPSK method is not requested in
그러나 226단계에서 스크램블링이 되어 있지 않다면, 230단계로 진행하여, 디스플레이를 수행한다. 이때, 기존에 PVR 튜너를 통해 QPSK 스트림을 디스플레이 중이었다면, PIP모드로 디스플레이 한다.However, if scrambling is not performed in
이상 설명한 바와 같이, 하나의 PVR에서 PVR의 튜너를 이용하여 DVB-S방식의 QPSK 복조를 수행하여 방송을 디스플레이하고, 와이브로를 통하여 PS 스트림을 제공받아 PIP 모드를 이용하여 방송을 디스플레이하는 것으로, 와이브로로부터 수신한 PS 스트림은 방송뿐만이 아니라 게임이나 기타 정보도 가능하며, 복사방지를 위해 PS 스트림을 스크램블링하여 전송하고, PVR 자체에서 디스크램블링을 수행하는 것이다.As described above, the broadcast is displayed by performing QPSK demodulation of the DVB-S method using a tuner of the PVR in one PVR, and receiving the PS stream through WiBro to display the broadcast using the PIP mode. The PS stream received from the PC is capable of not only broadcasting but also games and other information. The PS stream is scrambled and transmitted for copy protection, and descrambling is performed in the PVR itself.
한편 본 발명의 상세한 설명에서는 구체적인 실시예에 관해 설명하였으나, 본 발명의 범위에서 벗어나지 않는 한도 내에서 여러 가지 변형이 가능함은 물론이다. 그러므로 본 발명의 범위는 설명된 실시예에 국한되지 않으며, 후술되는 특허청구의 범위뿐만 아니라 이 특허청구의 범위와 균등한 것들에 의해 정해져야 한다.Meanwhile, in the detailed description of the present invention, specific embodiments have been described, but various modifications are possible without departing from the scope of the present invention. Therefore, the scope of the present invention should not be limited to the described embodiments, but should be defined not only by the scope of the following claims, but also by those equivalent to the scope of the claims.
이상에서 상세히 설명한 바와 같이 동작하는 본 발명에 있어서, 개시되는 발명 중 대표적인 것에 의하여 얻어지는 효과를 간단히 설명하면 다음과 같다.In the present invention operating as described in detail above, the effects obtained by the representative ones of the disclosed inventions will be briefly described as follows.
본 발명은, 하나의 PVR기기에서 PVR 튜너로는 위성방송을 통해 수신되는 여러 채널들을 시청할 수 있고, 와이브로로는 지상파 방송 또는 여러 가지 게임이나 데이터들을 수신할 수 있으며, 위성방송과 지상파 방송을 동시에 화면상에 출력하거나 하나의 방송을 시청하면서 다른 하나의 방송을 녹화할 수 있는 효과가 있다.According to the present invention, a single PVR device can watch various channels received through satellite broadcasting with a PVR tuner, and can receive terrestrial broadcasting or various games or data with WiBro, and simultaneously broadcast satellite and terrestrial broadcasting. Outputting on the screen or watching one broadcast has the effect of recording another broadcast.
| Application Number | Priority Date | Filing Date | Title | 
|---|---|---|---|
| KR1020060103341AKR100840567B1 (en) | 2006-10-24 | 2006-10-24 | WiBro applied personal video recorder and its using method | 
| Application Number | Priority Date | Filing Date | Title | 
|---|---|---|---|
| KR1020060103341AKR100840567B1 (en) | 2006-10-24 | 2006-10-24 | WiBro applied personal video recorder and its using method | 
| Publication Number | Publication Date | 
|---|---|
| KR20080036729A KR20080036729A (en) | 2008-04-29 | 
| KR100840567B1true KR100840567B1 (en) | 2008-06-23 | 
| Application Number | Title | Priority Date | Filing Date | 
|---|---|---|---|
| KR1020060103341AExpired - Fee RelatedKR100840567B1 (en) | 2006-10-24 | 2006-10-24 | WiBro applied personal video recorder and its using method | 
| Country | Link | 
|---|---|
| KR (1) | KR100840567B1 (en) | 
| Publication number | Priority date | Publication date | Assignee | Title | 
|---|---|---|---|---|
| CN103596043A (en)* | 2013-11-14 | 2014-02-19 | 上海电力学院 | Method for converting TS into PS in digital television | 
| Publication number | Priority date | Publication date | Assignee | Title | 
|---|---|---|---|---|
| KR20060051007A (en)* | 2004-09-06 | 2006-05-19 | 삼성전자주식회사 | Digital multimedia broadcasting receiving device and method | 
| KR20060066022A (en)* | 2004-12-11 | 2006-06-15 | 한국전자통신연구원 | Terrestrial and satellite digital multimedia broadcasting integrated receiving system | 
| KR20060079734A (en)* | 2005-01-03 | 2006-07-06 | 삼성전기주식회사 | Single Tuning Satellite DMV Receiver | 
| KR20060089284A (en)* | 2005-02-03 | 2006-08-09 | 주식회사 현대오토넷 | Integrated digital multimedia broadcast receiver and method | 
| Publication number | Priority date | Publication date | Assignee | Title | 
|---|---|---|---|---|
| KR20060051007A (en)* | 2004-09-06 | 2006-05-19 | 삼성전자주식회사 | Digital multimedia broadcasting receiving device and method | 
| KR20060066022A (en)* | 2004-12-11 | 2006-06-15 | 한국전자통신연구원 | Terrestrial and satellite digital multimedia broadcasting integrated receiving system | 
| KR20060079734A (en)* | 2005-01-03 | 2006-07-06 | 삼성전기주식회사 | Single Tuning Satellite DMV Receiver | 
| KR20060089284A (en)* | 2005-02-03 | 2006-08-09 | 주식회사 현대오토넷 | Integrated digital multimedia broadcast receiver and method | 
| Publication number | Priority date | Publication date | Assignee | Title | 
|---|---|---|---|---|
| CN103596043A (en)* | 2013-11-14 | 2014-02-19 | 上海电力学院 | Method for converting TS into PS in digital television | 
| CN103596043B (en)* | 2013-11-14 | 2017-05-10 | 上海电力学院 | Method for converting TS into PS in digital television | 
| Publication number | Publication date | 
|---|---|
| KR20080036729A (en) | 2008-04-29 | 
| Publication | Publication Date | Title | 
|---|---|---|
| JP5070846B2 (en) | Program distribution system and recording / reproducing apparatus | |
| US9628846B2 (en) | Method and apparatus for recording a video program for user instruction | |
| US6977691B1 (en) | System for nonlinear viewing of television show segments | |
| KR100798918B1 (en) | Home server with integrated set-top function and its control method | |
| MX2013002074A (en) | Receiver apparatus, reception method, transmitter apparatus, transmission method, program and broadcast system. | |
| JP5697605B2 (en) | Shared media content list | |
| US20030109249A1 (en) | System, method and apparatus to deliver guaranteed advertising | |
| JP7422927B2 (en) | How to protect your content | |
| JP7457773B2 (en) | How to protect your content | |
| KR100840567B1 (en) | WiBro applied personal video recorder and its using method | |
| JP2018046319A (en) | Broadcast receiver | |
| JP7625233B2 (en) | Program receiving and display device and program receiving and display control method | |
| JP7439228B2 (en) | How to output content | |
| JP7445077B2 (en) | receiving device | |
| JP7443586B2 (en) | How to protect your content | |
| KR101462279B1 (en) | Apparatus method for viewing subscription in IPTV | |
| JP7412518B2 (en) | How to protect your content | |
| KR200375304Y1 (en) | Personal video recorder with an integrated demultiplexer and system controller | |
| JP6722333B2 (en) | Broadcast receiver and content protection processing method | |
| JP6726341B2 (en) | Broadcast receiver and content protection processing method | |
| JP6727383B2 (en) | Content protection processing method | |
| KR100824278B1 (en) | Broadcasting Communication Converter and Its Operation Method | |
| JP2018074377A (en) | Broadcast receiver | |
| JP2018046345A (en) | Broadcast receiver | |
| JP2018042174A (en) | Broadcast receiver | 
| Date | Code | Title | Description | 
|---|---|---|---|
| A201 | Request for examination | ||
| PA0109 | Patent application | St.27 status event code:A-0-1-A10-A12-nap-PA0109 | |
| PA0201 | Request for examination | St.27 status event code:A-1-2-D10-D11-exm-PA0201 | |
| D13-X000 | Search requested | St.27 status event code:A-1-2-D10-D13-srh-X000 | |
| D14-X000 | Search report completed | St.27 status event code:A-1-2-D10-D14-srh-X000 | |
| E902 | Notification of reason for refusal | ||
| PE0902 | Notice of grounds for rejection | St.27 status event code:A-1-2-D10-D21-exm-PE0902 | |
| P11-X000 | Amendment of application requested | St.27 status event code:A-2-2-P10-P11-nap-X000 | |
| P13-X000 | Application amended | St.27 status event code:A-2-2-P10-P13-nap-X000 | |
| PG1501 | Laying open of application | St.27 status event code:A-1-1-Q10-Q12-nap-PG1501 | |
| E701 | Decision to grant or registration of patent right | ||
| PE0701 | Decision of registration | St.27 status event code:A-1-2-D10-D22-exm-PE0701 | |
| GRNT | Written decision to grant | ||
| PR0701 | Registration of establishment | St.27 status event code:A-2-4-F10-F11-exm-PR0701 | |
| PR1002 | Payment of registration fee | St.27 status event code:A-2-2-U10-U11-oth-PR1002 Fee payment year number:1 | |
| PG1601 | Publication of registration | St.27 status event code:A-4-4-Q10-Q13-nap-PG1601 | |
| R18-X000 | Changes to party contact information recorded | St.27 status event code:A-5-5-R10-R18-oth-X000 | |
| FPAY | Annual fee payment | Payment date:20110601 Year of fee payment:4 | |
| PR1001 | Payment of annual fee | St.27 status event code:A-4-4-U10-U11-oth-PR1001 Fee payment year number:4 | |
| LAPS | Lapse due to unpaid annual fee | ||
| PC1903 | Unpaid annual fee | St.27 status event code:A-4-4-U10-U13-oth-PC1903 Not in force date:20120618 Payment event data comment text:Termination Category : DEFAULT_OF_REGISTRATION_FEE | |
| PN2301 | Change of applicant | St.27 status event code:A-5-5-R10-R13-asn-PN2301 St.27 status event code:A-5-5-R10-R11-asn-PN2301 | |
| PC1903 | Unpaid annual fee | St.27 status event code:N-4-6-H10-H13-oth-PC1903 Ip right cessation event data comment text:Termination Category : DEFAULT_OF_REGISTRATION_FEE Not in force date:20120618 | |
| R18-X000 | Changes to party contact information recorded | St.27 status event code:A-5-5-R10-R18-oth-X000 | |
| P22-X000 | Classification modified | St.27 status event code:A-4-4-P10-P22-nap-X000 | |
| R18-X000 | Changes to party contact information recorded | St.27 status event code:A-5-5-R10-R18-oth-X000 | |
| R18-X000 | Changes to party contact information recorded | St.27 status event code:A-5-5-R10-R18-oth-X000 | |
| PN2301 | Change of applicant | St.27 status event code:A-5-5-R10-R13-asn-PN2301 St.27 status event code:A-5-5-R10-R11-asn-PN2301 | |
| PN2301 | Change of applicant | St.27 status event code:A-5-5-R10-R13-asn-PN2301 St.27 status event code:A-5-5-R10-R11-asn-PN2301 |