

도 1은 본 발명에 의한 가스분리형 샤워헤드를 이용한 ALD 장치를 개략적으로 나타낸 도면.1 is a view schematically showing an ALD device using a gas separation shower head according to the present invention.
도 2는 본 발명에 의한 ALD 장치의 샤워헤드부를 개략적으로 나타낸 도면.2 is a view schematically showing a showerhead portion of an ALD device according to the present invention;
<도면의 주요 부분에 대한 부호의 설명><Explanation of symbols for the main parts of the drawings>
1 : 반응 챔버 10 : 가스 공급부1: reaction chamber 10: gas supply part
11: 제1 전구체 공급원 12: 제2 전구체 공급원11: first precursor source 12: second precursor source
13 : 퍼지가스 공급원 20 : 샤워헤드부13: purge gas supply source 20: shower head
21 : 제1 전구체 공급관 22 : 제2 전구체 공급관21: first precursor supply pipe 22: second precursor supply pipe
23 : 가스분리모듈 24 : 혼합 분사구23: gas separation module 24: mixing nozzle
30 : 배기부 v/v : 밸브30: exhaust part v / v: valve
본 발명은 반도체 박막 증착 장치 중에서 원자층 증착 장치에 관한 것으로, 더욱 상세하게는 가스분리형 샤워헤드를 이용한 원자층 증착 장치에 관한 것이다.The present invention relates to an atomic layer deposition apparatus of a semiconductor thin film deposition apparatus, and more particularly to an atomic layer deposition apparatus using a gas separation shower head.
종래의 반도체 박막 증착 공정은 가스의 화학반응으로 형성된 입자들을 웨이퍼 표면에 증착시킬 수 있는 화학기상증착(CVD) 장치를 이용한 공정이 주로 사용되어 왔다.In the conventional semiconductor thin film deposition process, a process using a chemical vapor deposition (CVD) apparatus capable of depositing particles formed by a chemical reaction of gas on a wafer surface has been mainly used.
그러나 90㎚ 이하 공정에서는 불순물을 최대한 억제하면서 균일한 두께로 박막을 형성할 수 있는 원자층 증착(atomic layer deposition, 이하 ALD라 한다) 공정이 주로 사용되고 있다.However, in the 90 nm or less process, the atomic layer deposition (ALD) process which can form a thin film with uniform thickness, suppressing an impurity as much as possible is mainly used.
ALD는 화학적으로 달라붙는 현상을 이용해 웨이퍼 표면에 분자를 흡착시킨 후 치환시켜 흡착과 치환을 번갈아 진행하기 때문에 초미세 층간(layer-by-layer) 증착이 가능하고 산화물과 금속박막을 최대한 얇게 쌓을 수 있는 특징이 있다. 또 CVD보다 낮은 온도(500도 이하)에서 우수한 막질을 형성할 수 있어 시스템온칩(SoC) 제조에 적합하다는 것이 큰 장점이다.ALD absorbs molecules on the surface of the wafer by chemically adhering and then replaces them by alternately adsorbing and replacing them, enabling ultra-layer-by-layer deposition and stacking oxide and metal thin films as thinly as possible. There is a characteristic. In addition, since the film can be formed at a temperature lower than CVD (less than 500 degrees), it is a great advantage to be suitable for system-on-chip (SoC) manufacturing.
일반적인 ALD 공정은 하나의 전구체를 흡착하고, 퍼지, 다른 하나의 전구체를 흡착하고, 퍼지하는 사이클로 구성되고 이러한 사이클이 반복하는 것으로 공정이 수행된다.A typical ALD process consists of a cycle of adsorbing one precursor, purging, adsorbing and purging the other precursor and repeating this cycle.
그러나, 종래의 ALD 공정에 사용되는 ALD 장치는 그 샤워헤드의 구조가 증착기체와 반응기체가 개별적으로 공급되고, 샤워헤드에서 분사될 때에도 서로 다른 최종 분사구의 존재로 인하여 가스 흐름의 변화에 의한 공정조건의 일관성을 방해하고, 반응시간이 증가되는 단점이 있다.However, in the ALD apparatus used in the conventional ALD process, the structure of the showerhead is a process in which the gas flow changes due to the presence of different final injection holes even when the vaporizing gas and the reactive gas are separately supplied and sprayed from the showerhead. Disadvantages of condition consistency and increased reaction time.
본 발명은 상기와 같은 문제점을 해결하기 위하여 제안된 것으로서, 증착기 체와 반응기체의 분리 공급 및 이동이 가능하며, 증착기체와 반응기체의 최종 분사구가 하나의 혼합 분사구로 동일한 샤워헤드를 이용하여 샤워헤드 내에서의 부산물의 발생을 억제하고, 원자층 증착시 챔버 내에서 가스 흐름의 균일성을 유지할 수 있는 가스분리형 샤워헤드를 이용한 ALD 장치를 제공하는데 그 목적이 있다.The present invention has been proposed in order to solve the above problems, it is possible to separate supply and movement of the deposition gas and the reactor gas, the final injection port of the deposition gas and the reactor gas is a mixed nozzle using the same shower head shower It is an object of the present invention to provide an ALD device using a gas separation showerhead capable of suppressing the generation of by-products in the head and maintaining uniformity of gas flow in the chamber during atomic layer deposition.
상기 기술적 과제를 이루기 위한 본 발명에 따른 가스분리형 샤워헤드를 이용한 원자층 증착(atomic layer deposition, 이하 ALD라 한다) 장치는 제1 전구체가 공급되는 제1 전구체 공급원, 제2 전구체가 공급되는 제2 전구체 공급원, 퍼지 가스 공급원 및 상기 각각의 가스의 개폐 및 유량을 조절하는 다수의 밸브를 구비하는 가스 공급부; 상부에 상기 제1 전구체 공급원과 연결된 제1 전구체 공급관, 제2 전구체 공급원과 연결되는 제2 전구체 공급관을 구비하고, 중앙부에 상기 제1 전구체 공급관과 연결되어 공급된 제1 전구체를 제공하며 하나의 영역으로 형성된 제1 전구체 영역 및 상기 제1 전구체 영역 하부에서 상기 제2 전구체 공급관과 연결되어 공급된 제2 전구체를 제공하며 일정한 간격을 두고 복수의 영역으로 분할되어 형성된 제2 전구체 영역을 구비하는 가스분리모듈을 구비하고, 하부에 상기 제1 전구체, 제2 전구체 및 퍼지 가스가 반응 챔버 내부로 개별적으로 분사되는 혼합 분사구를 구비하는 샤워헤드부; 및 배기펌프를 구비하며, 상기 퍼지 가스가 반응 챔버 내부로 분사될 때에 반응 챔버 내부의 잔류 가스를 반응 챔버 외부로 배출하는 배기부를 포함하여 이루어진다.Atomic layer deposition (ALD) apparatus using a gas separation shower head according to the present invention for achieving the above technical problem is a first precursor source, the second precursor is supplied, the second precursor is supplied A gas supply having a precursor source, a purge gas source, and a plurality of valves for controlling opening and closing of each gas; A region having a first precursor supply pipe connected to the first precursor source and a second precursor supply pipe connected to the second precursor source, and providing a first precursor connected to the first precursor supply pipe at a central portion thereof Gas separation having a first precursor region formed by the second precursor region and a second precursor region connected to the second precursor supply pipe under the first precursor region, and having a second precursor region formed by being divided into a plurality of regions at regular intervals. A shower head portion having a module, and having a mixing nozzle port at the bottom of which the first precursor, the second precursor and the purge gas are separately injected into the reaction chamber; And an exhaust pump, wherein the exhaust unit discharges residual gas in the reaction chamber to the outside of the reaction chamber when the purge gas is injected into the reaction chamber.
이하에서는 본 발명의 구체적인 실시예를 도면을 참조하여 상세히 설명하도록 한다.Hereinafter, specific embodiments of the present invention will be described in detail with reference to the accompanying drawings.
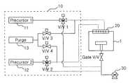
도 1은 본 발명에 의한 가스분리형 샤워헤드를 이용한 ALD 장치를 개략적으로 나타낸 것으로, 가스 공급부(10), 샤워헤드부(20) 및 배기부(30)로 구성된다.1 schematically shows an ALD apparatus using a gas separation shower head according to the present invention, and includes a
증착기체와 반응기체 및 퍼지가스가 공급되는 가스 공급부(10)는 제1 전구체가 공급되는 제1 전구체(precursor) 공급원(11), 제2 전구체가 공급되는 제2 전구체 공급원(12), 퍼지 가스 공급원(13) 및 각 가스의 개폐 및 유량을 조절할 수 있는 다수의 밸브(v/v 1 ~ v/v 4)로 구성된다.The
제1 전구체 공급원(11) 및 제2 전구체 공급원(12)에 있는 제1, 제2 전구체는 가스 상태이다.The first and second precursors in the
도 2는 본 발명에 의한 ALD 장치의 샤워헤드부(20)를 개략적으로 나타낸 것으로, 상부의 제1 전구체 공급관(21), 제2 전구체 공급관(22), 중앙부의 가스분리모듈(23) 및 하부의 혼합 분사구(24)로 구성된다.Figure 2 schematically shows a
제1 전구체 공급관(21)과 제2 전구체 공급관(22)은 제1 전구체와 제2 전구체가 샤워헤드부(20)로 분리되어 공급될 수 있도록 분리되어 있고, 가스분리모듈(23)에서는 제1 전구체와 제2 전구체가 분리되어 분사되도록 제1 전구체와 제2 전구체를 제1 전구체 영역(23a) 및 제2 전구체 영역(23b) 각각에서 분리하여 제공하며, 제1 전구체와 제2 전구체는 별도의 분사구를 통하여 분사되지 않고, 혼합 분사구(24)를 공동으로 경유하여 반응 챔버(1) 내부로 분사된다. 도 2를 참조하면, 제1 전구체 영역(23a)은 제1 전구체 공급관(21)과 연결되어 제1 전구체를 제공하며 하나의 영역으로 형성되어 있다. 반면, 제2 전구체 영역(23b)은 제1 전구체 영역(23a) 하부에서 제2 전구체 공급관(22)과 연결되어 제2 전구체를 제공하며 일정한 간격을 두고 복수의 영역으로 분할되어 형성되어 있다.The first
도 1 및 도 2를 참조하면, 가스 공급부(10)로부터 공급된 가스들을 반응챔버(1) 내부로 분사하는 샤워헤드부(20)는 제1 전구체 공급원(11)과 연결된 제1 전구체 공급관(21), 제2 전구체 공급원(12)과 연결되는 제2 전구체 공급관(22) 및 샤워헤드부(20)의 하부에 위치하는 혼합 분사구(24)를 구비하며, 제1 전구체 및 제2 전구체가 제1 전구체 공급관(21) 및 제2 전구체 공급관(22)을 통하여 각각 분리되어 공급된 후에 제1 전구체 및 제2 전구체를 모두 분사되는 혼합 분사구(24)를 통하여 따로따로 분사된다.Referring to FIGS. 1 and 2, the
가스 공급부(10)의 퍼지가스 공급원(13)은 샤워헤드부(20)의 제1 전구체 공급관(21) 또는 제2 전구체 공급관(22) 중의 적어도 하나의 공급관과 연결되어 있으며, 증착시 제1 전구체 또는 제2 전구체가 분사된 후 소정의 퍼지 가스가 혼합 분사구(24)를 통하여 반응 챔버(1) 내부로 분사된다.The purge
배기펌프를 구비하는 배기부(30)는 퍼지 가스가 반응 챔버(1) 내부로 분사될 때에 반응 챔버(1) 내부의 잔류 가스 등을 외부로 배출하며, 또한 가스 공급부(10)의 제1 전구체 공급원(12) 또는 제2 전구체 공급원(12)과 직접 연결되어, 제1 전구체가 샤워헤드로 분사되는 경우에는 제2 전구체 공급원(12)으로부터 제2 전구체를 반응 챔버(1)를 통하지 않고 직접 배기펌프로 흐르게 하고, 제2 전구체가 샤워헤드로 분사되는 경우에는 반대로 제1 전구체 공급원(11)으로부터 제1 전구체를 반응 챔버(1)를 통하지 않고 직접 배기펌프로 흐르게 한다.The
표 1은 도 1에 기재된 다수의 밸브(v/v 1 ~ v/v 4)의 동작 순서의 일예를 나타낸 것이다.Table 1 shows an example of the operation sequence of the plurality of valves (v /
여기서 RUN은 반응 챔버(1)로 흐르는 것을, OPEN은 밸브가 열려있는 것을, CLOSE는 밸브가 닫혀있는 것을, 그리고 DIVERT는 반응 챔버(1)로 흐르지 않고 배기펌프(30)로 직접 흐르는 것을 의미한다.Where RUN means that it flows into the
이상에서 본 발명에 대한 기술사상을 첨부 도면과 함께 서술하였지만 이는 본 발명의 바람직한 실시예를 예시적으로 설명한 것이지 본 발명을 한정하는 것은 아니다. 또한 본 발명이 속하는 기술 분야에서 통상의 지식을 가진 자라면 누구나 본 발명의 기술적 사상의 범주를 이탈하지 않는 범위 내에서 다양한 변형 및 모방이 가능함은 명백한 사실이다.The technical spirit of the present invention has been described above with reference to the accompanying drawings. However, the present invention has been described by way of example only, and is not intended to limit the present invention. In addition, it is apparent that any person having ordinary knowledge in the technical field to which the present invention belongs may make various modifications and imitations without departing from the scope of the technical idea of the present invention.
상술한 바와 같이, 본 발명에 의한 가스분리형 샤워헤드를 이용한 ALD 장치는 샤워헤드 내에서 증착기체와 반응기체가 서로 반응하지 않으므로 샤워헤드 내부에서 부산물의 발생을 억제할 수 있는 장점이 있다.As described above, the ALD apparatus using the gas separation showerhead according to the present invention has an advantage of suppressing the generation of by-products in the shower head since the deposition gas and the reactor gas do not react with each other in the shower head.
또한 본 발명에 의한 가스분리형 샤워헤드를 이용한 ALD 장치는 샤워헤드에서 증착기체와 반응기체가 분사되는 최종 분사구가 동일함으로 인하여 모든 공정 순서에서 챔버내 가스 흐름의 균일성을 유지할 수 있으며, 전체 증착공정 시간을 단축시킬 수 있는 장점이 있다.In addition, the ALD apparatus using a gas separation showerhead according to the present invention can maintain the uniformity of gas flow in the chamber in all the process sequence due to the same final injection hole in which the deposition gas and the reactor gas is injected in the shower head, the entire deposition process This has the advantage of reducing the time.
| Application Number | Priority Date | Filing Date | Title |
|---|---|---|---|
| KR1020060025775AKR100802382B1 (en) | 2006-03-21 | 2006-03-21 | Atomic layer deposition apparatus using gas separation shower head |
| CN200710005658ACN100590223C (en) | 2006-03-21 | 2007-03-08 | Atomic Layer Deposition Apparatus Using Gas Separation Type Shower Head |
| US11/684,367US20070221129A1 (en) | 2006-03-21 | 2007-03-09 | Apparatus for depositing atomic layer using gas separation type showerhead |
| TW096109114ATWI349044B (en) | 2006-03-21 | 2007-03-16 | Apparatus for depositing atomic layer using gas separation type showerhead |
| Application Number | Priority Date | Filing Date | Title |
|---|---|---|---|
| KR1020060025775AKR100802382B1 (en) | 2006-03-21 | 2006-03-21 | Atomic layer deposition apparatus using gas separation shower head |
| Publication Number | Publication Date |
|---|---|
| KR20070096248A KR20070096248A (en) | 2007-10-02 |
| KR100802382B1true KR100802382B1 (en) | 2008-02-13 |
| Application Number | Title | Priority Date | Filing Date |
|---|---|---|---|
| KR1020060025775AExpired - Fee RelatedKR100802382B1 (en) | 2006-03-21 | 2006-03-21 | Atomic layer deposition apparatus using gas separation shower head |
| Country | Link |
|---|---|
| KR (1) | KR100802382B1 (en) |
| CN (1) | CN100590223C (en) |
| Publication number | Priority date | Publication date | Assignee | Title |
|---|---|---|---|---|
| WO2020037005A1 (en)* | 2018-08-17 | 2020-02-20 | Lam Research Corporation | Symmetric precursor delivery |
| Publication number | Priority date | Publication date | Assignee | Title |
|---|---|---|---|---|
| FI20105905A0 (en)* | 2010-08-30 | 2010-08-30 | Beneq Oy | Spray head and device |
| CN102517566B (en)* | 2011-12-16 | 2015-02-04 | 姜谦 | Method for selectively depositing atom layer to film by spray head device |
| US9157730B2 (en) | 2012-10-26 | 2015-10-13 | Applied Materials, Inc. | PECVD process |
| KR101541361B1 (en)* | 2013-07-15 | 2015-08-03 | 광주과학기술원 | Fluidized bed ald appratus for nano-coated particle |
| US9546423B2 (en)* | 2014-03-15 | 2017-01-17 | Veeco Ald Inc. | Cleaning of deposition device by injecting cleaning gas into deposition device |
| JP5963893B2 (en)* | 2015-01-09 | 2016-08-03 | 株式会社日立国際電気 | Substrate processing apparatus, gas dispersion unit, semiconductor device manufacturing method and program |
| CN109609931B (en)* | 2018-12-27 | 2021-05-07 | 北京北方华创微电子装备有限公司 | Atomic layer deposition apparatus and method |
| CN109576675B (en)* | 2019-01-15 | 2021-08-13 | 北京北方华创微电子装备有限公司 | Atomic layer deposition apparatus and method |
| CN115595561A (en)* | 2022-10-31 | 2023-01-13 | 胡倩(Cn) | Plasma enhanced atomic layer deposition equipment and deposition method |
| Publication number | Priority date | Publication date | Assignee | Title |
|---|---|---|---|---|
| JP2000144432A (en) | 1998-11-04 | 2000-05-26 | Ebara Corp | Gas injection head |
| JP2002151489A (en) | 2000-08-11 | 2002-05-24 | Tokyo Electron Ltd | Substrate processing apparatus and processing method |
| KR20040094880A (en)* | 2002-03-26 | 2004-11-10 | 동경 엘렉트론 주식회사 | Substrate processing device and substrate processing method, fast rotary valves, cleaning method |
| Publication number | Priority date | Publication date | Assignee | Title |
|---|---|---|---|---|
| JP2000144432A (en) | 1998-11-04 | 2000-05-26 | Ebara Corp | Gas injection head |
| JP2002151489A (en) | 2000-08-11 | 2002-05-24 | Tokyo Electron Ltd | Substrate processing apparatus and processing method |
| KR20040094880A (en)* | 2002-03-26 | 2004-11-10 | 동경 엘렉트론 주식회사 | Substrate processing device and substrate processing method, fast rotary valves, cleaning method |
| Publication number | Priority date | Publication date | Assignee | Title |
|---|---|---|---|---|
| WO2020037005A1 (en)* | 2018-08-17 | 2020-02-20 | Lam Research Corporation | Symmetric precursor delivery |
| Publication number | Publication date |
|---|---|
| CN101041893A (en) | 2007-09-26 |
| KR20070096248A (en) | 2007-10-02 |
| CN100590223C (en) | 2010-02-17 |
| Publication | Publication Date | Title |
|---|---|---|
| KR100802382B1 (en) | Atomic layer deposition apparatus using gas separation shower head | |
| KR101064210B1 (en) | Shower head for membrane deposition vacuum equipment | |
| KR100331544B1 (en) | Method for introducing gases into a reactor chamber and a shower head used therein | |
| US8197599B2 (en) | Gas head and thin-film manufacturing apparatus | |
| CN1643179B (en) | ALD apparatus and method | |
| US20050249876A1 (en) | Film forming apparatus and method | |
| JP7203207B2 (en) | Gas inlet system, atomic layer deposition apparatus and method | |
| US7771535B2 (en) | Semiconductor manufacturing apparatus | |
| KR101554334B1 (en) | Shower-head assembly and thin film deposition apparatus and method having the same | |
| KR20040043921A (en) | Method for depositing thin film on wafer using Aluminum compound | |
| KR101804125B1 (en) | Substrate processing apparatus | |
| CN109402608B (en) | Gas path system of atomic layer deposition equipment and control method thereof | |
| KR102534076B1 (en) | Deposition apparatus and method using the same | |
| KR100782291B1 (en) | Gas separation shower head and pulse CD device using the same | |
| KR100744528B1 (en) | Plasma atomic layer deposition apparatus and method using gas separation shower head to which RF power is applied | |
| KR20140049170A (en) | Substrate processing apparatus | |
| US20070193637A1 (en) | Systems and methods for controlling fluid flow | |
| KR20070109384A (en) | Shower Heads in Atomic Layer Deposition Process Equipment | |
| KR100407507B1 (en) | Gas injector for ALD device | |
| US9506146B2 (en) | Thin film vapor deposition method and thin film vapor deposition apparatus | |
| KR20140041021A (en) | Deposition apparatus having cvd mode and ald mode | |
| KR100631305B1 (en) | Atomic layer deposition equipment and method | |
| KR20040048618A (en) | Atomic layer deposition apparatus | |
| KR20060100961A (en) | Shower head and atomic layer deposition equipment | |
| KR100626366B1 (en) | Vapor deposition system |
| Date | Code | Title | Description |
|---|---|---|---|
| A201 | Request for examination | ||
| PA0109 | Patent application | St.27 status event code:A-0-1-A10-A12-nap-PA0109 | |
| PA0201 | Request for examination | St.27 status event code:A-1-2-D10-D11-exm-PA0201 | |
| P11-X000 | Amendment of application requested | St.27 status event code:A-2-2-P10-P11-nap-X000 | |
| P13-X000 | Application amended | St.27 status event code:A-2-2-P10-P13-nap-X000 | |
| R18-X000 | Changes to party contact information recorded | St.27 status event code:A-3-3-R10-R18-oth-X000 | |
| D13-X000 | Search requested | St.27 status event code:A-1-2-D10-D13-srh-X000 | |
| D14-X000 | Search report completed | St.27 status event code:A-1-2-D10-D14-srh-X000 | |
| E902 | Notification of reason for refusal | ||
| PE0902 | Notice of grounds for rejection | St.27 status event code:A-1-2-D10-D21-exm-PE0902 | |
| T11-X000 | Administrative time limit extension requested | St.27 status event code:U-3-3-T10-T11-oth-X000 | |
| T11-X000 | Administrative time limit extension requested | St.27 status event code:U-3-3-T10-T11-oth-X000 | |
| T11-X000 | Administrative time limit extension requested | St.27 status event code:U-3-3-T10-T11-oth-X000 | |
| P11-X000 | Amendment of application requested | St.27 status event code:A-2-2-P10-P11-nap-X000 | |
| P13-X000 | Application amended | St.27 status event code:A-2-2-P10-P13-nap-X000 | |
| PG1501 | Laying open of application | St.27 status event code:A-1-1-Q10-Q12-nap-PG1501 | |
| E701 | Decision to grant or registration of patent right | ||
| PE0701 | Decision of registration | St.27 status event code:A-1-2-D10-D22-exm-PE0701 | |
| GRNT | Written decision to grant | ||
| PR0701 | Registration of establishment | St.27 status event code:A-2-4-F10-F11-exm-PR0701 | |
| PR1002 | Payment of registration fee | St.27 status event code:A-2-2-U10-U11-oth-PR1002 Fee payment year number:1 | |
| PG1601 | Publication of registration | St.27 status event code:A-4-4-Q10-Q13-nap-PG1601 | |
| G170 | Re-publication after modification of scope of protection [patent] | ||
| PG1701 | Publication of correction | St.27 status event code:A-5-5-P10-P19-oth-PG1701 Patent document republication publication date:20080411 Republication note text:Request for Correction Notice (Document Request) Gazette number:1008023820000 Gazette reference publication date:20080213 | |
| R18-X000 | Changes to party contact information recorded | St.27 status event code:A-5-5-R10-R18-oth-X000 | |
| R18-X000 | Changes to party contact information recorded | St.27 status event code:A-5-5-R10-R18-oth-X000 | |
| PR1001 | Payment of annual fee | St.27 status event code:A-4-4-U10-U11-oth-PR1001 Fee payment year number:4 | |
| R18-X000 | Changes to party contact information recorded | St.27 status event code:A-5-5-R10-R18-oth-X000 | |
| PR1001 | Payment of annual fee | St.27 status event code:A-4-4-U10-U11-oth-PR1001 Fee payment year number:5 | |
| PN2301 | Change of applicant | St.27 status event code:A-5-5-R10-R13-asn-PN2301 St.27 status event code:A-5-5-R10-R11-asn-PN2301 | |
| FPAY | Annual fee payment | Payment date:20130114 Year of fee payment:6 | |
| PR1001 | Payment of annual fee | St.27 status event code:A-4-4-U10-U11-oth-PR1001 Fee payment year number:6 | |
| FPAY | Annual fee payment | Payment date:20131206 Year of fee payment:7 | |
| PR1001 | Payment of annual fee | St.27 status event code:A-4-4-U10-U11-oth-PR1001 Fee payment year number:7 | |
| LAPS | Lapse due to unpaid annual fee | ||
| PC1903 | Unpaid annual fee | St.27 status event code:A-4-4-U10-U13-oth-PC1903 Not in force date:20150202 Payment event data comment text:Termination Category : DEFAULT_OF_REGISTRATION_FEE | |
| PC1903 | Unpaid annual fee | St.27 status event code:N-4-6-H10-H13-oth-PC1903 Ip right cessation event data comment text:Termination Category : DEFAULT_OF_REGISTRATION_FEE Not in force date:20150202 | |
| R18-X000 | Changes to party contact information recorded | St.27 status event code:A-5-5-R10-R18-oth-X000 | |
| P22-X000 | Classification modified | St.27 status event code:A-4-4-P10-P22-nap-X000 | |
| R18-X000 | Changes to party contact information recorded | St.27 status event code:A-5-5-R10-R18-oth-X000 | |
| R18-X000 | Changes to party contact information recorded | St.27 status event code:A-5-5-R10-R18-oth-X000 |