


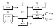
도 1은 본 발명이 적용되는 이동 통신 단말의 블록 구성도,1 is a block diagram of a mobile communication terminal to which the present invention is applied;
도 2는 본 발명의 일 실시예에 따른 이동 통신 단말의 제어부 동작흐름도,2 is a flowchart of a control unit of a mobile communication terminal according to an embodiment of the present invention;
도 3은 본 발명의 일 실시예에 따른 음성 사서함 연결 과정을 나타낸 메시지 흐름도.
3 is a message flow diagram illustrating a voice mail connection process according to an embodiment of the present invention.
본 발명은 이동 통신 시스템의 부가 서비스에 관한 것으로, 특히 이동 통신 단말의 음성사서함 서비스 연결 방법에 관한 것이다.The present invention relates to an additional service of a mobile communication system, and more particularly, to a method of connecting a voice mail service of a mobile communication terminal.
음성사서함 서비스는 수신측 이동 통신 단말에 호가 착신된 후 가입자가 일정 시간동안 응답이 없거나 수신측 이동 통신 단말에 호접속 자체가 되지 않는 경우 이동 교환국이 음성사서함 시스템으로 호를 연결시켜 발신 측 이동 통신 단말 가입자가 음성메시지를 남길 수 있도록 하는 서비스이다. 이러한 음성사서함 서비 스는 이동 통신망에서 주도적으로 이루어지기 때문에 수신측 이동 통신 단말 가입자가 직접적으로 착신된 호를 음성사서함 시스템으로 연결하지는 못한다. 즉, 전화를 받을 수 없는 상황에 전화가 오는 경우 가입자가 음성 사서함으로 연결을 원해도 일정 시간 착신음이 울린 후 자동으로 음성 사서함으로 연결될 때까지 기다려야하는 불편함이 있다.The voicemail service is connected to the voicemail system by the mobile switching center when the subscriber does not answer for a certain time after the call is received at the receiving mobile communication terminal or the call connection itself is not connected to the receiving mobile communication terminal. This is a service that allows a subscriber to leave a voice message. Since the voicemail service is predominantly performed in the mobile communication network, the receiving mobile communication terminal subscriber cannot directly connect the incoming call to the voicemail system. That is, when a call comes in a situation where a call cannot be received, there is an inconvenience in that the subscriber has to wait for a certain time after the ringing tone is automatically connected to the voice mailbox even if the subscriber wants to connect to the voice mailbox.
더욱이 호착신시 발신 측 이동 통신 단말의 번호가 착신 측 이동 통신 단말에 디스플레이 되는 발신자 정보 표시 서비스가 제공되고 있기 때문에 착신측 이동 통신 단말 가입자가 상대에 따라서 응답거부, 음성사서함 연결등 전화응답을 결정할 수 있는 서비스가 제공됨이 바람직하다.
Furthermore, since the caller information display service is provided in which the number of the calling mobile terminal is displayed on the called mobile terminal when the called party is called, the called party determines whether to answer the call or answer the voice mail depending on the other party. It is desirable that a service can be provided.
따라서, 본 발명의 목적은 이동 통신 단말에 착신된 호를 가입자의 의도에 따라 음성사서함으로 연결하는 방법을 제공함에 있다.Accordingly, an object of the present invention is to provide a method for connecting a call received at a mobile communication terminal to a voicemail box according to a subscriber's intention.
본 발명의 다른 목적은 이동 통신 단말에 호 착신시 수신측 이동 통신 단말 가입자의 의도에 따라 통화응답 방식을 결정할 수 있는 방법을 제공함에 있다.
Another object of the present invention is to provide a method for determining a call answering method according to the intention of a subscriber of a receiving mobile communication terminal when a call is received to a mobile communication terminal.
상기한 목적들을 달성하기 위해 이동 통신 단말의 음성사서함 연결 방법이, 호 착신 시, 상기 이동 통신 단말에 설정된 방식으로 상기 호 착신을 알리는 과정과; 상기 호 착신 알림 중 키의 입력이 감지되면 전화키 또는 응답거부키 중 어느 하나의 키입력이 있는지 판단하는 과정과; 상기 호 착신 알림 중 전환키의 입력이 있는 경우, 상기 호 착신 알림을 중단하고 기지국에게 착신된 상기 호에 대한 발신측 이동 통신 단말을 음성사서함으로 연결하도록 요구하는 과정과; 상기 호 착신 알림중 응답거부키의 입력이있는 경우 상기 호 착신 알림을 중단하고 상기 기지국에게 착신 호에 대해 통화 연결을 거부하기 위한 응답거부메시지를 전송하는 과정 포함함을 특징으로 한다.
이하 본 발명의 바람직한 실시 예들을 첨부한 도면을 참조하여 상세히 설명한다. 그리고, 본 발명의 요지를 불필요하게 흐릴 수 있는 공지 기능 및 구성에 대한 상세한 설명은 생략한다.In order to achieve the above objects, a voicemail connection method of a mobile communication terminal may include: notifying the call reception in a manner set in the mobile communication terminal when a call is received; Determining whether there is a key input of a telephone key or a response reject key when a key input is detected during the call notification; Stopping the call notification and requesting a base station to connect a calling party mobile communication terminal for the incoming call to a voicemail box when there is an input of a switch key among the call notification; If there is an input of the response rejection key during the call notification, characterized in that it comprises the step of stopping the call notification and transmitting a response reject message for rejecting the call connection for the incoming call to the base station.
 Hereinafter, exemplary embodiments of the present invention will be described in detail with reference to the accompanying drawings. In addition, detailed description of well-known functions and configurations that may unnecessarily obscure the subject matter of the present invention will be omitted.
삭제delete
우선 도 1을 참조하여 본 발명이 적용되는 이동 통신 단말의 구성을 설명한다. 도 1은 본 발명이 적용되는 이동 통신 단말의 블록 구성도 이다. 제어부(10)는 휴대폰의 전반적인 제어 동작을 수행한다. 무선부(50)는 제어부(10)의 제어 하에 음성 데이터 및 제어 데이터의 송수신을 제어하고, 음성처리부(60)는 제어부(10)의 제어 하에, 무선부(50)로부터 수신된 음성 데이터를 스피커(speaker)를 통해 가청음으로 변환하여 출력하며 마이크로폰(microphone)으로부터 수신되는 음성신호를 데이터화하여 무선부(50)로 출력한다. 키입력부(40)는 다수의 숫자키 및 기능키들을 구비하고 있으며, 사용자가 누르는 키에 대응하는 키입력데이터를 제어부(20)로 출력한다. 본 발명의 일 실시예 따라 상기 키입력부를 구성하는 키들 중 임의의 키에 착신된 호를 음성사서함으로 연결하기 위한 메시지를 전송할 수 있는 기능을 할당하여, 전환키(41)를 구비다. 그리고, 다른 임의의 키에 착신된 호에 대해 응답을 거부하기 위한 메시지를 전송할 수 있는 기능을 할당하여, 응답거부키(43)를 구비한다.First, a configuration of a mobile communication terminal to which the present invention is applied will be described with reference to FIG. 1. 1 is a block diagram of a mobile communication terminal to which the present invention is applied. The
표시부(30)는 제어부(10)의 제어 하에 각종 메시지 등을 디스플레이한다. 메모리부(20)는 휴대폰 동작 제어시 필요한 프로그램데이터가 저장된 프로그램 메모 리와, 제어시 또는 사용자에 의해 수행도중 발생되는 데이터를 저장하는 데이터 메모리 등을 포함하고 있다.The
상기와 같은 구조를 가지는 이동 통신 단말에서 본 발명의 일 실시예에 따라 착신된 호를 음성사서함으로 연결하는 과정을 도 2를 참조하여 설명한다. 도 2는 본 발명의 일 실시예에 따른 이동 통신 단말의 제어부 동작흐름도이다. 도 2를 참조하여, 대기상태 하에서 상기 이동 통신 단말의 제어부(10)는 101단계에서 호착신을 확인하여 호가 착신 되면 103단계로 진행한다. 103단계에서 제어부(10)는 착신음을 발생한다. 이후, 105단계에서 전환키의 입력이 있는지 판단하여 전환키의 입력이 있는 경우에는 107단계로 진행한다. 전환키의 입력이 없는 경우에는 109단계로 진행한다. 107단계에서 제어부(10)는 착신음 발생을 중지한다. 그리고, 상기 101단계에서 착신된 호에 대한 발신측 이동 통신 단말을 음성사서함과 연결시키기 위한 메시지인 음성 사서함 전환 요구 메시지를 BS(Base Station: 기지국과 기지국 제어기를 포함한 표현으로 이하 "기지국"으로 표시한다.)로 전송하고 종료한다. 기지국은 수신한 상기 음성 사서함 전환 요구 메시지를 이동 교환국으로 전송하여 발신측 이동 통신 단말이 음성사서함에 연결되도록 한다.A process of connecting a received call according to an embodiment of the present invention to a voicemail in a mobile communication terminal having the above structure will be described with reference to FIG. 2. 2 is a flowchart illustrating operations of a controller of a mobile communication terminal according to an embodiment of the present invention. Referring to FIG. 2, in
한편, 109단계에서 제어부(10)는 응답거부키의 입력이 있는지 판단하여 응답거부키의 입력이 있는 경우에는 111단계로 진행한다. 응답거부키의 입력이 없는 경우에는 113단계로 진행한다. 113단계에서 제어부(10)는 입력된 키에 할당된 기능을 수행한다. 111단계에서 제어부(10)는 착신음 발생을 중단한다. 그리고, 상기 101단계에서 착신된 호에 대해 통화 연결을 거부하기 위한 응답거부메시지를 기지국으로  전송하고 종료한다. 기지국은 상기 응답거부메시지를 수신하여, 이동 교환국으로 전송한다.On the other hand, in
도 3은 본 발명의 일 실시예에 따라 착신된 호에 대해 음성 사서함 연결을 하는 경우, 이동 통신망에서 이동 통신단말과 기지국과 이동 교환국과 음성사서함 센터간의 메시지 흐름을 나타낸 도면이다. 도 3을 참조하여 본 발명에 따른 이동 통신단말과 기지국과 이동 교환국의 동작 과정을 설명한다. 도 3을 참조하여, 201단계에서 이동 교환기는 이동 통신 단말로 호를 착신하기 위해 이동 통신 단말이 속해 있는 기지국으로 페이징 요청을 한다. 페이징 요청을 받은 기지국은 203단계에서 이동 통신 단말로 페이징 메시지를 전송한다. 후에 205단계에서 이동 통신 단말은 페이징 응답 메시지를 기지국으로 전송한다. 기지국은 209단계에서 이동 통신 단말로 트래픽 채널을 할당하여 호를 착신한다. 호가 착신된 이동 통신 단말은 211단계에서 착신음을 발생한다. 이후 213단계에서 이동 통신 단말의 가입자로부터 전환키의 입력을 받아 215단계로 진행한다. 215단계에서 이동 통신 단말은 착신음 발생을 중단하고 217단계로 진행하여 상기 음성사서함 전환 요구 메시지를 기지국으로 전송한다. 기지국은 상기 음성사서함 전환 요구 메시지를 수신하면 이동교환국으로 219단계에서 음성 사서함 요구 메시지를 전송한다. 이를 수신한 이동 교환국은 221단계에서 발신측 단말의 호를 음성사서함 시스템으로 연결하고 종료한다.
3 is a diagram illustrating a message flow between a mobile communication terminal, a base station, a mobile switching center, and a voice mail box in a mobile communication network when a voice mailbox is connected to an incoming call according to an embodiment of the present invention. Referring to Figure 3 describes the operation of the mobile communication terminal, the base station and the mobile switching center according to the present invention. Referring to FIG. 3, in
상기한 바와 같이 본 발명에서는 이동 통신 단말에 착신된 호를 음성사서함 으로 연결하는 방법을 제공함으로써 이동 통신망 사업자뿐만 아니라 가입자가 착신된 호에 대한 발신측 이동 통신 단말과 음성사서함을 연결할 수 있게 되었다As described above, the present invention provides a method for connecting a call received to a mobile communication terminal to a voice mailbox, so that not only the mobile network service provider but also the subscriber can connect the caller's mobile communication terminal and the voice mailbox to the incoming call.
또한, 이동 통신 단말에 호 착신시 특별한 메뉴 설정 없이 수신측 이동 통신 단말 가입자의 의도에 따라 통화응답 방식을 결정할 수 있게 되었다.
In addition, the call answering method can be determined according to the intention of the subscriber of the receiving mobile communication terminal without setting a special menu when the call is received at the mobile communication terminal.
| Application Number | Priority Date | Filing Date | Title | 
|---|---|---|---|
| KR1020010000198AKR100800763B1 (en) | 2001-01-03 | 2001-01-03 | How to connect voice mail to mobile communication terminal | 
| Application Number | Priority Date | Filing Date | Title | 
|---|---|---|---|
| KR1020010000198AKR100800763B1 (en) | 2001-01-03 | 2001-01-03 | How to connect voice mail to mobile communication terminal | 
| Publication Number | Publication Date | 
|---|---|
| KR20020057681A KR20020057681A (en) | 2002-07-12 | 
| KR100800763B1true KR100800763B1 (en) | 2008-02-01 | 
| Application Number | Title | Priority Date | Filing Date | 
|---|---|---|---|
| KR1020010000198AExpired - Fee RelatedKR100800763B1 (en) | 2001-01-03 | 2001-01-03 | How to connect voice mail to mobile communication terminal | 
| Country | Link | 
|---|---|
| KR (1) | KR100800763B1 (en) | 
| Publication number | Priority date | Publication date | Assignee | Title | 
|---|---|---|---|---|
| KR100793029B1 (en)* | 2006-07-25 | 2008-01-08 | (주) 엘지텔레콤 | Real-time call forwarding method in mobile communication network | 
| Publication number | Priority date | Publication date | Assignee | Title | 
|---|---|---|---|---|
| KR19990052979A (en)* | 1997-12-23 | 1999-07-15 | 유기범 | Method of setting auto answering function in mobile terminal and its device | 
| KR20000056684A (en)* | 1999-02-25 | 2000-09-15 | 김영환 | Method for transferring voice guidance messages of mobile stations | 
| KR20000075219A (en)* | 1999-05-31 | 2000-12-15 | 강병호 | Method for serving response a broadcast in a terminal | 
| KR20010018355A (en)* | 1999-08-19 | 2001-03-05 | 윤종용 | Method for transforming automatic answering mode by manualkey in mobile terminal | 
| KR20020021926A (en)* | 2000-09-18 | 2002-03-23 | 명삼님 | Hand phone of receive protection on driving car and control method thereof | 
| KR20020050403A (en)* | 2000-12-21 | 2002-06-27 | 구자홍 | Method of Standing by Message Transmission in Mobile Phone Silence Mode | 
| Publication number | Priority date | Publication date | Assignee | Title | 
|---|---|---|---|---|
| KR19990052979A (en)* | 1997-12-23 | 1999-07-15 | 유기범 | Method of setting auto answering function in mobile terminal and its device | 
| KR20000056684A (en)* | 1999-02-25 | 2000-09-15 | 김영환 | Method for transferring voice guidance messages of mobile stations | 
| KR20000075219A (en)* | 1999-05-31 | 2000-12-15 | 강병호 | Method for serving response a broadcast in a terminal | 
| KR20010018355A (en)* | 1999-08-19 | 2001-03-05 | 윤종용 | Method for transforming automatic answering mode by manualkey in mobile terminal | 
| KR20020021926A (en)* | 2000-09-18 | 2002-03-23 | 명삼님 | Hand phone of receive protection on driving car and control method thereof | 
| KR20020050403A (en)* | 2000-12-21 | 2002-06-27 | 구자홍 | Method of Standing by Message Transmission in Mobile Phone Silence Mode | 
| Publication number | Publication date | 
|---|---|
| KR20020057681A (en) | 2002-07-12 | 
| Publication | Publication Date | Title | 
|---|---|---|
| JPH1042365A (en) | Mobile phone system | |
| KR100547581B1 (en) | Sound information transmission system and method | |
| KR100800763B1 (en) | How to connect voice mail to mobile communication terminal | |
| KR100640473B1 (en) | How to send a message automatically | |
| KR100454957B1 (en) | Method for transmitting a received information in absence to external terminal in a line telephone which transmits and receives a short message | |
| JP3365035B2 (en) | Answering machine | |
| JP3224365B2 (en) | Wireless communication method and wireless communication system | |
| KR100455772B1 (en) | Method of responding auto using the short message service in mobile phone | |
| KR100483992B1 (en) | the method for call control using voice processing board in system of call center | |
| KR100565837B1 (en) | Ringback tone service method of mobile communication terminal | |
| KR20020069987A (en) | Mobile telecommunication terminal having function of personal assistant using short message service and implementing method | |
| KR100621679B1 (en) | How to Connect Recipient's Voice Mail Box According to Calling Party Request | |
| KR20000018813A (en) | Method for an auto reception answering guide in mobile phones | |
| KR20020007448A (en) | Method for auto-dialing in a communication system | |
| KR100400268B1 (en) | Device for display the connection information a calling using acknowledge in mobile phone and displaying method thereof | |
| KR20010037171A (en) | Method for implementing voice mail service in mobile communication system | |
| JP4183147B2 (en) | Communication terminal, control method | |
| KR100212742B1 (en) | Method for transmitting recording message numbers with pager at ars telephone | |
| JP3399410B2 (en) | Communication device and communication system | |
| KR100320303B1 (en) | How to store caller messages on your cell phone | |
| KR20040025151A (en) | Method for call processing in mobile communication system | |
| JP2001008259A (en) | Method for controlling call-back communication and system thereof | |
| KR20010019273A (en) | Reserve talking method of mobile terminal | |
| KR100258152B1 (en) | Method for shorting connecting time of waiting call using one-touch function | |
| KR20060007311A (en) | Ring tone service system and method according to calling purpose | 
| Date | Code | Title | Description | 
|---|---|---|---|
| PA0109 | Patent application | St.27 status event code:A-0-1-A10-A12-nap-PA0109 | |
| PN2301 | Change of applicant | St.27 status event code:A-3-3-R10-R13-asn-PN2301 St.27 status event code:A-3-3-R10-R11-asn-PN2301 | |
| PG1501 | Laying open of application | St.27 status event code:A-1-1-Q10-Q12-nap-PG1501 | |
| R18-X000 | Changes to party contact information recorded | St.27 status event code:A-3-3-R10-R18-oth-X000 | |
| R18-X000 | Changes to party contact information recorded | St.27 status event code:A-3-3-R10-R18-oth-X000 | |
| R18-X000 | Changes to party contact information recorded | St.27 status event code:A-3-3-R10-R18-oth-X000 | |
| PN2301 | Change of applicant | St.27 status event code:A-3-3-R10-R13-asn-PN2301 St.27 status event code:A-3-3-R10-R11-asn-PN2301 | |
| PN2301 | Change of applicant | St.27 status event code:A-3-3-R10-R13-asn-PN2301 St.27 status event code:A-3-3-R10-R11-asn-PN2301 | |
| A201 | Request for examination | ||
| P11-X000 | Amendment of application requested | St.27 status event code:A-2-2-P10-P11-nap-X000 | |
| P13-X000 | Application amended | St.27 status event code:A-2-2-P10-P13-nap-X000 | |
| PA0201 | Request for examination | St.27 status event code:A-1-2-D10-D11-exm-PA0201 | |
| D13-X000 | Search requested | St.27 status event code:A-1-2-D10-D13-srh-X000 | |
| D14-X000 | Search report completed | St.27 status event code:A-1-2-D10-D14-srh-X000 | |
| E902 | Notification of reason for refusal | ||
| PE0902 | Notice of grounds for rejection | St.27 status event code:A-1-2-D10-D21-exm-PE0902 | |
| E13-X000 | Pre-grant limitation requested | St.27 status event code:A-2-3-E10-E13-lim-X000 | |
| P11-X000 | Amendment of application requested | St.27 status event code:A-2-2-P10-P11-nap-X000 | |
| P13-X000 | Application amended | St.27 status event code:A-2-2-P10-P13-nap-X000 | |
| E902 | Notification of reason for refusal | ||
| PE0902 | Notice of grounds for rejection | St.27 status event code:A-1-2-D10-D21-exm-PE0902 | |
| P11-X000 | Amendment of application requested | St.27 status event code:A-2-2-P10-P11-nap-X000 | |
| P13-X000 | Application amended | St.27 status event code:A-2-2-P10-P13-nap-X000 | |
| E701 | Decision to grant or registration of patent right | ||
| PE0701 | Decision of registration | St.27 status event code:A-1-2-D10-D22-exm-PE0701 | |
| GRNT | Written decision to grant | ||
| PR0701 | Registration of establishment | St.27 status event code:A-2-4-F10-F11-exm-PR0701 | |
| PR1002 | Payment of registration fee | St.27 status event code:A-2-2-U10-U11-oth-PR1002 Fee payment year number:1 | |
| PG1601 | Publication of registration | St.27 status event code:A-4-4-Q10-Q13-nap-PG1601 | |
| G170 | Re-publication after modification of scope of protection [patent] | ||
| PG1701 | Publication of correction | St.27 status event code:A-5-5-P10-P19-oth-PG1701 Patent document republication publication date:20080408 Republication note text:Request for Correction Notice (Document Request) Gazette number:1008007630000 Gazette reference publication date:20080201 | |
| PR1001 | Payment of annual fee | St.27 status event code:A-4-4-U10-U11-oth-PR1001 Fee payment year number:4 | |
| PR1001 | Payment of annual fee | St.27 status event code:A-4-4-U10-U11-oth-PR1001 Fee payment year number:5 | |
| R18-X000 | Changes to party contact information recorded | St.27 status event code:A-5-5-R10-R18-oth-X000 | |
| FPAY | Annual fee payment | Payment date:20121228 Year of fee payment:6 | |
| PR1001 | Payment of annual fee | St.27 status event code:A-4-4-U10-U11-oth-PR1001 Fee payment year number:6 | |
| FPAY | Annual fee payment | Payment date:20131230 Year of fee payment:7 | |
| PR1001 | Payment of annual fee | St.27 status event code:A-4-4-U10-U11-oth-PR1001 Fee payment year number:7 | |
| FPAY | Annual fee payment | Payment date:20141223 Year of fee payment:8 | |
| PR1001 | Payment of annual fee | St.27 status event code:A-4-4-U10-U11-oth-PR1001 Fee payment year number:8 | |
| LAPS | Lapse due to unpaid annual fee | ||
| PC1903 | Unpaid annual fee | St.27 status event code:A-4-4-U10-U13-oth-PC1903 Not in force date:20160129 Payment event data comment text:Termination Category : DEFAULT_OF_REGISTRATION_FEE | |
| PC1903 | Unpaid annual fee | St.27 status event code:N-4-6-H10-H13-oth-PC1903 Ip right cessation event data comment text:Termination Category : DEFAULT_OF_REGISTRATION_FEE Not in force date:20160129 | |
| P22-X000 | Classification modified | St.27 status event code:A-4-4-P10-P22-nap-X000 |