














도 1은 본 발명에 따른 DCDP의 개략적인 블록도,1 is a schematic block diagram of a DCDP according to the present invention,
도 2는 도 1의 DCD데크부를 개략적으로 도시한 블록도,FIG. 2 is a block diagram schematically illustrating the DCD deck section of FIG. 1;
도 3은 도 1의 DCDP에 구비된 호스트와 레지스터간의 데이터교환을 도시한 블록도,3 is a block diagram illustrating data exchange between a host and a register in the DCDP of FIG.
도 4는 DCD의 일면을 기록영역별로 구분하여 도시한 평면도,FIG. 4 is a plan view showing one side of the DCD by recording areas,
도 5는 도 1에 의한 DCDP의 음성출력방법을 나타낸 흐름도,FIG. 5 is a flowchart illustrating a method of outputting DCDP audio according to FIG. 1;
도 6은 도 5의 경우에 출력되는 음성출력 메세지의 일 예를 나타낸 도면,FIG. 6 is a diagram illustrating an example of a voice output message output in the case of FIG. 5;
도 7은 도 1에 의한 기록매체에 기록된 파일정보 및 파일의 재생예약에 대한 음성출력방법을 나타낸 흐름도,FIG. 7 is a flowchart showing file information recorded on a recording medium according to FIG. 1,
도 8은 도 7의 경우에 출력되는 음성출력 메세지의 일 예를 나타낸 도면,FIG. 8 is a diagram showing an example of a voice output message output in the case of FIG. 7;
도 9는 도 1에 의한 배터리잔량 검출 및 그 결과에 따른 음성출력방법을 나타낸 흐름도,FIG. 9 is a flowchart illustrating a remaining battery level detection method and a sound output method according to the result of FIG. 1,
도 10은 도 9의 경우에 출력되는 음성출력 메세지의 일 예를 나타낸 도면,10 is a diagram illustrating an example of a voice output message output in the case of FIG. 9;
도 11은 도 1에 의한 에러발생여부에 따른 음성출력방법을 나타낸 흐름도,FIG. 11 is a flowchart illustrating a voice output method according to whether or not an error is generated according to FIG. 1;
도 12는 도 11의 경우에 출력되는 음성출력 메세지의 일 예를 나타낸 도면,FIG. 12 is a diagram showing an example of a voice output message output in the case of FIG. 11;
도 13은 도 1에 의한 사용자의 바이오리듬에 따른 음성출력방법을 나타낸 흐름도,FIG. 13 is a flowchart illustrating a method of outputting a sound according to a user's biorhythm according to FIG. 1;
도 14는 도 1에 의한 파일명 기록방법을 나타낸 흐름도, 그리고14 is a flowchart showing a file name recording method according to FIG. 1, and FIG.
도 15는 도 1에 의한 디렉토리명 기록방법을 나타낸 흐름도이다.15 is a flowchart showing a directory name recording method according to FIG.
* 도면의 주요부분에 대한 부호의 설명 *Description of the Related Art [0002]
10 : DCD 12 : 홀10: DCD 12: Hall
14 : 고유번호 기록영역 16 : 데이터 기록영역14: unique number recording area 16: data recording area
18 : 파일시스템 기록영역 100 : DCDP18: File system recording area 100: DCDP
120 : 엔진부 122 : DCD데크부120: engine section 122: DCD deck section
122a : DCD드라이브 122b : 광픽업부122a: DCD drive 122b: optical pickup section
124 : DCD서보 140 : 호스트124: DCD Servo 140: Host
200 : 퍼스널컴퓨터200: personal computer
본 발명은 휴대용 기기 및 그 휴대용 기기를 이용한 음성출력방법과 파일명/디렉토리명 기록방법에 관한 것으로서, 보다 상세하게는, 휴대용 기기 및 그 휴대용 기기를 이용한 음성출력방법과 그 휴대용 기기를 이용하여 파일명/디렉토리명을 기록하는 방법에 관한 것이다.BACKGROUND OF THE INVENTION 1. Field of the Invention The present invention relates to an audio output method and a file name / directory name recording method using the portable device and the portable device, and more particularly, to a portable audio device and a voice output method using the portable device, And a method for recording a directory name.
현대기술의 발달과 더불어 소정의 정보들을 시간 및 장소에 구애을 받지 않고 필요에 따라 재생하거나 복원할 수 있는 유용한 기기들이 널리 보급되어 왔다. 대중적으로 제시되어 왔던 기기들 중에는 자기테이프, 플로피디스크(FD), 컴팩트디스크(CD) 등의 기록매체 및 그 기록매체를 이용한 기기가 있다. 디지털기술의 발달로 이러한 기록매체는 대용량화 되어가고 있으며, 그 기록매체를 이용한 기기 또한 소형화, 고속화되어 가고 있다. 이러한 기록매체와 기기의 발달, 그리고 인터넷의 대중화로 개인은 많은 양의 정보를 취득하고 저장할 수 있게 되었다.Along with the development of modern technology, useful devices have been widely spread which can reproduce or restore predetermined information as needed without being bound to time and place. Among the devices that have been popularly used are recording media such as a magnetic tape, a floppy disk (FD), a compact disk (CD), and a device using the recording medium. With the development of digital technology, such a recording medium is becoming larger in capacity, and devices using the recording medium are becoming smaller and faster. With the development of these recording media and devices, and the popularization of the Internet, individuals can acquire and store large amounts of information.
최근에는 지름 32mm의 소형 디스크로서 그 크기에 비해 500메가바이트의 대용량을 갖는 기록매체(이하, DCD(Digital Convergence Disk)라고 일컫는다)가 개발되었으며, 또한 그러한 그 기록매체를 보다 효과적으로 활용하기 위한 디바이스(이하, DCDP(Digital Convergence Disk Player)와 휴대용 기기라는 용어를 혼용하여 사용한다)의 개발도 추진되고 있다. 이러한 DCDP는 휴대용의 소형기기임에도 불구하고 파일의 재생 뿐만아니라, 기록을 할 수 있으며, 그 외에도 다양한 기능들이 추가되고 있다.Recently, a recording medium (hereinafter referred to as DCD (Digital Convergence Disk)) having a large capacity of 500 megabytes has been developed as a compact disk having a diameter of 32 mm, and a device for more effectively utilizing such a recording medium Hereinafter, the terms DCDP (Digital Convergence Disk Player) and portable devices are used in combination) is being developed. Although the DCDP is a portable small device, it can record not only a file but also various functions are added.
그러나, 일반적인 DCDP는 동작처리에 대한 메세지를 단순히 표시부에 표시시킬 뿐이며, 따라서 표시부를 통해 출력되는 메세지가 중요한 메세지임에도 사용자에게 간과될 가능성이 있었다.However, a general DCDP merely displays a message on an operation process on the display unit, and therefore, there is a possibility that the message output through the display unit is an important message but may be overlooked by the user.
또한, 일반적인 DCDP는 기록매체에 기록하기 위한 파일의 파일명 및/또는 디렉토리명이 기록매체 내의 그 파일이 위치될 부디렉토리내에 기 존재하는 경우에는 사용자가 그 파일명 및/또는 디렉토리명을 변경하여 새로 입력하여야 하는 번거로움이 있었다.If a file name and / or a directory name of a file to be recorded on a recording medium exists in a subdirectory in which the file is to be located in the recording medium, the user needs to change the file name and / There was a hassle.
본 발명은 상기와 같은 문제점을 해결하기 위하여 착안된 것으로서, 본 발명의 제1목적은 현재 기기의 상태를 음성으로 출력할 수 있는 휴대용 기기 및 그 휴대용 기기의 음성출력방법을 제공하는데 있다.It is a first object of the present invention to provide a portable device capable of outputting a current state of a device by voice and a method of outputting a voice of the portable device.
또한, 본 발명의 제 2목적은 기록매체에 기록될 파일의 디렉토리명 및/또는 파일명이 그 파일이 위치될 부디렉토리 내에 존재하는 경우에는 파일명 및/또는 디렉토리명을 구별시켜 기록시킬 수 있는 휴대용 기기 및 그 파일명/디렉토리명 기록방법을 제공하는데 있다.A second object of the present invention is to provide a portable device capable of distinguishing a file name and / or a directory name when a directory name and / or a file name of a file to be recorded on the recording medium exists in a sub directory where the file is to be located. And a method for recording the file name / directory name.
상기의 제1목적을 달성하기 위한 휴대용 기기는, 기록매체가 착탈가능하게 장착된 휴대용 기기에 있어서, 설정시각 및 설정내용을 입력하기 위한 키입력부, 현재시각을 카운팅하는 타이머, 상기 설정내용 및/또는 상기 설정내용에 따른 현재 상기 휴대용 기기의 상태에 대한 음성메세지가 저장된 음성메세지저장부, 상기 음성메세지저장부에 저장된 상기 음성메세지를 출력하기 위한 음성출력부, 및 상기 타이머에 의해 카운팅된 현재시각이 상기 설정시각에 도달되면, 상기 음성메세지저장부로부터 상기 음성메세지를 인출하여 상기 음성출력부를 통해 출력시키는 제어부를 포함하는 것을 특징으로 한다.A portable device for achieving the first object is a portable device in which a recording medium is detachably mounted. The portable device includes a key input unit for inputting setting time and setting contents, a timer for counting the current time, A voice message storage unit for storing a voice message for a current state of the portable device according to the setting contents, a voice output unit for outputting the voice message stored in the voice message storage unit, And outputting the voice message from the voice message storage unit and outputting the voice message through the voice output unit.
상기의 휴대용 기기는 사용자에 의한 음성메세지를 입력하기 위한 음성입력부를 더 포함하고, 상기 제어부는 상기 음성입력부를 통해 입력된 음성메세지를 상 기 음성메세지저장부에 저장시키는 것이 바람직하다.The portable device may further include a voice input unit for inputting a voice message by the user, and the control unit may store the voice message input through the voice input unit in the voice message storage unit.
또한, 상기의 휴대용 기기는 착탈가능하게 장착된 상기 기록매체로부터 데이터를 독출하기 위한 엔진부를 더 포함하며, 상기 제어부는 상기 엔진부에 의해 상기 기록매체에 기록된 파일에 대한 정보를 알려주는 음성메세지가 독출되도록 상기 엔진부를 제어하며 독출된 상기 음성메세지를 상기 음성메세지저장부에 저장시키는 것이 바람직하다.The portable device may further include an engine unit for reading data from the recording medium that is detachably mounted, and the control unit may include a voice message for informing information about a file recorded on the recording medium by the engine unit, And to store the read voice message in the voice message storage unit.
여기서, 상기 음성메세지는 현재시간 및/또는 날짜를 알려주는 메세지, 스케줄을 알려주는 메세지, 배터리의 잔량에 대한 메세지, 상기 기록매체에 기록된 파일에 대한 정보를 알려주는 메세지, 전원절약모드로의 전환을 알려주는 메세지, 발생된 에러에 대한 이유 및 해결방법을 제시하는 메세지, 사용자명령에 대응되는 동작처리에 대한 메세지 중 적어도 하나를 포함하는 것이 바람직하다.Here, the voice message may include a message informing the current time and / or date, a message indicating a schedule, a message relating to the remaining capacity of the battery, a message indicating information on a file recorded on the recording medium, A message informing the switching, a reason for the generated error and a message for suggesting a solution, and a message for an operation process corresponding to the user command.
또한, 상기 제어부는 상기 키입력부를 통해 상기 기록매체에 기록된 파일에 대한 재생예약시각이 입력되면, 상기 타이머의 카운팅된 상기 현재시각이 상기 파일의 재생예약된 시각에 도달했을 때 상기 파일이 재생될 수 있도록 상기 엔진부를 제어하는 것이 바람직하다.In addition, when the playback reservation time of the file recorded on the recording medium is inputted through the key input unit, the control unit displays, when the current counted time of the timer reaches the playback-reserved time of the file, It is preferable to control the engine section.
상기 휴대용 기기는 인터페이싱부를 통해 접속된 컴퓨터로부터 다운로드된 사용자의 바이오리듬 프로그램을 저장하는 바이오리듬저장부를 더 포함하고, 상기 제어부는 상기 바이오리듬저장부를 검색하여 상기 사용자의 바이오리듬 상태에 따라 상기 음성메세지저장부로부터 상기 기록매체에 기록된 소정 파일에 대한 정보를 알려주는 메세지를 인출하여 상기 음성출력부를 통해 출력시키는 것이 바람직하다.The portable device may further include a biorhythm storage unit for storing a biorhythm program of a user downloaded from a computer connected through an interfacing unit. The control unit searches the biorhythm storage unit for storing the biorhythm program, It is preferable that a message indicating information on a predetermined file recorded on the recording medium is fetched from the storage unit and outputted through the audio output unit.
또한, 상기 휴대용 기기는 배터리의 잔량을 검출하는 배터리잔량검출부를 더 포함하고, 상기 제어부는 상기 배터리잔량검출부에 의해 검출된 배터리의 잔량에 따라 상기 음성메세지저장부로부터 상기 배터리의 잔량에 대한 메세지를 인출하여 상기 음성출력부에 출력시키는 것이 바람직하다.The portable device may further include a battery remaining amount detecting unit for detecting a remaining amount of the battery, and the control unit may receive a message regarding the remaining amount of the battery from the voice message storage unit according to the remaining amount of the battery detected by the remaining battery amount detecting unit. And output it to the audio output unit.
또한, 상기 제어부는 입력된 상기 설정시각에 관계없이 상기 키입력부 및 상기 음성입력부 중의 적어도 어느 하나를 통해 입력된 사용자명령에 대하여 에러가 발생한 경우에 상기 음성메세지저장부로부터 발생된 상기 에러에 대한 이유 및 해결방법을 제시하는 메세지를 인출하여 상기 음성출력부에 출력시키는 것이 바람직하다.In addition, the control unit may determine a reason for the error generated from the voice message storage unit when an error occurs with respect to a user command input through at least any one of the key input unit and the voice input unit, And a message for suggesting a solution, and output the message to the voice output unit.
또한, 상기 제어부는 입력된 상기 사용자명령에 에러가 없으면, 상기 음성메세지저장부로부터 상기 사용자명령에 대응되는 동작처리에 대한 메세지를 인출하여 상기 음성출력부에 출력시키는 것이 바람직하다.In addition, if there is no error in the input user command, the control unit may fetch a message for the operation process corresponding to the user command from the voice message storage unit and output the message to the voice output unit.
한편, 본 발명에 따른 휴대용 기기에 의하면, 키입력부를 통해 설정시각 및 설정내용을 입력하는 단계, 타이머에 의해 카운팅된 현재시각을 검색하는 단계, 카운팅된 상기 현재시각이 입력된 상기 설정시각에 도달되었는지를 판단하는 단계, 카운팅된 상기 현재시각이 입력된 상기 설정시각에 도달되면, 음성메세지저장부에 저장된 상기 설정내용 및/또는 상기 설정내용에 따른 현재 휴대용 기기의 상태에 대한 음성메세지를 인출하는 단계, 및 상기 음성메세지저장부로부터 인출된 상기 음성메세지를 음성출력부를 통해 출력시키는 단계를 포함하는 휴대용 기기의 음성출력방법이 제공된다.According to another aspect of the present invention, there is provided a portable device including a key input unit for inputting setting time and setting contents, a step for searching for a current time counted by a timer, a step for counting the current time, When the counted time reaches the set time at which the current time has been input, a voice message regarding the state of the current portable device according to the setting content and / or the setting content stored in the voice message storage is fetched And outputting the voice message retrieved from the voice message storage through a voice output unit.
이로써, 음성출력기능을 구비한 휴대용 기기는 설정된 내용에 따라 음성으로 메세지를 출력시킬 수 있게 되어 사용자에게 보다 인간적인 모습으로 비추어지게 된다.Accordingly, the portable device having the voice output function can output a message by voice according to the set contents, and is displayed to the user in a more human-like manner.
상기의 제2목적을 달성하기 위한 휴대용 기기는, 기록매체에 대한 파일의 기록이 가능한 휴대용 기기에 있어서, 상기 기록매체에 기록하기 위한 상기 파일의 파일명 및/또는 디렉토리명을 입력하기 위한 입력부, 입력된 상기 파일명 및/또는 디렉토리명을 상기 기록매체에 기록시키는 엔진부, 및 상기 디렉토리명이 입력되면, 상기 디렉토리가 위치될 상기 기록매체의 부디렉토리에 입력된 상기 디렉토리명과 동일한 디렉토리명이 존재하는지를 판단하고, 동일한 디렉토리명이 존재하면 입력된 상기 디렉토리명에 식별부호를 부가하여 기록시키는 제어부;를 포함하는 것을 특징으로 한다.A portable device capable of recording a file on a recording medium includes an input unit for inputting a file name and / or a directory name of the file to be recorded on the recording medium, A directory name of the directory to which the directory is to be placed, and a directory name that is the same as the directory name entered in the subdirectory of the recording medium on which the directory is to be located, And a control unit for adding an identification code to the input directory name if the same directory name is present.
여기서, 상기 제어부는 상기 파일명이 입력되면, 상기 파일이 위치될 상기 기록매체의 부디렉토리에 입력된 상기 파일명과 동일한 파일명이 존재하는지를 판단하고, 동일한 파일명이 존재하면 입력된 상기 파일명에 식별부호를 부가하여 기록시키는 것이 바람직하다.Here, if the file name is input, the control unit determines whether a file name identical to the file name input in the sub-directory of the recording medium where the file is to be located exists. If the same file name exists, the control unit adds an identification code to the input file name It is preferable to record it.
또한, 상기 휴대용 기기는 표시부를 더 포함하고, 상기 제어부는 상기 기록매체에 동일한 상기 디렉토리명 및 상기 파일명 중의 어느 하나가 존재하는 경우에 식별부호 부가여부에 대한 선택메뉴를 표시시키는 것이 바람직하다.Preferably, the portable device further includes a display unit, and the control unit displays a selection menu of whether or not the identification code is added when any one of the directory name and the file name exists in the recording medium.
한편, 상기의 휴대용 기기에 따르면, 입력부를 통해 기록매체에 기록하기 위한 파일의 파일명을 입력하는 단계, 상기 파일이 위치될 상기 기록매체의 부디렉토리에 입력된 상기 파일명과 동일한 파일명이 존재하는지를 판단하는 단계, 및 입력된 상기 파일명과 동일한 파일명이 존재하면, 입력된 상기 파일명에 식별부호를 부가하여 상기 기록매체의 상기 부디렉토리에 기록시키는 단계를 포함하는 휴대용 기기의 파일명/디렉토리명 기록방법이 제공된다.According to the above portable device, a step of inputting a file name of a file to be recorded on the recording medium through the input unit, a step of judging whether or not the same file name as the file name input in the sub directory of the recording medium on which the file is to be located exists And a step of adding an identification code to the input file name and recording the file name in the subdirectory of the recording medium if the same file name as the inputted file name exists, .
이로써, 사용자에 의해 작성된 파일명/디렉토리명과 동일한 파일명/디렉토리명이 기록매체 내의 부디렉토리에 존재하더라도 수정을 위한 복잡한 절차없이 식별되는 파일명/디렉토리명을 기록시킬 수 있게 된다.This makes it possible to record the file name / directory name identified without complicated procedures for modification even if the same file name / directory name as the file name / directory name created by the user exists in the subdirectory in the recording medium.
이하, 첨부된 도면을 참조하여 본 발명을 보다 상세하게 설명한다.Hereinafter, the present invention will be described in more detail with reference to the accompanying drawings.
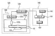
도 1은 본 발명에 따른 DCDP의 개략적인 블록도이고, 도 2는 도 1의 DCD데크부를 개략적으로 도시한 블록도이다. FIG. 1 is a schematic block diagram of a DCDP according to the present invention, and FIG. 2 is a block diagram schematically showing a DCD deck section of FIG.
도면을 참조하면, DCDP(100)는 엔진부(120) 및 호스트(140)를 구비한다. 엔진부(120)는 착탈가능하게 장착된 DCD(10)를 회전구동하여 DCD(10)로부터 소정의 정보를 독출하거나, DCD(10)에 소정의 정보를 기록시키기 위한 장치이다. 호스트(140)는 엔진부(120)와 접속되어 엔진부(120)를 제어하며, 외부기기 예를들면, 개인용컴퓨터(PC)(200)와 접속되어 엔진부(120)를 제어할 수 있다.Referring to FIG. 1, a DCDP 100 includes an
엔진부(120)는 DCD데크부(122), DCD서보(124), 버퍼(125), 엔진메모리(126), 엔진제어부(128) 및 엔진인터페이스(129)를 포함한다. DCD데크부(122)는 DCD드라이브(122a), 광픽업부(122b), 및 검색부(123)를 포함한다.The
DCD데크부(122)는 DCD(10)가 DCD드라이브(122a)로 삽입되면, 엔진제어부(128)에 의해 제어되어 DCD(10)에 데이터를 기록하거나, DCD(10)로부터 데이터를 픽업한다. 여기서, DCD(10)에의 데이터 기록 또는 DCD(10)로부터의 데이터 픽업은 광픽업부(122b)에 의해 구현된다.When the
광픽업부(122b)는 엔진제어부(128)로부터 수신한 데이터를 DCD(10)에 기록하거나, DCD(10)로부터 픽업한 데이터를 엔진제어부(128)에 제공한다. 검색부(123)는 엔진제어부(128)에 의해 제어되며 광픽업부(122b)에 의해 픽업된 데이터를 검색하여 데이터군에 따라 예컨대, 파일확장자군, 파일명군 등으로 데이터를 분류시킨다.The optical pickup 122b writes the data received from the
DCD서보(124)는 엔진제어부(128)의 제어에 따라 DCD드라이브(122a)를 구동시킨다. 엔진제어부(128)는 엔진인터페이스부(129)를 통해 호스트(140)의 제어부(141)와 데이터를 송수신한다. 엔진제어부(128)의 제어에 의해 DCD데크부(122)로부터 수신된 DCD(10)에 기록된 파일들에 대한 속성정보는 엔진인터페이스부(129)를 통하여 호스트(140)의 제어부(141)로 전송된다.The
버퍼(125)는 DCD(10)에 대하여 데이터를 기록 및 재생하는 경우 기록 및 재생될 데이터를 임시 보관하기 위한 것으로, SRAM(Static Random Access Memory)을 사용할 수 있다. 엔진메모리(126)는 DCD(10)와 엔진부(120) 및 엔진부(120)와 호스트(140) 사이에 약속된 각종 커멘드어들의 코드값 및 제어용 데이터를 저장하기 위한 것으로, 플래쉬메모리(flash memory : flash RAM)를 사용할 수 있다. 엔진제어부(128)는 DCD데크(122), DCD서보(124) 및 버퍼(125)를 제어한다. 엔진제어부(128)는 엔진인터페이스(129)를 통해 호스트(140)의 제어부(141)와 데이터를 송수신하며, 제어부(141)로부터 DCD데크부(122)에 대한 제어신호를 수신하여 DCD데크부(122)를 제어시킬 수 있다. 엔진인터페이스(129)는 엔진부(120)와 호스트(140) 사이에 인터페이스를 제공한다.The
호스트(140)는 배터리(141), 배터리잔량검출부(142), 음성메세지저장부(143), 바이오리듬저장부(143-1), 음성출력부(144), 입력부(145), 타이머(146), 표시부(147), 외부인터페이스(148), 및 제어부(149)를 포함한다.The
배터리(141)는 DCDP(100)에 전원을 공급한다. 배터리잔량검출부(142)는 제어부(149)에 의해 제어되어 일정 시간간격을 주기로 배터리(141)의 잔량을 검색하며, 검색된 결과를 제어부(149)로 전송한다.The battery 141 supplies power to the
음성메세지저장부(143)는 제어부(141)에 의하여 제어되며, 현재시간 및/또는 날짜를 알려주는 메세지, 스케줄을 알려주는 메세지, 배터리의 잔량에 대한 메세지, 기록매체에 기록된 파일에 대한 정보를 알려주는 메세지, 전원절약모드로의 전환을 알려주는 메세지, 발생된 에러에 대한 이유 및 해결방법을 제시하는 메세지, 사용자명령에 대응되는 동작처리에 대한 메세지 중 적어도 하나를 포함하여 저장한다. 여기서, 음성메세지저장부(143)는 저장된 각각의 음성메세지가 설정된 시간에 음성출력부(144)를 통해 출력되도록 제어부(149)에 의해 제어된다. 또한, 음성메세지저장부(144)는 저장된 음성메세지의 특성에 따라 그 음성메세지가 일회성인 경우 예컨대, 현재의 날짜 및 시간을 알려주는 메세지의 경우에는 음성출력부(144)를 통해 출력된 후에 그 출력된 음성메세지는 삭제되도록 제어부(149)에 의해 제어된다. 즉, 현재시간 및/또는 날짜를 알려주는 메세지의 경우를 예로 들면, "지금 현재시각은 2001년 9월1일 토요일 오전 11시 정각입니다."라는 메세지를 출력될 설정시각 과 함께 음성메세지저장부(143)에 저장시켜 놓으면 설정된 시각에 그 음성메세지가 출력된다. 또한, 상기 예의 경우에는 그 출력된 음성메세지는 일회성인 음성메세지이므로 출력된 후에는 음성메세지저장부(143)로부터 자동적으로 삭제되도록 제어부(149)에 의해 제어된다. 여기서, 음성메세지저장부(143)에 저장된 음성메세지는 제조과정에서 입력되어 저장될 수도 있으며, 사용자에 의해 음성입력부(145b)를 통해 입력되어 저장될 수도 있도록 구현되는 것이 바람직하다.The voice
바이오리듬저장부(143-1)는 외부인터페이스부(148)를 통해 접속된 컴퓨터(200)로부터 다운로드된 사용자의 바이오리듬 프로그램을 저장한다. 여기서, 컴퓨터(200)는 인터넷을 통해 접속된 서버로부터 바이오리듬 프로그램을 다운로드하여 저장할 수 있으며, 저장된 바이오리듬 프로그램에 사용자에 대한 소정의 정보를 입력함으로써 사용자의 바이오리듬을 측정할 수 있도록 구현된다.The biorhythm storage unit 143-1 stores the biorhythm program of the user downloaded from the
음성출력부(144)는 제어부(149)에 의해 제어되며, 음성메세지저장부(143)에 저장된 소정의 음성메세지를 출력할 수 있도록 구현된다. 입력부(145)는 키입력부(145a) 및 음성입력부(145b)를 구비한다. 키입력부(145a)는 설정시각 및 설정내용을 입력할 수 있도록 소정의 키를 포함한다. 여기서, 설정시각은 사용자가 음성출력부(144)를 통해 출력되기를 원하는 음성메세지의 출력될 시간을 말한다. 또한, 설정내용이라 함은 음성메세지저장부(143)에 저장된 음성메세지의 분류된 내용을 말한다. 음성메세지저장부(143)에 저장된 음성메세지는 그 음성메세지의 내용에 따라 분류되어 데이터베이스화되는 것이 바람직하다. 음성입력부(145b)는 사용자에 의한 음성메세지를 입력할 수 있도록 구현된다. 예를 들면, 사용자는 약속시 간이나 회의 등의 스케줄에 대한 음성메세지를 음성입력부(145b)를 통해 입력할 수 있다. 사용자에 의해 입력된 음성메세지는 음성메세지저장부(143)에 저장된다.The
타이머(146)는 현재시각을 카운팅한다. 타이머(146)에 의해 카운팅된 현재시각은 제어부(149)에 전송된다. 표시부(145)는 제어부(141)에 의해 제어되며, 음성메세지저장부(143)에 저장된 소정의 음성메세지가 음성출력부(144)를 통해 출력될 때, 출력되는 음성메세지를 문자로 표시시킬 수 있도록 구현되는 것이 바람직하다.The timer 146 counts the current time. The current time counted by the timer 146 is transmitted to the
제어부(141)의 외부인터페이스(148)는 DCDP(100)와 PC(200)를 연결하는 인터페이스로서, USB인터페이스로 구현되는 것이 바람직하다.The
제어부(149)는 엔진 인터페이스(129)와 접속되고, 엔진부(120)를 억세스하여 데이터를 기록 및 독출하고, 독출한 데이터를 재생시키기 위하여 DCDP(100) 전체를 제어한다. 또한, 제어부(149)는 음성메세지저장부(143)에 저장된 음성메세지를 음성메세지 각각의 설정시각 및 설정내용에 따라 음성출력부(144)를 통해 출력시킨다.The
엔진부(120)는 또한, 도 3에 도시된 바와 같은 네 개의 레지스터들로 구성된 레지스터부(127)를 포함한다. 레지스터부(127)는 콘트롤 레지스터(127a), 스테이터스 레지스터(127b), 바이트카운터 레지스터(127c) 및 데이터 레지스터(127d)로 구성되며, 각 레지스터들은 호스트(140)와의 통신에 사용된다. 호스트(140)는 DCD 인터페이스용 어드레스비트 2비트(DPI_ADD0와 DPI_ADD1)의 값에 따라 레지스터부(127)의 레지스터들 중 억세스할 레지스터를 선택한다. 콘트롤 레지스터(127a)에 대하여 호스트(140)는 기록동작을 수행하고, 엔진(120)은 독출동작을 수행한다.The
콘트롤 레지스터(127a)는 호스트(140)에 의해 기록된 기능제어 및 인터페이스 인터럽트 인에이블/디스에이블값들을 가진다. 스테이터스 레지스터(127b)에 대하여 호스트(140)는 독출만 가능하고, 엔진부(120)는 독출 및 기록이 모두 가능하다. 스테이터스 레지스터(127b)는 상태정보 및 인터럽트 이유 정보를 보유한다. 바이트카운터 레지스터(127c)에 대하여 호스트(140) 및 엔진부(120) 각각은 기록 및 독출 동작을 모두 수행할 수 있다. 다만, 호스트(140)는 스테이터스 레지스터(127b)의 비지(BUSY) 비트가 클리어인 경우에만 바이트카운터 레지스터(127c)에 기록할 수 있고, 스테이터스 레지스터(127b)의 데이터(DATA) 비트가 세트인 경우에만 바이트카운터 레지스터(127c)에서 리턴 유효 정보(return valid information)를 독출한다. 바이트카운터 레지스터(127c)는 다음 커멘드, 데이터, 또는 스테이터스 모드 전송을 위한 바이트 카운트를 포함한다. 데이터 레지스터(127d)에 대하여, 호스트(140) 및 엔진부(120)는 독출 및 기록 동작이 모두 가능하다. 다만, 호스트(140)는 커멘드(Command) 및 데이터 출력 모드(Data Out phases)동안 엔진부(120)로 데이터를 전송하기 위하여 데이터 레지스터(127d)에 기록한다. 또한, 호스트(140)는 스테이터스(Status) 및 데이터 입력 모드(Data In phases) 동안 엔진부(120)로부터 데이터를 전송하기 위하여 데이터 레지스터(127d)를 읽는다.The
호스트(140)와 엔진부(120) 사이에는 호스트(140)와 엔진부(120) 사이를 물리적으로 연결하는 물리적인 연결층(physical layer), 호스트(140)와 엔진부(120) 사이의 정보 교환에 사용되는 방법을 정의한 데이터링크 레이어(data-link layer), 엔진부(120)에서 접근하는 데이터를 통제하기 위하여 DCD(10)에 대한 데이터와 관련된 커멘드들을 기록한 커멘드 레이어(command layer), 및 파일데이터/메타(meta) 데이터의 매핑과 사용자 인터페이스 등을 포함하는 어플리케이션 레이어(applicationlayer) 등 4개층의 연결상태가 존재한다. 호스트(140)와 엔진부(120) 사이에 존재하는 4개층의 연결상태는 엔진부(120)에 의해 구동되는 DCD에 기록된 파일데이터/메타데이터가 원할하게 호스트(140)로 전송되어 처리될 수 있도록 한다.A physical layer for physically connecting the
도 4는 양면기록 가능한 DCD의 일면을 기록영역별로 구분하여 도시한 평면도이다. 도면을 참조하면, DCD(10)는 원판 형상이며, 원판의 중심에서부터 외주방향으로 홀(12), 고유번호 기록영역(14), 데이터기록영역(16), 파일시스템기록영역(18)으로 구분되어 있다.4 is a plan view showing one side of a double-side recordable DCD divided into recording areas. Referring to FIG. 1, the
홀(12)은 DCD(10)의 중앙부위에 형성되어 있으며, DCD(10)가 회전되는 동안 흔들림을 완화시켜준다. DCD(10)의 고유번호 기록영역(14)은 홀(12)의 주위에 소정 범위를 점유하도록 링타입으로 형성되어 있다. 이러한 고유번호 기록영역(14)에는 각각의 DCD(10)를 구분하기 위하여 각 DCD(10)에 부여된 고유 번호가 기록되어 있다. 또한, 고유번호 기록영역(14)에는 양면 기록 가능한 광기록매체인 DCD(10)의 특성에 따라 하나의 DCD(10)의 일면 및 타면에 대한 식별 가능한 정보를 포함하고 있다.The
데이터기록영역(16)은 음악데이터, 문서데이터, 영상데이터 등을 포함하는 파일이 기록되는 영역으로서 DCD 용량의 대부분을 차지한다.The
파일시스템기록영역(18)은 DCD(10)의 가장 외주 부분에 링 형태로 형성되어 있으며, DCD(10)의 데이터기록영역(16)에 기록된 각 파일에 대한 정보 즉, 파일시스템정보 및 디렉토리정보가 기록된다. 이러한 파일시스템정보 및 디렉토리정보는 문자로 기록될 수도 있으며, 또한 음성메세지로 기록될 수도 있다. DCD(10)가 DCDP(100)에 장착되면, 파일시스템기록영역(18)에 기록된 음성메세지는 엔진부(120)에 의해 독출되어 음성메세지저장부(143)에 저장된다.The file
여기서, 파일시스템정보란, DCD(10)의 데이터기록영역(16)에 기록된 파일에 대한 파일 사이즈, 파일 이름, 기록 날짜 및 시간, 기록된 파일의 형식, 기록된 각 파일들의 기록루트, 및 파일의 최종 수정날짜 및 시간 등을 말한다. 또한, 디렉토리정보란, 서로 연관이 있는 파일들을 하나의 그룹으로 만들어서 저장할 수 있도록 구분된 공간을 의미하는데, 관련이 없는 다른 파일은 다른 디렉토리에 저장됨으로써 섞이지 않게 된다.Here, the file system information refers to a file size, a file name, a recording date and time for a file recorded in the
도 5는 도 1에 의한 DCDP의 음성출력방법을 나타낸 흐름도이고, 도 6은 도 5의 경우에 출력되는 음성출력 메세지의 일 예를 나타낸 도면이다. 도면을 참조하면, 사용자는 키입력부(145a)를 통해 설정시각 및 설정내용을 입력한다(S101). 여기서, 설정시각이라 함은, 음성출력부(144)를 통해 출력되기를 원하는 음성메세지의 출력될 시간을 말하며, 설정내용이라 함은 데이터베이스화되어 음성메세지저장부(143)에 저장된 음성메세지의 분류된 내용을 말한다. 즉, 음성메세지의 설정내용은 음성메세지저장부(143)에 저장된 음성메세지의 내용에 따라 현재시각모드, 스케 줄모드, 배터리잔량모드, 에러대응모드 등으로 분류될 수 있다. 또한, 음성메세지저장부(143)에는 DCDP(100)의 제조과정에서 소정의 음성메세지가 입력되어 저장되어 있으며, 아울러 사용자가 별도의 음성메세지를 음성입력부(145b)를 통해 입력하여 저장시킬 수도 있도록 구현된다(S103, S105). 즉, 도 6에 나타낸 바와 같이, 음성메세지저장부(143)에는 제조과정에서 입력된 음성메세지 예컨대, 설정시각이 7시로 설정된 아침식사시간을 알려주는 메세지와, 설정시각이 23시로 설정된 전원절약모드로의 전환을 알려주는 메세지가 저장되며, 또한, 사용자에 의해 입력된 현재시각을 알려주는 메세지, 스케줄을 알려주는 메세지 등이 저장된다. 뿐만아니라, 음성메세지저장부(143)에는 현재시각에 관계없는 음성메세지 예컨대, 입력부(145)를 통해 입력된 사용자명령에 에러가 발생한 경우에 음성출력부(144)를 통해 발생된 에러의 이유 및 해결방법을 제시하는 음성메세지가 저장된다. 이에 대하여는 하기에 설명한다.FIG. 5 is a flowchart illustrating a method of outputting DCDP audio according to FIG. 1, and FIG. 6 is a diagram illustrating an example of a voice output message output in the case of FIG. Referring to the drawing, a user inputs setting time and setting contents through a
제어부(149)는 음성메세지저장부(143)에 저장된 음성메세지 각각의 설정시각 및 설정내용을 검색한다. 또한, 제어부(149)는 타이머(146)에 의해 카운팅된 현재시각을 검색한다(S107). 제어부(149)는 검색된 타이머(146)의 현재시각이 음성메세지저장부(143)에 저장된 음성메세지의 설정시각에 도달하였는지를 판단한다(S109).The
검색된 타이머(146)의 현재시각이 음성메세지저장부(143)에 저장된 음성메세지의 설정시각에 도달되면, 제어부(149)는 음성메세지저장부(143)로부터 대응되는 음성메세지를 인출한다(S111). 또한, 제어부(149)는 인출된 음성메세지를 음성출력부(144)를 통해 출력시킨다. 예컨대, 제어부(149)는 검색된 타이머(146)의 현재시 각이 12시 30분에 도달되면 설정시각이 12시 30분인 음성메세지를 인출하여 음성출력부(144)를 통해 출력시킨다. 이로써, 음성출력부(144)는 12시 30분에 "현재시간은 8월 6일 월요일 12시 30분입니다"라는 음성메세지를 출력하게 된다.When the current time of the searched timer 146 reaches the set time of the voice message stored in the voice
도 7은 도 1에 의한 기록매체에 기록된 파일정보 및 파일의 재생예약에 대한 음성출력방법을 나타낸 흐름도이고, 도 8은 도 7의 경우에 출력되는 음성출력 메세지의 일 예를 나타낸 도면이다.FIG. 7 is a flowchart showing file information recorded on a recording medium according to FIG. 1 and a sound output method for a playback reservation of a file, and FIG. 8 is a diagram illustrating an example of a sound output message output in the case of FIG.
도면을 참조하면, 사용자는 키입력부(145a)를 통해 설정시각 및 설정내용을 입력한다(S301). 제어부(149)는 장착된 DCD(10)의 파일시스템 기록영역(18)으로부터 DCD(10)에 기록되어 있는 파일에 대한 정보를 알려주는 음성메세지를 독출한다(S303). 또한, 제어부(149)는 독출된 파일정보 음성메세지를 키입력부(145a)를 통해 입력된 설정시각 및 설정내용에 대응시켜 음성메세지저장부(143)에 저장시킨다(S305).Referring to the drawing, a user inputs setting time and setting contents through a
다음에, 제어부(149)는 타이머(146)에 의해 카운팅된 현재시각을 검색한다(S307). 제어부(149)에 의해 검색된 현재시각이 키입력부(145a)를 통해 입력된 설정시각에 도달하면(S309), 제어부(149)는 음성메세지저장부(143)로부터 대응되는 음성메세지를 인출하여(S311) 음성출력부(144)를 통해 인출된 음성메세지를 출력시킨다(S313).Next, the
또한, 제어부(149)는 키입력부(145a)를 통해 DCD(10)에 기록된 소정 파일에 대한 재생예약시간이 입력되었는지를 판단한다(S315). 즉, 파일에 대한 정보를 알려주는 메세지에는 파일에 대한 재생예약여부에 대한 메세지가 포함된다.Also, the
소정파일에 대하여 재생예약시간이 입력된 것으로 판단되면, 제어부(149)는 재생예약시간을 음성메세지저장부(143)에 대응되는 음성메세지와 함께 저장시킨다. 또한, 제어부(149)는 타이머(146)에 의한 카운팅된 현재시각을 검색하여 카운팅된 현재시각이 재생예약시각에 도달했을 때 대응되는 파일이 재생되도록 DCDP(100)를 제어한다(S317).The
상기의 경우에는 재생예약시간 전에 재생예약을 알리는 음성메세지를 음성출력부(144)를 통해 출력시키며, 재생예약시간에 도달되었을 때, 대응되는 파일을 재생시키도록 구현되었지만 여기에 한정되는 것은 아니다. 즉, 설정시각이 재생예약시각과 같도록 구현될 수도 있으며, 이 경우에는 제어부(149)는 타이머(146)에 의해 카운팅된 현재시각이 재생예약시각에 도달될 때, 음성메세지를 음성출력부(144)를 통해 출력시키며, 동시에 대응되는 파일이 재생되도록 DCDP(100)를 제어하게 된다. 즉, 도 8에 나타낸 바와 같이 타이머(146)에 의해 카운팅된 현재시각이 12시로 설정된 설정시각에 도달되면, 제어부(149)는 음성메세지저장부(143)로부터 "OO곡의 재생예약시간입니다. 편안하게 들어보세요"라는 음성메세지를 음성출력부(144)를 통해 출력시킴과 동시에 해당되는 DCD(10)로부터 OO곡을 인출하여 재생시킨다.In this case, the
도 9는 도 1에 의한 배터리잔량 검출 및 그 결과에 따른 음성출력방법을 나타낸 흐름도이고, 도 10은 도 9의 경우에 출력되는 음성출력 메세지의 일 예를 나타낸 도면이다. 도면을 참조하면, 사용자는 키입력부(145a)를 통해 설정시각 및 설정내용을 입력한다(S501). 또한, 사용자는 음성입력부(145b)를 통하여 사용자의 음성메세지를 입력할 수도 있다(S503). 이 경우, 제어부(149)는 사용자에 의해 입력 된 음성메세지를 음성메세지저장부(143)에 저장시킨다(S505).FIG. 9 is a flowchart illustrating the remaining battery level detection and sound output method according to the present invention, and FIG. 10 is a diagram illustrating an example of a voice output message output in the case of FIG. Referring to the drawing, the user inputs setting time and setting contents through the
또한, 제어부(149)는 타이머(146)에 의해 카운팅된 현재시각을 검색한다(S507). 제어부(149)는 검색된 현재시각이 키입력부(145a)를 통해 입력된 설정시각에 도달되었는지를 판단한다(S509).Further, the
검색된 현재시각이 설정시각에 도달되면, 제어부(149)는 배터리잔량검출부(142)를 통하여 배터리의 잔량을 검출한다(S511). 제어부(149)는 배터리잔량검출부(142)에 의해 검출된 배터리의 잔량이 소정치이하인지를 판단한다(S513). 배터리잔량검출부(142)에 의해 검출된 배터리의 잔량이 소정치 이하인것으로 판단되면, 제어부(149)는 음성메세지저장부(143)로부터 대응되는 음성메세지를 인출하여(S515) 음성출력부(144)를 통해 인출된 음성메세지를 출력시킨다(S517). 예를 들면, 배터리잔량검출부(142)에 의해 배터리의 잔량을 검출하는 시각은 5분간격으로 설정될 수 있으며, 제어부(149)는 설정된 시각에 검출된 배터리의 잔량이 소정치 이하이면 대응되는 음성메세지를 음성출력부(144)를 통해 출력시키도록 구현된다. 또한, 배터리의 잔량에 대한 소정치는 단계별로 설정될 수도 있다. 즉, 제어부(149)는 음성출력부(144)를 통하여 9시에는 9곡분량만큼 남아있는 배터리잔량에 대한 음성메세지를 출력시키며, 10시 30분에는 2곡분량만큼 남아있는 배터리잔량에 대한 음성메세지를 출력시키고, 11시에는 배터리가 거의 떨어진 상태에 대한 음성메세지를 출력시키도록 구현될 수 있다.When the searched present time reaches the set time, the
도 11은 도 1에 의한 에러발생여부에 따른 음성출력방법을 나타낸 흐름도이고, 도 12는 도 11의 경우에 출력되는 음성출력 메세지의 일 예를 나타낸 도면이 다. 도면을 참조하면, 사용자는 입력부(145)를 통하여 사용자명령을 입력한다(S701). 여기서, 사용자명령은 키입력부(145a)를 통하여 입력되는 명령 및 음성입력부(145b)를 통해 입력되는 음성명령을 포함한다. 키입력부(145a) 또는 음성입력부(145b)를 통하여 사용자명령이 입력되면, 제어부(149)는 입력된 사용자명령에 에러가 발생되었는지를 판단한다(S703).FIG. 11 is a flowchart illustrating an audio output method according to whether an error is generated according to FIG. 1, and FIG. 12 is a view illustrating an example of a voice output message output in the case of FIG. Referring to the drawing, the user inputs a user command through the input unit 145 (S701). Here, the user command includes a command input through the
입력된 사용자명령에 에러가 발생되면, 제어부(149)는 음성메세지저장부(143)로부터 발생된 에러에 대한 이유 및 해결방법을 제시하는 메세지를 인출하여(S705) 음성출력부(144)를 통해 인출된 음성메세지를 출력시킨다(S707). 예컨대, DCD(10)를 장착하지 않은 상태에서 DCD(10)에 대한 재생명령을 입력하게 되면, 제어부(149)는 "디스크가 삽입되어 있지 않습니다. 디스크를 삽입한 후에 다시 명령해 주세요"라는 음성메세지를 출력시키도록 구현될 수 있다.If an error occurs in the input user command, the
입력된 사용자명령에 에러가 발생되지 않으면, 제어부(149)는 음성메세지저장부(143)로부터 사용자명령에 대응되는 동작처리에 대한 메세지를 인출하여(S709) 음성출력부(144)를 통해 인출된 음성메세지를 출력시킨다(S707). 예컨대, DCD(10) 및 DCDP(100)가 정상적으로 동작중인 상태에서 재생예약명령이 입력되면, 제어부(149)는 "선택하신 곡은 8월 7일 오후 3시에 재생예약되었습니다. 재생예약된 시간에 재생시켜 드리겠습니다."라는 음성메세지를 출력시키도록 구현될 수 있다.If no error is generated in the input user command, the
도 13은 도 1에 의한 사용자의 바이오리듬에 따른 음성출력방법을 나타낸 흐 름도이다. 도면을 참조하면, 사용자는 키입력부(145a)를 통해 설정시각 및 설정내용을 입력한다(S901). 또한, 사용자는 음성입력부(145b)를 통하여 음성메세지를 입력할 수도 있다(S903). 제어부(149)는 사용자에 의해 입력된 음성메세지를 음성메세지저장부(143)에 저장시킨다(S905). 또한, 제어부(149)는 외부인터페이스부(148)를 통하여 접속된 컴퓨터(200)로부터 사용자의 바이오리듬 프로그램을 다운로드한다(S907). 컴퓨터(200)로부터 다운로드된 사용자의 바이오리듬 프로그램은 제어부(149)에 의해 제어되어 바이오리듬 저장부(143-1)에 저장된다(S909). 여기서, 컴퓨터(200)는 인터넷을 통하여 접속된 서버로부터 바이오리듬 프로그램을 다운로드할 수 있으며, 컴퓨터(200)에 다운로드된 바이오리듬 프로그램에 사용자에 대한 정보를 입력함으로써 사용자의 바이오리듬을 저장할 수 있게 된다.13 is a flowchart showing a method of outputting audio according to the biorhythm of the user according to FIG. Referring to the drawing, a user inputs setting time and setting contents through a
제어부(149)는 타이머(146)에 의해 카운팅된 현재시각을 검색한다(S911). 또한, 제어부(149)는 검색된 현재시각이 키입력부(145a)를 통해 입력된 설정시각에 도달되었는지를 판단한다(S913).The
제어부(149)에 의해 검색된 현재시각이 키입력부(145a)를 통해 입력된 설정시각에 도달된 것으로 판단되면, 제어부(149)는 바이오리듬저장부(143-1)에 저장된 사용자의 바이오리듬을 검색한다(S915). 제어부(149)는 검색된 사용자의 바이오리듬에 따라 음성메세지저장부(143)로부터 검색된 사용자 바이오리듬에 대응되는 음성메세지를 인출하여(S917) 음성출력부(144)를 통해 인출된 음성메세지를 출력시킨다. 여기서, 음성메세지저장부(143)에 저장되는 음성메세지는 사용자의 바이오리듬 상태에 따라 명랑할 때 출력될 메세지, 침체된 기분일 때 출력될 메세지 등으로 분 류되어 저장될 수 있다. 또한, DCD(10)에 기록된 파일들도 음성메세지와 동일하게 분류될 수 있으며, 제어부(149)는 사용자의 바이오리듬을 검색하여 그 검색된 바이오리듬 상태에 따라 분류된 음성메세지 중의 어느 하나를 선택하여 음성출력부(144)를 통해 출력시킬 수 있다. 또한, 이 경우 출력된 음성메세지에 대응되는 파일을 독출하여 재생시키도록 DCDP(100)를 제어할 수도 있다.If it is determined that the current time retrieved by the
이로써, DCDP(100)는 DCDP(100)의 동작수행에 대한 메세지를 단순히 표시부(147)에 표시시키는 것이 아니라 음성으로 출력시킬 수 있게 됨으로써 중요한 메세지의 경우에 사용자의 주의를 환기시켜 간과될 가능성을 줄일 수 있게 된다. 뿐만아니라, DCDP(100)는 음성으로 출력되기 때문에 보다 인간적인 제품으로 느껴지게 되며, 그것은 인간의 호기심을 자극하여 궁극적으로는 제품수요의 증대를 가져오게 된다.Thus, the
도 14는 도 1에 의한 파일명 기록방법을 나타낸 흐름도이다. 도면을 참조하면, 사용자는 입력부(145)를 통해 DCD(10)에 기록하기 위한 파일의 파일명을 입력한다(S1101). 입력부(145)를 통해 파일명이 입력되면, 제어부(149)는 DCD(10) 내의 기록될 파일이 위치될 부디렉토리 내에 입력된 파일명과 동일한 파일명이 존재하는지를 판단한다(S1103). DCD(10) 내의 기록될 파일이 위치될 부디렉토리 내에 입력된 파일명과 동일한 파일명이 존재하는 경우에 제어부(149)는 입력된 파일명에 대한 식별번호부가 여부의 선택메뉴를 표시부(147)에 표시시킨다(S1105). 사용자는 표시부(147)에 표시된 입력된 파일명에 대한 식별번호부가 여부의 선택메뉴에 따라 입력된 파일명에 식별번호를 부가할 것인지를 결정하여 선택명령을 입력부(145)를 통해 입력한다. 제어부(149)는 입력부(145)를 통해 입력된 사용자의 선택명령이 식별번호부가명령인지를 판단한다(S1107).14 is a flowchart showing a file name recording method according to FIG. Referring to the drawing, a user inputs a file name of a file to be recorded in the
입력부(145)를 통해 입력된 선택명령이 입력된 파일명에 대해 식별번호를 부가하라는 명령이면, 제어부(149)는 입력된 파일명에 식별번호를 부가하여 DCD(10)에 기록시킨다(S1109). 여기서, 입력된 파일명에 부가되는 식별번호는 예를 들면, 처음에 입력된 파일명이 '사무실'인 경우에 DCD(10) 내의 그 파일이 위치될 부디렉토리 내에 동일한 파일명 '사무실'이 존재하는 것으로 판단되면, 사용자에 의해 선택된 식별번호 부가명령에 따라 제어부(149)는 '사무실-2'라는 파일명을 DCD(10) 내의 파일이 위치될 부디렉토리 내에 기록시키게 된다. DCD(10) 내의 파일이 위치될 부디렉토리 내에 파일명이 기록되면, 제어부(149)는 식별번호가 부가되어 기록된 파일명 내에 파일을 기록시킨다(S1111).If the selection command input through the
입력부(145)를 통해 입력된 선택명령이 입력된 파일명에 대해 식별번호를 부가하라는 명령이 아니거나 소정 시간내에 선택명령이 입력되지 않으면, 제어부(149)는 표시부(147)를 통해 입력된 파일명을 변경할 것인지에 대한 문의메세지를 표시시킨다. 표시부(147)에 표시된 문의메세지에 의해 사용자는 입력된 파일명을 변경할 것인지를 결정하고 그 변경여부에 대한 명령을 입력부(145)를 통해 입력한다. 입력부(145)를 통해 파일명 변경여부에 대한 명령이 입력되면, 제어부(149)는 파일명 변경여부에 대한 명령이 파일명 변경명령인지를 판단한다(S1115).If the selection command input through the
파일명 변경여부에 대한 명령이 파일명 변경명령인 것으로 판단되면, 제어부(149)는 입력부(145)를 통해 변경된 파일명이 입력될 것을 기다린다. 입력부(145)를 통해 변경된 파일명이 입력되면(S1113), 제어부(149)는 변경된 파일명에 대하여 다시 DCD(10) 내의 파일이 위치될 부디렉토리 내에 동일한 파일명이 존재하는지를 판단하며(S1103), 이후의 절차는 상술한 바와 동일하다.If it is determined that the file name change command is a file name change command, the
소정시간 내에 파일명 변경명령이 입력되지 않거나 입력부(145)를 통해 입력된 파일명 변경여부에 대한 명령이 파일명을 변경하지 말라는 명령이면, 제어부(149)는 파일명 기록과정에 대한 절차를 종료시킨다.If the file name change command is not input within a predetermined time, or if the command for changing the file name inputted through the
DCD(10) 내의 파일이 위치될 부디렉토리 내에 입력된 파일명과 동일한 파일명이 존재하지 않는 것으로 판단되면, 제어부(149)는 입력된 파일명을 DCD(10) 내의 파일이 위치될 부디렉토리 내에 기록시키고(S1117), 파일을 기록된 파일명 내에 기록시킨다(S1111). 이로써 DCD(10)에 파일명을 기록하는 과정은 종료된다.If it is determined that there is no file name identical to the file name input in the subdirectory where the file in the
도 15는 도 1에 의한 디렉토리명 기록방법을 나타낸 흐름도이다. 도면을 참조하면, 사용자는 입력부(145)를 통해 DCD(10)에 기록하기 위한 파일의 디렉토리명을 입력한다(S1301). 입력부(145)를 통해 디렉토리명이 입력되면, 제어부(149)는 DCD(10) 내의 기록될 파일이 위치될 부디렉토리 내에 입력된 디렉토리명과 동일한 디렉토리명이 존재하는지를 판단한다(S1303). DCD(10) 내의 기록될 파일이 위치될 부디렉토리 내에 입력된 디렉토리명과 동일한 디렉토리명이 존재하면, 제어부(149)는 입력된 디렉토리명에 대한 식별번호부가 여부의 선택메뉴를 표시부(147)에 표시시킨다(S1305). 사용자는 표시부(147)에 표시된 입력된 디렉토리명에 대한 식별번호부가 여부의 선택메뉴에 따라 입력된 디렉토리명에 식별번호를 부가할 것인지를 결정하여 선택명령을 입력부(145)를 통해 입력한다. 제어부(149)는 입력부(145)를 통해 입력된 사용자의 선택명령이 식별번호부가명령인지를 판단한다(S1307).15 is a flowchart showing a directory name recording method according to FIG. Referring to the drawing, a user inputs a directory name of a file to be recorded in the
입력부(145)를 통해 입력된 선택명령이 입력된 디렉토리명에 대해 식별번호를 부가하라는 명령이면, 제어부(149)는 입력된 디렉토리명에 식별번호를 부가하여 DCD(10)에 기록시킨다(S1309). 여기서, 입력된 디렉토리명에 부가되는 식별번호는 상술한 파일명에 대한 식별번호의 부가의 경우와 동일하다. DCD(10) 내의 파일이 위치될 부디렉토리 내에 디렉토리명이 기록되면, 제어부(149)는 식별번호가 부가되어 기록된 디렉토리명 내에 파일을 기록시킨다(S1311).The
입력부(145)를 통해 입력된 선택명령이 입력된 디렉토리명에 대해 식별번호를 부가하라는 명령이 아니거나 소정 시간내에 선택명령이 입력되지 않으면, 제어부(149)는 표시부(147)를 통해 입력된 디렉토리명을 변경할 것인지에 대한 문의메세지를 표시시킨다. 표시부(147)에 표시된 문의메세지에 의해 사용자는 입력된 디렉토리명을 변경할 것인지를 결정하고 그 변경여부에 대한 명령을 입력부(145)를 통해 입력한다. 입력부(145)를 통해 디렉토리명 변경여부에 대한 명령이 입력되면, 제어부(149)는 디렉토리명 변경여부에 대한 명령이 디렉토리명 변경명령인지를 판단한다(S1315).If the selection command input through the
디렉토리명 변경여부에 대한 명령이 디렉토리명 변경명령인 것으로 판단되면, 제어부(149)는 입력부(145)를 통해 변경된 디렉토리명이 입력될 것을 기다린다. 입력부(145)를 통해 변경된 디렉토리명이 입력되면(S1313), 제어부(149)는 변경된 디렉토리명에 대하여 다시 DCD(10) 내의 파일이 위치될 부디렉토리 내에 동일한 디렉토리명이 존재하는지를 판단하며(S1303), 이후의 절차는 상술한 바와 동일하다.If it is determined that the command for changing the directory name is a directory name change command, the
소정시간 내에 디렉토리명 변경명령이 입력되지 않거나 입력부(145)를 통해 입력된 디렉토리명 변경여부에 대한 명령이 디렉토리명을 변경하지 말라는 명령이면, 제어부(149)는 디렉토리명 기록과정에 대한 절차를 종료시킨다.If the directory name change command is not input within a predetermined time, or if the command for changing the directory name input through the
DCD(10) 내의 파일이 위치될 부디렉토리 내에 입력된 디렉토리명과 동일한 디렉토리명이 존재하지 않는 것으로 판단되면, 제어부(149)는 입력된 디렉토리명을 DCD(10) 내의 파일이 위치될 부디렉토리 내에 기록시키고(S1317), 파일을 기록된 디렉토리명 내에 기록시킨다(S1311). 이로써 DCD(10)에 디렉토리명을 기록하는 과정은 종료된다.If it is determined that there is no directory name identical to the directory name input in the subdirectory in which the file in the
이로써, DCDP(100)는 DCD(10) 내에 파일명/디렉토리명을 기록하는 경우에 해당되는 파일이 위치될 부디렉토리 내에 동일한 파일명/디렉토리명이 존재하게 되면 입력된 파일명/디렉토리명에 식별번호를 부가하여 기록시킴으로써 반복적인 파일명/디렉토리명의 입력과정을 피할 수 있게 된다.Thus, when the file name / directory name is recorded in the
본 발명에 따르는 휴대용 기기는 휴대용 기기의 동작처리에 대한 메세지 등을 단순히 표시부에 표시시키는 것이 아니라 음성으로 출력시킬 수 있게 됨으로써 보다 인간적인 제품으로 느껴질 수 있게 되며, 그것은 인간의 호기심을 자극하여 궁극적으로는 제품수요의 증대를 가져올 수 있게 된다.The portable device according to the present invention can be displayed as a human product by not only displaying a message on the operation process of the portable device on the display unit but also outputting it by voice so that it can stimulate the curiosity of human beings and ultimately Thereby increasing the demand for products.
또한, 기록매체에 파일명/디렉토리명을 기록하는 경우에 기록매체 내의 파일이 기록될 부디렉토리 내에 동일한 파일명/디렉토리명이 존재하면 자동으로 식별번호를 부가하여 기록시킬 수 있게 됨으로써 반복적인 조작작업을 피할 수 있게 된다.Also, when a file name / directory name is recorded on a recording medium, if an identical file name / directory name exists in a sub directory where a file in the recording medium is to be recorded, an identification number can be automatically added and recorded. .
이상에서는 본 발명의 바람직한 실시예에 대해서 도시하고 설명하였으나, 본 발명은 상술한 특정의 실시예에 한정되지 아니하며, 청구범위에서 청구하는 본 발명의 요지를 벗어남이 없이 당해 발명이 속하는 기술분야에서 통상의 지식을 가진 자라면 누구든지 다양한 변형 실시가 가능한 것은 물론이고, 그와 같은 변경은 청구범위 기재의 범위 내에 있게 된다.While the present invention has been particularly shown and described with reference to exemplary embodiments thereof, it is clearly understood that the same is by way of illustration and example only and is not to be construed as limiting the scope of the invention as defined by the appended claims. It will be understood by those skilled in the art that various changes may be made and equivalents may be substituted without departing from the scope of the appended claims.
| Application Number | Priority Date | Filing Date | Title |
|---|---|---|---|
| KR1020010051090AKR100761474B1 (en) | 2001-08-23 | 2001-08-23 | Audio output method and file name / directory name recording method using portable device and its portable device |
| Application Number | Priority Date | Filing Date | Title |
|---|---|---|---|
| KR1020010051090AKR100761474B1 (en) | 2001-08-23 | 2001-08-23 | Audio output method and file name / directory name recording method using portable device and its portable device |
| Publication Number | Publication Date |
|---|---|
| KR20030016993A KR20030016993A (en) | 2003-03-03 |
| KR100761474B1true KR100761474B1 (en) | 2007-09-27 |
| Application Number | Title | Priority Date | Filing Date |
|---|---|---|---|
| KR1020010051090AExpired - Fee RelatedKR100761474B1 (en) | 2001-08-23 | 2001-08-23 | Audio output method and file name / directory name recording method using portable device and its portable device |
| Country | Link |
|---|---|
| KR (1) | KR100761474B1 (en) |
| Publication number | Priority date | Publication date | Assignee | Title |
|---|---|---|---|---|
| US8677377B2 (en) | 2005-09-08 | 2014-03-18 | Apple Inc. | Method and apparatus for building an intelligent automated assistant |
| US9318108B2 (en) | 2010-01-18 | 2016-04-19 | Apple Inc. | Intelligent automated assistant |
| US8977255B2 (en) | 2007-04-03 | 2015-03-10 | Apple Inc. | Method and system for operating a multi-function portable electronic device using voice-activation |
| US9330720B2 (en) | 2008-01-03 | 2016-05-03 | Apple Inc. | Methods and apparatus for altering audio output signals |
| US8996376B2 (en) | 2008-04-05 | 2015-03-31 | Apple Inc. | Intelligent text-to-speech conversion |
| US10496753B2 (en) | 2010-01-18 | 2019-12-03 | Apple Inc. | Automatically adapting user interfaces for hands-free interaction |
| US20100030549A1 (en) | 2008-07-31 | 2010-02-04 | Lee Michael M | Mobile device having human language translation capability with positional feedback |
| WO2010067118A1 (en) | 2008-12-11 | 2010-06-17 | Novauris Technologies Limited | Speech recognition involving a mobile device |
| US10241752B2 (en) | 2011-09-30 | 2019-03-26 | Apple Inc. | Interface for a virtual digital assistant |
| US20120309363A1 (en) | 2011-06-03 | 2012-12-06 | Apple Inc. | Triggering notifications associated with tasks items that represent tasks to perform |
| US10241644B2 (en) | 2011-06-03 | 2019-03-26 | Apple Inc. | Actionable reminder entries |
| US9858925B2 (en) | 2009-06-05 | 2018-01-02 | Apple Inc. | Using context information to facilitate processing of commands in a virtual assistant |
| US9431006B2 (en) | 2009-07-02 | 2016-08-30 | Apple Inc. | Methods and apparatuses for automatic speech recognition |
| US10679605B2 (en) | 2010-01-18 | 2020-06-09 | Apple Inc. | Hands-free list-reading by intelligent automated assistant |
| US10705794B2 (en) | 2010-01-18 | 2020-07-07 | Apple Inc. | Automatically adapting user interfaces for hands-free interaction |
| US10553209B2 (en) | 2010-01-18 | 2020-02-04 | Apple Inc. | Systems and methods for hands-free notification summaries |
| US10276170B2 (en) | 2010-01-18 | 2019-04-30 | Apple Inc. | Intelligent automated assistant |
| DE112011100329T5 (en) | 2010-01-25 | 2012-10-31 | Andrew Peter Nelson Jerram | Apparatus, methods and systems for a digital conversation management platform |
| US8682667B2 (en) | 2010-02-25 | 2014-03-25 | Apple Inc. | User profiling for selecting user specific voice input processing information |
| US10762293B2 (en) | 2010-12-22 | 2020-09-01 | Apple Inc. | Using parts-of-speech tagging and named entity recognition for spelling correction |
| US9262612B2 (en) | 2011-03-21 | 2016-02-16 | Apple Inc. | Device access using voice authentication |
| US10057736B2 (en) | 2011-06-03 | 2018-08-21 | Apple Inc. | Active transport based notifications |
| US8994660B2 (en) | 2011-08-29 | 2015-03-31 | Apple Inc. | Text correction processing |
| US10134385B2 (en) | 2012-03-02 | 2018-11-20 | Apple Inc. | Systems and methods for name pronunciation |
| US9483461B2 (en) | 2012-03-06 | 2016-11-01 | Apple Inc. | Handling speech synthesis of content for multiple languages |
| US9280610B2 (en) | 2012-05-14 | 2016-03-08 | Apple Inc. | Crowd sourcing information to fulfill user requests |
| US9721563B2 (en) | 2012-06-08 | 2017-08-01 | Apple Inc. | Name recognition system |
| US9495129B2 (en) | 2012-06-29 | 2016-11-15 | Apple Inc. | Device, method, and user interface for voice-activated navigation and browsing of a document |
| US9576574B2 (en) | 2012-09-10 | 2017-02-21 | Apple Inc. | Context-sensitive handling of interruptions by intelligent digital assistant |
| US9547647B2 (en) | 2012-09-19 | 2017-01-17 | Apple Inc. | Voice-based media searching |
| DE212014000045U1 (en) | 2013-02-07 | 2015-09-24 | Apple Inc. | Voice trigger for a digital assistant |
| US9368114B2 (en) | 2013-03-14 | 2016-06-14 | Apple Inc. | Context-sensitive handling of interruptions |
| WO2014144579A1 (en) | 2013-03-15 | 2014-09-18 | Apple Inc. | System and method for updating an adaptive speech recognition model |
| AU2014233517B2 (en) | 2013-03-15 | 2017-05-25 | Apple Inc. | Training an at least partial voice command system |
| WO2014197336A1 (en) | 2013-06-07 | 2014-12-11 | Apple Inc. | System and method for detecting errors in interactions with a voice-based digital assistant |
| WO2014197334A2 (en) | 2013-06-07 | 2014-12-11 | Apple Inc. | System and method for user-specified pronunciation of words for speech synthesis and recognition |
| US9582608B2 (en) | 2013-06-07 | 2017-02-28 | Apple Inc. | Unified ranking with entropy-weighted information for phrase-based semantic auto-completion |
| WO2014197335A1 (en) | 2013-06-08 | 2014-12-11 | Apple Inc. | Interpreting and acting upon commands that involve sharing information with remote devices |
| US10176167B2 (en) | 2013-06-09 | 2019-01-08 | Apple Inc. | System and method for inferring user intent from speech inputs |
| DE112014002747T5 (en) | 2013-06-09 | 2016-03-03 | Apple Inc. | Apparatus, method and graphical user interface for enabling conversation persistence over two or more instances of a digital assistant |
| AU2014278595B2 (en) | 2013-06-13 | 2017-04-06 | Apple Inc. | System and method for emergency calls initiated by voice command |
| DE112014003653B4 (en) | 2013-08-06 | 2024-04-18 | Apple Inc. | Automatically activate intelligent responses based on activities from remote devices |
| US9620105B2 (en) | 2014-05-15 | 2017-04-11 | Apple Inc. | Analyzing audio input for efficient speech and music recognition |
| US10592095B2 (en) | 2014-05-23 | 2020-03-17 | Apple Inc. | Instantaneous speaking of content on touch devices |
| US9502031B2 (en) | 2014-05-27 | 2016-11-22 | Apple Inc. | Method for supporting dynamic grammars in WFST-based ASR |
| US9760559B2 (en) | 2014-05-30 | 2017-09-12 | Apple Inc. | Predictive text input |
| US10170123B2 (en) | 2014-05-30 | 2019-01-01 | Apple Inc. | Intelligent assistant for home automation |
| US9715875B2 (en) | 2014-05-30 | 2017-07-25 | Apple Inc. | Reducing the need for manual start/end-pointing and trigger phrases |
| US9785630B2 (en) | 2014-05-30 | 2017-10-10 | Apple Inc. | Text prediction using combined word N-gram and unigram language models |
| US9430463B2 (en) | 2014-05-30 | 2016-08-30 | Apple Inc. | Exemplar-based natural language processing |
| US10078631B2 (en) | 2014-05-30 | 2018-09-18 | Apple Inc. | Entropy-guided text prediction using combined word and character n-gram language models |
| CN110797019B (en) | 2014-05-30 | 2023-08-29 | 苹果公司 | Multi-command single speech input method |
| US9842101B2 (en) | 2014-05-30 | 2017-12-12 | Apple Inc. | Predictive conversion of language input |
| US9633004B2 (en) | 2014-05-30 | 2017-04-25 | Apple Inc. | Better resolution when referencing to concepts |
| US9734193B2 (en) | 2014-05-30 | 2017-08-15 | Apple Inc. | Determining domain salience ranking from ambiguous words in natural speech |
| US10289433B2 (en) | 2014-05-30 | 2019-05-14 | Apple Inc. | Domain specific language for encoding assistant dialog |
| US10659851B2 (en) | 2014-06-30 | 2020-05-19 | Apple Inc. | Real-time digital assistant knowledge updates |
| US9338493B2 (en) | 2014-06-30 | 2016-05-10 | Apple Inc. | Intelligent automated assistant for TV user interactions |
| US10446141B2 (en) | 2014-08-28 | 2019-10-15 | Apple Inc. | Automatic speech recognition based on user feedback |
| US9818400B2 (en) | 2014-09-11 | 2017-11-14 | Apple Inc. | Method and apparatus for discovering trending terms in speech requests |
| US10789041B2 (en) | 2014-09-12 | 2020-09-29 | Apple Inc. | Dynamic thresholds for always listening speech trigger |
| US9886432B2 (en) | 2014-09-30 | 2018-02-06 | Apple Inc. | Parsimonious handling of word inflection via categorical stem + suffix N-gram language models |
| US9668121B2 (en) | 2014-09-30 | 2017-05-30 | Apple Inc. | Social reminders |
| US10074360B2 (en) | 2014-09-30 | 2018-09-11 | Apple Inc. | Providing an indication of the suitability of speech recognition |
| US10127911B2 (en) | 2014-09-30 | 2018-11-13 | Apple Inc. | Speaker identification and unsupervised speaker adaptation techniques |
| US9646609B2 (en) | 2014-09-30 | 2017-05-09 | Apple Inc. | Caching apparatus for serving phonetic pronunciations |
| US10552013B2 (en) | 2014-12-02 | 2020-02-04 | Apple Inc. | Data detection |
| US9711141B2 (en) | 2014-12-09 | 2017-07-18 | Apple Inc. | Disambiguating heteronyms in speech synthesis |
| US9865280B2 (en) | 2015-03-06 | 2018-01-09 | Apple Inc. | Structured dictation using intelligent automated assistants |
| US9886953B2 (en) | 2015-03-08 | 2018-02-06 | Apple Inc. | Virtual assistant activation |
| US9721566B2 (en) | 2015-03-08 | 2017-08-01 | Apple Inc. | Competing devices responding to voice triggers |
| US10567477B2 (en) | 2015-03-08 | 2020-02-18 | Apple Inc. | Virtual assistant continuity |
| US9899019B2 (en) | 2015-03-18 | 2018-02-20 | Apple Inc. | Systems and methods for structured stem and suffix language models |
| US9842105B2 (en) | 2015-04-16 | 2017-12-12 | Apple Inc. | Parsimonious continuous-space phrase representations for natural language processing |
| US10083688B2 (en) | 2015-05-27 | 2018-09-25 | Apple Inc. | Device voice control for selecting a displayed affordance |
| US10127220B2 (en) | 2015-06-04 | 2018-11-13 | Apple Inc. | Language identification from short strings |
| US10101822B2 (en) | 2015-06-05 | 2018-10-16 | Apple Inc. | Language input correction |
| US9578173B2 (en) | 2015-06-05 | 2017-02-21 | Apple Inc. | Virtual assistant aided communication with 3rd party service in a communication session |
| US10255907B2 (en) | 2015-06-07 | 2019-04-09 | Apple Inc. | Automatic accent detection using acoustic models |
| US11025565B2 (en) | 2015-06-07 | 2021-06-01 | Apple Inc. | Personalized prediction of responses for instant messaging |
| US10186254B2 (en) | 2015-06-07 | 2019-01-22 | Apple Inc. | Context-based endpoint detection |
| US10671428B2 (en) | 2015-09-08 | 2020-06-02 | Apple Inc. | Distributed personal assistant |
| US10747498B2 (en) | 2015-09-08 | 2020-08-18 | Apple Inc. | Zero latency digital assistant |
| US9697820B2 (en) | 2015-09-24 | 2017-07-04 | Apple Inc. | Unit-selection text-to-speech synthesis using concatenation-sensitive neural networks |
| US11010550B2 (en) | 2015-09-29 | 2021-05-18 | Apple Inc. | Unified language modeling framework for word prediction, auto-completion and auto-correction |
| US10366158B2 (en) | 2015-09-29 | 2019-07-30 | Apple Inc. | Efficient word encoding for recurrent neural network language models |
| US11587559B2 (en) | 2015-09-30 | 2023-02-21 | Apple Inc. | Intelligent device identification |
| US10691473B2 (en) | 2015-11-06 | 2020-06-23 | Apple Inc. | Intelligent automated assistant in a messaging environment |
| US10049668B2 (en) | 2015-12-02 | 2018-08-14 | Apple Inc. | Applying neural network language models to weighted finite state transducers for automatic speech recognition |
| US10223066B2 (en) | 2015-12-23 | 2019-03-05 | Apple Inc. | Proactive assistance based on dialog communication between devices |
| US10446143B2 (en) | 2016-03-14 | 2019-10-15 | Apple Inc. | Identification of voice inputs providing credentials |
| US9934775B2 (en) | 2016-05-26 | 2018-04-03 | Apple Inc. | Unit-selection text-to-speech synthesis based on predicted concatenation parameters |
| US9972304B2 (en) | 2016-06-03 | 2018-05-15 | Apple Inc. | Privacy preserving distributed evaluation framework for embedded personalized systems |
| US10249300B2 (en) | 2016-06-06 | 2019-04-02 | Apple Inc. | Intelligent list reading |
| US10049663B2 (en) | 2016-06-08 | 2018-08-14 | Apple, Inc. | Intelligent automated assistant for media exploration |
| DK179309B1 (en) | 2016-06-09 | 2018-04-23 | Apple Inc | Intelligent automated assistant in a home environment |
| US10586535B2 (en) | 2016-06-10 | 2020-03-10 | Apple Inc. | Intelligent digital assistant in a multi-tasking environment |
| US10490187B2 (en) | 2016-06-10 | 2019-11-26 | Apple Inc. | Digital assistant providing automated status report |
| US10192552B2 (en) | 2016-06-10 | 2019-01-29 | Apple Inc. | Digital assistant providing whispered speech |
| US10509862B2 (en) | 2016-06-10 | 2019-12-17 | Apple Inc. | Dynamic phrase expansion of language input |
| US10067938B2 (en) | 2016-06-10 | 2018-09-04 | Apple Inc. | Multilingual word prediction |
| DK201670540A1 (en) | 2016-06-11 | 2018-01-08 | Apple Inc | Application integration with a digital assistant |
| DK179049B1 (en) | 2016-06-11 | 2017-09-18 | Apple Inc | Data driven natural language event detection and classification |
| DK179415B1 (en) | 2016-06-11 | 2018-06-14 | Apple Inc | Intelligent device arbitration and control |
| DK179343B1 (en) | 2016-06-11 | 2018-05-14 | Apple Inc | Intelligent task discovery |
| US10043516B2 (en) | 2016-09-23 | 2018-08-07 | Apple Inc. | Intelligent automated assistant |
| US10593346B2 (en) | 2016-12-22 | 2020-03-17 | Apple Inc. | Rank-reduced token representation for automatic speech recognition |
| DK201770439A1 (en) | 2017-05-11 | 2018-12-13 | Apple Inc. | Offline personal assistant |
| DK179745B1 (en) | 2017-05-12 | 2019-05-01 | Apple Inc. | SYNCHRONIZATION AND TASK DELEGATION OF A DIGITAL ASSISTANT |
| DK179496B1 (en) | 2017-05-12 | 2019-01-15 | Apple Inc. | USER-SPECIFIC Acoustic Models |
| DK201770431A1 (en) | 2017-05-15 | 2018-12-20 | Apple Inc. | Optimizing dialogue policy decisions for digital assistants using implicit feedback |
| DK201770432A1 (en) | 2017-05-15 | 2018-12-21 | Apple Inc. | Hierarchical belief states for digital assistants |
| DK179549B1 (en) | 2017-05-16 | 2019-02-12 | Apple Inc. | Far-field extension for digital assistant services |
| Publication number | Priority date | Publication date | Assignee | Title |
|---|---|---|---|---|
| JPH06266593A (en)* | 1993-03-11 | 1994-09-22 | Yamaha Corp | File managing method |
| KR980013040A (en)* | 1996-07-24 | 1998-04-30 | 김광호 | Wireless telephone for voice guidance of current time on a portable device and control method thereof |
| KR19980032894A (en)* | 1996-10-16 | 1998-07-25 | 미타라이 후지오 | Image management file management system |
| KR19980058937U (en)* | 1997-02-27 | 1998-10-26 | 정장호 | Mobile phone with schedule management function |
| KR20000010003A (en)* | 1998-07-29 | 2000-02-15 | 윤종용 | Method for performing alarm function in mobile phone |
| KR20000070716A (en)* | 1997-02-03 | 2000-11-25 | 마츠시타 덴끼 산교 가부시키가이샤 | Data processing system, recording/reproducing device, data processing method, and file management method |
| KR20010068001A (en)* | 2001-04-13 | 2001-07-13 | 김선식 | Mobile communication terminal with time warning and background image control |
| Publication number | Priority date | Publication date | Assignee | Title |
|---|---|---|---|---|
| JPH06266593A (en)* | 1993-03-11 | 1994-09-22 | Yamaha Corp | File managing method |
| KR980013040A (en)* | 1996-07-24 | 1998-04-30 | 김광호 | Wireless telephone for voice guidance of current time on a portable device and control method thereof |
| KR19980032894A (en)* | 1996-10-16 | 1998-07-25 | 미타라이 후지오 | Image management file management system |
| KR20000070716A (en)* | 1997-02-03 | 2000-11-25 | 마츠시타 덴끼 산교 가부시키가이샤 | Data processing system, recording/reproducing device, data processing method, and file management method |
| KR19980058937U (en)* | 1997-02-27 | 1998-10-26 | 정장호 | Mobile phone with schedule management function |
| KR20000010003A (en)* | 1998-07-29 | 2000-02-15 | 윤종용 | Method for performing alarm function in mobile phone |
| KR20010068001A (en)* | 2001-04-13 | 2001-07-13 | 김선식 | Mobile communication terminal with time warning and background image control |
| Publication number | Publication date |
|---|---|
| KR20030016993A (en) | 2003-03-03 |
| Publication | Publication Date | Title |
|---|---|---|
| KR100761474B1 (en) | Audio output method and file name / directory name recording method using portable device and its portable device | |
| JP3163119B2 (en) | Recording and playback device | |
| JP4490917B2 (en) | File management method and information processing apparatus | |
| KR100761473B1 (en) | File management device and file management method of portable device | |
| JPH0973461A (en) | Sentence information reproducing device using voice | |
| US6625626B1 (en) | Recording apparatus and recording method, reproducing apparatus and reproducing method, and recording medium | |
| US20020085456A1 (en) | Music piece data managing apparatus and in-vehicle audio information reproduction control system | |
| JP5146114B2 (en) | Music player | |
| US20070217767A1 (en) | Method of managing media files and media playback apparatus | |
| JP2002123297A (en) | Data storage and retrieval method for portable playback device | |
| JP4732218B2 (en) | Playback device | |
| KR100818237B1 (en) | Firmware Upgrade System and Method for Portable Devices | |
| KR100725489B1 (en) | Portable device to play the designated file automatically and file playback method using the file automatically | |
| KR100831372B1 (en) | Portable device with file delete / restore function and file deletion / restoration method | |
| JP5000093B2 (en) | Data processing method, portable playback device and computer | |
| KR100814423B1 (en) | Content upload system and method | |
| KR100806848B1 (en) | File routine display device and display method thereof, and portable device and file playback method using the same | |
| KR100725534B1 (en) | Portable device with initialization function and initialization control method thereof | |
| CN1175040A (en) | Portable dedicated electronic reader and method for playing magnetic or optical recording media | |
| KR100758988B1 (en) | Portable device and data recording / reading method using the mobile device | |
| JPH0756651B2 (en) | Document file search method | |
| US6789164B2 (en) | Method for directly writing data into optic disk | |
| US7719930B2 (en) | Apparatus and method for digital contents playback | |
| JP2000057038A (en) | Recording device and method, reproducing device and method and recording medium | |
| JPH07192386A (en) | Information playback device |
| Date | Code | Title | Description |
|---|---|---|---|
| PA0109 | Patent application | St.27 status event code:A-0-1-A10-A12-nap-PA0109 | |
| PN2301 | Change of applicant | St.27 status event code:A-3-3-R10-R13-asn-PN2301 St.27 status event code:A-3-3-R10-R11-asn-PN2301 | |
| R18-X000 | Changes to party contact information recorded | St.27 status event code:A-3-3-R10-R18-oth-X000 | |
| R18-X000 | Changes to party contact information recorded | St.27 status event code:A-3-3-R10-R18-oth-X000 | |
| PG1501 | Laying open of application | St.27 status event code:A-1-1-Q10-Q12-nap-PG1501 | |
| R18-X000 | Changes to party contact information recorded | St.27 status event code:A-3-3-R10-R18-oth-X000 | |
| PN2301 | Change of applicant | St.27 status event code:A-3-3-R10-R13-asn-PN2301 St.27 status event code:A-3-3-R10-R11-asn-PN2301 | |
| PN2301 | Change of applicant | St.27 status event code:A-3-3-R10-R13-asn-PN2301 St.27 status event code:A-3-3-R10-R11-asn-PN2301 | |
| A201 | Request for examination | ||
| PA0201 | Request for examination | St.27 status event code:A-1-2-D10-D11-exm-PA0201 | |
| D13-X000 | Search requested | St.27 status event code:A-1-2-D10-D13-srh-X000 | |
| D14-X000 | Search report completed | St.27 status event code:A-1-2-D10-D14-srh-X000 | |
| E902 | Notification of reason for refusal | ||
| PE0902 | Notice of grounds for rejection | St.27 status event code:A-1-2-D10-D21-exm-PE0902 | |
| E13-X000 | Pre-grant limitation requested | St.27 status event code:A-2-3-E10-E13-lim-X000 | |
| P11-X000 | Amendment of application requested | St.27 status event code:A-2-2-P10-P11-nap-X000 | |
| P13-X000 | Application amended | St.27 status event code:A-2-2-P10-P13-nap-X000 | |
| E701 | Decision to grant or registration of patent right | ||
| PE0701 | Decision of registration | St.27 status event code:A-1-2-D10-D22-exm-PE0701 | |
| GRNT | Written decision to grant | ||
| PR0701 | Registration of establishment | St.27 status event code:A-2-4-F10-F11-exm-PR0701 | |
| PR1002 | Payment of registration fee | St.27 status event code:A-2-2-U10-U11-oth-PR1002 Fee payment year number:1 | |
| PG1601 | Publication of registration | St.27 status event code:A-4-4-Q10-Q13-nap-PG1601 | |
| PR1001 | Payment of annual fee | St.27 status event code:A-4-4-U10-U11-oth-PR1001 Fee payment year number:4 | |
| PR1001 | Payment of annual fee | St.27 status event code:A-4-4-U10-U11-oth-PR1001 Fee payment year number:5 | |
| R18-X000 | Changes to party contact information recorded | St.27 status event code:A-5-5-R10-R18-oth-X000 | |
| FPAY | Annual fee payment | Payment date:20120830 Year of fee payment:6 | |
| PR1001 | Payment of annual fee | St.27 status event code:A-4-4-U10-U11-oth-PR1001 Fee payment year number:6 | |
| FPAY | Annual fee payment | Payment date:20130829 Year of fee payment:7 | |
| PR1001 | Payment of annual fee | St.27 status event code:A-4-4-U10-U11-oth-PR1001 Fee payment year number:7 | |
| FPAY | Annual fee payment | Payment date:20140828 Year of fee payment:8 | |
| PR1001 | Payment of annual fee | St.27 status event code:A-4-4-U10-U11-oth-PR1001 Fee payment year number:8 | |
| FPAY | Annual fee payment | Payment date:20150828 Year of fee payment:9 | |
| PR1001 | Payment of annual fee | St.27 status event code:A-4-4-U10-U11-oth-PR1001 Fee payment year number:9 | |
| LAPS | Lapse due to unpaid annual fee | ||
| PC1903 | Unpaid annual fee | St.27 status event code:A-4-4-U10-U13-oth-PC1903 Not in force date:20160919 Payment event data comment text:Termination Category : DEFAULT_OF_REGISTRATION_FEE | |
| P22-X000 | Classification modified | St.27 status event code:A-4-4-P10-P22-nap-X000 | |
| PC1903 | Unpaid annual fee | St.27 status event code:N-4-6-H10-H13-oth-PC1903 Ip right cessation event data comment text:Termination Category : DEFAULT_OF_REGISTRATION_FEE Not in force date:20160919 |