






도 1 은 종래의 지상파 DMB 전송 시스템의 일실시예 구성도,1 is a configuration diagram of an embodiment of a conventional terrestrial DMB transmission system;
도 2 는 본 발명에 따른 지상파 DMB 전송 시스템의 일실시예 구성도,2 is a configuration diagram of an embodiment of a terrestrial DMB transmission system according to the present invention;
도 3 은 본 발명에 따른 지상파 DMB 전송 시스템의 다른 실시예 구성도,3 is a configuration diagram of another embodiment of a terrestrial DMB transmission system according to the present invention;
도 4 는 본 발명에 따른 지상파 디지털 멀티미디어 방송 스트림 변환 장치의 일실시예 구성도,4 is a configuration diagram of an embodiment of a terrestrial digital multimedia broadcasting stream conversion device according to the present invention;
도 5 는 본 발명에 따른 지상파 디지털 멀티미디어 방송 스트림 변환 장치에서의 멀티미디어 스트림 변환 방법에 대한 일실시예 설명도,5 is a diagram for explaining a multimedia stream conversion method in a terrestrial digital multimedia broadcasting stream conversion device according to the present invention;
도 6 은 본 발명에 따른 지상파 디지털 멀티미디어 방송 스트림 변환 방법에 대한 일실시예 흐름도,6 is a flowchart illustrating a method for converting a terrestrial digital multimedia broadcast stream according to the present invention;
도 7 은 본 발명에 따른 지상파 DMB 전송 장치에서의 멀티미디어 스트림 전송 방법에 대한 일실시예 흐름도이다.7 is a flowchart illustrating a method of transmitting a multimedia stream in the terrestrial DMV transmission apparatus according to the present invention.
* 도면의 주요 부분에 대한 부호의 설명* Explanation of symbols for the main parts of the drawings
41 : PSI 추출부42 : PSI 분석부41: PSI extractor 42: PSI analyzer
43 : PSI 수정부44 : 타임코드 추출부43: PSI correction 44: Time code extraction unit
45 : 타임코드 수정부46 : 스트림 제거부45: time code correction unit 46: stream removal unit
47 : 스트림 다중화부47: stream multiplexer
본 발명은 지상파 디지털 멀티미디어 방송 스트림 변환 장치 및 그 방법과 그를 이용한 지상파 DMB 전송 장치 및 그 방법에 관한 것으로, 더욱 상세하게는 사용자의 요청에 따라 MPEG-2(Moving Picture Experts Group - 2) 기반의 지상파 디지털 멀티미디어 방송 스트림의 일부를 변환시킴으로써, 다양한 형식의 동영상 서비스를 제공하기 위한, 지상파 디지털 멀티미디어 방송 스트림 변환 장치 및 그 방법과 그를 이용한 지상파 DMB 전송 장치 및 그 방법에 관한 것이다.The present invention relates to a terrestrial digital multimedia broadcasting stream conversion apparatus and method, and a terrestrial DMV transmission apparatus using the same and a method thereof, and more particularly, to an MPEG-2 (Moving Picture Experts Group-2) based terrestrial wave according to a user's request. The present invention relates to a terrestrial digital multimedia broadcasting stream converting apparatus, a method, and a terrestrial DMB transmission apparatus using the same for providing a video service of various formats by converting a part of a digital multimedia broadcasting stream.
일반적으로, 디지털 멀티미디어 방송인 지상파 DMB(Digital Multimedia Broadcasting)는 CD(Compact Disk) 수준의 음질의 데이터 서비스 또는 동영상 서비스 등이 가능하고, 이동시에 우수한 수신 품질을 제공할 수 있는 디지털 방식의 멀티미디어 방송이다.In general, terrestrial digital multimedia broadcasting (DMB), which is a digital multimedia broadcasting, is a digital multimedia broadcasting capable of providing a data service or a video service of a compact disk (CD) level and providing excellent reception quality when moving.
이러한 지상파 DMB는 채널 대역폭이 매우 좁기 때문에 하나의 채널로 보낼 수 있는 데이터량 또한 매우 적다. 이에, 적은 데이터량으로 멀티미디어 방송 서비스를 제공할 수 있는 다양한 방송 서비스들이 개발되고 있다.Since terrestrial DMB has a very narrow channel bandwidth, the amount of data that can be sent on one channel is very small. Accordingly, various broadcast services that can provide a multimedia broadcasting service with a small amount of data have been developed.
그 일예로 비디오 스트림 및 오디오 스트림을 동기화시키지 않고, 프로그램의 시작시간과 종료시간만을 동기화시킨 오디오 방송을 기본으로 한 정지영상 서비스가 있다.For example, there is a still picture service based on an audio broadcast in which only a start time and an end time of a program are synchronized without synchronizing a video stream and an audio stream.
이러한 서비스는 서비스의 시작시간, 종료시간, 화면의 전환 시간만을 동기화시킬 뿐, 립싱크를 맞출 필요가 없기 때문에, 전체 동영상 방송 스트림 내의 특정 스트림, 즉 비디오 스트림 또는 오디오 스트림에 한해서 다른 특정의 비디오 스트림 또는 오디오 스트림으로 교체해도 무방하다.These services only synchronize the start time, end time, and screen switching time of the service, and do not require lip syncing, so that only certain streams within the entire video broadcast stream, i. You can replace it with an audio stream.
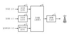
그러나, 도 1에 도시된 바와 같이 종래의 지상파 DMB 전송 시스템은 이러한 기능을 제공하지 못하고 있다. 하기에서 이를 좀 더 상세히 살펴보기로 한다.However, as shown in FIG. 1, the conventional terrestrial DMB transmission system does not provide such a function. We will look at this in more detail below.
도 1에 도시된 바와 같이, 종래의 지상파 DMB 전송 시스템은, 오디오 소스를 인코딩하기 위한 오디오 인코더(11), 데이터 소스를 인코딩하기 위한 데이터 인코더(12), 멀티미디어 소스를 인코딩하기 위한 멀티미디어 인코더(13), 상기 오디오 인코더(11)에서 인코딩한 오디오 스트림, 상기 데이터 인코더(12)에서 인코딩한 데이터 스트림, 및 상기 멀티미디어 인코더(13)에서 인코딩한 멀티미디어 스트림을 앙상블 전송 인터페이스(Ensemble Transport Interface) 규격의 프레임으로 다중화하기 위한 앙상블 다중화기(14), 및 상기 앙상블 다중화기(14)에서 다중화한 방송 스트림을 인코딩하기 위한 직교 부호화 주파수 분할 다중 방식(COFDM) 인코더(15)를 포함한다.As shown in FIG. 1, a conventional terrestrial DMB transmission system includes an
이러한 종래의 지상파 DMB 전송 시스템은 DMB 서비스를 제공할 때, 비디오와 오디오를 정확하게 동기화시켜 립싱크가 정확하게 맞는 동영상 방송 서비스, 즉 많은 전송률을 차지하는 동영상 방송 서비스 및 적은 전송률을 차지하고 립싱크를 맞출 필요가 없는 오디오 기반의 정지영상 서비스를 제공할 수 있다.The conventional terrestrial DMB transmission system accurately synchronizes video and audio when providing a DMB service, so that the lip sync is correctly matched, that is, a video broadcasting service that takes up a large bit rate, and that audio that takes up a small bit rate and does not need to match a lip sync Based still image service can be provided.
하지만, 오디오 기반의 정지영상 서비스에서 방송 스트림의 일부 스트림을 다른 스트림으로 교체할 수 없어, 시청자의 욕구를 만족시킬 수 있는 다양한 형태의 지상파 DMB 서비스를 제공하지 못하는 문제점이 있었다.However, in audio based still image service, some streams of a broadcast stream cannot be replaced with other streams, and thus, there is a problem in that various types of terrestrial DMB services that can satisfy viewers' needs cannot be provided.
본 발명은 상기 문제점을 해결하기 위하여 제안된 것으로, 사용자의 요청에 따라 제 1 스트림의 일부분을 제 2 스트림으로 변환하기 위한, 지상파 디지털 멀티미디어 방송 스트림 변환 장치 및 그 방법을 제공하는데 그 목적이 있다.The present invention has been proposed to solve the above problems, and an object thereof is to provide an apparatus and method for converting a terrestrial digital multimedia broadcasting stream for converting a portion of a first stream into a second stream at the request of a user.
또한, 본 발명은 비디오 스트림 및 오디오 스트림의 시작시간, 종료시간, 화면의 전환 시간만을 맞추고 정확하게 립싱크가 맞지 않는 서비스 제공시, 사용자의 요청에 따라 제 1 스트림의 일부분을 제 2 스트림으로 변환하여 제공함으로써, 시청자의 욕구를 만족시킬 수 있는 다양한 형태의 지상파 DMB 서비스를 제공하기 위한, 멀티미디어 스트림 변환 기능을 가지는 지상파 DMB 전송 장치 및 그 방법을 제공하는데 다른 목적이 있다.In addition, the present invention is to match the start time, end time, screen switching time of the video stream and audio stream, and when providing a service that does not lip sync correctly, converts a portion of the first stream to a second stream at the request of the user Accordingly, another object of the present invention is to provide a terrestrial DMB transmission device having a multimedia stream conversion function and a method thereof for providing various types of terrestrial DMB services that can satisfy viewers' needs.
본 발명의 또 다른 목적 및 장점들은 하기의 설명에 의해서 이해될 수 있으며, 본 발명의 실시예에 의해 보다 분명하게 알게 될 것이다. 또한, 본 발명의 목 적 및 장점들은 특허 청구 범위에 나타낸 수단 및 그 조합에 의해 실현될 수 있음을 쉽게 알 수 있을 것이다.Further objects and advantages of the present invention can be understood by the following description, and will be more clearly understood by the embodiments of the present invention. It will also be readily apparent that the objects and advantages of the invention may be realized by the means and combinations thereof indicated in the claims.
상기 목적을 달성하기 위한 본 발명의 장치는, 지상파 디지털 멀티미디어 방송 스트림 변환 장치에 있어서, 입력받은 제 1 스트림을 타임코드 추출수단으로 전달하고 제 1 스트림에서 PSI(Program Specific Information) 정보를 추출하기 위한 PSI 추출수단; 상기 PSI 추출수단에서 추출한 PSI 정보를 분석하여 제 1 스트림의 구성 정보를 획득하기 위한 PSI 분석수단; 사용자로부터 입력받은 PSI 수정정보에 따라 상기 PSI 추출수단이 추출한 PSI 정보에서 변환할 스트림에 대한 정보를 수정하기 위한 PSI 수정수단; 사용자로부터 입력받은 타임코드가 삽입되어 있는 스트림 정보를 이용하여 상기 PSI 추출수단을 통해 전달받은 제 1 스트림의 해당 스트림에서 타임코드 정보를 추출하기 위한 상기 타임코드 추출수단; 상기 타임코드 추출수단에서 추출한 타임코드를 이용하여 제 2 스트림의 타임코드를 수정하기 위한 타임코드 수정수단; 사용자로부터의 제거 스트림 정보에 따라 제 1 스트림에서 해당 스트림을 제거하기 위한 스트림 제거수단; 및 상기 PSI 수정수단에서 수정한 PSI 정보 스트림, 상기 스트림 제거수단에서 특정 스트림이 제거된 제 1 스트림, 및 상기 타임코드 수정수단에서 타임코드가 수정된 제 2 스트림을 다중화하기 위한 스트림 다중화수단을 포함하는 것을 특징으로 한다.An apparatus of the present invention for achieving the above object, in the terrestrial digital multimedia broadcasting stream conversion apparatus, for transmitting the first stream received to the time code extraction means and for extracting the program specific information (PSI) information from the first stream; PSI extraction means; PSI analyzing means for analyzing the PSI information extracted by the PSI extracting means to obtain configuration information of the first stream; PSI correction means for modifying information on the stream to be converted from the PSI information extracted by the PSI extraction means in accordance with the PSI correction information received from the user; The time code extracting means for extracting time code information from a corresponding stream of the first stream received through the PSI extracting means by using the stream information into which the time code input from the user is inserted; Time code correction means for modifying the time code of the second stream by using the time code extracted by the time code extraction means; Stream removing means for removing the corresponding stream from the first stream according to the removal stream information from the user; And a stream multiplexing means for multiplexing the PSI information stream modified by the PSI correcting means, a first stream from which a specific stream is removed from the stream removing means, and a second stream whose timecode has been modified by the time code correcting means. Characterized in that.
또한, 본 발명의 방법은, 지상파 디지털 멀티미디어 방송 스트림 변환 방법 에 있어서, 제 1 스트림에서 PSI(Program Specific Information) 정보를 추출한 후 분석하여 일 멀티미디어 스트림의 구성 정보를 획득하는 단계; 사용자로부터 입력받은 PSI 수정정보에 따라 PSI 정보를 수정하는 단계; 사용자로부터 입력받은 타임코드가 삽입되어 있는 스트림 정보를 이용하여 일 멀티미디어 스트림의 해당 스트림에서 타임코드 정보를 추출한 후 이를 이용하여 제 2 스트림의 타임코드를 수정하는 단계; 사용자로부터의 제거 스트림 정보에 따라 일 멀티미디어 스트림에서 해당 스트림을 제거하는 단계; 및 상기 수정한 PSI 정보 스트림, 상기 특정 스트림이 제거된 일 멀티미디어 스트림, 및 상기 타임코드가 수정된 타 멀티미디어 스트림을 다중화하는 단계를 포함하는 것을 특징으로 한다.In addition, the method of the present invention is a method for converting a terrestrial digital multimedia broadcasting stream, comprising: extracting and analyzing PSI (Program Specific Information) information from a first stream to obtain configuration information of one multimedia stream; Modifying the PSI information according to the PSI correction information received from the user; Extracting time code information from a corresponding stream of one multimedia stream using the stream information into which the time code inputted from the user is inserted and correcting the time code of the second stream using the extracted time code information; Removing the corresponding stream from one multimedia stream according to the removal stream information from the user; And multiplexing the modified PSI information stream, one multimedia stream from which the specific stream is removed, and another multimedia stream from which the time code is modified.
한편, 상기 다른 목적을 달성하기 위한 본 발명의 장치는, 지상파 DMB 전송 장치에 있어서, 오디오 소스를 인코딩하기 위한 오디오 인코딩수단; 데이터 소스를 인코딩하기 위한 데이터 인코딩수단; 실시간으로 입력되는 멀티미디어 소스를 인코딩하기 위한 멀티미디어 인코딩수단; 상기 멀티미디어 인코딩수단에서 인코딩한 일 멀티미디어 스트림(제 1 스트림)의 일부분을 타 멀티미디어 스트림(제 2 스트림)으로 변환하기 위한 스트림 변환수단; 상기 오디오 인코딩수단에서 인코딩한 오디오 스트림, 상기 데이터 인코딩수단에서 인코딩한 데이터 스트림, 및 상기 스트림 변환수단에서 변환한 멀티미디어 스트림(제 3 스트림)을 앙상블 전송 인터페이스(Ensemble Transport Interface) 규격의 프레임으로 다중화하기 위한 앙상블 다중화수단; 및 상기 앙상블 다중화수단에서 다중화한 방송 스트림(프레임)을 인코딩하기 위한 인코딩수단을 포함하는 것을 특징으로 한다.On the other hand, the apparatus of the present invention for achieving the above another object is a terrestrial DMV transmission apparatus, comprising: audio encoding means for encoding an audio source; Data encoding means for encoding a data source; Multimedia encoding means for encoding a multimedia source input in real time; Stream converting means for converting a part of one multimedia stream (first stream) encoded by said multimedia encoding means into another multimedia stream (second stream); Multiplexing the audio stream encoded by the audio encoding means, the data stream encoded by the data encoding means, and the multimedia stream (third stream) converted by the stream converting means into a frame of an ensemble transport interface standard. Ensemble multiplexing means for; And encoding means for encoding the broadcast stream (frame) multiplexed by the ensemble multiplexing means.
또한, 본 발명의 방법은, 지상파 DMB 전송 방법에 있어서, 오디오 소스를 인코딩하는 단계; 데이터 소스를 인코딩하는 단계; 실시간으로 입력되는 멀티미디어 소스 또는 스트림 저장기에 저장되어 있는 멀티미디어 소스를 인코딩하는 단계; 상기 인코딩한 일 멀티미디어 스트림(제 1 스트림)의 일부분을 입력받은 타 멀티미디어 스트림(제 2 스트림)으로 변환하는 단계; 상기 인코딩한 오디오 스트림, 상기 인코딩한 데이터 스트림, 및 상기 변환한 멀티미디어 스트림(제 3 스트림)을 앙상블 전송 인터페이스(Ensemble Transport Interface) 규격의 프레임으로 다중화하는 단계; 및 상기 다중화한 방송 스트림을 인코딩한 후 외부로 전송하는 단계를 포함하는 것을 특징으로 한다.In addition, the method of the present invention includes a method of transmitting a terrestrial DMV, comprising: encoding an audio source; Encoding a data source; Encoding a multimedia source stored in a multimedia source or a stream storage input in real time; Converting a portion of the encoded multimedia stream (first stream) into another received multimedia stream (second stream); Multiplexing the encoded audio stream, the encoded data stream, and the converted multimedia stream (third stream) into a frame of an ensemble transport interface standard; And encoding the multiplexed broadcast stream and transmitting it to the outside.
상술한 목적, 특징 및 장점은 첨부된 도면과 관련한 다음의 상세한 설명을 통하여 보다 분명해 질 것이며, 그에 따라 본 발명이 속하는 기술분야에서 통상의 지식을 가진 자가 본 발명의 기술적 사상을 용이하게 실시할 수 있을 것이다. 또한, 본 발명을 설명함에 있어서 본 발명과 관련된 공지 기술에 대한 구체적인 설명이 본 발명의 요지를 불필요하게 흐릴 수 있다고 판단되는 경우에 그 상세한 설명을 생략하기로 한다. 이하, 첨부된 도면을 참조하여 본 발명에 따른 바람직한 일실시예를 상세히 설명하기로 한다.The above objects, features and advantages will become more apparent from the following detailed description taken in conjunction with the accompanying drawings, whereby those skilled in the art may easily implement the technical idea of the present invention. There will be. In addition, in describing the present invention, when it is determined that the detailed description of the known technology related to the present invention may unnecessarily obscure the gist of the present invention, the detailed description thereof will be omitted. Hereinafter, exemplary embodiments of the present invention will be described in detail with reference to the accompanying drawings.
도 2 는 본 발명에 따른 지상파 DMB 전송 장치의 일실시예 구성도이다.2 is a configuration diagram of an embodiment of a terrestrial DMV transmission apparatus according to the present invention.
도 2에 도시된 바와 같이, 본 발명에 따른 지상파 DMB 전송 장치는, 오디오 소스를 인코딩하기 위한 오디오 인코더(21), 데이터 소스를 인코딩하기 위한 데이터 인코더(22), 실시간으로 입력되는 멀티미디어 소스를 인코딩하기 위한 멀티미 디어 인코더(23), 상기 멀티미디어 인코더(23)에서 인코딩된 일 멀티미디어 스트림의 일부분을 입력받은 스트림(타 스트림)으로 변환(교체)하기 위한 스트림 변환기(24), 상기 오디오 인코더(21)에서 인코딩한 오디오 스트림, 상기 데이터 인코더(22)에서 인코딩한 데이터 스트림, 및 상기 스트림 변환기(24)에서 변환한 멀티미디어 스트림을 앙상블 전송 인터페이스(Ensemble Transport Interface) 규격의 프레임으로 다중화하기 위한 앙상블 다중화기(25), 및 상기 앙상블 다중화기(25)에서 다중화한 방송 스트림을 인코딩한 후 전송되도록 송출기로 전달하기 위한 직교 부호화 주파수 분할 다중 방식(COFDM) 인코더(26)를 포함한다.As shown in FIG. 2, the terrestrial DMB transmission apparatus according to the present invention encodes an
본 발명에서, 상기 멀티미디어 스트림은 비디오 스트림 및 오디오 스트림을 포함한다.In the present invention, the multimedia stream includes a video stream and an audio stream.
도 3 은 본 발명에 따른 지상파 DMB 전송 장치의 다른 실시예 구성도이다.3 is a configuration diagram of another embodiment of a terrestrial DMV transmission apparatus according to the present invention.
도 2에 도시된 바와 같이, 본 발명에 따른 지상파 DMB 전송 장치는, 오디오 소스를 인코딩하기 위한 오디오 인코더(31), 데이터 소스를 인코딩하기 위한 데이터 인코더(32), 인코딩된 멀티미디어 스트림을 저장하고 있는 스트림 저장기(33), 상기 스트림 저장기(33)에 저장되어 있는 일 멀티미디어 스트림의 일부분을 입력받은 스트림(타 스트림)으로 변환하기 위한 스트림 변환기(34), 상기 오디오 인코더(31)에서 인코딩한 오디오 스트림, 상기 데이터 인코더(32)에서 인코딩한 데이터 스트림, 및 상기 스트림 변환기(34)에서 변환한 멀티미디어 스트림을 앙상블 전송 인터페이스(Ensemble Transport Interface) 규격의 프레임으로 다중화하기 위 한 앙상블 다중화기(35), 및 상기 앙상블 다중화기(35)에서 다중화한 방송 스트림을 인코딩한 후 전송되도록 송출기로 전달하기 위한 직교 부호화 주파수 분할 다중 방식(COFDM) 인코더(36)를 포함한다.As shown in FIG. 2, the terrestrial DMB transmission apparatus according to the present invention includes an
도 4 는 본 발명에 따른 지상파 디지털 멀티미디어 방송 스트림 변환 장치의 일실시예 구성도이다.4 is a block diagram of an embodiment of a terrestrial digital multimedia broadcasting stream conversion apparatus according to the present invention.
먼저, 이해를 돕기 위해 부연 설명을 하면, 제 1 스트림(스트림 1)은 멀티미디어 인코더(23)에서 실시간으로 인코딩된 스트림 또는 스트림 저장기(33)에 저장되어 있는 스트림을 의미한다.First, for clarity, the first stream (stream 1) refers to a stream encoded in real time by the
또한, 제 2 스트림(스트림 2)은 변환될 스트림을 의미하고, 제 3 스트림(스트림 3)은 제 1 스트림의 일부가 제 2 스트림으로 바뀐 스트림을 의미한다.In addition, the second stream (stream 2) means a stream to be converted, and the third stream (stream 3) means a stream in which a part of the first stream is replaced with the second stream.
또한, 지상파 DMB에서 인코딩된 멀티미디어 방송 스트림은 MPEG-2 TS(Transfer stream)의 형태로 되어 있다. 그리고 이러한 MPEG-2 TS는 비디오 스트림, 오디오 스트림, PSI(Program Specific Information) 정보로 구성되어 있는데, 이 때 PSI 정보는 스트림의 구성 정보를 가지고 있다.In addition, the multimedia broadcast stream encoded by the terrestrial DMB is in the form of MPEG-2 TS (Transfer stream). The MPEG-2 TS is composed of a video stream, an audio stream, and program specific information (PSI) information. In this case, the PSI information has stream configuration information.
도 4에 도시된 바와 같이, 본 발명에 따른 지상파 디지털 멀티미디어 방송 스트림 변환 장치는, 입력받은 제 1 스트림을 타임코드 추출부(44)로 전달하고 제 1 스트림에서 PSI 정보를 추출하기 위한 PSI 추출부(41), 상기 PSI 추출부(41)에서 추출한 PSI 정보를 분석하여 제 1 스트림의 구성 정보를 획득하기 위한 PSI 분석부(42), 사용자로부터 입력받은 PSI 수정정보에 따라 상기 PSI 추출부(41)가 추출한 PSI 정보에서 변환할 스트림에 대한 정보를 수정하기 위한 PSI 수정부(43), 사용자 로부터 입력받은 타임코드가 삽입되어 있는 스트림 정보를 이용하여 PSI 추출부(41)를 통해 전달받은 제 1 스트림의 해당 스트림에서 타임코드 정보를 추출하기 위한 타임코드 추출부(44), 상기 타임코드 추출부(44)에서 추출한 타임코드를 이용하여 제 2 스트림의 타임코드를 수정하기 위한 타임코드 수정부(45), 사용자로부터의 제거 스트림 정보에 따라 제 1 스트림에서 해당 스트림을 제거하기 위한 스트림 제거부(46), 및 상기 PSI 수정부(43)에서 수정한 PSI 정보 스트림, 상기 스트림 제거부(46)에서 특정 스트림이 제거된 제 1 스트림, 및 상기 타임코드 수정부(45)에서 타임코드가 수정된 제 2 스트림을 다중화하여 제 3 스트림을 출력하기 위한 스트림 다중화부(47)를 포함한다.As shown in FIG. 4, the apparatus for converting a terrestrial digital multimedia broadcasting stream according to the present invention includes a PSI extractor for transferring an input first stream to a timecode extractor 44 and extracting PSI information from the first stream. (41), PSI analysis unit 42 for obtaining the configuration information of the first stream by analyzing the PSI information extracted by the
여기서, 상기 타임코드 수정부(45)는 스트림을 변환했을 경우에도 이전의 동영상 방송과 같이 자연스러운 비디오, 오디오 서비스를 하기 위해서, 제 1 스트림 과 제 2 스트림의 시작시간, 종료시간, 화면의 전환 시간을 맞춘다. 즉, 제 1 스트림으로부터 추출된 타임코드 정보를 이용하여 제 2 스트림의 타임코드를 수정한다. 이러한 타임코드로 인하여 각기 다른 두 스트림이 조합되어 자연스러운 방송 서비스가 된다.Here, the time
또한, 상기 타임코드 추출부(44)는 상기 PSI 분석부(42)로부터 타임코드가 삽입되어 있는 스트림 정보를 제공받을 수도 있다.In addition, the time code extractor 44 may receive stream information in which the time code is inserted from the PSI analyzer 42.
또한, 상기 스트림 제거부(46)는 PSI 수정부(43)로부터 제거 스트림 정보를 제공받을 수도 있다.In addition, the
도 5 는 본 발명에 따른 지상파 디지털 멀티미디어 방송 스트림 변환 장치에 서의 멀티미디어 스트림 변환 방법에 대한 일실시예 설명도이다.5 is a diagram illustrating an embodiment of a method of converting a multimedia stream in the apparatus for converting a terrestrial digital multimedia broadcast stream according to the present invention.
먼저, 스트림 1은 지상파 DMB 멀티미디어 방송 서비스 규격에 의해 제작된, 오디오 방송과 여러 장의 정지영상으로 구성되어 있다. 이러한 스트림 1의 정지영상이 오래된 것이어서 최근의 새로운 것으로 바꿀 필요가 있을 경우, 최근의 새로운 스트림 2(정지영상 2)를 이용하여 새로운 스트림 3을 출력한다. 새로운 스트림 3은 기존의 오디오 방송과 새로운 정지영상 2로 구성되어 있다.First, stream 1 is composed of an audio broadcast and several still images produced by the terrestrial DMB multimedia broadcasting service standard. If the still image of the stream 1 is old and needs to be changed to a newer one, a new stream 3 is output using the latest new stream 2 (still image 2). The new stream 3 consists of an existing audio broadcast and a new
즉, 본 발명에 따른 지상파 디지털 멀티미디어 스트림 변환 장치는 정지영상 1과 오디오 방송 1을 포함하는 스트림 1을 입력받고, 정지영상 2를 포함하는 스트림 2를 입력받는다.That is, the terrestrial digital multimedia stream converting apparatus according to the present invention receives a stream 1 including a still image 1 and an audio broadcast 1, and receives a
이후, 사용자의 선택에 따라 스트림 1의 정지영상 1을 삭제하고 스트림 2의 정지영상 2를 삽입한다. 즉, 스트림 1의 정지영상 1을 스트림 2의 정지영상 2로 변환한다.Thereafter, the still image 1 of the stream 1 is deleted and the
이렇게 생성된 스트림 3은 정지영상 2와 오디오 방송 1을 포함하게 된다.The generated stream 3 includes the
도 6 은 본 발명에 따른 지상파 디지털 멀티미디어 방송 스트림 변환 방법에 대한 일실시예 흐름도이다.6 is a flowchart illustrating a method for converting a terrestrial digital multimedia broadcasting stream according to the present invention.
먼저, 일 멀티미디어 스트림(제 1 스트림)에서 PSI(Program Specific Information) 정보를 추출한 후 분석하여 일 멀티미디어 스트림의 구성 정보를 획득한다(601).First, PSI (Program Specific Information) information is extracted from one multimedia stream (first stream) and analyzed to obtain configuration information of one multimedia stream (601).
이후, 사용자로부터 입력받은 PSI 수정정보에 따라 PSI 정보에서 변환할 스트림에 대한 정보를 수정한다(602).Then, the information on the stream to be converted from the PSI information is modified according to the PSI correction information input from the user (602).
이후, 사용자로부터 입력받은 타임코드가 삽입되어 있는 스트림 정보를 이용하여 일 멀티미디어 스트림의 해당 스트림에서 타임코드 정보를 추출한다(603).Thereafter, time code information is extracted from the corresponding stream of one multimedia stream using the stream information into which the time code input from the user is inserted (603).
이후, 상기 추출한 타임코드를 이용하여 타 멀티미디어 스트림(제 2 스트림)의 타임코드를 수정한다(604).Thereafter, the time code of another multimedia stream (second stream) is modified using the extracted time code (604).
이후, 사용자로부터의 제거 스트림 정보에 따라 일 멀티미디어 스트림에서 해당 스트림을 제거한다(605).Thereafter, the stream is removed from the multimedia stream according to the removal stream information from the user (605).
이후, 상기 수정한 PSI 정보 스트림, 상기 특정 스트림이 제거된 일 멀티미디어 스트림, 및 상기 타임코드가 수정된 타 멀티미디어 스트림을 다중화한다(606).Thereafter, the modified PSI information stream, one multimedia stream from which the specific stream is removed, and another multimedia stream from which the time code is modified are multiplexed (606).
도 7 은 본 발명에 따른 지상파 DMB 전송 장치에서의 멀티미디어 스트림 전송 방법에 대한 일실시예 흐름도이다.7 is a flowchart illustrating a method of transmitting a multimedia stream in the terrestrial DMV transmission apparatus according to the present invention.
먼저, 오디오 소스를 인코딩한다(701).First, the audio source is encoded (701).
그리고, 데이터 소스를 인코딩한다(702).The data source is then encoded (702).
그리고, 실시간으로 입력되는 멀티미디어 소스 또는 스트림 저장기에 저장되어 있는 멀티미디어 소스를 인코딩한다(703).In
이후, 상기 인코딩된 일 멀티미디어 스트림(제 1 스트림)의 일부분을 입력받은 타 멀티미디어 스트림(제 2 스트림)으로 변환한다(704).Thereafter, a portion of the encoded multimedia stream (first stream) is converted into another multimedia stream (second stream) received (704).
이후, 상기 오디오 스트림, 데이터 스트림, 및 변환한 멀티미디어 스트림을 앙상블 전송 인터페이스(Ensemble Transport Interface) 규격의 프레임으로 다중화한다(705).Thereafter, the audio stream, the data stream, and the converted multimedia stream are multiplexed into a frame of an ensemble transport interface standard (705).
이후, 상기 다중화한 방송 스트림을 인코딩한 후 외부로 전송한다(706).Thereafter, the multiplexed broadcast stream is encoded and then transmitted to the outside (706).
상술한 바와 같은 본 발명의 방법은 프로그램으로 구현되어 컴퓨터로 읽을 수 있는 형태로 기록매체(씨디롬, 램, 롬, 플로피 디스크, 하드 디스크, 광자기 디스크 등)에 저장될 수 있다. 이러한 과정은 본 발명이 속하는 기술 분야에서 통상의 지식을 가진 자가 용이하게 실시할 수 있으므로 더 이상 상세히 설명하지 않기로 한다.As described above, the method of the present invention may be implemented as a program and stored in a recording medium (CD-ROM, RAM, ROM, floppy disk, hard disk, magneto-optical disk, etc.) in a computer-readable form. Since this process can be easily implemented by those skilled in the art will not be described in more detail.
이상에서 설명한 본 발명은, 본 발명이 속하는 기술분야에서 통상의 지식을 가진 자에게 있어 본 발명의 기술적 사상을 벗어나지 않는 범위 내에서 여러 가지 치환, 변형 및 변경이 가능하므로 전술한 실시예 및 첨부된 도면에 의해 한정되는 것이 아니다.The present invention described above is capable of various substitutions, modifications, and changes without departing from the technical spirit of the present invention for those skilled in the art to which the present invention pertains. It is not limited by the drawings.
상기와 같은 본 발명은, 비디오 스트림 및 오디오 스트림의 시작시간, 종료시간, 화면의 전환 시간만을 맞추고 정확하게 립싱크가 맞지 않는 서비스 제공시, 사용자의 요청에 따라 제 1 스트림의 일부분을 제 2 스트림으로 변환하여 제공함으로써, 시청자의 욕구를 만족시킬 수 있는 다양한 형태의 지상파 DMB 서비스를 제공할 수 있는 효과가 있다.As described above, the present invention converts a portion of the first stream into a second stream according to a user's request when only a start time, an end time, and a screen switching time of a video stream and an audio stream are matched, and a lip sync is not provided. By providing it, there is an effect that can provide a variety of terrestrial DMB services that can satisfy the needs of viewers.
| Application Number | Priority Date | Filing Date | Title |
|---|---|---|---|
| KR1020050062667AKR100728237B1 (en) | 2005-07-12 | 2005-07-12 | Terrestrial digital multimedia broadcasting stream conversion device and method thereof, and terrestrial DMB transmission device and method using same |
| EP06769252AEP1908283A4 (en) | 2005-07-12 | 2006-07-11 | DEVICE AND METHOD FOR TRANSFORMING TERRESTRIAL DIGITAL MULTIMEDIA BROADCAST (DMB), DMB FLOW TRANSMISSION SYSTEM, AND METHOD OF USE |
| PCT/KR2006/002723WO2007008029A1 (en) | 2005-07-12 | 2006-07-11 | Apparatus and method for transforming terrestrial dmb stream, and terrestrial dmb stream transmitting system and method employing the same |
| Application Number | Priority Date | Filing Date | Title |
|---|---|---|---|
| KR1020050062667AKR100728237B1 (en) | 2005-07-12 | 2005-07-12 | Terrestrial digital multimedia broadcasting stream conversion device and method thereof, and terrestrial DMB transmission device and method using same |
| Publication Number | Publication Date |
|---|---|
| KR20070008835A KR20070008835A (en) | 2007-01-18 |
| KR100728237B1true KR100728237B1 (en) | 2007-06-13 |
| Application Number | Title | Priority Date | Filing Date |
|---|---|---|---|
| KR1020050062667AExpired - Fee RelatedKR100728237B1 (en) | 2005-07-12 | 2005-07-12 | Terrestrial digital multimedia broadcasting stream conversion device and method thereof, and terrestrial DMB transmission device and method using same |
| Country | Link |
|---|---|
| EP (1) | EP1908283A4 (en) |
| KR (1) | KR100728237B1 (en) |
| WO (1) | WO2007008029A1 (en) |
| Publication number | Priority date | Publication date | Assignee | Title |
|---|---|---|---|---|
| US6252873B1 (en) | 1998-06-17 | 2001-06-26 | Gregory O. Vines | Method of ensuring a smooth transition between MPEG-2 transport streams |
| US6661813B2 (en) | 1999-05-25 | 2003-12-09 | Canon Kabushiki Kaisha | Multiplexing apparatus and method and storage medium |
| KR20040071586A (en)* | 2001-11-30 | 2004-08-12 | 마츠시타 덴끼 산교 가부시키가이샤 | A method and an apparatus for stream conversion, a method and an apparatus for data recording, and data recording medium |
| US6909743B1 (en) | 1999-04-14 | 2005-06-21 | Sarnoff Corporation | Method for generating and processing transition streams |
| Publication number | Priority date | Publication date | Assignee | Title |
|---|---|---|---|---|
| US5917830A (en)* | 1996-10-18 | 1999-06-29 | General Instrument Corporation | Splicing compressed packetized digital video streams |
| KR100576543B1 (en)* | 2003-08-26 | 2006-05-03 | 한국전자통신연구원 | Media stream converter and method for providing multimedia service in digital audio broadcasting transmission system |
| Publication number | Priority date | Publication date | Assignee | Title |
|---|---|---|---|---|
| US6252873B1 (en) | 1998-06-17 | 2001-06-26 | Gregory O. Vines | Method of ensuring a smooth transition between MPEG-2 transport streams |
| US6909743B1 (en) | 1999-04-14 | 2005-06-21 | Sarnoff Corporation | Method for generating and processing transition streams |
| US6661813B2 (en) | 1999-05-25 | 2003-12-09 | Canon Kabushiki Kaisha | Multiplexing apparatus and method and storage medium |
| KR20040071586A (en)* | 2001-11-30 | 2004-08-12 | 마츠시타 덴끼 산교 가부시키가이샤 | A method and an apparatus for stream conversion, a method and an apparatus for data recording, and data recording medium |
| Publication number | Publication date |
|---|---|
| KR20070008835A (en) | 2007-01-18 |
| EP1908283A1 (en) | 2008-04-09 |
| WO2007008029A1 (en) | 2007-01-18 |
| EP1908283A4 (en) | 2010-07-14 |
| Publication | Publication Date | Title |
|---|---|---|
| JP4481444B2 (en) | Image encoding device | |
| US20190356965A1 (en) | Service signaling recovery for multimedia content using embedded watermarks | |
| KR100495545B1 (en) | Reception system and digital broadcasting system | |
| KR100646851B1 (en) | Terrestrial digital multimedia broadcasting transmission / reception system for synchronization of audio / video services and data services | |
| KR100406122B1 (en) | Apparatus and method for injecting synchronized data for digital data broadcasting | |
| KR100837720B1 (en) | Method and Apparatus for synchronizing data service with video service in Digital Multimedia Broadcasting and Executing Method of Data Service | |
| KR100552678B1 (en) | Transmitting / receiving apparatus and method for shortening the access delay time of data packet | |
| CA2839553C (en) | Media content transceiving method and transceiving apparatus using same | |
| EP3270601B1 (en) | Self-adaptive streaming medium processing method and apparatus | |
| US20090040372A1 (en) | Digital broadcasting transmitting/receiving apparatus and method | |
| RU2627040C2 (en) | Receiving device and method of synchronized processing of images in this device | |
| KR100606785B1 (en) | Synchronization method of video and image data in remote multimedia service providing system through network | |
| EP0986907A1 (en) | Method and apparatus for splicing compressed information signals | |
| CN101656860B (en) | Recording apparatus and recording method | |
| US9854019B2 (en) | Method and apparatus for modifying a stream of digital content | |
| CN101218819A (en) | Method and device for synchronizing data service and video service in digital multimedia broadcasting | |
| KR20040018523A (en) | Broadcast system and apparatus, sync information replacing apparatus and method, program, and recording medium recording the program | |
| KR100728237B1 (en) | Terrestrial digital multimedia broadcasting stream conversion device and method thereof, and terrestrial DMB transmission device and method using same | |
| EP3280147A1 (en) | Method and apparatus for transmitting and receiving broadcast signal | |
| KR20130102984A (en) | Apparatus for transmitting data in broadcasting and method thereof | |
| KR20050021804A (en) | Apparatus and Method for Converting Media Stream for Multimedia Service in DAB system | |
| CN100421449C (en) | Control Method of Clock Synchronization in Network Digital TV System | |
| KR101325802B1 (en) | Digital Broadcasting Transmitter, Digital Broadcasting Receiver and System and Method for Serving Digital Broadcasting | |
| KR101745652B1 (en) | Broadcasting transmitter and receiver for rapid receiving of decoding information, and method thereof | |
| KR102228599B1 (en) | Transmitter and receiver for providing seamless switching of isdb transport stream |
| Date | Code | Title | Description |
|---|---|---|---|
| A201 | Request for examination | ||
| PA0109 | Patent application | St.27 status event code:A-0-1-A10-A12-nap-PA0109 | |
| PA0201 | Request for examination | St.27 status event code:A-1-2-D10-D11-exm-PA0201 | |
| E902 | Notification of reason for refusal | ||
| PE0902 | Notice of grounds for rejection | St.27 status event code:A-1-2-D10-D21-exm-PE0902 | |
| P11-X000 | Amendment of application requested | St.27 status event code:A-2-2-P10-P11-nap-X000 | |
| P13-X000 | Application amended | St.27 status event code:A-2-2-P10-P13-nap-X000 | |
| PG1501 | Laying open of application | St.27 status event code:A-1-1-Q10-Q12-nap-PG1501 | |
| E701 | Decision to grant or registration of patent right | ||
| PE0701 | Decision of registration | St.27 status event code:A-1-2-D10-D22-exm-PE0701 | |
| GRNT | Written decision to grant | ||
| PR0701 | Registration of establishment | St.27 status event code:A-2-4-F10-F11-exm-PR0701 | |
| PR1002 | Payment of registration fee | St.27 status event code:A-2-2-U10-U11-oth-PR1002 Fee payment year number:1 | |
| PG1601 | Publication of registration | St.27 status event code:A-4-4-Q10-Q13-nap-PG1601 | |
| G170 | Re-publication after modification of scope of protection [patent] | ||
| PG1701 | Publication of correction | St.27 status event code:A-5-5-P10-P19-oth-PG1701 Patent document republication publication date:20080423 Republication note text:Request for Correction Notice (Document Request) Gazette number:1007282370000 Gazette reference publication date:20070613 | |
| PN2301 | Change of applicant | St.27 status event code:A-5-5-R10-R13-asn-PN2301 St.27 status event code:A-5-5-R10-R11-asn-PN2301 | |
| PR1001 | Payment of annual fee | St.27 status event code:A-4-4-U10-U11-oth-PR1001 Fee payment year number:4 | |
| FPAY | Annual fee payment | Payment date:20110531 Year of fee payment:5 | |
| PR1001 | Payment of annual fee | St.27 status event code:A-4-4-U10-U11-oth-PR1001 Fee payment year number:5 | |
| LAPS | Lapse due to unpaid annual fee | ||
| PC1903 | Unpaid annual fee | St.27 status event code:A-4-4-U10-U13-oth-PC1903 Not in force date:20120608 Payment event data comment text:Termination Category : DEFAULT_OF_REGISTRATION_FEE | |
| PC1903 | Unpaid annual fee | St.27 status event code:N-4-6-H10-H13-oth-PC1903 Ip right cessation event data comment text:Termination Category : DEFAULT_OF_REGISTRATION_FEE Not in force date:20120608 | |
| PN2301 | Change of applicant | St.27 status event code:A-5-5-R10-R13-asn-PN2301 St.27 status event code:A-5-5-R10-R11-asn-PN2301 |