





































































본 발명은, 반도체 장치에 관한 것으로, 특히, 소스·드레인 영역의 점유 면적을 축소하고, 소스·드레인 영역의 기생 용량 및 기생 저항을 감소시킬 수 있는 반도체 장치, 그 제조 방법, 및 정보 처리 장치에 관한 것이다.BACKGROUND OF THE
최근, 반도체 장치의 고집적화에 따라, 소자의 미세화의 요구가 높아지고 있다. 일반적으로, 절연 게이트형 전계 효과 트랜지스터에서는, 미세화함에 따라, 가공 편차 등에 의한 게이트 길이의 변동에 기인한 임계치 전압의 편차, 쓰레쉬홀드 특성의 열화에 의한 오프 리크 전류의 증가, 펀치 스루 등의 단 채널 효과에 의한 트랜지스터 특성의 열화 등의 문제가 현저해진다.In recent years, with the higher integration of semiconductor devices, the demand for miniaturization of devices is increasing. In general, in the insulated gate type field effect transistor, as the size is reduced, variations in threshold voltage due to variations in gate length due to processing variations, increase in off-leakage current due to deterioration of the threshold characteristics, punch through, etc. Problems such as deterioration of transistor characteristics due to channel effects become remarkable.
미세화에 따라 현저해지는 이러한 문제를 해결하는 방법의 하나로서, 트랜지스터의 채널 영역에 인접하는 소스·드레인 영역의 접합 깊이를 얕게 하는 방법이 알려져 있다. 접합 깊이를 얕게 하기 위해서, 게이트 전극의 양측에, 게이트 전극 측벽 절연막을 통해, 채널 영역(게이트 전극의 전해로 반전하는 것이 가능한 게이트 전극하의 반도체 기판 표면)보다도 상방에 쌓아 올려진 소스·드레인 영역(쌓아 올림 확산층)을 형성하는 구조가 알려져 있다.As one of the methods of solving such a problem which becomes remarkable by miniaturization, the method of making the junction depth of the source-drain region adjacent to the channel region of a transistor shallow is known. In order to make the junction depth shallower, source / drain regions stacked on both sides of the gate electrode above the channel region (the semiconductor substrate surface under the gate electrode which can be reversed by electrolysis of the gate electrode) through the gate electrode sidewall insulating film ( A structure for forming a stacked diffusion layer) is known.
도43(a) 내지 (c)는, 종래의 쌓아 올림 확산층을 형성하는 공정을 도시한다. 이하, 도43(a) 내지 (c)를 참조해서 종래의 쌓아 올림 확산층을 형성하는 공정을 설명한다.43A to 43C show a step of forming a conventional stacked diffusion layer. A process of forming a conventional stacked diffusion layer is described below with reference to FIGS. 43A to 43C.
도43(a)에 도시하는 바와 같이, 반도체 웨이퍼(1001)의 표면은, 소자 분리 영역(1002)과 활성 영역(1003)을 포함한다.  소자 분리 영역(1002)에는 실리콘 산화막(1042)이 형성되어 있고, 활성 영역(103)에서는 실리콘 기판(반도체 웨이퍼)(1001)이 노출되어 있다.As shown in FIG. 43A, the surface of the
종래의 쌓아 올림 확산층을 형성하는 공정에서는, 우선, 활성 영역(1003) 상에, 게이트 절연막(1004)을 통해, 게이트 전극(1005)이 형성된다.  게이트 전극(1005)의 상부 및 측벽부는 절연막(1006)으로 덮힌다.In the process of forming the conventional stacked diffusion layer, first, the
다음에, 도43(b)에 도시하는 바와 같이, 선택 에피택셜 성장 방법(Selective Epitaxial Grouth방법)에 의해, 실리콘 기판(1001)이 노출되어 있는 영역(활성 영역(1003))에만 실리콘막(1007)을 성장시킨다.  실리콘막(1007)은, 나중에, 소스·드레인 영역으로서 기능하는 반도체의 쌓아 올림 확산층이 된다.  선택 에피택셜 성장방법은, 예를 들면, 일본국 특허 공개 소61-196577호 공보에 개시되어 있다.Next, as shown in Fig. 43 (b), the
다음에, 도43(c)에 도시하는 바와 같이, 층간 절연막(1008)이 생성되고, 상부 배선(1010)이, 콘택트 배선(1009)을 통해 실리콘막(1007)(소스·드레인 영역)에 접속된다.  실리콘막(1007)은, 예를 들면, 에피택셜 실리콘, 다결정 실리콘 등이다.Next, as shown in Fig. 43 (c), an
도43(a) 내지 (c)를 참조해서 설명한 종래 기술에서는, 채널 영역보다도 상 방에 실리콘막(1007)이 형성된 후, 채널영역 근방의 실리콘막(1007)에 불순물 이온이 주입됨으로써, 소스·드레인 영역이 형성된다.In the prior art described with reference to Figs. 43A to 43C, after the
채널 영역보다도 위에 쌓아 올려져서 실리콘막(1007)안에 불순물을 주입함으로써, 소스·드레인의 불순물 확산층 영역의 접합 깊이를 얕게 하는 것이 가능해진다.  이것에 의해, 효과적으로 단 채널 효과를 방지하는 것이 가능해진다.By stacking on top of the channel region and injecting impurities into the
도43(c)에 도시하는 바와 같이, 게이트 전극(1005)으로부터 소자 분리 영역 (1002)까지의 실리콘막(소스·드레인 영역)(1007)안에, 콘택트 배선(1009)을 위한 콘택트 구멍이 형성된다.  소스·드레인 영역(1007)의 게이트 길이 방향(게이트 전극 길이 방향에 대해서 수직방향)에 따른 길이(Ld)는, (게이트 전극과 콘택트 사이의 위치 정렬 마진)+(콘택트 구멍의 게이트 길이 방향에 따른 폭)+(콘택트와 소스·드레인 영역 사이의 위치 정렬 마진)보다도 작게 할 수 없다.As shown in Fig. 43 (c), a contact hole for the
이 때문에, 도43(c)에 도시하는 종래 기술의 반도체 장치에서는, 소스·드레인 영역의 점유 면적을 축소하는 것이 용이하지 않다고 하는 문제점이 있다.For this reason, in the semiconductor device of the prior art shown in Fig. 43 (c), there is a problem that it is not easy to reduce the occupied area of the source and drain regions.
상술하는 문제점을 해결하는 하나의 방법으로서, 일본국 특허 공개 평10-335660호 공보에 개시되는 기술이 알려져 있다.As one method of solving the above-mentioned problem, the technique disclosed in Unexamined-Japanese-Patent No. 10-335660 is known.
도44는, 일본국 특허 공개 평10-335660호 공보에 개시되는 절연 게이트형 전계 효과 트랜지스터를 도시한다.Fig. 44 shows an insulated gate field effect transistor disclosed in Japanese Patent Laid-Open No. Hei 10-335660.
절연 게이트형 전계 효과 트랜지스터를 형성하는 반도체 기판(2001)내의 게이트 전극(2005)의 하방에 소자 분리 절연 영역(2002)에 의해 구분되어 형성된 소자 영역에 있어서, 소자 영역의 2종의 확산층(2012, 2013)이 형성되는 부분에 있어 서의 소자 분리 절연 영역(2002)과 접하는 위치와, 게이트 전극(2005)의 측면의 간격이, 게이트 전극(2005)의 높이 이하이며, 2종의 확산층이 모두 상층(2012)과 하층(2013)으로 형성되고, 그 확산층 상층(2012)의 게이트 전극측의 단부와 소자 분리 절연 영역측의 단부의 거리가 게이트 전극(2005)의 높이 이상이며, 소자 분리 영역측의 단부가 소자 분리 영역(2002)상에 형성되어 있다.In the device region formed below the
도45의 (a) 내지 (e)는, 일본국 특허 공개 평10-335660호 공보에 개시되는 절연 게이트형 전계 효과 트랜지스터의 제조 공정을 도시한다.45A to 45E show a manufacturing process of an insulated gate field effect transistor disclosed in Japanese Patent Laid-Open No. 10-335660.
도45(a)는, 반도체 장치에 형성된 절연 게이트형 전계 효과 트랜지스터의 제조공정에 있어서, 절연 게이트형 전계 효과 트랜지스터를 구성하는 제1도전형의 반도체 기판(3001)내에, 소자절연 분리영역(3002)의 확산층이 형성되는 쪽의 소자 영역과 접하는 위치와 소자 영역에 형성되는 게이트 전극(3005)의 측면의 간격이 게이트 전극(3005)의 높이 이하이도록, 소자 영역을 둘러싸서 형성되는 소자 분리 절연 영역(3002)을 형성하는 공정과, 소자 영역에 웰 영역(3014)을 형성하는 공정과, 소자 영역상에 게이트 산화막(3003)을 형성하는 공정과, 게이트 절연막(3003)상에 게이트 전극(3005)을 형성하는 공정과, 게이트 전극(3005)을 마스크로 한 이온 주입법에 의해 제1도전형과는 다른 제2도전형의 불순물을 주입하는 것으로 소자 영역 표면부근에 얕은 확산층 하층(3013)을 형성하는 공정을 행한 상태를 도시한다.45A shows an element
도45(b)는, 게이트 절연막 상에 화학적 기상 성장법에 의해 산화막을 퇴적하고, 이방성 에칭에 의해 불필요부의 산화막과 게이트 절연막(3003)을 제거해서 게이트 전극의 측면에 자기 정합적으로 절연성 게이트 측벽(3007)을 형성하는 공정을  행한 상태를 도시한다.45B shows an oxide film deposited on the gate insulating film by chemical vapor deposition, removing an unnecessary portion of the oxide film and the
도45(c)는, 게이트 전극의 높이와 동일 정도의 다결정 실리콘막(3015)을 퇴적시키는 공정을 행한 상태를 도시한다.45C shows a state where a process of depositing a
도45(d)는, 그 확산층 상층의 게이트 전극측의 단부와 소자 분리 절연 영역측의 단부의 거리가 게이트 전극의 높이 이상이며, 소자 분리 영역측의 단부가 소자 분리 영역 상에 위치하도록, 도전성 막으로 이루어지는 확산층 상층(3012)을 형성하는 공정을 행한 상태를 도시한다.45 (d) is conductive so that the distance between the end of the gate electrode side of the upper diffusion layer and the end of the element isolation insulating region side is equal to or greater than the height of the gate electrode, and the end of the element isolation region side is positioned on the element isolation region. The state which performed the process of forming the diffused layer
도45(e)는, 절연막(3009)을 퇴적시켜서 층간막을 형성하는 공정과, 층간막에 콘택트 홀을 개구하고, 적어도 선단의 일부가 확산층 상층(3012)과 접속하도록 전극 금속(3010)을 콘택트 홀내에 형성하는 공정을 행한 상태를 도시한다.45E shows a process of forming an interlayer film by depositing an
일본국 특허 공개 평10-335660호 공보에 개시되는 기술에서는, 소자 영역의 2종의 확산층(2012, 2013)(도44)이 형성되는 부분에 있어서의 소자 분리 절연 영역(2002)과 접하는 위치와, 게이트 전극(2005)의 측면의 간격이, 게이트 전극(2005)의 높이 이하로 설정된다.  소자 분리 영역과 게이트 전극의 위치 정렬 마진, 게이트 전극 측벽 절연막의 두께에 따라, 소자 영역의 2종의 확산층(2012, 2013)이 형성되는 부분에 있어서의 소자 분리 절연 영역(2002)과 접하는 위치와, 게이트 전극(2005)의 측면의 최저한 필요한 간격이 결정된다.  게이트 전극의 높이는, 그 간격 이상으로 설정된다.In the technique disclosed in Japanese Patent Application Laid-open No. Hei 10-335660, the position in contact with the element
소자 영역의 2종의 확산층(2012, 2013)이 형성되는 부분에 있어서의 소자 분리 절연 영역(2002)과 접하는 위치와, 게이트 전극(2005)의 측면의 간격은, 제조시에 이용되는 장치의 가공 정밀도에 크게 의존한다.  일본국 특허 공개 평10-335660호 공보에 개시되는 종래 기술의 실시 형태에서는, 게이트 전극이 100nm의 폭으로 가공되어 있다.  일반적으로 게이트 전극의 폭(게이트 길이)은, 최소 가공 치수와 동일하게 설정된다.  따라서, 이 종래 기술의 실시 형태의 반도체 장치는, 100nm 룰의 장치 능력으로 제조되어 있게 된다.  일반적으로 포토리소그래피 장치의 기초 패턴에 대한 위치 정렬 정밀도는, 최소 가공치수의 1/3정도이기 때문에, 소자 분리 영역에 대한 위치 정렬 마진은 33nm이상 필요하다.  또한, 이 종래 기술의 실시 형태에서는, 게이트 전극 측벽 절연막 두께가 50nm이기 때문에, 합쳐서, 83nm의 마진이 필요하게 된다.  이 때 소자 영역의 2종의 확산층(2012, 2013)이 형성되는 부분에 있어서의 소자 분리 절연 영역(2002)과 접하는 위치와, 게이트 전극(2005)의 측면의 간격은, 종래 기술의 실시 형태에 기술되어 있는 바와 같이, 소자 분리에 대한 게이트 전극의 위치 정렬이 전혀 어긋나 있지 않은 상태로, 약 75nm가 된다.  그러나, 33nm 위치 정렬이 어긋난 경우, 이 간격은 42nm 내지 108nm의 범위가 된다.  이 관점에서, 위치 정렬 마진을 예상해서, 종래 기술의 실시 형태에 기재되어 있는 설계치, 즉 소자 분리간의 간격 350nm, 게이트 높이 150nm는 타당한 설계치라고 생각된다.The position in contact with the element
일본국 특허 공개 평10-335660호 공보에도 개시되어 있는 바와 같이, 다결정 실리콘막으로 이루어지는 게이트 전극에의 불순물 도입은, 공정 간략화를 위해, 이온 주입법에 의해 소스·드레인 영역에의 불순물 도입과 동시에 행하는 방법이 알려져 있다. 게이트 전극에 전압을 인가하는 전후에서, 게이트 산화막을 통해, 대 향하는 전극(이 경우 반도체 기판)과의 일 함수차에 의해, 게이트 전극이 게이트 산화막과 접하는 영역에서, 에너지 밴드가 구부러지면(즉, 게이트 전극이 공핍화하면), 게이트 절연막 용량과, 게이트 전극 공핍층 용량이 직렬로 접속되어, 게이트 전극에 인가된 전압이 게이트 절연막 용량과, 게이트 전극 공핍층 용량으로 분할되서 가해지고, 트랜지스터의 능력이 저하된다고 하는 문제가 발생한다. 게이트 전극이 공핍화하지 않기 위해서는, 게이트 전극의 높이 방향에 걸쳐서, 최저 1×1020/cm3이상의 고농도로 불순물을 도입할 필요가 있다. 이 때문에, 일반적으로는, 고농도의 불순물 이온 주입을 행한 후, 충분한 열 처리를 실시할 필요가 있다. 이 열처리의 과정에서는, 소스·드레인 영역에 주입한 불순물도, 게이트 전극에 주입한 불순물과 동일하게 확산된다.As disclosed in Japanese Patent Application Laid-open No. Hei 10-335660, impurity introduction into a gate electrode made of a polycrystalline silicon film is performed simultaneously with introduction of impurities into a source / drain region by an ion implantation method for simplifying the process. Methods are known. Before and after applying a voltage to the gate electrode, if the energy band bends (i.e. When the gate electrode is depleted), the gate insulating film capacitance and the gate electrode depletion layer capacitance are connected in series, and the voltage applied to the gate electrode is divided into the gate insulating film capacitance and the gate electrode depletion layer capacitance to be applied, thereby providing the capability of the transistor. This problem of deterioration occurs. In order not to deplete the gate electrode, it is necessary to introduce impurities at a high concentration of at least 1 × 1020 / cm3 or more over the height direction of the gate electrode. For this reason, generally, after performing a high concentration of impurity ion implantation, it is necessary to perform sufficient heat processing. In this heat treatment process, the impurities injected into the source and drain regions are also diffused in the same manner as the impurities injected into the gate electrode.
게이트 높이가 높은 경우에 게이트 전극이 공핍화하지 않는 영역까지 고농도로 불순물을 도입하면, 열처리 과정에 있어서, 소스·드레인 영역에 주입한 불순물이 반도체 기판안에 확산되어, 고농도로 불순물을 함유한 깊은 확산층이 형성되어 버린다고 하는 문제점이 있다. 일본국 특허 공개 평10-335660호 공보는, 이러한 문제점을 언급하지 않고 있다.When impurities are introduced at high concentration to a region where the gate electrode is not depleted when the gate height is high, during the heat treatment process, impurities injected into the source / drain regions are diffused into the semiconductor substrate, and a deep diffusion layer containing impurities at a high concentration. There is a problem that this is formed. Japanese Patent Laid-Open No. 10-335660 does not mention such a problem.
또한, 도44에 도시하는 바와 같이, 일본국 특허 공개 평10-335660호 공보에 개시되는 기술에 따르면, 소스·드레인 영역(확산층 상층(2012))과 소자 분리 절연 영역(2002)이 접하는 영역에는, 수직 단차부가 형성되어 있다.  이 단차상에 콘택트 구멍이 형성되어 있다.  에칭에 의해 콘택트 구멍을 형성할 경우, 이러한 단차 부에 있어서, 층간 절연막과, 기초 스토퍼막 사이의 선택성(기초 선택비)이 나빠진다.  층간 절연막안에 에칭에 의해 콘택트 구멍을 형성할 때의 기초 선택비가 나빠지면, 소스·드레인 영역이 되는 다결정 실리콘막이 패이거나, 소자 분리 영역이 패이기 때문에, 전극 금속(2010)과, 소스·드레인 영역(확산층 상층(2012))의 콘택트 저항이 증가한다고 하는 문제점이 있다.In addition, as shown in Fig. 44, according to the technique disclosed in Japanese Patent Laid-Open No. 10-335660, in the region where the source / drain region (upper diffusion layer 2012) and the element
일본국 특허 공개 평10-335660호 공보는, 이러한 문제점을 언급하지 않고 있다.Japanese Patent Laid-Open No. 10-335660 does not mention such a problem.
본 발명은, 상기 문제점을 감안하여 이루어진 것으로, 소스·드레인 영역의 점유 면적이 작은 반도체 장치 및 그 제조 방법을 제공하는 것을 목적으로 한다. 또한, 본 발명은, 게이트 전극간의 마진을 감소시켜서 고집적도의 반도체 장치를 제공하는 것을 목적으로 한다. 또, 본 발명은, 소비 전력이 작은 정보 처리 장치를 제공하는 것을 목적으로 한다.This invention is made | formed in view of the said problem, and an object of this invention is to provide the semiconductor device with small occupied area of a source-drain area | region, and its manufacturing method. In addition, an object of the present invention is to provide a semiconductor device with a high degree of integration by reducing the margin between gate electrodes. Moreover, an object of this invention is to provide the information processing apparatus with small power consumption.
본 발명의 반도체 장치는, 소자 분리 영역과 활성 영역을 가지는 반도체 기판과, 상기 활성 영역상에 게이트 절연막을 통해 설치되고, 측벽의 적어도 일부가 게이트 전극 측벽 절연막으로 덮힌 게이트 전극과, 상기 게이트 전극의 양측에 상기 게이트 전극 측벽 절연막을 통해 각각 설치된 소스 영역 및 드레인 영역을 구비하고, 상기 소스 영역은, 상기 활성 영역과 상기 게이트 산화막이 접하는 제1의 면보다 상방에 존재하는 제1 소스 영역과, 상기 제1의 면보다 하방에 존재하는 제2의 소스 영역을 포함하고, 상기 드레인 영역은, 상기 제1의 면보다 상방에 존재하는 제1 드레인 영역과, 상기 제1의 면보다 하방에 존재하는 제2의 드레인 영역을 포함하고, 상기 소스 영역 및 상기 드레인 영역의 적어도 한쪽은, 콘택트 배선과 접촉하기 위한 제2의 면을 가지고, 상기 제2의 면은, 상기 제1의 면에 대해서 경사져 있고, 상기 제1 소스 영역의 적어도 일부는, 상기 소자 분리 영역 위에 존재하고, 상기 제1 드레인 영역의 적어도 일부는, 상기 소자 분리 영역 위에 존재하고, 상기 제2의 면은, 상기 소자 분리 영역의 표면과 80도 이하의 각도로 교차하고, 이것에 의해 상기 목적이 달성된다.A semiconductor device of the present invention includes a semiconductor substrate having an element isolation region and an active region, a gate electrode provided on the active region via a gate insulating film, and at least a portion of the sidewalls of which is covered with a gate electrode sidewall insulating film, A source region and a drain region respectively provided on both sides through the gate electrode sidewall insulating film, wherein the source region includes a first source region located above a first surface where the active region and the gate oxide film are in contact with each other; And a second source region existing below the first surface, wherein the drain region includes a first drain region existing above the first surface and a second drain region existing below the first surface. Wherein at least one of the source region and the drain region has a second surface for contacting the contact wiring The second surface is inclined with respect to the first surface, at least a part of the first source region exists on the device isolation region, and at least a part of the first drain region is the device isolation. It exists above an area | region, and a said 2nd surface intersects the surface of the said element isolation area | region at an angle of 80 degrees or less, and the said objective is achieved by this.
게이트 길이 방향에 따른 절단면에 있어서 상기 제2의 면은 위에 볼록 형상을 가지고, 상기 제2의 면의 상기 제1의 면으로부터의 높이는, 상기 게이트 전극에서 멀어짐에 따라 단조롭게 감소해도 좋다.In the cut surface along the gate longitudinal direction, the said 2nd surface may have convex shape on it, and the height from the said 1st surface of the said 2nd surface may monotonously decrease as it moves away from the said gate electrode.
게이트 길이 방향에 따른 절단면에 있어서 상기 제2의 면은 아래에 볼록 형상을 가지고, 상기 제2의 면의 상기 제1의 면으로부터의 높이는, 상기 게이트 전극에서 멀어짐에 따라 단조롭게 감소해도 좋다.In the cut surface along the gate longitudinal direction, the said 2nd surface may have convex shape below, and the height from the said 1st surface of the said 2nd surface may monotonously decrease as it moves away from the said gate electrode.
상기 제2의 면은 요철을 가져도 좋다.The second surface may have irregularities.
상기 제2의 소스 영역과 상기 반도체 기판에 의해 형성되는 접합의 게이트 길이 방향에 따른 절단면에 있어서의 상기 제1의 면으로부터의 깊이는, 상기 게이트 전극에서 멀어짐에 따라 단조롭게 증가하고, 상기 제2의 드레인 영역과 상기 반도체 기판에 의해 형성되는 접합의 게이트 길이 방향에 따른 절단면에 있어서의 상기 제1의 면으로부터의 깊이는, 상기 게이트 전극에서 멀어짐에 따라 단조롭게 증가해도 좋다.The depth from the first surface in the cut surface along the gate length direction of the junction formed by the second source region and the semiconductor substrate increases monotonously as the distance from the gate electrode increases, and the second The depth from the first surface in the cut surface along the gate length direction of the junction formed by the drain region and the semiconductor substrate may be monotonously increased as the distance from the gate electrode increases.
게이트 길이 방향에 따른 절단면에 있어서의 상기 제1 소스 영역의 상기 게이트 길이 방향의 폭과, 상기 절단면에 있어서의 상기 제1 드레인 영역의 상기 게이트 길이 방향의 폭의 적어도 한쪽은, 상기 절단면에 있어서의 상기 게이트 전극 측벽 절연막의 상기 게이트 길이 방향의 폭과 상기 절단면에 있어서의 상기 게이트 전극의 상기 게이트 길이 방향의 폭의 합보다도 동일하거나 커도 좋다.At least one of the width | variety of the said gate length direction of the said 1st source area | region in the cut surface along a gate longitudinal direction, and the width | variety of the said gate length direction of the said 1st drain area in the said cut surface are in the said cut surface It may be equal to or larger than the sum of the width in the gate length direction of the gate electrode sidewall insulating film and the width in the gate length direction of the gate electrode in the cut surface.
상기 소자 분리 영역의 표면은, 상기 제1의 면보다도 상방에 존재해도 좋다.The surface of the element isolation region may exist above the first surface.
게이트 길이 방향에 따른 절단면에 있어서의 상기 게이트 전극 측벽 절연막의 단부에서 상기 소자 분리 영역 중 상기 게이트 전극 측벽 절연막의 단부에 가장 가까운 점까지의 거리는, 상기 절단면에 있어서의 상기 게이트 전극의 상기 게이트길이 방향의 폭보다도 작아도 좋다.The distance from the end of the gate electrode sidewall insulating film in the cut surface along the gate length direction to the point closest to the end of the gate electrode sidewall insulating film in the element isolation region is the gate length direction of the gate electrode in the cut surface. It may be smaller than the width of.
게이트 길이 방향에 따른 절단면에 있어서의 상기 게이트 전극의 단부에서 상기 소자 분리 영역 중 상기 게이트 전극의 단부에 가장 가까운 점까지의 거리는, 상기 절단면에 있어서의 상기 게이트 전극의 높이보다도 커도 좋다.The distance from the end of the gate electrode in the cut surface along the gate longitudinal direction to the point closest to the end of the gate electrode in the element isolation region may be greater than the height of the gate electrode in the cut surface.
게이트 길이 방향에 따른 절단면에 있어서의 상기 게이트 전극 측벽 절연막의 단부에서 상기 소자 분리 영역 중 상기 게이트 전극 측벽 절연막의 단부에 가장 가까운 점까지의 거리는, 상기 절단면에 있어서의 상기 게이트 전극 측벽 절연막의 높이보다도 작아도 좋다.The distance from the end of the gate electrode sidewall insulating film in the cut surface along the gate longitudinal direction to the point closest to the end of the gate electrode sidewall insulating film in the element isolation region is greater than the height of the gate electrode sidewall insulating film in the cut surface. It may be small.
게이트 길이 방향에 따른 절단면에 있어서의 상기 제1의 면에서 상기 게이트 전극의 상면까지의 거리는, 상기 제1의 면으로부터 상기 절단면에 있어서 상기 제1 소스 영역의 표면이 상기 게이트 전극 측벽 절연막과 접하는 점까지의 거리와, 상 기 제1의 면으로부터 상기 절단면에 있어서 상기 제1 드레인 영역의 표면이 상기 게이트 전극 측벽 절연막과 접하는 점까지의 거리의 적어도 한쪽보다도 작아도 좋다.The distance from the first surface to the top surface of the gate electrode in the cut surface along the gate longitudinal direction is such that the surface of the first source region is in contact with the gate electrode sidewall insulating film in the cut surface from the first surface. It may be smaller than at least one of the distance to and the distance from the first surface to the point where the surface of the first drain region is in contact with the gate electrode sidewall insulating film on the cut surface.
상기 제2의 소스 영역과 상기 반도체 기판에 의해 형성되는 접합의 게이트 길이 방향에 따른 절단면에 있어서의 상기 제1의 면으로부터의 깊이는, 상기 절단면에 있어서의 상기 게이트 전극 측벽 절연막의 상기 게이트 길이 방향의 폭의 O.8배에서 2배의 범위내이며, 상기 제2의 드레인 영역과 상기 반도체 기판에 의해 형성되는 접합의 게이트 길이 방향에 따른 절단면에 있어서의 상기 제1의 면으로부터의 깊이는, 상기 절단면에 있어서의 상기 게이트 전극 측벽 절연막의 상기 게이트 길이 방향의 폭의 O.8배에서 2배의 범위내여도 좋다.The depth from the first surface in the cut surface along the gate length direction of the junction formed by the second source region and the semiconductor substrate is the gate length direction of the gate electrode sidewall insulating film in the cut surface. The depth from the said 1st surface in the cutting surface along the gate length direction of the junction formed by the said 2nd drain region and the said semiconductor substrate is in the range of 0.8 times-2 times the width | variety of The range of 0.8 to 2 times the width of the gate electrode sidewall insulating film in the gate length direction in the cut surface may be in a range of twice.
상기 제1 드레인 영역의 적어도 일부에 있어서의 상기 제1 드레인 영역의 도전형을 결정하는 불순물의 농도는 1×1020/㎝3보다도 크고 상기 제2의 드레인 영역의 적어도 일부에 있어서의 상기 제2의 드레인 영역의 도전형을 결정하는 불순물의 농도는 1×1020/cm3보다도 크고, 상기 제1 소스 영역의 적어도 일부에 있어서의 상기 제1 소스 영역의 도전형을 결정하는 불순물의 농도는 1×1020/cm3보다도 크고, 상기 제2의 소스 영역의 적어도 일부에 있어서의 상기 제2의 소스 영역의 도전형을 결정하는 불순물의 농도는 1×1020/cm3보다도 커도 좋다.The concentration of the impurity that determines the conductivity type of the first drain region in at least a portion of the first drain region is greater than 1 × 1020 / cm3 and the second in at least a portion of the second drain region. The concentration of the impurity that determines the conductivity of the drain region of is greater than 1 × 1020 / cm3 , and the concentration of the impurity that determines the conductivity of the first source region in at least a portion of the first source region is 1. greater than × 1020 / cm3, at least the concentration of the impurity that determines the conductivity type of the source region of the second in the part of the source region of the second can be greater than 1 × 1020 / cm3.
상기 제1 소스 영역의 적어도 일부는 다결정 실리콘막으로 형성되어 있고, 상기 제1 드레인 영역의 적어도 일부는 다결정 실리콘막으로 형성되어 있어도 좋다.At least a part of the first source region may be formed of a polycrystalline silicon film, and at least a part of the first drain region may be formed of a polycrystalline silicon film.
상기 제1 소스 영역의 적어도 일부는 실리콘 겔마막으로 형성되어 있고, 상기 제1 드레인 영역의 적어도 일부는 실리콘 겔마막으로 형성되어 있어도 좋다.At least part of the first source region may be formed of a silicon gel finish, and at least part of the first drain region may be formed of a silicon gel finish.
상기 다결정 실리콘막의 그레인 사이즈는, 게이트 길이 방향에 따른 절단면에 있어서의 상기 게이트 전극 측벽 절연막의 단부에서 상기 소자 분리 영역 중 상기 게이트 전극 측벽 절연막의 단부에 가장 가까운 점까지의 거리보다도 작아도 좋다.The grain size of the polycrystalline silicon film may be smaller than the distance from the end of the gate electrode sidewall insulating film in the cut surface along the gate length direction to the point closest to the end of the gate electrode sidewall insulating film in the element isolation region.
상기 실리콘 겔마막의 그레인 사이즈는, 게이트 길이 방향에 따른 절단면에 있어서의 상기 게이트 전극 측벽 절연막의 단부에서 상기 소자 분리 영역 중 상기 게이트 전극 측벽 절연막의 단부에 가장 가까운 점까지의 거리보다도 작아도 좋다.The grain size of the silicon gel finish film may be smaller than the distance from the end of the gate electrode sidewall insulating film in the cut surface along the gate length direction to the point closest to the end of the gate electrode sidewall insulating film in the element isolation region.
상기 제2의 소스 영역과 상기 제2의 드레인 영역의 적어도 한쪽은, 상기 제1 소스 영역이 되는 층 또는 상기 제1 드레인 영역이 되는 층에 상기 활성 영역의 도전형과 반대의 도전형의 불순물을 주입하는 공정과, 열 확산에 의해 상기 제1 소스 영역이 되는 층 또는 상기 제1 드레인 영역이 되는 층으로부터 상기 활성 영역으로 상기 불순물을 확산시키는 공정을 포함하는 처리에 의해 형성되어 있어도 좋다.At least one of the second source region and the second drain region includes impurities of a conductivity type opposite to that of the active region in the layer serving as the first source region or the layer serving as the first drain region. It may be formed by a process including a step of implanting and a step of diffusing the impurity from the layer serving as the first source region or the layer serving as the first drain region to the active region by thermal diffusion.
상기 제1 소스 영역이 되는 층의 확산 계수와, 상기 제1 드레인 영역이 되는 층의 확산 계수의 적어도 한쪽은, 상기 반도체 기판의 확산 계수보다도 커도 좋다.At least one of the diffusion coefficient of the layer serving as the first source region and the diffusion coefficient of the layer serving as the first drain region may be larger than the diffusion coefficient of the semiconductor substrate.
본 발명의 다른 반도체 장치는, 반도체 기판과, 상기 반도체 기판상에 설치된 복수의 전계 효과 트랜지스터를 구비한 반도체 장치로서, 상기 복수의 전계 효 과 트랜지스터의 각각은, 상기 반도체 기판상에 설치된 게이트 전극과, 상기 게이트 전극의 측벽에 형성된 게이트 전극 측벽 절연막과, 상기 게이트 전극의 측벽에 상기 게이트 전극 측벽 절연막을 통해 형성된, 소스 영역 또는 드레인 영역이 되는 도전성 막을 포함하고, 상기 복수의 전계 효과 트랜지스터의 복수의 게이트 전극은, 제1의 비절연성 막을 복수의 영역으로 분리하는 공정을 포함하는 처리에 의해 형성되어 있고, 상기 복수의 전계 효과 트랜지스터의 복수의 도전성 막은, 제2의 비절연성 막을 복수의 영역으로 분리하는 공정을 포함하는 처리에 의해 형성되어 있고, 이것에 의해 상기 목적이 달성된다.Another semiconductor device of the present invention is a semiconductor device having a semiconductor substrate and a plurality of field effect transistors provided on the semiconductor substrate, wherein each of the plurality of field effect transistors includes a gate electrode provided on the semiconductor substrate; A gate electrode sidewall insulating film formed on the sidewall of the gate electrode, and a conductive film serving as a source region or a drain region formed on the sidewall of the gate electrode through the gate electrode sidewall insulating film, and a plurality of field effect transistors; The gate electrode is formed by a process including a step of separating the first non-insulating film into a plurality of regions, and the plurality of conductive films of the plurality of field effect transistors separate the second non-insulating film into a plurality of regions. It is formed by the process including the process to make, and the said by this It has been achieved.
본 발명의 다른 반도체 장치는, 반도체 기판과, 상기 반도체 기판상에 설치된 복수의 전계 효과 트랜지스터를 구비한 반도체 장치로서, 상기 복수의 전계 효과 트랜지스터의 각각은, 상기 반도체 기판상에 설치된 웰 영역과, 상기 웰 영역상에 게이트 절연막을 통해 설치된 게이트 전극과, 상기 게이트 전극의 측벽에 형성된 게이트 전극 측벽 절연막과, 상기 게이트 전극의 측벽에 상기 게이트 전극 측벽 절연막을 통해 형성된, 소스 영역 또는 드레인 영역이 되는 도전성 막을 포함하고, 상기 복수의 전계 효과 트랜지스터의 복수의 게이트 전극은, 제1의 비절연성 막을 복수의 영역으로 분리하는 공정을 포함하는 처리에 의해 형성되어 있고, 상기 복수의 전계 효과 트랜지스터의 복수의 도전성 막은, 제2의 비절연성 막을 복수의 영역으로 분리하는 공정을 포함하는 처리에 의해 형성되어 있고, 이것에 의해 상기 목적이 달성된다.Another semiconductor device of the present invention is a semiconductor device having a semiconductor substrate and a plurality of field effect transistors provided on the semiconductor substrate, each of the plurality of field effect transistors comprising: a well region provided on the semiconductor substrate; A gate electrode provided through the gate insulating film on the well region, a gate electrode sidewall insulating film formed on the sidewall of the gate electrode, and a conductive region to be a source region or a drain region formed on the sidewall of the gate electrode through the gate electrode sidewall insulating film A plurality of gate electrodes of the plurality of field effect transistors, including a film, are formed by a process including a step of separating the first non-insulating film into a plurality of regions, and the plurality of conductivity of the plurality of field effect transistors. The film is a step of separating the second non-insulating film into a plurality of regions. Is formed by the process comprising, The above object is thereby achieved.
상기 복수의 전계 효과 트랜지스터의 적어도 하나는, 상기 웰 영역에 전위를 주기 위한, 상기 웰 영역에 설치된 단자를 더 포함하고, 상기 반도체 장치는, 상기 단자에 접속된 전압 발생 회로를 더 구비하고, 상기 전압 발생 회로는, 상기 복수의 전계 효과 트랜지스터의 상기 적어도 하나가 액티브 상태인지 스탠드 바이 상태인지에 따라 상기 웰 영역의 전위를 변화시켜도 좋다.At least one of the plurality of field effect transistors further includes a terminal provided in the well region for supplying a potential to the well region, wherein the semiconductor device further includes a voltage generation circuit connected to the terminal, The voltage generating circuit may change the potential of the well region depending on whether the at least one of the plurality of field effect transistors is in an active state or a stand-by state.
본 발명의 다른 반도체 장치는, 반도체 기판과, 상기 반도체 기판상에 설치된 복수의 전계 효과 트랜지스터를 구비한 반도체 장치로서, 상기 복수의 전계 효과 트랜지스터의 각각은, 소자 분리 영역과, 제1도전형의 깊은 웰 영역과, 상기 제1도전형의 깊은 웰 영역내에 형성된 상기 제1도전성과는 반대의 제2도전형의 얕은 웰 영역과, 상기 제2도전형의 얕은 웰 영역상에 게이트 절연막을 통해 설치된 게이트 전극과, 상기 게이트 전극의 측벽에 형성된 게이트 전극 측벽 절연막과, 상기 게이트 전극의 측벽에 상기 게이트 전극 측벽 절연막을 통해 형성된, 소스 영역 또는 드레인 영역이 되는 도전성 막을 포함하고, 상기 복수의 전계 효과 트랜지스터의 복수의 게이트 전극은, 제1의 비절연성 막을 복수의 영역으로 분리하는 공정을 포함하는 처리에 의해 형성되어 있고, 상기 복수의 전계 효과 트랜지스터의 복수의 도전성 막은, 제2의 비절연성 막을 복수의 영역으로 분리하는 공정을 포함하는 처리에 의해 형성되어 있고, 상기 복수의 전계 효과 트랜지스터의 적어도 하나는, 상기 제2도전형의 얕은 웰 영역과 상기 게이트 전극이 전기적으로 접속된 동적 임계치 트랜지스터이며, 상기 동적 임계치 트랜지스터의 상기 얕은 웰 영역은, 상기 소자 분리 영역 및 상기 깊은 웰 영역에 의해 상기 복수의 전계 효과 트랜지스터 중의 다른 전계 효과 트랜지스터의 얕은 웰 영역과 전기적으로 분리되어 있고, 이것에 의해 상기 목적이 달성된다.Another semiconductor device of the present invention is a semiconductor device including a semiconductor substrate and a plurality of field effect transistors provided on the semiconductor substrate, wherein each of the plurality of field effect transistors has an element isolation region and a first conductivity type. A deep well region, a shallow well region of the second conductivity type opposite to the first conductivity formed in the deep well region of the first conductivity type, and a gate well insulating film on the shallow well region of the second conductivity type; A gate electrode, a gate electrode sidewall insulating film formed on the sidewall of the gate electrode, and a conductive film serving as a source region or a drain region formed on the sidewall of the gate electrode through the gate electrode sidewall insulating film, wherein the plurality of field effect transistors The plurality of gate electrodes may be formed by a process including a step of separating the first non-insulating film into a plurality of regions. The plurality of conductive films of the plurality of field effect transistors are formed by a process including a step of separating the second non-insulating film into a plurality of regions, and at least one of the plurality of field effect transistors is A shallow well region of the second conductivity type and a dynamic threshold transistor electrically connected to the gate electrode, wherein the shallow well region of the dynamic threshold transistor is formed by the device isolation region and the deep well region by the plurality of field effect transistors; It is electrically isolated from the shallow well region of another field effect transistor in this, and the said objective is achieved by this.
본 발명의 반도체 장치의 제조 방법은, 반도체 기판상의 제1의 비절연성 막을 소정의 패턴으로 패터닝함으로써, 제1의 비절연성 막 패턴을 형성하는 공정과, 상기 제1의 비절연성 막 패턴의 측벽에 측벽 절연막을 형성하는 공정과, 제2의 비절연성 막을 퇴적시키는 공정과, 상기 제1의 비절연성 막 패턴의 상부에서 상기 제2의 비절연성 막이 없어질 때까지 이방성 에칭을 행함으로써, 상기 제1의 비절연성 막 패턴의 측벽에, 상기 측벽 절연막을 통해 상기 제2의 비절연성 막으로 이루어지는 사이드 월을 형성하는 공정과, 상기 측벽 절연막에 대해서 선택성이 있는 에칭에 의해 상기 제1의 비절연성 막 패턴 및 상기 사이드 월을 패터닝함으로써, 게이트 전극이 되는 층과, 소스 영역이 되는 층과, 드레인 영역이 되는 층을 형성하는 공정을 포함하고, 이것에 의해 상기 목적이 달성된다.The method of manufacturing a semiconductor device of the present invention comprises the steps of forming a first non-insulating film pattern by patterning a first non-insulating film on a semiconductor substrate in a predetermined pattern, and on the sidewalls of the first non-insulating film pattern. Forming the sidewall insulating film, depositing a second non-insulating film, and performing anisotropic etching until the second non-insulating film disappears from the upper portion of the first non-insulating film pattern. Forming a sidewall made of the second non-insulating film through the sidewall insulating film on the sidewall of the non-insulating film pattern of the film; and the first non-insulating film pattern by etching selectively with respect to the sidewall insulating film. And forming a layer serving as a gate electrode, a layer serving as a source region, and a layer serving as a drain region by patterning the sidewalls. The above object is achieved by this.
상기 반도체 장치의 제조 방법은, 상기 게이트 전극이 되는 층과, 상기 소스 영역이 되는 층과, 상기 드레인 영역이 되는 층에 동시에 도우너 또는 억셉터가 되는 불순물을 주입하는 공정을 더 포함해도 좋다.The method of manufacturing the semiconductor device may further include a step of implanting impurities, which are donors or acceptors, simultaneously into the layer serving as the gate electrode, the layer serving as the source region, and the layer serving as the drain region.
상기 측벽 절연막에 대해서 선택성이 있는 에칭은, 등방 성분을 포함하는 이방성 에칭이라도 좋다.The etching which is selective with respect to the said side wall insulating film may be anisotropic etching containing an isotropic component.
상기 측벽 절연막에 대해서 선택성이 있는 에칭은, 이방성 에칭을 한 후에 등방성 에칭을 행하는 것이라도 좋다.The selective etching of the sidewall insulating film may be performed by isotropic etching after anisotropic etching.
상기 소스 영역이 되는 층의 확산 계수와 상기 드레인 영역이 되는 층의 확산 계수의 적어도 한쪽은, 상기 반도체 기판의 확산 계수보다도 커도 좋다.At least one of the diffusion coefficient of the layer used as the source region and the diffusion coefficient of the layer used as the drain region may be larger than the diffusion coefficient of the semiconductor substrate.
본 발명의 다른 반도체 장치의 제조방법은, 반도체 기판상의 제1의 비절연성 막의 위에 제1의 절연막을 피착시키는 공정과, 상기 제1의 비절연성 막과 상기 제1의 절연막을 소정의 패턴으로 패터닝함으로써, 제1의 비절연성 막 패턴과 제1의 절연막 패턴을 형성하는 공정과, 상기 제1의 비절연성 막 패턴과 상기 제1의 절연막 패턴의 측벽에 측벽 절연막을 형성하는 공정과, 제2의 비절연성 막을 퇴적시키는 공정과, 상기 제1의 절연막 패턴의 상부로부터 상기 제2의 비절연성 막이 없어질 때까지 이방성 에칭을 함으로써 상기 제1의 비절연성 막 패턴과 상기 제1의 절연막 패턴의 측벽에 상기 측벽 절연막을 통해 상기 제2의 비절연성 막으로 이루어지는 사이드 월을 형성하는 공정과, 상기 제1의 절연막 패턴을 선택적으로 제거하고, 상기 제1의 비절연성 막 패턴의 표면을 노출시키는 공정과, 측벽 절연막에 대해서 선택성이 있는 에칭에 의해 상기 비절연성 막 패턴과 상기 사이드 월을 패터닝함으로써, 게이트 전극이 되는 층과, 소스 영역이 되는 층과, 드레인 영역이 되는 층을 형성하는 공정을 포함하고, 이것에 의해 상기 목적이 달성된다.Another manufacturing method of a semiconductor device of the present invention comprises the steps of depositing a first insulating film on a first non-insulating film on a semiconductor substrate, and patterning the first non-insulating film and the first insulating film in a predetermined pattern. Thereby forming a first non-insulating film pattern and a first insulating film pattern; forming a sidewall insulating film on sidewalls of the first non-insulating film pattern and the first insulating film pattern; Depositing a non-insulating film and performing anisotropic etching from an upper portion of the first insulating film pattern until the second non-insulating film disappears to the sidewalls of the first non-insulating film pattern and the first insulating film pattern. Forming a sidewall made of the second non-insulating film through the sidewall insulating film, selectively removing the first insulating film pattern, and forming the first non-insulating film By patterning the non-insulating film pattern and the sidewall by a step of exposing the surface of the turn and etching selectively with respect to the sidewall insulating film, the layer serving as the gate electrode, the layer serving as the source region, and the drain region serving as A step of forming a layer is included, whereby the above object is achieved.
상기 반도체 장치의 제조 방법은, 상기 게이트 전극이 되는 층과, 상기 소스 영역이 되는 층과, 상기 드레인 영역이 되는 층에 동시에 도우너 또는 억셉터가 되는 불순물을 주입하는 공정을 더 포함해도 좋다.The method of manufacturing the semiconductor device may further include a step of implanting impurities, which are donors or acceptors, simultaneously into the layer serving as the gate electrode, the layer serving as the source region, and the layer serving as the drain region.
상기 측벽 절연막에 대해서 선택성이 있는 에칭은, 등방 성분을 포함하는 이방성 에칭이라도 좋다.The etching which is selective with respect to the said side wall insulating film may be anisotropic etching containing an isotropic component.
상기 측벽 절연막에 대해서 선택성이 있는 에칭은, 이방성 에칭을 한 후에 등방성 에칭을 행하는 것이라도 좋다.The selective etching of the sidewall insulating film may be performed by isotropic etching after anisotropic etching.
상기 소스 영역이 되는 층의 확산 계수와 상기 드레인 영역이 되는 층의 확산 계수의 적어도 한쪽은, 상기 반도체 기판의 확산 계수보다도 커도 좋다.At least one of the diffusion coefficient of the layer used as the source region and the diffusion coefficient of the layer used as the drain region may be larger than the diffusion coefficient of the semiconductor substrate.
본 발명의 정보 처리 장치는, 표시소자와, 상기 표시소자를 제어하는 연산소자를 포함하는 전지구동 가능한 정보 처리 장치로서, 상기 연산소자는 청구 범위 제1항에 기재된 반도체 장치를 포함하는 회로에 의해 구성되어 있고, 이것에 의해, 상기 목적이 달성된다.An information processing apparatus of the present invention is a battery-operable information processing apparatus including a display element and a calculation element for controlling the display element, wherein the calculation element is formed by a circuit comprising the semiconductor device according to
도1은, 실시 형태 1의 반도체 장치(1910)의 게이트 길이 방향에 따른 면에서의 수직 단면도이다.FIG. 1 is a vertical cross sectional view of a
도2는, 반도체 장치(1910)에 있어서의 전류의 흐름을 도시하는 도이다.2 is a diagram showing the flow of current in the
도3(a) 및 (b)는, 반도체 장치의 기생 저항을 모식적으로 도시하는 도이다.3A and 3B are diagrams schematically showing parasitic resistance of a semiconductor device.
도4는, 실시 형태 2의 반도체 장치(1920)를 도시하는 도이다.4 is a diagram showing the
도5는, 다결정 실리콘을 에칭 백함으로써 소스·드레인 영역(206a)을 형성한 실시 형태 2의 반도체 장치(1930)를 도시하는 도이다.FIG. 5 is a diagram showing the
도6은, 실시 형태 2의 반도체 장치(1940)를 도시하는 도이다.6 is a diagram showing the
도7은, 실시 형태 2의 반도체 장치(1950)를 도시하는 도이다.7 is a diagram showing the
도8은, 실시 형태 3의 반도체 장치(1091)의 제조공정중의 어느 공정에 있어서의 반도체 장치(1091)의 상태를 도시하는 도이다.FIG. 8 is a diagram showing a state of the
도9(a) 내지 (g)는, 실시 형태 3의 반도체 장치(1091)를 제조하는 공정을 도시하는 도이다.9A to 9G are diagrams illustrating a step of manufacturing the
도10은, 반도체 장치에 있어서의 거리(LA)와 사이드 월의 폭(LSW)의 설정이 적절하지 않은 예를 도시하는 도이다.10 is a diagram showing an example in which the distance LA and the width LSW of the sidewall in the semiconductor device are not set properly.
도11은, 게이트 전극(304)의 주위에 게이트 전극 측벽 절연막(305)을 통해, 다결정 실리콘막(308)이 남아 있는 것을 도시하는 도이다.FIG. 11 is a diagram showing that the
도12는, 분리된 소스·드레인 영역을 도시하는 도이다.Fig. 12 is a diagram showing separated source and drain regions.
도13은, 어레이형으로 가공된 게이트 전극(304)의 주위에 게이트 전극 측벽 절연막(305)을 통해, 다결정 실리콘막(308)이 남아 있는 상태를 도시하는 도이다.FIG. 13 is a diagram showing a state in which the
도14는, 어레이형으로 가공된 게이트 전극(304)의 주위에 게이트 전극 측벽 절연막(305)을 통해 다결정 실리콘막(308)이 남아 있는 상태를 도시하는 도이다.FIG. 14 is a diagram showing a state in which the
도15는, 불순물이 주입된 소스·드레인 영역이 되는 다결정 실리콘막으로부터, 불순물이 확산되는 방향을 도시하는 도이다.Fig. 15 is a diagram showing a direction in which impurities are diffused from a polycrystalline silicon film serving as a source / drain region into which impurities are injected.
도16은, 가로방향으로 오프셋이 생기지 않을 정도로 불순물을 확산시키는 예를 도시하는 도이다.Fig. 16 is a diagram showing an example in which impurities are diffused to such an extent that no offset occurs in the horizontal direction.
도17은, 오프셋이 생긴 경우의 불순물 확산층을 도시하는 도이다.Fig. 17 is a diagram showing an impurity diffusion layer in the case where an offset has occurred.
도18은, N채널 트랜지스터의 게이트 길이와 임계치 전압의 관계를 도시하는 도이다.18 is a diagram showing the relationship between the gate length and the threshold voltage of an N-channel transistor.
도19는, N채널 트랜지스터의 게이트 길이와 임계치 전압의 관계를 도시하는 도이다.Fig. 19 shows the relationship between the gate length and the threshold voltage of an N-channel transistor.
도20은, P채널 트랜지스터의 게이트 길이와 임계치 전압의 관계를 도시하는 도이다.20 is a diagram showing the relationship between the gate length and the threshold voltage of the P-channel transistor.
도21은, P채널 트랜지스터의 게이트 길이와 임계치 전압의 관계를 도시하는 도이다.Fig. 21 is a diagram showing the relationship between the gate length and the threshold voltage of a P-channel transistor.
도22(a)는, 도43(c)에 도시하는 종래의 반도체 장치의 반도체 기판을 위에서 본 평면도이고, (b)는, 본 실시 형태의 반도체 장치의 반도체 기판을 위에서 본 평면도이다.Fig. 22 (a) is a plan view of the semiconductor substrate of the conventional semiconductor device shown in Fig. 43 (c) as seen from above, and (b) is a plan view of the semiconductor substrate of the semiconductor device of the present embodiment as viewed from above.
도23은, 어레이형으로 가공된 게이트 전극(304)의 주위에 게이트 전극 측벽 절연막(305)을 통해, 다결정 실리콘막(308)이 남아 있는 것을 도시하는 도이다.FIG. 23 is a diagram showing that a
도24는, 실시 형태 4에 있어서의 반도체 기판의, 컷 공정 후의 상태를 도시하는 도이다.24 is a diagram showing a state after the cutting process of the semiconductor substrate according to the fourth embodiment.
도25는, 실시 형태 4에 있어서의 반도체 기판의, 실리사이드 공정 후의 상태를 도시하는 도이다.FIG. 25 is a diagram showing a state after the silicide step of the semiconductor substrate according to the fourth embodiment. FIG.
도26(a) 내지 (g)는, 실시 형태 5의 반도체 장치(1401)를 제조하는 공정을 도시하는 도이다.26A to 26G show a step of manufacturing the
도27은, 실시 형태 6의 반도체 장치(1411)의 게이트 길이 방향에 따른 면에서의 수직 단면도이다.27 is a vertical cross sectional view taken along a gate length direction of the
도28은, 인접하는 게이트 전극의 간격이, 사이드 월의 폭(d)의 2배보다 짧게 설정된 반도체 장치(1421)를 도시하는 도이다.FIG. 28 shows a
도29는, 실시 형태 7의 반도체 장치(1421)의 등가회로를 도시하는 도이다.29 is a diagram showing an equivalent circuit of the
도30은, 실시 형태 7의 반도체 장치(1421)의 인접하는 게이트 전극(606, 607)간의 소스·드레인 영역을 분리한 상태를 도시하는 도이다.30 is a diagram showing a state in which source and drain regions between
도31은, 게이트 전극(606, 607)간에, 더미의 게이트 전극(1451)을 설치한 예를 도시하는 도이다.31 shows an example in which
도32(a) 내지 (c)는, 실시 형태 8의 반도체 장치(1511)를 도시하는 도이다.32A to 32C are diagrams showing the
도33(a) 내지 (c)는, 실시 형태 8의 반도체 장치(1511)의 제조 공정을 도시하는 도이다.33A to 33C are diagrams illustrating a manufacturing process of the
도34(a) 내지 (c)는, 실시 형태 8의 반도체 장치(1511)의 제조 공정을 도시하는 도이다.34A to 34C are diagrams showing the manufacturing steps of the
도35(a) 내지 (c)는, 실시 형태 8의 반도체 장치(1511)의 제조 공정을 도시하는 도이다.35A to 35C are diagrams showing the manufacturing steps of the
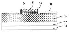
도36(a) 내지 (c)는, 실리콘 질화막의 사이드 월(18)과 실리콘 질화막(19)을 형성하는 공정을 도시하는 도이다.36A to 36C show a step of forming the
도37은, 실시 형태 9의 반도체 장치(1641)의 단면을 도시하는 도이다.37 is a sectional view showing the
도38(a) 및 (b)는, 실시 형태 10의 반도체 장치(1651)를 도시하는 도이다.38A and 38B are diagrams showing the
도39(a) 및 (b)는, 다결정 실리콘막 및 다결정 실리콘의 사이드 월의 일부를 에칭할 때에 발생하는 다결정 실리콘 남음을 도시하는 도이다.39 (a) and 39 (b) are diagrams showing the remaining of polycrystalline silicon generated when etching part of the polycrystalline silicon film and the sidewalls of the polycrystalline silicon.
도40은, 실시 형태 11의 반도체 장치 게이트 전극부 및 사이드 월부의 단면을 도시하는 도이다.40 is a diagram showing a cross section of the semiconductor device gate electrode portion and the side wall portion according to the eleventh embodiment.
도41은, 실시 형태 12의 반도체 장치의 게이트 전극부 및 사이드 월부의 단면을 도시하는 도이다.41 is a sectional view showing the gate electrode portion and the side wall portion of the semiconductor device of
도42(a) 내지 (f)는, 실시 형태 12의 도체 장치의 제조 공정을 도시하는 도 이다.42 (a) to 42 (f) are diagrams illustrating a manufacturing process of the conductor device according to the twelfth embodiment.
도43(a) 내지 (c)는, 종래의 쌓아 올림 확산층을 형성하는 공정을 도시하는 도이다.43A to 43C are diagrams showing a step of forming a conventional stacked diffusion layer.
도44는, 일본국 특허 공개 평10-335660호 공보에 개시되는 절연 게이트형 전계 효과 트랜지스터를 도시하는 도이다.Fig. 44 is a diagram showing an insulated gate field effect transistor disclosed in Japanese Patent Laid-Open No. Hei 10-335660.
도45(a) 내지 (e)는, 일본국 특허 공개 평10-335660호 공보에 개시되는 절연 게이트형 전계 효과 트랜지스터의 제조 공정을 도시하는 도이다.45 (a) to 45 (e) show a manufacturing process of an insulated gate field effect transistor disclosed in Japanese Patent Laid-Open No. 10-335660.
발명을 실시하기 위한 최량의 형태Best Mode for Carrying Out the Invention
이하, 도면을 참조해서 본 발명의 실시 형태를 설명한다. 또한, 본 명세서에 있어서, 제1도전형이란, P형 또는 N형을 의미한다. 또, 제2도전형이란, 제1도전형이 P형인 경우는 N형, 제1도전형이 N형인 경우는 P형을 의미한다. 본 발명의 반도체 장치에 사용할 수 있는 반도체 기판으로서는, 특별히 한정되지 않지만, 실리콘 기판이 바람직하다. 또한, 반도체 기판은, P형 또는 N형의 도전형을 가지고 있어도 좋다.EMBODIMENT OF THE INVENTION Hereinafter, embodiment of this invention is described with reference to drawings. In addition, in this specification, a 1st conductive type means P type or N type. In addition, the second conductivity type means N type when the first conductivity type is P type, and P type when the first conductivity type is N type. Although it does not specifically limit as a semiconductor substrate which can be used for the semiconductor device of this invention, A silicon substrate is preferable. In addition, the semiconductor substrate may have a P type or an N type conductive type.
(실시 형태 1)(Embodiment 1)
도1은, 실시 형태 1에 있어서의 반도체 장치(1910)의 게이트 길이 방향에 따른 면에서의 수직 단면도이다.   게이트 전극(104)의 게이트 길이 방향을 도1에 화살표(1011)로 나타낸다.FIG. 1 is a vertical sectional view of the
반도체 장치(1910)의 반도체 기판(100)은, 반도체 기판(100)에 형성된 소자  분리 영역(101)과, 소자 분리 영역(101)에 둘러싸인 활성 영역(102)을 포함한다.  반도체 장치(1910)는, 활성 영역(102)상에 형성된 MIS형 반도체 소자이다.  반도체 장치(1910)는, 소자 분리 영역(101), 활성 영역(102), 게이트 산화막(게이트 절연막)(103), 게이트 전극(104), 게이트 전극 측벽 절연막(105), 및 소스·드레인 영역(106)을 구비하고 있다.The
소스·드레인 영역(106)은 게이트 전극 측벽 절연막(105)에 인접하고, 그 대부분이 게이트 산화막(103)과 활성 영역(102)의 계면인 활성 영역 표면(A-A')보다도 상방에도 위치한다.The source /
구체적으로는, 소스·드레인 영역(106)의 형상은, 게이트 전극(104)의 게이트 길이 방향으로 절단했을 때의 수직단면에 있어서의, 반도체 기판의 활성 영역 표면(A-A')으로부터 소스·드레인 영역(106)의 표면까지의 거리(h)가, 소자 분리 영역(101)으로부터 게이트 전극(104)으로 향함에 따라 증가하는 형상이다.  또한, 게이트 전극(104)의 측면과 소스·드레인 영역(106)의 단(B-B')의 사이에, 활성 영역(102)과 소자 분리 영역의 경계(C-C')가 존재한다.  도1에 도시하는 바와 같이, 3개의 영역(즉, 활성화 영역(102)과 전기적으로 절연된, 게이트 전극(104), 및 두개의 소스·드레인 영역(101))이, 소자 분리 영역(101)과 활성화 영역(102) 사이에 단차가 생기지 않도록, 소자 분리 영역(101)의 일부, 및 활성화 영역(102)을 덮는다.  또한, 소스·드레인 영역(106)의 표면(도1의 (선d-d') 및 선(e-e')에 대응함)과, 소자 분리 영역(101)의 표면(도1의 선(f-f')에 대응함)은, 80도 이하의 각도로 교차한다.Specifically, the shape of the source /
이러한 구조에 의해, 게이트 전극(104) 및 게이트 전극(104)의 양측에 위치하는 소스·드레인 영역(106)에 의한 수직의 단차가 발생하지 않는다.  이 때문에, 콘택트 저항에 기인하는 수율의 저하가 억제된다.  소스·드레인 영역(106)의 표면(d-d' 및 e-e')과, 소자 분리 영역(101)의 표면(f-f')은, 60도 이하의 각도로 교차하면, 더욱 콘택트 저항에 기인하는 수율이 향상하고, 보다 바람직한 것을 알수 있었다.With this structure, the vertical step by the source /
또한, 소자 분리 영역(101)의 표면(f-f')은, 활성 영역과 게이트 산화막이 접하는 제1의 면, 즉 활성 영역 표면(도1에 선(A-A')으로 도시되어 있다)보다 상방에 존재해도 좋다.  이렇게 하면, 게이트 길이 방향의 절단면에 있어서, 소스·드레인 영역(106)의 표면과, 소자 분리 영역(101)의 표면이 교차하는 각도(θ)(접촉각도)를 더욱 작게 할 수 있다.  접촉각(θ)은, 바람직하게는, 70도 이하, 더욱 바람직하게는, 60도 이하이면 좋다.In addition, the surface f-f 'of the
접촉각(θ)을 작게 하면, 반도체 장치(1910)는, 상당히 매끈매끈한 표면을 가지게 된다.  그 때문에, 반도체 장치의 제조시에 생기는 단차에 기인하는 여러가지 문제가 해결된다.  예를 들면, 반도체 장치(1910)에서는, 층간 절연막(도1에는 도시되어 있지 않다)의 평탄화를 용이하게 행할 수 있다.  또한, 소자 분리 영역(101)과 활성 영역(102)의 단차가 소스·드레인 영역(106)에 의해 덮히기 때문에, 단차부에 의한 빛의 반사가 없어지고, 리소그래피가 용이해진다.  또한, 소스·드레인 영역을 형성한 후에는, 활성 영역(102)이 노출되지 않는다.  이 때문에, 에칭이나, 이온 주입시에 활성 영역(102)에 손상이 생기지 않는다고 하는 메리트를  얻을 수 있다.If the contact angle θ is made small, the
활성 영역(102)의 표면(A-A')으로부터 소스·드레인 영역(106)의 표면, 즉 노출면(d-d')까지의 높이는, 게이트 전극(104)에 근접할수록 높아진다.  이 때문에, 이온 주입법에 의해, 소스·드레인 영역(106)에 불순물 도핑을 행함으로써 형성되는, 활성 영역(102)의 표면(A-A')보다도 하방의 소스·드레인 영역(106)의 깊이(접합의 깊이)(h')는, 게이트 전극(104)으로부터 멀어짐에 따라 단조롭게 증가한다. 깊이(h')는, 활성 영역(102)의 표면(A, A')으로부터, 반도체 기판(100)(일반적인 CMOS의 경우, 소스·드레인 영역(106)과 반대 도전형의 웰 영역)과 소스·드레인 영역(106)의 접합까지의 깊이로서 정의된다.The height from the surface A-A 'of the
이와 같이, 반도체 장치(1910)는, 단 채널 효과에 직접 영향을 주는 게이트 전극단 근방(채널 영역 근방)의 접합 깊이를 얕게 하면서, 또한, 단 채널 효과에 직접 영향을 주지 않는 소자 분리 영역측의 접합 깊이를 깊게 하는 구조를 채용하고 있다.  이 때문에, 단 채널 효과를 억제하면서, 소스·드레인 영역의 기생 저항을 저감할 수 있다.As described above, the
활성 영역(102)의 표면(A-A')보다 상방의 소스·드레인 영역(106)을 형성하는 재료중에서의 불순물의 확산 속도(확산 계수)와, 활성 영역(102)의 표면(A-A')보다 하방의 반도체 기판중에서의 불순물의 확산 속도(확산 계수)는 다르기 때문에, 소스·드레인 영역 표면(d-d' 및, e-e')의 형상과, 접합의 경계면의 형상은, 전혀 동일하지 않다.  그러나, 접합의 깊이는, 소스·드레인 영역(106)의 표면(d-d' 및, e-e')의 형상을 반영한다.  이 때문에, 접합의 깊이(h')는, 게이트  전극(104)에 근접할수록 얕아진다.The diffusion rate (diffusion coefficient) of impurities in the material forming the source /
트랜지스터의 단 채널 효과를 억제하기 위해서는, 채널 영역의 근방에서의, 소스·드레인 영역과, 반도체 기판의 접합의 활성 영역(102)의 표면(A-A')으로부터의 깊이가, 충분히 얕아지도록 할 필요가 있다.  이것을 위해서는, 활성 영역(102)의 표면(A-A')으로부터, 게이트 전극(104)의 상부까지의 높이는, 게이트 전극 측벽 절연막(105)과 접하는 위치에서의 소스·드레인 영역(106)의 표면까지의 높이(h)와 비교하여, 낮은 쪽이 바람직하다.  이하에, 그 이유를 설명한다.In order to suppress the short channel effect of the transistor, the depth of the source / drain region in the vicinity of the channel region and the surface A-A 'of the
게이트 전극(104)의 재료로서, 예를 들면, 다결정 실리콘막(또는, 다결정 실리콘막과, 고융점 금속막, 및/또는, 고융점 금속 실리사이드막 등의 다층 적층막)을 이용한 경우, 일반적으로, 게이트 전극(104)에의 불순물 도입은, 이온 주입법에 의해, 소스·드레인 영역(106)에의 불순물 도입과 동시에 행하여진다.  게이트 전극(104)이 공핍화하지 않기 위해서는, 게이트 전극(104)이 게이트 산화막(103)과 접하는 영역에 있어서의 게이트 전극(104)의 불순물 농도는, 1×1020/cm3이상 필요해진다.  이러한 고농도의 불순물 이온 주입을 행한 후, 충분한 열처리가 실시된다.  이 열처리의 과정에서는, 소스·드레인 영역(106)에 주입한 불순물도, 게이트 전극(104)에 주입한 불순물과 마찬가지로 확산한다.As a material of the
활성 영역(102)의 표면(A-A')으로부터, 게이트 전극(104)의 상부까지의 높이(hg)가 게이트 전극 측벽 절연막(105)과 접하는 위치에서의 활성 영역(102)의 표면(A-A')으로부터 소스·드레인 영역(106)의 표면까지의 높이(h)보다도 낮으면,  게이트 산화막(103)과 접하는 영역에 있어서의 게이트 전극(104)중의 불순물 농도를 충분히 높이도록 불순물 확산을 하더라도, 소스·드레인 영역(106)의 접합 깊이(h')는, 깊어지지 않는다.  게이트 전극(104) 근방의 트랜지스터의 채널 영역의 깊이와 비교해서 소스·드레인 접합 깊이는 충분히 얕게 형성하는 것이 가능해지고, 미세화할 때의 단 채널 효과를 효과적으로 억제할 수 있으므로, 미세화에 따른 단 채널 효과를 효과적으로 억제할 수 있다.The surface A of the
도2는, 반도체 장치(1910)에 있어서의 전류의 흐름을 도시한다.  도2는, 도1과 마찬가지로 게이트 전극(104)의 게이트 길이 방향에 따른 면에서의 수직 단면도이다.  도2에 도시하는 바와 같이, 콘택트 구멍(107)의 일부는, 소스·드레인 영역(106)의 표면에 위치한다.  콘택트 구멍(107)은, 상부 배선의 일부(콘택트 배선)가 채워져 있다.2 shows the flow of current in the
반도체 장치(1910)에서는, 소스·드레인 영역(106)의 표면적은, 활성 영역(102)(도1)의 표면(A-A')에 있어서 소스·드레인 영역(106)이 차지하는 면적보다도 크다.  이 때문에, 반도체 장치(1910)는, 종래의 반도체 장치(도43(c))에 비해서, 소스·드레인 영역(106)과 상부 배선의 콘택트 저항을 낮출 수 있다.  즉, 콘택트 구멍(107)의 직경이 종래의 반도체 장치와 동일하다고 하더라도, 반도체 장치(1910)에서는, 소스·드레인 영역(106)과 상부 배선의 콘택트 저항을 낮출 수 있다.  반대로, 반도체 장치(1910)의 콘택트 저항을 종래의 반도체 장치의 콘택트 저항과 동일 정도로 설계하는 경우를 가정하면, 반도체 장치(1910)의 점유 면적(특히 소스·드레인 영역(106)의 점유 면적)을 종래의 반도체 장치의 점유 면적에 비해서  작게 하는 것이 가능하다.  반도체 장치(1910)에서는, 소스·드레인 영역(106)과 반도체 기판(100)의 접합 면적을, 콘택트 저항을 희생하지 않고서 작게 하는 것이 가능해지므로, 접합 용량을 효과적으로 저감하는 것이 가능해진다.In the
이와 같이, 반도체 장치(1910)에서는, 콘택트 저항을 희생시키지 않고서, 점유 면적의 축소화, 기생 용량(접합용량)의 저감, 및 기생 저항의 저감이 가능해져, 상당히 큰 상호 컨덕턴스를 얻을 수 있다.  용량이 작아지면 충전에 요하는 시간이 짧아지므로, 본 발명의 반도체소자를 이용해서 설계한 회로의 스피드가 향상한다고 하는 효과가 있다.As described above, in the
상술한 바와 같이, 반도체 장치(1910)에서는, 소스·드레인 영역(106)의 표면(콘택트 배선과 접촉하기 위한 제2의 면)과, 소자 분리 영역(101)의 표면(도1에 있어서의 f-f')이 접하는 각도(접촉각(θ))는, 80도 이하이다.  이 때문에, 콘택트 배선과 접촉하는 영역이 소스·드레인 영역과 소자 분리 영역에 걸치는 부분(도2에 영역(A)로서 도시된다)에 있어서도, 수직단차가 생기지 않는다.  이것은, 콘택트 저항에 기인하는 수율을 크게 향상시키는 효과가 있다.As described above, in the
콘택트 구멍(107)의 내부는, 일반적으로, 금속 플러그 등의 콘택트 배선이 메워 넣어져 있다.   콘택트 구멍(107)의 내부에, 도44에 도시하는 바와 같은 수직단이 존재하면(즉, 접촉각(θ)이 약 90도이면), 콘택트 배선과 소스·드레인 영역의 접속이 불완전해지고, 콘택트 저항에 기인하는 수율이 극단적으로 악화한다.  이것에 대해서, 접촉각(θ)이 80도 이하이면, 플러그와 소스·드레인 영역의 접속상태가 개선되어, 콘택트 저항에 기인하는 수율이 현저하게 향상한다.  또한, 접촉 각(θ)이 60도 이하이면, 수율이 더욱 향상되고, 향상된 수율이 안정적으로 달성되었다.Generally, the
접촉각(θ)을 80도 이하로 함으로써, 콘택트 구멍(107)을 형성하기 위한 가공시에 있어서의 메리트를 얻을 수 있다.  다시 말해, 반도체 장치(1910)에서는, 도2에 도시하는 영역(A)에 있어서 수직단차가 생기지 않으므로, 자기 정합 콘택트 등의 에칭시에, 수직 단차부에 있어서 기초 스토퍼층의 에칭레이트의 증가가 일어나 기초 선택비가 저하한다고 하는 문제가 발생하지 않는다.  에칭이 용이해지기 때문에, 콘택트 저항에 기인하는 수율이 현저하게 향상한다.By making contact angle (theta) 80 degrees or less, the merit at the time of the process for forming the
또, 실리사이드화(Self Aligned Silicide)를 고려한 경우, 점유 면적에 대해서 실리사이드화되는 표면적이 증가하기 때문에, 저 저항화가 가능해진다. 또, 실리사이드화 반응시의 문제점인 세선 효과(미세 배선의 실리사이드화에 있어서, 반응이 저해되기 때문에 실리사이드화 할 수 없게 된다고 하는 문제)를 완화시키는 효과가 있다.In addition, when the self-aligned silicide is taken into consideration, the surface area to be silicided increases with respect to the occupied area, so that the resistance can be reduced. In addition, there is an effect of alleviating the thin wire effect (a problem that silicide cannot be made because the reaction is inhibited in silicidation of the fine wiring), which is a problem in the silicide formation reaction.
또한, 도1에는, 소스·드레인 영역(106)이 2개소에 도시되어 있다.  이것들 중 한쪽이 소스 영역으로서 기능하고, 다른 한쪽이 드레인 영역으로서 기능한다.1, the source and drain
이하에, 반도체 장치(1910)의 전류의 흐름을 설명한다.The flow of current in the
도2에 도시하는 영역(D)은, 전류의 유로에 있어서의, 금속전극과 비교해서 저항이 높은 영역(불순물 확산층 영역)을 도시한다.  반도체 장치(1910)에서는, 채널 영역(110)으로부터 콘택트 구멍(107)까지의 거리가 상당히 짧고, 전류의 유로에 있어서 영역(D)이 차지하는 거리가 상당히 적기 때문에, 종래의 반도체 장치와 비 교해서, 소스·드레인 영역(106)의 기생 저항이 감소한다.  또한, 영역(D)중의 불순물 농도는, 채널영역(110)근방까지 1×1020/cm3이상의 고농도이기 때문에, 반도체층으로서는, 지극히 저저항이다. 또한, 소스·드레인 영역(106)중에서, 채널 영역(110)근방으로부터 콘택트 배선에 근접함에 따라 전류가 흐르는 경로가 확장되어 있다.  이 때문에, 기생 저항이 현저하게 작아진다.  이들 특징에 의해, 반도체 장치(1910)의 전류구동능력이 증가하고, 상호 컨덕턴스가 향상한다.The region D shown in FIG. 2 shows a region (impurity diffusion layer region) having a higher resistance than the metal electrode in the current flow path. In the
도3(a) 및 (b)는, 반도체 장치의 기생 저항을 모식적으로 도시하는 도이다.3A and 3B are diagrams schematically showing parasitic resistance of a semiconductor device.
도3(a)는, 본 실시 형태의 반도체 장치(1910)의 기생 저항을 모식적으로 도시하고, 도3(b)는, 종래의 반도체 장치(1041)의 기생 저항을 모식적으로 도시한다.3A schematically shows the parasitic resistance of the
여기에서, Rcont는 콘택트 저항을 나타내고, Rsd은 소스·드레인 저항을 나타내고, Rej는 돌출 접합의 확대 저항을 도시한다.Here, Rcont represents a contact resistance, Rsd represents a source-drain resistance, and Rej represents an expansion resistance of the protruding junction.
본 실시 형태의 반도체 장치(1910)는, 종래의 반도체 장치(1041)와 비교해서, 콘택트 배선이 소스·드레인 영역(107)과 접촉하는 위치부터 채널의 위치까지의 거리가 상당히 가깝다.  이 때문에, 반도체 장치(1910)의 소스·드레인 저항(Rsd)은, 반도체 장치(1041)의 소스·드레인 저항(Rsd)에 비해서 낮아진다.In the
반도체 장치(1910)(도3(a))의 기생 저항을 더욱 저감시키기 위해서는, 활성 영역(102)과 게이트 산화막(103)이 접하는 면(A-A')보다 위의 소스·드레인 영역의 부분(I)(제1 소스·드레인 영역)에 있어서의 불순물의 농도와, A-A'면보다 아래의 소스·드레인 영역의 부분(H)(제2의 소스·드레인 영역)에 있어서의 불순물의 농도 는, 모두 1×1020/cm3보다도 진한 것이 바람직하다.  불순물의 농도란, 도전형을 결정하는 도우너 또는 억셉터의 농도이다.  보다 구체적으로는, 영역(I)과, 영역(H)의 일부가 접하는 계면부근에 있어서, 영역(I)에 있어서의 불순물의 농도가, 영역(H)에 있어서의 불순물의 농도와 거의 같고, 그 농도는 1×1020/cm3보다도 높은 것이 바람직하다.  이것에 의해, 소스·드레인 영역(106) 중 게이트 전극 측벽 절연막(105)의 하방의 영역에 있어서의 불순물의 농도는, 일반적인 MOS트랜지스터의 게이트 전극 측벽 절연막하의 소스·드레인 영역의 불순물의 농도 1×1018 내지 1×1020/cm3과 비교해서 높아진다.  소스·드레인 영역(106)중의 불순물의 농도는, 채널 근방까지 높기 때문에, 소스·드레인(106) 영역의 저항은 채널 근방까지 현저하게 낮다.  이 때문에, 반도체 장치(1910)에서는, A-A'면의 하방의 소스·드레인 영역(106)과 반도체 기판(100)의 접합이 상당히 얕음에도 불구하고, 종래의 반도체 장치와 비교해서 저항(Rej)의 값을 대폭적으로 저감할 수 있다.  이 때문에, 트랜지스터의 구동전류가 대폭적으로 향상한다.In order to further reduce the parasitic resistance of the semiconductor device 1910 (FIG. 3A), the portion of the source / drain region above the surface A-A 'where the
(실시 형태 2)(Embodiment 2)
도4는, 실시 형태 2의 반도체 장치(1920)를 도시한다.  도4는, 반도체 장치(1920)의 게이트 길이 방향에 따른 면(게이트 전극(204)의  길이 방향에 직교하는 면)에 있어서의 수직 단면도이다.4 shows the
반도체 장치(1920)는, 반도체 기판(200)상에 형성된 소자 분리 영역(201),  활성 영역(202), 게이트 산화막(203), 게이트 전극(204), 게이트 전극 측벽 절연막 (205), 소스·드레인 영역(206), 및 콘택트 구멍(207)을 구비하고 있다.  도4에 도시하는 바와 같이, 게이트 전극(204)의 게이트 길이 방향에 따른 수직단면에 있어서, 소스·드레인 영역(206)의 표면은 위에 볼록의 곡선형상을 나타낸다.  이 때문에, 실시 형태 1의 반도체 장치(1910)와 비교해서, 반도체 장치(1920)에서는, 소스·드레인 영역(206)의 점유 면적이 동일하다고 가정한 경우에 콘택트 배선이 접촉하는 면적을 증대시키는 것이 가능해진다.The
도4에 도시하는 반도체 장치(1920)에서는, 소스·드레인 영역(206)의 표면은, 게이트 전극(204)에 근접함에 따라, 단조롭게 그 높이가 증가하고, 또한, 위에 볼록 형상이 되어 있다.  소스·드레인 영역(206)의 표면과, 소자 분리 영역(201)의 표면은, 접촉각(θ)으로 교차한다.In the
소스·드레인 영역(206)의 표면은 요곡면이 된다.  곡면으로 함으로써 평면의 경우와 비교해서, 반도체 기판상에서의 소스·드레인 영역의 점유 면적에 비교해서 보다 효과적으로 소스·드레인 영역(206)의 표면적을 크게 하는 것이 가능해진다.The surface of the source /
또한, 반도체 장치(1920)의 제조 방법은, 실시 형태 3 및 실시 형태 5에서 후술한다.In addition, the manufacturing method of the
도5는, 다결정 실리콘을 에칭 백함으로써 소스·드레인 영역(206a)을 형성한 실시 형태 2의 반도체 장치(1930)를 도시한다.  도5에 도시하는 바와 같이, 다결정 실리콘을 에칭 백함으로써 소스·드레인 영역(206)을 형성하면, 다결정 실리콘막에  함유되는 그레인에 의해, 요철이 있는 표면을 가지는 소스·드레인 영역(206a)이 형성된다.  반도체 장치(1930)에서는, 소스·드레인 영역(206a)이 요철이 있는 표면을 가지기 때문에, 소스·드레인 영역(206a)의 표면적이 커진다.FIG. 5 shows a
도5에 도시하는 참조부호(1061)는, 소스·드레인 영역(206a)의 요철이 있는 표면을 고르게 한 면을 도시한다.  도5에 도시하는 바와 같이, 면(1061)은, 위에 볼록 형상을 가지고 있다.
도5에 도시하는 반도체 장치(1930)에서는, 소스·드레인 영역(206a)의 표면은, 게이트 전극(204)에 근접함에 따라, 단조롭게 그 높이가 증가하고, 또한, 위로 볼록 형상이 되어 있다.   또한, 소스·드레인 영역(206a)의 표면은 요철을 가지고 있기 때문에, 소스·드레인 영역(206a)의 표면의 높이는, 소스·드레인 영역(206a)의 표면의 요철을 고르게 한 면(1061)의 높이로서 정의된다.  또, 소스·드레인 영역(206a)의 표면의 형상이 위로 볼록하다고 하는 것은, 소스·드레인 영역(206a)의 표면의 요철을 고르게 한 면(1061)의 형상이 위로 볼록한 것을 의미한다.In the
소스·드레인 영역(206a)의 표면과, 소자 분리 영역(201)의 표면은, 접촉각(θ)으로 교차한다.  또한, 소스·드레인 영역(206a)의 표면은 요철을 가지고 있으므로, 소스·드레인 영역(206a)의 표면과, 소자 분리 영역(201)의 표면의 교차하는 각도는, 소스·드레인 영역(206a)의 표면의 요철을 고르게 한 면(1061)과, 소자 분리 영역(201)의 표면의 교차하는 각도로서 정의된다.The surface of the source /
소스·드레인 영역(206a)의 표면은, 거시적으로 보면, 위로 볼록면이지만, 미시적으로 보면, 요철면이 된다.  이 때문에, 반도체 기판상에서의 소스·드레인  영역(206a)의 점유 면적에 대해서, 더욱 효과적으로 소스·드레인 영역(206a)의 표면적을 크게 하는 것이 가능해진다.The surface of the source-
도6은, 실시 형태 2의 반도체 장치(1940)을 도시한다.  반도체 장치(1940)에서는, 소스·드레인 영역(206b)의 표면은, 게이트 전극(204)에 근접함에 따라, 단조롭게 그 높이가 증가하고, 또한, 아래에 볼록 형상이 되어 있다.  소스·드레인 영역(206b)의 표면과, 소자 분리 영역(201)의 표면은, 접촉각(θ)으로 교차한다.  여기에서, 높이란 활성 영역(202)과 게이트 산화막(203)이 접하는 면(제1의 면)으로부터의 높이를 말한다.6 shows a
소스·드레인 영역(206b)의 표면은 요곡면이 된다.  곡면으로 함으로써 평면의 경우와 비교해서, 반도체 기판상에서의 소스·드레인 영역의 점유 면적에 비교해서 보다 효과적으로 소스·드레인 영역(206b)의 표면적을 크게 하는 것이 가능해진다.The surface of the source-
도7은, 실시 형태 2의 반도체 장치(1950)를 도시한다.  반도체 장치(1950)에서는, 소스·드레인 영역(206c)은 요철이 있는 표면을 가지고 있다.  소스·드레인 영역(206c)의 표면은, 게이트 전극(204)에 근접함에 따라, 단조롭게 그 높이가 증가하고, 또, 아래에 볼록 형상이 되어 있다.  또한, 소스, 드레인 영역(206c)의 표면은 요철을 가지고 있으므로, 소스·드레인 영역(206c)의 표면의 높이는, 소스·드레인 영역(206c)의 표면의 요철을 고르게 한 면(1081)의 높이로서 정의된다.   또, 소스·드레인 영역(206c)의 표면의 형상이 아래로 볼록하다고 하는 것은, 소스·드레인 영역(206c)의 표면의 요철을 고르게 한 면(1081)의 형상이 아래로 볼록한 것을 의미한다.7 shows the
소스·드레인 영역(206c)의 표면과, 소자 분리 영역(201)의 표면은, 접촉각(θ)으로 교차한다.  또한, 소스·드레인 영역(206c)의 표면은 요철을 가지고 있으므로, 소스·드레인 영역(206a)의 표면과, 소자 분리 영역(201)의 표면이 교차하는 각도는, 소스·드레인 영역(206c)의 표면의 요철을 고르게 한 면(1081)과, 소자 분리 영역(201)의 표면의 교차하는 각도로서 정의된다.The surface of the source /
소스·드레인 영역(206c)의 표면은, 거시적으로 보면, 아래로 볼록면이지만, 미시적으로 보면, 요철면이 된다.  이 때문에, 반도체 기판상에서의 소스·드레인 영역(206c)의 점유 면적에 대해서, 더욱 효과적으로 소스·드레인 영역(206c)의 표면적을 크게 하는 것이 가능해진다.The surface of the source-
반도체 장치(1920)(도4), 반도체 장치(1930)(도5), 반도체 장치(1940)(도6) 및 반도체 장치(1950)(도7)에 공통되는 특징은, 어느 반도체 장치에 있어서나, 소스·드레인 영역의 점유 면적과 비교해서, 소스·드레인 영역의 표면적이 커져 있는 것과, 접촉각(θ)이 80도 이하인 것이다.Features common to the semiconductor device 1920 (FIG. 4), the semiconductor device 1930 (FIG. 5), the semiconductor device 1940 (FIG. 6), and the semiconductor device 1950 (FIG. 7) are the same in any semiconductor device. The surface area of the source / drain region is larger than that of the occupation area of the source / drain region, and the contact angle θ is 80 degrees or less.
접촉각(θ)은, 소스·드레인 영역이 소자 분리 영역과 접하는 영역에 있어서의, 소스·드레인 영역의 접면(j-j')과 소자 분리 영역 표면(f-f')이 이루는 각도로서 정의된다.  접촉각(θ)이 80도 이하인 것에 의해, 실시 형태 1에서 설명된 효과와 동일한 효과를 얻는 것이 가능해지는 동시에, 실시 형태 1의 반도체 장치(1910)보다도 더욱 소스·드레인 영역의 표면적을 늘리는 것이 가능해진다.  이것에 의해, 반도체 장치(1920), 반도체 장치(1930), 반도체 장치(1940) 및 반도 체 장치(1950)에 따르면, 콘택트 저항이 더욱 저감하여, 콘택트 저항에 기인하는 수율을 한층 향상시키는 것이 가능해진다.  상술한 바와 같이, 접촉각(θ)을 60도 이하로 하면, 콘택트의 수율이 더욱 향상하므로 바람직하다.The contact angle θ is defined as an angle between the contact surface j-j 'of the source / drain region and the element isolation region surface f-f' in the region where the source / drain region is in contact with the element isolation region. . When the contact angle θ is 80 degrees or less, the same effects as those described in the first embodiment can be obtained, and the surface area of the source and drain regions can be increased more than the
(실시 형태 3)(Embodiment 3)
이하에, 실시 형태 3에 있어서의 반도체 장치를 제조하는 방법을 도8 내지 도16을 이용해서 설명한다.Hereinafter, the method of manufacturing the semiconductor device in Embodiment 3 is demonstrated using FIG. 8 thru | or FIG.
도8은, 실시 형태 3의 반도체 장치(1091)의 제조공정중의 어느 공정에 있어서의 반도체 장치(1091)의 상태를 도시한다.  반도체 장치(1091)는, 반도체 기판 (301), 소자 분리 영역(302), 게이트 산화막(303), 게이트 전극(304), 게이트 전극 측벽 절연막(305), 및 소스·드레인 영역이 되는 다결정 실리콘막(308)을 구비하고 있다.8 shows a state of the
소스·드레인 영역이 되는 다결정 실리콘막(308)에의 콘택트 구멍(311)은, 게이트 전극(304)과 단락하지 않도록, 게이트 전극(304)과 콘택트 구멍(311)의 거리가 마진(MC)이 되도록 형성된다.  도8에는 게이트 전극(304)의 좌측의 소스·드레인 영역(308)에의 콘택트 구멍(311)만이 도시되어 있지만, 게이트 전극(304)의 양측의 소스·드레인 영역(308)의 각각에 대해서 콘택트 구멍(311)이 설치되어도 좋다.The
여기에서, 반도체 장치(1091)에 있어서의 치수를 이하와 같이 정의한다.Here, the dimensions in the
ㆍTG:게이트 전극(304)의 높이TG: height of
ㆍTSW:게이트 전극 측벽 절연막(305)의 높이TSW: height of gate electrode
ㆍTSDmax:게이트 측벽 절연막(305)과 소스·드레인 영역(308)이 접하는 부분에 있어서의 소스·드레인 영역(308)의 높이TSDmax: height of the source /
ㆍXjSD:채널 영역 근방의 소스·드레인 영역(308)의 접합 깊이XjSD: junction depth of the source /
ㆍLG:게이트 전극(304)의 폭(게이트 길이)LG: width of gate electrode 304 (gate length)
ㆍLSW:게이트 전극 측벽 절연막(305)의 폭LSW: width of gate electrode
ㆍLSD:소스·드레인 영역(308)의 폭(게이트 전극 측벽 절연막(305)과 접하는 부분으로부터 소자 분리 영역(302)의 상부까지 연재되어 있는 부분까지의 거리)LSD: Width of the source / drain region 308 (distance from the portion in contact with the gate electrode
ㆍLA:게이트 전극 측벽 절연막(305)과 소자 분리 영역(302)까지의 거리LA: distance between the gate electrode
ㆍLM:콘택트 구멍(311)의 직경LM: diameter of the
ㆍMC:게이트 전극(304)과 콘택트 구멍(311) 사이의 마진MC: margin between
여기서, 반도체 장치(1091)를 제조할 때의 최소 가공치수를 F라고 한다.  게이트 전극의 폭(LG)(게이트 길이)은, 일반적으로, 최소 가공치수로 설정된다.  게이트 길이는 짧을수록, 트랜지스터의 구동능력은 향상하기 때문이다.  기초 패턴에 대한 얼라이먼트 마진은, 반도체 장치(1091)를 제조하는 장치의 성능에 의존하지만, 일반적으로는 약 1/3×F의 얼라이먼트 마진이 필요하다.  LA는, 얼라이먼트 마진 이상으로 설정하는 것이 필요하고, 바람직하게는, 얼라이먼트 마진이 1/3×F인경우, LA를 2/3×F이상으로 설정하는 것이 바람직하다.Here, the minimum processing dimension at the time of manufacturing the
LSW가 작으면, 게이트 전극(304)과 소스·드레인 영역(308) 사이의 단락이나, 게이트 전극(304)과 소스·드레인 영역(308) 사이의 기생 용량의 증대를 초래한다.  한편, LSW를 크게 설정한 경우에는, 채널에 대해서 소스·드레인 영역이 오 프셋이 되지 않기 때문에 XjSD를 크게 할 필요가 있고, 단 채널 효과가 악화한다.  LSW를 크게 설정한 경우에 채널 방향으로 불순물을 확산시키면, 필연적으로 하방향으로도 불순물이 확산되고, 접합 깊이(XjSD)가 깊어지기 때문이다.  LSW와, 게이트 전극 측벽 절연막(305)의 소자 분리 영역(302)측의 단점(도8에 있어서의 점 (1092))의 직하에서의 XjSD는, 0.8×LSW≤XjSD≤2×LSW의 관계를 실질적으로 충족시키는 것이 바람직하다.  이것에 의해, 채널 영역에 대해서 오프셋하지 않고서 소스·드레인 영역(308)이 존재하고, 또한, 소스·드레인 영역(308)과, 반도체 기판(301)의 접합이, 제1의 면으로부터 하방향으로 상당히 얕은 접합이 되어 있기 때문에, 구동전류의 증대와 단 채널 효과의 억제를 양립시키는 작용이 있다.If the LSW is small, a short circuit between the
또한, LSW=XjSD이면 더욱 바람직하다.Moreover, it is more preferable if LSW = XjSD.
상술한 바와 같이, 단 채널 효과의 억제와, 기생 용량에 기인하는 수율 향상을 양립시키기 위해서는, LSW의 값을 적절으로 설정 할 필요가 있다.  관계 1/8×F≤LSW≤1/3×F가 실질적으로 충족되도록 설계를 하는 것이 바람직하다.  성능과 수율의 균형을 고려하면, 관계 1/6×F≤LSW≤1/4×F가 실질적으로 충족되도록 설계를 하는 것이 보다 바람직하다.As mentioned above, in order to make both the suppression of a short channel effect and the yield improvement resulting from a parasitic capacitance, it is necessary to set the value of LSW suitably. It is desirable to design so that the
LA는, 제조수율을 고려하면 얼라이먼트 마진 1/3×F이상인 것이 필요하지만, LA는, 될 수 있는 한 작은 쪽이 바람직하다.  반도체 기판(301)(일반적으로는 반도체 기판상에 형성된 웰 영역)과 소스·드레인 영역(308) 사이의 기생 용량이 작아지기 때문이다.  상술한 관계 1/8×F≤LSW≤1/3×F를 고려하면, 게이트 전극과 소자 분리 영역 사이의 마진(LSW+LA)에 관해서, 관계 2/3×F≤LSW+LA≤4/3×F가 실질 적으로 충족되는 것이 바람직하다.  관계 2/3×F≤LSW+LA≤F가 충족되는 것이 보다 바람직하다.  단, 소자 분리 영역(302)에 대한 게이트 전극(304)의 위치 정렬 마진(X라고 정의한다)을 고려하면, 관계 X+LA≤LSW+LA가 충족되는 것이 바람직하다.  이러한 조건으로 제조함으로써, 수율을 낮추지 않고서, 반도체 기판(301)(일반적으로는 반도체 기판상에 형성된 웰 영역)과 소스·드레인 영역(308) 사이의 기생 용량을 현저하게 감소시킬 수 있다.  일반적으로는, LSW는 1/3×F와 거의 동일하게 설정되고, LG=F로 설정된다.  소스·드레인 기생 용량을 저감시키기 위해서는, 관계 LA+LSW≤LG가 충족되도록 설계를 하는 것이 바람직하다.  또한, 관계 LA<LG가 충족되도록 설계를 해도 좋다.In view of the production yield, LA is required to have an alignment margin of 1/3 × F or more, but LA is preferably as small as possible. This is because the parasitic capacitance between the semiconductor substrate 301 (generally the well region formed on the semiconductor substrate) and the source /
게이트 길이 방향의 절단면에 있어서, 게이트 전극(304)의 단에서 가장 가까운 소자 분리 영역(302)의 단까지의 거리를, 간단히, 게이트 전극(304)에서 소자 분리 영역(302)까지의 거리로 정의한다. 위치 정렬 마진과 게이트 전극 측벽 절연막(305)의 막 두께를 고려하면, 게이트 전극(304)으로부터 소자 분리 영역(302)까지의 거리는, 최저라도 2F/3정도 필요시 된다.  게이트 전극(304)으로부터 소자 분리 영역(302)까지의 거리를 최저인 2F/3으로 설정하고, 소자 분리 영역(302)에 대한 게이트 전극(304)의 위치 정렬이 F/3 어긋난 경우, 실제로 제조된 소자는, 게이트 전극(304)으로부터 소자 분리 영역(302)까지의 거리가 F가 된다.  따라서, 소스·드레인 영역(308)의 일부가, 소자 분리 영역(302)의 상부까지 연재하기 위해서는, LSD+LSW>F가 아니면 안된다.In the cutting plane in the gate longitudinal direction, the distance from the end of the
본 발명자들은, 콘택트 저항에 기인하는 수율을 고려한 경우, 제조상의 편차 때문에, LSD>F-LSW는 물론이고, LSD>F에서 조차, 충분한 마진이 아닌 것을 발견했다. 본 발명자들은, LSD≥F+LSW로 함으로써, 제조상의 수율이 비약적으로 향상하는 것을 발견했다.The inventors found that when considering the yield due to contact resistance, due to manufacturing variation, not only LSD> F-LSW, but even LSD> F, is not sufficient margin. The inventors of the present invention have found that the production yield is remarkably improved by setting LSD ≧ F + LSW.
LSD≥F+LSW로 함으로써, 제조상의 수율이 비약적으로 향상하는 이유를 이하에 기술한다.  게이트 전극(304)에 대해서, 사이드 월형으로 소스·드레인 영역(308)이 존재하는 본 발명의 구조에서는, 콘택트 바닥 면적(소스·드레인 영역(308)상에 형성하는 콘택트 배선이 소스·드레인 영역(308)과 접촉하는 영역의 면적)이 상당히 작아진다.  예를 들면, 게이트 전극(304)과 콘택트 배선이 단락하지 않도록 위치 정렬 마진을 확보해서 소스·드레인 영역(308)상에 콘택트 구멍(311)을 설치하는 경우, 게이트 전극에서 적어도 F/3만큼 멀어진 위치에 콘택트 구멍(311)을 형성하지 않으면 안된다.  콘택트 배선과 게이트 전극(304)의 마진을 F/3의 최소 마진으로 설계했다고 하더라도, 게이트 전극(304)에 대한 콘택트 구멍(311)의 위치 정렬이 F/3 어긋난 경우, 실제로 제조된 소자는, 게이트 전극(304)으로부터 콘택트 구멍(311)까지의 거리가 2F/3가 된다.By setting LSD? F + LSW, the reason why the manufacturing yield is greatly improved is described below. In the structure of the present invention in which the source and drain
소스·드레인 영역(308)이 존재하는 범위는, 게이트 전극(304)의 단에서 LSW 내지 LSW+LSD 멀어진 범위이다.  게이트 전극(304)으로부터 콘택트 구멍(311)까지의 거리가 2F/3 멀어진 상태라도, 충분히 수율 좋게 콘택트 구멍(311)을 형성하기 위해서는, LSW가 F/3정도일 때에, 관계 LSW+LSD>2F/3+F가 충족되면 되는 것을 우리들은 발견했다.  또, 미세화 룰이 F일 때에, LSW를 F/3정도로 설정하면, 가장 트랜지스터의 수율과, 특성의 균형이 뛰어난 것을 발견했다.  LSW가 F/3보다도 훨씬 작 은 경우, 게이트 전극(304)과 소스·드레인 영역(308) 사이의 단락이나, 게이트 전극(304)과 소스·드레인 영역(308) 사이의 기생 용량의 증대가 문제가 된다.  한편 LSW가 F/3보다도 훨씬 큰 경우, 채널 영역에 대해서 소스·드레인 영역(308)이 오프셋하지 않도록, 소스·드레인 영역(308)의 접합 깊이를 깊게 할 필요가 있고, 단 채널 효과의 악화를 초래한다고 하는 문제가 있다.The range where the source /
이와 같이, LSD≥F/3+F=LG+LSW인 경우에 상당히 수율이 향상하는 효과를 얻을 수 있다. LSD≥LG+2×LSW이면, 더욱 수율을 향상시키는 것이 가능해진다.In this way, an effect of significantly improving the yield can be obtained when LSD ≧ F / 3 + F = LG + LSW. If LSD? LG + 2 x LSW, the yield can be further improved.
소스·드레인 영역(308)의 표면에, 콘택트 구멍(311)의 개구부의 적어도 일부가 존재하면 된다.  콘택트 개구 직경은, 게이트 전극의 단에서, 소자 분리 영역까지의 간격보다도 커도 좋다.  또한, 소스·드레인 영역(308)의 점유 면적을 크게 하지 않고서, 콘택트 구멍(311)을 크게 설치하는 것이 가능하므로, 콘택트 구멍(311)의 형성의 용이성과, 소스·드레인 접합 면적에 의존하는 접합용량의 저감을 양립시키는 것이 가능해진다.At least a part of the opening of the
LSD가 LSW+LA보다도 큰 것은, 필요조건이다.  소스·드레인 영역(308)에의 콘택트 구멍(311)형성을 고려하면, LSD는 더욱 어느 정도의 크기를 확보할 필요가 있다.  게이트 전극(304)과의 쇼트가 일어나지 않기 위해서는, 콘택트 구멍(311)을 형성할 때의 얼라이먼트 마진만큼 게이트 전극(304)으로부터 벗어난 위치에 콘택트 구멍(311)을 형성하는 것이 필요하다.  가공시의 편차 및 수율의 향상을 고려하면, 새로운 마진이 필요시 된다.  구체적으로는, 관계 1/3×F≤MC≤2/3×F가 실질적으로 충족되는 것이 바람직하다.  예를 들면, 관계 1/3×F≤MC≤2/3×F를 충족시키도 록 설계하고, 제조공정에 있어서, 게이트 전극에 대해서 멀어지는 방향으로 1/3×F의 얼라이먼트 어긋남이 발생한 경우, 실제의 게이트 전극과 콘택트 구멍의 마진은, 관계 2/3×F≤MC≤F를 충족시킨다.  이러한 상태에서도 높은 수율로 콘택트 구멍(311)을 형성하기 위해서는, 콘택트 배선과 소스·드레인 영역(308)이 접하는 영역의 폭(LSD+LSW-MC)이 약 2/3×F보다도 크면 된다.  이상적으로는, LSD+LSW-MC=LM이 되면 좋다.  본 발명자들의 실험에 따르면, F=LG로서 관계 LSD≥LG+LSW가 충족되도록 설계를 한 경우에 상당히 높은 수율이 달성되었다.It is a requirement that LSD is larger than LSW + LA. Considering the formation of the
이와 같이, 본 발명의 반도체 장치에서는, 관계 LSD≥LG+LSW가 충족된다.  소스·드레인 영역(308) 중, 활성 영역(1093)과 게이트 산화막(303)이 접하는 면(제1의 면)보다도 상방에 존재하는 부분을 제1 소스·드레인 영역으로 정의하면, LSD는, 제1 소스·드레인 영역의 게이트 길이 방향의 폭과 같다.  따라서, 본 발명의 반도체 장치에서는, 게이트 길이 방향에 따른 절단면에 있어서의 제1 소스·드레인 영역의 게이트 길이 방향의 폭(LSD)은, 그 절단면에 있어서의 게이트 전극 측벽 절연막(305)의 게이트 길이 방향의 폭(LSW)과 그 절단면에 있어서의 게이트 전극(304)의 게이트 길이 방향의 폭(LG)의 합보다도 같거나 크다.Thus, in the semiconductor device of the present invention, the relationship LSD≥LG + LSW is satisfied. If the portion of the source /
TSDmax에 관해서는, 상술한 바와 같이, 조건 TDSmax>TG가 충족되는 것이 바람직하다.  단 채널 효과를 억제하기 위해서이다.  이 조건하에서, 소스·드레인 영역(308)과, 게이트 전극(304)의 위에, 동시에, 예를 들면 자기 정합 실리사이드화 (살리사이드)반응에 의해, 실리사이드막(도8에는 도시하지 않고 있다)을 형성할 경우, 게이트 전극(304)과, 소스·드레인 영역(308)이 전기적으로 단락하지 않기  위해서는, 관계 TSW>TG를 충족시키도록 설계를 할 필요가 있다.  후술하는 적합한 제조 방법에서는, 소스·드레인 영역(308)은 다결정 실리콘막의 에칭 백법에 의해 형성된다.  이 때문에, TSW와 TSDmax와 LSD가, 밀접하게 관련된다.  후술하는 방법으로 높은 수율로 반도체 장치(1091)를 제조하기 위해서는, 제조장치의 가공한계에 의존해서 결정되는 LG, LSW, LA 및, MC에 따라 LSD를 설정(LSD≥LG+LSW)하고, 설정된 LSD에 따라, TSDmax와 TSW를 설정하면 된다.  관계 LSD>LSW+LA가 충족될 필요가 있기 때문에, 관계 TSW>LA가 충족되도록 설계를 하는 것이 바람직하다.  이 때, TG에 관해서, 관계 LSW+LA>TG가 충족되도록 설계를 함으로써, 성능(게이트 전극의 공핍화 억제와 단 채널 효과의 억제)과 제조의 용이(수율)를 양립시키는 것이 가능해 지는 것이 본 발명자들의 실험에 의해 확인되었다.As for TSDmax, as described above, it is preferable that the condition TDSmax> TG is satisfied. This is to suppress the channel effect. Under this condition, a silicide film (not shown in Fig. 8) is formed on the source /
이와 같이, 반도체 장치(1091)에서는, 게이트 길이 방향에 따른 절단면에 있어서의 게이트 전극(304)의 단부에서 소자 분리 영역(304) 중 게이트 전극(304)의 단부에 가장 가까운 점까지의 거리(LSW+LA)는, 그 절단면에 있어서의 게이트 전극(304)의 높이(TG)보다도 크다.  게이트 전극(304)의 높이(TG)는, LSW+LA의 값에 관계없이 충분히 낮게 해도 좋다.  다결정 실리콘막으로 이루어지는 게이트 전극을 이용한 구조에서는, 게이트 전극(304)에의 불순물 도입은, 이온 주입법에 의해, 소스·드레인 영역(308)에의 불순물 도입과 동시에 행하는 것이 일반적이다.  게이트 전극(304)의 막 두께를 충분히 얇게 형성함으로써, 게이트 전극(304)이 게이트 산화막과 접하는 영역에 있어서의 게이트 전극(304)의 불순물 농도를 충분히 높게 하는 것이 가능해지고, 게이트 전극(304)의 공핍화를 억제하는 것이 가능해진 다.As described above, in the
또한, 반도체 장치(1091)에서는, 게이트 길이 방향에 따른 절단면에 있어서의 게이트 전극 측벽 절연막(305)의 단부에서 소자 분리 영역(302) 중 게이트 전극 측벽 절연막(305)의 단부에 가장 가까운 점까지의 거리(LA)는, 그 절단면에 있어서의 게이트 전극 측벽 절연막(305)의 높이(TSW)보다도 작다고 하는 구조를 가지고 있다.  이 구조에 의해, 게이트 전극(304)의 높이를 충분히 낮게 형성하면서, 또한, 사이드 월형의 소스·드레인 영역(308)을 소자 분리 영역(302)의 상부에 까지 연재시키는 것이 가능해진다.In the
본 발명자들이 최소 가공치수 F=O.25미크론의 제조장치를 사용해서 제조한 소자는, TG=150nm, TSW=300nm, TSDmax=250nm, XjSD=60nm, LG=250nm, LSW=60nm, LSD=300nm, LA=180nm, LM=300nm, MC=120nm의 설계치를 이용해서 제조되었다. 이들 설계치는, 본 발명자들이 사용한 제조장치의 성능에 의존하는 값이며, 본 발명의 범위를 한정하는 것을 의도하는 것이 아니다. 다시 말해, 상기 설계치는, F=O.24㎛ 룰에 근거하여, 발명자들이 실현할 수 있는 범위에서 각 설계치를 변화시켜, 구해진 값이다. 예를 들면, 보다 미세한 F=O.1㎛ 룰에 근거한 경우, 각 설계치는 바뀔 수 있다. 또, F=0.24㎛ 룰에 근거한 경우라도, 각 설계치는 상술한 관계를 충족시키는 범위에서 바뀔 수 있다.The device manufactured by the present inventors using the manufacturing apparatus of the minimum processing dimension F = 0.5 micron is TG = 150nm, TSW = 300nm, TSDmax = 250nm, XjSD = 60nm, LG = 250nm, LSW = 60nm, LSD = 300nm And LA = 180 nm, LM = 300 nm, and MC = 120 nm. These design values are values depending on the performance of the manufacturing apparatus used by the present inventors, and are not intended to limit the scope of the present invention. In other words, the design value is a value obtained by varying each design value within a range that can be realized by the inventors based on the F = 0.24 µm rule. For example, each design value may be changed based on a finer F = 0.1 μm rule. Moreover, even if it is based on F = 0.24 micrometers rule, each design value can be changed in the range which satisfy | fills the relationship mentioned above.
도9(a) 내지 (g)는, 실시 형태 3의 반도체 장치(1091)를 제조하는 공정을 도시한다.  실시 형태 3의 반도체 장치(1091)를 제조하는 각 공정을 설명한다.9A to 9G show a step of manufacturing the
우선, 도9(a)에 도시하는 바와 같이, 주지의 방법에 의해, 반도체 기판(301)  (또는, 반도체 기판(301)에 설치된 웰 영역)상에 소자 분리 영역(302), 게이트 산화막(303), 게이트 전극(304), 게이트 전극 측벽 절연막(305)이 형성된다.  여기에서, 다결정 실리콘막으로 형성되는 게이트 전극(304) 위에는, 실리콘 산화막(306)이 형성되어 있다.  게이트 전극 측벽 절연막(305)은 실리콘 산화막 및 실리콘 질화막으로 형성된다.  게이트 전극 측벽 절연막(305)은, 1층이라도 좋다.First, as shown in Fig. 9A, the
다음에, 도9(b)에 도시하는 바와 같이, 다결정 실리콘막(307)이 화학적 기상 성장법(CVD법)에 의해 퇴적된다.   또한, 다결정 실리콘막(307)을 퇴적할 경우, 반도체 기판(301)의 활성 영역 표면과, 퇴적된 다결정 실리콘막(307)의 계면에서 자연 산화막을 극력 배제하도록 다결정 실리콘막(307)을 피착하는 것이 중요하다.  다결정 실리콘막(307)에 도우너 또는 억셉터가 되는 불순물이 도입된 후, 다결정 실리콘막의 불순물이 열 확산에 의해 반도체 기판(301)중에 확산되는 과정에 있어서, 반도체 기판(301)의 활성 영역(1115)의 표면과 다결정 실리콘막(307)의 계면에 산화막이 형성되어 있으면, 그 산화막이 확산 배리어로서 기능하고, 균일한 불순물 확산이 저해되기 때문이다.  균일한 불순물 확산이 저해되면, 소스·드레인 접합 깊이가 불균일해지고, 트랜지스터 특성이 불규칙해진다.Next, as shown in Fig. 9B, a
활성 영역(1115)의 표면과 다결정 실리콘막(307)의 계면의 자연 산화막을 극력 배제하기 위해서, 이하에 나타내는 방법에 의해 도9(a)의 반도체 장치에 다결정 실리콘막(307)을 퇴적시켜도 좋다.In order to eliminate the natural oxide film at the interface between the
본 실시 형태에서는, 예비 배기실과 노점이 항상 -100℃로 유지된 질소 퍼지실과 퇴적로를 구비한 저압CVD(LPCVD)장치를 이용하여, 반도체 기판(301)의 활성  영역(1115)의 표면과, 퇴적해야 할 다결정 실리콘막의 계면에 자연 산화막을 성장시키지 않고서 다결정 실리콘막(307)을 퇴적시키는 것이 가능하다.In the present embodiment, the surface of the
구체적으로는, 다결정 실리콘막(307)이 퇴적되기 직전(도9(a)에 도시하는 상태)의 반도체 기판(301)이 불산계의 용액으로 세정되어, 자연 산화막이 일단 제거된 후, 반도체 기판(301)이 예비 진공 배기실로 반송된다.  예비 진공 배기실에서는, 반송시의 대기 분위기가 일단 진공 배기된 후, 질소 분위기로 치환되어, 반도체 기판(301)이 질소 퍼지실로 반송된다.  질소 퍼지실의 노점은 항상 -100℃로 유지되어 있다.Specifically, the
질소 퍼지실의 역할은, 반도체 기판(301)(웨이퍼)의 표면에 흡착된 수분자를 질소 퍼지에 의해 완전히 제거하는 것이다. 웨이퍼 표면에 흡착된 수분자는 진공중에서는 제거하는 것이 불가능하지만, 질소 퍼지에 의해 완전히 제거할 수 있는 것이 본 발명자들의 실험에 의해 분명해졌다.The role of the nitrogen purge chamber is to completely remove the moisture adsorbed on the surface of the semiconductor substrate 301 (wafer) by nitrogen purge. Moisture adsorbed on the wafer surface cannot be removed under vacuum, but it has been clarified by the inventors' experiment that it can be completely removed by nitrogen purge.
또한, 통상의 LPCVD장치를 사용한 경우, 제거되지 않은 수분자가 웨이퍼 표면에 흡착한 채 반도체 기판(웨이퍼)이 고온 퇴적로에 반송된다. 통상의 다결정 실리콘막의 퇴적은, 550℃에서 700℃ 정도의 온도에서 행하여진다. 웨이퍼 표면에 수분자가 흡착되어 있으면, 고온 퇴적로에 웨이퍼를 반송할 때에 흡착되어 있는 수분자의 산소성분이 웨이퍼의 실리콘과 반응하고, 다결정 실리콘막이 퇴적하기 전에, 실리콘 웨이퍼 표면에 자연 산화막이 형성된다. 이렇게 하여, 반도체 기판의 활성 영역 표면과, 퇴적한 다결정 실리콘막의 계면에 자연 산화막이 형성된다.In the case of using a conventional LPCVD apparatus, a semiconductor substrate (wafer) is conveyed to a high temperature deposition furnace while moisture not removed is adsorbed onto the wafer surface. The deposition of a normal polycrystalline silicon film is performed at a temperature of about 550 ° C to about 700 ° C. When moisture is adsorbed on the wafer surface, the oxygen component of the adsorbed moisture reacts with the silicon of the wafer when the wafer is transported to the high temperature deposition furnace, and a natural oxide film is formed on the silicon wafer surface before the polycrystalline silicon film is deposited. In this way, a native oxide film is formed at the interface between the active region surface of the semiconductor substrate and the deposited polycrystalline silicon film.
본 실시 형태에서 이용되는 LPCVD 장치에서는, 노점이 항상 -100℃로 유지된  질소 퍼지실에서 완전히 흡착 수분자를 제거한 후, 반도체 기판(301)이 퇴적로에 반송되기 때문에, 자연 산화막을 형성하지 않고서 다결정 실리콘막(307)을 퇴적시키는 것이 가능하다.  다결정 실리콘막(307)을 퇴적할 때의 막 두께의 바람직한 설정은, 도10을 참조해서 후술된다.In the LPCVD apparatus used in the present embodiment, after the adsorption moisture is completely removed from the nitrogen purge chamber in which the dew point is always maintained at -100 ° C, the
다결정 실리콘막(307)을 퇴적한 후, 다결정 실리콘막(307)이 에칭 백된다.  그 결과, 도9(c)에 도시하는 바와 같이, 다결정 실리콘막(308)이 게이트 전극 측벽 절연막(305)의 측면에 사이드 월형으로 남는다.  이 사이드 월의 단(1121)이, 소자 분리 영역(302)상에 존재하도록 가공할 필요가 있다.After the
다결정 실리콘막(307)의 에칭 백은, 예를 들면, 헬리콘형 RIE장치를 사용해서, 0.3pa의 압력의 염소와 산소의 혼합 가스의 분위기중에서 행하여진다.  에칭 백시, 종점 검출장치(EPD)를 이용해서 다결정 실리콘막(307)이 10%  내지 30% 오버 에칭되도록 한다.The etching back of the
에칭 백을 한 후, 다시 컷 공정이 행하여진다. 컷 공정은, 도11 내지 도14를 참조해서 후술된다.After etching back, a cut process is performed again. The cut process will be described later with reference to FIGS. 11 to 14.
다음에, 게이트 전극이 되는 다결정 실리콘막(304) 상부의 실리콘 산화막(306)이 에칭 제거되고, 소스·드레인 영역 형성을 위해 불순물 이온 주입(도핑)이 행하여진다(도9(d)).  도9(d)에 도시하는 참조부호(304a)는, 불순물 이온 주입을 행한 후의 게이트 전극을 도시하고, 참조부호(308a)는, 불순물 이온 주입을 행한 후의 소스·드레인 영역을 도시한다.  본 실시 형태에서는, 게이트 전극의 도핑과 소스·드레인 영역의 도핑이 동시에 행하여진다.Next, the
본 실시 형태에 있어서의 이온 주입 조건의 일례를 설명한다.An example of the ion implantation conditions in this embodiment is demonstrated.
게이트 전극이 되는 게이트 다결정 실리콘막(304)(도9(c))의 막 두께(f)를 120nm에서 170nm로 하고(본 실시예에서는, 150nm로 했다.), 쌓아 올림층(308)(도9(c))의 게이트 전극 근방의 최대 높이(LSDmax)를 200nm 내지 300nm로 한다. N채널 트랜지스터에 관한 이온 주입에서는, 인 이온 또는 비소 이온이 20keV에서 150keV정도의 에너지로 1×1015 내지 5×1O16/cm2정도의 도즈량으로 주입된다. P채널 트랜지스터에 관한 이온 주입에서는, 보론 이온이 10keV에서 40keV정도의 에너지로 1×1015 내지 5×1016/cm2정도의 도즈량으로 주입된다.The film thickness f of the gate polycrystalline silicon film 304 (Fig. 9 (c)) serving as the gate electrode was set to 120 nm to 170 nm (150 nm in this embodiment), and the stacked layer 308 (Fig. The maximum height LSDmax in the vicinity of the gate electrode of 9 (c) is set to 200 nm to 300 nm. In ion implantation in an N-channel transistor, phosphorus ions or arsenic ions are implanted at a dose of about 1 × 1015 to 5 × 1016 / cm2 with an energy of about 20 keV to about 150 keV. In ion implantation in a P-channel transistor, boron ions are implanted at an dose of about 1 × 1015 to 5 × 1016 / cm2 with an energy of about 10 keV to about 40 keV.
이온 주입에 있어서, 채널링에 의한 게이트 산화막 관통 방지 및 다결정 실리콘막중의 확산제어를 위해, 불순물 이온의 주입 전에, 실리콘 이온을 5×1014 내지 5×1015/cm2정도 주입함으로써, 아모르포스화를 행해도 좋다. 이 경우, 다결정 실리콘의 그레인 바운더리가 어느 정도 파괴되므로, CMOS를 형성할 경우, 각각의 불순물 이온종에 적합한 아모르포스 조건을 선택하는 것이 필요하다.In ion implantation, in order to prevent gate oxide film penetration through channeling and diffusion control in a polycrystalline silicon film, silicon ions are implanted by implanting about 5 × 1014 to 5 × 1015 / cm2 before implanting impurity ions, thereby making them amorphous. May be performed. In this case, since grain boundaries of polycrystalline silicon are destroyed to some extent, when forming a CMOS, it is necessary to select an amorphous condition suitable for each impurity ion species.
불순물 이온 주입 후, 불순물 이온이 주입된 반도체 기판이, 800℃에서 950℃정도의 온도로, 10분에서 120분간 정도 열처리된다. 또는, 불순물 이온이 주입된 반도체 기판이, 950℃에서 1100℃정도의 온도로, 10초에서 60초 정도의 급속 가열처리가 행하여져, 주입된 불순물이 활성화되는 동시에, 주입된 불순물이 실리콘 기판까지 확산된다. 이 때에, 게이트 전극에 대해서, 소스·드레인 영역이 오프셋 하지 않을 정도까지, 불순물을 열 확산시킬 필요가 있다. 구체적으로는, 게이트 전극 측벽 절연막(305)(도9(c))의 막 두께만큼, 불순물을 가로방향으로 확산시킬 필요가 있다. 트랜지스터의 성능(단 채널 효과가 생기기 어렵고, 또한, 구동전류가 크다)을 향상시키기 위해서는, 접합을 극력 얕게 하고, 또한, 게이트 전극에 대해서 오프셋하지 않도록 소스·드레인 영역을 형성할 필요가 있다.After impurity ion implantation, the semiconductor substrate into which impurity ions have been implanted is heat-treated at a temperature of about 800 ° C. to about 950 ° C. for about 10 to 120 minutes. Alternatively, a semiconductor substrate into which impurity ions have been implanted is subjected to rapid heat treatment at a temperature of about 950 ° C. to about 1100 ° C. for about 10 to 60 seconds, thereby activating the implanted impurities and diffusing the implanted impurities to the silicon substrate. do. At this time, it is necessary to heat-diffuse the impurity to such an extent that the source / drain regions are not offset with respect to the gate electrode. Specifically, it is necessary to diffuse the impurities in the horizontal direction by the thickness of the gate electrode sidewall insulating film 305 (Fig. 9 (c)). In order to improve the performance of the transistor (a short channel effect hardly occurs and a large driving current), it is necessary to form a source / drain region so that the junction is as shallow as possible and not offset to the gate electrode.
불순물의 열 확산은, 도15 내지 도17을 참조해서 후술된다.The thermal diffusion of impurities is described later with reference to FIGS. 15 to 17.
이와 같이, 본 실시 형태의 반도체 장치에서는, 활성 영역과 게이트 산화막이 접하는 제1의 면보다 위의 소스·드레인 영역이 되는 층(308)에 활성 영역의 도전형과 반대의 도전형의 불순물을 주입하는 공정과, 열 확산에 의해 층(308)으로부터 활성 영역으로 불순물을 확산시키는 공정을 포함하는 처리에 의해, 제1의 면보다 아래의 소스·드레인 영역이 형성된다.  불순물은, 도우너 또는 억셉터이다.  이 처리에 의해, 소스·드레인 영역이 되는 층(308)과 활성 영역이 접하는 면에 있어서의, 활성 영역의 도전형이 반전한다.As described above, in the semiconductor device of the present embodiment, an impurity of a conductivity type opposite to that of the active region is implanted into the
이 때문에, 상기 활성 영역과 게이트 산화막이 접하는 제1의 면보다 위의 소스·드레인 영역이 되는 층을 형성하기 전에, 활성 영역상(반도체 기판상)의 소스·드레인 영역이 되는 영역에 불순물(도우너 또는 억셉터)을 도입하는 공정을 행할 필요는 없다.For this reason, before forming the layer which becomes a source / drain area | region above the 1st surface which the said active area and a gate oxide film contact, an impurity (donor or a donor) is formed in the area | region which becomes a source / drain area on an active area (on a semiconductor substrate). It is not necessary to perform the process of introducing an acceptor).
예를 들면, 일본국 특허 공개 평10-335660호 공보에 개시되는 종래 기술에서는, 게이트 전극 측벽에 위치하는 확산층(본 발명에 있어서의 활성 영역과 게이트 산화막이 접하는 제1의 면보다 위의 소스 영역 및/또는, 드레인 영역이 되는 층)을  형성하기 전에, 게이트 전극을 마스크로서 반도체 기판안에 직접 이온 주입을 하고, 소스·드레인 영역의 일부(도45(a)에 도시하는 확산층 하층(3013))를 형성하고 있다.  이 경우, 이온 주입의 공정의 추가(CMOS의 경우 최저 도우너 주입과 억셉터 주입의 2회)가 필요하다.  CMOS를 형성할 경우, N채널용의 마스크와 P채널용의 마스크가 필요해지고, 2회의 포토리소그래피 공정의 추가가 필요시 된다.  이 때문에 상당히 비용이 든다.For example, in the prior art disclosed in Japanese Patent Application Laid-open No. Hei 10-335660, the diffusion layer located on the sidewall of the gate electrode (the source region above the first surface where the active region and the gate oxide film in contact with the present invention and And / or before forming the layer serving as a drain region, ion implantation is carried out directly into the semiconductor substrate using the gate electrode as a mask, and a portion of the source / drain region (under
또, 이렇게 이온 주입공정으로 불순물을 반도체 기판에 직접 도입한 경우, 이온 주입법의 원리상, 어떤 가속 에너지를 가지고 이온이 주입된다. 이 때문에, 주입된 불순물 이온은 반도체 기판내에서 주입 비정을 중심으로 하는 가우시안 분포를 나타낸다. 반도체 기판 깊히까지 불순물 이온이 가우시안 분포를 따라서 존재하므로, 얕은 소스·드레인 접합을 형성하는 것이 곤란해진다. 또한, 주입장치의 가속 에너지의 편차에 의해, 반도체 기판내에서의 불순물 이온의 분포가 불규칙하다. 접합 깊이가 불규칙하므로, 단 채널 효과가 불규칙하다고 하는 결과를 초래한다. 이 때문에, 수율도 악화한다.In addition, when impurities are directly introduced into the semiconductor substrate by the ion implantation process, ions are implanted with a certain acceleration energy on the principle of the ion implantation method. For this reason, the implanted impurity ions exhibit a Gaussian distribution centered on the implantation amorphous phase in the semiconductor substrate. Since impurity ions exist along the Gaussian distribution to the depth of the semiconductor substrate, it becomes difficult to form a shallow source-drain junction. In addition, the distribution of impurity ions in the semiconductor substrate is irregular due to the variation in the acceleration energy of the implanter. Since the junction depth is irregular, the result is that the short channel effect is irregular. For this reason, the yield also worsens.
이와 같이, 직접 반도체 기판중에 이온 주입을 하고, 소스·드레인 영역의 일부를 형성하는 방법으로는, 소스·드레인 영역과 반도체 기판의 접합을 얕게 하는 것이 물리적으로 곤란하다. 이 때문에, 단 채널 효과를 개선하는 것이 곤란해진다.As described above, as a method of directly implanting ions into the semiconductor substrate and forming a part of the source and drain regions, it is physically difficult to make the junction between the source and drain regions and the semiconductor substrate shallow. For this reason, it becomes difficult to improve a short channel effect.
본 실시 형태에서는, 이들 과제가 해결된다. 본 실시 형태에서는, 소스·드레인 영역을 형성하기 위한 불순물을, 직접 반도체 기판에 이온 주입할 필요가 없 다. 이 때문에, 공정이 간략화되어, 비용이 싸지는 동시에, 얕은 접합을 용이하게 형성할 수 있다. 또한, 접합 깊이의 편차를 억제할 수 있다. 이것에 의해 효과적으로 단 채널 효과를 억제할 수 있다. 이러한 효과는, 활성 영역과 게이트 산화막이 접하는 제1의 면보다 위의 소스 영역·드레인 영역이 되는 층으로부터의 고층 확산에 의해, 제1의 면보다 아래의 소스·드레인 영역을 형성하는 것에 따른다.In this embodiment, these subjects are solved. In this embodiment, it is not necessary to ion implant the impurities for forming the source and drain regions directly into the semiconductor substrate. For this reason, a process can be simplified and cost can be made cheap, and shallow bonding can be formed easily. In addition, variations in the junction depth can be suppressed. As a result, the short channel effect can be effectively suppressed. This effect is due to the formation of the source / drain region below the first surface by the high-diffusion from the layer serving as the source region / drain region above the first surface where the active region and the gate oxide film are in contact.
고층 확산에서는, 농도와 확산 계수(실리콘막중의 불순물의 확산 계수)와 온도와 열처리시간에 의해, 일의적으로 불순물이 확산되는 영역이 결정된다. 확산되는 영역은 상당히 편차가 적고, 더욱이, 제어를 하기 쉽다. 이 때문에, 설계대로의 얕은 소스·드레인 영역을 형성하고, 게다가, 채널 근방까지 상당히 농도가 진한 소스·드레인 영역을 형성하는 것이 가능해진다.In high-layer diffusion, a region in which impurities are uniquely diffused is determined by concentration, diffusion coefficient (diffusion coefficient of impurities in the silicon film), temperature, and heat treatment time. The diffused region is considerably less in variation, and moreover, easy to control. For this reason, it becomes possible to form a shallow source / drain region as designed, and to form a source / drain region with a substantially high concentration near the channel.
게이트 전극의 도핑과 소스·드레인 영역의 도핑이 행하여진 후, 도9(e)에 도시하는 바와 같이, 주지의 살리사이드 공정에 의해, 소스·드레인 영역(308a) 및 게이트 전극(304a)의 상부에 고융점 금속 실리사이드막(고융점 금속막)(309)이 선택적으로 형성된다.  본 실시 형태에서는, 고융점 금속막(309)의 재질로서, 티탄이 사용되지만, 고융점 금속막(309)의 재질은 티탄으로 한정되지 않는다.  예를 들면, 고융점 금속막(309)의 재질로서, 코발트, 니켈, 백금 등이 이용되어도 좋다.  본 실시 형태에서는, 소스·드레인 영역(308a) 및 게이트 전극(304a)의 상부 전부가 살리사이드화 된다.After the doping of the gate electrode and the doping of the source and drain regions are performed, as shown in Fig. 9 (e), the upper portions of the source and
소스·드레인 영역(308a) 및 게이트 전극(304a)의 상부 전부가 살리사이드화된 후, 도9(f)에 도시하는 바와 같이, 주지의 방법으로 층간 절연막(310)이 형성된 다.After all of the upper portions of the source /
층간 절연막(310)이 형성된 후, 도9(g)에 도시하는 바와 같이, 콘택트 구멍(311)이 층간 절연막(310)의 원하는 위치에 뚫린다.  그 후, 상부 배선(312)이 형성된다.After the
본 실시 형태에서는, 점유 면적에 비해서 표면적이 큰 소스·드레인 영역을, 채널 영역보다도 상방에 쌓아 올리도록 형성하기 때문에, 도9(g)에 도시하는 바와 같이, 콘택트 구멍(311)의 일부가 소스·드레인 영역에 걸려 있기만 하면 소스·드레인 영역과 콘택트 배선의 접촉 면적을 크게 하는 것이 가능해진다.  이 때문에, 소스·드레인 영역의 접합점유 면적을 축소하더라도, 콘택트 저항의 증가를 막을 수 있다.  이러한 구조에 의해, 반도체 장치(1091)에서는 비약적으로 소자의 점유 면적을 축소하는 것이 가능해진다.In this embodiment, since the source / drain region having a large surface area compared with the occupied area is formed so as to be stacked above the channel region, as shown in Fig. 9G, a part of the
도10은, 반도체 장치에 있어서의 거리(LA)와 사이드 월의 폭(LSW)의 설정이 적절하지 않은 예를 도시한다.  도10에 도시하는 바와 같이, 거리(LA)가, 사이드 월의 폭(LSW)보다 긴 경우, 이방성 에칭 백에 의해, 실리콘 기판(301)이 패인다.  이것에 의해, 실리콘 기판(301)이 손상을 받아, 접합 리크 전류가 증대하고, 또한, 접합이 깊어진다.  그 결과, 단 채널 효과가 악화한다.Fig. 10 shows an example in which the distance LA and the width LSW of the sidewall in the semiconductor device are not set properly. As shown in Fig. 10, when the distance LA is longer than the width LSW of the side wall, the
사이드 월의 폭(LSD)은, 게이트 전극의 단차(다결정 실리콘막(304)상의 실리콘 산화막(306)(도9(b))까지 포함한 높이)와, 다결정 실리콘막(307)의 퇴적막 두께로 결정된다.  소자 분리 영역(302)에 대한 게이트 전극(304)의 얼라이먼트 마진(게이트 전극(304)과 소자 분리 영역(302)의 위치 정렬 어긋남)을 X라고 하면, 사이 드 월의 폭(LSD)은, 조건 LSD>LA+X를 충족시킬 필요가 있다.  본 실시 형태에서는, LA가 0.18㎛정도이며, X가 ±O.08㎛정도이며, 사이드 월의 폭(LSW)이 0.3㎛정도라고 가정하고 있다.  또한, 전극(304)과 실리콘 산화막(306)(도9(b))에서 생기는 단차가 300nm 내지 400nm이며, 다결정 실리콘막(307)의 퇴적막 두께가 400nm 내지 600nm라고 가정하고 있다.The width LSD of the sidewalls is determined by the level of the gate electrode (height including the
실시 형태 1에서 이미 설명한 바와 같이, 소자 분리 영역(302)의 표면과 소스·드레인 영역(308)(도9(c))의 표면이 접하는 각도(θ)를 80도 이하, 바람직하게는, 60도 이하로 하는 것이 필요하다.  각도(θ)가 작아질수록, 수율이 향상한다.  본 발명자들의 실험에 따르면, 각도(θ)가 60도 이하이면, 수율이 비약적으로 향상하는 것을 알 수 있었다.  각도(θ)를 60도 이하로 하기 위해서는, 퇴적시키는 다결정 실리콘막의 두께를 원하는 LSD보다도 충분히 두껍게 하는 것이 상당히 중요하다.  여기에서, 퇴적시키는 다결정 실리콘막의 두께를 TP라고 하면, 관계 TP>LSD가 충족되는 것이 필요하고, 바람직하게는, 관계 TP≥1.25×LSD가 충족되면 좋다.  이 관계를 충족시키기 위해서는, 게이트 전극(304)과 게이트 전극 상부의 산화막(306)에 의해 생기는 단차를 소정치 이상으로 크게 해 둘 필요가 있다.  예를 들면, 본 실시 형태에서는, TG=150nm가 되도록 설계되어 있고, 산화막(306)의 두께는 150nm에서 250nm의 사이에 설정되었다.As already described in
본 실시 형태에서는, 게이트 전극상의 다결정 실리콘막이 없어지도록 하는 에칭량을 설정함으로써, 본 발명의 쌓아 올림 소스·드레인 영역을 간단히 형성할 수 있다. 게이트 전극에서 소자 분리 영역까지의 거리(소스·드레인 영역의 폭)보 다도, 막 두께가 두꺼운 다결정 실리콘막을 퇴적하고 있기 때문에, 실리콘 기판이 노출되지 않아, 실리콘 기판은, 이방성 에칭 백에 의해, 손상을 받지 않는다. 이방성 에칭에 의해 형성되는 게이트 전극 측벽의 쌓아 올림층의 단은, 실리콘 에칭에 대해서 내성이 있는 재료로 형성된 소자 분리 영역상에 연재하도록 형성된다.In this embodiment, the stacking source / drain region of the present invention can be easily formed by setting the etching amount so that the polycrystalline silicon film on the gate electrode disappears. Since a polycrystalline silicon film having a thick film thickness is deposited even more than the distance from the gate electrode to the element isolation region (width of the source / drain region), the silicon substrate is not exposed and the silicon substrate is damaged by anisotropic etching back. Do not receive. An end of the stacked layer of the gate electrode sidewall formed by the anisotropic etching is formed to extend on the element isolation region formed of a material resistant to silicon etching.
상술한 TP의 수치 및 산화막(306)의 두께는, F=O.24㎛ 룰에 근거한 경우의 일례이며, 본 발명은 이 수치로 한정되지 않는다.  제조장치의 가공한계에 의존해서 결정되는 LG, LSW, LA 및, MC에 따라, TG, LSD, TSDmax, TSW, TP, 및 산화막(306)의 두께를 상술한 바와 같이 설정하는 것이 바람직하다.The numerical value of the above-mentioned TP and the thickness of the
또한, 소스·드레인 영역과, 게이트 전극 사이의 측벽 용량을 작게 하기 위해서는, 관계 LSD>LA가 충족되는 범위에서(보다 바람직하게는 관계 LSD≥LG+LSW가 충족되는 범위에서), 게이트 전극(304)과 게이트 전극 상부의 산화막(306)에 의해 생기는 단차와, 퇴적시키는 다결정 실리콘막(307)의 막 두께(TP)를 작게 하는 것이 바람직하다.In addition, in order to reduce the sidewall capacitance between the source and drain regions and the gate electrode, the
도11은, 게이트 전극(304)의 주위에 게이트 전극 측벽 절연막(305)을 통해, 다결정 실리콘막(308)이 남아 있는 것을 도시한다.  도11에 도시하는 바와 같이, 다결정 실리콘막(307)(도9(b))의 에칭 백을 한 것만으로는, 게이트 전극(304)의 주위에 게이트 전극 측벽 절연막(305)을 통해, 다결정 실리콘막(308)이 남는다.FIG. 11 shows that the
다결정 실리콘막(308)을 소스·드레인 영역으로서 이용하기 위해서는, 도12에 도시하는 바와 같이, 소스·드레인 영역을 영역(1904)과 영역(1903)으로 분리 할 필요가 있다.  영역(1904)과 영역(1903) 중 한쪽이, 반도체 장치(1091)(도9(g)) 에 있어서 소스 전극으로서 기능하고, 다른 한쪽이 드레인 전극으로서 기능한다.In order to use the
본 실시 형태에서는, 영역(1903) 및 영역(1904)을 레지스트 마스크로 덮고, 드라이 에칭을 행함으로써, 소스·드레인 영역이 분리된다.In the present embodiment, the source and drain regions are separated by covering the
이 드라이 에칭시에, 사이드 에칭이 약간 이루어지도록, 에칭이 행하여진다.즉, 등방성분을 포함하는 이방성 에칭이 행하여진다.  게이트 전극 측벽이 기판면에 대해서 수직이 아닌 경우라도, 소스·드레인 영역의 분리가 확실하게 행하여지도록 하기 위해서이다.  사이드 에칭이 이루어지지 않는 에칭을 행하면, 게이트부의 상부가 그 하부보다 큰 경우에, 게이트부가 마스크가 되고, 게이트 전극 주변의 본래 제거되어야 할 다결정 실리콘막(308)이 충분히 제거되지 않을 가능성이 있다.At the time of this dry etching, etching is performed so that side etching is performed slightly. That is, anisotropic etching containing an isotropic component is performed. This is to ensure that the source and drain regions are separated reliably even when the gate electrode sidewall is not perpendicular to the substrate surface. If etching is performed without side etching, when the upper portion of the gate portion is larger than the lower portion, there is a possibility that the gate portion becomes a mask and the
등방 성분을 포함하는 이방성 에칭은, 예를 들면, 헬리콘형 RIE장치에 의해, 0.4pa의 압력의 브롬화 수소와 산소의 혼합 가스의 분위기중에서 행하여진다.  또는, 이방성 에칭을 한 후, 등방성 에칭을 추가적으로 행함으로써, 본래 제거해야 할 다결정 실리콘막(308) 잔사를 제거해도 좋다.The anisotropic etching containing an isotropic component is performed in the atmosphere of the mixed gas of hydrogen bromide and oxygen of 0.4 pa pressure by a helicon type RIE apparatus, for example. Alternatively, after the anisotropic etching is performed, the isotropic etching may be further performed to remove the
등방 성분을 포함하는 이방성 에칭을 행함으로써, 이방성 에칭에서는, 그늘이 져서 에칭이 진행되기 어려운 부분도 에칭할 수 있다. 이 때문에, 에칭 남음에 의한 잔사에 의해 인접하는 게이트 전극간이 전기적으로 단락하거나, 인접하는 소자의 소스·드레인 영역간이 전기적으로 단락하는 문제점을 저감할 수 있다.By performing anisotropic etching containing an isotropic component, the anisotropic etching can also etch a portion where the shade becomes difficult and the etching is difficult to proceed. For this reason, the problem of the electrically shorting between adjacent gate electrodes due to the residue due to etching remaining or the electrical shorting between the source and drain regions of the adjacent elements can be reduced.
이하, 도13 및 도14를 참조하여, 소스·드레인 영역을 분리하는 에칭 공정과, 구체적인 게이트 밀집 패턴의 관계를 설명한다.13 and 14, the relationship between the etching step of separating the source and drain regions and the specific gate density pattern will be described.
게이트 전극에는, 콘택트를 배치하는 퍼트부가 필요하다. 퍼트부의 폭은, 일반적으로, 게이트 길이(게이트 전극폭)보다도 큰 폭이 필요하다. 반도체 기판상에, 제1 게이트 전극과, 그것에 인접하는 제2의 게이트 전극을 형성할 경우, 제1 게이트 전극의 퍼트부와, 제2의 게이트 전극의 퍼트부를 분리하는 치수와, 퍼트부의 폭에 따라, 게이트 전극을 배치하는 피치가 결정되도록 하는 회로 패턴이 존재한다. 예를 들면, 게이트 패턴이 규칙적으로 배치된 게이트 어레이 패턴 등이 그렇다.The put part which arrange | positions a contact is needed for a gate electrode. The width of the putt portion generally needs to be larger than the gate length (gate electrode width). In the case where the first gate electrode and the second gate electrode adjacent to the semiconductor substrate are formed on the semiconductor substrate, a dimension for separating the put portion of the first gate electrode, the put portion of the second gate electrode, and the width of the put portion Accordingly, there is a circuit pattern such that the pitch for arranging the gate electrodes is determined. For example, the gate array pattern and the like in which the gate pattern is regularly arranged are the same.
도13은, 어레이형으로 가공된 게이트 전극(304)의 주위에 게이트 전극 측벽 절연막(305)을 통해, 다결정 실리콘막(308)이 남아 있는 상태를 도시한다.  도13에 도시하는 바와 같이, 게이트 전극부의 단차를 이용하여, 이방성 에칭 백법에 의해, 게이트 전극(304)의 측벽에 사이드 월형으로 다결정 실리콘막(308)(소스·드레인 영역)을 형성할 경우, 게이트 전극의 주위에 게이트 전극 측벽 절연막(305)을 통해, 다결정 실리콘막(308)이 남는다.  이 때문에, 인접하는 게이트 전극 퍼트부 (1201)사이의 거리가 가까울 경우, 그 빈틈에 다결정 실리콘막(308)이 남는다. 이 때문에, 개개의 트랜지스터의 소스 영역과 드레인 영역을 전기적으로 분리하는 에칭 공정이 더욱 필요시 된다.  이 공정에서는, 게이트 전극의 측벽에 사이드 월형으로 형성된 다결정 실리콘막(308)이 분리된다.  단, 트랜지스터의 직렬 접속부에서는, 인접하는 소스·드레인 영역간을 분리할 필요는 없으므로, 이러한 부분에는, 사이드 월형으로 형성된 다결정 실리콘막(308)을 분리하는 에칭 공정을 실시할 필요는 없다.Fig. 13 shows a state in which the
다결정 실리콘막(308)을 분리할 때, 인접하는 게이트 전극 퍼트부(1201)의  사이에 남아 있는 다결정 실리콘막(308)에 관해서도, 적어도 일부를 제거(도13의 영역(b))하고, 독립시켜야 할 소스 영역과 드레인 전극이 전기적으로 연결되지 않도록 할 필요가 있다.  이 때 영역(b)에서는, 게이트 측벽 절연막(305)의 양측에서, 소스·드레인 영역이 되는 다결정 실리콘막(308)도, 게이트 전극이 되는 다결정 실리콘막(304)도 제거되어 있다.  게이트 측벽 절연막(305)은 상당히 막 두께가 얇기 때문에, 게이트 측벽 절연막(305)가 쓰러지지 않도록, 될 수 있는 한 b의 간격은 최소 가공치수에 가까운 쪽이 좋다.When the
다결정 실리콘막(308)을 분리하는 공정을 컷 공정이라고 부른다.  컷 공정을 행하기 위한 마스크를 형성하기 위한 포토리소그래피 공정(컷트 영역 이외를 마스크 하는 공정)은, 기초 게이트 전극에 대해서 위치 정렬을 행하게 된다.  이 위치 정렬 마진을 X라고 한다.  도13에 도시하는 바와 같이, 컷폭을 최소 가공치수(F)로 설정한 경우, 제1 게이트 전극의 퍼트부와, 제2의 게이트 전극의 퍼트부의 치수는, 최소라도 2X+F만큼 필요해진다.  컷 공정의 에칭이 게이트 전극에 대해서 선택성이 없는 경우에, 마진(X)을 설정하지 않고서 에칭을 행하면, 위치 정렬 어긋남에 의해, 게이트 전극까지 에칭된다.  그 결과 게이트 전극 측벽 절연막만이 남는다.  게이트 전극 측벽 절연막은 상당히 얇은 막이며 상당히 쓰러지기 쉽다.  따라서, 이 막만이 남으면, 파티클의 원인이 되고, 수율이 저하한다.The process of separating the
이 때문에, 게이트 전극의 퍼트의 폭을 Z라고 정의하면, 게이트 전극을 세밀하게 전면에 까는 피치는 2X+F+Z가 된다.For this reason, if the width of the putt of the gate electrode is defined as Z, the pitch of covering the gate electrode finely on the entire surface is 2X + F + Z.
또한, 컷 공정에서는, 게이트 전극 측벽 절연막이 쓰러지지 않는 범위에서, 게이트 전극의 일부가 에칭되도록 하는 마스크를 이용해서 포토리소그래피 공정이 행하여진다.In the cut process, a photolithography process is performed using a mask that allows a part of the gate electrode to be etched in a range where the gate electrode sidewall insulating film does not fall.
도14는, 어레이형으로 가공된 게이트 전극(304)의 주위에 게이트 전극 측벽 절연막(305)을 통해, 다결정 실리콘막(308)이 남아 있는 상태를 도시한다.  본 실시예에서는, 컷 공정 전에 게이트 전극(305)의 상부가, 컷 공정의 에칭(다결정 실리콘막의 에칭)에 대해서 선택비가 있는 보호막(예를 들면, 산화막(306))으로 덮힌다.  이 방법에 따르면, 도14에 도시하는 바와 같이, 인접하는 게이트 전극 퍼트부의 간격을 최소 가공 치수(F)로 설정하더라도, 컷 공정에 있어서 게이트 전극이 에칭되지 않는다.  이 때문에, 게이트 전극을 세밀하게 전면에 까는 피치를 F+Z라고 할 수 있다.Fig. 14 shows a state in which the
이하, 불순물의 열 확산에 대해서, 도15 내지 도17을 참조해서 설명한다.Hereinafter, the thermal diffusion of impurities will be described with reference to FIGS. 15 to 17.
도15는, 불순물이 주입된 소스·드레인 영역이 되는 다결정 실리콘막으로부터, 불순물이 확산되는 방향을 도시한다. 불순물은, 하방향뿐만 아니라, 가로방향으로도 확산한다. 즉, 점(A)으로부터 지면의 좌방향으로도, 불순물이 확산된다.Fig. 15 shows a direction in which impurities are diffused from a polycrystalline silicon film serving as a source / drain region into which impurities are injected. The impurities diffuse not only in the downward direction but also in the horizontal direction. That is, impurities also diffuse from the point A in the left direction of the paper.
도16은, 가로방향으로 오프셋이 생기지 않을 정도로 불순물을 확산시키는 예를 도시한다. 불순물을 열 확산시키는 경우는, 도16에 도시하는 바와 같이, 가로방향으로 오프셋이 생기지 않을 정도로 불순물을 확산시키는 것이 바람직하다. 구체적으로는, 접합 깊이가 게이트 전극 측벽 절연막 두께의 O.8배 정도에서, 가장 깊은 영역(소자 분리 영역부근)에서도 2배 정도로 하는 것이 바람직하다.Fig. 16 shows an example in which impurities are diffused to such an extent that no offset occurs in the lateral direction. In the case where the impurities are thermally diffused, as shown in Fig. 16, it is preferable to diffuse the impurities to such an extent that no offset occurs in the horizontal direction. Specifically, it is preferable that the junction depth is about 0.8 times the thickness of the gate electrode sidewall insulating film, and about twice the deepest region (near the element isolation region).
도17은, 오프셋이 생긴 경우의 불순물 확산층을 도시한다. 도17에 도시하는 바와 같은 오프셋이 생긴 경우, 그 소자의 구동전류는 현저하게 저하하고, 바람직하지 않다.Fig. 17 shows the impurity diffusion layer in the case where an offset has occurred. When an offset as shown in Fig. 17 occurs, the drive current of the element is considerably lowered, which is not preferable.
이하, 오프셋을 일으키지 않는, 또는 오프셋을 작게 하기 위한, 조건의 예를 설명한다.Hereinafter, an example of the condition for not causing an offset or making an offset small is demonstrated.
가로방향으로 오프셋이 생기지 않을 정도로 불순물을 확산시키면, 하방향의 확산깊이가 일의적으로 결정된다. 따라서, 트랜지스터의 성능을 향상시키기 위해서는, 게이트 전극 측벽 용량의 증대가 전체의 부하용량의 현저한 증대를 초래하지 않는 범위에서, 극력 게이트 전극 측벽 절연막을 얇게 형성할 필요가 있다. 본 실시 형태에서는, 상술한 바와 같이 게이트 전극 측벽 절연막의 두께를 0.05㎛로 설정하고 있다.If impurities are diffused to such an extent that no offset occurs in the lateral direction, the diffusion depth in the downward direction is uniquely determined. Therefore, in order to improve the performance of the transistor, it is necessary to form a thin-pole gate electrode sidewall insulating film in a range in which the increase in the gate electrode sidewall capacity does not cause a significant increase in the overall load capacity. In the present embodiment, the thickness of the gate electrode sidewall insulating film is set to 0.05 µm as described above.
본 실시 형태에 있어서의, 구체적인, 단 채널 효과와 열처리의 관계를, 도18 내지 도21을 이용해서 설명한다.The relationship between a specific short channel effect and heat processing in this embodiment is demonstrated using FIGS. 18-21.
도18은, N채널 트랜지스터의 게이트 길이와 임계치 전압의 관계를 도시한다. 도18에 도시하는 예는, 소스·드레인 영역을 형성하기 위한 불순물로서, 인 이온을, 50KeV의 주입 에너지로, 5×1015/cm2주입하고, 열처리 조건으로서, 각각, 800℃ 질소 분위기중 120분, 850℃ 질소 분위기중 30분, 900℃ 질소 분위기중 10분, 850℃ 산소 분위기중 30분을 행한 예이다.18 shows the relationship between the gate length and the threshold voltage of an N-channel transistor. In the example shown in Fig. 18, as an impurity for forming a source / drain region, phosphorus ions are implanted at 5 × 1015 / cm2 with an implantation energy of 50 KeV, and as heat treatment conditions, respectively, at 800 ° C. in a nitrogen atmosphere. It is the example which performed 120 minutes, 30 minutes in 850 degreeC nitrogen atmosphere, 10 minutes in 900 degreeC nitrogen atmosphere, and 30 minutes in 850 degreeC oxygen atmosphere.
도18에 도시하는 결과에서, 게이트 전극 측벽 절연막이 O.05㎛, 게이트 길이 O.24㎛부근의 트랜지스터에 관해서, n채널형 트랜지스터에 있어서, 인 이온을 50KeV의 주입 에너지로, 5×1015/cm2주입한 경우에는, 열처리 조건으로서, 850℃ 질소 분위기중 30분, 산소 분위기중 30분 또는 900℃ 질소 분위기중 10분으로 최적이 되는 것을 알 수 있다. 800℃ 질소 분위기중 120분의 열처리로는, 불충분하고, 오프셋 트랜지스터가 되어서 바람직하지 않은 것을 알 수 있다.In the results shown in Figure 18, a gate electrode side wall insulating film O.05㎛, the gate length of the transistor with respect to the Nearby O.24㎛, in the n-channel transistor, phosphorus ions with an implantation energy of 50KeV, 5 × 1015 In the case of injection of / cm2 , it can be seen that the heat treatment conditions are optimal for 30 minutes in 850 ° C. nitrogen atmosphere, 30 minutes in oxygen atmosphere, or 10 minutes in 900 ° C. nitrogen atmosphere. It is understood that the heat treatment for 120 minutes in an 800 ° C. nitrogen atmosphere is insufficient and becomes an offset transistor, which is undesirable.
도19는, N채널 트랜지스터의 게이트 길이와 임계치 전압의 관계를 도시한다. 도19에 도시하는 예는, 소스·드레인 영역을 형성하기 위한 불순물로서, 인 이온을, 50KeV의 주입 에너지로, 각각, 5×1015/cm2, 및, 1×1016/cm2주입한 후, 급속가열처리, 1050℃ 질소 분위기중 10초를 행한 예이다.Fig. 19 shows the relationship between the gate length of the N-channel transistor and the threshold voltage. In the example shown in Fig. 19, as an impurity for forming a source / drain region, phosphorus ions are implanted with 5 × 1015 / cm2 and 1 × 1016 / cm2 , respectively, at an implantation energy of 50 KeV. After that, rapid heating treatment was performed for 10 seconds in a 1050 ° C nitrogen atmosphere.
또한, 도19에 도시하는 결과에서, 도즈량을 5×1015/cm2로부터 1×1016/cm2로 증가시킨 경우, 고농도 불순물에 의한 증속 확산의 영향에 의해, 1050℃ 질소 분위기중 10초의 열처리로 양호한 결과가 얻을 수 있었다. 도즈량이 5×1O15/cm2의 경우는, 1050℃ 질소 분위기중 10초의 열처리의 조건에서는, 확산이 불충분하고, 오프셋 트랜지스터가 되어서 바람직하지 않은 것을 알 수 있다.In addition, in the results shown in Fig. 19, when the dose was increased from 5 x 1015 / cm2 to 1 x 1016 / cm2 , the effect was increased by 10% in 1050 ° C. Good results were obtained with a second heat treatment. In the case where the dose amount is 5 × 1015 / cm2 , diffusion is insufficient under conditions of heat treatment for 10 seconds in a 1050 ° C. nitrogen atmosphere, which turns out to be an offset transistor, which is not preferable.
도20은, P채널 트랜지스터의 게이트 길이와 임계치 전압의 관계를 도시한다. 도20에 도시하는 예는, 소스·드레인 영역을 형성하기 위한 불순물로서, 보론 이온을, 15KeV의 주입 에너지로, 5×1015/cm2주입하고, 열처리 조건으로서, 각각, 800℃ 질소 분위기중 120분, 850℃ 질소 분위기중 30분, 900℃ 질소 분위기중 10분, 850℃ 산소 분위기중 30분을 행한 예이다.Fig. 20 shows the relationship between the gate length and the threshold voltage of a P-channel transistor. In the example shown in Fig. 20, as an impurity for forming a source / drain region, 5 × 1015 / cm2 of boron ions are implanted with an implantation energy of 15 KeV, and as heat treatment conditions, respectively, at 800 ° C. in a nitrogen atmosphere. It is the example which performed 120 minutes, 30 minutes in 850 degreeC nitrogen atmosphere, 10 minutes in 900 degreeC nitrogen atmosphere, and 30 minutes in 850 degreeC oxygen atmosphere.
도20에 도시하는 결과에서, 채널형 트랜지스터에 있어서, 보론 이온을, 15KeV의 주입 에너지로, 5×1015/cm2주입한 경우, 열처리 조건으로서, 850℃ 질소 분위기중 30분 및 900℃ 질소 분위기중 10분으로 최적이 되는 것을 알 수 있다. 80O℃ 질소 분위기중 120분의 열처리 및, 850℃ 산소 분위기중 30분의 열처리로는, 불충분하고, 오프셋 트랜지스터가 되어서 바람직하지 않은 것을 알 수 있다.As a result shown in FIG. 20, in the channel transistor, when boron ions were implanted at 5 × 1015 / cm2 with an implantation energy of 15 KeV, 30 minutes in an 850 ° C. nitrogen atmosphere and 900 ° C. nitrogen were used as heat treatment conditions. It turns out that it is optimum in 10 minutes in atmosphere. It is understood that the heat treatment for 120 minutes in an 80 ° C. nitrogen atmosphere and the heat treatment for 30 minutes in an 850 ° C. oxygen atmosphere are insufficient and become an offset transistor, which is undesirable.
도21은, P채널 트랜지스터의 게이트 길이와 임계치 전압의 관계를 도시한다. 도21에 도시하는 예는, 소스·드레인 영역을 형성하기 위한 불순물로서, 보론 이온을, 15KeV의 주입 에너지로, 각각, 5×1015/cm2, 및, 1×1016/cm2주입한 후, 급속가열처리, 1050℃ 질소 분위기중 10초를 행한 예이다.Fig. 21 shows the relationship between the gate length of the P-channel transistor and the threshold voltage. The example shown in Fig. 21 is an impurity for forming a source / drain region, in which boron ions are implanted with 5 × 1015 / cm2 and 1 × 1016 / cm2 , respectively, at an implantation energy of 15 KeV. After that, rapid heating treatment was performed for 10 seconds in a 1050 ° C nitrogen atmosphere.
도21에 도시하는 결과에서, 도즈량을 5×1015/cm2로부터 1×1016/cm2로 증가시킨 경우라도, 보론 이온에 관해서는, 아직, 확산이 불충분하고, 오프셋 트랜지스터가 되어 있어 바람직하지 않은 것을 알 수 있다.As a result shown in Fig. 21, even when the dose is increased from 5 x 1015 / cm2 to 1 x 1016 / cm2 , the boron ions are still insufficient in diffusion and become offset transistors. It can be seen that it is not preferable.
본 발명자들은, 상술한 결과에서, 게이트 전극 측벽 절연막이 O.06㎛에 있어서는, N채널형 트랜지스터 및, P채널형 트랜지스터의 불순물 확산을 1회의 열처리로 행할 경우, 열처리 조건으로서, 850℃ 질소 분위기중 30분 정도에서, 900℃ 질소 분위기중 10분정도가 최적인 것을 발견했다.The present inventors have found that when the gate electrode sidewall insulating film has a thickness of 0.06 m, the impurity diffusion of the N-channel transistor and the P-channel transistor is performed by one heat treatment, the present inventors have a 850 ° C nitrogen atmosphere as the heat treatment condition. In about 30 minutes, about 10 minutes in 900 degreeC nitrogen atmosphere was found to be optimal.
본 실시 형태에서는, 게이트 전극에의 도핑과 소스·드레인 영역에의 도핑을 동시에 하고 있다. 이 때문에, 게이트 전극의 게이트 절연막 근방에서의 공핍화를 방지하는 조건 및 불순물의 채널 영역에의 관통을 방지하는 조건(이들 조건은 게이 트 다결정 실리콘막의 막 두께(TG)에 좌우된다)을 충족시키는 데다가, 트랜지스터의 성능(단 채널 효과가 일어나기 어렵고, 또한, 구동전류가 크다)을 향상시키는 조건을 설정하는 것이 중요하다.In this embodiment, the doping to the gate electrode and the doping to the source / drain region are simultaneously performed. For this reason, the conditions for preventing depletion in the vicinity of the gate insulating film of the gate electrode and the conditions for preventing the penetration of impurities into the channel region (these conditions depend on the film thickness TG of the gate polycrystalline silicon film) are satisfied. In addition, it is important to set conditions for improving the performance of the transistor (however, the channel effect is hard to occur and the driving current is large).
이와 같이 몇 개의 파라미터가 밀접하게 관련되어 있기 때문에, 최적조건을 요구하는 것은 곤란한 것처럼 생각되지만, 쌓아 올림층(308)(도9(c))의 확산 계수를 실리콘 기판(단결정 실리콘)중의 확산 계수에 대해서 크게 설정함으로써, 프로세스 조건의 마진을 상당히 크게 하는 것에 본 발명자들은 성공했다.  다시 말해, 구동전류를 증대시키고, 단 채널 효과를 억제하고, 또한 소자의 점유 면적이 가공가능한 범위에서 최소가 되도록, 2/3×F≤LSW+LA≤4/3×F≒LG+LSW, LSD≥LG+LSW, TSDmax>TG, TSW>LA, LSW+LA>TG의 조건하에서 각 값을 설정하면, 이온 주입, 열처리등의 프로세스 조건은, 큰 마진을 수반하여 설정하는 것이 가능해진다.  또한, 게이트 전극(304)의 양측에 설치된 2개의 소스·드레인 영역(308)은, 한쪽이 소스 영역으로서 기능하고, 다른 한쪽이 드레인 영역으로서 기능한다.  소스 영역 또는 드레인 영역의 적어도 한쪽이, 상술한 조건을 충족시키도록 설계된다.Since several parameters are closely related in this way, it is considered difficult to demand the optimum condition, but the diffusion coefficient of the stacked layer 308 (Fig. 9 (c)) is determined by the diffusion coefficient in the silicon substrate (single crystal silicon). By setting large for, the present inventors succeeded in significantly increasing the margin of the process condition. In other words, 2/3 × F ≦ LSW + LA ≦ 4/3 × F ≒ LG + LSW, so as to increase the driving current, suppress the short channel effect, and minimize the occupied area of the device in the processable range. When each value is set under the conditions of LSD? LG + LSW, TSDmax> TG, TSW> LA, LSW + LA> TG, process conditions such as ion implantation and heat treatment can be set with a large margin. In addition, one of the two source and drain
본 실시 형태에서는, 게이트 전극이 되는 층과, 소스 영역이 되는 층과, 드레인 영역이 되는 층에 동시에 도우너 또는 억셉터가 되는 불순물이 주입된다. 이 때문에, 게이트 전극에의 불순물 도입을 위한 포토리소그래피 공정이나 주입공정을 별도로 행할 필요가 없다. 따라서, 공정을 간략화하는 것이 가능해지고, 제조 비용을 저감할 수 있다.In this embodiment, the impurity which becomes a donor or an acceptor is implanted simultaneously into the layer used as a gate electrode, the layer used as a source region, and the layer used as a drain region. For this reason, it is not necessary to separately perform a photolithography process or an implantation process for introducing impurities into the gate electrode. Therefore, the process can be simplified and the manufacturing cost can be reduced.
이하에, 본 실시 형태의 방법이, 쌓아 올림 확산층(쌓아 올림층)이 에피택셜 실리콘막에 의해 형성되는 종래의 방법보다 우위인 것을 설명한다.Hereinafter, the method of this embodiment demonstrates that a stacking diffusion layer (stacking layer) is superior to the conventional method formed with an epitaxial silicon film.
상술한 바와 같이, 본 실시 형태의 구조, 및 종래 구조의 쌓아 올림층을 에피택셜 실리콘막으로 형성한 구조와 같은, 쌓아 올림층으로부터 불순물을 고층 확산시켜, 얕은 소스·드레인 접합을 형성하는 구조에서는, 게이트 전극의 높이, 쌓아 올림 영역의 높이, 게이트 전극 측벽 절연막의 두께 등에 의해, 이온 주입 열처리 조건 등이 바뀌게 된다. 본 실시 형태에서는, 쌓아 올림층을 다결정 실리콘막으로 형성하고 있다. 다결정 실리콘으로는, 실리콘 단결정과 비교해서, 불순물의 확산 계수를 10배 내지 1OO배 정도로 크게 하는 것이 가능해진다(확산 계수는, 다결정 실리콘막의 그레인 사이즈에 의존하고, 그레인 사이즈가 작을수록 확산 계수는 커진다). 쌓아 올림층의 확산 계수는, 반도체 기판의 확산 계수와 비교해서, 클수록 좋다. 쌓아 올림층의 확산 계수가 반도체 기판의 확산 계수와 비교해서 충분히 많으면, 불순물을 다결정 실리콘막안에서 단결정 실리콘막안에 소정의 접합 깊이가 될 때까지 도입하는 시간에 비해서 충분히 짧은 시간내에, 다결정 실리콘막중의 불순물 농도가 거의 균일해진다. 이 때문에, 쌓아 올림층의 다결정 실리콘막의 높이가, 제조편차에 의해 다소 불규칙해졌다고 하더라도, 채널 영역에 대해서 오프셋하지 않을 정도까지 다결정 실리콘막으로부터 실리콘 기판중으로 불순물을 확산시키는데에 필요한 시간은, 실리콘막중의 불순물이 거의 균일한 농도가 될 때까지의 시간(실리콘 기판부근의 다결정 실리콘막의 농도가 충분히 높아지는 시간)과 비교해서, 충분히 짧다. 이 때문에, 다결정 실리콘막의 높이의 제조편차가, 접합 깊이에 주는 영향을 무시할 수 있게 된다. 또, 이온 주입, 열처리 조건에 있어 서의 마진을 크게 할 수 있다.As described above, in the structure of the present embodiment and the structure in which the stacking layer of the conventional structure is formed by an epitaxial silicon film, impurities are diffused from the stacking layer in a high layer to form a shallow source-drain junction. The ion implantation heat treatment conditions and the like change depending on the height of the gate electrode, the height of the stacked region, the thickness of the gate electrode sidewall insulating film, and the like. In this embodiment, the stacked layer is formed of a polycrystalline silicon film. With polycrystalline silicon, it is possible to increase the diffusion coefficient of the impurity to about 10 to 100 times as compared with the silicon single crystal (the diffusion coefficient depends on the grain size of the polycrystalline silicon film, and the smaller the grain size, the larger the diffusion coefficient becomes. ). The diffusion coefficient of the stacked layer is larger as compared with the diffusion coefficient of the semiconductor substrate. If the diffusion coefficient of the stacked layer is sufficiently large compared with the diffusion coefficient of the semiconductor substrate, within the polycrystalline silicon film within a shorter time than the time for introducing impurities from the polycrystalline silicon film to the predetermined junction depth in the single crystal silicon film. Impurity concentration becomes almost uniform. Therefore, even if the height of the polycrystalline silicon film of the stacked layer becomes somewhat irregular due to manufacturing deviation, the time required for diffusing impurities from the polycrystalline silicon film into the silicon substrate to the extent that it does not offset the channel region is in the silicon film. It is short enough compared with the time until the impurity of (a) becomes almost uniform (time when the concentration of the polycrystalline silicon film near the silicon substrate is sufficiently high). For this reason, the influence which the manufacturing deviation of the height of a polycrystal silicon film has on a junction depth can be disregarded. Moreover, the margin in ion implantation and heat processing conditions can be enlarged.
또한, 게이트 전극에 대해서 오프셋하지 않을 정도까지 다결정 실리콘막으로부터 실리콘 기판안으로 불순물을 확산시킨다는 것은, 적어도 게이트 전극 측벽 절연막의 막 두께분만큼은, 실리콘 기판안에 가로방향으로 불순물을 확산시키는 것을 의미한다. 게이트 전극과, 다결정 실리콘막의 사이에는, 게이트 전극 측벽 절연막이 존재하기 때문이다. 구체적으로, 다결정 실리콘막안에만 불순물을 도입하는 실시 형태로서는, 이온 주입공정에 의해 불순물을 도입하는 방법이 있다. 이 때, 이온 주입 에너지에 의한 가우시안 분포에 따라, 불순물이 다결정 실리콘막안에 분포된다. 이온 주입 에너지는, 다결정 실리콘막과 단결정 반도체 기판의 계면의 게이트 전극근방의 불순물 농도가 피크 농도의 10-2 내지 10-5배의 농도가 되도록 설정된다. 다결정 실리콘막과 단결정 반도체 기판의 계면의 게이트 전극근방의 불순물 농도에 근거해서 이온 주입의 조건을 결정하는 근거는, 이 근방의 소스·드레인 영역의 접합 깊이가 가장 단 채널 효과에 영향을 미치기 때문이다.Further, diffusion of impurities from the polycrystalline silicon film into the silicon substrate to the extent that the gate electrode is not offset to the gate electrode means diffusion of the impurities in the silicon substrate in the transverse direction at least by the thickness of the gate electrode sidewall insulating film. This is because a gate electrode sidewall insulating film is present between the gate electrode and the polycrystalline silicon film. Specifically, as an embodiment in which impurities are introduced only into the polycrystalline silicon film, there is a method of introducing impurities by an ion implantation step. At this time, impurities are distributed in the polycrystalline silicon film according to the Gaussian distribution by the ion implantation energy. The ion implantation energy is set so that the impurity concentration in the vicinity of the gate electrode at the interface between the polycrystalline silicon film and the single crystal semiconductor substrate is 10-2 to 10-5 times the peak concentration. The reason for determining the ion implantation conditions based on the impurity concentration near the gate electrode at the interface between the polycrystalline silicon film and the single crystal semiconductor substrate is that the junction depth of the source / drain region in the vicinity affects the shortest channel effect. .
쌓아 올림층을 에피택셜 실리콘막으로 형성하는 종래의 방법에 따르면, 게이트 다결정 실리콘막과, 쌓아 올림층의 확산 계수가 크게 다르다. 이 때문에, 게이트 전극의 게이트 절연막 근방에서의 공핍화, 및 불순물의 채널 영역에의 관통을 방지하는 조건을 충족시키는 데다가, 트랜지스터의 성능(단 채널 효과가 일어나기 어렵고, 또한, 구동전류가 크다)을 향상시키는 조건을 설정하는 것은 사실상 불가능해진다. 왜냐하면, 게이트 다결정 실리콘막중의 불순물은, 쌓아 올림층 및 반도 체 단결정 기판중의 불순물과 비교해서 상당히 확산되기 쉽기 때문에, 트랜지스터가 오프셋하지 않는 조건으로 확산시키면, 게이트 산화막에 대해서 불순물(예를 들면, 보론)이 관통하고, 보론이 관통하지 않는 조건으로 확산시키면, 오프셋 트랜지스터가 되어 바람직하지 않기 때문이다.According to the conventional method of forming the stacked layer as an epitaxial silicon film, the diffusion coefficients of the gate polycrystalline silicon film and the stacked layer are greatly different. For this reason, the conditions for preventing depletion and penetration of impurities into the channel region in the vicinity of the gate insulating film of the gate electrode are satisfied, and the performance of the transistor (the channel effect is hard to occur and the driving current is large) is also satisfied. Setting conditions to improve is virtually impossible. This is because impurities in the gate polycrystalline silicon film tend to diffuse considerably compared with impurities in the stacked layer and the semiconductor single crystal substrate. Therefore, when the transistor is diffused under a condition that the transistor is not offset, impurities (for example, This is because if boron penetrates and diffuses under a condition that boron does not penetrate, it becomes an offset transistor, which is undesirable.
확산 계수가 큰 다결정 실리콘막(쌓아 올림층)으로부터 확산 계수가 작은 단결정 실리콘(반도체 기판)중에 열 확산에 의해 불순물을 확산시킴으로써 소스·드레인 영역을 형성하는 방법에 따르면, 반도체 기판의 활성 영역 표면과 퇴적한 다결정 실리콘막의 계면까지는 순식간에 불순물이 확산되고, 계면에서 실리콘 기판중으로의 확산은 느리다. 이 때문에, 쌓아 올림층과 게이트 전극의 동시 도핑을 행하지 않는 경우라도, 쌓아 올림층의 높이의 편차, 불순물 이온 주입시의 주입 비정(Rp)의 편차 등을 완화시키고, 소스·드레인 접합 깊이를 균일하게 형성할 수 있다고 하는 효과를 얻을 수 있다. 활성 영역에 단결정 에피택셜 실리콘막을 성장시킨 경우, 쌓아 올려진 단결정 에피택셜 실리콘중의 불순물의 확산 계수와, 반도체 기판중의 확산 계수가 거의 동일하기 때문에, 쌓아 올림층의 높이의 편차, 불순물 이온 주입시의 주입 비정(Rp)의 편차가 그대로 소스·드레인의 접합 깊이의 편차로서 반영되어, 트랜지스터 특성이 불규칙해지는 요인이 된다.According to the method of forming a source / drain region by diffusing impurities from a polycrystalline silicon film (stacking layer) having a large diffusion coefficient by thermal diffusion in single crystal silicon (semiconductor substrate) having a small diffusion coefficient, Impurities diffuse quickly to the interface of the deposited polycrystalline silicon film, and diffusion from the interface to the silicon substrate is slow. For this reason, even when the stacking layer and the gate electrode are not simultaneously doped, variations in the height of the stacking layer, variations in implantation irregularities (Rp) at the time of impurity ion implantation are alleviated, and the source and drain junction depths are uniform. The effect that it can form can be obtained. When the single crystal epitaxial silicon film is grown in the active region, the diffusion coefficient of the impurity in the stacked single crystal epitaxial silicon and the diffusion coefficient in the semiconductor substrate are almost the same, so that the variation in the height of the stacked layer and impurity ion implantation The variation in the implantation irregularity Rp at the time is reflected as the variation in the junction depth between the source and the drain as it is, and the transistor characteristics become irregular.
또한, 쌓아 올림층과 게이트 전극의 동시 도핑을 행하지 않는 경우에는, 예를 들면, 실시 형태 5에 있어서 후술하는 방법이나, 인 확산에 의해 모든 게이트에 같은 도전형의 불순물을 도핑하는 등의 방법이 이용될 수 있다. 단, 이 경우, P채널 트랜지스터는, 메워 넣음 채널형 트랜지스터가 된다.In addition, when the doping layer and the gate electrode are not simultaneously doped, for example, the method described later in Embodiment 5, or a method such as doping the same conductivity type impurities to all the gates by phosphorus diffusion, Can be used. In this case, however, the P-channel transistor becomes an embedded channel transistor.
또, 본 발명에서는 활성 영역에 직접 이온 주입하지 않으므로 활성 영역에 손상이 생기기 어렵다고 하는 메리트가 있다.In addition, in the present invention, there is a merit that damage to the active region is unlikely because the ion is not directly implanted into the active region.
이하, 도22(a) 및 (b)를 참조하여, 본 실시 형태의 반도체 장치에 있어서 트랜지스터의 점유 면적이 저감되는 것을 설명한다.Hereinafter, referring to Figs. 22A and 22B, the area occupied by the transistor in the semiconductor device of the present embodiment is reduced.
도22(a)는, 도43(c)에 도시하는 종래의 반도체 장치의 반도체 기판을 위에서 본 평면도이다. 도22(b)는, 본 실시 형태의 반도체 장치의 반도체 기판을 위에서 본 평면도이다.Fig. 22A is a plan view of the semiconductor substrate of the conventional semiconductor device shown in Fig. 43C, seen from above. Fig. 22B is a plan view of the semiconductor substrate of the semiconductor device of this embodiment as seen from above.
도22(a)에 도시하는 트랜지스터 소자의 게이트 길이를 L이라고 하고, 게이트 폭을 W라고 한다. 일반적으로, 게이트 길이(L)는, 최소 가공치수(F)와 동일하게 설정된다. 게이트 전극과 소자 분리 영역(활성 영역의 외부영역) 사이의 마진은, 2.5L 내지 3L정도 필요했다. 그 마진은, 콘택트 개구 직경의 폭(o)과, 콘택트와 게이트 전극이 쇼트하지 않기 위한 얼라이먼트 마진(p)과, 콘택트가 소자 분리 영역에 접하지 않기 위한 얼라이먼트 마진(q)의 합계이다. 도22(a)에 도시하는 활성 영역의 점유 면적은, (2.5L×2+L 내지 3L×2+L)×W, 즉 6LW 내지 7LW이다.The gate length of the transistor element shown in FIG. 22A is referred to as L, and the gate width is referred to as W. FIG. In general, the gate length L is set equal to the minimum machining dimension F. FIG. The margin between the gate electrode and the element isolation region (outer region of the active region) required about 2.5L to 3L. The margin is the sum of the width o of the contact opening diameter, the alignment margin p for preventing the contact and the gate electrode from shorting, and the alignment margin q for preventing the contact from contacting the element isolation region. The occupied area of the active region shown in Fig. 22A is (2.5 L x 2 + L to 3 L x 2 + L) x W, that is, 6 LW to 7 LW.
도22(b)에 도시하는 게이트 전극과 소자 분리 영역 사이의 마진은, 게이트 전극 측벽 절연막 두께(LSW)에 따라 약간 변동하지만, 상술한 바와 같이 2/3L(구체적으로는, F=O.24㎛인 경우, LA=O.16㎛ 내지 O.18㎛)정도로 좋다. 본 실시 형태에 있어서의 반도체 장치의 활성 영역의 점유 면적은 (2/3L×2+L)×W, 즉 7/3LW가 된다. 본 실시 형태에 있어서의 반도체 장치의 활성 영역의 점유 면적은, 도22(a)에 도시하는 활성 영역의 점유 면적에 비해서, 7/18 내지 1/3정도이며, 본 실시 형태 에서는 활성 영역을 축소할 수 있다. 단, LSI전체로서는, 배선 피치나, 콘택트 피치 등의 제약을 받기 때문에, 본 실시 형태에 의해 제조된 실제의 LSI의 칩 면적이 반드시 종래의 LSI의 칩 면적의 7/18 내지 1/3정도가 된다고는 할 수 없다.The margin between the gate electrode and the element isolation region shown in Fig. 22B slightly varies depending on the gate electrode sidewall insulating film thickness LSW, but as described above, 2 / 3L (specifically, F = O.24). In the case of 占 퐉, the thickness may be about LA = 0.1 to 占 퐉. The area occupied by the active region of the semiconductor device in this embodiment is (2 / 3L × 2 + L) × W, that is, 7 / 3LW. The occupied area of the active region of the semiconductor device in this embodiment is about 7/18 to 1/3 compared to the occupied area of the active region shown in Fig. 22A, and the active region is reduced in this embodiment. can do. However, since the LSI as a whole is subject to constraints such as wiring pitch, contact pitch, etc., the chip area of the actual LSI manufactured according to the present embodiment must be about 7/18 to 1/3 of the chip area of the conventional LSI. It cannot be said.
또, 실시 형태에 따르면, 종래의 반도체 소자에 비교해서, 접합 기생 용량을, 4/15 내지 2/9정도로 작게 할 수 있다.Moreover, according to embodiment, compared with the conventional semiconductor element, junction parasitic capacitance can be made small about 4/15-2/9.
(실시 형태 4)(Embodiment 4)
실시 형태 3에서는, 게이트 전극을 가공한 후, 소스·드레인 영역을 분리하는 컷 공정을 했다. 인접하는 게이트 전극 퍼트부가 최소 가공치수(F)로 분리되어 있는 경우, 인접하는 게이트 전극 퍼트부 사이의 실제의 빈틈(인접하는 게이트 전극 퍼트부의 게이트 전극 측벽 절연막 사이의 거리)은, F-2×LSW가 된다. 여기에서, LSW는 게이트 전극 측벽 절연막의 폭이다. 예를 들면, LSW가 1/4×F정도였다고 하면, 인접하는 게이트 전극 퍼트부 사이의 실제의 빈틈은, 1/2×F정도로, 상당히 좁아진다. 이 영역에 소스·드레인 영역이 되는 도전성 막이 메워넣어져 있다. 금후, 더욱 미세화의 요구가 높아진 경우, 컷 공정에서, 상기 메워넣어진 도전성 막을 에칭 제거하는 것이 상당히 곤란해진다. 예를 들면, 0.25㎛ 룰에 근거해서 설계를 할 경우, 인접하는 게이트 전극 퍼트부 사이의 실제의 빈틈은, 0.13㎛정도가 되므로 도전성 막을 에칭 제거하는 것은 가능하다. 그러나 F=O.1㎛ 룰에 근거해서 설계를 할 경우, 인접하는 게이트 전극 퍼트부 사이의 실제의 빈틈은, O.05㎛정도 또는 그것 이하가 된다. F가 작아진 경우, 게이트 전극 측벽 절연막 두께(LSW)를 1/4×F정도까지 박막화하는 것도, 곤란해지기 때문이다. 이 때문에, 이 빈틈의 도전성 막을 완전히 제거하는 것이 곤란해진다. 본 발명자들의 실험에 따르면, F=O.1㎛ 룰에 근거하여, 게이트 전극 퍼트간을 최소 가공치수(F)로 설정한 경우, 소스·드레인 영역을 수율 좋게 분리하는 것은 곤란했다. 이 때문에, 수율을 향상시키기 위해서는, 인접하는 게이트 전극 퍼트부 사이의 마진을 넓힐 필요가 있다.In Embodiment 3, the cut process which isolate | separates a source-drain area | region after processing a gate electrode was performed. When the adjacent gate electrode putt parts are separated by the minimum processing dimension F, the actual gap (distance between the gate electrode sidewall insulating films of the adjacent gate electrode putt parts) between the adjacent gate electrode putt parts is F-2 ×. LSW. Here, LSW is the width of the gate electrode sidewall insulating film. For example, if the LSW is about 1/4 x F, the actual gap between the adjacent gate electrode putts is considerably narrowed to about 1/2 x F. In this region, a conductive film serving as a source / drain region is embedded. In the future, when the demand for further miniaturization becomes higher, it becomes quite difficult to etch away the embedded conductive film in the cut process. For example, when designing based on a 0.25 µm rule, since the actual gap between adjacent gate electrode putts is about 0.13 µm, it is possible to etch away the conductive film. However, when designing based on the F = 0.1 µm rule, the actual gap between adjacent gate electrode putters is about 0.05 µm or less. It is because it becomes difficult to thin the gate electrode sidewall insulation film thickness LSW to about 1/4 * F when F becomes small. For this reason, it becomes difficult to remove this space | interval electroconductive film completely. According to the experiments of the present inventors, when the gate electrode putt was set to the minimum processing dimension F based on the F = 0.1 탆 rule, it was difficult to separate the source and drain regions in good yield. For this reason, in order to improve the yield, it is necessary to widen the margin between adjacent gate electrode putts.
도23은, 어레이형으로 가공된 게이트 전극(304)의 주위에 게이트 전극 측벽 절연막(305)을 통해, 다결정 실리콘막(308)이 남아 있는 것을 도시한다.  도23에 도시하는 굵은 파선은, 컷 공정이 행하여지는 위치를 도시한다.FIG. 23 shows that the
본 실시 형태의 제조 방법은, 게이트 전극 패턴 형성시의 마스크 패턴을 변경하는 점 이외에는, 실시 형태 3에 있어서 상술한 제조 방법과 동일하다. 본 실시 형태에서는, 게이트 전극 패턴 형성시에는, 게이트 길이를 구성하는 영역만이 에칭 가공된다.The manufacturing method of this embodiment is the same as the manufacturing method mentioned above in Embodiment 3 except for changing the mask pattern at the time of gate electrode pattern formation. In the present embodiment, at the time of forming the gate electrode pattern, only the region constituting the gate length is etched.
구체적으로는, 제1의 비절연성 막(게이트 전극이 되는 막)을 원하는 패턴으로 패터닝하는 공정에서는, 게이트 전극의 게이트 길이를 구성하는 영역만을 패터닝하고 있고, 제1의 게이트 전극의 퍼트와, 제2의 게이트 전극의 퍼트는, 아직, 분리되어 있지 않다. 또한, 비절연성 막이란 도전성 막 또는 반도체 막을 말한다.Specifically, in the step of patterning the first non-insulating film (the film serving as the gate electrode) in a desired pattern, only the region constituting the gate length of the gate electrode is patterned, and the putt of the first gate electrode, The putt of the gate electrode of 2 is not yet separated. In addition, a non-insulating film means a conductive film or a semiconductor film.
측벽 절연막에 대해서 선택성이 있는 에칭을 행함으로써, 제1의 비절연성 막 및 제2의 비절연성 막(소스·드레인 영역이 되는 층)을 패터닝하고, 게이트 전극이 되는 층과, 소스 영역이 되는 층과, 드레인 영역이 되는 층을 형성하는 공정이 행하여진다. 이 공정에 의해, 비로소, 제1 게이트 전극의 퍼트와, 제2의 게이트 전 극의 퍼트가 분리되고, 또한, 제2의 비절연성 막에 의한 사이드 월도, 동시에, 개개의 소스 영역 및 드레인 영역으로 분리된다.By selectively etching the sidewall insulating film, the first non-insulating film and the second non-insulating film (the layer serving as the source / drain region) are patterned, the layer serving as the gate electrode, and the layer serving as the source region. And forming a layer serving as a drain region are performed. By this step, the putt of the first gate electrode and the putt of the second gate electrode are separated from each other, and the sidewalls of the second non-insulating film are also separated at the same time. Separated by.
본 실시 형태에서는, 실시 형태 3에 있어서의 컷 공정(도12 참조) 전에 미리, 게이트 전극(제1의 비절연성 막 패턴)상부의 산화막(306)(제1의 절연막 패턴)이 제거된다.  그 후, 컷 공정에 있어서, 게이트 전극(304)의 일부도 동시에 에칭하고, 인접하는 게이트 전극 퍼트부 사이를 분리한다.  이 때문에, 인접하는 게이트 전극 퍼트부 사이를 최소 가공치수와 동일한 분리폭으로 형성하는 것이 가능해진다.In this embodiment, the oxide film 306 (first insulating film pattern) on the gate electrode (first non-insulating film pattern) is removed in advance before the cut process (see FIG. 12) in Embodiment 3. FIG. Then, in a cut process, a part of
게이트 전극상에 절연막(도9(c)에 도시하는 산화막(306))을 설치하면, 게이트 전극의 높이를, 게이트 전극 측벽 절연막보다도 낮게 제조하는 것이 가능해진다.  또, 본 실시 형태에서는, 소스·드레인 영역이 되는 사이드 월(다결정 실리콘막)이 게이트 전극 측벽 절연막과 접하는 높이(TSDmax)가 게이트 전극보다도 높아지는 형상을 확보하면서, 게이트 전극을 세밀하게 전면에 까는 피치를 F+Z까지 축소시키는 것이 가능해진다.If an insulating film (
바꿔 말하면, 본 실시 형태에 따르면, 측벽 절연막에 대해서 선택성이 있는 에칭(컷 공정)을 행함으로써, 비로소 인접하는 게이트 전극간의 퍼트가 분리되기 때문에, 인접하는 게이트 전극의 퍼트부 사이의 간격(최소 분리폭)은, 최소 가공치수(F)와 동일하게 하는 것이 가능해진다. 게이트 전극을 세밀하게 전면에 까는 피치는, 상술한 바와 같이, F+Z로 설정할 수 있다. 실시 형태 3에서 나타낸 바와 같은, 게이트 전극 상부에 게이트 측벽 절연막을 설치하는 단계에서 게이트 전극상에 절연막(산화막(306))을 설치한 경우라도, 인접하는 게이트 전극 퍼트부 사이를 최소 가공치수와 동일하게 하는 것이 가능해진다. 미세화가 진행된 경우라도, 인접하는 게이트 전극 퍼트부의 사이는, 채용되어 있는 룰에 있어서의 최소 가공 치수와 동일하게 할 수 있다.In other words, according to the present embodiment, the putt between adjacent gate electrodes is finally separated by performing a selective etching (cut process) on the sidewall insulating film, so that the gap between the put portions of the adjacent gate electrodes (minimum separation). Width) can be made equal to the minimum working dimension (F). The pitch which covers the gate electrode finely on the whole surface can be set to F + Z as mentioned above. As shown in Embodiment 3, even when an insulating film (oxide film 306) is provided on the gate electrode in the step of providing the gate sidewall insulating film on the gate electrode, the gap between adjacent gate electrode putts is equal to the minimum processing dimension. It becomes possible. Even when miniaturization has progressed, between adjacent gate electrode putt parts can be made the same as the minimum process dimension in the employ | adopted rule.
본 실시 형태에서는, 게이트 전극 중, 트랜지스터의 게이트 길이를 구성하는 영역에서는, 게이트 전극 측벽에 게이트 전극 측벽 절연막이 존재하고, 트랜지스터의 게이트 길이를 구성하지 않는 영역의 일부에서는, 게이트 전극 측벽에 게이트 전극 측벽 절연막이 존재하지 않는 구조가 된다.In this embodiment, the gate electrode sidewall insulating film exists in the gate electrode sidewall in the area | region which comprises the gate length of a transistor among the gate electrodes, and in a part of the area | region which does not comprise the gate length of a transistor, the gate electrode is in the gate electrode sidewall. It becomes a structure in which a side wall insulating film does not exist.
도24는, 실시 형태 4에 있어서의 반도체 기판의, 컷 공정 후의 상태를 도시한다. 도24에 도시하는 바와 같이, 게이트 영역, 소스 영역, 드레인 각 영역에 자기 정합 실리사이드화 공정(살리사이드 공정)을 채용할 경우, 실리사이드화 공정전에 컷 공정을 행함으로써, 활성 영역상의 게이트 전극 퍼트가 되는 막을 원하는 패턴으로 제거하는 것이 가능해진다.24 shows a state after the cutting process of the semiconductor substrate according to the fourth embodiment. As shown in Fig. 24, when the self-aligned silicide process (salicide process) is employed in each of the gate region, the source region, and the drain region, the gate electrode putt on the active region is formed by performing a cut process before the silicide process. It is possible to remove the resulting film in a desired pattern.
활성 영역상으로서, 컷 공정에 있어서 도전성 막(제1 도전성 막)을 제거한 영역을 영역(DC)이라고 한다. 도24에는, 영역(DC)를 해칭으로 도시한다. 본 실시 형태에서는, 영역(DC)내의 게이트 절연막을 실리사이드 공정 전의 세정에 의해 미리 제거한 후에 살리사이드화 공정이 행하여진다.On the active region, the region from which the conductive film (first conductive film) has been removed in the cut step is called region DC. In Fig. 24, the area DC is shown by hatching. In this embodiment, the salicide process is performed after removing the gate insulating film in area | region DC by the washing | cleaning before a silicide process previously.
도25는, 실시 형태 4에 있어서의 반도체 기판의, 실리사이드화 공정 후의 상태를 도시한다. 도25에 도시하는 바와 같이, 게이트 영역, 소스 영역 및 드레인 영역에 자기 정합 실리사이드막이 형성되는 동시에, 영역(DC)상에도 자기 정합적으 로 실리사이드막이 형성된다. 이것에 의해 영역(DC)과, 게이트 전극 퍼트부가 되는 막이, 실리사이드막(1333)을 통해 자기 정합적으로 전기적으로 단락된다(화살표(1332)).FIG. 25 shows a state after the silicide formation process of the semiconductor substrate according to the fourth embodiment. As shown in Fig. 25, a self-aligned silicide film is formed in the gate region, the source region and the drain region, and a silicide film is formed on the region DC in a self-aligned manner. As a result, the region DC and the film serving as the gate electrode putt are electrically short-circuited electrically through the silicide film 1333 (arrow 1332).
이와 같이, 본 실시 형태에서는, 게이트 전극과, 반도체 기판(일반적으로는 반도체 기판상에 형성된 소스·드레인 영역과 역도전형의 웰 영역)이, 조금도 공정을 추가하지 않고서 전기적으로 단락된다. 그 결과, 공정이 간략화되므로, 비용 저감과 수율의 향상이 실현된다.As described above, in the present embodiment, the gate electrode and the semiconductor substrate (generally, the source / drain region and the reverse conductivity type well region formed on the semiconductor substrate) are electrically shorted without any additional steps. As a result, since the process is simplified, cost reduction and improvement in yield are realized.
(실시 형태 5)(Embodiment 5)
이하, 실시 형태 5에 있어서의 반도체 장치를 제조하는 방법을 설명한다.Hereinafter, the method of manufacturing the semiconductor device in Embodiment 5 is described.
도26(a) 내지 (g)는, 실시 형태 5의 반도체 장치(1401)를 제조하는 공정을 도시한다.  본 실시 형태에서는, 게이트 전극이 고융점 금속 메탈이나 다결정 실리콘막 등에 의해 형성된다.  이하, 도26(a) 내지 (g)에 도시하는 각 공정을 설명한다.26A to 26G show a process of manufacturing the
우선, 도26(a)에 도시하는 바와 같이, 주지의 방법으로, 반도체 기판(401)(또는 반도체 기판에 설치된 웰 영역)상에, 소자 분리 영역(402), 게이트 산화막(403), 게이트 전극(404), 및 게이트 전극 측벽 절연막(405)이 형성된다.  여기에서, 게이트 전극(404)은, 다결정 실리콘막(4041) 및 텅스텐막(4043)이 질화 티탄막(4042)을 사이에 두는 3층 구조를 가지고 있다.First, as shown in Fig. 26A, a
질화 티탄막(4042)은, 뒤의 열처리 과정에서 다결정 실리콘막(4041)과 텅스텐 금속(4043)이 서로 반응하는 것을 막는다.  다결정 실리콘막(4041)과 텅스텐 금 속(4043)이 반응하면, 텅스텐 실리사이드막이 형성되어, 게이트 전극(404)의 저항이 높아지므로 바람직하지 않다.The
P채널 트랜지스터의 경우, 게이트 전극(404)의 다결정 실리콘막(4041)에는, 보론 이온이 미리 도핑된다.  N채널 트랜지스터의 경우, 게이트 전극(404)의 다결정 실리콘막(4041)에는, 인 이온이 미리 도핑된다.In the case of a P-channel transistor, boron ions are previously doped in the
게이트 전극(404) 위에는, 실리콘 산화막 또는 실리콘 질화막으로 이루어지는 절연막(406)이 형성된다.   게이트 전극(404)의 측면에는, 게이트 전극 측벽 절연막(405)이 형성된다.  게이트 전극 측벽 절연막(405)은, 실리콘 산화막과 실리콘 질화막의 2층막으로 이루어진다.On the
또한, 본 실시 형태에서는, F=O.18㎛ 룰에 근거하여, TG=120nm, TSW=250nm, TSDmax=200nm, XjSD=40nm, LG=180nm, LSW=40nm, LSD=250nm, LA=100nm, LM=200nm, MC=90nm로 설계했다. 이들 변수의 의미는, 도8을 참조해서 상술한 대로이다.In the present embodiment, TG = 120nm, TSW = 250nm, TSDmax = 200nm, XjSD = 40nm, LG = 180nm, LSW = 40nm, LSD = 250nm, LA = 100nm, based on the F = 0.118 m rule. LM = 200nm and MC = 90nm. The meanings of these variables are as described above with reference to FIG.
실시 형태 3과 마찬가지로, 다결정 실리콘막(407)이 화학적 기상 성장법(CVD법)에 의해 퇴적된다(도26(b)).  본 실시 형태에서는, 다결정 실리콘막(407)이 300 내지 400nm정도의 두께로 퇴적되는 것으로 한다.As in the third embodiment, the
그 다음에, 다결정 실리콘막(407)이 에칭 백된다(도26(c)).  에칭 백의 조건은, 실시 형태 3에 있어서 상술한 조건과 같다.  또한, 에칭 백를 행한 것만으로는, 게이트 전극의 주위에 게이트 전극 측벽 절연막(405)을 통해, 다결정 실리콘 막(408)이 형성된다.  다결정 실리콘막(408)을 쌓아 올린 소스·드레인 영역으로서 이용하기 위해서는, 소스·드레인 영역을 분리하는 공정(컷 공정)을 행할 필요가  있다.  본 실시 형태에서는, 게이트 전극 측벽이 기판면에 대해서 수직이 아닌 경우라도, 소스 영역과 드레인 영역의 분리를 확실하게 하기 위해서, 실시 형태 3과 마찬가지로, 사이드 에칭이 약간 작용하는 조건으로 에칭이 행하여진다.Then, the
컷 공정 후, 도34(d)에 도시하는 바와 같이, 소스·드레인 영역을 형성하기 위한 불순물 이온 주입(도핑)이 행하여진다. 본 실시 형태에서는, 실시 형태 3과는 달리, 소스·드레인 영역이 되는 영역에의 도핑만이 행하여지는 것(게이트 전극에의 도핑이 동시에 행하여지지 않는다)에 의해, 소스·드레인 영역이 형성된다. 또한, 주입조건 및 열처리 조건 등은, 실시 형태 3에 있어서 상술한 조건과 같다.After the cut process, as shown in Fig. 34 (d), impurity ion implantation (doping) for forming source and drain regions is performed. In the present embodiment, unlike the third embodiment, only the doping to the region serving as the source / drain region is performed (the doping to the gate electrode is not performed at the same time), thereby forming the source / drain region. In addition, injection conditions, heat processing conditions, etc. are the same as the conditions mentioned above in Embodiment 3.
도핑 후, 도26(e)에 도시하는 바와 같이, 주지의 살리사이드 공정에 의해, 소스·드레인 영역의 상부에 고융점 금속 실리사이드막(고융점 금속막)(409)이 선택적으로 형성된다. 본 실시 형태에서는, 고융점 금속막의 재료로서 티탄이 사용된다. 고융점 금속막의 재료는 티탄으로 한정되지 않고, 코발트, 니켈, 또는 백금 등으로도 좋다.After doping, as shown in Fig. 26E, a high melting point metal silicide film (high melting point metal film) 409 is selectively formed on the source and drain regions by a known salicide process. In this embodiment, titanium is used as a material of a high melting point metal film. The material of the high melting point metal film is not limited to titanium, and may be cobalt, nickel, platinum, or the like.
본 실시 형태에서는, 게이트 전극이 금속 실리사이드막보다 저 저항의 텅스텐 금속으로 형성되어 있고, 게이트 전극 상부에는 실리콘 산화막 또는, 실리콘 질화막이 존재하기 때문에, 소스·드레인 영역만이 실리사이드화 된다.In the present embodiment, since the gate electrode is formed of tungsten metal having a lower resistance than the metal silicide film, and a silicon oxide film or a silicon nitride film is present on the gate electrode, only the source and drain regions are silicided.
소스·드레인 영역의 실리사이드화 후, 도26(f)에 도시하는 바와 같이, 주지의 방법으로 층간 절연막(410)이 형성된다.After silicidation of the source / drain regions, an
층간 절연막(410)이 형성된 후, 도26(g)에 도시하는 바와 같이, 콘택트 구멍(411)이 층간 절연막(410)의 원하는 위치에 뚫리고, 상부 배선(콘택트 배선)  (412)이 층간 절연막(410)상 및/또는 콘택트 구멍(411) 중에 형성된다.  본 실시 형태에서는, 도26(g)에 도시하는 바와 같이, 콘택트 구멍(411)의 일부가, 소스·드레인 영역에 걸려 있으면, 소스·드레인 영역과 콘택트 배선의 접촉 면적을 크게 하는 것이 가능해진다.  이러한 구조에 의해, 비약적으로 소자의 점유 면적을 축소하는 것이 가능해진다.After the
본 실시 형태에서는, 게이트 전극(404)의 상부에 절연막(406)이 존재한다.  이 때문에, 게이트 전극(404)상에 콘택트 구멍(411)의 일부가 걸리더라도, 소스·드레인 영역과 게이트 전극이 콘택트 배선(412)을 통해 단락되지 않는다.  따라서, 본 실시 형태에서는, 콘택트 구멍(411)과, 게이트 전극간에 쇼트를 막기 위한 마진(및 얼라이먼트 마진)을 설치할 필요가 없어지고, 실시 형태 3에 비해서 콘택트 구멍(411)을 형성하는 위치의 자유도가 늘어난다.In this embodiment, the insulating
구체적으로는, 층간 절연막(410)과, 게이트 전극(404)의 상부의 절연막(406)에는 다른 재료를 이용할 수 있다.  콘택트 구멍(411)을 개구하기 위한 에칭시에는, 층간 절연막(410)의 재료와 게이트 전극의 상부의 절연막(406)의 재료 사이에서 선택비를 확보할 수 있는 에칭방법을 이용하여, 층간 절연막이 에칭된다.  예를 들면, 게이트 전극(404)의 상부의 절연막(406)이 실리콘 질화막이며, 층간 절연막(410)이 보론과 인을 함유하는 실리게이트 유리 등인 경우, 플로로카아본계의 가스를 이용한 콘택트 에칭이 행하여진다.  이것에 의해, 실리콘 질화막과, 보론과 인을 함유하는 실리게이트 유리막 사이의 에칭 선택비를 1:10 내지 100이상으로 하는 것이 가능해진다.  그러한 조건으로 콘택트 구멍(411)을 개구하기 위한 에 칭을 행함으로써, 절연막(406)이 에칭되어서 게이트 전극(404)이 노출되는 것을 막을 수 있다.Specifically, different materials can be used for the
마찬가지로, 소자 분리 영역의 재질과 층간 절연막의 재질이, 콘택트 에칭시에 선택비가 확보되도록 선택되어도 좋다. 실시 형태 3 및 본 실시 형태에서는, 소자 분리 영역에 콘택트 구멍의 일부가 접하고 있다. 만약, 층간 절연막을 구성하는 절연막 재료와, 소자 분리 영역을 구성하는 절연막 재료 사이의 에칭 선택비가 확보되지 않으면(즉, 콘택트 에칭에 대한 에칭 레이트에 차이가 없으면), 콘택트 에칭시에 소자 분리 영역에 구멍이 뚫리고, 바람직하지 않다. 이 문제를 해결하기 위해서는, 소자 분리 영역을 구성하는 절연막의 적어도 표면이, 예를 들면, 질화 실리콘막 등의, 층간 절연막에 대해서 에칭 선택비를 확보할 수 있는 재료로 구성되면 좋다.Similarly, the material of the element isolation region and the material of the interlayer insulating film may be selected so that selectivity is ensured at the time of contact etching. In Embodiment 3 and this embodiment, a part of contact hole is in contact with the element isolation region. If the etching selectivity between the insulating film material constituting the interlayer insulating film and the insulating film material constituting the element isolation region is not secured (i.e., there is no difference in the etching rate for contact etching), the element isolation region at the time of contact etching is applied. Perforations are unfavorable. In order to solve this problem, at least the surface of the insulating film constituting the element isolation region may be made of a material capable of securing the etching selectivity with respect to the interlayer insulating film such as, for example, a silicon nitride film.
실시 형태 3 및 본 실시 형태에 있어서의 다결정 실리콘막으로 이루어지는 쌓아 올림층의 그레인 사이즈는, 소스·드레인 영역의 점유 면적과 비교해서, 충분히 작은 것이 바람직하다. 실시 형태 3 및 본 실시 형태에 있어서 상술한 바와 같이, 프로세스 마진(소스·드레인 영역을 형성하기 위한, 불순물 이온 주입조건 및 열처리 조건 등의 마진)을 크게 하고, 트랜지스터 소자 특성이 불규칙해지지 않도록 하기 위해서는, 다결정 실리콘막으로 이루어지는 쌓아 올림층의 확산 계수는, 실리콘 기판의 확산 계수와 비교해서 큰 쪽이 좋다. 바람직하게는, 다결정 실리콘막으로 이루어지는 쌓아 올림층의 확산 계수는, 실리콘 단결정중의 확산 계수의 10배이상이면 좋다.It is preferable that the grain size of the stacked layer which consists of the polycrystalline silicon film in Embodiment 3 and this embodiment is small enough compared with the occupation area of a source-drain area | region. In order to enlarge process margin (margin, such as impurity ion implantation conditions and heat processing conditions for forming a source-drain region) as mentioned above in Embodiment 3 and this embodiment, and to prevent a transistor element characteristic from becoming irregular The diffusion coefficient of the stacked layer made of the polycrystalline silicon film may be larger than the diffusion coefficient of the silicon substrate. Preferably, the diffusion coefficient of the stacked layer made of the polycrystalline silicon film may be 10 times or more of the diffusion coefficient in the silicon single crystal.
다결정 실리콘막중의 불순물의 확산을 생각한 경우, 막중에 그레인 바운더리(알맹이 경계)가 많을수록, 확산이 촉진된다. 이 때문에, 소스·드레인 영역의 점유 면적에 대해서, 충분히 그레인 사이즈를 작게 할 필요가 있다. F=0.24㎛ 룰이라고 하는 비교적 F가 큰 룰에 근거한 경우, 상술한 게이트-소자 분리 마진은, O.16㎛ 내지 0.18㎛정도가 된다. 다결정 실리콘막의 그레인 사이즈는, 적어도, 게이트 전극 측벽 절연막의 단부에서, 가장 가까운 소자 분리 영역까지의 활성 영역의 트랜지스터의 게이트 길이 방향에 따른 거리(즉, 도8에 있어서의 LA)보다도 작은 쪽이 좋고, 바람직하게는, 50nm이하이면 좋다. 다결정 실리콘막중의 불순물의 확산은, 그레인 바운더리에서 빠르고, 그레인내에서는 느려진다. 활성 영역과 게이트 산화막이 접하는 제1의 면보다 아래의 소스 영역 및 드레인 영역을 다결정 실리콘막으로부터의 불순물 확산에 의해 형성하는 경우, 다결정 실리콘막과 활성 영역(실리콘 기판표면)이 접촉하는 면에 다결정 실리콘의 그레인 바운더리가 다수 존재하는 것이 바람직하다. 다결정 실리콘막으로부터, 실리콘 기판에의 불순물의 확산이 보다 균일해지고, 편차가 적은 접합 깊이를 얻을 수 있기 때문이다. 이것에 의해, 복수의 트랜지스터의 단 채널 효과의 편차를 저감할 수 있다.When the diffusion of impurities in the polycrystalline silicon film is considered, the more grain boundaries (grain boundaries) in the film, the more the diffusion is promoted. For this reason, it is necessary to make grain size small enough about the occupation area of a source-drain area | region. Based on a relatively large rule of F = 0.24 µm, the gate-element isolation margin described above is about 0.16 µm to 0.18 µm. The grain size of the polycrystalline silicon film may be smaller than at least the distance along the gate length direction of the transistor of the active region from the end of the gate electrode sidewall insulating film to the nearest element isolation region (that is, LA in FIG. 8). Preferably, 50 nm or less may be sufficient. Diffusion of impurities in the polycrystalline silicon film is faster in grain boundaries and slower in grains. In the case where the source region and the drain region below the first surface where the active region is in contact with the gate oxide film are formed by impurity diffusion from the polycrystalline silicon film, the polycrystalline silicon is in contact with the surface where the polycrystalline silicon film and the active region (silicon substrate surface) contact each other. It is preferable that a large number of grain boundaries exist. This is because the diffusion of impurities from the polycrystalline silicon film to the silicon substrate becomes more uniform and a junction depth with less variation can be obtained. As a result, variations in short channel effects of the plurality of transistors can be reduced.
그레인 사이즈를 작게 하는 것으로 알맹이 경계로부터 매트릭스(알맹이 내부)에의 확산 거리도 작아지기 때문에, 매트릭스중의 불순물 농도도 유효하게 향상시킬 수 있다. 이것에 의해, 다결정 실리콘막중의 불순물의 활성화율을 향상시키는 것이 가능해지고, 트랜지스터의 기생 저항을 저감시켜, 구동전류를 증대시킬 수 있다.By reducing the grain size, the diffusion distance from the grain boundary to the matrix (inside the grain) is also reduced, so that the impurity concentration in the matrix can also be effectively improved. As a result, the activation rate of impurities in the polycrystalline silicon film can be improved, the parasitic resistance of the transistor can be reduced, and the driving current can be increased.
또, 그레인 사이즈를 작게 하면, 에칭 백시에 다결정 실리콘의 사이드 월 폭의 편차를 억제할 수 있다. 이러한 편차는 다결정 실리콘의 그레인에 기인하기 때문이다.Moreover, when grain size is made small, the deviation of the sidewall width of polycrystal silicon at the time of an etching back can be suppressed. This variation is due to the grain of polycrystalline silicon.
또한, 그레인이 주상 결정이면, 더욱 좋다. 그레인이 주상 결정인 경우, 실리콘 기판의 하방향으로의 확산이 상당히 빨라지기 때문이다.Moreover, if grains are columnar crystals, it is still more preferable. This is because the diffusion in the downward direction of the silicon substrate becomes considerably faster when the grain is columnar crystals.
상술한 실시 형태 3 및 본 실시 형태에서는, 쌓아 올린 소스·드레인 영역을 형성하는 재료로서, 다결정 실리콘막이 이용된다. 다결정 실리콘막은, 반도체 장치의 제조에 있어서 자주 사용되고 있는 막이다. 이 때문에, 쌓아 올린 소스·드레인 영역을 형성하는 재료로서, 다결정 실리콘막을 이용한 경우, 새로운 장치의 도입이나 조건의 조정을 행할 필요가 적다. 또한, 선택 에피택셜 성장장치와 같이 막대한 수소를 이용할 필요도 없고, 제조하기 위한 장치의 점유 면적도, 선택에피택셜 성장장치(수소 제외 설비의 점유 면적이 상당히 크다)와 비교해서, 상당히 작게 끝난다.In Embodiment 3 mentioned above and this Embodiment, a polycrystalline silicon film is used as a material which forms the stacked source and drain region. The polycrystalline silicon film is a film frequently used in the manufacture of semiconductor devices. For this reason, when a polycrystalline silicon film is used as a material for forming the stacked source / drain regions, it is less necessary to introduce a new device or to adjust conditions. In addition, it is not necessary to use enormous hydrogen as in the selective epitaxial growth apparatus, and the occupied area of the apparatus for manufacturing is considerably smaller compared to the selective epitaxial growth apparatus (the occupied area of the hydrogen excluding plant is quite large).
쌓아 올린 소스·드레인 영역을 형성하는 재료로서, 실리콘 겔마막(다결정)이 이용되어도 좋다. 또는, 쌓아 올린 소스·드레인 영역을 형성하는 재료로서, 실리콘, 실리콘 겔마(SixGey)막의 아모르포스 단층막, 아모르포스와 다결정의 2층 막 등을 이용해도 좋다. 실리콘 겔마막이 이용되는 경우, 실리콘이 이용되는 경우와 비교해서, 불순물의 활성화율이 향상한다. 이 때문에, 트랜지스터의 기생 저항을 상당히 작게 할 수 있다.As a material for forming the stacked source / drain regions, a silicon gel finish (polycrystal) may be used. Alternatively, as the material for forming the stacked source / drain regions, an amorphous monolayer film of silicon, a silicon gela (Six Gey ) film, a two-layer film of amorphous and polycrystalline, or the like may be used. When the silicone gel finish is used, the activation rate of the impurities is improved as compared with the case where the silicon is used. For this reason, the parasitic resistance of a transistor can be made quite small.
다결정 실리콘 겔마막의 그레인 사이즈도, 상술한 다결정 실리콘막의 그레인 사이즈와 동일한 조건을 충족시키는 것이 바람직하다. 다결정 실리콘 겔마막의 그레인은, 상술한 다결정 실리콘막의 그레인과 동일한 작용을 가지기 때문이다.It is preferable that the grain size of the polycrystalline silicon gel film also satisfy the same conditions as the grain size of the polycrystalline silicon film described above. This is because the grains of the polycrystalline silicon gel finish have the same effect as the grains of the polycrystalline silicon film described above.
(실시 형태 6)(Embodiment 6)
실시 형태 6에서는, 반도체 장치의 기판으로서, SOI(Silicon On Insurator)기판이 이용된다.In Embodiment 6, a silicon on insurator (SOI) substrate is used as the substrate of the semiconductor device.
도27은, 실시 형태 6에 있어서의 반도체 장치(1411)의 게이트 길이 방향에 따른 면에서의 수직 단면도이다.27 is a vertical sectional view taken along a gate length direction of the
반도체 장치(1411)는, SOI기판(501), SOI기판(501) 상에 형성된 산화막(502), 활성 영역(503), 보디 영역(504), 소자 분리 영역(505), 게이트 산화막(506), 게이트 전극(507), 게이트 전극 측벽 절연막(508), 소스·드레인 영역(509), 고융점 금속 실리사이드막(510), 층간 절연막(511), 및 콘택트 구멍(512)을 구비하고 있다.The
소스·드레인 영역(509)의 표면(콘택트 배선에 접속되는 면 및/또는 층간 절연막(511)과 접하고 있는 면)은, 실시 형태 1 내지 4의 반도체 장치와 마찬가지로 경사를 가진다.  또, 반도체 장치(1411)에서는, 채널 영역에서도 상방에 쌓아 올린 실리콘막(다결정 실리콘막)이, SOI기판(501)상에 존재하기 때문에, 살리사이드 공정에 있어서, 이 채널 영역보다도 상방에 쌓아 올린 실리콘막의 표면이 고융점 금속과 반응해서 실리사이드막이 형성된다.  이 때문에, SOI기판(501)중의 산화막(502)까지 실리사이드막이 도달하지 않는다.The surface of the source / drain region 509 (the surface connected to the contact wiring and / or the surface in contact with the interlayer insulating film 511) has an inclination similarly to the semiconductor devices of the first to fourth embodiments. In the
한편, 종래의 SOI기판을 이용한 반도체 장치에서는, 보디 영역을 완전 공핍화하기 때문에, 산화막상의 실리콘막은 상당히 얇아진다. 이 경우, 실리콘막의 박막화에 따라, 소스·드레인 영역이 고저항화한다고 하는 문제가 발생한다. 이 문제를 해결하기 위해서는, 소스·드레인 영역 표면을 실리사이드화하고, 고융점 금속 실리사이드막을 형성하는 방법을 생각할 수 있다. 그렇지만, 실리콘막 두께가 얇기 때문에, 실리사이드화 반응시에 실리사이드막이 실리콘막의 하층의 실리콘 산화막까지 도달해 버려, 트랜지스터 특성이 악화할 우려가 있다.On the other hand, in a semiconductor device using a conventional SOI substrate, since the body region is completely depleted, the silicon film on the oxide film becomes considerably thinner. In this case, as the silicon film is thinned, a problem arises in that the source and drain regions become high in resistance. In order to solve this problem, a method of silicideing the surface of the source / drain region and forming a high melting point metal silicide film can be considered. However, since the silicon film thickness is thin, the silicide film reaches the silicon oxide film under the silicon film at the time of the silicide reaction, and the transistor characteristics may deteriorate.
본 실시 형태에서는, 상술한 바와 같이, SOI기판(501)중의 산화막(502)까지 실리사이드막이 도달하지 않기 때문에, 실리사이드화에 의해 트랜지스터 특성이 악화되지 않는다.In the present embodiment, as described above, since the silicide film does not reach the
(실시 형태 7)(Embodiment 7)
상술한 실시 형태 1 내지 실시 형태 6에서는, 인접하는 게이트 전극의 간격과, 사이드 월의 폭(d)의 관계에 대해서는, 특별히 언급하지 않았다.  실시 형태 7에서는, 인접하는 게이트 전극의 간격이, 사이드 월의 폭(d)의 2배보다 짧게 설정된다.In
이하, 도28 내지 도31을 참조해서 실시 형태 7을 설명한다.The seventh embodiment will be described below with reference to FIGS. 28 to 31.
도28은, 인접하는 게이트 전극의 간격이, 사이드 월 폭(d)의 2배보다 짧게 설정된 반도체 장치(1421)를 도시한다.  도28은, 반도체 장치(1421)를 게이트 전극의 게이트 길이 방향으로 절단한 수직 단면도이다.28 shows a
반도체 장치(1421)는, 이하와 같이 해서 제조된다.The
반도체 기판(또는 반도체 기판에 설치된 웰 영역)에 소자 분리 영역(1423)이 형성된다.  소자 분리영역(1423)은, 실리콘 에칭에 대해서 내성이 있는 재료로 이루어진다.  다음에, 게이트 산화막(1422), 게이트 전극(606) 및 (607), 게이트 전극 측벽 절연막(608)이 형성된다.  인접하는 게이트 전극(606)과 게이트 전극(607)의 간격(t)은, 사이드 월 폭(d)의 2배보다 짧다.  다시 말해, 관계 2×d>t가 충족된다.  이것에 의해, 트랜지스터의 점유 면적이 축소된다.An
여기에서, 사이드 월이란 게이트 전극 측벽 절연막(608)과 뒤에 형성되는 소스·드레인 영역(609)으로 이루어지는 부분이다.  사이드 월은, 예를 들면, 다결정 실리콘막으로 이루어진다.  또, 게이트 산화막(1422)과, 게이트 전극(606)과, 게이트 측벽 절연막(608)은 이 순번으로 형성된다.  또한, 게이트 전극 길이 방향에 수직인 방향(게이트 길이 방향)에 따른 게이트 전극에서 소자 분리 영역까지의 거리를 a라고 한다.Here, the sidewalls are portions formed of the gate electrode
다음에, 다결정 실리콘막이 화학적 기상 성장법(CVD법)에 의해 퇴적된다. 다결정 실리콘막은, 거리(a)보다 두꺼워지도록 퇴적된다.Next, a polycrystalline silicon film is deposited by a chemical vapor deposition method (CVD method). The polycrystalline silicon film is deposited to be thicker than the distance a.
다결정 실리콘막의 퇴적 후, 게이트 전극(606)의 상부의 다결정 실리콘막이 없어질 때까지 이방성 에칭이 행하여진다.  그 결과, 다결정 실리콘막이 게이트 전극 측벽 절연막(608)의 사이드에 사이드 월형으로 남는다.  단, 게이트 전극(606)과 그것에 인접하는 게이트 전극(607)의 사이에는, 도28에 도시하는 바와 같이, 소스·드레인 영역과 소스·드레인 영역이 겹친 영역(610)이 형성된다.After deposition of the polycrystalline silicon film, anisotropic etching is performed until the polycrystalline silicon film on the
도29는, 도28에 도시하는 반도체 장치(1421)의 등가 회로를 도시한다.  도29 에 도시하는 바와 같이, 반도체 장치(1421)는, 트랜지스터를 직렬로 접속한 등가 회로에 의해 나타내어진다.29 shows an equivalent circuit of the
관계 2×d>t가 충족되는 조건 하에서(즉, 점유 면적을 축소한다고 하는 조건 하에서), 개개의 트랜지스터를 독립시키기 위해서는(즉, 인접하는 트랜지스터의 소스·드레인 영역을 분리시키기 위해서는), 예를 들면, 도30에 도시하는 구조를 이용할 수 있다.Under conditions where the relationship 2xd> t is satisfied (that is, under the condition of reducing the occupied area), in order to make the individual transistors independent (i.e., to isolate the source / drain regions of adjacent transistors), For example, the structure shown in FIG. 30 can be used.
도30은, 실시 형태 7의 반도체 장치(1421)의 인접하는 게이트 전극(606, 607)사이의 소스·드레인 영역을 분리한 상태를 도시한다.30 shows a state in which source and drain regions between
인접하는 트랜지스터간의 소스·드레인 영역(610)(도29)은, 영역(1441)에 메워 넣어진 다결정 실리콘막을 에칭 제거함으로써, 영역(610a)과 영역(610b)로 분리된다.  또한, 소스·드레인 영역(610)을 분리하기 위한 에칭을 도11 내지 도14를 참조하여 상술한 컷 공정에 있어서의 에칭과 함께 행해도 좋다.  그 경우, 본 실시 형태에서 필요한 에칭 횟수가, 실시 형태 3에 비해서 늘어나지 않는다.  또, 소스·드레인 영역(610)을 분리하기 위해서, 더미의 게이트 전극이 설치되어도 좋다.The source / drain regions 610 (FIG. 29) between adjacent transistors are separated into
도31은, 게이트 전극(606, 607)간에, 더미의 게이트 전극(1451)을 설치한 예를 도시한다.Fig. 31 shows an example in which
반도체 장치(1421)를 제조하는 다른 공정은, 실시 형태 3에 있어서 설명한 공정과 동일하기 때문에, 그 설명을 생략한다.Since the other process of manufacturing the
또한, 상술한 실시 형태 1 내지 5 및 7에서는, 반도체 장치의 기판이 벌크 실리콘 기판인 것을 전제로 하고 있다.  단, 본 발명의 반도체 장치의 기판은 벌크  시리콘 기판으로 한정되지 않는다.  반도체 장치의 기판으로서, 예를 들면, SiC기판이나, 사파이어 기판 등을 이용하더라도, 본 발명을 실시하는 것은 가능하다.In addition, in
(실시 형태 8)(Embodiment 8)
이하, 본 발명의 실시 형태 8을 도32(a), (b), (c) 내지 도36(a), (b), (c)를 참조하면서 설명한다. 도32(a), (b), (c) 내지 도35(a), (b), (c)는 N형의 트랜지스터를 가지는 반도체 장치를 도시하지만, 본 실시 형태의 반도체 장치는 P형의 트랜지스터를 가지고 있어도 좋고, N형 트랜지스터와 P형의 트랜지스터가 혼재하고 있어도 좋다. 또한, 후술하는 제조 방법에서는, N형 트랜지스터와 P형의 트랜지스터가 혼재되어 있는 예를 설명한다.Embodiment 8 of the present invention will be described below with reference to Figs. 32 (a), (b), (c) to 36 (a), (b) and (c). 32 (a), (b), (c) to 35 (a), (b) and (c) show a semiconductor device having an N-type transistor, the semiconductor device of this embodiment is a P-type. You may have a transistor and N type transistor and P type transistor may be mixed. In the manufacturing method described later, an example in which an N-type transistor and a P-type transistor are mixed will be described.
도32(a) 내지 (c)는, 실시 형태 8의 반도체 장치(1511)를 도시한다.32A to 32C show the
도32(a)는 반도체 장치(1511)의 평면도이며, 도32(b)는, 도32(a)의 절단면선(A-A')에서 본 단면도이며, 도32(c)는 도32(a)의 절단면선(B, B')에서 본 단면도이다.  도32(a) 내지 (c)에서는, 간단히 하기 위해서, 실리사이드화된 영역, 층간 절연막 및 상부 메탈 배선(콘택트 배선)은 도시하지 않고 있다.  또한, 본 실시 형태에서는 벌크형의 반도체 기판을 이용하고 있지만, 예를 들면, SOI(Si1icon on Insulator)등의 기판을 이용해도 좋다.FIG. 32A is a plan view of the
도32(c)에 도시하는 바와 같이, 반도체 기판(11)내에는, P형의 웰 영역(12)이 형성되어 있다.  P형의 웰 영역(12)상에는 게이트 절연막(16)을 통해 게이트 전극(17)이 형성되어 있다.   게이트 전극(17)의 측벽에는 실리콘 질화막의 사이드 월(18)이 형성되고, 또한 그 측벽에는, 다결정 실리콘의 사이드 월(20)이 형성되어  있다.  이 다결정 실리콘의 사이드 월(20)은 에칭에 의해 분리되어 있고, 분리된 부분은 각각 소스 영역 또는 드레인 영역을 구성하고 있다.  보다 정확하게는, 분리된 다결정 실리콘의 사이드 월(20)에는 N형 불순물이 주입되고, 주입된 N형 불순물은 열 확산에 의해 웰 영역으로 스며나와 있다.   이 N형 불순물이 스며나온 영역과, 다결정 실리콘의 사이드 월(20)이 소스 영역 또는 드레인 영역을 구성하고 있다.  또한, 게이트 전극(17)은, 다결정 실리콘의 사이드 월(20)을 분단할 때의 에칭 공정에 의해, 복수의 영역으로 분단되어 있다.  상기 P형의 웰 영역(12)과, 게이트 전극(17)과, 분리된 다결정 실리콘의 사이드 월(20)(소스 영역 및 드레인 영역)에 의해 N형의 전계 효과 트랜지스터가 구성되어 있다.  인접하는 N형의 전계 효과 트랜지스터의 사이는, 소자 분리 영역(15)에 의해 분리되어 있다.  실리콘 질화막(19)은, 각종의 에칭으로부터 실리콘 기판 및 소자 분리 영역(15)을 보호하기 위해 설치된다.  또한, P형의 전계 효과 트랜지스터를 구성하는 경우는 불순물을 반대의 도전형으로 하면 된다.As shown in Fig. 32 (c), a P-
다음에, 반도체 장치(1511)의 제조공정을, 도33(a), (b), (c) 내지 도36(a), (b), (c)를 이용해서 설명한다.Next, a manufacturing process of the
도33(a), 도34(a) 및 도35(a)는, 이 순서로, 반도체 장치(1511)의 제조공정을 도시하는 평면도이다.  도33(b), 도34(b) 및 도35(b)는, 각각 도33(a), 도34(a) 및 도35(a)의 절단면선(A, A')에서 본 단면도이다.  도33(c), 도34(c) 및 도35(c)는, 각각 도33(a), 도34(a) 및 도35(a)의 절단면선(B-B')에서 본 단면도이다.33 (a), 34 (a) and 35 (a) are plan views showing the manufacturing process of the
도33(c)에 도시하는 바와 같이, 반도체 기판(11)상에, 소자 분리 영역(15)을  형성한다.  소자 분리 영역(15)은, 예를 들면, STI법을 이용해서 형성할 수 있다.  그러나, 소자 분리 영역(15)의 형성방법은 STI법으로 한정되지 않는다.  소자 분리 영역(15)에 메워 넣어지는 물질은, 실리콘 산화막, 실리콘 질화막 외에, 예를 들면, 다결정 실리콘이나 아모르포스 실리콘 등의 도전성 물질이라도 좋다.  단, 다결정 실리콘이나 아모르포스 실리콘 등의 도전성 물질을 메워넣는 경우는, 소자 분리 영역(15)의 측벽을 미리 산화시켜 두는 등 하여, 소자 분리 영역의 절연성을 확보해 둘 필요가 있다.As shown in Fig. 33 (c), the
다음에, 반도체 기판(11)에, 웰 영역(12)이 형성된다.  반도체 기판(11)의 NMOS부에는 P형의 웰 영역(12)이 형성되고, PMOS부에는 N형의 웰 영역(12)이 형성된다.Next, the
그 다음에, 게이트 절연막(16)이 형성된다.  게이트 절연막(16)으로서는, 절연성을 가지는 한 그 재질은 특별히 한정되지 않는다.  반도체 기판(11)이 실리콘 기판인 경우, 게이트 절연막(16)으로서 실리콘 산화막, 실리콘 질화막 또는 그것들의 적층체를 사용할 수 있다.  또, 게이트 절연막(16)으로서 산화 알루미늄막, 산화 티타늄막, 산화 탄탈막 등의 고유전막 또는 그것들의 적층체를 사용해도 좋다.  게이트 절연막(16)으로서 실리콘 산화막을 이용한 경우, 게이트 절연막(16)은 1 내지 10㎚의 두께를 가지는 것이 바람직하다.  게이트 절연막(16)은, CVD법, 스퍼터법, 열산화법 등의 방법으로 형성할 수 있다.Then, the
다음에, 게이트 전극이 되는 다결정 실리콘막(34)을 형성한다.  다결정 실리콘막(34)은, 도전성을 가지는 한 다른 도전성 막으로 치환해도 좋다.  여기에서,  반도체 기판(11)으로서 실리콘 기판을 사용한 경우는, 단결정 실리콘, 알루미늄, 구리 등을 다결정 실리콘막(34)에 대신해서 사용할 수 있다.  도전성 막은, 0.1 내지 0.4㎛의 두께를 가지는 것이 바람직하다.  도전성 막은, CVD법, 증착법 등의 방법으로 형성할 수 있다.Next, a
그 다음에, 다결정 실리콘막(34)상에, 절연막(31)을 형성한다.  절연막(31)은, 실리콘 산화막이 바람직하다.  절연막(31)은, 0.05 내지 0.25㎛의 두께를 가지는 것이 바람직하다.  절연막(31)은, CVD법, 스퍼터법, 열산화법 등의 방법으로 형성할 수 있다.Next, an insulating
다음에, 다결정 실리콘막(34) 및 절연막(31)을 패터닝한다(도33(a) 내지 (c)).  이 패터닝은, 패터닝된 포토레지스트를 마스크로 하고, 절연막(31) 및 다결정 실리콘막(34)을 에칭함으로써 행하여진다.  또, 포토레지스트를 마스크로서 절연막(31)만 에칭하고, 포토레지스트를 제거한 후에 절연막(34)을 마스크로서 다결정 실리콘막(34)을 에칭해도 좋다.Next, the
그 다음에, 실리콘 질화막의 사이드 월(18)과 실리콘 질화막(19)을 형성한다 (도34(a) 내지 (c)).  이 실리콘 질화막의 사이드 월(18)과 실리콘 질화막(19)은, 도36(a) 내지 (c)에 도시하는 순서에 의해 동시에 형성할 수 있다.Next, sidewalls 18 and
도36(a) 내지 (c)는, 실리콘 질화막의 사이드 월(18)과 실리콘 질화막(19)을 형성하는 공정을 도시한다.  다결정 실리콘막(34) 및 절연막(31)을 패터닝한 후(도36(a)), 실리콘 질화막(40)을 퇴적하고, 일부를 포토레지스트(41)로 마스크 한다(도36(b)).  실리콘 질화막(40)은, 예를 들면 O.02㎛ 내지 0.1㎛의 두께를 가 지는 것이 바람직하다.  그 후, 에칭 백함으로써, 다결정 실리콘막(34) 및 절연막(31)의 측벽에 실리콘 질화막의 사이드 월(18)이 형성되고, 포토레지스트로 마스크되어 있던 부분에 실리콘 질화막(19)이 남는다(도36(c)).  실리콘 질화막(19)의 기능은, 다양한 에칭 공정으로부터 실리콘 기판 및 소자 분리 영역 (15)을 보호하는 것이다.  특히, 다결정 실리콘의 사이드 월(20)을 형성할 때의 에칭 백 공정과, 절연막(31)을 제거하기 위한 에칭 공정과, 소스 영역 또는 드레인 영역에 콘택트 구멍을 형성할 때의 에칭 공정에 있어서 실리콘 질화막(19)은 중요한 역할을 완수한다.36A to 36C show a step of forming the
실리콘 질화막의 사이드 월(18)과 실리콘 질화막(19)을 형성한 후, 다결정 실리콘의 사이드 월(20)을 형성한다.  다결정 실리콘의 사이드 월(20)을 형성하기 위해서는, 다결정 실리콘을 전면에 퇴적한 후에 에칭 백을 행하면 된다.  이 때, 다결정 실리콘 이외에도 아모르포스 실리콘 등의 반도체나 도전성 물질을 이용할 수 있지만, 다결정 실리콘이 가장 바람직하다.  그 이유는, 다결정 실리콘의 불순물 확산속도가 웰 영역중에 비해서 상당히 크기 때문에, 소스 영역 및 드레인 영역과 웰 영역의 접합을 얕게 하는 것이 용이하고, 단 채널 효과가 억제되기 때문이다.  이 에칭 백시에는 실리콘 질화막(19)이 스토퍼가 되어, 실리콘 기판이 패이는 것을 막고 있다.After the
다음에, 절연막(31)을 에칭에 의해 제거한다(도35(a) 내지 도35(c)).  이 에칭은 등방성 에칭으로 행할 수 있다.  이 에칭시에, 소자 분리 영역(15)이 표면에 노출되어 있으면, 소자 분리 영역(15)도 에칭되어 버린다.  따라서, 소자 분리 영 역(15)은, 실리콘 질화막(19) 또는 다결정 실리콘의 사이드 월(20)에 의해 완전히 덮혀 있는 것이 바람직하다.Next, the insulating
그 다음에, 포토레지스트를 마스크로서, 다결정 실리콘막(34) 및 다결정 실리콘의 사이드 월(20)의 일부를 에칭으로 제거한다.  이 에칭에 의해 실리콘 질화막의 사이드 월(18)로 둘러싸인 다결정 실리콘막(34)은 복수의 영역으로 분리되어, 각각이 게이트 전극(17)이 된다.  또, 다결정 실리콘의 사이드 월(20)도 복수의 영역으로 분리되고, 불순물 주입 및 불순물 확산후에는, 각각이 소스 영역 또는 드레인 영역을 구성한다.Then, using the photoresist as a mask, the
이와 같이, 복수의 전계 효과 트랜지스터의 복수의 게이트 전극은, 다결정 실리콘막(34)(제1의 비절연성 막)을 복수의 영역으로 분리하는 공정을 포함하는 처리에 의해 형성되어 있고, 복수의 전계 효과 트랜지스터의 복수의 도전성 막(소스 영역 및 드레인 영역이 되는 영역)은, 제2의 비절연성 막(사이드 월(20))을 복수의 영역으로 분리하는 공정을 포함하는 처리에 의해 형성되어 있다.As described above, the plurality of gate electrodes of the plurality of field effect transistors are formed by a process including a process of separating the polycrystalline silicon film 34 (first non-insulating film) into a plurality of regions, and the plurality of electric fields. The plurality of conductive films (regions serving as source and drain regions) of the effect transistor are formed by a process including a step of separating the second non-insulating film (side wall 20) into a plurality of regions.
그 다음에, 게이트 전극 및 다결정 실리콘의 사이드 월(20)에 불순물 이온 주입을 하고, 불순물 활성화를 위한 어닐을 행한다.  이것에 의해 소스 영역 및 드레인 영역이 형성된다.   소스 영역 및 드레인 영역의 이온 주입은, 예를 들면, 불순물 이온으로서75As+를 사용한 경우, 주입 에너지로서 10 내지 180KeV, 주입량으로서 1×1015 내지 2×1016cm-2의 조건, 불순물 이온으로서31P+를 사용한 경우, 주입 에너지로서 5 내지 100KeV, 주입량으로서 1×1015 내지 2×1016cm-2의 조건, 불순물 이 온으로서11B+이온을 사용한 경우, 주입 에너지로서 5 내지 40KeV, 주입량으로서 1×1015 내지 2×1016cm-2의 조건으로 행할 수 있다.Next, impurity ions are implanted into the gate electrode and the
이 후, 공지의 수법에 의해, 실리사이드화, 배선 등의 형성을 하여 반도체 장치(1511)를 형성할 수 있다.Thereafter, silicide formation, wiring, or the like can be formed by a known method to form the
본 실시 형태에서는, 분단된 게이트 전극간에는, 측벽 절연막 및 측벽 절연막의 주위에 있는 도전성 막(사이드 월)이 없다. 이 때문에, 게이트 전극간의 거리(D)는, F(에칭의 최소 가공폭)로 족하다. 예를 들면, 0.25㎛ 룰의 미세가공기술을 이용했을 때, D 및 F도, 0.25㎛정도로 족하다. 따라서, 소자면적이 축소되어, 반도체 장치의 고집적화가 가능해진다.In this embodiment, there is no conductive film (sidewall) around the sidewall insulating film and the sidewall insulating film between the divided gate electrodes. For this reason, the distance D between gate electrodes is sufficient to F (minimum processing width of etching). For example, when the fine processing technique of 0.25 micrometer rule is used, D and F also satisfy about 0.25 micrometer. Therefore, the device area is reduced, and high integration of the semiconductor device becomes possible.
상술한 반도체 장치의 제조 방법에 따르면, 게이트 전극의 분리와, 다결정 실리콘의 사이드 월의 분리를 동시에 행할 수 있다. 따라서, 공정을 증가시키지 않고서 게이트 전극을 에칭에 의해 분리할 수 있다. 공정의 증가없이 고집적화를 할 수 있으므로, 제조 비용을 감소시키는 것이 가능해진다.According to the semiconductor device manufacturing method described above, separation of the gate electrode and separation of the sidewall of the polycrystalline silicon can be performed simultaneously. Thus, the gate electrode can be separated by etching without increasing the process. Since high integration can be performed without increasing the process, it is possible to reduce the manufacturing cost.
또한, 반도체 장치(1511)가 웰 영역의 전위를 고정시키기 위한 단자를 구비하고 있어도 좋다.In addition, the
(실시 형태 9)(Embodiment 9)
본 발명의 실시 형태 9에 대해서 도37을 참조해서 설명한다.A ninth embodiment of the present invention will be described with reference to FIG.
도37은, 실시 형태 9의 반도체 장치(1641)의 단면을 도시한다.37 shows a cross section of the
반도체 장치(1641)가, 실시 형태 1의 반도체 장치(1511)와 다른 것은, 반도 체 장치(1641)이 웰 영역의 전위를 변화시키기 위한 단자(51) 및 (52)를 구비하고 있는 점이다.  P형의 웰 영역(12)상에, N형의 전계 효과 트랜지스터(1)와, P형태의 웰 영역(12)의 전위를 입력하는 단자(51)가 형성되어 있고, 이것들이 N형 소자에 의한 회로 블록을 형성하고 있다.  마찬가지로, N형의 웰 영역(13)상에, P형의 전계 효과 트랜지스터(2)와, N형의 웰 영역(13)의 전위를 입력하는 단자(52)가 형성되어 있고, 이것들이 P형 소자에 의한 회로 블록을 형성하고 있다.The
N형 소자에 의한 회로 블록이 액티브 상태에 있을 때(회로 동작시)에는, P형의 웰 영역(12)의 전위를 입력하는 단자(51)에 0V 또는 플러스의 전위를 준다.  한편, N형 소자에 의한 회로 블록이 스탠드 바이 상태에 있을 때(회로 정지시)에는, P형의 웰 영역(12)의 전위를 입력하는 단자(51)에 마이너스의 전위를 준다.  이것에 의해, 회로가 스탠드 바이 상태에 있을 때에는 트랜지스터의 실효적인 임계치가 상승하고, 오프 전류를 저감할 수 있다.  또한, 회로가 액티브 상태일 때에 P형의 웰 영역(12)의 전위를 플러스로 함으로써, 트랜지스터의 실효적인 임계치가 감소하고, 드라이브 전류가 증가한다.When the circuit block by the N-type element is in an active state (in a circuit operation), a potential of 0 V or a positive voltage is applied to the terminal 51 for inputting the potential of the P-
P형 소자에 의한 회로 블록이 액티브 상태에 있을 때(회로 동작시)에는, N형의 웰 영역(13)의 전위를 입력하는 단자(52)에 전원 전압(또는 전원 전압보다 낮은 전위)을 준다.  한편, P형 소자에 의한 회로 블록이 스탠드 바이 상태에 있을 때(회로 정지시)에는, N형의 웰 영역(13)의 전위를 입력하는 단자(52)에 전원 전압보다 높은 전위를 준다.   이렇게 함으로써, N형 소자에 의한 회로 블록의 경우와 동일한 효과를 얻을 수 있다.When the circuit block by the P-type element is in an active state (in a circuit operation), a power supply voltage (or a potential lower than the power supply voltage) is applied to the terminal 52 for inputting the potential of the N-
상기한 바와 같이 동작시킴으로써, 회로가 스탠드 바이 상태에 있을 때에, 소자의 오프 전류를 줄일 수 있으므로, 반도체 장치(1641)의 소비전력을 저감할 수 있다.   또, 회로가 액티브 상태에 있을 때에, 소자의 임계치가 내려가도록 웰 영역에 바이어스를 가하면, 반도체 장치를 고속으로 동작시키는 것이 가능해진다.By operating as described above, since the off current of the element can be reduced when the circuit is in the stand-by state, the power consumption of the
본 실시 형태의 반도체 장치(1641)를 제조하는 공정은, 실시 형태 8의 경우와 동일하다.  P형의 웰 영역(12)의 전위를 입력하는 단자(51) 및 N형의 웰 영역(13)의 전위를 입력하는 단자(52)에, 각각 전압발생회로를 접속하면 된다.The process of manufacturing the
본 실시 형태의 반도체 장치(1641)는, 실시 형태 8의 반도체 장치(1511)에 비해서, 저소비 전력화하고, 또는 고속 동작화하는 것이 가능해진다.As compared with the
(실시 형태 10)(Embodiment 10)
본 발명의 실시 형태 10에 대해서 도38(a) 및 (b)를 참조해서 설명한다. 도38(a) 및 (b)는 N형의 트랜지스터만을 도시하고 있지만, 본 실시 형태의 반도체 장치는 P형의 트랜지스터를 가지고 있어도 좋고, N형 트랜지스터와 P형의 트랜지스터가 혼재하고 있어도 좋다. 또한, 후술의 제조 방법에서는, N형과 P형의 트랜지스터가 혼재하고 있는 경우를 설명한다.A tenth embodiment of the present invention will be described with reference to Figs. 38 (a) and (b). 38 (a) and (b) show only the N-type transistors, the semiconductor device of this embodiment may have a P-type transistor, or an N-type transistor and a P-type transistor may be mixed. In addition, in the manufacturing method mentioned later, the case where N-type and P-type transistors are mixed is demonstrated.
도38(a) 및 (b)는, 본 발명의 실시 형태 10의 반도체 장치(1651)를 도시한다.  도38(a)는 평면도이며, 도38(b)는 도38(a)의 절단면선(C-C')에서 본 단면도이다.  도38(a)에는, 실리사이드화된 영역, 층간 절연막 및 상부 메탈 배선(콘택트 배선)은 간단히 하기 위해 도시되어 있지 않다.  도38(b)에는, 층간 절연막 및 상부 메탈 배선은 간단히 하기 위해 도시되어 있지 않다.38A and 38B show a
실시 형태 10의 반도체 장치(1651)가, 실시 형태 8의 반도체 장치(1511)와 다른 것은, 전계 효과 트랜지스터가, 게이트 전극과 웰 영역이 전기적으로 접속된 동적 임계치 트랜지스터가 되어 있는 점이다.  따라서, 반도체 장치(1511)에는, 게이트-웰 접속영역(35)이 설치되어 있다.  이 게이트-웰 접속영역(35)의 내부의 P형의 얕은 웰 영역(22)에 P형의 불순물 농도가 진한 영역(23)(도38(b))이 형성된다.  영역(23)은, 실리사이드화된 영역(24)에 의해 게이트 전극과 접속되어 있다.  또, 웰 영역은, N형의 깊은 웰 영역(21)과, P형의 얕은 웰 영역(22)으로 이루어지는 2층 구조가 되어 있다.  P형의 얕은 웰 영역(22)은, 소자 분리 영역(15)에 의해 소자마다 분단되어 있다.  이것은, 게이트 전극에서 얕은 웰 영역으로 전해진 전위의 변화가 다른 소자에 영향을 주지 않도록 하기 위해서이다.  이 구성에서는, 웰 영역이 제1도전형의 깊은 웰 영역과 제2도전형의 얕은 웰 영역의 2층 구조를 하고 있다.  또한, 소자 분리 영역에 의해, 제2도전형의 얕은 웰 영역을 소자마다 분리하는 것이 가능하다.  그 때문에, 전계 효과 트랜지스터의 일부 또는 전부를, 얕은 웰 영역과 게이트 전극이 전기적으로 접속된 동적 임계치 트랜지스터로 할 수 있다.The semiconductor device 1551 of the tenth embodiment is different from the
동적 임계치 트랜지스터는, 게이트 전극에 온 전위가 주어졌을 때에만 얕은 웰 영역의 포텐셜을 저하시켜, 소자의 실효적인 임계치을 저하시킨다. 따라서, 소자의 오프 전류를 증가시키지 않고서 드라이브 전류를 증가시킬 수 있으므로, 전원 전압을 낮출 수 있다. 따라서, 소비전력을 대폭적으로 낮게 하는 것이 가능하다.The dynamic threshold transistor lowers the potential of the shallow well region only when the on potential is given to the gate electrode, thereby lowering the effective threshold of the device. Therefore, the drive current can be increased without increasing the off current of the device, so that the power supply voltage can be lowered. Therefore, it is possible to significantly lower the power consumption.
본 실시 형태의 반도체 장치(1651)를 제조하는 공정은, 실시 형태 8의 경우 와 비교하면, 웰 영역 형성의 공정이 다르다.  또, 게이트-웰 접속영역(35)을 형성하기 위해서, 소자 분리 영역(15)의 형상이 변경되지만, 특별히 추가의 공정이 필요하지 않다.The process of manufacturing the
웰 영역으로서, N형(P형)의 깊은 웰 영역(21)과, P형(N형)의 얕은 웰 영역(22)을 형성할 필요가 있다.  따라서, N형 소자와 P형 소자를 혼재시키는 경우는, 합계 4회의 주입을 하면 된다.  소자 분리 영역(15)의 깊이는, 깊은 웰 영역(21)과 얕은 웰 영역(22)의 접합보다도 깊어지도록 설정한다.  이렇게 함에 따라, 각 소자의 얕은 웰 영역을 전기적으로 독립시켜서 소자간의 간섭을 막을 수 있다.As the well region, it is necessary to form an N type (P type)
게이트 전극(17)과 얕은 웰 영역(22)을 단락하기 위한 공정을 이하에 설명한다.  게이트-웰 접속영역(35)(도38(a))으로 되는 영역에는, 소자 분리 영역(15)을 설치하지 않는다.  다결정 실리콘막 및 다결정 실리콘의 사이드 월의 일부를 에칭할 때에, 게이트-웰 접속영역(35)으로 되는 영역의 다결정 실리콘막도 제거한다.  이것에 의해, 얕은 웰 영역이 노출된다.  여기에서, 노출된 얕은 웰 영역에 불순물이 진한 영역을 형성하고(이 공정은, 반대 도전형 소자의 소스·드레인 주입과 동시에 행할 수 있다), 실리사이드화 공정을 행함으로써 얕은 웰 영역중의 불순물이 진한 영역과 게이트 전극과 접속한다.A process for shorting the
반도체 장치(1651)는, 실시 형태 8의 반도체 장치(1511)에 비해서, 저소비 전력화하는 것이 가능해진다.  반도체 장치(1651)를 제조할 때에 추가가 되는 공정은, 웰 영역 형성에 관한 공정뿐이다.As compared with the
반도체 장치(1651)는, 동적 임계치 트랜지스터를 이용하고 있기 때문에 전원 전압을 낮출 수 있다.  따라서, 실시 형태 8의 반도체 장치(1511)에 비해서 소비전력을 대폭 저감하는 것이 가능하다.Since the
(실시 형태 11)(Embodiment 11)
상기 실시 형태 8 내지 10의 반도체 장치의 제조공정에 있어서, 다결정 실리콘막(34) 및 다결정 실리콘의 사이드 월(20)의 일부를 에칭할 때에, 다결정 실리콘 남음이 발생하는 수가 있다.In the manufacturing process of the semiconductor device of the above-mentioned Embodiments 8 to 10, polycrystalline silicon remaining may occur when etching part of the
도39(a) 및 (b)는, 다결정 실리콘막(34) 및 다결정 실리콘의 사이드 월(20)의 일부를 에칭하는 공정을 도시한다.  다결정 실리콘막(34)상의 절연막(31)이 제거되고(도39(a)), 다결정 실리콘막(34) 및 다결정 실리콘의 사이드 월(20)의 일부가 에칭된다(도39(b)).  이 때에, 도39(b)에 도시하는 바와 같이, 다결정 실리콘 남음(51)이 발생하는 수가 있다.  다결정 실리콘 남음(51)은, 실리콘 질화막의 사이드 월(18)의 내측에 발생하기 쉽다.  다결정 실리콘 남음(51)이 발생하면, 다결정 실리콘막(34)의 분리가 불완전해지고, 게이트 전극끼리가 단락하는 원인이 된다.39A and 39B show a step of etching a portion of the
다결정 실리콘 남음(51)을 제거하기 위해서, 예를 들면, 도39(b)에 도시하는 상태에서 다결정 실리콘에 대한 등방성 에칭이 행하여질 수 있다. 그러나, 이 방법에 따르면, 등방성 에칭량을 S라고 하면, 분리된 게이트 전극간의 거리(D)는, F+2S가 되고, 2S만큼 증가해 버린다.In order to remove the polycrystalline silicon remaining 51, for example, isotropic etching may be performed on the polycrystalline silicon in the state shown in Fig. 39 (b). According to this method, however, if the amount of isotropic etching is S, the distance D between the separated gate electrodes becomes F + 2S and increases by 2S.
본 실시 형태에서는, 다결정 실리콘 남음(51)의 발생을 방지하고, 게이트 전 극간의 마진의 증가를 억제하기 위한 방법을 설명한다.In this embodiment, a method for preventing generation of polycrystalline silicon remaining 51 and suppressing increase in margin between gate electrodes is described.
본 실시 형태의 반도체 장치를, 도40을 이용해서 설명한다.The semiconductor device of this embodiment will be described with reference to FIG.
도40은, 실시 형태 11의 반도체 장치의 게이트 전극부 및 사이드 월부의 단면을 도시한다.  본 실시 형태에서는, 게이트 전극(17)의 형상은, 상면보다도 하면쪽이, 폭이 작아져 있다.  게이트 전극(17)의 상면의 폭을 a, 하면의 폭을 b, 게이트 전극의 두께를 c라고 하면, 0<(a-b)/2c<O.15가 되어 있다.  예를 들면, a=O.25㎛, c=0.20㎛인 경우, 관계 O.19㎛<b<O.25㎛가 충족된다.40 shows a cross section of a gate electrode portion and a side wall portion of the semiconductor device of
게이트 전극(17)(다결정 실리콘막)을 상기와 같은 형상으로 함으로써, 실리콘 질화막의 사이드 월(18)의 게이트 전극측은 순 테이퍼 형상이 된다.  따라서, 다결정 실리콘막의 이방성 에칭시에, 다결정 실리콘 남음의 발생을 억제할 수 있다.  한편, 실리콘 질화막 사이드 월(18)의 외측(다결정 실리콘의 사이드 월측)은, 이방성 에칭의 특성상 거의 수직이 되므로, 다결정 실리콘 남음은 생기기 어렵다.  그러나, (a-b)/2c>O.15가 되는 조건에서는, 실리콘 질화막 사이드 월(18)의 외측은, 이미 수직이 아니고, 역 테이퍼 형상이 되어버리므로, 다결정 실리콘의 사이드 월(20)을 에칭했을 때에, 다결정 실리콘 남음이 발생해 버린다.  따라서, O<(a-b)/2c<O.15인 것이 바람직하다.By making the gate electrode 17 (polycrystalline silicon film) into such a shape, the gate electrode side of the
본 실시 형태의 반도체 장치에 따르면, 다결정 실리콘막(34) 및 다결정 실리콘의 사이드 월(20)의 일부를 에칭할 때에 다결정 실리콘 남음을 억제할 수 있다.  따라서, 다결정 실리콘 남음을 제거하기 위한 등방성 에칭의 양을 줄일 수 있고, 게이트 전극간의 마진을 감소시킬 수 있다.  따라서, 반도체 장치를 고집적화하는  것이 가능해진다.According to the semiconductor device of the present embodiment, the polycrystalline silicon remaining can be suppressed when the
(실시 형태 12)(Embodiment 12)
본 실시 형태는, 다결정 실리콘 남음의 발생을 방지하고, 게이트 전극간의 마진의 증가를 억제하는 다른 방법을 제공한다.This embodiment provides another method of preventing the occurrence of polycrystalline silicon remaining and suppressing an increase in the margin between the gate electrodes.
본 실시 형태의 반도체 장치를 도41을 참조해서 설명한다.A semiconductor device of this embodiment will be described with reference to FIG.
도41은, 실시 형태 12의 반도체 장치의 게이트 전극부 및 사이드 월부의 단면을 도시한다.  도41에 도시하는 바와 같이, 실리콘 질화막 사이드 월(18)의 상단의 개구폭보다도, 게이트 전극의 하면의 폭이 작다.  실리콘 질화막 사이드 월(18)의 상단의 개구폭을 d, 게이트 전극의 하면의 폭을 b, 실리콘 질화막 사이드 월의 높이를 e라고 하면, 관계 O<(d-b)/2e<0.15가 충족된다.  예를 들면, d=0.25㎛, e=0.20㎛인 경우, 0.19㎛<b<0.25㎛가 된다.41 shows a cross section of a gate electrode portion and a side wall portion of the semiconductor device of
실리콘 질화막의 사이드 월(18)을 도41에 도시하는 형상으로 함으로써, 개구부가 에칭시에 이온이나 라디컬을 차폐하지 않는다.  이 때문에, 다결정 실리콘 남음이 발생하는 것을 막을 수 있다.  한편, 실리콘 질화막 사이드 월(18)의 외측(다결정 실리콘의 사이드 월(20)의 측)은, 이방성 에칭의 특성상 거의 수직이 되므로, 다결정 실리콘 남음은 일어나기 어렵다.  그러나, (d-b)/2e>O.15가 되는 조건에서는, 실리콘 질화막 사이드 월(18)의 외측은, 이미 수직이 아니고, 역 테이퍼 형상이 되어 버리므로, 다결정 실리콘의 사이드 월(20)을 에칭했을 때에, 다결정 실리콘 남음이 발생해 버린다.  따라서, O<(d-b)/2e<0.15인 것이 바람직하다.By making the
다음에, 도41에 도시하는 반도체 장치의 제조공정을 도42(a) 내지 (f)를 참 조해서 설명한다.Next, the manufacturing process of the semiconductor device shown in FIG. 41 will be described with reference to FIGS. 42A to 42F.
도42(a) 내지 (f)는, 실시 형태 12의 도체장치의 제조공정을 도시한다. 또한, 도42(a) 내지 (f)는, 반도체 장치의 소자 분리 영역상에서의 단면도이다.42A to 42F show a manufacturing process of the conductor device according to the twelfth embodiment. 42A to 42F are cross-sectional views on an element isolation region of a semiconductor device.
게이트 산화 공정후에, 다결정 실리콘막(34) 및 절연막(31)을 형성한다 (도42(a)).  그 다음에, 포토레지스트를 이용해서 절연막(31)의 일부를 에칭하고, 패터닝한다(도42(b)).  다음에, 절연막(31)을 마스크로서 이방성 에칭을 행하고, 다결정 실리콘막(34)을 패터닝한다(도42(d)).  그 다음에, 등방성 에칭(또는 등방성 에칭의 요소가 강한 에칭)을 행하고, 다결정 실리콘막(34)의 폭을 작게 한다(도42(d)).  다음에 도36(a) 내지 (c)를 참조해서 상술한 공정에 의해 실리콘 질화막의 사이드 월(18)을 형성한다(도42(e)).  그 다음에, 다결정 실리콘의 사이드 월을 형성한다(도42(f)).After the gate oxidation process, a
본 실시 형태의 반도체 장치에 의해서도, 다결정 실리콘막(34) 및 다결정 실리콘의 사이드 월(20)의 일부를 에칭할 때에 다결정 실리콘 남음을 억제할 수 있다.  따라서, 다결정 실리콘 남음을 제거하기 위한 등방성 에칭의 양을 줄일 수 있고, 게이트 전극간의 마진을 감소시킬 수 있다.  따라서, 반도체 장치를 고집적화하는 것이 가능해진다.Also in the semiconductor device of the present embodiment, the polycrystalline silicon remaining can be suppressed when etching the
(실시 형태 13)(Embodiment 13)
F=0.18㎛ 룰에 근거하여, W-CDMA(와이드 밴드·CDMA)의 소자를 본 발명의 원리에 따라 작성했다. 또한, 저소비 전력·고구동력을 도모하기 위해서, 도25에 도시하는 반도체 기판(웰 영역)과 게이트 전극이 단락된 동적 임계치 가변 트랜지스 터(DT-MOS:Dynamic threshold-MOS)소자를 이용해서 W-CDMA의 회로를 구성했다. 동작전압으로서는, 내부 O.5V, I/O부 3.3V로 했다. 이 때, 0.18㎛ 룰에 근거해서 작성한 통상 구조의 MOS소자(내부 1.8V 동작)로 구성한 W-CDMA회로와 비교해서, 본 발명의 원리에 따라 작성한 소자를 이용한 회로에서는, 소비 전력이 약 1/52이었다. 동작속도는 동일했다(매치드 필터 단체에서는, 3/234의 소비전력이었다). 본 발명의 소자를 이용한 W-CDMA칩과, 메모리(플래시, SRAM, DRAM, ROM 등)와, 본 발명의 소자로 구성된 액정 드라이버를 표시소자로서 가지는 액정 패널, 및 본 발명의 소자로 구성된 통신소자 등을 조합시킴으로써, 전력 절약 휴대전화(정보 처리 장치)를 실현할 수 있었다. 이 전력 절약 휴대전화에서는, 통상 구조의 O. 18㎛ 룰의 MOS소자(내부 1.8V 동작)의 소자로 휴대전화를 구성할 경우와 비교해서, 전지의 수명이 약 10배가 되었다.Based on the rule of F = 0.18 mu m, an element of W-CDMA (wide band CDMA) was produced in accordance with the principles of the present invention. In addition, in order to achieve low power consumption and high driving force, the semiconductor substrate (well region) shown in FIG. 25 and a dynamic threshold variable transistor (DT-MOS: Dynamic threshold-MOS) element having a shorted gate electrode are used. -Configured the circuit of CDMA. As the operating voltage, the internal 0.5 V and the I / O part 3.3 V were set. At this time, compared with the W-CDMA circuit composed of the MOS device (internal 1.8V operation) of the normal structure made based on the 0.18 탆 rule, the power consumption of the circuit produced by the element made according to the principles of the present invention is about 1 /. It was 52. The operating speeds were the same (3/234 power consumption in matched filter units). W-CDMA chip using the device of the present invention, a liquid crystal panel having as a display element a liquid crystal driver composed of a memory (flash, SRAM, DRAM, ROM, etc.) and the device of the present invention, and a communication device composed of the device of the present invention By combining the above, an electric power saving cellular phone (information processing apparatus) can be realized. In this power-saving mobile phone, the battery life is about 10 times as compared with the case where the mobile phone is composed of an element of a MOS element (internal 1.8V operation) having a conventional structure of 18 µm.
또한, 상술한 실시 형태 중, 다른 실시 형태로 설명된 특징을 조합하는 것은, 본 발명의 범위내이다.Moreover, it is within the scope of the present invention to combine the features described in the other embodiments among the above-described embodiments.
본 발명의 반도체 장치 및 본 발명의 반도체 장치를 제조하는 방법에 의해 제조된 반도체 장치에서는, 소스 영역은, 활성 영역과 게이트 산화막이 접하는 제1의 면보다 상방에 존재하는 제1 소스 영역과, 제1의 면보다 하방에 존재하는 제2의 소스 영역을 포함하고, 드레인 영역은, 제1의 면보다 상방에 존재하는 제1 드레인 영역과, 제1의 면보다 하방에 존재하는 제2의 드레인 영역을 포함하고, 소스 영역 및 드레인 영역의 적어도 한쪽은, 콘택트 배선과 접촉하기 위한 제2의 면을 가지 고, 제2의 면은, 제1의 면에 대해서 경사져 있다. 또, 제2의 면은, 소자 분리 영역의 표면과 80도 이하의 각도로 교차한다. 이 때문에, 소스·드레인 영역의 점유 면적을 축소하고, 소스·드레인 영역부의 기생 용량, 기생 저항을 감소시킬 수 있다. 또한, 소스·드레인 영역과 상부 배선을 접속하는 콘택트의 수율이 향상한다.In the semiconductor device of the present invention and the semiconductor device manufactured by the method of manufacturing the semiconductor device of the present invention, the source region includes a first source region existing above the first surface where the active region and the gate oxide film are in contact with each other, and the first region. And a second source region existing below the surface of the drain region, wherein the drain region includes a first drain region existing above the first surface and a second drain region existing below the first surface, At least one of the source region and the drain region has a second surface for contacting the contact wiring, and the second surface is inclined with respect to the first surface. The second surface intersects the surface of the element isolation region at an angle of 80 degrees or less. For this reason, the occupied area of the source and drain regions can be reduced, and the parasitic capacitance and parasitic resistance of the source and drain region portions can be reduced. In addition, the yield of the contact connecting the source / drain region and the upper wiring is improved.
본 발명에서는, 활성 영역상의 소스·드레인 영역의 점유 면적에 대해서, 표면적을 크게 하는 것이 가능하다. 이 때문에, 소스·드레인 영역과 상부 배선(콘택트 배선)의 접촉부에 있어서의 접촉 면적이 커지고, 접촉 저항을 저감할 수 있다.In the present invention, the surface area can be increased with respect to the area occupied by the source and drain regions on the active region. For this reason, the contact area in the contact part of a source-drain area | region and an upper wiring (contact wiring) becomes large, and contact resistance can be reduced.
또, 이온 주입이 아니고, 고층 확산에 의해 소스·드레인 영역의 접합 깊이를 결정하고 있기 때문에, 상당히 얕은 접합을 형성하는 것이 가능해지고, 트랜지스터의 단 채널 효과를 억제하는 것이 가능해진다.In addition, since the junction depths of the source and drain regions are determined by high-layer diffusion rather than by ion implantation, it is possible to form a fairly shallow junction and suppress the short channel effect of the transistor.
또한, 채널 영역에서 콘택트 구멍까지의 거리가, 현저히 가깝기 때문에, 전류가 흐르는 고저항의 불순물 확산층 영역의 거리가 상당히 짧고, 기생 저항이 상당히 작아진다.Further, since the distance from the channel region to the contact hole is remarkably close, the distance of the high-resistance impurity diffusion layer region through which current flows is considerably short, and the parasitic resistance is considerably small.
또, 불순물 확산층 영역은, 채널 근방까지 1×1020/cm3보다 진한 농도가 되어 있기 때문에, 불순물 확산층 영역의 저항도 상당히 작고, 새로운 기생 저항의 저감이 가능해져 있다. 이 때문에, 트랜지스터의 구동 전류가 증대하는 효과가 있다.In addition, since the impurity diffusion layer region has a concentration higher than 1 × 1020 / cm3 until the vicinity of the channel, the resistance of the impurity diffusion layer region is also very small, and new parasitic resistance can be reduced. For this reason, there exists an effect that the drive current of a transistor increases.
또한, 콘택트의 크기를 변화시키지 않고서, 소자의 점유 면적, 특히 소스·드레인 영역의 점유 면적을 축소할 수 있기 때문에, 소스·드레인 영역과 반도체 기판 (일반적인 CMOS의 경우, 소스·드레인 영역과 역도전형의 웰 영역)의 접합 면적을, 콘택트 저항을 희생시키지 않고서 작게 하는 것이 가능해진다. 이 때문에, 접합 용량이 효과적으로 저감된다. 콘택트 저항을 희생시키지 않고서, 점유 면적의 축소화, 기생 용량(접합 용량)의 저감, 및 기생 저항의 저감이 가능해지고, 상당히 큰 상호 컨덕턴스를 얻을 수 있다. 또, 용량이 작아지므로, 본 발명의 반도체 장치를 이용해서 설계한 회로의 스피드가 향상한다.In addition, since the occupied area of the device, in particular, the occupied area of the source and drain regions, can be reduced without changing the size of the contact, the source and drain regions and the semiconductor substrate (in the case of general CMOS, the source and drain regions and the reverse conduction type Can be made small without sacrificing contact resistance. For this reason, the joining capacity is effectively reduced. It is possible to reduce the occupied area, to reduce the parasitic capacitance (joint capacitance), and to reduce the parasitic resistance without sacrificing contact resistance, thereby obtaining a significantly large mutual conductance. In addition, since the capacity is reduced, the speed of the circuit designed using the semiconductor device of the present invention is improved.
본 발명에서는, 상술한 바와 같이 전류의 유로에 차지하는 저항이 높은 영역의 비율이 상당히 적고, 통상의 반도체 장치와 비교해서, 소스·드레인 영역의 기생 저항이 감소한다. 또한, 채널 영역 근방의 소스·드레인 영역에서, 콘택트에 근접할수록 전류가 흐르는 경로가 넓어지고, 상당히 기생 저항이 작아진다. 이들 효과에 의해, 소자의 전류 구동 능력이 증가하고, 상호 컨덕턴스가 향상한다.In the present invention, as described above, the ratio of the region of the high resistance occupied in the flow path of the current is considerably small, and the parasitic resistance of the source / drain region is reduced as compared with a normal semiconductor device. In addition, in the source / drain region near the channel region, the closer the contact is, the wider the path through which the current flows, and the parasitic resistance is considerably smaller. These effects increase the current drive capability of the device and improve mutual conductance.
| Application Number | Priority Date | Filing Date | Title | 
|---|---|---|---|
| JP2000001190 | 2000-01-07 | ||
| JPJP-P-2000-00001190 | 2000-01-07 | 
| Publication Number | Publication Date | 
|---|---|
| KR20020064986A KR20020064986A (en) | 2002-08-10 | 
| KR100679203B1true KR100679203B1 (en) | 2007-02-07 | 
| Application Number | Title | Priority Date | Filing Date | 
|---|---|---|---|
| KR1020027008775AExpired - Fee RelatedKR100679203B1 (en) | 2000-01-07 | 2000-12-28 | Semiconductor device, manufacturing method thereof, and information processing device | 
| Country | Link | 
|---|---|
| US (2) | US6825528B2 (en) | 
| EP (1) | EP1246258B1 (en) | 
| KR (1) | KR100679203B1 (en) | 
| DE (1) | DE60045666D1 (en) | 
| TW (1) | TW490854B (en) | 
| WO (1) | WO2001050536A1 (en) | 
| Publication number | Priority date | Publication date | Assignee | Title | 
|---|---|---|---|---|
| US20040207011A1 (en)* | 2001-07-19 | 2004-10-21 | Hiroshi Iwata | Semiconductor device, semiconductor storage device and production methods therefor | 
| JP4545360B2 (en)* | 2001-09-10 | 2010-09-15 | シャープ株式会社 | Semiconductor device | 
| US6858483B2 (en)* | 2002-12-20 | 2005-02-22 | Intel Corporation | Integrating n-type and p-type metal gate transistors | 
| JP2005051140A (en)* | 2003-07-31 | 2005-02-24 | Toshiba Corp | Semiconductor device and manufacturing method thereof | 
| CN100481395C (en)* | 2003-12-30 | 2009-04-22 | 中芯国际集成电路制造(上海)有限公司 | ROM memory and manufacturing method therefor | 
| JP4274566B2 (en)* | 2005-04-25 | 2009-06-10 | エルピーダメモリ株式会社 | Manufacturing method of semiconductor device | 
| JP2007081335A (en) | 2005-09-16 | 2007-03-29 | Renesas Technology Corp | Semiconductor device | 
| US7790527B2 (en)* | 2006-02-03 | 2010-09-07 | International Business Machines Corporation | High-voltage silicon-on-insulator transistors and methods of manufacturing the same | 
| US7704840B2 (en)* | 2006-12-15 | 2010-04-27 | Advanced Micro Devices, Inc. | Stress enhanced transistor and methods for its fabrication | 
| US20100117188A1 (en)* | 2007-03-05 | 2010-05-13 | General Electric Company | Method for producing trench isolation in silicon carbide and gallium nitride and articles made thereby | 
| US7732877B2 (en)* | 2007-04-02 | 2010-06-08 | Taiwan Semiconductor Manufacturing Company, Ltd. | Gated diode with non-planar source region | 
| US7772054B2 (en) | 2007-06-15 | 2010-08-10 | Semiconductor Energy Laboratory Co., Ltd. | Method for manufacturing semiconductor device | 
| US8202782B2 (en)* | 2007-09-05 | 2012-06-19 | Nxp B.V. | Method of manufacturing transistor | 
| WO2009031076A2 (en)* | 2007-09-05 | 2009-03-12 | Nxp B.V. | A transistor and a method of manufacturing the same | 
| KR20100073247A (en) | 2008-12-23 | 2010-07-01 | 한국전자통신연구원 | Self aligned field effect transistor structure | 
| US9190326B2 (en)* | 2011-06-14 | 2015-11-17 | Taiwan Semiconductor Manufacturing Company, Ltd. | Semiconductor device having a post feature and method of manufacturing the same | 
| US9012999B2 (en)* | 2012-08-21 | 2015-04-21 | Stmicroelectronics, Inc. | Semiconductor device with an inclined source/drain and associated methods | 
| GB201313592D0 (en)* | 2013-07-30 | 2013-09-11 | Univ St Andrews | Optical modulator with plasmon based coupling | 
| US9466722B2 (en) | 2014-12-29 | 2016-10-11 | Stmicroelectronics, Inc. | Large area contacts for small transistors | 
| KR102317646B1 (en)* | 2015-04-14 | 2021-10-27 | 삼성전자주식회사 | Semiconductor device and method for manufacturing the same | 
| US10381267B2 (en) | 2017-04-21 | 2019-08-13 | International Business Machines Corporation | Field effect device with reduced capacitance and resistance in source/drain contacts at reduced gate pitch | 
| US11387233B2 (en)* | 2020-06-29 | 2022-07-12 | Taiwan Semiconductor Manufacturing Co., Ltd. | Semiconductor device structure and methods of forming the same | 
| Publication number | Priority date | Publication date | Assignee | Title | 
|---|---|---|---|---|
| JPS61196577A (en) | 1985-02-26 | 1986-08-30 | Nec Corp | Semiconductor device | 
| JPH065747B2 (en) | 1987-01-21 | 1994-01-19 | 株式会社東芝 | MOS semiconductor device | 
| JPH03145343A (en) | 1989-10-31 | 1991-06-20 | Sanyo Electric Co Ltd | Portable electronic equipment | 
| KR100274555B1 (en)* | 1991-06-26 | 2000-12-15 | 윌리엄 비. 켐플러 | Insulated gate field effect transistor and manufacturing the same | 
| US5494837A (en)* | 1994-09-27 | 1996-02-27 | Purdue Research Foundation | Method of forming semiconductor-on-insulator electronic devices by growing monocrystalline semiconducting regions from trench sidewalls | 
| JP3577720B2 (en)* | 1995-01-11 | 2004-10-13 | セイコーエプソン株式会社 | Power supply circuit, liquid crystal display device and electronic equipment | 
| KR100218299B1 (en)* | 1996-02-05 | 1999-09-01 | 구본준 | Manufacturing method of transistor | 
| JP2786169B2 (en) | 1996-06-25 | 1998-08-13 | 静岡日本電気株式会社 | Wireless selective call receiver with display | 
| JPH1022462A (en) | 1996-06-28 | 1998-01-23 | Sharp Corp | Semiconductor device and manufacturing method thereof | 
| JPH10335660A (en) | 1997-06-05 | 1998-12-18 | Nec Corp | Semiconductor device and manufacture thereof | 
| FR2765394B1 (en) | 1997-06-25 | 1999-09-24 | France Telecom | PROCESS FOR OBTAINING A SILICON-GERMANIUM GRID TRANSISTOR | 
| US5902125A (en)* | 1997-12-29 | 1999-05-11 | Texas Instruments--Acer Incorporated | Method to form stacked-Si gate pMOSFETs with elevated and extended S/D junction | 
| DE19812643C1 (en)* | 1998-03-23 | 1999-07-08 | Siemens Ag | MOS-transistor based circuit structure integrated into semiconductor substrate, preferably mono-crystalline silicon wafer | 
| KR100349768B1 (en)* | 1998-06-30 | 2002-08-24 | 샤프 가부시키가이샤 | Semiconductor device and method of manufacture thereof | 
| KR100335525B1 (en)* | 1998-06-30 | 2002-05-08 | 마찌다 가쯔히꼬 | Semiconductor device and method for producing the same | 
| US6319782B1 (en)* | 1998-09-10 | 2001-11-20 | Matsushita Electric Industrial Co., Ltd. | Semiconductor device and method of fabricating the same | 
| KR100280809B1 (en)* | 1998-12-30 | 2001-03-02 | 김영환 | Method for forming junction of semiconductor device | 
| Publication number | Publication date | 
|---|---|
| KR20020064986A (en) | 2002-08-10 | 
| WO2001050536A1 (en) | 2001-07-12 | 
| US20030089932A1 (en) | 2003-05-15 | 
| EP1246258A1 (en) | 2002-10-02 | 
| US6825528B2 (en) | 2004-11-30 | 
| US7176526B2 (en) | 2007-02-13 | 
| EP1246258B1 (en) | 2011-02-23 | 
| DE60045666D1 (en) | 2011-04-07 | 
| EP1246258A4 (en) | 2007-07-18 | 
| US20040262650A1 (en) | 2004-12-30 | 
| TW490854B (en) | 2002-06-11 | 
| Publication | Publication Date | Title | 
|---|---|---|
| KR100679203B1 (en) | Semiconductor device, manufacturing method thereof, and information processing device | |
| US7642566B2 (en) | Scalable process and structure of JFET for small and decreasing line widths | |
| TWI420675B (en) | Semiconductor device with mask electrode and method thereof | |
| KR100523310B1 (en) | Semiconductor device | |
| US6342717B1 (en) | Semiconductor device and method for producing same | |
| JP5005224B2 (en) | Semiconductor device and manufacturing method thereof | |
| KR100335525B1 (en) | Semiconductor device and method for producing the same | |
| KR100349768B1 (en) | Semiconductor device and method of manufacture thereof | |
| US6844247B2 (en) | Semiconductor device and method of manufacturing the same | |
| WO2007146734A2 (en) | Self aligned gate jfet structure and method | |
| TW200908319A (en) | Junction field effect transistors in germanium and silicon-germanium alloys and method for making and using | |
| US20120267724A1 (en) | Mos semiconductor device and methods for its fabrication | |
| US10319827B2 (en) | High voltage transistor using buried insulating layer as gate dielectric | |
| EP3671860A1 (en) | Semiconductor transistor device and method of manufacturing the same | |
| US20180342537A1 (en) | Method of manufacturing semiconductor device | |
| US5933736A (en) | Method of manufacturing a semiconductor device | |
| US6566696B1 (en) | Self-aligned VT implant | |
| JP2006114923A (en) | Semiconductor device, manufacturing method thereof, and information processing apparatus | |
| KR100275945B1 (en) | Semiconductor memory cell and fabricating method thereof | |
| JP3950371B2 (en) | Semiconductor device | |
| KR100485166B1 (en) | A fabrication method of MOS transistor | |
| KR960003863B1 (en) | Semiconductor device having buried layer and the manufacturing method thereof | |
| JPH08250726A (en) | Insulated gate type field effect transistor and manufacturing method thereof | |
| KR20010058666A (en) | Transistor of a semiconductor device using an epitaxial layer being formed selectively and method for fabricating the same | 
| Date | Code | Title | Description | 
|---|---|---|---|
| A201 | Request for examination | ||
| PA0105 | International application | St.27 status event code:A-0-1-A10-A15-nap-PA0105 | |
| PA0201 | Request for examination | St.27 status event code:A-1-2-D10-D11-exm-PA0201 | |
| PG1501 | Laying open of application | St.27 status event code:A-1-1-Q10-Q12-nap-PG1501 | |
| E902 | Notification of reason for refusal | ||
| PE0902 | Notice of grounds for rejection | St.27 status event code:A-1-2-D10-D21-exm-PE0902 | |
| T11-X000 | Administrative time limit extension requested | St.27 status event code:U-3-3-T10-T11-oth-X000 | |
| T11-X000 | Administrative time limit extension requested | St.27 status event code:U-3-3-T10-T11-oth-X000 | |
| T11-X000 | Administrative time limit extension requested | St.27 status event code:U-3-3-T10-T11-oth-X000 | |
| T11-X000 | Administrative time limit extension requested | St.27 status event code:U-3-3-T10-T11-oth-X000 | |
| T11-X000 | Administrative time limit extension requested | St.27 status event code:U-3-3-T10-T11-oth-X000 | |
| T11-X000 | Administrative time limit extension requested | St.27 status event code:U-3-3-T10-T11-oth-X000 | |
| AMND | Amendment | ||
| E13-X000 | Pre-grant limitation requested | St.27 status event code:A-2-3-E10-E13-lim-X000 | |
| P11-X000 | Amendment of application requested | St.27 status event code:A-2-2-P10-P11-nap-X000 | |
| P13-X000 | Application amended | St.27 status event code:A-2-2-P10-P13-nap-X000 | |
| E601 | Decision to refuse application | ||
| PE0601 | Decision on rejection of patent | St.27 status event code:N-2-6-B10-B15-exm-PE0601 | |
| J201 | Request for trial against refusal decision | ||
| PJ0201 | Trial against decision of rejection | St.27 status event code:A-3-3-V10-V11-apl-PJ0201 | |
| AMND | Amendment | ||
| E13-X000 | Pre-grant limitation requested | St.27 status event code:A-2-3-E10-E13-lim-X000 | |
| P11-X000 | Amendment of application requested | St.27 status event code:A-2-2-P10-P11-nap-X000 | |
| P13-X000 | Application amended | St.27 status event code:A-2-2-P10-P13-nap-X000 | |
| PB0901 | Examination by re-examination before a trial | St.27 status event code:A-6-3-E10-E12-rex-PB0901 | |
| B601 | Maintenance of original decision after re-examination before a trial | ||
| PB0601 | Maintenance of original decision after re-examination before a trial | St.27 status event code:N-3-6-B10-B17-rex-PB0601 | |
| PN2301 | Change of applicant | St.27 status event code:A-3-3-R10-R13-asn-PN2301 St.27 status event code:A-3-3-R10-R11-asn-PN2301 | |
| J301 | Trial decision | Free format text:TRIAL DECISION FOR APPEAL AGAINST DECISION TO DECLINE REFUSAL REQUESTED 20050722 Effective date:20061122 | |
| PJ1301 | Trial decision | St.27 status event code:A-3-3-V10-V15-crt-PJ1301 Decision date:20061122 Appeal event data comment text:Appeal Kind Category : Appeal against decision to decline refusal, Appeal Ground Text : 2002 7008775 Appeal request date:20050722 Appellate body name:Patent Examination Board Decision authority category:Office appeal board Decision identifier:2005101004777 | |
| PS0901 | Examination by remand of revocation | St.27 status event code:A-6-3-E10-E12-rex-PS0901 | |
| S901 | Examination by remand of revocation | ||
| GRNO | Decision to grant (after opposition) | ||
| PS0701 | Decision of registration after remand of revocation | St.27 status event code:A-3-4-F10-F13-rex-PS0701 | |
| GRNT | Written decision to grant | ||
| PR0701 | Registration of establishment | St.27 status event code:A-2-4-F10-F11-exm-PR0701 | |
| PR1002 | Payment of registration fee | St.27 status event code:A-2-2-U10-U12-oth-PR1002 Fee payment year number:1 | |
| PG1601 | Publication of registration | St.27 status event code:A-4-4-Q10-Q13-nap-PG1601 | |
| R17-X000 | Change to representative recorded | St.27 status event code:A-5-5-R10-R17-oth-X000 | |
| PR1001 | Payment of annual fee | St.27 status event code:A-4-4-U10-U11-oth-PR1001 Fee payment year number:4 | |
| PR1001 | Payment of annual fee | St.27 status event code:A-4-4-U10-U11-oth-PR1001 Fee payment year number:5 | |
| PR1001 | Payment of annual fee | St.27 status event code:A-4-4-U10-U11-oth-PR1001 Fee payment year number:6 | |
| FPAY | Annual fee payment | Payment date:20130111 Year of fee payment:7 | |
| PR1001 | Payment of annual fee | St.27 status event code:A-4-4-U10-U11-oth-PR1001 Fee payment year number:7 | |
| FPAY | Annual fee payment | Payment date:20140107 Year of fee payment:8 | |
| PR1001 | Payment of annual fee | St.27 status event code:A-4-4-U10-U11-oth-PR1001 Fee payment year number:8 | |
| FPAY | Annual fee payment | Payment date:20150123 Year of fee payment:9 | |
| PR1001 | Payment of annual fee | St.27 status event code:A-4-4-U10-U11-oth-PR1001 Fee payment year number:9 | |
| LAPS | Lapse due to unpaid annual fee | ||
| PC1903 | Unpaid annual fee | St.27 status event code:A-4-4-U10-U13-oth-PC1903 Not in force date:20160131 Payment event data comment text:Termination Category : DEFAULT_OF_REGISTRATION_FEE | |
| R18-X000 | Changes to party contact information recorded | St.27 status event code:A-5-5-R10-R18-oth-X000 | |
| PC1903 | Unpaid annual fee | St.27 status event code:N-4-6-H10-H13-oth-PC1903 Ip right cessation event data comment text:Termination Category : DEFAULT_OF_REGISTRATION_FEE Not in force date:20160131 | |
| P22-X000 | Classification modified | St.27 status event code:A-4-4-P10-P22-nap-X000 | |
| P22-X000 | Classification modified | St.27 status event code:A-4-4-P10-P22-nap-X000 |