




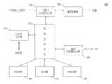
도 1은 본 발명의 바람직한 실시예에 따른 리모컨 수신 기능, 영상 입출력 기능 및 데이터 저장 기능을 제공하는 이동통신 단말기용 충전 장치의 내부 구성을 나타낸 도면,1 is a view showing the internal configuration of a charging device for a mobile communication terminal providing a remote control receiving function, an image input / output function and a data storage function according to an embodiment of the present invention;
도 2는 본 발명의 바람직한 실시예에 따른 이동통신 단말기용 충전 장치의 리모컨 수신 기능을 나타낸 도면,2 is a view showing a remote control receiving function of the charging device for a mobile communication terminal according to an embodiment of the present invention,
도 3은 본 발명의 바람직한 실시예에 따른 이동통신 단말기용 충전 장치의 영상 입출력 기능을 나타낸 도면,3 is a view showing an image input and output function of the charging device for a mobile communication terminal according to an embodiment of the present invention,
도 4는 본 발명의 바람직한 실시예에 따른 이동통신 단말기용 충전 장치의 데이터 저장 기능을 나타낸 도면이다.4 is a view showing a data storage function of a charging device for a mobile communication terminal according to an embodiment of the present invention.
< 도면의 주요 부분에 대한 부호의 설명 ><Description of Symbols for Main Parts of Drawings>
105: 리모컨 수신부 110: 중앙처리장치105: remote control receiver 110: central processing unit
115: 단말기 인터페이스부 120: 신호 변환부115: terminal interface unit 120: signal conversion unit
125: 영상 인터페이스부 130: 메모리부125: video interface unit 130: memory unit
135: 표시부 140: 충전 회로부135: display unit 140: charging circuit unit
본 발명은 리모컨 수신 기능, 영상 입출력 기능 및 데이터 저장 기능을 제공하는 이동통신 단말기용 충전 장치에 관한 것이다. 더욱 상세하게는 이동통신 단말기용 충전 장치에서 TV 리모컨의 원격 제어 신호를 수신하여 이동통신 단말기의 특정 기능을 원격 제어하고, 이동통신 단말기에 디스플레이되는 영상 신호를 TV에 출력하고, 이동통신 단말기용 충전 장치에서 배터리 충전 기능과 더불어 이동통신 단말기 및 TV의 데이터를 저장하는 기능을 지원하는 리모컨 수신 기능, 영상 입출력 기능 및 데이터 저장 기능을 제공하는 이동통신 단말기용 충전 장치에 관한 것이다.The present invention relates to a charging device for a mobile communication terminal that provides a remote control receiving function, an image input / output function, and a data storage function. In more detail, the charging device for a mobile communication terminal receives a remote control signal of a TV remote control to remotely control a specific function of the mobile communication terminal, output an image signal displayed on the mobile communication terminal to a TV, and charge the mobile communication terminal. The present invention relates to a charging device for a mobile communication terminal that provides a remote control reception function, an image input / output function, and a data storage function that support a function of storing data of a mobile communication terminal and a TV together with a battery charging function.
무선통신 기술의 발달로 이동통신 단말기가 널리 보급됨에 따라 고품질의 통화가 가능하도록 통화 품질이 향상되고 있으며, 이동통신 단말기의 사용도 급증하고 있다.With the development of wireless communication technology, as mobile communication terminals are widely used, call quality is improved to enable high quality calls, and the use of mobile communication terminals is rapidly increasing.
이러한 이동통신 단말기는 다양한 장소 및 환경에서 편리하게 이용할 수 있도록 이어-마이크 폰이나 핸즈프리를 연결하여 통화를 할 수 있도록 구성되어 있고, 더욱이 최근 그 기능의 복잡 다양화로 인하여 음악, 영상, 주소록 등과 같은 많은 종류의 데이터가 그 내부에 저장되어 음악을 듣거나 영화를 감상하는 등 사용자가 다양하게 활용할 수 있도록 구성되어 있다.These mobile communication terminals are configured to make a call by connecting a microphone or a handsfree for convenient use in various places and environments, and more recently, due to the complexity diversification of the functions, such as music, video, address book, etc. Kinds of data are stored inside it so that users can use it for various purposes such as listening to music or watching movies.
이동통신 단말기에서 기본적인 음성 통화를 비롯한 MP3 플레이어 등의 부가 기능을 사용할 경우에 사용자는 매번 이동통신 단말기의 키패드나 버튼을 눌러 해당 기능을 선택 및 제어해야 하는 문제점이 발생하였다.When using additional functions such as an MP3 player including a basic voice call in a mobile communication terminal, a user needs to select and control a corresponding function by pressing a keypad or a button of the mobile communication terminal each time.
한편, 현재의 이동통신단말기는 본래의 전화 기능 외에도 문자 송수신, 인터넷 접속기능, 메일 송수신 기능 등 다양한 통신 기능을 수행하고 있다. 특히, 이동통신 단말기의 TFT/LCD 같은 디스플레이 창을 이용하여 다양한 컬러 정지 영상 및 동영상을 실시간으로 받아볼 수 있게 되었고, 또한 인터넷의 특정 서버에 접속하여 간단한 게임을 즐길 수도 있게 되었다.On the other hand, the current mobile communication terminal performs various communication functions such as text transmission and reception, Internet access function, mail transmission and reception function in addition to the original phone function. In particular, various color still images and videos can be received in real time using a display window such as a TFT / LCD of a mobile communication terminal, and a simple game can also be accessed by accessing a specific server of the Internet.
그러나 현재의 PCS, IMT2000 같은 이동통신 단말기는 데이터 전송 및 처리 속도가 낮아 영상의 화질이 떨어지고, 영상 끊김 현상이 자주 발생하여 양질의 영상 서비스를 제공하지 못하고 있다. 따라서, 영상 서비스 분야가 발달하지 못해 별도의 영상 디스플레이 장치 없이 이동통신 단말기 자체의 디스플레이 창을 이용하여 영상을 사용자에게 보여주고 있는 것이 현실이다. 이렇게 별도의 디스플레이 창 없이 이동통신 단말기 내의 디스플레이 창만을 이용하여 정지 화상 및 동영상을 접하게 된다면, 사용자가 이동통신 단말기 내의 디스플레이 창의 영상을 정확히 알아보기 어렵고 또한, 눈의 피로감도 급격히 증가하는 문제점이 발생하였다.However, current mobile communication terminals, such as PCS and IMT2000, have low data transmission and processing speeds, resulting in poor image quality and frequent video dropouts. Therefore, the field of video service is not developed so that the user is shown the image using the display window of the mobile communication terminal itself without a separate video display device. When the still image and the video are contacted using only the display window in the mobile communication terminal without a separate display window, it is difficult for the user to accurately recognize the image of the display window in the mobile communication terminal, and also a sudden increase in eye fatigue occurs. .
한편, 이동통신 단말기는 무선통신 기술의 발전에 따른 무선통신 서비스의 기술 확대와 가입자 수의 비약적인 증가에 힘입어 다양한 서비스, 예를 들면 음성통화, 문자/ 음성 메시지 전송 및 무선 인터넷 등의 기본 서비스와, 게임, 벨소리, 음악, 전화번호 저장 및 영상 촬영 등과 같은 부가 서비스를 사용자에게 제공하고 있다.On the other hand, the mobile communication terminal is provided with various services such as voice call, text / voice message transmission and wireless internet due to the expansion of the wireless communication service and the rapid increase in the number of subscribers according to the development of wireless communication technology. It provides users with additional services such as games, ringtones, music, phone number storage and video shooting.
이동통신 단말기는 소정의 응용프로그램, 텍스트 콘텐츠, 사진, 동영상, 노래, 영화 등의 데이터 파일을 다운로드 받아 사용자에게 제공하기 위해, 이동통신 단말기 내의 저장부에 데이터 파일을 저장한다. 그러나 이동통신 단말기 내의 저장부는 데이터를 저장하는 데 용량의 한계가 있는 문제점이 발생하였다.The mobile communication terminal stores the data file in a storage unit in the mobile communication terminal in order to download and provide a data file of a predetermined application, text content, photo, video, song, movie, etc. to the user. However, the storage unit in the mobile communication terminal has a problem in that there is a limit in capacity for storing data.
전술한 문제점을 해결하기 위해 본 발명은, 이동통신 단말기용 충전 장치에서 TV 리모컨의 원격 제어 신호를 수신하여 이동통신 단말기의 특정 기능을 원격 제어하고, 이동통신 단말기에 디스플레이되는 영상 신호를 TV에 출력하고, 이동통신 단말기용 충전 장치에서 배터리 충전 기능과 더불어 이동통신 단말기 및 TV의 데이터를 저장하는 기능을 지원하는 리모컨 수신 기능, 영상 입출력 기능 및 데이터 저장 기능을 제공하는 이동통신 단말기용 충전 장치를 제공하는 것을 목적으로 한다.In order to solve the above problems, the present invention, by receiving a remote control signal of the TV remote control in the charging device for a mobile communication terminal to remotely control a specific function of the mobile communication terminal, and outputs an image signal displayed on the mobile communication terminal to the TV And a charging device for a mobile communication terminal that provides a remote control receiving function, an image input / output function, and a data storage function that supports a battery charging function and a function of storing data of the mobile communication terminal and a TV. It aims to do it.
본 발명의 제 1 목적에 의하면, TV 리모컨의 제어 신호를 수신하고, 이동통신 단말기의 LCD 화면을 TV로 송출하는 게이트웨이의 역할을 수행하고, 저장 장치를 내장하여 이동통신 단말기에서 생성되는 데이터 및 TV 영상 데이터를 저장하는 리모컨 수신 기능, 영상 입출력 기능 및 데이터 저장 기능을 제공하는 이동통신 단말기용 충전 장치에 있어서, 적외선 데이터 통신을 통해 상기 TV 리모컨에서 전송되는 원격 제어 신호를 수신하는 리모컨 수신부; 상기 이동통신 단말기의 배터리에 전하를 충전하기 위해 상기 이동통신 단말기에 접촉되는 부분으로서, 이동통신 단말기 제어 신호를 상기 이동통신 단말기에 전송하고, 상기 이동통신 단말기의 영상 신호를 수신하고, 상기 이동통신 단말기의 데이터를 수신하는 단말기 인터페이스부; 상기 TV의 영상 입력단 및 영상 출력단과 연결되기 위한 영상 신호 전송 케이블과의 연결 포트를 구비하고, 상기 TV에 상기 YCC 신호를 영상을 출력하거나 상기 TV의 영상 신호를 입력받는 영상 인터페이스부; 상기 이동통신 단말기의 데이터 및 상기 TV의 영상 신호를 저장하는 메모리부; 및 상기 리모컨 수신부로부터 수신한 상기 원격 제어 신호를 이동통신 단말기 제어 신호로 변환하고, 상기 이동통신 단말기의 영상 신호를 상기 TV로 출력하기 위한 신호 변환 신호를 출력하는 중앙처리장치를 포함하는 것을 특징으로 하는 리모컨 수신 기능, 영상 입출력 기능 및 데이터 저장 기능을 제공하는 이동통신 단말기용 충전 장치를 제공하는 데 목적이 있다.According to a first object of the present invention, the control unit receives a control signal of a TV remote control, plays a role of a gateway for transmitting an LCD screen of a mobile communication terminal to a TV, and has a built-in storage device to generate data and a TV. A charging device for a mobile communication terminal that provides a remote control receiving function, an image input / output function, and a data storing function, which store image data, the charging device comprising: a remote control receiver configured to receive a remote control signal transmitted from the TV remote control through infrared data communication; A part which contacts the mobile communication terminal to charge the battery of the mobile communication terminal, transmits a mobile communication terminal control signal to the mobile communication terminal, receives a video signal of the mobile communication terminal, the mobile communication A terminal interface unit for receiving data of the terminal; A video interface unit having a connection port with a video signal transmission cable to be connected to an image input terminal and an image output terminal of the TV, and outputting an image of the YCC signal to the TV or receiving a video signal of the TV; A memory unit which stores data of the mobile communication terminal and a video signal of the TV; And a central processing unit converting the remote control signal received from the remote control receiver into a mobile communication terminal control signal and outputting a signal conversion signal for outputting the video signal of the mobile communication terminal to the TV. An object of the present invention is to provide a charging device for a mobile communication terminal that provides a remote control receiving function, an image input / output function, and a data storage function.
이하, 본 발명의 바람직한 실시예를 첨부된 도면들을 참조하여 상세히 설명한다. 우선 각 도면의 구성요소들에 참조부호를 부가함에 있어서, 동일한 구성요소들에 대해서는 비록 다른 도면상에 표시되더라도 가능한 한 동일한 부호를 가지도록 하고 있음에 유의해야 한다. 또한, 본 발명을 설명함에 있어, 관련된 공지 구성 또는 기능에 대한 구체적인 설명이 본 발명의 요지를 흐릴 수 있다고 판단되는 경우에는 그 상세한 설명은 생략한다.Hereinafter, exemplary embodiments of the present invention will be described in detail with reference to the accompanying drawings. First of all, in adding reference numerals to the components of each drawing, it should be noted that the same reference numerals are used as much as possible even if displayed on different drawings. In addition, in describing the present invention, when it is determined that the detailed description of the related well-known configuration or function may obscure the gist of the present invention, the detailed description thereof will be omitted.
도 1a는 본 발명의 바람직한 제 1 실시예에 따른 리모컨 수신 기능, 영상 입출력 기능 및 데이터 저장 기능을 제공하는 이동통신 단말기용 충전 장치의 내부 구성을 나타낸 구성도이다.1A is a block diagram showing an internal configuration of a charging device for a mobile communication terminal providing a remote control receiving function, an image input / output function, and a data storage function according to a first embodiment of the present invention.
 도 1a에서 도시된 바와 같이, 본 발명의 바람직한 제 1 실시예에 따른 리모컨 수신 기능, 영상 입출력 기능 및 데이터 저장 기능을 제공하는 이동통신 단말기용 충전 장치(100)는 리모컨 수신부(105), 중앙처리장치(110), 단말기 인터페이스부(115), 영상 인터페이스부(125), 메모리부(130), 표시부(135), 충전 회로부(140) 및 키입력부(145)를 포함하여 구성된다. As shown in FIG. 1A, a
본 발명의 바람직한 실시예에 따른 이동통신 단말기용 충전 장치(100)는 TV 리모컨의 제어 신호를 수신하는 기능을 지원한다.The
리모컨 수신부(105)는 적외선 데이터 통신을 이용하여 리모컨(미도시)에서 전송되는 원격 제어 신호를 수신한다.The
중앙처리장치(110)는 리모컨 수신부(105)가 수신한 원격 제어 신호를 이동통신 단말기의 기능 동작을 제어하는 신호로 변환하는 신호변환 프로그램을 저장하고 있으며, 이동통신 단말기의 기능 동작을 제어하는 신호를 단말기 인터페이스부(115)로 출력한다.The
단말기 인터페이스부(115)는 이동통신 단말기 배터리의 전하를 충전하기 위해 충전 장치가 이동통신 단말기에 접촉되는 부분으로서, 중앙처리장치(110)로부터 이동통신 단말기의 기능 동작을 제어하는 신호를 수신하여 이동통신 단말기에 송신한다.The
본 발명의 바람직한 실시예에 따른 이동통신 단말기용 충전 장치(100)는 이동통신 단말기의 영상 데이터를 TV로 출력하는 기능을 지원한다.The
TV는 하나의 밝기 신호와 두 개의 컬러 신호로 이루어진 아날로그 YCC(Y-Cr-Cb) 신호에 따라 컬러를 표시할 수 있다. TV에 컬러 영상이 디스플레이될 때에는 YCC 신호가 TV의 영상 입력단에 입력되어야 한다. YCC 신호는 케이블을 통하여 TV의 영상 입력단에 입력되는데, 이러한 케이블은 각 신호에 따라 케이블 규격이 달라진다. YCC 신호는 아날로그 비디오 신호 전송에 맞는 케이블을 통하여 전송된다. 특히, YCC 신호 전송을 위한 아날로그 비디오 케이블 연결에는 기본적으로 콤포지트, S-비디오, 컴포넌트 3가지 방법이 있다.The TV can display color according to an analog YCC (Y-Cr-Cb) signal composed of one brightness signal and two color signals. When the color image is displayed on the TV, the YCC signal should be input to the image input terminal of the TV. The YCC signal is input to the video input terminal of the TV through a cable, the cable specification of the cable is different for each signal. The YCC signal is transmitted via a cable suitable for analog video signal transmission. In particular, there are basically three methods for connecting analog video cables for transmitting YCC signals: composite, S-video, and component.
단말기 인터페이스부(115)는 이동통신 단말기로부터 영상 데이터를 수신한 후 중앙처리장치(110)를 통해 영상 인터페이스부(125)로 전송한다.The
중앙처리장치(110)는 영상 데이터를 TV로 출력하도록 신호 변환부(120)에 신호 변환 신호를 출력한다.The
영상 인터페이스부(125)는 외부에 있는 디스플레이 디바이스, 즉 TV의 영상입력단과 연결될 수 있도록 영상 신호 전송 케이블과의 연결 포트를 구비한다. YCC신호를 TV의 영상 입력단에 전송하기 위하여 영상 인터페이스부(125)는 YCC 신호를 케이블 표준 규격에 따라 영상 인터페이스 연결 포트의 각 핀에 할당한다. 따라서, YCC 신호는 인터페이스 연결 포트에 각 신호가 할당된다.The
본 발명의 바람직한 실시예에 따른 이동통신 단말기용 충전 장치(100)는 이동통신 단말기의 데이터 및 TV의 영상 데이터를 저장하는 기능을 지원한다.The
중앙처리장치(110)는 사용자로부터 TV의 영상 신호를 저장하는 키 조작을 키입력부(145)를 통해 입력받은 후, 영상 인터페이스부(125)에 TV의 영상 신호의 입 력을 지시하는 제어 신호를 출력한다. 그리고 중앙처리장치(110)는 사용자로부터 이동통신 단말기의 데이터를 저장하는 키 조작을 키입력부(145)를 통해 입력받은 후, 단말기 인터페이스부(115)에 이동통신 단말기의 데이터의 입력을 지시하는 제어 신호를 출력한다.The
영상 인터페이스부(125)는 외부에 있는 디스플레이 디바이스, 즉 TV의 영상 출력단과 연결될 수 있도록 영상 신호 전송 케이블과의 연결 포트를 구비한다. TV로부터 수신한 영상 신호를 중앙처리장치(110)를 통해 메모리부(130)에 전달한다.The
단말기 인터페이스부(115)는 이동통신 단말기로부터 데이터를 수신하고, 수신한 데이터를 중앙처리장치(110)를 통해 메모리부(130)에 전달한다.The
메모리부(130)는 영상 인터페이스(125) 및 단말기 인터페이스부(115)로부터 수신한 TV 영상 데이터 및 단말기의 데이터를 저장한다. 메모리부(130)는 TV 영상 데이터 및 단말기의 데이터를 수신받은 영상 인터페이스부(125) 및 단말기 인터페이스부(115)의 종류에 따라 분류하여 저장한다.The
충전 회로부(140)는 전원에서 공급되는 AC 220 V의 전압을 DC 4.2 V의 전압으로 변환한 후 직류 전압을 단말기 인터페이스부(115)를 제공하여 이동통신 단말기가 충전되도록 한다.The charging
표시부(135)는 본 발명의 바람직한 실시예에 따른 리모컨 수신 기능, 영상 입출력 기능 및 데이터 저장 기능을 제공하는 이동통신 단말기용 충전 장치(100)의 동작 실행 상태를 LCD 창을 통하여 디스플레이한다.The
키입력부(145)는 본 발명의 바람직한 실시예에 따른 이동통신 단말기용 충전  장치(100)가 리모컨 수신 기능, 영상 입출력 기능 및 데이터 저장 기능을 제공하도록 사용자로부터 키 입력을 받기 위한 키패드를 구비한다.The
도 1b는 본 발명의 바람직한 제 2 실시예에 따른 리모컨 수신 기능, 영상 입출력 기능 및 데이터 저장 기능을 제공하는 이동통신 단말기용 충전 장치의 내부 구성을 나타낸 구성도이다.1B is a block diagram showing an internal configuration of a charging device for a mobile communication terminal providing a remote control receiving function, an image input / output function, and a data storage function according to a second embodiment of the present invention.
 도 1b에서 도시된 바와 같이, 본 발명의 바람직한 제 2 실시예에 따른 리모컨 수신 기능, 영상 입출력 기능 및 데이터 저장 기능을 제공하는 이동통신 단말기용 충전 장치(100)는 리모컨 수신부(105), 중앙처리장치(110), 단말기 인터페이스부(115), 영상 인터페이스부(125), 메모리부(130), 표시부(135), 충전 회로부(140) 및 키입력부(145)를 포함하고, 추가로 신호 변환부(120)을 포함하여 구성된다. As shown in FIG. 1B, the charging
신호 변환부(120)는 신호 변환 신호를 중앙처리장치(110)로부터 수신할 경우에 수신한 영상 데이터를 TV 출력 신호에 맞도록 YCC 신호로 변환한다. 신호 변환부(120)는 영상 데이터를 YCC 신호로 변환한 후에 영상 인터페이스부(125)로 전송한다.When the
나머지 구성 요소는 도 1a에 설명된 구성 요소와 기능 및 동작이 동일하므로, 그 설명을 생략하기로 한다.The remaining components have the same function and operation as those described in FIG. 1A, and thus description thereof will be omitted.
도 2는 본 발명의 바람직한 실시예에 따른 이동통신 단말기용 충전 장치의 리모컨 수신 기능을 나타낸 도면이다.2 is a view showing a remote control receiving function of the charging device for a mobile communication terminal according to an embodiment of the present invention.
도 2에 도시된 바와 같이, 이동통신 단말기용 충전 장치(230)는 리모컨(210)으로부터 적외선 신호를 수신한다. 리모컨(210)으로부터 수신한 적외선 신호는 이 동통신 단말기용 충전 장치(230)에 연결된 이동통신 단말기(220)의 동작 실행에 대한 정보를 포함한다.As shown in FIG. 2, the charging
적외선 신호를 수신한 이동통신 단말기용 충전 장치(230)는 이동통신 단말기(220)에 전송 가능한 신호로 변환한 후, 적외선 신호에 해당되는 동작 실행을 이동통신 단말기(220)가 수행하도록 한다.After receiving the infrared signal, the charging
도 3은 본 발명의 바람직한 실시예에 따른 이동통신 단말기용 충전 장치의 영상 입출력 기능을 나타낸 도면이다.3 is a view showing a video input and output function of the charging device for a mobile communication terminal according to an embodiment of the present invention.
이동통신 단말기(310)에는 사진 및 비디오를 포함하는 영상 데이터를 저장하고 있다. 이동통신 단말기용 충전 장치(320)는 영상 입출력 기능을 수행하기 위해, 먼저, 이동통신 단말기(310)에 저장된 영상 데이터를 TV(330) 출력에 맞게 변환한다.The
영상 데이터를 TV(330) 출력에 맞게 변환한 영상 신호를 영상 신호 전송 케이블을 통해 TV(330)의 영상 연결 포트 및 음성 연결 포트에 연결되어 TV(330)에 전달된다.The video signal obtained by converting the video data to the output of the
도 4는 본 발명의 바람직한 실시예에 따른 이동통신 단말기용 충전 장치의 데이터 저장 기능을 나타낸 도면이다.4 is a view showing a data storage function of a charging device for a mobile communication terminal according to an embodiment of the present invention.
이동통신 단말기(410)에 저장된 사진, 영상, 전화번호부 및 MP3를 포함하는 데이터를 이동통신 단말기용 충전 장치(420)는 저장부(430)에 저장된다.The charging
또한, TV(440)로 디스플레이되는 영상 신호를 이동통신 단말기용 충전 장치(420)는 영상 신호 전송 케이블을 통해 TV(440)와 연결되어 녹화하고, 녹화한  TV(440)의 영상 신호를 저장부(430)에 저장한다.In addition, the charging
이상의 설명은 본 발명의 기술 사상을 예시적으로 설명한 것에 불과한 것으로서, 본 발명이 속하는 기술 분야에서 통상의 지식을 가진 자라면 본 발명의 본질적인 특성에서 벗어나지 않는 범위에서 다양한 수정 및 변형이 가능할 것이다. 따라서, 본 발명에 개시된 실시예들은 본 발명의 기술 사상을 한정하기 위한 것이 아니라 설명하기 위한 것이고, 이러한 실시예에 의하여 본 발명의 기술 사상의 범위가 한정되는 것은 아니다. 본 발명의 보호 범위는 아래의 청구범위에 의하여 해석되어야 하며, 그와 동등한 범위 내에 있는 모든 기술 사상은 본 발명의 권리범위에 포함되는 것으로 해석되어야 할 것이다.The above description is merely illustrative of the technical idea of the present invention, and those skilled in the art to which the present invention pertains may make various modifications and changes without departing from the essential characteristics of the present invention. Therefore, the embodiments disclosed in the present invention are not intended to limit the technical idea of the present invention but to describe the present invention, and the scope of the technical idea of the present invention is not limited by these embodiments. The protection scope of the present invention should be interpreted by the following claims, and all technical ideas within the equivalent scope should be interpreted as being included in the scope of the present invention.
이상에서 설명한 바와 같이 본 발명에 의하면, 이동통신 단말기용 충전 장치에서 TV 리모컨의 원격 제어 신호를 수신하여 이동통신 단말기의 특정 기능을 원격 제어할 수 있는 효과가 있고, 이동통신 단말기에 디스플레이되는 영상 신호를 사용자의 선택에 따라 외부 디스플레이 디바이스에서 실행될 수 있게 함으로써 영상을 좀더 나은 환경에서 관람하는 효과가 있고, 이동통신 단말기용 충전 장치에서 배터리 충전 기능과 더불어 이동통신 단말기 및 TV의 데이터를 저장하는 기능을 지원함으로써 사용자의 편의성을 극대화시킨 효과가 있다.As described above, according to the present invention, the charging device for a mobile communication terminal has an effect of receiving a remote control signal of a TV remote control to remotely control a specific function of the mobile communication terminal, and the video signal displayed on the mobile communication terminal. Can be executed on the external display device according to the user's selection, and the effect of viewing the image in a better environment, and the function of storing the data of the mobile terminal and the TV in addition to the battery charging function in the charging device for the mobile communication terminal By supporting it, the user's convenience is maximized.
| Application Number | Priority Date | Filing Date | Title | 
|---|---|---|---|
| KR1020050099325AKR100668603B1 (en) | 2005-10-20 | 2005-10-20 | Charging device for mobile communication terminal that provides remote control receiving function, video input / output function and data storage function | 
| Application Number | Priority Date | Filing Date | Title | 
|---|---|---|---|
| KR1020050099325AKR100668603B1 (en) | 2005-10-20 | 2005-10-20 | Charging device for mobile communication terminal that provides remote control receiving function, video input / output function and data storage function | 
| Publication Number | Publication Date | 
|---|---|
| KR100668603B1true KR100668603B1 (en) | 2007-01-12 | 
| Application Number | Title | Priority Date | Filing Date | 
|---|---|---|---|
| KR1020050099325AExpired - Fee RelatedKR100668603B1 (en) | 2005-10-20 | 2005-10-20 | Charging device for mobile communication terminal that provides remote control receiving function, video input / output function and data storage function | 
| Country | Link | 
|---|---|
| KR (1) | KR100668603B1 (en) | 
| Publication number | Priority date | Publication date | Assignee | Title | 
|---|---|---|---|---|
| KR101314772B1 (en) | 2013-03-27 | 2013-10-04 | 서강철 | The wireless charging apparatus with the advertisement equipment | 
| Publication number | Priority date | Publication date | Assignee | Title | 
|---|---|---|---|---|
| KR101314772B1 (en) | 2013-03-27 | 2013-10-04 | 서강철 | The wireless charging apparatus with the advertisement equipment | 
| Publication | Publication Date | Title | 
|---|---|---|
| RU2670603C2 (en) | Mobile terminal, display apparatus and control method thereof | |
| JP4885323B2 (en) | Source device, sink device, system, program, and recording medium | |
| US8768318B2 (en) | Enhanced interface for mobile phone | |
| JP4834187B1 (en) | Playback device, display device, television receiver, system, recognition method, program, and recording medium | |
| JP7369281B2 (en) | Device capacity scheduling method and electronic devices | |
| WO2020224486A1 (en) | Calling method, device and system | |
| CN102870427B (en) | Output device, source device, television receiver, system, and output method | |
| US20080194196A1 (en) | System and Method for Sharing Media Data | |
| JP4660829B2 (en) | Mobile communication terminal and mobile communication system | |
| CN110531913B (en) | Video color ring processing method, communication equipment and computer readable storage medium | |
| CN109582976A (en) | A kind of interpretation method and electronic equipment based on voice communication | |
| KR20110056638A (en) | Apparatus and method for changing a call mode in a portable terminal | |
| US20140362166A1 (en) | Incoming call display method, electronic device, and incoming call display system | |
| KR100668603B1 (en) | Charging device for mobile communication terminal that provides remote control receiving function, video input / output function and data storage function | |
| JP2011244414A (en) | Display device, system, control method, program, and recording medium | |
| KR101390949B1 (en) | Smart phone cradle with built in video output | |
| KR20030012918A (en) | System and Machine to play the contents of a mobile phone using a A/V equipment. | |
| US7408924B2 (en) | Video communication method of internet protocol phone | |
| CN102143029A (en) | Providing external display device with internet access | |
| JP5285138B2 (en) | Source device, system, program, and recording medium | |
| KR100944371B1 (en) | Electronic Photo Frames, Internet Phone Devices and Electronic Photo Frame Phone Systems | |
| CN210642905U (en) | A carrying bag with a television | |
| KR200277740Y1 (en) | portable voice and active picture player | |
| KR101760745B1 (en) | Method for controlling user interface through home network and mobile terminal using this method | |
| JP4557812B2 (en) | Video phone equipment | 
| Date | Code | Title | Description | 
|---|---|---|---|
| A201 | Request for examination | ||
| PA0109 | Patent application | St.27 status event code:A-0-1-A10-A12-nap-PA0109 | |
| PA0201 | Request for examination | St.27 status event code:A-1-2-D10-D11-exm-PA0201 | |
| E701 | Decision to grant or registration of patent right | ||
| PE0701 | Decision of registration | St.27 status event code:A-1-2-D10-D22-exm-PE0701 | |
| GRNT | Written decision to grant | ||
| PR0701 | Registration of establishment | St.27 status event code:A-2-4-F10-F11-exm-PR0701 | |
| PR1002 | Payment of registration fee | St.27 status event code:A-2-2-U10-U11-oth-PR1002 Fee payment year number:1 | |
| PG1601 | Publication of registration | St.27 status event code:A-4-4-Q10-Q13-nap-PG1601 | |
| PR1001 | Payment of annual fee | St.27 status event code:A-4-4-U10-U11-oth-PR1001 Fee payment year number:4 | |
| PR1001 | Payment of annual fee | St.27 status event code:A-4-4-U10-U11-oth-PR1001 Fee payment year number:5 | |
| PN2301 | Change of applicant | St.27 status event code:A-5-5-R10-R11-asn-PN2301 | |
| PN2301 | Change of applicant | St.27 status event code:A-5-5-R10-R11-asn-PN2301 | |
| PN2301 | Change of applicant | St.27 status event code:A-5-5-R10-R14-asn-PN2301 | |
| FPAY | Annual fee payment | Payment date:20111209 Year of fee payment:6 | |
| PR1001 | Payment of annual fee | St.27 status event code:A-4-4-U10-U11-oth-PR1001 Fee payment year number:6 | |
| PN2301 | Change of applicant | St.27 status event code:A-5-5-R10-R13-asn-PN2301 St.27 status event code:A-5-5-R10-R11-asn-PN2301 | |
| FPAY | Annual fee payment | Payment date:20121228 Year of fee payment:7 | |
| PR1001 | Payment of annual fee | St.27 status event code:A-4-4-U10-U11-oth-PR1001 Fee payment year number:7 | |
| R18-X000 | Changes to party contact information recorded | St.27 status event code:A-5-5-R10-R18-oth-X000 | |
| R18-X000 | Changes to party contact information recorded | St.27 status event code:A-5-5-R10-R18-oth-X000 | |
| LAPS | Lapse due to unpaid annual fee | ||
| PC1903 | Unpaid annual fee | St.27 status event code:A-4-4-U10-U13-oth-PC1903 Not in force date:20140109 Payment event data comment text:Termination Category : DEFAULT_OF_REGISTRATION_FEE | |
| PC1903 | Unpaid annual fee | St.27 status event code:N-4-6-H10-H13-oth-PC1903 Ip right cessation event data comment text:Termination Category : DEFAULT_OF_REGISTRATION_FEE Not in force date:20140109 | |
| P22-X000 | Classification modified | St.27 status event code:A-4-4-P10-P22-nap-X000 | |
| P22-X000 | Classification modified | St.27 status event code:A-4-4-P10-P22-nap-X000 |