







도 1은 일반적인 광디스크의 구조를 보인 도면1 is a view showing the structure of a typical optical disk
도 2a는 일반적인 슬리핑 대체 방법을 보여주는 도면Figure 2a shows a typical sleeping alternative method
*도 2b는 일반적인 리니어 대체 방법을 보여주는 도면2b shows a typical linear replacement method
도 3은 스페어 영역이 데이터 영역의 톱 위치에 할당되는 예를 보인 도면3 shows an example in which a spare area is allocated to a top position of a data area;
도 4의 (a), (b)는 도 3과 같이 주 스페어 영역이 있는 디스크에 보조 스페어 영역이 할당되고 상기 보조 스페어 영역이 확장되는 예를 보인 도면4A and 4B illustrate an example in which an auxiliary spare area is allocated to a disk having a primary spare area as shown in FIG. 3, and the auxiliary spare area is expanded.
도 5a는 일반적인 재포맷팅 방법중에서 검증을 거치는 풀 포맷팅의 예를 보인 도면FIG. 5A illustrates an example of full formatting that is verified in a general reformatting method. FIG.
도 5b는 일반적인 재포맷팅 방법중에서 검증을 거치지 않는 단순 포맷팅의 예를 보인 도면5B illustrates an example of simple formatting without verification in a general reformatting method.
도 6은 본 발명에 따른 광 기록매체의 포맷팅 방법을 수행하기 위한 흐름도6 is a flowchart for performing a method of formatting an optical record carrier according to the present invention.
본 발명은 재기록 가능한 광기록매체의 포맷팅 방법에 관한 것이다.The present invention relates to a method of formatting a rewritable optical recording medium.
일반적으로, 광기록 매체는 반복 기록의 가능여부에 따라 읽기 전용의 롬(ROM)형과, 1회 기록 가능한 웜(WORM)형 및 반복적으로 기록할 수 있는 재기록 가능형 등으로 크게 3종류로 나뉘어 진다.In general, optical recording media are classified into three types, such as a read-only ROM type, a write once type Worm type, and a rewritable type that can be repeatedly recorded, depending on whether repeat recording is possible. Lose.
이 중 자유롭게 반복적으로 재기록 가능한 디스크로는 재기록 가능한 컴팩트 디스크(Rewritable Compact Disc ; CD-RW)와 재기록 가능한 디지털 다기능 디스크(Rewritable Digital Versatile Disc ; DVD-RAM, DVD-RW) 등이 있다.Among them, freely and repeatedly rewritable discs include a rewritable compact disc (CD-RW) and a rewritable digital versatile disc (DVD-RAM, DVD-RW).
그리고, 이러한 재기록 가능형 광기록 매체의 경우, 그 사용특성상 정보의 기록/재생 작업이 반복적으로 수행되는데, 이로 인해 광기록매체에 정보 기록을 위해 형성된 기록층을 구성하는 혼합물의 혼합 비율이 초기의 혼합 비율과 달라지게 되어 그 특성을 잃어버림으로써 정보의 기록/재생시 오류가 발생된다.In the case of such a rewritable optical recording medium, the recording / reproducing operation of information is repeatedly performed due to its use characteristics, and thus, the mixing ratio of the mixtures constituting the recording layer formed for recording information on the optical recording medium is increased. It becomes different from the mixing ratio and loses its characteristics, resulting in an error in recording / reproducing information.
이러한 현상을 열화라고 하는데, 이 열화된 영역은 광기록 매체의 포맷, 기록, 재생 명령 수행시 결함 영역(Defect Area)으로 나타나게 된다.This phenomenon is called deterioration, and this deteriorated area appears as a defect area when the format, recording, and reproducing command of the optical recording medium is executed.
또한, 재기록 가능형 광기록매체의 결함 영역은 상기의 열화 현상 이외에도 표면의 긁힘, 먼지 등의 미진, 제작시의 오류 등에 의해 발생되기도 한다.In addition to the deterioration phenomenon, defect areas of the rewritable optical recording medium may be generated due to scratches on the surface, dust such as dust, errors in production, and the like.
그러므로, 상기와 같은 원인으로 형성된 결함 영역에 데이터를 기록/재생하는 것을 방지하기 위하여 상기 결함 영역의 관리가 필요하게 되었다.Therefore, in order to prevent data from being recorded / reproduced in the defective areas formed due to the above reasons, it is necessary to manage the defective areas.
이를 위해 도 1에 도시된 바와 같이 광기록 매체의 리드-인 영역(lead-in area)과 리드-아웃 영역(lead-out area)에 결함 관리 영역(Defect Management Area ; 이하 DMA라 함)을 두어 광기록 매체의 결함 영역을 관리하고 있다. 또한, 데이터 영역은 존(zone)별로 나누어 관리하는데, 각 존은 실제 데이터가 기록되는 유저 영 역과 상기 유저 영역에 결함이 발생하였을 때 이용하기 위한 스페어(Spare) 영역으로 나뉘어진다.To this end, as shown in FIG. 1, a defect management area (hereinafter referred to as DMA) is provided in a lead-in area and a lead-out area of the optical recording medium. The defect area of the optical recording medium is managed. The data area is divided and managed by zones, and each zone is divided into a user area in which actual data is recorded and a spare area for use when a defect occurs in the user area.
그리고, 일반적으로 하나의 디스크(예컨대, DVD-RAM)에는 4개의 DMA가 존재하는데, 2개의 DMA는 리드-인 영역에 존재하고 나머지 2개의 DMA는 리드-아웃 영역에 존재한다. 각 DMA는 2개의 블록(block)으로 이루어지고, 총 32섹터(sector)들로 이루어진다.In general, four DMAs exist in one disk (eg, a DVD-RAM), two DMAs exist in a lead-in area, and the other two DMAs exist in a lead-out area. Each DMA consists of two blocks, totaling 32 sectors.
여기서, 각 DMA의 제 1 블록(DDS/PDL 블록이라 함)은 DDS(Disc Definition Structure)와 PDL(Primary Defect List)을 포함하고, 각 DMA의 제 2 블록(SDL 블록이라 함)은 SDL(Secondary Defect List)을 포함한다.Here, the first block of each DMA (called a DDS / PDL block) includes a Disc Definition Structure (DDS) and a Primary Defect List (PDL), and the second block of each DMA (called an SDL block) is an SDL (Secondary). Defect List).
이때, PDL은 주결함 데이터 저장부를 의미하며, SDL은 부결함 데이터 저장부를 의미한다.In this case, PDL means main defect data storage, and SDL means defect data storage.
일반적으로 PDL은 디스크 제작 과정에서 생긴 결함 그리고, 디스크를 초기화 즉, 최초 포맷팅(Initialize)과 재포맷팅(Re-initialize)시 확인되는 모든 결함 섹터들의 엔트리(Entries)들을 저장한다. 여기서, 각 엔트리는 엔트리 타입과 결함 섹터에 대응하는 섹터 번호로 구성된다.In general, the PDL stores entries of defects generated during the disc creation process and all defect sectors identified during initializing, ie, initializing and re-initializing the disc. Here, each entry is composed of an entry type and a sector number corresponding to a defective sector.
한편, 상기 SDL은 블록 단위로 리스트 되는데, 포맷 후에 발생하는 결함 영역들이나 포맷 동안 PDL에 저장할 수 없는 결함 영역들의 엔트리들을 저장한다. 상기 각 SDL 엔트리는 결함 섹터가 발생한 블록의 첫 번째 섹터의 섹터 번호를 저장하는 영역과 그것을 대체할 대체 블록의 첫 번째 섹터의 섹터 번호를 저장하는 영역으로 구성된다.On the other hand, the SDL is listed in units of blocks, and stores entries of defective areas that occur after the format or defective areas that cannot be stored in the PDL during the format. Each SDL entry consists of an area storing the sector number of the first sector of the block in which the defective sector has occurred and an area storing the sector number of the first sector of the replacement block to replace it.
이때, 상기 데이터 영역내의 결함 영역(즉, 결함 섹터 또는 결함 블록)들은 정상적인 영역으로 대체되어져야 하는데, 대체 방법으로는 슬리핑 대체(slipping replacement)방법과 리니어 대체(linear replacement)방법이 있다.In this case, the defective areas (ie, defective sectors or defective blocks) in the data area should be replaced with normal areas, and there are a replacement method such as a slipping replacement method and a linear replacement method.
상기 슬리핑 대체방법은 결함 영역이 PDL에 등록되어 있는 경우에 적용되는 방법으로, 도 2a에 도시된 바와 같이 실제 데이터가 기록되는 유저 영역(user area)에 결함 섹터가 존재하면 그 결함 섹터를 건너뛰고 대신에 그 결함 섹터 다음에 오는 정상 섹터(Good sector)로 대체되어 데이터를 기록한다. 그리고, 데이터가 기록되는 유저 영역은 밀리면서 결국 건너 뛴 결함 섹터만큼 스페어 영역(spare area)을 차지하게 된다. 즉, 건너뛴 결함 섹터들만큼 스페어 영역이 유저 영역으로 할당된다. 예컨대, PDL에 2개의 결함 섹터가 등록되어 있다면 데이터는 스페어 영역의 2섹터까지 밀려서 기록된다.The sleeping replacement method is applied when a defective area is registered in the PDL. If a defective sector exists in a user area in which actual data is recorded as shown in FIG. 2A, the defective sector is skipped. Instead, it is replaced by a good sector following the defective sector to record data. Then, the user area in which data is recorded occupies a spare area as much as the defective sector skipped and eventually skipped. That is, the spare area is allocated to the user area by the skipped defective sectors. For example, if two defective sectors are registered in the PDL, data is recorded by pushing up to two sectors of the spare area.
또한, 리니어 대체 방법은 결함 영역이 SDL에 등록되어 있는 경우에 적용되는 방법으로, 도 2b에 도시된 바와 같이 유저 영역에 결함 블록(defect block)이 존재하면 스페어 영역에 할당된 블록 단위의 대체(replacement) 영역으로 대체되어 데이터를 기록한다.In addition, the linear replacement method is applied when the defective area is registered in the SDL. When a defective block exists in the user area as shown in FIG. 2B, the replacement of the block unit allocated to the spare area ( replacement) field to record the data.
한편, 스페어 영역을 할당하는 방법으로는 상기된 도 1 이외에도 데이터 영역의 어느 한 존에만 할당하든지, 아니면 데이터 영역의 일부에 할당하는 방법이 논의되고 있다.Meanwhile, as a method of allocating a spare area, a method of allocating only one zone of the data area or a part of the data area in addition to FIG. 1 described above is discussed.
그 중 하나가 도 3에 도시된 바와 같이, 스페어 영역을 데이터 영역의 톱에 위치시키는 방법이며, 이때의 상기 스페어 영역을 주 스페어 영역(Primary Spare Area ; PSA)이라 한다. 즉, 상기 주 스페어 영역을 제외한 나머지 데이터 영역이 결국 유저 영역이 된다.One of them is a method of positioning a spare area at the top of the data area, as shown in FIG. 3, and the spare area at this time is called a primary spare area (PSA). That is, the remaining data area except the main spare area becomes a user area.
상기 주 스페어 영역은 최초 포맷팅(initialize) 과정에서 할당되는 영역으로서, 디스크 제조업체가 광 디스크를 제조할 때 할당할 수도 있고 유저가 공 디스크를 처음 포맷팅할 때 할당할 수도 있다.The primary spare area is an area allocated during an initial formatting process, and may be allocated when a disc manufacturer manufactures an optical disc or may be allocated when a user formats a blank disc for the first time.
그리고, 최초 또는 재포맷팅에 의해 PDL에 결함 섹터들이 등록되면 그 결함 섹터들에는 데이터를 기록하지 않으므로 그만큼 기록 용량이 줄어든다. 따라서, 최초 데이터 기록 용량을 유지하기 위해 포맷팅시 PDL에 등록된 결함 섹터들만큼 상기 주 스페어 영역이 유저 영역으로 슬리핑된다. 즉, 유저 영역의 논리적 시작 위치(LSN=0)가 부여되는 물리적 섹터 번호(PSN)가 포맷팅시 PDL에 등록되는 결함 섹터들에 따라 바뀐다.Then, if defective sectors are registered in the PDL by initial or reformatting, data is not recorded in the defective sectors, thereby reducing the recording capacity. Therefore, the main spare area is slipped to the user area by the defective sectors registered in the PDL during formatting to maintain the initial data recording capacity. That is, the physical sector number (PSN) to which the logical start position LSN = 0 of the user area is given changes according to defective sectors registered in the PDL at the time of formatting.
한편, 상기 주 스페어 영역이 슬리핑 대체 또는 리니어 대체에 의해 풀(full)이 되려고 하면 도 4의 (a)와 같이 유저 영역의 끝 가까이에 새로운 스페어 영역을 다시 할당할 수 있다. 이때의 스페어 영역을 보조 스페어 영역(supplementary spare area ; SSA)이라 한다. 즉, 유저 영역의 끝에는 중요 데이터가 복사되어 있기 때문에 상기 보조 스페어 영역은 유저 영역의 끝이 아닌 끝 근처에 할당한다.On the other hand, if the main spare area is to be full by sleeping replacement or linear replacement, a new spare area can be reassigned near the end of the user area as shown in FIG. The spare area at this time is called a supplementary spare area (SSA). That is, since important data is copied at the end of the user area, the auxiliary spare area is allocated near the end, not the end of the user area.
이때, 상기 보조 스페어 영역의 위치 정보는 광 기록매체내의 특정 영역 예를 들면, DMA의 SDL 블록내에 저장된다. 즉, 보조 스페어 영역의 위치 정보는 할당된 보조 스페어 영역의 시작 어드레스(즉, 첫번째 섹터 번호)와 끝 어드레스(즉, 마지막 섹터 번호)를 포함하며, 이를 이용하면 보조 스페어 영역의 사이즈 및 위치를 알 수 있다.At this time, the positional information of the auxiliary spare area is stored in a specific area in the optical recording medium, for example, in the SDL block of the DMA. That is, the location information of the spare spare area includes the start address (ie, first sector number) and end address (ie, last sector number) of the allocated spare spare area, and the size and location of the spare spare area are known. Can be.
또한, 필요시마다 도 4의 (b)와 같이 상기 보조 스페어 영역을 확장할 수 있다. 이때에도 보조 스페어 영역의 위치 정보는 DMA의 SDL 블록내에 저장되는데, 이때는 이미 보조 스페어 영역의 위치 정보가 SDL 블록내에 저장되어 있으므로 저장된 보조 스페어 영역의 위치 정보 중 시작 어드레스만 갱신한다. 즉, 상기 보조 스페어 영역의 위치 정보는 보조 스페어 영역의 확장시마다 갱신된다.In addition, the auxiliary spare region may be extended as necessary as shown in FIG. 4B. In this case, the location information of the auxiliary spare area is stored in the SDL block of the DMA. In this case, since the location information of the auxiliary spare area is already stored in the SDL block, only the start address of the location information of the stored spare spare area is updated. That is, the positional information of the auxiliary spare area is updated every time the auxiliary spare area is extended.
그리고, 상기와 같이 스페어 영역이 할당되는 광 기록매체에도 결함 영역 관리를 위해 결함 섹터 또는 결함 블록을 PDL 또는 SDL에 등록하며, 이때에도 리니어 대체 방법과 슬리핑 대체 방법 등이 적용된다.In addition, as described above, a defect sector or a defect block is registered in the PDL or the SDL for managing the defect area in the optical recording medium to which the spare area is allocated. In this case, a linear replacement method and a sleeping replacement method are applied.
이때, 상기된 리니어 대체 방법은 SDL에 기록된 결함 블록의 데이터를 스페어 영역에 할당된 대체 블록에 기록하기 위해 광 픽업을 스페어 영역으로 이송시켰다가 다시 유저 영역으로 이송시켜야 하므로, 이러한 과정이 계속 반복되면 시스템의 성능(performance)을 떨어뜨릴 수 있다.In this case, the above-described linear replacement method has to transfer the optical pickup to the spare area and then back to the user area in order to record the data of the defective block recorded in the SDL in the replacement block allocated to the spare area, and thus the process is repeatedly repeated. This can degrade the performance of the system.
따라서, 재포맷팅하는 이유중의 하나가 상기 SDL에 등록된 결함 섹터들을 PDL로 옮겨 계속적인 리니어 대체를 줄임으로써, 시스템의 성능을 높이기 위해서이다.Thus, one of the reasons for reformatting is to increase the performance of the system by moving defective sectors registered in the SDL to the PDL and reducing continuous linear replacement.
상기 재포맷팅 방법에는 다시 검증을 통한 포맷팅(예, 풀(full) 포맷팅)과 검증을 거치지 않는 단순 포맷팅(예, conversion of SDL to G2-리스트)등이 있다. 여기서, 상기 P-리스트는 어떠한 포맷팅 후에도 변하지 않으며, G2-리스트의 경우에는 SDL의 결함 블록이 그대로 결함 섹터로 저장되므로 이중에는 정상 섹터도 포함될 수 있으나 결함 섹터로 간주한다.Reformatting methods include formatting through verification (eg, full formatting) and simple formatting without verification (eg, conversion of SDL to G2 -list). Here, the P-list does not change after any formatting, and in the case of the G2 -list, since a defective block of the SDL is stored as a defective sector as it is, a normal sector may be included, but is regarded as a defective sector.
즉, 풀 포맷팅은 도 5a와 같이 옛(old) DMA 정보를 읽어서 보호 영역과 옛 PDL의 P-리스트에 등록된 결함 섹터를 제외한 데이터 영역 모두를 검증(certification)한다. 이때, 옛 PDL의 P-리스트는 그대로 새로운 PDL의 P-리스트로 변환한다. 그리고, 옛 PDL의 G1-리스트, G2-리스트, 옛 SDL은 삭제한 후, 검증 과정동안에 발견된 결함 섹터들만 새로운 PDL의 G1-리스트에 등록한다.That is, the full formatting reads the old DMA information as shown in FIG. 5A and verifies both the protected area and the data area except the defective sector registered in the P-list of the old PDL. At this time, the P-list of the old PDL is converted into the P-list of the new PDL as it is. After deleting the G1 -list, the G2 -list, and the old SDL of the old PDL, only the defective sectors found during the verification process are registered in the G1 -list of the new PDL.
또한, 검증없이 SDL을 G2-리스트로 변환하는 단순 포맷팅은 도 5b와 같이 옛 DMA 정보를 읽어서 옛 PDL의 P-리스트와 G1-리스트, G2-리스트 내의 섹터들은 그대로 새로운 PDL의 P-리스트와 G1-리스트, G2-리스트로 변환한다. 그리고, 옛 SDL 엔트리들은 16 PDL 엔트리로 변환한 후 해당 SDL 엔트리를 삭제하고 새로운 PDL의 G2-리스트에 등록한다.In addition, the SDL G2 without verification, reading the old DMA simple formatting information, as shown in Fig. 5b to convert into a list of old PDL list P- and G1 - List, G2 - are the sectors in the list as the new PDL P- Converts list, G1 -list, and G2 -list. The old SDL entries are converted to 16 PDL entries, then the corresponding SDL entries are deleted and registered in the G2 -list of the new PDL.
이러한 재포맷팅이 수행되면 SDL 내의 결함 정보가 PDL로 옮겨지게 되고 옮겨진 PDL의 개수만큼 스페어영역으로 슬리핑대체가 일어나게 된다.When such a reformatting is performed, defect information in the SDL is transferred to the PDL, and a sleeping replacement occurs in the spare area by the number of transferred PDLs.
따라서, 스페어 영역이 부족하여 슬리핑 대체에 에러가 생기면 포맷팅에러로 처리되고 해당 광기록매체는 사용불가로 처리되는 문제점이 있었다. 이러한 문제는 특히 PDL등록 가능한 개수에 대비하여 스페어영역이 부족한 경우에 발생할 확률이 높다.Therefore, if there is an insufficient spare area and there is an error in replacing the sleeping, there is a problem in that it is treated as a formatting error and the corresponding optical recording medium is not used. This problem is more likely to occur especially when the spare area is insufficient in preparation for the number of PDL registrations.
본 발명은 상기와 같은 문제점을 해결하기 위한 것으로서, 본 발명의 목적은 포맷팅시 스페어 영역의 부족으로 슬리핑대체가 에러인 경우에도 포맷팅을 정상적으로 마칠 수 있는 방법을 제공함에 있다.SUMMARY OF THE INVENTION The present invention has been made to solve the above problems, and an object of the present invention is to provide a method for normally formatting even when the slipping replacement is an error due to lack of a spare area during formatting.
상기와 같은 목적을 달성하기 위한 본 발명에 따른 광 기록매체의 포맷팅 방법은, 결함블록을 PDL로 등록하고 PDL등록만큼 슬리핑대체를 수행하는 단계와, 상기 슬리핑 대체에 에러가 발생하는지를 확인하는 단계와, 상기 슬리핑 대체에 에러가 발생되면 슬리핑 되지 못한 PDL의 개수를 조사하고 전체기록용량에서 슬리핑되지 못한 PDL개수만큼을 제외시키는 기록용량조절 단계로 구성된 것을 특징으로 한다.According to an aspect of the present invention, there is provided a method of formatting an optical recording medium, the method comprising: registering a defective block as a PDL and performing a sleeping replacement by the PDL registration; checking whether an error occurs in the replacement of the sleeping; In addition, if an error occurs in the slipping replacement, characterized in that it comprises a recording capacity control step of examining the number of PDL not slipped and excludes the number of PDL not slipped from the total recording capacity.
상기 기록용량 조절단계는 광기록매체의 특정영역에 기록된 기록용량 정보를 변화시키는 것을 특징으로 한다.The recording capacity adjusting step is characterized by changing the recording capacity information recorded in a specific area of the optical recording medium.
본 발명의 다른 목적, 특징 및 잇점들은 첨부한 도면을 참조한 실시예들의 상세한 설명을 통해 명백해질 것이다.Other objects, features and advantages of the present invention will become apparent from the following detailed description of embodiments taken in conjunction with the accompanying drawings.
이하, 본 발명의 바람직한 실시예를 첨부도면을 참조하여 상세히 설명한다.Hereinafter, preferred embodiments of the present invention will be described in detail with reference to the accompanying drawings.
본 발명은 포맷팅시 슬리핑되지 못한 PDL개수만큼을 기록용량에서 제외시키는 데 있다. 이는 스페어 영역이 부족하여 슬리핑 대체에 에러가 생기더라도 PDL로 등록하여 결함관리를 계속 수행함과 동시에 해당되는 부분만큼은 전체기록용량에서 제외시켜주므로서 스페어영역의 부족에 의한 에러를 방지하고자 한 것이다.The present invention is to exclude from the recording capacity as much as the number of PDLs which were not sleeped during formatting. This is to prevent errors due to lack of spare area by registering with PDL and performing defect management even if there is insufficient spare area and excluding defects from the total recording capacity.
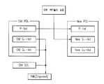
도 6은 이러한 본 발명에 따른 광 기록매체의 포맷팅 방법을 수행하기 위한 동작 흐름도로서, 포맷팅 명령이 입력되면(단계 601), 결함블록을 PDL로 등록하고 PDL등록만큼 스페어 영역으로 슬리핑대체를 수행한다.(단계 602). 이는 포맷팅 방법에 상관없이(풀-포맷팅, G2-list 변환 단순-포맷팅) 상기 동작이 수행된다.FIG. 6 is a flowchart illustrating a method of formatting an optical recording medium according to the present invention. When a formatting command is input (step 601), a defective block is registered as a PDL and a sleeping replacement is performed to the spare area by PDL registration. (Step 602). This operation is performed regardless of the formatting method (full-formatting, G2-list conversion simple-formatting).
이때, 스페어 영역의 부족으로 인한 슬리핑 대체에 에러가 발생하는지를 확인한다.(단계 603). 특히 슬리핑 대체에 에러가 발생할 수 있는 경우는 PDL로 등록될 수 있는 개수에 비해 스페어 영역이 너무 적게 할당되어 있는 경우가 해당된다. 따라서 결함블록을 PDL로 계속 등록할 수 있으나 스페어 영역이 부족하여 슬리핑 대체를 하지 못하는 경우이다. 상기 종래기술에서 설명했던바, 이경우 종래에는 광기록매체 에러로 처리하여 광기록매체 사용불가라는 판정을 내리게 된다. 그러나 본발명에서는 다음과 같은 단게를 거친다.At this time, it is checked whether an error occurs in the slipping replacement due to the lack of the spare area (step 603). In particular, when an error may occur in the slipping replacement, a case where too few spare areas are allocated compared to the number that can be registered in the PDL. Therefore, the defect block can be continuously registered as a PDL, but there is a lack of spare area, and thus a sleeping replacement cannot be performed. As described above in the prior art, in this case, it is conventionally determined that the optical recording medium cannot be used by treating it as an optical recording medium error. However, the present invention goes through the following steps.
즉, 슬리핑 대체가 에러이면 슬리핑되지 못한 PDL개수를 확인한다.(단계 604).That is, if the slipping replacement is an error, the number of PDLs that have not been sleeped is checked (step 604).
상기 단계 604에서 슬리핑 되지 못한 개수가 파악되면 전체기록용량에서 슬리핑 되지 못한 개수만큼을 제외시킨다 (단계 606). PDL로 등록된 결함블록은 이후 LSN(Logical Sector Nnmber)에서 제외되므로 사실상 기록을 할 수 없는 영역이다. 따라서 종래에는 이부분 만큼을 스페어영역으로 슬리핑하므로서 전체기록용량에 변화를 주지 않으면서 결함관리를 수행하게 한 것이다. 그러나 현재 스페어 영역의 부족으로 슬리핑 대체에 에러가 발생하였으므로 더 이상의 슬리핑 대체는 수행하지  못한다. 따라서 본발명에서는 슬리핑 대체 수행을 하지 않는 대신 전체기록용량에서 해당되는 부분만큼을 빼주므로서 계속하여 PDL로 등록하여 관리 할 수 있게 한 것이다. 물론 이경우 전체기록용량이 줄어드는 문제가 있을 수 있으나, 스페어 영역의 부족에 의한 광기록매체 사용불가라는 치명적인 에러를 해결하게 되는 것이다.If the number of times of sleep that is not determined in
전체기록용량의 조절은 여러가지 방법으로 수행 할 수 있으나, DVD-RAM의 경우 DMA영역내에 전체 LSN 개수를 기록하고 있는 정보가 있으므로 이 정보를 제외시킨 용량에 맞게 조절하면 된다. The total recording capacity can be adjusted in a number of ways, but in the case of DVD-RAM, there is information that records the total number of LSNs in the DMA area.
이상에서와 같이 본 발명에 따른 광 기록매체 및 광 기록매체의 포맷팅 방법에 의하면, 포맷팅시 슬리핑 대체에 에러가 발생하더라도 전체 광기록매체를 사용하지 못하는 문제점을 해결 할 수 있어 효율적인 광기록매체 사용이 가능하게 된다.As described above, the optical recording medium and the method of formatting the optical recording medium according to the present invention can solve the problem that the entire optical recording medium cannot be used even if an error occurs in the replacement of the slip during formatting. It becomes possible.
| Application Number | Priority Date | Filing Date | Title | 
|---|---|---|---|
| KR1020000003574AKR100647368B1 (en) | 2000-01-26 | 2000-01-26 | Formatting method of optical recording medium | 
| US09/768,131US7230893B2 (en) | 2000-01-26 | 2001-01-23 | Method of formatting optical recording medium | 
| Application Number | Priority Date | Filing Date | Title | 
|---|---|---|---|
| KR1020000003574AKR100647368B1 (en) | 2000-01-26 | 2000-01-26 | Formatting method of optical recording medium | 
| Publication Number | Publication Date | 
|---|---|
| KR20010076438A KR20010076438A (en) | 2001-08-16 | 
| KR100647368B1true KR100647368B1 (en) | 2006-11-17 | 
| Application Number | Title | Priority Date | Filing Date | 
|---|---|---|---|
| KR1020000003574AExpired - Fee RelatedKR100647368B1 (en) | 2000-01-26 | 2000-01-26 | Formatting method of optical recording medium | 
| Country | Link | 
|---|---|
| US (1) | US7230893B2 (en) | 
| KR (1) | KR100647368B1 (en) | 
| Publication number | Priority date | Publication date | Assignee | Title | 
|---|---|---|---|---|
| JP4183553B2 (en)* | 2002-09-19 | 2008-11-19 | 株式会社リコー | Recording method, program, recording medium, and information recording apparatus | 
| AU2003264977B2 (en)* | 2002-09-26 | 2009-03-26 | Lg Electronics Inc. | Optical disc, method and apparatus for managing a defective area on an optical disc of write once type | 
| EP1543507A1 (en) | 2002-09-26 | 2005-06-22 | LG Electronics Inc. | Method for managing defective area on write-once optical recording medium, and optical recording medium using the same | 
| KR20040027259A (en)* | 2002-09-26 | 2004-04-01 | 엘지전자 주식회사 | Method for managing a defect area on optical disc write once | 
| US7233550B2 (en) | 2002-09-30 | 2007-06-19 | Lg Electronics Inc. | Write-once optical disc, and method and apparatus for recording management information on write-once optical disc | 
| KR20040028469A (en) | 2002-09-30 | 2004-04-03 | 엘지전자 주식회사 | Method for managing a defect area on optical disc write once | 
| AU2003280181A1 (en)* | 2002-12-05 | 2004-06-23 | Koninklijke Philips Electronics N.V. | Method and apparatus for dynamic readout decision level adjustment for use in domain expansion reading | 
| WO2004053874A1 (en)* | 2002-12-11 | 2004-06-24 | Lg Electronics Inc. | Method of managing overwrite and method of recording management information on an optical disc write once | 
| WO2004053872A1 (en) | 2002-12-11 | 2004-06-24 | Lg Electronics Inc. | Method and apparatus for managing overwrite on an optical disc write once | 
| US7355934B2 (en) | 2003-01-27 | 2008-04-08 | Lg Electronics Inc. | Optical disc of write once type, method, and apparatus for managing defect information on the optical disc | 
| US7372788B2 (en)* | 2003-01-14 | 2008-05-13 | Lg Electronics Inc. | Method for managing defective area on write-once optical recording medium, and optical recording medium using the same | 
| JP2004253109A (en)* | 2003-01-27 | 2004-09-09 | Ricoh Co Ltd | Information recording / reproducing apparatus, program, computer-readable recording medium, and defective area management method | 
| TWI334595B (en)* | 2003-01-27 | 2010-12-11 | Lg Electronics Inc | Optical disc, method and apparatus for managing a defective area on an optical disc | 
| US20040160799A1 (en)* | 2003-02-17 | 2004-08-19 | Park Yong Cheol | Write-once optical disc, and method and apparatus for allocating spare area on write-once optical disc | 
| US7643390B2 (en) | 2003-02-21 | 2010-01-05 | Lg Electronics Inc. | Write-once optical recording medium and defect management information management method thereof | 
| US7499383B2 (en)* | 2003-02-21 | 2009-03-03 | Lg Electronics Inc. | Write-once optical disc and method for managing spare area thereof | 
| US7188271B2 (en)* | 2003-02-25 | 2007-03-06 | Lg Electronics Inc. | Write-once optical disc, and method and apparatus for recording management information on write-once optical disc | 
| TWI278851B (en)* | 2003-02-25 | 2007-04-11 | Lg Electronics Inc | Recording medium having data structure for managing at least a data area of the recording medium and recording and reproducing methods and apparatuses | 
| US7477581B2 (en)* | 2003-02-25 | 2009-01-13 | Lg Electronics Inc. | Defect management method for optical recording medium and optical recording medium using the same | 
| AU2003282449A1 (en)* | 2003-03-04 | 2004-09-28 | Lg Electronics Inc. | Method for recording on optical recording medium and apparatus using the same | 
| TWI405196B (en) | 2003-03-13 | 2013-08-11 | Lg Electronics Inc | Optical recording medium and defective area management method and apparatus for write-once recording medium | 
| MXPA05012044A (en)* | 2003-05-09 | 2006-02-03 | Lg Electronics Inc | Write once optical disc, and method and apparatus for recovering disc management information from the write once optical disc. | 
| KR20050119703A (en)* | 2003-05-09 | 2005-12-21 | 엘지전자 주식회사 | Recording medium having data structure for managing at least a data area of the recording medium and recording and reproducing methods and apparatuses | 
| JP2007528563A (en)* | 2003-05-09 | 2007-10-11 | エルジー エレクトロニクス インコーポレーテッド | Recording medium having data structure for managing at least data area of recording medium, and recording / reproducing method and apparatus | 
| BRPI0410198A (en)* | 2003-05-09 | 2006-05-23 | Lg Electronics Inc | physical recording medium, method of managing disk management information, method of retrieving management information from physical recording medium, apparatus for managing disk management information on physical recording medium, and apparatus for retrieving management information from of the physical recording medium | 
| CN100580779C (en)* | 2003-07-04 | 2010-01-13 | Lg电子株式会社 | Method and apparatus for managing overwrite recording on an optical disc write once | 
| KR101049135B1 (en) | 2003-07-14 | 2011-07-14 | 엘지전자 주식회사 | Write-once optical disc, method and apparatus for recording management information on write-once optical disc | 
| KR101014703B1 (en)* | 2003-07-15 | 2011-02-21 | 엘지전자 주식회사 | Method of managing defect area of optical disc, recording method of optical disc and recording / playback apparatus | 
| KR20050009031A (en)* | 2003-07-15 | 2005-01-24 | 엘지전자 주식회사 | Method for recording management information on optical disc write once | 
| MXPA06001429A (en) | 2003-08-05 | 2006-05-19 | Lg Electronics Inc | Write-once optical disc, and method and apparatus for recording/reproducing management information on/from optical disc. | 
| US7313065B2 (en) | 2003-08-05 | 2007-12-25 | Lg Electronics Inc. | Write-once optical disc, and method and apparatus for recording/reproducing management information on/from optical disc | 
| JP2007505432A (en)* | 2003-09-08 | 2007-03-08 | エルジー エレクトロニクス インコーポレーテッド | Write-once optical disc, and method and apparatus for recording management information on the optical disc | 
| CA2537895A1 (en) | 2003-09-08 | 2005-03-17 | Lg Electronics Inc. | Write-once optical disc, and method and apparatus for recording management information thereon | 
| CA2537888C (en)* | 2003-09-08 | 2015-03-03 | Lg Electronics Inc. | Write-once optical disc and method for recording management information thereon | 
| KR100964685B1 (en)* | 2003-10-20 | 2010-06-21 | 엘지전자 주식회사 | Recordable reproducing method and recording / reproducing apparatus for optical disc and recordable disc once | 
| US7710853B2 (en)* | 2004-03-18 | 2010-05-04 | Lg Electronics, Inc. | Recording medium with segment information thereon and apparatus and methods for forming, recording, and reproducing the recording medium | 
| MXPA06010602A (en)* | 2004-03-18 | 2006-12-14 | Lg Electronics Inc | Apparatus and method for recording and/or reproducing data to/from recording medium. | 
| US7480764B2 (en)* | 2004-03-18 | 2009-01-20 | Lg Electronics, Inc. | Recording medium with overlapping segment information thereon and apparatus and methods for forming, recording, and reproducing the recording medium | 
| KR101024916B1 (en)* | 2004-03-19 | 2011-03-31 | 엘지전자 주식회사 | Method and device for recording data of high-density optical disc | 
| JP4611376B2 (en)* | 2004-03-19 | 2011-01-12 | エルジー エレクトロニクス インコーポレイティド | Recording medium with physical access control, apparatus and method for forming, recording and reproducing the recording medium | 
| US7970988B2 (en)* | 2004-03-19 | 2011-06-28 | Lg Electronics Inc. | Recording medium with status information thereon which changes upon reformatting and apparatus and methods for forming, recording, and reproducing the recording medium | 
| KR101113866B1 (en)* | 2004-03-19 | 2012-03-02 | 엘지전자 주식회사 | Data structure for a recording medium and method and apparatus of recording data on the recording medium | 
| JP4638906B2 (en)* | 2004-03-23 | 2011-02-23 | エルジー エレクトロニクス インコーポレイティド | Recording medium and method and apparatus for recording / reproducing data on / from the recording medium | 
| KR100619016B1 (en)* | 2004-05-06 | 2006-08-31 | 삼성전자주식회사 | Optical record information storage medium, recording / reproducing device and host device | 
| KR101049117B1 (en)* | 2004-06-08 | 2011-07-14 | 엘지전자 주식회사 | Method and apparatus for recording management information on optical write once disc | 
| KR20060046157A (en)* | 2004-06-21 | 2006-05-17 | 엘지전자 주식회사 | Recording medium and method and apparatus for reformatting the recording medium | 
| KR101014727B1 (en)* | 2004-06-23 | 2011-02-16 | 엘지전자 주식회사 | Method and apparatus for superimposing recording once writeable optical disc | 
| KR20060046445A (en)* | 2004-07-22 | 2006-05-17 | 엘지전자 주식회사 | Recording medium and method for controlling recording and reproducing of data and methods for recording and reproducing data | 
| KR101041811B1 (en) | 2004-08-02 | 2011-06-17 | 엘지전자 주식회사 | Method and apparatus for recording and reproducing optical storage media | 
| KR101012378B1 (en)* | 2004-08-16 | 2011-02-09 | 엘지전자 주식회사 | Method and apparatus for recording and reproducing optical storage media | 
| JP5144265B2 (en) | 2004-09-14 | 2013-02-13 | エルジー エレクトロニクス インコーポレイティド | Recording medium and recording / reproducing method and apparatus for recording medium | 
| US7613874B2 (en) | 2004-10-14 | 2009-11-03 | Lg Electronics, Inc. | Recording medium, and a method and apparatus for overwriting data in the same | 
| KR101227485B1 (en)* | 2005-11-25 | 2013-01-29 | 엘지전자 주식회사 | Recording mdium, Method and Apparatus for recording defect management information on the recording medium | 
| KR20070058291A (en)* | 2005-12-02 | 2007-06-08 | 엘지전자 주식회사 | Recording medium, method and recording device for recording management information of recording medium | 
| KR20080078836A (en)* | 2005-12-19 | 2008-08-28 | 마쯔시다덴기산교 가부시키가이샤 | Recording device with residual capacity detection unit | 
| US7817364B2 (en)* | 2006-04-18 | 2010-10-19 | Seagate Technology Llc | Defect reallocation for data tracks having large sector size | 
| Publication number | Priority date | Publication date | Assignee | Title | 
|---|---|---|---|---|
| JPH0223417A (en)* | 1988-07-13 | 1990-01-25 | Matsushita Electric Ind Co Ltd | Information recording method and information recording medium | 
| US5271018A (en)* | 1990-04-27 | 1993-12-14 | Next, Inc. | Method and apparatus for media defect management and media addressing | 
| US5241531A (en)* | 1990-11-07 | 1993-08-31 | Matsushita Graphic Communication Systems, Inc. | Storage medium having read/write storage region and read-only storage region and a method for managing defective sectors in the storage medium | 
| MY112041A (en)* | 1995-04-21 | 2001-03-31 | Matsushita Electric Industrial Co Ltd | A method for managing defects in an information recording medium, and a device and information recording medium using said method | 
| JP2848809B2 (en)* | 1996-03-25 | 1999-01-20 | 株式会社東芝 | Replacement processing method | 
| JP3243220B2 (en)* | 1998-09-14 | 2002-01-07 | 株式会社東芝 | Replacement processing method | 
| EP1118993B1 (en)* | 1998-09-14 | 2004-03-03 | Kabushiki Kaisha Toshiba | Information recording medium, information recording device, and information recording method | 
| US6160778A (en)* | 1999-03-08 | 2000-12-12 | Matsushita Electric Industrial Co., Ltd. | Information recording medium, information recording method, information recording apparatus and information reproducing apparatus | 
| Publication number | Publication date | 
|---|---|
| US20010009537A1 (en) | 2001-07-26 | 
| US7230893B2 (en) | 2007-06-12 | 
| KR20010076438A (en) | 2001-08-16 | 
| Publication | Publication Date | Title | 
|---|---|---|
| KR100647368B1 (en) | Formatting method of optical recording medium | |
| JP3923031B2 (en) | Optical recording medium and optical recording medium formatting method | |
| KR100437756B1 (en) | Method for managing defect area of optical recording medium | |
| US7360014B2 (en) | Spare area management method of optical recording medium | |
| KR20000021178A (en) | Method for managing defect area of optical recoding media | |
| CN101083123A (en) | Method for accessing data in disk and region in distribution disk and reproducer | |
| KR100546576B1 (en) | Optical recording medium and defect area management method of optical recording medium | |
| KR100459119B1 (en) | Optical recording medium and method for formatting of optical recording medium | |
| KR100689577B1 (en) | Recording medium and recording playback method | |
| KR100606663B1 (en) | Method for managing defect area and formating of optical recording medium | |
| KR100651960B1 (en) | optical recording medium and method for assignment limit of spare area in the same | |
| KR100609857B1 (en) | Optical recording medium and method for formatting | |
| KR100609858B1 (en) | Optical recording medium and method for processing the data | |
| KR100546569B1 (en) | Method for formating and managing defect area of optical recording medium | |
| KR100606977B1 (en) | Formatting and Defect Area Management of Optical Recording Media | |
| KR100609856B1 (en) | Method for managing defect area of optical recording medium | |
| KR100421844B1 (en) | Method for managing a defective area of information record medium | |
| KR100609859B1 (en) | Method for formating of optical recording medium | |
| KR20040085134A (en) | Information recording medium and method for data record/play of the same | |
| KR100672543B1 (en) | Defect Area Management Method of Optical Recording Media | |
| KR20040075824A (en) | Optical record medium and defect area managing method | |
| KR20000026782A (en) | Method for formatting optical recording medium and managing fault region | |
| JP2006221800A (en) | Defect area management method for optical recording medium and recording medium therefor | 
| Date | Code | Title | Description | 
|---|---|---|---|
| PA0109 | Patent application | St.27 status event code:A-0-1-A10-A12-nap-PA0109 | |
| PN2301 | Change of applicant | St.27 status event code:A-3-3-R10-R13-asn-PN2301 St.27 status event code:A-3-3-R10-R11-asn-PN2301 | |
| PN2301 | Change of applicant | St.27 status event code:A-3-3-R10-R13-asn-PN2301 St.27 status event code:A-3-3-R10-R11-asn-PN2301 | |
| PG1501 | Laying open of application | St.27 status event code:A-1-1-Q10-Q12-nap-PG1501 | |
| N231 | Notification of change of applicant | ||
| PN2301 | Change of applicant | St.27 status event code:A-3-3-R10-R13-asn-PN2301 St.27 status event code:A-3-3-R10-R11-asn-PN2301 | |
| R18-X000 | Changes to party contact information recorded | St.27 status event code:A-3-3-R10-R18-oth-X000 | |
| A201 | Request for examination | ||
| PA0201 | Request for examination | St.27 status event code:A-1-2-D10-D11-exm-PA0201 | |
| R17-X000 | Change to representative recorded | St.27 status event code:A-3-3-R10-R17-oth-X000 | |
| E701 | Decision to grant or registration of patent right | ||
| PE0701 | Decision of registration | St.27 status event code:A-1-2-D10-D22-exm-PE0701 | |
| GRNT | Written decision to grant | ||
| PR0701 | Registration of establishment | St.27 status event code:A-2-4-F10-F11-exm-PR0701 | |
| PR1002 | Payment of registration fee | St.27 status event code:A-2-2-U10-U11-oth-PR1002 Fee payment year number:1 | |
| PG1601 | Publication of registration | St.27 status event code:A-4-4-Q10-Q13-nap-PG1601 | |
| PN2301 | Change of applicant | St.27 status event code:A-5-5-R10-R13-asn-PN2301 St.27 status event code:A-5-5-R10-R11-asn-PN2301 | |
| R18-X000 | Changes to party contact information recorded | St.27 status event code:A-5-5-R10-R18-oth-X000 | |
| FPAY | Annual fee payment | Payment date:20090929 Year of fee payment:4 | |
| PR1001 | Payment of annual fee | St.27 status event code:A-4-4-U10-U11-oth-PR1001 Fee payment year number:4 | |
| R18-X000 | Changes to party contact information recorded | St.27 status event code:A-5-5-R10-R18-oth-X000 | |
| LAPS | Lapse due to unpaid annual fee | ||
| PC1903 | Unpaid annual fee | St.27 status event code:A-4-4-U10-U13-oth-PC1903 Not in force date:20101111 Payment event data comment text:Termination Category : DEFAULT_OF_REGISTRATION_FEE | |
| PC1903 | Unpaid annual fee | St.27 status event code:N-4-6-H10-H13-oth-PC1903 Ip right cessation event data comment text:Termination Category : DEFAULT_OF_REGISTRATION_FEE Not in force date:20101111 | |
| PN2301 | Change of applicant | St.27 status event code:A-5-5-R10-R13-asn-PN2301 St.27 status event code:A-5-5-R10-R11-asn-PN2301 | |
| PN2301 | Change of applicant | St.27 status event code:A-5-5-R10-R13-asn-PN2301 St.27 status event code:A-5-5-R10-R11-asn-PN2301 |