







도 1은 부하율에 따른 소비전력을 나타내는 그래프이다.1 is a graph showing power consumption according to a load ratio.
도 2는 본 발명의 실시예에 따른 플라즈마 디스플레이 패널의 구성을 나타낸 도이다.2 is a diagram illustrating a configuration of a plasma display panel according to an exemplary embodiment of the present invention.
도 3은 본 발명의 실시예에 따른 플라즈마 디스플레이 패널의 제어부의 구성을 나타낸 도이다.3 is a diagram illustrating a configuration of a controller of a plasma display panel according to an exemplary embodiment of the present invention.
도 4는 조도에 따른 소비전력의 상한값과 하한값의 예를 나타낸 표이다.4 is a table showing examples of upper and lower limits of power consumption according to illuminance.
도 5는 본 발명의 실시예에 따른 제어부의 광전도 소자부의 구성을 나타낸 도이다.5 is a diagram illustrating a configuration of a photoconductive device unit of a control unit according to an exemplary embodiment of the present invention.
도 6은 본 발명의 실시예에 따른 암실의 자동전력제어 룩업 테이블을 나타낸 도이다.6 is a view showing an automatic power control lookup table of the dark room according to an embodiment of the present invention.
도 7은 본 발명의 실시예에 따른 자동전력 제어 과정을 나타낸 도이다.7 is a diagram illustrating an automatic power control process according to an embodiment of the present invention.
도 8은 본 발명의 실시예에 따른 자동전력 제어 방법에 따라 계산된 소비전력에 따른 유지방전 펄스 개수를 나타낸 그래프이다.8 is a graph showing the number of sustain discharge pulses according to power consumption calculated according to the automatic power control method according to an embodiment of the present invention.
본 발명은 플라즈마 디스플레이 패널에 관한 것으로, 더욱 상세하게 말하면 플라즈마 디스플레이 패널의 자동 전력 제어 장치 및 그 제어 방법에 관한 것이다.The present invention relates to a plasma display panel, and more particularly, to an automatic power control apparatus for a plasma display panel and a control method thereof.
일반적으로 플라즈마 디스플레이 패널은 그 구동 특성상 소비전력이 높으므로 표시될 프레임의 부하율에 따라 소비전력을 제어하는 장치가 필요하다. 이러한 소비 전력을 제어하는 방법으로서 자동전력제어(Auto power control, APC)를 하여 소비전력을 제한하는 방법이 사용되고 있다.In general, since plasma display panels have high power consumption due to their driving characteristics, an apparatus for controlling power consumption according to the load ratio of a frame to be displayed is required. As a method of controlling the power consumption, a method of limiting power consumption by using auto power control (APC) has been used.
도 1은 부하율에 따른 소비전력을 나타낸 그래프이다.1 is a graph showing power consumption according to a load ratio.
도 1에 도시된 바와 같이, 자동전력제어 방법은 패널이 안정 동작 영역(SOA) 안에서 동작하도록 전력을 제어한다. 예를 들어, 소비전력이 500W일 때 안정 동작 영역의 하한값(lower boundary)은 부하율(load ratio, L/R)이 15%이고, 상한값(upper boundary)은 부하율이 20~30% 정도이다.As shown in FIG. 1, the automatic power control method controls power so that the panel operates in the stable operating area SOA. For example, when the power consumption is 500W, the lower boundary of the stable operating region has a load ratio (L / R) of 15%, and the upper boundary has a load ratio of about 20-30%.
그런데 소비전력을 상한값으로 계속 유지하게 되면 패널 구동부가 안정적으로 동작할 수 없으므로 소비전력을 상한값에서 하한값으로 사람의 눈으로 인식할 수 없도록 서서히 감소시킨다.However, if the power consumption is kept at the upper limit, the panel driver cannot operate stably, so the power consumption is gradually reduced from the upper limit to the lower limit so that the human eye cannot recognize it.
한편, 같은 소비전력(즉, 같은 휘도)을 나타내는 패널일지라도 패널이 동작하는 환경에 따라서 사용자가 인식하는 상대적인 휘도는 달라진다. 즉, 어두운 환경에서 동작하는 경우보다 밝은 환경에서 동작하는 경우에 상대적인 휘도가 낮게 인식된다. 그런데, 종래의 자동전력제어 방법은 패널의 사용환경을 고려하지 않았 으므로 패널이 밝은 환경에서 동작하는 경우에 상대적인 휘도가 낮아서 화면이 잘 보이지 않는 문제점이 있다. 또한, 이로 인해 소비전력이 증가되고 플라즈마 디스플레이 패널의 사용수명이 단축되었다.On the other hand, even if the panel exhibits the same power consumption (ie, the same brightness), the relative brightness perceived by the user varies depending on the environment in which the panel operates. That is, the relative luminance is perceived to be lower when operating in a bright environment than when operating in a dark environment. However, the conventional automatic power control method does not take into consideration the environment in which the panel is used, and thus, when the panel is operated in a bright environment, there is a problem in that the screen is difficult to see because the relative luminance is low. In addition, this increases power consumption and shortens the service life of the plasma display panel.
본 발명이 이루고자 하는 기술적 과제는 광전도 소자를 이용하여 패널이 동작하는 환경의 빛의 밝기를 측정하고 이에 따라 소비전력 및 유지방전 펄스의 수를 다르게 하여 휘도를 조절하는 플라즈마 디스플레이 패널의 자동 전력 제어 장치 및 그 제어 방법을 제공하는 것을 목적으로 한다.The technical problem to be achieved by the present invention is the automatic power control of the plasma display panel by measuring the brightness of the light of the environment in which the panel operating by using a photoconductive device and thereby adjust the brightness by varying the power consumption and the number of sustain discharge pulses An object of the present invention is to provide an apparatus and a control method thereof.
이러한 기술적 과제를 달성하기 위한 본 발명의 특징에 따른 플라즈마 디스플레이 패널의 자동 전력 제어 장치는 복수의 어드레스 전극 및 상기 어드레스 전극들과 교차하도록 배열된 복수의 제1 전극 및 제2 전극을 포함하는 플라즈마 디스플레이 패널의 자동 전력 제어 장치로서,Automatic power control apparatus for a plasma display panel according to an aspect of the present invention for achieving the technical problem is a plasma display including a plurality of address electrodes and a plurality of first electrodes and second electrodes arranged to intersect the address electrodes. As an automatic power control device of the panel,
입력되는 영상신호의 부하율을 측정하는 평균신호레벨 감지부; 조도에 따라 적합한 소비전력의 상한값과 하한값 정보가 저장된 메모리; 및 현재 부하율 및 상기 패널이 위치한 외부 환경의 조도에 따라 상기 메모리를 참조하여 유지방전 펄스의 개수 정보를 출력하는 전력 제어부를 포함한다.An average signal level detector for measuring a load ratio of an input video signal; A memory in which upper and lower limit values of power consumption suitable for illuminance are stored; And a power control unit which outputs information on the number of sustain discharge pulses by referring to the memory according to a current load ratio and illuminance of an external environment in which the panel is located.
상기 전력 제어부는,The power control unit,
빛에 의하여 저항값이 가변하는 광전도 소자로부터 전압값을 측정하는 광전도 소자부; 상기 광전도 소자부에서 측정된 전압값으로부터 상기 외부환경의 조도 를 판단하고, 상기 조도에 따른 변수를 설정하는 조도 판단부; 및 상기 조도 판단부에서 측정된 조도에 따라 상기 메모리를 참조하여 현재 조도에 해당하는 소비전력의 상한값과 하한값을 결정하고, 상기 설정된 소비전력의 상한값과 하한값, 상기 조도에 따라 결정된 변수 및 상기 현재 부하율에 따른 유지방전 펄스의 개수 정보를 출력하는 자동전력제어 계산부를 포함한다.A photoconductive element unit for measuring a voltage value from the photoconductive element whose resistance is changed by light; An illuminance judging unit which determines the illuminance of the external environment from the voltage value measured by the photoconductive element unit and sets a variable according to the illuminance; And an upper limit value and a lower limit value of power consumption corresponding to the current illuminance with reference to the memory according to the illuminance measured by the illuminance determination unit, and the upper limit value and the lower limit value of the set power consumption, the variable determined according to the illuminance, and the current load rate. And an automatic power control calculation unit for outputting information on the number of sustain discharge pulses.
상기 광전도 소자부는,The photoconductive element portion,
상기 광전도 소자와 저항이 직렬로 연결되어 있으며, 상기 저항과 광전도 소자의 접점의 전압을 측정하여 상기 조도 판단부로 전달한다.The photoconductive device and a resistor are connected in series, and the voltage of the contact point between the resistor and the photoconductive device is measured and transmitted to the illuminance determining unit.
상기 메모리에는 상기 부하율에 따라 일정 개수의 소비전력제어 단계를 구분하고, 상기 소비전력제어 단계에 따라 펄스 발생 단계의 상한값과 하한값을 결정하며, 상기 펄스 발생 단계에 따라 결정된 유지방전 펄스의 개수 정보가 상기 소비전력 범위에 따라 각각 저장되어 있으며,The memory classifies a predetermined number of power consumption control steps according to the load ratio, determines an upper limit value and a lower limit value of the pulse generation step according to the power consumption control step, and the number information of the sustain discharge pulses determined according to the pulse generation step is Are stored according to the power consumption range,
상기 자동전력제어 계산부는 상기 소비전력의 상한값과 하한값에 따라 상기 메모리에 저장된 유지방전 펄스의 개수 정보를 출력한다.The automatic power control calculator outputs information on the number of sustain discharge pulses stored in the memory according to the upper limit value and the lower limit value of the power consumption.
또한, 상기 자동전력제어 계산부는 상기 설정된 소비전력의 상한값과 하한값(P), 상기 조도에 따라 결정된 변수(A, B, C, D) 및 상기 현재 부하율(L)을 토대로 하기 식에 따라 유지방전 펄스 개수(Ns)의 상한값과 하한값을 계산하여 출력한다.In addition, the automatic power control calculation unit based on the upper limit value and the lower limit value (P) of the set power consumption, the variables (A, B, C, D) determined according to the illuminance and the current load ratio (L) according to the sustain discharge The upper limit value and the lower limit value of the pulse number Ns are calculated and output.
P = (A + BNs) + (C + DNs)LP = (A + BNs) + (C + DNs) L
상기 소비전력의 상한값과 하한값은 상기 조도에 비례한다.The upper limit value and the lower limit value of the power consumption are proportional to the illuminance.
본 발명의 특징에 따른 플라즈마 디스플레이 패널은 복수의 어드레스 전극 및 상기 어드레스 전극들과 교차하도록 배열된 복수의 제1 전극 및 제2 전극을 포함하는 패널부; 입력된 영상신호를 보정하여 출력하며, 상기 패널이 위치한 외부 환경의 조도를 측정하여 상기 조도에 적당한 소비전력의 범위를 설정하고, 상기 설정된 소비전력의 범위 및 상기 영상신호의 부하율에 해당하는 유지방전 펄스의 개수 정보를 출력하는 제어부; 상기 제어부로부터 출력되는 보정 데이터에 대응하는 어드레스 데이터를 생성하여 상기 플라즈마 디스플레이 패널의 어드레스 전극에 인가하는 어드레스 데이터 발생부; 및 상기 제어부로부터의 유지방전정보에 대응하는 유지방전펄스를 생성하여 상기 유지전극과 주사전극에 인가하는 유지방전 펄스 발생부를 포함한다.According to an aspect of the present invention, there is provided a plasma display panel including: a panel unit including a plurality of address electrodes and a plurality of first and second electrodes arranged to intersect the address electrodes; Corrects and outputs the input video signal, measures illuminance of the external environment where the panel is located, sets a range of power consumption suitable for the illuminance, and maintains discharge corresponding to the set range of power consumption and the load ratio of the image signal. A control unit for outputting information on the number of pulses; An address data generator for generating address data corresponding to the correction data output from the controller and applying the address data to an address electrode of the plasma display panel; And a sustain discharge pulse generator for generating sustain discharge pulses corresponding to the sustain discharge information from the controller and applying the sustain discharge pulses to the sustain electrodes and the scan electrodes.
상기 제어부는,The control unit,
입력되는 영상신호의 부하율을 측정하는 평균신호레벨 감지부; 조도에 따라 적합한 소비전력의 상한값과 하한값 정보가 저장된 메모리; 및 현재 부하율 및 상기 패널이 위치한 외부 환경의 조도에 따라 상기 메모리를 참조하여 유지방전 펄스의 개수 정보를 출력하는 전력 제어부를 포함한다.An average signal level detector for measuring a load ratio of an input video signal; A memory in which upper and lower limit values of power consumption suitable for illuminance are stored; And a power control unit which outputs information on the number of sustain discharge pulses by referring to the memory according to a current load ratio and illuminance of an external environment in which the panel is located.
본 발명의 특징에 따른 플라즈마 디스플레이 패널의 자동 전력제어 방법은, 복수의 어드레스 전극 및 상기 어드레스 전극들과 교차하도록 배열된 복수의 제1 전극 및 제2 전극을 포함하는 플라즈마 디스플레이 패널의 소비전력을 자동으로 제어하는 방법으로서,An automatic power control method of a plasma display panel according to an aspect of the present invention, the power consumption of the plasma display panel including a plurality of address electrodes and a plurality of first electrodes and second electrodes arranged to intersect the address electrodes. As a control method,
a) 조도를 소정 개수의 단계로 구분하고, 상기 조도의 각 단계에 따라 적당 한 소비전력의 상한값과 하한값을 결정하여 메모리에 저장하는 단계; b) 상기 플라즈마 디스플레이 패널이 위치한 외부환경의 조도를 측정하여 상기 메모리로부터 측정된 조도에 적당한 소비전력의 상한값과 하한값을 불러오는 단계; 및 c) 입력된 영상신호 데이터의 부하율을 계산하고, 상기 계산된 부하율 및 상기 측정된 조도에 부합되는 소비전력의 상한값과 하한값에 따라 상기 유지방전 펄스 발생 개수를 결정하여 유지방전 펄스의 개수 정보를 출력하는 단계를 포함한다.a) dividing the illuminance into a predetermined number of stages, and determining appropriate upper and lower limits of power consumption according to each stage of the illuminance and storing them in a memory; b) measuring illuminance of an external environment in which the plasma display panel is located and reading an upper limit value and a lower limit value of power consumption suitable for the illuminance measured from the memory; And c) calculating a load ratio of the input image signal data, and determining the number of sustain discharge pulses generated according to the upper limit value and the lower limit value of power consumption corresponding to the calculated load ratio and the measured illuminance to obtain information on the number of sustain discharge pulses. Outputting.
아래에서는 첨부한 도면을 참고로 하여 본 발명의 실시예에 대하여 본 발명이 속하는 기술 분야에서 통상의 지식을 가진 자가 용이하게 실시할 수 있도록 상세히 설명한다. 그러나 본 발명은 여러 가지 상이한 형태로 구현될 수 있으며 여기에서 설명하는 실시예에 한정되지 않는다. 도면에서 본 발명을 명확하게 설명하기 위해서 설명과 관계없는 부분은 생략하였다. 명세서 전체를 통하여 유사한 부분에 대해서는 동일한 도면 부호를 붙였다.DETAILED DESCRIPTION Hereinafter, exemplary embodiments of the present invention will be described in detail with reference to the accompanying drawings so that those skilled in the art may easily implement the present invention. As those skilled in the art would realize, the described embodiments may be modified in various different ways, all without departing from the spirit or scope of the present invention. In the drawings, parts irrelevant to the description are omitted in order to clearly describe the present invention. Like parts are designated by like reference numerals throughout the specification.
먼저, 본 발명의 실시예에 따른 플라즈마 디스플레이 패널 장치에 대하여 도 2를 참고로 하여 상세하게 설명한다.First, a plasma display panel device according to an exemplary embodiment of the present invention will be described in detail with reference to FIG. 2.
도 2는 본 발명의 실시예에 따른 플라즈마 디스플레이 패널 장치를 나타내는 도면이다.2 is a diagram illustrating a plasma display panel device according to an exemplary embodiment of the present invention.
도 2에 도시되어 있듯이, 본 발명의 실시예에 따른 플라즈마 디스플레이 패널 장치는 패널(100), 제어부(300), 어드레스 데이터 발생부(200), 유지방전 펄스 발생부(400)를 포함한다.As shown in FIG. 2, the plasma display panel device according to the exemplary embodiment of the present invention includes a
패널(100)은 다수의 어드레스 전극과, 서로 쌍을 이루며 지그재그로 배열된  다수의 주사전극과 유지전극을 포함한다. 제어부(300)는 외부의 영상신호를 보정하여 출력하며, 현재 입력된 영상신호의 부하율을 계산하고, 계산된 부하율에 해당하는 유지방전 펄스 정보를 출력한다.The
어드레스 데이터 발생부(200)는 제어부(300)로부터 출력되는 보정 데이터에 대응하는 어드레스 데이터를 생성하여 패널(100)의 어드레스 전극에 인가한다. 유지방전 펄스 발생부(400)는 제어부(300)로부터의 유지방전정보에 대응하는 유지 펄스와 주사 펄스를 각각 생성하여 상기 유지 전극과 주사 전극에 인가한다.The
도 3은 도 2의 제어부(300)의 내부 구성을 나타낸 것이다.3 illustrates an internal configuration of the
도 3에 도시된 바와 같이, 제어부(300)는 영상 데이터 처리부(310), 평균신호레벨 감지부(320), 전력 제어부(330) 및 메모리(340)를 포함한다.As shown in FIG. 3, the
영상 데이터 처리부(310)는 영상신호를 보정하여 출력한다. 메모리(340)에는 부하율을 일정 개수로 구분하고, 부하율에 따라 자동소비전력 제어 단계를 나누어 각 단계별로 유지방전 펄스 개수의 상한값과 하한값을 다르게 결정하는 테이블(이하 APC LUT(auto power control look up table)라고 함)이 저장되어 있다. 또한, 메모리(340)에는 m 개의 단계로 구분된 조도에 따른 소비전력의 상한값과 하한값이 각각 저장되어 있다. 즉, 높은 조도에 대해서는 소비전력이 높게 설정되어 있고, 낮은 조도에 대해서는 소비전력이 낮게 설정되어 있다. 도 4는 조도에 따른 소비전력의 상한값과 하한값의 예를 나타낸 표이다.The
평균신호레벨(ASL) 감지부(320)는 외부에서 입력되는 영상신호의 부하율을 측정한다.The average signal level (ASL)
전력 제어부(330)는 현재 입력된 데이터의 부하율에 따른 유지방전 펄스 개수의 상한값과 하한값을 메모리(340)의 APC LUT를 참조하여 결정하고, 결정된 유지방전 펄스 정보를 유지방전 펄스 발생부(400)로 출력한다.The
이러한 전력 제어부(330)는 광전도 소자부(331), 조도 판단부(332) 및 APC 계산부(333)를 포함한다.The
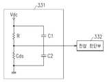
도 5는 광전도 소자부(331)의 구성을 나타낸 것이다.5 illustrates the configuration of the
도 5에 도시된 바와 같이, 광전도 소자부(331)는 저항(R)과 광전도 소자(Cds)를 직렬로 연결하고, 저항(R)과 광전도 소자(CdS)의 접점의 전압을 측정한다. 이때, 광전도 소자(CdS)는 빛에 의해 저항값이 변하는 소자로서, 외부로부터 빛이 강하게 비칠수록 저항값이 작아진다. 따라서, 이로 인해 접점의 전압이 달라진다.As shown in FIG. 5, the
조도 판단부(332)는 광전도 소자부(331)로부터 전달된 전압값을 통하여 외부 환경의 조도를 판단하고, 이에 따라 APC LUT 및 유지방전 펄스의 개수를 계산하기 위한 변수를 결정한다.The
APC 계산부(333)는 조도 판단부(332)에서 전달된 조도에 따른 소비전력의 상한값 및 하한값을 메모리(220)로부터 읽어들이고, ASL 감지부(320)에서 전달된 부하율에 따라 APC LUT에 해당하는 유지방전 펄스 개수를 계산하여 유지방전 펄스 발생부(400)로 전달한다.The
도 6는 본 발명의 실시예에 따른 플라즈마 디스플레이 패널에 적용되는 일반적인 APC LUT의 예를 나타낸 것이다.6 illustrates an example of a general APC LUT applied to a plasma display panel according to an embodiment of the present invention.
도 6에 도시된 바와 같이, APC LUT에는 부하율에 따라 APC 단계를 나누고, 각 단계별로 결정된 유지방전 펄스 발생 단계의 상한값과 하한값이 저장되어 있다. 예를 들어, 부하율에 따른 APC 단계가 8인 경우 유지방전 펄스 발생 단계의 상한값(UPPER)은 00(16진수)이고 하한값(LOWER)은 07(16진수)이다. 그런데 유지방전 펄스 발생 00(십진수 0)단계의 유지방전 펄스 개수는 04D1(16진수, 십진수 1233)개이고, 유지방전 펄스 발생 07(십진수 7)단계의 유지방전 펄스 개수는 04B4(16진수, 십진수 1204)개이다. 그러므로 유지방전 펄스 개수는 1233개에서 1204개로 서서히 감소한다.As shown in FIG. 6, the APC LUT divides the APC step according to the load ratio, and stores the upper limit value and the lower limit value of the sustain discharge pulse generation step determined in each step. For example, when the APC stage according to the load ratio is 8, the upper limit UPPER of the sustain discharge pulse generation step is 00 (hexadecimal) and the lower limit value LOWER is 07 (hexadecimal). However, the number of sustain discharge pulses in the stage of sustain discharge pulse generation 00 (0 decimal) is 04D1 (hexadecimal, 1233 decimal), and the number of sustain discharge pulses in the stage of sustain discharge pulse 07 (decimal 7) 04B4 (hexadecimal, decimal 1204). ) Therefore, the number of sustain discharge pulses gradually decreases from 1233 to 1204.
한편, 외부 환경 조도가 낮을 때는 유지방전 펄스 개수를 줄이고, 외부 환경 조도가 높을 때에는 유지방전 펄스 개수를 증가시켜야 사용자가 느끼는 상대적인 휘도를 높일 수 있다.Meanwhile, when the external environmental illuminance is low, the number of sustain discharge pulses is reduced, and when the external environmental illuminance is high, the number of sustain discharge pulses must be increased to increase the relative luminance felt by the user.
따라서, 본 발명은 외부 환경 조도에 따라 소비전력의 상한값 및 하한값을 조절하고 이 값을 토대로 유지방전 펄스 개수를 조절한다.Therefore, the present invention adjusts the upper limit value and the lower limit value of power consumption according to the external environmental illuminance, and adjusts the number of sustain discharge pulses based on this value.
이하에서는, 이러한 구성을 가지는 본 발명의 실시예에 따른 플라즈마 디스플레이 패널의 자동 전력을 제어 장치를 이용한 자동 전력 제어 방법에 관하여 도 7을 참조하여 상세히 설명한다.Hereinafter, an automatic power control method using the automatic power control apparatus of the plasma display panel according to the embodiment of the present invention having such a configuration will be described in detail with reference to FIG. 7.
외부에서 데이터 성분과(R, G, B)와 동기신호를 포함하는 영상신호가 입력된다. 그러면, 영상 데이터 처리부(310)는 데이터 성분(R, G, B)이 동일한 휘도 레벨을 구현하도록 보정한다. 또한, ALS 감지부(320)는 데이터 성분(R, G, B)의 평균신호레벨 즉, 부하율을 측정하여 전력 제어부(330)의 APC 계산부(333)로 출력한다.Externally, a video signal including a data component (R, G, B) and a synchronization signal is input. Then, the
한편, 전력 제어부(330)의 조도 판단부(332)는 광전도 소자부(331)에서 측정된 전압값으로부터 외부 환경의 조도를 계산한다. 이때, 정확한 값을 도출하기 위하여 일정시간동안 지속적으로 조도를 측정하여 평균값을 계산한다(S600).Meanwhile, the
그러면 APC 계산부(333)는 평균신호레벨 감지부(320)에서 현재 측정되는 부하율이 메모리(340)에 저장되어 있는 APC LUT의 부하율의 구간 중 어느 구간에 있는지를 판단한다. 또한, 현재 조도의 소비전력 범위를 메모리(340)로부터 읽어들인다(S630).Then, the
외부 환경 조도가 0(암실)일 경우에는 도 5에 도시된 종래의 APC LUT를 적용하고(S620), 이외의 경우에는 현재 조도에 적당한 APC LUT 및 유지방전 펄스의 개수를 계산한다(S640).If the external environmental illuminance is 0 (darkroom), the conventional APC LUT shown in FIG. 5 is applied (S620), and otherwise, the number of APC LUTs and sustain discharge pulses suitable for the current illuminance is calculated (S640).
APC LUT 및 유지방전 펄스 개수의 계산 방법은 다음과 같다.The calculation method of the APC LUT and the number of sustain discharge pulses is as follows.
먼저, 측정된 소비전력에 따른 전력 특성 곡선에서 유지방전 펄스의 개수(Ns)가 일정할 때의 부하율(L)과 소비전력(P)과의 관계식을 얻는다.First, a relationship between the load ratio L and the power consumption P when the number Ns of sustain discharge pulses is constant in the power characteristic curve according to the measured power consumption is obtained.
소비전력(P)은 부하율(L)에 선형적으로 비례하는 특성을 가지고 있으므로 다음의 식으로 나타낼 수 있다.Power consumption (P) has a characteristic that is linearly proportional to the load factor (L) can be represented by the following equation.
P = P0 + aLP = P0 + aL
여기서, P0는 부하율(L)이 0%일 때의 소비전력을 나타낸다.Here, P0 represents power consumption when the load factor L is 0%.
한편, 유지방전 펄스의 개수(Ns)는 소비전력(P)과 부하율(L)에 따라 결정되므로 위의 식에서 P0, a를 유지방전 펄스 개수(Ns)의 함수로 나타낼 수 있다. 또한, 소비전력(P)은 유지방전 펄스 개수(Ns)에 선형적으로 비례하므로 유지방전 펄 스 개수(Ns)의 일차 함수로 나타낼 수 있다. 따라서, 소비전력(P)은 다음과 같은 식으로 표현된다.On the other hand, since the number Ns of sustain discharge pulses is determined according to the power consumption P and the load ratio L, P0 and a can be expressed as a function of the number of sustain discharge pulses Ns. In addition, since the power consumption (P) is linearly proportional to the number of sustain discharge pulses (Ns), it can be expressed as a linear function of the number of sustain discharge pulses (Ns). Therefore, the power consumption P is expressed as follows.
P = f(Ns, L) = P0(Ns) + a(Ns)L = (A + BNs) + (C + DNs)LP = f (Ns, L) = P0 (Ns) + a (Ns) L = (A + BNs) + (C + DNs) L
위의 식에서 A, B, C, D는 조도 판단부(332)에서 계산된 조도에 따라 결정된 변수이다.In the above formula, A, B, C, and D are variables determined according to the illuminance calculated by the
그러므로, 변수 A, B, C, D 및 측정된 조도에 의해 결정된 소비전력의 상한값을 위의 식에 대입하여 유지방전 펄스 개수의 상한값을 계산하고, 소비전력의 하한값을 대입하여 유지방전 펄스 개수의 하한값을 계산할 수 있다.Therefore, calculate the upper limit of the number of sustain discharge pulses by substituting the upper limit of power consumption determined by the variables A, B, C, D and the measured illuminance into the above equation, and substitute the lower limit of power consumption to determine the number of sustain discharge pulses. The lower limit can be calculated.
도 8은 본 발명의 실시예에 따른 APC LUT 계산 방법에 따라 계산된 유지방전 펄스 개수를 나타낸 도이다.8 is a diagram showing the number of sustain discharge pulses calculated according to the APC LUT calculation method according to an embodiment of the present invention.
이처럼, 외부 환경의 조도 및 현재 부하율에 따라 계산된 유지방전 펄스 개수 정보를 유지 방전 펄스 발생부(400)에 출력한다. 그러면, 유지 주사 펄스 발생부(400)는 유지 방전 정보를 입력받고, 해당 유지 방전 펄스 개수에 따라 유지펄스와 주사펄스를 각각 발생하여 유지전극과 주사전극에 인가한다.In this way, the sustain discharge pulse number information calculated based on the illuminance of the external environment and the current load ratio is output to the sustain
한편, 어드레스 데이터 발생부(200)도 영상 데이터 처리부(310)에서 출력되는 보정 데이터에 대응하는 어드레스 데이터를 생성하여 어드레스 전극 라인들에 인가한다. 그러면, 패널(100)에는 변경된 휘도가 반영된 영상 데이터가 표시된다(S650).The
이상에서 본 발명의 바람직한 실시예에 대하여 상세하게 설명하였지만 본 발명은 이에 한정되는 것은 아니며, 그 외의 다양한 변경이나 변형이 가능하다.Although the preferred embodiment of the present invention has been described in detail above, the present invention is not limited thereto, and various other changes and modifications are possible.
예컨대, 본 발명의 실시예에서는 기준이 되는 APC LUT만을 메모리(340)에 저장하고 소정의 단계를 거쳐서 각 조도별 APC LUT를 계산하였으나, 조도에 의해 결정되는 소비전력의 범위에 따라 적용되는 APC LUT를 미리 계산하여 각각 별도로 메모리에 저장할 수도 있다.For example, in the exemplary embodiment of the present invention, only the APC LUT as a reference is stored in the
이상에서와 같이 본 발명에 따르면, 광전도 소자를 사용하여 외부 환경의 조도에 따라 소비전력의 범위를 다르게 설정하고 이에 따라 유지방전 펄스 개수를 다르게 설정함으로써 소비전력을 절감하고 플라즈마 디스플레이 패널의 사용 수명을 연장할 수 있다.As described above, according to the present invention, the power consumption is reduced by setting the range of power consumption differently according to the illuminance of the external environment using the photoconductive element and accordingly setting the number of sustain discharge pulses, and the service life of the plasma display panel. Can be extended.
| Application Number | Priority Date | Filing Date | Title | 
|---|---|---|---|
| KR1020030074266AKR100570615B1 (en) | 2003-10-23 | 2003-10-23 | Automatic power control device and control method of plasma display panel | 
| Application Number | Priority Date | Filing Date | Title | 
|---|---|---|---|
| KR1020030074266AKR100570615B1 (en) | 2003-10-23 | 2003-10-23 | Automatic power control device and control method of plasma display panel | 
| Publication Number | Publication Date | 
|---|---|
| KR20050038945A KR20050038945A (en) | 2005-04-29 | 
| KR100570615B1true KR100570615B1 (en) | 2006-04-12 | 
| Application Number | Title | Priority Date | Filing Date | 
|---|---|---|---|
| KR1020030074266AExpired - Fee RelatedKR100570615B1 (en) | 2003-10-23 | 2003-10-23 | Automatic power control device and control method of plasma display panel | 
| Country | Link | 
|---|---|
| KR (1) | KR100570615B1 (en) | 
| Publication number | Publication date | 
|---|---|
| KR20050038945A (en) | 2005-04-29 | 
| Publication | Publication Date | Title | 
|---|---|---|
| KR101479984B1 (en) | Illuminance sensing device and display device including the same | |
| JP5014154B2 (en) | Image display method and image display apparatus | |
| KR100389643B1 (en) | A Display Apparatus And A Display Controller And A Method Of Controlling Of The Display Apparatus | |
| KR102018125B1 (en) | Device of generating gamma voltage and a display device | |
| US7202458B2 (en) | Display and control method thereof | |
| KR101466119B1 (en) | Display apparatus and light control method of the same | |
| KR20160125555A (en) | Display device and method of driving display device | |
| JP2007537477A (en) | Scanning backlight for matrix display | |
| KR20100056306A (en) | Method of driving light-source, light-source apparatus for performing the method and display apparatus having the light-source apparatus | |
| KR102622612B1 (en) | Image data processing apparatus and display device for reducing power consumption of backlight | |
| JP2006018218A (en) | Background luminance reduction type electron emission device | |
| US9501963B2 (en) | Color profiling of monitors | |
| KR100515342B1 (en) | Method and apparatus to control power of the address data for plasma display panel and a plasma display panel having that apparatus | |
| JP2007164160A (en) | Systems for controlling brightness of displayed image | |
| JP4874931B2 (en) | Display device | |
| KR101351884B1 (en) | Liquid crystal display device and driving method thereof | |
| KR100432668B1 (en) | Method and apparatus to control drive-power for plasma display panel and a plasma display panel device having that apparatus | |
| KR100570615B1 (en) | Automatic power control device and control method of plasma display panel | |
| JP2004110050A (en) | Image display device and image display method | |
| KR100467449B1 (en) | Method and apparatus to control drive-power for plasma display panel and a plasma display panel device having that apparatus | |
| KR100453893B1 (en) | Apparatus to control driving power automatically for plasma display panel and the method thereof | |
| JP4457548B2 (en) | Image display apparatus, control method thereof, and control program | |
| KR100666114B1 (en) | LCD Display | |
| JP4318136B2 (en) | Driving method of display device | |
| US10909932B2 (en) | Display apparatus and method of driving display panel using the same | 
| Date | Code | Title | Description | 
|---|---|---|---|
| PA0109 | Patent application | St.27 status event code:A-0-1-A10-A12-nap-PA0109 | |
| R18-X000 | Changes to party contact information recorded | St.27 status event code:A-3-3-R10-R18-oth-X000 | |
| A201 | Request for examination | ||
| PA0201 | Request for examination | St.27 status event code:A-1-2-D10-D11-exm-PA0201 | |
| PG1501 | Laying open of application | St.27 status event code:A-1-1-Q10-Q12-nap-PG1501 | |
| E902 | Notification of reason for refusal | ||
| PE0902 | Notice of grounds for rejection | St.27 status event code:A-1-2-D10-D21-exm-PE0902 | |
| E13-X000 | Pre-grant limitation requested | St.27 status event code:A-2-3-E10-E13-lim-X000 | |
| P11-X000 | Amendment of application requested | St.27 status event code:A-2-2-P10-P11-nap-X000 | |
| P13-X000 | Application amended | St.27 status event code:A-2-2-P10-P13-nap-X000 | |
| E701 | Decision to grant or registration of patent right | ||
| PE0701 | Decision of registration | St.27 status event code:A-1-2-D10-D22-exm-PE0701 | |
| GRNT | Written decision to grant | ||
| PR0701 | Registration of establishment | St.27 status event code:A-2-4-F10-F11-exm-PR0701 | |
| PR1002 | Payment of registration fee | St.27 status event code:A-2-2-U10-U11-oth-PR1002 Fee payment year number:1 | |
| PG1601 | Publication of registration | St.27 status event code:A-4-4-Q10-Q13-nap-PG1601 | |
| R17-X000 | Change to representative recorded | St.27 status event code:A-5-5-R10-R17-oth-X000 | |
| R18-X000 | Changes to party contact information recorded | St.27 status event code:A-5-5-R10-R18-oth-X000 | |
| LAPS | Lapse due to unpaid annual fee | ||
| PC1903 | Unpaid annual fee | St.27 status event code:A-4-4-U10-U13-oth-PC1903 Not in force date:20090407 Payment event data comment text:Termination Category : DEFAULT_OF_REGISTRATION_FEE | |
| PC1903 | Unpaid annual fee | St.27 status event code:N-4-6-H10-H13-oth-PC1903 Ip right cessation event data comment text:Termination Category : DEFAULT_OF_REGISTRATION_FEE Not in force date:20090407 | |
| R18-X000 | Changes to party contact information recorded | St.27 status event code:A-5-5-R10-R18-oth-X000 | |
| P22-X000 | Classification modified | St.27 status event code:A-4-4-P10-P22-nap-X000 | |
| R18-X000 | Changes to party contact information recorded | St.27 status event code:A-5-5-R10-R18-oth-X000 | |
| P22-X000 | Classification modified | St.27 status event code:A-4-4-P10-P22-nap-X000 | |
| R18-X000 | Changes to party contact information recorded | St.27 status event code:A-5-5-R10-R18-oth-X000 |