















도 1은 종래 기술에 따른 유선 단말기의 네트워크 접속 토폴로지를 도시한 도면.1 is a diagram illustrating a network connection topology of a wired terminal according to the prior art.
도 2는 종래 기술에 따른 무선 단말기의 네트워크 접속 토폴로지를 도시한 도면.2 is a diagram illustrating a network connection topology of a wireless terminal according to the prior art.
도 3은 본 발명에 따른 지능형 네트워크 접속 장치를 이용하여 네트워크와연결된 단말기의 네트워크 접속 토폴로지를 도시한 도면.3 is a diagram illustrating a network connection topology of a terminal connected to a network using an intelligent network access device according to the present invention.
도 4는 본 발명의 일 실시예에 따른 지능형 네트워크 접속 장치의 내부 구성을 도시한 블록도.4 is a block diagram illustrating an internal configuration of an intelligent network access device according to an embodiment of the present invention.
도 5는 본 발명의 일 실시예에 따른 지능형 네트워크 접속 장치를 이용한 고정 IP 주소의 변환을 도시한 도면.5 is a diagram illustrating translation of a fixed IP address using an intelligent network access device according to an embodiment of the present invention.
도 6은 본 발명의 일 실시예에 따른 고정 IP 주소 관리 테이블을 도시한 도면.6 illustrates a fixed IP address management table according to an embodiment of the present invention.
도 7은 본 발명의 일 실시예에 따라 입력 패킷의 소스 IP 주소의 변환을 도시한 도면.7 is a diagram illustrating translation of a source IP address of an input packet according to an embodiment of the present invention.
도 8은 본 발명의 일 실시예에 따라 응답 패킷의 목적지 IP 주소의 변환을 도시한 도면.8 is a diagram illustrating translation of a destination IP address of a response packet according to an embodiment of the present invention.
도 9는 본 발명의 일 실시예에 따른 고정 IP 주소 관리 테이블을 도시한 도면.9 illustrates a static IP address management table according to an embodiment of the present invention.
도 10은 본 발명의 일 실시예에 따라 오버로딩(overloading)을 이용하여 고정 IP 주소를 변환하는 것을 도시한 도면.10 is a diagram illustrating translating a fixed IP address using overloading according to an embodiment of the present invention.
도 11은 본 발명의 일 실시예에 따른 고정 IP 주소 관리 테이블을 도시한 도면.11 is a diagram illustrating a fixed IP address management table according to an embodiment of the present invention.
도 12는 본 발명의 일 실시예에 따라 입력 패킷의 소스 IP 주소의 변환을 도시한 도면.12 is a diagram illustrating translation of a source IP address of an input packet according to an embodiment of the present invention.
도 13은 본 발명의 일 실시예에 따라 응답 패킷의 목적지 IP 주소의 변환을도시한 도면.13 is a diagram illustrating translation of a destination IP address of a response packet according to an embodiment of the present invention.
도 14는 본 발명의 일 실시예에 따른 지능형 네트워크 접속 장치의 내부 구성을 도시한 블록도.14 is a block diagram showing an internal configuration of an intelligent network access device according to an embodiment of the present invention.
도 15는 본 발명의 일 실시예에 따른 지능형 네트워크 접속 장치의 동작의순서를 도시한 흐름도.15 is a flowchart showing the operation procedure of the intelligent network access device according to an embodiment of the present invention.
도 16은 본 발명의 일 실시예에 따른 지능형 네트워크 접속 장치의 단말기접속 순서를 도시한 도면.16 is a diagram illustrating a terminal access procedure of an intelligent network access device according to an embodiment of the present invention.
<도면의 주요 부분에 대한 부호의 설명><Description of the symbols for the main parts of the drawings>
400:지능형 네트워크 접속 장치400: intelligent network access device
401:내부 네트워크 인터페이스401: internal network interface
402:고정 IP 주소 관리부402: static IP address management unit
403:고정 IP 주소 관리 테이블403: Static IP Address Management Table
404:DHCP 서버404: DHCP server
405:외부 네트워크 인터페이스405: external network interface
본 발명은 사용자 단말기에게 네트워크 접속을 제공하기 위한 네트워크 접속 방법 및 장치에 관한 것으로, 특히 고정 IP 주소를 가지는 사용자 단말기가 상기 고정 IP 주소를 변경하지 않고서도 네트워크 접속을 할 수 있도록 한 네트워크접속 방법 및 장치에 관한 것이다.The present invention relates to a network access method and apparatus for providing a network connection to a user terminal, and more particularly, to a network access method for allowing a user terminal having a fixed IP address to access the network without changing the fixed IP address; Relates to a device.
도 1은 종래 기술에 따른 유선 단말기의 네트워크 접속 토폴로지(topology)를 도시한 도면이다.1 is a diagram illustrating a network connection topology of a wired terminal according to the prior art.
도 1에 도시된 바와 같이, 인터넷 프로토콜(IP: Internet Protocol)에 따르면, 하나의 랜 세그먼트(LAN Segment)에 접속하는 단말기(terminal)는 모두 동일한네트워크 주소(network address)를 가진다.  이를 통해서 인터넷 상에서 라우팅(routing)이 가능하게 된다.  예를 들어, 도 1과 같은 네트워크 구성을 가지는 경우, 인터넷에 접속한 하나의 웹 서버(107)가 단말기(103)의 접속 요청에 대하여 소정의 웹 페이지를 단말기(103)에 전송하려고 하면, 목적지 IP 주소를 단말기(103)의 IP 주소인 172.32.42.12로 설정하여 패킷을 전송한다.  그러면, 상 기 패킷은 우선 네트워크 주소가 172.32.42.X인 접속 장치(102)에 전달되고, 접속 장치(102)는 이 패킷을 다시 단말기(103)에 전달한다.  만일 단말기(103)를 이동하여 접속 장치(106)에 물리적으로 연결하게 되면, 단말기(103)의 네트워크 주소가 접속 장치(106)에 연결된 다른 단말기(107)의 네트워크 주소와 다르기 때문에, 단말기(103)에 대하여 적절한 네트워크 접속 서비스를 제공할 수 없다.  즉, 단말기(103)를 목적지로 하는 소정의 패킷은 그 목적지 IP 주소 중 네트워크 주소 부분이 172.32.42.X이기 때문에, 이 패킷은 접속 장치(106)가 아닌 접속 장치(102)에 전달된다.  따라서 상기 패킷은 단말기(103)에 전달되지 않기 때문에 적절한 통신이 이루어지지 않는다.  이와 같이 고정된 IP 주소를 가지는 단말기(103)를 다른 랜에 접속하는 경우에는 상기 단말기(103)에게 새로운 IP 주소를 설정해 주어야만적절한 네트워크 접속이 이루어질 수 있다.As shown in FIG. 1, according to the Internet Protocol (IP), all terminals connecting to one LAN segment have the same network address. This enables routing on the Internet. For example, in the case of having a network configuration as shown in FIG. 1, if one
도 2는 종래 기술에 따른 무선 단말기의 네트워크 접속 토폴로지를 도시한 도면이다.2 is a diagram illustrating a network connection topology of a wireless terminal according to the prior art.
도 2에 도시된 무선 단말기는 고정 IP 주소를 갖지 않고, 네트워크에 최초로 접속할 때 DHCP 서버(203)로부터 자신의 IP 주소를 할당 받는다.  물론 무선 단말기의 경우에도 고정 IP 주소를 가질 수 있으며, 일반 데스크톱 컴퓨터의 경우에도 DHCP 서버로부터 자신의 IP 주소를 할당 받을 수 있다.  이와 같이 DHCP 서버로부터 IP 주소를 할당 받는 경우에도 동일한 랜 세그먼트에 속하는 단말기들은 모두 동일한 네트워크 주소를 가진다.The wireless terminal shown in Fig. 2 does not have a fixed IP address and is assigned its own IP address from the
최근 들어 이동 통신 기술의 발달과 더불어 PDA, 노트북 컴퓨터 등 다양한 모바일 장치(Mobile Device)의 사용이 증가하고 있다. 사용자가 이러한 모바일 장치의 IP 주소를 DHCP 서버로부터 할당 받는 것으로 설정하여 사용할 수도 있지만,많은 경우에 있어서는 이러한 모바일 장치의 IP 주소를 고정 IP 주소를 설정하여 사용한다. 예를 들어, 한 사용자가 자신의 사무실의 무선 랜 환경에서 노트북 컴퓨터에 고정 IP 주소를 설정하여 사용하다가, 이 노트북 컴퓨터를 다른 장소에서 사용하게 되는 경우가 있다. 이 때, 사용자는 상기 노트북 컴퓨터의 IP 주소를 상기 다른 장소의 네트워크 주소에 맞도록 수정하여야 한다. 따라서 모바일 장치가 고정 IP 주소를 갖는 경우, 새로운 랜 세그먼트에 접속할 때마다 IP 주소를 바꾸어주어야 하는 문제점이 있었다. 또한 실제의 경우에 있어서는 이러한 단말기의 IP 주소뿐 아니라, 단말기의 서브넷 마스크(subnet mask), 디폴트 게이트웨이 주소(default gateway address)도 수정해 주어야 하기 때문에 많은 불편함이 있었다.Recently, with the development of mobile communication technology, the use of various mobile devices such as PDAs and notebook computers is increasing. Although the user may set and use the mobile device's IP address as assigned by a DHCP server, in many cases, the mobile device's IP address is set and used. For example, a user may set a fixed IP address for a notebook computer in a wireless LAN environment of his office and then use the notebook computer in another location. At this time, the user must modify the IP address of the notebook computer to match the network address of the other place. Therefore, when the mobile device has a fixed IP address, there is a problem that the IP address should be changed every time the new LAN segment is accessed. In addition, in the actual case, it is inconvenient to modify not only the IP address of the terminal but also the subnet mask and the default gateway address of the terminal.
본 발명은 상기와 같은 문제점을 해결하기 위한 것으로, 고정 IP 주소를 갖는 단말기를 다른 랜 세그먼트에 접속하더라도 상기 고정 IP 주소, 서브넷 마스크 및 디폴트 게이트웨이를 변경하지 않고서도 네트워크에 접속할 수 있도록 하는 방법 및 장치를 제공하는 것을 목적으로 한다.SUMMARY OF THE INVENTION The present invention has been made to solve the above problems, and a method and apparatus for allowing a terminal having a fixed IP address to be connected to another LAN segment without changing the fixed IP address, subnet mask, and default gateway. The purpose is to provide.
본 발명의 또 다른 목적은 하나의 랜 세그먼트 내의 단말기들이 서로 다른 네트워크 주소를 가지더라도, 상기 단말기들에게 네트워크 접속을 제공하는 방법 및 지능형 네트워크 접속 장치를 제공하는 것이다.Still another object of the present invention is to provide a method for providing a network connection to the terminals and an intelligent network access device even if the terminals in one LAN segment have different network addresses.
상기의 목적을 이루고 종래 기술의 문제점을 해결하기 위하여, 본 발명은 MAC의 프로미스큐어스 모드를 설정하여 고정 IP 주소를 가지는 사용자 단말기로부터의 입력 패킷을 수신하는 단계, 상기 입력 패킷의 소스 IP 주소로부터 상기 사용자 단말기가 고정 IP 주소를 가지는지 여부를 판단하여 상기 사용자 단말기가 고정 IP 주소를 가지는 경우 상기 입력 패킷의 소스 IP 주소와 목적지 IP 주소를 저장하는 단계 - 상기 소스 IP 주소는 상기 고정 IP 주소와 일치함 -, 상기 입력 패킷의 소스 IP 주소에 대응하여 외부용 소스 IP 주소를 생성하여 저장하는 단계 및 상기 입력 패킷의 소스 IP 주소를 상기 외부용 소스 IP 주소로 대체하여 상기 입력 패킷을 외부 네트워크로 전송하는 단계를 포함하는 네트워크 접속 제공 방법을 제공한다.In order to achieve the above object and solve the problems of the prior art, the present invention is to set the promiscuous mode of the MAC to receive an input packet from the user terminal having a fixed IP address, the source IP address of the input packet Determining whether the user terminal has a fixed IP address from the terminal and storing the source IP address and the destination IP address of the input packet when the user terminal has the fixed IP address, wherein the source IP address is the fixed IP address. And generating and storing an external source IP address corresponding to the source IP address of the input packet and replacing the source IP address of the input packet with the external source IP address to replace the input packet with an external network. It provides a network connection providing method comprising the step of transmitting to.
또한, 상기 네트워크 접속 제공 방법은 상기 응답 패킷의 목적지 IP 주소에 대응하는 상기 입력 패킷의 소스 IP 주소를 확인하는 단계, 및 상기 응답 패킷의 목적지 IP 주소를 상기 입력 패킷의 소스 IP 주소로 대체하는 단계, 및 상기 입력 패킷의 소스 IP 주소를 가진 상기 사용자 단말기에게 상기 응답 패킷을 전송하는 단계를 더 포함하여, 상기 입력 패킷에 응답하여 네트워크로부터 수신된 응답 패킷을 상기 사용자 단말기에 전송한다.The network connection providing method may further include: verifying a source IP address of the input packet corresponding to a destination IP address of the response packet, and replacing a destination IP address of the response packet with a source IP address of the input packet. And sending the response packet to the user terminal having the source IP address of the input packet, sending a response packet received from the network in response to the input packet.
본 발명의 일 측면에 따른 네트워크 접속 제공 방법은, MAC의 프로미스큐어스 모드를 설정하여 고정 IP 주소를 가지는 사용자 단말기로부터의 입력 패킷을 수신하는 단계, 상기 입력 패킷의 소스 IP 주소로부터 상기 사용자 단말기가 고정 IP 주소를 가지는지 여부를 판단하여 상기 사용자 단말기가 고정 IP 주소를 가지는 경우 상기 입력 패킷의 소스 IP 주소, 소스 포트 번호 및 목적지 IP 주소를 저장하는 단계 - 상기 소스 IP 주소는 상기 고정 IP 주소와 일치함 -, 상기 입력 패킷의 소스 IP 주소에 대응하여 외부용 소스 IP 주소를 생성하여 저장하는 단계, 상기 입력 패킷의 소스 포트 번호에 대응하여 외부용 소스 포트 번호를 생성하여 저장하는 단계 및 상기 입력 패킷의 소스 IP 주소를 상기 외부용 소스 IP 주소로 대체하고, 상기 입력 패킷의 소스 포트 번호를 상기 외부용 소스 포트 번호로 대체하여 상기 입력 패킷을 외부 네트워크로 전송하는 단계를 포함한다.In accordance with an aspect of the present invention, there is provided a method for providing a network connection, comprising: setting a promiscuous mode of a MAC to receive an input packet from a user terminal having a fixed IP address, from the source IP address of the input packet; Storing a source IP address, a source port number and a destination IP address of the input packet when the user terminal has a fixed IP address, wherein the source IP address is the fixed IP address. And generating and storing an external source IP address corresponding to the source IP address of the input packet, generating and storing an external source port number corresponding to the source port number of the input packet. Replace the source IP address of the input packet with the external source IP address and replace the source port number of the input packet. By replacing the external source port number and a step for sending the input packet to an external network.
또한, 상기 네트워크 접속 방법은 상기 응답 패킷의 목적지 IP 주소에 대응하는 상기 입력 패킷의 소스 IP 주소를 확인하는 단계, 상기 응답 패킷의 목적지 IP 주소를 상기 입력 패킷의 소스 IP 주소로 대체하는 단계, 상기 응답 패킷의 목적지 포트 번호를 상기 입력 패킷의 소스 포트 번호로 대체하는 단계, 및 상기 입력 패킷의 소스 IP 주소를 가진 상기 사용자 단말기에게 상기 응답 패킷을 전송하는 단계를 더 포함하여, 상기 입력 패킷에 응답하여 네트워크로부터 수신된 응답 패킷을 상기 사용자 단말기에 전송한다.The network access method may further include identifying a source IP address of the input packet corresponding to a destination IP address of the response packet, replacing the destination IP address of the response packet with a source IP address of the input packet, Replacing the destination port number of the response packet with the source port number of the input packet, and sending the response packet to the user terminal having the source IP address of the input packet. To transmit the response packet received from the network to the user terminal.
본 발명의 일 측면에 따르면, MAC의 프로미스큐어스 모드를 설정하여 고정 IP 주소를 가지는 사용자 단말기로부터의 입력 패킷을 수신하는 수신부, 상기 입력 패킷의 소스 IP 주소로부터 상기 사용자 단말기가 고정 IP 주소를 가지는지 여부를 판단하여 상기 사용자 단말기가 고정 IP 주소를 가지는 경우 상기 입력 패킷의 소스 IP 주소에 대응하여 외부용 소스 IP 주소를 생성하는 고정 IP 주소 관리부 - 상기 소스 IP 주소는 상기 고정 IP 주소와 일치함 - 및 상기 입력 패킷의 소스 IP 주소 및 상기 외부용 소스 IP 주소를 저장하는 고정 IP 주소 관리 테이블을 포함하는 네트워크 접속 장치가 제공된다.According to an aspect of the present invention, a receiving unit for receiving an input packet from a user terminal having a fixed IP address by setting a promiscuous mode of a MAC, and the user terminal receives a fixed IP address from a source IP address of the input packet. A fixed IP address management unit for generating an external source IP address corresponding to the source IP address of the input packet when the user terminal has a fixed IP address, the source IP address being identical to the fixed IP address And a fixed IP address management table for storing the source IP address of the input packet and the external source IP address.
또한, 본 발명의 일 측면에 따르는 네트워크 접속 장치는, MAC의 프로미스큐어스 모드를 설정하여 고정 IP 주소를 가지는 사용자 단말기로부터의 입력 패킷을 수신하는 수신부, 상기 입력 패킷의 소스 IP 주소로부터 상기 사용자 단말기가 고정 IP 주소를 가지는지 여부를 판단하여 상기 사용자 단말기가 고정 IP 주소를 가지는 경우 상기 입력 패킷의 소스 IP 주소에 대응하여 외부용 소스 IP 주소를 생성하고, 상기 입력 패킷의 소스 포트 번호에 대응하여 외부용 소스 포트 번호를 생성하는 고정 IP 주소 관리부 및 상기 사용자 단말기가 고정 IP 주소를 가지는 경우 상기 입력 패킷의 소스 IP 주소, 상기 입력 패킷의 소스 포트 번호, 상기 외부용 소스 IP 주소 및 상기 외부용 소스 포트 번호를 저장하는 고정 IP 주소 관리 테이블을 포함한다.In addition, the network connection device according to an aspect of the present invention, the receiving unit for receiving the input packet from the user terminal having a fixed IP address by setting the promiscuous mode of the MAC, the user from the source IP address of the input packet It is determined whether the terminal has a fixed IP address, and when the user terminal has a fixed IP address, an external source IP address is generated corresponding to the source IP address of the input packet, and corresponds to the source port number of the input packet. A fixed IP address management unit for generating an external source port number and the source IP address of the input packet, the source port number of the input packet, the external source IP address, and the external device when the user terminal has a fixed IP address Includes a static IP address management table that stores source port numbers.
이하에서는 첨부된 도면을 참조하여 본 발명의 실시예를 상세히 설명한다.Hereinafter, with reference to the accompanying drawings will be described an embodiment of the present invention;
도 3은 본 발명에 따른 지능형 네트워크 접속 장치를 이용하여 네트워크와연결된 단말기의 네트워크 접속 토폴로지를 도시한 도면이다.3 is a diagram illustrating a network connection topology of a terminal connected to a network using an intelligent network access device according to the present invention.
본 발명에 따르면, 도 3에 도시된 바와 같이 하나의 랜 세그먼트 내에 서로다른 네트워크 주소를 가지는 단말기 모두에 대하여 네트워크 접속 서비스를 제공할 수 있다.  예를 들어 고정 IP 주소 12.10.4.6을 가진 노트북 컴퓨터(306)를 네트워크 주소가 192.168.X.X인 지능형 접속 장치(302)에 접속시키는 경우에도 본 발명에 따른 지능형 접속 장치(302)는 노트북 컴퓨터(306)에 적절한 네트워크 접속 서비스를 제공한다.  즉, 본 발명에 따르면 사용자가 네트워크 주소가 다른 랜 세그먼트에서도 고정 IP 주소를 가진 모바일 단말기의 IP 주소를 변경하지 않고도 사용할 수 있다.According to the present invention, as shown in FIG. 3, a network access service can be provided for all terminals having different network addresses in one LAN segment. For example, even when the notebook computer 306 having the static IP address 12.10.4.6 is connected to the
도 4는 본 발명의 일 실시예에 따른 지능형 네트워크 접속 장치의 내부 구성을 도시한 블록도이다.4 is a block diagram illustrating an internal configuration of an intelligent network access device according to an embodiment of the present invention.
본 발명에 따른 지능형 네트워크 접속 장치(400)는 크게 내부 네트워크 인터페이스(401), 고정 IP 주소 관리부(402), 고정 IP 주소 관리 테이블(403), DHCP서버(404) 및 외부 네트워크 인터페이스(405)를 포함한다.The intelligent
내부 네트워크 인터페이스(Internal Network Interface)(401)는 네트워크 접속 장치(400)를 사용자 단말기와 연결하기 위한 인터페이스이고, 외부 네트워크 인터페이스(External Network Interface)(405)는 네트워크 접속 장치(400)를 외부 의 망(network)과 연결하기 위한 인터페이스이다.The
고정 IP 주소 관리부(402)는 MAC(Media Access Control)의 프로미스큐어스 모드(Promiscuous Mode)를 설정하여 사용자 단말기로부터 입력되는 모든 입력 패킷을 수신한다.  MAC은 OSI 참조 기본 계층 모델에서 데이터 링크 계층의 일부이다. MAC은 자신에게 입력되는 입력 패킷 중 목적지 주소가 자신이 아닌 경우에는 드롭(drop)하고, 목적지 주소가 자신의 주소와 일치하는 경우에는 상위 프로토콜 계층으로 전달한다.  그러나, MAC의 프로미스큐어스 모드를 설정하면 MAC은 자신에게 입력되는 입력 패킷 모두를 상위 프로토콜 계층으로 전달한다.  즉, 프로미스큐어스 모드(Promiscuous Mode)를 설정하면 각 스테이션은 목적지 주소(Destination Address)에 상관없이 모든 종류의 프레임(frame)을 수신한다.The fixed
고정 IP 주소 관리부(402)는 이와 같이 MAC의 프로미스큐어스 모드를 설정하여 사용자 단말기로부터 입력되는 모든 입력 패킷을 수신하여, 상기 입력 패킷의 소스 IP 주소 및 목적지 IP 주소를 고정 IP 주소 관리 테이블(403)에 저장한다.  또한 상기 소스 IP 주소에 대응하여 소정의 외부용 소스 IP 주소를 생성하여 고정 IP 주소 관리 테이블(403)에 저장한다.The fixed IP
고정 IP 주소 관리부(402)는 또한 입력 패킷의 소스 IP 주소를 상기 생성된 외부용 소스 IP 주소로 대체하여, 이를 외부 네트워크 인터페이스(405)로 전달하여외부 네트워크로 전송되도록 한다.The fixed IP
또한 고정 IP 주소 관리부(402)는 외부 네트워크 인터페이스(405)로부터 상기 입력 패킷에 대한 응답 패킷이 수신되면, 상기 응답 패킷의 소스 IP 주소 및 목 적지 IP 주소를 추출하고 고정 IP 주소 관리 테이블(403)을 참조하여 상기 응답 패킷을 어떤 단말기에 전달해야 할 지를 결정한다.  즉, 응답 패킷의 목적지 IP 주소에 대응하는 입력 패킷의 소스 IP 주소를 확인하고, 상기 응답 패킷의 목적지 IP 주소를 상기 입력 패킷의 소스 IP 주소로 대체하여, 이 응답 패킷을 상기 입력 패킷의 소스 IP 주소를 가진 사용자 단말기에 전송한다.The fixed IP
고정 IP 주소 관리 테이블(403)은 고정 IP 주소를 관리하기 위한 테이블로서, 도 6, 도 9, 및 도 11을 참조하여 나중에 자세히 설명한다.The fixed IP address management table 403 is a table for managing fixed IP addresses, which will be described later in detail with reference to FIGS. 6, 9, and 11.
DHCP 서버(404)는 DHCP(Dynamic Host Configuration Protocol)에 따라 사용자 단말기에 동적으로 IP 주소를 할당한다.  이 DHCP 서버(404)를 통하여, 지능형 네트워크 접속 장치(400)는 DHCP를 이용하여 IP 주소를 할당 받도록 설정된 사용자 단말기에게 IP 주소를 할당하고, 상기 사용자 단말기는 이 할당된 IP 주소를 자신의 IP 주소로 설정하여 네트워크에 접속한다.The
이하에서는 도 5, 도 6, 도 7, 및 도 8을 참조하여, 고정 IP 주소를 가지는 단말기에게 고정 IP 주소를 변경하지 않고서도 네트워크 접속을 제공하는 방법을 설명한다.Hereinafter, a method of providing a network connection to a terminal having a fixed IP address without changing the fixed IP address will be described with reference to FIGS. 5, 6, 7, and 8.
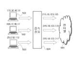
도 5는 본 발명의 일 실시예에 따른 지능형 네트워크 접속 장치를 이용한 고정 IP 주소의 변환을 도시한 도면이다.  도 5에 도시된 바와 같이 네트워크 접속장치(504)에는 서로 다른 네트워크 주소를 가지는 단말기들(501, 502, 503)이 접속되어 있다.  고정 IP 주소 172.32.42.12를 가지는 단말기(501)가 IP 주소 32.18.13.12를 가지는 웹 서버에 접속을 시도한다.  그러면 단말기(501)는 도 7에  도시된 패킷(701)을 생성하여 네트워크 접속 장치(504)에 전달한다.5 is a diagram illustrating translation of a fixed IP address using an intelligent network access device according to an embodiment of the present invention. As shown in FIG. 5,
네트워크 접속 장치(504)는 MAC의 프로미스큐어스 모드를 설정하여 사용자 단말기로부터의 모든 입력을 수신하기 때문에, 단말기(501)로부터의 입력 패킷(701)도 네트워크 접속 장치(504)에 의하여 수신된다.  네트워크 접속 장치(504)는 수신된 입력 패킷(701)을 분석하여 소스 IP 주소 및 목적지 IP 주소를 고정 IP 주소 관리 테이블(600)에 저장한다.  도 6에 도시된 고정 IP 주소 관리 테이블(600)을 참조하면, 첫번째 행에 상기 입력 패킷(701)의 소스 IP 주소 및 목적지 IP 주소가 저장된다.Since the
네트워크 접속 장치(504)는 상기 소스 IP 주소(172.32.42.12)에 대응하는 외부용 소스 IP 주소를 생성한다.  이러한 외부용 소스 IP 주소는 접속 장치(504)가 확보하고 있는 IP 주소 풀(IP address pool) 중에서 선택될 수 있다.  도 6에 도시된 바와 같이, 본 실시예에서는 상기 소스 IP 주소(172.32.42.12)에 대응하는 외부용 소스 IP 주소로 215.18.123.115가 생성되어, 고정 IP 주소 관리 테이블(600)에 저장된다.The
그 다음, 네트워크 접속 장치(504)는, 도 7에 도시된 바와 같이, 입력 패킷(701)의 소스 IP 주소(172.32.42.12)를 외부용 소스 IP 주소(215.18.123.115로 대체한다.  그 다음, 네트워크 접속 장치(504)는, 도 5에 도시된 바와 같이, 상기 수정된 입력 패킷(702)을 외부 네트워크로 전송한다.Then, the
도 8은 본 발명의 일 실시예에 따라 응답 패킷의 목적지 IP 주소의 변환을도시한 도면이다.8 is a diagram illustrating translation of a destination IP address of a response packet according to an embodiment of the present invention.
상기 입력 패킷(702)은 인터넷을 통해 목적지 IP 주소인 32.18.13.12를 IP 주소로 갖는 웹 서버에 도착한다.  웹 서버는 상기 입력 패킷(702)을 분석하여 소정의 작업을 수행한 후 그 응답을 상기 입력 패킷(702) 상의 소스 IP 주소인 215.18.123.115로 송신한다.  예를 들어 사용자가 소정의 웹 페이지에 접속하는 요청을 한 경우, 상기 웹 서버는 해당하는 웹 페이지에 대한 정보를 담은 패킷을 생성하여 215.18.123.115로 전송한다.  즉 도 8에 도시된 바와 같이, 웹 서버는 소스 IP 주소는 32.18.13.12, 목적지 IP 주소는 215.18.123.115인 응답 패킷(801)을 생성하여 접속 장치(504)에 전송한다.The
상기 응답 패킷(801)을 수신하면, 네트워크 접속 장치(504)는 상기 응답 패킷(801)으로부터 목적지 IP 주소를 확인한다.  도 8에서 응답 패킷(801)의 목적지 IP 주소는 215.18.123.115이다.  네트워크 접속 장치(504)는 고정 IP 주소 관리 테이블(600)을 참조하여, 이에 대응하는 입력 패킷의 소스 IP 주소를 확인한다.  도 6에서 외부용 소스 IP 주소 215.18.123.115에 대응하는 입력 패킷의 소스 IP 주소는 172.32.42.12이다.  그 다음, 네트워크 접속 장치(504)는 응답 패킷(801)의 목적지 IP 주소를 상기 입력 패킷의 소스 IP 주소인 172.32.42.12로 대체하여 수정된 응답 패킷(802)을 생성한다.  네트워크 접속 장치(504)는 상기 입력 패킷의 소스 IP 주소인 172.32.42.12를 자신의 IP 주소로 가지는 사용자 단말기(501)에게 수정된 응답 패킷(802)을 전송한다.  그러면 사용자 단말기(501)는 응답 패킷(802)을 수신한다.Upon receiving the
도 9는 본 발명의 일 실시예에 따른 고정 IP 주소 관리 테이블을 도시한 도 면이다.9 is a diagram illustrating a fixed IP address management table according to an embodiment of the present invention.
도 9에 도시된 고정 IP 주소 관리 테이블(900)은 도 6에 도시된 고정 IP 주소 관리 테이블에서 내부 관리용 소스 IP 주소 필드가 추가되어 있다. 종래 기술에 따르는 네트워크 주소 변환기(NAT: Network Address Translator)는 내부 네트워크의 단말기의 IP 주소를 외부 네트워크에 전달할 때 외부용 IP 주소로 변환한다. 따라서, 본 발명을 구현함에 있어서, 종래 기술에 따르는 네트워크 주소 변환기를이용하면, 고정 IP 주소를 지원하기 위한 소스 IP 주소 필드만 추가되면 되기 때문에 구현이 매우 용이하다. 즉, 종래 기술에 따른 네트워크 주소 변환기는 내부 관리용 소스 IP 주소, 목적지 IP 주소 및 외부용 소스 IP 주소를 주소 변환 테이블(address translation table)로 관리하여 패킷의 IP 주소를 변환(translation)한다. 따라서, 고정 IP 주소를 지원하기 위하여 주소 변환 테이블에 소스 IP 주소 필드만을 추가하고, 종래의 네트워크 주소 변환기의 기능을 일부 수정함으로써 본 발명에 따르는 지능형 네트워크 접속 장치를 구현할 수 있다.In the static IP address management table 900 shown in FIG. 9, an internal management source IP address field is added to the static IP address management table shown in FIG. 6. The network address translator (NAT) according to the prior art converts an IP address of a terminal of an internal network into an external IP address when passing it to an external network. Therefore, in implementing the present invention, using the network address translator according to the prior art, it is very easy to implement because only the source IP address field to support a fixed IP address need to be added. That is, the conventional network address translator manages an internal management source IP address, a destination IP address, and an external source IP address by using an address translation table to translate the IP address of the packet. Therefore, the intelligent network access device according to the present invention can be implemented by adding only a source IP address field to the address translation table to support a fixed IP address, and modifying a function of a conventional network address translator.
이하에서는 도 10, 도 11, 도 12, 및 도 13를 참조하여, 본 발명의 또 다른 실시예에 따라 고정 IP 주소를 가지는 단말기에게 고정 IP 주소를 변경하지 않고서도 네트워크 접속을 제공하는 방법을 설명한다.Hereinafter, referring to FIGS. 10, 11, 12, and 13, a method of providing a network connection to a terminal having a fixed IP address without changing the fixed IP address according to another embodiment of the present invention will be described. do.
도 10은 본 발명의 일 실시예에 따라 오버로딩(overloading)을 이용하여 고정 IP 주소를 변환하는 것을 도시한 도면이다.  도 10에 도시된 바와 같이 네트워크 접속 장치(1004)에는 서로 다른 네트워크 주소를 가지는 단말기들(1001, 1002, 1003)이 접속되어 있다.  고정 IP 주소 172.32.42.12를 가지는 단말기(1001)가 IP 주소 32.18.13.12를 가지는 웹 서버에 접속을 시도한다.  그러면 단말기(1001)는 도 12에 도시된 패킷(1201)을 생성하여 네트워크 접속 장치(1004)에 전달한다.FIG. 10 is a diagram illustrating translation of a fixed IP address using overloading according to an embodiment of the present invention. As illustrated in FIG. 10,
네트워크 접속 장치(1004)는 MAC의 프로미스큐어스 모드를 설정하여 사용자 단말기로부터의 모든 입력을 수신하기 때문에, 단말기(1001)로부터의 입력 패킷(1201)도 네트워크 접속 장치(1004)에 의하여 수신된다.  네트워크 접속 장치(1004)는 수신된 입력 패킷(1201)을 분석하여 소스 IP 주소, 소스 포트 번호 및 목적지 IP 주소를 고정 IP 주소 관리 테이블(1100)에 저장한다.  도 11에 도시된 고정 IP 주소 관리 테이블(1100)을 참조하면, 첫번째 행에 상기 입력 패킷(1201)의 소스 IP 주소, 소스 포트 번호 및 목적지 IP 주소가 저장된다.Since the
네트워크 접속 장치(1004)는 상기 소스 IP 주소(172.32.42.12)에 대응하는 외부용 소스 IP 주소(15.18.23.15)를 생성한다.  또한 소스 포트 번호 10에 대응하는 외부용 소스 포트 번호 20를 생성한다.  상기 생성된 외부용 소스 IP 주소 및 외부용 소스 포트 번호는 고정 IP 주소 관리 테이블(1100)에 저장된다.The
그 다음, 네트워크 접속 장치(1004)는, 도 12에 도시된 바와 같이, 입력 패킷(1201)의 소스 IP 주소 및 소스 포트 번호를 외부용 소스 IP 주소 및 외부용 소스 포트 번호로 대체하여 수정된 입력 패킷(1202)을 생성하고, 이를 외부 네트워크로 전송한다.Then, the
상기 입력 패킷(1202)이 목적지(destination)에 도착하면 목적지는 입력 패킷(1202)에 대한 응답 패킷(1301)을 생성한다.  도 13은 접속 장치(1004)에 의한 이러한 응답 패킷의 변환을 도시한다.  네트워크 접속 장치(1004)가 응답  패킷(1301)을 수신하면, 네트워크 접속 장치(1004)는 응답 패킷(1301)의 목적지 IP 주소 및 목적지 포트 번호를 고정 IP 주소 관리 테이블(1100)을 참조하여 수정한다.When the
도 11에서 외부용 소스 IP 주소 15.18.23.15에 대응하는 입력 패킷의 소스 IP 주소는 172.32.42.12이다.  그 다음, 네트워크 접속 장치(1004)는 응답 패킷(1301)의 목적지 IP 주소를 외부용 소스 IP 주소 15.18.23.15에 대응하는 소스 IP 주소인 172.32.42.12로 대체하고, 목적지 포트 번호를 외부용 소스 포트 번호 20에 대응하는 소스 포트 번호인 10으로 대체하여 수정된 응답 패킷(1302)을 생성한다.  그 다음 네트워크 접속 장치(1004)는 상기 입력 패킷의 소스 IP 주소인 172.32.42.12를 자신의 IP 주소로 가지는 사용자 단말기(1001)에게 수정된 응답 패킷(1302)을 전송한다.  그러면 사용자 단말기(1001)는 응답 패킷(1302)을 수신한다.In FIG. 11, the source IP address of the input packet corresponding to the external source IP address 15.18.23.15 is 172.32.42.12. The
도 11에 도시된 고정 IP 주소 관리 테이블(1100)의 경우에도 도 9에 도시된 고정 IP 주소 관리 테이블(900)과 같이 내부 관리용 소스 IP 주소 필드를 더 포함할 수 있다. 또한, 첨부된 도면에서 고정 IP 주소 관리 테이블들이 하나의 테이블로 도시되었지만, 본 발명의 또 다른 실시예에 따르면 고정 IP 주소 관리 테이블을 일부 필드만을 포함하는 여러 개의 테이블로 관리할 수도 있다. 또한 본 발명에 따른 고정 IP 주소 관리 테이블들은 필요에 따라 소스 MAC 주소 또는 소스 이더넷주소를 더 포함할 수 있다.In the case of the fixed IP address management table 1100 illustrated in FIG. 11, the source IP address field for internal management may be further included as in the fixed IP address management table 900 illustrated in FIG. 9. In addition, although the fixed IP address management tables are shown as one table in the accompanying drawings, according to another embodiment of the present invention, the fixed IP address management table may be managed as several tables including only some fields. In addition, the fixed IP address management tables according to the present invention may further include a source MAC address or a source Ethernet address as necessary.
도 14는 본 발명의 일 실시예에 따른 지능형 네트워크 접속 장치의 내부 구 성을 도시한 블록도이다.14 is a block diagram illustrating an internal configuration of an intelligent network access device according to an embodiment of the present invention.
본 발명에 일 실시예에 따른 지능형 네트워크 접속 장치(1400)는 크게 내부네트워크 인터페이스(1401), 외부 네트워크 인터페이스(1402), 및 지능형 접속 제어부(1408)를 포함한다.The intelligent
지능형 접속 제어부(1408)는 고정 IP 주소 관리부(1403), DHCP/PPPoE부(1404), 인증 모듈(1405), 서비스 별 처리부(1406), 패킷 포워딩/리다이렉팅부(1407)를 포함한다.  고정 IP 주소 관리부(1403)에 관하여는 앞에서 상세히 설명하였다.The intelligent access controller 1408 includes a fixed IP address manager 1403, a DHCP /
DHCP/PPPoE부(1404)는 DHCP(Dynamic Host Configuration Protocol) 또는 BOOTP(BOOTstrap Protocol) 클라이언트를 사용하는 사용자 단말기에게 DHCP 또는 BOOTP 프로토콜에 따라 IP 주소를 할당하고, 사용자 단말기에게 PPPoE(Point to Point Protocol over Ethernet) 서비스를 제공한다.The DHCP /
인증 모듈(1405)은 사용자 인증에 관한 기능을 수행하고, 인증이 되지 않은 경우 사용자 단말기의 접속을 차단한다.  서비스 별 처리부(1406)는 사용자가 요청하는 서비스의 종류에 따라 차별화된 서비스를 제공한다.  패킷 포워딩/리다이렉팅부(1407)는 입력 패킷을 포워딩(forwarding)하거나 소정의 서버로 리다이렉팅(redirecting)한다.The authentication module 1405 performs a function related to user authentication and, if not authenticated, blocks the access of the user terminal. The service processor 1406 provides a differentiated service according to the type of service requested by the user. The packet forwarding / redirecting
도 15는 본 발명의 일 실시예에 따른 지능형 네트워크 접속 장치의 동작의순서를 도시한 흐름도이다.15 is a flowchart illustrating an operation procedure of an intelligent network access device according to an embodiment of the present invention.
먼저 단계(1501)에서 가입자(subscriber)가 본 발명에 따른 네트워크 접속 장치를 통하여 네트워크 접속을 시도한다.  단계(1502)에서 가입자 단말기가 고정 IP 주소를 가지고 있지 않으면, DHCP/PPPoE부(1404)를 통하여 가입자 단말기에게 로컬 IP 주소를 할당한다.  수신된 입력 패킷의 소스 IP 주소로부터 가입자 단말기가 고정 IP 주소를 가지는지 여부를 판단(상기 할당된 로컬 IP 주소가 아닌 경우)하여 가입자 단말기가 고정 IP 주소를 가지는 경우에는 관리용 로컬 IP 주소를 할당한다.  단계(1503)에서 인증 모듈(1405)은 가입자를 인증한다.  가입자 인증이 실패하면, 단계(1505)에서 입력 패킷을 드롭(drop)한다.  가입자 인증이 성공하면 단계(1504)에서 가입자 단말기는 디폴트 웹 서버에 접속된다.  사용자가 디폴트 웹 서버에 접속을 시도하지 않는 경우에도, 패킷 포워딩/리다이렉팅부(1407)는 사용자의 요청 패킷을 디폴트 웹 서버로 리다이렉팅한다.  단계(1506)에서 사용자는 가입자 서비스를 선택하면, 단계(1507)에서 지능형 네트워크 접속 장치는 서비스 별 패킷 필터링을 수행한다.  가입자 서비스의 종류는 단말기의 종류 및 가입 종류에 따라 달라지며, 각 제공 서비스의 내용은 단말기의 종류 및 허용 성능에 맞추어 제공된다.  단계(1508)에서 사용자가 서비스를 이용하고 종료하면, 그에 따라 단계(1509)에서 과금을 수행한다.First, in
도 16은 본 발명의 일 실시예에 따른 지능형 네트워크 접속 장치의 단말기 접속 순서를 도시한 도면이다.16 is a diagram illustrating a terminal connection order of an intelligent network access device according to an embodiment of the present invention.
개인 정보 단말기(PDA: Personal Digital Assistant)(1603)가 지능형 무선 액세스 포인트 장치(Intelligent Wireless Access Point Device)(1602)에 접속을 요구한다(1604).  그러면, 지능형 무선 액세스 포인트 장치(1602)는 IP 주소 관리 테이블을 생성하고, 개인 정보 단말기(1603)의 접속 요청을 디폴트 웹 서버로 리다이렉팅한다(1605).  개인 정보 단말기(1603)는 사용자 인증에 관한 정보를  입력(1606)하여 서버에 인증을 요구한다(1607).  이 과정에서 사용자가 직접 인증에 필요한 정보를 입력할 수도 있고, 또는 단말기의 클라이언트 소프트웨어가 필요한 정보(예를 들어, 가입자의 ID 번호, 단말기의 종류)를 제공하여 가입자 인증을할 수 있다.  또한, 이 때에 지능형 무선 액세스 포인트 장치(1602)의 고유 번호도 함께 인증 서버에 전송할 수 있다.  서버에서 사용자 인증이 이루어지면, 사용자에대한 서비스가 허용된다(1608).  사용자는 인터넷에 접속 요구(1609)를 하고, IP 주소 관리 테이블을 이용하여 사용자로부터의 입력 패킷을 패킷 포워딩(forwarding)하면서(1611), 사용자는 인터넷에 접속(1610)하여 필요한 서비스를 이용한다.A Personal Digital Assistant (PDA) 1603 requests a connection to an Intelligent Wireless Access Point Device 1602 (1604). The intelligent wireless
본 발명에 따르면, 고정 IP 주소를 갖는 단말기를 다른 랜 세그먼트에 접속하더라도 상기 고정 IP 주소, 서브넷 마스크 및 디폴트 게이트웨이를 변경하지 않고서도 네트워크에 접속할 수 있도록 하는 방법 및 장치가 제공된다.According to the present invention, a method and apparatus are provided so that a terminal having a fixed IP address can be connected to another LAN segment without changing the fixed IP address, subnet mask, and default gateway.
또한 본 발명에 따르면, 하나의 랜 세그먼트 내의 단말기들이 서로 다른 네트워크 주소를 가지더라도, 상기 단말기들에게 네트워크 접속을 제공하는 방법 및 지능형 네트워크 접속 장치가 제공된다.According to the present invention, even if the terminals in one LAN segment have different network addresses, a method and an intelligent network access device for providing network access to the terminals are provided.
또한 본 발명에 따르면, 고정 IP 주소를 사용하는 단말기의 접속을 허용하고, 패킷 포워딩 기능을 제공하며, DHCP 또는 BOOTP 클라이언트를 사용하는 단말기에게도 IP 번호를 부여하고 접속을 허용함으로써, 어떠한 클라이언트에게도 용이하게 네트워크 접속을 제공할 수 있다.In addition, according to the present invention, by allowing the connection of the terminal using a fixed IP address, providing a packet forwarding function, by assigning an IP number to the terminal using a DHCP or BOOTP client and allowing the connection, any client can easily It can provide network access.
이상과 같이 본 발명은 비록 한정된 실시예와 도면에 의해 설명되었으나, 본 발명은 상기의 실시예에 한정되는 것은 아니며, 이는 본 발명이 속하는 분야에서 통상의 지식을 가진 자라면 이러한 기재로부터 다양한 수정 및 변형이 가능하다. 따라서, 본 발명 사상은 아래에 기재된 특허청구범위에 의해서만 파악되어야 하고, 이의 균등 또는 등가적 변형 모두는 본 발명 사상의 범주에 속한다고 할 것이다. 예를 들어, 본 발명의 실시예들은 주로 모바일 장치에 관하여 설명되었으나, 데스크톱 컴퓨터 등 모바일 장치가 아닌 경우에도 모두 적용 가능하다.As described above, the present invention has been described by way of limited embodiments and drawings, but the present invention is not limited to the above-described embodiments, which can be variously modified and modified by those skilled in the art to which the present invention pertains. Modifications are possible. Accordingly, the spirit of the present invention should be understood only by the claims set forth below, and all equivalent or equivalent modifications thereof will belong to the scope of the present invention. For example, although the embodiments of the present invention have been described mainly with respect to a mobile device, the present invention is applicable to all cases of non-mobile devices such as desktop computers.
| Application Number | Priority Date | Filing Date | Title | 
|---|---|---|---|
| KR1020020064499AKR100566837B1 (en) | 2002-10-22 | 2002-10-22 | Intelligent network access device and network access method | 
| Application Number | Priority Date | Filing Date | Title | 
|---|---|---|---|
| KR1020020064499AKR100566837B1 (en) | 2002-10-22 | 2002-10-22 | Intelligent network access device and network access method | 
| Publication Number | Publication Date | 
|---|---|
| KR20020090961A KR20020090961A (en) | 2002-12-05 | 
| KR100566837B1true KR100566837B1 (en) | 2006-04-03 | 
| Application Number | Title | Priority Date | Filing Date | 
|---|---|---|---|
| KR1020020064499AExpired - Fee RelatedKR100566837B1 (en) | 2002-10-22 | 2002-10-22 | Intelligent network access device and network access method | 
| Country | Link | 
|---|---|
| KR (1) | KR100566837B1 (en) | 
| Publication number | Priority date | Publication date | Assignee | Title | 
|---|---|---|---|---|
| KR100462891B1 (en)* | 2002-11-26 | 2004-12-17 | 삼성전자주식회사 | method of processing for packet signal using fixed IP address and access point thereof | 
| US8000284B2 (en) | 2003-07-15 | 2011-08-16 | Qualcomm Incorporated | Cooperative autonomous and scheduled resource allocation for a distributed communication system | 
| US7933235B2 (en) | 2003-07-15 | 2011-04-26 | Qualcomm Incorporated | Multiflow reverse link MAC for a communications system | 
| KR200449586Y1 (en)* | 2009-08-11 | 2010-07-22 | 이종근 | Seafood Carry Box | 
| CN103581107B (en) | 2012-07-19 | 2017-05-10 | 国基电子(上海)有限公司 | Server and working mode setting method thereof | 
| KR102643981B1 (en)* | 2021-12-31 | 2024-03-07 | (주)포스코이앤씨 | Security-enhanced Smart Hub Device and Smart Home Network System Including the same | 
| Publication number | Priority date | Publication date | Assignee | Title | 
|---|---|---|---|---|
| KR100186929B1 (en)* | 1993-07-28 | 1999-05-15 | 마크 마이클 | Network station with multiple network addresses | 
| KR100268661B1 (en)* | 1998-02-06 | 2000-10-16 | Plus Technologeis Co Ltd | A method for interception from connecting to a hazardous site on on-lines | 
| US6243379B1 (en)* | 1997-04-04 | 2001-06-05 | Ramp Networks, Inc. | Connection and packet level multiplexing between network links | 
| WO2001075626A1 (en)* | 2000-03-31 | 2001-10-11 | Eicon Technology Corporation | Bridge configuration over ip/web | 
| US20020024959A1 (en)* | 2000-08-26 | 2002-02-28 | Samsung Electronics Co., Ltd. | Network address conversion system for enabling access to a node having a private IP address, a method therefor, and a recording medium for recording the method | 
| US6393488B1 (en)* | 1999-05-27 | 2002-05-21 | 3Com Corporation | System and method for supporting internet protocol subnets with network address translators | 
| Publication number | Priority date | Publication date | Assignee | Title | 
|---|---|---|---|---|
| KR100186929B1 (en)* | 1993-07-28 | 1999-05-15 | 마크 마이클 | Network station with multiple network addresses | 
| US6243379B1 (en)* | 1997-04-04 | 2001-06-05 | Ramp Networks, Inc. | Connection and packet level multiplexing between network links | 
| KR100268661B1 (en)* | 1998-02-06 | 2000-10-16 | Plus Technologeis Co Ltd | A method for interception from connecting to a hazardous site on on-lines | 
| US6393488B1 (en)* | 1999-05-27 | 2002-05-21 | 3Com Corporation | System and method for supporting internet protocol subnets with network address translators | 
| WO2001075626A1 (en)* | 2000-03-31 | 2001-10-11 | Eicon Technology Corporation | Bridge configuration over ip/web | 
| US20020024959A1 (en)* | 2000-08-26 | 2002-02-28 | Samsung Electronics Co., Ltd. | Network address conversion system for enabling access to a node having a private IP address, a method therefor, and a recording medium for recording the method | 
| Title | 
|---|
| 미국 A Flatiron Publishing, Inc. Book의 Newton''s Telecom Dictionary(96.7월)* | 
| Publication number | Publication date | 
|---|---|
| KR20020090961A (en) | 2002-12-05 | 
| Publication | Publication Date | Title | 
|---|---|---|
| RU2270531C2 (en) | System and method for using ip-address as an identifier of wireless device | |
| US6801528B2 (en) | System and method for dynamic simultaneous connection to multiple service providers | |
| US6778528B1 (en) | Dial-out with dynamic IP address assignment | |
| US7522907B2 (en) | Generic wlan architecture | |
| US6052725A (en) | Non-local dynamic internet protocol addressing system and method | |
| US7512126B2 (en) | Packet transfer scheme using mobile terminal and router for preventing attacks using global address | |
| US7707310B2 (en) | Mobile IP registration supporting port identification | |
| WO2020216339A1 (en) | Method and apparatus for accessing gateway | |
| JP4843183B2 (en) | Method for connection of data terminal equipment to a data network | |
| CN111953806B (en) | Link selection method, device, computer equipment and computer storage medium | |
| KR100566837B1 (en) | Intelligent network access device and network access method | |
| US9749201B2 (en) | Method and system for monitoring locator/identifier separation network | |
| KR100886985B1 (en) | Method, apparatus and system for ensuring reliable access to a roaming mobile node | |
| JP2004180211A (en) | Proxy network controller | |
| CN115001745B (en) | Intranet user local authentication system and method based on government enterprise gateway | |
| JP2003318939A (en) | Communication system and control method thereof | |
| JP2008010934A (en) | Gateway device, communication control method, program, and storage medium storing program | |
| US12058104B2 (en) | Remote controller source address verification and retention for access devices | |
| JP7597116B2 (en) | Packet communication device, packet processing rule setting method, and program | |
| JP2000010890A (en) | Terminal, connection control device, server client system and program storage medium thereof | |
| JP2005167728A (en) | Communication system and communication method | |
| KR20040083315A (en) | IP router supporting VoIP service and calling method using thereof | |
| JP2022134280A (en) | Authentication system | |
| JP2004023155A (en) | Dynamic domain name system in ppp connection environment | |
| JP2004165843A (en) | Terminal address management device and terminal address management method | 
| Date | Code | Title | Description | 
|---|---|---|---|
| A201 | Request for examination | ||
| A302 | Request for accelerated examination | ||
| PA0109 | Patent application | St.27 status event code:A-0-1-A10-A12-nap-PA0109 | |
| PA0201 | Request for examination | St.27 status event code:A-1-2-D10-D11-exm-PA0201 | |
| PA0302 | Request for accelerated examination | St.27 status event code:A-1-2-D10-D17-exm-PA0302 St.27 status event code:A-1-2-D10-D16-exm-PA0302 | |
| P11-X000 | Amendment of application requested | St.27 status event code:A-2-2-P10-P11-nap-X000 | |
| P13-X000 | Application amended | St.27 status event code:A-2-2-P10-P13-nap-X000 | |
| PG1501 | Laying open of application | St.27 status event code:A-1-1-Q10-Q12-nap-PG1501 | |
| R18-X000 | Changes to party contact information recorded | St.27 status event code:A-3-3-R10-R18-oth-X000 | |
| E902 | Notification of reason for refusal | ||
| PE0902 | Notice of grounds for rejection | St.27 status event code:A-1-2-D10-D21-exm-PE0902 | |
| AMND | Amendment | ||
| P11-X000 | Amendment of application requested | St.27 status event code:A-2-2-P10-P11-nap-X000 | |
| P13-X000 | Application amended | St.27 status event code:A-2-2-P10-P13-nap-X000 | |
| E601 | Decision to refuse application | ||
| PE0601 | Decision on rejection of patent | St.27 status event code:N-2-6-B10-B15-exm-PE0601 | |
| J201 | Request for trial against refusal decision | ||
| PJ0201 | Trial against decision of rejection | St.27 status event code:A-3-3-V10-V11-apl-PJ0201 | |
| AMND | Amendment | ||
| E13-X000 | Pre-grant limitation requested | St.27 status event code:A-2-3-E10-E13-lim-X000 | |
| P11-X000 | Amendment of application requested | St.27 status event code:A-2-2-P10-P11-nap-X000 | |
| P13-X000 | Application amended | St.27 status event code:A-2-2-P10-P13-nap-X000 | |
| PB0901 | Examination by re-examination before a trial | St.27 status event code:A-6-3-E10-E12-rex-PB0901 | |
| R18-X000 | Changes to party contact information recorded | St.27 status event code:A-3-3-R10-R18-oth-X000 | |
| B601 | Maintenance of original decision after re-examination before a trial | ||
| PB0601 | Maintenance of original decision after re-examination before a trial | St.27 status event code:N-3-6-B10-B17-rex-PB0601 | |
| J301 | Trial decision | Free format text:TRIAL DECISION FOR APPEAL AGAINST DECISION TO DECLINE REFUSAL REQUESTED 20030722 Effective date:20050531 | |
| PJ1301 | Trial decision | St.27 status event code:A-3-3-V10-V15-crt-PJ1301 Decision date:20050531 Appeal event data comment text:Appeal Kind Category : Appeal against decision to decline refusal, Appeal Ground Text : 2002 64499 Appeal request date:20030722 Appellate body name:Patent Examination Board Decision authority category:Office appeal board Decision identifier:2003101002854 | |
| PS0901 | Examination by remand of revocation | St.27 status event code:A-6-3-E10-E12-rex-PS0901 | |
| S901 | Examination by remand of revocation | ||
| E902 | Notification of reason for refusal | ||
| PE0902 | Notice of grounds for rejection | St.27 status event code:A-1-2-D10-D21-exm-PE0902 | |
| P11-X000 | Amendment of application requested | St.27 status event code:A-2-2-P10-P11-nap-X000 | |
| P13-X000 | Application amended | St.27 status event code:A-2-2-P10-P13-nap-X000 | |
| PN2301 | Change of applicant | St.27 status event code:A-3-3-R10-R13-asn-PN2301 St.27 status event code:A-3-3-R10-R11-asn-PN2301 | |
| R18-X000 | Changes to party contact information recorded | St.27 status event code:A-3-3-R10-R18-oth-X000 | |
| GRNO | Decision to grant (after opposition) | ||
| PS0701 | Decision of registration after remand of revocation | St.27 status event code:A-3-4-F10-F13-rex-PS0701 | |
| GRNT | Written decision to grant | ||
| PR0701 | Registration of establishment | St.27 status event code:A-2-4-F10-F11-exm-PR0701 | |
| PR1002 | Payment of registration fee | St.27 status event code:A-2-2-U10-U11-oth-PR1002 Fee payment year number:1 | |
| PG1601 | Publication of registration | St.27 status event code:A-4-4-Q10-Q13-nap-PG1601 | |
| R18-X000 | Changes to party contact information recorded | St.27 status event code:A-5-5-R10-R18-oth-X000 | |
| FPAY | Annual fee payment | Payment date:20090327 Year of fee payment:4 | |
| PR1001 | Payment of annual fee | St.27 status event code:A-4-4-U10-U11-oth-PR1001 Fee payment year number:4 | |
| LAPS | Lapse due to unpaid annual fee | ||
| PC1903 | Unpaid annual fee | St.27 status event code:A-4-4-U10-U13-oth-PC1903 Not in force date:20100328 Payment event data comment text:Termination Category : DEFAULT_OF_REGISTRATION_FEE | |
| PC1903 | Unpaid annual fee | St.27 status event code:N-4-6-H10-H13-oth-PC1903 Ip right cessation event data comment text:Termination Category : DEFAULT_OF_REGISTRATION_FEE Not in force date:20100328 | |
| P22-X000 | Classification modified | St.27 status event code:A-4-4-P10-P22-nap-X000 | |
| P22-X000 | Classification modified | St.27 status event code:A-4-4-P10-P22-nap-X000 | |
| P22-X000 | Classification modified | St.27 status event code:A-4-4-P10-P22-nap-X000 |