

































도 1은 종래 기술에 의한 급속 열처리 온도에 따른 박막 내의 결정화 정도를 나타내는 X선 회절 패턴 그래프이다.1 is an X-ray diffraction pattern graph showing the degree of crystallization in a thin film according to a rapid heat treatment temperature according to the prior art.
도 2는 종래 기술에 의한 플라즈마 O2 처리 전후의 박막 내의 탄소의 밀도를 나타내는 그래프이다.2 is a graph showing the density of carbon in a thin film before and after plasma O2 treatment according to the prior art.
도 3은 본 발명의 일 실시예에 따른 원자층 증착 공정을 이용한 물질의 형성 방법을 설명하기 위한 순서도이다.3 is a flowchart illustrating a method of forming a material using an atomic layer deposition process according to an embodiment of the present invention.
도 4a 내지 도 4f는 본 발명의 일 실시예에 따른 원자층 증착 공정을 이용하여 반도체 기판 상에 물질을 형성하는 방법을 설명하기 위한 단면도들이다.4A to 4F are cross-sectional views illustrating a method of forming a material on a semiconductor substrate using an atomic layer deposition process according to an embodiment of the present invention.
도 5는 본 발명의 일 실시예에 따라 원자층 증착 공정을 이용하여 반도체 기판 상에 물질을 형성하는 방법을 설명하기 위한 타이밍 차트이다.FIG. 5 is a timing chart illustrating a method of forming a material on a semiconductor substrate using an atomic layer deposition process according to an embodiment of the present invention.
도 6은 본 발명의 다른 실시예에 따른 원자층 증착 공정을 이용한 물질의 형성 방법을 설명하기 위한 순서도이다.6 is a flowchart illustrating a method of forming a material using an atomic layer deposition process according to another embodiment of the present invention.
도 7은 도 6에 도시한 물질의 형성 방법을 설명하기 위한 타이밍 차트이다.FIG. 7 is a timing chart illustrating a method of forming a material shown in FIG. 6.
도 8은 본 발명의 또 다른 실시예에 따른 원자층 증착 공정을 이용한 물질의 형성 방법을 설명하기 위한 순서도이다.8 is a flowchart illustrating a method of forming a material using an atomic layer deposition process according to another embodiment of the present invention.
도 9는 도 8에 도시한 물질의 형성 방법을 설명하기 위한 타이밍 차트이다.FIG. 9 is a timing chart illustrating a method of forming a material shown in FIG. 8.
도 10은 본 발명의 또 다른 실시예에 따른 원자층 증착 공정을 이용한 물질의 형성 방법을 설명하기 위한 순서도이다.10 is a flowchart illustrating a method of forming a material using an atomic layer deposition process according to another embodiment of the present invention.
도 11은 도 10에 도시한 물질의 형성 방법을 설명하기 위한 타이밍 차트이다.FIG. 11 is a timing chart for explaining a method of forming a material shown in FIG. 10.
도 12는 본 발명의 일 실시예에 따른 박막 형성 방법을 설명하기 위한 순서도이다.12 is a flowchart illustrating a thin film forming method according to an embodiment of the present invention.
도 13a 내지 도 13f는 도 12에 도시한 박막 형성 방법을 설명하기 위한 단면도들이다.13A to 13F are cross-sectional views for describing the method of forming the thin film illustrated in FIG. 12.
도 14는 본 발명에 따른 캐패시터를 제조하는 방법을 설명하기 위한 순서도이다.14 is a flowchart illustrating a method of manufacturing a capacitor according to the present invention.
도 15a 내지 도 15e는 도 14에 도시한 캐패시터의 제조 방법을 설명하기 위한 단면도들이다.15A to 15E are cross-sectional views illustrating a method of manufacturing the capacitor shown in FIG. 14.
도 16은 박막 내의 탄소의 밀도를 나타내는 TOF-SIMS 그래프이다.16 is a TOF-SIMS graph showing the density of carbon in a thin film.
도 17은 누설 전류 제어 특성을 나타내는 그래프이다.17 is a graph showing leakage current control characteristics.
도 18은 후 열처리 공정의 온도에 따른 누설전류 제어 특성을 나타내는 그래프이다.18 is a graph showing the leakage current control characteristics according to the temperature of the post-heat treatment process.
도 19는 플러싱 시간에 따른 누설전류와 Toxeq의 관계를 나타내는 그래프이다. 19 is a graph showing the relationship between the leakage current and Toxeq according to the flushing time.
도 20은 본 발명의 일 실시예에 의해 제조된 캐패시터를 포함하는 DRAM에서의 누설 전류 제어 특성을 나타내는 그래프이다. 20 is a graph illustrating leakage current control characteristics in a DRAM including a capacitor manufactured according to an embodiment of the present invention.
* 도면의 주요 부분에 대한 간단한 설명 *Brief description of the main parts of the drawing
1:제1 원소 2 : 아미노기 등1: 1st element 2: amino group etc.
3:제1 반응물4:제1 층3: first reactant 4: first layer
5:제2 층6:제2 반응물5: second layer 6: second reactant
8:물질9:물질층8: substance 9: substance layer
10 : 기판20:질화막10: substrate 20: nitride film
30, 30':박막 32, 32':개선된 박막30, 30 ':
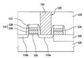
100:반도체 기판 101:활성 영역100: semiconductor substrate 101: active region
102:소자 분리 영역104:게이트 유전막102: device isolation region 104: gate dielectric film
106:폴리실리콘막110:게이트 전극106: polysilicon film 110: gate electrode
116a, 116b:소오스/드레인 영역 118:제1 절연막116a and 116b: source / drain regions 118: first insulating film
120:콘택 홀 122:콘택 플러그120: contact hole 122: contact plug
123:식각 방지막 124:제2 절연막123: etching prevention film 124: second insulating film
126:개구부 127:제2 도전막126: Opening part 127: Second conductive film
128:하부 전극 130:캐패시터 유전막128: lower electrode 130: capacitor dielectric film
132:상부 전극132: upper electrode
본 발명은 원자층 증착(ALD) 공정을 이용한 박막 형성 방법에 관한 것으로서, 보다 상세하게는 원자층 증착(ALD) 공정 중에 플러싱 단계를 수행하여 현저하게 향상된 전기적 특성을 가지는 물질을 형성하는 방법과 이를 이용한 박막 형성 방법 및 캐패시터의 제조 방법에 관한 것이다.The present invention relates to a method of forming a thin film using an atomic layer deposition (ALD) process, and more particularly, a method of forming a material having a significantly improved electrical property by performing a flushing step during an atomic layer deposition (ALD) process. It relates to a thin film forming method and a capacitor manufacturing method used.
일반적으로 메모리 셀 영역의 축소에 따른 셀 캐패시턴스(cell capacitance)의 감소는 반도체 메모리 장치의 집적도 증가를 어렵게 한다. 이러한 셀 캐패시턴스의 감소는 메모리 셀의 데이터 독출 능력(readability)을 열화(劣化)시키고 소프트 에러율(soft error rate)을 증가시키며, 반도체 메모리 장치가 저전압에서 동작하는 것을 어렵게 한다. 이에 따라, 셀이 차지하는 면적에 영향을 미치지 않으면서 셀 캐패시턴스를 증가시키기 위한 여러 가지 기술들이 개발되고 있다.In general, the decrease in cell capacitance due to the reduction of the memory cell area makes it difficult to increase the integration density of a semiconductor memory device. This reduction in cell capacitance degrades the data readability of the memory cell, increases the soft error rate, and makes it difficult for the semiconductor memory device to operate at low voltages. Accordingly, various techniques have been developed for increasing cell capacitance without affecting the area occupied by the cell.
한정된 셀 영역 내에서 캐패시턴스를 증가시키기 위하여 캐패시터의 유전막을 박막화하는 방법, 또는 실린더나 핀과 같은 구조를 갖는 캐패시터 하부 전극을 형성하여 캐패시터의 유효 면적을 증가시키는 방법이 제안되었다. 그러나, 1 기가비트 이상의 다이내믹 랜덤 억세스 메모리(Dynamic Random Access Memory: DRAM)에서는 이러한 방법들로 메모리 장치를 작동시키기에 충분히 높은 캐패시턴스를 얻기가 어렵다.In order to increase capacitance in a limited cell region, a method of thinning a dielectric film of a capacitor or a method of increasing an effective area of a capacitor by forming a capacitor lower electrode having a structure such as a cylinder or a fin has been proposed. However, in dynamic random access memory (DRAM) of 1 gigabit or more, it is difficult to obtain a capacitance high enough to operate a memory device with these methods.
이러한 문제점을 해결하기 위하여 디자인 룰(design rule)이 1㎛ 이하인 고 집적의 반도체 메모리 소자의 캐패시터의 유전막의 제조에 있어서, 기존의 질화막, 탄탈륨옥사이드(Ta2O5) 혹은 알루미나(Al2O3) 대신 상대적으로 높은 유전 상수(κ)를 갖는 물질로 이루어진 유전막, 예를 들어 Y2O3막, HfO2막, ZrO2막, Nb2O5막, BaTiO3막 또는 SrTiO3막을 캐패시터의 유전막으로 사용하는 방법이 활발히 연구되고 있다.In order to solve this problem, in the manufacture of a dielectric film of a capacitor of a highly integrated semiconductor memory device having a design rule of 1 μm or less, a conventional nitride film, tantalum oxide (Ta2 O5 ) or alumina (Al2 O3) Dielectric layer of a material having a relatively high dielectric constant (κ), for example, a Y2 O3 film, a HfO2 film, a ZrO2 film, a Nb2 O5 film, a BaTiO3 film, or a SrTiO3 film How to use it has been actively studied.
특히, 캐패시터의 유전막으로 알루미나를 단독으로 사용하는 대신 하프늄 산화물(HfO2)-알루미나(Al2O3)를 포함하는 복합막을 사용하여 캐패시터를 제조하거나, 나아가 적층이 용이한 금속-절연막-반도체(Metal-Insulator-Semiconductor: MIS) 캐패시터의 제조에 있어 하프늄 산화막을 단독으로 사용하면, 동일한 캐패시턴스를 얻기 위하여 보다 작은 Toxeq(thickness of equivalent oxide)를 사용하는 것이 가능해진다.In particular, instead of using alumina alone as the dielectric film of the capacitor, a capacitor is manufactured by using a composite film including hafnium oxide (HfO2 ) -alumina (Al2 O3 ), or further, a metal-insulating film-semiconductor that is easy to laminate ( The use of hafnium oxide alone in the manufacture of metal-insulator-semiconductor (MIS) capacitors makes it possible to use smaller Toxeq (thickness of equivalent oxide) to obtain the same capacitance.
즉 하프늄 산화막은 다른 절연막에 비하여 절연 특성이 뛰어나고 고집적의 소자 제조에 적합하여, 최근 원자층 증착(ALD) 공정과 결합하여 게이트 절연막이나 캐패시터 유전막 등의 재료로 각광받고 있다. 본 발명자등은 하프늄 산화물을 원자층 증착(ALD) 공정에 의해 형성하고, 이를 캐패시터의 절연막으로 사용하는 방법을 발명하여 이를 대한민국 특허출원 제2002-42217호로 출원한 바 있으며, 현재 대한민국 특허청에 계속 중이다.In other words, the hafnium oxide film is superior to other insulating films and has excellent insulating properties and is suitable for fabricating highly integrated devices. In recent years, hafnium oxide films are attracting attention as materials such as gate insulating films and capacitor dielectric films in combination with the atomic layer deposition (ALD) process. The inventors have invented a method of forming hafnium oxide by an atomic layer deposition (ALD) process and using it as an insulating film of a capacitor, and has filed it as Korean Patent Application No. 2002-42217. .
그러나 하프늄 산화막을 비롯한 상술한 고유전율의 유전막의 경우 유전막 내에 존재하는 탄소 등의 불순물이 트랩 사이트(trap site)역할을 하기 때문에 절연 특성이 저하되는 문제점이 있다,However, in the above-described high dielectric constant dielectric film including a hafnium oxide film, since an impurity such as carbon, which is present in the dielectric film, serves as a trap site, there is a problem that the insulating property is deteriorated.
이러한 문제점을 극복하기 위하여 대한민국 특허 공개 제1994-5289호에서는 반도체 고유전막 형성 방법에 있어서, 유전막 형성 및 O3 어닐 공정을 연속으로 실시하여 유전막 내의 산소 결핍 현상을 극복하고 탄소를 제거하는 방법을 제시하고 있다. 구체적으로, 금속 소스(source) 및 산소 가스를 유입시켜 금속막을 형성하는 제1 공정 및 O3를 이용한 어닐링을 실시하는 제2 공정을 인시츄 환경에서 주기적으로 반복하여 실시한다.In order to overcome this problem, Korean Patent Laid-Open Publication No. 1994-5289 proposes a method of overcoming an oxygen deficiency phenomenon in a dielectric film and removing carbon by continuously performing a dielectric film formation and an O3 annealing process in a method of forming a semiconductor high dielectric film. Doing. Specifically, a first process of forming a metal film by introducing a metal source and oxygen gas and a second process of performing annealing using O3 are periodically repeated in an in situ environment.
그러나, 반도체 소자의 제조를 위한 공정 중 고온의 열이 가해지는 경우 예를 들면, 급속 열처리(Rapid Thermal Process: RTP) 공정을 거치면서 박막은 비결정질(amorphous) 구조로부터 결정화(crystallization)가 진행되어 그레인 바운더리(grain boundary)가 형성되고, 이러한 그레인 바운더리는 누설 전류의 이동통로(leakage current path)로 작용하기 때문에 누설 전류가 증가하는 문제점이 있다.However, when a high temperature heat is applied during a process for manufacturing a semiconductor device, for example, the thin film undergoes crystallization from an amorphous structure while undergoing rapid thermal heat treatment (RTP). A boundary boundary is formed, and the grain boundary acts as a leakage current path of the leakage current, thereby increasing the leakage current.
도 1은 종래 기술에 의한 급속 열처리를 행한 경우 온도에 따른 박막 내의 결정화 정도를 알 수 있는 X선 회절 패턴 그래프를 도시한 것이다.FIG. 1 shows an X-ray diffraction pattern graph which shows the degree of crystallization in a thin film according to temperature when the rapid heat treatment according to the prior art is performed.
도 1을 참조하면, 열처리 온도가 상승하면 그래프 상에서 피크가 빈번하게 관찰되고, 이러한 피크는 박막 내의 결정화가 진행된 것을 의미한다. 박막 내의 물질이 결정화되면 그레인 바운더리를 따라 누설 전류가 발생하여 박막의 절연 특성을 저하시킨다. 또한, 일반적인 화학 기상 증착(Chemical Vapor Deposition: CVD) 공정으로 박막의 형성하는 경우 막 두께의 정밀한 제어가 어려워져 최근의 고집적 화된 메모리 제조 공정에는 부적합한 문제가 있다.Referring to FIG. 1, when the heat treatment temperature is increased, peaks are frequently observed on the graph, and this peak means that crystallization in the thin film has progressed. When the material in the thin film is crystallized, leakage currents are generated along the grain boundaries, thereby degrading the insulating property of the thin film. In addition, when a thin film is formed by a general chemical vapor deposition (CVD) process, it is difficult to precisely control the thickness of the thin film, thereby making it unsuitable for the recent highly integrated memory manufacturing process.
이러한 문제점들을 고려하면, 박막의 처리에 있어서 저온 상태에서 막질 개선 공정을 진행할 필요가 있다. 예를 들면, 캐패시터 유전막의 형성 후에 플라즈마 O2로 유전막을 처리함으로써 탄소를 제거하고 산소 결핍 문제를 해소하기 위한 방법이 알려져 있다.In consideration of these problems, it is necessary to proceed with the film quality improvement process at a low temperature in the treatment of the thin film. For example, a method is known for removing carbon and solving oxygen deficiency by treating the dielectric film with plasma O2 after the formation of the capacitor dielectric film.
도 2는 종래 기술에 의한 플라즈마 O2 처리 전후의 박막 내의 탄소의 밀도를 나타내는 그래프이다.2 is a graph showing the density of carbon in a thin film before and after plasma O2 treatment according to the prior art.
도 2를 참조하면, 전체적으로 플라즈마 O2처리를 한 경우 박막 내의 탄소의 농도가 줄어든 것을 관찰할 수 있다. 그러나 상기 그래프에서 스퍼터링 시간이 경과할수록, 즉, 박막 내부로 들어갈수록 탄소 농도는 플라즈마 처리를 하지 않은 경우와 큰 차이를 보이지 않는다. 다시 말하면, 플라즈마 O2에 의한 유전막의 표면 처리에 의해서는 유전막의 막질 개선이 용이하지 않다. 물론 플라즈마 O2로 처리하는 시간을 길게 하면 막질 개선 효과가 막 내부에도 미치지만, 예를 들면, 캐패시터의 하부 전극 등의 하부 구조물이 산화되어 Toxeq가 증가하는 문제점이 발생한다.Referring to FIG. 2, it can be observed that the concentration of carbon in the thin film is reduced when the plasma O2 is treated as a whole. However, in the graph, as the sputtering time elapses, that is, the inside of the thin film, the carbon concentration does not show a big difference from the case where the plasma treatment is not performed. In other words, the film quality improvement of the dielectric film is not easy by surface treatment of the dielectric film by plasma O2 . Of course, if the treatment time with plasma O2 is increased, the film quality improvement effect also reaches the inside of the film. For example, a problem arises in that Toxeq increases due to oxidation of a lower structure such as a lower electrode of the capacitor.
이러한 문제점을 해결하기 위하여, 알루미나 절연막에 대하여 원자층 증착 공정 중간 중간에 오존 등을 투입하여 잔류탄소를 제거하는 방법이 알려져 있다. 예를 들면, 미국등록특허 제6,124,158호에는 알루미늄 전구체를 포함하는 제1 화합물 흡착, 퍼지, 산화제 등의 제2 화합물 흡착, 퍼지로 이루어지는 원자층 증착을 위한 단위 공정을 1 내지 3회 반복하고, 1 내지 10초, 바람직하게는 3 내지 10초 동안 오존을 투입하여 막질을 개선시키는 기술이 개시되어 있다. 그러나 상기 특허에 개시된 방법에 의하면, 원자층 증착을 위한 단위공정을 단지 1 내지 3회 실시 후 오존을 투입하기 때문에 하부의 기판이 산화될 우려가 있을 뿐만 아니라, 재현성이 확보되지 않다. 또한, 반응 가스와는 다른 오존을 사용하여 별도의 공정을 다수 회 반복하여야 하기 때문에 경제적인 면에서도 바람직하지 않다.In order to solve this problem, a method of removing residual carbon by adding ozone or the like to an alumina insulating film in the middle of an atomic layer deposition process is known. For example, U. S. Patent No. 6,124, 158 repeats a unit process for atomic layer deposition consisting of adsorption and purge of a first compound including an aluminum precursor, adsorption of a second compound such as a purge, an oxidant, and purge one to three times. Techniques for improving membrane quality by introducing ozone for from 10 seconds, preferably from 3 to 10 seconds, are disclosed. However, according to the method disclosed in the patent, since the ozone is added only after performing the unit process for atomic layer deposition only once or three times, there is a possibility that the lower substrate is oxidized and reproducibility is not secured. In addition, since it is necessary to repeat a separate process a number of times using ozone different from the reaction gas, it is not economically preferable.
하프늄 절연막은 잔류 탄소의 제거를 위하여 고온 열처리를 할 필요가 있지만, 고온 열처리를 하는 경우 하프늄 절연막의 결정화가 진행되어 누설 전류가 증가한다. 따라서, 저온공정에 의하여 절연막 전체에 걸쳐 균일하게 잔류 탄소 제거 효과를 거둘 수 있는 기술의 개발이 요청된다.The hafnium insulating film needs to be subjected to a high temperature heat treatment in order to remove residual carbon. However, when the hafnium insulating film is subjected to high temperature heat treatment, crystallization of the hafnium insulating film proceeds to increase the leakage current. Therefore, the development of a technology that can achieve a residual carbon removal effect uniformly over the entire insulating film by a low temperature process is required.
본 발명의 제1 목적은 원자층 증착 공정을 이용하여 저온에서 고유전율을 가지는 물질의 특성 개선 공정을 진행하여 현저하게 향상된 누설 전류 제어 특성과 우수한 절연 특성을 가지는 물질의 형성 방법을 제공하는 것이다.It is a first object of the present invention to provide a method of forming a material having a significantly improved leakage current control property and an excellent insulation property by performing a process for improving the property of a material having a high dielectric constant at low temperature using an atomic layer deposition process.
본 발명의 제2 목적은 상기 물질 형성 방법을 이용하여 우수한 누설 전류 제어 특성 및 절연 특성을 가지는 게이트 산화막 내지 캐패시터 유전막 등으로 적용 가능한 박막의 형성 방법을 제공하는 것이다.It is a second object of the present invention to provide a method for forming a thin film which can be applied to a gate oxide film, a capacitor dielectric film, or the like having excellent leakage current control characteristics and insulation characteristics using the material formation method.
본 발명의 제3 목적은 상술한 물질 형성 방법을 이용하여 유전막을 포함하는 캐패시터의 제조 방법을 제공하는 것이다.It is a third object of the present invention to provide a method of manufacturing a capacitor including a dielectric film using the above-described material forming method.
상술한 본 발명의 제1 목적을 달성하기 위하여, 본 발명에 의한 물질 형성방법의 바람직한 일 실시예에 의하면, 먼저 제1 원소를 포함하는 제1 반응물을 기판 상에 화학 흡착시키고, 화학 흡착된 제1 반응물과 제2 원소를 포함하는 제2 반응물을 화학적으로 반응시켜 기판 상에 제1 원소와 제2 원소의 화학적 결합에 의해 이루어진 물질을 형성한다. 이러한, 과정을 약 5 회 이상 반복하여 약 5 내지 30Å 정도의 물질을 형성한 후, 제2 원소를 포함하는 플러싱 가스를 형성된 물질에 적용하여 물질의 특성을 개선한다. 여기서, 상기 플러싱 가스는 활성화된 산화제를 포함하며, 상기 물질 특성을 개선하는 단계는 약 200 내지 400℃ 정도의 온도에서 수행되는 것이 바람직하다,In order to achieve the first object of the present invention described above, according to a preferred embodiment of the material forming method according to the present invention, first, the first reactant containing the first element is chemisorbed on the substrate, the chemically adsorbed agent The first reactant and the second reactant including the second element are chemically reacted to form a material formed by chemical bonding of the first element and the second element on the substrate. This process is repeated about five times or more to form a material of about 5 to 30 kPa, and then a flushing gas containing a second element is applied to the formed material to improve the properties of the material. Here, the flushing gas includes an activated oxidant, and improving the material properties is preferably performed at a temperature of about 200 to 400 ° C.,
상술한 본 발명의 제2 목적을 달성하기 위하여, 본 발명에 따른 박막 형성 방법의 바람직한 실시예에 따르면, 먼저 기판을 반응기에 위치시킨다. 이어서, 반응기에 형성하고자 하는 박막을 이루는 제1 원소를 포함하는 제1 반응물을 도입하여 제1 반응물의 일부분을 기판 상에 화학 흡착시킨 후 반응기에 제1 퍼지 가스를 도입하여 미화학 흡착된 물질을 1차 퍼징한다. 계속하여 상기 반응기에 제2 원소를 포함하는 제2 반응물을 도입하여 화학 흡착된 제1 반응물과 제2 반응물을 화학적으로 반응시켜 상기 기판 상에 박막을 형성하고, 상기 반응기에 제2 퍼지 가스를 도입하여 미화학 흡착된 물질을 2차 퍼징한다. 이상의 단계 5회 이상 반복하여 후술하는 플러싱 공정이 가장 효율적으로 진행될 수 있는 두께까지 박막을 성장시킨다. 이어서, 반응기에 제2 원소를 포함하는 제1 플러싱 가스를 도입하여 박막에 적용하여 박막의 특성을 개선한다. 이상의 단계를 반복하여 박막을 의도하는 두께까지 성 장시킬 수 있다.In order to achieve the above-mentioned second object of the present invention, according to a preferred embodiment of the thin film forming method according to the present invention, the substrate is first placed in a reactor. Subsequently, a first reactant including a first element constituting a thin film to be formed in the reactor is introduced to chemically adsorb a portion of the first reactant onto a substrate, and then a first purge gas is introduced into the reactor to obtain a non-chemically adsorbed material. First purge. Subsequently, a second reactant including a second element is introduced into the reactor to chemically react the chemically adsorbed first reactant with the second reactant to form a thin film on the substrate, and introduce a second purge gas into the reactor. To purge the microchemically adsorbed material. By repeating the above step five times or more, the thin film is grown to a thickness at which the flushing process described later can be most efficiently performed. Subsequently, a first flushing gas containing a second element is introduced into the reactor and applied to the thin film to improve characteristics of the thin film. The above steps can be repeated to grow the thin film to the intended thickness.
상술한 본 발명의 제3 목적을 달성하기 위하여, 본 발명에 따른 캐패시터 형성 방법의 바람직한 실시예에 의하면, 하부 전극과 같은 하부 구조물을 기판 상에 형성한다. 반응기에 제1 원소를 포함하는 제1 반응물을 도입하여 제1 반응물의 일부를 상기 하부 전극 상에 화학 흡착시키고, 잔류물을 제1 퍼지 가스로 1차 퍼징하여 제거한다. 이어서, 반응기에 제1 원소와 결합하는 제2 원소를 포함하는 제2 반응물을 도입하여 화학 흡착된 제1 반응물과 제2 반응물을 화학적으로 반응시켜 하부 전극 상에 제1 원소와 제2 원소의 화학적 결합에 의한 절연 물질을 형성하고 제2 퍼지 가스를 도입하여 미화학 흡착된 물질을 2차 퍼징한다. 이러한 과정을 반복하여 플러싱 공정이 가장 효율적으로 진행될 수 있는 두께까지 물질을 적층한다. 계속하여, 반응기에 제2 원소를 포함하는 제1 플러싱 가스를 도입하여 절연 물질에 적용하여 특성이 개선된 절연막을 형성한다. 이어서 상술한 단계를 반복하여 상기 하부 전극 상에 요구되는 두께까지 절연막을 성장시킨다. 그리고 특성이 개선된 절연막 상에 상부 전극을 형성하여 캐패시터를 제조한다. In order to achieve the third object of the present invention described above, according to a preferred embodiment of the method for forming a capacitor according to the present invention, a lower structure such as a lower electrode is formed on a substrate. A first reactant comprising a first element is introduced into the reactor to chemically adsorb a portion of the first reactant onto the lower electrode and remove the residue by first purging with a first purge gas. Subsequently, a second reactant including a second element bonded to the first element is introduced into the reactor to chemically react the chemisorbed first reactant with the second reactant to chemically react the first and second elements on the lower electrode. Secondary purge of the microchemically adsorbed material is formed by forming an insulating material by bonding and introducing a second purge gas. This process is repeated to stack the material to a thickness at which the flushing process can proceed most efficiently. Subsequently, a first flushing gas containing a second element is introduced into the reactor and applied to an insulating material to form an insulating film having improved characteristics. Subsequently, the above-described steps are repeated to grow an insulating film to the thickness required on the lower electrode. The capacitor is manufactured by forming an upper electrode on the insulating film having improved characteristics.
본 발명에 의하면, 박막 내의 탄소를 효과적으로 제거할 수 있어 누설 전류를 현저히 감소시킬 수 있고, 산소 결핍을 방지하여 우수한 절연 특성을 가지는 박막을 형성할 수 있다. 또한, 저온의 플러싱 단계를 통하여 박막을 개질하므로 열처리에 따른 박막의 결정화 및 이에 따른 열화를 방지할 수 있다. 더욱이, 이러한 방법은, 예를 들면, 게이트 산화막 내지 캐패시터 유전막 등에 널리 사용될 수 있으므로 그 활용 범위가 넓으며, 기존의 원자층 증착 공정과 결합하여 초박막이면서 양질인 절연막의 형성이 가능해진다. 특히, 본 발명에 따른 박막을 반도체 메모리 소자의 절연막으로 사용하는 경우, 동일한 절연 효과를 얻기 위하여 상대적으로 얇은 절연막을 사용하는 것이 가능해지므로 최근의 1㎛ 이하의 디자인 룰이 요구되는 고집적의 메모리 소자 제조 공정에 효과적으로 대처할 수 있다. 결과적으로, 본 발명에 따르면, 양질의 박막과 이를 이용한 신뢰성 높은 메모리 소자를 인-시츄(in-situ) 공정에서 경제적으로 생산할 수 있게 되므로 전체적인 반도체 제조 공정에 소용되는 시간 및 비용을 절감할 수 있게 된다.According to the present invention, it is possible to effectively remove the carbon in the thin film, to significantly reduce the leakage current, and to prevent the oxygen deficiency to form a thin film having excellent insulating properties. In addition, since the thin film is modified through a low temperature flushing step, crystallization and deterioration of the thin film due to heat treatment may be prevented. Moreover, such a method can be widely used, for example, in a gate oxide film, a capacitor dielectric film, or the like, and thus has a wide range of application, and in combination with an existing atomic layer deposition process, it is possible to form an ultra-thin and high-quality insulating film. In particular, when the thin film according to the present invention is used as an insulating film of a semiconductor memory device, it becomes possible to use a relatively thin insulating film in order to obtain the same insulating effect, so that the manufacture of highly integrated memory devices requiring the latest design rules of 1 μm or less Can effectively cope with the process. As a result, according to the present invention, it is possible to economically produce a high quality thin film and a reliable memory device using the same in an in-situ process, thereby reducing the time and cost required for the overall semiconductor manufacturing process. do.
이하, 첨부한 도면들을 참조하여 본 발명의 바람직한 실시예들에 따른 물질형성 방법, 박막 형성 방법, 그리고 캐패시터의 제조 방법을 상세하게 설명한다. Hereinafter, a method of forming a material, a method of forming a thin film, and a method of manufacturing a capacitor according to preferred embodiments of the present invention will be described in detail with reference to the accompanying drawings.
도 3은 본 발명의 일 실시예에 따른 원자층 증착(ALD) 공정을 이용한 물질의 형성 방법을 설명하기 위한 순서도를 도시한 것이다.3 is a flowchart illustrating a method of forming a material using an atomic layer deposition (ALD) process according to an embodiment of the present invention.
도 3을 참조하면, 먼저 제1 원소를 포함하는 제1 반응물을 기판 상에 화학 흡착시킨(단계 S11) 다음, 기판 상에 화학 흡착된 제1 반응물을 상기 제1 원소와 결합하는 제2 원소를 포함하는 제2 반응물과 화학적으로 반응시켜 상기 기판 상에 상기 제1 원소와 제2 원소의 화학적 결합에 의해 이루어진 물질을 형성한다(단계 S13). 상기 단계 S11 및 S13은 통상 약 5회 이상 반복하여 약 5 내지 30Å 정도의 두께를 갖는 물질을 형성한다. 일반적으로 상기 단계 S11 및 S13를 1회 실시하는 경우 약 0.7 내지 1Å 정도의 두께로 물질이 형성되므로 약 5회 내지 50회 이하 반복하며 약 5Å 내지 30Å 정도의 두께를 갖는 물질을 형성한다. 이어서, 상기 제2 원소를 포함하는 제1 플러싱 가스를 상기 기판 상에 형성된 물질에 적용하여 물질 의 특성을 개선한다(단계 S15).Referring to FIG. 3, first, a first reactant including a first element is chemically adsorbed onto a substrate (step S11), and then a second element that combines the first reactant chemisorbed on the substrate with the first element is added. By chemically reacting with the second reactant to form a material formed by chemical bonding of the first element and the second element on the substrate (step S13). Steps S11 and S13 are usually repeated about 5 or more times to form a material having a thickness of about 5 to 30
여기서, 상기 물질을 증착하는 단계들(S11, S13)은 원자층 증착 공정을 통하여 이루어지며, 상기 제1 플러싱 가스의 상기 물질에 적용하는 단계(S15)는 약 200 내지 약 400℃ 정도의 온도에서 수행된다. 이러한 물질의 증착 단계(S11, S13) 및 제1 플러싱 가스의 적용 단계(S15)를 수 회 반복하여 상기 기판 상에 그 특성이 개선된 물질을 형성할 수 있다. 즉, 원자층 증착(ALD) 공정 중에 플러싱 단계, 소위 층간 산화제 처리(Layered Oxidation Treatment: LOT) 공정을 도입함으로써 상기 기판 상에 형성되는 물질로부터 탄소 등의 불순물을 제거할 수 있으며, 물질 내의 산소 결핍(oxygen deficiency) 현상을 해소할 수 있게 된다.Here, the step of depositing the material (S11, S13) is made through an atomic layer deposition process, the step of applying to the material of the first flushing gas (S15) is at a temperature of about 200 to about 400 ℃ Is performed. Deposition of the material (S11, S13) and the application of the first flushing gas (S15) may be repeated several times to form a material having improved properties on the substrate. That is, impurities such as carbon may be removed from a material formed on the substrate by introducing a flushing step, a so-called layered oxidation treatment (LOT) process, during the atomic layer deposition (ALD) process, and oxygen deficiency in the material. (oxygen deficiency) can be eliminated.
상술한 단계들을 수행하는 동안 미반응 화합물들의 제거를 위하여 퍼지 가스를 도입하여 미반응 물질을 제거하는 단계(S12, S14)들을 추가적으로 수행할 수 있다. 즉, 상기 제1 반응물을 화학 흡착시킨(단계 S11) 후, 제1 퍼지 가스를 도입하여 화학 흡착되지 않은 미반응 물질을 1차 퍼징한다(단계 S12). 또한 상기 제2 반응물을 화학 흡착된 제1 반응물과 반응시킨 후, 제2 퍼지 가스를 도입하여 화학 흡착된 미반응 물질을 제거한다(단계 S14).During the steps described above, steps S12 and S14 may be additionally performed to introduce a purge gas to remove unreacted compounds. That is, after first chemically adsorbing the first reactant (step S11), a first purge gas is introduced to first purge the unreacted material that is not chemisorbed (step S12). In addition, after the second reactant is reacted with the chemisorbed first reactant, a second purge gas is introduced to remove the chemisorbed unreacted material (step S14).
이하, 첨부된 도면들을 참조하여 본 발명의 일 실시예에 따른 물질 형성 방법을 반도체 장치의 제조 공정에 적용하는 예를 상세하게 설명한다.Hereinafter, an example of applying a material forming method according to an embodiment of the present invention to a manufacturing process of a semiconductor device will be described in detail with reference to the accompanying drawings.
도 4a 내지 도 4f는 본 발명의 일 실시예에 따라 원자층 증착(ALD) 공정을 이용하여 반도체 기판 상에 물질을 형성하는 방법을 설명하기 위한 단면도들을 도시한 것이고, 도 5는 본 발명의 일 실시예에 따라 원자층 증착 공정을 이용하여 반 도체 기판 상에 물질을 형성하는 방법을 설명하기 위한 타이밍 차트를 도시한 것이다. 본 실시예에 있어서, 본 발명에 따른 물질 형성 방법을 효과적으로 설명하기 위하여 특정의 반도체 장치, 금속 전구체 및 공정 등을 예시하고 있지만, 이러한 설명은 예시적인 것에 불과하며, 본 발명이 이러한 예시에 의해 한정되는 것은 아니다.4A through 4F are cross-sectional views illustrating a method of forming a material on a semiconductor substrate using an atomic layer deposition (ALD) process according to an embodiment of the present invention, and FIG. 5 illustrates one embodiment of the present invention. A timing chart for explaining a method of forming a material on a semiconductor substrate using an atomic layer deposition process according to an embodiment is shown. In the present embodiment, specific semiconductor devices, metal precursors, processes, and the like are illustrated to effectively explain the material forming method according to the present invention, but this description is merely exemplary, and the present invention is limited by these examples. It doesn't happen.
도 3 및 도 4a를 참조하면, 실리콘과 같은 반도체 물질로 이루어진 기판(10)을 반응기(도시되지 않음) 내에 위치시킨 다음, 제1 원소(1; 예를 들면, 금속)와 아미노기, 할라이드, 알킬기, 또는 알콕사이드기(2; 이하, 종종 '아미노기 등'이라 한다.)를 포함하는 제1 반응물(3)을 상기 기판(10)이 위치하는 반응기 내부에 도입하여 상기 제1 반응물(3)을 부분적으로 상기 기판(10)에 흡착시킨다(단계 S11).3 and 4A, a
여기서, 상기 제1 반응물(3)은 하프늄(Hf), 탄탈륨(Ta), 알루미늄(Al), 실리콘(Si), 란탄(La), 이트륨(Y), 지르코늄(Zr), 마그네슘(Mg), 스트론튬(Sr), 납(Pb), 티타늄(Ti), 니오븀(Nb), 세륨(Ce), 루테늄(Ru), 바륨(Ba), 칼슘(Ca), 인듐(In), 게르마늄(Ge), 주석(Sn), 바나듐(V), 비소(As), 프라세오디뮴(Pr), 안티몬(Sb) 또는 인(P) 가운데 어느 하나를 포함하는 금속, 아미노 화합물(amino compound), 할라이드 화합물(halide compound), 알킬 화합물(alkyl compound), 금속 알콕사이드 등의 형태인 화합물이다.Here, the
상기 아미노 화합물로는 Hf(NCH3CH3)4, Hf(NCH3C2H5)4, Hf(NC2H5C2H5)4, Hf(NCH3C3H7)4, Hf(NC2H5C3H7)4, 또는 Hf(NC3H7C3H7)4를 예로 들 수 있다.The amino compound may be Hf (NCH3 CH3 )4 , Hf (NCH3 C2 H5 )4 , Hf (NC2 H5 C2 H5 )4 , Hf (NCH3 C3 H7 )4 , Hf (NC2 H5 C3 H7 ) 4, or Hf (NC3 H7 C3 H7 )4 .
상기 할라이드 화합물로는 AlCl3, GaCl, GaCl3, GaBr, GaI, InCl, InCl3, SiCl4, Si2Cl6, GeCl4, SnCl4, SbCl4, TiCl4, TiI4, ZrCl4, ZrI4, HfCl4, NbCl5, TaCl5, TaI5, MoCl5, WOxFy, WF6, MnCl2, MnI2, CuCl, ZnCl2, 또는 CdCl2를 예로 들 수 있다.With the halide compound isAlCl 3, GaCl, GaCl 3, GaBr, GaI, InCl,
상기 알킬 화합물로는 Al(CH3)3, Al(CH3)2Cl, Al(CH3)2H, Al(C2H5)3, Al(CH2CH2(CH3)2)3, Ga(CH3)3, Ga(CH3)2(C2H5), Ga(C2H5)3, Ga(C2H5)2Cl, Ga(CH2CH2(CH3)2)3, Ga(CH2C(CH3)3)3, In(CH3)3, ((CH3)2(C2H5)N)In(CH3)3, In(CH3)2Cl, In(CH3)2(C2H5), In(C2H5)3, Sn(CH3)4, Sn(C2H5)4, Zn(CH3)2, Zn(C2H5)2, Cd(CH3)2, 또는 Hg(CH3)2를 예로 들 수 있다.The alkyl compound may be Al (CH3 )3 , Al (CH3 )2 Cl, Al (CH3 )2 H, Al (C2 H5 )3 , Al (CH2 CH2 (CH3 )2 )3 , Ga (CH3 )3 , Ga (CH3 )2 (C2 H5 ), Ga (C2 H5 )3 , Ga (C2 H5 )2 Cl, Ga (CH2 CH2 (CH3 )2 )3 , Ga (CH2 C (CH3 )3 )3 , In (CH3 )3 , ((CH3 )2 (C2 H5 ) N) In (CH3 )3 , In (CH3 )2 Cl, In (CH3 )2 (C2 H5 ), In (C2 H5 )3 , Sn (CH3 )4 , Sn (C2 H5 )4 , Zn (CH3 )2 , Zn ( C2 H5 )2 , Cd (CH3 )2 , or Hg (CH3 )2 may be exemplified.
또한, 상기 금속 알콕사이드로는 마그네슘(Mg), 칼슘(Ca) 내지 스트론튬(Sr) 등과 같은 2족 금속 원소의 알콕사이드, 보론(B), 알루니늄(Al) 내지 란탄(La) 등과 같은 3족 금속 원소의 알콕사이드, 티타늄(Ti), 지르코늄(Zr), 하프늄(Hf), 실리콘(Si), 게르마늄(Ge), 주석(Sn) 내지 납(Pb) 등과 같은 4족 금속 원소의 알콕사이드, 또는 바나듐(V), 니오븀(Nb), 탄탈륨(Ta), 인(P), 비소(As) 내지 안티몬(Sb) 등과 같은 5족 금속 원소의 알콕사이드 등을 들 수 있다. 바람직하게는, 상기 제1 반응물(3)은 전술한 4족 금속 원소의 알콕사이드를 포함한다.In addition, the metal alkoxide may be a
한편, 상기 마그네슘(Mg) 알콕사이드의 예로서는 Mg[OC2H4OCH3]2를 들 수 있고, 상기 칼슘(Ca) 알콕사이드의 예로서는 Ca[OC2H4OCH3]2를 들 수 있으며, 상기 스 트론튬(Sr) 알콕사이드의 예로서는 Sr[OC2H4OCH3]2를 들 수 있다.Meanwhile, examples of the magnesium (Mg) alkoxide include Mg [OC2 H4 OCH3 ]2 , and examples of the calcium (Ca) alkoxide include Ca [OC2 H4 OCH3 ]2 . An example of tronium (Sr) alkoxide includes Sr [OC2 H4 OCH3 ]2 .
또한, 상기 보론(B) 알콕사이드의 예로서는 B[OCH3]3, B[OC2H5]3, B[OC3H7]3또는 B[OC4H9]3 등을 들 수 있고, 상기 알루미늄(Al) 알콕사이드의 예로서는 Al[OC4H8OCH3]3, Al[OCH3]3, Al[OC2H5]3, Al[OC3H7]3 또는 Al[OC4H9]3 등을 들 수 있으며, 상기 란탄(La) 알콕사이드의 예로서는 La[OC2H4OCH3]3 또는 La(OC3H7CH2OC3H7]3 등을 들 수 있다.In addition, examples of the boron (B) alkoxide include B [OCH3 ]3 , B [OC2 H5 ]3 , B [OC3 H7 ]3, B [OC4 H9 ]3 , and the like. Examples of aluminum (Al) alkoxides include Al [OC4 H8 OCH3 ]3 , Al [OCH3 ]3 , Al [OC2 H5 ]3 , Al [OC3 H7 ]3 or Al [OC4 H9 ]3 and the like. Examples of the lanthanum (La) alkoxide include La [OC2 H4 OCH3 ]3 or La (OC3 H7 CH2 OC3 H7 ]3 .
또한, 상기 티타늄(Ti) 알콕사이드의 예로서는 Ti[OCH3]4, Ti[OC2H5]4, Ti[OC3H7]4, Ti[OC4H9]4 내지 Ti[OC2H5]2[OC2H4N(CH3)2]2등을 들 수 있으며, 상기 지르코늄(Zr) 알콕사이드의 예로서는 Zr[OC3H7]4, Zr[OC4H9]4 또는 Zr[OC4H8OCH3]4 등을 들 수 있다.In addition, examples of the titanium (Ti) alkoxide include Ti [OCH3 ]4 , Ti [OC2 H5 ]4 , Ti [OC3 H7 ]4 , Ti [OC4 H9 ]4 to Ti [OC2 H5 ]2 [OC2 H4 N (CH3 )2 ]2 and the like, examples of the zirconium (Zr) alkoxide include Zr [OC3 H7 ]4 , Zr [OC4 H9 ]4 or Zr [OC4 H8 OCH3 ] ] 4 and the like.
또한, 상기 하프늄(Hf) 알콕사이드의 예로서는 Hf(OtBu)4(tetra tert-butoxy hafnium), Hf(mmp)4(Tetrakis-(mmp) hafnium), Hf(OtBu)2(dmae)2, Hf(OtBu)2(mmp)2, Tetrakis (triethylsiloxy) Hafnium, Hf(OEt)4, Hf(OiPr)4, Hf(OnBu)4(tetra n-butoxy Hafnium), Hf(OtAm)4, Hf(OPr)3, Hf(OBu)4를 예시할 수 있다. 여기서, dmae는 디메틸아민에톡사이드(dimethyaminoethoxide: -OC2H4N(CH3)2를 나타내고, mmp는 1-methoxy-2-methyl-2-propoxy(-OC4H8OCH3)를 나타낸다.In addition, examples of the hafnium alkoxide include Hf (OtBu)4 (tetra tert-butoxy hafnium), Hf (mmp)4 (Tetrakis- (mmp) hafnium), Hf (OtBu)2 (dmae)2 , Hf (OtBu )2 (mmp)2 , Tetrakis (triethylsiloxy) Hafnium, Hf (OEt)4 , Hf (OiPr)4 , Hf (OnBu)4 (tetra n-butoxy Hafnium), Hf (OtAm)4 , Hf (OPr)3 , Hf (OBu)4 can be illustrated. Here, dmae represents dimethyaminoethoxide (-OC2 H4 N (CH3 )2 , mmp represents 1-methoxy-2-methyl-2-propoxy (-OC4 H8 OCH3 ). .
보다 구체적으로, Hf(OtBu)4는 Hf[OC4H9]4, Hf(mmp)4는 Hf[OC4H8OCH3]4, Hf(OtBu)2(dmae)2는 Hf[OC4H9]2[OC2H4N(CH3)2]2, Hf(OtBu)2(mmp)2는 Hf[OC4H9]2[OC4H8OCH3]2, Tetrakis (triethylsiloxy) Hafnium은 Hf[OSi(C2H5)3]4, Hf(OEt)4는 Hf[OC2H5]4, Hf(OiPr)4는 Hf[OC3H7]4, Hf(OnBu)4는 Hf[OC4H9]9, Hf(OtAm)4는 Hf[OC5H11]4를 각각 나타낸다.More specifically, Hf (OtBu)4 is Hf [OC4H9]4 , Hf (mmp)4 is Hf [OC4 H8 OCH3 ]4 , Hf (OtBu)2 (dmae)2 is Hf [OC4 H9 ]2 [OC2 H4 N (CH3 )2 ]2 , Hf (OtBu)2 (mmp)2 is Hf [OC4 H9 ]2 [OC4 H8 OCH3 ]2 , Tetrakis (triethylsiloxy) Hafnium is Hf [OSi (C2 H5 )3 ]4 , Hf (OEt)4 is Hf [OC2 H5 ]4 , Hf (OiPr)4 is Hf [OC3 H7 ]4 , Hf (OnBu)4 is Hf [ OC4 H9 ]9 and Hf (OtAm)4 represent Hf [OC5 H11 ] 4, respectively.
상기 실리콘(Si) 알콕사이드의 예로서는 Si[OCH3]4, Si[OC2H5]4, Si[OC3H7]4, Si[OC4H9]4, HSi[OCH3]3, HSi[OC2H5]3, Si[OCH3]3F, Si[OC2H5]3F, Si[OC3H7]3F 내지 Si[OC4H9]3F 등을 들 수 있으며, 상기 게르마늄(Ge) 알콕사이드의 예로서는 Ge[OCH3]4, Ge[OC2H5]4, Ge[OC3H7]4 또는 Ge[OC4H9]4 등을 들 수 있다.Examples of the silicon (Si) alkoxide include Si [OCH3 ]4 , Si [OC2 H5 ]4 , Si [OC3 H7 ]4 , Si [OC4 H9 ]4 , HSi [OCH3 ]3 , HSi [OC2 H5 ]3 , Si [OCH3 ]3 F, Si [OC2 H5 ]3 F, Si [OC3 H7 ]3 F to Si [OC4 H9 ] 3F , and the like. Examples of the germanium (Ge) alkoxide include Ge [OCH3 ]4 , Ge [OC2 H5 ]4 , Ge [OC3 H7 ]4, Ge [OC4 H9 ]4 , and the like.
상기 주석(Sn) 알콕사이드의 예로서는 Sn[OC4H9]4혹은 Sn[OC3H7]3[C4H9] 등을 들 수 있고, 상기 납(Pb) 알콕사이드의 예로서는 Pb[OC4H9]4또는 Pb4O[OC4H9]6 등을 들 수 있다.Examples of the tin (Sn) alkoxide include Sn [OC4 H9 ]4, Sn [OC3 H7 ]3 [C4 H9 ], and the like. Examples of the lead (Pb) alkoxide include Pb [OC4 H].9 ]4 or Pb4 O [OC4 H9 ]6 and the like.
상기 바나듐(V) 알콕사이드의 예로서는 VO[OC2H5]3또는 VO[OC3H7]3 등을 들 수 있고, 상기 니오븀(Nb) 알콕사이드의 예로서는 Nb[OCH3]5, Nb[OC2H5]5, Nb[OC3H7]5, Nb[OC4H9]5 등을 들 수 있으며, 상기 탄탈륨(Ta) 알콕사이드의 예로서는 Ta[OCH3]5, Ta[OC2H5]5, Ta[OC3H7]5, Ta[OC4H9]5, Ta(OC2H5)5, Ta(OC2H5)5[OC2H4N(CH3)2] 또는 Ta[OC2H5]4[CH3COCHCOCH3] 등을 들 수 있다.Examples of the vanadium (V) alkoxide include VO [OC2 H5 ]3 or VO [OC3 H7 ]3. Examples of the niobium (Nb) alkoxide include Nb [OCH3 ]5 and Nb [OC2. H5 ]5 , Nb [OC3 H7 ]5 , Nb [OC4 H9 ]5 , and the like, and examples of the tantalum (Ta) alkoxide include Ta [OCH3 ]5 and Ta [OC2 H5 ]5 , Ta [OC3 H7 ]5 , Ta [OC4 H9 ]5 , Ta (OC2 H5 )5 , Ta (OC2 H5 )5 [OC2 H4 N (CH3 )2 ] or Ta [OC2 H5 ]4 [CH3 COCHCOCH3 ], and the like.
상기 인(P) 알콕사이드의 예로서는 P[OCH3]3, P[OC2H5]3, P[OC3H7]3, P[OC4H9]3, PO[OCH3]3, PO[OC2H5]3, PO[OC3H7]3또는 PO[OC4H9]3 등을 들 수 있고, 상기 비소(As) 알콕사이드의 예로서는 As[OCH3]3, As[OC2H5]3, As[OC3H7]3 내지 As[OC4H9]3 등을 들 수 있으며, 상기 안티몬(Sb) 알콕사이드의 예로서는 Sb[OC2H5]3, Sb[OC3H7]3또는 Sb[OC4H9]3 등을 들 수 있다.Examples of the phosphorus (P) alkoxide include P [OCH3 ]3 , P [OC2 H5 ]3 , P [OC3 H7 ]3 , P [OC4 H9 ]3 , PO [OCH3 ]3 , PO [OC2 H5 ]3 , PO [OC3 H7 ]3 or PO [OC4 H9 ]3 , and the like. Examples of the arsenic (As) alkoxide include As [OCH3 ]3 and As [OC2. H5 ]3 , As [OC3 H7 ]3 to As [OC4 H9 ]3 , and the like, and examples of the antimony (Sb) alkoxide include Sb [OC2 H5 ]3 and Sb [OC3 H7 ]3 or Sb [OC4 H9 ]3 .
본 실시예에 있어서, 전술한 조성을 가지는 제1 반응물(3)을 이용하여 기판(10) 상에 형성되는 물질이나 박막은 절연 물질 또는 절연 박막일 수 있다. 이와 같은 절연 물질 또는 절연 박막은 예를 들면 HfO2, Ta2O5, Al2O3, SiO2, La2O3, Y2O3, ZrO2, MgO, SrO, PbO, TiO2, Nb2O5, CeO2, SrTiO3, PbTiO3, SrRuO3, (Ba, Sr)TiO3, Pb(Zr, Ti)O3, (Pb, La)(Zr, Ti)O3, (Sr, Ca)RuO3, In2O3, RuO2, B2O3, GeO2, SnO2, PbO2, Pb3O4, V2O3, As2O5, As2O3, Pr2O3, Sb2O3, Sb2O5, CaO, P2O5, Si3N4, AlON, SiON, AlN 또는 이들을 복합물인 화합물로 이루어진다.In the present embodiment, the material or thin film formed on the
다시 도 3, 도 4a 및 도 4b를 참조하면, 상기 기판(10) 상에 제1 원소와 아미노기 등(2)를 포함하는 제1 반응물(3)을 화학 흡착시킨 다음(단계 S11), 기판(10) 상으로 제1 퍼지 가스를 도입하고 제1 퍼징 단계를 수행하여 기판(10) 및 제1 반응물(3) 상에 잔류하는 미반응 화합물을 제거한다(단계 S12).3, 4A, and 4B, the
구체적으로는, 상기 제1 반응물(3)을 기판(10) 상에 도입하는 동안, 상기 제1 반응물(20)의 제1 부분이 상기 기판(10) 상에 화학 흡착되어 기판(10)의 표면상에 제1 층(4)을 형성한다. 이 때, 상기 제1 반응물(3)의 제2 부분인 제2 층(5)은 상기 제1 부분 상에 물리 흡착되기 때문에, 상기 제2 층(5)은 상기 제1 반응물(3)이 기판(10) 상에 화학 흡착된 제1 층(4)에 대하여 느슨하게 결합된다. 이어서, 상기 기판(10)이 위치하는 반응기를 제1 퍼지 가스로서 아르곤(Ar), 헬륨(He), 네온(Ne), 또는 질소(N2) 등과 같은 불활성 가스를 이용하여 1차 퍼징 또는 진공 퍼징시킨다. 이러한 1차 퍼징 단계가 진행되는 동안, 화학 흡착되지 않은 제1 반응물(3)의 제2 층(5)이 상기 반응기로부터 제거됨으로써, 상기 기판(1) 상에는 손상되지 않은 제1 반응물(3)의 화학 흡착된 층인 제1 층(4)이 남게 된다.Specifically, while introducing the
도 3 및 도 4c를 참조하면, 상기 기판(10)이 위치하는 반응기 내부에 제1 반응물(3)의 상기 제1 원소(1)와 결합할 수 있는 제2 원소를 포함하는 제2 반응물(6)을 도입하여 기판(10) 상에 형성된 제1 반응물(3)과 화학 반응시킨다. 이에 의하여 기판(10) 상에는 제1 반응물(3)의 제1 원소(1)와 제2 반응물(6)의 제2 원소의 화학적 결합에 의해 이루어진 물질(8)이 형성된다(단계 S13). 이를 보다 구체적으로 설명하면 다음과 같다.3 and 4c, a
상기 반응기 내부에 제2 반응물(6)을 도입하면 기판(10)에 화학 흡착된 제1 반응물(3)과 제2 반응물(6)이 화학적으로 반응하여 기판(10)의 표면상에 원자층 단위로 물질(8)이 형성된다. 즉, 기판(10) 상에서 제1 반응물(3)의 제1 원소(1)와 제2 반응물(6)의 산소가 반응하여 원자층 단위의 물질(8), 예를 들면, 금속 산화막이 형성된다. 이 경우, 제2 반응물(6)은 03, O2, H20, H2O2, N20, CO2, NH3,N2또는 이들을 플라즈마(plasma), 리모트 플라즈마(remote plasma) 또는 자외선(UV) 등을 이용하는 방식으로 활성화시킨 화합물 가운데 적어도 하나 이상을 포함할 수 있다.When the
상기 기판(10) 상에 산소를 포함하는 절연 물질을 형성하는 경우에는 제2 반응물(6)로 역시 산소를 포함하는 화합물을 사용하고, 기판(10) 상에 질소를 포함하는 절연 물질을 형성하는 경우에는 제2 반응물(6)도 질소를 포함하는 화합물을 사용하는 것이 바람직하다.In the case of forming an insulating material containing oxygen on the
도 3 및 도 4d를 참조하면, 기판(10)이 위치하는 상기 반응기를 제2 퍼지 가스로서 아르곤 또는 질소 등과 같은 불활성 가스를 사용하여 2차 퍼징 또는 진공 퍼징시켜 화학 반응하지 않은 제2 반응물(6)을 상기 반응기로부터 제거한다(단계 S14). 3 and 4D, the
도 4e를 참조하면, 전술한 제1 반응물(3)을 기판(10) 상에 흡착시키는 단계(S11), 제1 반응물(3)을 1차 퍼징하는 단계(S12), 제2 반응물(6)을 제1 반응물(2)에 흡착하는 단계(S13), 그리고 제2 반응물(6)을 2차 퍼징하는 단계(S14)를 2회 이상 반복적으로 수행함으로써, 기판(1) 상에 플러싱이 효율적으로 실시될 수 있는 두께까지 물질층(9)을 적절하게 형성할 수 있다.Referring to FIG. 4E, adsorbing the
또한, 전술한 단계들을 반복하여 수행하는 경우, 제1 반응물(3) 및 제2 반응물(6)의 조성을 다르게 하여 기판(10) 상에 복합물로 이루어진 물질층(9)을 형성할 수 있다.In addition, when the above-described steps are repeated, the composition of the
본 실시예에 있어서, 기판(10) 상에 형성되는 물질층(9)은 약 5 내지 30Å정도의 두께를 가지는 것이 바람직하다. 후속하는 플러싱 단계와 관련하여, 약 5Å 미만의 두께를 갖는 물질층(9)이 형성될 경우에는, 얻고자 하는 최종적인 물질층(9)의 두께에 대한 플러싱 단계의 반복 회수가 증가하여 반도체 제조 공정의 전반적인 경제성이 떨어지게 된다. 한편, 상기 물질층(9)의 두께가 약 30Å을 초과하면 플러싱 시간을 증가시켜야 하고, 상기 물질층(9) 전체에 걸쳐 균일한 플러싱 효과를 확보하기 어렵게 된다.In the present embodiment, it is preferable that the
도 3 및 도 4f를 참조하면, 기판(10) 상에 형성된 물질층(9)에 제1 플러싱 가스를 적용하여 물질층(9)의 특성을 개선한다(S15). 상기 제1 플러싱 가스는 03, O2, H20, H2O2, N20, CO2, NH3 또는 N2가운데 어느 하나 이상을 포함한다. 바람직하게는, 상기 제1 플러싱 가스는 플라즈마, 리모트 플라즈마 또는 자외선(UV)을 이용하여 활성화시킨 03, O2, H20, H2O2, N20, CO2, NH3 또는 N2중에서 어느 하나 이상을 포함한다. 이때, 상기 제1 플러싱 가스로서 전술한 제2 반응물(6)과 동일한 종류의 군으로 이루어진 물질 중에서 선택되지만, 하나의 실시예에서 반드시 동일한 조성을 가지는 물질을 사용할 필요는 없다. 즉, 제2 반응물 및 제1 플러싱 가스로 모두 플라즈마 O2를 사용할 수 있지만, 제2 반응물로는 플라즈마 O2를 사용하고 제1 플러싱 가스로는 H2O를 사용하는 것도 가능하다.3 and 4F, the first flushing gas is applied to the
상기 제1 플러싱 가스를 이용하여 물질층(9)의 특성을 개선하는 단계는 약 200 내지 400℃ 정도의 온도에서 수행된다. 이 경우, 반응 온도가 높아야 제1 플러싱 가스와 물질층(9) 사이의 반응성이 증가하므로, 적어도 약 200℃ 이상의 온도에서 물질층(9)의 플러싱 단계가 수행되어야 한다, 그러나, 온도가 약 400℃를 초과하면 물질층(9)의 물질(8)의 결정화가 진행되어 누설 전류가 증가하는 문제점이 발생한다. 또한, 이러한 플러싱 단계는 플러싱되는 물질층(9)의 두께에 따라 변화될 수 있으나, 대체로 약 1분 내지 10분 정도 동안 실시하는 것이 바람직하다. 약 1분미만 동안 상기 플러싱 단계가 수행되면 물질층(9)의 막질 개선 효과가 충분하지 않게 되며, 약 10분을 초과하여 상기 플러싱 단계가 장시간 진행되면 경제적으로 바람직하지 않을 뿐만 아니라 물질층(9)의 막질의 열화를 가져올 수 있기 때문이다.Improving the characteristics of the
본 실시예에 있어서, 전술한 바와 같이 상대적으로 저온에서 플러싱 단계를 수행하여 산화제를 물질층(9)에 공급함으로써 물질(8)의 결정화를 억제하면서 물질(8) 내의 탄소를 이산화탄소(CO2) 형태로 제거하는 한편, 물질(8) 내의 산소 결핍 현상을 해소할 수 있다. 결국, 이러한 플러싱 단계를 통하여 물질층(9)의 누설 전류 발생을 억제할 수 있다.In this embodiment, the carbon in the
도 5는 도 3에 도시한 물질의 형성 방법을 설명하기 위한 타이밍 차트이다.FIG. 5 is a timing chart illustrating a method of forming a material shown in FIG. 3.
도 3 및 도 5를 참조하면, Ⅰ-1 단계는 통상적인 원자층 증착 단계로서 제1 반응 물질, 제1 퍼지 가스, 제2 반응 물질 및 제2 퍼지 가스가 반복하여 공급되면 서 기판 상에 소정의 두께를 가지는 물질을 형성한다. 이와 같은 물질의 형성 단계는 도 3에 도시한 순서도에서 S11 내지 S14 단계를 반복하는 것에 해당된다. 이 경우, S11 내지 S14 단계의 반복 주기마다 제1 반응 물질과 제2 반응 물질의 조성을 달리하여 기판 상에 복합 형태의 물질을 형성할 수도 있다.3 and 5, step I-1 is a conventional atomic layer deposition step, wherein the first reactant, the first purge gas, the second reactant, and the second purge gas are repeatedly supplied to the substrate. To form a material having a thickness of. Forming such a material corresponds to repeating the steps S11 to S14 in the flowchart shown in FIG. In this case, the composite material may be formed on the substrate by changing the composition of the first reactant and the second reactant at every repetition cycle of steps S11 to S14.
도 5의 Ⅱ-1 단계에서, 기판 상에 형성된 물질 상으로 제1 플러싱 가스를 도입하여 물질의 특성을 개선한다. 이와 같은 단계는 도 3에 도시한 순서도의 S15 단계에 해당한다. 전체적으로 Ⅰ-1 및 Ⅱ-2 단계를 반복적으로 수행함으로써 기판 상에 요구되는 두께를 가지는 물질을 성장시킬 수 있으며, 누설 전류 제어 특성이 우수한 물질을 형성할 수 있다. 이때, 상기 Ⅰ-1 및 Ⅱ-2 단계를 반복적으로 수행할 때 Ⅰ-1 및 Ⅱ-2 단계의 1회 수행에 소요되는 시간을 일정하게 유지할 수도 있다. 그러나 상기 Ⅰ-1 및 Ⅱ-2 단계를 반복 수행할 때, 상기 Ⅰ-1단계의 1회 수행시간을 반복회수가 증가할 때 마다 증가시키고, 상기 Ⅱ-2 단계의 플러싱 시간은 일정하게 유지할 수 있다. 또한, 상기 Ⅰ-1 및 Ⅱ-2 단계를 반복 수행할 때, 상기 Ⅰ-1단계의 1회 수행시간을 반복회수가 증가하더라도 일정하게 유지하고, 상기 Ⅱ-2 단계의 플러싱 시간은 점차 증가시킬 수도 있다. 이에 의하면, 물질 또는 박막의 증착시간 또는 플러싱 시간을 감소시켜 원하는 두께의 물질이나 박막을 단시간에 형성할 수 있다.In step II-1 of FIG. 5, the first flushing gas is introduced onto the material formed on the substrate to improve the properties of the material. This step corresponds to step S15 of the flowchart shown in FIG. By repeatedly performing steps I-1 and II-2 as a whole, a material having a required thickness can be grown on a substrate, and a material having excellent leakage current control characteristics can be formed. In this case, when the steps I-1 and II-2 are repeatedly performed, the time required for one time execution of the steps I-1 and II-2 may be kept constant. However, when the steps I-1 and II-2 are repeatedly performed, the one execution time of the step I-1 is increased every time the number of repetitions is increased, and the flushing time of the step II-2 can be kept constant. have. In addition, when the steps I-1 and II-2 are repeatedly performed, the one-time execution time of the step I-1 is kept constant even if the number of repetitions is increased, and the flushing time of the step II-2 is gradually increased. It may be. According to this, the deposition time or the flushing time of the material or thin film can be reduced to form a material or thin film of a desired thickness in a short time.
도 6은 본 발명의 다른 실시예에 따른 원자층 증착 공정을 이용한 물질의 형성 방법을 설명하기 위한 순서도를 도시한 것이다.6 is a flowchart illustrating a method of forming a material using an atomic layer deposition process according to another embodiment of the present invention.
도 6에 도시한 바와 같이, 본 실시예에 있어서, 제1 반응물의 흡착 단계(S21), 1차 퍼징 단계(S22), 제2 반응물의 흡착 단계(S23), 2차 퍼징 단계(S24), 그리고 제1 플러싱 가스 적용의 단계(S25)는 전술한 실시예의 경우와 실질적으로 동일하므로 이들 단계들에 대한 상세한 설명은 생략한다.As shown in FIG. 6, in this embodiment, the adsorption step (S21) of the first reactant, the first purging step (S22), the adsorption step (S23) of the second reactant, the second purging step (S24), Since the step S25 of applying the first flushing gas is substantially the same as in the above-described embodiment, detailed descriptions of these steps will be omitted.
본 실시예에 있어서, 상기 제1 플러싱 가스 적용 단계(S25)후에 제3 퍼지 가스를 이용한 3차 퍼징 단계(S26)를 도입하여 잔류물 제거 효과를 증진시킨다. 이 때, 상기 3차 퍼징 단계(S26)에서 사용되는 제3 퍼지 가스는, 예를 들면, 아르곤 또는 질소 등과 같은 불활성 가스를 포함할 수 있다.In the present embodiment, after the first flushing gas application step S25, a third purging step S26 using a third purge gas may be introduced to enhance the residue removal effect. At this time, the third purge gas used in the third purging step S26 may include, for example, an inert gas such as argon or nitrogen.
도 7은 도 6에 도시한 물질의 형성 방법을 설명하기 위한 타이밍 차트이다.FIG. 7 is a timing chart illustrating a method of forming a material shown in FIG. 6.
도 6 및 도 7을 참조하면, Ⅰ-1 단계는 통상적인 원자층 증착 단계로서, 제1 반응 물질, 제1 퍼지 가스, 제2 반응 물질 및 제2 퍼지 가스가 반복하여 기판 상으로 공급되면서 상기 기판 상에 소정의 두께를 가지는 물질을 형성한다. 이와 같은 단계들은 각기 도 6에 도시한 S21 내지 S24 단계들을 반복하는 것에 해당된다. 이 경우, 전체적인 단계들(S21, S22, S23, S24)의 반복 주기마다 제1 반응 물질과 제2 반응 물질의 조성을 달리하여 기판 상에 복합 형태의 물질을 형성할 수도 있다.6 and 7, the step I-1 is a conventional atomic layer deposition step, wherein the first reactant, the first purge gas, the second reactant and the second purge gas are repeatedly supplied onto the substrate. A material having a predetermined thickness is formed on the substrate. These steps correspond to repeating the steps S21 to S24 shown in FIG. 6, respectively. In this case, the composite material may be formed on the substrate by varying the composition of the first reactant and the second reactant at every repetition period of the entire steps S21, S22, S23, and S24.
도 7에 도시한 바와 같이, Ⅱ-2 단계에서는 기판 상에 형성된 물질 상으로 제1 플러싱 가스를 도입하여 물질의 특성을 개선한 다음, 잔류물 제거 효과를 개선하기 위하여 물질 상으로 제3 퍼지 가스를 도입하여 미반응 화합물을 제거한다. 이러한 단계들은 각기 도 6에 도시한 S25 및 S26 단계에 해당된다. 전체적으로 Ⅰ-1 단계 및 Ⅱ-2 단계를 반복적으로 수행함으로써 기판 상에 누설 전류 제어 특성이 우수한 물질을 소정의 두께로 형성할 수 있다.As shown in FIG. 7, in step II-2, the first purging gas is introduced into the material formed on the substrate to improve the properties of the material, and then the third purge gas onto the material to improve the residue removal effect. Is introduced to remove unreacted compound. These steps correspond to the steps S25 and S26 shown in FIG. 6, respectively. By repeatedly performing steps I-1 and II-2 as a whole, a material having excellent leakage current control characteristics can be formed on a substrate to a predetermined thickness.
도 8은 본 발명의 또 다른 실시예에 따른 원자층 증착 공정을 이용한 물질의 형성 방법을 설명하기 위한 순서도를 도시한 것이다.8 is a flowchart illustrating a method of forming a material using an atomic layer deposition process according to another embodiment of the present invention.
도 8을 참조하면, 본 실시예에 있어서, 제1 반응물의 흡착 단계(S31), 1차 퍼징 단계(S32), 제2 반응물의 흡착 단계(S33), 2차 퍼징 단계(S34), 그리고 제1 플러싱 가스의 적용 단계(S35) 등은 전술한 실시예와 실질적으로 동일하다.Referring to FIG. 8, in the present embodiment, the adsorption step S31 of the first reactant, the first purging step S32, the adsorption step S33 of the second reactant, the second purging step S34, and The application step S35 and the like of one flushing gas are substantially the same as in the above-described embodiment.
본 실시예에 따르면, 상기 제1 플러싱 가스의 적용 단계(S35) 후에 물질 상에 제2 플러싱 가스를 도입하여 플러싱 효과를 더욱 향상시킨다. 본 실시예에 있어서, 상기 제1 플러싱 가스와 제2 플러싱 가스의 조성을 다르게 할 수 있으므로, 기판 상에 복합 물질을 형성하는 경우 상기 복합 물질에 특히 적합한 플러싱 가스의 조합을 이용할 수 있다. 즉, 상기 기판 상에 산화막과 질화막을 형성할 경우, 상기 제1 플러싱 가스로는 산소를 포함하는 화합물 이용하고, 상기 제2 플러싱 가스로는 질소는 포함하는 화합물을 사용할 수 있다.According to the present embodiment, after the application step S35 of the first flushing gas, a second flushing gas is introduced onto the material to further improve the flushing effect. In the present embodiment, since the composition of the first flushing gas and the second flushing gas may be different, a combination of a flushing gas particularly suitable for the composite material may be used when forming the composite material on the substrate. That is, when the oxide film and the nitride film are formed on the substrate, a compound containing oxygen may be used as the first flushing gas, and a compound containing nitrogen may be used as the second flushing gas.
도 9는 도 8에 도시한 물질의 형성 방법을 설명하기 위한 타이밍 차트이다.FIG. 9 is a timing chart illustrating a method of forming a material shown in FIG. 8.
도 8 및 도 9를 참조하면, Ⅰ-1 단계는 원자층 증착 방법을 수행하는 단계로서, 제1 반응 물질, 제1 퍼지 가스, 제2 반응 물질 그리고 제2 퍼지 가스가 반복하여 공급되면서 기판 상에 소정의 두께로 물질을 형성한다. 도 9에 도시한 이러한 단계들은 각기 도 8에 도시한 S31 내지 S34 단계를 반복하는 것에 해당된다. 이 경우, 전체적인 단계들(S31, S32, S33, S34)들의 반복 주기마다 상기 제1 반응 물질과 제2 반응 물질의 조성을 달리하여 기판 상에 복합물을 포함하는 물질을 형성할 수 있다.8 and 9, step I-1 is a step of performing an atomic layer deposition method, wherein the first reactant, the first purge gas, the second reactant, and the second purge gas are repeatedly supplied to the substrate. To form the material in a predetermined thickness. These steps shown in FIG. 9 correspond to repeating steps S31 to S34 shown in FIG. 8, respectively. In this case, the material including the composite may be formed on the substrate by changing the composition of the first reactant and the second reactant at every repetition period of the steps S31, S32, S33, and S34.
도 9에 있어서, Ⅱ-3 단계에서 제1 플러싱 가스를 도입하여 물질의 특성을 일차적으로 개선하고, 이어서 제2 플러싱 가스를 도입하여 물질의 특성을 2차적으로 개선한다. 상기Ⅱ-3 단계는, 상기Ⅰ-1 단계에서 기판 상에 복합 물질을 형성한 경우에 특히 바람직하다. 예를 들면, 상기 기판 상에 산화막 및 질화막을 포함하는 복합막을 형성할 경우, 상기 제1 플러싱 가스로는 산소를 포함하는 플라즈마, 리모트 플라즈마 또는 자외선으로 활성화시킨 O3, H20, N20 또는 CO2를 사용하고, 상기 제2 플러싱 가스로는 질소를 포함하는 플라즈마, 리모트 플라즈마 또는 자외선으로 활성화시킨 N20, NH3 또는 N2를 사용하는 것이 바람직하다. 도 9에 도시한 바와 같이, 전체적으로 상기 Ⅰ-1 단계 및 Ⅱ-3 단계를 반복하여 수행함으로써, 상기 기판 상에 누설 전류 제어 특성이 우수한 물질 또는 복합 물질을 형성할 수 있다.In FIG. 9, in step II-3, the first flushing gas is introduced to first improve the properties of the material, and then the second flushing gas is introduced to improve the properties of the material secondly. The step II-3 is particularly preferable when the composite material is formed on the substrate in step I-1. For example, when a composite film including an oxide film and a nitride film is formed on the substrate, the first flushing gas may be O3 ,
도 10은 본 발명의 또 다른 실시예에 따른 원자층 증착 공정을 이용한 물질의 형성 방법을 설명하기 위한 순서도를 도시한 것이다.10 is a flowchart illustrating a method of forming a material using an atomic layer deposition process according to another embodiment of the present invention.
도 10을 참조하면, 본 실시예에 있어서, 제1 반응물의 흡착 단계(S41), 1차 퍼징 단계(S42), 제2 반응물의 흡착 단계(S43), 2차 퍼징 단계(S44), 그리고 제1 플러싱 가스의 적용 단계(S45)은 전술한 실시예들과 실질적으로 동일하다.Referring to FIG. 10, in the present embodiment, the adsorption step S41 of the first reactant, the first purging step S42, the adsorption step S43 of the second reactant, the second purging step S44, and the first The application step S45 of the one flushing gas is substantially the same as the above-described embodiments.
본 실시예에 있어서, 상기 제1 플러싱 가스의 적용 단계(S45)후에 3차 퍼징 단계(S46), 제2 플러싱 가스의 적용 단계(S47) 및 4차 퍼징 단계(S48)을 추가적으로 수행함으로써 잔류물 제거 효과 및 막질 개선 효과를 극대화시킨다. 본 실시예 따르면, 상기 제1 플러싱 가스와 상기 제2 플러싱 가스의 조성을 달리할 수 있으므 로, 기판 상에 복합 물질을 형성하는 경우, 상기 복합 물질에 적합한 제1 및 제2 플러싱 가스의 조합을 사용할 수 있다.In the present embodiment, the residue by further performing the third purging step (S46), the second application step (S47) and the fourth purging step (S48) after the application step (S45) of the first flushing gas. Maximize the removal effect and the improvement of membrane quality. According to the present embodiment, since the composition of the first flushing gas and the second flushing gas may be different, a combination of first and second flushing gases suitable for the composite material may be used when forming the composite material on the substrate. Can be.
도 11은 도 10에 도시한 물질의 형성 방법을 설명하기 위한 타이밍 차트이다.FIG. 11 is a timing chart for explaining a method of forming a material shown in FIG. 10.
도 10 및 도 11을 참조하면, Ⅰ-1 단계는 통상적인 원자층 증착 단계로서 제1 반응 물질, 제1 퍼지 가스, 제2 반응 물질 및 제2 퍼지 가스가 반복하여 기판 상으로 공급되면서 상기 기판 상에 소정의 두께를 가지는 물질을 형성한다. 도 11의 이러한 단계들은 각기 도 10에 도시한 S41 내지 S44 단계를 반복하는 것에 해당된다. 이 때, 전체적인 단계들(S41, S42, S43, S44)의 반복 주기마다 상기 제1 반응 물질과 제2 반응 물질을 달리하여 상기 기판 상에 복합 물질을 형성할 수 있다.10 and 11, step I-1 is a conventional atomic layer deposition step in which a first reactant, a first purge gas, a second reactant, and a second purge gas are repeatedly supplied onto a substrate. A material having a predetermined thickness is formed on the phase. These steps in FIG. 11 correspond to repeating steps S41 to S44 shown in FIG. 10, respectively. In this case, the composite material may be formed on the substrate by differentiating the first reactant and the second reactant at every repetition period of the entire steps S41, S42, S43, and S44.
도 11에 있어서, Ⅱ-4 단계에서는 제1 플러싱 가스를 도입(S45)하여 기판 상에 형성된 물질의 특성을 개선하고, 제3 퍼지 가스를 도입하여 3차 퍼징(S46)을 수행한다. 이어서, 제2 플러싱 가스를 도입(S47)하여 물질의 특성을 개선한 후, 마지막으로 제4 퍼지 가스를 도입하여 4차 퍼징(S48)을 실시함으로써 잔류물 제거 효과를 극대화한다. 본 실시예에 있어서, 상기 Ⅱ-4 단계는 상기Ⅰ-1 단계에서 기판 상에 복합 물질을 형성한 경우에 특히 바람직하다. 예를 들면, 상기 기판 상에 산화막 및 질화막을 포함하는 복합막을 형성한 경우, 상기 제1 플러싱 가스는 산소를 포함하는 플라즈마, 리모트 플라즈마 또는 자외선으로 활성화시킨 O3, H20, N20 또는 CO2를 사용하고, 상기 제2 플러싱 가스로는 질소를 포함하는 플라즈마, 리모트 플라즈마 또는 자외선으로 활성화시킨 N20, NH3 또는 N2를 사용할 수 있다. 이외에도 다양한 변형이 가능하다. 즉, 퍼징가스의 투입순서를 변경하여 질소를 포함하는 퍼징가스를 먼저 투입하고 산소를 포함하는 퍼징가스를 투입할 수 있다. 그리고 상기 3차 퍼징을 생략하고, 산소를 포함하는 제1 플러싱 가스와 질소를 포함하는 제2 플러싱 가스를 동시에 투입할 수도 있다. 또한, 우선 산소를 포함하는 제1 플러싱 가스를 우선 투입하고 이어서 산소를 포함하는 제1 플러싱 가스 및 질소를 포함하는 제2 플러싱 가스의 혼합가스를 투입한 후 그 다음, 질소를 포함하는 제2 플러싱 가스를 투입하는 것도 가능하다. 그 외에, 필요에 따라 상기 3차 퍼징(S46) 또는 4차 퍼징(S48)중 하나의 단계는 생략할 수 있다. 상기 Ⅰ-1 단계 및 Ⅱ-4 단계를 반복 수행함으로써, 상기 기판 상에 누설 전류 제어 특성이 우수하고 잔류물의 제거 정도가 뛰어난 물질 또는 복합 물질을 형성할 수 있다.In FIG. 11, in step II-4, the first flushing gas is introduced (S45) to improve characteristics of the material formed on the substrate, and the third purge gas is introduced to perform tertiary purging (S46). Subsequently, after introducing the second flushing gas (S47) to improve the properties of the material, finally, the fourth purge gas is introduced to perform the fourth purging (S48) to maximize the residue removal effect. In the present embodiment, the step II-4 is particularly preferable when the composite material is formed on the substrate in the step I-1. For example, when a composite film including an oxide film and a nitride film is formed on the substrate, the first flushing gas may be O3 ,
이하, 상술한 물질 형성 방법을 이용하여 기판 상에 박막을 형성하는 방법을 첨부된 도면들을 참조하여 상세하게 설명한다. Hereinafter, a method of forming a thin film on a substrate using the above-described material forming method will be described in detail with reference to the accompanying drawings.
도 12는 본 발명의 일 실시예에 따른 박막 형성 방법을 설명하기 위한 순서도를 도시한 것이다.12 is a flowchart illustrating a thin film formation method according to an embodiment of the present invention.
도 12를 참조하면, 먼저 기판을 반응기 내에 위치시킨다(S110). 이어서, 제1 반응물을 상기 기판 상으로 도입하여 상기 제1 반응물을 부분적으로 상기 기판 상에 화학 흡착시킨다(단계 S120). 이어서, 제1 퍼지 가스로 1차 퍼징하여(S130) 화학 흡착되지 않은 잔류물을 제거한다. 계속하여, 상기 반응기 내에 제2 반응물을 도입하여 상기 화학 흡착된 제1 반응물과 상기 제2 반응물을 서로 화학적으로 반응시켜 상기 기판 상에 박막을 형성한다(단계 S140). 이어서, 제2 퍼지 가스로 2차 퍼징하여(S160) 화학 흡착되지 않은 물질을 제거한다.Referring to FIG. 12, first, a substrate is placed in a reactor (S110). Subsequently, a first reactant is introduced onto the substrate to partially chemisorb the first reactant onto the substrate (step S120). Subsequently, the first purge gas is purged first (S130) to remove residues that are not chemisorbed. Subsequently, a second reactant is introduced into the reactor to chemically react the chemisorbed first reactant with the second reactant to form a thin film on the substrate (step S140). Subsequently, the second purge gas is purged with the second purge gas (S160) to remove the non-chemosorbed material.
상기 단계들을 필요에 따라 반복하여 상기 기판 상에 플러싱에 적합한 두께로 박막을 성장시킨 후, 상기 반응기에 제2 원소를 포함하는 제1 플러싱 가스를 상기 박막에 적용하여 박막의 특성을 개선한다(단계 S160). 이 경우, 상기 제1 플러싱 가스는 03, O2, H20, H2O2, N20, CO2, NH3 또는 N2 가운데 적어도 하나 이상을 포함한다. 바람직하게는, 상기 제1 플러싱 가스는 플라즈마, 리모트 플라즈마 또는 자외선을 사용하여 활성화시킨 03, O2, H20, H2O2, N20, CO2, NH3 또는 N2 중 적어도 하나 이상을 포함한다. 또한, 상기 제1 플러싱 가스로서 상기 제2 반응물과 동일한 조성을 가지는 물질을 사용할 수 있다.Repeating the above steps as necessary to grow a thin film on the substrate to a thickness suitable for flushing, and then applying a first flushing gas containing a second element to the reactor to the thin film to improve the characteristics of the thin film (step S160). In this case, the first flushing gas includes at least one of 03 , O2 ,
상기 제1 플러싱 가스를 상기 기판 상에 형성된 박막에 적용하여 박막의 특성을 개선하는 단계는 약 200 내지 약 400℃ 정도의 온도에서 수행된다. 이 때, 반응 온도가 높아야 반응성이 증가하므로, 적어도 약 200℃이상의 온도에서 플러싱 단계를 수행하여야 한다. 그러나, 약 400℃를 초과하는 온도에서 상기 플러싱 단계가 수행될 경우에는 상기 박막을 구성하는 물질의 결정화가 진행되어 누설 전류가 증가하는 문제점이 발생한다. 또한, 상기 박막의 플러싱 단계는 플러싱되는 박막의 두께에 따라 달라지지만, 약 1분 내지 10분 동안 실시하는 것이 바람직하다. 약 1분미만으로 상기 플러싱 단계가 실시될 경우에는 박막의 막질 개선 효과가 충분하 지 않은 반면, 약 10분을 초과하는 장시간 동안 상기 플러싱 단계가 수행되면 경제적으로 바람직하지 않을 뿐만 아니라 박막의 막질의 열화를 가져올 수 있기 때문이다.Applying the first flushing gas to the thin film formed on the substrate to improve the characteristics of the thin film is performed at a temperature of about 200 to about 400 ℃. At this time, since the reactivity increases at a high reaction temperature, the flushing step should be performed at a temperature of at least about 200 ° C. However, when the flushing step is performed at a temperature exceeding about 400 ° C., the crystallization of the material constituting the thin film proceeds, resulting in a problem of increased leakage current. In addition, the flushing step of the thin film depends on the thickness of the thin film to be flushed, but preferably for about 1 to 10 minutes. When the flushing step is performed in less than about 1 minute, the film quality improvement effect of the thin film is not sufficient, whereas if the flushing step is performed for a long time exceeding about 10 minutes, it is not economically desirable, This can lead to deterioration.
전술한 바와 같이, 상기 기판 상에 박막을 형성한 다음, 원자층 증착 공정을 이용한 물질 형성 방법에 따라 3차 퍼징 단계, 제2 플러싱 가스의 적용 단계 그리고 4차 퍼징 단계 등을 추가적으로 진행할 수 있다.As described above, after the thin film is formed on the substrate, the third purging step, the application of the second flushing gas, and the fourth purging step may be further performed according to the material formation method using the atomic layer deposition process.
구체적으로, 상기 제1 플러싱 가스를 상기 기판 상에 형성된 박막에 적용시킨 후, 상기 제2 원소를 포함하는 제2 플러싱 가스를 상기 박막에 적용하여 물질을 특성을 개선하는 단계를 더 수행할 수 있다. 또한, 상기 제2 플러싱 가스를 상기 박막에 적용시킨 후, 제4 퍼지 가스를 도입하여 화학 흡착되지 않은 물질을 4차 퍼징하는 단계를 더 수행할 수 있다. 더욱이, 상기 제1 플러싱 가스를 상기 박막에 적용시킨 후, 제3 퍼징 가스를 도입하여 화학 흡착되지 않은 물질을 3차 퍼징하는 단계를 더 포함하여 잔류물 제거 효과를 향상시킬 수도 있다.In detail, after applying the first flushing gas to the thin film formed on the substrate, the second flushing gas including the second element may be applied to the thin film to further improve the material properties. . In addition, after applying the second flushing gas to the thin film, the fourth purge gas may be further introduced by introducing a fourth purge gas. Furthermore, after applying the first flushing gas to the thin film, a third purging gas may be introduced to third purge the non-chemically adsorbed material, thereby improving the residue removal effect.
본 실시예에 있어서, 전술한 바와 같이 저온의 플러싱 단계를 통하여 산화제를 상기 박막을 구성하는 물질 내에 공급함으로써, 박막을 구성하는 물질의 결정화를 억제하는 한편 박막을 구성하는 물질로부터 탄소를 CO2 형태로 제거하고, 박막을 구성하는 물질 내의 산소 결핍 현상을 해소할 수 있다. 이에 따라, 기판 상에 형성된 박막의 누설 전류 발생을 억제할 수 있다.In the present embodiment, the carbon to an oxidizing agent through the flushing phase of the cold from the material constituting the other hand films that by feeding in the material constituting the thin film, inhibiting the crystallization of the material constituting the thin film CO2 type, as described above The oxygen deficiency phenomenon in the material constituting the thin film can be eliminated. Thereby, leakage current generation of the thin film formed on the board | substrate can be suppressed.
도 13a 내지 도 13f는 도 12의 박막 형성 방법을 설명하기 위한 단면도들을 도시한 것이다.13A to 13F illustrate cross-sectional views for describing the method of forming the thin film of FIG. 12.
도 12 및 도 13a를 참조하면, 기판(10)을 반응기(도시되지 않음) 내에 위치시킨다(단계 S110). 이 때, 기판(10)은 예를 들면, 통상의 실리콘 웨이퍼이며, 상기 실리콘 웨이퍼는 각종의 활성 소자 등이 형성된 하부 구조물들을 포함할 수 있다. 또한, 상기 반응기는 바람직하게는, 원자층 증착(ALD) 반응기이며, 상기 기판(10)은 로봇 암과 같은 기판 이송 장치에 의하여 상기 반응기 내에 투입된다.12 and 13A, the
도 13b를 참조하면, 상기 기판(10)을 반응기 내에 위치시킨 후, 상기 기판(10) 상에 열질화막 또는 플라즈마 질화막 등의 질화막(20)을 선택적으로 형성한다. 상기 기판(10) 상에 질화막(20)을 형성할 경우, 후속하는 공정 동안 계면 산화막이 성장되는 현상을 방지할 수 있다.Referring to FIG. 13B, after the
도 12 및 도 13c를 참조하면, 기판(10) 상에 박막을 형성하기 위하여, 상기 반응기 내에 박막을 구성하는 제1 원소를 포함하는 제1 반응물을 도입하여 상기 제1 반응물을 부분적으로 상기 기판(10) 상에 화학 흡착시킨(단계 S120) 다음, 제1 퍼지 가스로 1차 퍼징하여 화학 흡착되니 않은 물질을 제거한다(단계 S130). 이어서, 상기 반응기 내에 상기 제1 원소와 결합하는 제2 원소를 포함하는 제2 반응물을 도입하여 상기 화학 흡착된 제1 반응물과 상기 제2 반응물을 화학적으로 반응시킨다(S140). 계속하여, 상기 반응기 내에 제2 퍼지 가스를 도입하고 화학 흡착 되지 않은 물질을 2차 퍼징하여 기판(10) 상에 상기 제1 반응물 및 제2 반응물의 화학 결합물을 포함하는 제2 박막(30)을 형성한다(단계 S150).12 and 13C, in order to form a thin film on the
전술한 단계들을 2회 이상 반복하여 기판(10) 상에 약 5 내지 30Å 정도의 두께로 박막(30)을 형성한다. 상기 박막(30)의 두께가 약 5Å 미만일 경우, 최종적으로 얻고자 하는 박막(30)의 두께에 대하여, 플러싱 단계의 반복 회수가 지나치게 증가하기 때문에 전체적인 박막(30) 형성 공정의 경제성이 떨어지게 된다. 반면, 박막(30)의 두께가 약 30Å을 초과할 경우에는 플러싱 시간을 증가시켜야 하며, 박막(30) 내부까지 균일한 플러싱 효과를 확보하기 어렵게 된다.The above-described steps are repeated two or more times to form the
도 12 및 도 13d를 참조하면, 상기 반응기에 상기 제2 원소를 포함하는 제1 플러싱 가스를 도입하고, 상기 기판(10) 상에 성장된 박막(30)에 적용함으로써, 상기 박막(30)의 특성을 개선시켜 기판(10) 상에 향상된 특성을 가지는 개선된 박막(32)을 형성한다(단계 S160).12 and 13D, by introducing a first flushing gas containing the second element into the reactor and applying it to the
도 13e 및 도 13f는 각기 도 13c 및 도 13d의 단계를 반복하여 향상된 특성을 갖는 개선된 박막(32)의 두께를 증가시키는 단계를 나타내는 단면도들을 도시한 것이다.13E and 13F illustrate cross-sectional views illustrating the steps of increasing the thickness of the improved
도 13e 및 도 13f에 도시한 바와 같이, 박막(30, 30')의 형성 및 특성 개선 단계를 2회 이상 반복적으로 수행하여, 개선된 박막(32, 32')의 두께를 조절한다. 이와 같은 단계들 약 200 내지 약 400℃ 정도의 온도에서 수행된다. 대체로 반응 온도가 높아야 반응성이 증가하므로, 적어도 약 200℃ 이상의 온도에서 플러싱 단계가 수행되어야 한다. 그러나, 플러싱 단계의 온도가 약 400℃를 초과하면 개선된 박막(32, 32')을 구성하는 물질의 결정화가 진행되어 누설 전류가 증가하는 문제점이 발생한다.As shown in FIGS. 13E and 13F, the steps of forming and improving the characteristics of the
본 실시예에 있어서, 상기 제1 플러싱 가스는 박막(30, 30')이 산화막일 경 우에는 예를 들면, 03, O2, H20, H2O2, N20, CO2, 또는 이들의 조합을 포함할 수 있으며, 개선된 박막(32, 32')이 질화막인 경우에는 예를 들면, N2O, NH3, N3 또는 이들의 조합을 포함할 수 있다. 또한, 상기 제1 플러싱 가스는 바람직하게는 플라즈마, 리모트 플라즈마 또는 자외선을 이용하여 활성화시킨 03, O2, H20, H2O2, N20, CO2, NH3, N2 또는 이들의 조합을 포함한다.In the present embodiment, the first flushing gas is, for example, 03 , O2 ,
본 실시예에 따르면, 원자층 증착 공정 동안에 플러싱 단계(LOT)를 진행함으로써, 기판(10) 상에 절연 특성이 우수한 개선된 박막(32')을 형성할 수 있으며, 이러한 개선된 박막(32')은 게이트 절연막 또는 캐패시터 유전막 등으로 사용하기에 충분한 특성을 가진다.According to the present embodiment, by performing the flushing step (LOT) during the atomic layer deposition process, an improved thin film 32 'having excellent insulating properties can be formed on the
이하, 전술한 박막 형성 방법을 이용하여 반도체 장치의 캐패시터를 제조하는 방법을 첨부된 도면들을 참조하여 상세하게 설명한다.Hereinafter, a method of manufacturing a capacitor of a semiconductor device using the aforementioned thin film forming method will be described in detail with reference to the accompanying drawings.
도 14는 본 발명에 따른 캐패시터를 제조하는 방법을 설명하기 위한 순서도를 도시한 것이다.14 is a flowchart illustrating a method of manufacturing a capacitor according to the present invention.
도 14를 참조하면, 그 상부에 하부 전극이 형성된 기판을 반응기 내에 위치시킨다(단계 S210). 이어서, 상기 반응기 내로 유전 물질을 구성하는 제1 원소를 포함하는 제1 반응물을 도입하여 상기 제1 반응물을 부분적으로 상기 하부 전극 상에 화학 흡착시킨(단계 S220) 후, 상기 반응기 내에 제1 퍼지 가스를 도입하여 화학 흡착되지 않은 물질을 1차 퍼징한다(단계 S230).Referring to FIG. 14, a substrate having a lower electrode formed thereon is positioned in a reactor (step S210). Subsequently, a first reactant including a first element constituting a dielectric material is introduced into the reactor to partially adsorb the first reactant on the lower electrode (step S220), and then a first purge gas into the reactor. To first purge the material that has not been chemisorbed (step S230).
계속하여, 상기 반응기 내에 상기 제1 원소와 결합하는 제2 원소를 포함하는 제2 반응물을 도입하여 상기 화학 흡착된 제1 반응물을 상기 제2 반응물과 화학적으로 반응시켜 상기 하부 전극 상에 상기 제1 원소와 상기 제2 원소의 화학적 결합에 의한 유전 물질을 형성한(단계 S240) 다음, 상기 반응기 내에 제2 퍼지 가스를 도입하여 미화학 흡착된 물질을 2차 퍼징한다(단계 S250).Subsequently, a second reactant including a second element that combines with the first element is introduced into the reactor to chemically react the chemisorbed first reactant with the second reactant to form the first reactant on the lower electrode. After forming a dielectric material by chemical bonding of the element and the second element (step S240), a second purge gas is introduced into the reactor to secondary purge the unchemically adsorbed material (step S250).
다음에, 상기 반응기 내에 제2 원소를 포함하는 제1 플러싱 가스를 상기 유전 물질에 적용하여 특성이 개선된 유전막을 상기 기판 상에 형성한다(단계 S260). 이 때, 상기 제1 플러싱 가스는 03, O2, H20, H2O2, N20, CO2, NH3또는 N2 가운데 선택된 어느 하나 이상을 포함한다. 바람직하게는, 상기 제1 플러싱 가스는 플라즈마, 리모트 플라즈마 또는 자외선을 이용하여 활성화시킨 03, O2, H20, H2O2, N20, CO2, NH3또는 N2중 어느 하나 이상을 포함한다. 또한, 상기 제1 플러싱 가스는 전술한 제2 반응물과 동일한 조성을 물질을 포함할 수 있다.Next, a first flushing gas containing a second element in the reactor is applied to the dielectric material to form a dielectric film having improved properties on the substrate (step S260). In this case, the first flushing gas includes at least one selected from 03 , O2 , H2 O, H2 O2 ,
상기 제1 플러싱 가스를 상기 유전 물질에 적용하여 특성이 개선된 유전막을 형성하는 단계는 약 200 내지 약 400℃ 정도의 온도에서 수행된다. 일반적으로 반응 온도가 높아야 반응성이 증가하므로, 적어도 약 200℃ 이상의 온도에서 플러싱 단계를 수행한다. 그러나, 플러싱 단계의 온도가 약 400℃를 초과하게 되면 상기 유전 물질의 결정화가 진행되어 유전막의 누설 전류가 증가하는 문제점이 발생한다. 또한, 상기 플러싱 단계는 플러싱되는 유전 물질의 두께에 따라 변화되지만, 약 1분 내지 약 10분 정도 실시하는 것이 바람직하다. 상기 플러싱 단계에 약 1분미만으로 실시될 경우, 유전막의 막질 개선 효과가 충분하지 않은 반면, 약 10분을 초과하여 비교적 장시간 진행되면 경제적으로 바람직하지 않을 뿐만 아니라 상기 유전막 막질의 열화를 가져올 수 있다.Applying the first flushing gas to the dielectric material to form a dielectric film having improved properties is performed at a temperature of about 200 to about 400 ℃. Generally, a higher reaction temperature leads to increased reactivity, so the flushing step is performed at a temperature of at least about 200 ° C or higher. However, when the temperature of the flushing step exceeds about 400 ° C., crystallization of the dielectric material proceeds to increase the leakage current of the dielectric film. In addition, the flushing step is changed depending on the thickness of the dielectric material to be flushed, but preferably about 1 minute to about 10 minutes. If the flushing step is performed in less than about 1 minute, the film quality improvement effect of the dielectric film is not sufficient, but if it proceeds for a relatively long time for more than about 10 minutes, it is not economically desirable and may lead to deterioration of the film quality. .
이후에, 통상적인 캐패시터의 제조 공정에 따라 상기 특성이 개선된 유전막상에 상부 전극을 형성하여(단계 S270) 상기 기판 상에 캐패시터를 완성한다.Thereafter, an upper electrode is formed on the dielectric film having improved characteristics according to a conventional capacitor manufacturing process (step S270) to complete the capacitor on the substrate.
이하, 본 발명의 일 실시예에 따른 캐패시터의 제조 방법을 보다 상세하게 설명한다.Hereinafter, a method of manufacturing a capacitor according to an embodiment of the present invention will be described in more detail.
도 15a 내지 도 15e는 도 14에 도시한 캐패시터의 제조 방법을 설명하기 위한 단면도들이다. 다만, 하기의 캐패시터의 제조 방법은 예시적인 것으로서, 본 발명이 하기의 실시예에 의하여 한정되는 것은 아니다.15A to 15E are cross-sectional views illustrating a method of manufacturing the capacitor shown in FIG. 14. However, the manufacturing method of the following capacitor is an illustration, The present invention is not limited by the following Example.
도 15a를 참조하면, 소자 분리 영역(102)에 의해 활성 영역(101)이 정의된 반도체 기판(100) 상에 게이트 유전막(104), 게이트 전극(110) 및 소오스/드레인 영역(116a, 116b)을 포함하는 트랜지스터들을 형성한다. 대체로, 1 기가비트 이상의 반도체 장치에서는 Toxeq가 약 10 Å 내외인 매우 얇은 게이트 유전막이 요구되기 때문에, 원자층 증착(ALD) 공정을 이용하여 얇은 게이트 유전막(104)을 형성하는 것이 바람직하다. 즉, 도 4a 내지 도 4e에 도시한 바와 같이, 예를 들면, 금속 알콕사이드 전구체와 O3, 플라즈마 O2, 리모트 플라즈마 O2 또는 플라즈마 N2O 등과 같은 활성화된 산화제를 사용하는 원자층 증착(ALD) 공정으로 반도체 기판(100) 상에 금속 산화막으로 이루어진 게이트 유전막(104)을 형성한다. 바람직하게는, Hf(OtBu)4 및 O3를 이용한 원자층 증착(ALD) 공정으로 기판(100) 상에 HfO2 게이트 유전막(104)을 형성한다.Referring to FIG. 15A, a
상기 게이트 전극(110)은 불순물이 도핑된 폴리실리콘막(106) 및 금속 실리사이드막(108)이 순차적으로 적층된 폴리사이드 구조로 형성하는 것이 바람직하다. 상기 게이트 전극(110)의 상면 및 측벽에는 각기 실리콘 산화물이나 실리콘 질화물로 이루어진 캡핑 절연막(112) 및 스페이서(114)가 형성된다.The
도 15b를 참조하면, 상기 트랜지스터들이 형성된 반도체 기판(100)의 전면에 산화물로 이루어진 제1 절연막(118)을 형성한 후, 사진 식각 공정으로 상기 제1 절연막(118)을 식각하여 상기 소오스 영역(116a)을 부분적으로 노출하는 콘택 홀(120)을 형성한다.Referring to FIG. 15B, after the first insulating
이어서, 상기 콘택 홀(120) 및 제1 절연막(118) 상에 제1 도전막, 예를 들면, 인(P)으로 도핑된 폴리실리콘막을 증착한 후, 상기 제1 절연막(118)의 표면이 노출될 때까지 상기 제1 도전막을 에치백(etch back) 공정 또는 화학 기계적 연마(CMP) 공정으로 제거하여 상기 콘택 홀(120) 내에 콘택 플러그(122)를 형성한다.Subsequently, a first conductive layer, for example, a polysilicon layer doped with phosphorus (P), is deposited on the
도 15c를 참조하면, 상기 콘택 플러그(122) 및 제1 절연막(118) 상에 식각 방지막(123)을 형성한다. 상기 식각 방지막(123)은 상기 제1 절연막(118)에 대하여 높은 식각 선택비를 가지는 물질, 예를 들면, 실리콘 질화물(SixNy) 또는 실리콘 산질화물(SiON)로 이루어진다.Referring to FIG. 15C, an
상기 식각 방지막(123) 상에 산화물로 이루어진 제2 절연막(124)을 형성한 다음, 상기 제2 절연막(124)을 식각하여 상기 콘택 플러그(122)를 노출하는 개구부(126)를 형성한다. 구체적으로, 상기 제2 절연막(124)을 식각 방지막(123)이 노출될 때까지 부분적으로 식각한 다음, 소정의 시간 동안 과도 식각하여 콘택 플러그(122) 및 제1 절연막(118)을 부분적으로 노출하는 개구부(126)를 형성한다. 이 경우, 개구부(126)는 상구보다 저부가 좁도록 소정의 측벽 기울기를 가지면서 형성된다. 이러한 점은 상기 식각 공정을 수행할 때 로딩 효과에 의해 개구부(126)의 상구에 비해 저부의 식각율(etch rate)이 감소되기 때문이다.After forming the second insulating
이어서, 상기 개구부(126)의 측면과 저면 및 상기 제2 절연막(124)의 상에 제2 도전막(127)을 형성한다. 상기 제2 도전막(127)은 폴리실리콘과 같은 반도체 물질, 루테늄(Ru), 플라티늄(Pt) 또는 이리듐(Ir) 등과 같은 희금속 또는 티타늄 질화물(TiN), 탄탈륨 질화물(TaN) 내지 텅스텐 질화물(WN) 등의 도전성 금속 질화물을 사용하여 형성한다.Subsequently, a second
도 14 및 도 15d를 참조하면, 상기 제2 도전막(127) 및 개구부(126) 상에 희생막(도시하지 않음)을 형성한 후, 상기 개구부(126)의 측면과 저면에만 제2 도전막(127)이 잔류하도록 상기 희생막의 상부를 에치백 또는 화학 기계적 연마 공정으로 제거한다. 이에 따라, 상기 제2 절연막(124)의 표면에 증착되었던 제2 도전막(127)이 제거되어 상기 개구부(126) 내부의 프로파일을 따라 증착된 제2 도전막(127)이 각 셀 단위로 분리된다.14 and 15D, after a sacrificial film (not shown) is formed on the second
다음에, 상기 희생막을 습식 식각 공정으로 제거하여 각각의 셀 영역에 캐패시터의 하부 전극(128)을 형성한 후, 하부 전극(128)을 포함하는 하부 구조물이 형성된 기판을 원자층 증착(ALD) 반응기 내에 도입한다(S210).Next, the sacrificial layer is removed by a wet etching process to form the
이어서, 상기 하부 전극(128) 상에 도 4a 내지 도 4e에 도시한 바와 같이, Hf(OtBu)4와 같은 하프늄 알콕사이드 전구체와 O3, 플라즈마 O2, 리모트 플라즈마 O2내지 플라즈마 N2O 등의 활성화된 산화제를 이용한 원자층 증착(ALD) 공정으로 HfO2를 증착함으로써, 캐패시터의 유전막(130)을 형성한다(S220 내지 S250). 전술한 바와 같이, 예를 들면, 금속 알콕사이드 전구체와 활성화된 산화제를 이용한 원자층 증착(ALD) 공정을 적용함으로써, 약 13:1 이상의 높은 어스펙트비를 갖는 하부 전극(128) 상에서 상부 두께와 하부 두께의 비가 약 1:0.8 이상의 우수한 단차 도포성을 갖는 유전막(130)을 형성할 수 있다. 이 경우, 유전막(130)은 상술한 바와 같이 HfO2의 단일막으로 형성할 수도 있으며, 두 가지 이상의 금속 산화막이 교대로 적층된 복합막으로 형성할 수도 있다. 예를 들면, 원자층 증착(ALD) 공정의 금속 전구체를 변화시키면서 Al2O3/HfO2/Al2O3/HfO2의 적층 구조로 이루어진 유전막(130)을 하부 전극(128) 상에 형성할 수 있다.Subsequently, as illustrated in FIGS. 4A to 4E, hafnium alkoxide precursors such as Hf (OtBu)4 , O3 , plasma O2 , remote plasma O2 to plasma N2 O, and the like are formed on the
여기서, 상기 하부 전극(128)이 폴리실리콘을 포함하는 경우에는 상기 유전막(130)을 형성하는 동안 산화제에서 유래되는 산소가 하부 전극(128)의 실리콘과 반응하여 하부 전극(128)을 산화시키게 된다. 따라서, 상기 유전막(130)을 형성하기 전에, 질소 가스를 포함하는 분위기 하에서 급속 열적 질화(Rapid Thermal Nitridation; RTN) 공정 또는 플라즈마 질화 공정으로 상기 하부 전극(128)의 표면을 질화시킴으로써, 상기 하부 전극(128)이 산화되는 것을 방지할 수 있다.Here, when the
도 15d를 참조하면, 전술한 바와 같이 금속 알콕사이드 전구체와 O3 산화제 를 이용한 원자층 증착(ALD) 공정으로 유전막(130)을 형성한 후, 제1 플러싱 가스를 도입하여 상기 유전막(130)의 막질을 개선한다(S260). 이러한 유전막(130)의 막질 개선 공정은 상술한 박막 형성 방법과 실질적으로 동일하게 수행된다.Referring to FIG. 15D, as described above, after forming the
도 15e를 참조하면, 상기 유전막(130) 상에 캐패시터(C)의 상부 전극(132)을 형성하여, 하부 전극(128), 유전막(130) 및 상부 전극(132)을 포함하는 캐패시터(C)를 형성한다(S270). 이 경우, 상부 전극(132)은 폴리실리콘과 같은 반도체 물질, 루테늄(Ru), 플라티늄(Pt) 혹은 이리듐(Ir) 등과 같은 희금속, 또는 티타늄 질화물(TiN), 탄탈륨 질화물(TaN) 내지 텅스텐 질화물(WN) 등과 같은 도전성 금속 질화물을 사용하여 형성한다. 바람직하게는, 상기 상부 전극(132)은 질화 티타늄(TiN)막과 폴리실리콘막이 순차적으로 적층된 구조로 형성한다. 이 때, 상기 질화티타늄(TiN)막은 캐패시터(C)의 하부 구조의 열화를 방지하기 위하여 약 550℃ 이하의 온도에서 형성하는 것이 바람직하다.Referring to FIG. 15E, a capacitor C including a
한편, 상기 상부 전극(132) 상에 도전막(도시되지 않음)을 형성하는 단계를 추가적으로 수행할 수 있다. 예를 들면, 상부 전극(132)으로 질화 티타늄(TiN) 박막을 형성한 다음, 실제 반도체 메모리 장치의 제조의 후속 공정을 위하여 추가적으로 도전 물질을 증착할 수 있다. 이 경우, 상기 도전 물질은 n형 또는 p형으로 도핑된 실리콘(doped silicon), n형 또는 p형으로 도핑된 실리콘 게르마늄(SixGey), 또는 텅스텐(W), 텅스텐 질화물(WN) 내지 알루미늄 질화물(AlN) 등과 같은 금속 또는 금속 질화물로 이루어진다.Meanwhile, a step of forming a conductive film (not shown) on the
이하, 실험예 및 비교예를 통하여 본 발명을 더욱 상세하게 설명한다.Hereinafter, the present invention will be described in more detail with reference to experimental and comparative examples.
실험예Experimental Example
박막의 형성Formation of a thin film
실린더형이고, 인이 도핑된 폴리실리콘 기판 상에 급속 열 질화(Rapid Thermal Nitridation: RTN) 방식으로 질화막을 형성하였다.A nitride film was formed on a cylindrical, phosphorus-doped polysilicon substrate by Rapid Thermal Nitridation (RTN).
이어서, 하프늄(Hf) 소스인 테트라키스 에틸 메틸 아미노 하프늄(Tetrakis Ethyl Methyl Amino Hafnium)을 유입하여 기판에 화학적 및 물리적으로 흡착시킨 후, 질소(N2) 가스를 사용하여 물리적으로 흡착된 하프늄(Hf) 소스를 제거하였다. 오존(O3) 가스를 유입하고 하프늄(Hf)과 반응시켜 상기 기판 상에 하프늄 옥사이드(HfO2)막을 형성한 다음, 잔류하는 부 반응물 내지는 오존(O3)을 질소(N2) 가스를 사용하여 제거하였다. 상기 과정은 원자층 증착(ALD) 반응기에서 약 300℃ 정도에서 수행되었고, 상기 기판 상에 약 10Å정도의 두께로 하프늄 옥사이드(HfO2) 박막이 형성될 때까지 반복하였다.Subsequently, Tetrakis Ethyl Methyl Amino Hafnium, a hafnium source, is introduced and chemically and physically adsorbed onto the substrate, and then physically adsorbed using nitrogen (N2 ) gas. ) The source was removed. Inflowing ozone (O3 ) gas and reacting with hafnium (Hf) to form a hafnium oxide (HfO2 ) film on the substrate, and then using the residual secondary reactant or ozone (O3 ) nitrogen (N2 ) gas To remove. The process was performed at about 300 ° C. in an atomic layer deposition (ALD) reactor and was repeated until a hafnium oxide (HfO2 ) thin film was formed on the substrate with a thickness of about 10 μs.
박막의 개질-플러싱 공정Thin film reforming-flushing process
오존(O3) 가스만을 약 5분 동안(시편 1; 이하에서 특별한 언급이 없는 한 실시예의 실험결과는 시편 1을 사용한 실험결과를 의미한다.) 및 약 1분 동안(시편 2) 유입하여 기판 상에 형성된 하프늄 옥사이드(HfO2) 박막 내의 탄소 등의 불순물을 제거하고, 산소 결핍을 방지하는 공정을 실시하였다. 그리고 이상에서 열거한 일련의 하프늄 옥사이드(HfO2) 박막 증착 및 막질 개선 단계를 3회 반복하여 기판 상에 약 45Å 정도의 두께로 하프늄 옥사이드(HfO2) 박막을 형성하였다.Only ozone (O3 ) gas was introduced for about 5 minutes (
상부 구조물의 형성Formation of superstructure
TiCl4 및 NH3를 반응물질로 사용하고 반응 온도는 약 450℃의 저온으로 하여 원자층 증착(ALD) 방식으로 상기 형성된 HfO2 박막 상에 TiN막을 형성하고, 상기 TiN막 상에 SiH4 및 GeH4 전구체를 사용하고 반응 온도는 약 420℃의 저온에서 매엽식(single wafer type) CVD 장치에서 SiGe 캡핑막을 형성하였다. 이 때, SiGe 캡핑막 형성시 PH3를 도핑하여, 상기 SiGe 캡핑막 내에 활성화된 도펀트를 형성하였다.TiN4 and NH3 are used as a reactant and the reaction temperature is about 450 ° C. at low temperature to form a TiN film on the formed HfO2 thin film by atomic layer deposition (ALD), and SiH4 and GeH on the TiN film. SiGe capping film was formed in a single wafer type CVD apparatus using4 precursors and a reaction temperature of about 420 ° C. At this time, PH3 was doped when the SiGe capping layer was formed to form an activated dopant in the SiGe capping layer.
비교예Comparative example
또한, 상기에서와 플러싱 공정을 수행하지 않은 것을 제외하고는 상술한 바와 동일한 방법으로 기판 상에 박막을 형성하여 비교 시편을 수득하였다.In addition, a comparative specimen was obtained by forming a thin film on the substrate in the same manner as described above except that the flushing process was not performed.
박막 내의 탄소밀도 비교Comparison of Carbon Density in Thin Films
도 16은 박막 내의 탄소의 밀도를 나타내는 TOF-SIMS 그래프이다.16 is a TOF-SIMS graph showing the density of carbon in a thin film.
도 16에 도시한 바와 같이, 플러싱을 수행하지 아니한 비교예에 비하여 플러싱을 1분간 실시한 실험예의 시편 2가 박막 내의 탄소 함유량이 상대적으로 적으며, 플러싱을 5분간 실시한 실험예의 시편 1의 경우 하프늄 산화막과 기판의 계면에서 잔류 탄소가 거의 모두 제거되었음을 관찰할 수 있다.As shown in FIG. 16, the carbon content in the specimen bivalent thin film of the Experimental Example in which the flushing was performed for 1 minute was relatively lower than that of the comparative example in which the flushing was not performed. It can be observed that almost all residual carbon is removed at the interface between the substrate and the substrate.
박막의 누설전류 제어특성 비교Comparison of Leakage Current Control Characteristics of Thin Films
도 17은 누설전류 제어 특성을 나타내는 그래프이다.17 is a graph showing leakage current control characteristics.
구체적으로, 도 17은 상기 실시예 및 비교예에 따라 기판 상에 박막을 형성한 후의 누설 전류 제어특성을 나타낸 그래프이다. 그 결과, 약 20Å 수준의 Toxeq 값을 보였다. 도 17에 도시한 바와 같이, 본 발명에 따른 유전막의 경우 비교예에 의한 유전막에 비하여 동등한 Toxeq를 유지하면서도 누설 전류는 현저히 개선됨을 알 수 있다, 즉, 100 나노미터 이하급 메모리 소자의 동작 전압인 약 1.0V 부근에서 실험예의 경우에 비교예에 비하여 약 100배 이상의 누설 전류 제어 효과를 보여준다. 즉, 본 발명에 따른 유전막의 경우 약 1.0V에서 셀(cell)당 femto A 수준의 누설 전류를 유지하며 약 20Å 정도의 Toxeq 값을 갖는 캐패시터를 제조할 수 있다.Specifically, FIG. 17 is a graph illustrating leakage current control characteristics after forming a thin film on a substrate according to the above Examples and Comparative Examples. As a result, the Toxeq value was about 20 dB. As shown in FIG. 17, it can be seen that the leakage current is remarkably improved in the dielectric film according to the present invention, while maintaining the equivalent Toxeq as compared with the dielectric film according to the comparative example. In the case of the experimental example at about 1.0V, the leakage current control effect was about 100 times higher than that of the comparative example. That is, in the case of the dielectric film according to the present invention, a capacitor having a Toxeq value of about 20 mA can be manufactured while maintaining a leakage current of femto A level per cell at about 1.0V.
열처리에 따른 박막의 열화정도 비교Comparison of Degradation Degree of Thin Films by Heat Treatment
도 18은 유전막 형성 후 후속되는 열처리 공정에 따른 누설 전류 제어 특성을 나타내는 그래프이다. 즉, 도 18은 상기 실시예 및 비교예에 있어서, 하프늄 산화막(유전막) 상에 상부 구조물 형성 및 그 이후에 수행되는 각종 열처리 공정을 수행한 경우의 하프늄 산화막의 누설 전류 제어 특성의 변화를 나타내는 그래프이다.18 is a graph showing leakage current control characteristics of a heat treatment process subsequent to forming a dielectric film. That is, FIG. 18 is a graph showing changes in leakage current control characteristics of hafnium oxide films when the upper structure is formed on the hafnium oxide films (dielectric films) and various heat treatment processes performed thereafter are performed in the above Examples and Comparative Examples. to be.
도 18을 참조하면, 실시예에 따른 유전막의 경우에는 약 500℃ 정도의 온도까지 우수한 누설 전류 제어 특성이 유지되지만, 비교예에 의한 유전막의 경우에는 약 450℃ 정도의 온도에서 급격하게 열화가 진행되어 누설 전류가 대폭 증가함을 알 수 있다.Referring to FIG. 18, in the case of the dielectric film according to the embodiment, excellent leakage current control characteristics are maintained up to a temperature of about 500 ° C., but in the case of the dielectric film according to the comparative example, deterioration is rapidly performed at a temperature of about 450 ° C. It can be seen that the leakage current is greatly increased.
누설전류와 Toxeq의 관계Relationship between Leakage Current and Toxeq
도 19는 실험예에 따른 유전막의 플러싱 시간에 따른 누설 전류와 Toxeq의 관계를 나타내는 그래프이다.19 is a graph showing the relationship between leakage current and Toxeq according to the flushing time of the dielectric film according to the experimental example.
대체로 플러싱 시간이 길어질수록 유전막의 누설 전류는 증가하는 반면, Toxeq는 감소하게 되므로 최적의 플러싱 시간을 정하는 것이 중요하게 된다. 따라서, 도 19에 도시한 바와 같이, 실험예의 조건에 의하는 경우 약 5분 정도가 최적의 플러싱 시간임을 알 수 있다.In general, as the flushing time increases, leakage current of the dielectric film increases while Toxeq decreases, so it is important to determine an optimal flushing time. Therefore, as shown in FIG. 19, it can be seen that about 5 minutes is the optimal flushing time in the case of the experimental example.
DRAM의 성능시험DRAM performance test
도 20은 상기 실시예에 의한 캐패시터를 포함하는 DRAM에서의 누설 전류 제어 특성을 나타내는 그래프이다.Fig. 20 is a graph showing leakage current control characteristics in a DRAM including a capacitor according to the embodiment.
도 20을 참조하면, 상기 실시예에 의한 금속-절연막-반도체(MIS) 캐패시터를 80nm DRAM에 집적한 경우, 우수한 누설 전류 제어 특성을 나타내고 있음을 확인할 수 있으며, 특히 0.9V에서 31.5fF 정도의 캐패시턴스를 가지고, 누설전류가 매우 적음을 알 수 있다.Referring to FIG. 20, when the metal-insulating film-semiconductor (MIS) capacitor according to the above embodiment is integrated in an 80nm DRAM, excellent leakage current control characteristics are exhibited, in particular, a capacitance of about 31.5fF at 0.9V. It can be seen that the leakage current is very small.
본 발명에 의하면, 박막 내의 탄소를 인-시츄 공정을 통하여 효과적으로 제거할 수 있어 누설 전류를 현저히 감소시킬 수 있고, 산소 결핍을 방지하여 기판 상에 우수한 절연 특성을 가지는 박막을 형성할 수 있다.According to the present invention, the carbon in the thin film can be effectively removed through the in-situ process, thereby significantly reducing the leakage current, and preventing the oxygen deficiency to form a thin film having excellent insulating properties on the substrate.
또한, 저온의 플러싱 단계를 통하여 박막 특성을 개선하기 때문에 열처리에 따른 박막의 결정화 및 이로 인하여 유발되는 열화를 방지할 수 있다. 더욱이, 이와 같은 박막은 예를 들면, 게이트 산화막이나 캐패시터 유전막 등으로 널리 사용 될 수 있어 그 활용 범위가 넓으며, 종래의 원자층 증착 공정과 결합하여 초박막이면서 양질인 절연막을 형성할 수 있다.In addition, since the thin film characteristics are improved through a low temperature flushing step, it is possible to prevent crystallization and deterioration caused by the thin film due to heat treatment. In addition, such a thin film can be widely used, for example, as a gate oxide film or a capacitor dielectric film, and thus has a wide application range, and can be combined with a conventional atomic layer deposition process to form an ultra-thin and high-quality insulating film.
특히, 본 발명에 따른 박막을 반도체 메모리 소자의 절연막으로 사용하는 경우, 동일한 절연 효과를 얻기 위하여 상대적으로 얇은 절연막을 사용하는 것이 가능해지기 때문에 최근의 1㎛ 이하의 디자인 룰이 요구되는 고집적의 메모리 소자 제조 공정에 효과적으로 대처할 수 있다. 결과적으로, 본 발명에 따르면 양질의 박막과 이를 이용한 신뢰성 높은 메모리 소자를 경제적으로 생산할 수 있게 되므로 전체적인 반도체 제조 공정에 요구되는 시간 및 비용을 절감할 수 있게 된다.In particular, when the thin film according to the present invention is used as an insulating film of a semiconductor memory device, it is possible to use a relatively thin insulating film in order to obtain the same insulation effect, so that a high density memory device requiring a recent design rule of 1 μm or less is required. It can cope effectively with the manufacturing process. As a result, according to the present invention, it is possible to economically produce a high quality thin film and a reliable memory device using the same, thereby reducing the time and cost required for the overall semiconductor manufacturing process.
상기에서는 본 발명의 바람직한 실시예들을 참조하여 설명하였지만, 해당 기술 분야의 숙련된 당업자는 하기의 특허 청구의 범위에 기재된 본 발명의 사상 및 영역으로부터 벗어나지 않는 범위 내에서 본 발명을 다양하게 수정 및 변경시킬 수 있음을 이해할 수 있을 것이다. Although the above has been described with reference to preferred embodiments of the present invention, those skilled in the art will variously modify and change the present invention without departing from the spirit and scope of the invention as set forth in the claims below. I can understand that you can.
| Application Number | Priority Date | Filing Date | Title |
|---|---|---|---|
| US10/793,818US7094712B2 (en) | 2003-09-30 | 2004-03-08 | High performance MIS capacitor with HfO2 dielectric |
| Application Number | Priority Date | Filing Date | Title |
|---|---|---|---|
| KR1020030067809 | 2003-09-30 | ||
| KR20030067809 | 2003-09-30 |
| Publication Number | Publication Date |
|---|---|
| KR20050031851A KR20050031851A (en) | 2005-04-06 |
| KR100560963B1true KR100560963B1 (en) | 2006-03-15 |
| Application Number | Title | Priority Date | Filing Date |
|---|---|---|---|
| KR1020040011765AExpired - Fee RelatedKR100560963B1 (en) | 2003-09-30 | 2004-02-23 | Method of forming material using atomic layer deposition process, method of forming thin film, and method of forming capacitor using the same |
| Country | Link |
|---|---|
| KR (1) | KR100560963B1 (en) |
| Publication number | Priority date | Publication date | Assignee | Title |
|---|---|---|---|---|
| KR101662194B1 (en) | 2015-03-26 | 2016-10-31 | 연세대학교 산학협력단 | Apparatus for plasma enhanced atomic layer deposition and method for forming thin film oxides using the same |
| KR20180091545A (en) | 2017-02-07 | 2018-08-16 | 연세대학교 산학협력단 | Method of forming a metal oxide comprising buffer layer |
| KR20200116724A (en) | 2019-04-02 | 2020-10-13 | 한양대학교 산학협력단 | Method for manufacturing high mobility tin disurfide thin film |
| Publication number | Priority date | Publication date | Assignee | Title |
|---|---|---|---|---|
| KR100771864B1 (en)* | 2005-12-28 | 2007-11-01 | 삼성전자주식회사 | Metal film formation method and capacitor formation method using the same |
| KR100652427B1 (en)* | 2005-08-22 | 2006-12-01 | 삼성전자주식회사 | Method for forming conductive polysilicon thin film by ALD and manufacturing method of semiconductor device using same |
| KR100666876B1 (en)* | 2005-09-26 | 2007-01-10 | 주식회사 아이피에스 | -E-Sb-Te thin film deposition method |
| KR100680970B1 (en)* | 2005-09-29 | 2007-02-09 | 주식회사 하이닉스반도체 | Gate Forming Method of Semiconductor Device |
| KR100712988B1 (en)* | 2005-12-22 | 2007-05-02 | 주식회사 하이닉스반도체 | Semiconductor device having tantalum lanthanum oxide (TALAO) gate insulating film and manufacturing method thereof |
| KR101013818B1 (en)* | 2008-08-01 | 2011-02-14 | 세종대학교산학협력단 | Metal thin film deposition method by atomic layer deposition |
| KR20120064966A (en) | 2010-12-10 | 2012-06-20 | 에스케이하이닉스 주식회사 | Method for fabricating semiconductor device |
| KR102027360B1 (en)* | 2011-09-19 | 2019-10-01 | 에이에스엠 인터내셔널 엔.브이. | Nanolayer deposition process for composite films |
| WO2019021465A1 (en) | 2017-07-28 | 2019-01-31 | 株式会社Kokusai Electric | Semiconductor device production method, substrate processing device and program |
| WO2019028120A1 (en)* | 2017-08-01 | 2019-02-07 | Applied Materials, Inc. | Methods for metal oxide post-treatment |
| KR102299665B1 (en)* | 2019-08-12 | 2021-09-08 | 인천대학교 산학협력단 | Method for selectively depositing dichalcogenide thin film using atomic layer deposition |
| KR102523480B1 (en)* | 2020-10-13 | 2023-04-19 | 김현철 | Method for preparation of metal oxide compound having room temperature superconductivity by using alternating target laser ablation deposition and metal oxide thin film using the method |
| KR20230151730A (en)* | 2022-04-26 | 2023-11-02 | 주성엔지니어링(주) | Method for forming capacitor electrode |
| Publication number | Priority date | Publication date | Assignee | Title |
|---|---|---|---|---|
| KR101662194B1 (en) | 2015-03-26 | 2016-10-31 | 연세대학교 산학협력단 | Apparatus for plasma enhanced atomic layer deposition and method for forming thin film oxides using the same |
| KR20180091545A (en) | 2017-02-07 | 2018-08-16 | 연세대학교 산학협력단 | Method of forming a metal oxide comprising buffer layer |
| KR20200116724A (en) | 2019-04-02 | 2020-10-13 | 한양대학교 산학협력단 | Method for manufacturing high mobility tin disurfide thin film |
| Publication number | Publication date |
|---|---|
| KR20050031851A (en) | 2005-04-06 |
| Publication | Publication Date | Title |
|---|---|---|
| US7087482B2 (en) | Method of forming material using atomic layer deposition and method of forming capacitor of semiconductor device using the same | |
| US7396719B2 (en) | Method of forming high dielectric film using atomic layer deposition and method of manufacturing capacitor having the high dielectric film | |
| US7151039B2 (en) | Method of forming oxide layer using atomic layer deposition method and method of forming capacitor of semiconductor device using the same | |
| US7122415B2 (en) | Atomic layer deposition of interpoly oxides in a non-volatile memory device | |
| KR100464855B1 (en) | method for forming a thin film, and method for forming a capacitor and a transistor of a semiconductor device using the same | |
| US6806145B2 (en) | Low temperature method of forming a gate stack with a high k layer deposited over an interfacial oxide layer | |
| US8481122B2 (en) | Methods of forming material over substrates | |
| KR100415538B1 (en) | Capacitor with double dielectric layer and method for fabricating the same | |
| KR100560963B1 (en) | Method of forming material using atomic layer deposition process, method of forming thin film, and method of forming capacitor using the same | |
| US7682899B2 (en) | Method of manufacturing semiconductor device | |
| KR100422565B1 (en) | Method of forming a capacitor of a semiconductor device | |
| KR100874399B1 (en) | Material formation method using atomic layer deposition method, and capacitor formation method of semiconductor device using same | |
| JP2008174842A (en) | Thin film formation method using atomic layer deposition | |
| US20070098892A1 (en) | Method of forming a layer and method of manufacturing a capacitor using the same | |
| US20070063266A1 (en) | Semiconductor device and method for manufacturing the same | |
| KR20010045958A (en) | Method of manufacturing a capacitor in a semiconductor device | |
| US20060240679A1 (en) | Method of manufacturing semiconductor device having reaction barrier layer | |
| US20030116795A1 (en) | Method of manufacturing a tantalum pentaoxide - aluminum oxide film and semiconductor device using the film | |
| US6525364B1 (en) | Capacitor for semiconductor memory device and method of manufacturing the same | |
| KR100497142B1 (en) | Method of manufacturing a capacitor in a semiconductor device | |
| US7279392B2 (en) | Thin film structure, capacitor, and methods for forming the same | |
| KR100500940B1 (en) | Method for fabricating capacitor in semiconductor device | |
| US7425493B2 (en) | Methods of forming dielectric structures and capacitors | |
| KR100624927B1 (en) | Capacitor Manufacturing Method of Semiconductor Device | |
| KR20050029339A (en) | Method of forming the dielectric layer using atomic layer deposition, and a method of forming a capacitor of a semiconductor device using the same |
| Date | Code | Title | Description |
|---|---|---|---|
| A201 | Request for examination | ||
| PA0109 | Patent application | St.27 status event code:A-0-1-A10-A12-nap-PA0109 | |
| PA0201 | Request for examination | St.27 status event code:A-1-2-D10-D11-exm-PA0201 | |
| PG1501 | Laying open of application | St.27 status event code:A-1-1-Q10-Q12-nap-PG1501 | |
| D13-X000 | Search requested | St.27 status event code:A-1-2-D10-D13-srh-X000 | |
| D14-X000 | Search report completed | St.27 status event code:A-1-2-D10-D14-srh-X000 | |
| PN2301 | Change of applicant | St.27 status event code:A-3-3-R10-R13-asn-PN2301 St.27 status event code:A-3-3-R10-R11-asn-PN2301 | |
| E902 | Notification of reason for refusal | ||
| PE0902 | Notice of grounds for rejection | St.27 status event code:A-1-2-D10-D21-exm-PE0902 | |
| PN2301 | Change of applicant | St.27 status event code:A-3-3-R10-R13-asn-PN2301 St.27 status event code:A-3-3-R10-R11-asn-PN2301 | |
| T11-X000 | Administrative time limit extension requested | St.27 status event code:U-3-3-T10-T11-oth-X000 | |
| P11-X000 | Amendment of application requested | St.27 status event code:A-2-2-P10-P11-nap-X000 | |
| P13-X000 | Application amended | St.27 status event code:A-2-2-P10-P13-nap-X000 | |
| E701 | Decision to grant or registration of patent right | ||
| PE0701 | Decision of registration | St.27 status event code:A-1-2-D10-D22-exm-PE0701 | |
| GRNT | Written decision to grant | ||
| PR0701 | Registration of establishment | St.27 status event code:A-2-4-F10-F11-exm-PR0701 | |
| PR1002 | Payment of registration fee | St.27 status event code:A-2-2-U10-U11-oth-PR1002 Fee payment year number:1 | |
| PG1601 | Publication of registration | St.27 status event code:A-4-4-Q10-Q13-nap-PG1601 | |
| PR1001 | Payment of annual fee | St.27 status event code:A-4-4-U10-U11-oth-PR1001 Fee payment year number:4 | |
| PR1001 | Payment of annual fee | St.27 status event code:A-4-4-U10-U11-oth-PR1001 Fee payment year number:5 | |
| PR1001 | Payment of annual fee | St.27 status event code:A-4-4-U10-U11-oth-PR1001 Fee payment year number:6 | |
| FPAY | Annual fee payment | Payment date:20120229 Year of fee payment:7 | |
| PR1001 | Payment of annual fee | St.27 status event code:A-4-4-U10-U11-oth-PR1001 Fee payment year number:7 | |
| R18-X000 | Changes to party contact information recorded | St.27 status event code:A-5-5-R10-R18-oth-X000 | |
| LAPS | Lapse due to unpaid annual fee | ||
| PC1903 | Unpaid annual fee | St.27 status event code:A-4-4-U10-U13-oth-PC1903 Not in force date:20130309 Payment event data comment text:Termination Category : DEFAULT_OF_REGISTRATION_FEE | |
| PC1903 | Unpaid annual fee | St.27 status event code:N-4-6-H10-H13-oth-PC1903 Ip right cessation event data comment text:Termination Category : DEFAULT_OF_REGISTRATION_FEE Not in force date:20130309 | |
| P22-X000 | Classification modified | St.27 status event code:A-4-4-P10-P22-nap-X000 | |
| P22-X000 | Classification modified | St.27 status event code:A-4-4-P10-P22-nap-X000 | |
| P22-X000 | Classification modified | St.27 status event code:A-4-4-P10-P22-nap-X000 |