Movatterモバイル変換


[0]ホーム

URL:


JPWO2014030393A1 - 抵抗変化素子、および抵抗変化素子の製造方法 - Google Patents

抵抗変化素子、および抵抗変化素子の製造方法
Download PDF

Info

Publication number
JPWO2014030393A1
JPWO2014030393A1JP2014531520AJP2014531520AJPWO2014030393A1JP WO2014030393 A1JPWO2014030393 A1JP WO2014030393A1JP 2014531520 AJP2014531520 AJP 2014531520AJP 2014531520 AJP2014531520 AJP 2014531520AJP WO2014030393 A1JPWO2014030393 A1JP WO2014030393A1
Authority
JP
Japan
Prior art keywords
film
insulating film
interlayer insulating
resistance change
electrode
Prior art date
Legal status (The legal status is an assumption and is not a legal conclusion. Google has not performed a legal analysis and makes no representation as to the accuracy of the status listed.)
Pending
Application number
JP2014531520A
Other languages
English (en)
Inventor
宗弘 多田
宗弘 多田
井口 憲幸
憲幸 井口
直樹 伴野
直樹 伴野
岡本 浩一郎
浩一郎 岡本
Current Assignee (The listed assignees may be inaccurate. Google has not performed a legal analysis and makes no representation or warranty as to the accuracy of the list.)
NEC Corp
Original Assignee
NEC Corp
Priority date (The priority date is an assumption and is not a legal conclusion. Google has not performed a legal analysis and makes no representation as to the accuracy of the date listed.)
Filing date
Publication date
Application filed by NEC CorpfiledCriticalNEC Corp
Publication of JPWO2014030393A1publicationCriticalpatent/JPWO2014030393A1/ja
Pendinglegal-statusCriticalCurrent

Links

Images

Classifications

Landscapes

Abstract

本発明は、抵抗変化素子を、半導体基板上の配線層内に設ける際、配線の寄生容量を低く維持したまま、信頼性の高い抵抗変化素子を提供する。本発明では、半導体基板上の配線層内に抵抗変化素子を設ける構造において、第一の層間絶縁膜と、第一の層間絶縁膜の上部に位置する第二の層間絶縁膜とを有し、第一の層間絶縁膜上に形成された、少なくとも電極および抵抗変化膜を具える抵抗変化素子を有し、抵抗変化素子の側面に保護絶縁膜が形成され、前記第一の層間絶縁膜と第二の層間絶縁膜とが直接接している構造を選択する。

Description

本発明は、抵抗変化型不揮発性スイッチング素子(以下では、「抵抗変化素子」と称する)およびその製造方法に関する。特には、多層配線層の内部に形成される抵抗変化素子、該多層配線層の内部に形成される抵抗変化素子により構成されるメモリ、ならびに、多層配線層の内部に形成される抵抗変化素子を利用して構成される、フィールドプログラマブルゲートアレイ(Field Programmable Gate Array;FPGA)を搭載した半導体装置と、抵抗変化素子を多層配線層の内部に形成する方法と関する。
シリコンデバイスを含む半導体デバイスは、「Mooreの法則」として知られる、スケーリング則に基づく微細化によって、デバイスの集積化・低電力化が進められてきた。これまで、「3年で4倍の集積化を図る」というペースで、高集積デバイスの開発が進められてきた。近年、MOSFET(Metal Oxide Semiconductor Field Effect Transistor)のゲート長Lgは20nm以下となり、リソグラフィプロセスの高騰、およびデバイス寸法の物理的限界により、さらなるデバイスの集積化・低電力化には、スケーリング則に基づく微細化とは異なるアプローチが必要となっている。すなわち、スケーリングに則基づく微細化とは異なる手法を利用して、高集積デバイスにおける、デバイス性能の改善を図ることが求められている。
リソグラフィプロセスの高騰の要因には、製造装置価格およびマスクセット価格の高騰が挙げられる。また、デバイス寸法の物理的限界を決定する要因として、デバイス寸法の微細化に起因する動作限界、ならびに、寸法ばらつき限界が挙げられる。
近年、「スケーリング則に基づく微細化」に依らず、デバイス性能の改善を図る手法として、「バックエンド・デバイス」を用いることが期待されている。「バックエンド・デバイス」とは、ULSIの多層配線層内に搭載される能動素子であり、特に、低消費電力で不揮発性の抵抗変化型スイッチング素子を利用する記憶装置として、MRAM(マグネティック・ランダム・アクセス・メモリ)、PRAM(フェイズチェンジ・ランダム・アクセス・メモリ)、ReRAM(レジスティブ・ランダム・アクセス・メモリ)などがある。従来のCMOS半導体装置上に搭載することで、抵抗変化型スイッチング素子で構成される「バックエンド・デバイス」を不揮発性メモリとして用いたり、不揮発性スイッチとして用いたりすることで、メモリやスイッチの状態維持に要する電力を省き、半導体装置の低消費電力化を実現する手段として、期待されている。
「バックエンド・デバイス」、例えば、MRAM、PRAM、ReRAMのような抵抗変化素子で構成される不揮発性メモリは、半導体装置の小型化および大記憶容量化の傾向に伴って、搭載容量を増大させることが期待されている。
一方、「ゲートアレイ」と「スタンダードセル」の中間的な位置付けの「ロジックデバイス」として、「FPGA」と呼ばれる、再書き換え可能なプログラマブルロジックデバイスがある。FPGAは、「ロジックデバイス」チップの製造後、「スイッチング素子の切り替え」を行い、顧客自身が任意の回路構成を選択することを可能としている。このようなFPGAにおける「論理回路の切り替え」を、多層配線層内に搭載した抵抗変化素子を、抵抗変化型不揮発性スイッチング素子として利用して、行うことが期待されている。多層配線層内に搭載することが可能な抵抗変化素子を用いてFPGAを構成すると、回路の自由度を向上させつつ、低消費電力化を行うことができるようになる。
FPGAにおける「論理回路の切り替え」スイッチの用途に適する、抵抗変化型不揮発性スイッチング素子(抵抗変化素子)としては、ReRAMを構成している、イオン伝導体を用いた抵抗変化素子、すなわち、NanoBridge(NEC社の登録商標)などがある。前記抵抗変化素子で利用される、イオン伝導体は、印加された電界によって、イオンが自由に動くことのできる固体電解質である。
不揮発性の抵抗変化型スイッチング素子を利用する記憶装置である、MRAM、PRAM、ReRAMにおいて、それぞれ利用される抵抗変化型スイッチング素子の動作原理を以下に説明する。図14、図15、図17に、MRAM、PRAM、ReRAMの構成の一例を示す。加えて、図16に、FRAM(Ferroelectric RAM)の構成の一例を示す。
MRAMは、外部から印加される磁場によって強磁性体内に発生した磁化が、外部磁場を取り除いた後にも強磁性体内に残留する特性を利用する。MRAMセルでは、絶縁体を間に挟んで2つの磁性体層を積層する構造が用いられる。2つの強磁性体層のうち、一方の磁性体層(固定層)の磁化方向を参照磁化方向とし、他方の磁性体層(自由層)の磁化方向を、記憶データに応じて変更する。2つの強磁性体層間における、磁化方向の一致/不一致に応じて、磁気抵抗が異なる。磁気抵抗の相違に応じて、この記憶素子部を介して流れる電流値が異なることを利用して、データを記憶する。
従って、データ書き込み時には、記憶したいデータに従って、データ記憶用の磁性体層(自由層)の磁化方向を設定し、該データ記憶用の磁性体層(自由層)に外部から印加される磁場の方向を決定する。
MRAMセルに対するデータ書き込み方法として、メモリセルとは別途に設けられた「書き込み配線」に電流を流し、該「書き込み配線」を流れる電流によって発生する磁場を、該データ記憶用の磁性体層(自由層)に印加する方法がある。該「書き込み配線」を流れる電流の方向を反転させると、発生する磁場の方向も反転し、その結果、該データ記憶用の磁性体層(自由層)の磁化方向を反転させることができる。この「書き込み配線」を流れる電流により発生する磁場を利用する方式は、電流磁場書き込み方式と呼ばれる。
絶縁膜を間に挟んで2つの磁性体層を積層する構造に、直接電流を流すことで、磁化不変層(固定層)から注入されたスピントルクにより、磁化自由層(自由層)の磁化方向を反転させる方式、「スピン注入磁化反転方式」も利用されている。
PRAMは、外部から印加された電流によって、相変化材料が、結晶状態(低抵抗化)、あるいは非晶質状態(高抵抗化)に変化する結果、抵抗値が変化する特性を利用する。PRAMセルでは、2つの電極の間に挟まれた相変化層を有する構造が用いられる。相変化材料からなる「抵抗変化素子膜」の結晶/非晶質の二つの相の違いに応じて、抵抗率が大きく異なる。該結晶/非晶質の二つの相間の抵抗率の差異に伴って、この記憶素子を介して流れる電流が異なることを利用してデータを記憶する。データ書き込みは、記憶したいデータに従って、「低抵抗な結晶状態」から「高抵抗な非晶質状態」への相変化、あるいは、「高抵抗な非晶質状態」から「低抵抗な結晶状態」への相変化を引き起こす、電流値とパルス幅を決定し、「低抵抗な結晶状態」、「高抵抗な非晶質状態」のいずれかに設定する。
代表的な相変化物質は、カルコゲナイド合金をあげることができるが、ゲルマニウム、アンチモン、テルルからなるカルコゲナイド合金(Ge2Sb2Te5)が代表的であり、一般に、該相変化物質(Ge2Sb2Te5)は、“GST”と記述される。
「低抵抗な結晶状態」のGSTを、600℃を超える高温に加熱すると、その結晶性を喪失し、その後、冷却すると、「高抵抗な非晶質状態」へと相変化する。一方、「高抵抗な非晶質状態」のGSTを、結晶化温度以上、但し、融点未満の温度に加熱し、その加熱状態に保持すると、再「結晶化」が進行し、「低抵抗な結晶状態」に復する。
PRAMでは、相変化物質(GST)が「低抵抗な結晶状態」である時、「1」を表し、「セット状態」と呼び、相変化物質(GST)が「高抵抗な非晶質状態」である時、「0」を表し、「リセット状態」と呼ぶ。
「リセット状態」から「セット状態」への書き換え、すなわち、「高抵抗な非晶質状態」から「低抵抗な結晶状態」への相変化を引き起こす際には、セットプログラミング電流パルスとして、相対的に小さな電流を長い時間流す。「高抵抗な非晶質状態」では、大きな抵抗値を示すため、「小さな電流」でも、結晶化温度以上への加熱に必要なジュール熱を発生することができ、その状態に保持することで、再「結晶化」が進行し、「低抵抗な結晶状態」に復する。
「セット状態」から「リセット状態」への書き換え、すなわち、「低抵抗な結晶状態」から「高抵抗な非晶質状態」への相変化を引き起こす際には、リセットプログラミング電流パルスとして、相対的に大きな電流を短時間流す。「低抵抗な結晶状態」では、小さな抵抗値を示すため、「大きな電流」を流すことで、600℃を超える高温への加熱に要するジュール熱を発生させる。600℃を超える高温に達すると、「高抵抗な非晶質状態」への相変化が進行するため、抵抗値が急激に上昇し、発生するジュール熱が急激に増加する状態を回避するため、電流パルスの幅は、短時間に設定される。
PRAMでは、データ書き込み時、記憶素子に、前記セットプログラミング電流パルスまたはリセットプログラミング電流パルスを印加することで、「リセット状態」から「セット状態」への書き換えと、「セット状態」から「リセット状態」への書き換えを可逆的に行う。
ReRAMは、外部から印加する電圧と電流に因って、抵抗変化素子膜内部に導電性パスを形成して、「ON」状態とする、逆に、抵抗変化素子膜内部に形成されている導電性パスを消失させ、「OFF」状態とするかに依って、抵抗値が変化する特性を利用する。ReRAMセルでは、2つの電極の間に挟まれた抵抗変化素子膜を有する構造が用いられる。電界誘起巨大抵抗変化効果(Colosal Electro-Resistance)を利用して、例えば、電界を印加して、金属酸化物からなる抵抗変化素子膜内部において、フィラメントを生成し、あるいは、二つの電極間に導電性パスを形成して、「ON」状態とする。一方、その後、逆方向に電界を印加することで、フィラメントを消失させ、あるいは、二つの電極間に形成されている導電性パスを消失させ、「OFF」状態とする。印加する電界の方向を反転させることで、二つの電極間の抵抗値が大きく異なる、「ON」状態と「OFF」状態との間のスイッチングがなされる。前記「ON」状態と「OFF」状態との間における抵抗値の相違に応じて、この記憶素子を介して流れる電流が異なることを利用して、データを記憶する。データ書き込み時は、記憶したいデータに従って、「OFF」状態から「ON」状態への遷移、「ON」状態から「OFF」状態への遷移を引き起こす、電圧値と電流値とパルス幅を選択し、データ記憶用のフィラメントの生成、または消失、あるいは、導電性パスの形成、または、消失を行う。
ReRAMの構成に利用される、抵抗変化型不揮発性スイッチング素子の一種として、ReRAMの「メモリセル」の構成に利用する「回路」の自由度を向上させる可能性の高い、抵抗変化素子として、イオン伝導体中における金属イオン移動と、電気化学反応による「金属イオンの還元による金属の析出」と「金属の酸化による金属イオンの生成」を利用して、抵抗変化素子膜を挟む電極間の抵抗値を可逆的に変化させ、スイッチングを行う、不揮発性スイッチング素子が、非特許文献1に開示されている。非特許文献1に開示される不揮発性スイッチング素子は、イオン伝導体からなる「イオン伝導層」と、「イオン伝導層」の2つの面のそれぞれに接して設けられた「第1電極」および「第2電極」とで構成される。該不揮発性スイッチング素子を構成する、「第1電極」を構成する「第1の金属」と、「第2電極」を構成する「第2の金属」は、金属を酸化し、金属イオンを生成する過程の標準生成ギブズエネルギーΔGが相違している。
非特許文献1に開示される不揮発性スイッチング素子では、「第1電極」を構成する「第1の金属」と、「第2電極」を構成する「第2の金属」は、それぞれ、下記の選択がなされている。
「OFF」状態から「ON」状態への遷移を引き起こす「バイアス電圧」を「第1電極」と「第2電極」の間に印加する際、「第1電極」と「イオン伝導層」との界面において、「第1電極」を構成する「第1の金属」には、印加される「バイアス電圧」で誘起される電気化学反応によって、金属が酸化され、金属イオンを生成し、「イオン伝導層」に金属イオンを供給可能な、金属が採用される。
「ON」状態から「OFF」状態への遷移を引き起こす「バイアス電圧」を「第1電極」と「第2電極」の間に印加する際、該「第2電極」の表面に「第1の金属」が析出している場合、「第2電極」の表面に析出している「第1の金属」は、印加される「バイアス電圧」で誘起される電気化学反応によって、金属が酸化され、金属イオンを生成し、「イオン伝導層」に金属イオンとして、溶解するが、「第2電極」を構成する「第2の金属」には、印加される「バイアス電圧」によっては、金属が酸化され、金属イオンを生成する過程は誘起されない、金属が採用される。
「金属架橋構造の形成」と「金属架橋構造の溶解」によって、「ON」状態と「OFF」状態を達成する、金属架橋型抵抗変化素子における、スイッチング動作を簡単に説明する。
「OFF」状態から「ON」状態への遷移過程(セット過程)では、第2電極を接地して、第1電極に正電圧を印加すると、第1電極とイオン伝導層の界面では、第1電極の金属が金属イオンになってイオン伝導層に溶解する。一方、第2電極側では、第2電極から供給される電子を利用して、イオン伝導層中の金属イオンがイオン伝導層中に金属になって析出する。イオン伝導層中に析出した金属により、金属架橋構造が形成され、最終的に、第1電極と第2電極を接続する金属架橋が形成される。金属架橋で、第1電極と第2電極を電気的に接続することで、スイッチが「ON」状態になる。
一方、「ON」状態から「OFF」状態への遷移過程(リセット過程)では、「ON」状態のスイッチに対して、第2電極を接地して第1電極に負電圧を印加すると、金属架橋を構成している、金属が金属イオンになってイオン伝導層に溶解する。溶解が進行すると、金属架橋を構成している「金属架橋構造」の一部が切れる。最終的に、第1電極と第2電極を接続する金属架橋が切断されると、電気的接続が切れ、スイッチが「OFF」状態になる。
なお、金属の溶解が進行すると、導通経路を構成している「金属架橋構造」は細くなり、第1電極および第2電極間の抵抗が大きくなったり、また、第1電極とイオン伝導層の界面では、溶解している金属イオンが還元され、金属として析出するため、「イオン伝導層」中に含まれる金属イオン濃度が減少し、比誘電率が変化することに伴い、電極間容量が変化したりするなど、電気的接続が完全に切れる前の段階から電気特性が変化し、最終的に電気的接続が切れる。
また、「OFF」状態へと遷移させた(リセットした)金属架橋型抵抗変化素子に、再び、第2電極を接地して第1電極に正電圧を印加すると、「OFF」状態から「ON」状態への遷移過程(セット過程)が進行する。すなわち、該金属架橋型抵抗変化素子では、「OFF」状態から「ON」状態への遷移過程(セット過程)と、「ON」状態から「OFF」状態への遷移過程(リセット過程)を、可逆的に行うことが可能である。
また、非特許文献1では、イオン伝導体を介して2個の電極が配置され、2個の電極の間の導通状態を制御する、2端子型スイッチング素子の構成、およびそのスイッチング動作が開示されている。
以上に説明する抵抗変化素子を応用する、2端子型スイッチング素子は、MOSFETなどの半導体スイッチよりもサイズが小さく、「ON」状態の抵抗が小さいという特徴を具えている。この特徴から、プログラマブルロジックデバイスへの適用に、有望であると考えられている。また、抵抗変化型スイッチング素子においては、セット操作、リセット操作後、セット操作、リセット操作に用いた電圧を印加しなくても、導通状態(「ON」状態または[OFF]状態)がそのまま維持される。従って、抵抗変化型スイッチング素子は、不揮発性メモリ素子を構成するスイッチング素子としての応用も考えられる。
不揮発性メモリ素子を構成する際には、例えば、基本単位として、トランジスタなどの選択素子1個とスイッチング素子1個とでメモリセルを構成する。このメモリセルを、縦方向と横方向にそれぞれ複数配列し、「セル・マトリックス」とする。メモリセルをマトリックス状に配列することで、ワード線およびビット線で、マトリックス状に配列されている、複数のメモリセルの中から任意のメモリセルを選択することが可能となる。そして、選択したメモリセルのスイッチング素子の導通状態(「ON」状態または[OFF]状態)をセンスし、スイッチング素子の「ON」状態または[OFF]状態に基づき、情報「1」または「0」のいずれが格納されているかを読み取ることが可能である。不揮発性メモリを実現できる。
非特許文献1には、イオン伝導体(印加された電界に従って、イオンが移動できる固体電解質)中における金属イオン移動と、電気化学反応、すなわち、金属の酸化による金属イオンの生成(酸化反応)と金属イオンの還元による金属の析出(還元反応)に因る、「金属架橋の形成」と、「金属架橋の溶解」を利用したスイッチング素子(固体電解質スイッチ)が開示されている。非特許文献1に開示されたスイッチング素子は、イオン伝導層と、イオン伝導層を挟んで対向して設けられた第1電極(活性電極)および第2電極(不活性電極)で構成されている。「金属架橋の形成」過程において、第1電極は、イオン伝導層に金属イオンを供給する役割を果たしている。一方、「金属架橋の溶解」過程において、第2電極を構成する金属の酸化による金属イオンの生成(酸化反応)は生じず、金属架橋を構成する金属の酸化による金属イオンの生成が進行する。
上述するMRAM、PRAM、ReRAMにおいて、利用される抵抗変化型スイッチング素子は、それぞれ、
MRAMでは、図14に例示する磁気抵抗効果を利用する磁気抵抗素子であり、
PRAMでは、図15に例示する「高抵抗な非晶質状態」と「低抵抗な結晶状態」の間で可逆的な相変化を起こす、相変化物質(例えば、Ge2Sb2Te5)を利用する、相変化型抵抗変化素子であり、
ReRAMでは、図17に例示する電界誘起巨大抵抗変化効果(Colosal Electro-Resistance)を示す金属酸化物からなる抵抗変化膜を利用する、酸素欠損型抵抗変化素子、あるいは、固体電解質からなる抵抗変化膜を利用する、金属架橋型抵抗変化素子である。磁気抵抗素子で利用される「磁性材料」;相変化型抵抗変化素子で利用される「相変化物質(例えば、Ge2Sb2Te5)」;酸素欠損型抵抗変化素子で使用される「金属酸化物」と該「金属酸化物」と金属/「金属酸化物」接合を形成する「金属電極」;金属架橋型抵抗変化素子で「イオン伝導層」として利用する「固体電解質」、「イオン供給層」として利用する「第1電極」と「イオン伝導層」に電子注入を行う「第2電極」は、例えば、「酸化」を受けると、利用されている物性が失われ、目的とする抵抗変化素子の特性が達成されない場合がある。また、金属架橋型抵抗変化素子で「イオン伝導層」として利用される「多孔質膜」が湿度(水分)を吸収すると、吸収された水分は、「OFF」状態において、「リーク電流」の要因となる。
上記の抵抗変化型スイッチング素子は、いずれも、半導体基板上の配線層内に設けられ、該抵抗変化型スイッチング素子は、層間絶縁膜中に配置される。そのため、層間絶縁膜を形成する工程中、「酸化」あるいは「吸湿」を回避するため、絶縁性、耐酸化性、耐湿性に優れたパッシベーション膜(保護絶縁膜)によって、抵抗変化型スイッチング素子を覆う構造が採用されている。例えば、非特許文献1に記載の金属架橋型抵抗変化素子においては、該金属架橋型抵抗変化素子の周囲を、絶縁性、耐酸化性、耐湿性に優れたSiN膜で覆い、耐酸化性、耐湿性の向上を図っている。パッシベーション膜(保護絶縁膜)を形成する工程自体、「酸化」あるいは「吸湿」を引き起こす懸念が無いことが必要であり、また、抵抗変化型スイッチング素子の側壁面を被覆するため、ステップ・カバレージ性に優れる等方的な堆積法を利用して形成できることが必要である。従って、等方的な堆積法である、プラズマCVD法を適用し、酸素を含む原料を使用せず、堆積されるSiN膜、SiCN膜は、パッシベーション膜(保護絶縁膜)として、好適な絶縁材料である。
プラズマCVD法を適用して堆積されるSiN膜、SiCN膜の優れたパッシベーション性能、例えば、耐酸化性、耐湿性の向上効果は、形成されるSiN膜、SiCN膜の密度が高いため、酸素や水分がSiN膜、SiCN膜を透過することを防止できることに因っている。膜透過性が低いという性質を利用して、密度の高いSiN膜、SiCN膜は、銅の拡散を防止する、絶縁性バリア膜として利用されている。
多層銅配線層において、層間絶縁膜として利用される、SiO2膜、SiOC膜と比較すると、密度の高いSiN膜、SiCN膜の比誘電率kは高い。例えば、65nm世代の銅多層配線においては、層間絶縁膜を構成する絶縁材料として、低誘電率膜が導入され、層間絶縁膜の実効比誘電率keffは、keff=3〜3.5程度となっている。それに対して、SiN膜の比誘電率は7である。
本願発明者らの検討により、微細化された半導体装置の抵抗変化素子を搭載した場合、パッシベーション膜の形成に利用する絶縁材料の比誘電率が高い場合、該パッシベーション膜を層間絶縁膜を構成する複数の絶縁膜の一つとして利用すると、層間絶縁膜の実効比誘電率keffを上昇させることを見出した。層間絶縁膜の実効比誘電率keffの上昇に起因して、銅多層配線の配線間の寄生容量が増加し、信号遅延、及び消費電力の増大を引き起こす要因となることを見出した。例えば、非特許文献1に記載の金属架橋型抵抗変化素子において、パッシベーション膜(保護絶縁膜)として、SiN膜を採用すると、該金属架橋型抵抗変化素子を搭載した多層配線層の配線間寄生容量が増加してしまうという問題を有していることを見出した。
本発明は、本願発明者らの検討により見出された、前記の課題を解決するものである。すなわち、本発明の目的は、多層配線層中に配置される抵抗変化素子に対して、該抵抗変化素子を被覆し、耐酸化性、耐湿性の向上を図るパッシベーション膜(保護絶縁膜)として、例えば、SiN膜を採用する際、該抵抗変化素子を搭載した多層配線層の配線間寄生容量を低く維持したまま、信頼性の高い抵抗変化素子とすることが可能な、新たな構成の抵抗変化素子、該抵抗変化素子を利用する半導体装置、および抵抗変化素子の形成方法を提供することにある。
本願発明者らは、上記の課題を解決するためには、該抵抗変化素子を被覆し、耐酸化性、耐湿性の向上を図るパッシベーション膜(保護絶縁膜)として、例えば、SiN膜を採用する場合、パッシベーション膜(保護絶縁膜)は、該抵抗変化素子の被覆に用いる部分を除き、該抵抗変化素子の被覆に利用されない部分を除去することが有効であることに想到した。この構成を採用すると、該パッシベーション膜を層間絶縁膜を構成する複数の絶縁膜の一つとして利用する状況を回避できる。
その際、抵抗変化素子の被覆に用いる部分は残されており、残されたパッシベーション膜(保護絶縁膜)を覆うように、層間絶縁膜を形成することで、目的の抵抗変化素子を、半導体基板上の配線層内に設けることができる。
本願発明者らは、自らが見出した課題に対して、以上に述べた知見に基づき、本発明を完成させ、課題の解決を図った。
すなわち、本発明にかかる抵抗変化素子は、
半導体基板上の配線層内に設けられる抵抗変化素子であって、
前記配線層は、第一の層間絶縁膜と、第一の層間絶縁膜の上部に位置する第二の層間絶縁膜を有し、
前記抵抗変化素子は、
第一の層間絶縁膜上に形成されている抵抗変化膜と、
該抵抗変化膜の上面に接して形成されている第一の電極を具えており、
前記抵抗変化膜と第一の電極を具える、該抵抗変化素子の側面には、少なくとも、抵抗変化膜の側面を被覆する保護絶縁膜が形成されており、
少なくとも、前記抵抗変化素子の側面に形成されている保護絶縁膜は、第二の層間絶縁膜で被覆され、
前記第二の層間絶縁膜と第一の層間絶縁膜とが直接接している
ことを特徴とする抵抗変化素子である。
前記保護絶縁膜は、SiN膜で形成されている場合、本発明の効果が顕著となる。
また、前記配線層を構成する配線は、銅配線であり、
前記第一の層間絶縁膜は、下層の銅配線の上面に接することが好ましい。
その際、
前記第一の層間絶縁膜は、開口部を有し、
該開口部を介して、抵抗変化素子の抵抗変化膜が、下層の銅配線の上面と接していることが好ましい。
前記第一の層間絶縁膜は、SiN膜、あるいはSiCN膜で形成されていることが好ましい。
前記第一の電極は、Ruを主成分とする金属で形成されており、
前記抵抗変化膜は、固体電解質からなる膜である構成を採用することができる。
前記固体電解質からなる膜は、多孔質膜であることが好ましい。
あるいは、本発明にかかる抵抗変化素子では、
前記抵抗変化膜は、酸化物を含む構成を採用することもできる。
前記第二の層間絶縁膜は、SiO2膜であることが好ましい。
特には、前記第一の電極の上面に、上面保護膜が形成されており、
前記保護絶縁膜は、抵抗変化膜、第一の電極、上面保護膜の側面を被覆している構成を選択することが望ましい。
本発明にかかる抵抗変化素子の構成を採用することで、半導体基板上の配線層内に設けられる、該抵抗変化素子の信頼性を高く維持したまま、多層配線層を構成する、上下の配線層間の寄生容量を低くすることができる。
図1は、半導体装置の多層配線層中に設ける不揮発性スイッチング素子として利用される、本発明の第1の実施形態に係る抵抗変化素子の一構成例を模式的に示す断面図である。図2は、半導体装置の多層配線層中に設ける不揮発性スイッチング素子として利用される、本発明の第2の実施形態に係る抵抗変化素子の一構成例を模式的に示す断面図である。図3は、半導体装置の多層配線層中に設ける不揮発性スイッチング素子として利用される、本発明の第3の実施形態に係る抵抗変化素子の一構成例を模式的に示す断面図である。図4は、半導体装置の多層配線層中に設ける不揮発性スイッチング素子として利用される、本発明の第4の実施形態に係る抵抗変化素子の一構成例を模式的に示す断面図である。図5は、半導体装置の多層配線層中に設ける不揮発性スイッチング素子として利用される、本発明の第5の実施形態に係る抵抗変化素子の一構成例を模式的に示す断面図である。図6は、半導体装置の多層配線層中に設ける不揮発性スイッチング素子として利用される、本発明の第6の実施形態に係る抵抗変化素子の一構成例を模式的に示す断面図である。図7は、半導体装置の多層配線層中に設ける不揮発性スイッチング素子として利用される、本発明の第3の実施形態に係る抵抗変化素子における、第1の実施態様の構成を模式的に示す断面図である。図8は、半導体装置の多層配線層中に設ける不揮発性スイッチング素子として利用される、本発明の第3の実施形態に係る抵抗変化素子における、第2の実施態様の構成を模式的に示す断面図である。図9は、半導体装置の多層配線層中に設ける不揮発性スイッチング素子として利用される、本発明の第3の実施形態に係る抵抗変化素子における、第3の実施態様の構成を模式的に示す断面図である。図10は、図9に示す「第3の実施態様」で採用する、第一の層間絶縁膜と第二の層間絶縁膜が直接接する形態に代えて、第一の層間絶縁膜と第二の層間絶縁膜と間に保護絶縁膜が挿入された形態を採用する構成を模式的に示す断面図である。図11は、半導体装置の多層配線層中に設ける不揮発性スイッチング素子として利用される、本発明の第3の実施形態に係る抵抗変化素子における、第4の実施態様の構成を模式的に示す断面図である。図12Aは、半導体装置の多層配線層中に設ける不揮発性スイッチング素子として利用される、本発明の第3の実施形態に係る抵抗変化素子を製造するプロセスの一例を示し、第5の実施態様の抵抗変化素子の製造プロセスの一連の工程中、ステップB1を模式的に示す断面図である。図12Bは、半導体装置の多層配線層中に設ける不揮発性スイッチング素子として利用される、本発明の第3の実施形態に係る抵抗変化素子を製造するプロセスの一例を示し、第5の実施態様の抵抗変化素子の製造プロセスの一連の工程中、ステップB2を模式的に示す断面図である。図12Cは、半導体装置の多層配線層中に設ける不揮発性スイッチング素子として利用される、本発明の第3の実施形態に係る抵抗変化素子を製造するプロセスの一例を示し、第5の実施態様の抵抗変化素子の製造プロセスの一連の工程中、ステップB3を模式的に示す断面図である。図12Dは、半導体装置の多層配線層中に設ける不揮発性スイッチング素子として利用される、本発明の第3の実施形態に係る抵抗変化素子を製造するプロセスの一例を示し、第5の実施態様の抵抗変化素子の製造プロセスの一連の工程中、ステップB4を模式的に示す断面図である。図12Eは、半導体装置の多層配線層中に設ける不揮発性スイッチング素子として利用される、本発明の第3の実施形態に係る抵抗変化素子を製造するプロセスの一例を示し、第5の実施態様の抵抗変化素子の製造プロセスの一連の工程中、ステップB5を模式的に示す断面図である。図12Fは、半導体装置の多層配線層中に設ける不揮発性スイッチング素子として利用される、本発明の第3の実施形態に係る抵抗変化素子を製造するプロセスの一例を示し、第5の実施態様の抵抗変化素子の製造プロセスの一連の工程中、ステップB6を模式的に示す断面図である。図12Gは、半導体装置の多層配線層中に設ける不揮発性スイッチング素子として利用される、本発明の第3の実施形態に係る抵抗変化素子を製造するプロセスの一例を示し、第5の実施態様の抵抗変化素子の製造プロセスの一連の工程中、ステップB7を模式的に示す断面図である。図12Hは、半導体装置の多層配線層中に設ける不揮発性スイッチング素子として利用される、本発明の第3の実施形態に係る抵抗変化素子を製造するプロセスの一例を示し、第5の実施態様の抵抗変化素子の製造プロセスの一連の工程中、ステップB8を模式的に示す断面図である。図12Iは、半導体装置の多層配線層中に設ける不揮発性スイッチング素子として利用される、本発明の第3の実施形態に係る抵抗変化素子を製造するプロセスの一例を示し、第5の実施態様の抵抗変化素子の製造プロセスの一連の工程中、ステップB9を模式的に示す断面図である。図13は、銅フィラメント型抵抗変化素子におけるスイッチング過程を説明する図であり、上段は、「OFF」状態から「ON」状態への遷移過程(セット過程)を、下段は、「ON」状態から「OFF」状態への遷移過程(リセット過程)を、それぞれ説明する図である。図14は、MRAM(Magnitic RAM)の構成の一例を模式的に示す図である。図15は、PRAM(Phase−change RAM)の構成の一例を模式的に示す図である。図16は、FRAM(Ferroelectric RAM)の構成の一例を模式的に示す図である。図17は、ReRAM(Resistive RAM)の構成の一例を模式的に示す図である。
以下に、本発明をより詳しく説明する。
(第1の実施形態)
本発明の第1の実施形態に係る抵抗変化素子を、多層配線層中に設ける不揮発性スイッチング素子として利用する半導体装置について、図面を参照して、説明する。図1は、半導体装置の多層配線層中に設ける不揮発性スイッチング素子として利用される、本発明の第1の実施形態に係る抵抗変化素子の一構成例を模式的に示す断面図である。
図1に示すように、第1の実施形態に係る抵抗変化素子199は、半導体基板上の配線層内に形成される(図示せず)。該抵抗変化素子199が設けられる多層配線層は、第一の層間絶縁膜101と、第一の層間絶縁膜101の上部に位置する第二の層間絶縁膜102とを有する。抵抗変化素子199は、第一の層間絶縁膜101上に形成され、第一の電極104と抵抗変化膜103を具えている。抵抗変化素子199のうち、第一の電極104と抵抗変化膜103の側面は、保護絶縁膜106によって覆われている。第一の層間絶縁膜101の上部に位置する第二の層間絶縁膜102と、第一の層間絶縁膜101は、直接接している。
抵抗変化膜103は、第一の層間絶縁膜101に開口されたホール(向かって手前か奥の方向に位置するため図示せず)を介して、下層の配線層(図示せず)の表面に接している。従って、開口されたホール部分では、抵抗変化膜103の下面は、下層の配線層と接し、抵抗変化膜103の上面は、第一の電極104と接する構成となっている。
抵抗変化膜103を固体電解質で形成し、下層の配線層が銅配線層である場合、該下層の配線層は、電気化学反応によって、銅イオンを生成し、抵抗変化膜103中に供給するイオン供給層として機能する。すなわち、抵抗変化膜103を「イオン伝導層」とし、下層の配線層を「イオン供給層」として機能する「第1電極」、第一の電極104を「第2電極」とする、銅フィラメント析出型の抵抗変化素子が構成されている。
第1の実施形態に係る抵抗変化素子119が、銅フィラメント析出型の抵抗変化素子を構成する際、抵抗変化膜103は、銅イオンが移動可能なイオン伝導体として機能する、固体電解質で構成される膜である。抵抗変化膜103を構成する固体電解質として、TaO、TaSiO、SiO2、ZrO2、HfO2、TiO2、Al23、有機ポリマー膜、SiOを含む有機ポリマー膜などを用いることができる。第一の電極104は、銅よりも、酸化(金属から金属イオンが生成する過程)の標準生成ギブズエネルギーΔGの絶対値が小さい金属を含む電極である。銅よりも、酸化(金属から金属イオンが生成する過程)の標準生成ギブズエネルギーΔGの絶対値が小さい金属として、RuやPtなどを用いることができる。第一の電極104は、抵抗変化膜103と接する、下層部分と、該下層部分に積層される上層部分とからなる積層構造を構成してもよく、その際、下層部分は、銅よりも、酸化(金属から金属イオンが生成する過程)の標準生成ギブズエネルギーΔGの絶対値が小さい金属で形成する。例えば、第一の電極104として、Ru(下層)/Ta(上層)の積層構造を用いてもよい。
抵抗変化素子199が、第一の層間絶縁膜101に開口されたホール部分に構成される、下層の配線層、抵抗変化膜103、第一の電極104の積層構造で構成される、銅フィラメント析出型の抵抗変化素子である場合には、第一の層間絶縁膜101は、下層の配線層の上面を被覆する。その際、第一の層間絶縁膜101は、SiN膜、SiCN膜、SiC膜、あるいはそれらの積層膜、あるいはそれらの膜と別の絶縁膜の積層膜で構成することができる。第二の層間絶縁膜102は、SiO2膜、あるいはSiOC膜で構成することができる。第二の層間絶縁膜102は、抵抗変化素子199ならびに第一の層間絶縁膜101の上面を被覆するように形成され、そのため、第二の層間絶縁膜102と第一の層間絶縁膜101とが直接接する形態となっている。
抵抗変化素子199のうち、第一の電極104と抵抗変化膜103の側面は、保護絶縁膜106によって覆われている。保護絶縁膜106は、SiN膜を用いて形成することができる。該保護絶縁膜106を形成することにより、第二の層間絶縁膜102を形成する際、第一の電極104の側面から酸化が進行し、抵抗変化膜103と接する第一の電極104の下面に金属酸化物が生成する事態を防ぐことができる。
また、抵抗変化膜103の側面から、固体電解質内に水分が侵入すると、抵抗変化素子199が「高抵抗状態」にある際、侵入した水分が、「リーク電流」の発生要因となる。
加えて、抵抗変化膜103の側面から、固体電解質内に水分が侵入すると、侵入した水分(H2O)は、抵抗変化膜103内部に形成されている銅フィラメントの酸化、抵抗変化膜103と接する下層の配線層(銅配線層)の上面の酸化、あるいは、抵抗変化膜103と接する第一の電極104の下面の酸化を引き起こす。すなわち、侵入した水分(H2O)に起因する酸化は、抵抗変化素子199の抵抗状態を変動させてしまう不良の発生の要因の一つとなる。保護絶縁膜106を形成することにより、抵抗変化膜103の側面から、固体電解質内への水分の侵入を抑制することができ、前記不良の発生を抑制することができる。
抵抗変化素子199が、第一の層間絶縁膜101に開口されたホール部分に構成される、下層の配線層、抵抗変化膜103、第一の電極104の積層構造で構成される、銅フィラメント析出型の抵抗変化素子である場合、下層の配線層と第一の電極104の間に所定のプログラミング電圧を印加することで、プログラミング(スイッチング)を行うことができる。
(第2の実施形態)
本発明の第2の実施形態に係る抵抗変化素子を、多層配線層中に設ける不揮発性スイッチング素子として利用する半導体装置について、図面を参照して、説明する。図2は、半導体装置の多層配線層中に設ける不揮発性スイッチング素子として利用される、本発明の第2の実施形態に係る抵抗変化素子の一構成例を模式的に示す断面図である。
図2に示すように、第2の実施形態に係る抵抗変化素子299は、半導体基板上の配線層内に形成される(図示せず)。該抵抗変化素子299が設けられる多層配線層は、第一の層間絶縁膜201と、第一の層間絶縁膜201の上部に位置する第二の層間絶縁膜202とを有する。抵抗変化素子299は、第一の層間絶縁膜201上に形成され、第一の電極204、抵抗変化膜203、第二の電極205を具えている。抵抗変化素子299を構成する、第一の電極204、抵抗変化膜203、第二の電極205の側面は、保護絶縁膜206によって覆われている。第一の層間絶縁膜201の上部に位置する第二の層間絶縁膜202と、第一の層間絶縁膜201は、直接接している。
第2の実施形態に係る抵抗変化素子299が、酸素欠損型の抵抗変化素子である場合、抵抗変化膜203は、固体電解質として機能する、酸化物で構成される。抵抗変化膜203は、TaO、TaSiO、ZrO2、HfO2、TiO2、SiO2、Al23や、それらの積層構造などを用いて、形成することができる。抵抗変化膜203の上面と接する第一の電極204と、抵抗変化膜203の下面と接する第二の電極205は、例えば、Pt、Ru、Ir、Ti、Ta、Hf、Zr、Al、Wや、それらの窒素化合物を用いて、形成することができる。
抵抗変化素子299を構成する、第一の電極204、抵抗変化膜203、第二の電極205の側面は、保護絶縁膜206によって覆われている。
第2の実施形態に係る抵抗変化素子299が、酸素欠損型の抵抗変化素子である場合、第二の電極205と接する、第一の層間絶縁膜201は、SiN膜、SiCN膜、SiC膜、あるいはそれらの積層膜、あるいはそれらの膜と別の絶縁膜の積層膜で形成する。一方、第一の電極204の上面を被覆する、第二の層間絶縁膜202は、SiO2膜、あるいはSiOC膜で形成する。
一方、保護絶縁膜206を、SiN膜を用いて形成することで、第二の層間絶縁膜202を形成する際、第一の電極204の側面、ならびに、第二の電極205の側面から酸化が進行し、抵抗変化膜203の上面と接する第一の電極204の下面、ならびに、抵抗変化膜203の下面と接する第二の電極205の上面に、金属酸化物が生成する事態を防ぐことができる。
また、抵抗変化膜203の側面から、固体電解質内に水分が侵入すると、抵抗変化素子299が「高抵抗状態」にある際、侵入した水分が、「リーク電流」の発生要因となる。
さらには、保護絶縁膜206による側面の被覆が無い場合、第二の層間絶縁膜202を形成する際、抵抗変化膜203を構成する、酸化物の膜の側面から、酸素が脱離すると、酸化物の膜の側面近傍の平均酸化数が、酸化物の膜の平均酸化数から変移する状態となる。その結果、抵抗変化素子299のの抵抗状態を変動させてしまう不良の発生を引き起こす要因の一つとなる。保護絶縁膜206による側面の被覆を行うことで、前記不良の発生をを抑制することができる。
抵抗変化素子299が、第二の電極205、抵抗変化膜203、第一の電極204の積層構造で構成される、酸素欠損型の抵抗変化素子である場合、第二の電極205と第一の電極204の間に所定のプログラミング電圧を印加することで、プログラミング(スイッチング)を行うことができる。
(第3の実施形態)
本発明の第3の実施形態に係る抵抗変化素子を、多層配線層中に設ける不揮発性スイッチング素子として利用する半導体装置について、図面を参照して、説明する。図3は、半導体装置の多層配線層中に設ける不揮発性スイッチング素子として利用される、本発明の第3の実施形態に係る抵抗変化素子の一構成例を模式的に示す断面図である。
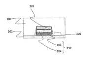
図3に示すように、第3の実施形態に係る抵抗変化素子399は、半導体基板上の配線層内に形成される(図示せず)。該抵抗変化素子399が設けられる多層配線層は、第一の層間絶縁膜301と、第一の層間絶縁膜301の上部に位置する第二の層間絶縁膜302とを有する。抵抗変化素子399は、第一の層間絶縁膜301上に形成され、第一の電極304、抵抗変化膜303を具えている。加えて、第一の電極304の上面を被覆する、上面保護膜307が設けられている。
抵抗変化素子399のうち、少なくとも、第一の電極304と抵抗変化膜303の側面は、保護絶縁膜306によって覆われている。図3に示すように、保護絶縁膜306は、上面保護膜307の側面をも被覆している。第一の層間絶縁膜301の上部に位置する第二の層間絶縁膜302と、第一の層間絶縁膜301は、直接接している。
抵抗変化膜303は、第一の層間絶縁膜301に開口されたホール(向かって手前か奥の方向に位置するため図示せず)を介して、下層の配線層(図示せず)の表面に接している。従って、開口されたホール部分では、抵抗変化膜303の下面は、下層の配線層と接し、抵抗変化膜303の上面は、第一の電極304と接する構成となっている。
抵抗変化膜303を固体電解質で形成し、下層の配線層が銅配線層である場合、該下層の配線層は、電気化学反応によって、銅イオンを生成し、抵抗変化膜303中に供給するイオン供給層として機能する。すなわち、抵抗変化膜303を「イオン伝導層」とし、下層の配線層を「イオン供給層」として機能する「第1電極」、第一の電極304を「第2電極」とする、銅フィラメント析出型の抵抗変化素子が構成されている。
すなわち、上面保護膜307と保護絶縁膜306を除くと、図3に示す、第3の実施形態に係る抵抗変化素子の構成は、先に説明した、図1に示す、第1の実施形態に係る抵抗変化素子の構成と実質的に同じに選択することができる。
抵抗変化素子399が、第一の層間絶縁膜301に開口されたホール部分に構成される、下層の配線層、抵抗変化膜303、第一の電極304の積層構造で構成される、銅フィラメント析出型の抵抗変化素子である場合には、第一の層間絶縁膜301は、下層の配線層の上面を被覆する。その際、第一の層間絶縁膜301は、SiN膜、SiCN膜、SiC膜、あるいはそれらの積層膜、あるいはそれらの膜と別の絶縁膜の積層膜で構成することができる。第二の層間絶縁膜302は、SiO2膜、あるいはSiOC膜で構成することができる。第二の層間絶縁膜302は、抵抗変化素子399ならびに第一の層間絶縁膜301の上面を被覆するように形成され、そのため、第二の層間絶縁膜302と第一の層間絶縁膜301とが直接接する形態となっている。
図3に示す、第3の実施形態に係る抵抗変化素子において、保護絶縁膜306は、図1に示す、第1の実施形態に係る抵抗変化素子の保護絶縁膜106と同様に、SiN膜を用いて形成することが好ましい。該保護絶縁膜306を形成することにより、第二の層間絶縁膜302を形成する際、第一の電極304の側面から酸化が進行し、抵抗変化膜303と接する第一の電極304の下面に金属酸化物が生成する事態を防ぐことができる。
また、抵抗変化膜303の側面から、固体電解質内に水分が侵入すると、抵抗変化素子399が「高抵抗状態」にある際、侵入した水分が、「リーク電流」の発生要因となる。
さらには、抵抗変化膜303の側面から、固体電解質内に水分が侵入すると、侵入した水分(H2O)は、抵抗変化膜303内部に形成されている銅フィラメントの酸化、抵抗変化膜303と接する下層の配線層(銅配線層)の上面の酸化、あるいは、抵抗変化膜303と接する第一の電極304の下面の酸化を引き起こす。すなわち、侵入した水分(H2O)に起因する酸化は、抵抗変化素子399の抵抗状態を変動させてしまう不良の発生の要因の一つとなる。保護絶縁膜306を形成することにより、抵抗変化膜303の側面から、固体電解質内への水分の侵入を抑制することができ、前記不良の発生を抑制することができる。
加えて、図3に示す、第3の実施形態に係る抵抗変化素子においては、第一の電極304の上面を被覆する、上面保護膜307が設けられており、第二の層間絶縁膜302を形成する際、第一の電極304の上面の酸化を防止している。なお、上面保護膜307も、保護絶縁膜306と同様に、SiN膜を用いて形成することが好ましい。
(第4の実施形態)
本発明の第4の実施形態に係る抵抗変化素子を、多層配線層中に設ける不揮発性スイッチング素子として利用する半導体装置について、図面を参照して、説明する。図4は、半導体装置の多層配線層中に設ける不揮発性スイッチング素子として利用される、本発明の第4の実施形態に係る抵抗変化素子の一構成例を模式的に示す断面図である。
図4に示すように、第4の実施形態に係る抵抗変化素子499は、半導体基板上の配線層内に形成される(図示せず)。該抵抗変化素子499が設けられる多層配線層は、第一の層間絶縁膜401と、第一の層間絶縁膜401の上部に位置する第二の層間絶縁膜402とを有する。抵抗変化素子499は、第一の層間絶縁膜401上に形成され、第一の電極404、抵抗変化膜403を具えている。
抵抗変化素子499のうち、少なくとも、抵抗変化膜403の側面は、保護絶縁膜406によって覆われている。図4に示すように、保護絶縁膜406は、抵抗変化膜403の上面と接する、第一の電極404の下部の側面をも被覆している。第一の層間絶縁膜401の上部に位置する第二の層間絶縁膜402と、第一の層間絶縁膜401は、直接接している。
抵抗変化膜403は、第一の層間絶縁膜401に開口されたホール(向かって手前か奥の方向に位置するため図示せず)を介して、下層の配線層(図示せず)の表面に接している。従って、開口されたホール部分では、抵抗変化膜403の下面は、下層の配線層と接し、抵抗変化膜403の上面は、第一の電極404と接する構成となっている。
抵抗変化膜403を固体電解質で形成し、下層の配線層が銅配線層である場合、該下層の配線層は、電気化学反応によって、銅イオンを生成し、抵抗変化膜403中に供給するイオン供給層として機能する。すなわち、抵抗変化膜403を「イオン伝導層」とし、下層の配線層を「イオン供給層」として機能する「第1電極」、第一の電極404を「第2電極」とする、銅フィラメント析出型の抵抗変化素子が構成されている。
すなわち、第一の電極404と保護絶縁膜406を除くと、図4に示す、第4の実施形態に係る抵抗変化素子の構成は、先に説明した、図1に示す、第1の実施形態に係る抵抗変化素子の構成と実質的に同じに選択することができる。
第4の実施形態に係る抵抗変化素子においては、少なくとも、抵抗変化膜403の上面と接する、第一の電極404の下部を除く、第一の電極404の上部は、酸化に対する保護を必要としない導電性材料で構成される。例えば、第一の電極404全体、あるいは、第一の電極404の上部を、Ptなど耐酸化性に優れた金属で形成する際には、第一の電極404の上部は、酸化に対する保護を必要としない。
図4に示す、第4の実施形態に係る抵抗変化素子において、保護絶縁膜406は、図1に示す、第1の実施形態に係る抵抗変化素子の保護絶縁膜106と同様に、SiN膜を用いて形成することが好ましい。該保護絶縁膜406を形成することにより、第二の層間絶縁膜402を形成する際、第一の電極404の下部の側面から酸化が進行し、抵抗変化膜403と接する第一の電極404の下面に金属酸化物が生成する事態を防ぐことができる。
また、抵抗変化膜403の側面から、固体電解質内に水分が侵入すると、抵抗変化素子499が「高抵抗状態」にある際、侵入した水分が、「リーク電流」の発生要因となる。
さらには、抵抗変化膜403の側面から、固体電解質内に水分が侵入すると、侵入した水分(H2O)は、抵抗変化膜403内部に形成されている銅フィラメントの酸化、抵抗変化膜403と接する下層の配線層(銅配線層)の上面の酸化、あるいは、抵抗変化膜403と接する第一の電極404の下面の酸化を引き起こす。すなわち、侵入した水分(H2O)に起因する酸化は、抵抗変化素子399の抵抗状態を変動させてしまう不良の発生の要因の一つとなる。保護絶縁膜406を形成することにより、抵抗変化膜403の側面から、固体電解質内への水分の侵入を抑制することができ、前記不良の発生を抑制することができる。
(第5の実施形態)
本発明の第5の実施形態に係る抵抗変化素子を、多層配線層中に設ける不揮発性スイッチング素子として利用する半導体装置について、図面を参照して、説明する。図5は、半導体装置の多層配線層中に設ける不揮発性スイッチング素子として利用される、本発明の第5の実施形態に係る抵抗変化素子の一構成例を模式的に示す断面図である。
図5に示すように、第5の実施形態に係る抵抗変化素子599は、半導体基板上に形成される銅配線層内に搭載されている。該抵抗変化素子599が設けられる多層配線層は、第一の層間絶縁膜501と、第一の層間絶縁膜501の上部に位置する第二の層間絶縁膜502とを有する。抵抗変化素子599は、第一の層間絶縁膜501上に形成され、第一の電極504、抵抗変化膜503を具えている。
半導体基板上に形成される銅配線層510では、下層の層間絶縁膜に設ける配線溝中に、該配線溝と接する、側面および底面をバリアメタル509で覆った構造で、銅を主成分とする金属からなる銅配線508が形成されている。銅配線層510の作製に利用される、バリアメタル509は、Ta、Ti、Wなどの高融点金属や、それらの窒素化合物、あるいは、それらの金属と窒素化合物の積層構造で構成される。
第一の層間絶縁膜501は、該銅配線層510の上面を覆うように形成され、銅配線層510から銅の拡散を防止するための絶縁性バリア膜として機能も有している。絶縁性バリア膜として機能を付与するため、第一の層間絶縁膜501は、SiN膜、SiCN膜、SiC膜など、あるいは、それらの積層構造で形成される。
第一の層間絶縁膜501は、銅配線層510から銅の拡散を防止するための絶縁性バリア膜として機能も有しているので、第一の層間絶縁膜501の上部に位置する第二の層間絶縁膜502は、SiO2膜、あるいはSiOC膜で構成することができる。
第1の実施形態に係る抵抗変化素子199と同様に、第5の実施形態に係る抵抗変化素子599も、第一の層間絶縁膜501上に形成され、第一の電極504、抵抗変化膜503を具えている。
第5の実施形態に係る抵抗変化素子599が、銅フィラメント析出型の抵抗変化素子を構成する場合、抵抗変化膜503は、第一の層間絶縁膜501に開口されたホール(向かって手前か奥の方向に位置するため図示せず)を介して、下層の銅配線層510の表面に接している。従って、開口されたホール部分では、抵抗変化膜503の下面は、下層の銅配線層510と接し、抵抗変化膜503の上面は、第一の電極504と接する構成となっている。下層の銅配線層510は、電気化学反応によって、銅イオンを生成し、抵抗変化膜503中に供給するイオン供給層として機能する。すなわち、抵抗変化膜503を「イオン伝導層」とし、下層の銅配線層510を「イオン供給層」として機能する「第1電極」、第一の電極504を「第2電極」とする、銅フィラメント析出型の抵抗変化素子が構成されている。
抵抗変化素子599のうち、第一の電極504と抵抗変化膜503の側面は、保護絶縁膜506によって覆われている。保護絶縁膜506は、SiN膜を用いて形成することができる。該保護絶縁膜506を形成することにより、第二の層間絶縁膜502を形成する際、第一の電極504の側面から酸化が進行し、抵抗変化膜503と接する第一の電極504の下面に金属酸化物が生成する事態を防ぐことができる。
また、抵抗変化膜503の側面から、固体電解質内に水分が侵入すると、抵抗変化素子599が「高抵抗状態」にある際、侵入した水分が、「リーク電流」の発生要因となる。
さらに、抵抗変化膜503の側面から、固体電解質内に水分が侵入すると、侵入した水分(H2O)は、抵抗変化膜503内部に形成されている銅フィラメントの酸化、抵抗変化膜503と接する下層の配線層(銅配線層)の上面の酸化、あるいは、抵抗変化膜503と接する第一の電極504の下面の酸化を引き起こす。すなわち、侵入した水分(H2O)に起因する酸化は、抵抗変化素子599の抵抗状態を変動させてしまう不良の発生の要因の一つとなる。保護絶縁膜506を形成することにより、抵抗変化膜503の側面から、固体電解質内への水分の侵入を抑制することができ、前記不良の発生を抑制することができる。
第一の層間絶縁膜501は、比誘電率の大きなSiN膜で形成するが、第二の層間絶縁膜502は、比誘電率の小さなSiO2膜、あるいはSiOC膜で構成し、第一の層間絶縁膜501と第二の層間絶縁膜502とが直接接する構造とすることで、該第一の層間絶縁膜501と第二の層間絶縁膜502の積層構造で分離される、上下の銅配線層間の寄生容量を低く保つことができる。
(第6の実施形態)
本発明の第6の実施形態に係る抵抗変化素子を、多層配線層中に設ける不揮発性スイッチング素子として利用する半導体装置について、図面を参照して、説明する。図6は、半導体装置の多層配線層中に設ける不揮発性スイッチング素子として利用される、本発明の第6の実施形態に係る抵抗変化素子の一構成例を模式的に示す断面図である。
図6に示すように、第6の実施形態に係る抵抗変化素子699は、半導体基板上に形成される銅配線層内に搭載されている。該抵抗変化素子699が設けられる多層配線層は、第一の層間絶縁膜601と、第一の層間絶縁膜601の上部に位置する第二の層間絶縁膜602とを有する。
第6の実施形態に係る抵抗変化素子699は、銅フィラメント析出型の抵抗変化素子を構成している。抵抗変化膜603は、第一の層間絶縁膜601に開口されたホールを介して、下層の銅配線層610の表面に接している。従って、開口されたホール部分では、抵抗変化膜603の下面は、下層の銅配線層610と接し、抵抗変化膜603の上面は、第一の電極604と接する構成となっている。下層の銅配線層610の銅配線608は、電気化学反応によって、銅イオンを生成し、抵抗変化膜603中に供給する「イオン供給層」として機能する。すなわち、抵抗変化膜603を「イオン伝導層」とし、下層の銅配線層610の銅配線608を「イオン供給層」として機能する「第1電極」、第一の電極604を「第2電極」とする、銅フィラメント析出型の抵抗変化素子が構成されている。
半導体基板上に形成される銅配線層610では、下層の層間絶縁膜に設ける配線溝中に、該配線溝と接する、側面および底面をバリアメタル609で覆った構造で、銅を主成分とする金属からなる銅配線608が形成されている。銅配線層610の作製に利用される、バリアメタル609は、Ta、Ti、Wなどの高融点金属や、それらの窒素化合物、あるいは、それらの金属と窒素化合物の積層構造で構成される。一方、下層の銅配線層610の銅配線608は、銅イオンを供給する「イオン供給層」として機能する。その際、銅配線608を形成している「銅」中には、不純物として、Al、Ti、スズ(Sn)、Mgなどの金属が含有されていてもよい。
抵抗変化膜603は、銅イオンの伝導が可能な固体電解質で形成し、「イオン伝導層」として利用される。銅イオンの伝導が可能な固体電解質として、TaO、TaSiO、SiO2、ZrO2、HfO2、TiO2、Al23、有機ポリマー膜、SiOを含む有機ポリマー膜などを用いることができる。
第一の層間絶縁膜601は、該銅配線層610の上面を覆うように形成され、下層の銅配線層610上面から銅の拡散を防止するための絶縁性バリア膜として機能も有している。絶縁性バリア膜として機能を付与するため、第一の層間絶縁膜601は、SiN膜、SiCN膜、SiC膜など、あるいは、それらの積層構造で形成される。
第6の実施形態に係る抵抗変化素子699では、第一の層間絶縁膜601に開口されたホールを介して、抵抗変化膜603の下面は、下層の銅配線層610の銅配線608の表面に接している。抵抗変化膜603の上面は、第一の電極604と接する構成となっている。第一の電極604を構成する金属材料は、Ru、または白金(Pt)であることが好ましい。
抵抗変化素子699のうち、第一の電極604と抵抗変化膜603の側面は、保護絶縁膜606によって覆われている。また、第一の層間絶縁膜601に開口されたホール内に形成される抵抗変化膜603部分の側面は、該ホールの側壁面と接する。
第一の層間絶縁膜601は、下層の銅配線層610の銅配線608から銅の拡散を防止するための絶縁性バリア膜として機能も有しているので、第一の層間絶縁膜601の上部に位置する第二の層間絶縁膜602は、SiO2膜、あるいはSiOC膜で構成することができる。
第一の電極604と抵抗変化膜603の側面を被覆する、保護絶縁膜606は、SiN膜を用いて形成することができる。該保護絶縁膜606を形成することにより、第二の層間絶縁膜602を形成する際、第一の電極604の側面から酸化が進行し、抵抗変化膜603と接する第一の電極604の下面に金属酸化物が生成する事態を防ぐことができる。
また、抵抗変化膜603の側面から、固体電解質内に水分が侵入すると、抵抗変化素子699が「高抵抗状態」にある際、侵入した水分が、「リーク電流」の発生要因となる。
加えて、抵抗変化膜603の側面から、固体電解質内に水分が侵入すると、侵入した水分(H2O)は、抵抗変化膜603内部に形成されている銅フィラメントの酸化、抵抗変化膜603と接する下層の銅配線層610の銅配線608の上面の酸化、あるいは、抵抗変化膜603と接する第一の電極604の下面の酸化を引き起こす。すなわち、侵入した水分(H2O)に起因する酸化は、抵抗変化素子699の抵抗状態を変動させてしまう不良の発生の要因の一つとなる。保護絶縁膜606を形成することにより、抵抗変化膜603の側面から、固体電解質内への水分の侵入を抑制することができ、前記不良の発生を抑制することができる。
第6の実施形態に係る抵抗変化素子699は、銅フィラメント析出型の抵抗変化素子であり、固体電解質からなる抵抗変化膜603中に、第一の電極604の下面から下層の銅配線層610の銅配線608の上面に達する「銅フィラメント」が生成され、「低抵抗」状態となる結果、「ON」状態となる。一方、抵抗変化膜603中に生成していた「銅フィラメント」を溶解し、「銅フィラメント」を経由する、第一の電極604の下面と下層の銅配線層610の銅配線608の上面の電気的な接続が断たれ、「高抵抗」状態となる結果、「OFF」状態となる。
「銅フィラメント」の生成過程(セット過程)では、例えば、図13の上段に例示するように、「第2電極」を接地し、「第1電極」に正電圧を印加すると、「第1電極」として機能する、下層の銅配線層610の銅配線608と、固体電解質からなる抵抗変化膜603の界面において、印加される「正電圧」によってイオン化(酸化)反応が誘起され、銅から銅イオンが生成される。生成する銅イオンは、固体電解質からなる抵抗変化膜603中に存在する電界によって、「第1電極」側から「第2電極」側へと移動する。「第2電極」側では、銅イオンに電子が供与され、銅イオンから銅への還元反応が起き、銅の析出が進行する。析出する銅によって、「銅フィラメント」の生成がなされる。すなわち、「第2電極」の表面に、析出した銅が「突起」を生成すると、該「突起」部分に電界の集中が起き、電子の供給がより優先的に進行する結果、該「突起」部分の先端部では、優先的な銅の析出が起こる。その結果、「第2電極」の表面に生成する、該「突起」部分を起点として、「銅フィラメント」へと成長する。
「第2電極」側から成長する「銅フィラメント」の先端が、「第1電極」の表面に近づくとともに、「銅フィラメント」の径の拡大も併行して進行する。成長する「銅フィラメント」の先端が、「第1電極」の表面に達すると、該「銅フィラメント」を経由する電流が、固体電解質中の銅イオンの「イオン伝導」による「イオン伝導電流」を置き換え、急速に「低抵抗」状態へと移行する。
「銅フィラメント」の溶出過程(リセット過程)では、例えば、図13の下段に例示するように、「第2電極」を接地し、「第1電極」に負電圧を印加すると、「銅フィラメント」と、固体電解質からなる抵抗変化膜603の界面において、印加される「負電圧」によってイオン化(酸化)反応が誘起され、銅から銅イオンが生成される。生成する銅イオンは、固体電解質からなる抵抗変化膜603中に存在する電界によって、「第1電極」側へと移動する。「第1電極」側では、銅イオンに電子が供与され、銅イオンから銅への還元反応が起き、「第1電極」の表面に銅の再析出が進行する。「銅フィラメント」の先端部では、電界の集中が生じているため、「銅フィラメント」表面から銅イオンの溶出が優先的に進行する。その結果、「第1電極」の表面に達していた、「銅フィラメント」の先端が溶出すると、該「銅フィラメント」を経由する電流は断たれ、固体電解質中の銅イオンの「イオン伝導」による「イオン伝導電流」のみとなる。その後も、電界の集中している、「銅フィラメント」の表面から、銅イオンの溶出が優先的に進行するため、「銅フィラメント」の溶出が急速に進行する。結果的に、「高抵抗」状態へと移行する。
「銅フィラメント」の析出過程は、下層の銅配線層610の銅配線608と固体電解質からなる抵抗変化膜603の界面における、印加されている電界に因る、銅から銅イオンへの酸化と、生成する銅イオンの「抵抗変化膜」603中へのマイグレーションモデル式で説明することができる。
t=α・E-γ・H-n・exp(Ea/kT)
t:抵抗変化(「銅フィラメント」の先端が銅配線608表面に達する)までの時間;
E:電界(当初、固体電解質中に印加されている電界);
H:湿度(固体電解質と接する気相中の水分濃度);
a:活性化エネルギー(金属Cuから銅イオンCu2+へのイオン化過程の活性化エネルギー);
k:ボルツマン定数、T:温度(銅配線608と抵抗変化膜603の界面の温度)
このモデルによれば、「抵抗変化素子」の抵抗変化動作(スイッチング動作)は、動作電圧(電界E)だけでなく、湿度H(固体電解質と接する気相中の水分濃度)にも大きく依存することを示している。すなわち、動作環境の変化によって、湿度H(固体電解質と接する気相中の水分濃度)が変化すると、「抵抗変化素子」の抵抗変化動作(スイッチング動作)が完了するまでの時間tが変化する。換言すると、「抵抗変化素子」の抵抗変化動作(スイッチング動作)が完了するまでの時間tを一定に保つためには、(Eγ・Hn)を一定に保つ必要がある。動作環境の変化によって、湿度H(固体電解質と接する気相中の水分濃度)が変化することに伴って、所定の時間tで抵抗変化動作(スイッチング動作)を完了するための、抵抗変化動作(スイッチング動作)の閾値電圧(閾値電界Eth)が変動することになる。抵抗変化動作(スイッチング動作)の閾値電圧(閾値電界Eth)の変動は、「抵抗変化素子」の誤動作を引き起こす要因になる。「抵抗変化素子」の誤動作を防止するため、「抵抗変化素子」の「抵抗変化膜」603と、周辺環境中の水分との接触を防止する「パッシベーション膜」、すなわち、保護絶縁膜606により、「抵抗変化膜」603の側面を被覆して、水分から「抵抗変化膜」603を保護することが必要である。
(第1の実施態様)
本発明の第3の実施形態に係る抵抗変化素子を、多層配線層中に設ける不揮発性スイッチング素子として利用する半導体装置について、その実施態様の一例を図面を参照して、説明する。図7は、半導体装置の多層配線層中に設ける不揮発性スイッチング素子として利用される、本発明の第3の実施形態に係る抵抗変化素子の第1の実施態様を模式的に示す断面図である。
図7に示す、第1の実施態様の抵抗変化素子は、2端子固体電解質スイッチの形態に構成されている。
図7に示す、抵抗変化素子799は、下層の銅配線層(第1の銅配線)710の銅配線708を、「イオン供給層」として機能する「第1電極」として利用している。抵抗変化膜703は、固体電解質により形成され、「イオン伝導層」として機能する。該抵抗変化膜703の上面に接する「第1の電極」704は、第1上部電極704aと第2上部電極704bからなる積層構造となっている。「第1の電極」704のうち、第1上部電極704aが、抵抗変化膜703の上面に接している。「第1の電極」704の上面、すなわち、第2上部電極704bの上面には、上面保護膜707が設けられている。
抵抗変化素子799の抵抗変化膜703と「第1の電極」704は、第1の層間絶縁膜701の上面に形成されている。
抵抗変化膜703は、第一の層間絶縁膜701に開口されたホールを介して、下層の銅配線層(第1の銅配線)710の銅配線708の表面に接している。従って、開口されたホール部分では、抵抗変化膜703の下面は、「イオン供給層」として機能する「第1電極」と接し、抵抗変化膜703の上面は、「第2電極」として機能する第一の電極704と接する構成となっている。従って、抵抗変化素子799は、銅フィラメント析出型の抵抗変化素子を構成している。
抵抗変化膜703、第1上部電極704aと第2上部電極704b、上面保護膜707の側面は、保護絶縁膜706で被覆されている。その結果、少なくとも、抵抗変化膜703、第1上部電極704aと第2上部電極704bの側面は保護絶縁膜706で被覆され、第2上部電極704bの上面は、上面保護膜707で被覆される形態となっている。
例えば、抵抗変化膜703の形成に用いる固体電解質として、SiOを含む有機ポリマー膜を選択することが好ましい。また、第1上部電極704aは、Ruを用いて、、第2上部電極704bは、Ta、あるいはTaNを用いて、それぞれ形成することができる。
上面保護膜707は、保護絶縁膜706と同一材料を用いて、形成することが好ましい。保護絶縁膜706、上面保護膜707は、第二の層間絶縁膜702を形成する過程で、抵抗変化膜703、第1上部電極704aと第2上部電極704bが、酸素による酸化を受けることを防止し、また、水分の侵入を防止する機能を有する、絶縁膜で形成する。さらには、抵抗変化膜703を形成する固体電解質として、イオン伝導性を示す酸化膜を採用する際には、保護絶縁膜706は、該固体電解質からの酸素の脱離を防ぐ機能を有する絶縁膜である。保護絶縁膜706、上面保護膜707は、例えば、SiN膜、SiCN膜等を用いて、形成することが好ましい。
下層の銅配線層(第1の銅配線)710は、下層の層間絶縁膜711に形成された配線溝に、バリアメタル709を介して埋め込まれた銅配線708からなる。下層の銅配線層(第1の銅配線)710の上面には、第1の層間絶縁膜701が形成されている。該第1の層間絶縁膜701は、下層の銅配線層710上面から銅の拡散を防止するための絶縁性バリア膜として機能も有している。絶縁性バリア膜として機能を付与するため、第一の層間絶縁膜701の形成には、SiN膜、SiCN膜などを用いることが好ましい。
第二の層間絶縁膜702は、第一の層間絶縁膜701と直接接している。第二の層間絶縁膜702には、上層の銅配線層(第2の銅配線)715が形成されている。上層の銅配線層(第2の銅配線)715は、第二の層間絶縁膜702に形成された配線溝とビアホールに、バリアメタル713を介して埋め込まれた銅配線714からなる。上層の銅配線層(第2の銅配線)715に設ける、ビアホールは、上面保護膜707に形成された開口を介して、第2上部電極704bに開通されている。
第二の層間絶縁膜702の形成には、SiO2膜や、SiOC膜、SiOCH膜、および低誘電率膜などを用いることができる。
上層の銅配線層(第2の銅配線)715の表面は、該上層の銅配線層(第2の銅配線)715の銅配線714から銅の拡散を防止するため、絶縁性バリア膜712で被覆されている。第一の層間絶縁膜701と同様に、該絶縁性バリア膜712の形成には、SiN膜、SiCN膜などを用いることが好ましい。
下層の銅配線層(第1の銅配線)710のバリアメタル709は、下層の銅配線層(第1の銅配線)710の銅配線708の主成分である銅が、下層の層間絶縁膜711中に拡散することを防止するために、銅配線708の側面および底面を被覆する、バリア性を有する導電性膜である。同様に、上層の銅配線層(第2の銅配線)715のバリアメタル713は、上層の銅配線層(第1の銅配線)715の銅配線714の主成分である銅が、第二の層間絶縁膜702中、ならびに、ビアホールが開通される第2上部電極704b中に拡散することを防止するために、銅配線714の側面および底面を被覆する、バリア性を有する導電性膜である。
下層の銅配線層(第1の銅配線)710のバリアメタル709、上層の銅配線層(第2の銅配線)715のバリアメタル713には、銅の拡散に対するバリア性を有する導電性膜、例えば、タンタル(Ta)、窒化タンタル(TaN)、窒化チタン(TiN)、炭窒化タングステン(WCN)のような高融点金属やその窒化物等、あるいは、それらの積層膜が用いられる。
(第2の実施態様)
本発明の第3の実施形態に係る抵抗変化素子を、多層配線層中に設ける不揮発性スイッチング素子として利用する半導体装置について、その実施態様の一例を図面を参照して、説明する。図8は、半導体装置の多層配線層中に設ける不揮発性スイッチング素子として利用される、本発明の第3の実施形態に係る抵抗変化素子の第2の実施態様を模式的に示す断面図である。
図8に示す、第2の実施態様の抵抗変化素子は、2端子固体電解質スイッチの形態に構成されている。
図8に示す、抵抗変化素子899は、下層の銅配線層(第1の銅配線)810の銅配線808を、「イオン供給層」として機能する「第1電極」として利用している。抵抗変化膜803は、固体電解質により形成され、「イオン伝導層」として機能する。該抵抗変化膜803の上面に接する「第1の電極」804は、第1上部電極804aと第2上部電極804bからなる積層構造となっている。「第1の電極」804のうち、第1上部電極804aが、抵抗変化膜803の上面に接している。「第1の電極」804の上面、すなわち、第2上部電極804bの上面には、上面保護膜807が設けられている。
抵抗変化素子899の抵抗変化膜803と「第1の電極」804は、第1の層間絶縁膜801の上面に形成されている。
抵抗変化膜803は、第一の層間絶縁膜801に開口されたホールを介して、下層の銅配線層(第1の銅配線)810の銅配線808の表面に接している。従って、開口されたホール部分では、抵抗変化膜803の下面は、「イオン供給層」として機能する「第1電極」と接し、抵抗変化膜803の上面は、「第2電極」として機能する第一の電極804と接する構成となっている。従って、抵抗変化素子899は、銅フィラメント析出型の抵抗変化素子を構成している。
抵抗変化膜803、第1上部電極804aと第2上部電極804b、上面保護膜807の側面は、保護絶縁膜806で被覆されている。その結果、少なくとも、抵抗変化膜803、第1上部電極804aと第2上部電極804bの側面は保護絶縁膜806で被覆され、第2上部電極804bの上面は、上面保護膜807で被覆される形態となっている。
例えば、抵抗変化膜803の形成に用いる固体電解質として、SiOを含む有機ポリマー膜を選択することが好ましい。また、第1上部電極804aは、Ruを用いて、、第2上部電極804bは、Ta、あるいはTaNを用いて、それぞれ形成することができる。
上面保護膜807は、保護絶縁膜806と同一材料を用いて、形成することが好ましい。保護絶縁膜806、上面保護膜807は、第二の層間絶縁膜802を形成する過程で、抵抗変化膜803、第1上部電極804aと第2上部電極804bが、酸素による酸化を受けることを防止し、また、水分の侵入を防止する機能を有する、絶縁膜で形成する。さらには、抵抗変化膜803を形成する固体電解質として、イオン伝導性を示す酸化膜を採用する際には、保護絶縁膜806は、該固体電解質からの酸素の脱離を防ぐ機能を有する絶縁膜である。保護絶縁膜806、上面保護膜807は、例えば、SiN膜、SiCN膜等を用いて、形成することが好ましい。
下層の銅配線層(第1の銅配線)810は、下層の層間絶縁膜811に形成された配線溝に、バリアメタル809を介して埋め込まれた銅配線808からなる。下層の銅配線層(第1の銅配線)810の上面には、第1の層間絶縁膜801が形成されている。該第1の層間絶縁膜801は、下層の銅配線層810上面から銅の拡散を防止するための絶縁性バリア膜として機能も有している。絶縁性バリア膜として機能を付与するため、第一の層間絶縁膜801の形成には、SiN膜、SiCN膜などを用いることが好ましい。
第二の層間絶縁膜802は、第一の層間絶縁膜801と直接接している。さらに、第二の層間絶縁膜802の上部に、第三の層間絶縁膜816が形成されている。その際、第三の層間絶縁膜816は、第二の層間絶縁膜802と直接接している。
第三の層間絶縁膜816には、上層の銅配線層(第2の銅配線)815が形成されている。第三の層間絶縁膜816に形成される上層の銅配線層(第2の銅配線)815は、第二の層間絶縁膜802に形成されるビア部分と一体に形成されている。上層の銅配線層(第2の銅配線)815とビア部分は、第三の層間絶縁膜816に形成される配線溝と、第二の層間絶縁膜802に形成されるビアホールに、バリアメタル813を介して埋め込まれた銅配線814からなる。上層の銅配線層(第2の銅配線)815に設ける、ビアホールは、上面保護膜807に形成された開口を介して、第2上部電極804bに開通されている。
上層の銅配線層(第2の銅配線)815の表面は、該上層の銅配線層(第2の銅配線)815の銅配線814から銅の拡散を防止するため、絶縁性バリア膜812で被覆されている。第一の層間絶縁膜801と同様に、該絶縁性バリア膜812の形成には、SiN膜、SiCN膜などを用いることが好ましい。
下層の銅配線層(第1の銅配線)810のバリアメタル809は、下層の銅配線層(第1の銅配線)810の銅配線808の主成分である銅が、下層の層間絶縁膜811中に拡散することを防止するために、銅配線808の側面および底面を被覆する、バリア性を有する導電性膜である。同様に、上層の銅配線層(第2の銅配線)815のバリアメタル813は、上層の銅配線層(第1の銅配線)815の銅配線814の主成分である銅が、第三の層間絶縁膜816中、第二の層間絶縁膜802中、ならびに、ビアホールが開通される第2上部電極804b中に拡散することを防止するために、銅配線814の側面および底面を被覆する、バリア性を有する導電性膜である。
下層の銅配線層(第1の銅配線)810のバリアメタル809、上層の銅配線層(第2の銅配線)815のバリアメタル813には、銅の拡散に対するバリア性を有する導電性膜、例えば、タンタル(Ta)、窒化タンタル(TaN)、窒化チタン(TiN)、炭窒化タングステン(WCN)のような高融点金属やその窒化物等、あるいは、それらの積層膜が用いられる。
図8に示す、第2の実施態様の抵抗変化素子においては、第二の層間絶縁膜802と第三の層間絶縁膜816は、異なる絶縁材料で形成される。また、第三の層間絶縁膜816と絶縁性バリア膜812は、異なる絶縁材料で形成される。同様に、下層の層間絶縁膜811と、絶縁性バリア膜として機能する第一の層間絶縁膜801は、異なる絶縁材料で形成される。さらには、第一の層間絶縁膜801と第二の層間絶縁膜802は、異なる絶縁材料で形成される。
上述するように、絶縁性バリア膜として機能する第一の層間絶縁膜801と、絶縁性バリア膜812の形成には、SiN膜、SiCN膜などを用いることが好ましい。
その際、下層の層間絶縁膜811の形成には、SiO2膜や、SiOC膜、SiOCH膜、および低誘電率膜などを用いることができる。
保護絶縁膜806、上面保護膜807の作製に利用する、例えば、SiN膜、SiCN膜は、酸素透過性を示さず、また、水分の透過性も示さず、第二の層間絶縁膜802の形成過程において、抵抗変化膜803、第1上部電極804aと第2上部電極804bを保護している。
その際、第二の層間絶縁膜802の形成に利用する絶縁材料として、第一の層間絶縁膜801、保護絶縁膜806、上面保護膜807の作製に利用する絶縁材料、例えば、SiN膜、SiCN膜と比較し、比誘電率が小さい絶縁材料を選択することが好ましい。第三の層間絶縁膜816を形成する絶縁材料として、第二の層間絶縁膜802の形成に利用する絶縁材料よりも比誘電率が小さい絶縁材料を選択することが好ましい。
従って、比誘電率の大小関係は、「第一の層間絶縁膜801の形成に利用する絶縁材料」>「第二の層間絶縁膜802の形成に利用する絶縁材料」>「第三の層間絶縁膜816を形成する絶縁材料」の条件を満たすことが好ましい。
「第一の層間絶縁膜801の形成に利用する絶縁材料」として、比誘電率の高い(k=7)絶縁材料、例えば、SiN膜、SiCN膜を選択する際、
「第二の層間絶縁膜802の形成に利用する絶縁材料」として、比誘電率が中程度(k=3.5〜4.5)程度の絶縁材料、例えば、SiO2膜を選択し、
「第三の層間絶縁膜816を形成する絶縁材料」として、比誘電率が低い(k=2.5〜3.5)の絶縁材料、例えば、SiOCH膜を選択することが好ましい。
上記の選択を行うと、「第二の層間絶縁膜802の形成に利用する絶縁材料」は、吸湿性を低減させる効果も有している。
なお、「保護絶縁膜806、上面保護膜807の作製に利用する絶縁材料」が、「第一の層間絶縁膜801の形成に利用する絶縁材料」よりも緻密な膜であると、「保護」特性が勝り、好ましい。その条件を満たすためには、「保護絶縁膜806、上面保護膜807の作製に利用する絶縁材料」の比誘電率が、「第一の層間絶縁膜801の形成に利用する絶縁材料」の比誘電率よりも高くなるように、絶縁材料の選択を行うことが好ましい。例えば、「保護絶縁膜806、上面保護膜807の作製に利用する絶縁材料」に、SiN膜を採用し、「第一の層間絶縁膜801の形成に利用する絶縁材料」に、SiCN膜を採用することが好ましい。
(第3の実施態様)
本発明の第3の実施形態に係る抵抗変化素子を、多層配線層中に設ける不揮発性スイッチング素子として利用する半導体装置について、その実施態様の一例を図面を参照して、説明する。図9は、半導体装置の多層配線層中に設ける不揮発性スイッチング素子として利用される、本発明の第3の実施形態に係る抵抗変化素子の第3の実施態様を模式的に示す断面図である。
図9に示す、第3の実施態様の抵抗変化素子は、3端子固体電解質スイッチの形態に構成されている。
図9に示す、抵抗変化素子999は、下層の銅配線層(第1の銅配線)910aの銅配線908a、下層の銅配線層(第1の銅配線)910bの銅配線908bの二つの銅配線を、それぞれ、「イオン供給層」として機能する「第1電極」として利用し、3端子固体電解質スイッチを構成している。抵抗変化膜903は、固体電解質により形成され、「イオン伝導層」として機能する。該抵抗変化膜903の上面に接する「第1の電極」904は、第1上部電極904aと第2上部電極904bからなる積層構造となっている。「第1の電極」904のうち、第1上部電極904aが、抵抗変化膜903の上面に接している。「第1の電極」904の上面、すなわち、第2上部電極904bの上面には、上面保護膜907が設けられている。
抵抗変化素子999の抵抗変化膜903と「第1の電極」904は、第1の層間絶縁膜901の上面に形成されている。
抵抗変化膜903は、第一の層間絶縁膜901に開口されたホールを介して、下層の銅配線層(第1の銅配線)910aの銅配線908aの表面、ならびに、下層の銅配線層(第1の銅配線)910bの銅配線908bの表面に接している。従って、開口されたホール部分では、抵抗変化膜903の下面は、「イオン供給層」として機能する「第1電極」、すなわち、下層の銅配線層(第1の銅配線)910aの銅配線908a、ならびに、下層の銅配線層(第1の銅配線)910bの銅配線908bと接し、抵抗変化膜903の上面は、「第2電極」として機能する第一の電極904と接する構成となっている。従って、抵抗変化素子999は、二つの「銅フィラメント析出型抵抗変化素子」が「第2電極」を介して並列に連結されている構成の、3端子固体電解質スイッチとなっている。
抵抗変化膜903、第1上部電極904aと第2上部電極904b、上面保護膜907の側面は、保護絶縁膜906で被覆されている。その結果、少なくとも、抵抗変化膜903、第1上部電極904aと第2上部電極904bの側面は保護絶縁膜906で被覆され、第2上部電極904bの上面は、上面保護膜907で被覆される形態となっている。
例えば、抵抗変化膜903の形成に用いる固体電解質として、SiOを含む有機ポリマー膜を選択することが好ましい。また、第1上部電極904aは、Ruを用いて、第2上部電極904bは、Ta、あるいはTaNを用いて、それぞれ形成することができる。
上面保護膜907は、保護絶縁膜906と同一材料を用いて、形成することが好ましい。保護絶縁膜906、上面保護膜907は、第二の層間絶縁膜902を形成する過程で、抵抗変化膜903、第1上部電極904aと第2上部電極904bが、酸素による酸化を受けることを防止し、また、水分の侵入を防止する機能を有する、絶縁膜で形成する。さらには、抵抗変化膜903を形成する固体電解質として、イオン伝導性を示す酸化膜を採用する際には、保護絶縁膜906は、該固体電解質からの酸素の脱離を防ぐ機能を有する絶縁膜である。保護絶縁膜906、上面保護膜907は、例えば、SiN膜、SiCN膜等を用いて、形成することが好ましい。
下層の銅配線層(第1の銅配線)910aは、下層の層間絶縁膜911に形成された第1の配線溝に、バリアメタル909aを介して埋め込まれた銅配線908aからなる。下層の銅配線層(第1の銅配線)910bは、下層の層間絶縁膜911に形成された第2の配線溝に、バリアメタル909bを介して埋め込まれた銅配線908bからなる。下層の銅配線層(第1の銅配線)910a、下層の銅配線層(第1の銅配線)910bの上面には、第1の層間絶縁膜901が形成されている。該第1の層間絶縁膜901は、下層の銅配線層(第1の銅配線)910a、下層の銅配線層(第1の銅配線)910b上面から銅の拡散を防止するための絶縁性バリア膜として機能も有している。絶縁性バリア膜として機能を付与するため、第一の層間絶縁膜901の形成には、SiN膜、SiCN膜などを用いることが好ましい。
第二の層間絶縁膜902は、第一の層間絶縁膜901と直接接している。さらに、第二の層間絶縁膜902の上部に、第三の層間絶縁膜916が形成されている。その際、第三の層間絶縁膜916は、第二の層間絶縁膜902と直接接している。
第三の層間絶縁膜916には、上層の銅配線層(第2の銅配線)915が形成されている。第三の層間絶縁膜916に形成される上層の銅配線層(第2の銅配線)915は、第二の層間絶縁膜902に形成されるビア部分と一体に形成されている。上層の銅配線層(第2の銅配線)915とビア部分は、第三の層間絶縁膜916に形成される配線溝と、第二の層間絶縁膜902に形成されるビアホールに、バリアメタル913を介して埋め込まれた銅配線914からなる。上層の銅配線層(第2の銅配線)915に設ける、ビアホールは、上面保護膜907に形成された開口を介して、第2上部電極904bに開通されている。
上層の銅配線層(第2の銅配線)915の表面は、該上層の銅配線層(第2の銅配線)915の銅配線914から銅の拡散を防止するため、絶縁性バリア膜912で被覆されている。第一の層間絶縁膜901と同様に、該絶縁性バリア膜912の形成には、SiN膜、SiCN膜などを用いることが好ましい。
下層の銅配線層(第1の銅配線)910aのバリアメタル909aは、下層の銅配線層(第1の銅配線)910aの銅配線908aの主成分である銅が、下層の層間絶縁膜911中に拡散することを防止するために、銅配線908aの側面および底面を被覆する、バリア性を有する導電性膜である。下層の銅配線層(第1の銅配線)910bのバリアメタル909bは、下層の銅配線層(第1の銅配線)910bの銅配線908bの主成分である銅が、下層の層間絶縁膜911中に拡散することを防止するために、銅配線908bの側面および底面を被覆する、バリア性を有する導電性膜である。同様に、上層の銅配線層(第2の銅配線)915のバリアメタル913は、上層の銅配線層(第1の銅配線)915の銅配線914の主成分である銅が、第三の層間絶縁膜916中、第二の層間絶縁膜902中、ならびに、ビアホールが開通される第2上部電極904b中に拡散することを防止するために、銅配線914の側面および底面を被覆する、バリア性を有する導電性膜である。
下層の銅配線層(第1の銅配線)910aのバリアメタル909a、下層の銅配線層(第1の銅配線)910bのバリアメタル909b、上層の銅配線層(第2の銅配線)915のバリアメタル913には、銅の拡散に対するバリア性を有する導電性膜、例えば、タンタル(Ta)、窒化タンタル(TaN)、窒化チタン(TiN)、炭窒化タングステン(WCN)のような高融点金属やその窒化物等、あるいは、それらの積層膜が用いられる。
図9に示す、第3の実施態様の抵抗変化素子においても、第二の層間絶縁膜902と第三の層間絶縁膜916は、異なる絶縁材料で形成される。また、第三の層間絶縁膜916と絶縁性バリア膜912は、異なる絶縁材料で形成される。同様に、下層の層間絶縁膜911と、絶縁性バリア膜として機能する第一の層間絶縁膜901は、異なる絶縁材料で形成される。さらには、第一の層間絶縁膜901と第二の層間絶縁膜902は、異なる絶縁材料で形成される。
上述するように、絶縁性バリア膜として機能する第一の層間絶縁膜901と、絶縁性バリア膜912の形成には、SiN膜、SiCN膜などを用いることが好ましい。
その際、下層の層間絶縁膜911の形成には、SiO2膜や、SiOC膜、SiOCH膜、および低誘電率膜などを用いることができる。
保護絶縁膜906、上面保護膜907の作製に利用する、例えば、SiN膜、SiCN膜は、酸素透過性を示さず、また、水分の透過性も示さず、第二の層間絶縁膜902の形成過程において、抵抗変化膜903、第1上部電極904aと第2上部電極904bを保護している。
その際、第二の層間絶縁膜902の形成に利用する絶縁材料として、第一の層間絶縁膜901、保護絶縁膜906、上面保護膜907の作製に利用する絶縁材料、例えば、SiN膜、SiCN膜と比較し、比誘電率が小さい絶縁材料を選択することが好ましい。第三の層間絶縁膜916を形成する絶縁材料として、第二の層間絶縁膜902の形成に利用する絶縁材料よりも比誘電率が小さい絶縁材料を選択することが好ましい。
従って、比誘電率の大小関係は、「第一の層間絶縁膜901の形成に利用する絶縁材料」>「第二の層間絶縁膜902の形成に利用する絶縁材料」>「第三の層間絶縁膜916を形成する絶縁材料」の条件を満たすことが好ましい。
「第一の層間絶縁膜901の形成に利用する絶縁材料」として、比誘電率の高い(k=7)絶縁材料、例えば、SiN膜、SiCN膜を選択する際、
「第二の層間絶縁膜902の形成に利用する絶縁材料」として、比誘電率が中程度(k=3.5〜4.5)程度の絶縁材料、例えば、SiO2膜を選択し、
「第三の層間絶縁膜916を形成する絶縁材料」として、比誘電率が低い(k=2.5〜3.5)の絶縁材料、例えば、SiOCH膜を選択することが好ましい。
上記の選択を行うと、「第二の層間絶縁膜902の形成に利用する絶縁材料」は、吸湿性を低減させる効果も有している。
なお、「保護絶縁膜906、上面保護膜907の作製に利用する絶縁材料」が、「第一の層間絶縁膜901の形成に利用する絶縁材料」よりも緻密な膜であると、「保護」特性が勝り、好ましい。その条件を満たすためには、「保護絶縁膜906、上面保護膜907の作製に利用する絶縁材料」の比誘電率が、「第一の層間絶縁膜901の形成に利用する絶縁材料」の比誘電率よりも高くなるように、絶縁材料の選択を行うことが好ましい。例えば、「保護絶縁膜906、上面保護膜907の作製に利用する絶縁材料」に、SiN膜を採用し、「第一の層間絶縁膜901の形成に利用する絶縁材料」に、SiCN膜を採用することが好ましい。
図9に示すように、第一の層間絶縁膜901に開口されたホール領域には、下層の銅配線層(第1の銅配線)910a、下層の銅配線層(第1の銅配線)910bに加えて、下層の層間絶縁膜911も露呈している。第一の層間絶縁膜901にホールを開口する工程において、露呈している下層の層間絶縁膜911の一部もエッチング除去され、凹部が形成されている。該凹部を埋め込むように、抵抗変化膜903が形成されている。
該凹部に形成される抵抗変化膜903は、下層の銅配線層(第1の銅配線)910aのバリアメタル909a、あるいは、下層の銅配線層(第1の銅配線)910bのバリアメタル909bと接する。その際、抵抗変化膜903が、「第2電極」として機能する第一の電極904と、下層の銅配線層(第1の銅配線)910aのバリアメタル909a、あるいは、下層の銅配線層(第1の銅配線)910bのバリアメタル909bにより挟まれる構成は、金属フィラメント析出型の抵抗変化素子として機能しない。
従って、抵抗変化膜903が、「第2電極」として機能する第一の電極904と、下層の銅配線層(第1の銅配線)910aの銅配線908aにより挟まれる構成と、抵抗変化膜903が、「第2電極」として機能する第一の電極904と、下層の銅配線層(第1の銅配線)910bの銅配線908bにより挟まれる構成のみが、それぞれ、独立した「銅フィラメント析出型抵抗変化素子」として機能する。図9に例示するように、抵抗変化膜903が、「第2電極」として機能する第一の電極904と、下層の銅配線層(第1の銅配線)910aの銅配線908aにより挟まれる部位の面積Saと、抵抗変化膜903が、「第2電極」として機能する第一の電極904と、下層の銅配線層(第1の銅配線)910bの銅配線908bにより挟まれる部位の面積Sbは、それぞれ、独立に設定することが可能である。換言すると、抵抗変化膜903が、「第2電極」として機能する第一の電極904と、下層の銅配線層(第1の銅配線)910aの銅配線908aにより挟まれる部位からなる「銅フィラメント析出型抵抗変化素子」の「ON」状態の抵抗値と、抵抗変化膜903が、「第2電極」として機能する第一の電極904と、下層の銅配線層(第1の銅配線)910bの銅配線908bにより挟まれる部位からなる「銅フィラメント析出型抵抗変化素子」の「ON」状態の抵抗値は、それぞれ、独立に設定することが可能である。
下層の銅配線層(第1の銅配線)910aと、下層の銅配線層(第1の銅配線)910bは、電気的に分離されており、それぞれ独立に電圧を印加することが可能である。
従って、図9に示す、第3の実施態様の抵抗変化素子999は、二つの「銅フィラメント析出型抵抗変化素子」が「第2電極」を介して並列に連結されている構成の、3端子固体電解質スイッチであり、その際、二つの「銅フィラメント析出型抵抗変化素子」は、互いに独立して、スイッチングを行うことが可能となっている。
(対比評価結果)
図9に示す、第3の実施態様の抵抗変化素子999においては、抵抗変化膜903、第1上部電極904aと第2上部電極904b、上面保護膜907の側面は、保護絶縁膜906で被覆されている。従って、第二の層間絶縁膜902は、第一の層間絶縁膜901と直接接している。さらに、第二の層間絶縁膜902の上部に、第三の層間絶縁膜916が形成されている。その際、第三の層間絶縁膜916は、第二の層間絶縁膜902と直接接している。
図10は、半導体装置の多層配線層中に設ける不揮発性スイッチング素子として利用される、従来の抵抗変化素子の構成を模式的に示す断面図である。図10に示す、従来の抵抗変化素子も、3端子固体電解質スイッチの形態に構成されている。
図10に示す、従来の抵抗変化素子1099においても、抵抗変化膜1003、第1上部電極1004aと第2上部電極1004b、上面保護膜1007の側面は、保護絶縁膜1005で被覆されている。
該保護絶縁膜1005は、抵抗変化膜1003、第1上部電極1004aと第2上部電極1004b、上面保護膜1007の側面に加えて、上面保護膜1007の上面、ならびに、第一の層間絶縁膜1001の上面をも被覆している。
第二の層間絶縁膜1002は、該保護絶縁膜1005を被覆するように形成されている。結果的に、第一の層間絶縁膜1001と第二の層間絶縁膜1002の間に、保護絶縁膜1005が挿入された状態となっている。第一の層間絶縁膜1001と第二の層間絶縁膜1002の間に挿入されている、保護絶縁膜1005の膜厚は、20nmに選択されている。
図9に示す、第3の実施態様の抵抗変化素子999と、図10に示す、従来の抵抗変化素子1099について、下記の条件で対比評価を行った。
対比評価に使用する、図9に示す、第3の実施態様の抵抗変化素子999では、
「第一の層間絶縁膜901の形成に利用する絶縁材料」に、比誘電率k1=4.9のSiCN膜を採用し、第一の層間絶縁膜901の膜厚は、d1=30nmに選択し;
「第二の層間絶縁膜902の形成に利用する絶縁材料」に、比誘電率k2=4.2のSiO2膜を採用し、第二の層間絶縁膜902の膜厚は、d2=100nmに選択し;
「下層の層間絶縁膜911を形成する絶縁材料」として、比誘電率k3=2.7のSiOCH膜を採用している。
従って、第一の層間絶縁膜901、第二の層間絶縁膜902、下層の層間絶縁膜911からなる「下層の層間絶縁膜」の実効的比誘電率keffは、keff=3.15となっている。
対比評価に使用する、図10に示す、従来の抵抗変化素子1099では、
「第一の層間絶縁膜1001の形成に利用する絶縁材料」に、比誘電率k1=4.9のSiCN膜を採用し、第一の層間絶縁膜1001の膜厚は、d1=30nmに選択し;
「保護絶縁膜1005の形成に利用する絶縁材料」に、比誘電率kP=7.0のSiN膜を採用し、保護絶縁膜1005の膜厚は、dP=20nmに選択し;
「第二の層間絶縁膜1002の形成に利用する絶縁材料」に、比誘電率k2=4.2のSiO2膜を採用し、第二の層間絶縁膜1002の膜厚は、d'2=80nmに選択し;
「下層の層間絶縁膜1011を形成する絶縁材料」として、比誘電率k3=2.7のSiOCH膜を採用している。
従って、第一の層間絶縁膜1001、保護絶縁膜1005、第二の層間絶縁膜1002、下層の層間絶縁膜1011からなる「下層の層間絶縁膜」の実効的比誘電率keffは、keff=3.50となっている。
同層配線間容量の測定のため、ライン/スペース=120nm/120nmの櫛型容量測定パタンを作製している。
図9に示す、第3の実施態様の抵抗変化素子999では、下層の層間絶縁膜911中に、下層の銅配線層(第1の銅配線)に相当する、「第1の配線」用の櫛型容量測定パタンと、「第2の配線」用の櫛型容量測定パタンを作製している。下層の層間絶縁膜911中に作製する「同層配線」の配線高さは、150nmに選択されている。
図10に示す、従来の抵抗変化素子1099では、下層の層間絶縁膜1011中に、下層の銅配線層(第1の銅配線)に相当する、「第1の配線」用の櫛型容量測定パタンと、「第2の配線」用の櫛型容量測定パタンを作製している。下層の層間絶縁膜1011中に作製する「同層配線」の配線高さは、150nmに選択されている。
ライン/スペース=120nm/120nmの櫛型容量測定パタンを利用して、「第1の配線」と「第2の配線」との間の同層配線間容量を10kHzにて測定した。
図10に示す、従来の抵抗変化素子1099においては、同層配線間容量は、150fF/mmであった。
図9に示す、第3の実施態様の抵抗変化素子999においては、同層配線間容量は、135fF/mmであった。
図10に示す、従来の抵抗変化素子1099と比較し、図9に示す、第3の実施態様の抵抗変化素子999では、同層配線間容量は、10%低減されている。
抵抗変化素子の信頼性の評価を、PCT(Pressure Cooker Test)試験、120℃、湿度100RH%で300時間の条件で行った。抵抗変化素子を「高抵抗状態(OFF状態)」に保持した際、「リーク電流」の増加の有無に基づき、「不良」の発生の有無を評価した。
保護絶縁膜を形成している、図9に示す、第3の実施態様の抵抗変化素子999、図10に示す、従来の抵抗変化素子1099は、いずれも、「不良」の発生は見出されなかった。
一方、図10に示す、従来の抵抗変化素子1099に対して、保護絶縁膜1005を形成していない、「参照用」の抵抗変化素子において、同じ条件で、抵抗変化素子の信頼性の評価を実施すると、抵抗変化素子を「高抵抗状態(OFF状態)」に保持した際、「リーク電流」の増加が見出された。
(第4の実施態様)
本発明の第3の実施形態に係る抵抗変化素子を、多層配線層中に設ける不揮発性スイッチング素子として利用する半導体装置について、その実施態様の一例を図面を参照して、説明する。図11は、半導体装置の多層配線層中に設ける不揮発性スイッチング素子として利用される、本発明の第3の実施形態に係る抵抗変化素子の第4の実施態様を模式的に示す断面図である。
図11に示す、第4の実施態様の抵抗変化素子は、3端子固体電解質スイッチの形態に構成されている。
図11に示す、抵抗変化素子1199は、下層の銅配線層(第1の銅配線)1110aの銅配線1108a、下層の銅配線層(第1の銅配線)1110bの銅配線1108bの二つの銅配線を、それぞれ、「イオン供給層」として機能する「第1電極」として利用し、3端子固体電解質スイッチを構成している。抵抗変化膜1103は、固体電解質により形成され、「イオン伝導層」として機能する。該抵抗変化膜1103の上面に接する「第1の電極」1104は、第1上部電極1104aと第2上部電極1104bからなる積層構造となっている。「第1の電極」1104のうち、第1上部電極1104aが、抵抗変化膜1103の上面に接している。「第1の電極」1104の上面、すなわち、第2上部電極1104bの上面には、上面保護膜1107が設けられている。
抵抗変化素子1199の抵抗変化膜1103と「第1の電極」1104は、第1の層間絶縁膜1101の上面に形成されている。
抵抗変化膜1103は、第一の層間絶縁膜1101に開口されたホールを介して、下層の銅配線層(第1の銅配線)1110aの銅配線1108aの表面、ならびに、下層の銅配線層(第1の銅配線)1110bの銅配線1108bの表面に接している。従って、開口されたホール部分では、抵抗変化膜1103の下面は、「イオン供給層」として機能する「第1電極」、すなわち、下層の銅配線層(第1の銅配線)1110aの銅配線1108a、ならびに、下層の銅配線層(第1の銅配線)1110bの銅配線1108bと接し、抵抗変化膜1103の上面は、「第2電極」として機能する第一の電極1104と接する構成となっている。従って、抵抗変化素子1199は、二つの「銅フィラメント析出型抵抗変化素子」が「第2電極」を介して並列に連結されている構成の、3端子固体電解質スイッチとなっている。
抵抗変化膜1103、第1上部電極1104aと第2上部電極1104b、上面保護膜1107の側面は、保護絶縁膜1106で被覆されている。その結果、少なくとも、抵抗変化膜1103、第1上部電極1104aと第2上部電極1104bの側面は保護絶縁膜1106で被覆され、第2上部電極1104bの上面は、上面保護膜1107で被覆される形態となっている。
例えば、抵抗変化膜1103の形成に用いる固体電解質として、SiOを含む有機ポリマー膜を選択することが好ましい。また、第1上部電極1104aは、Ruを用いて、、第2上部電極1104bは、Ta、あるいはTaNを用いて、それぞれ形成することができる。
上面保護膜1107は、保護絶縁膜1105と同一材料を用いて、形成することが好ましい。保護絶縁膜1105、上面保護膜1107は、第二の層間絶縁膜1102を形成する過程で、抵抗変化膜1103、第1上部電極1104aと第2上部電極1104bが、酸素による酸化を受けることを防止し、また、水分の侵入を防止する機能を有する、絶縁膜で形成する。さらには、抵抗変化膜1103を形成する固体電解質として、イオン伝導性を示す酸化膜を採用する際には、保護絶縁膜1105は、該固体電解質からの酸素の脱離を防ぐ機能を有する絶縁膜である。保護絶縁膜1105、上面保護膜1107は、例えば、SiN膜等を用いて、形成することが好ましい。
下層の銅配線層(第1の銅配線)1110aは、下層の層間絶縁膜1111に形成された第1の配線溝に、バリアメタル1109aを介して埋め込まれた銅配線1108aからなる。下層の銅配線層(第1の銅配線)1110bは、下層の層間絶縁膜1111に形成された第2の配線溝に、バリアメタル1109bを介して埋め込まれた銅配線1108bからなる。下層の銅配線層(第1の銅配線)1110a、下層の銅配線層(第1の銅配線)1110bの上面には、第1の層間絶縁膜1101が形成されている。該第1の層間絶縁膜1101は、下層の銅配線層(第1の銅配線)1110a、下層の銅配線層(第1の銅配線)1110b上面から銅の拡散を防止するための絶縁性バリア膜として機能も有している。絶縁性バリア膜として機能を付与するため、第一の層間絶縁膜1101の形成には、SiCN膜などを用いることが好ましい。
第二の層間絶縁膜1102は、第一の層間絶縁膜1101と直接接している。さらに、第二の層間絶縁膜1102の上部に、第三の層間絶縁膜1116が形成されている。その際、第三の層間絶縁膜1116は、第二の層間絶縁膜1102と直接接している。
第三の層間絶縁膜1116には、上層の銅配線層(第2の銅配線)1115a、上層の銅配線層(第2の銅配線)1115bが形成されている。第三の層間絶縁膜1116に形成される上層の銅配線層(第2の銅配線)1115aは、第二の層間絶縁膜1102、第一の層間絶縁膜1101を貫通し、下層の銅配線層(第1の銅配線)1110aの表面に達するコンタクトプラグ部分と一体に形成されている。第三の層間絶縁膜1116に形成される上層の銅配線層(第2の銅配線)1115bは、第二の層間絶縁膜1102、第一の層間絶縁膜1101を貫通し、下層の銅配線層(第1の銅配線)1110bの表面に達するコンタクトプラグ部分と一体に形成されている。上層の銅配線層(第2の銅配線)1115aとコンタクトプラグ部分は、第三の層間絶縁膜1116に形成される配線溝と、第二の層間絶縁膜1102、第一の層間絶縁膜1101を貫通し、下層の銅配線層(第1の銅配線)1110aの表面に達するコンタクトホール部に、バリアメタル1113aを介して埋め込まれた銅配線1114aからなる。上層の銅配線層(第2の銅配線)1115bとコンタクトプラグ部分は、第三の層間絶縁膜1116に形成される配線溝と、第二の層間絶縁膜1102、第一の層間絶縁膜1101を貫通し、下層の銅配線層(第1の銅配線)1110bの表面に達するコンタクトホール部に、バリアメタル1113bを介して埋め込まれた銅配線1114bからなる。
上層の銅配線層(第2の銅配線)1115aと一体に形成されるコンタクトプラグ部分は、その側壁の一部が、保護絶縁膜1105と接する形状となっている。上層の銅配線層(第2の銅配線)1115bと一体に形成されるコンタクトプラグ部分も、その側壁の一部が、保護絶縁膜1105と接する形状となっている。
上層の銅配線層(第2の銅配線)1115aの表面、上層の銅配線層(第2の銅配線)1115bの表面は、該上層の銅配線層(第2の銅配線)1115aの銅配線1114a、上層の銅配線層(第2の銅配線)1115bの銅配線1114bから銅の拡散を防止するため、絶縁性バリア膜1112で被覆されている。第一の層間絶縁膜1101と同様に、該絶縁性バリア膜1112の形成には、SiCN膜などを用いることが好ましい。
下層の銅配線層(第1の銅配線)1110aのバリアメタル1109aは、下層の銅配線層(第1の銅配線)1110aの銅配線1108aの主成分である銅が、下層の層間絶縁膜1111中に拡散することを防止するために、銅配線1108aの側面および底面を被覆する、バリア性を有する導電性膜である。下層の銅配線層(第1の銅配線)1110bのバリアメタル1109bは、下層の銅配線層(第1の銅配線)1110bの銅配線1108bの主成分である銅が、下層の層間絶縁膜1111中に拡散することを防止するために、銅配線1108bの側面および底面を被覆する、バリア性を有する導電性膜である。同様に、上層の銅配線層(第2の銅配線)1115aのバリアメタル1113aは、上層の銅配線層(第1の銅配線)1115aの銅配線1114aの主成分である銅が、第三の層間絶縁膜1116中、第二の層間絶縁膜1102中、ならびに、第一の層間絶縁膜1101中に拡散することを防止するために、銅配線1114aの側面および底面を被覆する、バリア性を有する導電性膜である。上層の銅配線層(第2の銅配線)1115bのバリアメタル1113bは、上層の銅配線層(第1の銅配線)1115bの銅配線1114bの主成分である銅が、第三の層間絶縁膜1116中、第二の層間絶縁膜1102中、ならびに、第一の層間絶縁膜1101中に拡散することを防止するために、銅配線1114bの側面および底面を被覆する、バリア性を有する導電性膜である。
下層の銅配線層(第1の銅配線)1110aのバリアメタル1109a、下層の銅配線層(第1の銅配線)1110bのバリアメタル1109b、上層の銅配線層(第2の銅配線)1115aのバリアメタル1113a、上層の銅配線層(第2の銅配線)1115bのバリアメタル1113bには、銅の拡散に対するバリア性を有する導電性膜、例えば、タンタル(Ta)、窒化タンタル(TaN)、窒化チタン(TiN)、炭窒化タングステン(WCN)のような高融点金属やその窒化物等、あるいは、それらの積層膜が用いられる。
図11に示す、第4の実施態様の抵抗変化素子においても、第二の層間絶縁膜1102と第三の層間絶縁膜1116は、異なる絶縁材料で形成される。また、第三の層間絶縁膜1116と絶縁性バリア膜1112は、異なる絶縁材料で形成される。同様に、下層の層間絶縁膜1111と、絶縁性バリア膜として機能する第一の層間絶縁膜1101は、異なる絶縁材料で形成される。さらには、第一の層間絶縁膜1101と第二の層間絶縁膜1102は、異なる絶縁材料で形成される。
上述するように、絶縁性バリア膜として機能する第一の層間絶縁膜1101と、絶縁性バリア膜1112の形成には、SiCN膜などを用いることが好ましい。
その際、下層の層間絶縁膜1111の形成には、SiO2膜や、SiOC膜、SiOCH膜、および低誘電率膜などを用いることができる。
保護絶縁膜1105、上面保護膜1107の作製に利用する、例えば、SiN膜は、酸素透過性を示さず、また、水分の透過性も示さず、第二の層間絶縁膜1102の形成過程において、抵抗変化膜1103、第1上部電極1104aと第2上部電極1104bを保護している。
その際、第二の層間絶縁膜1102の形成に利用する絶縁材料として、第一の層間絶縁膜1101、保護絶縁膜1105、上面保護膜1107の作製に利用する絶縁材料、例えば、SiN膜、SiCN膜と比較し、比誘電率が小さい絶縁材料を選択することが好ましい。第三の層間絶縁膜1116を形成する絶縁材料として、第二の層間絶縁膜1102の形成に利用する絶縁材料よりも比誘電率が小さい絶縁材料を選択することが好ましい。
従って、比誘電率の大小関係は、「第一の層間絶縁膜1101の形成に利用する絶縁材料」>「第二の層間絶縁膜1102の形成に利用する絶縁材料」>「第三の層間絶縁膜1116を形成する絶縁材料」の条件を満たすことが好ましい。
「第一の層間絶縁膜1101の形成に利用する絶縁材料」として、比誘電率の高い(k=7)絶縁材料、例えば、SiCN膜を選択する際、
「第二の層間絶縁膜1102の形成に利用する絶縁材料」として、比誘電率が中程度(k=3.5〜4.5)程度の絶縁材料、例えば、SiO2膜を選択し、
「第三の層間絶縁膜1116を形成する絶縁材料」として、比誘電率が低い(k=2.5〜3.5)の絶縁材料、例えば、SiOCH膜を選択することが好ましい。
上記の選択を行うと、「第二の層間絶縁膜1102の形成に利用する絶縁材料」は、吸湿性を低減させる効果も有している。
なお、「保護絶縁膜1105、上面保護膜1107の作製に利用する絶縁材料」が、「第一の層間絶縁膜1101の形成に利用する絶縁材料」よりも緻密な膜であると、「保護」特性が勝り、好ましい。その条件を満たすためには、「保護絶縁膜1105、上面保護膜1107の作製に利用する絶縁材料」の比誘電率が、「第一の層間絶縁膜1101の形成に利用する絶縁材料」の比誘電率よりも高くなるように、絶縁材料の選択を行うことが好ましい。例えば、「保護絶縁膜1105、上面保護膜1107の作製に利用する絶縁材料」に、SiN膜を採用し、「第一の層間絶縁膜1101の形成に利用する絶縁材料」に、SiCN膜を採用することが好ましい。
図11に示すように、第一の層間絶縁膜1101に開口されたホール領域には、下層の銅配線層(第1の銅配線)1110a、下層の銅配線層(第1の銅配線)1110bに加えて、下層の層間絶縁膜1111も露呈している。第一の層間絶縁膜1101にホールを開口する工程において、露呈している下層の層間絶縁膜1111の一部もエッチング除去され、凹部が形成されている。該凹部を埋め込むように、抵抗変化膜1103が形成されている。
該凹部に形成される抵抗変化膜1103は、下層の銅配線層(第1の銅配線)1110aのバリアメタル1109a、あるいは、下層の銅配線層(第1の銅配線)1110bのバリアメタル1109bと接する。その際、抵抗変化膜1103が、「第2電極」として機能する第一の電極1104と、下層の銅配線層(第1の銅配線)1110aのバリアメタル1109a、あるいは、下層の銅配線層(第1の銅配線)1110bのバリアメタル1109bにより挟まれる構成は、金属フィラメント析出型の抵抗変化素子として機能しない。
従って、抵抗変化膜1103が、「第2電極」として機能する第一の電極1104と、下層の銅配線層(第1の銅配線)1110aの銅配線1108aにより挟まれる構成と、抵抗変化膜1103が、「第2電極」として機能する第一の電極1104と、下層の銅配線層(第1の銅配線)1110bの銅配線1108bにより挟まれる構成のみが、それぞれ、独立した「銅フィラメント析出型抵抗変化素子」として機能する。図11に例示するように、抵抗変化膜1103が、「第2電極」として機能する第一の電極1104と、下層の銅配線層(第1の銅配線)1110aの銅配線1108aにより挟まれる部位の面積Saと、抵抗変化膜1103が、「第2電極」として機能する第一の電極1104と、下層の銅配線層(第1の銅配線)1110bの銅配線1108bにより挟まれる部位の面積Sbは、それぞれ、独立に設定することが可能である。換言すると、抵抗変化膜1103が、「第2電極」として機能する第一の電極1104と、下層の銅配線層(第1の銅配線)1110aの銅配線1108aにより挟まれる部位からなる「銅フィラメント析出型抵抗変化素子」の「ON」状態の抵抗値と、抵抗変化膜1103が、「第2電極」として機能する第一の電極1104と、下層の銅配線層(第1の銅配線)1110bの銅配線1108bにより挟まれる部位からなる「銅フィラメント析出型抵抗変化素子」の「ON」状態の抵抗値は、それぞれ、独立に設定することが可能である。
下層の銅配線層(第1の銅配線)1110aと、下層の銅配線層(第1の銅配線)1110bは、電気的に分離されており、それぞれ独立に電圧を印加することが可能である。
下層の銅配線層(第1の銅配線)1110aは、コンタクトプラグを介して、上層の銅配線層(第1の銅配線)1115aと接続され、下層の銅配線層(第1の銅配線)1110bは、コンタクトプラグを介して、上層の銅配線層(第1の銅配線)1115bと接続されている。
その際、コンタクトプラグの側壁は、保護絶縁膜1105と接するが、第1上部電極1104a、第2上部電極1104bとは、電気的に絶縁されている。従って、コンタクトプラグを、抵抗変化素子1199に近接する位置に設けることが可能となっている。つまり、第4の実施態様の抵抗変化素子1199は、下層の銅配線層(第1の銅配線)1110a、下層の銅配線層(第1の銅配線)1110bに対して、それぞれ、独立して電圧を供給する、上層の銅配線層(第1の銅配線)1115a、上層の銅配線層(第1の銅配線)1115bを高密度に配置することが可能となっている。
従って、図11に示す、第4の実施態様の抵抗変化素子1199は、二つの「銅フィラメント析出型抵抗変化素子」が「第2電極」を介して並列に連結されている構成の、3端子固体電解質スイッチであり、その際、二つの「銅フィラメント析出型抵抗変化素子」は、互いに独立して、スイッチングを行うことが可能となっている。
なお、第二の層間絶縁膜1102、第一の層間絶縁膜1101を貫通し、下層の銅配線層(第1の銅配線)1110aの表面に達するコンタクトホール部の形成、第二の層間絶縁膜1102、第一の層間絶縁膜1101を貫通し、下層の銅配線層(第1の銅配線)1110bの表面に達するコンタクトホール部の形成の過程において、第二の層間絶縁膜1102のエッチング、第一の層間絶縁膜1101のエッチングを進める際、「第一の層間絶縁膜1101の形成に利用する絶縁材料」として、SiCN膜を選択し、「第二の層間絶縁膜1102の形成に利用する絶縁材料」として、SiO2膜を選択し、一方、「保護絶縁膜1105、上面絶縁膜1107の形成に利用する絶縁材料」として、SiN膜を選択すると、エッチングの加工選択比を高くすることができる。結果として、前記コンタクトホール部の形成の過程において、サイドエッチングによる、保護絶縁膜1105、上面絶縁膜1107の膜厚の減少を回避できる。
(第5の実施態様)
本発明の第3の実施形態に係る抵抗変化素子を、多層配線層中に設ける不揮発性スイッチング素子として利用する半導体装置について、その実施態様の一例と、その製造プロセスを図面を参照して、説明する。図12A〜図12Iは、半導体装置の多層配線層中に設ける不揮発性スイッチング素子として利用される、本発明の第3の実施形態に係る抵抗変化素子の第5の実施態様と、その製造プロセスを模式的に示す断面図である。
図12A〜図12Iに、その製造プロセスを示す、第5の実施態様の抵抗変化素子は、2端子固体電解質スイッチの形態に構成されている。図12A〜図12Iに例示される製造プロセスにおいては、半導体装置自体を構成する半導体素子(図示せず)は、多層配線層の作製に先立ち、半導体基板の表面に形成されている。
図12A〜図12Iを参照して、その表面に半導体素子が形成されている、半導体デバイス基板1上に、多層配線層と、該多層配線層中に設ける不揮発性スイッチング素子として利用する、第5の実施態様の抵抗変化素子の製造プロセスの工程、ステップB1〜ステップB9を説明する。
(ステップB1)
ステップB1は、図12Aに示す、下層の配線層に相当する「第1配線」の作製と、抵抗変化素子の作製に際し、「イオン供給層」として機能する「第1電極」として利用する「第1配線」の表面を被覆する絶縁性バリア膜7に、開口部を形成する工程である。
まず、半導体デバイス基板1上に、層間絶縁膜2、バリア絶縁膜3および層間絶縁膜4を順に形成する。例えば、「層間絶縁膜2の形成に使用する絶縁材料」として、膜厚300nmのシリコン酸化膜を、「バリア絶縁膜3の形成に使用する絶縁材料」として、膜厚50nmのSiN膜を、「層間絶縁膜4の形成に使用する絶縁材料」として、膜厚200nmのSiO2膜を、それぞれ選択する。
続いて、層間絶縁膜4、バリア絶縁膜3、および層間絶縁膜2に、「第1配線」を作製する配線溝を形成する。配線溝の形成工程は、
フォトリソグラフィ法を用いて、層間絶縁膜4の上に所定のパターンの開口を有する、レジスト・マスクを形成する、レジスト・マスク形成処理ステップ;
レジスト・マスクをエッチング・マスク層として利用し、ドライエッチング法により、積層された膜に異方性エッチングを施す、エッチング処理ステップ;および、
異方性エッチングにより配線溝を形成した後、レジスト・マスクを除去する、レジスト除去処理ステップを含む。
その後、配線溝にバリアメタル6を介して金属5を埋め込んで、「第1配線」を形成する。「第1配線」の金属5は、「イオン供給層」として使用する。そのため、銅を主成分とする金属材料、例えば、銅を使用する。バリアメタル6は、金属5に使用する銅の拡散を防止する。従って、例えば、TaN(膜厚5nm)/Ta(膜厚5nm)の積層構造を、バリアメタル6として使用する。
TaN(膜厚5nm)/Ta(膜厚5nm)の積層構造からなるバリアメタル6を、配線溝の底部と側壁部に均一な膜厚で被覆する。そのため、等方的な堆積法、例えば、RFスパッタ法を利用して、該積層構造からなる堆積膜を、層間絶縁膜4の上面と配線溝の底部と側壁部に形成する。金属5に使用する銅は、バリアメタル6を下地層として使用し、例えば、メッキ法を利用して、配線溝の内部を埋め込むように形成する。その後、例えば、CMP(Chemical-Mechanical Polishing)法を利用し、層間絶縁膜4の上面に形成されている、銅とTaN(膜厚5nm)/Ta(膜厚5nm)の積層構造を除去し、配線溝に形成される「第1配線」の上面の平坦化を行う。
続いて、「第1配線」の上面、ならびに、層間絶縁膜4の上面を被覆する、絶縁性バリア膜7を形成する。絶縁性バリア膜7は、「第1配線」の金属5に使用する銅の拡散を防止する。そのため、「絶縁性バリア膜7の形成に使用する絶縁材料」として、例えば、膜厚30nmのSiCN膜を選択する。
下層の配線層に相当する「第1配線」のうち、抵抗変化素子の作製に際し、「イオン供給層」として機能する「第1電極」として利用する「第1配線」に対して、該「第1配線」の金属5の表面を覆う、絶縁性バリア膜7に開口部を形成する。
なお、抵抗変化素子の作製に使用しない、他の「第1配線」の表面を被覆する絶縁性バリア膜7には開口部は形成されない。従って、ステップB1を終了した時点では、抵抗変化素子の作製に使用される、一部の「第1配線」を除き、下層の配線層に相当する「第1配線」は、絶縁性バリア膜7で被覆された状態に保持されている。
「第1配線」の金属5の表面を覆う、絶縁性バリア膜7に開口部を形成する工程では、開口を有するレジスト・マスクを利用して、該レジスト・マスクの開口に露呈している、絶縁性バリア膜7に、等方的ドライエッチング法、例えば、反応性ドライエッチング法を使用して、等方的エッチングを施す。
絶縁性バリア膜7として使用する、SiCN膜の等方的エッチング工程では、反応性ドライエッチングの条件として、CF4/Arのガス流量=25:50sccm、圧力0.53[Pa]、ソースパワー400W、基板バイアスパワー90Wの条件を採用することができる。
反応性ドライエッチング法を使用することで、SiCN膜に形成される開口部の側壁面のエッチングが進行する。従って、レジスト・マスクの開口の周囲、レジスト・マスクにより被覆されている、SiCN膜の上部のサイド・エッチングが進行し、形成される開口部の側壁面はテーパ形状となる。その際、ソースパワーを低下させ、または、基板バイアスパワーを大きくする条件を採用することで、エッチング時の「イオン性」を向上させ、「反応性イオン・エッチング」過程の寄与を増すと、「テーパ形状」の側壁面の「テーパ角度」を小さくすることができる。
形成される開口部の側壁面へのサイド・エッチングを利用して、「テーパ形状」側壁面の「テーパ角度」を小さくするため、膜厚30nmのSiCN膜をエッチングする際、エッチング時間を、SiCN膜を35nmエッチング可能な時間に設定することができる。すなわち、エッチング時間を、「オーバー・エッチング」が進行する時間に設定し、SiCN膜の上部のサイド・エッチング量を増すことで、「テーパ形状」側壁面の「テーパ角度」を小さくすることができる。
「テーパ形状」側壁面の「テーパ角度」を小さくする「オーバー・エッチング処理」は、「エッチ・バック」の手法を利用して行うこともできる。
例えば、スパッタリング装置に付設されている、「エッチ・バック」機能を利用し、減圧雰囲気下、基板を350℃に加熱して、形成される開口部の側壁面に露呈するSiCN膜の「エッチ・バック」を行うことが可能である。具体的には、スパッタリング装置内に搭載されている、ヒートチャンバにおいて、減圧雰囲気下、加熱処理を施し、目的の「エッチ・バック」を施すことができる。
また、非反応性ガスを用いたRFエッチング法を利用して、形成される開口部の側壁面に露呈するSiCN膜の「エッチ・バック」を行うことも可能である。具体的には、非反応性ガスを用いたRFエッチングは、RFエッチングチャンバにて、非反応性ガスとして、Arガスを使用し、Arガス流量=30sccm、圧力1.3[Pa]、ソースパワー290W、基板バイアスパワー130Wの条件で行うことができる。その際、RFエッチング時間を、プラズマCVD法により形成したSiO2膜のRFエッチングを行った場合、2nmのSiO2膜をエッチング可能な時間に設定することで、所望のSiCN膜の「エッチ・バック」が達成される。
SiCN膜に形成される開口部の側壁面を、「テーパ角度」の小さな「テーパ形状」とすることで、次のステップB2において、該開口部に、金属Ti膜、固体電解質膜9、第1上部電極10、第2上部電極11からなる積層構造を形成する際、開口部の側壁面上の「ステップ・カバレージ」を向上することができる。
(ステップB2)
ステップB2は、図12Bに示す、抵抗変化素子の作製に際し、「第1配線」の金属(銅配線)5表面の酸化を防止する酸化チタン膜8、「イオン伝導層」として利用する固体電解質膜9、「第2電極」として機能する第一の電極を構成する、第1上部電極10、第2上部電極11を、絶縁性バリア膜7の上面と、形成した開口部に、順次形成する工程である。
絶縁性バリア膜7に形成した開口部に露呈されている、「第1配線」の金属(銅)5の表面、開口部の「テーパ形状」側壁面、ならびに、絶縁性バリア膜7の上面に、膜厚1nmの金属Ti膜をDCスパッタリング法によって堆積する。該金属Ti膜は、固体電解質膜9を形成する工程時、「第1配線」の金属(銅)5の表面の酸化を防止する、「酸化犠牲層」として機能する。
第5の実施態様の抵抗変化素子では、「イオン伝導層」として利用する固体電解質膜9を、シリコン、酸素、炭素を主成分としたポーラスポリマーからなる「多孔質高分子膜」を利用して、形成している。シリコン、酸素、炭素を主成分としたポーラスポリマーからなる「多孔質高分子膜」は、例えば、国際公開第2011/058947号に開示される、環状シロキサン型の有機モノマーを原料として、RFプラズマ法によって、該有機モノマーの「ポリメリゼーション反応」によって、堆積される。該RFプラズマ法による、有機モノマーの「ポリメリゼーション反応」の過程では、有機モノマーの分解に起因して、酸素プラズマが発生する。発生する酸素プラズマは、金属Ti膜に作用し、酸化チタン膜8へと変換する。
結果的に、金属Ti膜から変換される酸化チタン膜8上に、シリコン、酸素、炭素を主成分としたポーラスポリマーからなる「多孔質高分子膜」が堆積される。RFプラズマCVD法による「多孔質高分子膜」の堆積工程では、その堆積条件は、RF電力50〜300W、温度350℃、Heとの混合ガス、圧力1.0〜6.0[Torr]の範囲から選択することができる。
第5の実施態様の抵抗変化素子の作製に際して、具体的には、12インチ用プラズマCVDリアクターを利用する場合、Heガス流量=500sccm、圧力400[Pa]、RF電力80Wの条件を選択し、「多孔質高分子膜」を形成することができる。前記堆積条件を採用し、環状シロキサン型の有機モノマーを原料として、膜厚5nmの「多孔質高分子膜」を堆積し、固体電解質膜9の形成に使用している。
実際に、前記堆積条件を採用し、環状シロキサン型の有機モノマーを原料として、膜厚5nmの「多孔質高分子膜」を堆積した後、断面TEM(Transmission Electron Microscope;透過型電子顕微鏡)観察を行ったところ、膜厚1nmの金属Ti膜から、膜厚2.0nmの酸化チタン膜が形成されていることが確認された。なお、金属Tiの密度は、4.506g/cm3であるが、結晶性の酸化チタン(IV)、例えば、アナターゼ構造のTiO2の密度は、3.84g/cm3、ルチル構造のTiO2の密度は、4.26g/cm3である。その点を考慮すると、膜厚1nmの金属Ti膜から形成された、膜厚2.0nmの酸化チタン膜は、アナターゼ型の酸化チタン(IV)の膜であると、推断される。
なお、使用するRFプラズマCVD装置の装置構成、また、堆積条件によっては、酸素プラズマによる酸化力が、上記の堆積条件における酸化力を超える場合もある。その際には、「酸化犠牲層」として機能する、金属Ti膜の膜厚を厚くすることで、「第1配線」の金属(銅)5の表面の酸化を回避することができる。
逆に、酸素プラズマの発生が抑制される堆積条件、例えば、RF電力を下げたり、原料流量を増加させると、原料有機モノマーの分解に伴う、酸素プラズマの発生が抑制される。その場合、「酸化犠牲層」として機能する、金属Ti膜の膜厚を薄くしても、「第1配線」の金属(銅)5の表面の酸化を抑えることもできる。
更には、酸素プラズマの発生が十分に抑制される堆積条件を選択できる場合、金属Ti膜の堆積を省いても、「多孔質高分子膜」の堆積工程中、「第1配線」の金属(銅)5の表面の酸化が実質的に進行しない。すなわち、「第1配線」の金属(銅)5の表面の酸化が実質的に進行しない間に、「多孔質高分子膜」の薄膜によって、金属(銅)5の表面が被覆されると、酸素プラズマは最早金属(銅)5の表面に作用することができなくなる。結果的に、金属Ti膜の堆積を省いても、「多孔質高分子膜」の堆積工程中、「第1配線」の金属(銅)5の表面の酸化が実質的に進行しない。
「多孔質高分子膜」の堆積工程を終え、酸化チタン膜9と固体電解質膜9の形成を行った後、固体電解質膜9の上に、第1上部電極10および第2上部電極11を、この順に形成する。固体電解質膜9の上面に接する、第1上部電極10は、抵抗変化素子の「第2電極」として機能する。例えば、第1上部電極10の作製には、膜厚10nmのRu膜を使用する。第2上部電極11は、第1上部電極10の上面を被覆し、後述するビアホールの形成工程における、上面保護膜12の形成に用いるSiN膜にホール形成するエッチング工程において、「エッチング・ストップ層」として機能する。そのため、例えば、第2上部電極11の作製には、膜厚25nmのTa膜を使用する。
固体電解質膜9として使用する、シリコン、酸素、炭素を主成分としたポーラスポリマーからなる「多孔質高分子膜」は、減圧下、高温に保持すると、含有されている酸素の脱離が誘起される場合がある。脱離した酸素が、第1上部電極10の形成に使用されるRuと反応すると、第1上部電極10と固体電解質膜9の界面に、「RuO2」の界面被膜層が形成される。
銅フィラメント析出型の抵抗変化素子の「第2電極」として機能する、第1上部電極10と、「イオン伝導層」として機能する、固体電解質膜9の界面に、「RuO2」の界面被膜層が形成されと、「銅原子の析出」を阻害する。従って、シリコン、酸素、炭素を主成分としたポーラスポリマーからなる「多孔質高分子膜」中に含有されている、酸素の脱離が誘起されない、堆積条件を選択して、膜厚10nmのRu膜の堆積を行う。例えば、DCスパッタリング法を適用し、Ruをターゲットとして、DCパワー0.2kW、Arガス、圧力0.27[Pa]の条件を選択し、室温で、Ru膜の堆積を行う。第2上部電極11の作製に使用するTa膜の堆積も、例えば、DCスパッタリング法を適用し、Taをターゲットとして、DCパワー0.2kW、Arガス、圧力0.27[Pa]の条件を選択し、室温で行う。
膜厚2.0nmの酸化チタン膜8、膜厚5nmの固体電解質膜9、膜厚10nmの第1上部電極10、膜厚25nmの第2上部電極11の形成工程では、何れも、等方的な堆積法を採用している。従って、図12Bに示すように、膜厚30nmの絶縁性バリア膜7に形成した開口部の底面、該開口部の「テーパ形状」側壁面、ならびに、絶縁性バリア膜7の上面を覆うように、合計膜厚42nmの積層構造が均一に形成されている。
(ステップB3)
ステップB3は、図12Cに示す、抵抗変化素子の作製に際し、「第2電極」として機能する第一の電極を構成する、第1上部電極10、第2上部電極11のうち、第2上部電極11の上面に設ける、上面保護膜12の形成に利用される、SiN膜の堆積工程と、酸化チタン膜8、固体電解質膜9、第1上部電極10、第2上部電極11、上面保護膜12のパターニング工程において、ハードマスクとして利用する、SiO2膜(ハードマスク膜)13の堆積工程からなる。
第2上部電極11の作製に利用される、Ta膜の上面に、上面保護膜12の形成に利用される、膜厚30nmのSiN膜を堆積する。その後、パターニング工程において、ハードマスクとして利用する、膜厚200nmのSiO2膜(ハードマスク膜)13を堆積する。
上面保護膜12の形成に利用される、膜厚30nmのSiN膜は、SiH4とN2を原料ガスとし、プラズマCVD法を用いて、堆積することができる。その際、プラズマCVD法における成膜温度は、200℃〜400℃の範囲を選択することが可能であるが、200℃に選択し、高密度プラズマを用いて、該SiN膜の形成を行っている。この堆積条件を選択する結果、等方的な堆積がなされ、開口部の底面、該開口部の「テーパ形状」側壁面、ならびに、絶縁性バリア膜7の上方に堆積される、SiN膜の膜厚は、実質的に等しくなっている。
ハードマスク膜として利用する、膜厚200nmのSiO2膜(ハードマスク膜)13も、プラズマCVD法を用いて堆積する。成長温度は200℃に選択しているが、堆積する膜厚は、200nmと、開口部の底面領域と絶縁性バリア膜7の上方領域の段差30nmよりも格段に厚いため、図12Cに示すように、該段差の埋め込みが進み、開口部の底面領域の膜厚は、絶縁性バリア膜7の上方領域の膜厚より厚くなっている。
(ステップB4)
ステップB4は、SiO2膜(ハードマスク膜)13からなるハードマスクを利用して、上面保護膜12、第2上部電極11、第1上部電極10、固体電解質膜9、酸化チタン膜8を、順次選択エッチングし、パターニングを行う工程と、その後、ハードマスクとして利用する、SiO2膜(ハードマスク膜)13を選択的にエッチング除去する工程からなる。最終的に、上面保護膜12、第2上部電極11、第1上部電極10、固体電解質膜9、酸化チタン膜8のパターニングを完了すると、図12Dに示す積層構造が、抵抗変化素子の作製を行う、開口部領域に形成される。
SiO2膜(ハードマスク膜)13からなるハードマスク上に、抵抗変化素子部のパターニング形状に合わせた、フォトレジスト・マスク(不図示)を形成する。該フォトレジスト・マスクを利用して、上面保護膜12の形成に利用されるSiN膜の表面が現れるまで、SiO2膜(ハードマスク膜)13をドライエッチングする。その後、酸素プラズマアッシングと有機剥離の処理を行い、フォトレジスト・マスクを除去する。抵抗変化素子部のパターニング形状に合わせてパターニングされた、SiO2膜(ハードマスク膜)13は、以降のパターニング工程において、ハードマスクとして利用する。
SiO2膜(ハードマスク膜)13のドライエッチング工程では、サイド・エッチングが進行しないドライエッチング法、すなわち、異方性ドライエッチング法を採用する。例えば、SiO2膜(ハードマスク膜)13のドライエッチング工程には、一般的な平行平板型のドライエッチング装置を使用することができる。その際、SiO2膜(ハードマスク膜)13のドライエッチング条件には、上面保護膜12の形成に利用されるSiN膜に対して、選択性を有する条件が選択される。例えば、SiO2膜(ハードマスク膜)13のドライエッチングは、CF4のガス流量=140sccm、圧力6.6[Pa]、ソースパワー1200W、基板バイアスパワー700Wの条件で実施する。膜厚200nmのSiO2膜(ハードマスク膜)13のドライエッチングの終了時点は、膜厚30nmのSiN膜の上面でエッチングが停止していることが好ましい。なお、SiO2膜(ハードマスク膜)13の残留を回避するため、膜厚30nmのSiN膜の一部もエッチングされるエッチング時間を選択することもできる。
フォトレジスト・マスクを除去する際、酸素プラズマアッシング法を使用するが、SiN膜12によって、上面が被覆される、第2上部電極11、第1上部電極10、イオン伝導層9は、酸素プラズマに曝されることはない。
フォトレジスト・マスクの除去後、パターニングされたSiO2膜(ハードマスク膜)13を、ハードマスクとして利用して、上面保護膜12、第2上部電極11、第1上部電極10、固体電解質膜9、酸化チタン膜8を、順次選択エッチングし、パターニングを行う。
上面保護膜12の形成に使用する、膜厚30nmのSiN膜のドライエッチング工程でも、サイド・エッチングが進行しないドライエッチング法、すなわち、異方性ドライエッチング法を採用する。また、第2上部電極11の形成に使用する、膜厚25nmの金属Ta膜に対して、選択性を有するエッチング条件を選択する。例えば、平行平板型のドライエッチング装置を使用し、SiN膜12のドライエッチングは、CF4/Arのガス流量=25/50sccm、圧力0.53[Pa]、ソースパワー400W、基板バイアスパワー90Wの条件で行うことができる。
第2上部電極11の形成に使用する、膜厚25nmの金属Ta膜のドライエッチング工程でも、サイド・エッチングが進行しないドライエッチング法、すなわち、異方性ドライエッチング法を採用する。また、第1上部電極10の形成に使用する、膜厚10nmの金属Ru膜に対して、選択性を有するエッチング条件を選択する。例えば、平行平板型のドライエッチング装置を使用し、膜厚25nmの金属Ta膜のドライエッチングは、Cl2ガス流量=50sccmにて圧力0.53[Pa]、ソースパワー400W、基板バイアスパワー60Wの条件で行うことができる。
第1上部電極10の形成に使用する、膜厚10nmの金属Ru膜のドライエッチング工程でも、サイド・エッチングが進行しないドライエッチング法、すなわち、異方性ドライエッチング法を採用する。また、固体電解質膜9の形成に使用する、膜厚5nmの「多孔質高分子膜」に対して、選択性を有するエッチング条件を選択する。例えば、平行平板型のドライエッチング装置を使用し、膜厚10nmの金属Ru膜のドライエッチングは、Cl2/O2のガス流量=5/40sccmにて圧力0.53[Pa]、ソースパワー900W、基板バイアスパワー100Wの条件で行うことができる。
固体電解質膜9の形成に使用する、膜厚5nmの「多孔質高分子膜」のドライエッチング工程、ならびに、膜厚2.0nmの酸化チタン膜8のドライエッチング工程でも、サイド・エッチングが進行しないドライエッチング法、すなわち、異方性ドライエッチング法を採用する。また、下層の絶縁性バリア膜7の形成に利用している、膜厚30nmのSiCN膜に対して、選択性を有するエッチング条件を選択する。例えば、平行平板型のドライエッチング装置を使用し、膜厚5nmの「多孔質高分子膜」のドライエッチングは、Cl2/CF4/Arのガス流量=45/15/15sccm、圧力1.3[Pa]、ソースパワー800W、基板バイアスパワー60Wの条件で行うことができる。膜厚2.0nmの酸化チタン膜8のドライエッチングは、Cl2/O2のガス流量=20/160sccm、圧力0.5[Pa]、ソースパワー600W、基板バイアスパワー160Wの条件で行うことができる。すなわち、塩素ガス(Cl2)を意図的に用いることで、下層の絶縁性バリア膜7の形成に利用している、膜厚30nmのSiCN膜に対する選択性を高くすることで、サブトレンチなどの発生を抑制している。「イオン伝導層」を構成する、固体電解質膜9と酸化チタン膜8のパターニングを終了した時点で、抵抗変化素子形成領域を除く、絶縁性バリア膜7の上面には、膜厚5nmの「多孔質高分子膜」と膜厚2.0nmの酸化チタン膜8は残留していない。
上記の一連のパターニング工程が終了した後、ハードマスクとして使用した、パターニングされたSiO2膜(ハードマスク膜)13を選択的にエッチング除去する。パターニングされたSiO2膜(ハードマスク膜)13の膜厚は、抵抗変化素子形成領域、特に、開口部の中央領域の膜厚は、その周囲の領域の膜厚より若干厚くなっている。SiO2膜(ハードマスク膜)13の選択的エッチングは、露呈している絶縁性バリア膜7の形成に利用している、SiCN膜に対して、高い選択性を有する条件で実施される。
その際、絶縁性バリア膜7の上面が露呈している領域において、絶縁性バリア膜7の形成に利用している、SiCN膜は、若干のエッチングを受けていてもよいが、露呈しているSiCN膜の膜厚は、20〜30nmの範囲となるように、SiO2膜(ハードマスク膜)13の選択的エッチングの条件を選択する。
パターニングされたSiO2膜(ハードマスク膜)13の膜厚は、抵抗変化素子形成領域、特に、開口部の中央領域の膜厚は、その周囲の領域の膜厚より若干厚くなっている。そのため、開口部の中央領域のSiO2膜(ハードマスク膜)13をエッチング除去する間、その周囲の領域では、上面保護膜12の形成に使用する、SiN膜の表面が一定時間露呈した状態になる。その際、一定時間露呈されているSiN膜は、若干のエッチングを受けていてもよいが、エッチングを受けたSiN膜の膜厚は、少なくとも、20〜30nmの範囲となるように、SiO2膜(ハードマスク膜)13の選択的エッチングの条件を選択する。
SiCN膜、SiN膜に対する選択性を高く保持するため、例えば、SiO2膜(ハードマスク膜)13の選択的エッチングは、CF4のガス流量=140sccm、圧力6.6[Pa]、ソースパワー1200W、基板バイアスパワー700Wの条件で行うことができる。
ハードマスクとして使用した、SiO2膜(ハードマスク膜)13の選択的エッチングが完了すると、図12Dに示す、パターニングされた上面保護膜12、第2上部電極11、第1上部電極10、固体電解質膜9、酸化チタン膜8からなる積層構造が、抵抗変化素子の作製を行う、開口部領域に形成される。該積層構造の側壁面と、その下層の絶縁性バリア膜7の上面とのなす角は、略90°となっている。
(ステップB5)
ステップB5は、図12Eに示すように、パターニングされた上面保護膜12、第2上部電極11、第1上部電極10、固体電解質膜9、酸化チタン膜8からなる積層構造の上面と側壁面、ならびに、その周囲に露呈している絶縁性バリア膜7の上面を被覆する、保護絶縁膜14を堆積する工程である。保護絶縁膜14として、例えば、膜厚30nmのSiN膜が利用される。
保護絶縁膜14は、積層構造の上面と側壁面、ならびに、その周囲に露呈している絶縁性バリア膜7の上面を均一な膜厚で被覆するように、等方的な堆積法を使用して、堆積される。例えば、保護絶縁膜14として利用される、膜厚30nmのSiN膜は、プラズマCVD法を用い、SiH4とN2を原料ガスとし、基板温度200℃にて、高密度プラズマを用いて形成することができる。NH3やH2などの還元系のガスを用いないため、成膜直前の成膜ガス安定化工程において、固体電解質膜9として利用する、シリコン、酸素、炭素を主成分としたポーラスポリマーからなる「多孔質高分子膜」中に含有される、酸素(O)にHが作用し、H2Oに変換される反応の発生を回避できる。
保護絶縁膜14として利用される、SiN膜は、絶縁性バリア膜7として利用されるSiCN膜、ならびに、上面保護膜12として利用されるSiN膜との密着性に優れている。具体的には、絶縁性バリア膜7として利用されるSiCN膜の表面に堆積される、SiN膜との界面では、Si−N結合が形成され、両者の一体化がなさえる。また、上面保護膜12として利用されるSiN膜の上面と端面に堆積される、SiN膜との界面でも、Si−N結合が形成され、両者の一体化がなされる。
従って、積層構造の側壁面を被覆している、保護絶縁膜14は、絶縁性バリア膜7として利用されるSiCN膜、ならびに、上面保護膜12として利用されるSiN膜と一体となって、積層構造の側壁面に対する、湿度の侵入、酸素の侵入、あるいは、酸素の離脱を効果的に防止する。従って、最終的に作製される、抵抗変化素子の歩留まりと信頼性を向上することができる。
(ステップB6)
ステップB6は、図12Fに示すように、積層構造の側壁面を被覆している、保護絶縁膜14を残し、上面保護膜12の上面、ならびに、該積層構造の周囲の絶縁性バリア膜7の上面を覆っている、SiN膜をエッチング除去する工程である。
その際、積層構造の側壁面を被覆しているSiN膜のエッチングは進行せず、上面保護膜12の上面、ならびに、該積層構造の周囲の絶縁性バリア膜7の上面を覆っている、SiN膜のみを選択的にエッチングするため、異方的なドライエッチング法を採用する。上面保護膜12の上面、ならびに、該積層構造の周囲の絶縁性バリア膜7の上面を覆っている、SiN膜の異方的なドライエッチングは、平行平板型のドライエッチング装置を用い、例えば、CF4/Arのガス流量=25/50sccm、圧力0.53[Pa]、ソースパワー400W、基板バイアスパワー90Wの条件で行うことができる。
前記の「異方的なドライエッチング」法に代えて、「異方的なエッチバック」法を採用して、上面保護膜12の上面、ならびに、該積層構造の周囲の絶縁性バリア膜7の上面を覆っている、SiN膜を選択的にエッチバックし、積層構造の側壁面を被覆しているSiN膜を残す手法を利用することも可能である。
例えば、プラズマCVD装置を利用して、成長リアクター中に、Arガスを導入し、基板バイアスをかけることで、エッチバックを行うことが可能である。その際、「異方的なエッチバック」が進行する条件を設定することが可能であれば、上面保護膜12の上面、ならびに、該積層構造の周囲の絶縁性バリア膜7の上面を覆っている、SiN膜を選択的にエッチバックし、積層構造の側壁面を被覆しているSiN膜を残すことが可能である。
後述するステップB7においては、図12Fに示すように、積層構造の側壁面を被覆しているSiN膜を除き、SiN膜を除去した後、プラズマCVD法を利用して、第2の層間絶縁膜の作製に利用するSiO2膜を堆積する。仮に、該SiO2膜の堆積に用いるプラズマCVD装置を利用して、成長リアクター中に、Arガスを導入し、基板バイアスをかけることで、「異方的なエッチバック」を行うことが可能であれば、SiO2膜の堆積に先立ち、「異方的なエッチバック」処理を施すことで、図12Fに示す形態とすることが可能である。その場合、ステップB6の「異方的なドライエッチング」工程に使用する、専用の「平行平板型のドライエッチング装置」の購入の必要がなく、抵抗変化素子の作製に要する製造設備の費用の低減に貢献する。また、抵抗変化素子を搭載した半導体装置の製品原価の低減に貢献する。
(ステップB7)
ステップB7は、図12Gに示すように、積層構造の上面保護膜12、積層構造の側壁面を被覆する保護絶縁膜14、ならびに、該積層構造の周囲の絶縁性バリア膜7の上面を覆い、平坦化処理を施された第二の層間絶縁膜15を形成する工程である。絶縁性バリア膜7は、第一の層間絶縁膜としても利用されており、第二の層間絶縁膜15は、第一の層間絶縁膜(絶縁性バリア膜7)と直接接する形態とされている。
第5の実施態様の抵抗変化素子では、積層構造の上面保護膜12、積層構造の側壁面を被覆する保護絶縁膜14は、SiN膜を利用して形成し、第一の層間絶縁膜(絶縁性バリア膜7)は、SiCN膜を利用して形成しており、一方、第二の層間絶縁膜15は、シリコン酸化(SiO2)膜を利用して形成している。
積層構造の上面保護膜12、積層構造の側壁面を被覆する保護絶縁膜14、ならびに、該積層構造の周囲の絶縁性バリア膜7の上面を被覆するように、等方的な堆積法であるプラズマCVD法を用いて、シリコン酸化膜を堆積する(図示せず)。絶縁性バリア膜7の上面に形成されている、積層構造の外縁部分は、絶縁性バリア膜7の上面に対して、(2.0nm+5nm+10nm+20nm+30nm)=67.0nmの段差Δh1を有している。開口部に形成されている、積層構造の中央部分は、絶縁性バリア膜7の上面を基準として、(2.0nm+5nm+10nm+20nm+30nm−30nm)=37.0nmの高さΔh2となっている。高さに差異を有する、積層構造の中央部分と積層構造の外縁部分、ならびに、その周囲の第一の層間絶縁膜(絶縁性バリア膜7)の上面に堆積する、シリコン酸化膜の膜厚は、前記段差Δh1の少なくとも5倍、例えば、約450nmに選択する。その際、前記段差は堆積する膜厚が増すととも、徐々に埋め込みが進むため、堆積されるシリコン酸化膜の上面に残される高さの相違(段差)は、低減されるが、平坦化は完了していない。
そのため、堆積されたシリコン酸化膜の表面に平坦化処理、例えば、CMP法を用いた研磨処理を施す。
プラズマCVD法を用いて、膜厚約450nmのシリコン酸化膜を堆積する際、例えば、ステップB3において、SiO2膜(ハードマスク膜)13の堆積に利用した条件を採用することができる。
堆積されたシリコン酸化膜の表面に平坦化処理、例えば、CMP法を用いた研磨処理では、膜厚約450nmのシリコン酸化膜に対して、研磨量を約300nmに設定し、研磨処理後のシリコン酸化膜の膜厚を、第一の層間絶縁膜(絶縁性バリア膜7)の上面部分において、150nmに調整することができる。
CMP法を用いた、シリコン酸化膜の研磨処理では、研磨剤として、一般的な、コロイダルシリカ、あるいはセリア系のスラリーを用いて、研磨することができる。
(ステップB8)
ステップB8は、図12Hに示すように、平坦化処理を施したシリコン酸化膜からなる第二の層間絶縁膜15の上面に、第三の層間絶縁膜16ならびに第四の層間絶縁膜17を形成する工程である。
第5の実施態様の抵抗変化素子では、第二の層間絶縁膜15には、膜厚150nmのシリコン酸化(SiO2)膜を採用しており、一方、第三の層間絶縁膜16には、例えば、膜厚150nmのSiOC膜を、第四の層間絶縁膜17には、膜厚100nmのSiO2膜を採用している。
第三の層間絶縁膜16の形成に使用されるSiOC膜、ならびに、第四の層間絶縁膜17の形成に使用されるSiO2膜は、いずれも、プラズマCVD法を用いて堆積することができる。
プラズマCVD法を用いて、SiOC膜を堆積する際、例えば、特開2004−221275号公報に開示する堆積条件を採用することができる。プラズマCVD法を用いて、SiO2膜を堆積する際、例えば、ステップB3において、SiO2膜(ハードマスク膜)13の堆積に利用した条件を採用することができる。

(ステップB9)
ステップB9は、図12Iに示すように、第二の層間絶縁膜15上に積層される、第三の層間絶縁膜16と第四の層間絶縁膜17中に形成される、上層の配線層に相当する「第2配線」18a、「第2配線」18b、ならびに、第二の層間絶縁膜15中に形成される、「第2配線」18aと一体化された「プラグ」19a、「第2配線」18bと一体化された「プラグ」19bの作製と、「第2配線」18a、「第2配線」18b、ならびに、第四の層間絶縁膜17の上面を被覆する、第2の絶縁性バリア膜(第五の層間絶縁膜)と、該第2の絶縁性バリア膜(第五の層間絶縁膜)上に積層される、第六の層間絶縁膜の形成を行う工程である。
「第2配線」18aと一体化された「プラグ」19aは、上面保護膜12に設ける開口を介して、第2上部電極11の上面と接し、「第2配線」18aと、抵抗変化素子の「第2電極」として機能する第一の電極との間を電気的に連結している。
「第2配線」18bと一体化された「プラグ」19bは、第一の層間絶縁膜(絶縁性バリア膜7)に設ける開口を介して、下層の配線層に相当する「第1配線」の金属(銅配線)5bの表面に接し、「第2配線」18bと「第1配線」との間を電気的に連結している。
「第2配線」18aと一体化された「プラグ」19a、「第2配線」18bと一体化された「プラグ」19bの作製には、デュアルダマシン法のビアファースト法を適用している。
まず、上面保護膜12の中央部の直上に相当する位置に、「プラグ」19aの形成に使用するビアホールの底面の穴形状に相当する開口部を有し、また、下層の配線層に相当する「第1配線」の金属(銅配線)5bの中央部の直上に相当する位置に、「プラグ」19bの形成に使用するビアホールの底面の穴形状に相当する開口部を有する、レジスト・マスクを、第四の層間絶縁膜17の上面に形成する。該レジスト・マスクを使用して、第四の層間絶縁膜17、第三の層間絶縁膜16、第二の層間絶縁膜15を順次ドライ・エッチング法により、異方性エッチングし、第四の層間絶縁膜17、第三の層間絶縁膜16、第二の層間絶縁膜15を貫通し、上面保護膜12の上面に達するビアホール、ならびに、「第1配線」の金属(銅配線)5bの表面を被覆する第一の層間絶縁膜(絶縁性バリア膜7)の上面に達するビアホールを、それぞれ形成する。
ビアホールの形成に使用した、レジスト・マスクを除去した後、「第2配線」18aを形成する配線溝のパターンに相当する開口部を有し、また、「第2配線」18bを形成する配線溝のパターンに相当する開口部を有する、レジスト・マスクを、第四の層間絶縁膜17の上面に形成する。該レジスト・マスクを使用して、第四の層間絶縁膜17と、第三の層間絶縁膜16を、段階的にドライ・エッチング法により、異方性エッチングを施す。「段階的ドライ・エッチング」においては、第三の層間絶縁膜16を形成しているSiOC膜のエッチング条件には、SiO2膜に対して、選択性を有する条件を選択する。その結果、SiO2膜からなる第二の層間絶縁膜15は、第三の層間絶縁膜16を形成しているSiOC膜のエッチング工程において、エッチング・ストッパー層として機能する。また、第三の層間絶縁膜16を形成しているSiOC膜のエッチング工程において、SiO2膜からなる第四の層間絶縁膜17の側壁面に対するサイド・エッチングの進行が抑制されている。結果として、第四の層間絶縁膜17と、第三の層間絶縁膜16の「段階的ドライ・エッチング」により、「第2配線」18aを形成する配線溝、「第2配線」18bを形成する配線溝が形成される。
該配線溝の形成に使用した、レジスト・マスクを除去する。その後、SiOC膜、SiO2膜に対して選択性を有する条件を選択し、ビアホールの底に露呈している、SiN膜からなる上面保護膜12、ならびに、SiCN膜からなる第一の層間絶縁膜(絶縁性バリア膜7)をドライ・エッチングし、ビアホールの底に、第2上部電極11の上面、ならびに、「第1配線」の金属(銅配線)5bの表面を露呈させる。
形成された配線溝と一体化されているビアホールに、バリアメタルを介して、金属を埋め込んで、「第2配線」18aと一体化された「プラグ」19a、「第2配線」18bと一体化された「プラグ」19bを形成する。上層の配線層に相当する、「第2配線」18aと一体化された「プラグ」19a、「第2配線」18bと一体化された「プラグ」19bの形成に使用する金属材料には、銅を主成分とする金属材料、例えば、銅を使用する。バリアメタルは、銅の拡散を防止する。従って、例えば、TaN(膜厚5nm)/Ta(膜厚5nm)の積層構造を、バリアメタルとして使用する。
TaN(膜厚5nm)/Ta(膜厚5nm)の積層構造からなるバリアメタルを、配線溝と一体化されているビアホールの側壁部と底部に均一な膜厚で被覆する。そのため、等方的な堆積法、例えば、RFスパッタ法を利用して、該積層構造からなる堆積膜を、第四の層間絶縁膜17の上面と、配線溝と一体化されているビアホールの側壁部と底部に形成する。金属に使用する銅は、バリアメタルを下地層として使用し、例えば、メッキ法を利用して、配線溝と一体化されているビアホールの内部を埋め込むように形成する。その後、例えば、CMP(Chemical-Mechanical Polishing)法を利用し、第四の層間絶縁膜17の上面に形成されている、銅とTaN(膜厚5nm)/Ta(膜厚5nm)の積層構造を除去し、配線溝に形成される「第2配線」の上面の平坦化を行う。
続いて、「第2配線」の上面、ならびに、第四の層間絶縁膜17の上面を被覆する、第2の絶縁性バリア膜(第五の層間絶縁膜)を形成する。第2の絶縁性バリア膜(第五の層間絶縁膜)は、「第2配線」の金属に使用する銅の拡散を防止する。そのため、「第2の絶縁性バリア膜(第五の層間絶縁膜)の形成に使用する絶縁材料」として、例えば、膜厚30nmのSiCN膜、SiN膜を選択する。
第2の絶縁性バリア膜(第五の層間絶縁膜)上に積層する、「第六の層間絶縁膜の形成に使用する絶縁材料」として、例えば、SiO2膜、SiOC膜を選択する。
第2の絶縁性バリア膜(第五の層間絶縁膜)の形成に使用されるSiCN膜またはSiN膜、ならびに、第六の層間絶縁膜の形成に使用されるSiO2膜またはSiOC膜は、いずれも、プラズマCVD法を用いて堆積することができる。
なお、製造後の状態から、本発明にかかる抵抗変化素子で採用する保護絶縁膜の形成方法を確認することができる。具体的には、抵抗変化素子を採用している製品のデバイスの断面をTEM観察し、多層配線層内に抵抗変化素子が形成されていることを確認する。さらに、抵抗変化素子を構成する抵抗変化膜、もしくは電極の側面に保護絶縁膜が形成されていることを、断面TEM観察により確認する。さらに、その保護絶縁膜が水平方向に延在していないことを確認し、層間絶縁膜として用いられていないことを確認する。さらにTEMに加えて、EDX(Energy Dispersive X−ray Spectroscopy;エネルギー分散型X線分光法)、EELS(Electron Energy−Loss Spectroscopy;電子エネルギー損失分光法)などの組成分析を行うことで、保護絶縁膜として使用されている絶縁材料の確認をすることができる。
具体的には、銅配線上に形成された抵抗変化素子が、固体電解質からなる抵抗変化膜を用いたスイッチング素子である場合には、「イオン伝導層」として機能する固体電解質膜が、酸素、あるいは炭素を含む膜であるかを特定することができる。抵抗変化素子を構成する抵抗変化膜が、相変化膜である場合、あるいは、磁性体材料を利用した抵抗変化素子である場合には、本明細書中に記載の材料が用いられているかを素子断面の組成分析を行うことで判断する。加えて、保護絶縁膜が抵抗変化素子を構成する積層構造の側面に形成されていることを確認し、SiN膜であるかを同定する場合には、上記組成分析を面分析で行うことが好ましい。さらに、第一の層間絶縁膜と、第一の層間絶縁膜の上部に位置する第二の層間絶縁膜とを有し、それらが直接接していることを断面構造から同定することができる。
なお、上記の好ましい実施形態、実施態様では、抵抗変化膜に固体電解質層を採用する「銅フィラメント析出型抵抗変化素子」を利用するReRAMや、金属酸化物からなる抵抗変化膜を採用する、酸素欠損型ReRAMを構成する場合について、本発明を詳細に説明している。前記の構成に代えて、抵抗変化膜として、固体電解質や金属酸化物以外の膜を採用する抵抗変化素子、例えば、磁性体を利用する抵抗変化素子を利用する、MRAMまたはスピン素子、あるいは、相変化型抵抗変化層(GST)を採用するPRAMなどを構成する形態に、本発明を応用してもよい。
好適な実施形態、ならびに、実施態様を例示して、本発明にかかる抵抗変化素子、ならびに、抵抗変化素子の製造方法を説明したが、これら実施形態、ならびに、実施態様は、本発明の技術的原理を具体的に説明する目的で選択された一例であって、本発明の技術的範囲は、これら具体例に限定されることを意味するものではない。
例えば、本発明者によってなされた発明の背景となった利用分野であるCMOS回路を有する半導体装置に適用する技術に関して詳しく説明し、半導体基板上の銅配線上部に抵抗変化素子を形成する形態について説明した。本発明の技術思想は、「半導体基板上の銅配線上部に抵抗変化素子を形成する形態」に限定されるものではない。本発明の技術思想は、例えば、DRAM(Dynamic RAM)、SRAM(Static RAM)、フラッシュメモリ、FRAM(Ferro Electrc RAM)、MRAM(Magnetic RAM)、抵抗変化型メモリ、バイポーラトランジスタ等のようなメモリ回路を有する半導体製品、マイクロプロセサなどの論理回路を有する半導体製品、あるいはそれらを同時に掲載したボードやパッケージの銅配線上へも適用することができる。
また、本発明にかかる抵抗変化素子をその内部に形成している多層配線層を、半導体装置に対する、電子回路装置、光回路装置、量子回路装置、マイクロマシン、MEMS(Micro Electro Mechanical Systems)などの接合にも適用することができる。また、本発明にかかる抵抗変化素子に関して、そのスイッチ機能を使用する事例を中心に説明したが、本発明にかかる抵抗変化素子は、不揮発性と抵抗変化特性の双方を利用したメモリ素子などに用いることもできる。
以上、代表的な実施形態および実施態様を例示して、本願発明を説明したが、本願発明の技術的範囲は、上記代表的な実施形態および実施態様に限定されるものではない。本願発明の実施に際して、本願発明のスコープ(技術的範囲)内で、当業者が理解し得る様々な変更を加えることができる。

以上、実施形態(及び実施例)を参照して本願発明を説明したが、本願発明は上記実施形態(及び実施例)に限定されものではない。本願発明の構成や詳細には、本願発明のスコープ内で当業者が理解し得る様々な変更をすることができる。
この出願は、2012年 8月20日に出願された日本出願特願2012−181724を基礎とする優先権を主張し、その開示の全てをここに取り込む。
本発明に係る抵抗変化素子は、半導体装置の多層配線層中に設ける不揮発性スイッチング素子として利用できる。

Claims (10)

  1. 半導体基板上の配線層内に設けられる抵抗変化素子であって、
    前記配線層は、第一の層間絶縁膜と、第一の層間絶縁膜の上部に位置する第二の層間絶縁膜を有し、
    前記抵抗変化素子は、
    第一の層間絶縁膜上に形成されている抵抗変化膜と、
    該抵抗変化膜の上面に接して形成されている第一の電極を具えており、
    前記抵抗変化膜と第一の電極を具える、該抵抗変化素子の側面には、少なくとも、抵抗変化膜の側面を被覆する保護絶縁膜が形成されており、
    少なくとも、前記抵抗変化素子の側面に形成されている保護絶縁膜は、前記第二の層間絶縁膜で被覆され、
    前記第二の層間絶縁膜と第一の層間絶縁膜とが直接接している
    ことを特徴とする抵抗変化素子。
JP2014531520A2012-08-202013-04-26抵抗変化素子、および抵抗変化素子の製造方法PendingJPWO2014030393A1 (ja)

Applications Claiming Priority (3)

Application NumberPriority DateFiling DateTitle
JP20121817242012-08-20
JP20121817242012-08-20
PCT/JP2013/062399WO2014030393A1 (ja)2012-08-202013-04-26抵抗変化素子、および抵抗変化素子の製造方法

Publications (1)

Publication NumberPublication Date
JPWO2014030393A1true JPWO2014030393A1 (ja)2016-07-28

Family

ID=50149712

Family Applications (1)

Application NumberTitlePriority DateFiling Date
JP2014531520APendingJPWO2014030393A1 (ja)2012-08-202013-04-26抵抗変化素子、および抵抗変化素子の製造方法

Country Status (3)

CountryLink
US (1)US20150221865A1 (ja)
JP (1)JPWO2014030393A1 (ja)
WO (1)WO2014030393A1 (ja)

Cited By (1)

* Cited by examiner, † Cited by third party
Publication numberPriority datePublication dateAssigneeTitle
US10686122B2 (en)2017-11-012020-06-16Samsung Electronics Co., Ltd.Variable resistance memory device

Families Citing this family (18)

* Cited by examiner, † Cited by third party
Publication numberPriority datePublication dateAssigneeTitle
KR20150037047A (ko)*2013-09-302015-04-08에스케이하이닉스 주식회사전자 장치 및 그 제조 방법
US9905758B2 (en)2014-05-292018-02-27Nec CorporationSemiconductor device and method for manufacturing same
CN106298832A (zh)*2015-06-112017-01-04复旦大学一种非易失性存储元件及制造方法
US9601693B1 (en)*2015-09-242017-03-21Lam Research CorporationMethod for encapsulating a chalcogenide material
WO2017126544A1 (ja)*2016-01-202017-07-27日本電気株式会社再構成可能回路、再構成可能回路システム、および再構成可能回路の動作方法
JP6653905B2 (ja)*2016-01-222020-02-26日本製鉄株式会社微小スイッチおよびそれを用いる電子デバイス
FR3047842B1 (fr)*2016-02-122018-05-18Commissariat A L'energie Atomique Et Aux Energies AlternativesComposant electronique a resistance metallique suspendue dans une cavite fermee
CN112005343B (zh)2018-03-022025-05-06朗姆研究公司使用水解的选择性沉积
WO2019176833A1 (ja)*2018-03-132019-09-19日本電気株式会社半導体装置およびその製造方法
US11239420B2 (en)2018-08-242022-02-01Lam Research CorporationConformal damage-free encapsulation of chalcogenide materials
US11563167B2 (en)*2018-09-262023-01-24Taiwan Semiconductor Manufacturing Co., Ltd.Structure and method for an MRAM device with a multi-layer top electrode
US10734447B2 (en)*2018-10-222020-08-04International Business Machines CorporationField-effect transistor unit cells for neural networks with differential weights
KR102837863B1 (ko)2019-06-042025-07-23램 리써치 코포레이션패터닝시 반응성 이온 에칭을 위한 중합 보호 라이너
CN114207184A (zh)2019-08-062022-03-18朗姆研究公司含硅膜的热原子层沉积
KR102294284B1 (ko)*2019-08-162021-08-26연세대학교 산학협력단멀티 입력 기반의 저항 변화 메모리 소자
US11437570B2 (en)2019-08-162022-09-06Yonsei University, University—Industry Foundation (UIF)Resistive switching memory device based on multi-inputs
WO2021206908A1 (en)*2020-04-072021-10-14Tokyo Electron LimitedIn-situ encapsulation of metal-insulator-metal (mim) stacks for resistive random access memory (reram) cells
CN115735261A (zh)2020-07-282023-03-03朗姆研究公司含硅膜中的杂质减量

Citations (4)

* Cited by examiner, † Cited by third party
Publication numberPriority datePublication dateAssigneeTitle
WO2008001712A1 (fr)*2006-06-262008-01-03Nec CorporationÉlément de commutation, dispositif à semi-conducteurs, circuit intégré logique réinscriptible et élément de mémoire
JP2009021524A (ja)*2007-07-132009-01-29Panasonic Corp抵抗変化素子とその製造方法ならびに抵抗変化型メモリ
WO2011115188A1 (ja)*2010-03-192011-09-22日本電気株式会社抵抗変化素子とそれを含む半導体装置及びこれらの製造方法
WO2012105139A1 (ja)*2011-02-022012-08-09日本電気株式会社スイッチング素子、半導体装置およびそれぞれの製造方法

Family Cites Families (4)

* Cited by examiner, † Cited by third party
Publication numberPriority datePublication dateAssigneeTitle
JP2007042804A (ja)*2005-08-022007-02-15Renesas Technology Corp半導体装置およびその製造方法
US8373149B2 (en)*2008-04-072013-02-12Nec CorporationResistance change element and manufacturing method thereof
US20100109085A1 (en)*2008-11-052010-05-06Seagate Technology LlcMemory device design
JP5454478B2 (ja)*2009-01-092014-03-26日本電気株式会社スイッチング素子及びその製造方法

Patent Citations (4)

* Cited by examiner, † Cited by third party
Publication numberPriority datePublication dateAssigneeTitle
WO2008001712A1 (fr)*2006-06-262008-01-03Nec CorporationÉlément de commutation, dispositif à semi-conducteurs, circuit intégré logique réinscriptible et élément de mémoire
JP2009021524A (ja)*2007-07-132009-01-29Panasonic Corp抵抗変化素子とその製造方法ならびに抵抗変化型メモリ
WO2011115188A1 (ja)*2010-03-192011-09-22日本電気株式会社抵抗変化素子とそれを含む半導体装置及びこれらの製造方法
WO2012105139A1 (ja)*2011-02-022012-08-09日本電気株式会社スイッチング素子、半導体装置およびそれぞれの製造方法

Cited By (1)

* Cited by examiner, † Cited by third party
Publication numberPriority datePublication dateAssigneeTitle
US10686122B2 (en)2017-11-012020-06-16Samsung Electronics Co., Ltd.Variable resistance memory device

Also Published As

Publication numberPublication date
US20150221865A1 (en)2015-08-06
WO2014030393A1 (ja)2014-02-27

Similar Documents

PublicationPublication DateTitle
WO2014030393A1 (ja)抵抗変化素子、および抵抗変化素子の製造方法
JP5794231B2 (ja)半導体装置、および半導体装置の製造方法
CN106252505B (zh)Rram器件和方法
JP5975121B2 (ja)抵抗変化素子、半導体装置、および抵抗変化素子の形成方法
JP6344243B2 (ja)スイッチング素子、および半導体スイッチング装置の製造方法
US8003511B2 (en)Memory cell formation using ion implant isolated conductive metal oxide
US20150364681A1 (en)Nonvolatile storage device and method of producing the device
JP5039857B2 (ja)記憶装置およびその製造方法
US20140166961A1 (en)Resistive random access memory (rram) and method of making
US9444044B2 (en)Resistive nonvolatile storage device, manufacturing method for same, and resistive nonvolatile storage apparatus
JP6901686B2 (ja)スイッチング素子、半導体装置及びその製造方法
TW201904022A (zh)半導體裝置
KR20090026580A (ko)저항 메모리 소자 및 그 형성방법
JP5527321B2 (ja)抵抗変化素子及びその製造方法
JP6102121B2 (ja)抵抗変化素子、および抵抗変化素子の形成方法
JPWO2016203751A1 (ja)整流素子、スイッチング素子および整流素子の製造方法
JP2013062327A (ja)不揮発性記憶素子及び不揮発性記憶装置並びにそれらの製造方法
US20200091241A1 (en)Memory device and method of manufacturing memory device
JP6662289B2 (ja)半導体装置およびその製造方法
JP2015146343A (ja)不揮発性記憶装置およびその製造方法

Legal Events

DateCodeTitleDescription
A131Notification of reasons for refusal

Free format text:JAPANESE INTERMEDIATE CODE: A131

Effective date:20161004

A521Request for written amendment filed

Free format text:JAPANESE INTERMEDIATE CODE: A523

Effective date:20161130

A02Decision of refusal

Free format text:JAPANESE INTERMEDIATE CODE: A02

Effective date:20170321


[8]ページ先頭

©2009-2025 Movatter.jp