







本発明は蚊駆除装置に関する。 The present invention relates to a mosquito control device.
蚊は、動物の血液を求めて飛来し、人間に対して吸血を行うことから、不快昆虫の一種とされている。また、この蚊の吸血行為により、家畜等の動物と人間との間又は人間同士の間で、伝染病を発病させる病原体が運搬され、例えば、デング熱、マラリア、西ナイル熱等の伝染病が広範囲に拡大する問題もある。これらのため、従来から、種々の蚊駆除装置が開発され、蚊の駆除が行われている。 Mosquitoes are regarded as a kind of unpleasant insects because they fly in search of animal blood and suck blood on humans. In addition, the mosquito's blood-sucking action transports pathogens that cause infectious diseases between animals such as livestock and humans, or between humans. There are also problems that expand. For these reasons, various mosquito control devices have been developed in the past, and mosquito control has been carried out.
また、近年では、蚊に関する研究も進められ、蚊は人体等から発せられる二酸化炭素に引き寄せられる等の蚊の生態が明らかとなってきた。そこで、このような蚊の生態に関する研究に基づき、蚊の駆除を行うことが可能な蚊駆除装置も開発されている。このような蚊駆除装置としては、例えば、特許文献1に示す蚊駆除装置を挙げることができる。この蚊駆除装置は、電撃グリッドと誘引室とを備えている。電撃グリッドは、正極に接続される正極導線部と、負極に接続される負極導線部とを有し、誘引室内に設けられている。また、誘引室には、二酸化炭素を放出するための放出口が形成されている。さらに、電撃グリッドの近傍には電気ヒータが設けられている。 In recent years, research on mosquitoes has been promoted, and the ecology of mosquitoes such as mosquitoes being attracted to carbon dioxide emitted from the human body has become clear. Therefore, based on such research on mosquito ecology, mosquito control devices capable of controlling mosquitoes have been developed. As such a mosquito control device, for example, a mosquito control device shown in
この蚊駆除装置では、正極導線部及び負極導線部に通電を行うことにより、電撃グリッドに接触又は近接した蚊を電撃することが可能となっている。この際、この蚊駆除装置では、電気ヒータによって加温された二酸化炭素を誘引室の周囲に放出することで、蚊を誘引室内に誘い込むことが可能になっている。これにより、この蚊駆除装置によれば、効率よく蚊を駆除することが可能である。 In this mosquito extermination device, it is possible to electrify mosquitoes that are in contact with or close to the blistering grid by energizing the positive electrode conductor and the negative electrode conductor. At this time, in this mosquito extinguishing apparatus, it is possible to invite mosquitoes into the attraction chamber by releasing carbon dioxide heated by the electric heater to the periphery of the attraction chamber. Thereby, according to this mosquito control device, it is possible to control mosquitoes efficiently.
しかし、より効率良く蚊を駆除可能な蚊駆除装置が求められている。 However, there is a need for a mosquito control device that can control mosquitoes more efficiently.
本発明は、上記従来の実情に鑑みてなされたものであって、より効率良く蚊を駆除可能な蚊駆除装置を提供することを解決すべき課題としている。 This invention is made | formed in view of the said conventional situation, Comprising: It is set as the problem which should be solved to provide the mosquito control apparatus which can control a mosquito more efficiently.
本発明の蚊駆除装置は、正極に接続される正極導線部と、負極に接続される負極導線部とを有する電撃グリッドを備え、
前記正極導線部及び前記負極導線部は、蚊よりも狭い幅で互いに平行に延び、通電が行われることによって生じるクーロン力によって近傍の該蚊を吸引しつつ該蚊を電撃可能であることを特徴とする(請求項1)。The mosquito control device of the present invention comprises a lightning grid having a positive electrode conductor connected to the positive electrode and a negative electrode conductor connected to the negative electrode,
The positive electrode conductor part and the negative electrode conductor part extend in parallel with each other with a narrower width than a mosquito, and are capable of electric shocking the mosquito while sucking the nearby mosquito by a Coulomb force generated by energization. (Claim 1).
発明者らは、効率良く蚊を駆除可能な蚊駆除装置を開発するにあたり、蚊の駆除を行う電撃グリッドに着目した。すなわち、発明者らの知見では、電撃グリッド近くの空気中を飛翔する蚊は、静電誘導又は誘電分極によって僅かながらでも正極又は負極に帯電する。このため、発明者らは、電撃グリッドに通電した際に正極導線部や負極導線部を含む電撃グリッド周辺に作用するクーロン力(静電気力)に着目し、本発明を完成させた。 The inventors paid attention to the electric shock grid for controlling mosquitoes in developing a mosquito control device that can efficiently control mosquitoes. That is, according to the knowledge of the inventors, a mosquito flying in the air near the electric shock grid is charged to the positive electrode or the negative electrode by a slight amount by electrostatic induction or dielectric polarization. For this reason, the inventors paid attention to the Coulomb force (electrostatic force) acting on the periphery of the electric shock grid including the positive electrode conductor portion and the negative electrode conductor portion when the electric shock grid is energized, and completed the present invention.
本発明の蚊駆除装置では、電撃グリッド周辺に作用するクーロン力により、電撃グリッドの近傍を飛翔する蚊を電撃グリッドに吸引させることが可能になっている。そして、電撃グリッドに吸引された蚊は、正極導線部及び負極導線部が蚊よりも狭い幅で互いに平行に延びていることから、正極導線部と負極導線部とに接触し、電撃される。 In the mosquito extermination device of the present invention, mosquitoes flying in the vicinity of the electric shock grid can be sucked into the electric shock grid by the Coulomb force acting around the electric shock grid. The mosquito sucked into the electric shock grid comes into contact with the positive electrode portion and the negative electrode portion because the positive electrode portion and the negative electrode portion extend in parallel with each other with a narrower width than the mosquito.
したがって、本発明の蚊駆除装置によれば、より効率良く蚊を電撃可能である。 Therefore, according to the mosquito control device of the present invention, mosquitoes can be blasted more efficiently.
発明者等の確認によれば、蚊は通常、地上から80cm程度までの高さで飛行していることが多い。このため、蚊駆除装置は、地上から80cm程度までの高さに設けることが好ましい。 According to the inventors' confirmation, mosquitoes usually fly at a height of about 80 cm from the ground. For this reason, it is preferable to provide the mosquito control device at a height of about 80 cm from the ground.
電撃グリッドの正極導線部や負極導線部は、例えば、黒鉛や各種の金属粉等を含有する導電材料によって得ることができる。また、所定の形状に形成された導線の他、エッチング加工によって所定の形状に形成された金属板等によって、正極導線部や負極導線部を得ることもできる。さらに、後述するように、基板に対して電撃グリッドを印刷によって形成することも可能である。 The positive electrode lead wire portion and the negative electrode lead wire portion of the electric shock grid can be obtained by a conductive material containing, for example, graphite or various metal powders. Further, in addition to the conductive wire formed in a predetermined shape, a positive electrode conductive wire portion and a negative electrode conductive wire portion can be obtained by a metal plate or the like formed in a predetermined shape by etching. Furthermore, as will be described later, it is possible to form an electric grid on the substrate by printing.
本発明の蚊駆除装置では、正極導線部及び負極導線部は蚊よりも狭い幅で互いに平行に延びている。具体的には、正極導線部及び負極導線部は5mm未満の幅で隔てられていることが好ましい。正極導線部及び負極導線部は種々の形状とすることができる。例えば、正極導線部と負極導線部とが互いに噛み合った櫛歯形状とすることができる他、正極導線部と負極導線部とによる二重の渦巻き形状等とすることもできる。 In the mosquito control device of the present invention, the positive electrode conductor and the negative electrode conductor extend in parallel with each other with a narrower width than the mosquito. Specifically, the positive electrode conductor part and the negative electrode conductor part are preferably separated by a width of less than 5 mm. The positive electrode conductor part and the negative electrode conductor part can have various shapes. For example, in addition to a comb-teeth shape in which the positive electrode conductor portion and the negative electrode conductor portion are engaged with each other, a double spiral shape of the positive electrode conductor portion and the negative electrode conductor portion can also be used.
上記のように、本発明の蚊駆除装置は、蚊の本能に依らず、電撃グリッドの周囲に作用するクーロン力によって電撃グリッドに蚊を吸引させつつ電撃する点において、上記従来の蚊駆除装置のように、放出した二酸化炭素によって、蚊を本能的に電撃グリッドの周囲に誘い込む蚊駆除装置と相違する。なお、本発明の蚊駆除装置においても、二酸化炭素を放出するための二酸化炭素発生手段や、35〜55°C程度の熱を発生可能な温熱発生手段等を別途備えても良い。この場合の蚊駆除装置では、二酸化炭素や温熱により、電撃グリッドの近傍まで蚊を誘い込みつつ、最終的にはクーロン力によってその蚊を電撃グリッドに吸引し、蚊を電撃することができる。 As described above, the mosquito extermination device of the present invention does not depend on the instinct of the mosquito, and the electric mosquito is attracted to the electric shock grid by the Coulomb force acting around the electric shock grid. Thus, it differs from the mosquito control device that instinctively attracts mosquitoes around the electric shock grid by the released carbon dioxide. Note that the mosquito control device of the present invention may also include a carbon dioxide generating means for releasing carbon dioxide, a heat generating means capable of generating heat of about 35 to 55 ° C, and the like. In this case, the mosquito extinguishing device can attract the mosquito to the vicinity of the electric shock grid by carbon dioxide or heat, and finally suck the mosquito into the electric shock grid by the Coulomb force, and can electric shock the mosquito.
本発明の蚊駆除装置は、基板と、基板の表面に形成された電撃グリッドとからなり、基板の少なくとも表面及び電撃グリッドが暗色を呈している電撃プレートを備え得る。そして、基板は正又は負に帯電していることが好ましい(請求項2)。 The mosquito control device of the present invention may include an electric shock plate including a substrate and an electric shock grid formed on the surface of the substrate, and at least the surface of the substrate and the electric shock grid are dark. The substrate is preferably positively or negatively charged (claim 2).
蚊は、自然界においても物陰等の暗部に集まる習性があることから、暗色を好む傾向がある。そこで、基板の表面や電撃グリッドを暗色とすることにより、蚊を本能的に電撃プレートに誘い込むことも可能となる。また、基板が帯電していることから、電撃グリッドの周囲のみで作用するクーロン力と比較して、電撃プレートに作用するクーロン力がより強くなる。このため、より広い範囲において、電撃プレートに蚊を吸引させることが可能となる。これらのため、このような電撃プレートを備えることで、蚊駆除装置は、より一層効率良く蚊を電撃することが可能となる。 Mosquitoes tend to prefer dark colors because they have the habit of gathering in dark areas such as shadows even in nature. Therefore, by making the surface of the substrate and the electric shock grid dark, it is possible to instinctively attract mosquitoes to the electric shock plate. Further, since the substrate is charged, the Coulomb force acting on the electric shock plate is stronger than the Coulomb force acting only around the electric shock grid. For this reason, it is possible to cause the electric shock plate to suck mosquitoes over a wider range. For these reasons, by providing such an electric shock plate, the mosquito extermination device can more efficiently electric shock mosquitoes.
基板は、電撃グリッドが蚊を電撃する際に浮遊電子と陽イオンとを放出すると考えられ、これら浮遊電子又は陽イオンによって帯電すると考えられる。この際、基板にアース接続を行わないことにより、基板には電荷が蓄積される。基板に蓄えられている電荷をQ(C)、電位をV(V)、基板の静電容量をC(F)とすると、Q=VCが成立する。基板の静電容量Cは一定と考えられるため、電荷Qは電圧Vに比例することとなる。このため、電撃グリッドに印加される電圧が高ければ、基板に蓄積される電荷が多くなり、より大きなクーロン力を生じると考えられる。 The substrate is considered to emit floating electrons and cations when the electric grid strikes the mosquito and is charged by these floating electrons or cations. At this time, electric charges are accumulated in the substrate by not performing ground connection to the substrate. If the charge stored in the substrate is Q (C), the potential is V (V), and the capacitance of the substrate is C (F), then Q = VC. Since the capacitance C of the substrate is considered to be constant, the charge Q is proportional to the voltage V. For this reason, it is considered that if the voltage applied to the electric grid is high, the electric charge accumulated on the substrate increases and a larger Coulomb force is generated.
摩擦によって基板に対して静電気を発生させる静電気発生手段等を設けることも可能である。このように基板を帯電させるためには、表1に示す帯電列において、帯電し易い材料で基板を得る一方、その基板とは逆に帯電し易い摩擦材を採用することが好ましい。 It is also possible to provide a static electricity generating means for generating static electricity on the substrate by friction. In order to charge the substrate in this manner, it is preferable to use a friction material that is easily charged in the opposite direction to the substrate while obtaining the substrate with a material that is easily charged in the charging train shown in Table 1.
暗色とは、黒色、濃青色、濃茶色、暗灰色等、明度を低下させた色を意味する。また、本発明の蚊駆除装置は、一枚の電撃プレートを備える構成としても良く、二枚以上の電撃プレートを備える構成としても良い。 The dark color means a color whose brightness is lowered, such as black, dark blue, dark brown, dark gray and the like. Moreover, the mosquito extermination device of the present invention may be configured to include one electric shock plate, or may be configured to include two or more electric shock plates.
基板は、平板形状であっても良く、湾曲形状であっても良い。また、基板は、矩形や円形等、種々の形状をなすことができる。さらに、基板の厚さについても適宜設計することができる。 The substrate may have a flat plate shape or a curved shape. The substrate can have various shapes such as a rectangle and a circle. Furthermore, the thickness of the substrate can be designed as appropriate.
発明者らの確認によれば、基板の表面には光沢がある方が光沢がない場合よりも多くの蚊を引き寄せることができる。このため、基板の表面は光沢を有している方がより好ましい。 According to the inventors' confirmation, more mosquitoes can be attracted when the surface of the substrate is glossy than when it is not glossy. For this reason, it is more preferable that the surface of the substrate has gloss.
基板は樹脂製であることが好ましい(請求項3)。樹脂製であれば、基板は帯電し易くなり、電撃プレートに作用するクーロン力を高めることが可能となる。また、樹脂は金属と比較して加工が容易であることから、電撃プレートを容易に得ることも可能となる。このような樹脂としては、例えば、ポリ塩化ビニル、ポリエチレンの他、ポリエチレンテレフタラート等を採用することができる。 The substrate is preferably made of resin. If it is made of resin, the substrate is easily charged and the Coulomb force acting on the electric shock plate can be increased. In addition, since resin is easier to process than metal, it is possible to easily obtain an electric shock plate. As such a resin, for example, polyethylene terephthalate can be employed in addition to polyvinyl chloride and polyethylene.
樹脂によって基板を得る場合、例えば、プラスチック製段ボール材(以下、プラダンという。)によって基板を得ることができる。また、フィルムによって基板を得ることも可能である。この場合、基板は、可撓性のあるフィルムからなることが好ましい(請求項4)。可撓性のあるフィルムによって得られることで、基板、ひいては電撃プレートが可撓性を有することとなる。この場合、曲げ加工等が容易となり、電撃プレートを種々の形状とすることが可能となる。 When a substrate is obtained from a resin, for example, the substrate can be obtained from a plastic corrugated cardboard material (hereinafter referred to as “pradan”). It is also possible to obtain a substrate with a film. In this case, the substrate is preferably made of a flexible film. By being obtained by a flexible film, the substrate, and thus the electric shock plate, has flexibility. In this case, bending or the like is facilitated, and the electric shock plate can be formed in various shapes.
基板の表面に電撃グリッドを形成する手段としては、例えば、上記の導線や金属板を基板の表面に貼着することが挙げられる。これらの導線や金属板の貼着は、基板に対する曲げ加工等が施される前に行われても良く、曲げ加工等が施された後であっても良い。 As a means for forming the electric grid on the surface of the substrate, for example, the above-described conductive wire or metal plate may be adhered to the surface of the substrate. The conducting wire or the metal plate may be attached before the bending process or the like is performed on the substrate, or after the bending process or the like is performed.
電撃グリッドは基板に印刷されていることが好ましい(請求項5)。この場合、導線や金属板を貼着する場合と比較して、より効率良く基板の表面に電撃グリッドを形成することが可能となる。また、印刷によって電撃グリッドを形成した場合、導線等を貼着することによって電撃グリッドを形成した場合と比較して、基板の加工や経年変化等によって生じる基板表面からの電撃グリッドの剥離等の問題も生じ難くなる。なお、このように基板の表面に電撃グリッドを印刷するに際しては、上記の導電材料をインクとして採用することができる。 It is preferable that the electric shock grid is printed on the substrate. In this case, it is possible to form a lightning grid on the surface of the substrate more efficiently than in the case of attaching a conducting wire or a metal plate. In addition, when the electric shock grid is formed by printing, problems such as peeling of the electric shock grid from the substrate surface caused by processing of the substrate or aging, etc., compared to the case where the electric shock grid is formed by sticking a conducting wire or the like Is less likely to occur. In addition, when printing the electric shock grid on the surface of the substrate in this way, the above-described conductive material can be employed as ink.
電撃プレートは蚊が出入可能な出入口をもつ誘引室を形成していることが好ましい(請求項6)。電撃プレートにおける基板の表面や電撃グリッドは暗色を呈していることから、蚊は出入口を介して誘引室に誘い込まれ易くなる。つまり、電撃プレートや電撃グリッドの近傍に蚊を誘い込み易くなり、効率よく蚊を電撃グリッドに吸引させつつ電撃することが可能となる。 It is preferable that the electric shock plate forms an induction room having an entrance through which mosquitoes can enter and exit. Since the surface of the board in the electric shock plate and the electric shock grid are dark, mosquitoes are likely to be drawn into the induction room via the doorway. That is, it becomes easy to attract mosquitoes to the vicinity of the electric shock plate or electric shock grid, and it is possible to perform electric shock while efficiently sucking the mosquito into the electric shock grid.
ここで、電撃グリッドは誘引室内に設けられても良く、誘引室外に設けられても良い。また、電撃グリッドは、誘引室内及び誘引室外の両方に設けられても良い。電撃グリッドが誘引室内に設けられた場合には、出入口から誘引室内に侵入した蚊を電撃グリッドに吸引させて電撃することが可能となる。一方、電撃グリッドが誘引室外に設けられた場合には、出入口から誘引室内に侵入しようとする蚊について、誘引室内に進入する前に電撃グリッドに吸引させて電撃できる他、出入口から誘引室の外に脱出した蚊を電撃グリッドに吸引させて電撃することも可能となる。さらに、電撃グリッドが誘引室内及び誘引室外の両方に設けられた場合には、誘引室内に侵入した蚊だけでなく、誘引室内に侵入しようとする蚊や誘引室から脱出した蚊についてもそれぞれ電撃グリッドに吸引させて電撃することが可能となる。 Here, the electric shock grid may be provided in the induction room or outside the induction room. Moreover, the electric shock grid may be provided both in the induction room and outside the induction room. When the electric shock grid is provided in the induction chamber, it is possible to cause electric shock by sucking the mosquito that has entered the induction chamber from the entrance and exit into the electric induction grid. On the other hand, if a lightning grid is provided outside the induction room, mosquitoes that are about to enter the induction room from the entrance can be sucked into the electric shock grid before entering the induction room, and the outside of the induction room can be The mosquitoes that have escaped to can be sent to the electric shock grid for electric shock. Furthermore, when electric shock grids are provided both inside and outside the induction room, not only mosquitoes that have entered the induction room, but also mosquitoes that are about to enter the induction room and mosquitoes that have escaped from the induction room, respectively. It is possible to make it suck and let it blaze.
発明者らの知見によれば、出入口は、地上から5cm〜200cmの高さに開口していることが好ましい。また、発明者らの知見では、蚊は不規則な方向で飛来するのではなく、興奮状態にない時には、水平方向に飛行する傾向が強く、また、蚊は先の見通せない方向には飛行しない傾向が強い。これらのため、誘引室は、筒状をなして水平方向に延び、一端と他端とが互いに対面する出入口とされていることが好ましい(請求項7)。このように一端と他端とが互いに対面することで、一端側から他端側を見通せることとなり、蚊がより好んで誘引室に誘い込まれるようになる。 According to the inventors' knowledge, the entrance / exit is preferably opened to a height of 5 cm to 200 cm from the ground. In addition, according to the inventors' knowledge, mosquitoes do not fly in irregular directions, but when they are not excited, they tend to fly horizontally, and mosquitoes do not fly in unforeseen directions The tendency is strong. For these reasons, it is preferable that the attraction chamber is formed in a cylindrical shape and extends in the horizontal direction, with one end and the other end facing each other (claim 7). Thus, one end and the other end face each other, so that the other end side can be seen from one end side, and mosquitoes are more preferably drawn into the attracting chamber.
上記のように誘引室を形成する場合、誘引室は互いに交差する少なくとも2枚の板材によって形成され得る。板材は電撃プレートを有することが好ましい(請求項8)。この場合、蚊駆除装置は、2枚以上の電撃プレートを備えることなり、各電撃プレートにそれぞれ蚊を吸引し、効率よく蚊を電撃することが可能となる。 When the induction chamber is formed as described above, the induction chamber can be formed by at least two plates that intersect each other. The plate member preferably has an electric shock plate (claim 8). In this case, the mosquito extermination device is provided with two or more electric shock plates, and the electric mosquitoes can be efficiently electric shocked by sucking mosquitoes into the electric shock plates.
この場合の蚊駆除装置における誘引室の形状、すなわち、各板材同士を交差させる際における各板材の配置は任意に設計することが可能である。例えば、上面視でX字状やY字状の他、+形状や米形状に各板材を配置することができる。また、各板材における表面、つまり各板材において電撃グリッドが形成される表面は、地面に対して垂直な状態であっても良く、地面に対して垂直以外の状態であっても良い。 In this case, the shape of the attracting chamber in the mosquito control apparatus, that is, the arrangement of the plate members when the plate members cross each other, can be arbitrarily designed. For example, each plate member can be arranged in a + shape or a rice shape in addition to an X shape or a Y shape in a top view. Further, the surface of each plate material, that is, the surface on which the electric shock grid is formed in each plate material may be in a state perpendicular to the ground, or may be in a state other than perpendicular to the ground.
また、正極導線部と負極導線部との間には、給電装置により1000V〜6000Vの電圧が印加されることが好ましい(請求項9)。この場合、電撃グリッドの周囲に作用するクーロン力が大きくなることで、電撃グリッドに蚊を吸引させつつ電撃し易くなる。また、電撃を受けた蚊は、高電圧により焼殺されて炭化し易い。このように炭化した蚊の死骸は、自然風により大気中に拡散等されることとなる。このため、この蚊駆除装置では、電撃グリッドに蚊の死骸が残存し難くなり、別途にメンテナンス等を必要とせずに、電撃グリッドを清潔に保つことが可能となることから、長期間に亘って効率よく蚊を吸引しつつ電撃することが可能となる。 Moreover, it is preferable that a voltage of 1000 V to 6000 V is applied between the positive electrode conductor part and the negative electrode conductor part by a power feeding device. In this case, by increasing the Coulomb force acting around the electric shock grid, it becomes easier to electric shock while sucking mosquitoes into the electric shock grid. In addition, mosquitoes that have received electric shock are easily burned and carbonized by high voltage. The carbonized mosquito dead body is diffused into the atmosphere by natural wind. For this reason, in this mosquito extermination device, it is difficult for mosquito carcasses to remain on the electric shock grid, and it is possible to keep the electric shock grid clean without requiring separate maintenance. It is possible to blast while sucking mosquitoes efficiently.
炭化した蚊の死骸がクーロン力によって電撃グリッドに吸着することを防止するため、正極導線部及び負極導線部に対する電圧の印加、すなわち、正極導線部及び負極導線部に対する通電を一時的に停止することも好ましい。これにより、電撃グリッドの周囲にクーロン力を作用させる場合と作用させない場合とを切り替えることが可能となり、蚊の死骸が電撃グリッドに吸着することを好適に防止することが可能となる。 In order to prevent carbonized mosquito carcasses from adsorbing to the lightning grid due to Coulomb force, voltage application to the positive electrode conductor and the negative electrode conductor, that is, temporarily stopping energization of the positive electrode conductor and the negative electrode conductor. Is also preferable. Thereby, it is possible to switch between the case where the Coulomb force is applied around the electric shock grid and the case where the coulomb force is not applied, and it is possible to suitably prevent the mosquito dead body from adsorbing to the electric shock grid.
給電装置としては、バッテリや商用電源を採用することが可能である。給電装置としては、直流電流を採用することが可能である。商用電源としては、火力、水力、原子力等の既存の設備で発電した電力を採用できる他、地熱、風力等の次世代エネルギーを利用した設備で発電した電力を採用し得る。特に、給電装置は、太陽光発電パネルと、太陽光発電パネルで生じた起電力を蓄電可能なバッテリとを有していることが好ましい(請求項10)。 As the power feeding device, a battery or a commercial power source can be employed. As the power feeding device, a direct current can be employed. As the commercial power source, electric power generated by existing facilities such as thermal power, hydropower, and nuclear power can be adopted, and electric power generated by facilities using next-generation energy such as geothermal and wind power can be used. In particular, the power supply device preferably includes a photovoltaic power generation panel and a battery capable of storing electromotive force generated in the photovoltaic power generation panel (claim 10).
この場合、電撃グリッドに蚊を吸引させつつ電撃するために必要な電力について、別途の費用を必要とすることなく調達することが可能となる。また、バッテリが太陽光発電パネルで生じた起電力を蓄電可能となっていることから、例えば、昼間の屋外で本発明の蚊駆除装置を使用し、夜間の屋外や屋内では、バッテリに蓄えられた電力を利用して本発明の蚊駆除装置を使用するという方法も可能となる。 In this case, it is possible to procure electric power necessary for electric shock while sucking mosquitoes on the electric shock grid without requiring additional costs. In addition, since the battery can store the electromotive force generated by the photovoltaic power generation panel, for example, the mosquito control device of the present invention is used outdoors in the daytime and stored in the battery outdoors or indoors at night. It is also possible to use the mosquito control device of the present invention by using the electric power.
本発明の蚊駆除装置によれば、より効率良く蚊を電撃可能である。 According to the mosquito control device of the present invention, mosquitoes can be blasted more efficiently.
以下、本発明を具体化した実施例1〜6を図面を参照しつつ説明する。
(実施例1)
図1に示すように、実施例1の蚊駆除装置は、板材としての第1〜4電撃部材1a〜1dと、給電装置3と、太陽光発電パネル5とを備えている。(Example 1)
As shown in FIG. 1, the mosquito extermination device of Example 1 includes first to fourth
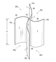
第1〜4電撃部材1a〜1dはいずれも矩形の板状をなしている。第1〜4電撃部材1a〜1dの構成は同じである。以下、図2(A)及び図2(B)を基に、第1電撃部材1aを例に具体的に説明する。第1電撃部材1aは、図2(B)に示すように、基材9と、基材9の表面及び裏面に貼着された電撃プレート7とからなる。 Each of the first to fourth
基材9は、水平方向に延びる無数の空間9aが形成され、表面が黒色をなすプラダン(東洋ユニコン(株)、ポリプロピレン製)からなる。基材9は高さHが約80cmとされた矩形形状をなしている。 The
各電撃プレート7は、基板11と、基板11の表面に印刷された電撃グリッド13とからなる。基板11は黒色で光沢を有するポリエチレン製のフィルムである。この基板11は可撓性を有している。電撃グリッド13は黒鉛や各種の金属粉等を含有する導電材料が基板11の表面に印刷されることで形成されている。なお、基板11に電撃グリッド13を印刷する方法としては、例えばスクリーン印刷等を採用することができる。 Each
電撃グリッド13は、図2(A)に示すように、正極導線部15と負極導線部17とで構成されている。正極導線部15は、基板11上で上下方向で直線状に形成された第1基部15aと、一端側で第1基部15aに直角に接続するとともに、他端側が水平に延びる複数の第1導線部15bとを有している。各第1導線部15b同士は平行となっている。また、第1基部15aの下端には第1電極端子15cが形成されている。負極導線部17も同様に、基板11上で上下方向で直線状に形成された第2基部17aと、一端側で第2基部17aに直角に接続するとともに、他端側が水平に延びる複数の第2導線部17bとを有している。各第2導線部17b同士も平行となっている。また、第2基部17aの下端には第2電極端子17cが形成されている。各第1導線部15bと各第2導線部17bとは、互いに噛み合わさるように配置されている。このため、電撃グリッド13は、基板11上において、第1導線部15bと第2導線部17bとが互いに噛み合った櫛歯形状を呈している。各第1導線部15bと各第2導線部17bとの幅αは、蚊19よりも狭い5mm未満に形成されている。また、正極導線部15及び負極導線部17を構成する導電部材は黒鉛を含有していることから、電撃グリッド13も黒色を呈している。 As shown in FIG. 2A, the
図1に示すように、第1電撃部材1aと、第2電撃部材1bとは連結軸21a、21bによって互いに接続されている。同様に、第3電撃部材1cと、第4電撃部材1dとは連結軸21c、21dによって互いに接続されている。これら第1、2電撃部材1a、1bの集合体と、第3、4電撃部材1c、1dの集合体とは、下皿23内において互いに直交するように配置されている。これにより、この蚊駆除装置を上面視した場合、第1〜4電撃部材1a〜1dは、下皿23内において、X字状に配置されている。下皿23は地面上に配置されている。下皿23も黒色を呈している。下皿23には、後述するリード線35a、35b、35e、35f等が挿通される挿通孔23aが形成されている。第1〜4電撃部材1a〜1dは、下皿23に固定され、地面に対して垂直に立設されている。 As shown in FIG. 1, the 1st
このように第1〜4電撃部材1a〜1dが配置されることにより、第1電撃部材1aの表面側と第4電撃部材1dの裏面側との間に第1誘引室25aが形成されている。同様に、第4電撃部材1dの表面側と第2電撃部材1bの表面側との間に第2誘引室25bが形成され、第2電撃部材1bの裏面側と第3電撃部材1cの表面側との間に第3誘引室25cが形成されている。また、第3電撃部材1cの裏面側と第1電撃部材1aの裏面側との間に第4誘引室25dが形成されている。また、第1〜4電撃部材1a〜1dの高さが約80cmであることから、第1〜4誘引室25a〜25dは地面から約80cmの高さに開口した状態となっている。 Thus, by arrange | positioning the 1st-4th
また、第1電撃部材1aと第2電撃部材1bとの間と、第3電撃部材1cと第4電撃部材1dとの間とには、空間27が形成されている。第1〜4誘引室25a〜25dは、この空間27によって互いに連通している。また、この空間27により、一端側となる第1誘引室25aから他端側となる第3誘引室25cを水平方向に見通すことが可能となっている。同様に、一端側となる第2誘引室25bから他端側となる第4誘引室25dを水平方向に見通すことも可能となっている。 Further, a
図3に示すように、給電装置3はハウジング3aを有している。また、給電装置3は、ハウジング3a内に、制御装置29と、公知のバッテリ31とを内蔵している。制御装置29とバッテリ31とはリード線33a、33bを介して電気的に接続されている。また、バッテリ31は、リード線33c、33dを介して、図1に示す太陽光発電パネル5と電気的に接続されている。これにより、バッテリ31は、太陽光発電パネル5で生じた起電力を蓄電可能になっている。この太陽光発電パネル5は公用品が採用されている。図3に示すように、制御装置29は公知の昇圧回路としての機能を有している。制御装置29の正極には各リード線35a〜35j等の各一端が接続され、各リード線35a〜35j等の他端は第1〜4電撃部材1a〜1dの各第1電極端子15cと電気的に接続されている。また、制御装置29の負極には各リード線35e〜35h等の各一端が接続され、各リード線35e〜35d等の他端は第1〜4電撃部材1a〜1dの各第2電極端子17cと電気的に接続されている。第1〜4電撃部材1a〜1dでは、それぞれ地面等に対するアース接続を行っていない。 As shown in FIG. 3, the
制御装置29は、バッテリ31から電力の供給を受けることで、第1〜4電撃部材1a〜1dに対し、1000V〜6000Vの間で昇圧及び変圧された電圧をそれぞれへ印加することが可能となっている。また、この制御装置29は、第1〜4電撃部材1a〜1dに対する通電と、その停止とを時限式で切り替えることが可能となっている。なお、通電と停止との間隔は任意に設定可能となっている。 The
これらのように構成された蚊駆除装置では、以下のように蚊19を電撃することにより蚊19の駆除を行う。 In the mosquito extermination device configured as described above, the
まず、図1に示すように、この蚊駆除装置では、第1〜4誘引室25a〜25dが黒色を呈しているとともに、地面から約80cmの高さに開口している。また、第1〜4誘引室25a〜25d同士が互いに連通し、一端側となる第1、2誘引室25a、25bから他端側となる第3、4誘引室25c、25dをそれぞれ見通すことが可能となっている。これらのため、この蚊駆除装置では、蚊19が本能的に第1〜4誘引室25a〜25dに誘い込まれ易い。この際、第1〜4電撃部材1a〜1dが黒色を呈しており、各基板11、すなわち、第1〜4電撃部材1a〜1dの表面及び裏面が光沢を有していることから、第1〜4誘引室25a〜25dに進入した蚊19が第1〜4電撃部材1a〜1dを警戒し難くなり、第1〜4電撃部材1a〜1dの近傍に蚊19が集まり易い。 First, as shown in FIG. 1, in this mosquito control device, the first to
そして、制御装置29は1000V〜6000Vの間、例えば3000Vに昇圧した状態で、第1〜4電撃部材1a〜1dに電圧を印加している。これにより、第1〜4電撃部材1a〜1dでは、各電撃グリッド13の正極導線部15及び負極導線部17に約3000Vの高電圧が印加された状態となっている。また、この電圧の印加により、正極導線部15及び負極導線部17の近傍にはクーロン力が作用することとなる。このため、第1〜4誘引室25a〜25dに誘引された蚊19は、図3に示すように、正極導線部15及び負極導線部17に吸引させられ、正極導線部15及び負極導線部17に接触し、電撃されることとなる。この際、第1〜4電撃部材1a〜1dの両面で蚊19をそれぞれ電撃することが可能であるため、効率良く蚊19を電撃することが可能となっている。また、各正極導線部15及び各負極導線部17には、3000Vの高電圧が印加されていることから、電撃を受けた蚊19は、高電圧により焼殺されて炭化し易くなる。 And the
特に、この蚊駆除装置では、各基板11がポリエチレン製のフィルムであることから、各基板11自体も静電気を帯電し易くなっている。また、各基板11が貼着された基材9もプラダンであることから、同じく静電気を帯電し易くなっている。さらに、この蚊駆除装置では、第1〜4電撃部材1a〜1dがアース接続されていないことから、基板11や基材9に生じた静電気は、そのまま基板11等に帯電した状態となる。これらにより、この蚊駆除装置では、蚊19を第1〜4電撃部材1a〜1dに吸着させ易くなっている。 In particular, in this mosquito control device, since each
このように、この蚊駆除装置では、黒色を呈する第1〜4誘引室25a〜25d等により、第1〜4電撃部材1a〜1dの近傍まで蚊19を本能的に誘い込みつつ、最終的にはクーロン力によってその蚊19を第1〜4電撃部材1a〜1dに吸引し、電撃することが可能となっている。 Thus, in this mosquito extermination device, while instinctively inducing the
したがって、実施例1の蚊駆除装置によれば、より効率良く蚊19を電撃可能である。 Therefore, according to the mosquito extermination apparatus of Example 1, the
特に、この蚊駆除装置において、基板11はフィルムによって得られており、可撓性を有している。このため、基材9の両面に対する基板11の貼着等の加工が容易となっている。 In particular, in this mosquito control device, the
また、この蚊駆除装置では、電撃グリッド13が基板11に印刷されることで形成されている。このため、効率良く基板11の表面に電撃グリッド13を形成することが可能となっている。また、このように印刷によって電撃グリッド13を形成することで、基板11の加工や経年変化等によって生じる基板11表面からの電撃グリッド13の剥離等の問題も生じ難くなっている。 Moreover, in this mosquito control device, the
さらに、各正極導線部15及び各負極導線部17に対し、給電装置3が1000V〜6000Vの電圧を印加することが可能となっている。これにより、焼殺された蚊19の死骸は、自然風により大気中に拡散等される。この際、制御装置29により、各正極導線部15及び各負極導線部17に対する通電が定期的に停止されるため、第1〜4電撃部材1a〜1dの周囲に作用するクーロン力が一時的に減少又は消失することとなる。これにより、この蚊駆除装置では、クーロン力によって、蚊19の死骸が第1〜4電撃部材1a〜1dに付着することを防止することが可能となっている。このため、この蚊駆除装置では、電撃グリッド13等に蚊19の死骸が残存し難くなり、別途にメンテナンス等を必要とせずに、電撃グリッド13等を清潔に保つことが可能となり、長期間に亘って効率よく蚊19を吸引しつつ電撃することが可能となっている。 Furthermore, the
また、この蚊駆除装置では、給電装置3が太陽光発電パネル5とバッテリ31とを有している。このため、この蚊駆除装置では、各電撃グリッド13に必要な電力について、別途の費用を必要とすることなく調達することが可能となる。また、バッテリ31が太陽光発電パネル5で生じた電力を蓄電可能となっていることから、例えば、昼間の屋外でこの蚊駆除装置を使用し、夜間の屋外や屋内では、バッテリ31に蓄えられた電力を利用してこの蚊駆除装置を使用するという方法も可能となっている。さらに、この蚊駆除装置では、リード線33c、33dを介して太陽光発電パネル5とバッテリ31とが接続されていることから、太陽光発電パネル5のみを屋外に設置し、蚊駆除装置を屋内に設置して蚊19の駆除を行うことも可能となっている。 Further, in this mosquito extermination device, the
(実施例2)
図4に示すように、実施例2の蚊駆除装置は、実施例1の蚊駆除装置における第1電撃部材1aと、給電装置3と、太陽光発電パネル5とを有している。(Example 2)
As shown in FIG. 4, the mosquito extermination device of the second embodiment includes the first
第1電撃部材1aには、一対の基部37a、37bが固定されている。これらの基部37a、37bにより、第1電撃部材1aは、地面に対して垂直に立設された状態で配置されている。 A pair of
第1電撃部材1aの裏面側における第1電極15cと制御装置29(図3参照)の正極とは、リード線35kによって接続されている。第1電撃部材1aの裏面側における第2電極17cと制御装置29の負極とは、リード線35lによって接続されている。第1電撃部材1aにおける他の構成及び給電装置3等の構成は、実施例1の蚊駆除装置と同様であり、同一の構成については同一の符号を付して構成に関する詳細な説明を省略する。 The
この蚊駆除装置では、第1電撃部材1aの両面に形成された電撃グリッド13により蚊19に対する電撃を行い、蚊19の駆除を行う。第1電撃部材1aの全体が黒色を呈していることから。蚊19は警戒感を持つことなく本能的に第1電撃部材1aに近接する。そして、近接した蚊19は、第1電撃部材1aに作用するクーロン力により、第1電撃部材1aに吸着されつつ、電撃を受けて焼殺されることとなる。 In this mosquito extermination device, the
この蚊駆除装置では、第1電撃部材1aを一枚だけを有していることから、実施例1の蚊駆除装置と比較して、蚊駆除装置自体を小型化することが可能となっている。このため、この蚊駆除装置によれば、その設置場所の制限等を受け難くなり、種々の場所において蚊19の駆除を行うことが可能となる。また、制御装置29は、第1電撃部材1aにのみ通電を行えば足りることから蚊駆除装置が省エネルギーとなり、長時間に亘って蚊19を駆除することも可能となる。他の作用効果は実施例1の蚊駆除装置と同様である。 Since this mosquito control device has only one first
(実施例3)
図5に示すように、実施例3の蚊駆除装置は、実施例1の蚊駆除装置における第1、2電撃部材1a、1bと、給電装置3と、太陽光発電パネル50とを有している。Example 3
As shown in FIG. 5, the mosquito extermination device of Example 3 includes the first and second
第1、2電撃部材1a、1bは、それぞれ家屋39の壁面39aに立てかけられた状態で、壁面39aと固定されている。また、第1、2電撃部材1a、1bの前面には、人間等が不意に第1、2電撃部材1a、1bに接触等することを防止するための防護柵41が設けられている。 The first and second
第2電撃部材1bの裏面側における第1電極15cと制御装置29(図3参照)の正極とは、リード線35mによって接続されている。第2電撃部材1bの裏面側における第2電極17cと制御装置29の負極とは、リード線35nによって接続されている。なお、第1電撃部材1aの各第1電極15c及び各第2電極17cと、制御装置29における正極又は負極との接続については、実施例1、2と同様である。 The
太陽光発電パネル50は、家屋39の屋根39bに設けられている。この太陽光発電パネル50も公用品が採用されている。太陽光発電パネル50と、給電装置3内におけるバッテリ31(図3参照)とは、リード線33c、33dを介して電気的に接続されている。なお、この太陽光発電パネル50は、給電装置3を介して第1、2電撃部材1a、1bにおける各電撃グリッド13に起電力を供給可能である他、家屋39に対しても電力を供給することが可能となっている。他の構成は、実施例1の蚊駆除装置と同様である。 The photovoltaic
家屋39は人間等の居住空間であることから、蚊19が集まり易くなっている。そこで、第1、2電撃部材1a、1bを壁面39a設置することにより、家屋39内に進入する前に蚊19は第1、2電撃部材1a、1b側に誘われ、かつ、第1、2電撃部材1a、1bに吸引される。そして、蚊19は各電撃グリッド13により電撃されることとなる。このため、この蚊駆除装置によれば、蚊19が家屋37内に進入することが好適に防止される。他の作用効果は、実施例1の蚊駆除装置と同様である。なお、この蚊駆除装置は、家屋37に限らず、倉庫や家畜小屋等に設置することもできる。 Since the
(実施例4)
図6に示すように、実施例4の蚊駆除装置は第1〜4電撃部材10a〜10dと、給電装置3(図示略)と、太陽光発電パネル5(図示略)とを備えている。Example 4
As shown in FIG. 6, the mosquito control device of Example 4 includes first to fourth
第1〜4電撃部材10a〜10dは、いずれも同一の構成であり、実施例1の蚊駆除装置における電撃プレート7が表面及び裏面に設けられた基材90で構成されている。なお、図6では、給電装置3及び太陽光発電パネル5の図示の他、第1〜4電撃部材10a〜10dにおける電撃グリッド13及び各リード線35a等の図示を省略している。後述の図7、8についても同様である。 The first to fourth
基材90は、波型形状に湾曲させて形成されたアクリル板によって得られている。このアクリル板も黒色を呈しており、第1〜4電撃部材10a〜10dも、全体として黒色を呈している。また、基材90の高さ、すなわち、第1〜4電撃部材10a〜10dの高さHも約80cmとされている。 The
第1〜4電撃部材10a〜10dは、それぞれ等間隔で配置されており、各一辺が中心軸43に接合されている。これにより、蚊駆除装置を上面視した場合、第1〜4電撃部材10a〜10dは、略+形状に配置されている。また、第1〜4電撃部材10a〜10dは地面に直接配置されている。 The first to fourth
第1電撃部材10aの表面側と第4電撃部材10dの裏面側との間には、第1誘引室26aが形成されている。同様に、第4電撃部材10dの表面側と第2電撃部材10bの裏面側との間に第2誘引室26bが形成され、第2電撃部材10bの表面側と第3電撃部材10cの裏面側との間に第3誘引室26cが形成されている。また、第3電撃部材10cの表面側と第1電撃部材10aの裏面側との間に第4誘引室26dが形成されている。第1〜4誘引室26a〜26dの各側面を形成する第1〜4電撃部材10a〜10dが黒色を呈していることから、第1〜4誘引室26a〜26dも、黒色を呈している。また、第1〜4誘引室26a〜26dも地上から約80cmの高さで開口した状態となっている。 A
第1〜4電撃部材10a〜10dにおけるアース接続も行っていない。なお、リード線35a等を介した各電撃グリッド13と給電装置3における制御装置29との電気的な接続の他、この蚊駆除装置における他の構成は、実施例1の蚊駆除装置と同様である。 The ground connection in the 1st-4th
この蚊駆除装置においても、蚊19が本能的に第1〜4誘引室26a〜26dに誘い込まれ易くなっている。そして、第1〜4電撃部材10a〜10dの近傍を飛翔する蚊19は、第1〜4電撃部材10a〜10dに作用するクーロン力によって第1〜4電撃部材10a〜10dに吸引させられつつ、電撃グリッド13によって電撃されることとなる。なお、基材90もアクリル板によって得られていることから、実施例1におけるプラダン製の基材9と同様、静電気を帯電させ易くなっている。このため、第1〜4電撃部材10a〜10dに作用するクーロン力も大きくなっている。他の作用効果は実施例1の蚊駆除装置と同様である。 Also in this mosquito extermination device, the
(実施例5)
実施例5の蚊駆除装置は、実施例1の蚊駆除装置における第1〜4電撃部材1a〜1dに替えて、図7に示すように、電撃部材100aを備えている。(Example 5)
The mosquito extermination device of Example 5 includes an
電撃部材100aは、上記第1〜4電撃部材1a〜1dにおける電撃プレート7で構成されている。電撃部材100aは、電撃プレート7の電撃グリッド13が内側になるように電撃部材100aが略直角に曲げ加工されることにより、垂直方向の断面が略正方形となる中空のハウジング45が形成されている。この垂直方向の断面における一辺の長さは、約80cmとされている。 The
ハウジング45の内部には、水平方向に延びる誘引室45aが形成されている。また、電撃部材100aにおける基板11及び電撃グリッド13が黒色を呈していることから、ハウジング45及び誘引室45aは共に黒色を呈している。このハウジング45は、地面に対して水平に寝かせた状態で設置されている。 Inside the
誘引室45aの一端には第1出入口45bが形成されており、誘引室45aの他端には第2出入口45cが形成されている。また、ハウジング45の垂直方向の断面における一辺の長さが約80cmとなっていることから、第1、2出入口45b、45dは、それぞれ地上から約80cmの高さHで開口している。さらに、誘引室45aを介して、これらの第1出入口45bと第2出入口45cとは、水平方向で互いに見通すことが可能となっている。他の構成は実施例1の蚊駆除装置と同様である。 A
この蚊駆除装置においても、蚊19が本能的に誘引室45aに誘い込まれ易くなっている。そして、誘引室45a内に進入した蚊19は、電撃グリッド13に吸引されて、電撃されることとなる。この蚊駆除装置では、電撃部材100aにおける基板11の可撓性を利用することで、一枚の電撃部材100aによりハウジング45を形成し、その内部に誘引室45aを形成することが可能となっている。このため、蚊駆除装置を製造するためのコストが低廉化されている。また、電撃グリッド13が基板11に印刷されて形成されていることから、電撃部材100aに曲げ加工を施した場合であっても、電撃グリッド13が基板11から剥離し難くなっている。他の作用効果は、実施例1の蚊駆除装置と同様である。 Also in this mosquito extermination device, the
(実施例6)
図8に示すように、実施例6の蚊駆除装置は、実施例5の蚊駆除装置とほぼ同様の構成である。この蚊駆除装置では、電撃グリッド13を内側にしつつ、電撃部材100aを略円形に曲げ加工することにより、垂直方向の断面が略円形となる筒状のハウジング47が形成されている。この垂直方向の断面における直径Dの長さは、約80cmとされている。(Example 6)
As shown in FIG. 8, the mosquito control device of Example 6 has substantially the same configuration as the mosquito control device of Example 5. In this mosquito extermination device, a
ハウジング47の内部には、水平方向に延びる誘引室47aが形成されている。誘引室47aの周囲には、電撃グリッド13が配置されている。また、ハウジング47及び誘引室47aも黒色を呈している。誘引室47aの一端には、誘引室47aと連通する第1出入口47bが形成されており、誘引室43aの他端には、誘引室47aと連通する第2出入口47cが形成されている。ハウジング47の垂直方向の断面における直径Dが約80cmとなっていることから、第1、2出入口47b、47dも約80cmの大きさで開口している。さらに、誘引室47aを介して、第1、2出入口47b、47cは、互いに見通すことが可能となっている。また、ハウジング47は地面に対して垂直に立てた状態で設置されており、第2出入口47cは地面によって塞がれた状態となっている。他の構成は実施例1、5の蚊駆除装置と同様である。 Inside the
この蚊駆除装置では、第2出入口47cが地面によって塞がれた状態となっていることから、誘引室47aがより暗い状態となっている。このため、この蚊駆除装置においても、実施例5の蚊駆除装置と同様、誘引室47aに蚊19を誘い込み、電撃グリッド13の近傍の蚊19を電撃グリッド13に吸引しつつ電撃することが可能となっている。他の作用効果は実施例1、5の蚊駆除装置と同様である。 In this mosquito extermination device, the
ここで、この蚊駆除装置については、図7に示す実施例5の蚊駆除装置のように地面に対して水平に寝かせた設置しても良い。この場合、誘引室47aを介して、第1、2出入口47b、47cは、水平方向で互いに見通すことが可能となるとともに、直径Dが約80cmであることから、第1、2出入口47b、47dが地上から約80cmの大きさで開口することとなる。なお、実施例5の蚊駆除装置についても同様に、地面に対して垂直に立てた状態で設置することもできる。 Here, this mosquito control device may be installed horizontally laid on the ground like the mosquito control device of Example 5 shown in FIG. In this case, the first and
以上において、本発明を実施例1〜6に即して説明したが、本発明は上記実施例1〜6に制限されるものではなく、その趣旨を逸脱しない範囲で適宜変更して適用できることはいうまでもない。 In the above, the present invention has been described with reference to the first to sixth embodiments. However, the present invention is not limited to the first to sixth embodiments, and can be appropriately modified and applied without departing from the spirit of the present invention. Needless to say.
例えば、実施例1〜6の蚊駆除装置において、二酸化炭素を詰めたボンベや化学反応によって二酸化炭素を発生させる反応装置等、種々の炭酸ガス発生手段を備えても良い。同じく、実施例1〜6の蚊駆除装置において、蚊19が好む35〜55°C程度の熱を発生させる電熱ヒータ、懐炉等、種々の温熱発生手段を備えても良い。この際、上記の炭酸ガス発生手段を組み合わせて備えても良い。これらの場合には、より効率よく蚊19を電撃により駆除することが可能となる。 For example, in the mosquito control apparatus of Examples 1 to 6, various carbon dioxide generating means such as a cylinder filled with carbon dioxide or a reaction apparatus that generates carbon dioxide by a chemical reaction may be provided. Similarly, in the mosquito extermination apparatus of Examples 1-6, you may provide various heat generating means, such as an electric heater which generates about 35-55 degreeC heat | fever which the
また、実施例1の蚊駆除装置において、第1〜4誘引室25a〜25dの上面を構成する蓋部材を設けても良い。このような蓋部材は、例えば下皿23と同一の構成とすることができる。この場合、第1〜4誘引室25a〜25dをより暗い状態とすることが可能となり、蚊19が第1〜4誘引室25a〜25dに対して、より誘い込まれ易くなる。実施例4の蚊駆除装置においても、上記の下皿23や蓋部材を設けることもできる。 Moreover, in the mosquito control apparatus of Example 1, you may provide the cover member which comprises the upper surface of the 1st-
さらに、実施例5の蚊駆除装置において、第1〜4電撃部材1a〜1dをそれぞれ組み合わせることによって、ハウジング43を形成しても良い。また、第1〜3電撃部材1a〜1cをそれぞれ組み合わせることにより、垂直断面の形状が三角形となるハウジングを形成しても良い。さらに、第1電撃部材1aと同一の構成を有する電撃部材を5枚以上用意し、これらを組み合わせることで垂直断面の形状が五角形以上となるハウジングを形成しても良い。 Furthermore, in the mosquito control device of the fifth embodiment, the
また、実施例5、6の蚊駆除装置において、ハウジング45、47の外周にも電撃グリッド13が設けられても良い。この場合には、誘引室45a、47aに進入した蚊19だけでなく、誘引室45a、47aに進入する前の蚊19や、電撃を受けることなく誘引室45a、47aを脱出した蚊19についても、ハウジング45、47の外周に設けられた電撃グリッド13が吸引しつつ電撃することが可能となる。また、ハウジング45、47を形成する際、電撃グリッド13を外側にしつつ電撃部材100aに曲げ加工を施すことにより、ハウジング45、47の外周にのみ電撃グリッド13が設けられる構成としても良い。 Further, in the mosquito control devices of the fifth and sixth embodiments, the
本発明は蚊の駆除装置に利用可能である。本発明の蚊駆除装置は、ヒトスジシマカ(Aedes (Stegomyia) albopictus)やアカイエカ(Culex (Culex) pipiens pallens Coquillett)の他、ネッタイシマカ(Aedes (Stegomyia) aegypti)等の蚊に有効である。 The present invention is applicable to a mosquito extermination device. The mosquito control device of the present invention is effective for mosquitoes such as Aedes (Stegomyia) albopictus and Culex (Culex) pipiens pallens Coquillett, as well as Aedes (Stegomyia) aegypti.
1a〜1d、10a〜10d…第1〜4電撃部材(板材)
3…給電装置
5、50…太陽光発電パネル
7…電撃プレート
11…基板
13…電撃グリッド
15…正極導線部
17…負極導電部
19…蚊
25a〜25d、26a〜26d…第1〜4誘引室(誘引室)
31…バッテリ
45a、47a…誘引室
100a…電撃部材(板材)1a to 1d, 10a to 10d ... 1st to 4th electric shock members (plate material)
DESCRIPTION OF
31 ...
| Application Number | Priority Date | Filing Date | Title |
|---|---|---|---|
| JP2012521413AJPWO2013014760A1 (en) | 2011-07-27 | 2011-07-27 | Mosquito control equipment |
| Application Number | Priority Date | Filing Date | Title |
|---|---|---|---|
| JP2012521413AJPWO2013014760A1 (en) | 2011-07-27 | 2011-07-27 | Mosquito control equipment |
| Publication Number | Publication Date |
|---|---|
| JPWO2013014760A1true JPWO2013014760A1 (en) | 2015-02-23 |
| Application Number | Title | Priority Date | Filing Date |
|---|---|---|---|
| JP2012521413APendingJPWO2013014760A1 (en) | 2011-07-27 | 2011-07-27 | Mosquito control equipment |
| Country | Link |
|---|---|
| JP (1) | JPWO2013014760A1 (en) |
| Publication number | Priority date | Publication date | Assignee | Title |
|---|---|---|---|---|
| US10337675B2 (en)* | 2016-10-31 | 2019-07-02 | Clean Concept Llc | Insect control lighting device |
| US10412953B2 (en) | 2017-02-17 | 2019-09-17 | Clean Concept Llc | Pest control lighting device |
| Publication number | Priority date | Publication date | Assignee | Title |
|---|---|---|---|---|
| US10337675B2 (en)* | 2016-10-31 | 2019-07-02 | Clean Concept Llc | Insect control lighting device |
| US10412953B2 (en) | 2017-02-17 | 2019-09-17 | Clean Concept Llc | Pest control lighting device |
| Publication | Publication Date | Title |
|---|---|---|
| EP0467961B1 (en) | Electronic insect trap | |
| WO2013014760A1 (en) | Mosquito control device | |
| US6134826A (en) | Electrical insect trap for attracting, killing and disposing of flying insects | |
| US20170094960A1 (en) | Insect control device and method of using the same | |
| US8978290B2 (en) | Luminous insect trap | |
| US20070144056A1 (en) | Insect Erradication Apparatus | |
| CN100370898C (en) | Device and method for trapping and killing gravid mosquitoes | |
| US3685198A (en) | Insect attracting and destroying device | |
| US20020129539A1 (en) | Method and apparatus for the systematic eradication of mosquitoes adjacent to dwellings | |
| WO2012086253A1 (en) | Mosquito attracting device | |
| US5632115A (en) | Method and apparatus for controlling fire ants | |
| JPWO2013014760A1 (en) | Mosquito control equipment | |
| CN201075958Y (en) | Electronic deinsectization device | |
| CN201246093Y (en) | Electronic mosquito killer deinsectization window screen | |
| CN2565957Y (en) | Door and Window with function of killing mosquito-fly by electric shocking | |
| CN211185611U (en) | Mosquito killing and insect expelling device | |
| JPH07313036A (en) | Method for attracting insect and apparatus therefor | |
| CN200994359Y (en) | Electronic remote-controlled insect killer | |
| JP6713620B2 (en) | Electrostatic field generator, flying organism removing device, and plant protection device | |
| CN213095669U (en) | Intelligent detection device for insect prevention and control | |
| CN217826470U (en) | Electric mosquito swatter | |
| CN216363311U (en) | Electric mosquito swatter | |
| CN110583613B (en) | Electrostatic-driven continuous deratization device | |
| CN202504074U (en) | Mosquito killer | |
| CN2551751Y (en) | Electronic mosquito-killing mesh window |