














本発明は、運動のトレーニングを支援する運動支援システム及び運動支援方法に関する。The present invention relates to an exercise support system and an exercise support method that support exercise training.
近時の感染症の広がりにより、三密や感染を避けるために、従前のように、フィットネスジムに通うことが難しくなり、自宅でのちょっとした合間に、手軽に運動ができるソリューションの提供が望まれている。このようなソリューションの一つとして、スマートフォンを用いることで、所望する手本となるトレーニング映像とユーザの動きとをディスプレイ上で見比べることを可能にする技術が提案されている(例えば、特許文献1参照)。The recent spread of infectious diseases has made it difficult to visit fitness gyms as before in order to avoid the "three Cs" and infection, and so there is a demand for solutions that allow users to easily exercise at home during their free time. One such solution is a technology that uses a smartphone to make it possible to compare a desired model training video with the user's movements on a display (see, for example, Patent Document 1).
しかしながら、特許文献1の技術によれば、手本となるトレーニング映像とユーザの動きとの差異がある程度分かるために客観的評価が可能になるものの、その差異の精度が低いという問題がある。特許文献1の技術では、スマートフォンに搭載されたカメラによってユーザの動きが検出されるが、そのようなカメラでは、画角、解像度及びフレームレートが十分ではないために、運動するユーザの動きを高精度に検出することが困難だからである。そのために、効果的な運動を支援したり、ユーザに運動の習慣化を促したりするには、特許文献1の技術では十分とはいえない。However, while the technology of Patent Document 1 allows for an objective evaluation because it is possible to discern to some extent the difference between the model training video and the user's movements, there is a problem in that the accuracy of the difference is low. With the technology of Patent Document 1, the user's movements are detected by a camera mounted on a smartphone, but such a camera has insufficient angle of view, resolution, and frame rate, making it difficult to detect the movements of an exercising user with high accuracy. For this reason, the technology of Patent Document 1 cannot be said to be sufficient for supporting effective exercise or encouraging users to make exercising a habit.
そこで、本発明は、このような状況に鑑みてなされたものであり、従来よりも効果的に運動を支援したり、ユーザに運動の習慣化を促して継続性を高めたりすることができる運動支援システム及び運動支援方法を提供することを目的とする。The present invention has been made in consideration of these circumstances, and aims to provide an exercise support system and an exercise support method that can support exercise more effectively than ever before and encourage users to make exercise a habit and increase continuity.
上記目的を達成するために、本発明の一形態に係る運動支援システムは、宅内でのユーザによる運動のトレーニングを支援する宅内装置と、施設内での前記ユーザによる運動のトレーニングを支援する施設装置と、通信路を介して前記宅内装置および施設装置に接続される運動支援装置と、前記宅内装置、前記施設装置及び前記運動支援装置の何れかの装置に備えられ、手本となるトレーニング映像を保持する記憶部とを備え、前記宅内装置は、映像を表示する第1表示部と、前記記憶部に保持されたトレーニング映像を前記第1表示部に表示させる制御をする第1制御部と、前記第1表示部に表示されたトレーニング映像に合わせて運動する前記ユーザの動きを検出する第1検出部とを有し、前記第1制御部は、さらに、前記第1検出部による検出結果に基づいて生成される、前記ユーザの運動を支援するための支援映像を前記トレーニング映像の表示に連動させて前記第1表示部に表示させる制御をし、前記施設装置は、映像を表示する第2表示部と、前記記憶部に保持されたトレーニング映像を前記第2表示部に表示させる制御をする第2制御部と、前記第2表示部に表示されたトレーニング映像に合わせて運動する前記ユーザの動きを、前記第1検出部よりも高精度で検出する第2検出部とを有し、前記第2制御部は、さらに、前記第2検出部によって検出された前記ユーザの動きと前記トレーニング映像が示す動きとの差異を算出し、算出した差異に基づいて生成される、前記ユーザの運動を支援するための支援映像を前記トレーニング映像の表示に連動させて前記第2表示部に表示させる制御をし、前記運動支援装置は、前記第2制御部によって算出された差異を示す差異データを取得し、取得した差異データに基づいて、手本となるトレーニング映像を生成し、前記宅内装置は、前記運動支援装置で生成された、手本となるトレーニング映像を、前記通信路を介して取得して前記記憶部に格納し、前記第1制御部は、前記記憶部に保持された、手本となるトレーニング映像を前記第1表示部に表示させる制御をし、前記第2制御部は、算出した差異に基づいて、前記ユーザの人体形状モデルを生成して筋力を算出し、生成した前記人体形状モデル及び算出した筋力を、前記支援映像として、前記第2表示部に表示させ、前記運動支援装置は、前記ユーザと前記トレーニング映像中のインストラクターの人体形状モデル及び筋力の差異を算出し、算出した前記差異を小さくする方向を示す矢印の画像を、前記ユーザの人体形状モデルに付加して加工することで、前記手本となる支援映像を生成する。 In order to achieve the above object, an exercise support system according to one embodiment of the present invention includes an in-home device that supports exercise training by a user at home, a facility device that supports exercise training by the user at a facility, an exercise support device connected to the in-home device and the facility device via a communication path, and a memory unit that is provided in any one of the in-home device, the facility device, and the exercise support device and stores a model training video, wherein the in-home device includes a first display unit that displays a video, a first control unit that controls the training video stored in the memory unit to be displayed on the first display unit, and a display unit that displays the training video on the first display unit. and a first detection unit that detects the movement of the user exercising in accordance with a training video stored in the storage unit, the first control unit further controls to display an assistance video for assisting the user's exercise, which is generated based on a detection result by the first detection unit, on the first display unit in conjunction with the display of the training video. The facility device has a second display unit that displays an image, a second control unit that controls to display the training video stored in the storage unit on the second display unit, and a second detection unit that detects the movement of the user exercising in accordance with the training video displayed on the second display unit with higher accuracy than the first detection unit. The second control unit further calculates a difference between the movement of the user detected by the second detection unit and the movement shown in the training video, and controls to display an assistance video for assisting the user's exercise, which is generated based on the calculated difference, on the second display unit in conjunction with the display of the training video. The exercise support device acquires difference data indicating the difference calculated by the second control unit, and generates a model training video based on the acquired difference data. The home device acquires the model training video generated by the exercise support device via the communication path and stores it in the storage unit. The first control unit controls the display of a model training video stored in the memory unit on the first display unit, the second control unit generates a human body shape model of the user and calculates muscle strength based on the calculated difference, and displays the generated human body shape model and the calculated muscle strength as the support video on the second display unit, and the exercise support device calculates the difference between the human body shape model and muscle strength of the user and the instructor in the training video, and generates the model support video by adding and processing an image of an arrow indicating the direction to reduce the calculated difference to the human body shape model of the user .
上記目的を達成するために、本発明の一形態に係る運動支援方法は、宅内でのユーザによる運動のトレーニングを支援する宅内装置と、施設内での前記ユーザによる運動のトレーニングを支援する施設装置と、通信路を介して少なくとも前記宅内装置に接続される運動支援装置と、前記宅内装置、前記施設装置及び前記運動支援装置の何れかの装置に備えられ、手本となるトレーニング映像を保持する記憶部とを備える運動支援システムによる運動支援方法であって、前記宅内装置が、前記記憶部に保持されたトレーニング映像を第1表示部に表示させるステップと、前記宅内装置が、第1検出部を用いて、前記第1表示部に表示されたトレーニング映像に合わせて運動する前記ユーザの動きを検出するステップと、前記宅内装置が、前記第1検出部による検出結果に基づいて生成される、前記ユーザの運動を支援するための支援映像を前記トレーニング映像の表示に連動させて前記第1表示部に表示させるステップと、前記施設装置が、前記記憶部に保持されたトレーニング映像を第2表示部に表示させるステップと、前記施設装置が、第2検出部を用いて、前記第2表示部に表示されたトレーニング映像に合わせて運動する前記ユーザの動きを、前記第1検出部よりも高精度で検出するステップと、前記施設装置が、前記第2検出部によって検出された前記ユーザの動きと前記トレーニング映像が示す動きとの差異を算出し、算出した差異に基づいて生成される、前記ユーザの運動を支援するための支援映像を前記トレーニング映像の表示に連動させて前記第2表示部に表示させるステップと、前記運動支援装置が、前記施設装置で算出された差異を示す差異データを取得し、取得した差異データに基づいて、手本となるトレーニング映像を生成するステップと、前記宅内装置が、前記運動支援装置で生成された、手本となるトレーニング映像を、前記通信路を介して取得して前記記憶部に格納し、前記記憶部に保持された、手本となるトレーニング映像を前記第1表示部に表示させる制御をするステップとを含み、前記前記施設装置は、算出した差異に基づいて、前記ユーザの人体形状モデルを生成して筋力を算出し、生成した前記人体形状モデル及び算出した筋力を、前記支援映像として、前記第2表示部に表示させ、前記運動支援装置は、前記ユーザと前記トレーニング映像中のインストラクターの人体形状モデル及び筋力の差異を算出し、算出した前記差異を小さくする方向を示す矢印の画像を、前記ユーザの人体形状モデルに付加して加工することで、前記手本となる支援映像を生成する。 In order to achieve the above object, an exercise support method according to one embodiment of the present invention is an exercise support method using an exercise support system including an in-home device that supports exercise training by a user at home, a facility device that supports exercise training by the user in a facility, an exercise support device connected to at least the in-home device via a communication path, and a storage unit that is provided in any one of the in-home device, the facility device, and the exercise support device and stores a model training video, the method including a step of the in-home device causing a first display unit to display the training video stored in the storage unit, and a step of the in-home device detecting the training video using a first detection unit. the facility device detects the user's movements exercising in accordance with the training video displayed on the second display unit using a second detection unit with higher accuracy than the first detection unit; the facility device calculates a difference between the user's movements detected by the second detection unit and the movements shown in the training video, and displays an assistance video for supporting the user's exercise, which is generated based on the calculated difference, on the second display unit in conjunction with the display of the training video; the exercise support device acquires difference data indicating the difference calculated by the facility device, and generates a model training video based on the acquired difference data; the home device acquires the model training video generated by the exercise support device via the communication path and stores it in the storage unit; and a step of controlling the display of an example training video stored in the memory unit on the first display unit, wherein the facility device generates a human body shape model of the user and calculates muscle strength based on the calculated difference, and displays the generated human body shape model and the calculated muscle strength as the support video on the second display unit, and the exercise support device calculates the difference between the human body shape model and muscle strength of the user and the instructor in the training video, and adds and processes an image of an arrow indicating the direction in which to reduce the calculated difference to the human body shape model of the user, thereby generating the example support video .
本発明により、従来よりも効果的に運動を支援したり、ユーザに運動の習慣化を促して継続性を高めたりすることができる運動支援システム及び運動支援方法が提供される。The present invention provides an exercise support system and an exercise support method that can support exercise more effectively than ever before and encourage users to make exercise a habit and increase continuity.
以下、本発明の実施の形態について、図面を用いて詳細に説明する。なお、以下で説明する実施の形態は、いずれも本発明の一具体例を示す。以下の実施の形態で示される数値、形状、材料、構成要素、構成要素の配置位置及び接続形態、ステップ、ステップの順序等は、一例であり、本発明を限定する主旨ではない。また、各図は、必ずしも厳密に図示したものではない。各図において、実質的に同一の構成については同一の符号を付し、重複する説明は省略又は簡略化する。The following describes in detail the embodiments of the present invention with reference to the drawings. Each embodiment described below is a specific example of the present invention. The numerical values, shapes, materials, components, the arrangement and connection of the components, steps, and the order of steps shown in the following embodiments are merely examples and are not intended to limit the present invention. Furthermore, each figure is not necessarily an exact illustration. In each figure, substantially identical configurations are given the same reference numerals, and duplicate explanations are omitted or simplified.
  図1は、実施の形態に係る運動支援システム10の全体構成図である。運動支援システム10は、ユーザによる運動のトレーニングを支援するシステムであり、宅内でのユーザによる運動のトレーニングを支援する宅内装置20と、フィットネスジム(オフィス、商業施設、教育機関、医療機関、介護施設、アトラクション施設)等の施設内でインストラクターによる指導の下でユーザが運動のトレーニングをすることを支援する施設装置30と、インターネット等の通信路を介して宅内装置20及び施設装置30に接続されるエクササイズサーバとなる運動支援装置40とを備える。Figure 1 is an overall configuration diagram of an
  施設装置30は、宅内装置20に比べ、ユーザの運動における動きを高精度センシングすることで、ユーザのトレーニングを緻密かつ正確に支援することができる。この運動支援システム10は、施設装置30において高精度センシングされたユーザの動きが反映された、つまり、ユーザの個性を反映してユーザの運動を効果的に支援する手本となるトレーニング映像が運動支援装置40で生成されて宅内装置20にフィードバックされる点に特徴を有する。Compared to the
  図2は、図1に示される運動支援システム10の詳細な構成を示すブロック図である。Figure 2 is a block diagram showing a detailed configuration of the
  宅内装置20は、端末装置21と、端末装置21によって制御される周辺機器(照明装置22、音響装置23、プロジェクタ24、空調装置25)とで構成される。The
  端末装置21は、例えば、スマートフォン、タブレット等の携帯端末であり、カメラ21a、ディスプレイ21b、第1記憶部21c、第1制御部21dを備える。The
ディスプレイ21bは、手本となるトレーニング映像及びユーザの運動を支援するための支援映像を表示するための第1表示部の一例であり、例えば、液晶ディスプレイである。Display 21b is an example of a first display unit for displaying model training video and support video to assist the user in exercising, and is, for example, a liquid crystal display.
  第1記憶部21cは、手本となるトレーニング映像を保持するための記憶部であり、例えば、半導体不揮発性メモリである。The
カメラ21aは、ディスプレイ21bに表示されたトレーニング映像に合わせて運動するユーザの動きを検出する第1検出部の一例であり、例えば、デジタル撮像装置である。Camera 21a is an example of a first detection unit that detects the movements of the user exercising in accordance with the training video displayed on display 21b, and is, for example, a digital imaging device.
  第1制御部21dは、第1記憶部21cに保持されたトレーニング映像をディスプレイ21b及び/又はプロジェクタ24に表示させる制御をしたり、カメラ21aによる検出結果に基づいて、ユーザの運動を支援するための支援映像を生成し、生成した支援映像をトレーニング映像の表示に連動させてディスプレイ21b及び/又はプロジェクタ24に表示させる制御をしたりする。第1制御部21dは、プログラム等を格納するメモリ、プログラムを実行するCPU、周辺の構成要素と接続される入出力インタフェース、通信部21e等で構成される。通信部21eは、無線又は有線での通信によって、外部の機器である周辺機器(照明装置22、音響装置23、プロジェクタ24、空調装置25)、運動支援装置40、及び、施設装置30と通信する通信インタフェースであり、例えば、WiFi(登録商標)又は携帯電話網用の通信カードである。The
  なお、第1記憶部21cは、宅内装置20に設けられているとして説明したが、運動支援装置40の第3記憶部47または施設装置30の第2記憶部31cに設け、通信路を介して端末装置21にトレーニング映像を送信し、第1制御部21dにより、ディスプレイ21b及び/又はプロジェクタ24に表示させるようにしてもよい。Although the
  照明装置22は、ユーザがいる空間を照明する装置であり、例えば、シーリングライト等のLED照明装置であり、端末装置21による制御の下で、トレーニング映像又は支援映像に連動して調光及び調色を行うことでユーザの運動意欲を増進させる演出効果を発揮する機器として使用してもよい。The
  音響装置23は、ユーザがいる空間に楽曲等の音を提供するスピーカであり、端末装置21による制御の下で、トレーニング映像又は支援映像に含まれる音声を再生することでユーザの運動意欲を増進させるための演出効果を発揮する機器として使用される。The
  プロジェクタ24は、端末装置21が備えるディスプレイ21bに代えて、あるいは、ディスプレイ21bとともに、端末装置21による制御の下で、手本となるトレーニング映像及び支援映像を表示するための第1表示部の一例である。同様に第1端末装置21による制御の下で、トレーニング映像又は支援映像に連動して、ユーザの運動意欲を増進させる演出効果を発揮する機器として使用してもよい。なお、第1表示部の一例としては、AirPlay(登録商標)に対応したTV等であってもよい。The
  空調装置25は、ユーザがいる空間の空気を調整する装置であり、例えば、エアコン、空気清浄機、サーキュレーター、扇風機等であり、端末装置21による制御の下で、ユーザが運動するのに適した室温等の環境を維持する機器として使用される。The
  なお、端末装置21は、必ずしも携帯端末である必要はなく、デスクトップPC等の据置型の端末装置であってもよい。また、運動支援システム10の構成要素としては、端末装置21のディスプレイ21bとプロジェクタ24の両方は必ずしも必要ではなく、いずれか一方があればよい。また、運動支援システム10の構成要素として、カメラ21aは、端末装置21に備えられたものに限られず、それに代えて、あるいは、それに加えて、webカメラ等の外付けカメラであってもよい。また、周辺機器(照明装置22、音響装置23、プロジェクタ24、空調装置25)は、それぞれが独立した別個の機器である必要はなく、例えば、照明装置22は、音響装置23及びプロジェクタ24が組み込まれた一体のスマートライトであってもよい。また、周辺機器(照明装置22、音響装置23、プロジェクタ24、空調装置25)は、運動支援システム10の構成要素としては必ずしも必須の構成要素ではない。The
  施設装置30は、コントローラ31と、コントローラ31によって制御される周辺機器(照明装置32、音響装置33、プロジェクタ34、カメラ36a~36d、空調装置35、床面ロードセル37a、壁面ロードセル37b)とで構成される。The
  コントローラ31は、周辺機器を制御する装置であり、例えば、PC等のコンピュータ装置であり、第2記憶部31c及び第2制御部31aを備える。The
  第2記憶部31cは、手本となるトレーニング映像を保持するための記憶部であり、例えば、半導体不揮発性メモリである。The
  第2制御部31aは、第2記憶部31cに保持されたトレーニング映像をプロジェクタ34に表示させる制御をしたり、カメラ36a~36d、床面ロードセル37a及び壁面ロードセル37bによって検出されたユーザの動きとトレーニング映像が示す動きとの差異を算出し、算出した差異に基づいて、ユーザの運動を支援するための支援映像を生成し、生成した支援映像をトレーニング映像の表示に連動させてプロジェクタ34に表示させる制御をしたりする。第2制御部31aは、プログラム等を格納するメモリ、プログラムを実行するCPU、周辺の構成要素と接続される入出力インタフェース、通信部31b等で構成される。通信部31bは、無線又は有線での通信によって、外部の機器である周辺機器(照明装置32、音響装置33、プロジェクタ34、カメラ36a~36d、空調装置35、床面ロードセル37a、壁面ロードセル37b)、運動支援装置40、及び、宅内装置20と通信する通信インタフェースであり、例えば、WiFi(登録商標)又は携帯電話網用の通信カードである。The
  照明装置32は、ユーザがいる空間を照明する装置であり、例えば、シーリングライト等のLED照明装置であり、コントローラ31による制御の下で、トレーニング映像又は支援映像に連動して調光及び調色を行うことでユーザの運動意欲を増進させる演出効果を発揮する機器として使用される。なお、ここでいう調色には、フルカラー調色が含まれる。The
  音響装置33は、ユーザがいる空間に楽曲等の音声を提供するスピーカであり、コントローラ31による制御の下で、トレーニング映像又は支援映像に含まれる音声を再生することでユーザの運動意欲を増進させるための演出効果を発揮する機器として使用される。The
  カメラ36a~36dは、プロジェクタ34によって表示されたトレーニング映像に合わせて運動するユーザの動きを、宅内装置20を構成する第1検出部(つまり、カメラ21a)よりも高精度で検出する第2検出部の一例であり、例えば、デジタル撮像装置である。より詳しくは、カメラ36a~36dは、宅内装置20が備えるカメラ21aよりも広画角及び高フレームレートの少なくとも1つの機能をもつ高機能カメラである。
  プロジェクタ34は、コントローラ31による制御の下で、手本となるトレーニング映像及び支援映像を表示するための第2表示部の一例である。また、コントローラ31による制御の下で、トレーニング映像又は支援映像に連動して、ユーザの運動意欲を増進させる演出効果を発揮する機器として使用される。
  空調装置35は、ユーザがいる空間の空気を調整する装置であり、例えば、エアコン、空気清浄機、サーキュレーター、扇風機等であり、コントローラ31による制御の下で、ユーザが運動するのに適した室温等の環境を維持する機器として使用される。The
  床面ロードセル37a及び壁面ロードセル37bは、それぞれ、施設の床面及び壁面に対するユーザの押圧力を検出する、第2検出部に含まれる力センサの一例であり、2次元状に配置されたロードセルセンサを内蔵するシートである。The
  なお、施設装置30は、第2検出部として、4台のカメラ36a~36dを備えたが、宅内装置20を構成する第1検出部(つまり、カメラ21a)よりも高精度であれば、1台だけ備えてもよいし、2台、3台、5台以上備えてもよい。また、周辺機器(照明装置32、音響装置33、プロジェクタ34、カメラ36a~36d、空調装置35、床面ロードセル37a、壁面ロードセル37b)は、それぞれが独立した別個の機器である必要はなく、例えば、照明装置32は、音響装置33及びプロジェクタ34が組み込まれた一体のスマートライトであってもよい。また、照明装置32、音響装置33、空調装置35、床面ロードセル37a、及び、壁面ロードセル37bは、運動支援システム10の構成要素としては必ずしも必須の構成要素ではない。The
  なお、第2記憶部31cは、施設装置30に設けられているとして説明したが、運動支援装置40に設け、通信路を介して施設装置30にトレーニング映像を送信し、第2制御部31aにより、プロジェクタ34に表示させるようにしてもよい。In the above description, the
  運動支援装置40は、宅内装置20及び施設装置30をクライアントとするサーバ装置であり、例えば、プログラム等を格納するメモリ、プログラムを実行するCPU、周辺機器と接続される入出力インタフェース、通信部、周辺機器等で構成されるコンピュータ装置であり、機能的に、トレーニング映像生成部41を備える。また、手本となるトレーニング映像を保持する第3記憶部47を備えてもよい。The
  トレーニング映像生成部41は、施設装置30の第2制御部31aによって算出された、ユーザの動きとトレーニング映像が示す動きとの差異を示す差異データを、通信路を介して取得し、取得した差異データに基づいて、手本となるトレーニング映像を生成する。例えば、トレーニング映像生成部41は、施設装置30で使用されるものと同じトレーニング映像を第3記憶部47等の保持している。トレーニング映像生成部41は、そのトレーニング映像に対して、施設装置30から取得した差異データが示す差異を小さくする方向を示す矢印等の画像を付加したり、差異を小さくするようにガイドする音声を生成してトレーニング映像に含めたりする。The training video generating unit 41 acquires difference data, calculated by the
  これにより、端末装置21が、手本となるトレーニング映像を運動支援装置40からダウンロードして第1記憶部21cに格納し、宅内でのユーザによる運動時に再生することで、ユーザは、高精度な第2検出部(つまり、カメラ36a~36d)を備える施設装置30で生成された差異データを有効に活用した、ユーザの個性を反映したガイド付きのトレーニング映像を用いた効果的なトレーニングをすることができる。As a result, the
  なお、トレーニング映像生成部41は、通信路を介することなく、オフラインで、例えば、ユーザが所有する可搬型の記録媒体を介して、施設装置30から差異データを取得してもよい。The training video generator 41 may also obtain the difference data from the
  次に、以上のように構成される運動支援システム10の動作について、説明する。Next, we will explain the operation of the
  図3は、実施の形態に係る運動支援システム10における宅内装置20の動作(つまり、運動支援方法の一例)を示すフローチャートである。図4は、実施の形態に係る運動支援システム10における宅内装置20の動作の様子を示す図である。Figure 3 is a flowchart showing the operation of the in-
  宅内装置20の第1制御部21dは、通信部21eを介して、運動支援装置40、テレビ放送又はインターネット上のwebサイトから、手本となるトレーニング映像をダウンロードし、第1記憶部21cに格納する(S10)。The
  第1制御部21dは、第1記憶部21cに格納されたトレーニング映像をディスプレイ21b又はプロジェクタ24に表示させる制御をする(S11)。このとき、第1制御部21dは、トレーニング映像に含まれる音声を音響装置23で再生させてもよいし、トレーニング映像におけるインストラクターの動きの激しさを分析し、その分析結果に応じて、照明装置22及び音響装置23を制御することでユーザに演出効果を与えてもよいし、空調装置25を制御することでより快適な室温に調整してもよい。The
  第1制御部21dは、カメラ21aを用いて、ディスプレイ21b又はプロジェクタ24によって表示されたトレーニング映像に合わせて運動するユーザの動きを検出する(S12)。つまり、第1制御部21dは、カメラ21aを制御することで、カメラ21aに、運動するユーザの動きを撮影させる。The
  第1制御部21dは、カメラ21aによる検出結果に基づいて、ユーザの運動を支援するための支援映像を生成する(S13)。支援映像としては、カメラ21aによる撮影で得られたユーザの動きを示す映像であってもよいし、その映像に対して第1制御部21dによる解析によって生成された人体形状モデル(つまり、スケルトンモデル)等の加工された動画であってもよい。人体形状モデルは、例えば、人体の骨格に対応した複数個のセグメントと人体の関節に対応した複数個のジョイントとにより表現されるモデルである。The
  そして、第1制御部21dは、図4に示されるように、生成した支援映像24aをトレーニング映像24bの表示に連動させてディスプレイ21b及び/又はプロジェクタ24に表示させるとともに、支援映像に音声が含まれる場合には、その音声を音響装置23で再生させる制御をする(S14)。Then, as shown in FIG. 4, the
  このようにして、ユーザは、宅内で、手本となるトレーニング映像と自分の動きとを見比べながらトレーニングすることができる。このとき、手本となるトレーニング映像として、運動支援装置40で生成された、差異データを用いてユーザの個性が反映されたトレーニング映像をダウンロードしておくことで(S10)、効果的な運動が支援され、運動の習慣化が促進されて継続性が高められる。In this way, the user can train at home while comparing the model training video with their own movements. At this time, by downloading the model training video, which is generated by the
  なお、第1制御部21dは、ステップS10において、テレビ放送又はインターネット上のwebサイトから、運動支援装置40の第3記憶部47または施設装置30の第2記憶部31cに格納された手本となるトレーニング映像より、トレーニング映像をディスプレイ21b又はプロジェクタ24に表示させる制御をするようにしてもよい(S11)。In addition, in step S10, the
  図5は、実施の形態に係る運動支援システム10における施設装置30の動作(つまり、運動支援方法の一例)を示すフローチャートである。図6は、実施の形態に係る運動支援システム10における施設装置30の動作の様子を示す図である。Figure 5 is a flowchart showing the operation of the
  施設装置30の第2制御部31aは、通信部31bを介して、運動支援装置40、テレビ放送又はインターネット上のwebサイトから、手本となるトレーニング映像をダウンロードし、第2記憶部31cに格納する(S20)。The
  第2制御部31aは、第2記憶部31cに格納されたトレーニング映像をプロジェクタ34に表示させる制御をする(S21)。このとき、第2制御部31aは、トレーニング映像に含まれる音声を音響装置33で再生させてもよいし、トレーニング映像におけるインストラクターの動きの激しさを分析し、その分析結果に応じて、照明装置32及び音響装置33を制御することでユーザの運動意欲を増進させる演出効果を与えてもよいし、空調装置35を制御することでより快適な室温に調整してもよい。The
  第2制御部31aは、第2検出部(つまり、カメラ36a~36d、床面ロードセル37a及び壁面ロードセル37b)を用いて、プロジェクタ34によって表示されたトレーニング映像に合わせて運動するユーザの動きを高精度に検出する(S22)。この詳細は後述する。The
  そして、第2制御部31aは、第2検出部(つまり、カメラ36a~36d、床面ロードセル37a及び壁面ロードセル37b)によって検出されたユーザの動きとトレーニング映像が示す動きとの差異を算出し(S23a)、算出した差異に基づいて、ユーザの運動を支援するための高精度な支援映像を生成する(S23b)。例えば、第2制御部31aは、算出した差異に基づいて、ユーザの人体形状モデルを生成して筋力を算出し、生成した人体形状モデル及び算出した筋力を、支援映像として、生成する。この詳細は後述する。Then, the
  そして、第2制御部31aは、図6に示されるように、生成した支援映像51をトレーニング映像52の表示に連動させてプロジェクタ34に表示させるとともに、支援映像51に音声が含まれる場合には、その音声を音響装置33で再生させる制御をする(S24)。Then, as shown in FIG. 6, the
  なお、第2記憶部31cは、施設装置30に設けられているとして説明したが、運動支援装置40に設け、通信路を介してコントローラ31にトレーニング映像を送信し、第2制御部31aにより、プロジェクタ34に表示させるようにしてもよい。In the above description, the
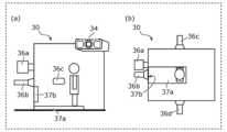
  図7A~図7Cは、カメラ36a~36d、床面ロードセル37a及び壁面ロードセル37bを用いてユーザの動きを高精度に検出するステップS22の詳細を説明する図である。Figures 7A to 7C are diagrams explaining the details of step S22, in which the user's movements are detected with high
  図7Aは、ユーザがトレーニングする場所(つまり、空間)におけるカメラ36a~36d、床面ロードセル37a及び壁面ロードセル37bの配置例を示す図である。図7Aの(a)は、ユーザがトレーニングする場所(つまり、空間)を水平方向から見た図である。図7Aの(b)は、ユーザがトレーニングする場所(つまり、空間)を鉛直上方から見た図である。ユーザの正面には、ユーザの顔をズームして撮影するカメラ36aが配置され、ユーザの正面及び左右の壁には、ユーザの動きをキャプチャするKinect(マイクロソフト社の商標)を構成するカメラ36b~36dが配置され、床には、シート状の床面ロードセル37aが配置され、ユーザの正面の壁面には、シート状の壁面ロードセル37bが配置されている。Figure 7A is a diagram showing an example of the arrangement of
  図7Bは、カメラ36a~36d、床面ロードセル37a及び壁面ロードセル37bを用いた第2制御部31aによるユーザの動きの検出例を示す図である。ここでは、カメラ36b~36dで撮影された映像に対して生成される人体形状モデルの関節の位置が丸印で示されている。Figure 7B is a diagram showing an example of detection of a user's movement by the
  図7Cは、床面ロードセル37aによるユーザの重心位置の検出例を示す。図7Cの(a)は、床面ロードセル37aの上に静止して立つユーザと(左側の図)、そのときに床面ロードセル37aによって検出されるユーザの重心位置(右側の図における丸印37c)が示されている。図7Cの(b)は、床面ロードセル37aの上で動くユーザと(左側の図)、そのときに床面ロードセル37aによって検出されるユーザの重心位置(右側の図における丸印37c)が示されている。Figure 7C shows an example of detection of a user's center of gravity position by
図8は、図5におけるステップS23a及びS23bの詳細を示すフローチャートである。Figure 8 is a flowchart showing the details of steps S23a and S23b in Figure 5.
  第2制御部31aは、カメラ36b~36dで得られたユーザの動きを示す映像を解析することで、ユーザの人体形状モデルを生成して筋力を算出する(S23a1)。同様にして、第2制御部31aは、トレーニング映像を解析することで、トレーニング映像中のインストラクターの人体形状モデルを生成して筋力を算出する(S23a2)。The
  より具体的には、人体形状モデルの生成については、第2制御部31aは、カメラ36b~36dで得られた映像から、高速な物体検出が可能なYOLO(You  Only  Look  Once)やSSD(Single  Shot  Multibox  Detector)の手法により、ユーザの領域を抽出する。そして、抽出した領域に対して、例えば、CPN(Cascaded  Pyramid  Network)などの手法を用いて、各フレームの人物画像から骨格点を抽出し、各骨格点を結び、複数の体節及び関節を備えた三次元の人体形状モデルを生成する。また、筋力については、第2制御部31aは、人体形状モデルが運動を行う際の関節ごとの関節力を算出し、人体形状モデルにおける関節ごとに当該関節を支持する複数の筋肉について当該筋肉の体積及び当該筋肉が体節に付着する位置を定める筋肉モデル(筋肉・筋力データベース)から、人体形状モデルにおける関節ごとに関節力から求められる筋力を、当該関節を支持する複数の筋肉の断面積に応じて配分することにより筋肉ごとの筋力を算出する(特開2013-68979号公報(特許文献2)参照)。More specifically, to generate the human body shape model, the
  そして、第2制御部31aは、ユーザとインストラクターの人体形状モデル及び筋力の差異を算出し(S23a3)、その差異を小さくする方向を示す矢印等の画像を、算出されたユーザの人体形状モデルに付加して加工することで、支援映像として、生成する(S23b1)。このとき、第2制御部31aは、算出した差異を説明する音声、又は、その差異を小さくするようにガイドする音声を生成して、支援映像に含めてもよい。Then, the
  次に、第2制御部31aは、床面ロードセル37a及び壁面ロードセル37bで検出された押圧力を用いて、映像から算出したユーザの筋力を補正する(S23b2)。例えば、第2制御部31aは、映像から算出したユーザの筋力に対して、床面ロードセル37a及び壁面ロードセル37bで検出された押圧力から算出される筋力に近づける補正をする。Next, the
  さらに、第2制御部31aは、床面ロードセル37a及び壁面ロードセル37bで検出された押圧力から、生成された人体形状モデルの重心位置を補正する(S23b3)。例えば、第2制御部31aは、映像から算出したユーザの人体形状モデルの重心位置に対して、床面ロードセル37aで検出された重心位置に近づける補正をする。Furthermore, the
  このようにして補正された人体形状モデル及び筋力が、支援映像として、トレーニング映像の表示に連動させてプロジェクタ34に表示されるとともに、支援映像に含まれる音声が音響装置33で再生される。The human body shape model and muscle forces thus corrected are displayed as support images on the
  図9は、実施の形態に係る施設装置30のプロジェクタ34による支援映像51及びトレーニング映像52の表示例を示す図である。本図に示されるように、支援映像51は、ユーザの正面の壁の左側に表示され、運動するユーザの輪郭51a、人体形状モデル51b、筋力51c、及び、手本となるトレーニング映像52に近づける方向を示す矢印51dで構成される。トレーニング映像52は、ユーザの正面の壁の右側に表示され、映像中のインストラクターの輪郭52a、人体形状モデル52b、及び、筋力52cで構成される。Figure 9 is a diagram showing an example of the display of
  このようにして、ユーザは、フィットネスジム等に設置された施設装置30を利用することで、宅内でトレーニングする場合に比べ、トレーニング映像との差異を、高精度かつ多面的に知ることができ、効率的に、手本となるトレーニング映像に映っているインストラクターの動きに近づくトレーニングをすることができる。In this way, by using the
  なお、施設装置30は、運動しているユーザの状態に応じてトレーニング映像を変更する機能を有している。図10は、運動しているユーザの状態に応じてトレーニング映像を変更する施設装置30の動きを示すフローチャートである。The
  第2制御部31aは、カメラ36aによって撮影された、運動しているユーザの顔画像から、ユーザの感情を推定する(S30)。具体的には、第2制御部31aは、ユーザの顔画像から、顔の色、血流変化に伴う心拍数等の生理学データと、顔の特徴点の位置で特定される表情等の非生理学データを取得し、取得したこれらのデータに基づいて、ユーザの覚醒値と快適値とを算出し、ユーザのトレーニング状況から、「リラックスしている」、「辛い」等の感情を推定するとともに、推定した感情の程度(「リラックス感」、「辛さ」)を算出する(特開2017-144222号公報(特許文献3)参照)。The
  そして、第2制御部31aは、推定した感情が示すリラックス感が閾値よりも大きい場合(つまり、最も照合度の高い感情が「リラックス」であり、その照合度が閾値を超える場合)には(S31でYes)、表示しているトレーニング映像をより高い運動負荷のトレーニング映像に変更する(S32)。例えば、第2制御部31aは、トレーニング映像の再生速度を早める。Then, when the sense of relaxation indicated by the estimated emotion is greater than the threshold value (i.e., when the emotion with the highest matching degree is "relaxed" and its matching degree exceeds the threshold value) (Yes in S31), the
  また、第2制御部31aは、推定した感情が示す辛さが閾値よりも大きい場合(つまり、最も照合度の高い感情が「辛い」であり、その照合度が閾値を超える場合)には(S33でYes)、表示しているトレーニング映像をより低い運動負荷のトレーニング映像に変更する(S34)。例えば、第2制御部31aは、トレーニング映像の再生速度を遅くする。Furthermore, when the degree of difficulty indicated by the estimated emotion is greater than the threshold (i.e., when the emotion with the highest degree of matching is "difficult" and its degree of matching exceeds the threshold) (Yes in S33), the
このような感情推定によるトレーニング映像の変更により、ユーザに与えられる運動負荷は、ユーザの運動能力及びコンディションに応じた値となり、ユーザに対する運動支援が効果的に行われる。By modifying the training video based on such emotion estimation, the exercise load given to the user is determined according to the user's athletic ability and condition, providing effective exercise support to the user.
  なお、上記実施の形態では、宅内装置20及び施設装置30は、ユーザの運動を支援するための支援映像を生成する等の各種処理を実行したが、これに加えて、あるいは、これに代えて、運動支援装置がサーバ装置として各種処理を実行してもよい。In the above embodiment, the in-
  図11は、実施の形態の変形例に係る運動支援システム10aにおける運動支援装置40aの構成を示すブロック図である。この運動支援装置40aは、上記実施の形態に係る運動支援装置40が備えるトレーニング映像生成部41に加えて、人体形状モデル生成部42、筋力算出部43、支援映像生成部44及び感情推定部45を備える。FIG. 11 is a block diagram showing the configuration of an
  人体形状モデル生成部42は、宅内装置20及び施設装置30から送られてくる、カメラで得られたユーザの動きを示す映像を解析することで、ユーザの人体形状モデルを生成したり、予め保持しているトレーニング映像を解析することで、トレーニング映像中のインストラクターの人体形状モデルを生成したりする。The human body shape
  筋力算出部43は、宅内装置20及び施設装置30から送られてくる、カメラで得られたユーザの動きを示す映像を解析することで、ユーザの筋力を算出したり、予め保持しているトレーニング映像を解析することで、トレーニング映像中のインストラクターの筋力を算出したりする。The muscle
  上記人体形状モデル生成部42及び上記筋力算出部43の機能は、上記実施の形態における図8のフローチャートのステップS23a1及びS23a2の処理に相当する。The functions of the human body shape
  支援映像生成部44は、人体形状モデル生成部42及び筋力算出部43によって生成及び算出されたユーザとインストラクターの人体形状モデル及び筋力の差異を算出し、その差異を小さくする方向を示す矢印等の画像を、生成されたユーザの人体形状モデルに付加して加工することで、支援映像として生成する。このとき、施設装置30から送られてくる床面ロードセル37a及び壁面ロードセル37bで検出された押圧力を用いて、筋力算出部43によって算出されたユーザの筋力を補正してもよいし、その押圧力から、人体形状モデル生成部42で生成された人体形状モデルの重心位置を補正してもよい。この支援映像生成部44の機能は、上記実施の形態における図8のフローチャートのステップS23a3~S23b3の処理に相当する。The support
  感情推定部45は、施設装置30から送られてくる、カメラ36aによって撮影された運動しているユーザの顔画像から、ユーザの感情を推定する。この感情推定部45の機能は、上記実施の形態における図10のフローチャートのステップS30の処理に相当する。The
  図12Aは、実施の形態の変形例に係る運動支援システム10aにおける宅内装置20と運動支援装置40aとのやりとりを示す通信シーケンス図である。図12Aの(a)は、宅内装置20から運動支援装置40aに対して、宅内装置20のカメラ21aで得られたユーザの動きを示す映像がアップロードされる処理が繰り返されるシーケンスを示している。図12Aの(b)は、運動支援装置40aから宅内装置20に対して、運動支援装置40aの人体形状モデル生成部42、筋力算出部43及び支援映像生成部44によって生成された支援映像がストリーミング配信されるシーケンスを示している。図12Aの(a)に示されるシーケンスと図12Aの(b)に示されるシーケンスとは、並行して行われる。このようなシーケンスにより、宅内装置20は、リアルタイムで、運動支援装置40aで生成された支援映像を用いてユーザの運動を支援できる。12A is a communication sequence diagram showing the exchange between the
  図12Bは、実施の形態の変形例に係る運動支援システム10aにおける施設装置30と運動支援装置40aとのやりとりを示す通信シーケンス図である。図12Bの(a)は、施設装置30から運動支援装置40aに対して、施設装置30のカメラ36a~36dで得られたユーザの動きを示す映像、及び、床面ロードセル37a及び壁面ロードセル37bで検出されたユーザの押圧力のデータがアップロードされる処理が繰り返されるシーケンスを示している。図12Bの(b)は、運動支援装置40aから施設装置30に対して、運動支援装置40aの人体形状モデル生成部42、筋力算出部43及び支援映像生成部44によって生成された支援映像がストリーミングされ、運動支援装置40aの感情推定部45で推定された感情を示すデータのダウンロードが繰り返されるシーケンスが示されている。図12Bの(a)に示されるシーケンスと図12Bの(b)に示されるシーケンスとは、並行して行われる。このようなシーケンスにより、施設装置30は、リアルタイムで、運動支援装置40aで生成された支援映像を用いユーザの運動を支援したり、ユーザの感情に応じてトレーニング映像の負荷を調整したりできる。Figure 12B is a communication sequence diagram showing the exchange between the
  なお、図12A及び図12Bにおけるシーケンスの繰り返しは、例えば、運動支援装置40aにアップロードされる映像における所定単位(所定のフレーム数、所定時間、映像における各シーン)で行われる。Note that the sequence in Figures 12A and 12B is repeated, for example, at a predetermined unit (a predetermined number of frames, a predetermined time, or each scene in the video) in the video uploaded to the
  また、宅内装置20、施設装置30及び運動支援装置40aは、トレーニング映像の取得において、テレビ放送又はインターネット上のwebサイトからスポーツ選手又はインストラクターの運動映像を取得し、取得した運動映像から人体形状モデルを生成して筋力を算出し、生成した人体形状モデル及び算出した筋力を付加したトレーニング映像を生成してもよい。In addition, when acquiring training footage, the in-
  以上のように、本実施の形態に係る運動支援システム10は、宅内でのユーザによる運動のトレーニングを支援する宅内装置20と、施設内でのユーザによる運動のトレーニングを支援する施設装置30と、通信路を介して少なくとも宅内装置20に接続される運動支援装置40と、宅内装置20、施設装置30及び運動支援装置40の何れかの装置に備えられ、手本となるトレーニング映像を保持する記憶部とを備え、宅内装置20は、映像を表示するディスプレイ21b及び/又はプロジェクタ24等の第1表示部と、記憶部に保持されたトレーニング映像を第1表示部に表示させる制御をする第1制御部21dと、第1表示部に表示されたトレーニング映像に合わせて運動するユーザの動きを検出するカメラ21a等の第1検出部とを有し、第1制御部21dは、さらに、第1検出部による検出結果に基づいて生成される、ユーザの運動を支援するための支援映像をトレーニング映像の表示に連動させて第1表示部に表示させる制御をし、施設装置30は、映像を表示するプロジェクタ34等の第2表示部と、記憶部に保持されたトレーニング映像を第2表示部に表示させる制御をする第2制御部31aと、第2表示部に表示されたトレーニング映像に合わせて運動するユーザの動きを、宅内装置20の第1検出部よりも高精度で検出するカメラ36a~36d等の第2検出部とを有し、第2制御部31aは、さらに、第2検出部によって検出されたユーザの動きとトレーニング映像が示す動きとの差異を算出し、算出した差異に基づいて生成される、ユーザの運動を支援するための支援映像をトレーニング映像の表示に連動させて第2表示部に表示させる制御をし、運動支援装置40は、施設装置30の第2制御部31aによって算出された差異を示す差異データを取得し、取得した差異データに基づいて、手本となるトレーニング映像を生成し、宅内装置20は、運動支援装置40で生成されたトレーニング映像を、通信路を介して取得して記憶部に格納する。As described above, the
  なお、上記記憶部は、それぞれ宅内装置20および施設装置30に、第1記憶部21c、第2記憶部31cとして設けられ、宅内装置20の第1制御部21eは、第1記憶部21cに保持されたトレーニング映像を第1表示部に表示させる制御を行い、施設装置20の第2制御部31dは、第2記憶部31cに保持されたトレーニング映像を第2表示部に表示させる制御を行い、宅内装置30は、運動支援装置40で生成されたトレーニング映像を、通信路を介して取得して第1記憶部21cに格納してもよい。The above-mentioned storage units are provided as a
  これにより、施設装置30における高精度センシングで得られた、トレーニング映像が示す動きとユーザの動きとの差異に関する情報が、運動支援装置40を介して宅内装置20にフィードバックされる。つまり、宅内装置20では、ユーザは、ユーザの個性が反映されたユーザに好適なトレーニング映像を用いて、運動のトレーニングをすることができる。よって、従来よりも効果的な運動を支援したり、ユーザに運動の習慣化を促して継続性を高めたりすることができる運動支援システムが実現される。In this way, information regarding the difference between the movements shown in the training video and the user's movements, obtained by high-precision sensing in the
  また、宅内装置20において、第1表示部としてのディスプレイ21b、第1記憶部21c、第1制御部21d、及び、第1検出部としてのカメラ21aは、1台のスマートフォン等の端末装置21を構成する。これにより、ユーザは、スマートフォン等の端末装置を用いて、手軽に、宅内で、運動のトレーニングをすることができる。In addition, in the in-
  また、宅内装置20において、第1表示部は、プロジェクタ24であり、第1記憶部21c、第1制御部21d、及び、第1検出部としてのカメラ21aは、プロジェクタ24と通信路で接続される1台の端末装置21を構成してもよい。これにより、ユーザは、宅内で、プロジェクタ24による大画面を用いて、施設装置30に近い環境で、運動のトレーニングをできる。In addition, in the
  また、施設装置30では、第2制御部31aは、さらに、トレーニング映像の表示に連動させて、ユーザがいる空間に、ユーザの運動意欲を増進させる映像及び音響の少なくとも1つを提供する制御をする。これにより、施設装置30では、運動するユーザに演出効果が提供され、ユーザの運動意欲が増進される。In addition, in the
  また、宅内装置20の第1検出部は、1つのカメラ21aであり、施設装置30では、第2検出部は、宅内装置20のカメラ21aよりも広画角及び高フレームレートの少なくとも1つの機能をもつ1つ又は複数のカメラ36a~36dであり、第2表示部は、プロジェクタ34である。これにより、施設装置30では、ユーザの動きが高精度にセンシングされ、効果的にユーザの運動が支援され得る。The first detector of the
  また、運動支援装置40は、テレビ放送又はインターネット上のwebサイトからスポーツ選手又はインストラクターの運動映像を取得し、取得した運動映像から人体形状モデルを生成して筋力を算出し、生成した人体形状モデル及び算出した筋力を用いてトレーニング映像を生成する。これにより、専門の制作会社に委託して場合に比べ、時間及びコストをかけることなく、質の良いトレーニング映像が生成される。The
  また、施設装置30では、第2制御部31aは、算出した差異に基づいて、ユーザの人体形状モデルを生成して筋力を算出し、生成した人体形状モデル及び算出した筋力を、支援映像として、第2表示部としてのプロジェクタ34に表示させる。これにより、施設装置30では、ユーザは、表示された人体形状モデル及び筋力を確認することで、トレーニング映像と自分の動きとの差異を直感的に把握でき、効率よくスキルアップを図ることができる。In addition, in the
  また、第2検出部は、施設の床面及び壁面の少なくとも1つに対するユーザの押圧力を検出する力センサとしての床面ロードセル37a及び壁面ロードセル37bを含む。そして、)第2制御部31aは、床面ロードセル37a及び壁面ロードセル37bで検出された押圧力から、算出した筋力を補正する。これにより、ユーザによる現実の押圧力を反映した正確な筋力が算出される。The second detection unit also includes a
  また、第2制御部31aは、力センサとしての床面ロードセル37a及び壁面ロードセル37bで検出された押圧力から、生成した人体形状モデルの重心位置を補正する。これにより、ユーザによる現実の体重移動を反映した正確な重心位置が算出される。The
  また、第2検出部は、ユーザの顔を撮影するカメラ36aを含み、第2制御部31aは、カメラ36aによって撮影されたユーザの顔から、ユーザの感情を推定し、推定した感情が示すリラックス感が閾値よりも大きい場合には、表示しているトレーニング映像をより高い運動負荷のトレーニング映像に変更し、推定した感情が示す辛さが閾値よりも大きい場合には、表示しているトレーニング映像をより低い運動負荷のトレーニング映像に変更する。これにより、ユーザに与えられる運動負荷は、ユーザの運動能力及びコンディションに応じた値となり、ユーザに対する運動支援が効果的に行われる。The second detection unit also includes a
  また、本発明は、宅内装置20又は施設装置30が有するプログラムとして実現されてもよい。そのプログラムは、運動支援システム10における宅内装置20又は施設装置30が備えるコンピュータが実行するプログラムであって、記憶部に保持されたトレーニング映像を表示部に表示させる制御をするトレーニング映像表示ステップと、表示部に表示されたトレーニング映像に合わせて運動するユーザの動きを、検出部を用いて検出する検出ステップと、検出部による検出結果に基づいて生成される支援映像をトレーニング映像の表示に連動させて表示部に表示させる制御をする支援映像表示ステップとを含む。The present invention may also be realized as a program possessed by the
  このようなプログラムにより、従来よりも効果的な運動を支援したり、ユーザに運動の習慣化を促して継続性を高めたりすることができる運動支援システムの宅内装置20又は施設装置30が実現される。This program realizes an in-
  また、さらに、検出ステップでの検出結果を、通信路を介して運動支援装置40aに送信し、送信した検出結果に基づいて運動支援装置40aで生成された支援映像を取得する通信ステップを含み、支援映像表示ステップでは、通信ステップで取得された支援映像をトレーニング映像の表示に連動させて表示部に表示させる。これにより、サーバ装置としての運動支援装置40aと連携して動作するクライントプログラムが実現される。Furthermore, the method includes a communication step of transmitting the detection result in the detection step to the
  また、本発明は、宅内装置20又は施設装置30が有するプログラムとして実現されてもよい。そのプログラムは、宅内装置20又は施設装置30が備えるコンピュータが実行するプログラムであって、テレビ放送又はインターネット上のwebサイトからスポーツ選手又はインストラクターの運動映像を取得し、取得した運動映像から人体形状モデルを生成して筋力を算出し、生成した人体形状モデル及び算出した筋力を用いてトレーニング映像を生成し、第1記憶部21c又は第2記憶部31cに格納するステップを含む。これにより、専門の制作会社に委託して場合に比べ、時間及びコストをかけることなく、質の良いトレーニング映像が生成される。The present invention may also be realized as a program included in the in-
また、本発明は、宅内でのユーザによる運動のトレーニングを支援する宅内装置20と、施設内でのユーザによる運動のトレーニングを支援する施設装置30と、通信路を介して宅内装置20及び施設装置30に接続される運動支援装置40と、宅内装置20、施設装置30及び運動支援装置40の何れかの装置に備えられ、手本となるトレーニング映像を保持する記憶部とを備える運動支援システム10による運動支援方法であって、宅内装置20が、記憶部に保持されたトレーニング映像をディスプレイ21b等の第1表示部に表示させるステップと、宅内装置20が、カメラ21a等の第1検出部を用いて、第1表示部に表示されたトレーニング映像に合わせて運動するユーザの動きを検出するステップと、宅内装置20が、第1検出部による検出結果に基づいて生成される、ユーザの運動を支援するための支援映像をトレーニング映像の表示に連動させて第1表示部に表示させるステップと、施設装置30が、記憶部に保持されたトレーニング映像を第2表示部に表示させるステップと、施設装置30が、カメラ36a~36d等の第2検出部を用いて、第2表示部に表示されたトレーニング映像に合わせて運動するユーザの動きを、宅内装置20の第1検出部よりも高精度で検出するステップと、施設装置30が、第2検出部によって検出されたユーザの動きとトレーニング映像が示す動きとの差異を算出し、算出した差異に基づいて生成される、ユーザの運動を支援するための支援映像をトレーニング映像の表示に連動させてプロジェクタ34等の第2表示部に表示させるステップと、運動支援装置40が、施設装置30で算出された差異を示す差異データを取得し、取得した差異データに基づいて、手本となるトレーニング映像を生成するステップと、宅内装置20が、運動支援装置40で生成されたトレーニング映像を、通信路を介して取得して記憶部に格納するステップとを含む。The present invention also relates to an exercise support method using an exercise support system 10 including an in-home device 20 that supports exercise training by a user at home, a facility device 30 that supports exercise training by a user at a facility, an exercise support device 40 connected to the in-home device 20 and the facility device 30 via a communication path, and a memory unit provided in any of the in-home device 20, the facility device 30, and the exercise support device 40 and that stores a model training video, the method including the steps of: causing the in-home device 20 to display the training video stored in the memory unit on a first display unit such as a display 21b; causing the in-home device 20 to detect the movements of the user exercising in accordance with the training video displayed on the first display unit using a first detection unit such as a camera 21a; and causing the in-home device 20 to display an support video for supporting the user's exercise, which is generated based on the detection result by the first detection unit, on the first display unit in conjunction with the display of the training video; The facility device 30 displays the training video stored in the storage unit on the second display unit; the facility device 30 detects the user's movements, who is exercising in accordance with the training video displayed on the second display unit, using a second detection unit such as cameras 36a to 36d, with a higher accuracy than the first detection unit of the home device 20; the facility device 30 calculates the difference between the user's movements detected by the second detection unit and the movements shown in the training video, and displays the support video for supporting the user's exercise, which is generated based on the calculated difference, on the second display unit such as projector 34 in conjunction with the display of the training video; the exercise support device 40 acquires difference data indicating the difference calculated by the facility device 30, and generates a model training video based on the acquired difference data; and the home device 20 acquires the training video generated by the exercise support device 40 via a communication path and stores it in the storage unit.
  これにより、施設装置30における高精度センシングで得られた、トレーニング映像が示す動きとユーザの動きとの差異に関する情報が、運動支援装置40を介して宅内装置20にフィードバックされ、従来よりも運動の習慣化を促して継続性を高めることができる運動支援システムが実現される。In this way, information regarding the difference between the movements shown in the training video and the user's movements, obtained by high-precision sensing in the
以上、本発明に係る運動支援システム及び運動支援方法について、実施の形態及び変形例に基づいて説明したが、本発明は、これらの実施の形態及び変形例に限定されるものではない。本発明の主旨を逸脱しない限り、当業者が思いつく各種変形を実施の形態及び変形例に施したものや、実施の形態及び変形例における一部の構成要素を組み合わせて構築される別の形態も、本発明の範囲内に含まれる。The exercise support system and exercise support method according to the present invention have been described above based on the embodiments and modifications, but the present invention is not limited to these embodiments and modifications. As long as they do not deviate from the spirit of the present invention, various modifications conceived by a person skilled in the art to the embodiments and modifications, and other forms constructed by combining some of the components in the embodiments and modifications, are also included within the scope of the present invention.
  例えば、上記実施の形態では、トレーニング映像生成部41は、運動支援装置40に備えられたが、宅内装置20の端末装置21に備えられてもよい。その場合には、宅内装置20の端末装置21が、運動支援装置40に代えて、施設装置30で生成された差異データを取得し、取得した差異データに基づいて、手本となるトレーニング映像を生成して第1記憶部21cに格納する。For example, in the above embodiment, the training video generating unit 41 is provided in the
  また、上記実施の形態では、施設装置30に床面ロードセル37a及び壁面ロードセル37bが設けられたが、宅内装置20にも設けられてもよい。その場合には、宅内装置20に設けられた床面ロードセル及び壁面ロードセルで検出されたユーザの押圧力のデータが運動支援装置40aにアップロードされ、運動支援装置40aの感情推定部45で感情推定がされ、推定された感情を示すデータが宅内装置20にダウンロードされ、宅内でのトレーニング映像の負荷の調整に用いられる。In the above embodiment, the
また、感情推定の方法は、上記実施の形態で説明したものに限られず、低運動負荷時、あるいは、高運動負荷時のユーザの顔画像をディープラーニングで学習し、ユーザの顔画像を、感情データベースと比較することにより、どの感情であるか推定するようにしてもよい。この場合、多層ネットワークに特徴量を学習させる他、当該特徴量として、目の開き具合や、眉毛間の距離、眉間の皺、口元等を指定する機械学習を行っても良い。Furthermore, the method of emotion estimation is not limited to that described in the above embodiment, and it is also possible to learn facial images of the user during low or high exercise loads using deep learning, and to infer the emotion of the user by comparing the facial images with an emotion database. In this case, in addition to having the multi-layer network learn the features, machine learning may be performed to specify the degree of eye opening, the distance between eyebrows, wrinkles between the eyebrows, mouth, etc. as the features.
  また、運動支援装置40及び40aは、1台で構成される態様に限られず、例えば、処理機能に応じて分散された複数のサーバ装置で構成されてもよい。Furthermore, the
本発明は、トレーニング映像を用いてユーザの運動を支援する運動支援システムとして、特に、従来よりも効果的に運動を支援したり、ユーザに運動の習慣化を促して継続性を高めたりすることができる、宅内装置と施設装置とを含む運動支援システムとして、利用できる。The present invention can be used as an exercise support system that supports a user's exercise using training video, and in particular as an exercise support system that includes an in-home device and a facility device, which can support exercise more effectively than conventional methods and encourage users to make exercise a habit and increase continuity.
  10、10a  運動支援システム
  20  宅内装置
  21  端末装置
  21a、36a~36d  カメラ
  21c  第1記憶部
  21d  第1制御部
  24、34  プロジェクタ
  24a、51  支援映像
  24b、52  トレーニング映像
  30  施設装置
  31a  第2制御部
  31c  第2記憶部
  40、40a  運動支援装置  10, 10a
| Application Number | Priority Date | Filing Date | Title | 
|---|---|---|---|
| JP2021028345AJP7668459B2 (en) | 2021-02-25 | 2021-02-25 | Exercise support system and exercise support method | 
| Application Number | Priority Date | Filing Date | Title | 
|---|---|---|---|
| JP2021028345AJP7668459B2 (en) | 2021-02-25 | 2021-02-25 | Exercise support system and exercise support method | 
| Publication Number | Publication Date | 
|---|---|
| JP2022129615A JP2022129615A (en) | 2022-09-06 | 
| JP7668459B2true JP7668459B2 (en) | 2025-04-25 | 
| Application Number | Title | Priority Date | Filing Date | 
|---|---|---|---|
| JP2021028345AActiveJP7668459B2 (en) | 2021-02-25 | 2021-02-25 | Exercise support system and exercise support method | 
| Country | Link | 
|---|---|
| JP (1) | JP7668459B2 (en) | 
| Publication number | Priority date | Publication date | Assignee | Title | 
|---|---|---|---|---|
| JP2006302122A (en) | 2005-04-22 | 2006-11-02 | Nippon Telegr & Teleph Corp <Ntt> | Exercise support system, user terminal device thereof, and exercise support program | 
| JP2020048827A (en) | 2018-09-26 | 2020-04-02 | Kddi株式会社 | Information processing device, support method, and support system | 
| JP2020195573A (en) | 2019-06-03 | 2020-12-10 | Kddi株式会社 | Training evaluation device, method, and program | 
| Publication number | Priority date | Publication date | Assignee | Title | 
|---|---|---|---|---|
| JP2006302122A (en) | 2005-04-22 | 2006-11-02 | Nippon Telegr & Teleph Corp <Ntt> | Exercise support system, user terminal device thereof, and exercise support program | 
| JP2020048827A (en) | 2018-09-26 | 2020-04-02 | Kddi株式会社 | Information processing device, support method, and support system | 
| JP2020195573A (en) | 2019-06-03 | 2020-12-10 | Kddi株式会社 | Training evaluation device, method, and program | 
| Publication number | Publication date | 
|---|---|
| JP2022129615A (en) | 2022-09-06 | 
| Publication | Publication Date | Title | 
|---|---|---|
| US20220314078A1 (en) | Virtual environment workout controls | |
| CN111936036B (en) | Using biometric sensor data to detect neurological status to guide in-situ entertainment | |
| US11511158B2 (en) | User interface system for an interactive exercise machine | |
| CN113164808A (en) | Body-building apparatus controller based on control sequence | |
| EP3738230A1 (en) | Content generation and control using sensor data for detection of neurological state | |
| EP2203896B1 (en) | Method and system for selecting the viewing configuration of a rendered figure | |
| CN107341351A (en) | Intelligent body-building method, apparatus and system | |
| JP2006320424A (en) | Action teaching apparatus and method | |
| US12394509B2 (en) | Artificially intelligent remote physical therapy and assessment of patients | |
| KR102286043B1 (en) | Apparatus and method for managing rehabilitation exercise | |
| US20240135617A1 (en) | Online interactive platform with motion detection | |
| JP7066115B2 (en) | Public speaking support device and program | |
| EP2482935B1 (en) | System for supporting a user to do exercises | |
| CN103830822A (en) | Method for carrying out psychological guidance through sport system with feedback adjustment mechanism | |
| CA3202853A1 (en) | Exercise apparatus with integrated immersive display | |
| JP7668459B2 (en) | Exercise support system and exercise support method | |
| JP2020099550A (en) | Improvement of VDT syndrome and fibromyalgia | |
| JP2022129532A (en) | Exercise support program | |
| US12179062B1 (en) | Measurement and testing system | |
| WO2023026529A1 (en) | Information processing device, information processing method, and program | |
| JP2024071015A (en) | Information processing device, information processing method, and program | |
| KR20220116914A (en) | Art education device for performing virtual reality based practical skills | |
| Prabhakaran et al. | Message from the Chairpersons | 
| Date | Code | Title | Description | 
|---|---|---|---|
| A621 | Written request for application examination | Free format text:JAPANESE INTERMEDIATE CODE: A621 Effective date:20231201 | |
| A977 | Report on retrieval | Free format text:JAPANESE INTERMEDIATE CODE: A971007 Effective date:20240926 | |
| A131 | Notification of reasons for refusal | Free format text:JAPANESE INTERMEDIATE CODE: A131 Effective date:20241008 | |
| A521 | Request for written amendment filed | Free format text:JAPANESE INTERMEDIATE CODE: A523 Effective date:20241206 | |
| A131 | Notification of reasons for refusal | Free format text:JAPANESE INTERMEDIATE CODE: A131 Effective date:20241217 | |
| A521 | Request for written amendment filed | Free format text:JAPANESE INTERMEDIATE CODE: A523 Effective date:20250129 | |
| TRDD | Decision of grant or rejection written | ||
| A01 | Written decision to grant a patent or to grant a registration (utility model) | Free format text:JAPANESE INTERMEDIATE CODE: A01 Effective date:20250325 | |
| A61 | First payment of annual fees (during grant procedure) | Free format text:JAPANESE INTERMEDIATE CODE: A61 Effective date:20250402 | |
| R150 | Certificate of patent or registration of utility model | Ref document number:7668459 Country of ref document:JP Free format text:JAPANESE INTERMEDIATE CODE: R150 |