











本発明は、光源装置、加工装置、および検査方法に関する。The present invention relates to a light source device, a processing device, and an inspection method.
複数のレーザダイオードから出射したレーザ光を集光して光ファイバに入射させる光源装置が、レーザ加工などに用いられている。レーザダイオードの数が多いほど高出力を実現できるが、集光したレーザ光を光ファイバのコア端面に結合する必要があり、各光学系の高度な位置調整が求められる。Light source devices that focus the laser light emitted from multiple laser diodes and input it into an optical fiber are used in laser processing and other applications. The more laser diodes used, the higher the output that can be achieved, but the focused laser light must be coupled to the core end face of the optical fiber, requiring precise position adjustment of each optical system.
  たとえば、特許文献1には、複数のレーザダイオードから出射されたレーザ光をそれぞれコリメートしてアナモフィック光学素子に導入し、Fast軸方向の径を縮小してから光ファイバに入射させ、1本に合波して出力する光源装置が開示されている。For example,
  特許文献1の技術によれば、Fast軸方向のビーム径が小さくなるので、レーザ光の光ファイバのコア端面への結合が容易になる可能性がある。しかし、各光学系を溶接や接着材で固定すると、固定前に対してレーザ光に微妙な位置ずれが生じ、レーザ光が適切に結合されない場合がある。この場合には、従来では光ファイバからの出力に関する物理量(たとえば、レーザ光の出力パワー)を容易に補正することができないという問題が生じ得る。According to the technology of
本開示は、このような課題を解決するためになされたものであって、その目的は、光ファイバからの出力に関する物理量を容易に補正することができる技術を提供することである。This disclosure has been made to solve these problems, and its purpose is to provide a technology that can easily correct physical quantities related to the output from an optical fiber.
本開示の光源装置は、複数の光源と、複数のコリメート光学系と、ビーム径調整光学系と、集光光学系と、光ファイバと、ウェッジプレートとを備える。複数の光源は、レーザ光を出力する。複数のコリメート光学系は、複数の光源から出力されるレーザ光をそれぞれコリメートする。ビーム径調整光学系は、複数のコリメート光学系を通過したレーザ光の各々のFast軸方向のビーム径を縮小し、または、レーザ光の各々のSlow軸方向のビーム径を拡大する。集光光学系は、ビーム径調整光学系を通過したレーザ光を集光する。光ファイバには、集光光学系により集光されたレーザ光が入力される。ウェッジプレートは、複数のコリメート光学系を通過したレーザ光の光軸方向に対して垂直な面内で回転可能な態様で配置される。ウェッジプレートは、光軸方向に対して非直角な角度を有する入射面および/または出射面を有する。The light source device of the present disclosure includes a plurality of light sources, a plurality of collimating optical systems, a beam diameter adjustment optical system, a focusing optical system, an optical fiber, and a wedge plate. The plurality of light sources output laser light. The plurality of collimating optical systems collimate the laser light output from the plurality of light sources. The beam diameter adjustment optical system reduces the beam diameter in the fast axis direction of each of the laser light that has passed through the plurality of collimating optical systems, or expands the beam diameter in the slow axis direction of each of the laser light. The focusing optical system focuses the laser light that has passed through the beam diameter adjustment optical system. The laser light focused by the focusing optical system is input to the optical fiber. The wedge plate is arranged in a rotatable manner within a plane perpendicular to the optical axis direction of the laser light that has passed through the plurality of collimating optical systems. The wedge plate has an entrance surface and/or an exit surface that has a non-perpendicular angle with respect to the optical axis direction.
また、本開示の検査方法は、光源装置の検査方法である。光源装置は、光源装置は、複数の光源と、複数のコリメート光学系と、ビーム径調整光学系と、集光光学系と、光ファイバとを備える。複数の光源は、レーザ光を出力する。複数のコリメート光学系は、複数の光源から出力されるレーザ光をそれぞれコリメートする。ビーム径調整光学系は、複数のコリメート光学系を通過したレーザ光の各々のFast軸方向のビーム径を縮小し、または、レーザ光の各々のSlow軸方向のビーム径を拡大する。集光光学系は、ビーム径調整光学系を通過したレーザ光を集光する。光ファイバには、集光光学系により集光されたレーザ光が入力される。検査方法は、複数のコリメート光学系を通過したレーザ光の光軸方向に対して垂直な面内で回転可能な態様でウェッジプレートを配置させることを備える。ウェッジプレートは、光軸方向に対して非直角な角度を有する入射面および/または出射面を有する。検査方法は、さらに、ウェッジプレートを回転させることにより、光ファイバの出力に関する物理量を閾値以上とすることを備える。The inspection method of the present disclosure is a method for inspecting a light source device. The light source device includes a plurality of light sources, a plurality of collimating optical systems, a beam diameter adjustment optical system, a focusing optical system, and an optical fiber. The plurality of light sources output laser light. The plurality of collimating optical systems collimate the laser light output from the plurality of light sources. The beam diameter adjustment optical system reduces the beam diameter in the fast axis direction of each of the laser light that has passed through the plurality of collimating optical systems, or expands the beam diameter in the slow axis direction of each of the laser light. The focusing optical system focuses the laser light that has passed through the beam diameter adjustment optical system. The laser light focused by the focusing optical system is input to the optical fiber. The inspection method includes disposing a wedge plate in a rotatable manner within a plane perpendicular to the optical axis direction of the laser light that has passed through the plurality of collimating optical systems. The wedge plate has an entrance surface and/or an exit surface that has a non-perpendicular angle with respect to the optical axis direction. The inspection method further includes rotating the wedge plate to set a physical quantity related to the output of the optical fiber to a threshold value or more.
本発明によれば、検査者などによりウェッジプレートが回転されることにより、光ファイバの入射面における集光位置をFast軸方向に変位させることができる。その結果、光源装置において、光ファイバからの出力に関する物理量を容易に補正することができる。According to the present invention, the wedge plate can be rotated by an inspector or the like to displace the focusing position on the incident surface of the optical fiber in the fast axis direction. As a result, the light source device can easily correct the physical quantity related to the output from the optical fiber.
以下、本発明の実施の形態について、図面を参照しながら詳細に説明する。なお、図中の同一または相当部分には同一符号を付してその説明は繰り返さない。The following describes in detail an embodiment of the present invention with reference to the drawings. Note that the same or corresponding parts in the drawings are given the same reference numerals and their description will not be repeated.
  <第1実施形態>
  [加工装置の構成例]
  図1は、本実施の形態の光源装置が適用された加工装置の機能ブロック図である。加工装置10は、ワークW(加工対象物)にレーザ光を照射することにより、該ワークWを加工する。加工は、たとえば、溶接または切断である。加工装置10は、M(Mは1以上の整数)個の光源装置(光源装置1001,...,100M)と、加工ヘッド130とを備える。加工ヘッド130は、M個の光源装置から出力されたレーザ光をワークWに向けて出射させる。加工ヘッド130は、たとえば、M個の光源装置から出力されたレーザ光を集光する集光光学系を有する。以下では、1つの光源装置は、「光源装置100」とも称される。  First Embodiment
 [Example of processing device configuration]
 FIG. 1 is a functional block diagram of a processing device to which a light source device according to the present embodiment is applied. The
  [光源装置の構成例]
  図2および図3は、光源装置100の構成例を示す図である。なお、図2は、レーザ光のFast軸およびz軸を含む平面内での光源装置100の各部の配置構成を示す図である。図3の上図は図2と同様にレーザ光のFast軸およびz軸を含む平面内での光源装置100を示し、図3の下図は、レーザ光のSlow軸およびz軸を含む平面内での光源装置100を示す。  [Example of configuration of light source device]
 2 and 3 are diagrams showing an example of the configuration of the
  図2および図3において、左側を「光源装置100の光軸方向上流側(または左側)」、右側を「光源装置100の光軸方向下流側(または右側)」とも称する。なお、以下では、様々な光学系を説明するが、該光学系は、1つのレンズで構成されてもよく、2つ以上のレンズで構成されてもよく、レンズ以外の構成部品を含んでいてもよい。また、光源装置100の光軸方向上流側については、単に「上流側」、光源装置100の光軸方向下流側については、単に「下流側」と称することがある。図2および図3において、後述のコリメート光学系3によりコリメートされたレーザ光(以下、「平行光」とも称する)のFast軸方向が縦軸方向である。また、図2および図3において、コリメートされたレーザ光のSlow軸方向が奥行方向であり、コリメートされたレーザ光の光軸方向がZ軸方向である。2 and 3, the left side is also referred to as the "upstream side (or left side) of the
  図2に示すように、光源装置100は、光軸方向の上流側から下流側に向かって順に配置された、N個の光源2と、N個のコリメート光学系3と、縮小光学系4と、集光光学系5と、光ファイバ6とを備えている。Nは、1以上の整数である。図2および図3の例では、N=3となる。図2および図3の例では、Fast軸方向に3個の光源2が配置されている。Slow軸方向に1個の光源2が配置されている。なお、Slow軸方向に複数の光源2が配置されていてもよい。縮小光学系4は、本開示の「ビーム径調整光学系」に対応する。As shown in FIG. 2, the
  N個の光源2は、N個のレーザ光をそれぞれ出力する。N個のコリメート光学系3は、N個の光源2からのレーザ光の光路中、すなわち、該N個のレーザの光軸上のそれぞれに対応づけて配置されている。また、各コリメート光学系3は、光源2からの光軸が当該コリメート光学系3の中心(コリメート光学系3を構成するコリメートレンズの中心)を通る位置に配置されている。以下では、光源2とコリメート光学系3との間の光路を「光路LD」とも称する。図2の例では、N個の光路Lが存在する。The
  各コリメート光学系3は、レーザ光LBが入射する入射面311と、レーザ光LBが出射する出射面312とを有する。入射面311は、平面で構成されている。出射面312は、湾曲した凸面で構成されている。なお、コリメート光学系3の有効径は、円盤状部244の外径よりも大きいのが好ましい。Each collimating
  コリメート光学系3は、対応する光源2からのレーザ光LBをコリメートする。具体的には、コリメート光学系3は、対応する光源2からのレーザ光LBを、Fast軸方向、Slow軸方向のいずれの方向にも平行光とする。なお、コリメート光学系3は、組み合わせレンズで構成されていてもよい。The collimating
  レーザ光LBの光路上であって、コリメート光学系3に対して下流側には、集光光学系5が配置されている。コリメート光学系3と集光光学系5とは、互いに離間しており、コリメート光学系3と集光光学系5との間に縮小光学系4が配置されている。レーザ光LBの光路上であって、集光光学系5に対して下流側には、光ファイバ6が配置されている。A focusing
  集光光学系5は、各レーザ光LBを光ファイバ6に向けて集光するレンズである。集光光学系5は、レーザ光LBが入射する入射面51と、レーザ光LBが出射する出射面52とを有する。入射面51は、湾曲した凸面で構成されている。出射面52は、平面で構成されている。The focusing
  光ファイバ6は、長尺状をなし、入射面61となる上流側の端面と、出射面62となる下流側の端面とを有する。入射面61には、集光光学系5によって集光された複数のレーザ光LBが一括して入射される。このレーザ光LBは、光ファイバ6内を通過して出射面62まで導かれ、当該出射面62から出射される。光ファイバ6としては、特に限定されず、たとえば、光導波路等を用いることができる。縮小光学系4については、後述する。The
  図4は、1つの光源2の構成例を示す図である。光源2は、ダイレクトダイオードレーザであり、いわゆる端面発光型である。光源2は、レーザダイオード素子22と、フォトダイオード23と、パッケージ24とを有する。Figure 4 is a diagram showing an example of the configuration of one
  レーザダイオード素子22は、レーザ光(半導体レーザ)LBを発する発光素子である。レーザダイオード素子22は、例えば、活性層(発光層)と、活性層を介して配置されたn型クラッド層およびp型クラッド層とを有する積層体で構成される。活性層の両端面は、それぞれ、反射面となっている。レーザダイオード素子22に順方向に電圧を印加した際、n型クラッド層から活性層に電子が流入するとともに、p型クラッド層から活性層にホールが流入して、活性層内で再結合して発光する。各クラッド層の屈折率が活性層より低いため、光は、活性層内で前記両端面の間で増幅されながら往復する。そして、誘導放出が生じることにより、当該光は、レーザ光LBとして照射される。The
  レーザダイオード素子22(活性層)が発せられたレーザ光LBは、完全な直線光ではなく、回折することにより広がりながら進行していく。また、積層体であるレーザダイオード素子22は、幅方向が厚さ方向よりも大きく形成される。これにより、レーザ光LBは楕円状に拡がり、レーザ光LBの強度分布(ファーフィールドパターン)は、レーザ光LBのFast軸方向のビーム径(ビーム幅)がSlow軸方向のビーム径よりも大きくなる。このように、光源2は、ダイレクトダイオードレーザであり、いわゆる端面発光型であることから、Fast軸方向のビーム径がSlow軸方向のビーム径よりも大きいレーザ光を出力する。The laser light LB emitted by the laser diode element 22 (active layer) is not a completely straight light, but spreads as it travels due to diffraction. In addition, the
  パッケージ24は、レーザダイオード素子22とフォトダイオード23とを一括して収納する。パッケージ24は、いわゆるCAN型パッケージであり、ベース241と、キャップ242と、カバーガラス243とを有する。The
  ベース241は、円盤状をなし、フォトダイオード23が支持される円盤状部244と、円盤状部244から突出して形成され、レーザダイオード素子22が支持される支持部245とを有する。また、円盤状部244は、パッケージ24において、外径が最大に拡径したフランジ部となる。そして、光源2を光源装置100での所定箇所に固定する際、円盤状部244で光源2を安定して固定することができる。The
  ベース241には、キャップ242が固定されている。キャップ242は、ベース241に支持されたレーザダイオード素子22およびフォトダイオード23を覆う部材である。また、キャップ242には、レーザ光LBが通過する貫通孔246が形成されている。A
  ベース241およびキャップ242の構成材料としては、特に限定されず、例えば、アルミニウム等の金属材料を用いることができる。カバーガラス243は、キャップ242の内側から貫通孔246を覆うガラス板である。レーザ光LBは、カバーガラス243を透過することができる。なお、パッケージ24は、カバーガラス243が省略されていてもよい。また、フォトダイオード23は、光源2から出射されたレーザ光のパワーを検知する。制御装置(図示せず)は、フォトダイオード23のレーザ光の有無を検知することにより光源2の故障を検知することができる。The constituent materials of the
  次に、図2および図3を用いて縮小光学系4を説明する。上述のように、レーザ光LBの強度分布は、Fast軸方向がSlow軸方向よりも大きくなる。つまり、レーザ光LBのビーム径は、Fast軸方向の方がSlow軸方向よりも大きい。よって、光源2から出力されるビームは、断面が楕円形状の楕円ビームである。縮小光学系4は、ビーム径が大きい方、すなわち、Fast軸方向のビーム径を縮小することにより、楕円ビームは整形される。Next, the reduction
  縮小光学系4の前後では、コリメート光学系3を透過したレーザ光LBは、ビーム径がFast軸方向に縮小されるが、Slow軸方向では一定に維持される。つまり、Fast軸方向において、縮小光学系4を透過した後のレーザ光LBのビーム径は、縮小光学系4を透過する前のレーザ光LBのビーム径よりも小さい。一方、Slow軸方向において、縮小光学系4を透過したことによるビーム径の変化はない。Before and after the reduction
  縮小光学系4は、Fast軸方向にパワーを有する第1シリンドリカルレンズ41、および第2シリンドリカルレンズ42を有する。また、第1シリンドリカルレンズ41、および第2シリンドリカルレンズ42は、上流側から下流側に向かって順番に配置されている。The reduction
  第1シリンドリカルレンズ41は、レーザ光LBが入射する入射面411と、レーザ光LBが出射する出射面412とを有する。入射面411は、Fast軸方向に沿って連続的に突出高さが変化するように形成された凸面を有する。一方、出射面412は、平面で構成されている。このような入射面411および出射面412により、第1シリンドリカルレンズ41は、Fast軸方向にパワーを有するシリンドリカルレンズとなる。The first
  第2シリンドリカルレンズ42は、レーザ光LBが入射する入射面421と、レーザ光LBが出射する出射面422とを有する。入射面421は、Fast軸方向に沿って連続的に深さが変化するように形成された凹面423を有する。一方、出射面422は、平面で構成されている。このような入射面421および出射面422により、第2シリンドリカルレンズ42は、Fast軸方向にパワーを有するシリンドリカルレンズとなる。このような縮小光学系4により、Fast軸方向のビーム径は、レーザ光LBが進むにつれて縮小される。The second
  また、光源装置100に対して、検査者などにより、パワーメータ150(「センサ」とも称される。)が装着され得る。パワーメータ150は、たとえば、光ファイバ6の出射面62側に配置される。パワーメータ150は、光ファイバからの出力に関する出力物理量(後述する)を表示することができる。なお、パワーメータ150は、出力物理量を表示できるのであれば、他の個所に装着されてもよい。A power meter 150 (also called a "sensor") may be attached to the
  次に、保持部81およびウェッジプレート82を説明する。保持部81およびウェッジプレート82は、光軸方向上流側から下流側に向かって順に配置されている。ウェッジプレート82は、後述のように、出力物理量を補正するために用いられるプリズムである。保持部81およびウェッジプレート82は、たとえば、後述の異常光路に配置される。図2および図3の例では、異常光路が、上から2番目の光路LDである場合が示されている。また、保持部81は、ウェッジプレート82を保持する。図2の例では、中央の光路LDに配置されている例が示されているが、他の光路LDに設けられてもよい。保持部81およびウェッジプレート82は、光源装置100の出荷前に配置されてもよい。また、保持部81およびウェッジプレート82は、光源装置100の出荷後、後発的に配置されてもよい。Next, the holding
  図5は、保持部81およびウェッジプレート82をZ軸方向の上流側から平面視した図である。図5では、ウェッジプレート82が破線で示されている。図5に示すように、保持部81は、貫通穴81Aが形成されている。貫通穴81Aは、コリメート光学系3にコリメートされたレーザ光LBが通過する穴である。図5の例では、貫通穴81Aにハッチングが付されている。上述のように、レーザ光LBのFast軸方向のビーム径がSlow軸方向のビーム径よりも大きくなることから、レーザ光LBの断面は楕円形状となる。したがって、貫通穴81Aの形状についても、楕円形状とされる。なお、貫通穴81Aは、コリメート光学系3からのレーザ光が通過する形状であれば、如何なる形状であってもよい。Figure 5 is a plan view of the holding
  図6は、ウェッジプレート82をSlow軸方向から平面視した図である。図6の例では、保持部81は省略されている。ウェッジプレート82には、入射面82Aと、出射面82Bとが形成されている。ウェッジプレート82の入射面82Aに入射されたレーザ光は、出射面82Bから出射される。入射面82Aは、Z軸方向と直角をなす。また、出射面82Bは、Z軸方向(図6では、軸ZLと記載)と、第1角度θ1をなす。第1角度θ1は、たとえば、89.5度以上であり、90度未満である。第1角度θ1は、本開示の「非直角な角度」に対応する。また、図6では、第2角度θ2が示されている。第2角度θ2は、90度から第1角度θ1を減算することにより算出される。第2角度θ2は、「ウェッジ角度」とも称される。6 is a plan view of the
  ウェッジプレート82に入射された平行光は屈折することにより、該入射の方向とは異なる方向に出射面82Bから出射される。また、図6では、Z軸方向(コリメート光学系3を通過したレーザ光の光軸方向)に対して垂直な仮想面Y(たとえば、平面)が示されている。ウェッジプレート82は、該仮想面Y内で回転可能な態様で配置されている。換言すれば、ウェッジプレート82は、Z軸方向まわりに回転可能となるように、保持部81に保持される。さらに、換言すれば、ウェッジプレート82は、Fast軸およびSlow軸により形成される平面において、回転可能である。ウェッジプレート82は、検査者の手、治具、またはアクチュエータなどにより回転される。ウェッジプレート82が回転されたとしても、保持部81は固定されている。ウェッジプレート82が回転可能な理由を後述する。The parallel light incident on the
  なお、変形例として、入射面82AとZ軸方向とが非直角な角度を形成し、出射面82BとZ軸方向とが非直角を形成するようにしてもよい。また、入射面82AとZ軸方向とが非直角な角度を形成し、出射面82BとZ軸方向とが非直角を形成するようにしてもよい。つまり、ウェッジプレート82は、Z軸方向(光軸方向)に対して非直角な角度を有する入射面82Aおよび/または出射面82Bを有する。As a modified example, the
  [位置ずれについて]
  光源装置100の製造において、光源装置100の対象部品(たとえば、N個の光源2またはN個のコリメート光学系3など)は、溶接または接着材などで固定される。以下では、該対象部品が、コリメート光学系3である例を説明する。光源装置100の製造段階において、コリメート光学系3が、当初予定されていた設計位置から若干ずれて固定される場合がある。  [Regarding position misalignment]
 In the manufacturing process of the
  また、光源装置100の製造において、光源装置100の対象部品の全てが、設計位置に固定されて出荷されたが、出荷先において光源装置100の経年劣化などにより、対象部品が設計位置からずれる場合がある。たとえば、対象部品の溶接部分または接着剤による固定部分が劣化する。この劣化により、対象部品が設計位置からずれる場合がある。In addition, in the manufacture of the
  たとえば、図3の上図に示すように、対象部品の一例であるコリメート光学系3がFast方向にΔxずれた場合には、光ファイバ6の入射面61における集光位置は、Fast方向にΔxfずれる。集光位置は、集光光学系5を通過したN個のレーザ光が入射面61において集光される位置である。集光位置は、たとえば、点状である。For example, as shown in the upper diagram of FIG. 3, when the collimating
  また、Δxfは、縮小光学系4によるFast軸方向の縮小倍率に比例した値である。たとえば、縮小光学系4による縮小倍率が1/2である場合のΔxfは、縮小光学系4が配置されていない(つまり縮小倍率が1倍)場合のΔxfの2倍となる。In addition, Δxf is a value proportional to the reduction ratio in the Fast axis direction by the reduction
なお、対象部品(たとえば、コリメート光学系)がSlow軸にΔyずれる場合がある。この場合には、本実施の形態では、レーザ光のSlow軸は縮小されていない。したがって、ΔxとΔyとが同一の値であっても、Δxfの方が、Δyfよりも大きくなる。Note that there may be cases where the target component (for example, a collimating optical system) is shifted by Δy on the slow axis. In this case, in this embodiment, the slow axis of the laser light is not reduced. Therefore, even if Δx and Δy are the same value, Δxf is greater than Δyf.
  このように、本実施の形態の光源装置100は、縮小光学系4を有することから、Fast軸方向のビーム径が小さくなるので、レーザ光の光ファイバのコア端面への結合が容易になる可能性がある。しかし、上記対象部品が理想位置からズレた場合には、光ファイバ6の入射面61において、集光位置は、Fast軸方向に大きくずれることになる。その結果、レーザ光は、適切に結合されない場合がある。したがって、光ファイバ6からの出力はFast方向のずれに対して大きいことから、出力物理量が低下する。ここで、出力物理量は、光ファイバ6からのレーザ光の出力パワーとしてもよい。また、出力物理量は、入射面61における集光位置が理想位置である場合を基準とした、光ファイバ6からの出力値(たとえば出力パワー)の変化率としてもよい。理想位置は、集光位置の理想の位置であり、たとえば、入射面61の中心または重心である。また、出力物理量は、N個のレーザ光の結合率としてもよい。また、対象部品は、以上説明したように、設計位置がずれて固定されると、入射面61における集光位置が理想位置からずれてしまう部品である。In this way, since the
  図7は、入射面61における集光位置の設計位置からのFast軸方向のズレ量と、上述の出力変化率(上記の出力物理量に対応)との関係を示した図である。図7の横軸は、コリメート光学系3を構成するコリメートレンズのFast軸方向のズレ量を示す。該ズレ量の単位は、μmである。また、図7の縦軸は、出力変化率を示す。図7の例では、たとえば、ズレ量が1μmである場合には、ファイバ出力は、12%低下する。また、光源装置の光ファイバ6から適切なレーザ光を出力するために、光ファイバ6からの出力物理量は、閾値以上であることが好ましい。図7の例では、出力変化の閾値Thの一例として、90%が示されている。また、出力物理量については、上述のように、パワーメータ150(図2参照)が表示可能である。なお、上述のように、ΔxとΔyとが同一の値であっても、Δxfの方が、Δyfよりも大きくなる。したがって、ΔxとΔyとが同一の値であっても、対象部品(コリメート光学系3)がΔxずれたときの出力物理量の低下率は、対象部品がΔyずれたときの出力物理量の低下率よりも大きくなる。よって、本実施の形態では、対象部品がSlow軸にΔyずれた場合であっても特段の問題はない。Figure 7 is a diagram showing the relationship between the amount of deviation of the focusing position on the
従来においては、対象部品が固定された後において、対象部品の位置ずれなどにより出力物理量が閾値未満となる場合がある。この場合には、検査者は、物理量が閾値以上となるように、対象部品の位置を調整する。Conventionally, after the target part is fixed, the output physical quantity may become less than the threshold value due to misalignment of the target part. In such a case, the inspector adjusts the position of the target part so that the physical quantity becomes equal to or greater than the threshold value.
  しかしながら、固定された対象部品の位置を調整することは困難である。また、縮小光学系4により、N個の平行光は、Fast軸方向の径が大きく縮小されている。したがって、対象部品の位置を調整できたとしても、光ファイバ6の入射面61において、Fast軸方向に大きくずれる。よって、対象部品のFast軸方向における位置の高い調整精度が必要とされる。However, it is difficult to adjust the position of a fixed target part. In addition, the diameter of the N parallel light beams in the fast axis direction is significantly reduced by the reduction
  以上のように、従来の光源装置においては、光ファイバ6からの出力物理量を補正することが困難であるという問題が生じ得る。そこで、検査者は、ウェッジプレート82を回転させて、平行光の方向を変え、光ファイバ6での集光位置を補正することができる。As described above, in conventional light source devices, a problem can arise in that it is difficult to correct the physical quantity of output from the
  図8は、ウェッジプレート82を回転させることによる、集光位置の移動を示す図である。図8(a)は、ウェッジプレート82の回転を示す図である。図8(b)は、縮小光学系4が配置されていない場合の集光位置の軌跡を示す図である。図8(c)は、縮小光学系4が配置されている場合の集光位置の軌跡を示す図である。図8(b)および図8(c)においては、集光位置の軌跡は、破線で示されている。Figure 8 is a diagram showing the movement of the focusing position by rotating the
  ウェッジプレート82は、Z軸方向まわりにおいて、時計針の回転方向、および時計針の回転方向と反対方向に、回転可能である。図8(a)の例では、検査者により、ウェッジプレート82が時計針の回転方向と反対方向に回転された例が示されている。上述のように、ウェッジプレート82に入射された平行光は屈折することにより、該入射の方向とは異なる方向に出射面82Bから出射される。したがって、ウェッジプレート82の回転に応じて、入射面61での集光位置は変位することになる。The
  図8(b)は、縮小光学系4が配置されていない場合の集光位置の変位を示す。縮小光学系4が配置されていない場合には、図8(b)に示すように、集光位置の変位量は、Fast軸方向とSlow軸方向とで同一となる。Figure 8 (b) shows the displacement of the focusing position when the reduction
  図8(c)は、縮小光学系4が配置されている場合の(つまり、本実施の形態の)集光位置の変位を示す。縮小光学系4が配置されている場合には、図8(c)に示すように、集光位置のFast軸方向の変位量は、集光位置のSlow軸方向の変位量よりも大きくなる。何故ならば、縮小光学系4によりFast軸方向の平行光のビーム径が縮小されているからである。Figure 8 (c) shows the displacement of the focusing position when the reduction
  図9は、ウェッジ角度(図6の第2角度θ2)と、ウェッジプレート82を回転させた場合の入射面61における集光位置の最大変化量との関係を示した図である。図9(A)の縦軸は、入射面61におけるFast軸方向のビーム重心の最大変化量を示す。図9(B)の縦軸は、入射面61におけるSlow軸方向のビーム重心の最大変化量を示す。図9(A)の縦軸および図9(B)の縦軸の単位は、「mm」である。また、図9(A)および図9(B)の横軸は、ウェッジ角度(図6の第2角度θ2)を示す。Figure 9 shows the relationship between the wedge angle (second angle θ2 in Figure 6) and the maximum change in the focusing position on the
  図9(A)の例では、ウェッジ角度が大きくなるほど、Fast軸方向での最大変化量も大きくなる。たとえば、ウェッジ角度が、0.1度の場合には、Fast軸方向での最大変化量は、336μmとなる。また、図9(B)の例では、ウェッジ角度が大きくなるほど、Slow軸方向での最大変化量も大きくなる。たとえば、ウェッジ角度が、0.1度の場合には、Slow軸方向での最大変化量は、21μmとなる。なお、光ファイバ6の集光コア径は、典型的には、50μm~600μmである。この場合には、ウェッジ角度は、0.01度~0.2度の範囲内であればFast軸方向の集光位置を適切に補正できる。In the example of FIG. 9(A), the larger the wedge angle, the larger the maximum change in the fast axis direction. For example, when the wedge angle is 0.1 degrees, the maximum change in the fast axis direction is 336 μm. In the example of FIG. 9(B), the larger the wedge angle, the larger the maximum change in the slow axis direction. For example, when the wedge angle is 0.1 degrees, the maximum change in the slow axis direction is 21 μm. The focusing core diameter of the
  図9(A)および図9(B)に示すように、集光位置のFast軸方向の最大変位量は、集光位置のSlow軸方向の最大変位量よりも大きくなる。また、集光位置のFast軸方向の変位量は、集光位置のSlow軸方向の変位量のS倍(Sは正の実数)であるとする。このSの値は、縮小光学系4による縮小倍率に基づく値となる。たとえば、縮小光学系4によりFast軸方向の平行光のビーム径が、1/16倍に縮小されている場合には、Sは“16”となる。また、ウェッジ角度が大きいほど、集光位置のFast軸方向およびSlow軸方向の最大変位量が大きくなる。As shown in Figures 9(A) and 9(B), the maximum displacement of the focusing position in the fast axis direction is greater than the maximum displacement of the focusing position in the slow axis direction. The displacement of the focusing position in the fast axis direction is S times (S is a positive real number) the displacement of the focusing position in the slow axis direction. This value of S is based on the reduction ratio of the reduction
  以上のように、本実施の形態の光源2は、ダイレクトダイオードレーザであり、いわゆる端面発光型である。したがって、光源2は、Fast軸方向のビーム径がSlow軸方向のビーム径よりも大きいレーザ光(楕円ビーム)を出力する。そこで、縮小光学系4が、Fast軸方向のビーム径を縮小することにより楕円ビームは整形される。また、対象部品(たとえば、図2のコリメート光学系3)がFast軸方向にΔxずれる場合がある。この場合には、入射面61において集光位置はFast軸方向に大きくずれ(Δxfずれ)、出力物理量は大きく低下してしまう(図7参照)。従来の光源装置においては、この出力物理量を補正することが困難であった。As described above, the
  そこで、本実施の形態の光源装置100は、上述の出射面82Bを有するウェッジプレート82を備える。図9(A)および図9(B)に示すように、検査者などがZ軸まわりにウェッジプレート82を回転させた場合において、Fast軸方向の集光位置を大きく変位させることができる。なお、Slow軸方向の集光位置の変位量は小さい。したがって、光ファイバ6の入射面61において、集光位置をFast軸方向に大きく変位させることができる。よって、光源装置100において集光位置を上記の理想位置とするまたは理想位置に近づけることができ、出力物理量を閾値以上とすることができる。その結果、本実施の形態の光源装置100においては、光ファイバからの出力物理量を容易に補正することができる。Therefore, the
  [検査方法の手順]
  図10は、検査方法の手順の一例を示す図である。該検査方法は、光源装置100の製造において光源装置100が完成した後、光源装置100が出荷される前に、検査者などにより実施される。また、該検査方法は、光源装置100が出荷された後、出荷先において該光源装置100がユーザ使用による経年劣化した場合などにおいて、該ユーザが該光源装置100の出力物理量に異常があった場合に、検査者(たとえば、サービスマン)などにより実施される。  [Testing method procedure]
 10 is a diagram showing an example of the procedure of the inspection method. The inspection method is performed by an inspector or the like after the
  まず、ステップS2において、検査者は、パワーメータ150(図2参照)を光源装置100に装着させて、パワーメータに出力物理量を表示させる。First, in step S2, the inspector attaches the power meter 150 (see FIG. 2) to the
次に、ステップS4において、検査者は、N個の光路LD(図2参照)から、出力物理量が閾値以下となる異常光路を特定する。検査者は、たとえば、N個の光源に1つずつレーザ光を出力させて、出力物理量を視認する。たとえば、出力物理量が低下した光源に対応する光路LDが異常光路となる。なお、異常光路の特定の手法については、他の手法であってもよい。Next, in step S4, the inspector identifies an abnormal optical path from the N optical paths LD (see FIG. 2) in which the output physical quantity is equal to or less than a threshold value. For example, the inspector causes the N light sources to output laser light one by one and visually checks the output physical quantity. For example, the optical path LD corresponding to the light source in which the output physical quantity has decreased is the abnormal optical path. Note that other methods may be used to identify the abnormal optical path.
  次に、ステップS6において、検査者は、保持部81およびウェッジプレート82を配置させる。また、図6などで説明したように、ウェッジプレート82は、Z軸方向まわりに回転可能に配置される。図2および図3の例では、異常光路は、上から2番目の光路LDである場合が示されており、該異常光路に保持部81およびウェッジプレート82が配置されている。Next, in step S6, the inspector positions the
  次に、ステップS8において、検査者は、パワーメータ150に表示された出力物理量を視認しながら、パワーメータ150に表示された出力物理量が閾値以上となるまでウェッジプレート82を回転させる。そして、検査者は、出力物理量が閾値以上となったときには、ウェッジプレート82の回転を止める。このようにステップS8は、検査者がウェッジプレート82を回転することにより、光ファイバ6の出力物理量を閾値以上とするステップである。Next, in step S8, the inspector rotates the
  なお、図10の検査方法の少なくとも1つの処理は、光源装置100の制御装置(図示せず)が実行するようにしてもよい。At least one process of the inspection method of FIG. 10 may be performed by a control device (not shown) of the
  なお、光源装置100は、ウェッジプレート82を有していない構成としてもよい。この場合には、検査方法において、検査者により、異常光路が特定された場合に、該異常光路にウェッジプレートが後発的に配置される。The
  また、光源装置100は、N個の光路LDの少なくとも1つの光路LDにウェッジプレート82を有していてもよい。このような構成において、ウェッジプレート82が配置されている光路が、異常光路である場合には、検査者は、該ウェッジプレートを回転させることにより、出力物理量を補正する。一方、ウェッジプレート82が配置されていない光路が、異常光路である場合には、検査者により、該異常光路に新たなウェッジプレート82が後発的に配置される。そして、検査者は、該新たなウェッジプレートを回転させることにより、出力物理量を補正する。The
  以上のように、光源装置100により、ウェッジプレート82を調整することにより、光ファイバ6からの出力物理量を容易に補正することができる。As described above, the
  たとえば、ウェッジプレート82が、第1シリンドリカルレンズ41と第2シリンドリカルレンズ42との間の光路LD1、または、第2シリンドリカルレンズ42と集光光学系5との間の光路LD2に配置される構成(以下、「比較構成」とも称される。)が考えられる。ここで、光路LD1の径または光路LD2の径は、光路LDの径よりも小さい。ウェッジプレート82は、異常光路に配置させる必要があるものの、該異常光路とは異なる正常光路にはみ出てはいけない。正常光路にウェッジプレート82がはみ出てしまうと、該正常光路を通過する正常なレーザ光の出力方向が変化してしまうからである。For example, a configuration (hereinafter also referred to as a "comparative configuration") in which the
  したがって、光路LD1または光路LD2にウェッジプレート82を配置させる構成の場合には、小さなウェッジプレート82が必要であるとともに、ウェッジプレート82の配置精度を高める必要がある。よって、光路LD1または光路LD2にウェッジプレート82を配置させることは困難となる。これに対し、本実施の形態においては、ウェッジプレート82は、N個のコリメート光学系3のうちの特定のコリメート光学系と、縮小光学系4との間の光路LDに配置される。したがって、比較構成と比較して、大きなウェッジプレート82を使用することができるとともに、ウェッジプレート82の配置精度を高める必要はない。よって、検査者は、容易に、ウェッジプレート82を配置させることができる。Therefore, in the case of a configuration in which the
  また、特定のコリメート光学系3は、ウェッジプレート82が存在しないと仮定した場合に、出力物理量が閾値未満となるレーザ光が通過するレンズである。つまり、特定のコリメート光学系3は、異常光路に対応するコリメート光学系(図2および図3の例では、上から2番目のコリメート光学系3)である。したがって、検査者は、ウェッジプレート82を調整することにより、出力物理量を閾値以上とすることができる。The specific collimating
  また、N個の光源2から出力されるレーザ光のFast軸方向のビーム径は、Slow軸方向のビーム径よりも大きい。つまり、既存の光源2(たとえば、端面発光型の光源またはダイレクトダイオードレーザ)を使用することができる。このように、既存の光源2が用いられたとしても、検査者は、該新たなウェッジプレートを回転させることにより、出力物理量を補正することができる。In addition, the beam diameter in the fast axis direction of the laser light output from the
  また、ウェッジプレート82の第1角度θ1は、89.5度以上であり、90度未満の範囲のうちの角度である。発明者は、第1角度θ1がこのような範囲内であることにより、入射面61における集光位置のFast軸方向での変位量を大きくするとともに、該ウェッジプレート82を通過したレーザ光の収差を低減できることを発見した。よって、第1角度θ1がこのような範囲内であることにより、レーザ光の収差を低減できる。The first angle θ1 of the
  <第2実施形態>
  第1実施形態では、N個の光源2から出力されるレーザ光のFast軸方向のビーム径は、Slow軸方向のビーム径よりも大きくなる構成を説明した。第1実施形態では、さらに、縮小光学系4がレーザ光のFast軸方向のビーム径を縮小することにより、楕円ビームがFast軸方向のみ整形される構成を説明した。第2実施形態では、拡大光学系により、レーザ光のSlow軸方向のビーム径が拡大されることにより、楕円ビームがSlow軸方向のみ整形される構成を説明する。「拡大光学系」は、本開示の「ビーム径調整光学系」に対応する。  Second Embodiment
 In the first embodiment, a configuration has been described in which the beam diameter in the fast axis direction of the laser light output from the
  図11は、第2実施形態の光源装置100Aの構成例を示す図である。図11の上図の様にレーザ光のFast軸方向から平面視した場合の光源装置100Aを示し、図3の下図は、レーザ光のSlow軸方向から平面視した場合の光源装置100Aを示す。Figure 11 is a diagram showing an example of the configuration of the
  図3と図11とを比較すると、図11においては、図3の縮小光学系4が、拡大光学系160に代替されている。Comparing Figures 3 and 11, in Figure 11, the reduction
  拡大光学系160は、Fast軸方向にパワーを有する第3シリンドリカルレンズ43、および第4シリンドリカルレンズ44を有する。また、第3シリンドリカルレンズ43、および第4シリンドリカルレンズ44は、上流側から下流側に向かって順番に配置されている。The magnifying
  第3シリンドリカルレンズ43は、レーザ光LBが入射する入射面431と、レーザ光LBが出射する出射面432とを有する。入射面431は、平面で構成されている。一方、出射面432は、Fast軸方向に沿って連続的に突出高さが変化するように形成された凸面を有する。このような入射面431および出射面432により、第3シリンドリカルレンズ43は、Fast軸方向にパワーを有するシリンドリカルレンズとなる。The third
  第4シリンドリカルレンズ44は、レーザ光LBが入射する入射面441と、レーザ光LBが出射する出射面442とを有する。入射面441は、平面で構成されている。一方、出射面442は、Fast軸方向に沿って連続的に深さが変化するように形成された凹面443で構成されている。このような入射面441および出射面442により、第4シリンドリカルレンズ44は、Fast軸方向にパワーを有するシリンドリカルレンズとなる。このような拡大光学系160により、Slow軸方向のビーム径は、レーザ光LBが進むにつれて拡大される。また、ウェッジプレート82は、たとえば、上述の特定のコリメート光学系と、拡大光学系160との間の光路に配置される。The fourth
  この第2実施形態の光源装置100Aであっても、第1実施形態の光源装置100と同様の効果を奏する。また、第2実施形態の光源装置100Aに対して、図10で説明した検査方法を実行することができる。The
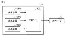
  <第3実施形態>
  第1実施形態では、光源装置100は、加工装置10に適用される構成が説明された。第3実施形態では、プロジェクタ15に光源装置100が適用される構成を説明する。図12は、本実施の形態の光源装置が適用されたプロジェクタ15の機能ブロック図である。プロジェクタ15は、スクリーンSにレーザ光を照射することにより、所定の画面(動画または静止画)を表示させる。  Third Embodiment
 In the first embodiment, the
  プロジェクタ15は、M(Mは1以上の整数)個の光源装置と、投影ヘッド132とを備える。M個の光源装置の各々の光源2からは異なる波長のレーザ光が出力される。Mは、たとえば、3である。たとえば、M個の光源装置は、赤系のレーザ光を出力する光源装置100Rと、緑系のレーザ光を出力する光源装置100Gと、青系のレーザ光を出力する光源装置100Bとを備える。投影ヘッド132は、M個の光源装置から出力されたレーザ光をスクリーンSに向けて出射させる。投影ヘッド132は、たとえば、M個の光源装置から出力されたレーザ光を集光する集光光学系を有する。投影ヘッド132から出力されたレーザ光は、スクリーンSに照射される。The
このように、本開示の光源装置は、プロジェクタにも適用される。なお、光源装置は、他の装置に適用されるようにしてもよい。In this way, the light source device of the present disclosure can also be applied to a projector. However, the light source device may also be applied to other devices.
  [態様]
  上述した複数の例示的な実施形態は、以下の態様の具体例であることが当業者により理解される。  [Aspects]
 It will be appreciated by those skilled in the art that the exemplary embodiments described above are examples of the following aspects.
(第1項) 一態様に係る光源装置は、レーザ光を出力する複数の光源と、複数の光源から出力されるレーザ光をそれぞれコリメートする複数のコリメート光学系と、複数のコリメート光学系を通過したレーザ光の各々のFast軸方向のビーム径を縮小し、または、レーザ光の各々のSlow軸方向のビーム径を拡大するビーム径調整光学系と、ビーム径調整光学系を通過したレーザ光を集光する集光光学系と、集光光学系により集光されたレーザ光が入力される光ファイバと、複数のコリメート光学系を通過したレーザ光の光軸方向に対して垂直な面内で回転可能な態様で配置されたウェッジプレートとを備え、ウェッジプレートは、光軸方向に対して非直角な角度を有する入射面および/または出射面を有する。(1) A light source device according to one embodiment includes a plurality of light sources that output laser light, a plurality of collimating optical systems that collimate the laser light output from the plurality of light sources, a beam diameter adjustment optical system that reduces the beam diameter in the fast axis direction of each of the laser light that has passed through the plurality of collimating optical systems, or expands the beam diameter in the slow axis direction of each of the laser light, a focusing optical system that focuses the laser light that has passed through the beam diameter adjustment optical system, an optical fiber into which the laser light focused by the focusing optical system is input, and a wedge plate that is arranged in a rotatable manner within a plane perpendicular to the optical axis direction of the laser light that has passed through the plurality of collimating optical systems, and the wedge plate has an entrance surface and/or an exit surface that are non-perpendicular to the optical axis direction.
このような構成によれば、検査者などによりウェッジプレートが回転されることにより、光ファイバの入射面における集光位置をFast軸方向に変位させることができる。その結果、光源装置において、光ファイバからの出力に関する物理量を容易に補正することができる。With this configuration, the wedge plate can be rotated by an inspector or the like to displace the focusing position on the incident surface of the optical fiber in the fast axis direction. As a result, the light source device can easily correct the physical quantity related to the output from the optical fiber.
(第2項) 第1項に記載の光源装置において、複数のコリメート光学系のうちの特定のコリメート光学系と、ビーム径調整光学系との間に配置されている。(2) In the light source device described in 1, the collimating optical system is disposed between a specific collimating optical system among the multiple collimating optical systems and the beam diameter adjustment optical system.
このような構成によれば、特定のコリメート光学系と、光学系との間の光路径は大きいことから、検査者は、ウェッジプレートを容易に配置することができる。With this configuration, the optical path diameter between a specific collimating optical system and the optical system is large, so the examiner can easily position the wedge plate.
  (第3項)  第1項または第2項に記載の光源装置において、複数の光源の各々は、Fast軸方向のビーム径がSlow軸方向のビーム径よりも大きいようなレーザ光を出力する。(Clause 3) In the light source device described in
このような構成によれば、上記の光学系においてレーザ光を円形レーザ光に整形できるとともに、光ファイバの入射面において、Fast軸方向をSlow軸方向よりも大きく変位させることができる。With this configuration, the laser light can be shaped into a circular laser light in the optical system, and the fast axis direction can be displaced more than the slow axis direction on the incident surface of the optical fiber.
  (第4項)  第1項~第3項のいずれか1項に記載の光源装置において、非直角な角度は、89.5度以上であり、90度未満である。(4) In the light source device described in any one of
  このような構成によれば、レーザ光の収差を低減することができる。
  (第5項)  一態様に係る加工装置は、第1項~第4項のいずれか1項に記載の光源装置と、光源装置から出力されたレーザ光をワークに向けて出射させる加工ヘッドとを備える。  With this configuration, the aberration of the laser light can be reduced.
 (5) A processing device according to one aspect includes the light source device according to any one of the first to fourth aspects, and a processing head that emits laser light output from the light source device toward a workpiece.
このような構成によれば、加工対象物を加工できる加工装置において、光源装置からの出力に関する物理量を容易に補正することができる。With this configuration, in a processing device capable of processing an object to be processed, the physical quantities related to the output from the light source device can be easily corrected.
(第6項) 一態様に係る検査方法は、光源装置の検査方法であって、光源装置は、レーザ光を出力する複数の光源と、複数の光源から出力されるレーザ光をそれぞれコリメートする複数のコリメート光学系と、複数のコリメート光学系を通過したレーザ光の各々のFast軸方向のビーム径を縮小し、または、レーザ光の各々のSlow軸方向のビーム径を拡大するビーム径調整光学系と、ビーム径調整光学系を通過したレーザ光を集光する集光光学系と、集光光学系により集光されたレーザ光が入力される光ファイバとを備え、検査方法は、複数のコリメート光学系を通過したレーザ光の光軸方向に対して垂直な面内で回転可能な態様でウェッジプレートを配置させることを備え、ウェッジプレートは、光軸方向に対して非直角な角度を有する入射面および/または出射面を有し、検査方法は、さらに、ウェッジプレートを回転させることにより、光ファイバの出力に関する物理量を閾値以上とすることを備える。(6) An inspection method according to one embodiment is a method for inspecting a light source device, the light source device comprising: a plurality of light sources that output laser light; a plurality of collimating optical systems that collimate the laser light output from the plurality of light sources; a beam diameter adjustment optical system that reduces the beam diameter in the fast axis direction of each of the laser lights that have passed through the plurality of collimating optical systems, or expands the beam diameter in the slow axis direction of each of the laser lights; a focusing optical system that focuses the laser light that has passed through the beam diameter adjustment optical system; and an optical fiber into which the laser light focused by the focusing optical system is input; the inspection method comprises disposing a wedge plate in a rotatable manner within a plane perpendicular to the optical axis direction of the laser light that has passed through the plurality of collimating optical systems, the wedge plate having an entrance surface and/or an exit surface that have a non-perpendicular angle with respect to the optical axis direction; and the inspection method further comprises rotating the wedge plate to set a physical quantity related to the output of the optical fiber to a threshold value or more.
このような構成によれば、検査者などによりウェッジプレートが回転されることにより、光ファイバの入射面における集光位置をFast軸方向に変位させることができる。その結果、光源装置において、光ファイバからの出力に関する物理量を容易に補正することができる。With this configuration, the wedge plate can be rotated by an inspector or the like to displace the focusing position on the incident surface of the optical fiber in the fast axis direction. As a result, the light source device can easily correct the physical quantity related to the output from the optical fiber.
今回開示された実施の形態は、すべての点で例示であって制限的なものではないと考えられるべきである。本開示の範囲は、上記した実施の形態の説明ではなくて特許請求の範囲によって示され、特許請求の範囲と均等の意味および範囲内でのすべての変更が含まれることが意図される。The embodiments disclosed herein should be considered to be illustrative and not restrictive in all respects. The scope of the present disclosure is indicated by the claims rather than the description of the embodiments above, and is intended to include all modifications within the meaning and scope of the claims.
2 光源、3 コリメート光学系、4 縮小光学系、5 集光光学系、6 光ファイバ、10 加工装置、15 プロジェクタ、22 レーザダイオード素子、23 フォトダイオード、24 パッケージ、41 第1シリンドリカルレンズ、42 第2シリンドリカルレンズ、43 第3シリンドリカルレンズ、44 第4シリンドリカルレンズ、82A 入射面、82B 出射面、81 保持部、81A 貫通穴、82 ウェッジプレート、100 光源装置、130 加工ヘッド、132 投影ヘッド、150 パワーメータ、160 拡大光学系、241 ベース、242 キャップ、243 カバーガラス、244 円盤状部、245 支持部、246 貫通孔。2 light source, 3 collimating optical system, 4 reduction optical system, 5 focusing optical system, 6 optical fiber, 10 processing device, 15 projector, 22 laser diode element, 23 photodiode, 24 package, 41 first cylindrical lens, 42 second cylindrical lens, 43 third cylindrical lens, 44 fourth cylindrical lens, 82A incident surface, 82B exit surface, 81 holding portion, 81A through hole, 82 wedge plate, 100 light source device, 130 processing head, 132 projection head, 150 power meter, 160 magnifying optical system, 241 base, 242 cap, 243 cover glass, 244 disk-shaped portion, 245 support portion, 246 through hole.
| Application Number | Priority Date | Filing Date | Title | 
|---|---|---|---|
| JP2021098700AJP7585987B2 (en) | 2021-06-14 | 2021-06-14 | Light source device, processing device, and inspection method | 
| Application Number | Priority Date | Filing Date | Title | 
|---|---|---|---|
| JP2021098700AJP7585987B2 (en) | 2021-06-14 | 2021-06-14 | Light source device, processing device, and inspection method | 
| Publication Number | Publication Date | 
|---|---|
| JP2022190396A JP2022190396A (en) | 2022-12-26 | 
| JP7585987B2true JP7585987B2 (en) | 2024-11-19 | 
| Application Number | Title | Priority Date | Filing Date | 
|---|---|---|---|
| JP2021098700AActiveJP7585987B2 (en) | 2021-06-14 | 2021-06-14 | Light source device, processing device, and inspection method | 
| Country | Link | 
|---|---|
| JP (1) | JP7585987B2 (en) | 
| Publication number | Priority date | Publication date | Assignee | Title | 
|---|---|---|---|---|
| JP2003121689A (en) | 2001-08-06 | 2003-04-23 | Nippon Sheet Glass Co Ltd | Optical module and method for assembling the same | 
| JP2006066875A (en) | 2004-07-26 | 2006-03-09 | Fuji Photo Film Co Ltd | Laser module | 
| JP2016091024A (en) | 2014-10-31 | 2016-05-23 | 住友電気工業株式会社 | Light emitting module and multi-channel light emitting module | 
| JP2018056148A (en) | 2015-02-09 | 2018-04-05 | 三菱電機株式会社 | Laser module and laser processing device | 
| WO2018110016A1 (en) | 2016-12-12 | 2018-06-21 | パナソニックIpマネジメント株式会社 | Fiber coupling device | 
| Publication number | Priority date | Publication date | Assignee | Title | 
|---|---|---|---|---|
| US5657409A (en)* | 1996-03-28 | 1997-08-12 | Motorola, Inc. | Optoelectric interconnect and method for interconnecting an optical fiber with an optoelectric device | 
| US6430337B1 (en)* | 1998-09-03 | 2002-08-06 | Agere Systems Optoelectronics Guardian Corp. | Optical alignment system | 
| Publication number | Priority date | Publication date | Assignee | Title | 
|---|---|---|---|---|
| JP2003121689A (en) | 2001-08-06 | 2003-04-23 | Nippon Sheet Glass Co Ltd | Optical module and method for assembling the same | 
| JP2006066875A (en) | 2004-07-26 | 2006-03-09 | Fuji Photo Film Co Ltd | Laser module | 
| JP2016091024A (en) | 2014-10-31 | 2016-05-23 | 住友電気工業株式会社 | Light emitting module and multi-channel light emitting module | 
| JP2018056148A (en) | 2015-02-09 | 2018-04-05 | 三菱電機株式会社 | Laser module and laser processing device | 
| WO2018110016A1 (en) | 2016-12-12 | 2018-06-21 | パナソニックIpマネジメント株式会社 | Fiber coupling device | 
| Publication number | Publication date | 
|---|---|
| JP2022190396A (en) | 2022-12-26 | 
| Publication | Publication Date | Title | 
|---|---|---|
| US11594853B2 (en) | Light source unit | |
| US20150303656A1 (en) | Semiconductor laser apparatus | |
| US11108214B2 (en) | Wavelength combining laser apparatus | |
| US20160147025A1 (en) | Ld module | |
| WO2013150864A1 (en) | Semiconductor laser optical device | |
| JP7488445B2 (en) | Light source unit | |
| CN106104343B (en) | Light guide device, manufacturing method and LD module | |
| US20130272334A1 (en) | Semiconductor laser module and method for manufacturing same | |
| CN117546381A (en) | Single emitter stack for wavelength beam combining laser system | |
| JP7585987B2 (en) | Light source device, processing device, and inspection method | |
| US20220123523A1 (en) | Semiconductor laser device | |
| JP7600530B2 (en) | Light source device, projector and machining device | |
| US20240283222A1 (en) | Light emitting device, laser processing system, method for manufacturing light emitting device, and method for manufacturing laser processing system | |
| US6744720B2 (en) | Optical element and optical pick-up | |
| JP7490697B2 (en) | Light Emitting Module | |
| WO2020195023A1 (en) | Optical kit and optical device | |
| JP7665292B2 (en) | Light source device, projector and machining device | |
| US20240176156A1 (en) | Optical system and laser device, collimator lens | |
| TWM606093U (en) | High brightness optical fiber output laser module | |
| EP4524643A1 (en) | Narrow beam generating device | |
| US20230369822A1 (en) | Optical kit and optical device | |
| JP2006284856A (en) | Multiplexing module | |
| US11187915B2 (en) | Parallel light generation device | |
| JPH10269613A (en) | Optical head device | |
| WO2022201310A1 (en) | Laser device | 
| Date | Code | Title | Description | 
|---|---|---|---|
| A621 | Written request for application examination | Free format text:JAPANESE INTERMEDIATE CODE: A621 Effective date:20231017 | |
| A977 | Report on retrieval | Free format text:JAPANESE INTERMEDIATE CODE: A971007 Effective date:20240430 | |
| A131 | Notification of reasons for refusal | Free format text:JAPANESE INTERMEDIATE CODE: A131 Effective date:20240507 | |
| A601 | Written request for extension of time | Free format text:JAPANESE INTERMEDIATE CODE: A601 Effective date:20240705 | |
| A521 | Request for written amendment filed | Free format text:JAPANESE INTERMEDIATE CODE: A523 Effective date:20240905 | |
| TRDD | Decision of grant or rejection written | ||
| A01 | Written decision to grant a patent or to grant a registration (utility model) | Free format text:JAPANESE INTERMEDIATE CODE: A01 Effective date:20241008 | |
| A61 | First payment of annual fees (during grant procedure) | Free format text:JAPANESE INTERMEDIATE CODE: A61 Effective date:20241021 | |
| R150 | Certificate of patent or registration of utility model | Ref document number:7585987 Country of ref document:JP Free format text:JAPANESE INTERMEDIATE CODE: R150 |