








本発明は、紙葉類識別装置、紙葉類処理装置及び紙葉類識別方法に関する。The present invention relates to a paper sheet recognition device, a paper sheet processing device, and a paper sheet recognition method.
従来、紙葉類のセキュリティ要素として、光学可変素子(Optical Variable Device: OVD)が多くの国で用いられている。光学可変素子は、回折格子や薄膜、マイクロレンズ等の光学素子を用いて、色や模様の変化等、光学的な効果を生じさせる光学可変特徴を有するものである。具体的には、光学可変素子に照らす光の角度、及び/又は、光学可変素子が見られる角度が変化することにより、色や模様等の光学可変素子の外観が変化する。ホログラムや光学可変インク(Optical Variable Ink: OVI)、モーションスレッド等は、光学可変素子の一種である。Optical variable devices (OVDs) have traditionally been used in many countries as security elements for paper sheets. Optical variable devices have optically variable characteristics that produce optical effects, such as changes in color or pattern, using optical elements such as diffraction gratings, thin films, and microlenses. Specifically, the appearance of the optical variable element, such as color or pattern, changes as the angle of light shining on the optical variable element and/or the angle at which the optical variable element is viewed changes. Holograms, optically variable ink (OVI), motion threads, etc. are types of optically variable elements.
近年、光学可変素子に磁気特徴を付与した、光学可変特徴及び磁気特徴を併せ持った新たなセキュリティ要素が現れている。In recent years, new security elements have emerged that combine optically variable features and magnetic features by adding magnetic features to optically variable elements.
例えば、特許文献1には、紙葉類のスレッド部分を測定する光透過センサと、当該スレッド部分を測定する磁気センサとを備え、両センサによる測定結果がスレッドの存在をしめしているときのみ当該紙葉類が真券であると判断する紙葉類特徴検出装置が開示されている。For example, Patent Document 1 discloses a sheet characteristic detection device that has a light transmission sensor that measures the thread portion of a sheet and a magnetic sensor that measures the thread portion, and determines that the sheet is genuine only when the measurement results from both sensors indicate the presence of a thread.
また、特許文献2には、第一及び第二の二方向から光学可変素子領域に光を照射し、当該光学可変素子領域から反射された光を第三の方向から受光し、両照射光の情報から光学可変素子領域の有無を判定する有価書類識別装置が開示されている。Patent document 2 also discloses a valuable document identification device that irradiates light onto an optically variable element region from two directions, a first and a second, receives light reflected from the optically variable element region from a third direction, and determines the presence or absence of an optically variable element region from the information of both irradiated lights.
しかしながら、特許文献1に記載の紙葉類特徴検出装置では、磁気センサで紙葉類の磁気特徴を検出することはできるが、光学可変特徴を検出することはできない。However, the paper characteristic detection device described in Patent Document 1 can detect the magnetic characteristics of paper sheets using a magnetic sensor, but cannot detect optically variable characteristics.
また、特許文献2に記載の有価書類識別装置では、光学可変特徴を検出することはできるが、光学可変特徴に含まれる磁気特徴を検出することはできない。Furthermore, the valuable document identification device described in Patent Document 2 can detect optically variable features, but cannot detect magnetic features contained in the optically variable features.
本発明は、上記現状に鑑みてなされたものであり、光学可変特徴及び磁気特徴を併せ持ったセキュリティ要素を検出可能な紙葉類識別装置、紙葉類処理装置及び紙葉類識別方法を提供することを目的とするものである。The present invention has been made in consideration of the above-mentioned current situation, and aims to provide a paper sheet identification device, a paper sheet processing device, and a paper sheet identification method that are capable of detecting a security element that has both an optically variable feature and a magnetic feature.
上述した課題を解決し、目的を達成するために、本発明は、光学可変特徴及び磁気特徴を有するセキュリティ要素を備える紙葉類を識別する紙葉類識別装置であって、紙葉類の光学情報を検出する光学センサと、紙葉類の磁気情報を検出する磁気センサと、前記光学センサによって検出された紙葉類の光学情報と、前記磁気センサによって検出された当該紙葉類の磁気情報とに基づいて、当該紙葉類の同一領域に光学可変特徴及び磁気特徴が存在するか否かを判定する判定部と、を備えることを特徴とする。In order to solve the above-mentioned problems and achieve the object, the present invention provides a paper sheet identification device for identifying paper sheets having security elements with optically variable features and magnetic features, and is characterized by comprising an optical sensor for detecting optical information on the paper sheet, a magnetic sensor for detecting magnetic information on the paper sheet, and a determination unit for determining whether or not an optically variable feature and a magnetic feature are present in the same area of the paper sheet based on the optical information on the paper sheet detected by the optical sensor and the magnetic information on the paper sheet detected by the magnetic sensor.
また、本発明は、上記発明において、前記紙葉類識別装置は、前記判定部の判定結果を用いて前記紙葉類の真偽判定を行う真偽判定部を更に備えることを特徴とする。Furthermore, in the above invention, the present invention is characterized in that the paper sheet recognition device further includes an authenticity determination unit that determines the authenticity of the paper sheets using the determination result of the determination unit.
また、本発明は、上記発明において、前記真偽判定部は、前記判定部によって前記同一領域に前記光学可変特徴及び前記磁気特徴が存在すると判定された場合、前記紙葉類を真正な紙葉類であると判定することを特徴とする。Furthermore, in the above invention, the present invention is characterized in that the authenticity determination unit determines that the paper sheet is a genuine paper sheet when the determination unit determines that the optically variable feature and the magnetic feature are present in the same area.
また、本発明は、上記発明において、前記光学センサ及び前記磁気センサは、紙葉類が搬送される搬送路の幅方向にライン状に設けられたラインセンサであり、前記紙葉類識別装置は、前記光学センサによって検出された前記光学情報に基づく光学画像を生成する光学画像生成部と、前記磁気センサによって検出された前記磁気情報に基づく磁気画像を生成する磁気画像生成部と、を更に備え、前記判定部は、前記光学画像に基づいて、前記光学可変特徴が存在するか否かを判定し、かつ前記磁気画像に基づいて、前記磁気特徴が存在するか否かを判定することを特徴とする。Furthermore, in the above invention, the present invention is characterized in that the optical sensor and the magnetic sensor are line sensors arranged in a line in the width direction of the transport path along which the paper sheets are transported, and the paper sheet identification device further includes an optical image generation unit that generates an optical image based on the optical information detected by the optical sensor, and a magnetic image generation unit that generates a magnetic image based on the magnetic information detected by the magnetic sensor, and the determination unit determines whether or not the optically variable feature exists based on the optical image, and determines whether or not the magnetic feature exists based on the magnetic image.
また、本発明は、上記発明において、前記判定部は、前記光学画像における光学可変特徴部分の形状と、前記磁気画像における磁気特徴部分の形状とを互いに比較することを特徴とする。Furthermore, in the above invention, the present invention is characterized in that the determination unit compares the shape of the optically variable feature portion in the optical image with the shape of the magnetic feature portion in the magnetic image.
また、本発明は、上記発明において、前記光学センサは、紙葉類で反射した第1反射光及び第2反射光を検出し、前記第2反射光は、紙葉類へ入射するまでの進行方向と、紙葉類で反射後の進行方向との少なくとも一方が前記第1反射光と異なり、前記光学画像生成部は、前記第1反射光に係る光学情報に基づく第1反射画像と、前記第2反射光に係る光学情報に基づく第2反射画像とを生成し、前記判定部は、前記第1反射画像及び前記第2反射画像に基づいて、前記光学可変特徴が存在するか否かを判定することを特徴とする。Furthermore, in the above invention, the present invention is characterized in that the optical sensor detects first reflected light and second reflected light reflected from the paper sheet, and the second reflected light differs from the first reflected light in at least one of the traveling direction until it enters the paper sheet and the traveling direction after it is reflected from the paper sheet, the optical image generating unit generates a first reflected image based on optical information related to the first reflected light and a second reflected image based on optical information related to the second reflected light, and the determining unit determines whether or not the optically variable feature is present based on the first reflected image and the second reflected image.
また、本発明は、上記発明において、前記紙葉類識別装置は、紙葉類が搬送される搬送路の幅方向にライン状に設けられ、搬送される紙葉類の光学情報を検出する光学ラインセンサと、紙葉類の種類及び方向を判定する主判定部と、を更に備え、前記光学画像は、第1光学画像であり、前記光学画像生成部は、前記光学ラインセンサによって検出された前記光学情報に基づく第2光学画像を生成し、前記主判定部は、少なくとも前記第2光学画像に基づいて、紙葉類の種類及び方向を判定し、前記判定部は、前記主判定部による判定結果に基づいて、前記セキュリティ要素の領域を特定し、特定した前記セキュリティ要素の領域内の前記同一領域にて前記光学可変特徴及び前記磁気特徴が存在するか否かを判定することを特徴とする。Furthermore, in the above invention, the paper sheet identification device further includes an optical line sensor arranged in a line in the width direction of the transport path along which the paper sheets are transported, which detects optical information of the transported paper sheets, and a main judgment unit which judges the type and orientation of the paper sheets, and the optical image is a first optical image, the optical image generating unit generates a second optical image based on the optical information detected by the optical line sensor, the main judgment unit judges the type and orientation of the paper sheets based on at least the second optical image, and the judgment unit identifies the area of the security element based on the judgment result by the main judgment unit, and judges whether the optical variable feature and the magnetic feature are present in the same area within the identified area of the security element.
また、本発明は、紙葉類処理装置であって、前記紙葉類処理装置は、前記紙葉類識別装置を備えることを特徴とする。The present invention also provides a paper sheet processing device, the paper sheet processing device being equipped with the paper sheet recognition device.
また、本発明は、光学可変特徴及び磁気特徴を有するセキュリティ要素を備える紙葉類を識別する紙葉類識別方法であって、紙葉類の光学情報を検出するステップと、紙葉類の磁気情報を検出するステップと、検出した紙葉類の光学情報及び磁気情報に基づいて、当該紙葉類の同一領域に光学可変特徴及び磁気特徴が存在するか否かを判定するステップと、を備えることを特徴とする。The present invention also provides a paper sheet identification method for identifying paper sheets having security elements with optically variable features and magnetic features, characterized by comprising the steps of detecting optical information on the paper sheet, detecting magnetic information on the paper sheet, and determining whether or not an optically variable feature and a magnetic feature are present in the same area of the paper sheet based on the detected optical information and magnetic information on the paper sheet.
本発明の紙葉類識別装置、紙葉類処理装置及び紙葉類識別方法によれば、光学可変特徴及び磁気特徴を併せ持ったセキュリティ要素を検出することができる。The paper sheet identification device, paper sheet processing device, and paper sheet identification method of the present invention can detect security elements that have both optically variable features and magnetic features.
以下、本発明に係る紙葉類識別装置、紙葉類処理装置及び紙葉類識別方法の好適な実施形態を、図面を参照しながら説明する。本発明の対象となる紙葉類としては、紙幣、小切手、商品券、手形、帳票、有価証券、カード状媒体等の様々な紙葉類が適用可能であるが、以下においては、紙幣を対象とする装置及び方法を例として、本発明を説明する。なお、以下の説明は、紙葉類識別装置、紙葉類処理装置及び紙葉類識別方法の一例である。Below, preferred embodiments of the paper sheet recognition device, paper sheet processing device, and paper sheet recognition method according to the present invention will be described with reference to the drawings. Although various types of paper sheets, such as banknotes, checks, gift certificates, bills, forms, securities, and card-like media, can be used as the paper sheets that are the subject of the present invention, the present invention will be described below using an apparatus and method that targets banknotes as an example. Note that the following description is an example of the paper sheet recognition device, paper sheet processing device, and paper sheet recognition method.
<本実施形態の概要>
まず、図1及び2を用いて、実施形態1における紙幣識別の手法の概要について説明する。本実施形態では、光学可変特徴及び磁気特徴の両方を含むセキュリティ要素を検出し、真偽判定を行う。<Outline of this embodiment>
1 and 2, an overview of a bill identification method in embodiment 1 will be described. In this embodiment, a security element including both an optically variable feature and a magnetic feature is detected to determine authenticity.
図1に示すように、本実施形態の識別対象となる紙幣BNは、光学可変特徴OV及び磁気特徴Mを含むセキュリティ要素Sが設けられている。紙幣BNには、セキュリティ要素Sによって数字等の記号や模様が描かれている。セキュリティ要素Sは、色や模様の変化等、光学的な効果を生じさせる光学可変特徴OVと、磁性に基づく磁気特徴Mとを有している。すなわち、セキュリティ要素Sは、光学センサによって検出可能な特徴と、磁気センサによって検出可能な特徴とを併せ持っている。また、セキュリティ要素Sは、紙幣BNの同一領域に光学可変特徴OV及び磁気特徴Mを有しており、通常、光学可変特徴OVがある領域(の平面形状)と磁気特徴Mがある領域(の平面形状)とは互いに一致している。As shown in FIG. 1, the banknote BN to be identified in this embodiment is provided with a security element S including an optically variable feature OV and a magnetic feature M. Symbols such as numbers and patterns are drawn on the banknote BN by the security element S. The security element S has an optically variable feature OV that produces an optical effect such as a change in color or pattern, and a magnetic feature M based on magnetism. In other words, the security element S has both a feature that can be detected by an optical sensor and a feature that can be detected by a magnetic sensor. Furthermore, the security element S has the optically variable feature OV and the magnetic feature M in the same region of the banknote BN, and usually the area where the optically variable feature OV is located (the planar shape of the area) and the area where the magnetic feature M is located (the planar shape of the area) coincide with each other.
そこで、本実施形態では、図2(a)に示すように、光学センサの一例である光学ラインセンサにより紙幣BNの光学情報(好適には光学情報による光学画像)を検出するとともに、図2(b)に示すように、磁気センサの一例である磁気ラインセンサにより紙幣BNの磁気情報(好適には光学情報による磁気画像)を検出する。そして、これらの検出結果に基づいて、紙幣BNの同一領域に光学可変特徴OV及び磁気特徴Mが存在するか否かを判定する。これにより、紙幣BNの同一領域に光学可変特徴OV及び磁気特徴Mが存在する場合は、セキュリティ要素Sが存在する、すなわち紙幣BNが真券であると判定でき、紙幣BNの同一領域に光学可変特徴OV及び磁気特徴Mが存在しない場合は、セキュリティ要素Sが存在しない、すなわち紙幣BNが偽券であると判定することができる。Therefore, in this embodiment, as shown in FIG. 2(a), an optical line sensor, which is an example of an optical sensor, detects optical information (preferably an optical image based on optical information) of the banknote BN, and as shown in FIG. 2(b), a magnetic line sensor, which is an example of a magnetic sensor, detects magnetic information (preferably a magnetic image based on optical information) of the banknote BN. Then, based on these detection results, it is determined whether or not the optically variable feature OV and the magnetic feature M are present in the same area of the banknote BN. As a result, if the optically variable feature OV and the magnetic feature M are present in the same area of the banknote BN, it can be determined that the security element S is present, i.e., the banknote BN is a genuine note, and if the optically variable feature OV and the magnetic feature M are not present in the same area of the banknote BN, it can be determined that the security element S is not present, i.e., the banknote BN is a counterfeit note.
セキュリティ要素Sの光学可変特徴OVとしては、光学的な効果によって色が変化する特徴が好適である。すなわち、セキュリティ要素Sとしては、光学可変インク等の光学可変素子と同様の光学可変特徴を有するものが好適である。この場合、セキュリティ要素Sに照らす光の角度、及び/又はセキュリティ要素Sが見られる角度が変化することにより、セキュリティ要素Sの色が変化する。他方、セキュリティ要素Sの光学可変特徴OVは、ホログラムやモーションスレッド等のように、光学的な効果によって色や模様が変化する特徴であってもよい。この場合、セキュリティ要素Sに照らす光の角度、及び/又はセキュリティ要素Sが見られる角度が変化することにより、セキュリティ要素Sの色や模様が変化する。The optically variable feature OV of the security element S is preferably a feature that changes color due to an optical effect. That is, the security element S is preferably one that has an optically variable feature similar to an optically variable element such as optically variable ink. In this case, the color of the security element S changes as the angle of light shining on the security element S and/or the angle at which the security element S is viewed changes. On the other hand, the optically variable feature OV of the security element S may be a feature that changes color or pattern due to an optical effect, such as a hologram or motion thread. In this case, the color or pattern of the security element S changes as the angle of light shining on the security element S and/or the angle at which the security element S is viewed changes.
以下、光学可変特徴OV及び磁気特徴Mを含むセキュリティ要素Sを、光学可変磁気素子Sとも言う。Hereinafter, the security element S including the optically variable feature OV and the magnetic feature M is also referred to as the optically variable magnetic element S.
<紙幣処理装置の構成>
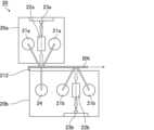
次に、図3を用いて、本実施形態に係る紙幣処理装置の構成について説明する。本実施形態に係る紙幣処理装置200は、例えば、図3(a)及び(b)に示す構成を有する。図3(a)及び(b)に示す紙幣処理装置200は、複数の紙幣を載置可能なホッパ210と、ホッパ210に載置された紙幣を1枚ずつ繰り出す繰出部211と、繰出部211から繰り出された紙幣を搬送する搬送路212と、紙幣の識別処理を行う紙幣識別装置100と、紙幣識別装置100で識別された正常な紙幣を集積する集積部213と、所定条件を満たさない異常な紙幣を集積するリジェクト部214と、紙幣処理装置200に入力された情報や、処理された結果等を表示する表示部215と、紙幣を搬送路212に沿って1枚ずつ搬送する搬送部(図示せず)と、を備える。搬送部は、複数のローラ等の搬送手段と、搬送手段を駆動する、モータ等の駆動装置とを有している。紙幣処理装置200は更に、装置内における紙幣の搬送状態を検知するため、図中の三角印で示される各位置に透過型又は反射型の光学センサを備えている。これらの光学センサの検知結果から、紙幣の形状と斜行状態を推定してもよい。紙幣識別装置100をこのような紙幣処理装置200に内蔵して利用することにより、ホッパ210に載置された複数の紙幣を連続して処理し、偽券、損券又は真偽不確定券と判定された紙幣をリジェクト部214に返却し、分別することができる。<Configuration of the banknote handling device>
Next, the configuration of the banknote processing device according to this embodiment will be described with reference to FIG. 3. The
紙幣識別装置100は、一般的な識別処理に使用される標準センサユニット100aと、光学可変素子といった特殊なセキュリティ要素を検出するために使用されるオプションセンサユニット100bと、を備えている。The
紙幣識別装置100は、これらのユニット100a及び100bのセンサによって取得されたデータ(情報)を利用して紙幣BNの識別処理を行う。識別処理の内容は特に限定されず、例えば、紙幣の場合は金種の識別、紙幣の真偽や正損の判定、紙幣の外形情報や通過位置情報の取得、紙幣に印字された数字、文字等の記号の読み取りといった各種機能が挙げられる。The
<紙幣識別装置の構成>
次に、図4~7を用いて、紙幣識別装置100、特に標準センサユニット100a及びオプションセンサユニット100bの構成について説明する。<Configuration of the banknote validator>
Next, the configuration of the
まず、図4を用いて、標準センサユニット100aの構成について説明する。図4(a)及び(b)に示すように、標準センサユニット100aは、紙幣処理装置200において紙幣BNが搬送される搬送路212を挟んだ上側のユニットと下側のユニットとから構成されている。図4(b)は、標準センサユニット100aの上側のユニットを下から見た平面図に相当する。標準センサユニット100aは、紙幣BNの搬送路212に沿って、標準センサユニット100aに順次搬送されてくる紙幣BNを検出し、標準センサユニット100aにおける紙幣BNの検出開始のタイミングを決定するための紙幣検出信号を生成するフォトセンサ11と、搬送路212を搬送される紙幣BNの光学情報(画像データ)を検出する光学ラインセンサ(密着イメージセンサ)20と、搬送路212を挟んで対向するローラの一方における紙幣BN通過時の変位量をセンサによって検出することによって紙幣BNの厚みを検出する厚み検出センサ30と、搬送路212を搬送される紙幣BNの磁気情報を検出する磁気ラインセンサ40と、紙幣BNが通過したことを検出するフォトセンサ12とが並んで配置された構成を有する。光学ラインセンサ20、厚み検出センサ30及び磁気ラインセンサ40は、搬送路212の幅方向にライン状に設けられ、搬送路212の幅に対して充分に長く、紙幣BNの全面を検出できる。また、標準センサユニット100aには、搬送路212内を紙幣BNが移動できるように、搬送機構13が設けられている。搬送機構13としては特に限定されず、例えば、ローラ、ベルト等をモータ等の駆動装置で駆動するものが用いられる。更に、磁気ラインセンサ40の下方には、紙幣BNを磁気ラインセンサ40の磁気検出面に密着させることができるように、外周表面に毛状の材料が設けられた毛ローラ14が配置されている。First, the configuration of the
次に、図5を用いて、光学ラインセンサ20の構成について説明する。図5に示すように、光学ラインセンサ20は、互いに対向配置された上側のユニット20aと下側のユニット20bとを備えている。ユニット20a及び20bの間には、紙幣BNが搬送される隙間が形成されており、この隙間は紙幣処理装置の搬送路212の一部を構成する。Next, the configuration of the
上側のユニット20aは、2つの反射用光源21a、集光レンズ22a及び受光部23aを備えている。各光源21aは、紙幣BNの搬送方向(副走査方向)に対して直交する方向(主走査方向)に直線状に延在しており、紙幣BNの一方の主面(以下、A面)に、所定波長の光(赤外光等の非可視光と、赤・緑・青等の単色光や白色光等の可視光)を直線状に照射する。集光レンズ22aは、光源21aから出射され、紙幣BNで反射された光を集光する。受光部23aは、主走査方向に直線状に配列された複数の撮像素子(受光素子、図示せず)を備え、集光レンズ22aによって集光された光を電気信号に変換する。そして、その電気信号を増幅処理した後、デジタルデータにA/D変換した上で、紙幣BNの光学情報として画像信号を出力する。The
下側のユニット20bは、2つの反射用光源21b、集光レンズ22b、受光部23b及び透過用光源24を備えている。光源21b、集光レンズ22b及び受光部23bは、上側のユニット20aの光源21a、集光レンズ22a及び受光部23aと同様であるので説明を省略する。ただし、光源21bは、紙幣BNの他方の主面(以下、B面)に光を照射する。光源24もまた、紙幣BNのB面に、所定波長の光(赤外光等の非可視光と、赤・緑・青等の単色光や白色光等の可視光)をライン状に照射する。透過用光源24は、上側のユニット20aの集光レンズ22aの光軸上に配置されており、光源24から出射された光の一部は、紙幣BNを透過し、集光レンズ22aに集光されて受光部23aで検出される。The
各光源21a、21b、24は、例えば、主走査方向に延びる直線状の導光体(図示せず)と、導光体の両端部(一方の端部でもよい)に設けられた複数の発光体(例えば、発光ダイオード(LED)、図示せず)とを備えている。Each
ユニット20a及び20bがそれぞれ、搬送方向に搬送されている紙幣BNに対して一定の時間間隔で撮像(撮像素子の露光)を繰り返し行い、画像信号を出力する 。これにより、上側のユニット20aの出力信号に基づいて、紙幣BNのA面の反射画像と紙幣BNの透過画像とを取得でき、下側のユニット20bの出力信号に基づいて、紙幣BNのB面の反射画像を取得することができる。Each of the
次に、図6を用いて、磁気ラインセンサ40の構成について説明する。磁気ラインセンサ40は、図6に示すように、搬送路212の片面側に、搬送路212の幅方向にライン状に配置されている。磁気ラインセンサ40は、上述の光学可変磁気素子Sや、紙幣BNに印刷された磁気インク、紙幣BNに設けられた磁気スレッド等の磁気情報を紙幣BNの全面で検出する。Next, the configuration of the
磁気ラインセンサ40は、磁気ヘッド41中に、主走査方向に直線状に配列された複数の磁気センサ部42と、バイアス磁界を発生させるための磁石43とを備え、各磁気センサ部42で取得した磁気データを出力する。すなわち、磁気センサ部42の数と同じチャンネル数、又は磁気センサ部42の数未満のチャンネル数の磁気信号を出力する。各磁気センサ部42は、少なくとも1つ(好ましくは2つ)の磁気検出素子を有する。各磁気検出素子としては、例えば、磁性体の磁束密度の変化を電圧の変動として出力する微分型磁気検出素子として、磁気抵抗素子(MR素子)、フラックスゲート(FG素子)、磁気インピーダンス(MI素子)等が挙げられ、磁性体の磁束密度の強さ(絶対値)を出力するものとして、ホール素子等が挙げられる。磁気抵抗素子(MR素子)の種類は、異方性磁気抵抗素子(AMR素子)、巨大磁気抵抗素子(GMR素子)、トンネル磁気抵抗素子(TMR素子)等であってもよい。The
各磁気センサ部42は、磁性体のエッジを検出する差分出力型でもよいし、磁性体の領域全体を検出するレベル出力型でもよい。ただし、差分出力型では、2つの磁気検出素子の差分を出力するため、一般的にはグラデーションの検出が困難である。そのため、各磁気センサ部42は、レベル出力型であることが好ましい。レベル出力型では、磁性体の磁束密度の強さに比例した出力電圧が得られるため、グラデーションの検出が容易である。Each
磁気ラインセンサ40は、紙幣BNの磁性を透過で、すなわち紙幣の表面、裏面及び内部の磁性を同時に検出可能であるため、搬送路212の片面側だけに配置することができる。The
次に、図7を用いて、オプションセンサユニット100bの構成について説明する。紙幣識別装置100は、オプションセンサユニット100bとして、紙幣BNの光学情報を検出する光学ラインセンサ50を備えている。Next, the configuration of the
図7に示すように、光学ラインセンサ50は、互いに対向配置された上側のユニット50aと下側のユニット50bとを備えている。ユニット50a及び50bの間には、紙幣BNが搬送される隙間が形成されており、この隙間は紙幣処理装置の搬送路212の一部を構成する。ユニット50a及び50bは、互いに同様の構成を有するので、ここでは、上側のユニット50aについて主に説明する。As shown in FIG. 7, the
上側のユニット50aは、紙幣BMで反射した第1反射光及び第2反射光を検出するものであり、第2反射光は、紙幣BMへ入射するまでの進行方向と、紙幣BMで反射後の進行方向との少なくとも一方が第1反射光と異なっている。これにより、紙幣BNに光学可変特徴OVが存在するか否かを判定することができる。より詳細には、光学可変磁気素子Sが存在すると推定される領域で反射した第1反射光及び第2反射光を検出し、第1反射光及び第2反射光の色(波長)が異なる場合は、当該領域に光学可変特徴OVが存在すると判定し、第1反射光及び第2反射光の色(波長)が同じ場合は、当該領域に光学可変特徴OVが存在しないと判定することが可能である。The
上側のユニット50aは、紙幣BNの反射画像を取得するためのものであり、紙幣BMへ入射するまでの進行方向が互いに異なる一方で、紙幣BMで反射後の進行方向が互いに同じである第1反射光及び第2反射光を検出する。The
上側のユニット50aは、2つの反射用光源51、52、集光レンズ53及び受光部54を備えている。各光源51、52は、主走査方向に直線状に延在しており、紙幣BNのA面に、赤、緑及び青の光を含む白色光を直線状に照射する。集光レンズ53は、光源51及び52からそれぞれ出射され、紙幣BNで反射された第1反射光及び第2反射光を集光する。受光部54は、主走査方向に直線状に配列された複数の撮像素子(受光素子、図示せず)を備え、集光レンズ53によって集光された第1反射光及び第2反射光を電気信号に変換する。そして、その電気信号を増幅処理した後、デジタルデータにA/D変換した上で、紙幣BNの光学情報として画像信号を出力する。The
各光源51、52は、例えば、主走査方向に延びる直線状の導光体(図示せず)と、導光体の両端部(一方の端部でもよい)に設けられた複数の発光体(例えば、発光ダイオード(LED)、図示せず)とを備えている。Each
光源51及び52は、搬送される紙幣BNに向けて互いに異なる方向、具体的には、それぞれ第一の方向及び第二の方向から光を照射するように配置されている。また、受光部54は、紙幣BNから反射される光を第三の方向から受光するように配設されている。すなわち、第1反射光及び第2反射光は、それぞれ、光源51及び52から紙幣BMへ入射するまでの進行方向が互いに異なる(第一の方向及び第二の方向)。他方、第1反射光及び第2反射光は、紙幣BMで反射後の進行方向は互いに同じである(第三の方向)。The
ここで、紙幣BNの面(紙幣BNの搬送面216)の垂直線Dに対して、第一の方向、第二の方向及び第三の方向がなす角度をそれぞれ、第一の角度θ1、第二の角度θ2及び第三の角度θ3とすると、光源51、光源52及び受光部54は、θ1、θ2及びθ3が互いに異なる関係となるように配置されている。これにより、光源51による紙幣BNの第1反射画像における光学可変磁気素子Sの色等の外観と、光源52による紙幣BNの第2反射画像における光学可変磁気素子Sの色等の外観とが異なることになり、光学可変磁気素子Sの光学可変特徴OVの検出が可能となる。Here, if the angles formed by the first direction, the second direction, and the third direction with respect to the perpendicular line D of the face of the banknote BN (the conveying
角度θ1及び角度θ2は特に限定されないが、θ1は、-10°~20°であり、θ2は、40°~70°であることが好ましく、θ1は、-5°~15°であり、θ2は、45°~65°であることがより好ましい。Angles θ1 and θ2 are not particularly limited, but it is preferable that θ1 is -10° to 20° and θ2 is 40° to 70°, and it is even more preferable that θ1 is -5° to 15° and θ2 is 45° to 65°.
角度θ3に関しても特に限定されないが、第1反射画像と第2反射画像との間における光学可変磁気素子Sの色の相違を明確にして、光学可変磁気素子Sを高精度に検出する観点からは、25°以上、90°未満であることが好ましい。θ3の上限は、65°以下であることが好ましく、60°以下であることがより好ましく、55°以下であることが更に好ましい。The angle θ3 is not particularly limited, but from the viewpoint of clarifying the difference in color of the optically variable magnetic element S between the first reflected image and the second reflected image and detecting the optically variable magnetic element S with high accuracy, it is preferable that the angle θ3 is 25° or more and less than 90°. The upper limit of θ3 is preferably 65° or less, more preferably 60° or less, and even more preferably 55° or less.
各撮像素子には、色選択用のフィルタ、具体的には光の三原色である赤(R)、緑(G)又は青(B)のカラーフィルタが設けられている。これにより、各画素に色情報を持たせ、上側のユニット20aの出力信号をカラー化している。Each imaging element is provided with a filter for color selection, specifically a color filter for the three primary colors of light: red (R), green (G) or blue (B). This gives each pixel color information, and colorizes the output signal of the
なお、各光源51、52が照射する光は、光学可変磁気素子Sの色に対応する波長の光を含むものであれば特に限定されない。また、各光源51、52は、赤、緑及び青の光を順次照射してもよく、この場合は、各撮像素子に色選択用のフィルタを設けなくてもよい。The light emitted by each of the
ユニット20a及び20bがそれぞれ、搬送方向に搬送されている紙幣BNに対して一定の時間間隔で撮像(撮像素子の露光)を繰り返し行い、画像信号を出力する。これにより、上側のユニット20aの出力信号に基づいて、紙幣BNのA面の第1反射画像及び第2反射画像を取得でき、下側のユニット20bの出力信号に基づいて、紙幣BNのB面の第1反射画像及び第2反射画像を取得することができる。Each of the
<紙幣識別装置の機能ブロック>
次に、図8を用いて、紙幣識別装置100の機能ブロックについて説明する。図8に示すように、紙幣識別装置100は、紙幣識別装置100の各構成要素を制御する制御部(演算処理部)60と、記憶部70とを更に備えている。制御部60には、各センサや記憶部70等が接続されている。<Functional blocks of the banknote validator>
Next, functional blocks of the
記憶部70は、揮発性又は不揮発性のメモリ等の記憶装置から構成されており、紙幣識別装置100を制御するための各種プログラムと各種データとを記憶している。また、記憶部70は、識別処理に利用される基準情報となるテンプレートを各種の識別処理毎に記憶している。The
制御部60は、例えば、各種の処理を実現するためのソフトウェアプログラムと、該ソフトウェアプログラムを実行するCPUと、該CPUによって制御される各種ハードウェア等によって構成されている。制御部60の動作に必要なソフトウェアプログラムやデータは記憶部70に記憶される。The
制御部60は、光学画像生成部61、磁気画像生成部62、主判定部63、判定部64及び真偽判定部65の機能を備えている。The
光学画像生成部61は、光学可変特徴検出用の光学ラインセンサ50によって検出された光学情報に基づく第1光学画像を生成する。The optical
より詳細には、光学画像生成部61は、第1光学画像として、紙幣BMで反射した第1反射光に係る光学情報(画像信号)に基づいて第1反射画像を生成するとともに、紙幣BMで反射した第2反射光に係る光学情報(画像信号)に基づいて第2反射画像を生成する。光学画像生成部61は、光学ラインセンサ50の上側のユニット50aの出力信号から、紙幣BNのA面の第1反射画像及び第2反射画像を生成するとともに、光学ラインセンサ50の下側のユニット50bの出力信号から、紙幣BNのB面の第1反射画像及び第2反射画像を生成する。More specifically, the optical
光学ラインセンサ50による第1光学画像(各反射画像)の解像度は、特に限定されないが、例えば、主走査方向及び副走査方向のそれぞれにおいて10~200dpiである。The resolution of the first optical image (each reflected image) captured by the
また、光学画像生成部61は、標準センサユニット100aの光学ラインセンサ20によって検出された光学情報(画像信号)に基づく第2光学画像を生成する。より詳細には、光学画像生成部61は、第2光学画像として、光学ラインセンサ20の上側のユニット20aの出力信号から、紙幣BNのA面の反射画像及び紙幣BNの透過画像を生成するとともに、光学ラインセンサ20の下側のユニット20bの出力信号から、紙幣BNのB面の反射画像を生成する。The optical
磁気画像生成部62は、磁気ラインセンサ40によって検出された磁気情報(磁気信号)に基づく磁気画像を生成する。例えば、磁気ラインセンサ40がレベル出力型の磁気センサ部42を備える場合は、各チャンネルの出力信号を最大値と最小値との間で量子化して階調データを生成する。The magnetic
磁気ラインセンサ40による磁気画像の解像度は、特に限定されないが、例えば、主走査方向及び副走査方向のそれぞれにおいて10~200dpiある。The resolution of the magnetic image captured by the
主判定部63は、紙幣BNの金種(種類)及び方向を判定する。より詳細には、主判定部63は、少なくとも第2光学画像に基づいて、紙幣BNの金種及び方向を判定する。例えば、第2光学画像(紙幣BNのA面及びB面の反射画像、並びに紙幣BNの透過画像)の特徴パターンと、紙幣BNの金種及び方向ごとの特徴パターンである主判定用のテンプレートとを比較して、紙幣BNの金種及び方向を判定する。The
なお、ここで、方向とは、具体的には、紙幣BNの向き(正逆の2方向)と、紙幣BNの表裏とを含む4方向を示す。Here, the direction specifically refers to four directions including the orientation of the banknote BN (the two directions, forward and reverse) and the front and back of the banknote BN.
判定部64は、光学可変特徴検出用の光学ラインセンサ50によって検出された紙幣BNの光学情報と、磁気ラインセンサ40によって検出された紙幣BNの磁気情報とに基づいて、紙幣BNの同一領域に光学可変特徴OV及び磁気特徴Mが存在するか否かを判定する。これにより、光学可変磁気素子Sを検出することができる。光学可変磁気素子Sは、上述のように、紙幣BNの同一領域に光学可変特徴OV及び磁気特徴Mを有するためである。The
具体的には、判定部64は、紙幣BNの光学情報に基づき検出した光学可変特徴OVの領域の少なくとも一部と、紙幣BNの磁気情報に基づき検出した磁気特徴Mの領域の少なくとも一部とが重なり合う場合は、紙幣BNの同一領域に光学可変特徴OV及び磁気特徴Mが存在すると判定し、これらの領域が重なり合わない場合(光学可変特徴OV磁気特徴Mの少なくとも一方が検出されなかった場合も含む)は、紙幣BNの同一領域に光学可変特徴OV及び磁気特徴Mが存在しないと判定する。Specifically, if at least a part of the area of the optically variable feature OV detected based on the optical information of the banknote BN overlaps with at least a part of the area of the magnetic feature M detected based on the magnetic information of the banknote BN, the
このとき、判定部64は、主判定部63による判定結果に基づいて、光学可変磁気素子Sの領域R(図1及び2参照)を特定し、特定した光学可変磁気素子Sの領域R内の同一領域にて光学可変特徴OV及び磁気特徴Mが存在するか否かを判定することが好ましい。これにより、より確実に光学可変磁気素子Sの有無を判定することができる。At this time, it is preferable that the
より詳細には、紙幣BNの金種及び方向ごとに光学可変磁気素子Sが存在する領域R(例えば矩形の領域)を特定した情報を主判定用のテンプレートに含めておく。そして、判定部64は、主判定部63によって判定された金種及び方向に対応する当該情報に基づいて、光学可変磁気素子Sの領域Rを特定する。また、判定部64は、第1光学画像に基づいて、特定した光学可変磁気素子Sの領域R内に光学可変特徴OVが存在するか否かを判定する。光学可変特徴OVが存在する場合、判定部64は、磁気画像に基づいて、光学可変特徴OVが存在する領域内に磁気特徴Mが存在するか否かを判定する。磁気特徴Mが存在する場合、判定部64は、紙幣BNの同一領域に光学可変特徴OV及び磁気特徴Mが存在すると判定する。他方、これらの判定処理において、領域R内に光学可変特徴OVが存在しないと判定された場合、又は光学可変特徴OVが存在する領域内に磁気特徴Mが存在しないと判定された場合は、判定部64は、紙幣BNの同一領域に光学可変特徴OV及び磁気特徴Mが存在しないと判定する。More specifically, the template for main judgment includes information specifying the region R (e.g., a rectangular region) in which the optically variable magnetic element S exists for each denomination and direction of the banknote BN. Then, the
なお、判定部64は、まず、光学可変磁気素子Sの領域R内での磁気特徴Mの有無を判定してから、磁気特徴Mが存在する領域内での光学可変磁気素子Sの有無を判定してもよい。The
また、判定部64は、第1光学画像に基づいて、光学可変特徴OVが存在するか否かを判定し、かつ磁気画像に基づいて、磁気特徴Mが存在するか否かを判定する。The
光学可変特徴OVについては、判定部64は、第1反射画像及び第2反射画像に基づいて、光学可変特徴OVが存在するか否かを判定する。すなわち、判定部64は、紙幣BNのA面の第1反射画像及び第2反射画像から、紙幣BNのA面に光学可変特徴OVが存在するか否かを判定し、紙幣BNのB面の第1反射画像及び第2反射画像から、紙幣BNのB面に光学可変特徴OVが存在するか否かを判定する。なお、判定部64は、紙幣BNのA面又はB面のいずれか一方のみについて光学可変特徴OVが存在するか否かを判定してもよい。With regard to the optically variable feature OV, the
例えば、判定部64は、光学可変磁気素子Sの領域Rにおいて、第1反射画像及び第2反射画像の色(波長)、例えばRGBの強度比が異なる場合は、領域Rに光学可変特徴OVが存在すると判定し、光学可変磁気素子Sの領域Rにおいて、第1反射画像及び第2反射画像の色(波長)、例えばRGBの強度比が同じ場合は、領域Rに光学可変特徴OVが存在しないと判定する。For example, if the colors (wavelengths), e.g., the intensity ratio of RGB, of the first and second reflected images are different in region R of the optically variable magnetic element S, the
判定部64は、第1光学画像における光学可変特徴部分の形状(平面形状)と、磁気画像における磁気特徴部分の形状(平面形状)とを互いに比較してもよい。これにより、光学可変特徴OVがある領域と磁気特徴Mがある領域とが互いに一致する光学可変磁気素子Sを高精度に検出することができる。このとき、判定部64は、当該比較の結果、光学可変特徴部分の形状と、磁気特徴部分の形状とが、互いに一致する場合は、紙幣BNの同一領域に光学可変特徴OV及び磁気特徴Mが存在すると判定し、互いに一致しない場合は、紙幣BNの同一領域に光学可変特徴OV及び磁気特徴Mが存在しないと判定する。The
光学可変特徴部分と磁気特徴部分の形状を比較する場合、光学ラインセンサ50による第1光学画像(各反射画像)の解像度と、磁気ラインセンサ40による磁気画像の解像度とは、それぞれ、適宜設定可能であり、例えば、いずれの解像度も上述のように主走査方向及び副走査方向のそれぞれにおいて10~200dpiであってもよい。When comparing the shapes of the optically variable feature portion and the magnetic feature portion, the resolution of the first optical image (each reflected image) from the
なお、光学可変特徴部分と磁気特徴部分の形状が一致する場合と一致しない場合の境界となる基準は、第1光学画像及び磁気画像のそれぞれの解像度等に応じて、適宜設定可能である。The criterion for determining whether the shapes of the optically variable feature portion and the magnetic feature portion match or do not match can be set appropriately depending on the resolution of each of the first optical image and the magnetic image, etc.
真偽判定部65は、判定部64の判定結果を用いて紙幣BNの真偽判定を行う。これにより、光学可変磁気素子Sの有無に基づいて紙幣BNの真偽判定を精度良く行うことが可能である。The
より詳細には、真偽判定部65は、判定部64によって紙幣BNの同一領域に光学可変特徴OV及び磁気特徴Mが存在すると判定された場合、当該紙幣BNを真正な紙幣であると判定する。他方、真偽判定部65は、判定部64によって紙幣BNの同一領域に光学可変特徴OV及び磁気特徴Mが存在しないと判定された場合、当該紙幣BNを偽造紙幣であると判定する。More specifically, when the
<紙幣識別の手順>
次に、図9を用いて、紙幣識別装置100で行われる処理の手順について説明する。<Banknote Identification Procedure>
Next, the procedure of the process performed by the
図9に示すように、まず、光学ラインセンサ20及び50が、紙幣BNの光学情報を検出する(ステップS11)。As shown in FIG. 9, first, the
次に、磁気ラインセンサ40が、紙幣BNの磁気情報を検出するステップ(ステップS12)。Next, the
次に、光学画像生成部61は、光学ラインセンサ20及び50(ステップS11)によって検出された光学情報(画像信号)に基づいて第1光学画像及び第2光学画像をそれぞれ生成する(ステップS13)。Next, the optical
次に、磁気画像生成部62が、磁気ラインセンサ40(ステップS12)によって検出された磁気情報(磁気信号)に基づいて磁気画像を生成する(ステップS14)。Next, the magnetic
ステップS11~14の順序は、ステップS11の後にステップS13を行うことと、ステップS12の後にステップS14を行うこととを除いて、特に限定されず、適宜変更してもよい。また、ステップS11及びS13において、光学ラインセンサ20及び50のいずれに係る光学情報の検出及び光学画像の生成を先に行うかの順番も特に限定されない。The order of steps S11 to S14 is not particularly limited and may be changed as appropriate, except that step S13 is performed after step S11 and step S14 is performed after step S12. Furthermore, the order of which of the
次に、主判定部63が、ステップS11で生成された少なくとも第2光学画像に基づいて、紙幣BNの金種及び方向を判定する(ステップS15)。Next, the
次に、判定部64が、ステップS15による判定結果に基づいて、光学可変磁気素子Sの領域Rを特定する(ステップS16)。Next, the
次に、判定部64が、ステップS11の光学ラインセンサ50によって検出された紙幣BNの光学情報(詳細にはステップS13で生成された第1光学画像)と、ステップS12の磁気ラインセンサ40によって検出された紙幣BNの磁気情報(詳細にはステップS14で生成された磁気画像)とに基づいて、紙幣BNの同一領域に光学可変特徴OV及び磁気特徴Mが存在するか否かを判定する(ステップS17)。Next, the
より詳細には、例えば、まず、判定部64が、ステップS13で生成された第1光学画像に基づいて、ステップS16で特定した光学可変磁気素子Sの領域R内に光学可変特徴OVが存在するか否かを判定する。光学可変特徴OVが存在する場合、続いて、判定部64が、ステップS14で生成された磁気画像に基づいて、光学可変特徴OVが存在する領域内に磁気特徴Mが存在するか否かを判定する。磁気特徴Mが存在する場合、判定部64が、紙幣BNの同一領域に光学可変特徴OV及び磁気特徴Mが存在すると判定する。他方、これらの判定ステップにおいて、領域R内に光学可変特徴OVが存在しないと判定された場合、又は光学可変特徴OVが存在する領域内に磁気特徴Mが存在しないと判定された場合は、判定部64は、紙幣BNの同一領域に光学可変特徴OV及び磁気特徴Mが存在しないと判定する。More specifically, for example, first, the
なお、このとき、上述のように、光学可変特徴OVと磁気特徴Mとの有無の判定の順番を入れ替えてもよい。In this case, as described above, the order of determining whether the optically variable feature OV and the magnetic feature M are present may be reversed.
そして、真偽判定部65が、判定部64の判定結果を用いて紙幣BNの真偽判定を行う(ステップS18)。より詳細には、ステップS17で紙幣BNの同一領域に光学可変特徴OV及び磁気特徴Mが存在すると判定された場合は、当該紙幣BNを真正な紙幣であると判定し、ステップS17で紙幣BNの同一領域に光学可変特徴OV及び磁気特徴Mが存在しないと判定された場合は、当該紙幣BNを偽造紙幣であると判定する。Then, the
以上説明したように、上記実施形態では、光学可変特徴検出用の光学ラインセンサ50によって検出された紙幣BNの光学情報と、磁気ラインセンサ40によって検出された紙幣BNの磁気情報とに基づいて、紙幣BNの同一領域に光学可変特徴OV及び磁気特徴Mが存在するか否かを判定することから、光学可変特徴OV及び磁気特徴Mを併せ持ったセキュリティ要素(光学可変磁気素子)Sを検出することができる。As described above, in the above embodiment, it is determined whether or not an optically variable feature OV and a magnetic feature M are present in the same area of a banknote BN based on the optical information of the banknote BN detected by the
なお、上記実施形態では、光学可変特徴検出用の光学ラインセンサ50において、紙幣BMで反射した第1反射光及び第2反射光が、紙幣BMへ入射するまでの進行方向が互いに異なる一方で、紙幣BMで反射後の進行方向が同じである場合について説明したが、第1反射光及び第2反射光は、(1)紙幣BMへ入射するまでの進行方向が同じである一方で、紙幣BMで反射後の進行方向が互いに異なっていてもよいし、(2)紙幣BMへ入射するまでの進行方向が互いに異なり、かつ紙幣BMで反射後の進行方向が互いに異なっていてもよい。(1)の場合は、紙幣BMに一方向から光を照射する光源と、第1反射光及び第2反射光をそれぞれ受光する第1及び第2の受光部とを設ければよく、(2)の場合は、紙幣BMに二方向からそれぞれ光を照射する第1及び第2の光源と、第1反射光及び第2反射光をそれぞれ受光する第1及び第2の受光部とを設ければよい。In the above embodiment, the
また、上記実施形態では、本発明に係る光学センサ及び磁気センサが、それぞれ、搬送路212の幅方向の全域において紙幣BNの光学データ(光学特性)及び磁気データ(磁気特性)を取得する光学ラインセンサ50及び磁気ラインセンサ40を構成する場合について説明したが、本発明に係る光学センサ及び磁気センサは、それぞれ、搬送路212の幅方向の一地点において紙幣BNの光学データ(光学特性)及び磁気データ(磁気特性)を取得するポイントセンサであってもよい。In addition, in the above embodiment, the optical sensor and magnetic sensor of the present invention are described as constituting an
また、上記実施形態では、紙幣BNが、紙幣処理装置200内の搬送路212を短手方向に搬送される場合について説明したが、紙幣BNは、本発明に係る紙幣処理装置内の搬送路を長手方向に搬送されてもよい。In the above embodiment, the banknote BN is transported in the short direction along the
また、上記実施形態では、本発明に係る紙葉類識別装置が、紙幣BNを識別して金種毎に集積する紙幣処理装置200(例えば紙幣入金機や紙幣出金機、紙幣入出金機等)に搭載される場合について説明したが、本発明に係る紙葉類識別装置は、紙幣処理装置以外の装置、例えば紙幣の印刷時に使用される印刷検査装置に適用されてもよい。これにより、紙幣に光学可変磁気素子が適切に印刷されたか否かを検査することができる。In the above embodiment, the paper sheet recognition device according to the present invention is described as being mounted on a banknote processing device 200 (e.g., a banknote deposit machine, a banknote dispensing machine, a banknote depositing and dispensing machine, etc.) that recognizes banknotes BN and accumulates them by denomination, but the paper sheet recognition device according to the present invention may also be applied to devices other than banknote processing devices, such as a print inspection device used when printing banknotes. This makes it possible to inspect whether or not the optically variable magnetic element has been properly printed on the banknote.
以上、図面を参照しながら本発明の実施形態を説明したが、本発明は、上記実施形態に限定されるものではない。また、各実施形態の構成は、本発明の要旨を逸脱しない範囲において適宜組み合わされてもよいし、変更されてもよい。Although the embodiments of the present invention have been described above with reference to the drawings, the present invention is not limited to the above-described embodiments. Furthermore, the configurations of the respective embodiments may be appropriately combined or modified without departing from the spirit and scope of the present invention.
以上のように、本発明は、紙葉類に設けられた光学可変特徴及び磁気特徴を併せ持ったセキュリティ要素を検出するのに有用な技術である。As described above, the present invention is a useful technology for detecting security elements that combine optically variable features and magnetic features on paper sheets.
11、12:フォトセンサ
13:搬送機構
14:毛ローラ
20:光学ラインセンサ
20a:上側のユニット
20b:下側のユニット
21a、21b:反射用光源
22a、22b:集光レンズ
23a、23b:受光部
24:透過用光源
30:厚み検出センサ
40:磁気ラインセンサ
41:磁気ヘッド
42:磁気センサ部
43:磁石
50:光学ラインセンサ
50a:上側のユニット
50b:下側のユニット
51、52:反射用光源
53:集光レンズ
54:受光部
60:制御部
61:光学画像生成部
62:磁気画像生成部
63:主判定部
64:判定部
65:真偽判定部
70:記憶部
100:紙幣識別装置(紙葉類識別装置)
100a:標準センサユニット
100b:オプションセンサユニット
200:紙幣処理装置(紙葉類処理装置)
210:ホッパ
211:繰出部
212:搬送路
213:集積部
214:リジェクト部
215:表示部
216:搬送面
BN:紙幣
S:セキュリティ要素(光学可変磁気素子)
OV:光学可変特徴
M:磁気特徴
R:セキュリティ要素(光学可変磁気素子)の領域
11, 12: Photosensor 13: Transport mechanism 14: Hair roller 20:
100a:
210: Hopper 211: Payout section 212: Conveyance path 213: Stacking section 214: Reject section 215: Display section 216: Conveyance surface BN: Banknote S: Security element (optically variable magnetic element)
OV: Optically variable feature M: Magnetic feature R: Area of security element (optically variable magnetic element)
| Application Number | Priority Date | Filing Date | Title |
|---|---|---|---|
| JP2020150508AJP7496744B2 (en) | 2020-09-08 | 2020-09-08 | Paper sheet identification device, paper sheet processing device, and paper sheet identification method |
| EP21194570.4AEP3965079A1 (en) | 2020-09-08 | 2021-09-02 | Sheet recognition unit, sheet handling device, and sheet recognition method |
| Application Number | Priority Date | Filing Date | Title |
|---|---|---|---|
| JP2020150508AJP7496744B2 (en) | 2020-09-08 | 2020-09-08 | Paper sheet identification device, paper sheet processing device, and paper sheet identification method |
| Publication Number | Publication Date |
|---|---|
| JP2022045035A JP2022045035A (en) | 2022-03-18 |
| JP7496744B2true JP7496744B2 (en) | 2024-06-07 |
| Application Number | Title | Priority Date | Filing Date |
|---|---|---|---|
| JP2020150508AActiveJP7496744B2 (en) | 2020-09-08 | 2020-09-08 | Paper sheet identification device, paper sheet processing device, and paper sheet identification method |
| Country | Link |
|---|---|
| EP (1) | EP3965079A1 (en) |
| JP (1) | JP7496744B2 (en) |
| Publication number | Priority date | Publication date | Assignee | Title |
|---|---|---|---|---|
| JP2011123722A (en) | 2009-12-11 | 2011-06-23 | Toppan Printing Co Ltd | Security thread, security paper sheet and verification method |
| Publication number | Priority date | Publication date | Assignee | Title |
|---|---|---|---|---|
| US6363164B1 (en)* | 1996-05-13 | 2002-03-26 | Cummins-Allison Corp. | Automated document processing system using full image scanning |
| AU2002335337A1 (en)* | 2002-08-30 | 2004-03-29 | Fujitsu Frontech Limited | Paper sheets characteristic detection device and paper sheets characteristic detection method |
| WO2011036748A1 (en)* | 2009-09-24 | 2011-03-31 | グローリー株式会社 | Paper sheet identification device and paper sheet identification method |
| DE102011015837A1 (en)* | 2011-04-01 | 2012-10-04 | Giesecke & Devrient Gmbh | Optically variable security element with optically variable color layer |
| CN102289857B (en)* | 2011-05-19 | 2013-09-25 | 广州广电运通金融电子股份有限公司 | Valuable file identifying method and system |
| CN105122316B (en)* | 2013-04-05 | 2018-01-30 | 三菱电机株式会社 | image reading device |
| JP6751569B2 (en) | 2016-02-23 | 2020-09-09 | グローリー株式会社 | Method for detecting the document identification device, the document processor, the image sensor unit, and the optical variable element region |
| TWI844619B (en)* | 2019-02-28 | 2024-06-11 | 瑞士商西克帕控股有限公司 | Method for authenticating a magnetically induced mark with a portable device |
| Publication number | Priority date | Publication date | Assignee | Title |
|---|---|---|---|---|
| JP2011123722A (en) | 2009-12-11 | 2011-06-23 | Toppan Printing Co Ltd | Security thread, security paper sheet and verification method |
| Publication number | Publication date |
|---|---|
| JP2022045035A (en) | 2022-03-18 |
| EP3965079A1 (en) | 2022-03-09 |
| Publication | Publication Date | Title |
|---|---|---|
| US8780206B2 (en) | Sequenced illumination | |
| US9210332B2 (en) | Determining document fitness using illumination | |
| EP2698771B1 (en) | Paper-sheet recognition apparatus, paper-sheet processing apparatus, and paper-sheet recognition method | |
| US8509492B2 (en) | Detection of color shifting elements using sequenced illumination | |
| EP3598401B1 (en) | Paper sheet detection device, paper sheet processing apparatus, and paper sheet detection method | |
| WO2011036748A1 (en) | Paper sheet identification device and paper sheet identification method | |
| JP7018129B2 (en) | Paper leaf processing equipment and paper leaf processing method | |
| JP7473677B2 (en) | Optical sensor, paper sheet identification device, paper sheet processing device, and optical detection method | |
| JP7496744B2 (en) | Paper sheet identification device, paper sheet processing device, and paper sheet identification method | |
| EP3680867B1 (en) | Image acquisition device, sheet handling device, banknote handling device, and image acquisition method | |
| JP4074917B1 (en) | Paper sheet identification device | |
| CN108496207B (en) | Value document recognition device, value document processing machine, image sensor unit, and method for detecting optically variable element region | |
| CN108604397B (en) | Value document processing device and value document processing method | |
| WO2021193465A1 (en) | Optical sensor and paper sheet identifying device | |
| JP7715661B2 (en) | Paper sheet identification device, paper sheet processing device, and paper sheet identification method | |
| JP7337572B2 (en) | Serial number reading device, paper sheet processing device, and serial number reading method | |
| WO2020208806A1 (en) | Image acquisition device, paper sheet handling device, and image acquisition method | |
| JP2007213210A (en) | Paper sheet discrimination device | |
| WO2022210372A1 (en) | Multifeed detection device and multifeed detection method | |
| WO2020194463A1 (en) | Image acquisition device, paper-sheet handling device, image acquisition system, image acquisition method, and image acquisition program |
| Date | Code | Title | Description |
|---|---|---|---|
| A621 | Written request for application examination | Free format text:JAPANESE INTERMEDIATE CODE: A621 Effective date:20230328 | |
| A977 | Report on retrieval | Free format text:JAPANESE INTERMEDIATE CODE: A971007 Effective date:20231225 | |
| A131 | Notification of reasons for refusal | Free format text:JAPANESE INTERMEDIATE CODE: A131 Effective date:20240109 | |
| A521 | Request for written amendment filed | Free format text:JAPANESE INTERMEDIATE CODE: A523 Effective date:20240229 | |
| TRDD | Decision of grant or rejection written | ||
| A01 | Written decision to grant a patent or to grant a registration (utility model) | Free format text:JAPANESE INTERMEDIATE CODE: A01 Effective date:20240507 | |
| A61 | First payment of annual fees (during grant procedure) | Free format text:JAPANESE INTERMEDIATE CODE: A61 Effective date:20240528 | |
| R150 | Certificate of patent or registration of utility model | Ref document number:7496744 Country of ref document:JP Free format text:JAPANESE INTERMEDIATE CODE: R150 |