














本発明は、電動農業機械への電力供給方法に関する。The present invention relates to a method for supplying power to an electric agricultural machine.
内燃機関の代わりに電動機を搭載した電動農業機械が実用化されている。電動機を駆動させるための電力は、蓄電池に蓄えられ、蓄電池に蓄えられた電力量の範囲で、電動農業機械は、農作業が可能となっている。Electric agricultural machinery equipped with an electric motor instead of an internal combustion engine has been put to practical use. The electricity to drive the electric motor is stored in a storage battery, and the electric agricultural machinery can perform farm work within the range of the amount of electricity stored in the storage battery.
電動トラクタなどの電動農業機械は、実用化されているものの、その使用は限定的なものである。具体的には、蓄電池容量を大きくすれば、連続作業時間は長くなるものの、車体重量が重くなり、耕起等における作業性は低下してしまう。逆に、蓄電池容量を小さくすれば、耕起等における作業性は向上するものの、連続作業時間が短くなってしまう。いずれにせよ、内燃機関に比べ蓄電池が重いため、作業効率が悪く、現状の電動農業機械では、短時間かつ軽負荷な耕起等に限定される。Although electric agricultural machinery such as electric tractors has been put to practical use, its use is limited. Specifically, if the storage battery capacity is increased, the continuous working time becomes longer, but the vehicle weight becomes heavier, and workability in plowing, etc. decreases. Conversely, if the storage battery capacity is decreased, workability in plowing, etc. improves, but the continuous working time becomes shorter. In any case, since the storage battery is heavier than the internal combustion engine, the work efficiency is poor, and the current electric agricultural machinery is limited to short-time, light-load plowing, etc.
圃場に充電設備を整備し、電動農業機械に逐次充電する方法も考えられるが、充電に時間がかかり、時間当たりの作業効率が低下してしまう。高い電力で充電する急速充電もあるが、それを圃場に整備すれば、規模の大きい受変電設備が必要となり、大きなコスト増加となってしまう。One possible method would be to set up charging equipment in the field and gradually charge the electric agricultural machinery, but this would take time to charge, reducing work efficiency per hour.There is also a fast charging system that charges at high power, but setting this up in the field would require large-scale substation equipment, which would significantly increase costs.
蓄電池を交換する方法も考えられるが、圃場まで交換用の蓄電池を運ぶ必要が生じてしまう。また、交換も蓄電池が重く、交換のための機械が必要か、人力で交換できるように小分けにすれば、蓄電池の個数が増え、交換に時間を要してしまう。Although it is possible to replace the storage batteries, this would require transporting the replacement batteries to the field. In addition, the batteries are heavy, so a machine would be required for replacement, or if they were divided into small pieces so that they could be replaced manually, the number of batteries would increase, which would take time to replace.
本発明のシステムは、図1、図2、図3に示すように、圃場1に構造物2を設置し、農業機械3が構造物2の下を通過する際に、農業機械3に搭載する集電装置3aが構造物2に敷設した金属棒2fに接触し、農業機械3がその接点から電力を受電するものである。農業機械3が構造物2の下にあるときは、受電した電力がモータ駆動と蓄電池充電に使われ、農業機械3が構造物2の下にないときは、蓄電池に充電された電力を用いて、モータ駆動をさせ、農作業を長時間連続的に実施することができる。金属棒2fには、電気設備群4から電力が供給され、電気設備群4は、電力系統に接続し、電力を受電する。In the system of the present invention, as shown in Figures 1, 2 and 3, a
本発明の一実施形態として、図3に圃場1の一部に構造物2を配置した平面図を示す。圃場1の全部ではなく、一部に構造物2を設置することで、構造物2の規模を小さくし、経済性を向上させることができる。好ましくは、構造物2を圃場1の中央部に配置することで、構造物のない部分の農作業時間を短くすることができる。構造物の大きさは、圃場1の形状、農業機械3に搭載される蓄電池の容量、農作業の負荷によって、計算される。As one embodiment of the present invention, Fig. 3 shows a plan view in which a
構造物2の一実施形態として、図4と図5に示すように、圃場1にスクリュー杭構造とする基礎2aに、支柱2bが固定され、その上に横梁2cが固定され、その上に縦梁2dが固定される。支柱2bと横梁2c及び縦梁2dは、それぞれ斜材2eで固定される。横梁2cに碍子2fが設置され、そこに金属棒2gが転架される。As shown in Figures 4 and 5, one embodiment of the
農業機械3の一実施形態として、図6と図7に示すように、農業機械に集電装置3aを搭載する。集電装置3aには、伸縮可能及び前後にスイング可能なアーム3bが設置され、アーム3bの上部に設置される2つの金属体3cが、構造物2の金属棒2gと接触できるようになっている。移植機やコンバインなども同様に、集電装置3aを搭載することで、架線給電システムによって稼働させることができる。As one embodiment of the
農業機械3が構造物2の下に位置する場合には、農業機械3の集電装置3aの金属体3cと構造物2の金属棒2gが確実に接触できるよう、集電装置3aに左右可動装置3dとカメラ3eを設置して、カメラ3eによって得られた画像から位置関係を認識し、左右可動装置3dで位置を調整してもよい。もしくは、左右可動装置3dを設置せず、農業機械3自体を自動運転として、その操作によって、位置を調整してもよい。When the
図8のように、左右可動装置3dの左右の可動範囲を広げることで、架線の本数を少なくすることができる。好ましくは、支柱2bの間に1組の架線でも、給電を可能にすることができる。As shown in Fig. 8, the number of overhead lines can be reduced by widening the left-right movable range of the left-right movable device 3d. Preferably, power can be supplied with even one set of overhead lines between the pillars 2b.
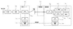
図9は、電気設備の一実施形態である。電力配電設備からの電線を電柱4aで受けて、電力ケーブル4bで送配電事業者の設置する電力量計4cに接続され、遮断器の入るプラボックス4dに接続され、直流ユニット4eに接続される。その先、電力ケーブルによって、金属棒2gにつながれ、直流電力が供給される。9 shows an embodiment of the electrical equipment. An electric wire from the power distribution equipment is received by a utility pole 4a, and is connected by a power cable 4b to a watt-hour meter 4c installed by the power transmission and distribution company, then to a plastic box 4d containing a circuit breaker, and then to a DC unit 4e. The power cable then connects the wire to a metal rod 2g, through which DC power is supplied.
図10は、本発明の電気回路の一実施形態である。電力系統の配電線から受電し、電力量計4cと遮断器4dを介して、直流ユニット4eにて、交流電力を直流電力に変換し、構造物2の金属体2gに直流電力を流す。農業機械3の内部では、金属体3cで受電した電力を、DCブレーカ4gを介して、モータを駆動させるため駆動用インバータ4hと蓄電池用のDC/DCコンバータ4jに並列で接続される。農業機械3が構造物2の下に位置する際は、架線から供給された直流電力の一部をモータ駆動用インバータ4hで交流電力に変換して、同期モータ4iを駆動させる。また、架線から供給された直流電力の一部をDC/DCコンバータ4jにて、蓄電池4kに充電できる電圧に変換して、蓄電池4kを充電する。一方、農業機械3が構造物2の下に位置しない際は、蓄電池4kからDC/DCコンバータ4jを介して直流電力を、モータ駆動用インバータ4hに送り、モータ駆動用インバータ4hが交流電力に変換して、同期モータ4iが駆動する。10 is an embodiment of the electric circuit of the present invention. Power is received from the distribution line of the power system, and AC power is converted to DC power by the DC unit 4e via the watt-hour meter 4c and the circuit breaker 4d, and the DC power is passed through the metal body 2g of the
構造物2の電気設備及び農業機械3は、通信装置4m・4nで連携され、直流ユニットの制御コンピュータ4oがAC/DCコンバータ4pを制御し、農業機械3の制御コンピュータ4lがモータ駆動インバータ4h及びDC/DCコンバータ4jを制御する。金属棒2gと金属体3cが接触していないときには、AC/DCコンバータ4pと農業機械3のDCブレーカ4cを開くことで、感電等の事故を軽減できる。The electrical equipment of the
構造物2に太陽光発電設備を設置してもよい。この一実施形態として、図11を示す。図12は、太陽光発電設備5を設置した場合の電気回路の一実施形態である。A photovoltaic power generation facility may be installed in the
図13のように、農業機械3の集電装置3aを着脱式にして、集電装置3aの代わりに内燃機関発電装置6aや燃料電池発電装置6bを装着できるようにしても良い。この場合、構造物2のない圃場においても、農業機械3は、内燃機関発電装置6aや燃料電池発電装置6bを装着することで、農作業ができるようになる。13, the current collector 3a of the
図14のように、内燃機関発電装置6aや燃料電池発電装置6bを、電力系統に接続された系統接続機6cに装着することで、電量系統に電力を供給できるようにしても良い。図15は、太陽光発電設備5を設置した場合の電気回路の一実施形態である。As shown in Fig. 14, an internal combustion engine
圃場の中で電動農業機械に給電することで、蓄電池の規模を小さく抑え、耕起等の作業性を確保したまま、連続作業時間を伸ばすことができる。また、農協機械3の蓄電池4iに充電することで、構造物2を圃場1の全体ではなく、一部に限って設置することが可能となり、構造物の設置に係るコストを抑えることができる。By supplying power to electric agricultural machinery in the field, the size of the storage battery can be kept small, and continuous working time can be extended while ensuring workability in plowing, etc. Also, by charging the storage battery 4i of the
架線給電で稼働する機械は、電車、路面電車、トロリーバス等で実用化されてきているが、いずれも走行ルートが決められており、架線による給電が容易である。本発明では、走行ルートの決まっていない圃場において、農作業の途中で農業機械に給電を可能にするものである。Machines that run on overhead power lines have been put to practical use in trains, trams, trolleybuses, etc., but the running routes of all of these are fixed, making it easy to supply power via overhead lines. The present invention makes it possible to supply power to agricultural machines in the middle of agricultural work in fields where the running route is not fixed.
左右可動装置3dによって、金属体3cの位置を動かすことで、農業機械3は、農作業の必要があるルートを走行することが可能である。好ましくは、左右可動装置3dの可動範囲を大きくすることで、架線の本数を削減でき、コスト削減することができる。By moving the position of the metal body 3c by the left-right movable device 3d, the
構造物2に太陽光発電設備を設置することで、発電による収益が追加され、構造物の投資回収が早まる。また、日照のある間に、農業機械3での農作業を行うことで、電力系統からの購入電力量を抑制し、農業の事業性も向上する。By installing a solar power generation system on the
集電装置3aを着脱式にすることで、構造物3のない圃場においては、ガソリン、軽油、植物油などの液体燃料を燃料とする内燃機関発電装置6aを装着し、農業機械3を稼働させることができる。また、将来、水素がエネルギー媒体として流通するようになれば、水素を燃料とする燃料電池発電装置6bにしてもよい。By making the current collector 3a detachable, in fields without
内燃機関発電装置6aや燃料電池発電装置6bを系統接続装置に装着することで、電力系統の需給ひっ迫時に、内燃機関や燃料電池を使って発電した電力を電力系統に供給しても良い。その売電によって副収入が得られ、農業の経営状況が向上する可能性がある。By mounting the internal combustion engine
以下、本発明の一実施形態について説明する。本実施形態では、図3のように、圃場1の長辺方向に対して中央部に、構造物2を設置する。農業機械2は、圃場1の長辺方向に走行して、耕起等の農作業を行う。構造物2の下を通過する際に、農業機械3が集電装置3aを動かし、2つの金属体3aが2構造物の2つの金属体2aに接して、電力を受電する。An embodiment of the present invention will be described below. In this embodiment, as shown in Fig. 3, a
農業機械3が保管される倉庫等と圃場の間の移動が必要であるが、本発明の農業機械3は、蓄電池を搭載しており、そこに充電された電力によって、架線のない一般道や農道での移動が可能である。圃場での農作業と違い、一般道や農道の移動は、負荷が小さいため、架線給電がなくても、圃場よりも長い距離の走行が可能である。The
農業機械の自動運転技術が進んでおり、一部実用化されている。本発明においても、自動運転との組み合わせが好ましい。特に、農業機械を操作する人にとって、構造体2の支柱2bが邪魔なものであるが、自動運転となれば、それは無関係となる。さらには、自動運転の農業機械に搭載されたカメラやレーザースキャナ等によって、支柱の位置を正確に把握することで、より正確な操作も可能となる。The technology for automatic operation of agricultural machinery has been advanced and has been partially put to practical use. In the present invention, it is preferable to combine it with automatic operation. In particular, the support pillars 2b of the
農業機械3の左右可動装置3dの可動範囲を大きくすることで、架線の本数を少なくすることができる。左右可動装置3dの可動範囲が小さければ、片道で耕起等の農作業ができる幅に対して、1組の架線が必要となるが、左右可動装置3dの可動範囲が農作業できる幅を超えれば、農作業できる幅2つに対して、1組の架線で受電できるようになる。The number of overhead lines can be reduced by increasing the movable range of the left and right movable devices 3d of the
図11と図12のように、構造物2に太陽光発電システム5を搭載することができる。太陽光発電5を搭載することで、農業機械3への電力供給以外に発電事業が可能となり、構造物2や電力系統からの受電設備も有効活用でき、システム全体での経済性が高められる。11 and 12 , a solar
図13のように、集電装置3aを農業機械3と着脱可能にする方式もある。農業機械3に装着できる電源装置しては、内燃機関発電装置6aや燃料電池発電装置6bなど多様な電源がある。こうした着脱可能にすることで、例えば、架線給電システムのない圃場では、内燃機関装置6aを農業機械3に装着し、圃場の耕起等の作業が可能となる。As shown in Fig. 13, there is also a system in which the current collector 3a is detachable from the
図14と図15のように、内燃機関発電装置6a及び燃料電池発電装置6bを、電力系統に接続できる系統接続装置に装着させて、発電機として電力系統に給電することも良い。As shown in Figs. 14 and 15, the internal combustion engine
1 圃場
2 構造物
2a 基礎
2b 支柱
2c 横梁
2d 縦梁
2e 斜材
2f 碍子
2g 金属棒
3 農業機械
3a 集電装置
3b アーム
3c 金属体
3d 左右可動装置
3e カメラ
4 電気設備群
4a 電柱
4b 電力ケーブル
4c 電力量計
4d プラボックス
4e 直流ユニット
5 太陽光発電設備
5a 架台
5b 太陽光発電モジュール
6a 内燃機関発電ユニット
6b 燃料電池発電ユニット
6c 系統接続装置1
| Application Number | Priority Date | Filing Date | Title |
|---|---|---|---|
| JP2023164026AJP7496663B1 (en) | 2023-09-08 | 2023-09-08 | Overhead power supply system for agricultural machinery |
| Application Number | Priority Date | Filing Date | Title |
|---|---|---|---|
| JP2023164026AJP7496663B1 (en) | 2023-09-08 | 2023-09-08 | Overhead power supply system for agricultural machinery |
| Publication Number | Publication Date |
|---|---|
| JP7496663B1true JP7496663B1 (en) | 2024-06-07 |
| JP2025039479A JP2025039479A (en) | 2025-03-21 |
| Application Number | Title | Priority Date | Filing Date |
|---|---|---|---|
| JP2023164026AActiveJP7496663B1 (en) | 2023-09-08 | 2023-09-08 | Overhead power supply system for agricultural machinery |
| Country | Link |
|---|---|
| JP (1) | JP7496663B1 (en) |
| Publication number | Priority date | Publication date | Assignee | Title |
|---|---|---|---|---|
| US20090183478A1 (en) | 2008-01-23 | 2009-07-23 | Fabrizio Bernini | Lawn-mower |
| US20160332526A1 (en) | 2014-01-16 | 2016-11-17 | Husqvarna Ab | Robotic work tool system and a charging connector arrangement for a robotic work tool system |
| CN207328156U (en) | 2017-07-10 | 2018-05-08 | 姚胜朝 | Electric shock mechanical arm, the trolley pole containing the mechanical arm and the vehicle containing the trolley pole |
| CN207360098U (en) | 2017-10-10 | 2018-05-15 | 第一拖拉机股份有限公司 | A kind of dual power supply electric tractor |
| Publication number | Priority date | Publication date | Assignee | Title |
|---|---|---|---|---|
| JPS5317213Y2 (en)* | 1972-10-24 | 1978-05-09 | ||
| DE3918867A1 (en)* | 1989-06-09 | 1989-10-19 | Norbert Dressen | Fully automated lawn mower |
| JPH09294448A (en)* | 1996-05-08 | 1997-11-18 | Ochiai Hamono Kogyo Kk | Rail-type tea garden maintenance and tea garden maintenance system |
| Publication number | Priority date | Publication date | Assignee | Title |
|---|---|---|---|---|
| US20090183478A1 (en) | 2008-01-23 | 2009-07-23 | Fabrizio Bernini | Lawn-mower |
| US20160332526A1 (en) | 2014-01-16 | 2016-11-17 | Husqvarna Ab | Robotic work tool system and a charging connector arrangement for a robotic work tool system |
| CN207328156U (en) | 2017-07-10 | 2018-05-08 | 姚胜朝 | Electric shock mechanical arm, the trolley pole containing the mechanical arm and the vehicle containing the trolley pole |
| CN207360098U (en) | 2017-10-10 | 2018-05-15 | 第一拖拉机股份有限公司 | A kind of dual power supply electric tractor |
| Publication number | Publication date |
|---|---|
| JP2025039479A (en) | 2025-03-21 |
| Publication | Publication Date | Title |
|---|---|---|
| Rafi et al. | A comprehensive review of DC fast-charging stations with energy storage: Architectures, power converters, and analysis | |
| CN205092592U (en) | Distributing type photovoltaic power generation and control system | |
| JP5187624B2 (en) | Microgrid using electric railway system | |
| CN114977190B (en) | Power supply method and power supply system for new energy electrified highway | |
| CN106427640A (en) | Distributed energy source and electric vehicle wireless power supply integrated system based on magnetic resonance coupling technology | |
| CN202806431U (en) | City rail bus combined type intelligent power supply system | |
| CN102910090A (en) | Combined intelligent power supply system for urban rail buses | |
| CN110661329A (en) | Photovoltaic bicycle shed power generation and electric automobile charging integrated system | |
| CN112019133A (en) | Open-air parking lot intelligent solar charging pile system | |
| Kannan et al. | Hybrid renewable energy fed battery electric vehicle charging station | |
| CN112994059A (en) | Station network interactive type optical storage and charging intelligent charging station control architecture and control method | |
| Lukic et al. | Energy autonomous solar⁄ battery auto rickshaw | |
| Prasad et al. | A Comprehensive Review on Photovoltaic Charging Station for Electric Vehicles | |
| JP7496663B1 (en) | Overhead power supply system for agricultural machinery | |
| CN105244969A (en) | Cloud energy management system applied to electric vehicle | |
| CN201639324U (en) | Wind-solar hybrid charging station for electric vehicle | |
| CN216232636U (en) | A distributed-driven dual-battery small greenhouse electric crawler tractor | |
| CN202167849U (en) | Direct-current multi-level float-charging power supply and distribution system | |
| Pinto | Design and performance of vehicle to grid integration with DG infrastructure | |
| CN110053490B (en) | Hybrid agricultural machinery platform | |
| andeep Bishla | A survey of fast charging systems in electrical vehicles using solar and grid sources | |
| Yadnik et al. | Renewable energy based multimode electric vehicle charging station: a review | |
| CN209805220U (en) | mobile energy storage vehicle type transformer substation | |
| CN202602316U (en) | Uninterrupted-power-supply solar charging device for electric vehicle | |
| Jian et al. | Intelligent multi-mode energy-refreshing station for electric vehicles within the framework of smart grid |
| Date | Code | Title | Description |
|---|---|---|---|
| A871 | Explanation of circumstances concerning accelerated examination | Free format text:JAPANESE INTERMEDIATE CODE: A871 Effective date:20230914 | |
| A621 | Written request for application examination | Free format text:JAPANESE INTERMEDIATE CODE: A621 Effective date:20230914 | |
| A131 | Notification of reasons for refusal | Free format text:JAPANESE INTERMEDIATE CODE: A131 Effective date:20240109 | |
| A521 | Request for written amendment filed | Free format text:JAPANESE INTERMEDIATE CODE: A523 Effective date:20240208 | |
| TRDD | Decision of grant or rejection written | ||
| A01 | Written decision to grant a patent or to grant a registration (utility model) | Free format text:JAPANESE INTERMEDIATE CODE: A01 Effective date:20240409 | |
| A61 | First payment of annual fees (during grant procedure) | Free format text:JAPANESE INTERMEDIATE CODE: A61 Effective date:20240524 | |
| R150 | Certificate of patent or registration of utility model | Ref document number:7496663 Country of ref document:JP Free format text:JAPANESE INTERMEDIATE CODE: R150 |